JP2010013874A - 水上作業用櫓、櫓用受架台、及び水上作業用櫓の設置方法 - Google Patents

水上作業用櫓、櫓用受架台、及び水上作業用櫓の設置方法 Download PDF

Info

Publication number
JP2010013874A
JP2010013874A JP2008176108A JP2008176108A JP2010013874A JP 2010013874 A JP2010013874 A JP 2010013874A JP 2008176108 A JP2008176108 A JP 2008176108A JP 2008176108 A JP2008176108 A JP 2008176108A JP 2010013874 A JP2010013874 A JP 2010013874A
Authority
JP
Japan
Prior art keywords
leg
work
water
grounding
dredger
Prior art date
Legal status (The legal status is an assumption and is not a legal conclusion. Google has not performed a legal analysis and makes no representation as to the accuracy of the status listed.)
Granted
Application number
JP2008176108A
Other languages
English (en)
Other versions
JP5073598B2 (ja
Inventor
Yutaka Sasaki
豊 佐々木
Junichi Yamamura
淳一 山村
Yoshinobu Shigekawa
善信 重川
Takayuki Kanekawa
隆行 金川
Hiroshi Azuma
洋志 東
Hitoshi Numamoto
仁志 沼本
Current Assignee (The listed assignees may be inaccurate. Google has not performed a legal analysis and makes no representation or warranty as to the accuracy of the list.)
Kajima Corp
Chugoku Electric Power Co Inc
Original Assignee
Kajima Corp
Chugoku Electric Power Co Inc
Priority date (The priority date is an assumption and is not a legal conclusion. Google has not performed a legal analysis and makes no representation as to the accuracy of the date listed.)
Filing date
Publication date
Application filed by Kajima Corp, Chugoku Electric Power Co Inc filed Critical Kajima Corp
Priority to JP2008176108A priority Critical patent/JP5073598B2/ja
Publication of JP2010013874A publication Critical patent/JP2010013874A/ja
Application granted granted Critical
Publication of JP5073598B2 publication Critical patent/JP5073598B2/ja
Expired - Fee Related legal-status Critical Current
Anticipated expiration legal-status Critical

Links

Images

Landscapes

  • Revetment (AREA)

Abstract

【課題】設置・移設時の作業時間を短縮できると共に、設置地点の海域の波高や海底に適合するものに容易に変更でき高い汎用性を備えるものとする。
【解決手段】ボーリング機器が設置されるデッキ部230を備えた櫓本体部100を上部櫓部材200と下部櫓部材300とで構成し、下部櫓部材300の下部に接地脚部401、岩礁用接地脚部500、砂地用接地脚部600から選択した接地脚部を配置して海上作業用櫓10を構成し、海上作業用櫓10の設置、設置時には、設置海域への移送中にクレーン付台船900上で下部櫓部材300を櫓用受架台700に設置して接地脚部401、500、600の取付作業、交換作業を行う。
【選択図】図9

Description

本発明は水上作業用櫓、櫓用受架台及び水上作業用櫓の設置方法に係り、特に水上作業用機器が設置されるデッキ部を備える櫓本体部と上部に櫓本体部が配置されると共に下端部が水底に設置される接地脚部とを備えた水上作業用櫓、櫓用受架台及び水上作業用櫓の設置方法に関する。
海洋、湖沼、河川等の水底地盤に関する各種調査等を行う際には水上作業としてボーリング作業が行われ、このボーリング作業を行うに際しては当該領域にボーリング用櫓が設置されている。このようなボーリング櫓としては、水域の深度や水底の状況に応じて様々なものが使用されている。
ボーリング作業が水深3m以下の浅水領域でなされる場合についてみると、鋼材製の櫓を予め製造し、製造した櫓をクレーン台船で吊り上げ、櫓を吊り上げたクレーン台船をそのままボーリング領域位置まで搬送して設置するのが一般的である。また、足場用パイプ等を現地で組立てて櫓を設置することもある。
また、特許文献1には、クレーン台船を必要とせず、安全に簡単に浅海用ボーリング櫓を海上に設置することができるようにするため、陸上で組み立てた浅海用ボーリング櫓にフロータを任意高さに連結し、当該ボーリング櫓の下端をフロータで海底から浮上させた状態でボーリング位置まで曳航した後、ボーリング櫓に設けた接地用脚を海底に着底させることによりボーリング櫓を所定の位置に設置する浅海域用ボーリング櫓が開示されている。
特開平6−146250号公報
しかしながら、鋼材製の櫓をクレーン台船で吊り上げ搬送する従来方法にあっては、ボーリング海域の水深や海底の状態に適合させて個別に櫓を製造しなければならず、しかもこの櫓は設置条件が異なる他のボーリング個所には設置できず、汎用性がないという問題がある。また、足場用パイプを現地で組み立てる方法にあっては、解体組立等に多くの時間を要するため、移設時や、台風等の荒天時における避難に時間がかかってしまうという問題がある。
また、特許文献1のものは、陸上で組み立てた櫓をフロータで海底から浮上させた状態でボーリング位置のある海域まで曳航するが、フロータを取り付けた櫓は安定性が低いため、台風等の荒天では事前に安全な場所へ避難する可能性が高く、工期が長引くことが多々ある。更に、櫓が設置される位置の海底の状態は様々であり、海底に適合した形状の櫓を予め制作しなければならず、一旦作成した櫓を他の個所で使用することができないという問題がある。
本発明は上記従来の事情に鑑みてなされたものであり、設置・移設時の作業時間を短縮できると共に、設置地点の海域の波高や海底の状況に適合するものに容易に変更できる高い汎用性を備えた海上作業用櫓、櫓用受架台及び海上作業用櫓の設置方法を提供することを目的とする。
請求項1の発明は、水上作業用機器が設置されるデッキ部を備えた櫓本体部と、上端部に前記櫓本体部が設置されると共に下端部が水底に設置される接地脚部と、を備えてなり、前記櫓本体部は、上下方向に重ねて組み立てられる複数の櫓部材を備えて構成され、前記接地脚部は、前記複数の櫓部材のうち最下部に配置される櫓部材に取り外し可能に設置されることを特徴とする水上作業用櫓である。
請求項2の発明は、請求項1記載の水上作業用櫓において、前記複数の櫓部材及び接地脚部は、水上作業が行われる領域の既往最大波高に対処できる寸法及び構造を備えるよう構成されていることを特徴とする。
請求項3の発明は、請求項1又は2記載の水上作業用櫓において、前記櫓本体部材は、櫓部材であり前記接地脚部の上側に配置される下部櫓部材と、櫓部材であり前記下部櫓部材の上側に配置され前記デッキ部を備えた上部櫓部材と、から構成されることを特徴とする。
請求項4の発明は、請求項1乃至3のいずれか一項記載の水上作業用櫓において、前記櫓本体部材には、水上作業用櫓が設置される水底の状態に適合させて予め作成された複数種の接地脚部から選択した接地脚部が取り付け可能であることを特徴とする。
請求項5の発明は、請求項4記載の水上作業用櫓において、前記複数の接地脚部は、岩礁からなる水底に打設されたコンクリート基礎に固着される固定板部を備える岩礁用接地脚部、砂礫からなる水底の上面に配置される平板状の設置板部及び前記設置板部の下部から突設され前記砂礫に貫入される尖状部を備える砂礫用接地脚部、砂地である水底の上面に配置される平板上の沈下防止板及び前記砂地に貫入される貫入部を備える砂地用接地脚部、のいずれかを含むことを特徴とする。
請求項6の発明は、請求項4記載の水上作業用櫓において、前記砂地用接地脚部の沈下防止板は、下方に垂下された閉状態から水平に張り出した開状態に揺動可能に配置されていることを特徴とする。
請求項7の発明は、請求項1乃至6のいずれか一項記載の水上作業用櫓の櫓本体がその上部に載置される載置部と、この載置部に前記櫓本体が載置された状態で前記複数の接地脚部から任意の接地脚部の着脱ができる高さに支持する脚部と、からなることを特徴とする櫓用受架台である。
請求項8の発明は、水上作業用機器が設置されるデッキ部を備えた櫓本体部及び、上端部に前記櫓本体部が設置されると共に下端部が水底に設置される接地脚部とを備えて構成される水上作業用櫓をクレーン台船でボーリング個所に移送して設置するに際して、前記櫓本体部を構成する複数の櫓部材と、水底の複数種類の状態に適合させて予め作成された複数種の設置部形状を備える複数の接地脚部と、櫓本体部がその上部に載置され前記複数の接地脚部から任意の接地脚部の着脱ができるよう持ち上げて支持できる櫓用受架台と、をクレーン台船に積載する積載工程と、前記櫓部材及び接地脚部を積載したクレーン台船を水上作業実行領域に移送する移送工程と、水上作業用櫓を水底に設置する設置工程と、前記積載工程と設置工程との間に実行され、クレーン台船上で前記水上作業用櫓を組み立てるに際して、櫓本体を前記櫓用受架台に載置し、水上作業用櫓を設置する領域の水底の状況に適合する種類の接地脚部を取り付けて水上作業用櫓を組み立てる組立工程と、を備えることを特徴とする水上作業用櫓の設置方法である。
請求項9の発明は、水上作業用機器が設置されるデッキ部を備えた櫓本体部及び、上端部に前記櫓本体部が設置されると共に下端部が水底に設置される接地脚部とを備えて構成される水上作業用櫓をクレーン台船でボーリング個所に移送して設置するに際して、クレーン台船に、櫓本体部がその上部に載置され前記複数の接地脚部から任意の接地脚部の着脱ができるよう持ち上げて支持できる櫓用受架台を配置しておき、水上作業領域に設置された水上作業用櫓を吊り上げクレーン台船上に回収する回収工程と、回収した水上作業用櫓を、前記櫓用受架台上に載置する載置工程と、櫓用受架台上に載置された櫓本体部から接地脚部を取り外す脚部取外工程と、次に水上作業用櫓を設置する領域の水底の状況に適合する種類の接地脚部を取り付けて水上作業用櫓を組み立てる再組立工程と、を含むことを特徴とする水上作業用櫓の設置方法である。
請求項1記載の発明によれば、櫓本体部は、上下方向に重ねて組み立てられる複数の櫓部材を備えて構成され、前記接地脚部は前記複数の櫓部材のうち最下部に配置される櫓部材に取り外し可能に設置されているから、水上作業用櫓を複数の櫓部材と、接地脚部として分割形成することができ、移送時における取扱が容易となる他、設置水域の状態に適合した櫓部材及び接地脚部を選択して水上作業用櫓を構成することができる。
請求項2記載の発明によれば、前記複数の櫓部材及び接地脚部は、作業が行われる領域の既往最大波高に対処できる寸法及び形状を備えるから、設置水域の状態に適した水上作業用櫓を構成することができる。
請求項3記載の発明によれば、櫓本体部材は、櫓部材であり前記接地脚部の上側に配置される下部櫓部材と、櫓部材であり前記下部櫓部材の上側に配置され前記デッキ部を備えた上部櫓部材と、から構成されるから、移送時における取扱が容易となる他、設置水域の状態に適した櫓部材を選択して水上作業用櫓を構成することができる。
請求項4記載の発明によれば、櫓本体部材には、設置される水底の複数種類の状態に適合させて予め作成された複数種の構造を備える複数の接地脚部から選択した接地脚部が取り付けられているから、設置水域の水底の状態に最適な接地脚部を取り付けた水上作業用櫓を構成することができる。
請求項5記載の発明によれば、接地脚部は、岩礁用接地脚部、砂礫用接地脚部、砂地用接地脚部のいずれかを含むことから、設置水域の水底の状態に最適な接地脚部を取り付けた水上作業用櫓を構成することができる。
請求項6記載の発明によれば、砂地用接地脚部の沈下防止板は、前記貫入部に設置された軸部で下方に垂下された閉状態から水平に張り出した開状態に揺動可能に配置されているから、砂地に貫入部が入り込み、前記沈下防止板が砂地上面に水平に張り出した状態で接触して水上作業用櫓を安定して設置することができる。
請求項7の発明によれば、櫓用受架台は水上作業用櫓の櫓本体がその上部に載置される載置部と、この載置部に前記櫓本体が載置された状態で前記複数の接地脚部から任意の接地脚部の着脱ができる高さに支持する脚部とを備えて構成されているから、櫓本体への接地脚部の着脱に際して、櫓本体を櫓用受架台に載置することができ、接地脚部を櫓本体に容易に着脱することができる。
請求項8記載の発明によれば、櫓部材、接地脚部に分解された水上作業用櫓のクレーン台船上への搬送、搬送された水上作業用櫓の組立、作業水域への搬送、及び組み立てた水上作業用櫓の作業水域への設置を迅速に行うことができ、水上作業用櫓の組立に際しては、櫓本体を櫓用受架台に載置することができ、接地脚部の櫓本体への取付作業を容易に行うことができる。
請求項9記載の発明によれば、水上作業用櫓を水上作業が終了した水域から迅速に回収することができ、水上作業用櫓の分解に際しては、櫓本体を櫓用受架台に載置して次の作業領域に適合した接地脚部の交換作業を容易に行うことができる。
以下、本発明の水上作業用櫓を図面に示した実施形態例に基づいて詳細に説明する。なお、以下の説明においては主として海洋上において使用される作業用櫓を一例として説明するが、本発明は海洋に限らず、湖沼、河川一般に適用することができる。
図1は本発明の一実施形態例に係る水上作業用櫓としての海上作業用櫓の構成を示す正面図、図2は海上作業用櫓の図1中のA−A線に相当する断面図、図3は海上作業用櫓を示す図1中のB部の拡大断面図、図4は砂礫用接地脚部の構造を示す図1中のC部の拡大断面図である。
まず海上作業用櫓(水上作業用櫓)10の全体構造について図1に基づいて説明する。本例に係る海上作業用櫓10は、櫓本体部100と、この櫓本体部100を構成する下部櫓部材300の下端部に取り付けられる接地脚部401と、を備えている。櫓本体部100は、上部櫓部材200と、下部櫓部材300とが上下2段に積み重ねて組み立てられている。接地脚部401としては、図示した砂礫用接地脚部401の他に、岩礁用接地脚部500、及び砂地用接地脚部600の3種が準備され、櫓本体部100の下部に対しては、いずれかの接地脚部を選択して取り付けることができる。図1に示した海上作業用櫓10には、砂礫用接地脚部401が取り付けられている。なお、海上作業用櫓10には、設置する海域の海底の状態に応じて同一種類の接地脚部だけを取り付けることも、選択した複数種の接地脚部を混在させた状態で取り付けることもできる。
上部櫓部材200は、2本のH型鋼材を所定寸法だけ隔てて平行に配置した受台210と、この受台210の上面に受台210と直交するように配置された7本のH型鋼材からなる主桁220と、各主桁220の上面間に差し渡された床板221と、で略正方形のデッキ部230を構成している。このデッキ部230には、その周囲を囲う手摺部240が配置されている。また、デッキ部230には、ボーリングマシンなど必用な機材が配置されている。更に、デッキ部230の4隅の下部には、下部櫓部材300との接続用の接続脚部250がそれぞれ垂下されている。
各接続脚部250の下端部には、接続部260が形成されている。接続部260は、図3に示すように、下部櫓部材300の接続端部361が挿入される挿入穴263が開設された取付板部261と、接続脚部250と取付板部261とを連結する補強板262とを備えている。
また、下部櫓部材300は、H型鋼材で構成された略正方形状の上桁部310と、下桁部320とを備え、上桁部310と下桁部320とは、それぞれの4隅において連結脚部330で連結されている。対向する連結脚部330間には、図1に示すように、垂直ブレース部材340が配置されている。
また、下桁部320は、図2に示すように、近接して並行に配置された2本の鋼材を1組とした4組の水平部材321、322、323、324を井桁状に組み合わせて形成されており、対向する水平部材323と水平部材324との間には2本の水平ブレース部材350、350が配置されている。
更に、各上桁部310の上方には、下部櫓部材300と上部櫓部材200とを連結する連結部材360が立設されている。連結部材360は、接続部260の挿入穴263に挿入される接続端部361と、この接続端部361を挟んで下桁部320にボルト止めされる2本のH形鋼材362、362とを備えて構成されている。
この例では、上部櫓部材200と下部櫓部材300とは、接続脚部250の取付板部261と、連結部材360のH形鋼材362、362の水平部とがクランプ部材270で挟まれることにより取り外し可能に接続されている。
ここで、上部櫓部材200と下部櫓部材300とは、設置される海域の海流、風速、既往最大波高に対処できる寸法及び構造を備えるよう設計制作されている。
また、下部櫓部材300の四隅には、砂礫用接地脚部401が接続される脚部取付部370が垂下されている。脚部取付部370は、図4に示すように、H形鋼材で構成される垂下部371と、垂下部371の下端に配置される取付板372とから構成されている。
本例では、脚部取付部370の下部に砂礫用接地脚部401が組み付けられている。なお、上述したように接地脚部400としては、この砂礫用接地脚部401の他、岩礁用接地脚部500及び砂地用接地脚部600からボーリング海域の海底の状態に適合する所定のものが選択されている。
次に接地脚部について説明する。図4は砂礫用接地脚部の構造を示す図1中のC部の拡大断面図である。砂礫用接地脚部401は、脚部取付部370に取り付けられる脚部410と、脚部410の下方に配置される基部420と、基部420の下端に固着され海底砂礫の上面に配置される平板状の設置板部430と、設置板部430の下部から突設され、砂礫に貫入される尖状部440と、を備えている。脚部410は、H型鋼材で構成された本体411の上下端面に夫々天板412及び底板413を固着して形成されている。ここで、脚部410の長さ寸法は、水深、海底の傾斜などを考慮して定められ、図1に示す例では左右の脚部410、410の寸法を海底Bの傾斜に合わせて変更したものを使用している。
基部420は、H型鋼材で構成された本体421に天板422がボルトにより固定されている。なお、脚部取付部370と、脚部410とはボルトナット380で着脱自在に固着され、また、脚部410と基部420とはボルトナット450で着脱自在に固着されている。
更に、尖状部440は直角三角形状の鋼板441〜444(443は図示していない)を4枚、その底辺を設置板部430の底側面に、他の底辺を十字状となるよう付き合わせるように接合して構成されている。
このような砂礫用接地脚部401を使用した海上作業用櫓10を設置するには、後述するようにクレーンを用いて海上作業用櫓10を海中に吊り降ろして、砂礫用接地脚部401を海底Bに着底させる。すると、砂礫用接地脚部401の尖状部440が砂礫に貫入すると共に、砂礫の表面に設置板部430が載置された状態となる。これにより、海上作業用櫓10を海底Bに安定して設置できる。
図5は岩礁用接地脚部500の構造を示す正面図である。岩礁用接地脚部500は、脚部取付部370の下部に取り付けられる脚部510と、脚部510の下方に配置される基部520と、基部520の下端に固着された平板状の設置板部530とからなる。基部520と設置板部530とは、取付補強板570で接合されている。また、設置板部530は、海底岩礁に打設されたコンクリート基盤540に埋設されたアンカボルト560により固定配置されている。
脚部510は、H型鋼材で構成された本体511に天板512及び底板513を溶接して形成されている。脚部510の長さ寸法は、水深、海底の傾斜などを考慮して定められる。
基部520は、H型鋼材で構成された本体521に天板522がボルト,ナットで構成されている。なお、脚部取付部370と、脚部510とはボルトナット380で着脱自在に固着され、また、脚部510と基部520とはボルトナット550で着脱自在に固着されている。
このような岩礁用接地脚部500を使用した海上作業用櫓10を設置するには、後述するようにクレーンを用いて海上作業用櫓10を海中に吊り降ろして、岩礁用接地脚部500の設置板部530を海底Bに設置されたコンクリート基盤540上に配置する。そして、設置板部530とコンクリート基盤540とをアンカボルト560にナットをねじ込み固着する。これにより、海上作業用櫓10は、海底Bに安定して設置できる。
図6は砂地用接地脚部の構造を示す正面図である。砂地用接地脚部600は、脚部取付部370の下部に取り付けられる脚部610と、脚部610の下方に配置される基部620と、基部620の下端に固着された設置部630と、設置部630の下方に延設され海底砂地に貫入される貫入部650と、設置部630に設置された沈下防止部640とからなる。
脚部610は、H型鋼材で構成された本体611の上下面に夫々天板612及び底板613をボルト、ナットで形成されている。脚部610の長さ寸法は、水深、海底の傾斜などを考慮して定められる。この脚部610は、砂礫用接地脚部401の脚部410及び岩礁用接地脚部500の脚部510と同一であるので、様々な長さのものを共通のものとして準備しておき水深等に応じて選択して使用することができる。
基部620は、H型鋼材で構成された本体621に天板622が溶接され構成されている。なお、脚部取付部370と、脚部610とはボルトナット380で着脱自在に固着され、また、脚部610と基部620とはボルトナット660で着脱自在に固着されている。
設置部630は、鋼材で構成された本体631から水平方向に張出部632が形成されている他、沈下防止部640の軸部633が形成されて構成されている。沈下防止部640は、軸部633に軸支され、下方に垂下された閉状態(図中D)から水平に張り出した開状態(図中E)に揺動可能に配置される沈下防止板641を備える。沈下防止板641は、基部において取付部642で軸部633に軸支される他、先端には錘643が配置されている。なお、沈下防止板641は、海上作業用櫓10の設置時に砂地の表面に配置され、砂地用接地脚部600の砂地への沈下を防止するものであり、開状態において、張出部632で位置決めされる。
また、貫入部650は、H型鋼材で形成された本体651に沈下防止板643の閉状態での位置決部材662が配置されて構成されている。
このような砂地用接地脚部600を使用した海上作業用櫓10を設置するには、後述するようにクレーンを用いて海上作業用櫓10を海中に吊り降ろして、砂地用接地脚部600を海底Bに着底させる。このとき、沈下防止板643は水の抵抗により、開状態となって降下し、貫入部650が砂地に貫入して位置決めがされると共に、沈下防止板643が海底Bの砂地の表面に配置されて沈降が防止される。これにより、海上作業用櫓10は、海底Bに安定して設置されている。
このような構成を備える海上作業用櫓10では、上部櫓部材200、下部櫓部材300、接地脚部を構成する砂礫用接地脚部401、岩礁用接地脚部500、砂地用接地脚部600を分割できる構造としているから、各部の重量及び容積を小さくすることができ、ボーリング調査個所へ海上作業用櫓10を設置及び移設するに当たっては、移送の取扱を容易とすることができる。また、接地脚部を海底の状況に合わせて取り替えることができるので、同一(共通)の上部櫓部材200及び下部櫓部材300に対して最適な接地脚部を取り付けることで、海底の状態が異なる設置現場に共用できる。
次に櫓用受架台及びこの櫓用受架台を用いて櫓本体部に接地脚部を取り付ける作業について説明する。本例では、下部櫓部材をクレーン台船の床上に配置した4台の櫓用受架台の上に載置することにより、クレーン台船上において接地脚部の取付作業、交換作業を容易に行える。
図7は海上作業用櫓を櫓用受架台に載置した状態を示す図であり、(a)は平面図、(b)は正面図、(c)は櫓用受架台を示す正面図である。本例に係る櫓用受架台700は、図7(c)に示すように、H型鋼材711、712で井桁状に組み立てられた支持枠710と、4本の脚720と、補強用のブレース部材730と、脚720間に配置される梁材740とから構成されている。本例では、海上作業用櫓10を櫓用受架台700に載置するとき、支持枠710の内部に脚部取付部370が配置できるように構成されている。また、脚720の長さ寸法は、準備された接地脚部の長さ寸法より長く構成されている。
櫓本体部100の下部に接地脚部を取り付けるとき、又は、取り外すときには、図7(a)、(b)に示すように、櫓本体部100をクレーン台船の床F上に載置した4台の櫓用受架台700上に載置する。すると、支持枠710と床Fとの間には、接地脚部の取付作業、交換作業を行うのに充分なスペースが確保され、接地脚部の取付作業、交換作業を容易に行うことができる。なお、図7には、接地脚部の一例として、岩礁用接地脚部500が示されている。
図8は海上作業用櫓を他の櫓用受架台に載置した状態を示す図であり、(a)は平面図、(b)は正面図、(c)は櫓用受架台を示す正面図、(d)は櫓用受架台を示す平面図である。
本例では、櫓用受架台800は、図8(c)、(d)に示すように、平行に配置された2本のH型鋼材で構成された支持梁810と、4本の脚820と、脚820の下方に配置された4本の接地部材830と、ブレース部材840と、三角形状の脚補強部材850とからなる。この櫓用受架台800は、海上作業用櫓10の脚部取付部370の内側に配置されるものである。
櫓本体部100の下部に接地脚部を取り付けるとき、又は、取り外すときには、図8(a)、(b)に示すように、櫓本体部100をクレーン台船の床F上に載置した4台の櫓用受架台800上に載置する。すると、支持梁810と床Fとの間には、接地脚部の取付作業、交換作業に行うのに充分なスペースが確保され、接地脚部の取付作業及び交換作業を容易に行うことができる。なお、図8には、接地脚部の一例として、岩礁用接地脚部500が示されている。
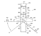
次に海上作業用櫓10の設置方法について説明する。図9は海上作業用櫓の配置手順を示す模式図である。まず、予め陸上の工場において上部櫓部材200、下部櫓部材300、接地脚部400(砂礫用接地脚部401、岩礁用接地脚部500、砂地用接地脚部600)、櫓用受架台700が製作される。上部櫓部材200、下部櫓部材300は、海上作業用櫓10を設置する海域の海流、風速、既往最大波高に対処できる寸法及び構造を備えるよう設計制作されている。
また、接地脚部400としての砂礫用接地脚部401、岩礁用接地脚部500、砂地用接地脚部600も、設置領域の海底の状況に合わせて製作される。ここで、各接地脚部401、500、600の脚部410、510、610は共通に使用されるものであるので、各種長さのものを準備しておくと、作業現場の状況、地盤の状況、深さ傾斜に適合させることができる
なお、上部櫓部材200、下部櫓部材300、砂礫用接地脚部401、岩礁用接地脚部500、砂地用接地脚部600は、ボーリングが行われる個別の海域に合わせて作成することもできるが、各種寸法の上部櫓部材200、下部櫓部材300を予め準備しておき、準備しておいた上部櫓部材200、下部櫓部材300から、当該作業海域に適合したものを選択するようにしてもよい。また、砂礫用接地脚部401、岩礁用接地脚部500、砂地用接地脚部600についても海底の状況に適合するもの複数種準備しておき、適当なものを選択するようにしてもよい。
次に、図9(a)に示すように、作業現場に適合する上部櫓部材200、下部櫓部材300、砂礫用接地脚部401、岩礁用接地脚部500、砂地用接地脚部600、櫓用受架台700、フィルターユニット930、方塊940等の必用基材、資材を岸壁Wから、クレーン付台船900のクレーン910により900の甲板920上に積み込む。
この状態で、クレーン付台船900を、設置海域まで曳航する。このとき、現地に到着して設置作業を行うまでに下部櫓部材300と接地脚部400とを、ボルトナット380で連結する(図3参照)。この取付けは、下部櫓部材300を4台の櫓用受架台700上に載置して行う。下部櫓部材300を櫓用受架台700上に載置すると、下部櫓部材300と床Fとの間には交換作業を行うのに充分なスペースが確保され、作業を容易に行うことができる(図7参照)。
この例では、作業現場は、砂礫であるので、砂礫用接地脚部401を下部櫓部材300に連結する。この際、上述したように、櫓用受架台700を使用して下部櫓部材300に砂礫用接地脚部401を連結する(図7参照)。現場が、岩礁、砂地であるときには、岩礁用接地脚部500又は砂地用接地脚部600を連結する。なお、下部櫓部材300に接地脚部を取り付けた状態では、下部櫓部材300は甲板920上で安定しない場合が多い。このため4個所に設置した櫓用受架台700上に載置したままにしておくと下部櫓部材300を安定して甲板920上に載置できる。
クレーン付台船900が設置海域に到着すると、図9(b)に示すように、まず砂礫用接地脚部401を取り付けた下部櫓部材300をクレーン910で吊り降ろして海底に設置する。この例では、海底は砂礫であるので、下部櫓部材300を海底Bに吊り降ろしただけで、砂礫用接地脚部401は、海底Bに安定的に設置される(図1、図4参照)。
次に、図9(c)に示すように、上部櫓部材200をクレーン910で下部櫓部材300上に設置し、クランプ部材270で上部櫓部材200と下部櫓部材300とを固定する。そして、必要に応じて、図9(d)に示すように、フィルターユニット930を砂礫用接地脚部401の周辺に配置し、更に図9(e)に示すように、方塊940を配置する。これにより、海上作業用櫓10の設置は完了する。
ボーリング作業が終了して海上作業用櫓10を撤去する場合、次地点へ移設する場合、あるいは荒天のため待避する場合には、設置の手順と逆の手順で、クレーン910により方塊940、フィルターユニット930を撤去して甲板920上に積載し、更に、上部櫓部材200、下部櫓部材300の順にクレーン付台船900上に積載する。このとき、下部櫓部材300を甲板920上に4台配置した櫓用受架台700に載置すると、下部櫓部材300に取り付けてある砂礫用接地脚部401の長さが異なっても、下部櫓部材300を甲板920上に安定して載置することができる。
そして、次の作業現場に移動する場合には、クレーン付台船900の甲板920上において、必要に応じて接地脚部401、500、600への交換、長さが異なる脚部410、510、610への交換を行う。これらの交換作業は、4台の櫓用受架台700に下部櫓部材300を載置した状態で行う。下部櫓部材300は、櫓用受架台700上に載置されているので、下部櫓部材300と床Fとの間には交換作業を行うのに充分なスペースが確保され、作業を容易に行うことができる。次の作業現場における海上作業用櫓10の設置作業は上述したとおりである。
以上説明したように、本発明に係る海上作業用櫓(水上作業用櫓)、櫓用受架台及び海上作業用櫓の設置方法(水上作業用櫓の設置方法)によれば、海上作業用櫓を上部櫓部材、下部櫓部材及び接地脚部に分割した構造としたので、設置・移設時の取扱が容易となり、組立設置の時間が短縮できる。また、台風等の荒天が原因による避難を迅速に行うことができ、工期の遅延を防止できる。
また、異なる条件の作業領域へ移設するときに、上部櫓部材及び下部櫓部材は交換することなくそのままで、予め地盤の種類に応じた接地脚部を準備しておいて接地脚部を交換するだけで対応することができる。
また、クレーン台船に櫓用受架台を設置しておくことにより、基地港に曳航・陸揚げすることなく、海上の作業台船上において脚部の取り替え作業が容易に行うことができるようになる。
また、海上作業用櫓を構成する櫓部材の個数は二機に限らず、3機以上であっても良い。
実施の一形態例に係る水上作業用櫓の構成を示す正面図である。 水上作業用櫓の図1中のA−A線に相当する断面図である。 水上作業用櫓を示す図1中のB部の拡大断面図である。 砂礫用接地脚部の構造を示す図1中のC部の拡大断面図である。 岩礁用接地脚部の構造を示す正面図である。 砂地用接地脚部の構造を示す正面図である。 水上作業用櫓を櫓用受架台に載置した状態を示す図であり、(a)は平面図、(b)は正面図、(c)は櫓用受架台を示す正面図である。 水上作業用櫓を他の櫓用受架台に載置した状態を示す図であり、(a)は平面図、(b)は正面図、(c)は櫓用受架台を示す正面図、(d)は櫓用受架台を示す平面図である。 (a)〜(e)は海上作業用櫓の配置手順を示す模式図である。
符号の説明
10 海上作業用櫓(水上作業用櫓)、100 櫓本体部、200 上部櫓部材、210 受台、220 主桁、221 床板、230 デッキ部、240 手摺部、250 接続脚部、260 接続部、261 取付板部、262 補強板、263 挿入穴、270 クランプ部材、300 下部櫓部材、310 上桁部、320 下桁部、321 322 323 324 水平部材、330 連結脚部、340 垂直ブレース部材、350 水平ブレース部材、360 連結部材、361 接続端部、362 H形鋼材、370 脚部取付部、371 垂下部、372 取付板、380 ボルトナット、400 接地脚部、401 砂礫用接地脚部、410 脚部、411 本体、412 天板、413 底板、420 基部、421 本体、422 天板、430 設置板部、440 尖状部、441〜444 鋼板、450 ボルトナット、500 岩礁用接地脚部、510 脚部、511 本体、512 天板、513 底板、520 基部、521 本体、522 天板、530 設置板部、540 コンクリート基盤、550 ボルトナット、560 アンカボルト、570 取付補強板、600 砂地用接地脚部、610 脚部、611 本体、612 天板、613 底板、620 基部、621 本体、622 天板、630 設置部、631 本体、632 張出部、633 軸部、640 沈下防止部、641 沈下防止板、643 錘、650 貫入部、651 本体、660 ボルトナット、662 位置決部材、700 櫓用受架台、710 支持枠、711 712 H型鋼材、720 脚、730 ブレース部材、740 梁材、800 櫓用受架台、810 支持梁、820 脚、830 接地部材、840 ブレース部材、850 脚補強部材、900 クレーン付台船、910 クレーン、920 甲板、930 フィルターユニット、940 方塊、B 海底(水底)、F 床、W 岸壁

Claims (9)

  1. デッキ部を備えた櫓本体部と、上部に前記櫓本体部が設置されると共に下部が水底に接底される接底脚部と、を備えてなり、
    前記櫓本体部は、上下方向に重ねて組み立てられる複数の櫓部材を備えて構成され、
    前記接地脚部は、前記複数の櫓部材のうち最下部に配置される櫓部材に取り外し可能に設置されることを特徴とする水上作業用櫓。
  2. 前記複数の櫓部材及び接地脚部は、水上作業が行われる領域の既往最大波高に対処できる寸法及び構造を備えるよう構成されていることを特徴とする請求項1記載の水上作業用櫓。
  3. 前記櫓本体部材は、櫓部材であり前記接地脚部の上側に配置される下部櫓部材と、櫓部材であり前記下部櫓部材の上側に配置され前記デッキ部を備えた上部櫓部材と、から構成されることを特徴とする請求項1又は2記載の水上作業用櫓。
  4. 前記櫓本体部材には、水上作業用櫓が設置される水底の状態に適合させて予め作成された複数種の接地脚部から選択した接地脚部が取り付け可能であることを特徴とする請求項1乃至3のいずれか一項記載の水上作業用櫓。
  5. 前記複数の接地脚部は、
    岩礁からなる水底に打設されたコンクリート基礎に固着される固定板部を備える岩礁用接地脚部、
    砂礫からなる水底の上面に配置される平板状の設置板部及び前記設置板部の下部から突設され前記砂礫に貫入される尖状部を備える砂礫用接地脚部、
    砂地である水底の上面に配置される平板上の沈下防止板及び前記砂地に貫入される貫入部を備える砂地用接地脚部、
    のいずれかを含むことを特徴とする請求項4記載の水上作業用櫓。
  6. 前記砂地用接地脚部の沈下防止板は、前記貫入部に設置された軸部で下方に垂下された閉状態から水平に張り出した開状態に揺動可能に配置されていることを特徴とする請求項4記載の水上作業用櫓。
  7. 請求項1乃至6のいずれか一項記載の水上作業用櫓の櫓本体をその上部に載置する載置部と、この載置部に前記櫓本体を載置した状態で前記複数の接地脚部から任意の接地脚部の着脱ができる高さに支持する脚部と、からなることを特徴とする櫓用受架台。
  8. デッキ部を備えた櫓本体部及び、上部に前記櫓本体部が設置されると共に下部が水底に設置される接地脚部とを備えて構成される水上作業用櫓をクレーン台船でボーリング個所に移送して設置するに際して、
    前記櫓本体部を構成する複数の櫓部材と、水底の状態に適合させて予め作成された複数種の設置部形状を備える複数の接地脚部と、櫓本体部がその上部に載置され前記複数の接地脚部から任意の接地脚部の着脱ができるよう持ち上げて支持できる櫓用受架台と、をクレーン台船に積載する積載工程と、
    前記櫓部材及び接地脚部を積載したクレーン台船を水上作業の実行領域に移送する移送工程と、
    水上作業用櫓を水底に設置する設置工程と、
    前記積載工程と設置工程との間に実行され、クレーン台船上で前記水上作業用櫓を組み立てるに際して、櫓本体を前記櫓用受架台に載置し、水上作業用櫓を設置する領域の水底の状況に適合する種類の接地脚部を取り付けて水上作業用櫓を組み立てる組立工程と、
    を備えることを特徴とする水上作業用櫓の設置方法。
  9. デッキ部を備えた櫓本体部及び、上端部に前記櫓本体部が設置されると共に下端部が水底に設置される接地脚部とを備えて構成される水上作業用櫓をクレーン台船でボーリング個所に移送して設置するに際して、
    クレーン台船に、櫓本体部がその上部に載置され前記複数の接地脚部から任意の接地脚部の着脱ができるよう持ち上げて支持できる櫓用受架台を配置しておき、
    水上作業領域に設置された水上作業用櫓を吊り上げクレーン台船上に回収する回収工程と、
    回収した水上作業用櫓を、前記櫓用受架台上に載置する載置工程と、
    櫓用受架台上に載置された櫓本体部から接地脚部を取り外す脚部取外工程と、
    次に水上作業用櫓を設置する領域の水底の状況に適合する種類の接地脚部を取り付けて水上作業用櫓を組み立てる再組立工程と、
    を含むことを特徴とする水上作業用櫓の設置方法。
JP2008176108A 2008-07-04 2008-07-04 水上作業用櫓、櫓用受架台、及び水上作業用櫓の設置方法 Expired - Fee Related JP5073598B2 (ja)

Priority Applications (1)

Application Number Priority Date Filing Date Title
JP2008176108A JP5073598B2 (ja) 2008-07-04 2008-07-04 水上作業用櫓、櫓用受架台、及び水上作業用櫓の設置方法

Applications Claiming Priority (1)

Application Number Priority Date Filing Date Title
JP2008176108A JP5073598B2 (ja) 2008-07-04 2008-07-04 水上作業用櫓、櫓用受架台、及び水上作業用櫓の設置方法

Publications (2)

Publication Number Publication Date
JP2010013874A true JP2010013874A (ja) 2010-01-21
JP5073598B2 JP5073598B2 (ja) 2012-11-14

Family

ID=41700216

Family Applications (1)

Application Number Title Priority Date Filing Date
JP2008176108A Expired - Fee Related JP5073598B2 (ja) 2008-07-04 2008-07-04 水上作業用櫓、櫓用受架台、及び水上作業用櫓の設置方法

Country Status (1)

Country Link
JP (1) JP5073598B2 (ja)

Citations (3)

* Cited by examiner, † Cited by third party
Publication number Priority date Publication date Assignee Title
JPS57104711A (en) * 1980-12-19 1982-06-29 Mitsui Eng & Shipbuild Co Ltd Fabrication of landing and elevating type marine platform
JPH06146250A (ja) * 1992-11-10 1994-05-27 Nishi Nippon Chishitsu Chiyousashiyo:Kk 浅海用ボーリング櫓の設置方法及びその櫓装置
JP2000345544A (ja) * 1999-06-03 2000-12-12 Yorigami Maritime Construction Co Ltd コンクリート製造設備

Patent Citations (3)

* Cited by examiner, † Cited by third party
Publication number Priority date Publication date Assignee Title
JPS57104711A (en) * 1980-12-19 1982-06-29 Mitsui Eng & Shipbuild Co Ltd Fabrication of landing and elevating type marine platform
JPH06146250A (ja) * 1992-11-10 1994-05-27 Nishi Nippon Chishitsu Chiyousashiyo:Kk 浅海用ボーリング櫓の設置方法及びその櫓装置
JP2000345544A (ja) * 1999-06-03 2000-12-12 Yorigami Maritime Construction Co Ltd コンクリート製造設備

Also Published As

Publication number Publication date
JP5073598B2 (ja) 2012-11-14

Similar Documents

Publication Publication Date Title
JPS6315381Y2 (ja)
EP1058787B1 (en) Method for installation of wind turbines at sea, foundation for wind turbines and use of such foundation
WO2018129471A1 (en) Modular offshore wind turbine foundation and modular substructure with suction caissons
CN109629568A (zh) 海上风电导管架基础钢管桩用浮式稳桩平台的沉桩工艺
JP2011183835A (ja) 甲板昇降式作業台船及び洋上風力発電施設の施工方法
KR20120047740A (ko) 갑판승강식작업대선 및 이를 이용한 해상풍력발전시설의 시공방법
AU2012204091A1 (en) Method for providing a foundation for a mass located at height, and a positioning frame for performing the method
CN107882055A (zh) 一种风机承台的施工方法
JP2005180239A (ja) 洋上風力発電装置の基礎
KR101236542B1 (ko) 자립형 지그 자켓 프레임을 이용한 수상 파일기초 시공 방법
JP2004285735A (ja) トラス枠を用いた仮設桟橋の施工方法
CN202969333U (zh) 钢桁架嵌岩码头结构
JP5073598B2 (ja) 水上作業用櫓、櫓用受架台、及び水上作業用櫓の設置方法
CN1020203C (zh) 河港工程结构件的制造方法和装备
JP3145641B2 (ja) ジャケット構造体
JP2515888B2 (ja) 海上構造物を築造するための鋼管杭の施工工法およびその装置
HK1198191A1 (en) A combined construction technology of pre-fabrication & simultaneously/integrally piling, splicing & piling in groups for sheet piles of cellular are cell.
CN208236388U (zh) 半潜平台推进器海底支撑工装
CN118390514A (zh) 适用于斜坡堤的钢圆筒振沉工艺
CN204875664U (zh) 一种用于港湾临时码头的挡土墙结构
JP5619659B2 (ja) 地盤の斜面を掘削する方法
CN103161401A (zh) 海上作业船
KR20170070794A (ko) 수중 토석(土石) 선적 장비 및 이를 이용한 선적 방법
JP2006028739A (ja) 除塵機
CN222456107U (zh) 库区深水无覆盖层先堰后桩施工装置

Legal Events

Date Code Title Description
A621 Written request for application examination

Free format text: JAPANESE INTERMEDIATE CODE: A621

Effective date: 20110125

A131 Notification of reasons for refusal

Free format text: JAPANESE INTERMEDIATE CODE: A131

Effective date: 20120515

A977 Report on retrieval

Free format text: JAPANESE INTERMEDIATE CODE: A971007

Effective date: 20120516

A521 Written amendment

Free format text: JAPANESE INTERMEDIATE CODE: A523

Effective date: 20120703

TRDD Decision of grant or rejection written
A01 Written decision to grant a patent or to grant a registration (utility model)

Free format text: JAPANESE INTERMEDIATE CODE: A01

Effective date: 20120821

A01 Written decision to grant a patent or to grant a registration (utility model)

Free format text: JAPANESE INTERMEDIATE CODE: A01

A61 First payment of annual fees (during grant procedure)

Free format text: JAPANESE INTERMEDIATE CODE: A61

Effective date: 20120822

R150 Certificate of patent or registration of utility model

Ref document number: 5073598

Country of ref document: JP

Free format text: JAPANESE INTERMEDIATE CODE: R150

Free format text: JAPANESE INTERMEDIATE CODE: R150

FPAY Renewal fee payment (event date is renewal date of database)

Free format text: PAYMENT UNTIL: 20150831

Year of fee payment: 3

R250 Receipt of annual fees

Free format text: JAPANESE INTERMEDIATE CODE: R250

R250 Receipt of annual fees

Free format text: JAPANESE INTERMEDIATE CODE: R250

R250 Receipt of annual fees

Free format text: JAPANESE INTERMEDIATE CODE: R250

S111 Request for change of ownership or part of ownership

Free format text: JAPANESE INTERMEDIATE CODE: R313117

R250 Receipt of annual fees

Free format text: JAPANESE INTERMEDIATE CODE: R250

R350 Written notification of registration of transfer

Free format text: JAPANESE INTERMEDIATE CODE: R350

LAPS Cancellation because of no payment of annual fees