JP2010011976A - 超音波診断装置 - Google Patents

超音波診断装置 Download PDF

Info

Publication number
JP2010011976A
JP2010011976A JP2008173798A JP2008173798A JP2010011976A JP 2010011976 A JP2010011976 A JP 2010011976A JP 2008173798 A JP2008173798 A JP 2008173798A JP 2008173798 A JP2008173798 A JP 2008173798A JP 2010011976 A JP2010011976 A JP 2010011976A
Authority
JP
Japan
Prior art keywords
image
cross
sound pressure
transmission
sectional image
Prior art date
Legal status (The legal status is an assumption and is not a legal conclusion. Google has not performed a legal analysis and makes no representation as to the accuracy of the status listed.)
Granted
Application number
JP2008173798A
Other languages
English (en)
Other versions
JP5248223B2 (ja
Inventor
Naohisa Kamiyama
直久 神山
Tetsuya Yoshida
哲也 吉田
Hiroki Kichishin
寛樹 吉新
Current Assignee (The listed assignees may be inaccurate. Google has not performed a legal analysis and makes no representation or warranty as to the accuracy of the list.)
Toshiba Corp
Canon Medical Systems Corp
Original Assignee
Toshiba Corp
Toshiba Medical Systems Corp
Priority date (The priority date is an assumption and is not a legal conclusion. Google has not performed a legal analysis and makes no representation as to the accuracy of the date listed.)
Filing date
Publication date
Application filed by Toshiba Corp, Toshiba Medical Systems Corp filed Critical Toshiba Corp
Priority to JP2008173798A priority Critical patent/JP5248223B2/ja
Publication of JP2010011976A publication Critical patent/JP2010011976A/ja
Application granted granted Critical
Publication of JP5248223B2 publication Critical patent/JP5248223B2/ja
Expired - Fee Related legal-status Critical Current
Anticipated expiration legal-status Critical

Links

Images

Landscapes

  • Ultra Sonic Daignosis Equipment (AREA)

Abstract

【課題】超音波診断装置において、診断者による超音波診断が正確に精度よく実施できること。
【解決手段】超音波診断装置10は、高音圧超音波の送信から低音圧超音波の送信に切り換え後、低音圧超音波の送信によるエコー信号のうち前半部分のエコー信号を基に第1色相の第1断面画像を生成すると共に後半部分のエコー信号を基に第2断面画像を生成し、第1断面画像の輝度値より第2断面画像の輝度値の方が大きい画素が第2色相で、第1断面画像の輝度値より第2断面画像の輝度値の方が小さい画素が第1色相の第3断面画像を生成する画像生成回路22及び表示画像生成回路23と、第1断面画像を表示すると共に、第3断面画像を第1断面画像上に重ねて表示するディスプレイ14と、を有する。
【選択図】 図1

Description

本発明は、超音波造影剤を用いて行なう造影エコー法において、組織信号の残存を分別し、血流由来の信号を確実に診断情報として提示することが可能な超音波診断装置に関する。
超音波診断装置では、超音波プローブを体表から当てるだけの簡単な操作で心臓の拍動や胎児の動きの様子がリアルタイム表示で得られ、かつ安全性が高いため繰り返して検査が行なえる。また、超音波診断装置では、X線診断装置、X線CT(computerized tomography)、MRI(magnetic resonance imaging)等の診断機器に比べてシステムの規模が小さいので、装置をベッドサイドまで移動して検査することも容易に行なえるなど簡便である。さらに、超音波診断装置は、X線診断装置等のように被曝の影響がないので、産科や在宅医療等においても使用することができる。
近年、静脈投与型の超音波造影剤が製品化され、造影エコー法が行なわれるようになってきている。この手法は、例えば、心臓及び肝臓等の検査で静脈から超音波造影剤を注入して血流信号を増強し、血流動態の評価を行なうことを目的としている。造影剤の多くは微小気泡(マイクロバブル)が反射源として機能するものである。気泡というデリケートな基材の性質上、通常の診断レベルの超音波送信であっても、その機械的作用によって気泡は壊れ、結果的にスキャン面からのエコー信号強度は低下してしまう。従って、環流の動的な様子をリアルタイムに観察するためには、低音圧超音波の送信によって画像化する等、スキャンによる気泡の崩壊を比較的低減させることが必要となってくる。この様な低音圧超音波の送信による画像化はS/N(signa to noise)も低下してしまうため、それを補うための種々の信号処理法も考案されている。
また、造影剤気泡が崩壊するという特徴を生かし、以下のような手法が考案されている。すなわち、第1に、低音圧超音波の送信の下でスキャン断面に充満していく気泡の動態を観察し、第2に、高音圧超音波の送信に切り替えて、断面内(厳密には照射体積内)の気泡を崩壊させ、第3に、再び断面内に流入していく気泡の様子を観察する、という手法である。この手法は再環流(replenishment)法と呼ばれている(例えば、特許文献1参照。)。
再環流法では、低音圧照射下でスキャン断面に充満していく様子は気泡を含んだ血流の動態を観察するのに適しているが、気泡崩壊後に流入してくる気泡の量は微量であることが多く、特に微細な血管を流れる気泡の数は非常に疎らなため、血管構造を十分に可視化できない場合も起こり得る。この問題を解決するため、再還流中の画像の輝度値に対して輝度値保持演算を実行して、微細な血管を再構成する画像処理法も考案されている(例えば、特許文献2参照。)。
また、再環流法では、前記重畳表示に際して画像再構成中に臓器又は超音波プローブが動いてしまうと、生成される画像にもブレが生じるという問題がある。そこで、各フレームで、全体の動きの成分を求めそれを補正してから重畳させるという最前案も考案されている(例えば、特許文献3参照。)。
特開平11−155858号公報 特開2004−321688号公報 特開2007−330764号公報
従来の超音波診断装置を用いて気泡を観察する場合、気泡からの特有の信号である高調波成分を選択的に抽出して映像化する非線形信号処理法、例えばハーモニックイメージング等が用いられる。その方法により、組織信号が除去されるため、血流量に相関した情報を輝度情報として知ることが可能となる。しかしながら、非線形信号処理法を用いても組織信号は完全に除去はされないことが知られている。これは組織からもある程度の非線形信号が発生することによる。特に肝硬変や脂肪肝の場合、組織信号の残存は増大するため、画像中の輝度が気泡によるものか組織によるものかの判断が困難となる。
例えば、肝臓の超音波画像の場合、造影剤投与前にも関わらず組織からの非線形信号が残存するケースとして、もとより反射信号の大きい横隔膜等が挙げられる。しかし、肝臓組織内の腫瘤性病変においても、同様の信号残存が起こる場合が多い。この状態で造影剤を投与した場合、腫瘤性病変は、造影剤が流入して輝度が上昇したのか、又は投与前からの輝度を保持しているのかが判別が困難となる。
本発明は、このような事情を考慮してなされたもので、診断者による超音波診断が正確に精度よく実施できる超音波診断装置を提供することを目的とする。
本発明に係る超音波診断装置は、上述した課題を解決するために、造影剤バブルが投与された被検体に対して超音波を送信し、前記超音波に基づくエコー信号を受信する超音波プローブと、前記超音波プローブに、前記造影剤バブルを崩壊させる程度の高音圧超音波を送信させると共に、前記造影剤バブルを破壊させない程度の低音圧超音波を送信させ、前記エコー信号を受信させる送受信手段と、前記高音圧超音波の送信と前記低音圧超音波の送信とが交互に切り替わるように前記送信手段を制御する制御手段と、前記高音圧超音波の送信から前記低音圧超音波の送信に切り換え後、前記低音圧超音波の送信によるエコー信号のうち前半部分のエコー信号を基に生成される第1断面画像に基づく画素と、後半部分のエコー信号を基に生成される第2断面画像に基づく画素とを弁別可能に表示する表示手段と、を有する。
また、本発明に係る超音波診断装置は、上述した課題を解決するために、造影剤バブルが投与された被検体に対して超音波を送信し、前記超音波に基づくエコー信号を受信する超音波プローブと、前記超音波プローブに、前記造影剤バブルを崩壊させる程度の高音圧超音波を送信させると共に、前記造影剤バブルを破壊させない程度の低音圧超音波を送信させる送信手段と、前記高音圧超音波の送信と前記低音圧超音波の送信とが交互に切り替わるように前記送信手段を制御する制御手段と、前記低音圧超音波の送信から前記高音圧超音波の送信への切り換え直前のフレームに対応するエコー信号を基に第4断面画像を生成すると共に前記高音圧超音波の送信から前記低音圧超音波の送信への切り換え直後のフレームに対応するエコー信号を基に第5断面画像を生成する生成手段と、前記第4断面画像と前記第5断面画像との輝度の差分演算によって第6断面画像を生成する演算手段と、前記第4断面画像、前記第5断面画像及び前記第6断面画像のうち少なくとも1つを表示する表示手段と、を有する。
本発明に係る超音波診断装置によると、診断者による超音波診断が正確に精度よく実施できる。
本発明に係る超音波診断装置の実施形態について、添付図面を参照して説明する。
(第1実施形態)
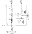
図1は、第1実施形態の超音波診断装置の構成を示す概略図である。
図1は、第1実施形態の超音波診断装置10を示す。その超音波診断装置10は、大きくは、超音波プローブ11、装置本体12、操作パネル13及びディスプレイ14によって構成される。
超音波プローブ11は、装置本体12からの駆動パルスを基に患者(被検体)Pのスキャン領域に対して超音波パルスを送信すると共に、送信された超音波パルスに対応するエコーを受信して電気信号に変換する圧電振動子群を有する。超音波プローブ11の圧電振動子群からスキャン領域に超音波パルスが送信されると、その超音波パルスによって形成される超音波ビームは、体内組織の音響インピーダンスの不連続面で次々と反射される。その反射されたエコーを圧電振動子群によって受信する。受信されたエコーは圧電振動子群にてエコー信号に変換される。エコー信号の振幅は、反射することになった不連続面における音響インピーダンスの差に依存する。また、移動している血流や心臓壁等の表面で反射された場合、送信された超音波パルスに対応するエコーは、ドプラ効果により移動体の超音波送信方向の速度成分を依存して、周波数偏移を受ける。
装置本体12は、送受信回路21、画像生成回路(検波回路)22、表示画像生成回路23、画像メモリ24、CPU(central processing unit)25、内部記憶装置26、IF(inter face)27及び外部記憶装置28を備える。なお、第1実施形態では、送受信回路21、画像生成回路22及び表示画像生成回路23は、集積回路として構成されるものとして説明するが、それら全部又は一部はソフトウェア的にモジュール化されたソフトウェアプログラムの実行によって機能されるものであってもよい。
送受信回路21は、図示しないトリガ発生回路、遅延回路(ディレイライン)、パルサ回路、アンプ、A/D(analog to digital)変換回路及び加算回路を有する。
パルサ回路は、所定のレート周波数fr Hz(周期;1/fr秒)で、送信超音波を形成するためのレートパルスを繰り返し発生する。
送信遅延回路は、超音波をチャンネル毎にビーム状に集束し、かつ、送信指向性を決定するのに必要な遅延時間を各レートパルスに与える。
トリガ発生回路は、レートパルスに基づくタイミングで、超音波プローブ11の圧電振動子に駆動パルスを印加する。
アンプは、超音波プローブ11を介して受信されるエコー信号をチャンネル毎に増幅する。アンプによって増幅されるエコー信号は、遅延回路によって、受信指向性を決定するのに必要な遅延時間が与えられる。
A/D変換回路は、遅延回路から出力されるエコー信号をデジタル信号に変換する。
加算回路は、デジタルのエコー信号に対して加算処理を行なう。加算回路による加算によってエコー信号の受信指向性に応じた方向からの反射成分が強調され、受信指向性と送信指向性とにより超音波送受信の総合的なビームが形成される。
画像生成回路22は、送受信回路21の受信回路から出力されるエコー信号に対して対数増幅及び包絡線検波処理等を施し、エコー信号強度が輝度値(明るさ)で表現される断面画像(Bモード画像)を生成する。さらに、画像生成回路22は、断面画像を基に、後述する基準画像、再環流画像及び輝度値保持画像を生成する。
表示画像生成回路23は、DSC(digital scan converter)、RGB(red green blue)変換回路及びD/A(digital to analog)変換回路等によって構成される。表示画像生成回路23は、画像生成回路22から出力されるBモード画像や血流画像と各種パラメータとを合成して表示画像を生成して、ディスプレイ14に出力する。
画像メモリ24は、画像生成回路22から出力される断面画像、基準画像、再環流画像及び輝度値保持画像のデータを格納する記憶メモリから成る。画像メモリ24に記憶されるデータは、例えば診断の後に操作者が呼び出すことが可能となっており、静止画的に、あるいは複数枚を使って動画的に再生することが可能である。また、画像メモリ24は、画像生成回路22の要求によって記憶するデータを画像生成回路22に出力する。
CPU25は、半導体で構成された電子回路が複数の端子を持つパッケージに封入されている集積回路(LSI)の構成をもつ制御装置である。CPU25は、内部記憶装置26に記憶しているプログラムを実行する機能を有する。又は、CPU25は、外部記憶装置28に記憶しているプログラム、ネットワークNから転送されIF27で受信されて外部記憶装置28にインストールされたプログラムを、内部記憶装置26にロードして実行する機能を有する。
内部記憶装置26は、ROM(read only memory)及びRAM(random access memory)等の要素を兼ね備える構成をもつ記憶装置である。
IF27は、パラレル接続仕様やシリアル接続仕様に合わせたコネクタによって構成される。IF27は、操作パネル13、病院基幹のLAN(local area network)等のネットワークN、外部記憶装置28及び操作パネル13等に関するインターフェースである。装置本体12によって取得された超音波画像等のデータや解析結果等は、IF27によって、ネットワークNを介して他の装置に転送可能である。
外部記憶装置28は、磁性体を塗布又は蒸着した金属のディスクが読み取り装置(図示しない)に着脱不能で内蔵されている構成をもつ記憶装置である。
内部記憶装置26又は外部記憶装置28は、スキャンシーケンスや、診断情報(患者ID(identification)及び医師の所見等)、診断プロトコル、送受信条件及びその他のデータ群を格納している。また、内部記憶装置26又は外部記憶装置28は、必要に応じて、画像メモリ24に一時的に記憶される画像データの保管等にも使用される。さらに、内部記憶装置26又は外部記憶装置28に記憶されたデータは、IF27を介してネットワークN網へ転送することも可能となっている。
操作パネル13は、トラックボール、各種スイッチ、ボタン、マウス及びキーボード等によって構成される。操作パネル13は、装置本体12に接続され、操作者(診断者)からの各種指示、例えば、関心領域(ROI:region of interest)の設定指示、画質条件設定指示等を装置本体12に入力する機能を有する。操作者は、操作パネル13を介して、超音波プローブ11から送信される超音波パルスの送信周波数、送信駆動電圧(音圧)、送信パルスレート、スキャン領域及び高音圧超音波の送信(フラッシュ)の指示や、受信条件等を装置本体12に入力することができる。
操作パネル13を用いて操作者によって高音圧超音波の送信が指示されると、予め設定される低音圧超音波の送信から、同じく予め設定される高音圧超音波の送信に切り替わる。なお、高音圧超音波の送信から低音圧超音波の送信への復帰は、予め設定される時間間隔で自動的に行なわれるようになっている。
ディスプレイ14は、液晶ディスプレイやCRT(cathode ray tube)等によって構成される。ディスプレイ14は、表示画像生成回路23からのビデオ信号に基づいて、画像データを種々のパラメータの文字情報や目盛等と共に表示する機能を有する。
(超音波診断装置10によるスキャンシーケンス)
超音波診断装置10が実行する基本的なスキャンシーケンスについて、図2(a)及び(b)を用いて説明する。
図2(a)は、スキャンシーケンスの一例を示す図である。
図2(a)は、造影剤を利用したコントラストエコーにおいて、造影剤バブルを崩壊させる程度の高音圧超音波の送信と、バブルを崩壊さない程度で画像生成用の低音圧超音波の送信との2種類の音圧による超音波の送信を交互に実行するスキャンシーケンスを示す。なお、図2(a)に示すスキャンシーケンスで用いられる造影剤は、低音圧超音波を送信しても破壊されずにハーモニック信号を放出し、長時間の映像化が可能な「次世代造影剤」が好適である。
図2(a)に示すスキャンシーケンスの横軸は時間、縦軸は送信によるバブルへの機械的作用の度合いを示している。また、各縦ラインは一フレームに関するスキャンを、各縦ラインの長さは各フレームの送信音圧の機械的作用強度をそれぞれ表している。すなわち、各縦ラインは、長さが長い(大きい)ほど送信周波数が低く、送信駆動音圧が大きく、又はその組み合わせとして設定された送信条件に基づいている。よって、長い縦ラインは高音圧超音波の送信によるスキャン(図2(a)では3フレーム分)に、短い縦ラインは低音圧超音波の送信によるスキャン(図2(a)では14フレーム分)にそれぞれ対応する。なお、一フレームは複数の走査線から構成されることから、一縦ラインは、複数の走査線に関する数百回のスキャンを象徴的に表したものとなっている。以下、低音圧スキャンによって得られる断面画像を再環流(replenishment)画像という。
図2(b)は、造影剤バブル(気泡)の数の時系列変化を示す図である。
図2(b)は、図2(a)に示すスキャンシーケンスに従うスキャンを実行した場合の造影剤バブルの数の時間的変化を示した図である。なお、図2(b)に示す造影剤バブルの数の時系列変化の横軸(経過時間)は、図2(a)に示すスキャンシーケンスの横軸(経過時間)と対応している。一般に造影剤バブルの数は、エコー信号と正の相関があると考えられる。従って、図2(b)に示すように、低音圧超音波の送信によるスキャン(図2(a)に示す短い縦ライン)の下では造影剤気泡の崩壊は小さいためスキャン断面内に流入する気泡数は次第に増加し、長時間の観察では平衡状態に達する。次に、低音圧超音波の送信から高音圧超音波の送信によるスキャン(図2(a)に示す長い縦ライン)に切り替わると、スキャン断面内の気泡数は急激に崩壊し、1フレーム以上、好ましくは10フレーム程度の回数の高音圧超音波の送信により気泡はほぼ完全に消滅する。続いて、高音圧超音波の送信から低音圧超音波の送信に切り替えれば造影剤気泡の再環流の様子を観察することができる。このような処理を繰り返し行なうスキャンシーケンスによって、低音圧超音波の送信を基に画像生成回路22によって生成される断面画像を用いて再環流現象を繰り返し観察することが可能となる。
ただし、これは気泡が関心領域に流入している時間帯を前提としている。もし投与後長時間が経過し、再還流がほぼないような時間帯でスキャンシーケンスを行なうと、気泡は速やかに消失し、再び上昇しない図3に示すようになる。
(超音波診断装置10による診断画像の生成・表示)
超音波診断装置10による診断画像(診断に有効な画像として装置側が積極的に表示する画像)の生成・表示の手法について説明する。
撮影の前段操作において、高音圧超音波の送信を行なう送信音圧及び送信時間と、低音圧超音波の送信を行なう送信音圧が任意の値に設定される。操作者によって高音圧超音波の送信を指示する操作パネル13上のボタン(Flashボタン)が押されることで、超音波診断装置10は低音圧超音波の送信から高音圧超音波の送信に切り換える。なお、高音圧超音波の送信から低音圧超音波の送信への復帰は、予め操作者によって設定される時間間隔で自動的に行なわれるようになっている。
次に、高音圧超音波の送信から低音圧超音波の送信に復帰後のエコー信号を基に、画像生成回路22は、以下のような画像処理を行なう。すなわち、画像生成回路22は、高音圧超音波の送信から低音圧超音波の送信に復帰直後の図2(a)に示すフレームFからフレームF(M:正の整数)までに関するエコー信号を基にM枚の再環流画像群R,…,Rを生成する。また、画像生成回路22は、M枚の再環流画像群R,…,Rに対して輝度値(エコー信号強度)保持演算を実行する。演算結果として生成される基準画像Bは第1色相にRGB変換され、ディスプレイ14に表示される。なお、M=1、つまりフレームFのみに関するエコー信号を基に基準画像Bを生成する場合、画像生成回路22による輝度値保持演算の実行は必要なく、フレームFに関する再環流画像Rが基準画像Bとなる。さらに、M枚の再環流画像群R,…,Rのうち、フレームFに関する再環流画像Rを基準画像としてもよい。ここで、Mを任意の値としたのは、低音圧超音波の送信に復帰直後の送信音圧が不安定である場合、複数のフレームを利用することで基準画像が平均的な輝度となるからである。なお、第1色相としては、後述する輝度値保持画像中の基準画像部分の視認性が確保できるような視覚的強度の低い色相、例えば青色((R,G,B)=(0,0,輝度値/0.1145))が望ましい。
次に、フレームFM+n(図2(a)に示すフレームFM+1,…,FM+N)に関するエコー信号を基に逐次生成される再環流画像RM+n(再環流画像RM+1,…,RM+N)を基に、輝度値保持画像HM+nが生成される。具体的には、フレームFM+1に関するエコー信号を基に生成される再環流画像RM+1と基準画像Bとに対して画素毎に輝度値保持演算を実行し、基準画像Bの輝度値が大きい画素が第1色相のままで、再環流画像RM+1の輝度値が大きい画素が第2色相で表される輝度値保持画像HM+1が生成される。
すなわち、基準画像B中の明るい輝度領域が存在する場合、それを超えるような信号レベルの気泡が再還流しない限り、その領域には再環流画像RM+nは重畳されないことになる。基準画像Bは主に組織の残存から成り、再環流画像RM+nは再還流する気泡から成るため輝度値保持演算の実行によって、両者の識別が容易となる。ここで、第2色相としては、第1色相とは異なる色相、例えばグレースケールが望ましい。
ここで、再還流画像RM+nの生成後に実行される輝度値保持演算について説明する。再還流画像RM+nの生成後に実行される輝度値保持演算とは、空間的に対応する輝度値のうち最大値Pmax(x,y)を選択して新たな輝度値保持画像HM+nを生成する演算である。すなわち、最新の再環流画像RM+nの各座標のピクセル輝度をPRM+n(x,y)、基準画像Bの各座標のピクセル輝度をPB(x,y)とし、次の条件式(1)を用いて輝度値保持画像HM+nの各座標のピクセル輝度PHM+n(x,y)を逐次演算する。
[数1]
If PRM+n(x,y)>PB(x,y)
Then PHM+n(x,y)=PRM+n(x,y)
Else PHM+n(x,y)=PB(x,y) …(1)
当該アルゴリズムは、最新の再環流画像RM+nを基準画像Bと比較して大きな輝度値を有する画素のみ、その輝度値を更新して輝度値保持画像HM+nを生成するというものである。
ここで、ピクセル輝度とは、基準画像Bが有するエコー信号に基づくものであり、色相が変化しても色相とは別に保持するようになっている。これによって、第1色相と第2色相も信号レベルでの比較が可能となる。
また、再環流画像RM+nを用いて輝度値保持演算を行なう場合、再環流画像RM+nの直前の再環流画像RM+n−1の各座標のピクセル輝度をPRM+n−1(x,y)とし、次の条件式(2)を用いて輝度値保持画像HM+nの各座標のピクセル輝度PHM+n(x,y)を逐次演算してもよい。
[数2]
If PRM+n(x,y)<PB(x,y)
Then PHM+n(x,y)=PB(x,y)
If PRM+n(x,y)>PB(x,y) and If PRM+n(x,y)>PRM+n-1(x,y)
Then PHM+n(x,y)=PRM+n(x,y)
Else PHM+n(x,y)=PRM+n-1(x,y) …(2)
なお、前述の条件式(1),(2)のように、単純なピクセル輝度の比較方式であると、輝度値の時間的上昇変化が微小又は無い場合、外来ノイズによってたまたま出現する輝度レベルによって、表示画像が更新されてしまう場合も起こり得る。これを防止するために、条件式(1)を変形した条件式(3)、又は、条件式(2)を変形した条件式(4)を用いてもよい。
[数3]
If PRM+n(x,y)>PB(x,y)+K (K:任意に定める係数)
Then PHM+n(x,y)=PRM+n(x,y)
Else PHM+n(x,y)=PB(x,y) …(3)
[数4]
If PRM+n(x,y)<PB(x,y)+K
Then PHM+n(x,y)=PB(x,y)
If PRM+n(x,y)>PB(x,y)+K and If PRM+n(x,y)>PRM+n-1(x,y)+K
Then PHM+n(x,y)=PRM+n(x,y)
Else PHM+n(x,y)=PRM+n-1(x,y) …(4)
なお、前述の条件式(1),(3)を用いて再環流画像RM+nの輝度値PRM+n(x,y)が基準画像Bの輝度値PB(x,y)(+K)より大きい場合に、輝度値保持画像HM+nを、再環流画像RM+nから基準画像Bの信号レベルを差分した輝度値として再構成してもよい。また、前述の条件式(2),(4)を用いて再環流画像RM+nの輝度値PRM+n(x,y)が基準画像Bの輝度値PB(x,y)(+K)より大きく、かつ、直前の再環流画像RM+n−1の輝度値PRM+n−1(x,y)(+K)より大きい場合に、輝度値保持画像HM+nを、再環流画像RM+nから基準画像B又は再環流画像RM+n−1の信号レベルを差分した輝度値として再構成してもよい。このような差分信号を使用して輝度値保持画像HM+nを生成して表示することで、輝度値の純粋な増加分が異なる明るさとなってディスプレイ14上に表現されることになる。なお、これらの画像再構成を行なう際に予想される生体臓器及び超音波プローブ11のぶれに対して、既述の動き補正の技術(特許文献3)も適用可能となっている。
(超音波診断装置10の処理により生成される画像の詳細)
超音波診断装置10で得られる再環流画像には、以下の利点がある。すなわち、図2(a)に示すフレームFに関する再環流画像Rまでは、造影剤の流入がほとんど無く理想的には無信号(黒)である。したがって、再環流画像Rまでに現れる輝度情報は、残存する組織エコーであると考えられ、第1色相でディスプレイ14上に表示されることになる。
また、図2(a)に示すフレームFM+nに関する再環流画像RM+n上に現れる信号輝度は、造影剤の流入を示す。再環流画像RM+nが、例えばグレースケールで基準画像Bに重畳されれば、色相によって組織信号との区別が明瞭となる。また、予め輝度情報を呈している組織部分であっても、そこに造影剤が流入すればエコー信号は相対的に上昇するため、第1色相から第2色相へと徐々に変化していくように表示される。このようにして、造影イメージング画像中に組織信号が残存している場合でも、組織と造影剤の信号を容易に識別することが可能となる。
続いて、第1実施形態の超音波診断装置10の動作について、図4に示すフローチャートを用いて説明する。
操作パネル13のFlashボタンが押されるまでは、超音波診断装置10は、通常の造影モードにて低音圧超音波の送信による断面画像の生成・表示が行なわれる(ステップS1)。また、超音波診断装置10における高音圧超音波の送信及び低音圧超音波の送信の具体値は、予め操作者によって設定することが可能である。
次いで、操作者によって操作パネル13のFlashボタンが押されたか否かが判断される(ステップS2)。ステップS2の判断によってYES、すなわち、Flashボタンが押されたと判断される場合、低音圧超音波の送信から高音圧超音波の送信に切り換わる(ステップS3)。ステップS3によって高音圧超音波の送信に切り換わることで、スキャン断面内のマイクロバブルが消去する。一方、ステップS2の判断によってNO、すなわち、Flashボタンが押されていないと判断される場合、次のフレームについてステップS1による断面画像の生成・表示を行なう。
ステップS3に続いて、操作者によって予め設定される高音圧超音波の送信の時間(例えば、10フレーム分)が経過すると、ステップS3による高音圧超音波の送信から低音圧超音波の送信に切り換わり(ステップS4)、画像生成回路22によってマイクロバブルの再還流画像が生成される。ここで、ステップS4による低音圧超音波の送信によって、基準画像生成用の再環流画像Rが生成されたか否かが判断される(ステップS5)。ステップS5の判断によってYES、すなわち、再環流画像Rが生成されたと判断される場合、再環流画像Rまでを基に基準画像Bが生成され、その基準画像Bが第1色相で表示される(ステップS6)。一方、ステップS5の判断によってNO、すなわち、再環流画像Rが生成されていないと判断される場合、次のフレームについてステップS4による低音圧超音波の送信を行なう。
ステップS6に続いて、低音圧超音波の送信が行なわれる(ステップS7)。そして、フレームFM+nに関する再環流画像RM+nを基に輝度値保持画像HM+nが生成され、輝度値保持画像HM+nの基準画像B部分が第1色相で、再環流画像RM+n部分が第2色相で表示される(ステップS8)。
ここで、操作者によって操作パネル13のFreeze(停止)ボタンが押されたか否かが判断される(ステップS9)。ステップS9の判断によってYES、すなわち、Freezeボタンが押されたと判断される場合、低音圧超音波の送信を終了し、最終の輝度値保持画像が静止画像として表示されているままとなる。一方、ステップS9の判断によってNO、すなわち、Freezeボタンが押されていないと判断される場合、ステップS7による低音圧超音波の送信を行なう。
第1実施形態の超音波診断装置10によると、微細な血管分枝レベルの診断情報が有効、かつ、迅速に描出された画像を表示できるので、診断者による超音波診断が正確に精度よく実施できる。
(第2実施形態)
第2実施形態の超音波診断装置10Aの構成は、図1に示す第1実施形態の超音波診断装置10と同様であるので説明を省略する。また、超音波診断装置10Aで実行されるパルスシーケンスは、図2(a)と同様である。
超音波診断装置10Aでは、操作パネル13のFlashボタンが押され高音圧超音波の送信に切り換わる際、高音圧超音波の送信に切り換わる直前の図2(a)に示すフレームFM+Nに関する再環流画像RM+Nが、キャプチャーとしてディスプレイ14上に表示される。さらに、低音圧超音波の送信に復帰した直後の図2(a)に示すフレームFに関する再環流画像Rが、キャプチャーとしてディスプレイ14上に表示される。通常、高音圧超音波の送信の腫瘍時間は0.1秒から数秒程度であるので、再環流画像RM+N,Rは、ほぼ瞬時に生成・表示できる。なお、再環流画像RM+N,Rは、ディスプレイ14上に並列に表示されることが望ましい。
さらに、並列表示される再環流画像RM+N,Rに関連して種々の信号値を計測し、再環流画像RM+N,Rと共に表示することもできる。
図5は、再環流画像RM+N,Rの輝度値計測の第1例を説明するための図である。
図5に示すように、操作パネル13を用いる操作者によって再環流画像RM+N,R上にROIが設定されると、ROI内の平均輝度値がそれぞれ計算され、再環流画像RM+N,R上等に計算結果としての平均信号値[dB]が表示される。この際、ROIは再環流画像RM+N,Rの両方の同じ位置に表示され、大きさ及び位置が連動するようになっている。再環流画像RM+N,Rは、厳密には異なる取得時間であるが、通常その時間間隔は短いため、ほぼ同じ断面を描出していると考えられる。ROIの連動により、空間的に対応するROIの比較が容易となる。なお、ROIは2個(1組)に限らず複数組の設定が可能となっている。
図6(a),(b)は、再環流画像RM+N,Rの輝度値計測の第2例を説明するための図である。
図6(a)に示すように、操作パネル13を用いる操作者によって再環流画像RM+N,R上に、線上又は帯状のROIが設定されると、各深度の信号値が計算される。なお、図6(b)は、各深度の輝度値をグラフとして示している。
高音圧超音波の送信によってマイクロバブルは消失するが、生体臓器中の音波は深部に到達するに従い減衰が大きくなる。よって、減衰が十分大きくなったある深度以降は、マイクロバブルが消失しないという現象が起こる。図6(b)に示すグラフをディスプレイ14上に表示することで、診断者は、マイクロバブル消失限界深度Dを簡便に認識することができる。
また、「再環流画像RM+Nの輝度値」−「再環流画像Rの輝度値」である輝度値差分画像を生成してディスプレイ14上に表示することも可能である。第1実施形態で説明したように、再環流画像Rに含まれるエコー信号は組織からのエコー信号の残存であるので、再環流画像Rを再環流画像RM+Nから差分することで、組織信号を除去したバブル由来のエコー信号のみを画像化することが可能となる。
加えて、輝度値差分画像と再環流画像Rを、それぞれ異なる色相で重畳表示することも可能である。例えば、再環流画像Rの画像の色相を第1色相、例えば青色で、輝度値差分画像を第2色相、例えばグレースケールで表示する。
ここで、輝度値差分画像の中から高音圧超音波の送信によって造影剤バブルが消失した領域を検出する手段(図示しない)をさらに有してもよい。その場合、ディスプレイ14上には、検出される領域が数値又は色相によって識別可能に表示される。
第2実施形態の超音波診断装置10Aによると、微細な血管分枝レベルの診断情報が有効、かつ、迅速に描出された画像を表示できるので、診断者による超音波診断が正確に精度よく実施できる。
なお、本発明は、超音波診断装置10及び超音波診断装置10Aのそのままに限定されるものではなく、実施段階ではその要旨を逸脱しない範囲で構成要素を変形して具体化できる。また、超音波診断装置10及び超音波診断装置10Aで説明した複数の構成要素の適宜な組み合わせにより、種々の発明を形成できる。例えば、全構成要素から幾つかの構成要素を削除してもよい。さらに、異なる実施形態にわたる構成要素を適宜組み合わせてもよい。
第1実施形態の超音波診断装置の構成を示す概略図。 (a)は、スキャンシーケンスの一例を示す図、(b)は、造影剤バブル(気泡)の数の時系列変化を示す図。 スキャンシーケンスの一例と、造影剤バブル(気泡)の数の時系列変化とを示す図。 第1実施形態の超音波診断装置の動作を示すフローチャート。 再環流画像RM+N,Rの輝度値計測の第1例を説明するための図。 (a),(b)は、再環流画像RM+N,Rの輝度値計測の第2例を説明するための図。
符号の説明
10 超音波診断装置
11 超音波プローブ
12 装置本体
13 操作パネル
14 ディスプレイ
22 画像生成回路

Claims (11)

  1. 造影剤バブルが投与された被検体に対して超音波を送信し、前記超音波に基づくエコー信号を受信する超音波プローブと、
    前記超音波プローブに、前記造影剤バブルを崩壊させる程度の高音圧超音波を送信させると共に、前記造影剤バブルを破壊させない程度の低音圧超音波を送信させ、前記エコー信号を受信させる送受信手段と、
    前記高音圧超音波の送信と前記低音圧超音波の送信とが交互に切り替わるように前記送信手段を制御する制御手段と、
    前記高音圧超音波の送信から前記低音圧超音波の送信に切り換え後、前記低音圧超音波の送信によるエコー信号のうち前半部分のエコー信号を基に生成される第1断面画像に基づく画素と、後半部分のエコー信号を基に生成される第2断面画像に基づく画素とを弁別可能に表示する表示手段と、
    を有することを特徴とする超音波診断装置。
  2. 前記第1断面画像を第1色相によって生成すると共に、前記第1断面画像の輝度値より前記第2断面画像の輝度値の方が大きい画素が第2色相で、前記第1断面画像の輝度値より前記第2断面画像の輝度値の方が小さい画素が前記第1色相の第3断面画像を生成する生成手段をさらに有し、
    前記表示手段は、前記第3断面画像を前記第1断面画像上に重ねて表示する構成とすることを特徴とする請求項1に記載の超音波診断装置。
  3. 前記生成手段は、前記前半部分のエコー信号としてのフレーム群に相当するエコー信号のうち、最初のフレームに相当するエコー信号を基に前記第1断面画像を生成する構成とすることを特徴とする請求項2に記載の超音波診断装置。
  4. 前記生成手段は、前記前半部分のエコー信号としてのフレーム群に相当するエコー信号を基に断面画像群を生成し、前記断面画像群に対して画素毎に輝度値保持演算を施すことによって前記第1断面画像を生成する構成とすることを特徴とする請求項2に記載の超音波診断装置。
  5. 前記生成手段は、前記前半部分のエコー信号としてのフレーム群に相当するエコー信号のうち、最後のフレームに相当するエコー信号を基に前記第1断面画像を生成する構成とすることを特徴とする請求項2に記載の超音波診断装置。
  6. 前記生成手段は、前記前半部分を、造影剤を投与する前に視認される組織像を識別するために用いられる組織からのエコー信号を多く含む時間帯とする構成とすることを特徴とする請求項2乃至5のうちいずれか一項に記載の超音波診断装置。
  7. 前記第3断面画像を前記第1断面画像に重ねて表示するか否かの判定を前記第1断面画像の輝度から得られる閾値によって判定する手段をさらに有することを特徴とする請求項2乃至6のうちいずれか一項に記載の超音波診断装置。
  8. 前記生成手段は、前記第3画像を、前記第1画像からの差分によって再構成する構成とすることを特徴とする請求項2乃至7のうちいずれか一項に記載の超音波診断装置。
  9. 造影剤バブルが投与された被検体に対して超音波を送信し、前記超音波に基づくエコー信号を受信する超音波プローブと、
    前記超音波プローブに、前記造影剤バブルを崩壊させる程度の高音圧超音波を送信させると共に、前記造影剤バブルを破壊させない程度の低音圧超音波を送信させる送信手段と、
    前記高音圧超音波の送信と前記低音圧超音波の送信とが交互に切り替わるように前記送信手段を制御する制御手段と、
    前記低音圧超音波の送信から前記高音圧超音波の送信への切り換え直前のフレームに対応するエコー信号を基に第4断面画像を生成すると共に前記高音圧超音波の送信から前記低音圧超音波の送信への切り換え直後のフレームに対応するエコー信号を基に第5断面画像を生成する生成手段と、
    前記第4断面画像と前記第5断面画像との輝度値の差分演算によって第6断面画像を生成する演算手段と、
    前記第4断面画像、前記第5断面画像及び前記第6断面画像のうち少なくとも1つを表示する表示手段と、を有することを特徴とする超音波診断装置。
  10. 前記第4断面画像及び前記第5断面画像、又は前記第6断面画像の輝度値を計測する手段をさらに有し、前記表示手段は、前記輝度値を基に前記高音圧超音波の送信によって消失した前記造影剤バブルの輝度値を数値又は色相によって識別可能に表示する構成とすることを特徴とする請求項9に記載の超音波診断装置。
  11. 前記第5断面画像の中から前記高音圧超音波の送信によって前記造影剤バブルが消失した領域を検出する手段をさらに有し、前記表示手段は、前記領域を数値又は色相によって識別可能に表示する構成とすることを特徴とする請求項9に記載の超音波診断装置。
JP2008173798A 2008-07-02 2008-07-02 超音波診断装置 Expired - Fee Related JP5248223B2 (ja)

Priority Applications (1)

Application Number Priority Date Filing Date Title
JP2008173798A JP5248223B2 (ja) 2008-07-02 2008-07-02 超音波診断装置

Applications Claiming Priority (1)

Application Number Priority Date Filing Date Title
JP2008173798A JP5248223B2 (ja) 2008-07-02 2008-07-02 超音波診断装置

Publications (2)

Publication Number Publication Date
JP2010011976A true JP2010011976A (ja) 2010-01-21
JP5248223B2 JP5248223B2 (ja) 2013-07-31

Family

ID=41698723

Family Applications (1)

Application Number Title Priority Date Filing Date
JP2008173798A Expired - Fee Related JP5248223B2 (ja) 2008-07-02 2008-07-02 超音波診断装置

Country Status (1)

Country Link
JP (1) JP5248223B2 (ja)

Citations (2)

* Cited by examiner, † Cited by third party
Publication number Priority date Publication date Assignee Title
JPH11137550A (ja) * 1997-11-10 1999-05-25 Toshiba Corp 超音波診断装置
JP2004321688A (ja) * 2003-04-28 2004-11-18 Toshiba Corp 超音波診断装置及び画像処理装置

Patent Citations (2)

* Cited by examiner, † Cited by third party
Publication number Priority date Publication date Assignee Title
JPH11137550A (ja) * 1997-11-10 1999-05-25 Toshiba Corp 超音波診断装置
JP2004321688A (ja) * 2003-04-28 2004-11-18 Toshiba Corp 超音波診断装置及び画像処理装置

Also Published As

Publication number Publication date
JP5248223B2 (ja) 2013-07-31

Similar Documents

Publication Publication Date Title
JP4373699B2 (ja) 超音波診断装置
CN101721226B (zh) 超声波图像取得装置、医用图像处理装置、显示装置及方法
JP5925438B2 (ja) 超音波診断装置
JP4786150B2 (ja) 超音波診断装置および画像処理装置
JP5632203B2 (ja) 超音波診断装置、超音波画像処理装置及び超音波画像処理プログラム
JP5349115B2 (ja) 超音波診断装置及びその制御プログラム
US11166698B2 (en) Ultrasonic diagnostic apparatus
KR100748178B1 (ko) 임의 m-모드 영상을 디스플레이하는 초음파 진단 시스템및 방법
JP5422264B2 (ja) 超音波診断装置及び医用画像処理装置
US9186124B2 (en) Ultrasonic diagnostic apparatus, ultrasonic image processing apparatus, and ultrasonic image processing method
JP5091617B2 (ja) 超音波診断装置及び超音波診断装置制御プログラム
JPH0924047A (ja) 超音波診断装置
US6607490B2 (en) Ultrasonic diagnostic apparatus and control method thereof
JP2014028029A (ja) 超音波診断装置及び超音波診断装置制御プログラム
US20090171207A1 (en) Ultrasonic diagonstic apparatus, ultrasonic image processing apparatus, and ultrasonic image processing method
JP2004180784A (ja) 超音波診断装置
JP4521204B2 (ja) 超音波診断装置、画像処理装置及び超音波画像撮影方法
JP4945605B2 (ja) 超音波診断装置
JP5002119B2 (ja) 超音波診断装置
JP2002028160A (ja) 超音波診断装置
JP5300171B2 (ja) 超音波診断装置、超音波画像処理装置及び超音波画像処理プログラム
JP5248223B2 (ja) 超音波診断装置
JP4738061B2 (ja) 超音波診断装置及び超音波診断プログラム
JP4660230B2 (ja) 超音波診断装置
JP5454901B2 (ja) 超音波診断装置

Legal Events

Date Code Title Description
RD04 Notification of resignation of power of attorney

Free format text: JAPANESE INTERMEDIATE CODE: A7424

Effective date: 20100422

A621 Written request for application examination

Free format text: JAPANESE INTERMEDIATE CODE: A621

Effective date: 20110629

RD01 Notification of change of attorney

Free format text: JAPANESE INTERMEDIATE CODE: A7421

Effective date: 20111206

A977 Report on retrieval

Free format text: JAPANESE INTERMEDIATE CODE: A971007

Effective date: 20121031

A131 Notification of reasons for refusal

Free format text: JAPANESE INTERMEDIATE CODE: A131

Effective date: 20121113

A521 Request for written amendment filed

Free format text: JAPANESE INTERMEDIATE CODE: A523

Effective date: 20130108

TRDD Decision of grant or rejection written
A01 Written decision to grant a patent or to grant a registration (utility model)

Free format text: JAPANESE INTERMEDIATE CODE: A01

Effective date: 20130319

A61 First payment of annual fees (during grant procedure)

Free format text: JAPANESE INTERMEDIATE CODE: A61

Effective date: 20130410

R150 Certificate of patent or registration of utility model

Ref document number: 5248223

Country of ref document: JP

Free format text: JAPANESE INTERMEDIATE CODE: R150

Free format text: JAPANESE INTERMEDIATE CODE: R150

FPAY Renewal fee payment (event date is renewal date of database)

Free format text: PAYMENT UNTIL: 20160419

Year of fee payment: 3

S111 Request for change of ownership or part of ownership

Free format text: JAPANESE INTERMEDIATE CODE: R313117

R350 Written notification of registration of transfer

Free format text: JAPANESE INTERMEDIATE CODE: R350

S533 Written request for registration of change of name

Free format text: JAPANESE INTERMEDIATE CODE: R313533

R350 Written notification of registration of transfer

Free format text: JAPANESE INTERMEDIATE CODE: R350

LAPS Cancellation because of no payment of annual fees