JP2010010882A - 無線通信装置、無線通信方法 - Google Patents
無線通信装置、無線通信方法 Download PDFInfo
- Publication number
- JP2010010882A JP2010010882A JP2008165582A JP2008165582A JP2010010882A JP 2010010882 A JP2010010882 A JP 2010010882A JP 2008165582 A JP2008165582 A JP 2008165582A JP 2008165582 A JP2008165582 A JP 2008165582A JP 2010010882 A JP2010010882 A JP 2010010882A
- Authority
- JP
- Japan
- Prior art keywords
- complex number
- wireless communication
- transmission
- number sequence
- wireless
- Prior art date
- Legal status (The legal status is an assumption and is not a legal conclusion. Google has not performed a legal analysis and makes no representation as to the accuracy of the status listed.)
- Granted
Links
Images
Landscapes
- Mobile Radio Communication Systems (AREA)
- Radio Transmission System (AREA)
Abstract
【課題】
計算量の増加を抑えながらスループット向上を目的とする複素数系列間の送信電力の制御をすることが可能な無線通信装置の提供。
【解決手段】
基準複素数系列を用いて無線通信を行うMS200に対する追加複素数系列を用いて行われる無線通信からの干渉量が予め定められた所定の閾値(TH(INT)1)より小さいか否かを判定する。同様に、追加複素数系列を用いて無線通信を行うMS200に対する基準複素数系列を用いて行われる無線通信からの干渉量が予め定められた所定の閾値(TH(INT)2)より小さいか否かを判定する(ST602)。
いずれか一方の干渉量がそれぞれの所定の閾値よりも小さい場合(ST602,Yes)には、送信電力制御処理を行う(ST603)。
【選択図】 図9
計算量の増加を抑えながらスループット向上を目的とする複素数系列間の送信電力の制御をすることが可能な無線通信装置の提供。
【解決手段】
基準複素数系列を用いて無線通信を行うMS200に対する追加複素数系列を用いて行われる無線通信からの干渉量が予め定められた所定の閾値(TH(INT)1)より小さいか否かを判定する。同様に、追加複素数系列を用いて無線通信を行うMS200に対する基準複素数系列を用いて行われる無線通信からの干渉量が予め定められた所定の閾値(TH(INT)2)より小さいか否かを判定する(ST602)。
いずれか一方の干渉量がそれぞれの所定の閾値よりも小さい場合(ST602,Yes)には、送信電力制御処理を行う(ST603)。
【選択図】 図9
Description
本発明は、同一の無線リソースを用いて同時に複数の無線通信を行う場合に、無線リソースの割り当て、並びに、各無線リソースに対する送信電力を制御することができる無線通信装置、方法に関する。
近年、無線通信に対する高速化の要求が強まる中、周波数利用効率を向上させることにより高速化を実現する提案が数多くなされている。とりわけ、MIMO(Multiple Input Multiple Output)と称される、同一の無線リソースを用いて同時に複数の無線通信を実現する技術に注目が集まっている。
MIMO技術の中には、空間分割多元アクセス:SDMA(Spatial Division Multiple Access)と称される複数の無線端末装置が同一の無線リソースである周波数帯域を用いて同時に通信する技術がある。SDMAを実現する一つの方法として、無線通信装置が、それぞれの無線端末装置に送信する送信信号に、互いに直交する複素数系列を乗算し指向性を持ったビームとして送信する技術があげられる。これによって、信号を受信する際の、無線端末装置信号が他の信号から受ける干渉を低減すると共に空間ダイバーシチ効果を享受することができる。
通信効率を最大化するためには、無線通信装置はそれぞれの無線端末装置に対する無線通信路(チャネル)の特徴を完全に把握する必要がある。しかしながら、実際にはチャネル状況は常に変化しているため、同時に多くの無線通信路の特性を把握しながら送信制御を行ったとしても、システム性能をかえって低下させてしまう。そのため、上記のような実施形態は実用的ではないと考えられている。
そこで、それぞれの無線端末装置に対する無線通信路の特徴を完全に把握することなく、少ない情報量で、マルチユーザダイバーシチを利用して優れた特性を得られる方式として、ランダムビームフォーミングと称される技術が提案されている(例えば特許文献1)。無線通信装置は、任意の複素数系列が乗算された無線通信路推定用の信号を複数の無線端末装置に対して送信する。各無線端末装置における最良の複素数系列と、当該複素数系列が乗算された信号の信号電力対干渉電力比、信号の等価無線通信路利得を無線通信装置へ通知する。無線通信装置は通知された情報に基づき、無線通信エリア内に存在し無線通信装置と通信可能な無線端末装置と、各複素数系列との組を求める(以下、この処理をユーザ選択処理と記す)。
また、一般的なランダムビームフォーミング技術では、各複素数系列に対して送信電力が等配分されている。しかし、送信電力を等配分した場合、チャネル状況や送信ビーム間の干渉等の影響により、十分に通信性能の向上を図ることができなかった。
適切な送信電力の割り当てを行うために、ユーザ選択処理を行い、決定された組に対する、各複素数系列に適用する送信電力を制御することにより、システムスループットの性能を増加させる技術が提案されている(例えば非特許文献1)。
特開2006−333482 公報
"Random Beamforming for Spatial Multiplexing in Downlink Multiuser MIMO Systems", Diego P. and Umberto S., 2005 IEEE 16th International Symposium on PIMRC.
上記した技術では各複素数系列を乗算して送信される信号と受信する無線端末装置との組を既に選択した後に、各複素数系列に適用する送信電力を制御している。よって、送信電力を制御することによる効果が限定的であり大幅な通信性能の向上を実現することが困難であった。また、ユーザ選択と同時に送信電力比の決定を実施すると通信性能の向上は可能だが、この場合は計算量が著しく増加してしまう。
ユーザ選択と同時に、無線端末装置が受ける(その他の複素系列に対応する信号から受ける)干渉量の大きさに応じて送信電力比に対するシステムスループットの評価を行いながら、送信電力の制御を実施する。本発明は、前述の処理によって計算量を大幅に増加させることなく、システムスループットの向上が可能な無線通信装置、無線通信方法及び無線通信システムを提供することを目的とする。
上記課題を解決するために本発明は、複数の無線端末との間で、同一周波数チャネル上で複数の信号系列にそれぞれ異なる複数の複素数系列を乗算することで、同時に通信が可能な無線通信装置において、前記複素数系列を乗算して得た測定信号を、各無線端末に送信する送信手段と、前記各無線端末が、前記測定信号を用いて求めた前記複素数系列それぞれの通信路特性に関する通知を受信する受信手段と、前記各無線端末に対して前記複素数系列をそれぞれ選択することで決定される、前記無線端末と前記複素数系列との組み合わせのうち、1の組み合わせを選択する選択手段と、前記無線端末が前記組み合わせとして選択されていない前記複素数系列から受ける干渉電力を、前記通信路特性に関する通知を用いて算出する干渉電力算出手段と、前記干渉電力が所定の閾値よりも小さいかどうかを判定する判定手段と、前記干渉電力が前記閾値よりも小さいと判定した場合には、前記無線端末それぞれに割り当てる送信電力比を変更して前記無線端末と通信した場合の伝送速度をそれぞれ算出する伝送速度算出手段と、複数の前記組み合わせ及び電力比について求められた前記伝送速度に基づき、前記各無線端末と通信を行う前記組み合わせ及び前記送信電力比を決定する決定手段と、を有し、前記決定手段で決定された前記組み合わせ及び前記送信電力比を用いて前記無線端末と通信することを特徴とする無線通信装置。を提供する。
また、複数の無線端末との間で、同一周波数チャネル上で複数の信号系列にそれぞれ異なる複数の複素数系列を乗算することで、同時に通信が可能な無線通信装置において、前記複素数系列を乗算して得た測定信号を、各無線端末に送信する送信ステップと、前記各無線端末が、前記測定信号を用いて求めた前記複素数系列それぞれの通信路特性に関する通知を受信する受信ステップと、前記各無線端末に対して前記複素数系列をそれぞれ選択することで決定される、前記無線端末と前記複素数系列との組み合わせのうち、1の組み合わせを選択する選択ステップと、前記無線端末が前記組み合わせとして選択されていない前記複素数系列から受ける干渉電力を、前記通信路特性に関する通知を用いて算出する干渉電力算出ステップと、前記干渉電力が所定の閾値よりも小さいかどうかを判定する判定ステップと、前記干渉電力が前記閾値よりも小さいと判定した場合には、前記無線端末それぞれに割り当てる送信電力比を変更して前記無線端末と通信した場合の伝送速度をそれぞれ算出する伝送速度算出ステップと、複数の前記組み合わせ及び電力比について算出された前記伝送速度に基づき、前記各無線端末と通信を行う前記組み合わせ及び前記送信電力比を決定する決定ステップと、を有し、前記決定ステップで決定された前記組み合わせ及び前記送信電力比を用いて前記無線端末と通信することを特徴とする無線通信方法を提供する。
本発明によれば、計算量を大幅に増加させることなく、システムスループットの向上を図ることができる。
本発明の実施形態について図面を用いて詳細に説明する。以下、同じ構成に同じ符号を付し、重複する説明は省略する。
(第1の実施形態)
第1の実施形態の無線通信システムについて説明する。
第1の実施形態の無線通信システムについて説明する。
図1は、本実施形態の無線通信システムの概要を示す図である。図示しないネットワークと接続されている無線通信装置である基地局(以下、BSと記載)100と、無線通信エリア内に存在し複数のユーザがそれぞれ携帯して移動可能な無線端末(以下、MSと記載)200との間で無線による通信が行われる。この際、BS100と複数のMS200との間の無線通信は、同一の無線リソース(周波数帯域)を用いて、同時に行うことが可能である。また、無線リソースの管理は全てBS100が行っている。
図1(a)の破線で囲った領域は、BS100が通信を行う領域を示す。
図1(b)のビーム1は、複素数系列を乗算しないビームを示す。
図1(c)のビーム2、ビーム3は共に複素数系列を乗算した指向性を持ったビームである。それぞれのビームは同一の周波数帯域を用いており、それぞれ異なる複素数系列が乗算されている。
なお、図1では3台のMS200が無線通信エリア内に存在する例を示しているが、MS200の数は任意の数であってよい。また、形成する指向性のあるビームの数はBS100が有するアンテナの数に依存する。
図2は、本実施形態の無線通信システムに属するMS200の構成を示す図である。
MS200は、制御部210、送信信号生成部220、制御信号生成部221、選択部222、送信処理部223、送信アンテナ224、受信アンテナ225、受信処理部226、分離部227、受信データ復調部228、制御データ復調部229、無線通信路測定部230を備える。
なお、図2中では送信アンテナ224は1本、受信アンテナ225は1本として記載されているが、任意の本数でよい。
受信アンテナ225は、BS100が送信した無線信号を受信する。受信した無線信号を受信処理部226に出力する。
受信処理部226は、入力された無線信号に対して、電力増幅、帯域制限、ダウンコンバート、直交復調、A/D変換の所定の受信処理により受信信号を生成する。生成した受信信号は分離部227に出力される。
分離部227は、入力された受信信号を受信データ信号、受信制御信号並びに無線通信路測定用信号に分離する。受信データ信号は受信データ復調部228に対して出力される。受信制御信号は制御データ復調部229に対して出力される。また、無線通信路測定用信号は無線通信路測定部230に対して出力される。
受信データ復調部228は、入力された受信データ信号に対して、所定の変調処理に対応する所定の復調方法により復調する。また、所定の誤り訂正方法及び符号化率に対応する復号方法により受信データとして復号する。復号された受信データを制御部210に対して出力する。
制御データ復調部229は、入力された受信制御信号に対して、所定の変調処理に対応する所定の復調方法により復調する。また、所定の誤り訂正方法及び符号化率に対応する復号方法により制御データとして復号する。復号された制御データを制御部210に対して出力する。
無線通信路測定部230は、入力された無線通信路測定用信号を用いて、無線通信路の状態を、複素数系列に依存しない条件並びに各複素数系列に対応する条件にて測定し、制御部に対して出力する。また、各複素数系列に対応する等価ゲイン(複素数系列が乗算されたことによる利得)を測定し、結果を制御部210に対して出力する。無線通信路の状態を示す指標として、信号電力対雑音電力比(SNR)や信号電力対干渉及び雑音電力比(SINR)等が挙げられる。
また、送信信号生成部220は、制御部210より入力された送信データに対して、所定の方式及び符号化率により誤り訂正符号化を行う。また、所定の変調方式により変調して送信信号を生成し、選択部222に入力する。
制御信号生成部221は、入力された制御データに対して、所定の方式及び符号化率により誤り訂正符号化を行う。制御データの例として、無線通信路の状態の測定結果などが挙げられる。またさらに、制御データを所定の変調方式により変調して制御信号を生成し、選択部222に入力する。
選択部222は、入力された送信信号、制御信号のそれぞれを、制御部210の制御に基づき選択して送信処理部223に入力する。送信処理部223は、入力された信号に対して、D/A変換、直交変調、アップコンバート、帯域制限、電力増幅等の所定の送信処理により無線信号を生成する。生成された無線信号は、送信アンテナ224よりBS100に対して送信される。
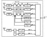
図3は、本実施形態の無線通信システムに属するBS100の構成を示す図である。
本実施形態の無線通信システムに属するBS100は、制御部120、送信信号生成部121、無線通信路測定用信号生成部122、制御信号生成部123、既知信号生成部124、第1選択部125、複素数系列乗算部126、第2選択部127、送信処理部128、送信アンテナ129、受信アンテナ130、受信処理部131、分離部132、受信データ復調部133、制御データ復調部134を備える。
図3では、送信アンテナ129は3本、受信アンテナ130は1本設けられている例を示しているが、任意の数でよい。
なお、送信信号生成部121並びに送信処理部128は、BS100の送信アンテナ129の数に対応し複数備えられているものとする。
制御部120は、送信信号生成部121、無線通信路測定用信号生成部122、既知信号生成部124、第1選択部125、複素数系列乗算部126、第2選択部127の動作を制御する。具体的な処理は図6乃至図10のフローチャートを用いて後述する。
送信信号生成部121は、制御部120より入力された送信データに対して、所定の方式及び符号化率により誤り訂正符号化を行う。さらに、所定の変調方式により変調して送信信号を生成し、第1選択部125に入力する。
無線通信路測定用信号生成部122は、無線通信路測定用として予め定められたパターンに対応する信号を生成し、第1選択部125及び第2選択部127に入力する。既知信号生成部124も同様に、通信相手(本実施形態ではMS200に相当)が無線通信路の特性を推定するために、予め定められたパターンに対応する信号を生成し、第1選択部125及び第2選択部127に入力する。
制御信号生成部123は、制御部120より入力された制御データ(送信データを送信する通信相手MS200の識別子等)に対して、所定の方式及び符号化率により誤り訂正符号化を行う。さらに、所定の変調方式により制御信号を生成し、第2選択部127に入力する。
第1選択部125は、入力された送信信号、無線通信路測定用信号、既知信号のそれぞれを、制御部120の制御に基づき選択して複素数系列乗算部126に出力する。
複素数系列乗算部126は、制御部120の制御に基づき生成された、それぞれが直交する異なる複素数系列を、入力された信号のそれぞれに対して乗算する。なお、生成された複素数系列の系列長は送信アンテナ数に対応し、系列数は入力された信号の数に対応する。
第2選択部127は、入力された複素数系列が乗算された信号、無線通信路測定用信号、既知信号及び制御信号のそれぞれを、制御部120の制御に基づき選択して送信処理部128に入力する。
送信処理部128は、入力された信号に対して、D/A変換、直交変調、アップコンバート、帯域制限、電力増幅等の所定の送信処理により無線信号を生成する。生成された無線信号は送信アンテナ129より送信される。
受信アンテナ130により受信された無線信号は受信処理部131に入力される。
受信処理部131は、入力された無線信号に対して、電力増幅、帯域制限、ダウンコンバート、直交復調、A/D変換等の所定の受信処理により受信信号を生成する。生成された受信信号は分離部132に入力される。
分離部132は、入力された受信信号を受信データ信号並びに受信制御信号に分離する。受信データ信号は受信データ復調部133に入力される。また、受信制御信号は制御データ復調部134に入力される。
受信データ復調部133は、入力された受信データ信号に対して、所定の変調処理に対応する所定の復調方法により復調する。また、所定の誤り訂正方法及び符号化率に対応する復号方法により受信データとして復号し、制御部120に対して出力する。
制御データ復調部134は、入力された受信制御信号に対して、所定の変調処理に対応する所定の復調方法により復調する。さらに、所定の誤り訂正方法及び符号化率に対応する復号方法により制御データとして復号し、制御データを制御部120に対して出力するする。
図4は、本実施形態の無線通信システムにおけるMS100とBS200の通信する信号を示すシーケンス図である。破線矢印は複素数系列を乗算する信号を示し、実線の矢印は複素数系列を乗算しない信号を示す。
本実施形態の無線通信システムでは、BS100が無線通信路測定用信号を送信する。この際、BS100は、送信アンテナ数ないしは送信アンテナ数以下の予め定められた所定数のそれぞれが直交する異なる複素数系列が乗算された無線通信路測定用信号、並びに複素数系列が乗算されていない無線通信路測定用信号を送信する。
まず、BS100は無線通信路測定用の信号をMS200に対して送信する(ST10)。無線通信路測定用信号を受信したそれぞれのMS200は、無線通信路の状態を測定し(ST11)、測定結果をBS100へ通知する(ST12)。測定される無線通信路の状態とは、複素数系列が乗算されていない無線通信路測定用信号から測定されたSNRと、複素数系列が乗算された無線通信路測定用信号から測定された各複素数系列に対応する等価ゲイン(複素数系列が乗算されたことによる利得)を示す。
次に、BS100はMS200から通知された無線通信路の状態の測定結果に基づき、MS200に対する無線通信に適用する複素数系列並びに複素数系列を用いて無線通信を行うMS200を選択するユーザ選択処理を行う(ST13)。その選択結果を、制御データを介してそれぞれのMS200に対して通知する(ST14a)。また、選択されたMS200に対して、選択された複素数系列を用いて送信データを送信する(ST14b)。次に、ユーザ選択処理、制御データ送信並びに送信データ送信を予め定められた所定の回数を繰り返す(ST15)。その後、再び無線通信路測定用信号を送信する処理(ST16)に移行する。なお、ST16で送信する無線通信路測定用信号は、ST10で用いた複素数系列とは異なる複素数系列が乗算されていることが好ましい。
図5は、本実施形態の無線通信システムに係るBS100の制御部120の構成を示す図である。
本実施形態の無線通信装置の制御部120は、上位レイヤI/F111、送受信データバッファ112、ユーザ選択部113、送信パラメータ記憶部114、送信パラメータ設定部115、複素数系列設定部116、通信路状態測定結果記憶部117を備える。
上位レイヤI/F111は、上位レイヤからそれぞれのMS200に送信すべきデータ、また、MS200から受信したデータの入出力を行う。
送受信データバッファ112は、上位レイヤから入力された送受信用のデータを記憶する。
ユーザ選択部113は、通信路状態測定結果記憶部117、送信パラメータ記憶部114などを参照してユーザ選択処理を行う。具体的な処理の内容は後述する。
送信パラメータ記憶部114は、SINRと変調方式と符号化率とが対応されて記憶されている。
送信パラメータ設定部115は、ユーザ選択処理の結果を用いて、選択結果をMS200に通知するための第1の制御データを生成する。また、送信パラメータ記憶部114を参照し、選択されたMS200との無線通信に適用する送信パラメータ(本実施形態では変調方式並びに符号化率とする)を決定する。また、結果を通知するための第2の制御データを生成する。
複素数系列設定部116は、送信アンテナ数または送信アンテナ数以下の予め定められた所定数の相互に直交する複素数系列を決定するとともに、決定した複素数系列が乗算された無線通信路測定用信号を含む無線通信路測定用信号を送信するよう制御する。
通信路状態測定結果記憶部117は、ユーザ(各MS200)とSNRとゲインとを対応した状態で記憶している。それぞれのMS200から通知された無線通信路の状態の測定結果を受け、当該測定結果を記憶する。通信路状態測定結果記憶部117の構成例は図5に記載したように、ユーザと、複素数系列が乗算されていない通信路測定用信号から求めたSNRと、各複素数系列による等価ゲイン(ゲイン1〜ゲインN)とが対応した状態で記憶されている。MはBS100と無線通信を行うMS200の数を、NはBS100が保有する送信アンテナ数ないしは送信アンテナ数以下の予め定められた所定数である。
図6は本実施形態の無線通信装置の制御部120の処理を示すフローチャートである。
本実施形態の無線通信装置の制御部120は、まず、複素数系列設定部116が、送信アンテナ数または送信アンテナ数以下の予め定められた所定数の相互に直交する複素数系列を決定する(ST301)。決定した複素数系列が乗算された無線通信路測定用信号を含む無線通信路測定用信号を送信するよう制御する(ST302)。なお、それぞれの複素数系列に対して等電力となるような送信電力で無線通信路測定用信号は送信される。
それぞれのMS200から通知された無線通信路の状態の測定結果を受け、測定結果を通信路状態測定結果記憶部117に記憶する(ST303)。なお、通信路状態測定結果記憶部117の構成は図5に記載の通りであり、MはBSと無線通信を行うMS200の数を、Nは送信アンテナ数ないしは送信アンテナ数以下の予め定められた所定数である。続いて、ユーザ選択部113が、通信路状態測定結果記憶部117、送信パラメータ記憶部114などを参照してユーザ選択処理を行う(ST304)。詳細は後述するが、ここでは、使用する複素数系列並びに複素数系列を用いて無線通信を行う相手先無線端末の選択などが行われる。
次に、送信パラメータ設定部115は、ユーザ選択処理の結果を用いて、選択結果をMS200に通知するための第1の制御データを生成する(ST305)。また、送信パラメータ記憶部114を参照し、選択されたMS200との無線通信に適用する送信パラメータ(本実施形態では変調方式並びに符号化率とする)を決定する。また、決定した結果をBS100に通知するための第2の制御データを生成する(ST306)。
送信パラメータ設定部115は、第1の制御データを制御信号生成部123に入力する。これにより、第1の制御データは、複素数系列を乗算せずに送信されることとなる。さらに、上位レイヤI/F111を介して上位レイヤより入力され、送受信データバッファ112に記憶されている各MS200にそれぞれ対応する送信データとともに、前記第2の制御データを送信データとしてまとめて送信信号生成部121に入力する。上記の処理によって、第2の制御データは複素数系列を乗算して送信される。以後、制御部120は、様々な要因により制御を終了するかを判断する(ST309)。制御処理を終了すると判定された場合には(ST309,Yes)その制御を終了する。制御を継続する場合には(ST309,No)、所定の周期が経過したか否かを判断し(ST310)、所定の周期が経過している場合には(ST310,Yes)、新たな複素数系列を決定する処理に移行する(ST301)。経過していない場合には(ST310,No)、再度ユーザ選択処理へ移行する(ST304)。
図7は、図6に示す制御部120が行う処理のうち、ユーザ選択処理(ST304)を詳細に示すフローチャートである。
まず、パラメータTPUT_max、P、Qの初期化を行う(ST401)。TPUT_maxは、選択処理の過程において、最大のスループット(伝送速度)を記憶するパラメータである。Pは選択処理の過程における複素数系列の数を、Qは無線通信に使用する複素数系列の数をそれぞれ記憶するパラメータである。
次に、基準複素数系列選択処理を行う(ST402)。詳細は後述するが、ここでは、以後の処理における基準となる複素数系列及び当該複素数系列を用いて無線通信を行う相手先無線端末であるMS200(ユーザ)が選択される。
次に、パラメータPの値が送信アンテナ数ないしは送信アンテナ数以下の予め定められた所定数(Ntx)に到達しているかを判定する(ST403)。到達している場合には(ST403,Yes)、本処理の終了条件を満たしているかを判定する(ST405)。
到達していない場合には(ST403,No)、新たな複素数系列の追加処理を行う(ST404)。詳細は後述するが、ここでは、基準となる複素数系列及び無線通信を行う相手先のMS200(ユーザ)の組み合わせに対し、さらに、異なる複素数系列及び当該複素数系列を用いて無線通信を行う相手先無線端末であるMS200(ユーザ)の組み合わせが選択可能であるかを判定する処理が行われる。次に、本処理の終了条件を満たしているかを判断する(ST405)。
ST405では、予め定められた終了条件、例えば、所定回数の処理を実施したか否か、所定値以上のスループット(伝送速度)が得られているか否かなどの条件と比較し、条件を満足している場合には本処理を終了し、満足していない場合には、再び、基準複素数系列選択処理(ST402)へと移行する。
図8は、図7に示す制御部120が行う処理のうち、基準複素数系列選択処理(ST402)を詳細に示すフローチャートである。
図8によると、基準複素数系列選択処理では、予め定められた所定の基準、例えば任意の複素数系列及び複素数系列を用いて無線通信を行う相手先無線端末であるMS200(ユーザ)の組み合わせや、最大の等価ゲインを有する複素数系列及び複素数系列を用いて無線通信を行う相手先無線端末であるMS200(ユーザ)の組み合わせを選定する(ST501)。パラメータPを1とし(ST502)、上記選定した組み合わせに関し、通信品質(本実施形態では信号電力対干渉及び雑音電力比:SINR)を等価ゲインから算出する(ST503)。
通信品質を基に、送信パラメータ記憶部114を参照して、上記選定した組み合わせにおけるスループット(伝送速度)を算出し、これをTPUT_newとして記憶する(ST504)。続いて、TPUT_maxにTPUT_newの値を記憶し(ST505)、パラメータQを1とし(ST506)、選定した複素数系列及び複素数系列を用いて無線通信を行う相手先無線端末であるMS200(ユーザ)の組み合わせを記憶し(ST507)、終了する。
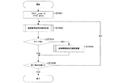
図9は、図7に示す制御部120が行う処理のうち、追加複素数系列選択処理(ST404)を詳細に示すフローチャートである。
追加複素数系列選択処理では、予め定められた所定の基準に基づいて、基準複素数系列処理にて記憶されている複素数系列を除いた中から、P個の複素数系列及び当該複素数系列を用いて無線通信を行う相手先無線端末であるMS200の組み合わせ候補を選定する(ST601)。
基準複素数系列を用いて無線通信を行うMS200に対する追加複素数系列を用いて行われる無線通信からの干渉量、すなわち、基準複素数系列を用いて無線通信を行うMS200の追加複素数系列に対する等価ゲインに相当する量、を予め定められた所定の閾値(TH(INT)1)と比較し、干渉量が閾値より小さいか否かを判定する。同様に、追加複素数系列を用いて無線通信を行うMS200に対する基準複素数系列を用いて行われる無線通信からの干渉量、すなわち、追加複素数系列を用いて無線通信を行うMS200の基準複素数系列に対する等価ゲインに相当する量を、予め定められた所定の閾値(TH(INT)2)と比較し、干渉量が閾値より小さいか否かを判定する(ST602)。
いずれか一方の干渉量がそれぞれの所定の閾値よりも小さい場合(ST602,Yes)には、送信電力制御処理を行う(ST603)。
双方の干渉量がそれぞれの所定の閾値以上である場合(ST602,No)には、上記選定した組み合わせ及び基準複素系列選択処理にて選定された組み合わせのそれぞれに関し、通信品質(本実施形態では信号電力対干渉及び雑音電力比:SINR)を算出する(ST604)。
次に、それぞれの通信品質を基に、送信パラメータ記憶部114を参照して、組み合わせにおけるスループット(伝送速度)を算出し、これをTPUT_newとして記憶する(ST605)。
次に、TPUT_newとTPUT_maxを比較し(ST606)、TPUT_newがTPUT_maxより大きい場合(ST606,Yes)には、TPUT_maxにTPUT_newの値を記憶し(ST607)、パラメータQをP+1とし(ST608)、基準複素数系列選択処理にて記憶されている複素数系列及び複素数系列を用いて無線通信を行う相手先無線端末であるMS200の組み合わせとともに、選定したP個の複素数系列及び複素数系列を用いて無線通信を行う相手先無線端末であるMS200の組み合わせを記憶する(ST609)。
続いて、全ての組み合わせを選定し上記したようなTPUT_newとTPUT_maxとの比較などの処理を実施したか否かを判断する(ST610)。未選定の組み合わせが残されている場合には(ST610,No)、P個の複素数系列及び複素数系列を用いて無線通信を行う相手先無線端末であるMS200(ユーザ)の組み合わせ候補を選定する処理へ移行する。全ての組み合わせを選定した場合には(ST610,Yes)、パラメータPをP+1とし(ST611)、パラメータPの値が送信アンテナ数ないしは送信アンテナ数以下の予め定められた所定数(Ntx)に到達しているかを判定する(ST612)。
到達している場合には(ST612,Yes)、本処理を終了する。到達していない場合には(ST612,No)、P個の複素数系列及び複素数系列を用いて無線通信を行う相手先無線端末であるMS200(ユーザ)の組み合わせ候補を選定する処理へ移行する。なお、この場合はパラメータPの値は1増加していることから、Pの値に対応する新たな組み合わせを選定していく。
なお、追加複素数系列が複数存在する場合、すなわち、P>1である場合には、基準複素数系列を用いて無線通信を行うMS200に対するいずれか1つの追加複素数系列を用いて行われる無線通信からの干渉量が所定の閾値よりも小さくなるか否か、または、全ての追加複素数系列を用いて行われる無線通信からの干渉量が所定の閾値よりも小さくなるか否か、いずれかの方法で比較を行うことが可能であり、同様に、いずれか1つの追加複素数系列を用いて無線通信を行うMS200に対する基準複素数系列を用いて行われる無線通信からの干渉量が所定の閾値よりも小さくなるか否か、または、全ての追加複素数系列を用いて無線通信を行うMS200に対する基準複素数系列を用いて行われる無線通信からの干渉量が所定の閾値よりも小さくなるか否か、いずれかの方法で比較を行うことが可能である。
図10は、図9に示す制御部120が行う送信電力制御処理(ST603)を詳細に示すフローチャートである。
送信電力制御処理では、まず、基準複素数系列に対するP個の追加複素数系列それぞれの送信電力比を選択する(ST701)。この時、予め選択範囲(例えば−10dB〜+10dB)を定めておくことが好ましい。続いて、ST701で選択した送信電力比の場合の基準及び選定したP個の追加複素数系列それぞれの通信品質(本実施形態では信号電力対干渉及び雑音電力比:SINR)を、等価ゲインから算出する(ST702)。算出された通信品質を基に、送信パラメータ記憶部114を参照して、スループット(伝送速度)を算出し、これをTPUT_newとして記憶する(ST703)。続いて、TPUT_newとTPUT_maxを比較する(ST704)。
TPUT_newがTPUT_maxより大きい場合には(ST704,Yes)、TPUT_maxにTPUT_newの値を記憶する(ST705)。パラメータQをP+1とし(ST706)、基準複素数系列選択処理にて記憶されている複素数系列及び複素数系列を用いて無線通信を行う相手先無線端末であるMS200(ユーザ)の組み合わせと、選定したP個の複素数系列及び複素数系列を用いて無線通信を行う相手先無線端末であるMS200(ユーザ)の組み合わせを記憶する(ST707)。また、基準複素数系列に対するP個の追加複素数系列それぞれの送信電力比を記憶する(ST708)。
続いて、予め定められた範囲の送信電力比選択範囲の、全ての送信電力比について上記の比較処理等を実施したか否かを判断する(ST709)。未実施の送信電力比が残されていない場合(ST709,Yes)には処理を終了するが、未実施の送信電力比が残されている場合には(ST709,No)、再び、基準複素数系列に対するP個の追加複素数系列それぞれの送信電力比を選択する処理(ST701)へ移行する。
なお、この場合、先に選択した送信電力比とは異なる送信電力比を選択することとなるが、この際、予め選択ステップ(例えば1dB)を定めておくことが好ましい。したがって、上記の例によると、1つの追加複素数系列について考える場合には、−10dB〜+10dBの範囲を1dBステップに選択していくことから、合計11回の選択を行うこととなる。
なお、本実施形態の無線通信装置の制御部120が行う送信電力制御処理では、任意の送信電力制御方法を適用することが可能であることを付記しておく。
上述の処理では、それぞれの複素数系列を用いて無線通信を行うMS200に対する他の複素数系列を用いて行われる無線通信からの干渉量が所定の閾値よりも小さいとの条件を満足する場合にのみ送信電力制御を行うよう制御している。
一般に、SINR(通信品質)が大きくなる程に、スループット(伝送速度)は向上する関係があるが、その関係は単純な比例関係ではない。SINRの値が小さい場合には、SINRの増加分に対するスループットの向上率が大きく、逆にSINRの値が大きい場合には、SINRの増加分に対するスループットの向上率が小さくなる傾向がある。したがって、SINRが大きい複素数系列に対応する信号の送信電力を減じ、その他の複素数系列に対応する信号の送信電力を増加させることで、トータルのスループットの向上が期待できる。
よって、本実施形態ではユーザ選択処理中に、図9のST602において干渉量が所定の閾値よりも小さい複素数系列に対応する信号がある場合には、送信電力制御処理を同時に実施する。したがって、ユーザ選択処理の計算量を大幅に増加させることなく、ユーザ選択処理と送信電力制御処理を同時に実施することによるシステムスループット等のシステム性能を効率的に増加させることができる。
なお、上記の実施形態ではスループット(伝送速度)が最大となるような複素数系列とユーザとの組み合わせと、送信電力比とを用いてMS200と通信を行う構成となっていたが、スループット(伝送速度)が最大をとる場合に限って通信を行う形態に限られない。例えば、あらかじめ1つのMS200との間で満たすべき伝送速度の最大値を定めておき、その最大値を超えるものがない複素数系列とユーザとの組み合わせと、送信電力比との中から適宜選択し通信するようにしても良い。また、できるだけ多くのMS200と通信することが好ましい場合には、通信を行うMS200の数が多くなるような組み合わせを優先して選択する等、種々の変更を行っても構わない。
(第2の実施形態)
本発明の第2の実施形態について以下詳細に説明する。
本発明の第2の実施形態について以下詳細に説明する。
図11は、本実施形態の無線通信装置の制御部120がユーザ選択をする処理を示すフローチャートである。図9に記載した動作例とは、干渉量と所定の閾値とを比較する処理が異なっている。
P個の追加複素数系列及び複素数系列を用いて無線通信を行う相手先無線端末であるMS200(ユーザ)の組み合わせ候補を選定する(ST801)。次に、基準複素数系列を用いて無線通信を行うMS200に対する追加複素数系列を用いて行われる無線通信からの干渉量、すなわち、基準複素数系列を用いて無線通信を行うMS200の追加複素数系列に対するゲインに相当する量、を予め定められた所定の閾値(TH(INT)1)と比較する(ST802)。干渉量が閾値より小さい場合には(ST802,Yes)、第1の送信電力制御を実施する(ST803)。第1の送信電力制御とは、図10に示す送信電力制御処理と同様の処理を行うが、基準複素数系列に対するP個の追加複素数系列それぞれの送信電力比が、基準複素数系列に対する送信電力が相対的に小さくなる範囲の送信電力比のみをステップ701で選択するように制御することを意味している。
また、追加複素数系列を用いて無線通信を行うMS200に対する基準複素数系列を用いて行われる無線通信からの干渉量、と予め定められた所定の閾値(TH(INT)2)と比較とを比較する(ST804)。干渉量が閾値より小さい場合には(ST804,Yes)、第2の送信電力制御を実施する(ST805)。第2の送信電力制御とは、基準複素数系列に対するP個の追加複素数系列それぞれの送信電力比を、基準複素数系列に対する送信電力が相対的に大きくなる範囲でのみ制御することを意味している。
上記選定した組み合わせ及び基準複素系列選択処理にて選定された組み合わせのそれぞれに関し、通信品質を算出する(ST806)。次に、通信品質を基に、送信パラメータ記憶部114を参照して、組み合わせにおけるスループット(伝送速度)を算出し、これをTPUT_newとして記憶する(ST807)。
次に、TPUT_newとTPUT_maxを比較し(ST808)、TPUT_newがTPUT_maxより大きい場合(ST808,Yes)には、TPUT_maxにTPUT_newの値を記憶し(ST809)、パラメータQをP+1とし(ST810)、基準複素数系列選択処理にて記憶されている複素数系列及び複素数系列を用いて無線通信を行う相手先無線端末であるMS200の組み合わせとともに、選定したP個の複素数系列及び複素数系列を用いて無線通信を行う相手先無線端末であるMS200の組み合わせを記憶する(ST811)。
続いて、全ての組み合わせを選定し上記したようなTPUT_newとTPUT_maxとの比較などの処理を実施したか否かを判断する(ST812)。未選定の組み合わせが残されている場合には(ST812,No)、P個の複素数系列及び複素数系列を用いて無線通信を行う相手先無線端末であるMS200(ユーザ)の組み合わせ候補を選定する処理へ移行する。全ての組み合わせを選定した場合には(ST812,Yes)、パラメータPをP+1とし(ST813)、パラメータPの値が送信アンテナ数ないしは送信アンテナ数以下の予め定められた所定数(Ntx)に到達しているかを判定する(ST814)。
到達している場合には(ST814,Yes)、本処理を終了する。到達していない場合には(ST814,No)、P個の複素数系列及び複素数系列を用いて無線通信を行う相手先無線端末であるMS200(ユーザ)の組み合わせ候補を選定する処理へ移行する。なお、この場合はパラメータPの値は1増加していることから、Pの値に対応する新たな組み合わせを選定していく。
なお、 閾値であるTH(INT1)及びTH(INT2)は、あらかじめ定められた所定の定数である。TH(INT1)及びTH(INT2)の値の大小によって、送信電力制御を行う計算量を制御することが可能である。
また、図11に示した動作例には、ST802及びST804で2つの干渉量と所定の閾値とを比較する処理が含まれているが、いずれか一方のみを比較し、第1の送信電力制御ないしは第2の送信電力制御のいずれか一方のみを実施するよう動作させてもよい。
前述した様に、干渉量に応じてスループットが増大しやすい範囲内でのみ送信電力比を選択することによって、より一層計算量を減らし、効率的にユーザ選択処理と送信電力制御処理とを同時に行うことができる。
(第3の実施形態)
以下、本発明の第3の実施形態について詳細に説明する。本実施形態の無線通信システムでは図9に記載した動作例とは、干渉量と比較する所定の閾値をより具体化している点が異なる。
以下、本発明の第3の実施形態について詳細に説明する。本実施形態の無線通信システムでは図9に記載した動作例とは、干渉量と比較する所定の閾値をより具体化している点が異なる。
図12は、本実施形態のBS100の制御部120がユーザを選択する処理を示すフローチャート。
P個の追加複素数系列及び複素数系列を用いて無線通信を行う相手先無線端末であるMS200(ユーザ)の組み合わせ候補を選定する(ST901)。
基準複素数系列を用いて無線通信を行うMS200に対する追加複素数系列を用いて行われる無線通信からの干渉量、(基準複素数系列を用いて無線通信を行うMS200の追加複素数系列に対する等価ゲインに相当する量)を、基準複素数系列を用いて無線通信を行うMS200から通知されたSNRと、予め定められた所定のオフセット(α1)により決定される値、より具体的には、1/SNR×α1と比較し、干渉量が上記値より小さいか否かを判定する(ST902)。同様に、追加複素数系列を用いて無線通信を行うMS200に対する基準複素数系列を用いて行われる無線通信からの干渉量、すなわち、追加複素数系列を用いて無線通信を行うMS200の基準複素数系列に対する等価ゲインに相当する量を、追加複素数系列を用いて無線通信を行うMS200から通知されたSNRと、予め定められた所定のオフセット(α2)により決定される値、より具体的には、1/SNR×α2と比較し、干渉量が上記値より小さいか否かを確認するよう動作する。
なお、上記動作例は、図11を用いて説明したように、それぞれの干渉量と上記の値とを比較する処理を分けて行うよう変形することが可能である。
図13は、干渉量と比較する所定の閾値(TH(INT)1及びTH(INT)2)の例を示す図である。図12に記載された上記所定の閾値、1/SNR×α1及び1/SNR×α2におけるαの値について説明する。図13(a)、(b)及び(c)いずれも、SNRとαの関係を示している。
図13(a)は、いずれのSNRの値においても、αの値は任意の固定値(図13の例では1)として定義されている。この場合、SNRが低い条件において、送信電力制御を比較的高い確率で実施し、SNRが高い条件において、送信電力制御を比較的低い確率で実施することとなる。
図13(b)は、いずれのSNRの値においても、αの値はSNRに任意の固定値を乗算した値(図13の例では1/100)として定義されている。この場合、SNRの値によらず、送信電力制御を行う確率は一定となる。
図13(c)は、それぞれのSNRの値において、αの値はそれぞれ異なる任意の固定値として定義されている。この場合、SNRの値に応じて、送信電力制御を行う確率並びにスループットの向上量を勘案し、αの値を設定することが好ましい。
なお、図13ではαの値をα1及びα2として分けて記載していないが、α1及びα2はそれぞれ独立に定義することも可能である。
本実施形態の無線通信システムによれば、送信電力制御を行う確率と、これによって増加するスループットの関係がSNRに依存する性質を利用し、送信電力制御を行う確率を低く抑えながらもスループットを向上させることができるように、より一層効果的な送信電力制御処理を行うことが可能なる。
なお、本発明は上記の実施形態そのままに限定されるものではなく、実施段階ではその要旨を逸脱しない範囲で構成要素を変形して具体化してもよい。
100・・・BS(基地局)
110・・・制御部
111・・・上位レイヤI/F
112・・・送受信データバッファ
113・・・ユーザ選択部
114・・・送信パラメータ記憶部
1140・・・LUT
115・・・送信パラメータ設定部
116・・・複素数系列設定部
117・・・通信路状態測定結果記憶部
120・・・制御部
121・・・送信信号生成部
122・・・無線通信路測定用信号生成部
123・・・制御信号生成部
124・・・既知信号生成部
125・・・第1の選択部
126・・・複素数系列乗算部
127・・・第2の選択部
128・・・送信処理部
129・・・送信アンテナ
130・・・受信アンテナ
131・・・受信処理部
132・・・分離部
133・・・受信データ復調部
134・・・制御データ復調部
200・・・MS(無線端末)
210・・・制御部
220・・・送信信号生成部
221・・・制御信号生成部
222・・・選択部
223・・・送信処理部
224・・・送信アンテナ
225・・・受信アンテナ
226・・・受信処理部
227・・・分離部
228・・・受信データ復調部
229・・・制御データ復調部
230・・・無線通信路測定部
110・・・制御部
111・・・上位レイヤI/F
112・・・送受信データバッファ
113・・・ユーザ選択部
114・・・送信パラメータ記憶部
1140・・・LUT
115・・・送信パラメータ設定部
116・・・複素数系列設定部
117・・・通信路状態測定結果記憶部
120・・・制御部
121・・・送信信号生成部
122・・・無線通信路測定用信号生成部
123・・・制御信号生成部
124・・・既知信号生成部
125・・・第1の選択部
126・・・複素数系列乗算部
127・・・第2の選択部
128・・・送信処理部
129・・・送信アンテナ
130・・・受信アンテナ
131・・・受信処理部
132・・・分離部
133・・・受信データ復調部
134・・・制御データ復調部
200・・・MS(無線端末)
210・・・制御部
220・・・送信信号生成部
221・・・制御信号生成部
222・・・選択部
223・・・送信処理部
224・・・送信アンテナ
225・・・受信アンテナ
226・・・受信処理部
227・・・分離部
228・・・受信データ復調部
229・・・制御データ復調部
230・・・無線通信路測定部
Claims (7)
- 複数の無線端末との間で、同一周波数チャネル上で複数の信号系列にそれぞれ異なる複数の複素数系列を乗算することで、同時に通信が可能な無線通信装置において、
前記複素数系列を乗算して得た測定信号を、各無線端末に送信する送信手段と、
前記各無線端末が、前記測定信号を用いて求めた前記複素数系列それぞれの通信路特性に関する通知を受信する受信手段と、
前記各無線端末に対して前記複素数系列をそれぞれ選択することで決定される、前記無線端末と前記複素数系列との組み合わせのうち、1の組み合わせを選択する選択手段と、
前記無線端末が前記組み合わせとして選択されていない前記複素数系列から受ける干渉電力を、前記通信路特性に関する通知を用いて算出する干渉電力算出手段と、
前記干渉電力が所定の閾値よりも小さいかどうかを判定する判定手段と、
前記干渉電力が前記閾値よりも小さいと判定した場合には、前記無線端末それぞれに割り当てる送信電力比を変更して前記無線端末と通信した場合の伝送速度をそれぞれ算出する伝送速度算出手段と、
複数の前記組み合わせ及び電力比について求められた前記伝送速度に基づき、前記各無線端末と通信を行う前記組み合わせ及び前記送信電力比を決定する決定手段と、
を有し、
前記決定手段で決定された前記組み合わせ及び前記送信電力比を用いて前記無線端末と通信することを特徴とする無線通信装置。
- 前記伝送速度算出手段は、前記干渉電力が前記閾値より小さいと判定された前記複素数系列に対して割り当てる送信電力の割合が小さくなる前記送信電力比に変更した場合の、前記伝送速度を求めることを特徴とする請求項1記載の無線通信装置。
- 前記判定手段は、前記通信路特性に関する通知を用いて受信電力と雑音電力との比を算出し、前記比の逆数によって定める前記閾値に応じて判定することを特徴とする請求項1または2記載の無線通信装置。
- 前記判定手段は、前記逆数に所定の固定値を乗算した値を前記閾値として用いることを特徴とする請求項3記載の無線通信装置。
- 前記判定手段は、前記逆数に、前記比が大きくなるに従ってその値が大きくなる所定の値を乗算した値を前記閾値として用いることを特徴とする請求項3記載の無線通信装置。
- 前記伝送速度算出手段は、前記干渉電力が前記閾値よりも大きいと判定された前記組み合わせに対しては、前記各無線端末に等電力を割り当てた場合の前記伝送速度を算出することを特徴とする請求項1乃至5のいずれか1項記載の無線通信装置。
- 複数の無線端末との間で、同一周波数チャネル上で複数の信号系列にそれぞれ異なる複数の複素数系列を乗算することで、同時に通信が可能な無線通信装置において、
前記複素数系列を乗算して得た測定信号を、各無線端末に送信する送信ステップと、
前記各無線端末が、前記測定信号を用いて求めた前記複素数系列それぞれの通信路特性に関する通知を受信する受信ステップと、
前記各無線端末に対して前記複素数系列をそれぞれ選択することで決定される、前記無線端末と前記複素数系列との組み合わせのうち、1の組み合わせを選択する選択ステップと、
前記無線端末が前記組み合わせとして選択されていない前記複素数系列から受ける干渉電力を、前記通信路特性に関する通知を用いて算出する干渉電力算出ステップと、
前記干渉電力が所定の閾値よりも小さいかどうかを判定する判定ステップと、
前記干渉電力が前記閾値よりも小さいと判定した場合には、前記無線端末それぞれに割り当てる送信電力比を変更して前記無線端末と通信した場合の伝送速度をそれぞれ算出する伝送速度算出ステップと、
複数の前記組み合わせ及び電力比について算出された前記伝送速度に基づき、前記各無線端末と通信を行う前記組み合わせ及び前記送信電力比を決定する決定ステップと、
を有し、
前記決定ステップで決定された前記組み合わせ及び前記送信電力比を用いて前記無線端末と通信することを特徴とする無線通信方法。
Priority Applications (1)
| Application Number | Priority Date | Filing Date | Title |
|---|---|---|---|
| JP2008165582A JP4635075B2 (ja) | 2008-06-25 | 2008-06-25 | 無線通信装置、無線通信方法 |
Applications Claiming Priority (1)
| Application Number | Priority Date | Filing Date | Title |
|---|---|---|---|
| JP2008165582A JP4635075B2 (ja) | 2008-06-25 | 2008-06-25 | 無線通信装置、無線通信方法 |
Publications (2)
| Publication Number | Publication Date |
|---|---|
| JP2010010882A true JP2010010882A (ja) | 2010-01-14 |
| JP4635075B2 JP4635075B2 (ja) | 2011-02-16 |
Family
ID=41590885
Family Applications (1)
| Application Number | Title | Priority Date | Filing Date |
|---|---|---|---|
| JP2008165582A Expired - Fee Related JP4635075B2 (ja) | 2008-06-25 | 2008-06-25 | 無線通信装置、無線通信方法 |
Country Status (1)
| Country | Link |
|---|---|
| JP (1) | JP4635075B2 (ja) |
Citations (3)
| Publication number | Priority date | Publication date | Assignee | Title |
|---|---|---|---|---|
| WO2005114874A1 (ja) * | 2004-05-20 | 2005-12-01 | Matsushita Electric Industrial Co., Ltd. | 無線通信システム、無線通信方法、基地局装置及び端末装置 |
| JP2006238423A (ja) * | 2005-01-26 | 2006-09-07 | Matsushita Electric Ind Co Ltd | 無線基地局装置及び端末装置 |
| JP2008118380A (ja) * | 2006-11-02 | 2008-05-22 | Samsung Electronics Co Ltd | 通信装置、及び通信方法 |
-
2008
- 2008-06-25 JP JP2008165582A patent/JP4635075B2/ja not_active Expired - Fee Related
Patent Citations (4)
| Publication number | Priority date | Publication date | Assignee | Title |
|---|---|---|---|---|
| WO2005114874A1 (ja) * | 2004-05-20 | 2005-12-01 | Matsushita Electric Industrial Co., Ltd. | 無線通信システム、無線通信方法、基地局装置及び端末装置 |
| JP2006005908A (ja) * | 2004-05-20 | 2006-01-05 | Matsushita Electric Ind Co Ltd | 無線通信システム、無線通信方法、基地局装置及び端末装置 |
| JP2006238423A (ja) * | 2005-01-26 | 2006-09-07 | Matsushita Electric Ind Co Ltd | 無線基地局装置及び端末装置 |
| JP2008118380A (ja) * | 2006-11-02 | 2008-05-22 | Samsung Electronics Co Ltd | 通信装置、及び通信方法 |
Also Published As
| Publication number | Publication date |
|---|---|
| JP4635075B2 (ja) | 2011-02-16 |
Similar Documents
| Publication | Publication Date | Title |
|---|---|---|
| JP5084060B2 (ja) | 無線通信システム、受信装置、移動局装置、処理装置、送信装置、基地局装置、送受信装置制御方法、及び送受信装置制御プログラム | |
| CN101689911B (zh) | 用于在对等(p2p)网络中选择并广播接收机波束成形向量的技术 | |
| RU2603969C2 (ru) | Устройство и способ для произвольного доступа в системе беспроводной связи с использованием формирования луча | |
| JP6212041B2 (ja) | 無線通信システムにおける最適のビームを選択するための装置及びその方法 | |
| US9237582B2 (en) | Method and apparatus for allocating uplink resources in beamforming-based wireless communication system | |
| JP3730975B2 (ja) | パケットサービス通信システムで伝送アンテナダイバシティ方式を使用するデータ伝送装置及び方法 | |
| CN114503730B (zh) | 基于序列的物理上行链路控制信道传输 | |
| JP5288502B2 (ja) | 移動通信システム、移動通信装置及び移動通信方法 | |
| US10237880B2 (en) | Method and radio access point for handling communication between wireless devices | |
| JP2020507949A (ja) | 無線通信方法、端末デバイス、及びネットワークデバイス | |
| CN110649947A (zh) | 波束赋形训练的方法和装置 | |
| KR102565155B1 (ko) | 무선 통신 시스템에서 채널 측정 방법 및 장치 | |
| EP3072350B1 (en) | Method and base station for supporting d2d communication | |
| JP2010192945A (ja) | 通信装置、通信制御方法、及び通信システム | |
| CN108028722A (zh) | 无线网络中使用滑动窗口叠加编码发送信号的方法和装置 | |
| CN107258066A (zh) | 向用户设备分配导频信号的技术 | |
| KR100698199B1 (ko) | 전송 안테나 다이버시티 방법 | |
| JP5534625B2 (ja) | 無線通信システム、伝送路選択方法、及び伝送路選択プログラム | |
| KR101231912B1 (ko) | 빔 포밍 벡터의 반복적 갱신 방법 및 이를 지원하는 송신기 | |
| KR20180006211A (ko) | 무선 통신 시스템에서 임의 접근을 위한 장치 및 방법 | |
| JP4635075B2 (ja) | 無線通信装置、無線通信方法 | |
| CN101971516A (zh) | 通过终端至发射器的回路明显减小发射器波束之间干扰的通讯方法 | |
| JP4679161B2 (ja) | 移動局装置および通信相手選択方法 | |
| CN117955614A (zh) | 参考信号的配置方法、通信装置及存储介质 | |
| KR102914923B1 (ko) | 시퀀스 기반 물리 업링크 제어 채널 송신 |
Legal Events
| Date | Code | Title | Description |
|---|---|---|---|
| A977 | Report on retrieval |
Free format text: JAPANESE INTERMEDIATE CODE: A971007 Effective date: 20101021 |
|
| TRDD | Decision of grant or rejection written | ||
| A01 | Written decision to grant a patent or to grant a registration (utility model) |
Free format text: JAPANESE INTERMEDIATE CODE: A01 Effective date: 20101029 |
|
| A01 | Written decision to grant a patent or to grant a registration (utility model) |
Free format text: JAPANESE INTERMEDIATE CODE: A01 |
|
| A61 | First payment of annual fees (during grant procedure) |
Free format text: JAPANESE INTERMEDIATE CODE: A61 Effective date: 20101119 |
|
| FPAY | Renewal fee payment (event date is renewal date of database) |
Free format text: PAYMENT UNTIL: 20131126 Year of fee payment: 3 |
|
| LAPS | Cancellation because of no payment of annual fees |
