JP2010009530A - サービス提供方法及びオンラインサービスシステム - Google Patents

サービス提供方法及びオンラインサービスシステム Download PDF

Info

Publication number
JP2010009530A
JP2010009530A JP2008171336A JP2008171336A JP2010009530A JP 2010009530 A JP2010009530 A JP 2010009530A JP 2008171336 A JP2008171336 A JP 2008171336A JP 2008171336 A JP2008171336 A JP 2008171336A JP 2010009530 A JP2010009530 A JP 2010009530A
Authority
JP
Japan
Prior art keywords
authentication
information
service
authentication information
user terminal
Prior art date
Legal status (The legal status is an assumption and is not a legal conclusion. Google has not performed a legal analysis and makes no representation as to the accuracy of the status listed.)
Granted
Application number
JP2008171336A
Other languages
English (en)
Other versions
JP5487374B2 (ja
Inventor
Junyon Lee
イ・ジュンヨン
Kei Takuma
宅間啓
Sanso Lee
李燦宗
Tosho Kin
金東燮
Token Shin
申東權
Seisai Chin
沈正載
Current Assignee (The listed assignees may be inaccurate. Google has not performed a legal analysis and makes no representation or warranty as to the accuracy of the list.)
NHN Japan Corp
NHN Corp
Original Assignee
NHN Japan Corp
NHN Corp
Priority date (The priority date is an assumption and is not a legal conclusion. Google has not performed a legal analysis and makes no representation as to the accuracy of the date listed.)
Filing date
Publication date
Application filed by NHN Japan Corp, NHN Corp filed Critical NHN Japan Corp
Priority to JP2008171336A priority Critical patent/JP5487374B2/ja
Publication of JP2010009530A publication Critical patent/JP2010009530A/ja
Application granted granted Critical
Publication of JP5487374B2 publication Critical patent/JP5487374B2/ja
Expired - Fee Related legal-status Critical Current
Anticipated expiration legal-status Critical

Links

Images

Abstract

【課題】正当なユーザ以外のオンラインサービス利用を抑制し、正当なユーザが安全にオンラインサービスを利用することができるサービス提供方法及びオンラインサービスシステムを提供する。
【解決手段】本発明のオンラインサービスシステムのサービス提供方法は、オンラインサービス提供サーバでのユーザログイン情報に基づいて第1認証情報をユーザ端末に発行し保存するステップと、発行された第1認証情報を含む認証要求を認証管理サーバに送信するステップと、認証管理サーバが第1認証情報を用いて認証処理を遂行し、認証結果に基づいて第2認証情報をユーザ端末に発行し保存するステップと、ユーザ端末が第2認証情報を含むサービス接続要求をサービスサーバに送信するステップと、サービスサーバが第2認証情報を用いて認証管理サーバを通じた認証処理を遂行し、認証結果に基づいてユーザ端末へのオンラインサービスの提供を開始するステップとを含む。
【選択図】図1

Description

本発明は、ユーザの正当性を保証したオンラインサービスのサービス提供方法及びオンラインサービスシステムに関する。
近年、インターネットを通じたゲームサービス等の様々なオンラインサービスが提供されている。これらのインターネットを通じたサービスでは、サービス加入者に予め付与又は登録したユーザID及びパスワードを用いて認証処理を行い、サービス利用時の本人確認が行われる。サービス提供側は、この本人確認に基づいてゲームサービス等を提供する。
図17は、ゲームサービスにおけるゲームサービス提供方法(ゲーム起動方法)を示す図であり、ゲームサービスを提供するオンラインサービス提供サイト(WEBサイト)にユーザがアクセスして、所望のゲームを開始するまでの過程を示している。
図17に示すように、オンラインサービス提供サーバ100は、ネットワークNを通じて接続するユーザ端末300に、サービスログイン画面を提供する。ユーザは、ユーザ端末300のブラウザに表示されたサービスログイン画面にユーザID及びパスワードを入力する。ユーザ端末300のブラウザは、当該画面に入力されたユーザID及びパスワードをオンラインサービス提供サーバ100に送信するとともにユーザID及びパスワードを保持する。

そして、オンラインサービス提供サーバ100では、受信したユーザID及びパスワードを用いて所定の認証処理を遂行し、認証結果(認証OK/認証NG)をユーザ端末300に送信する。オンラインサービス提供サーバ100は、ユーザ端末300を介したユーザの操作によりゲームサービス提供画面(ゲーム選択画面)を提供する。
ユーザは、ゲームを開始するためにサービスにログイン後、ブラウザに表示されたゲーム選択画面から所望するゲームを選択する。オンラインサービス提供サーバ100は、このゲーム選択に応答してユーザ端末300に選択したゲームのゲーム起動画面を提供し、ユーザによりゲーム起動が選択されると(ゲーム起動ボタンが押下されると)、ブラウザは、オンラインサービス提供サーバ100にゲーム起動要求を送信し、オンラインサービス提供サーバ100は、ゲーム起動要求に応答してブラウザにゲーム起動指示を送信する。
ブラウザは、ゲーム起動指示に基づいて、選択されたゲームに対応する予めユーザ端末300に設置されたゲームクライアント(ゲームプログラム)を起動させるとともに、該ブラウザが保持していたユーザID及びパスワードを該ゲームクライアントに受け渡す。ゲームクライアントは、ゲームを開始するための処理として、ゲームサーバ200にゲームセッション接続要求とともに、ブラウザから受け取ったユーザID及びパスワードをゲームサーバ200に送信する。
ゲームサーバ200では、ゲームクライアントからのゲームセッション接続要求に応答して受信したユーザID及びパスワードを用い、ゲームサーバ200側でのユーザ認証処理を遂行する。認証処理が成功であれば、ゲームサーバ200は、ゲームクライアント(ユーザ端末300)との間のゲームセッション確立処理を遂行し、ゲームクライアントとの間でゲーム制御を遂行する。
特開2003−188873号公報 特開2007−109122号公報
上述のように従来のオンラインサービスシステムでは、ブラウザを介したサービスログイン認証と、サービスに伴いユーザ端末で起動するサービスアプリケーション機能(プログラム)の起動に際するサービス起動認証とが行われ、サービスログイン認証とサービス起動認証とが、同じユーザID及びパスワードのみを用いて行われる。このため、パスワード等の詐取、盗聴等に対するセキュリティが低い問題があった。
つまり、従来のオンラインサービスシステムでは、ブラウザでのサービスログイン後でなければ、ゲームサーバに接続できない(ゲームを起動して開始することができない)が、ゲームサーバ側での認証処理は、ユーザID及びパスワードによるサービスログインが正常に完了したことを前提に、オンラインサービス提供サーバでのサービスログイン結果に関係なくゲームクライアント(サービスアプリケーション)からのゲームセッション接続要求とユーザID及びパスワードに基づいて行われていた。
例えば、Cookie技術を用いてサービスログイン状態を管理している場合、ユーザ端末とオンラインサービス提供サーバとの間のHTTP通信等においてCookie情報のやり取りが行われ、サービスへのログイン/ログアウトの情報がCookie情報に含まれてユーザ端末で保持される。そして、ユーザ端末は、ユーザのゲーム起動要求に応答して当該ユーザ端末側において保持しているCookie情報を参照してサービスログイン/ログアウトをチェックし、ゲーム起動要求をオンラインサービス提供サーバに送信できないように構成しているが、ゲームサーバでは、オンラインサービス提供サーバでのサービスログインの有無に関係なく(Cookie情報等を用いたサービスへのログイン/ログアウトをチェックせずに)、同じユーザID及びパスワードを用いた個別の認証処理を行ってユーザにゲームサービスを提供していた。
したがって、サービスログインを行うユーザ端末(ブラウザ)とゲームセッション接続要求を行うユーザ端末(ゲームクライアント)との間で同一性が保証されない個別の認証が行われていたため、パケットキャプチャー(スニファ/ダンプ)等によってパスワードが詐取、盗聴された場合、ブラウザを介してサービスにログインしなくても、盗聴等されたユーザID及びパスワードを用いて他人が直接ゲームサーバに接続してゲームを利用できてしまう問題があった。
また、ブラウザと該ブラウザ以外のサービスアプリケーションとを用いてサービスを提供する従来のオンラインサービスシステムでは、ブラウザからサービスアプリケーションにユーザID及びパスワードが受け渡されるため、ユーザ端末に悪意あるパケットスニファ等が設置されている場合には、オンラインサービス提供サーバ及びゲームサーバとの間の通信以外にも、ブラウザとサービスアプリケーションとの間でユーザID及びパスワードが漏洩する危険性があり、サービスログインを行うブラウザとゲームセッション接続要求を行うゲームクライアントとの間で同一性が保証されない従来のオンラインサービスシステムの認証方法では、パスワード等の詐取、盗聴等に対するサービスの不正使用を抑制することができなかった。
そこで、本発明の目的は、正当なユーザ以外のオンラインサービス利用を抑制し、正当なユーザが安全にオンラインサービスを利用することができるサービス提供方法及びオンラインサービスシステムを提供することにある。
本発明の1つの観点としての、オンラインサービスを利用するためにユーザ端末が接続可能なオンラインサービス提供サーバと、オンラインサービス提供サービスにおけるユーザの認証管理を行う認証管理サーバと、オンラインサービスを提供するサービスサーバとを備えるオンラインサービスシステムのサービス提供方法は、上記認証管理サーバが、オンラインサービス提供サーバでのユーザログイン情報に基づいて第1認証情報をユーザ端末に発行し、保存する第1ステップと、上記ユーザ端末が、発行された第1認証情報を含む認証要求を認証管理サーバに送信する第2ステップと、上記認証管理サーバが、第1認証情報を用いて認証処理を遂行し、認証結果に基づいて第2認証情報をユーザ端末に発行し、保存する第3ステップと、上記ユーザ端末が、第2認証情報を含むサービス接続要求を上記サービスサーバに送信する第4ステップと、上記サービスサーバが、第2認証情報を用いて認証管理サーバを通じた認証処理を遂行し、認証結果に基づいてユーザ端末へのオンラインサービスの提供を開始する第5ステップと、を含むことを特徴とする。
また、上記第2認証情報は、認証有効期限情報を含むように構成され、上記ユーザ端末は、認証有効期限情報と現在時間情報とに基づいて認証有効期限に対して所定の時間経過したか否かを判別し、所定の時間が経過したと判別された場合に上記認証管理サーバに認証有効期限情報の更新要求を送信するステップと、上記認証管理サーバが、上記更新要求に応答して上記第2認証情報の認証有効期限情報を更新するステップと、を含むように構成することができる。
また、上記ユーザ端末は、第1認証情報を含む認証要求を認証管理サーバに送信する際、該ユーザ端末の装置固有の識別情報(コンピュータ名やMACアドレス、IPアドレス等)を共に送信するように構成することができ、認証管理サーバが、第2認証処理と識別情報とを関連付けて保存し、上記サービスサーバが、識別情報及び第2認証情報を用いて認証管理サーバを通じた認証処理を遂行するように構成することができる。
また、上記第5ステップは、上記サービスサーバがサービス接続要求に応答して第2認証情報を含む認証要求を認証管理サーバに送信するステップと、上記認証管理サーバが、サービスサーバからの認証要求に基づく第2認証情報を用いた認証処理を遂行し、認証処理の認証結果をサービスサーバに送信するステップと、上記サービスサーバが、認証管理サーバから受信した認証結果に基づいてユーザ端末へのオンラインサービスの提供を開始するステップと、を含むことができる。また、上記第2認証情報を用いた認証処理を遂行し、認証結果をサービスサーバに送信するステップにおいて、認証管理サーバが、認証結果が認証成功である場合、第2認証情報に関連する第3認証情報を発行し、保存するステップと、認証結果及び第3認証情報をサービスサーバに送信するステップと、を含むように構成することができ、さらに、上記サービスサーバがオンラインサービスの提供を開始するステップは、上記第3認証情報をユーザ端末に送信するステップと、を含むことができる。
また、上記第3認証情報は、上記第2認証情報に含まれる認証有効期限情報及び発行シーケンス番号が異なる認証情報として生成することができる。
また、本発明の他の観点としての、ブラウザを介してユーザ端末がオンラインサービスを利用するために接続するオンラインサービス提供サーバと、オンラインサービスにおけるユーザの認証管理を行う認証管理サーバと、ユーザ端末に設置されたオンラインサービスを利用するためのサービスアプリケーションを通じてオンラインサービスを提供するサービスサーバと、を備えるオンラインサービスシステムのサービス提供方法は、上記認証管理サーバが、ブラウザを通じたサービス利用要求に応答し、オンラインサービス提供サーバでのユーザログイン情報に基づいて第1認証情報をユーザ端末に発行し、保存する第1ステップと、ブラウザが、発行された前記第1認証情報を含む認証要求を認証管理サーバに送信する第2ステップと、認証管理サーバが、第1認証情報を用いて認証処理を遂行し、認証結果に基づいて第2認証情報をユーザ端末に発行し、保存する第3ステップと、ブラウザが、発行された第2認証情報をサービスアプリケーションに受け渡す第4ステップと、サービスアプリケーションが第2認証情報を含むサービス接続要求をサービスサーバに送信する第5ステップと、サービスサーバが、第2認証情報を用いて認証管理サーバを通じた処理を遂行し、認証結果に基づいてサービスアプリケーションを通じたオンラインサービスの提供を開始する第6ステップと、を含むことを特徴とする。
また、本発明のさらに他の観点としてのネットワークを通じて接続可能なユーザ端末にオンラインサービスを提供するオンラインサービスシステムは、ユーザ端末がオンラインサービスにログインした後オンラインサービスを利用するための第1認証情報と、該第1認証情報を用いた認証結果に基づいてユーザ端末に発行される第1認証情報と異なる第2認証情報と、を生成する認証情報生成部と、ユーザ端末からの第1認証情報を含む認証要求に応答して第1認証情報を用いた第1認証処理を遂行するとともに、ユーザ端末からの第2認証情報を含むサービス接続要求に応答し、ユーザ端末へのオンラインサービスの提供を開始するための該第2認証情報を用いた第2認証処理を遂行する認証部と、第2認証処理の認証結果に基づいて、オンラインサービスをユーザ端末に提供するオンラインサービス提供部と、を有することを特徴とする。
また、本発明のさらに他の観点としてのネットワークを通じて接続可能なユーザ端末にオンラインサービスを提供するオンラインサービスシステムは、ユーザ端末がブラウザを通じてオンラインサービスにログインした後、オンラインサービスを利用するための第1認証情報と、第1認証情報を用いた認証結果に基づいてユーザ端末に発行される第1認証情報と異なる第2認証情報と、を生成する認証情報生成部と、ブラウザを通じた第1認証情報を含む認証要求に応答して第1認証情報を用いた第1認証処理を遂行するとともに、ユーザ端末に設置されるオンラインサービスをユーザ端末で利用可能に動作させるサービスアプリケーションからの第2認証情報を含むサービス接続要求に応答し、ユーザ端末へのオンラインサービスの提供を開始するための該第2認証情報を用いた第2認証処理を遂行する認証部と、第2認証処理の認証結果に基づいて、サービスアプリケーションを通じてオンラインサービスをユーザ端末に提供するオンラインサービス提供部と、を有することを特徴とする。
また、本発明のさらに他の観点としてのネットワークを通じて接続可能なユーザ端末にオンラインサービスを提供するオンラインサービスシステムの当該オンラインサービスにおけるユーザの認証管理を行う認証管理装置は、ユーザ端末がオンラインサービスにログインした後にオンラインサービスを利用するための第1認証情報と、第1認証情報を用いた認証結果に基づいてユーザ端末に発行される該第1認証情報と異なる第2認証情報と、を生成する認証情報生成部と、ユーザ端末からの第1認証情報を含む認証要求に応答して該第1認証情報を用いた第1認証処理を遂行するとともに、ユーザ端末からの第2認証情報を含むサービス接続要求に応答し、ユーザ端末へのオンラインサービスの提供を開始するための該第2認証情報を用いた第2認証処理を遂行する認証部と、を有することを特徴とする。
また、本発明のさらに他の観点としてプログラムは、オンラインサービスを提供するオンラインサービスシステムにネットワークを通じて接続可能であって、オンラインサービスの提供を受けるコンピュータに、オンラインサービスシステムのサービス利用に伴って該オンラインサービスシステムが発行する第1認証情報を含む認証情報発行要求をオンラインサービスシステムに送信する機能と、第1認証情報を用いたオンラインサービスシステム側の認証結果に基づいて発行される認証情報であって、オンラインサービスシステムからのサービス提供の開始に際する認証処理に用いられる第2認証情報を含むサービス接続要求を、オンラインサービスシステムに送信する機能と、を実現させることを特徴とする。
本発明によれば、正当なユーザ以外のオンラインサービス利用を抑制し、セキュリティ性の高い安全なオンラインサービスの提供が可能となる。
すなわち、オンラインサービス提供サーバでのユーザログインに基づいて発行される第1認証情報を用いた認証処理を遂行し、該認証処理の認証結果に基づいて第1認証情報と異なるオンラインサービスの提供を開始するための第2認証情報をユーザ端末に発行する。
したがって、オンラインサービスにサービスログインせずに不正にサービスを利用することを抑制できるとともに、第1認証情報の認証結果に基づいて発行される第2認証情報によりオンラインサービスの提供を開始するための認証処理を遂行するので、オンラインサービスを利用するユーザの同一性を保証することができ、パスワード等の詐取・盗難による不正なサービス利用を抑制することができる。このため、オンラインサービスにおけるユーザ認証におけるセキュリティ性が向上し、正当なユーザによる安全なオンラインサービスの利用が確保される。
以下、本発明の好適な実施形態を、図面を参照しながら説明する。
(第1実施形態)
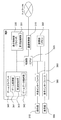
図1は、本発明のオンラインサービスシステムの構成図である。本実施形態のオンラインサービスシステムは、サービス提供サイト(WEBサイト)を提供するWEBサーバとしてのオンラインサービス提供サーバ100、オンラインサービスにおけるユーザの認証管理を行う認証管理サーバ400、及びオンラインサービスを提供するサービスサーバとしてのゲームサーバ200とを備える。本実施形態では、オンラインサービスとしてゲームサービスを一例に説明する。各サーバは、ユーザ端末300とインターネット等のネットワークNを通じて接続可能に構成され、かつ各サーバ間は、ネットワークN又は専用回線等の通信回線で接続されている。ユーザ端末300は、パーソナルコンピュータやPDA(Personal Digital Assistant)、携帯電話機等の移動通信端末装置などの通信機能及び演算機能を備えた端末装置である。
オンラインサービス提供サーバ100は、ネットワークNを介した複数のユーザ端末300との通信制御及び認証管理サーバ400との通信制御を行う通信制御部110、ユーザ端末300にオンラインサービス(ゲームサービス)を提供するための所定の画面を提供するオンラインサービス制御部120、オンラインサービス提供サーバ100全体の制御を司る制御部(CPU)130、及び画面(ページ)データ等を記憶する記憶部140を含む。
ゲームサーバ200は、ネットワークNを介した複数のユーザ端末300との通信制御及び認証管理サーバ400との通信制御を行う通信制御部210、ユーザ端末300との間の所定のゲームセッションを通じて後述するユーザ端末300に設置(インストール)されたゲームクライアント340との間でゲーム制御を遂行するゲーム制御部220、ゲームサーバ200全体の制御を司る制御部(CPU)230、及び記憶部240を含む。また、ゲームサーバ200と個別に構成されたゲームID毎に各ユーザのゲーム情報を格納するゲームDB(ゲームデータベース)600が、当該ゲームサーバ200に接続されており、ゲーム制御部220は、ゲームDB600との間で情報の格納、更新、削除等の制御も行う。なお、ゲームDB600は、ゲームサーバ200に含まれるように一体に構成することも可能である。
認証管理サーバ400は、ネットワークNを介した複数のユーザ端末300、オンラインサービス提供サーバ100及びゲームサーバ200との通信制御を行う通信制御部410、ゲームサービスをユーザが利用する際にユーザ端末300に発行する認証情報を生成する認証情報生成部420、認証情報生成部420で生成された認証情報を用いた認証処理を遂行する認証部430、認証管理サーバ400全体の制御を司る制御部(CPU)440、及び記憶部450を含む。そして、認証管理サーバ400と個別に構成された認証情報生成部420で生成された認証情報及びユーザID等を格納する認証DB(認証データベース)500が、当該認証管理サーバ400に接続され、認証情報生成部420は、認証DB500との間での情報の格納、更新、削除等を行うとともに、認証部430は、認証処理に際して、認証DB500に格納されている認証情報を参照する。なお、認証DB500は、認証管理サーバ400に含まれるように一体に構成することも可能である。
図2は、本実施形態のユーザ端末300の構成ブロック図である。図2に示すように、本実施形態のユーザ端末300は、ネットワークNを介したオンラインサービス提供サーバ100、認証管理サーバ400、及びゲームサーバ200との通信制御を行う通信制御部310、ユーザ端末300全体の制御を司る制御部(CPU)320、オンラインサービス提供サーバ100から提供される各画面(ページ)を表示する表示制御部としてのブラウザ330、ユーザ端末300側のゲーム処理を行うゲームクライアント340を備えるとともに、記憶部(メモリ)350、外部インターフェース360、操作部370(キーボード、マウス、コントローラ等)、表示インターフェース380、表示部390(表示ディスプレイ)を備える。なお、ブラウザ330は、インターネットエクスプローラ等の各種のWEBブラウザが適用される。
ゲームクライアント340は、ゲームサービスを利用するためのサービスアプリケーションプログラムであり、一般的なオンラインゲームにおいて適用される技術である。ゲームクライアント340は、ゲームを行うユーザ端末300に予め(若しくはゲーム開始時に)インストールされ、ユーザ端末300側のゲーム処理全般を担う。本実施形態のゲームクライアント340は、ゲームサーバ200から送信されるゲーム制御情報に応じて表示インターフェース380を介した表示部390へのゲーム表示処理(ゲーム画面の表示処理を含む)及びゲーム制御を行うゲーム処理部341、ゲームに使用される多様なグラフィックデータ、ゲームルールが定義されたゲーム基本ファイル、及び更新ファイルなどの情報(ゲーム情報)が格納されるゲームデータ格納部342を備える。ゲームデータ格納部342に格納されるデータは、ゲーム開始時、ゲーム終了時、又はゲーム進行中にゲームサーバ200との通信により適宜更新される情報が含まれる。
また、ブラウザ330及びゲームクライアント340は、第1認証制御部331及び第2認証制御部343を各々含み、第1及び第2認証制御部331、343は、認証管理サーバ400との間での認証情報の制御を遂行する。なお、ブラウザ330の第1認証制御部331は、ActiveXコントロール等で実現することができ、第1認証制御部332は、ブラウザにプラグインされる形態で実現することが可能である。また、第2認証制御部343は、ゲームクライアント340を構成するゲームプログラムの一部として実現することができ、ゲームクライアント340に内的に又は外的に付加される形態で実現することが可能である。
ここで、図3及び図4を参照しながら、本実施形態のゲームサービスシステムのサービス提供方法(サービス起動方法)について詳細に説明する。
本実施形態のサービス提供方法は、認証管理サーバ400を通じた認証処理を遂行し、ゲームサーバ200を通じてゲームサービスをユーザ端末300に提供する。認証管理サーバ400は、オンラインサービスサイトでのサービスログイン認証に用いられるパスワードと異なる認証情報(第2認証情報)をユーザ端末300に発行し、ゲームサーバ200は、認証管理サーバ400が発行した認証情報を用いた認証結果に応じてユーザ端末300へのゲームサービスの提供を開始する。
さらに、本実施形態のサービス提供方法は、ゲームサーバ200によるゲームサービスの提供を開始するための認証処理(サービス起動認証処理)に用いられる第2認証情報の発行に際して、認証発行チケット(第1認証情報)をさらにユーザ端末300に発行し、セキュリティ性の高い認証情報の生成処理を遂行する。つまり、ゲームサーバ200によるゲームサービスの提供を開始するための認証処理に用いられる第2認証情報は、認証発行チケットによる認証処理を経て発行され、認証発行チケットを有しない第2認証情報の発行要求(認証発行チケットによる認証処理が認証NGである第2認証情報の発行要求)は、不正な処理要求として判別されてゲームを開始することができない。つまり、認証発行チケットによりゲームを起動するユーザ端末300と認証情報が発行されるユーザ端末300との同一性を保証した認証を行う。
図3に示すように、オンラインサービス提供サーバ100は、ネットワークNを通じて接続するユーザ端末300に、サービスログイン画面を提供する。ユーザは、ユーザ端末300のブラウザ330に表示されたサービスログイン画面に、予め登録されたユーザID及びパスワードを入力する。ユーザ端末300のブラウザ330は、当該画面に入力されたユーザID及びパスワードをオンラインサービス提供サーバ100に送信する。

オンラインサービス提供サーバ100では、受信したユーザID及びパスワードを用い、認証DB500に格納された不図示のユーザID−パスワードテーブルを参照してサービスログイン認証処理を遂行し、認証結果(認証OK(ログイン)/認証NG(ログアウト))を含むCookie情報とともに、ゲームサービス提供画面(ゲーム選択画面)をユーザ端末300に提供する。上述のように、本実施形態は、Cookie技術を用いてサービスログイン状態を管理している。なお、Cookie情報は、最終ログイン日時、最終ログアウト日時、ログイン/ログアウト状態等を含むことができる。また、Cookie技術を用いたサービスへのログイン/ログアウト情報の管理以外の技術も適用することできる。例えば、オンラインサービス提供サーバでのサービスログイン認証時にユーザのサービスログイン状態を示す情報を別途保存して管理することも可能である。
オンラインサービスにログイン後(サービスログイン後)、ユーザは、ゲームを開始するためにブラウザ330に表示されたゲーム選択画面から所望するゲームを選択する。オンラインサービス提供サーバ100は、このゲーム選択に応答してユーザ端末300に選択したゲームのゲーム起動画面を提供し、ユーザによりゲーム起動が選択されると(ゲーム起動ボタンが押下されると)、ブラウザ330は、ユーザ端末300において保存されているサービスログインの認証結果(認証OK/認証NG)を含むCookie情報を参照して、当該ユーザのログイン状態をチェックする。Cookie情報のログイン状態を示す情報が認証OKであると判別された場合、ブラウザ330は、オンラインサービス提供サーバ100にゲーム起動要求(起動されるゲームID、ユーザIDを含む)を送信する。このゲーム起動要求を受信したオンラインサービス提供サーバ100は、ゲーム起動要求に応答して、認証管理サーバ400に対して認証発行チケットである第1認証情報の発行要求を送信する。一方、ブラウザ330は、Cookie情報のログイン状態を示す情報が認証NG(ログアウト)であると判別された場合、オンラインサービス提供サーバ100に対してゲーム起動要求を送信せずに、所定のメッセージ、例えば「サービスにログインしてからゲームを起動してください」などのメッセージを表示する。
認証管理サーバ400は、オンラインサービス提供サーバ100からの第1認証情報の発行要求を受信すると、認証有効期限情報を含む第1認証情報を生成し、ゲーム起動要求をしたユーザIDと関連付けて生成した第1認証情報を認証DB500に格納する。図4(a)は、発行された第1認証情報が格納される第1認証情報テーブルの一例である。第1認証情報テーブルは、発行するユーザID毎に、ゲーム起動要求(ゲーム選択)に含まれるゲームID、オンラインサービス提供サーバ100がユーザ端末300からゲーム起動要求を受信した日時(又は認証管理サーバ400がオンラインサービス提供サーバ100から第1認証情報の発行要求を受信した日時)、第1認証情報、シーケンス番号、認証有効期限を格納する。
第1認証情報は、所定のアルゴリズムで生成される文字及び数字が混在した認証番号と、第1認証情報が発行される度に所定の数だけインクリメントされるシーケンス番号とで構成される。すなわち、同一のユーザに対して一度第1認証情報を生成すると、シーケンス番号が1インクリメントされ、次回に生成される第1認証情報は、シーケンス番号が異なり、前回に発行された第1認証情報とは異なる認証情報となる。言い換えれば、一度認証処理に用いられた認証情報は、次回又は他の認証処理で使用することができず、認証処理が遂行される毎にシーケンス番号が異なる認証情報が生成されることになる。したがって、一度発行された第1認証情報は、一度切りしか使用できない使い捨ての認証情報(ワンタイムパスワード;OTP)として生成される。また、第1認証情報は、認証情報としての時間的な制限(認証有効期限)があり、例えば、第1認証情報の発行から1分以内でなければ、第1認証情報を用いた認証処理において、認証情報としての有効性が消失することになる。
このように認証管理サーバ400で生成された第1認証情報は、オンラインサービス提供サーバ100を介してユーザ端末300に提供される。第1認証情報を受信したブラウザ330の第1認証制御部331は、ユーザ端末300の装置固有の識別情報(以下、PC識別情報と称す)を当該装置から取得する。PC識別情報としては、ユーザ端末300のMACアドレス、ユーザ端末300に登録されているコンピュータ名やユーザ名がある。第1認証制御部331は、受信した第1認証情報及び取得したPC識別情報を含む認証情報発行要求を認証管理サーバ400に送信する。なお、PC識別情報は、MACアドレスやコンピュータ名等を組み合わせたり、MACアドレスやコンピュータ名の一部を抽出して組み合わせて用いることも可能であり、MACアドレス等をそのままPC識別情報として使用する以外にも、任意に各識別情報を組み合わせてPC識別情報として使用することもできる。また、MACアドレスの一部を抽出してPC識別情報として使用することも可能である。
認証管理サーバ400は、受信した認証情報発行要求に含まれる第1認証情報を用いて認証DB500を参照し、認証処理(第1認証処理)を遂行する。この第1認証処理において認証OKであれば、ゲームサーバ200によるユーザ端末300へのゲームサービスの提供を開始するための認証処理に用いられる第2認証情報を生成する。
図4(b)は、発行された第2認証情報が格納される第2認証情報テーブルの一例である。第2認証情報テーブルは、発行するユーザID毎に、ゲームID、認証管理サーバ400がユーザ端末300から認証情報発行要求を受信した日時、PC識別情報、第2認証情報、シーケンス番号、認証有効期限を格納する。
第2認証情報は、ゲームID、認証有効期限、PC識別情報及びシーケンス番号(第2シーケンス番号)で構成され、第2シーケンス番号は、第2認証情報が発行される度に所定の数だけインクリメントされる。当該第2認証情報も上述した第1認証情報と同様に、同一のユーザに対して一度第2認証情報を生成すると、シーケンス番号が1インクリメントされ、次回に生成される第2認証情報は、シーケンス番号が異なり、前回に発行された第2認証情報とは異なる認証情報となる。つまり、一度認証処理に用いられた認証情報は、次回又は他の認証処理で使用することができず、認証処理が遂行される毎にシーケンス番号が異なる第2認証情報が生成されることになる。したがって、一度発行された第2認証情報は、一度切りしか使用できない使い捨ての認証情報(ワンタイムパスワード;OTP)として生成される。また、第2認証情報も、認証情報としての時間的な制限(認証有効期限)を含み、例えば、第2認証情報の発行タイムスタンプから5分以内(認証有効期限=発行タイムスタンプ+所定時間)でなければ、第2認証情報を用いた認証処理において、認証情報としての有効性が消失することになる。
また、第2認証情報は、第1認証情報とは異なり、ユーザ端末300のMACアドレス等のPC識別情報を含んで構成されている。
このように認証管理サーバ400で生成された第2認証情報は、ユーザ端末300に直接提供される。第2認証情報を受信したブラウザ330は、ゲームクライアント340を起動させ、受信した第2認証情報を当該ゲームクライアント340に受け渡す(出力する)。
ゲームクライアント340は、第2認証制御部343による上記第1認証制御部331と同様のPC識別情報取得処理を遂行し、ブラウザ330から受け取った第2認証情報とともに改めて取得したPC識別情報を含むゲーム接続要求をゲームサーバ200に送信する。ゲームサーバ200は、ユーザ端末300からのゲーム接続要求に応答して、PC識別情報及び第2認証情報を含む認証要求を認証管理サーバ400に送信する。認証管理サーバ400は、第2認証情報に基づく認証結果及び第3認証情報をゲームサーバ200に送信し、ゲームサーバ200は、受信した認証結果に基づいて、ゲームクライアント340との間のゲームセッション確立処理及びゲーム制御を遂行するとともに、第3認証情報をゲームクライアント340に送信する。なお、この第3認証情報については、後述する。
また、本実施形態のPC識別情報は、ゲームクライアント340の第2認証制御部343が、第1認証制御部331と同様にユーザ端末300の装置固有のPC識別情報を当該装置から改めて取得し、ブラウザ330からPC識別情報を受け取らない構成としている。これは第1認証制御部331(ブラウザ330)と第2認証制御部343(ゲームクライアント340)が同一のユーザ端末330で動作しているか否か、言い換えれば、PCの同一性をより保証するために、第1及び第2認証制御部331、343の各々が、個別に当該ユーザ端末330からPC固有情報を取得するように構成している。なお、第1認証制御部331において一度取得したPC固有情報を第2認証制御部343に受け渡すように構成し、第2認証制御部343においてPC固有情報を取得しないように構成することも可能である。
次に、図5A及び図5Bを参照して、本実施形態のゲームサービスシステムのサービス提供方法の処理遷移について説明する。
まず、ユーザ端末300は、ゲームを開始するためにゲームサービスを提供するオンラインサービスサイトであるオンラインサービス提供サーバ100に、ブラウザ330を介して接続する(ステップS301)。オンラインサービス提供サーバ100は、ネットワークNを通じて接続したユーザ端末300に、サービスログイン画面を提供する(ステップS101)。ユーザは、ユーザ端末300のブラウザ330に表示されたサービスログイン画面に、予め登録されたユーザID及びパスワードを入力し、ユーザ端末300のブラウザ330は、当該画面に入力されたユーザID及びパスワードをオンラインサービス提供サーバ100に送信する(ステップS302)。
オンラインサービス提供サーバ100は、ユーザ端末300からのユーザID及びパスワードの受信に応答して、これらユーザID及びパスワードを用いて認証DB500を参照してサービスログイン認証を遂行する(ステップS102)。オンラインサービス提供サーバ100は、サービスログインの認証結果(認証OK/認証NG等のサービスログイン/ログアウト状態を示す情報)を含むCookie情報をユーザ端末300に送信する。
オンラインサービスにログイン後、ユーザが、ゲームを開始するためにブラウザ330に表示されたゲーム選択画面から所望するゲームを選択すると、オンラインサービス提供サーバ100は、このゲーム選択に応答してユーザ端末300に選択したゲームのゲーム起動画面を提供する。そして、ユーザによりゲーム起動が選択されると(ゲーム起動ボタンが押下されると)、ブラウザ330は、ユーザ端末300に保存されているCookie情報を参照して、当該ユーザのログイン状態をチェックする。ブラウザ330は、Cookie情報のログイン状態を示す情報が認証OKであると判別された場合、オンラインサービス提供サーバ100にゲーム起動要求(起動されるゲームID、ユーザIDを含む)を送信する。Cookie情報のログイン状態を示す情報が認証NG(ログアウト)であると判別された場合は、オンラインサービス提供サーバ100に対してゲーム起動要求を送信しない(ステップS303)。そして、ユーザ端末300からゲーム起動要求を受信したオンラインサービス提供サーバ100は、認証管理サーバ400に認証発行チケットである第1認証情報の発行要求を送信する。
認証管理サーバ400は、オンラインサービス提供サーバ100から第1認証情報の発行要求を受信した場合、すなわち、ユーザ端末300からのゲーム起動要求に応答して認証チケット発行処理を遂行する。具体的には、認証部430は、認証情報生成部420に第1認証情報の生成処理を指示し、認証情報生成部420は、認証有効期限を含む第1認証情報を生成するとともに、生成した第1認証情報、発行要求(ゲーム起動要求)に含まれるゲームID、認証有効期限情報等をユーザIDと関連付けて認証DB500の第1認証情報テーブルに格納する。生成された第1認証情報は、オンラインサービス提供サーバ100を介してユーザ端末300に送信される(ステップS401,S402)。
ブラウザ330の第1認証制御部331は、第1認証情報を受信すると、ユーザ端末300の装置固有のPC識別情報を該端末装置から取得し、受信した第1認証情報及び取得したPC識別情報を含む認証情報発行要求を生成して、認証管理サーバ400に送信する(ステップS304)。
認証管理サーバ400の認証部430は、受信した認証情報発行要求に含まれる第1認証情報を用いて認証DB500を参照し、第1認証処理を遂行する。具体的には、第1認証情報の一致性を判別するとともに、第1認証情報テーブルに格納されている認証有効期限と認証情報発行要求を受信したタイムスタンプを比較し、認証情報発行要求を受信したタイムスタンプが、認証有効期限を越えているか否かを判別する(ステップS403)。本実施形態では、これら2つの認証を満足する場合に、第1認証情報を用いた認証処理が成功した(認証OK)と判断する。
第1認証情報を用いた第1認証処理の認証結果が認証OKである場合、認証部430は、認証情報生成部420に第2認証情報の生成処理を指示する。認証情報生成部440は、第2認証情報を生成するとともに、生成した第2認証情報、認証情報発行要求に含まれるPC識別情報、認証有効期限情報等をユーザID毎に認証DB500の第2認証情報テーブルに格納する。生成された第2認証情報は、ユーザ端末300に送信される(ステップS404,S405)。なお、第1認証処理の認証結果が認証NGである場合、第2認証情報を発行せずにユーザ端末300に対してゲームサーバ200に接続できない旨、サービス利用ができない旨等のメッセージを送信する。
ユーザ端末300のブラウザ330は、図5Bに示すように、認証管理サーバ400で生成された第2認証情報を受信すると、当該受信に応答してゲームクライアント340を起動させ、受信した第2認証情報、ユーザID、ゲームID等を当該ゲームクライアント340に受け渡す。また、ゲームクライアント340は、ブラウザ330と同様に該端末装置からPC識別情報を改めて取得し、ブラウザ330から受け取った第2認証情報、ユーザID、ゲームID、及び改めた取得したPC識別情報等を含むゲーム接続要求を生成してゲームサーバ200に送信する(ステップS305)。
ゲームサーバ200は、ユーザ端末300(ゲームクライアント340)からのゲーム接続要求を受信すると、ゲーム制御部220が、受信したゲーム接続要求に含まれる第2認証情報、ユーザID、ゲームID、PC識別情報を抽出して、認証管理サーバ400に抽出したこれらの情報を含む認証要求を送信する(ステップS201)。認証管理サーバ400の認証部430は、認証要求とともに受信した第2認証情報、ユーザID、ゲームID、PC識別情報と用いた第2認証処理を遂行する。認証DB500の第2認証情報テーブルを参照して、受信した第2認証情報及びPC識別情報の一致性を判別し、かつ第2認証情報テーブルに格納されている認証有効期限と認証情報発行要求を受信したタイムスタンプを比較して認証情報発行要求を受信したタイムスタンプが、認証有効期限を越えているか否かを判別する。これら2つの認証を満足する場合に、第2認証情報を用いた認証処理が成功した(認証OK)と判断する。(ステップS406)。そして、認証管理サーバ400の認証部430は、第2認証情報を用いた第2認証処理が認証OKである場合、認証結果情報を生成するとともに、認証情報生成部420に対して第3認証情報の生成指示を出力する。認証情報生成部420は、第3認証情報を生成するとともに、生成した第3認証情報を認証DB500に保存する(ステップS407)。その後、認証部430又は認証情報生成部420は、生成された認証結果と第3認証情報をゲームサーバ200に送信する(ステップS408)。なお、第2認証情報を用いた第2認証処理の結果が認証NGの場合は、第3認証情報は生成されない。
ゲームサーバ200のゲーム制御部220は、認証管理サーバ400からの認証結果及び第3認証情報を受信し、認証OK/認証NGを判別する。認証OKであると判別された場合には、ゲームクライアント340との間のゲームセッション確立処理及びゲーム制御を遂行するとともに、第3認証情報をゲームクライアント340に送信する(ステップS202)。なお、第2認証処理の認証結果が認証NGである場合、ユーザ端末300に対してゲームサーバ200に接続できない旨、サービス利用ができない旨等のメッセージを送信する。
第3認証情報を受信したゲームクライアント340の第2認証制御部343は、該第3認証情報を保存し、第3認証情報に含まれる認証有効期限と現在時刻とに基づいて、認証有効期限に対して所定の時間が経過したか否かを判別し、所定の時間が経過したと判別された場合に、第3認証情報の認証有効期限の更新要求を認証管理サーバ400に送信する(ステップS306)。認証管理サーバ400は、この更新要求を受信すると、対応する第3認証情報の認証有効期限を所定時間延長する更新処理を遂行し、更新結果として、認証有効期限が更新された第3認証情報を、ゲームクライアント340に送信する(ステップS409)。
ここで、第3認証情報について詳細に説明する。本実施形態のオンラインサービスシステムは、ゲームサーバ200との間でゲームセッションが確立されてゲームが開始された後、ゲーム進行に伴うゲームサービスを構成する他のサーバが、本実施形態のゲームサーバ200と同様の認証処理を行うために、第3認証情報を発行する。なお、ゲームサーバ200が複数のサーバで構成されている場合は、複数の各ゲームサーバへのアクセス毎に認証管理サーバ400を通じた認証処理が遂行されるように構成することができ、サービスを提供するために構成された各サーバの各々の認証に対する第4認証情報、第5認証情報・・・が、認証処理の度に発行される。
つまり、ゲーム進行中のアイテム購入時のポイント支払やアイテム購入のためのポイント購入などの処理は、ゲームサーバ200と別個に構成される課金サーバ等で遂行される。したがって、ゲームクライアント340が課金サーバに接続する際に、課金サーバ側での認証管理サーバ400を通じた認証を遂行するための第3認証情報を、第2認証情報を用いた第2認証処理後(ゲームクライアント340との間のゲームセッション確立処理及びゲーム制御開始後)に、ゲームクライアント340に発行する。したがって、ゲームクライアント340は、ゲームサーバ200と同様に、課金サーバ等にユーザID,第3認証情報,アイテムコード等を含むアイテム購入要求やポイント購入要求等を送信し、課金サーバは、第3認証情報を含む認証要求を認証管理サーバ400に送信し、認証結果に基づいて課金処理を遂行する。
この第3認証情報は、第2認証情報と同様に認証有効期限を含み、図4(b)に示した第2認証情報と同様の構成を有するが、ゲーム接続要求に用いられる第2認証情報とは、認証有効期限とシーケンス番号とが異なる。
すなわち、本実施形態の第3認証情報は、第2認証情報のシーケンス番号が所定数インクリメントされた、該第2認証情報とは異なる認証情報として生成されつつ、第2認証情報に関連した認証情報として生成される。このため、PC識別情報が第3認証情報に引き継がれて、第2認証情報を用いた認証処理と同様のユーザの同一性を担保した認証処理が遂行される。
また、第3認証情報は、同様に認証有効期限を含むが、ゲーム進行中のどの時点でユーザがアイテムを購入するか、言い換えれば、第3認証情報を用いた認証処理(第3認証処理)が遂行されるかは、ユーザのゲーム進行に依存し、判別することができない。そこで、本実施形態の第2認証制御部343は、受信した第3認証情報の認証有効期限と現在時刻とを比較チェックし、認証有効期限に対して所定の時間が経過したか否かを判別し、第3認証情報の認証有効期限の更新を認証管理サーバ400に要求する。例えば、認証有効期限が19:05で、現在時刻が19:00である場合の残り時間が5分である場合に、更新が必要であると判別したり、第3認証情報を受信した時点から、認証有効期限までの有効時間を算出し、有効時間が半分の時間が経過した場合に、更新が必要であると判別し、第3認証情報の認証有効期限の更新要求を認証管理サーバ400に送信する。
そして、認証管理サーバ400は、この更新要求を受信すると、対応する第3認証情報の認証有効期限を所定時間、例えば、5分延長する更新処理を遂行し、認証有効期限が更新された第3認証情報をゲームクライアント340(第2認証制御部343)に送信する。また、上述のように、この第2認証制御部343による更新処理は、第3認証情報が認証処理に使用されるまで、言い換えれば、第3認証情報を含む所定の処理要求を所定の処理を行うサーバに送信するまで、繰り返し遂行され、また、第3認証情報を用いた認証処理を遂行した認証管理サーバ400は、第3認証情報のシーケンス番号が所定数インクリメントされた第3認証情報とは異なる第4認証情報、すなわち、第2及び第3認証情報のシーケンス番号及び認証有効期限が異なる認証情報を生成して、ゲームクライアント340に送信する。
図6A及び図6Bは、本実施形態のゲーム起動方法におけるユーザ端末300の処理遷移を示したフローチャートである。
ユーザ端末300のブラウザ330は、ユーザ操作に基づいてゲームサービスサイトであるオンラインサービス提供サーバ100にアクセスし、オンラインサービス提供サーバ100から提供されるサービスログイン画面を表示する(ステップS601)。ユーザは、ユーザ端末300のブラウザ330に表示されたサービスログイン画面に、予め登録されたユーザID及びパスワードを入力し、ログインボタン等が選択されると、ブラウザ330は、当該画面に入力されたユーザID及びパスワードをオンラインサービス提供サーバ100に送信する(ステップS602)。
オンラインサービスへのログイン後、ブラウザ330は、オンラインサービス提供サーバ100から提供されるゲーム選択画面を表示し(ステップS603)、ユーザは、ゲーム選択画面に表示されたゲームの中から所望するゲームを選択する。オンラインサービス提供サーバ100は、このゲーム選択に応答してユーザ端末300に選択したゲームのゲーム起動画面を提供する。ユーザによりゲーム起動が選択されると(ゲーム起動ボタンが押下されると)、ブラウザ330は、ユーザのゲーム起動アクションに基づいて、ユーザ端末300に保存されているCookie情報を参照し、当該ユーザのログイン状態をチェックする。ブラウザ330は、Cookie情報のログイン状態を示す情報が認証OKであると判別された場合、オンラインサービス提供サーバ100にゲーム起動要求(起動されるゲームID、ユーザIDを含む)を送信する(ステップS604)。
ブラウザ330の第1認証制御部331は、ゲーム起動要求に対して認証管理サーバ400から発行される第1認証情報(認証発行チケット)を受信すると(ステップS605)、ユーザ端末300の装置固有のPC識別情報を該端末装置から取得する(ステップS606)。そして、第1認証制御部331は、受信した第1認証情報及び取得したPC識別情報を含む認証情報発行要求を生成して、認証管理サーバ400に送信する(ステップS607)。
ユーザ端末300のブラウザ330は、認証管理サーバ400で生成(発行)された第2認証情報を受信すると、当該受信に応答してゲームクライアント340を起動させ(ステップS608)、受信した第2認証情報、ユーザID、ゲームID等を当該ゲームクライアント340に受け渡す(ステップS609)。ゲームクライアント340は、ブラウザ330と同様に、改めて個別にユーザ端末300のPC識別情報を取得し(ステップS610)、受け取った第2認証情報、ユーザID、ゲームID、PC識別情報等を含むゲーム接続要求を生成してゲームサーバ200に送信する(ステップS611)。
ゲームクライアント340は、ゲームサーバ200からのゲームセッション確立処理に応答して、ゲームサーバ200との間のゲームセッションを確立し、ゲームクライアント340のゲーム処理部341は、ゲームサーバ200のゲーム制御部220のゲーム制御に基づいてユーザ端末300側でのゲーム処理を遂行する(ステップS611)。このとき、ゲームクライアント340は、ゲームサーバ200から第3認証情報を受信し(ステップS612)、第3認証情報の認証有効期限の更新処理を開始する。ゲームクライアント340の第2認証制御部343は、受信した第3認証情報の認証有効期限と現在時刻とを比較チェックし、認証有効期限に対して所定の時間が経過したか否かを判別する(ステップS613)。そして、判別の結果、更新が必要であると判別された場合には、第3認証情報の認証有効期限の更新要求を認証管理サーバ400に送信する(ステップS614)。その後、認証管理サーバ400から認証有効期限が更新された第3認証情報を受信し(ステップS615)、第3認証情報を含む所定の処理要求を所定の処理を行うサーバに送信するまで、ステップS613からステップS615を繰り返し遂行し(ステップS616)、第3認証情報を含む処理要求が所定のサーバに送信する際に(ステップS617)、当該更新処理を終了する。
図7及び図8は、本実施形態の認証管理サーバ400の処理遷移を示すフローチャートである。
認証管理サーバ400の認証部430は、サービスログイン認証に伴ってオンラインサービス提供サーバ100から送信される第1認証情報の発行要求、言い換えれば、ユーザ端末300からのゲーム起動要求の受信有無を判別し(ステップS701)、ゲーム起動要求を受信したと判別した場合に、認証情報生成部420に第1認証情報の生成処理を指示する。
認証情報生成部420は、認証有効期限を含む第1認証情報を生成するとともに、生成した第1認証情報、発行要求(ゲーム起動要求)に含まれるゲームID、認証有効期限情報等をユーザIDと関連付けて認証DB500の第1認証情報テーブルに格納する。また、生成された第1認証情報は、オンラインサービス提供サーバ100を介してユーザ端末300に送信される(ステップS702)。
次に、認証部430は、発行した第1認証情報及びユーザ端末300のPC識別情報を含む認証情報発行要求を受信すると(ステップS703)、受信した認証情報発行要求に含まれる第1認証情報を用いて認証DB500を参照し、第1認証情報の一致性及び第1認証情報テーブルに格納されている認証有効期限と認証情報発行要求を受信したタイムスタンプを比較し、認証情報発行要求を受信したタイムスタンプが認証有効期限を越えているか否かを判別する第1認証処理を遂行する(ステップS704)。
認証部430は、第1認証処理の認証結果を判別し(ステップS705)、認証情報生成部420に第2認証情報の生成処理を指示する。認証情報生成部440は、第2認証情報を生成してユーザ端末300に送信するとともに(ステップS707)、生成した第2認証情報、認証情報発行要求に含まれるPC識別情報、認証有効期限情報等をユーザID毎に認証DB500の第2認証情報テーブルに格納する(ステップS708)。一方、ステップS705において、第1認証処理の認証結果が認証NGであると判別された場合、認証部430は、第2認証情報の生成指示を認証情報生成部420に出力せずに、ユーザ端末300に対して認証NGである旨(ゲームサーバ200に接続できない旨、サービス利用ができない旨等)のメッセージを送信する(ステップS706)。
その後、認証管理サーバ400の認証部430は、ゲームサーバ200からの第2認証情報を用いた認証要求の受信有無を判別し(ステップS801)、認証要求を受信したと判別した場合に、認証要求に含まれる第2認証情報及びPC識別情報を用いた第2認証処理を遂行する(ステップS802)。認証DB500の第2認証情報テーブルを参照して、受信した第2認証情報及びPC識別情報の一致性の判別し、かつ第2認証情報テーブルに格納されている認証有効期限と認証情報発行要求を受信したタイムスタンプを比較して認証情報発行要求を受信したタイムスタンプが、認証有効期限を越えているか否かを判別する(ステップS803)。これら2つの認証を満足する場合に、第2認証情報を用いた認証処理が成功した(認証OK)と判断し、いずれか一方が満足されない場合には、認証処理が失敗した(認証NG)と判断する。認証部430は、認証OKである場合、第2認証情報に基づく認証結果を生成し、認証情報生成部420に第3認証情報の生成指示を出力し、認証情報生成部420は、第2認証情報に基づいて第3認証情報を生成する(ステップS804)。そして、認証部430は、認証結果及び第3認証情報をゲームサーバ200に送信する(ステップS805)。その後、認証部430は、第1認証情報又は/及び第2認証情報を用いた認証処理を終了する(ステップS808)。一方、ステップ803において、第2認証処理が認証NGである場合、認証部430は、認証結果のみを生成し(ステップS806)、生成した認証結果をゲームサーバ200に送信する(ステップS807)。
図9は、本実施形態のゲームサーバ200の処理遷移を示すフローチャートである。
ゲームサーバ200のゲーム制御部220は、ユーザ端末300のゲームクライアント340からのゲーム接続要求があったか否かを判別し(ステップS901)、ゲーム接続要求があったと判別された場合、認証管理サーバ400に対して受信したゲーム接続要求に含まれる第2認証情報、PC識別情報等を含む認証要求を送信する(ステップS902)。
ゲームサーバ200のゲーム制御部220は、送信した認証要求に対する認証管理サーバ400での認証結果を受信し(ステップS903)、認証結果を判別する(ステップS904)。認証結果が認証NGであると判別された場合には、ゲームクライアント340との間のゲームセッション確立処理を遂行せずに、ユーザ端末300に対して認証NGである旨(サービス利用ができない旨等)のメッセージを送信する(ステップS905)。
一方、認証結果が認証OKであると判別される場合には、ステップS903において認証結果とともに第3認証情報を受信し、認証OKの認証結果に基づいてゲーム制御部220は、ゲームクライアント340との間のゲームセッション確立処理を遂行し、ゲーム制御を遂行するとともに、第3認証情報をゲームクライアント430に送信する(ステップS906)。なお、このゲーム制御部220によるゲーム制御についての説明は、省略する。
その後、ゲームサーバ200のゲーム制御部220は、ユーザにより又はゲーム進行に応じてゲームが終了するまでゲーム制御を遂行し、ゲームが終了したと判別された場合に(ステップS907)、ゲーム終了処理(ゲームセッションの切断処理、ゲームデータの更新・格納等)を遂行してゲームを終了させる(ステップS908)。
このように本実施形態のゲームサービスシステムは、オンラインサービス提供サーバでのユーザログイン認証に基づいて発行される認証発行チケット(第1認証情報)により、サービスログインせずにゲームサーバ200に接続してゲームを不正に開始することを抑制できるとともに、ユーザログイン認証に使用されるユーザID及びパスワードと異なる第2認証情報によりゲームサービス(オンラインサービス)の提供を開始するための認証処理を遂行するので、パスワード等の詐取・盗難による不正なサービス利用を抑制することができる。
したがって、オンラインサービスのユーザ認証セキュリティが向上し、正当権限のあるユーザによる安全なオンラインサービスの提供が実現される。
さらに、第2認証情報を用いた認証処理の際、ユーザ端末300のPC識別情報に基づくユーザ識別を行っているため、認証情報が詐取、盗難等された場合であっても、ユーザの正当性を好適に判別することができる。
つまり、ブラウザ330から認証管理サーバ400に送信されるPC固有情報と、ゲームクライアント340から認証管理サーバ400に送信されるPC固有情報とが、同一であることを保証する、言い換えれば、第2認証情報の認証情報発行要求を送信したユーザ端末300と、ゲームサーバ200にゲーム接続要求を送信したゲームクライアント340が設置されたユーザ端末300との同一性を、PC識別情報により保証する。
したがって、サービスログインしたユーザ端末300のブラウザ330とゲームクライアント340との間でユーザ端末300のPC識別情報が引き継がれることで、ユーザの同一性を保証しつつ、認証有効期限を有する第1認証情報及び第2認証情報を用いた認証処理を遂行するため、パスワード等の詐取、盗難による他のユーザによるサービス不正利用を好適に抑制することができる。特に、ブラウザ330及びゲームクライアント340において個別にPC識別情報を取得するように構成することで、よりユーザの同一性の高い認証を実現することが可能となる。
また、ゲーム開始後においても第2認証情報に基づく第3認証情報を用い、認証管理サーバ400を通じた認証処理が遂行されるため、ゲームサービスに含まれる全ての処理において、パスワード等の詐取・盗難による不正なサービス利用を好適に抑制することができる。
(第2実施形態)
図10は、本発明の第2実施形態におけるオンラインサービスシステムの構成図である。本実施形態のオンラインサービスシステムは、上記第1実施形態に対して、ゲームクライアント340やその他のユーザ端末300にゲームを提供するに際し、必要な情報を格納するゲームデータ提供サーバ(ダウンロードサーバ)700を有している。
通常、ゲームサービスシステムでは、ゲームクライアント340をユーザ端末300にダウンロードさせ、ゲームクライアント340により所定のゲーム画面の表示、操作制御等のゲーム処理が遂行される。このため、ゲームサービスシステムにおいて初めてゲームを行う場合は、ユーザ端末300は、ゲームクライアント340をゲームデータ提供サーバ700からダウンロードする必要がある。また、初めて行う場合でなくとも、ゲームプログラムが更新されたり、新しいゲームシナリオ、表示画像、アイテム等が追加された場合は、ゲームを起動させる際にこれら更新データをユーザ端末300にダウンロードさせて、ゲームクライアント340のゲームデータ格納部342に格納されるゲームデータを最新の状態にする必要がある。
一方、データのダウンロードは、ダウンロードするデータ容量及び通信性能に応じてユーザ端末300毎に異なる。したがって、上記第1実施形態のように認証情報に認証有効期限情報などの時間制限がある場合、認証情報が発行された時点からゲームクライアント340がゲームサーバ200にゲーム接続要求するまでに必要な時間が、データの取得時間(ダウンロード時間)により長くなり、正当なユーザによるゲーム接続要求であっても、認証有効期限が超過することにより第2認証情報の有効性が消失し、ユーザ端末300は、ゲームサービスを利用することができない。
そこで、本実施形態のユーザ端末300は、図11に示すように、第3認証制御部343aを含む情報取得制御部340aが設けられ、認証管理サーバ400に格納されている第2認証情報の認証有効期限を更新する。なお、上記第1実施形態と同様の構成等については、同符号を付して説明を省略するとともに、上記第1実施形態と相違する部分を中心に本実施形態のゲームサービスシステムを説明する。
本実施形態のゲームサービスシステムは、オンラインサービスサイトであるオンラインサービス提供サーバ100、オンラインサービスにおけるユーザの認証管理を行う認証管理サーバ400、オンラインサービス提供サービスを提供するサービスサーバとしてのゲームサーバ200、及びゲームサービスを利用するために必要な情報を格納し、ユーザ端末300にゲームデータ等を提供するゲームデータ提供サーバ700を備える。
ゲームデータ提供サーバ700は、ネットワークNを介した複数のユーザ端末300との通信制御を行う通信制御部710、ゲームデータ格納部730に格納されたゲームデータをユーザ端末300に提供する提供制御部720と、ゲームデータ提供サーバ700全体の制御を司る制御部(CPU)740を含む。
ゲームデータ格納部730には、ゲームID毎にゲームクライアント340、更新プログラム、新しいゲームシナリオ、表示画像、アイテム等のゲームデータが格納されている。ゲームデータ提供サーバ700は、更新プログラムや新しいアイテム等の更新追加情報(更新追加リスト)をゲームID毎に保存(記憶)しており、ユーザ端末300からのゲームIDを含むゲームデータ取得要求に応答して、対応する更新プログラム等をユーザ端末300に提供する。
ユーザ端末300の情報取得部340aは、ブラウザ300により起動(実行)され、ゲームデータ提供サーバ700にアクセスし、ゲームデータ取得要求をゲームデータ提供サーバ700に送信する。また、情報取得制御部340aの第3認証制御部343aは、認証管理サーバ400に第2認証情報の認証有効期限の更新要求を送信する。
ここで、図12を参照しながら、本実施形態のゲームサービスシステムのサービス提供方法(サービス起動方法)について詳細に説明する。
認証管理サーバ400で生成された第2認証情報は、ユーザ端末300に提供され、第2認証情報を受信したブラウザ330は、情報取得制御部340aを起動する。この情報取得制御部340aは、例えば、ゲームランチャが適用される。そして、ブラウザ330は、第2認証情報を情報取得制御部340aに受け渡すとともに、ゲームデータの取得指示を出力する。当該情報取得制御部340aには、ブラウザ330から第2認証情報、ゲームID、ユーザIDが受け渡される。
情報取得制御部340aは、ゲームデータ提供サーバ700にネットワークNを通じて接続するために、該ゲームデータ提供サーバ700との間の通信セッションを確立し、ゲームIDを含むゲームデータ取得要求をゲームデータ提供サーバ700に送信する。ゲームデータ提供サーバ700は、受信したゲームデータ取得要求に含まれるゲームIDに基づいて、対応するゲームデータをユーザ端末300に提供する。
このとき、情報取得制御部340aの第3認証制御部343aは、上記第1実施形態と同様に、ブラウザ330から取得した第2認証情報の認証有効期限と現在時刻とを比較チェックし、認証有効期限に対して所定の時間が経過したか否かを判別し、第3認証情報の認証有効期限の更新要求(認証有効期限を延長する旨の更新要求)を認証管理サーバ400に送信する。この更新要求には、ブラウザ330から受け取った第2認証情報及び当該第3認証制御部343aにおいて改めて個別に取得した当該ユーザ端末300のPC識別情報が含まれ、認証管理サーバ400は、第2認証情報及びPC識別情報を用いて認証処理を遂行し、認証結果がOKである場合に、予め設定された延長時間を現在の認証有効期限情報に加算したり、別途新たな認証有効期限を設定する更新処理を遂行する。
なお、第3認証制御部343aの第2認証情報の認証有効期限の更新判別処理及び更新要求処理は、ゲームデータ提供サーバ700から所定のゲームデータをダウンロードしている間、繰り返し行い、その都度、認証管理サーバ400に更新要求を送信する。このように構成することで、ユーザ端末300の通信状態の変化に対して適切な認証有効期限の更新を行うことができる。また、通信状態の変化を考慮して通信状態に応じた各々異なる認証有効期限の更新を行うことも可能である。
情報取得制御部340aは、ゲームデータ提供サーバ700からのデータ取得が完了した後に、ゲームクライアント340に起動指示を出力するとともに、保持していた第2認証情報を当該ゲームクライアント340に受け渡す。そして、ゲームクライアント340は、情報取得制御部340aから受け取った第2認証情報とブラウザ330及び情報取得制御部340aと同様に、改めて個別に取得したユーザ端末300のPC識別情報を含むゲーム接続要求をゲームサーバ200に送信し、ゲームサーバ200との間で確立したゲームセッションを通じてゲーム処理を遂行する。
次に、図13及び図14を参照して、本実施形態のゲームサービスシステムのサービス提供方法の処理遷移について説明する。
第2認証情報を受信したブラウザ330は、情報取得制御部340aを起動して当該情報取得制御部340aに対してゲームデータの取得指示を出力するとともに、当該情報取得制御部340aに対して受信した第2認証情報、ゲームID、ユーザIDを出力する。情報取得制御部340aは、ゲームIDを含むゲームデータ取得要求をゲームデータ提供サーバ700に送信する(ステップS304a)。ゲームデータ提供サーバ700は、ネットワークNを通じて接続するために、ユーザ端末300との間の通信セッションを確立し、受信したゲームデータ取得要求に含まれるゲームIDに基づいて、対応するゲームデータをユーザ端末300に提供するダウンロード処理を開始する(ステップS501)。
そして、情報取得制御部340aの第3認証制御部343aは、第2認証情報の認証有効期限と現在時刻とを比較チェックし、認証有効期限に対して所定の時間が経過したか否かを判別し(ステップS304b)、所定の時間が経過したと判別された場合に、ユーザ端末300のPC識別情報を改めて取得し、認証管理サーバ400に対して第2認証情報の認証有効期限を延長するための更新要求を送信する(ステップS304c)。この更新要求には、ブラウザ330から受け取った第2認証情報及び改めて取得したPC識別情報が含まれ、認証管理サーバ400は、第2認証情報及びPC識別情報を用いて認証処理を遂行し、認証結果がOKである場合に、認証有効期限を延長する有効期限更新処理を遂行する(ステップS405a)。その後、認証管理サーバ400は、更新された第2認証情報をゲームクライアント340に送信し(ステップS405b)、情報取得制御部340aは、ゲームデータ提供サーバ700からのデータ取得が完了した後に、ゲームクライアント340に起動指示を出力するとともに、更新された第2認証情報を当該ゲームクライアント340に受け渡す。
図15は、本実施形態の情報取得制御部340a及び第3認証制御部343aの処理遷移を示すフローチャートであり、図6Aのステップ608及びステップS609に対応している。
ユーザ端末300のブラウザ330は、認証管理サーバ400で生成(発行)された第2認証情報を受信すると、情報取得制御部340aを起動させるとともに、当該情報取得制御部340aにゲームデータ取得指示を出力する。そして、受信した第2認証情報、ユーザID、ゲームID等を当該情報取得制御部340aに受け渡す(ステップS1501)。
情報取得制御部340aは、ゲームデータ提供サーバ700からのデータダウンロード処理を開始する(ステップS1502)。情報取得制御部340aは、ゲームIDを含むゲームデータ取得要求をゲームデータ提供サーバ700に送信し、ゲームデータ提供サーバ700は、ネットワークNを通じて接続するために、ユーザ端末300との間の通信セッションを確立し、受信したゲームデータ取得要求に含まれるゲームIDに基づいて、対応するゲームデータをユーザ端末300に提供するダウンロード処理を開始する。
そして、情報取得制御部340aは、第2認証情報の認証有効期限と現在時刻とに基づいて認証有効期限に対して所定の時間が経過したか否かを判別し(ステップS1503)、所定の時間が経過したと判別された場合に、ユーザ端末300のPC識別情報を取得し(ステップS1504)、認証管理サーバ400に対して第2認証情報の認証有効期限を延長する旨の更新要求を送信し(ステップS1505)、認証有効期限が更新された第2認証情報を認証管理サーバ400から受信する(ステップS1506)。その後、情報取得制御部340aは、ゲームデータ提供サーバ700からのデータ取得が完了したか否かを判別し(ステップS1507)、ダウンロード処理が完了していない場合は、ステップS1503に戻り、認証有効期限の更新判別処理及び更新要求処理を繰り返し行う。一方、ステップS1507において、ダウンロード処理が完了されたと判別された場合には、情報取得制御部340aは、ゲームクライアント340に起動指示を出力するとともに(ステップS1508)、更新された第2認証情報を当該ゲームクライアント340に受け渡す(ステップS1509)。
図16は、本実施形態の認証管理サーバ400の認証有効期限情報の更新処理を示したフローチャートであり、図7及び図8のステップ709及びステップS801の間で遂行される。
認証管理サーバ400は、第2認証情報の認証有効期限を延長するための更新要求をユーザ端末300から受信したか否かを判別し(ステップS1601)、受信したと判別された場合は、認証部430は、該更新要求に含まれる第2認証情報及びPC識別情報に基づいて認証処理を遂行する。この認証処理において、認証結果が認証NGの場合は、ユーザ端末300にゲームサービスを利用できない旨等のメッセージを送信し、当該更新処理を終了する。
一方、第2認証情報及びPC識別情報に基づいた認証処理の結果が認証OKである場合に、認証情報生成部420は、予め設定された延長時間等に基づいて第2認証情報テーブルの対応する認証有効期限を更新する(ステップS1602,S1603)。
このように本実施形態では、ゲームサービスを利用するために必要な情報を取得する場合においても、認証情報の認証有効期限を適宜更新するため、ゲームサービスを好適に提供することが可能となる。
また、ブラウザ330、情報取得制御部340aは、及びゲームクライアント340の各モジュールにおいて個別に取得されたPC識別情報を用いた認証処理が遂行されるため、よりユーザの同一性の高い認証を実現することが可能となる。
以上、本発明を好適な実施形態を一例に説明したが、本発明は、ゲームサービスシステム以外にも、音楽提供サービスやアバター提供サービス等に適用することが可能である。例えば、アバター提供サービスにおいてユーザがサービスにログインした後に、アバターアイテム(洋服等)を購入する場合に、アイテム購入のための課金サーバにユーザ端末300が接続する際に、本発明のサービス提供方法を適用して、ユーザの正当性を保証した安全なサービス提供を実現することができる。また、音楽提供サービスにおいても、音楽データのダウンロードサーバ等に接続する際、第2認証情報を用いた認証処理を適用することができる。
なお、アバター提供サービスや音楽提供サービスの場合、ゲームクライアント等のサービスアプリケーションを別途ユーザ端末300に設置する必要がない場合がある。この場合、本発明のサービス提供方法は、ブラウザの第1認証制御部331が、上記実施形態の第2認証制御部343の機能を備えるように構成し、サービスサーバ(課金サーバやダウンロードサーバ)が認証管理サーバ400を通じて第2認証情報を用いた認証処理を遂行するように構成することができる。つまり、ゲームクライアント等のユーザ端末300に設置されるサービスアプリケーションを介さずに、ブラウザのみで本発明のユーザ端末300側の処理を遂行するように構成することができる。
また、本発明のサービス提供方法は、基本的にゲームクライアントをインストールせずにゲームが遂行されるFlash(登録商標)ゲームにも適用することが可能である。この場合、FlashPlayer(SWFファイル)が第2認証制御部343の機能を担うように構成される。
また、上記実施形態におけるゲームサービスシステムは、上述のように第1認証制御部331をブラウザ330にプラグインされるActiveXコントロール等のプログラムモジュールでユーザ端末300に提供し、ゲームクライアント340をサービスアプリケーションプログラムとしてユーザ端末300に提供する。ユーザ端末300は、記憶部350に展開された各プログラムを読み込むことで、上記実施形態のユーザ端末300での機能を実現させることができる。また、これらの各プログラムは、コンピュータ読取可能な記録媒体に記録された状態で、又はインターネット等のネットワークNを通じてユーザ端末300に提供される。コンピュータ読取可能な記録媒体としては、CD−ROM等の光ディスク、DVD−ROM等の相変化型光ディスク、MO(Magnet Optical)やMD(Mini Disk)などの光磁気ディスク、フロッピー(登録商標)ディスクやリムーバブルハードディスクなどの磁気ディスク、コンパクトフラッシュ(登録商標)、スマートメディア、SDメモリカード、メモリスティック等のメモリカードが挙げられる。
また、上記実施形態における各サーバは、ハードウェア構成として上述以外にも、キーボード、マウス、スキャナー等の操作入力手段、液晶ディスプレイ等の表示手段、プリンタ、スピーカなどの出力手段、主記憶装置(メモリ)、補助記憶装置(ハードディスク等)等を備えることが可能であり、ユーザ端末においてもこれらの手段を備えることができる。各手段に制御は、サーバ又はコンピュータ全体の制御を司る制御手段(CPU)により遂行される。
なお、本発明の詳細な説明では具体的な実施形態について説明したが、本発明の要旨から逸脱しない範囲内で多様に変形できる。よって、本発明の範囲は、上述の実施形態に限定されるものではなく、特許請求の範囲の記載及びこれと均等なものに基づいて定められるべきである。
本発明の第1実施形態におけるオンラインサービスシステムの構成図であり、各サーバの構成ブロック図を示す図である。 本発明の第1実施形態におけるユーザ端末の構成ブロック図である。 本発明の第1実施形態におけるサービス提供方法を示す図である。 本発明の第1実施形態における認証DBの各テーブルの一例を示す図である。 本発明の第1実施形態におけるオンラインシステムの処理遷移を示すフローチャートである。 図5Aに続く本発明の第1実施形態におけるオンラインシステムの処理遷移を示すフローチャートである。 本発明の第1実施形態におけるユーザ端末の処理遷移を示すフローチャートである。 図6Aに続く本発明の第1実施形態におけるユーザ端末の処理遷移を示すフローチャートである。 本発明の第1実施形態における認証管理サーバの処理遷移を示すフローチャートである。 図7に続く本発明の第1実施形態における認証管理サーバの処理遷移を示すフローチャートである。 本発明の第1実施形態におけるゲームサーバの処理遷移を示すフローチャートである。 本発明の第2実施形態におけるオンラインサービスシステムの構成図であり、ゲームデータ提供サーバの構成ブロック図を示す図である。 本発明の第2実施形態におけるユーザ端末の構成ブロック図である。 本発明の第2実施形態におけるサービス提供方法を示す図である。 本発明の第2実施形態におけるオンラインサービスシステムの処理遷移を示すフローチャートである。 図13に続く本発明の第2実施形態におけるオンラインサービスシステムの処理遷移を示すフローチャートである。 本発明の第2実施形態におけるユーザ端末の処理遷移を示すフローチャートである。 本発明の第2実施形態における認証管理サーバの処理遷移を示すフローチャートである。 従来のゲームサービスにおけるゲームサービス提供方法を示す図である。
符号の説明
100 オンラインサービス提供サーバ
110 通信制御部
120 オンラインサービス制御部
130 制御部(CPU)
140 記憶部
200 ゲームサーバ
210 通信制御部
220 ゲーム制御部
230 制御部(CPU)
240 記憶部
300 ユーザ端末
310 通信制御部
320 制御部(CPU)
330 表示制御部(ブラウザ)
331 第1認証制御部
340 ゲームクライアント(サービスアプリケーション)
340a 情報取得制御部
341 ゲーム処理部
342 ゲームデータ格納部
343 第2認証制御部
343a 第3認証制御部
350 記憶部(メモリ)
360 外部インターフェース
370 操作部
380 表示インターフェース
390 表示部
400 認証管理サーバ
410 通信制御部
420 認証情報発行部
430 認証部
440 制御部(CPU)
450 記憶部
500 認証DB
600 ゲームDB
700 ゲームデータ提供サーバ
710 通信制御部
720 提供制御部
730 ゲームデータ格納部
740 制御部(CPU)

Claims (32)

  1. オンラインサービスを利用するためにユーザ端末が接続可能なオンラインサービス提供サーバと、前記オンラインサービスにおけるユーザの認証管理を行う認証管理サーバと、前記オンラインサービスを提供するサービスサーバとを備えるオンラインサービスシステムのサービス提供方法であって、
    前記認証管理サーバが、前記オンラインサービス提供サーバでのユーザログイン情報に基づいて第1認証情報を前記ユーザ端末に発行し、保存する第1ステップと、
    前記ユーザ端末が、発行された前記第1認証情報を含む認証要求を前記認証管理サーバに送信する第2ステップと、
    前記認証管理サーバが、前記第1認証情報を用いて認証処理を遂行し、認証結果に基づいて第2認証情報を前記ユーザ端末に発行し、保存する第3ステップと、
    前記ユーザ端末が、前記第2認証情報を含むサービス接続要求を前記サービスサーバに送信する第4ステップと、
    前記サービスサーバが、前記第2認証情報を用いて前記認証管理サーバを通じた認証処理を遂行し、認証結果に基づいて前記ユーザ端末への前記オンラインサービスの提供を開始する第5ステップと、
    を含むことを特徴とするサービス提供方法。
  2. 前記第2認証情報は、認証有効期限情報を含み、
    前記ユーザ端末が、前記認証有効期限情報と現在時間情報とに基づいて認証有効期限に対して所定の時間経過したか否かを判別し、前記所定の時間が経過したと判別された場合に、前記認証管理サーバに前記認証有効期限情報の更新要求を送信するステップと、
    前記認証管理サーバが、前記更新要求に応答して前記第2認証情報の認証有効期限情報を更新するステップと、
    を含むことを特徴とする請求項1に記載のサービス提供方法。
  3. 前記認証要求及び前記サービス接続要求は、前記ユーザ端末の装置固有の識別情報を含んで構成され、
    前記第3ステップは、発行された前記第2認証情報と前記認証要求に含まれる前記識別情報とを関連付けて保存し、
    前記第5ステップは、前記識別情報及び前記第2認証情報を用いて前記認証管理サーバを通じた認証処理を遂行することを特徴とする請求項1又は2に記載のサービス提供方法。
  4. 前記第5ステップは、
    前記サービスサーバが、前記サービス接続要求に応答して前記第2認証情報を含む認証要求を前記認証管理サーバに送信するステップと、
    前記認証管理サーバが、前記サービスサーバからの前記認証要求に基づく前記第2認証情報を用いた認証処理を遂行し、前記認証処理の認証結果を前記サービスサーバに送信するステップと、
    前記サービスサーバが、前記認証管理サーバから受信した認証結果に基づいて前記ユーザ端末への前記オンラインサービスの提供を開始するステップと、
    を含むことを特徴とする請求項1から3のいずれか1つに記載のサービス提供方法。
  5. 前記第2認証情報を用いた認証処理を遂行し、認証結果を前記サービスサーバに送信するステップは、
    前記認証結果が認証成功である場合に、前記第2認証情報に関連する第3認証情報を発行し、保存するステップと、
    前記認証結果及び第3認証情報を前記サービスサーバに送信するステップと、を含み、
    前記サービスサーバが前記オンラインサービスの提供を開始するステップは、
    前記第3認証情報を前記ユーザ端末に送信するステップと、を含むことを特徴とする請求項4に記載のサービス提供方法。
  6. 前記第3認証情報は、前記第2認証情報に含まれる認証有効期限情報及び発行シーケンス番号が異なる認証情報であることを特徴とする請求項5に記載のサービス提供方法。
  7. ブラウザを介してユーザ端末がオンラインサービスを利用するために接続するオンラインサービス提供サーバと、前記オンラインサービスにおけるユーザの認証管理を行う認証管理サーバと、前記ユーザ端末に設置された前記オンラインサービスを利用するためのサービスアプリケーションを通じて前記オンラインサービスを提供するサービスサーバと、を備えるオンラインサービスシステムのサービス提供方法であって、
    前記認証管理サーバが、前記ブラウザを通じたサービス利用要求に応答し、前記オンラインサービス提供サーバでのユーザログイン情報に基づいて第1認証情報を前記ユーザ端末に発行し、保存する第1ステップと、
    前記ブラウザが、発行された前記第1認証情報を含む認証要求を前記認証管理サーバに送信する第2ステップと、
    前記認証管理サーバが、前記第1認証情報を用いて認証処理を遂行し、認証結果に基づいて第2認証情報を前記ユーザ端末に発行し、保存する第3ステップと、
    前記ブラウザが、前記第2認証情報を前記サービスアプリケーションに受け渡す第4ステップと、
    前記サービスアプリケーションが前記第2認証情報を含むサービス接続要求を前記サービスサーバに送信する第5ステップと、
    前記サービスサーバが、前記第2認証情報を用いて前記認証管理サーバを通じた認証処理を遂行し、認証結果に基づいて前記サービスアプリケーションを通じた前記オンラインサービスの提供を開始する第6ステップと、
    を含むことを特徴とするサービス提供方法。
  8. 前記第2認証情報は、認証有効期限情報を含み、
    前記サービスアプリケーションが、前記認証有効期限情報と現在時間情報とに基づいて認証有効期限に対して所定の時間経過したか否かを判別し、前記所定の時間が経過したと判別された場合に、前記認証管理サーバに前記認証有効期限情報の更新要求を送信するステップと、
    前記認証管理サーバが、前記更新要求に応答して前記第2認証情報の認証有効期限情報を更新するステップと、
    を含むことを特徴とする請求項7に記載のサービス提供方法。
  9. 前記第2認証情報は、認証有効期限情報を含むとともに、前記ユーザ端末は、前記サービスアプリケーションの起動に必要な情報を所定のサーバから取得するための情報取得部を有し、
    前記第4ステップは、
    前記ブラウザが、発行された前記第2認証情報を前記情報取得部に受け渡すステップと、
    前記情報取得部が、前記認証有効期限情報と現在時間情報とに基づいて認証有効期限に対して所定の時間経過したか否かを判別し、前記所定の時間が経過したと判別された場合に、前記認証管理サーバに前記認証有効期限情報の更新要求を送信するステップと、
    前記認証管理サーバが、前記更新要求に応答して前記第2認証情報の認証有効期限情報を更新し、更新された認証期限情報を含む第2認証情報を前記情報取得部に提供するステップと、
    前記情報取得部が、更新された認証期限情報を含む第2認証情報を、前記サービスアプリケーションに受け渡すステップと、
    を含むことを特徴とする請求項7に記載のサービス提供方法。
  10. 前記認証要求及び前記サービス接続要求は、前記ユーザ端末の装置固有の識別情報を含んで構成され、
    前記第3ステップは、発行された前記第2認証情報と前記認証要求に含まれる前記識別情報とを関連付けて保存し、
    前記第6ステップは、前記識別情報及び前記第2認証情報を用いて前記認証管理サーバを通じた認証処理を遂行することを特徴とする請求項7から9のいずれか1つに記載のサービス提供方法。
  11. 前記第6ステップは、
    前記サービスサーバが、前記サービス接続要求に応答して前記第2認証情報を含む認証要求を前記認証管理サーバに送信するステップと、
    前記認証管理サーバが、前記サービスサーバからの前記認証要求に基づく前記第2認証情報を用いた認証処理を遂行し、前記認証処理の認証結果を前記サービスサーバに送信するステップと、
    前記サービスサーバが、前記認証管理サーバから受信した前記認証結果に基づいて前記サービスアプリケーションを通じた前記オンラインサービスの提供を開始するステップと、を含むことを特徴とする請求項7から10のいずれか1つに記載のサービス提供方法。
  12. 前記第2認証情報を用いた認証処理を遂行し、認証結果を前記サービスサーバに送信するステップは、
    前記認証結果が認証成功である場合に、前記第2認証情報に関連する第3認証情報を発行し、保存するステップと、
    前記認証結果及び第3認証情報を前記サービスサーバに送信するステップと、を含み、
    前記サービスサーバが前記オンラインサービスの提供を開始するステップは、
    前記第3認証情報を前記サービスアプリケーションに送信するステップと、を含むことを特徴とする請求項11に記載のサービス提供方法。
  13. 前記第3認証情報は、前記第2認証情報に含まれる認証有効期限情報及び発行シーケンス番号が異なる認証情報であることを特徴とする請求項12に記載のサービス提供方法。
  14. ネットワークを通じて接続可能なユーザ端末にオンラインサービスを提供するオンラインサービスシステムであって、
    前記ユーザ端末が前記オンラインサービスにログインした後、前記オンラインサービスを利用するための第1認証情報と、前記第1認証情報を用いた認証結果に基づいて前記ユーザ端末に発行される該第1認証情報と異なる第2認証情報と、を生成する認証情報生成部と、
    前記ユーザ端末からの前記第1認証情報を含む認証要求に応答して前記第1認証情報を用いた第1認証処理を遂行するとともに、前記ユーザ端末からの前記第2認証情報を含むサービス接続要求に応答し、前記ユーザ端末への前記オンラインサービスの提供を開始するための該第2認証情報を用いた第2認証処理を遂行する認証部と、
    前記第2認証処理の認証結果に基づいて、前記オンラインサービスを前記ユーザ端末に提供するオンラインサービス提供部と、
    を有することを特徴とするオンラインサービスシステム。
  15. 前記第2認証情報は、認証有効期限情報を含み、
    前記認証情報生成部は、
    前記ユーザ端末からの前記認証有効期限情報の更新要求に基づいて、前記第2認証情報の認証有効期限情報を更新する更新処理を遂行することを特徴とする請求項14に記載のオンラインサービスシステム。
  16. 前記認証要求及び前記サービス接続要求は、前記ユーザ端末の装置固有の識別情報を含んで構成され、
    前記認証情報生成部は、発行された前記第2認証情報と前記認証要求に含まれる前記識別情報とを関連付けて保存し、
    前記認証部は、前記識別情報及び前記第2認証情報を用いて前記第2認証処理を遂行することを特徴とする請求項14又は15に記載のオンラインサービスシステム。
  17. 前記認証情報生成部は、前記第2認証処理の認証結果が認証成功である場合に、前記第2認証情報に関連する第3認証情報を生成することを特徴とする請求項14から16のいずれか1つに記載のオンラインサービスシステム。
  18. 前記第3認証情報は、前記第2認証情報に含まれる認証有効期限情報及び発行シーケンス番号が異なる認証情報であることを特徴とする請求項17に記載のオンラインサービスシステム。
  19. ネットワークを通じて接続可能なユーザ端末にオンラインサービスを提供するオンラインサービスシステムであって、
    前記ユーザ端末がブラウザを通じて前記オンラインサービスにログインした後、前記オンラインサービスを利用するための第1認証情報と、前記第1認証情報を用いた認証結果に基づいて発行される該第1認証情報と異なる第2認証情報と、を生成する認証情報生成部と、
    前記ブラウザを通じた前記第1認証情報を含む認証要求に応答して前記第1認証情報を用いた第1認証処理を遂行するとともに、前記ユーザ端末に設置される前記オンラインサービスを前記ユーザ端末で利用可能に動作させるサービスアプリケーションからの前記第2認証情報を含むサービス接続要求に応答し、前記ユーザ端末への前記オンラインサービスの提供を開始するための該第2認証情報を用いた第2認証処理を遂行する認証部と、
    前記第2認証処理の認証結果に基づいて、前記サービスアプリケーションを通じて前記オンラインサービスを前記ユーザ端末に提供するオンラインサービス提供部と、
    を有することを特徴とするオンラインサービスシステム。
  20. 前記第2認証情報は、認証有効期限情報を含み、
    前記認証情報生成部は、
    前記サービスアプリケーションからの前記認証有効期限情報の更新要求に基づいて、前記第2認証情報の認証有効期限情報を更新する更新処理を遂行することを特徴とする請求項19に記載のオンラインサービスシステム。
  21. 前記第2認証情報は、認証有効期限情報を含むとともに、前記ユーザ端末は、前記サービスアプリケーションの起動に必要な情報を所定のサーバから取得するための情報取得部を有し、
    前記認証情報生成部は、
    前記情報取得部からの前記認証有効期限情報の更新要求に基づいて、対応する前記第2認証情報の認証有効期限情報を更新し、更新された認証期限情報を含む第2認証情報を前記情報取得部に提供することを特徴とする請求項19に記載のオンラインサービスシステム。
  22. 前記認証要求及び前記サービス接続要求は、前記ユーザ端末の装置固有の識別情報を含んで構成され、
    前記認証情報生成部は、発行された前記第2認証情報と前記認証要求に含まれる前記識別情報とを関連付けて保存し、
    前記認証部は、前記識別情報及び前記第2認証情報を用いて前記第2認証処理を遂行することを特徴とする請求項19から21のいずれか1つに記載のオンラインサービスシステム。
  23. 前記認証情報生成部は、前記第2認証処理の認証結果が認証成功である場合に、前記第2認証情報に関連する第3認証情報を生成することを特徴とする請求項19から22のいずれか1つに記載のオンラインサービスシステム。
  24. 前記第3認証情報は、前記第2認証情報に含まれる認証有効期限情報及び発行シーケンス番号が異なる認証情報であることを特徴とする請求項23に記載のオンラインサービスシステム。
  25. ネットワークを通じて接続可能なユーザ端末にオンラインサービスを提供するオンラインサービスシステムのユーザ認証管理を行う認証管理装置であって、
    前記ユーザ端末が前記オンラインサービスにログインした後に前記オンラインサービスを利用するための第1認証情報と、前記第1認証情報を用いた認証結果に基づいて発行される該第1認証情報と異なる第2認証情報と、を生成する認証情報生成部と、
    前記ユーザ端末からの前記第1認証情報を含む認証要求に応答して前記第1認証情報を用いた第1認証処理を遂行するとともに、前記ユーザ端末からの前記第2認証情報を含むサービス接続要求に応答し、前記ユーザ端末への前記オンラインサービスの提供を開始するための該第2認証情報を用いた第2認証処理を遂行する認証部と、を有することを特徴とする認証管理装置。
  26. 前記ユーザ端末から送信される前記認証要求及び前記サービス接続要求は、前記ユーザ端末の装置固有の識別情報を含み、
    前記認証情報生成部は、前記第1及び第2認証情報を記憶する記憶部に前記識別情報と前記第2認証情報とを関連付けて保存し、
    前記認証部は、前記サービス接続要求に含まれる前記識別情報と前記第2認証情報とを用いた前記第2認証処理を遂行することを特徴とする請求項25に記載の認証管理装置。
  27. 前記認証情報生成部は、認証有効期限を含んだ前記第2認証情報を生成するとともに、
    前記ユーザ端末からの前記認証有効期限の更新要求に基づいて、前記認証有効期限を延長する更新処理を遂行することを特徴とする請求項25又は26に記載の認証管理装置。
  28. 前記認証情報生成部は、前記第2認証処理の認証結果が認証成功である場合に、前記第2認証情報に関連する第3認証情報を生成することを特徴とする請求項25から27のいずれか1つに記載の認証管理装置。
  29. 前記第3認証情報は、前記第2認証情報に含まれる認証有効期限情報及び発行シーケンス番号が異なる認証情報であることを特徴とする請求項28に記載の認証管理装置。
  30. オンラインサービスを提供するオンラインサービスシステムにネットワークを通じて接続可能であって、前記オンラインサービスの提供を受けるコンピュータに、
    前記オンラインサービスシステムのサービス利用に伴って該オンラインシステムが発行する第1認証情報を含む認証情報発行要求を前記オンラインサービスシステムに送信する機能と、
    前記第1認証情報を用いた前記オンラインサービスシステム側の認証結果に基づいて発行される認証情報であって、前記オンラインサービスシステムからのサービス提供の開始に際する認証処理に用いられる第2認証情報を含むサービス接続要求を、前記オンラインサービスシステムに送信する機能と、
    を実現させるためのプログラム。
  31. 前記第2認証情報は、認証有効期限情報を含み、
    前記認証有効期限情報と現在時間情報とに基づいて認証有効期限に対して所定の時間経過したか否かを判別し、前記所定の時間が経過したと判別された場合に、前記オンラインシステムに前記認証有効期限情報の更新要求を送信する機能を、さらに含むことを特徴とする請求項30に記載のプログラム。
  32. 当該コンピュータの装置固有の識別情報を取得する機能をさらに含み、
    認証情報発行要求を前記オンラインシステムに送信する機能、及びサービス接続要求を、前記オンラインシステムに送信する機能は、
    前記認証要求及び前記サービス接続要求に前記識別情報を含ませて前記オンラインシステムに送信することを特徴とする請求項30又は31に記載のプログラム。
JP2008171336A 2008-06-30 2008-06-30 サービス提供方法及びオンラインサービスシステム Expired - Fee Related JP5487374B2 (ja)

Priority Applications (1)

Application Number Priority Date Filing Date Title
JP2008171336A JP5487374B2 (ja) 2008-06-30 2008-06-30 サービス提供方法及びオンラインサービスシステム

Applications Claiming Priority (1)

Application Number Priority Date Filing Date Title
JP2008171336A JP5487374B2 (ja) 2008-06-30 2008-06-30 サービス提供方法及びオンラインサービスシステム

Publications (2)

Publication Number Publication Date
JP2010009530A true JP2010009530A (ja) 2010-01-14
JP5487374B2 JP5487374B2 (ja) 2014-05-07

Family

ID=41589893

Family Applications (1)

Application Number Title Priority Date Filing Date
JP2008171336A Expired - Fee Related JP5487374B2 (ja) 2008-06-30 2008-06-30 サービス提供方法及びオンラインサービスシステム

Country Status (1)

Country Link
JP (1) JP5487374B2 (ja)

Cited By (5)

* Cited by examiner, † Cited by third party
Publication number Priority date Publication date Assignee Title
JP2014016992A (ja) * 2012-07-06 2014-01-30 Naver Corp モバイル端末に基づくアカウントとゲームに基づくアカウントを連動するための装置、方法およびコンピュータ読み取り可能な記録媒体
JP2015179382A (ja) * 2014-03-19 2015-10-08 株式会社Nttドコモ 近距離通信デバイス、認証情報管理方法、及び認証システム
JP2016511867A (ja) * 2013-01-23 2016-04-21 マイクロソフト テクノロジー ライセンシング,エルエルシー 使用制限認証コード
JP2018206454A (ja) * 2017-05-31 2018-12-27 株式会社デンソー 記録制御装置
JP2019075089A (ja) * 2017-10-12 2019-05-16 宜浩 川村 クライアントサーバシステム

Citations (7)

* Cited by examiner, † Cited by third party
Publication number Priority date Publication date Assignee Title
JP2002278927A (ja) * 2001-03-16 2002-09-27 J-Phone East Co Ltd 分散型アクセス制御システムおよび分散型アクセス制御方法、並びに携帯電子機器端末、ロードバランサ装置
JP2003330896A (ja) * 2002-05-13 2003-11-21 Sony Corp 情報処理装置および方法、情報処理システム、記録媒体、並びにプログラム
JP2004234633A (ja) * 2003-01-06 2004-08-19 Sony Corp 認証システム、認証サーバ、端末、可搬式記憶媒体、認証方法、認証情報登録方法、情報送信方法、情報送受信方法、認証プログラム、情報送信プログラム、情報送受信プログラム、記憶媒体、情報処理装置、及び情報処理方法
JP2005018748A (ja) * 2003-06-06 2005-01-20 Ricoh Co Ltd 認証サービス提供方法、認証サービス提供プログラム、記録媒体及び認証サービス提供装置
WO2005015422A1 (ja) * 2003-08-11 2005-02-17 Sony Corporation 認証方法、認証システム及び認証サーバ
JP2007053580A (ja) * 2005-08-18 2007-03-01 Ricoh Co Ltd Web装置、認証システム、Webプログラム及び記録媒体
JP2007206850A (ja) * 2006-01-31 2007-08-16 Casio Comput Co Ltd ログイン管理装置及びプログラム

Patent Citations (7)

* Cited by examiner, † Cited by third party
Publication number Priority date Publication date Assignee Title
JP2002278927A (ja) * 2001-03-16 2002-09-27 J-Phone East Co Ltd 分散型アクセス制御システムおよび分散型アクセス制御方法、並びに携帯電子機器端末、ロードバランサ装置
JP2003330896A (ja) * 2002-05-13 2003-11-21 Sony Corp 情報処理装置および方法、情報処理システム、記録媒体、並びにプログラム
JP2004234633A (ja) * 2003-01-06 2004-08-19 Sony Corp 認証システム、認証サーバ、端末、可搬式記憶媒体、認証方法、認証情報登録方法、情報送信方法、情報送受信方法、認証プログラム、情報送信プログラム、情報送受信プログラム、記憶媒体、情報処理装置、及び情報処理方法
JP2005018748A (ja) * 2003-06-06 2005-01-20 Ricoh Co Ltd 認証サービス提供方法、認証サービス提供プログラム、記録媒体及び認証サービス提供装置
WO2005015422A1 (ja) * 2003-08-11 2005-02-17 Sony Corporation 認証方法、認証システム及び認証サーバ
JP2007053580A (ja) * 2005-08-18 2007-03-01 Ricoh Co Ltd Web装置、認証システム、Webプログラム及び記録媒体
JP2007206850A (ja) * 2006-01-31 2007-08-16 Casio Comput Co Ltd ログイン管理装置及びプログラム

Cited By (8)

* Cited by examiner, † Cited by third party
Publication number Priority date Publication date Assignee Title
JP2014016992A (ja) * 2012-07-06 2014-01-30 Naver Corp モバイル端末に基づくアカウントとゲームに基づくアカウントを連動するための装置、方法およびコンピュータ読み取り可能な記録媒体
US9302188B2 (en) 2012-07-06 2016-04-05 Nhn Entertainment Corporation Apparatus, method and computer readable recording medium for interworking account based on mobile terminal and account based on game
US10105605B2 (en) 2012-07-06 2018-10-23 Nhn Entertainment Corporation Apparatus, method and computer readable recording medium for interworking account based on mobile terminal and account based on game
JP2016511867A (ja) * 2013-01-23 2016-04-21 マイクロソフト テクノロジー ライセンシング,エルエルシー 使用制限認証コード
US10051467B2 (en) 2013-01-23 2018-08-14 Microsoft Technology Licensing, Llc Restricted-use authentication codes
JP2015179382A (ja) * 2014-03-19 2015-10-08 株式会社Nttドコモ 近距離通信デバイス、認証情報管理方法、及び認証システム
JP2018206454A (ja) * 2017-05-31 2018-12-27 株式会社デンソー 記録制御装置
JP2019075089A (ja) * 2017-10-12 2019-05-16 宜浩 川村 クライアントサーバシステム

Also Published As

Publication number Publication date
JP5487374B2 (ja) 2014-05-07

Similar Documents

Publication Publication Date Title
US9571494B2 (en) Authorization server and client apparatus, server cooperative system, and token management method
JP5306334B2 (ja) ネットワークにおいてユーザを認証するための方法と装置
CN102238161B (zh) 通信控制装置和通信控制系统
JP4508331B2 (ja) 認証代行装置、認証代行方法、認証代行サービスシステム、及びコンピュータ読取可能な記録媒体
JP5604176B2 (ja) 認証連携装置およびそのプログラム、機器認証装置およびそのプログラム、ならびに、認証連携システム
JP2010531005A5 (ja)
TWI548249B (zh) 安全資料驗證方法、系統與電腦可讀取儲存媒體
JP6699445B2 (ja) 情報処理装置、情報処理プログラムおよび情報処理方法および情報処理システム
CN112738105B (zh) 邀请注册方法及装置
JP2004164519A (ja) 認証処理ハードウェア、認証処理システム、及び、利用管理ハードウェア
JP6571890B1 (ja) 電子署名システム、証明書発行システム、証明書発行方法及びプログラム
JP5487374B2 (ja) サービス提供方法及びオンラインサービスシステム
KR102372503B1 (ko) 탈중앙화 아이디 앱을 이용하여 인증 서비스를 제공하는 방법 및 이를 이용한 탈중앙화 아이디 인증 서버
JP6465426B1 (ja) 電子署名システム、証明書発行システム、鍵管理システム及び電子証明書発行方法
JP2006031064A (ja) セッション管理システム及び管理方法
CN113794571A (zh) 一种基于动态口令的认证方法、装置及介质
KR100751428B1 (ko) 일회용 비밀번호 생성방법과 일회용 비밀번호 인증 시스템
EP2916509B1 (en) Network authentication method for secure user identity verification
CN119701371A (zh) 道具数据的传输方法、装置、设备、系统和存储介质
KR102497440B1 (ko) Did 기반의 사용자 정보 관리 서비스 제공 방법 및 시스템
JP2006126891A (ja) 生体情報登録方法、生体情報を利用する情報提供システム、端末及びサーバ
JP5793593B2 (ja) ユーザ識別情報を安全に検証するためのネットワーク認証方法
JP7067333B2 (ja) 端末装置、認証サーバ、本人確認管理システム、および、本人確認管理プログラム
WO2020017643A1 (ja) 電子署名システム、証明書発行システム、鍵管理システム、証明書発行方法及びプログラム
JP7811900B2 (ja) 電子署名システム及び電子署名処理方法

Legal Events

Date Code Title Description
A621 Written request for application examination

Free format text: JAPANESE INTERMEDIATE CODE: A621

Effective date: 20110627

A977 Report on retrieval

Free format text: JAPANESE INTERMEDIATE CODE: A971007

Effective date: 20130712

A131 Notification of reasons for refusal

Free format text: JAPANESE INTERMEDIATE CODE: A131

Effective date: 20130723

A711 Notification of change in applicant

Free format text: JAPANESE INTERMEDIATE CODE: A712

Effective date: 20130814

A521 Request for written amendment filed

Free format text: JAPANESE INTERMEDIATE CODE: A821

Effective date: 20130814

A521 Request for written amendment filed

Free format text: JAPANESE INTERMEDIATE CODE: A523

Effective date: 20131021

TRDD Decision of grant or rejection written
A01 Written decision to grant a patent or to grant a registration (utility model)

Free format text: JAPANESE INTERMEDIATE CODE: A01

Effective date: 20131112

A711 Notification of change in applicant

Free format text: JAPANESE INTERMEDIATE CODE: A712

Effective date: 20131118

A61 First payment of annual fees (during grant procedure)

Free format text: JAPANESE INTERMEDIATE CODE: A61

Effective date: 20131126

A521 Request for written amendment filed

Free format text: JAPANESE INTERMEDIATE CODE: A523

Effective date: 20140129

R150 Certificate of patent or registration of utility model

Ref document number: 5487374

Country of ref document: JP

Free format text: JAPANESE INTERMEDIATE CODE: R150

S531 Written request for registration of change of domicile

Free format text: JAPANESE INTERMEDIATE CODE: R313531

R350 Written notification of registration of transfer

Free format text: JAPANESE INTERMEDIATE CODE: R350

R250 Receipt of annual fees

Free format text: JAPANESE INTERMEDIATE CODE: R250

R250 Receipt of annual fees

Free format text: JAPANESE INTERMEDIATE CODE: R250

R250 Receipt of annual fees

Free format text: JAPANESE INTERMEDIATE CODE: R250

S533 Written request for registration of change of name

Free format text: JAPANESE INTERMEDIATE CODE: R313533

R350 Written notification of registration of transfer

Free format text: JAPANESE INTERMEDIATE CODE: R350

R250 Receipt of annual fees

Free format text: JAPANESE INTERMEDIATE CODE: R250

R250 Receipt of annual fees

Free format text: JAPANESE INTERMEDIATE CODE: R250

R250 Receipt of annual fees

Free format text: JAPANESE INTERMEDIATE CODE: R250

R250 Receipt of annual fees

Free format text: JAPANESE INTERMEDIATE CODE: R250

LAPS Cancellation because of no payment of annual fees