JP2010008331A - 光熱変換測定装置及び方法 - Google Patents

光熱変換測定装置及び方法 Download PDF

Info

Publication number
JP2010008331A
JP2010008331A JP2008170444A JP2008170444A JP2010008331A JP 2010008331 A JP2010008331 A JP 2010008331A JP 2008170444 A JP2008170444 A JP 2008170444A JP 2008170444 A JP2008170444 A JP 2008170444A JP 2010008331 A JP2010008331 A JP 2010008331A
Authority
JP
Japan
Prior art keywords
light
measurement
metal thin
thin film
photothermal conversion
Prior art date
Legal status (The legal status is an assumption and is not a legal conclusion. Google has not performed a legal analysis and makes no representation as to the accuracy of the status listed.)
Granted
Application number
JP2008170444A
Other languages
English (en)
Other versions
JP5001226B2 (ja
Inventor
Akira Katayama
亮 片山
Eiji Takahashi
英二 高橋
Current Assignee (The listed assignees may be inaccurate. Google has not performed a legal analysis and makes no representation or warranty as to the accuracy of the list.)
Kobe Steel Ltd
Original Assignee
Kobe Steel Ltd
Priority date (The priority date is an assumption and is not a legal conclusion. Google has not performed a legal analysis and makes no representation as to the accuracy of the date listed.)
Filing date
Publication date
Application filed by Kobe Steel Ltd filed Critical Kobe Steel Ltd
Priority to JP2008170444A priority Critical patent/JP5001226B2/ja
Publication of JP2010008331A publication Critical patent/JP2010008331A/ja
Application granted granted Critical
Publication of JP5001226B2 publication Critical patent/JP5001226B2/ja
Expired - Fee Related legal-status Critical Current
Anticipated expiration legal-status Critical

Links

Images

Landscapes

  • Investigating Or Analyzing Materials Using Thermal Means (AREA)
  • Investigating Or Analysing Materials By Optical Means (AREA)

Abstract

【課題】試料中に含まれる溶媒の光熱効果による影響を抑えて同試料中の測定対象物質の検出を高精度で行う。
【解決手段】試料中に含まれる測定対象物質の光熱効果による発熱量を測定するため、基材20と、その表面に形成される金属薄膜30及び捕捉膜32と、励起系及び測定系とを備える。励起系は、金属薄膜30にプラズモン共鳴を生じさせる共鳴条件で捕捉膜32と反対の側から基材20を通して励起光を入射する。この励起光は、金属薄膜30でのプラズモン共鳴により吸収され、捕捉膜32が捕捉する測定対象物質に光熱効果を生じさせる。測定系は、光熱効果により光の屈折率が変化する測定域Amに測定光を透過させ、その透過後の測定光の位相変化を測定する。
【選択図】図3

Description

本発明は、各種試料の含有物質の分析等に用いられる光熱変換測定装置及び方法に関するものである。
従来、各種試料の含有物質の分析等を行う手段として、光熱効果、すなわち、試料に励起光を照射したときにその照射部位が前記励起光を吸収して発熱する効果を利用した光熱変換測定が知られている。
例えば、下記特許文献1には、測定対象物質とその溶媒を含む液体の試料に励起光を照射して当該測定対象物質に光熱効果を生じさせるとともに、その光熱効果による発熱量を光学的な測定装置により測定するものが開示されている。
特開2004−301520号公報
前記の光熱変換測定装置では、試料に含まれる溶媒が励起光を吸収し、この溶媒自身による光熱効果が大きくなる場合があり、この場合において当該試料中に含まれる測定対象物質が微量であると、その検出が困難となるおそれがある。例えば、超純水中の微量分子を検出するために波長が750nm以上の近赤外の励起光を照射すると、検出限界の3000倍に相当する背景信号が生じることになる。
本発明は、このような事情に鑑み、試料中に含まれる溶媒の光熱効果による影響を抑えて同試料中の測定対象物質の検出を高精度で行うことが可能な光熱変換測定装置及び方法を提供することを目的とする。
前記課題を解決するための手段として、本発明は、測定対象物質及びその溶媒を含む試料に光熱効果を生じさせるための励起光を当該試料に照射してその光熱効果による前記測定対象物質の発熱量を測定するための光熱変換測定装置であって、透光性を有する基材と、前記基材の表面に形成され、プラズモン共鳴を生じることが可能な金属薄膜と、前記金属薄膜上に形成され、前記試料中に含まれる測定対象物質を捕捉する捕捉膜と、前記励起光を発する励起光源を含み、前記金属薄膜にプラズモン共鳴を生じさせる共鳴条件で当該金属薄膜に対して前記捕捉膜と反対の側から前記基材を通して前記励起光を入射し、当該金属薄膜に当該入射光を吸収させることにより、前記捕捉膜に捕捉された測定対象物質に光熱効果を生じさせる励起系と、前記光熱効果により光の屈折率が変化する測定域に前記励起光とは別の測定光を透過させてその透過後の測定光の位相変化を測定する測定系とを備えたものである。
なお、ここでいう「プラズモン共鳴」とは、金属薄膜に特定の条件下で可視光または近赤外域の光が入射することにより、その光電場とプラズモン(金属中の自由電子が集団的に振動すること)との相互作用で光吸収が起こる現象をいう。
この装置では、金属薄膜上に形成された捕捉膜が試料中の測定対象物質を捕捉するとともに、当該金属薄膜に対して前記捕捉膜と反対の側から特定の共鳴条件で励起光が入射されることにより、この励起光がプラズモン共鳴により金属薄膜に吸収されてその裏側の捕捉膜に捕捉された前記測定対象物質に光熱効果を生じさせる。従って、この光熱効果により光の屈折率が変化する測定域に測定光を透過させてその位相変化を測定することにより、前記溶媒自身の光熱変化による影響を回避して前記測定対象物質を高精度で検出することができる。
前記励起系としては、前記基材の少なくとも一部を構成し、前記励起光源からの光を前記共鳴条件で前記金属薄膜の表面に導く入射用光学素子を含むものが、好適である。この励起系は、前記基材の少なくとも一部を利用した簡素な構造で、前記金属薄膜に前記共鳴条件下で励起光を入射させることができる。
前記入射用光学素子としては、例えば、前記金属薄膜に対して前記励起光を複数回反射させるプリズムが好適である。このプリズムは、前記金属薄膜で前記励起光を複数回反射させることにより、当該励起光の入射によるプラズモン共鳴及びこれによる光熱効果を高め、その結果として、測定信号の強度を増加させることができる。
一方、前記測定系は、前記励起光とは別の光を発する測定用光源と、この測定用光源から発せられる光を測定光として前記測定域に透過させる測定光用光学系と、その透過後の測定光を受光して電気信号に変換する受光素子とを含むものが、好適である。
この測定系も、前記測定域に前記測定光を複数回透過させるための透過用光学素子を含むことが、より好ましい。具体的には、前記金属薄膜のうち前記捕捉膜が形成された側の表面と対向するように配置され、前記金属薄膜の表面で反射した測定光を再び当該金属薄膜の表面に向けて反射させる測定光反射ミラーを含むものが、好適である。この測定系は、前記金属薄膜をミラーとして利用した簡素な構造で、測定精度の向上を実現する。
前記測定光の位相変化は、例えば光干渉法により測定することが可能である。そのための構成として、前記測定光用光学系は、前記測定用光源から発せられた光を前記測定光と参照光とに分光する分光素子と、前記参照光を前記測定域を透過する測定光と干渉させる参照光用光学系とを含み、その干渉後の測定光が前記受光素子に入射されるものが、好適である。
また、前記測定光の位相変化を求めるための手段としては、前記測定系が、前記励起光源を変調させる励起光変調部と、前記受光素子の出力信号のうち前記励起光の変調周期と同じ周期成分のものを演算する信号処理部とを含む測定用回路を具備するものが、好適である。
この構成によれば、前記測定光の位相変化を前記励起光の強度変調周期と同周期成分について算出することが、他の成分を有しないノイズの影響を除去しつつ測定光の屈折率変化のみを精度良く測定することを可能にする。すなわち、この測定は、測定信号のS/N比を向上させる。
本発明では、前記試料を流すための試料用通路を前記基材とともに形成する通路形成部材を備え、前記試料用通路に前記基材の表面に形成された金属薄膜および捕捉膜が臨むことが、より好ましい。この通路形成部材は、前記通路に試料を流しながら当該試料中に含まれる測定対象物質の検出を行うことを可能にする。
また本発明は、測定対象物質及びその溶媒を含む試料に光熱効果を生じさせるための励起光を当該試料に照射してその光熱効果による前記測定対象物質の発熱量を測定するための光熱変換測定方法であって、プラズモン共鳴を生じることが可能な金属薄膜上に形成された捕捉膜上に前記試料を流して当該捕捉膜に前記試料中の測定対象物質を捕捉させることと、前記金属薄膜に対して前記捕捉膜と反対の側から励起光を照射して当該金属薄膜に前記プラズモン共鳴を生じさせることにより、当該金属薄膜に当該入射光を吸収させて前記捕捉膜に捕捉された測定対象物質に光熱効果を生じさせることと、前記光熱効果により光の屈折率が変化する測定域に前記励起光とは別の測定光を透過させ、その位相変化を測定することとを含むものである。
本発明の好ましい実施の形態を、図面を参照しながら説明する。
図1は、本発明の第1の実施の形態に係る光熱変換測定装置の例を示す。この装置は、測定対象物質(例えば金属イオン)及びその溶媒(例えば超純水)を含む試料中の当該測定対象物質を検出するためのもので、励起光源10と、複数の試料部12と、測定系とを備え、この測定系は、測定用光源13と、測定用光学系14と、複数の受光素子16と、測定用回路18とを備える。なお、この実施の形態に係る装置は2つの試料部12及び2つの受光素子16を具備するが、これらの個数は単数でも3以上でもよい。
前記励起光源10は、前記各試料部12において後述のように励起光として用いられる光を発するもので、当該励起光源10には例えば各種レーザ(半導体レーザ、固体レーザ、ガスレーザなど)やランプ(白色光を出力するキセノンランプ等)が用いられることが可能である。
なお、この実施の形態のように複数の試料部12が存在する場合、その試料部12ごとに励起光源10が設けられてもよいし、当該励起光源10から発せられる励起光が試料部ごとに分割されてもよい。
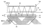
図2及び図3に示すように、前記各試料部12は、基材であるプリズム20と、このプリズム20とともに試料の通路を形成するための通路形成部材22とを備える。これらは、例えば石英やPDMS(ポリジメチルシロサキン)のような透光材(特に紫外光透過性の高い材料)からなり、互いに平行に延びる複数本の試料用通路24を形成する。この実施の形態において、前記プリズム20は、前記各試料用通路24を下側から規定する底壁を構成し、前記通路形成部材22は、当該通路24を上側から規定する天壁26と、幅方向両側から規定する複数の側壁28とを有する。
この装置の特徴として、前記プリズム20の上面すなわち前記各試料用通路24の底面上には、金属薄膜30が形成され、さらにその上に捕捉膜32が積層されている。前記金属薄膜30は、後述の励起光の入射によりプラズモン共鳴を起こすことが可能な条件を満たすもので、例えば、金または銀により50nm〜100nmの膜厚を有するように形成されたものが好適である。幅及び長さも適宜設定可能であるが、この実施の形態では、幅50μm、長さ2mm程度のものが形成される。
前記捕捉膜32は、前記金属薄膜30上で前記測定対象物質を捕捉することが可能なアナライト(捕捉分子)が膜状に形成されたもので、例えばナトリウムイオンを捕捉する場合にはクラウンエーテルが、生体分子を捕捉する場合には抗体やアプタマーが用いられることが可能である。その膜厚は、一般には10nm以下である(すなわち単分子層である)ことが好ましい。
さらに、前記プリズム20は、試料部12を構成するだけでなく、前記励起光源10とともに励起系を構成する入射用光学素子として機能する。すなわち、このプリズム20は、前記励起光源10から発せられる光(励起光)を、前記プラズモン共鳴を生じさせることが可能な条件(共鳴条件)下で前記金属薄膜30の下面(すなわち前記捕捉膜32と反対側の面)に入射させる。当該プリズム20は、この実施の形態では、前記試料用通路24の長手方向について上面よりも下面が短い台形プリズムであって、前記励起光を前記金属薄膜30の下面で複数回反射させる(すなわち通路長手方向に並ぶ複数の位置で反射させる)形状を有する。その入射角(金属薄膜30の法線方向に対して前記励起光の入射方向がなす角度)としては、例えば45°〜80°が好適である。
前記プラズモン共鳴により吸収された光は、前記捕捉膜32に捕捉された測定対象物質に光熱効果を生じさせる。この光熱効果が生ずる領域が本発明にいう測定域Am(図3)に相当する。前記のような複数回にわたる励起光の反射は、前記光熱効果を促進し、ひいては後述の検出信号を増強させて測定精度の向上に寄与する。この実施の形態では、各試料用通路24に比して大きな直径D(例えば2mm)をもつ励起光が入射されることにより、前記金属薄膜30に励起光が入射される領域が拡大されている。
なお、金属薄膜30が金からなる場合、励起光源10には赤色のレーザダイオードを用いることが好ましい。このとき、前記金属薄膜30への入射と同時に表面プラズモン共鳴の発生を検知するための信号を取得することも可能である。例としては、プラズモン共鳴を起こすための励起光の波長及び照射角度を一定に保ちながら、反射光強度をフォトダイオードで検出する方法が考えられる。この方法では、前記反射光強度の変化から、前記捕捉膜32による測定対象物質の捕捉で共鳴条件が変化したことを検知することができる。さらに、この反射光強度を一定に保つようなフィードバック制御に基いて照射角度を調整することが、プラズモン共鳴状態を安定させ、励起光の安定性を高めることを可能にする。
前記測定用光源13は、前記試料の屈折率の変化を測定するための測定光の源となる光を発するものである。この測定用光源13には、例えば出力1mWのHe−Neレーザ発生器が用いられる。
前記測定用光学系14は、分光素子であるビームスプリッタ38と、測定光用光学系40及び参照光用光学系50とを備える。
前記ビームスプリッタ38は、前記測定用光源13から発せられる光を測定光と参照光とに分光するものである。具体的に、前記測定用光源13からの光は、前記ビームスプリッタ38をそのまま透過する光と、前記ビームスプリッタ38で90°に反射する光とに分光され、前者が測定光として前記測定光用光学系40に導かれ、後者が参照光として前記参照光用光学系50に導かれる。
前記測定光用光学系40は、測定光導入部44と、測定光反射ミラー46と、測定光導出部48とを備える。
前記測定光導入部44は、前記ビームスプリッタ38からの測定光をさらに2つの測定光に分割して前記各試料部12の測定域Amに導入するものであり、ビームスプリッタとミラーとの組合せにより構成される。この実施の形態では、図2及び図3に示されるように、前記試料部12の通路長手方向の一端部が測定光導入部12aとされ、この測定光導入部12aから斜め下向きに金属薄膜30上へ測定光を入射させるように、測定光導入部44が配置される。
前記測定光反射ミラー46は、前記測定光を前記測定域Amに複数回透過させるための透過用光学素子として機能するものであり、この実施の形態では、前記各試料用通路24の上方となる複数の位置にそれぞれ配置される。より具体的には、前記金属薄膜30の上面(すなわち前記捕捉膜32が形成された側の表面)と対向するように前記通路形成部材22の天壁26の上面に配置され、前記金属薄膜30の表面で反射した測定光を再び当該金属薄膜の表面に向けて反射させるように配置される。測定光は、前記のように測定光導入部12aから斜め下向きに導入されるので、図3に示されるように前記金属薄膜30と前記測定光反射ミラー46との間で反射を繰り返しながら通路長手方向に進行し、前記測定光導入部12aと反対側に位置する測定光導出部12bから斜め上向きに導出される。
前記測定光導出部48は、ミラー等により構成され、前記測定光導出部12bからそれぞれ導出された測定光を対応する受光素子16に導く。その光路の途中にはそれぞれ干渉用光学素子である偏向ビームスプリッタ52がそれぞれ設けられる。
前記参照光用光学系50は、前記各偏向ビームスプリッタ52と、導入用光学系54とを備える。導入用光学系54は、ビームスプリッタやミラーの組合せにより構成され、前記ビームスプリッタ38で分光された参照光を分割して前記各偏向ビームスプリッタ52に導入する。前記各偏向ビームスプリッタ52は、前記測定光導出部48により前記各受光素子16にそれぞれ導かれる測定光と、前記導入用光学系54により分割された各参照光とを相互干渉させる。従って、前記各受光素子16には前記参照光と干渉した測定光が入射される。これらの受光素子16は、当該受光素子16に入射される測定光の強度に対応する電気信号をそれぞれ出力する。
前記測定用回路18は、励起光変調部11と、信号処理部17とを備える。
前記励起光変調部11は、前記励起光源10から発せられる光を周期的に変調して光熱効果の測定に好適な励起光にする。例えば励起光がレーザの場合、励起光変調部11にはAOMやその他の変調回路を具備するものが好適であり、励起光がランプの場合、励起光変調部11にはオプティカルチョッパやシャッタを具備するものが好適である。また、その変調のための制御信号を発生させるものとしては、ファンクションジェネレータやDAコンバータを用いることが可能である。
前記信号処理部17は、後述のように、前記励起光の変調周期と、前記各受光素子16が受光する測定光の強度変化とに基づき、前記試料の屈折率の変化を演算し(ロックイン検出)、その演算結果を図略の表示装置に表示させる。
この光熱変換測定装置の具体的作用は次のとおりである。
前記各試料部12においては、試料用通路24にそれぞれ液体の試料が流れ、この試料中に含まれる測定対象物質を通路底部の捕捉膜32が捕捉する。
この試料部12に対し、励起光源10が発する励起光がプリズム20を通じて金属薄膜30の下面(前記捕捉膜32と反対側の面)に下側から入射する。この励起光は当該金属薄膜30で反射するが、当該金属薄膜30において発生するプラズモン共鳴により光吸収が発生する。その吸収された光は前記捕捉膜32に捕捉された測定対象物質に光熱効果を生じさせる。すなわち、前記測定対象物質を発熱させる。さらに、この実施の形態では、前記金属薄膜30で反射した励起光が前記プリズム20の下面で反射してもう一度金属薄膜30に当たることにより、前記光熱効果が生じる領域(測定域Am)が拡大される。
その一方、測定用光学系14においては、測定用光源13から発せられる光をビームスプリッタ38が測定光と参照光とに分光し、そのうちの測定光を測定光用光学系40の測定光導入部44が前記各試料部12の測定光導入部12aに導入する。この測定光は、前記金属薄膜30とこれに対向する測定光反射ミラー46との間で反射を繰り返すうちに前記測定域Amを複数回透過する。当該測定域Amでは、前記光熱効果により試料の温度が前記変調の周期で変化し、当該試料の屈折率が変化しているため、当該測定域Amを通過する測定光の位相も同じ周期で変化する。
このようにして位相が変化した測定光は、測定光導出部12bから導出され、測定光導出部48により各受光素子16へ導かれる。その一方、参照光用光学系50では、前記ビームスプリッタ38で分光された参照光を導入用光学系54が各偏向ビームスプリッタ52に導入する。これらの偏向ビームスプリッタ52は、前記測定光を前記参照光と干渉させてから各受光素子16に導く。
前記各受光素子16は、前記干渉後の測定光を受光し、その強度に対応する電気信号を信号処理部17に出力する。この電気信号は、前記測定光と前記参照光の周波数差(=|f1−f2|)に相当するうねり周波数をもつ信号となる。信号処理部17は、前記電気信号と、前記励起光変調部11による励起光の変調周期とに基づき、前記測定光の位相変化を演算する。すなわち、光干渉法による位相変化の測定を実行する。
具体的に、前記干渉光の強度S1は、次の(1)式で表される。
S1=C1+C2・cos(2π・fb・t+φ) …(1)
同式において、C1、C2は前記測定用光学系14に含まれる各光学素子の特性や試料の透過率により定まる定数、φは前記測定光と前記参照光の光路長差による位相差、fbは前記測定光と前記参照光の周波数差(=f1−f2)である。この(1)式は、干渉後の測定光の強度S1の変化(前記励起光を照射しないとき或いはその光強度が小さいときとその光強度が大きいときとの差)から、前記位相差φの変化を求めることが可能であることを示している。信号処理部17は、この(1)式を利用して前記位相差φの変化を算出する。
例えば、前記励起光の強度がチョッパの回転により周波数fで周期的に変調された場合、前記測定域Amでの試料の屈折率さらには当該測定域Amを通る測定光の光路長も前記周波数fで変化し(参照光の光路長は一定)、前記位相差φも周波数fで変化する。従って、前記位相差φの変化を前記周波数fの成分(前記励起信号の強度の変調周期と同周期成分)について測定(算出)することが、周波数fの成分を有しないノイズの影響を除去しつつ試料の屈折率変化のみを精度良く測定することを可能にする。すなわち、この測定は、前記位相差φの測定のS/N比を向上させる。
以上示した光熱変換測定装置では、金属薄膜30上に形成された捕捉膜32が試料中の測定対象物質を捕捉する一方、当該金属薄膜30に所定の共鳴条件で入射される励起光がプラズモン共鳴により吸収されて前記測定対象物質に光熱効果を生じさせるものであるから、当該光熱効果が生ずる測定域Amに測定光を透過させることにより、前記試料中における溶媒のもつ光熱効果にかかわらず、当該試料中に含まれる微量の測定対象物質の検出を高精度で行うことが可能である。
特に、この実施の形態では、前記プリズム20が基材、通路形成用の部材、さらには入射用光学素子として兼用されるため、簡素な構造で前記励起光の入射を実現することが可能である。さらに、このプリズム20は、前記金属薄膜30で前記励起光を複数回反射させるので、当該励起光の入射によるプラズモン共鳴及びこれによる光熱効果を高め、その結果として、測定信号の強度を増加させることができる。この効果は、例えば、前記基材として前記プリズム20の代わりに透光材の下面にミラーが貼り付けられた素子が設けられることによっても得ることが可能である。
一方、当該装置の測定系においても、その測定光反射ミラー46が金属薄膜との間で前記測定光を反射させることにより、当該測定光が前記測定域Amを複数回追加するため、検出信号が増強されてより高精度の測定が実現される。また、当該測定光が前記測定域Amを通路長手方向に透過するように当該測定光を導くようにしても、同様の効果を得ることが可能である。
なお、本発明は試料用通路を有するものに限られない。例えば、試料用容器内に静止状態で収容された試料中の測定対象物質の検出にも本発明を適用することが可能である。
また、本発明において、金属薄膜及び捕捉膜に対する励起光及び測定光の入射方向は問わない。これらの光は側方から入射されてもよいし、通路長手方向に対して傾斜する方向に入射及び進行してもよい。
前記基材、両膜及び試料用通路の形状も特に限定されず、例えば前記基材が前記試料用通路を囲む円筒状に形成され、その内側面上に金属薄膜及び捕捉膜が積層されてもよい。この場合も、前記測定光は前記金属薄膜の内側面で多重反射しながら通路長手方向に進行してもよいし、当該通路長手方向と略平行な方向に沿って測定域を通るように試料用通路内に照射されてもよい。また、励起光は前記金属薄膜の外面(円筒面)上に入射すればよく、当該外面に対して複数の方向(径方向成分を含む方向)から入射されてもよいし、図3に示されるのと同様に金属薄膜外面上で複数回反射するように入射されてもよい。
本発明の実施の形態に係る光熱変換測定装置の全体構成図である。 前記光熱変換測定装置における試料部の平面図である。 前記試料部の断面側面図である。
符号の説明
10 励起光源
11 励起光変調部
12 試料部
13 測定用光源
14 測定用光学系
16 受光素子
17 信号処理部
18 測定用回路
20 プリズム
22 通路形成部材
24 試料用通路
30 金属薄膜
32 捕捉膜
38 ビームスプリッタ(分光素子)
40 測定光用光学系
44 測定光導入部
46 測定光反射ミラー
48 測定光導出部
50 参照光用光学系
52 偏向ビームスプリッタ
54 導入用光学系
Am 測定域

Claims (10)

  1. 測定対象物質及びその溶媒を含む試料に光熱効果を生じさせるための励起光を当該試料に照射してその光熱効果による前記測定対象物質の発熱量を測定するための光熱変換測定装置であって、
    透光性を有する基材と、
    前記基材の表面に形成され、プラズモン共鳴を生じることが可能な金属薄膜と、
    前記金属薄膜上に形成され、前記試料中に含まれる測定対象物質を捕捉する捕捉膜と、
    前記励起光を発する励起光源を含み、前記金属薄膜にプラズモン共鳴を生じさせる共鳴条件で当該金属薄膜に対して前記捕捉膜と反対の側から前記基材を通して前記励起光を入射し、当該金属薄膜に当該入射光を吸収させることにより、前記捕捉膜に捕捉された測定対象物質に光熱効果を生じさせる励起系と、
    前記光熱効果により光の屈折率が変化する測定域に前記励起光とは別の測定光を透過させてその透過後の測定光の位相変化を測定する測定系とを備えたことを特徴とする光熱変換測定装置。
  2. 請求項1記載の光熱変換測定装置において、
    前記励起系は、前記基材の少なくとも一部を構成し、前記励起光源からの光を前記共鳴条件で前記金属薄膜の表面に導く入射用光学素子を含むことを特徴とする光熱変換測定装置。
  3. 請求項2記載の光熱変換測定装置において、
    前記入射用光学素子は、前記金属薄膜に対して前記励起光を複数回反射させるプリズムであることを特徴とする光熱変換測定装置。
  4. 請求項1〜3のいずれかに記載の光熱変換測定装置において、
    前記測定系は、前記励起光とは別の光を発する測定用光源と、この測定用光源から発せられる光を測定光として前記測定域に透過させる測定光用光学系と、その透過後の測定光を受光して電気信号に変換する受光素子とを含むことを特徴とする光熱変換測定装置。
  5. 請求項4記載の光熱変換測定装置において、
    前記測定光用光学系は、前記測定光を前記測定域に複数回透過させるための透過用光学素子を含むことを特徴とする光熱変換測定装置。
  6. 請求項5記載の光熱変換測定装置において、
    前記透過用光学素子は、前記金属薄膜のうち前記捕捉膜が形成された側の表面と対向するように配置され、前記金属薄膜の表面で反射した測定光を再び当該金属薄膜の表面に向けて反射させる測定光反射ミラーを含むことを特徴とする光熱変換測定装置。
  7. 請求項4〜6のいずれかに記載の光熱変換測定装置において、
    前記測定系は、前記測定用光源から発せられた光を前記測定光と参照光とに分光する分光素子と、前記参照光を前記測定域を透過した後の測定光と干渉させる参照光用光学系とを含み、その干渉後の測定光が前記受光素子に入射されることを特徴とする光熱変換測定装置。
  8. 請求項4〜7のいずれかに記載の光熱変換測定装置において、
    前記測定系は、前記励起光の強度を周期的に変調させる励起光変調部と、前記受光素子の出力信号の周期成分のうち前記変調の周期と同じ周期成分のものを演算する信号処理部とを含む測定用回路を具備することを特徴とする光熱変換測定装置。
  9. 請求項1〜8のいずれかに記載の光熱変換測定装置において、
    前記試料を流すための試料用通路を前記基材とともに形成する通路形成部材を備え、前記試料用通路に前記基材の表面に形成された金属薄膜および捕捉膜が臨むことを特徴とする光熱変換測定装置。
  10. 測定対象物質及びその溶媒を含む試料に光熱効果を生じさせるための励起光を当該試料に照射してその光熱効果による前記測定対象物質の発熱量を測定するための光熱変換測定方法であって、
    プラズモン共鳴を生じることが可能な金属薄膜上に形成された捕捉膜上に前記試料を流して当該捕捉膜に前記試料中の測定対象物質を捕捉させることと、
    前記金属薄膜に対して前記捕捉膜と反対の側から励起光を照射して当該金属薄膜に前記プラズモン共鳴を生じさせることにより、当該金属薄膜に当該入射光を吸収させて前記捕捉膜に捕捉された測定対象物質に光熱効果を生じさせることと、
    前記光熱効果により光の屈折率が変化する測定域に前記励起光とは別の測定光を透過させ、その位相変化を測定することとを含む光熱変換測定方法。
JP2008170444A 2008-06-30 2008-06-30 光熱変換測定装置及び方法 Expired - Fee Related JP5001226B2 (ja)

Priority Applications (1)

Application Number Priority Date Filing Date Title
JP2008170444A JP5001226B2 (ja) 2008-06-30 2008-06-30 光熱変換測定装置及び方法

Applications Claiming Priority (1)

Application Number Priority Date Filing Date Title
JP2008170444A JP5001226B2 (ja) 2008-06-30 2008-06-30 光熱変換測定装置及び方法

Publications (2)

Publication Number Publication Date
JP2010008331A true JP2010008331A (ja) 2010-01-14
JP5001226B2 JP5001226B2 (ja) 2012-08-15

Family

ID=41589008

Family Applications (1)

Application Number Title Priority Date Filing Date
JP2008170444A Expired - Fee Related JP5001226B2 (ja) 2008-06-30 2008-06-30 光熱変換測定装置及び方法

Country Status (1)

Country Link
JP (1) JP5001226B2 (ja)

Cited By (4)

* Cited by examiner, † Cited by third party
Publication number Priority date Publication date Assignee Title
CN105466863A (zh) * 2015-11-18 2016-04-06 天津工业大学 一种基于膜富集-紫外可见漫反射光谱的痕量重金属离子测定方法
CN114829903A (zh) * 2019-12-23 2022-07-29 三菱电机株式会社 生物体成分测定装置
CN115308164A (zh) * 2022-10-11 2022-11-08 成都赛林斯科技实业有限公司 在线实时连续测量熔融态玻璃折射率及色散的装置及方法
CN116533419A (zh) * 2023-06-06 2023-08-04 广东汇发塑业科技有限公司 一种多层共挤制膜机的冷风机控制方法

Citations (3)

* Cited by examiner, † Cited by third party
Publication number Priority date Publication date Assignee Title
JPH0658873A (ja) * 1992-08-05 1994-03-04 Toto Ltd 光センサー、光センサーを用いた検出方法、及び光センサーに用いる分子認識機能膜の形成方法
JP2004301520A (ja) * 2003-03-28 2004-10-28 Kobe Steel Ltd 光熱変換測定装置及びその方法
JP2006242649A (ja) * 2005-03-01 2006-09-14 Kobe Steel Ltd 光熱変換測定装置,光熱変換測定方法,試料セル

Patent Citations (3)

* Cited by examiner, † Cited by third party
Publication number Priority date Publication date Assignee Title
JPH0658873A (ja) * 1992-08-05 1994-03-04 Toto Ltd 光センサー、光センサーを用いた検出方法、及び光センサーに用いる分子認識機能膜の形成方法
JP2004301520A (ja) * 2003-03-28 2004-10-28 Kobe Steel Ltd 光熱変換測定装置及びその方法
JP2006242649A (ja) * 2005-03-01 2006-09-14 Kobe Steel Ltd 光熱変換測定装置,光熱変換測定方法,試料セル

Cited By (6)

* Cited by examiner, † Cited by third party
Publication number Priority date Publication date Assignee Title
CN105466863A (zh) * 2015-11-18 2016-04-06 天津工业大学 一种基于膜富集-紫外可见漫反射光谱的痕量重金属离子测定方法
CN114829903A (zh) * 2019-12-23 2022-07-29 三菱电机株式会社 生物体成分测定装置
CN115308164A (zh) * 2022-10-11 2022-11-08 成都赛林斯科技实业有限公司 在线实时连续测量熔融态玻璃折射率及色散的装置及方法
CN115308164B (zh) * 2022-10-11 2022-12-13 成都赛林斯科技实业有限公司 在线实时连续测量熔融态玻璃折射率及色散的装置及方法
CN116533419A (zh) * 2023-06-06 2023-08-04 广东汇发塑业科技有限公司 一种多层共挤制膜机的冷风机控制方法
CN116533419B (zh) * 2023-06-06 2023-10-20 广东汇发塑业科技有限公司 一种多层共挤制膜机的冷风机控制方法

Also Published As

Publication number Publication date
JP5001226B2 (ja) 2012-08-15

Similar Documents

Publication Publication Date Title
JP5094484B2 (ja) 蛍光検出方法および蛍光検出装置
WO2012161067A1 (ja) 測定ユニットおよびガス分析装置
KR20110127122A (ko) 시료분석장치
JP2011075513A (ja) ガス分光分析装置
US20090218496A1 (en) Sensing apparatus and a method of detecting substances
JP5001226B2 (ja) 光熱変換測定装置及び方法
US20160178508A1 (en) Method, Device and Sensor for Determining an Absorption Behavior of a Medium
JP4491277B2 (ja) 試料分析装置
JP5241274B2 (ja) 被検出物質の検出方法
KR20170052256A (ko) 라만 산란을 이용한 물질의 농도 측정 장치 및 방법
IT201900006954A1 (it) Dispositivo per l’analisi della composizione di gas, e relativo metodo di analisi della composizione di gas.
JP6538191B2 (ja) 計測装置、計測方法及びコンピュータプログラム
JP2005127748A (ja) 光熱変換測定装置及びその方法
JP2010164511A (ja) センサーユニット、テラヘルツ分光測定装置およびテラヘルツ分光測定方法
JP4742166B2 (ja) 試料分析装置
JP4290142B2 (ja) 光熱変換測定装置及びその方法
JP4173746B2 (ja) 測定装置
JP4116979B2 (ja) 光熱変換測定装置及びその方法
JP2014142299A (ja) ガス濃度測定装置
KR101764704B1 (ko) 독소 측정장치
JP2014106211A (ja) 液体クロマトグラフ用検出器およびそれを用いた液体クロマトグラフ装置
JP2004251766A (ja) 温度測定方法およびそれに用いる測定装置
JP2010091428A (ja) 走査光学系
JP2007192841A (ja) 全反射減衰を利用した測定方法および測定装置
JP2022118476A (ja) 照射光学系、照射装置、及び、光学測定装置

Legal Events

Date Code Title Description
A621 Written request for application examination

Free format text: JAPANESE INTERMEDIATE CODE: A621

Effective date: 20110204

A977 Report on retrieval

Free format text: JAPANESE INTERMEDIATE CODE: A971007

Effective date: 20120424

TRDD Decision of grant or rejection written
A01 Written decision to grant a patent or to grant a registration (utility model)

Free format text: JAPANESE INTERMEDIATE CODE: A01

Effective date: 20120508

A01 Written decision to grant a patent or to grant a registration (utility model)

Free format text: JAPANESE INTERMEDIATE CODE: A01

A61 First payment of annual fees (during grant procedure)

Free format text: JAPANESE INTERMEDIATE CODE: A61

Effective date: 20120517

R150 Certificate of patent or registration of utility model

Free format text: JAPANESE INTERMEDIATE CODE: R150

FPAY Renewal fee payment (event date is renewal date of database)

Free format text: PAYMENT UNTIL: 20150525

Year of fee payment: 3

LAPS Cancellation because of no payment of annual fees