JP2010004544A - 移動局からのバッファに入れられた高度化アップリンクデータをノードbに転送するための無線通信方法および無線通信装置 - Google Patents

移動局からのバッファに入れられた高度化アップリンクデータをノードbに転送するための無線通信方法および無線通信装置 Download PDF

Info

Publication number
JP2010004544A
JP2010004544A JP2009166524A JP2009166524A JP2010004544A JP 2010004544 A JP2010004544 A JP 2010004544A JP 2009166524 A JP2009166524 A JP 2009166524A JP 2009166524 A JP2009166524 A JP 2009166524A JP 2010004544 A JP2010004544 A JP 2010004544A
Authority
JP
Japan
Prior art keywords
data
enhanced uplink
transmission
node
wtru
Prior art date
Legal status (The legal status is an assumption and is not a legal conclusion. Google has not performed a legal analysis and makes no representation as to the accuracy of the status listed.)
Granted
Application number
JP2009166524A
Other languages
English (en)
Other versions
JP4638547B2 (ja
Inventor
Guodong Zhang
グオドン チャン
Stephen E Terry
イー.テリー ステファン
Stephen G Dick
ジー.ディック ステファン
Current Assignee (The listed assignees may be inaccurate. Google has not performed a legal analysis and makes no representation or warranty as to the accuracy of the list.)
InterDigital Technology Corp
Original Assignee
InterDigital Technology Corp
Priority date (The priority date is an assumption and is not a legal conclusion. Google has not performed a legal analysis and makes no representation as to the accuracy of the date listed.)
Filing date
Publication date
Application filed by InterDigital Technology Corp filed Critical InterDigital Technology Corp
Publication of JP2010004544A publication Critical patent/JP2010004544A/ja
Application granted granted Critical
Publication of JP4638547B2 publication Critical patent/JP4638547B2/ja
Anticipated expiration legal-status Critical
Expired - Fee Related legal-status Critical Current

Links

Images

Classifications

    • HELECTRICITY
    • H04ELECTRIC COMMUNICATION TECHNIQUE
    • H04WWIRELESS COMMUNICATION NETWORKS
    • H04W72/00Local resource management
    • H04W72/20Control channels or signalling for resource management
    • H04W72/21Control channels or signalling for resource management in the uplink direction of a wireless link, i.e. towards the network
    • HELECTRICITY
    • H04ELECTRIC COMMUNICATION TECHNIQUE
    • H04WWIRELESS COMMUNICATION NETWORKS
    • H04W72/00Local resource management
    • H04W72/50Allocation or scheduling criteria for wireless resources
    • H04W72/52Allocation or scheduling criteria for wireless resources based on load
    • HELECTRICITY
    • H04ELECTRIC COMMUNICATION TECHNIQUE
    • H04WWIRELESS COMMUNICATION NETWORKS
    • H04W72/00Local resource management
    • H04W72/20Control channels or signalling for resource management
    • HELECTRICITY
    • H04ELECTRIC COMMUNICATION TECHNIQUE
    • H04WWIRELESS COMMUNICATION NETWORKS
    • H04W72/00Local resource management
    • H04W72/20Control channels or signalling for resource management
    • H04W72/23Control channels or signalling for resource management in the downlink direction of a wireless link, i.e. towards a terminal
    • H04W72/231Control channels or signalling for resource management in the downlink direction of a wireless link, i.e. towards a terminal the control data signalling from the layers above the physical layer, e.g. RRC or MAC-CE signalling
    • HELECTRICITY
    • H04ELECTRIC COMMUNICATION TECHNIQUE
    • H04WWIRELESS COMMUNICATION NETWORKS
    • H04W72/00Local resource management
    • H04W72/50Allocation or scheduling criteria for wireless resources
    • H04W72/56Allocation or scheduling criteria for wireless resources based on priority criteria
    • HELECTRICITY
    • H04ELECTRIC COMMUNICATION TECHNIQUE
    • H04WWIRELESS COMMUNICATION NETWORKS
    • H04W72/00Local resource management
    • H04W72/50Allocation or scheduling criteria for wireless resources
    • H04W72/56Allocation or scheduling criteria for wireless resources based on priority criteria
    • H04W72/563Allocation or scheduling criteria for wireless resources based on priority criteria of the wireless resources
    • HELECTRICITY
    • H04ELECTRIC COMMUNICATION TECHNIQUE
    • H04WWIRELESS COMMUNICATION NETWORKS
    • H04W88/00Devices specially adapted for wireless communication networks, e.g. terminals, base stations or access point devices
    • H04W88/02Terminal devices
    • HELECTRICITY
    • H04ELECTRIC COMMUNICATION TECHNIQUE
    • H04WWIRELESS COMMUNICATION NETWORKS
    • H04W28/00Network traffic management; Network resource management
    • H04W28/02Traffic management, e.g. flow control or congestion control
    • H04W28/10Flow control between communication endpoints
    • H04W28/14Flow control between communication endpoints using intermediate storage
    • HELECTRICITY
    • H04ELECTRIC COMMUNICATION TECHNIQUE
    • H04WWIRELESS COMMUNICATION NETWORKS
    • H04W84/00Network topologies
    • H04W84/02Hierarchically pre-organised networks, e.g. paging networks, cellular networks, WLAN [Wireless Local Area Network] or WLL [Wireless Local Loop]
    • H04W84/04Large scale networks; Deep hierarchical networks
    • H04W84/042Public Land Mobile systems, e.g. cellular systems

Landscapes

  • Engineering & Computer Science (AREA)
  • Computer Networks & Wireless Communication (AREA)
  • Signal Processing (AREA)
  • Mobile Radio Communication Systems (AREA)
  • Small-Scale Networks (AREA)
  • Telephonic Communication Services (AREA)

Abstract

【課題】WTRUからのバッファに入れられたEU(高度化アップリンク)データをノードBに転送する。
【解決手段】EUデータが生成され、WTRUのバッファの中に格納される。WTRUは、所望のTFC(トランスポートフォーマット組合せ)、またはデータトラフィックインジケータを求める要求を含むメッセージをノードBに伝送する。ノードBは、EUデータスケジューリングメッセージをWTRUに伝送することにより、WTRUとノードBの間における1回または複数回の許可されたEUデータ伝送をスケジュールする。WTRUは、バッファの中に格納されたEUデータのすべての伝送をサポートするのに十分である場合、バッファの中に格納されたEUデータのすべてをノードBに伝送する。十分でない場合、WTRUは、EUデータの一部を、所望のTFC情報、または詳細なTVM(トラフィック量測定値)情報とともに、ノードBに伝送する。
【選択図】図1

Description

本発明は、WTRU(無線送信/受信ユニット)とノードBとを含む無線通信システムに関する。より詳細には、本発明は、EU(高度化アップリンク)伝送をスケジュールするために、ノードBにWTRU UL(アップリンク)トラフィック情報を提供することに関する。
FDD(周波数分割2重)システムなどの無線通信システムにおいて、ULカバレッジ、ULスループット、およびUL伝送待ち時間を向上させるための方法が、3GPP(第3世代パートナーシッププロジェクト)のR6(リリース6)において、現在、調査されている。RNC(無線ネットワークコントローラ)においてUL物理チャネルのスケジュールおよび割り当てを行う代わりに、ノードB(すなわち、基地局コントローラ)が、複数のWTRUと通信するのに使用されて、RNCが、システムの全体的な制御を保持する場合でも、より効率的な判定を行うことができ、UL無線リソースを、RNCよりもうまく短期で管理することができるようにする。類似のアプローチが、FDDモードとTDD(時間分割2重)モードの両方に関して、UMTS(universal mobile telecommunications system)におけるHSDPA(高速データパケットアクセス)のR5(リリース5)に関するダウンリンクにおいて既に採用されている。
ノードBが、効率的な割り当て判定を行い、異なるデータフローの間で優先順位を付けるのに、ノードBは、個々のデータチャネルに関して、WTRUにおいてバッファに入れられたULデータの知識、ならびにそれらのデータの関連する優先順位を要する。
しかし、従来のULシグナル方法は、限られた容量を有し、このため、WTRUからの詳細なTVM(トラフィック量測定値)情報の報告を収容できない場合がある。
本発明は、WTRU(すなわち、移動局)からのバッファに入れられたEUデータをノードBに転送するための無線通信方法および無線通信装置である。装置は、無線通信システム、WTRU、および/またはIC(集積回路)であることが可能である。EUデータが生成され、WTRUのバッファの中に格納される。WTRUは、ノードBに転送すべきEUデータをWTRUが有することを示す、初期EUデータ伝送要求メッセージをノードBに伝送する。初期EUデータ伝送要求メッセージは、所望のTFC(トランスポートフォーマット組合せ)、またはデータトラフィックインジケータを求める要求を含む。初期EUデータ伝送要求メッセージを受信したことに応答して、ノードBは、EUデータスケジューリングメッセージをWTRUに伝送することにより、WTRUとノードBの間で、1回または複数回の許可されたEUデータ伝送をスケジュールする。WTRUは、許可されたEUデータ伝送が、バッファの中に格納されたEUデータのすべての伝送をサポートするのに十分である場合、バッファの中に格納されたEUデータのすべてをノードBに転送する。十分ではない場合、WTRUは、EUデータの一部を、所望のTFC情報、または詳細なTVM情報とともに、ノードBに伝送する。
WTRUのバッファの中に格納されたEUデータを転送するのに使用される手続きは、EUデータの量が、確立された閾値を超えるか否かに依存することが可能である。初期EUデータ伝送要求メッセージは、格納されたEUデータの量が、確立された閾値を超えて初めて、ノードBに伝送されることが可能である。確立された閾値を超えない場合、WTRUは、ノードBからのスケジューリング情報を要することなしに、WTRUのバッファからのEUデータのすべてをノードBに転送することができる。確立された閾値が、0に設定されている場合、WTRUは、ノードBからスケジューリング情報を受信して初めて、WTRUのバッファからの格納されたEUデータをノードBに転送することができる。
EUデータ伝送要求メッセージは、少なくとも1つのレイヤ1物理制御フィールド内、またはレイヤ2MAC(メディアアクセス制御)ヘッダ内で識別されることが可能である。
所望のTFC、またはデータトラフィックインジケータは、EU−DPCCH(EU専用物理制御チャネル)上の少なくとも1つの物理制御フィールド内でシグナルされることが可能である。EU−DPCCH上の別のフィールドは、他のEU関連メッセージを含むことが可能である。さらなるスケジューリングを要する、WTRUがノードBに転送すべきEUデータが全く存在しない場合、物理制御フィールドは、空であるか、含められない。
代替の実施形態では、EUデータ伝送メッセージは、フィールドが、所望のTFC情報、または詳細なTVM情報を含んでいる、MACヘッダを含むことが可能である。MACヘッダは、他の1つまたは複数のEU MACフィールドをさらに含むことが可能である。MACヘッダが、空である、または含められない場合、WTRUがノードBに転送すべきEUデータは、全く存在しない。
本発明のより詳細な理解は、例として与えられ、添付の図面と併せて理解されるべき、好ましい実施例の以下の説明から得ることができる。
本発明に従って動作する無線通信システムを示す図である。 EUデータスケジューリングメッセージによって許可されたEUデータ伝送が、WTRUにおいてバッファに入れられたEUデータのすべてを伝送するのに十分でない場合の図1のシステムに関するシグナルフローを示す図である。 EUデータスケジューリングメッセージによって許可されたEUデータ伝送が、WTRUにおいてバッファに入れられたEUデータのすべてを伝送するのに十分である場合の図1のシステムに関するシグナルフローを示す図である。 本発明の一実施形態による、EUチャネルを介してEUデータスケジューリング情報を要求するために使用されるフレーム構造を示す図である。 本発明の代替の実施形態による、所望のTFC情報、または詳細なTVM情報を示すのに使用されるMAC PDUフォーマットを示す図である。 本発明による、バッファに入れられたEUデータを転送するための方法ステップを含むプロセスを示す流れ図である。
以降、「WTRU」という用語には、UE(ユーザ機器)、移動局、固定加入者ユニットまたは移動加入者ユニット、ポケットベル、あるいは無線環境で動作することができる他の任意のタイプのデバイスが含まれるが、以上には限定されない。
以下で言及する場合、「ノードB」という用語には、基地局、サイトコントローラ、アクセスポイント、または無線環境における他の任意のタイプのインタフェースデバイスが含まれるが、以上には限定されない。
本発明は、UMTS(Universal Mobile Telecommunications System)、CDMA2000、およびCDMA全般に適用される、TDD、FDD、およびTD−SCDMA(時間分割同期符号分割多重アクセス)にさらに適用できる可能性があるが、その他の無線システムにも適用可能であるものと考えられる。
本発明の諸特徴は、ICに組み込まれても、多数の互いに接続するコンポーネントを含む回路内で構成されてもよい。
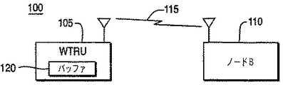
図1は、本発明に従って動作する無線通信システム100を示す。システム100は、無線シグナル115を介して互いに通信する、WTRU105とノードB110とを含む。WTRU105は、少なくとも1つのバッファ120を含む。
図2は、第1のEUデータスケジューリングメッセージによって許可された1回または複数回のEUデータ伝送が、WTRU105のバッファ120の中に格納されたEUデータのすべてを伝送するのに十分でない場合の無線通信システム100に関するシグナルフローの図である。EUデータ205が、WTRU105において生成され、WTRU105のバッファ120の中に格納される。バッファ120の中のEUデータの量が、確立されたEUデータバッファ閾値を超えると、WTRU105が、EUシグナルチャネルを介して、初期要求メッセージ210をノードB110に送信する。WTRU105によって送信されるEUデータ伝送は、確立された閾値を超えない場合、ノードB110によってスケジュールされることを要求されない。
初期要求メッセージ210は、所望のTFC、またはデータトラフィックインジケータを含むことが可能である。EU制御チャネルの限られたペイロード容量が、所望のTFCのシグナルを収容することができない場合、WTRU105は、ノードB110に伝送すべきEUデータをWTRU105が有することを示すメッセージを、EU制御チャネルを介して、ノードB110に送信することができる。所望のTFCは、可能なアップリンクトランスポートフォーマット(つまり、TFC)の事前構成されたリストに対するインデックスであることが可能である。
やはり図2を参照すると、初期要求メッセージ210を受信した後、ノードB110は、第1のEUデータスケジューリングメッセージ215を介して、WTRU105とノードB110の間における1回または複数回のEUデータ伝送をスケジュールする。第1のEUデータスケジューリングメッセージ215を受信したことに応答して、WTRU105は、第1のEUデータスケジューリングメッセージ215によって許される、1回または複数回のEUデータ伝送220をノードB110に送信する。第1のEUデータスケジューリングメッセージ215によって許されるEUデータ伝送が、WTRU105においてバッファに入れられたEUデータのすべてを伝送するのに十分でない場合、WTRU105は、所望のTFC情報を含むEUデータ伝送220をノードB110に送信する。メッセージ210およびメッセージ220の中に含められる所望のTFC情報は、EUデータ伝送220とともに、少なくとも1つの物理制御フィールド内か、またはMACヘッダ内でシグナルされることが可能である。所望のTFCは、所定のTFCのリストへのインデックスによって反映されることが可能である。所望のTFCは、ノードB110によって、後のスケジューリングメッセージ225a〜225nを決め、生成するのに使用される。
代替として、所望のTFC情報の代わりに、詳細なTVM情報が、EUデータ伝送220とともに提供されてもよい。詳細なTVM情報は、EU−DCH(EU専用チャネル)にマップされた優先順位クラスに関連付けられることが可能な個々のトラフィックフロー(チャネル)に関連する、バッファに入れられたデータの量を示すことが可能である。ノードB110は、EU伝送220を介して報告される、所望のTFC情報、または詳細なTVM情報、および場合により関連する優先順位の包括的な知識を利用して、後のアップリンクスケジュールを決めることができる。WTRU105は、さらなるEUデータを後に獲得すると、更新された所望のTFC情報、または詳細なTVM情報をノードB110に報告することを選択することができる。次に、ノードB110は、後のEUデータスケジューリングメッセージ225a〜225nを介して、WTRU105からノードB110への後のEUデータ伝送をスケジュールする。
図3は、EUデータスケジューリングメッセージによって許可された1回または複数回のEUデータ伝送が、WTRU105のバッファ120の中に格納されたEUデータのすべてを伝送するのに十分である場合の無線通信システム100に関するシグナルフローの図である。EUデータ305が、WTRU105において生成され、WTRU105のバッファ120の中に格納される。バッファ120の中のEUデータの量が、確立されたEUデータバッファ閾値を超えると、WTRU105は、EUシグナルチャネルを介して、初期要求メッセージ310をノードB110に送信する。初期要求メッセージ310は、所望のTFC、またはデータトラフィックインジケータを含むことが可能である。EU制御チャネルの限られたペイロード容量が、所望のTFCのシグナルを収容することができない場合、WTRU105は、ノードB110に伝送すべきEUデータをWTRU105が有することを示すメッセージを、EU制御チャネルを介して、ノードB110に送信することができる。所望のTFCは、可能なアップリンクトランスポートフォーマット(つまり、TFC)の事前構成されたリストに対するインデックスであることが可能である。
WTRU105によって送信されるEUデータ伝送は、確立されたEUデータバッファ閾値を超えない場合、ノードB110によってスケジュールされることを要求されない。
やはり図3を参照すると、初期要求メッセージ310を受信した後、ノードB110は、EUデータスケジューリングメッセージ315を介して、WTRU105とノードB110の間における1回または複数回のEUデータ伝送をスケジュールする。EUデータスケジューリングメッセージ315を受信したことに応答して、WTRU105は、EUデータスケジューリングメッセージ315によって許可された、1回または複数回のEUデータ伝送320を送信する。EUデータスケジューリングメッセージ315によって許可されたEUデータ伝送が、WTRU105においてバッファに入れられたEUデータ305のすべてを伝送するのに十分である場合、WTRU105のバッファ120の中に格納されたEUデータのすべてが、ノードB110に送信される。その場合、所望のTFC情報、または詳細なTVM情報を示すULシグナル情報が、含められないか、または関連するメッセージフィールドが空のままにされて、WTRU105が、さらなるスケジューリング割り当てを要さないことを示す。
図4は、本発明の一実施形態による、EUチャネルを介してEUデータスケジューリング情報を要求するために使用されるフレーム構造400を示す。フレーム構造400は、初期要求メッセージ210に組み込まれることが可能であり、場合により、図2に関連して前述したEUデータ伝送220に組み込まれることが可能である。
フレーム構造400は、「要求のTFC情報/EUデータ指示」フィールド405と、「他のEU関連メッセージ群」フィールド410とを含む。要求のTFC情報/EUデータ指示フィールド405は、EU−DPCCH上の少なくとも1つの物理制御フィールド内でシグナルされる。空の要求のTFC情報/EUデータ指示フィールド405は、WTRU105がノードB110に送信すべき、バッファに入れられたEUデータが、もはや存在せず、このため、ノードB110からのさらなるスケジューリング割り当てが要求されないことを示す。EU−DPCCHは、EU−DCHおよび/またはHS−DPCCH(高速専用物理制御チャネル)と符号多重化、または時間多重化されることが可能である。
図5は、本発明の代替の実施形態による、所望のTFC情報、または詳細なTVM情報を示すのに使用されるMAC PDU(プロトコルデータユニット)フォーマット500を示す。MAC PDUフォーマット500は、EUデータ伝送220に組み込まれることが可能であり、場合により、図2に関連して前述した初期要求メッセージ210に組み込まれることが可能である。
MAC PDUフォーマット500は、「要求のTFC/TVM情報フィールド」505と、1つまたは複数の「他のEU MACヘッダフィールド群」510と、MAC SDUフィールド515とを含む。要求のTFC/TVM情報フィールド505は、EUデータ伝送のMACヘッダ内でシグナルされる。空の要求のTFC/TVM情報フィールド505は、WTRU105がノードB110に送信すべき、バッファに入れられたEUデータが、もはや存在せず、このため、ノードB110からのさらなるスケジューリング割り当てが要求されないことを示す。
図6は、本発明による、WTRU105からのユーザデータをノードB110に転送するための方法ステップを含むプロセス600の流れ図である。ステップ605で、EUデータが、生成され、WTRU105のバッファ120の中に格納される。オプションのステップ610で、WTRU105のバッファ120の中に格納されたEUデータの量が、確立された閾値を超えたか否かについての判定が行われる。WTRU105のバッファ120の中の格納されたEUデータの量が、確立された閾値を超えない場合、EU伝送は、ノードBスケジューリングなしに許され、格納されたEUデータのすべてが、ノードB110に伝送される(ステップ630)。格納されたEUデータの量が、確立された閾値を超える場合、WTRU105は、所望のTFC情報、またはトラフィックインジケータ(すなわち、EUデータ指示)だけを含む初期EUデータ伝送要求メッセージをノードB110に送信して、WTRU105が、ノードB110に送信すべきEUデータを有することを示す(ステップ615)。
確立されたEUデータバッファ閾値は、0に設定されてもよいことに留意されたい。その場合、WTRU105のバッファ120の中に少しでもEUデータが格納されると、初期要求メッセージ210の伝送が常にトリガされる。
やはり図6を参照すると、ステップ620で、ノードB110が、1回または複数回の許可されたEUデータ伝送を含むEUデータスケジューリングメッセージをWTRU105に送信して、WTRU105においてバッファに入れられたEUデータのノードB110への伝送をスケジュールする。ステップ625で、WTRU105は、許可されたEUデータ伝送が、バッファに入れられたEUデータのすべてを伝送するのに十分であるかどうかを判定する。現在のスケジューリング情報によって許可されたEUデータ伝送が、バッファ120の中に格納されたEUデータのすべての伝送をサポートするのに十分である場合、WTRU105においてバッファに入れられたEUデータのすべてが、許可されたEUデータ伝送の中でノードB110に伝送される(ステップ630)。
現在のスケジューリング情報によって許可されたEUデータ伝送が、WTRU105においてバッファに入れられたEUデータのすべてを伝送するのに十分でない場合、WTRU105は、所望のTFC情報、または詳細なTVM情報を含む1回または複数回のEUデータ伝送をノードB110に伝送する(ステップ635)。ステップ640で、ノードB110が、EUデータに関連する優先順位を判定する。ノードB110は、要求のTFC情報、または詳細なTVM情報の知識、ならびに関連する優先順位を、EU物理チャネルを決めるため、ならびにWTRU105においてバッファに入れられたEUデータが、もはや存在しなくなるまで、1回または複数回のさらなるEUデータ伝送をスケジュールし、伝送するために利用する。
本発明を、好ましい諸実施形態に関連して特に図示し、説明してきたが、前述した本発明の範囲を逸脱することなく、形態および詳細において様々な変更を加えることができることが当業者には理解されよう。

Claims (4)

  1. 高度化アップリンク(EU)のための周波数分割複信(FDD)広域符号分割多重接続(W−CDMA)のユーザ装置(UE)によって使用される方法であって、
    前記ユーザ装置(UE)が高度化アップリンク(EU)送信用にスケジュールされていない場合において、
    前記ユーザ装置(UE)に、前記高度化アップリンク(EU)送信用にスケジュールすることなく所定の閾値まで高度化アップリンク(EU)データを送信させるようにする工程と、
    スケジューリングリクエストメッセージの送信をトリガーさせる工程と、
    ここで、該スケジューリングリクエストメッセージは、高度化アップリンク(EU)メディアアクセス制御(MAC)データに多重化されており、また、該スケジューリングリクエストメッセージは、バッファ内の高度化アップリンク(EU)データの総量と論理チャネルに関連したデータ量と該論理チャネルに関連した優先情報とを示すものであり、
    前記高度化アップリンク(EU)送信をスケジュールするために情報を受信する工程と、
    ある高度化アップリンク(EU)チャネルを介して前記受信した高度化アップリンク(EU)送信スケジューリング情報に応答して、高度化アップリンク(EU)データを送信する工程と、
    前記ユーザ装置(UE)が高度化アップリンク(EU)送信用にスケジュールされた場合において、
    高度化アップリンク(EU)データが送信用に前記バッファに存在するとき、ある高度化アップリンク(EU)チャネルを介して高度化アップリンク(EU)メディアアクセス制御(MAC)データに多重化された更新スケジューリングリクエストメッセージを送信する工程と
    を具えたことを特徴とする方法。
  2. 前記スケジューリングリクエストメッセージは、高度化アップリンク(EU)トラフィック量測定値(TVM)情報を含むことを特徴とする請求項1記載の方法。
  3. 周波数分割複信(FDD)広域符号分割多重接続(W−CDMA)のユーザ装置(UE)であって、
    送信用の論理チャネルに関連した高度化アップリンク(EU)データを受信する手段と、
    前記ユーザ装置(UE)が高度化アップリンク(EU)送信用にスケジュールされていない場合において、前記高度化アップリンク(EU)送信用にスケジュールすることなく所定の閾値まで高度化アップリンク(EU)データを送信させると共に、スケジューリングリクエストメッセージの送信をトリガーさせる手段と、
    ここで、該スケジューリングリクエストメッセージは、高度化アップリンク(EU)メディアアクセス制御(MAC)データに多重化されており、また、該スケジューリングリクエストメッセージは、バッファ内の高度化アップリンク(EU)データの総量と論理チャネルに関連したデータ量と該論理チャネルに関連した優先情報とを示すものであり、
    前記高度化アップリンク(EU)送信をスケジュールするために情報を受信すると共に、ある高度化アップリンク(EU)チャネルを介して前記受信した高度化アップリンク(EU)送信スケジューリング情報に応答して、高度化アップリンク(EU)データを送信する手段と、
    前記ユーザ装置(UE)が送信用にスケジュールされ、かつ、高度化アップリンク(EU)データが送信用に前記バッファに存在するとき、ある高度化アップリンク(EU)チャネルを介して高度化アップリンク(EU)メディアアクセス制御(MAC)データに多重化された更新スケジューリングリクエストメッセージを送信する手段と
    を具えたことを特徴とするユーザ装置(UE)。
  4. 前記スケジューリングリクエストメッセージは、高度化アップリンク(EU)トラフィック量測定値(TVM)情報を含むことを特徴とする請求項3記載のユーザ装置(UE)。
JP2009166524A 2003-11-14 2009-07-15 移動局からのバッファに入れられた高度化アップリンクデータをノードbに転送するための無線通信方法および無線通信装置 Expired - Fee Related JP4638547B2 (ja)

Applications Claiming Priority (2)

Application Number Priority Date Filing Date Title
US52022703P 2003-11-14 2003-11-14
US10/945,361 US8488457B2 (en) 2003-11-14 2004-09-20 Wireless communication method and apparatus for transferring buffered enhanced uplink data from a mobile station to a node-B

Related Parent Applications (1)

Application Number Title Priority Date Filing Date
JP2006539877A Division JP4638445B2 (ja) 2003-11-14 2004-11-10 移動局からのバッファに入れられた高度化アップリンクデータをノードbに転送するための無線通信方法および無線通信装置

Publications (2)

Publication Number Publication Date
JP2010004544A true JP2010004544A (ja) 2010-01-07
JP4638547B2 JP4638547B2 (ja) 2011-02-23

Family

ID=34437366

Family Applications (7)

Application Number Title Priority Date Filing Date
JP2006539877A Expired - Fee Related JP4638445B2 (ja) 2003-11-14 2004-11-10 移動局からのバッファに入れられた高度化アップリンクデータをノードbに転送するための無線通信方法および無線通信装置
JP2007261217A Expired - Fee Related JP4756022B2 (ja) 2003-11-14 2007-10-04 移動局からのバッファに入れられた高度化アップリンクデータをノードbに転送するための無線通信方法
JP2009166524A Expired - Fee Related JP4638547B2 (ja) 2003-11-14 2009-07-15 移動局からのバッファに入れられた高度化アップリンクデータをノードbに転送するための無線通信方法および無線通信装置
JP2011042765A Expired - Lifetime JP5296820B2 (ja) 2003-11-14 2011-02-28 移動局からのバッファに入れられた高度化アップリンクデータをノードbに転送するための無線通信方法
JP2013090681A Expired - Fee Related JP5714050B2 (ja) 2003-11-14 2013-04-23 移動局からのバッファに入れられた高度化アップリンクデータをノードbに転送するための無線通信方法
JP2014184829A Expired - Lifetime JP6220756B2 (ja) 2003-11-14 2014-09-11 移動局からのバッファに入れられた高度化アップリンクデータをノードbに転送するための無線通信方法
JP2016024645A Pending JP2016129375A (ja) 2003-11-14 2016-02-12 移動局からのバッファに入れられた高度化アップリンクデータをノードbに転送するための無線通信方法

Family Applications Before (2)

Application Number Title Priority Date Filing Date
JP2006539877A Expired - Fee Related JP4638445B2 (ja) 2003-11-14 2004-11-10 移動局からのバッファに入れられた高度化アップリンクデータをノードbに転送するための無線通信方法および無線通信装置
JP2007261217A Expired - Fee Related JP4756022B2 (ja) 2003-11-14 2007-10-04 移動局からのバッファに入れられた高度化アップリンクデータをノードbに転送するための無線通信方法

Family Applications After (4)

Application Number Title Priority Date Filing Date
JP2011042765A Expired - Lifetime JP5296820B2 (ja) 2003-11-14 2011-02-28 移動局からのバッファに入れられた高度化アップリンクデータをノードbに転送するための無線通信方法
JP2013090681A Expired - Fee Related JP5714050B2 (ja) 2003-11-14 2013-04-23 移動局からのバッファに入れられた高度化アップリンクデータをノードbに転送するための無線通信方法
JP2014184829A Expired - Lifetime JP6220756B2 (ja) 2003-11-14 2014-09-11 移動局からのバッファに入れられた高度化アップリンクデータをノードbに転送するための無線通信方法
JP2016024645A Pending JP2016129375A (ja) 2003-11-14 2016-02-12 移動局からのバッファに入れられた高度化アップリンクデータをノードbに転送するための無線通信方法

Country Status (19)

Country Link
US (3) US8488457B2 (ja)
EP (4) EP1690339B1 (ja)
JP (7) JP4638445B2 (ja)
KR (7) KR101161485B1 (ja)
CN (2) CN1973454B (ja)
AR (1) AR046624A1 (ja)
AU (1) AU2004311082B2 (ja)
BR (1) BRPI0412969B1 (ja)
CA (1) CA2541721C (ja)
DE (1) DE202004017682U1 (ja)
DK (1) DK2557881T3 (ja)
GE (1) GEP20125625B (ja)
IL (2) IL173215A (ja)
MX (1) MXPA06002910A (ja)
MY (3) MY159860A (ja)
NO (1) NO336620B1 (ja)
SG (1) SG148176A1 (ja)
TW (5) TWI287934B (ja)
WO (1) WO2005050851A2 (ja)

Cited By (1)

* Cited by examiner, † Cited by third party
Publication number Priority date Publication date Assignee Title
JP2020500445A (ja) * 2016-11-04 2020-01-09 オッポ広東移動通信有限公司 データ伝送方法、端末装置とネットワーク装置

Families Citing this family (36)

* Cited by examiner, † Cited by third party
Publication number Priority date Publication date Assignee Title
US8488457B2 (en) * 2003-11-14 2013-07-16 Interdigital Technology Corporation Wireless communication method and apparatus for transferring buffered enhanced uplink data from a mobile station to a node-B
US8040834B2 (en) 2004-03-31 2011-10-18 Interdigital Technology Corporation Wireless communication method and apparatus for reporting traffic volume measurement information to support enhanced uplink data transmissions
MXPA06015029A (es) * 2004-07-02 2007-02-08 Nokia Corp Diferenciacion de calidad de servicio para servicios de acceso multiple de division de codigo de banda ancha en un canal de canal dedicado mejorado.
WO2006036049A1 (en) * 2004-09-30 2006-04-06 Samsung Electronics Co., Ltd. Method and apparatus for transmitting uplink non-scheduled data in a mobile communication system
KR20060105304A (ko) * 2005-04-04 2006-10-11 삼성전자주식회사 이동통신 시스템에서 스케줄링을 효율적으로 하는 방법 및장치
US7916751B2 (en) 2005-06-21 2011-03-29 Interdigital Technology Corporation Method and apparatus for efficient operation of an enhanced dedicated channel
KR101232376B1 (ko) * 2005-08-26 2013-02-12 한국전자통신연구원 이동통신 시스템의 상향 링크 트래픽에 대한 자원 요청 및패킷 스케줄링 방법, 그리고 그 장치
KR101299221B1 (ko) * 2005-10-05 2013-08-22 한국전자통신연구원 이동통신 시스템의 상향 링크 트래픽에 대한 자원 요청 및패킷 스케줄링 방법, 그리고 그 장치
WO2007050909A1 (en) * 2005-10-27 2007-05-03 Qualcomm Incorporated A method and apparatus of transmitting and receiving inbandlatecyinfo block in wireless communication systems
KR20070047720A (ko) * 2005-11-02 2007-05-07 한국전자통신연구원 이동통신 시스템의 패킷 스케줄링 방법, 그리고 그 장치
TWI472198B (zh) 2006-01-31 2015-02-01 Interdigital Tech Corp 無線通信系統中提供及利用非競爭基礎頻道方法及裝置
WO2007100547A2 (en) 2006-02-24 2007-09-07 Interdigital Technology Corporation Wireless communication method and apparatus for selecting between transmission of short-version and full-version uplink scheduling requests
EP1989794B1 (en) * 2006-02-27 2014-05-14 Samsung Electronics Co., Ltd. Method and apparatus for non-scheduled transmission for packet service in a mobile communication system
EP2030344A4 (en) * 2006-06-20 2013-04-24 Intel Corp DIRECT ACCESS REQUESTS FOR AN ADDITIONAL RESOURCE REQUEST
WO2007148927A1 (en) 2006-06-22 2007-12-27 Samsung Electronics Co., Ltd. Method of transmitting scheduling request in mobile communication system and terminal apparatus for the same
JP4921555B2 (ja) * 2006-08-21 2012-04-25 インターデイジタル テクノロジー コーポレーション Hsupa無線通信システムの送信ブロッキングを防ぐ方法と装置
GB2455469B (en) 2006-10-13 2011-04-27 Firetide Inc Mesh node mobility across static and mobile mesh networks
US20080146242A1 (en) * 2006-12-18 2008-06-19 Nokia Corporation Method for requesting an uplink resource allocation during a downlink data transmission
US8606281B2 (en) * 2007-04-26 2013-12-10 Nokia Corporation System and method for requesting uplink resources in a communication system
BRPI0721816B1 (pt) 2007-06-19 2020-02-27 Optis Cellular Technology, Llc Métodos para transmitir solicitações de programação de um terminal móvel para uma estação base, e para atribuir recursos de uplink para os terminais móveis, terminal móvel, estação de base, e, sistema de comunicação
NZ584097A (en) * 2007-10-29 2012-09-28 Ericsson Telefon Ab L M Triggering random access channel procedure as a result of a comparison of stored and current buffer data
TW200926860A (en) * 2007-10-29 2009-06-16 Sunplus Mmobile Inc Method for providing a buffer status report in a mobile communication network
US8547941B2 (en) * 2009-04-16 2013-10-01 Qualcomm Incorporated Apparatus and method for improving WLAN spectrum efficiency and reducing interference by flow control
US9125211B2 (en) * 2009-10-06 2015-09-01 Qualcomm Incorporated System and methods for traffic volume reporting during radio access network connection setup
US8725895B2 (en) 2010-02-15 2014-05-13 Damaka, Inc. NAT traversal by concurrently probing multiple candidates
EP3310089A1 (en) 2010-06-21 2018-04-18 Nokia Solutions and Networks Oy Methods and apparatus for reporting measurement information
US9137842B2 (en) 2011-10-03 2015-09-15 Mediatek Inc. Methods of UE providing speed information to network
US9137841B2 (en) * 2011-10-03 2015-09-15 Mediatek Inc. Enhancement for scheduling request triggering based on traffic condition
US9144015B2 (en) 2012-10-03 2015-09-22 Mediatek Inc. Methods of UE indicating traffic-related information to network
JP6401161B2 (ja) 2012-08-06 2018-10-03 ヴィド スケール インコーポレイテッド マルチレイヤビデオコーディングにおける空間レイヤのためのサンプリンググリッド情報
US9504032B2 (en) 2012-09-13 2016-11-22 Interdigital Patent Holdings, Inc. Method, wireless transmit/receive unit (WTRU) and base station for transferring small packets
WO2014070321A1 (en) * 2012-11-01 2014-05-08 Maruti Gupta Signaling qos requirements and ue power preference in lte-a networks
US10334621B2 (en) * 2014-09-01 2019-06-25 Telefonaktiebolaget Lm Ericsson (Publ) Buffer status report
EP3189614B1 (en) 2014-09-01 2019-07-17 Telefonaktiebolaget LM Ericsson (publ) Control of channel reference signal transmission in a cellular network
JP6771489B2 (ja) 2015-05-22 2020-10-21 エルジー エレクトロニクス インコーポレイティド 無線通信システムにおける複数個のサブフレーム上の上りリンク承認に基づいてack/nackを指示する方法及びその装置
US12035167B2 (en) * 2021-02-25 2024-07-09 Samsung Electronics Co., Ltd. Method and apparatus for exchanging traffic characteristics information in WI-FI systems

Family Cites Families (69)

* Cited by examiner, † Cited by third party
Publication number Priority date Publication date Assignee Title
US5638412A (en) 1994-06-15 1997-06-10 Qualcomm Incorporated Method for providing service and rate negotiation in a mobile communication system
DE19617140C2 (de) * 1996-04-29 1999-07-15 Siemens Ag Funkstation zum Senden und Empfangen digitaler Informationen in einem Mobil-Kommunikationssystem
JP3220644B2 (ja) * 1996-08-07 2001-10-22 株式会社日立製作所 移動通信方法及びその実施装置
US6141336A (en) * 1996-12-13 2000-10-31 International Business Machines Corporation Traffic scheduling method, system and article of manufacture for a wireless access to an asynchronous transfer mode network
US6137789A (en) 1997-06-26 2000-10-24 Nokia Mobile Phones Limited Mobile station employing selective discontinuous transmission for high speed data services in CDMA multi-channel reverse link configuration
JP3094957B2 (ja) * 1997-06-30 2000-10-03 日本電気株式会社 移動通信システムの上り選択サイトダイバーシチにおける無線基地局受信データ伝送システム
US6108316A (en) * 1997-07-25 2000-08-22 At & T Corp Adaptive scheduling priorities based on battery power level in wireless access protocols
US6567416B1 (en) * 1997-10-14 2003-05-20 Lucent Technologies Inc. Method for access control in a multiple access system for communications networks
JP2000341292A (ja) 1999-05-28 2000-12-08 Toshiba Corp パケット通信システム、このパケット通信システムに用いられる基地局装置及び端末装置
KR100317261B1 (ko) * 1999-07-02 2001-12-22 서평원 능동적 무선 접속 베어러 제어 방법
JP3296342B2 (ja) * 1999-09-21 2002-06-24 日本電気株式会社 通信端末
JP4588201B2 (ja) * 1999-11-29 2010-11-24 パナソニック株式会社 無線通信システム
FR2805688A1 (fr) * 2000-02-28 2001-08-31 Mitsubishi Electric France Procede d'equilibrage de canaux de transport au sein d'un canal composite, dispositif et station de base correspondants
US6941132B2 (en) * 2000-03-20 2005-09-06 Telefonaktiebolaget L M Ericsson (Publ) Transport of radio network-originated control information
EP1139605A1 (en) 2000-03-31 2001-10-04 Telefonaktiebolaget L M Ericsson (Publ) Network controller and communication packet data transfer with reduced delay
US7245594B1 (en) * 2000-05-12 2007-07-17 Qualcomm Incorporated Method and apparatus for fast closed-loop rate adaptation in a high rate packet data transmission
US7058124B2 (en) * 2000-06-28 2006-06-06 Samsung Electronics Co., Ltd. Reverse data transmission method and apparatus in mobile communication system
KR100339740B1 (ko) 2000-07-06 2002-06-05 서평원 고속 무선 데이터 통신(hdr) 시스템의 버퍼상태 보고메시지와 버퍼상태 보고 메시지 전송방법
US8111689B2 (en) * 2001-01-16 2012-02-07 Nokia Corporation System for uplink scheduling packet based data traffic in wireless system
US7190684B2 (en) 2000-11-22 2007-03-13 Lucent Technologies Inc. Method and system for UMTS packet transmission scheduling on shared downlink channels
IT1319611B1 (it) 2000-12-22 2003-10-20 Siemens Inf & Comm Networks Procedimento di schedulazione dei permessi di trasmissione dei dati apacchetto sui canali radio condivisi dalle stazioni mobili in sistemi
EP1811804B1 (en) 2001-02-12 2011-04-27 LG Electronics Inc. Controlling data transmission rate on the reverse link for each mobile station in a dedicated manner
KR100797460B1 (ko) * 2001-09-18 2008-01-24 엘지전자 주식회사 역방향 링크 데이터 레이트 제어 방법
JP3566660B2 (ja) 2001-02-13 2004-09-15 日本電信電話株式会社 双方向無線パケット通信用基地局装置
US6459687B1 (en) * 2001-03-05 2002-10-01 Ensemble Communications, Inc. Method and apparatus for implementing a MAC coprocessor in a communication system
KR100800884B1 (ko) * 2001-03-29 2008-02-04 삼성전자주식회사 이동통신 시스템에서 역방향 링크의 송신 제어 방법
CA2376962A1 (en) * 2001-04-02 2002-10-02 Lucent Technologies Inc. Method and system for umts packet transmission scheduling on uplink channels
US6807426B2 (en) * 2001-04-12 2004-10-19 Qualcomm Incorporated Method and apparatus for scheduling transmissions in a communication system
US6836666B2 (en) * 2001-05-08 2004-12-28 Lucent Technologies Inc. Method to control uplink transmissions in a wireless communication system
EP1261227A1 (en) * 2001-05-21 2002-11-27 Motorola, Inc. Method and apparatus for increased information transfer in a communication system
US7158504B2 (en) * 2001-05-21 2007-01-02 Lucent Technologies, Inc. Multiple mode data communication system and method and forward and/or reverse link control channel structure
DE10138154C2 (de) * 2001-08-03 2003-06-05 Litef Gmbh Verfahren und Einrichtung zur Erhöhung der Langzeit-Betriebszuverlässigkeit eines faseroptischen Interferometers
US7171204B2 (en) * 2001-10-16 2007-01-30 Motorola, Inc. Method for handling a call establishment request during location management in 3G wireless networks
KR100464447B1 (ko) * 2001-12-11 2005-01-03 삼성전자주식회사 이동통신시스템에서 서비스 품질에 따른 데이터 패킷의 스케줄링 방법 및 장치
KR100547793B1 (ko) * 2001-12-29 2006-02-01 삼성전자주식회사 이동통신시스템에서 역방향 데이터 전송 제어 방법
JP4168633B2 (ja) * 2002-01-17 2008-10-22 日本電気株式会社 無線基地局におけるパケットスケジューリング方法、パケット転送装置およびパケットスケジューリングプログラム
US7283508B2 (en) * 2002-02-07 2007-10-16 Samsung Electronics Co., Ltd. Apparatus and method for transmitting/receiving serving HS-SCCH set information in an HSDPA communication system
TW552817B (en) * 2002-03-13 2003-09-11 Syncomm Technology Corp Control device for data link
US7079856B2 (en) 2002-04-05 2006-07-18 Lucent Technologies Inc. Data flow control between a base station and a mobile station
TWI259674B (en) 2002-05-07 2006-08-01 Interdigital Tech Corp Method and apparatus for reducing transmission errors in a third generation cellular system
US7539165B2 (en) * 2002-05-24 2009-05-26 Antti Toskala Method and apparatus for distributed signaling for uplink rate control
US6768715B2 (en) * 2002-06-07 2004-07-27 Nokia Corporation Apparatus, and associated method, for performing reverse-link traffic measurements in a radio communication system
US6782269B2 (en) * 2002-06-17 2004-08-24 Nokia Corporation Two threshold uplink rate control to enable uplink scheduling
US6961595B2 (en) * 2002-08-08 2005-11-01 Flarion Technologies, Inc. Methods and apparatus for operating mobile nodes in multiple states
US20040062206A1 (en) * 2002-09-30 2004-04-01 Soong Anthony C.K. System and method for fast reverse link scheduling in a wireless communication network
DE60310433T2 (de) 2002-10-07 2007-10-11 Golden Bridge Technology, Inc. Verbesserte aufwärtspaketübermittlung
KR100524737B1 (ko) * 2002-11-22 2005-10-31 엘지전자 주식회사 이동통신 시스템에서 제어계층 레이어 상의 데이터 전송방법
US8111668B2 (en) * 2003-02-14 2012-02-07 Alcatel Lucent Signaling methods for wireless communication systems
AU2004200541B2 (en) * 2003-02-15 2006-06-01 Samsung Electronics Co., Ltd. Scheduling apparatus and method in a CDMA mobile communication system
US7142548B2 (en) * 2003-03-06 2006-11-28 Nortel Networks Limited Communicating in a reverse wireless link information relating to buffer status and data rate of a mobile station
KR100991774B1 (ko) * 2003-03-06 2010-11-04 엘지전자 주식회사 역방향 링크 데이터 전송 레이트를 제어하는 방법
US7551588B2 (en) * 2003-03-06 2009-06-23 Nortel Networks Limited Autonomous mode transmission from a mobile station
DK2267930T3 (da) * 2003-04-10 2019-08-19 Ericsson Telefon Ab L M Fremgangsmåde og indretning til retransmission
US7369501B2 (en) * 2003-04-29 2008-05-06 Lg Electronics Inc. Apparatus and method for controlling reverse-link data transmission rate during handoff
US20040219919A1 (en) * 2003-04-30 2004-11-04 Nicholas Whinnett Management of uplink scheduling modes in a wireless communication system
US6993342B2 (en) * 2003-05-07 2006-01-31 Motorola, Inc. Buffer occupancy used in uplink scheduling for a communication device
US20040228313A1 (en) * 2003-05-16 2004-11-18 Fang-Chen Cheng Method of mapping data for uplink transmission in communication systems
US20050030953A1 (en) * 2003-08-04 2005-02-10 Subramanian Vasudevan Method of controlling reverse link transmission
US7564867B2 (en) * 2003-08-19 2009-07-21 Alcatel-Lucent Usa Inc. Enhanced uplink data transmission
KR100689543B1 (ko) 2003-08-26 2007-03-02 삼성전자주식회사 이동통신 시스템에서 상향링크 패킷 전송을 위한 스케쥴링 요청 방법 및 장치
US7239870B2 (en) * 2003-11-05 2007-07-03 Ipr Licensing, Inc. Wireless communication method and apparatus with reconfigurable architecture for supporting an enhanced uplink soft handover operation
US8488457B2 (en) * 2003-11-14 2013-07-16 Interdigital Technology Corporation Wireless communication method and apparatus for transferring buffered enhanced uplink data from a mobile station to a node-B
EP1714404B3 (en) * 2004-02-14 2014-07-23 Samsung Electronics Co., Ltd. Apparatus and method for allocating ovsf codes and i/q channels for reducing peak-to-average power ratio in transmitting data via enhanced up-link dedicated channels in wcdma systems
US8243633B2 (en) * 2004-03-16 2012-08-14 Nokia Corporation Enhanced uplink dedicated channel—application protocol over lub/lur
US8040834B2 (en) 2004-03-31 2011-10-18 Interdigital Technology Corporation Wireless communication method and apparatus for reporting traffic volume measurement information to support enhanced uplink data transmissions
KR20060006725A (ko) * 2004-07-16 2006-01-19 삼성전자주식회사 향상된 상향링크 전용채널을 지원하는 이동통신시스템에서자율전송을 위한 파라미터 결정 방법 및 장치
CN101044698A (zh) 2004-10-19 2007-09-26 三星电子株式会社 在移动通信系统中用信令方式发送用于上行链路数据传送的用户设备状态信息的方法和装置
JP2011042765A (ja) * 2009-08-24 2011-03-03 Kaneka Corp 臭気が少ない変性アクリル系樹脂の製造方法
JP2013090681A (ja) * 2011-10-24 2013-05-16 Sammy Corp 弾球遊技機

Non-Patent Citations (3)

* Cited by examiner, † Cited by third party
Title
JPN6010061411, Samsung, "Transmission of small size packet", 3GPP TSG−RAN WG1 #34 R1−030991, 200310 *
JPN6010061412, Samsung, "Uplink signalling of scheduling information", 3GPP TSG−RAN WG1 #34 R1−031056, 200310 *
JPN6010061413, Fujitsu, "Revised text proposal for Credit based enhanced uplink scheduling", 3GPP TSG−RAN WG1#34 R1−031117, 200310 *

Cited By (2)

* Cited by examiner, † Cited by third party
Publication number Priority date Publication date Assignee Title
JP2020500445A (ja) * 2016-11-04 2020-01-09 オッポ広東移動通信有限公司 データ伝送方法、端末装置とネットワーク装置
US11297637B2 (en) 2016-11-04 2022-04-05 Guangdong Oppo Mobile Telecommunications Corp., Ltd. Method for data transmission based on uplink grant, and terminal device thereof

Also Published As

Publication number Publication date
EP2557881A1 (en) 2013-02-13
MY143500A (en) 2011-05-31
NO20062785L (no) 2006-06-13
BRPI0412969A8 (pt) 2017-11-21
SG148176A1 (en) 2008-12-31
TWM265860U (en) 2005-05-21
US10517109B2 (en) 2019-12-24
JP4638445B2 (ja) 2011-02-23
MY150872A (en) 2014-03-14
JP2016129375A (ja) 2016-07-14
CA2541721A1 (en) 2005-06-02
HK1100378A1 (en) 2007-09-21
CA2541721C (en) 2015-03-24
KR101323010B1 (ko) 2013-10-29
KR100820720B1 (ko) 2008-04-11
EP1690339A2 (en) 2006-08-16
US9699798B2 (en) 2017-07-04
IL173215A (en) 2014-01-30
KR20120103732A (ko) 2012-09-19
EP2816861A1 (en) 2014-12-24
US8488457B2 (en) 2013-07-16
AU2004311082B2 (en) 2008-02-28
EP2557881B1 (en) 2014-10-01
MY159860A (en) 2017-02-15
JP5296820B2 (ja) 2013-09-25
EP1690339B1 (en) 2012-12-26
DE202004017682U1 (de) 2005-04-07
KR101102221B1 (ko) 2012-01-05
KR101323002B1 (ko) 2013-10-29
AR046624A1 (es) 2005-12-14
DK2557881T3 (da) 2014-12-08
KR101102213B1 (ko) 2012-01-05
WO2005050851A2 (en) 2005-06-02
TW200524444A (en) 2005-07-16
JP2007511963A (ja) 2007-05-10
NO336620B1 (no) 2015-10-12
TWI350088B (en) 2011-10-01
KR20050090973A (ko) 2005-09-14
KR20110036138A (ko) 2011-04-06
JP2008099278A (ja) 2008-04-24
EP2816861B1 (en) 2017-01-04
US20050105553A1 (en) 2005-05-19
KR20070018762A (ko) 2007-02-14
JP4756022B2 (ja) 2011-08-24
KR20120002551A (ko) 2012-01-05
IL173215A0 (en) 2006-06-11
TW200629922A (en) 2006-08-16
TW200818937A (en) 2008-04-16
TWI367677B (en) 2012-07-01
KR20090132640A (ko) 2009-12-30
JP4638547B2 (ja) 2011-02-23
CN101783703A (zh) 2010-07-21
JP2013168994A (ja) 2013-08-29
GEP20125625B (en) 2012-09-10
JP2015019409A (ja) 2015-01-29
TWI287934B (en) 2007-10-01
CN1973454A (zh) 2007-05-30
TW201220771A (en) 2012-05-16
KR101161485B1 (ko) 2012-07-02
MXPA06002910A (es) 2006-08-25
BRPI0412969A (pt) 2006-09-26
US20170303298A1 (en) 2017-10-19
JP2011139509A (ja) 2011-07-14
WO2005050851A3 (en) 2006-08-17
HK1182254A1 (en) 2013-11-22
CN1973454B (zh) 2012-06-06
JP6220756B2 (ja) 2017-10-25
JP5714050B2 (ja) 2015-05-07
BRPI0412969B1 (pt) 2018-10-16
IL230347B (en) 2018-07-31
KR20050046639A (ko) 2005-05-18
US20130301579A1 (en) 2013-11-14
TWI454102B (zh) 2014-09-21
CN101783703B (zh) 2014-10-15
EP1690339A4 (en) 2011-08-31
EP3203797A1 (en) 2017-08-09
AU2004311082A1 (en) 2005-06-02

Similar Documents

Publication Publication Date Title
JP4638547B2 (ja) 移動局からのバッファに入れられた高度化アップリンクデータをノードbに転送するための無線通信方法および無線通信装置
JP6630604B2 (ja) 拡張されたアップリンクデータ送信を支援するためにトラフィック量測定情報を報告する無線通信の方法および装置
AU2011239299B2 (en) Wireless communication method and apparatus for reporting traffic volume measurement information to support enhanced uplink data transmissions
AU2008202330B2 (en) Wireless communication method and apparatus for transferring buffered enhanced uplink data from a mobile station to a node-B
HK1242901A1 (en) Wireless communication method and apparatus for transferring buffered uplink data from a mobile station to a node-b
HK1242901A (en) Wireless communication method and apparatus for transferring buffered uplink data from a mobile station to a node-b
HK1157989B (en) Wireless communication method and apparatus for reporting traffic volume measurement information to support uplink data transmissions

Legal Events

Date Code Title Description
TRDD Decision of grant or rejection written
A01 Written decision to grant a patent or to grant a registration (utility model)

Free format text: JAPANESE INTERMEDIATE CODE: A01

Effective date: 20101026

A01 Written decision to grant a patent or to grant a registration (utility model)

Free format text: JAPANESE INTERMEDIATE CODE: A01

A61 First payment of annual fees (during grant procedure)

Free format text: JAPANESE INTERMEDIATE CODE: A61

Effective date: 20101125

FPAY Renewal fee payment (event date is renewal date of database)

Free format text: PAYMENT UNTIL: 20131203

Year of fee payment: 3

R150 Certificate of patent or registration of utility model

Free format text: JAPANESE INTERMEDIATE CODE: R150

R250 Receipt of annual fees

Free format text: JAPANESE INTERMEDIATE CODE: R250

R250 Receipt of annual fees

Free format text: JAPANESE INTERMEDIATE CODE: R250

R250 Receipt of annual fees

Free format text: JAPANESE INTERMEDIATE CODE: R250

R250 Receipt of annual fees

Free format text: JAPANESE INTERMEDIATE CODE: R250

LAPS Cancellation because of no payment of annual fees