JP2010001681A - 水底土砂の移送装置 - Google Patents

水底土砂の移送装置 Download PDF

Info

Publication number
JP2010001681A
JP2010001681A JP2008162604A JP2008162604A JP2010001681A JP 2010001681 A JP2010001681 A JP 2010001681A JP 2008162604 A JP2008162604 A JP 2008162604A JP 2008162604 A JP2008162604 A JP 2008162604A JP 2010001681 A JP2010001681 A JP 2010001681A
Authority
JP
Japan
Prior art keywords
buoyancy
cover body
earth
sand
tube
Prior art date
Legal status (The legal status is an assumption and is not a legal conclusion. Google has not performed a legal analysis and makes no representation as to the accuracy of the status listed.)
Granted
Application number
JP2008162604A
Other languages
English (en)
Other versions
JP4970359B2 (ja
Inventor
Atsushi Iwasaki
淳 岩崎
Takuya Kaneko
拓也 金子
Shinichiro Tanaka
慎一郎 田中
Haruya Katayama
春也 堅山
Current Assignee (The listed assignees may be inaccurate. Google has not performed a legal analysis and makes no representation or warranty as to the accuracy of the list.)
Toa Corp
Tokyo Gas Co Ltd
Shinko Kensetsu Co Ltd
Original Assignee
Toa Corp
Tokyo Gas Co Ltd
Shinko Kensetsu Co Ltd
Priority date (The priority date is an assumption and is not a legal conclusion. Google has not performed a legal analysis and makes no representation as to the accuracy of the date listed.)
Filing date
Publication date
Application filed by Toa Corp, Tokyo Gas Co Ltd, Shinko Kensetsu Co Ltd filed Critical Toa Corp
Priority to JP2008162604A priority Critical patent/JP4970359B2/ja
Publication of JP2010001681A publication Critical patent/JP2010001681A/ja
Application granted granted Critical
Publication of JP4970359B2 publication Critical patent/JP4970359B2/ja
Active legal-status Critical Current
Anticipated expiration legal-status Critical

Links

Images

Landscapes

  • Jet Pumps And Other Pumps (AREA)
  • Underground Or Underwater Handling Of Building Materials (AREA)

Abstract

【課題】桟橋の下方領域など、水上から吊り下げた浚渫ポンプ等によって浚渫を行なうことが困難な領域の土砂を、迅速に別の場所に移送して効率的に浚渫を行なえるようにした水底土砂の移送装置を提供する。
【解決手段】浮力調節手段によって浮力管2による浮力を調節し、移送装置1に中性浮力を持たせた状態にして、吊りピース18bに取り付けた誘導ワイヤで移送装置1を桟橋の下方領域に誘導して配置し、両端部を開口した円管を長手方向に半割りにした直線状に延びるカバー体6の内周面に設けた、先端をカバー体6の長手方向一方端部側に向けた内側ジェットノズル8から噴出するジェット水流によって、カバー体6によって覆われた土砂をカバー体6の長手方向一方向に移動させて、桟橋の下方領域の土砂を、水上からの浚渫作業が容易に行なえる別の場所に移送させる。
【選択図】 図4

Description

本発明は、水底土砂の移送装置に関し、さらに詳しくは、桟橋の下方領域など、水上から吊り下げた浚渫ポンプ等によって浚渫を行なうことが困難な領域の土砂を、迅速に別の場所に移送して効率的に浚渫を行なえるようにした水底土砂の移送装置に関するものである。
桟橋の下方領域などを浚渫する場合、その領域には支持杭が存在するとともに領域の上方は床版等によって覆われているため、浚渫ポンプを作業船等から単純に吊り下げても桟橋の下方に入り込ませて配置させることができない。そこで、従来、水上から吊り下げた浚渫ポンプを、潜水士が桟橋の下方水底の所定位置に配置させて浚渫を行ない、その位置での浚渫が終わると次の位置に潜水士が浚渫ポンプを移動させて浚渫を行なう工程を繰り返すことによって、対象領域全体の土砂を浚渫するようにしていた。このように、一度に浚渫できる範囲が狭いため、浚渫ポンプを何度も移動させるための多大な作業時間が必要となり、また、潜水士の作業負担も大きくなるので、作業効率を向上させることが難しいという問題があった。
浚渫装置は様々なものが知られているが、例えば、吸入ポンプと、ジェットポンプとを水密性の函体に設置した浮沈タイプの浚渫装置が提案されている(特許文献1参照)。この浚渫装置は、水上からクレーン等によって吊り下げられて水底に配置され、ジェットポンプのジェット水流によって水底の土砂を攪拌し、その攪拌した土砂を吸入ポンプによって吸い込みを行なう構造になっている。そして、水密性の函体による浮力を有しているので、比較的小さな力で函体を水中で移動させることができる。しかしながら、この浚渫装置を用いても、依然として潜水士によって函体を繰り返し移動させる必要があるため、作業効率を向上させるには限界があった。
実開昭56−5065公報
本発明の目的は、桟橋の下方領域など、水上から吊り下げた浚渫ポンプ等によって浚渫を行なうことが困難な領域の土砂を、迅速に別の場所に移送して効率的に浚渫を行なえるようにした水底土砂の移送装置を提供することにある。
上記目的を達成するため本発明の水底土砂の移送装置は、内周面を上方凸状にした断面形状を有して長手方向に直線状に延びるカバー体の上方に、浮力管をその管軸方向を前記カバー体の長手方向にして取り付け、前記カバー体の内周面に、先端をカバー体の長手方向一方端部側に向けた内側ジェットノズルを設けるとともに、該内側ジェットノズルに加圧水を供給するジェット水流供給手段を接続し、前記浮力管の浮力を調節する浮力調節手段と、前記浮力管を取り付けたカバー体を水中の所定位置に誘導する誘導ワイヤを取り付ける固定部と、前記浮力管を取り付けたカバー体のジェット水流による動きを規制する振れ止めワイヤを取り付ける固定部とを設けたことを特徴とするものである。
ここで、先端を前記浮力管側方外側に向けた外側ジェットノズルを設けるとともに、該外側ジェットノズルに加圧水を供給するジェット水流供給手段を接続することもできる。前記浮力調節手段は、例えば、前記浮力管に対してエアの供給および排出を行なう給排気手段と、前記浮力管の内部と外部とを連通する水流出入部とで構成する。また、前記浮力管の内部に、管軸方向に所定間隔で仕切り板を設けて複数の浮力室を形成することもできる。前記浮力管の管軸方向端部には、カウンターウエイトを着脱できるウエイト取り付け部を設けることもできる。
本発明によれば、浮力管をその管軸方向をカバー体の長手方向にしてカバー体の上方に取り付け、浮力管の浮力を調節する浮力調節手段を設け、前記カバー体を水中の所定位置に誘導する誘導ワイヤを取り付ける固定部を有しているので、浮力管による浮力を適度に調節でき、固定部に取り付けた誘導ワイヤを用いることにより、水中で移送装置を小さな力で任意の位置に移動させることができる。これにより、桟橋等の下方領域にも容易に移送装置を入り込ませることができる。
また、内周面を上方凸状にした断面形状を有して長手方向に直線状に延びるカバー体の内周面に、先端をカバー体の長手方向一方端部側に向けた内側ジェットノズルを設けるとともに、該内側ジェットノズルに加圧水を供給するジェット水流供給手段を接続したので、内部ジェットノズルから噴出されたジェット水流が、カバー体によって覆われた土砂をカバー体の長手方向一方向に移動させ、水上からの浚渫作業が困難な領域の土砂を、一度に大量かつ迅速に、水上からの浚渫作業が容易に行なえる別の場所に移すことができる。その際に、移送装置のジェット水流による動きは、固定部に取り付けた振れ止めワイヤによって規制することができるので、安定して土砂を移送できる。このようにして、移送装置の移動回数を削減して対象領域全体の土砂を移送することができる。
そして、水上からの浚渫作業が容易に行なえる移送先において、移送した土砂を浚渫することにより、結果的に浚渫作業の効率化を達成することが可能になる。或いは、水上から容易に浚渫作業ができる移送先の領域の土砂を予め浚渫して深掘区域を形成しておき、この深掘区域に土砂を移送することにより、結果的に対象水域の土砂を効率的に浚渫できることになる。
本発明の水底土砂の移送装置を図に示した実施形態に基づいて説明する。
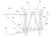
図1〜図4に例示するように、本発明の水底土砂の移送装置1(以下、移送装置1という)は、両端部を開口した円管を長手方向に半割りにした直線状に延びるカバー体6を有し、このカバー体6の上方に、両端部を封止した中空円筒状の浮力管2がその管軸方向をカバー体6の長手方向にして取り付けられている。この実施形態では、連結部材7をカバー体6と浮力管2とに溶接することによって、両者が一体的に固定されている。
カバー体6の断面形状は、内周面を上方凸状にした形状であればよく、半円形に湾曲した断面形状に限定されるものではない。浮力管2は、中空円筒状に限らず内部に密閉空間を有して、カバー体6の長手方向に沿った形状のものを用いることができる。
カバー体6の内周面には、先端をカバー体6の長手方向一方端部側に向けた内側ジェットノズル8が長手方向に所定間隔で複数配置されている。それぞれの内側ジェットノズル8は、カバー体6の外周面でカバー体6の長手方向に配設された内側ジェット水流供給管9に連結されている。この内側ジェット水流供給管9は、切替バルブ14を有するジェット水流供給本管13を介してジェットポンプ12に接続されて加圧水を流通させる。このジェットポンプ12と内側ジェット水流供給管9が、内側ジェットノズル8に対するジェット水流供給手段になっている。
内側ジェットノズル8の数は特に限定されないが、所定間隔で複数設けるとよい。また、内側ジェットノズル8の先端方向を可変構造にして、ノズル先端方向を調節できるようにすることもできる。
浮力管2の内部には、管軸方向に所定間隔で仕切り板3が設けられて、3つの浮力室2a、2b、2cが形成されている。尚、浮力室の数は任意に設定でき、仕切り板3を設けることなく1つの浮力室にしてもよいが、複数の浮力室を設けることによって、浮力を調節する際に管軸方向の浮力の偏りを緩和することができる。
浮力管2の外周面上部には、エア抜きバルブ15aを有するエア給排管15が配設されている。エア供排管15は、エアコンプレッサ16に接続されるとともに、それぞれの浮力室2a、2b、2cに接続されて連通するようになっている。このエア抜きバルブ15aを有するエア給排管15とエアコンプレッサ16とが、浮力管2に対してエアの供給および排出を行なう給排気手段になっている。
また、浮力管2のそれぞれの浮力室2a、2b、2cには、開閉バルブ17aを有する給排水管17が設けられている。この給排水管17は、一端を浮力管2の下部に接続して所定長さの水平部を有して下方に屈曲した形状になっており、他端は下向きに開口している。
給排水管17の開閉バルブ17aを開くことにより浮力管2の内部と外部とが連通し、閉じることにより浮力管2の内部と外部との連通が遮断され、浮力管2に対する水流出入部になっている。詳しくは後述するが、この水流出入部と給排気手段とが、浮力管2による浮力を調節する浮力調節手段を構成している。
浮力管2の管軸方向の両端部のうち、内側ジェット水流供給管9やエア給排管15の供給源側とは反対側の端部には、アンカーボルト4aが突設されている。このアンカーボルト4aは、カウンターウエイト5の取り付け穴を挿通し、ナットの付け外しによって任意に重さのカウンターウエイト5を着脱できるようになっている。このようにウエイト取り付け部4を設けることによって、浮力管2の傾きの調節を容易に行なうことができる。
浮力管2の外周面上部には、2つの吊りピース18a、18bが突設されている。この2つの吊りピースのうち、内側ジェットノズルの先端が向いている管軸方向一方端部の吊りピース4aは、カバー体6のジェット水流による動きを規制する振れ止めワイヤ20を取り付ける固定部になっている。管軸方向他方端部の吊りピース4bは、カバー体6を水中の所定位置に誘導する誘導ワイヤ19を取り付ける固定部になっている。
さらに、浮力管2とカバー体6の上下方向中間位置には、先端を浮力管側方外側に向けた外側ジェットノズル10が浮力管2の管軸方向に所定間隔で複数配置されている。この実施形態では外側ジェットノズル10が上下に2列で配置されているが、列数は特に限定されず1列でもよい。また、浮力管2の幅方向両側ではなく、一方側にだけ外側ジェットノズル10を配置するようにしてもよい。外側ジェットノズル10の先端方向を可変構造にして、ノズル先端方向を調節できるようにすることもできる。
それぞれの外側ジェットノズル10は、浮力管2とカバー体6の上下方向中間位置で管軸方向に配設された外側ジェット水流供給管11に連結されている。この外側ジェット水流供給管11は、切替バルブ14を有するジェット水流供給本管13を介してジェットポンプ12に接続されて加圧水を流通させる。このジェットポンプ12と外側ジェット水流供給管11が、外側ジェットノズル10に対するジェット水流供給手段になっている。この外側ジェットノズル10は、必要に応じて設置し、省略することもできる。
次に、この移送装置1を用いた水底土砂の移送方法を、桟橋の下方領域を浚渫する場合を例にして説明する。
まず、図5に例示するように、桟橋22の近傍領域の水底土砂を予め浚渫して深掘区域25を形成しておく。図5では、網掛けで示した土砂Gが移送対象であり、深掘区域25が移送先になる。浮力管2のそれぞれの浮力室2a〜2cには水(海水)を充填しておき、吊りピース18a、18bに吊りワイヤ21を取り付けて作業船26の上のクレーン27によって移送装置1を、桟橋22の近傍の水底に沈める。
次いで、浮力調節手段により浮力管2による浮力を調節して移送装置1が中性浮力を得るようにする。ここでは、エアコンプレッサ16を稼動させ、エア抜きバルブ15aを閉じた状態にしたエア給排管15を通じて、それぞれの浮力室2a、2b、2cにエアを供給する。エアの供給により開閉バルブ17aを開けた状態の給排水管17からは、浮力管2の内部の水が排出される。このようにして中性浮力が得られた後は、開閉バルブ17aを閉じた状態にする。吊りワイヤ21はクレーン27から取り外す。
次いで、図6、図7に例示するように、吊りピース18bに取り付けた誘導ワイヤ19の自由端部を桟橋22の下を潜らせて別の桟橋22aなどの上で保持するとともに、吊りピース18aに取り付けた振れ止めワイヤ20の自由端部を作業船26の上で保持した状態にする。そして誘導ワイヤ19で移送装置1を誘導しつつ、潜水士が移送装置1を桟橋22の下方領域の所定位置に配置する。この際に、移送装置1は中性浮力を得た状態になっているので、小さな力で移動させることができ、支持杭24が林立している桟橋22の下方領域であっても、比較的容易に所定の位置に配置することができる。移送装置1は、内側ジェットノズル8の先端が向いているカバー体6の長手方向一方端部側が、土砂Gの移送先になるように配置する。
移送装置1を所定位置に配置した後は、浮力管2による浮力をなくして移送装置1を土砂Gの上に固定する。ここでは、給排水管17の開閉バルブ17aを開いた状態にするとともに、エア抜きバルブ15aを開いた状態にして給排水管17を通じて海水を浮力管2(浮力室2a〜2c)に流入させ、浮力管2の内部を海水で充満させる。また、それぞれの吊りピース18a、18bに吊りワイヤ21a、21aを取り付けて、自由端部を桟橋22の床版23の上で保持する。
次いで、図8に例示するように、ジェットポンプ12を稼動させて内側ジェット水流供給管9を通じて加圧した水を供給し、それぞれの内側ジェットノズル8からジェット水流を噴出する。これによりカバー体6によって覆われた土砂Gを、カバー体6の長手方向一方向に移動させることできる。即ち、水上からの浚渫作業が困難な桟橋22の下方領域の土砂Gを、水上からの浚渫作業が容易に行なえる別の場所に移すことができる。
噴出したジェット水流によって、移送装置1が移動しようとする動きは、張設状態となる振れ止めワイヤ20によって規制されるので、安定して土砂Gを移送することができる。振れ止めワイヤ20と対になって誘導ワイヤ19を張設しておくことにより、さらに移送装置1の動きを規制することができる。
所定量の土砂Gを移送したか否かは、土砂Gを移送するに連れて移送装置1が移送先方向を沈下させるように傾くので、吊りワイヤ21a、21aの降下長さによって確認することができる。所定量の土砂の移送が完了した後は、順次、移送装置1を幅方向に移動させて同様に土砂Gを移送する。尚、移送装置1を幅方向に移動させる際は、上記した同様の手順によって移送装置1に中性浮力を持たせて移動させる。
この方法によれば、一度に大量かつ迅速に土砂Gを移送できるので、移送装置1の移動回数を削減して対象領域全体の土砂を移送することができる。また、移送装置1の移動は、中性浮力を得た状態にして小さな力で行なえるので、潜水士の作業負担も軽減することができる。
尚、浮力調節手段による浮力の調節は、給排水管17の開閉バルブ17aを開いたままにしておき、エアコンプレッサ16の稼動とエア給排管15のエア抜きバルブ15aの開閉操作のみでも行なうことができる。
移送した土砂Gは、水上からの浚渫作業が容易に行なえる移送先において浚渫する。或いは、深掘区域25に土砂Gを移送することにより浚渫作業を完了させる。このようにして、一度に狭い範囲を浚渫しながら移動する作業を多数繰り返す従来の方法に比べて、結果的に浚渫作業の効率化を達成することができる。
また、図9に土砂Gの移送方法を別の例を示す。上述した同様の手順により所定位置に移送装置1を配置して、内側ジェットノズル8からのジェット水流によって土砂Gをカバー体6の長手方向一方向に移送し、順次、移送装置1を幅方向に移送装置1の幅寸法よりも大きな所定間隔をあけて移動させて土砂Gの移送を行なう。これにより、土砂Gを移送した範囲と範囲との間には、土砂G1が突出して残存することになる。この残存した土砂G1を外側ジェットノズル10から噴出したジェット水流によって、既に土砂Gを移送した凹部に移送する。
この場合には、ジェットポンプ12を稼動させるとともに、内側ジェット水流供給管9を閉止し、外側ジェット水流供給管11を開くように切替バルブ14を操作する。これにより、外側ジェット水流供給管11に加圧した水を供給して、浮力管2の幅方向一方側にあるそれぞれの外側ジェットノズル10からジェット水流を噴出する。
このようにして図10に例示するように、残存した土砂G1が移送されるとともに、凹部が埋められて目標レベルTの平らな状態になる。内側ジェットノズル8からのジェット水流によって先に土砂Gを移送した範囲には、後から外側ジェットノズル10からのジェット水流によって土砂G1が移送されるので、内側ジェットノズル8からのジェット水流によって土砂Gを移送する際には、後から移送される土砂G1の量を考慮して目標レベルTになるよりも多目に土砂Gを移送しておく。これによって、対象領域全体の所定量の土砂Gを移送することができる。
次に、桟橋22の支持杭24の前後間の土砂G1を移送する手順を説明する。
まず、図11に例示するように支持杭の両側面近傍を、上述した同様の手順により内側ジェットノズル8からのジェット水流によって土砂Gを、カバー体6の長手方向一方向に移送する。これにより、支持杭24の前後間には土砂G1が突出して残存することになる。
次いで、図12に例示するように、残存した土砂G1を外側ジェットノズル10から噴出したジェット水流によって、既に土砂Gを移送した凹部に移送する。支持杭24の前後間に残存していた土砂G1は少なくなる一方で、凹部は移送された土砂G1で覆われる。
次いで、図13に例示するように、移送装置1を再び、移送された土砂G1により覆われた凹部に移動させる。ここで、内側ジェットノズル8からのジェット水流によって土砂G1をカバー体6の長手方向一方向に移送する。その後、支持杭24の前後間に残存している土砂G1があれば、外側ジェットノズル10から噴出したジェット水流によって、支持杭24を挟んで対向する反対側の凹部に移送する。
次いで、図14に例示するように、再び移送装置1を、支持杭24を挟んで対向し、移送された土砂G1により覆われた反対側の凹部に移動させる。そして、内側ジェットノズル8からのジェット水流によって土砂Gをカバー体6の長手方向一方向に移送する。
このように図11〜図14に例示した手順によって、支持杭24の前後間の土砂G1についても、桟橋22の下方領域から水上からの浚渫作業が容易に行なえる別の場所に移すことができる。尚、図13に例示した段階で、支持杭24の前後間に残存している土砂G1がなければ、内側ジェットノズル8からのジェット水流によって土砂G1をカバー体6の長手方向一方向に移送するだけでよく、外側ジェットノズル10からジェット水流を噴出する工程や図14の工程は省略することができる。
本発明の移送装置1は、桟橋22等の下方領域の土砂Gを別の場所に移送するだけでなく、杭等や上方に構造物等がないオープン状態の領域の水底土砂を別の場所に移送する際にも使用することができる。
本発明の水底土砂の移送装置を例示する側面図である。 図1の一部拡大側面図である。 図2の平面図である。 図2のA−A断面図である。 図1の移送装置を用いた浚渫土の移送方法の手順を例示する側面図である。 図5の次の手順を例示する側面図である。 図6の平面図である。 図6の次の手順を例示する側面図である。 土砂の移送方法の別の例を示す断面図である。 図9の移送方法により土砂を移送した後の状態を例示する断面図である。 支持杭の前後間の土砂を移送する際の手順を例示する断面図である。 図11の次の手順を例示する断面図である。 図12の次の手順を例示する断面図である。 図13の次の手順を例示する断面図である。
符号の説明
1 移送装置
2 浮力管
2a、2b、2c 浮力室
3 仕切り板
4 ウエイト取り付け部
4a アンカーボルト
5 カウンターウエイト
6 カバー体
7 連結部材
8 内側ジェットノズル
9 内側ジェット水流供給管
10 外側ジェットノズル
11 外側ジェット水流供給管
12 ジェットポンプ
13 ジェット水流供給本管
14 切替バルブ
15 エア給排管
15a エア抜きバルブ
16 エアコンプレッサ
17 給排水管
17a 開閉バルブ
18a、18b 吊りピース
19 配置誘導ワイヤ
20 振れ止めワイヤ
21、21a 吊りワイヤ
22、22a 桟橋
23 床版
24 支持杭
25 深掘区域
26 作業船
27 クレーン
G、G1 土砂

Claims (5)

  1. 内周面を上方凸状にした断面形状を有して長手方向に直線状に延びるカバー体の上方に、浮力管をその管軸方向を前記カバー体の長手方向にして取り付け、前記カバー体の内周面に、先端をカバー体の長手方向一方端部側に向けた内側ジェットノズルを設けるとともに、該内側ジェットノズルに加圧水を供給するジェット水流供給手段を接続し、前記浮力管の浮力を調節する浮力調節手段と、前記浮力管を取り付けたカバー体を水中の所定位置に誘導する誘導ワイヤを取り付ける固定部と、前記浮力管を取り付けたカバー体のジェット水流による動きを規制する振れ止めワイヤを取り付ける固定部とを設けた水底土砂の移送装置。
  2. 先端を前記浮力管側方外側に向けた外側ジェットノズルを設けるとともに、該外側ジェットノズルに加圧水を供給するジェット水流供給手段を接続した請求項1に記載の水底土砂の移送装置。
  3. 前記浮力調節手段が、前記浮力管に対してエアの供給および排出を行なう給排気手段と、前記浮力管の内部と外部とを連通する水流出入部とからなる請求項1または2に記載の水底土砂の移送装置。
  4. 前記浮力管の内部に、管軸方向に所定間隔で仕切り板を設けて複数の浮力室を形成した請求項1〜3のいずれかに記載の水底土砂の移送装置。
  5. 前記浮力管の管軸方向端部に、カウンターウエイトを着脱できるウエイト取り付け部を設けた請求項1〜4のいずれかに記載の水底土砂の移送装置。
JP2008162604A 2008-06-20 2008-06-20 水底土砂の移送装置 Active JP4970359B2 (ja)

Priority Applications (1)

Application Number Priority Date Filing Date Title
JP2008162604A JP4970359B2 (ja) 2008-06-20 2008-06-20 水底土砂の移送装置

Applications Claiming Priority (1)

Application Number Priority Date Filing Date Title
JP2008162604A JP4970359B2 (ja) 2008-06-20 2008-06-20 水底土砂の移送装置

Publications (2)

Publication Number Publication Date
JP2010001681A true JP2010001681A (ja) 2010-01-07
JP4970359B2 JP4970359B2 (ja) 2012-07-04

Family

ID=41583610

Family Applications (1)

Application Number Title Priority Date Filing Date
JP2008162604A Active JP4970359B2 (ja) 2008-06-20 2008-06-20 水底土砂の移送装置

Country Status (1)

Country Link
JP (1) JP4970359B2 (ja)

Citations (4)

* Cited by examiner, † Cited by third party
Publication number Priority date Publication date Assignee Title
JPS565065U (ja) * 1979-06-20 1981-01-17
JPS57205635A (en) * 1981-06-10 1982-12-16 Wakachiku Kensetsu Kk Dredging work and water jetting device therefor
JPS6118592A (ja) * 1984-07-04 1986-01-27 Komatsu Ltd 水中作業機械の浮沈装置
JP2005282155A (ja) * 2004-03-30 2005-10-13 Oishi Kensetsu Kk 水底有害物除去装置

Patent Citations (4)

* Cited by examiner, † Cited by third party
Publication number Priority date Publication date Assignee Title
JPS565065U (ja) * 1979-06-20 1981-01-17
JPS57205635A (en) * 1981-06-10 1982-12-16 Wakachiku Kensetsu Kk Dredging work and water jetting device therefor
JPS6118592A (ja) * 1984-07-04 1986-01-27 Komatsu Ltd 水中作業機械の浮沈装置
JP2005282155A (ja) * 2004-03-30 2005-10-13 Oishi Kensetsu Kk 水底有害物除去装置

Also Published As

Publication number Publication date
JP4970359B2 (ja) 2012-07-04

Similar Documents

Publication Publication Date Title
AU2015265775B9 (en) Floating structure and method of installing same
JP2010001615A (ja) 止水箱の設置方法および止水箱
JP2014113141A (ja) 浮沈式生け簀
CN103103972B (zh) 预制式海上固定平台及安装方法
KR102081031B1 (ko) 수륙양용 준설 바지선과 롱리치 굴삭기를 이용한 준설공법
NO344724B1 (en) An aquatic system
KR101368869B1 (ko) 부유식 구조물의 스퍼드캔 및 그 시공방법
JP4970359B2 (ja) 水底土砂の移送装置
CN105401564A (zh) 将潮流能发电装置固定于水底的施工方法和潮流发电装置
JP2012077578A (ja) 作業用足場及びその施工方法
JP2019534401A (ja) 港湾プラント、及び港湾プラントに浮体を係留するための方法
JP7775002B2 (ja) グラブ浚渫用アタッチメント、浚渫用グラブバケットおよび浚渫方法
JP2010007356A (ja) 可動式防波堤及び可動式防波堤の作動方法
KR102611415B1 (ko) 매달기 장치와 이를 이용한 준설 장치 및 해당 매달기 장치에 의한 매달기 방법, 및 해당 준설 장치에 의한 준설 방법
JP2010281128A (ja) 可動式防波堤及び可動式防波堤の作動方法
JP3881868B2 (ja) 水底下への管体敷設方法
JP2005126942A (ja) 浚渫方法及び浚渫システム
JP7483194B2 (ja) 進水装置及び進水方法
JP4903732B2 (ja) 浚渫装置
KR101475604B1 (ko) 파일형 케이슨 조류 발전 마운팅 장치
KR100556131B1 (ko) 방조제 상고공 공법
EP3670983B1 (en) A ferry and a method for assembling weights on underwater pipes
JP2001003332A (ja) ケーソン沈設方法とケーソン沈設用フロータ
KR200327394Y1 (ko) 방조제 상고공 공법에 사용되는 돌망태 행거
WO2011162613A1 (en) Unloading equipment for a flat top barge and a method for unloading same

Legal Events

Date Code Title Description
A621 Written request for application examination

Free format text: JAPANESE INTERMEDIATE CODE: A621

Effective date: 20100527

TRDD Decision of grant or rejection written
A01 Written decision to grant a patent or to grant a registration (utility model)

Free format text: JAPANESE INTERMEDIATE CODE: A01

Effective date: 20120327

A01 Written decision to grant a patent or to grant a registration (utility model)

Free format text: JAPANESE INTERMEDIATE CODE: A01

A61 First payment of annual fees (during grant procedure)

Free format text: JAPANESE INTERMEDIATE CODE: A61

Effective date: 20120404

FPAY Renewal fee payment (event date is renewal date of database)

Free format text: PAYMENT UNTIL: 20150413

Year of fee payment: 3

R150 Certificate of patent or registration of utility model

Ref document number: 4970359

Country of ref document: JP

Free format text: JAPANESE INTERMEDIATE CODE: R150

Free format text: JAPANESE INTERMEDIATE CODE: R150

R250 Receipt of annual fees

Free format text: JAPANESE INTERMEDIATE CODE: R250

R250 Receipt of annual fees

Free format text: JAPANESE INTERMEDIATE CODE: R250

R250 Receipt of annual fees

Free format text: JAPANESE INTERMEDIATE CODE: R250

R250 Receipt of annual fees

Free format text: JAPANESE INTERMEDIATE CODE: R250

R250 Receipt of annual fees

Free format text: JAPANESE INTERMEDIATE CODE: R250

R250 Receipt of annual fees

Free format text: JAPANESE INTERMEDIATE CODE: R250

R250 Receipt of annual fees

Free format text: JAPANESE INTERMEDIATE CODE: R250

R250 Receipt of annual fees

Free format text: JAPANESE INTERMEDIATE CODE: R250

R250 Receipt of annual fees

Free format text: JAPANESE INTERMEDIATE CODE: R250

R250 Receipt of annual fees

Free format text: JAPANESE INTERMEDIATE CODE: R250

R250 Receipt of annual fees

Free format text: JAPANESE INTERMEDIATE CODE: R250