JP2010000239A - 中空組織接合装置 - Google Patents

中空組織接合装置 Download PDF

Info

Publication number
JP2010000239A
JP2010000239A JP2008161927A JP2008161927A JP2010000239A JP 2010000239 A JP2010000239 A JP 2010000239A JP 2008161927 A JP2008161927 A JP 2008161927A JP 2008161927 A JP2008161927 A JP 2008161927A JP 2010000239 A JP2010000239 A JP 2010000239A
Authority
JP
Japan
Prior art keywords
staple
graft
coronary artery
support
hollow tissue
Prior art date
Legal status (The legal status is an assumption and is not a legal conclusion. Google has not performed a legal analysis and makes no representation as to the accuracy of the status listed.)
Granted
Application number
JP2008161927A
Other languages
English (en)
Other versions
JP5284692B2 (ja
Inventor
Mamoru Yasuda
守 安田
Current Assignee (The listed assignees may be inaccurate. Google has not performed a legal analysis and makes no representation or warranty as to the accuracy of the list.)
Olympus Corp
Original Assignee
Olympus Corp
Priority date (The priority date is an assumption and is not a legal conclusion. Google has not performed a legal analysis and makes no representation as to the accuracy of the date listed.)
Filing date
Publication date
Application filed by Olympus Corp filed Critical Olympus Corp
Priority to JP2008161927A priority Critical patent/JP5284692B2/ja
Priority to US12/487,971 priority patent/US7959053B2/en
Publication of JP2010000239A publication Critical patent/JP2010000239A/ja
Application granted granted Critical
Publication of JP5284692B2 publication Critical patent/JP5284692B2/ja
Expired - Fee Related legal-status Critical Current
Anticipated expiration legal-status Critical

Links

Images

Classifications

    • AHUMAN NECESSITIES
    • A61MEDICAL OR VETERINARY SCIENCE; HYGIENE
    • A61BDIAGNOSIS; SURGERY; IDENTIFICATION
    • A61B17/00Surgical instruments, devices or methods
    • A61B17/11Surgical instruments, devices or methods for performing anastomosis; Buttons for anastomosis
    • AHUMAN NECESSITIES
    • A61MEDICAL OR VETERINARY SCIENCE; HYGIENE
    • A61BDIAGNOSIS; SURGERY; IDENTIFICATION
    • A61B17/00Surgical instruments, devices or methods
    • A61B17/064Surgical staples, i.e. penetrating the tissue
    • A61B17/0644Surgical staples, i.e. penetrating the tissue penetrating the tissue, deformable to closed position
    • AHUMAN NECESSITIES
    • A61MEDICAL OR VETERINARY SCIENCE; HYGIENE
    • A61BDIAGNOSIS; SURGERY; IDENTIFICATION
    • A61B17/00Surgical instruments, devices or methods
    • A61B17/11Surgical instruments, devices or methods for performing anastomosis; Buttons for anastomosis
    • A61B17/115Staplers for performing anastomosis, e.g. in a single operation
    • AHUMAN NECESSITIES
    • A61MEDICAL OR VETERINARY SCIENCE; HYGIENE
    • A61BDIAGNOSIS; SURGERY; IDENTIFICATION
    • A61B17/00Surgical instruments, devices or methods
    • A61B17/11Surgical instruments, devices or methods for performing anastomosis; Buttons for anastomosis
    • A61B2017/1107Surgical instruments, devices or methods for performing anastomosis; Buttons for anastomosis for blood vessels
    • AHUMAN NECESSITIES
    • A61MEDICAL OR VETERINARY SCIENCE; HYGIENE
    • A61BDIAGNOSIS; SURGERY; IDENTIFICATION
    • A61B17/00Surgical instruments, devices or methods
    • A61B17/11Surgical instruments, devices or methods for performing anastomosis; Buttons for anastomosis
    • A61B2017/1139Side-to-side connections, e.g. shunt or X-connections

Landscapes

  • Health & Medical Sciences (AREA)
  • Life Sciences & Earth Sciences (AREA)
  • Surgery (AREA)
  • Heart & Thoracic Surgery (AREA)
  • Engineering & Computer Science (AREA)
  • Biomedical Technology (AREA)
  • Nuclear Medicine, Radiotherapy & Molecular Imaging (AREA)
  • Medical Informatics (AREA)
  • Molecular Biology (AREA)
  • Animal Behavior & Ethology (AREA)
  • General Health & Medical Sciences (AREA)
  • Public Health (AREA)
  • Veterinary Medicine (AREA)
  • Surgical Instruments (AREA)

Abstract

【課題】二本の中空組織を切開面同士を合わせて接合する中空組織接合装置を提供する。
【解決手段】中空組織接合装置100は、ステープル10を保持するステープルホルダー200と、冠動脈を保持する冠動脈支持機構300と、グラフトを保持するグラフト支持機構400とを有している。ステープルホルダー200とグラフト支持機構400およびこれらを上下方向に移動させる機構は、ステープルホルダー200に対する冠動脈とグラフトの間隔を制御する間隔制御機構を構成している。中空組織接合装置100はさらに、四対のピラー512,532,612,632を有している。これらのピラー512,532,612,632およびこれらを上下方向に移動させる機構は、ステープル10の針14の湾曲を制御する湾曲制御機構を構成している。間隔制御機構と湾曲制御機構は互いに独立している。
【選択図】 図3

Description

本発明は、二本の中空組織を接合する中空組織接合装置に関する。
中空組織接合装置としては、冠動脈バイパス手術などにおいて中空組織である血管を吻合する吻合装置がある。例えば、米国特許出願公開第2006/0069401号明細書は、このような装置の一例を開示している。この装置で使用するステープルは、形状記憶特性を有する弾力ばね材料で構成されており、ステープルの針をほぼ真っすぐに延ばす保持力が除去されたとき、自動的にほぼ弓形またはフック形の形態に戻るように形成されている。一方、ステープルの針をほぼ真っすぐに延ばす部材は血管同士の間隔を制御する機能を兼ねていて、血管同士の間隔が狭まるにつれてステープルの針が弓形またはフック形に戻っていく。これにより無縫合接続を実現するものである。
米国特許出願公開第2006/0069401号明細書
前述の装置で吻合した血管は、その外膜同士が隣接し、開切した血管中膜が血流にさらされる形態になる。このため、自己修復機能が働いて中膜に細胞増殖が起こる。冠動脈のように内径1〜2mmの細い血管では、細胞増殖によって血流が妨げられる危険性がある。
本発明は、この様な実状を考慮して成されたものであり、その目的は、二本の中空組織をそれらの切開面同士を合わせて接合する中空組織接合装置を提供することである。
本発明は、弾性変形可能な湾曲した複数の針を有するステープルで二本の中空組織を接合する中空組織接合装置である。本発明による中空組織接合装置は、ステープルを保持するステープルホルダーと、ステープルホルダーに保持されたステープルの針の湾曲を制御する湾曲制御機構と、ステープルホルダーに対する中空組織の間隔を制御する間隔制御機構とを有している。湾曲制御機構は、ステープルの針を実質的に真っすぐに延ばす。間隔制御機構は、ステープルホルダーに対する中空組織の間隔を減少させ、真っすぐに延びた針を中空組織に貫通させる。これら湾曲制御機構と間隔制御機構とは互いに独立している。
本発明によれば、二本の中空組織をそれらの切開面同士を合わせて接合する中空組織接合装置が提供される。
以下、図面を参照しながら本発明の実施形態について説明する。
本実施形態は、二本の中空組織を接合するためのステープルおよび中空組織接合装置に関している。中空組織は具体的には血管である。
まず図1と図2を参照しながら、二本の中空組織を接合する接合具であるステープルについて説明する。図1と図2は、本実施形態によるステープルの斜視図である。図1は、自然状態のステープルを示し、図2は、中空組織接合装置に装着された状態を示している。
図1と図2に示すように、ステープル10は、弾性変形可能なほぼリング状のリング部材12と、弾性変形可能な湾曲した複数の針14とを有している。各針14は、リング部材12の内側に固定されている。リング部材12の軸は平面上に位置し、各針14の軸は別の平面上に位置し、それらの平面は互いにほぼ直交している。ここで、部材の軸とは、その部材に沿って延びている線を言う。一例では、部材の軸は、その部材の各部をその曲率中心を通る平面で破断した断面の中心を通る線である。
リング部材12は、自然状態おいて、外側に凸に拡張した形状をしている。リング部材12は、閉じたリングの形状を有している。
各針14は、リング部材12に固定された個所に近い部分がリング部材12の外側に湾曲しており、それよりも先の部分がほぼC形状にリング部材12の内側に向かって湾曲している。各針14は自然状態において両先端が向き合っている。これらの針14は互いに接触することのないように配置されている。例えば、二つの側に針14が同数配置されており、両側の針はいずれも同じ一定のピッチで配置され、一方の側の針14は他方の側の針14に対して半ピッチずれている。
リング部材12は、ここでは線材で構成されているが、これに限らず、板材や成型材などで構成されてもよい。各針14もまた、ここでは線材で構成されているが、これに限らず、板材や成型材などで構成されてもよい。リング部材12と針14は、例えば別体の部材を接合して形成されるが、これに限らず、一体で形成されてもよい。ステープル10は、ここでは八本の針14を有しているが、針14の本数はこれに限らず、自由に変更されてもよい。また針14の間隔や相対位置や相対方向も自由に変更されてもよい。
例えば、リング部材12は超弾性材で構成されており、針14もまた超弾性材で構成されている。ここで、「超弾性材」とは、超弾性効果を示す材料を言う。
「超弾性効果」とは、フックの法則を越える大きな変形ひずみ(約8%)を与えても、応力を除くと直ちにひずみが消えて元の形状に戻ることを言う。通常の金属材料では、弾性領域を越える大きな変形ひずみ(約0.5%以上)を与えると、応力を除いても弾性変形分しかひずみは戻らず永久ひずみが残る。
超弾性の生じるメカニズムは、母相の状態で力を加えた場合に、母相からマルテンサイトが生成し、結晶がその向きを順々に変えて巨視的な外形の変形が生じる。力を除くと結晶間のつながりを保ったまま母相に戻るので、巨視的な形状も元に戻る。
超弾性効果を有する合金としては、チタン−ニッケル(Ti−Ni)合金を初めとして、銅−アルミニウム−ニッケル合金、銅−亜鉛−アルミニウム合金、ニッケル−アルミニウム合金、そして近年ではマルテンサイト変態を生じずに巨大な超弾性が発現するFe−Al系合金がある。
リング部材12と針14は、超弾性材に限らず、プラスチックやセラミックを含む、広い弾性範囲を有し、生体適合性のある任意の材料で構成されてもよい。
次に図3〜図8を参照しながら、図1と図2に示したステープルを使用して二本の中空組織を接合する中空組織接合装置について説明する。図3は、本実施形態による中空組織接合装置の外観を示している。図4〜図6は、図3に示した処置部の内部機構を示している。図7と図8は、図3に示した処置部に内蔵された切開機構を示している。
以下の記述では、中空組織接合装置は、狭くなったり閉塞したりしている冠動脈に別の血管(グラフト)を接合する冠動脈バイパス手術に使用されるいわゆる吻合装置である。つまり、二本の中空組織の一方は冠動脈であり、もう一方はグラフトである。各部材の名称はこれを反映したものとなっている。
図3に示すように、中空組織接合装置100は、冠動脈とグラフトを接合するための処置部102と、処置部102を操作するための操作部106と、処置部102と操作部106を連結している連結部104とを有している。操作部106には、処置部102の各部を操作するための操作ノブが設けられている。
図3に示すように、処置部102は、ステープル10を保持するステープルホルダー200と、冠動脈を保持する冠動脈支持機構300と、グラフトを保持するグラフト支持機構400とを有している。
ステープルホルダー200は、図4〜図6に示すように、ステープルを保持するための二本の角柱状のステープル保持部材210を有している。ステープル保持部材210は、自然状態のステープル10のリング部材12の幅よりも狭い一定の間隔を置いて配置されており、ベース部材220から前方に互いに平行に延出している。ステープル保持部材210は、それぞれ、互いに対向する面に、ステープル10のリング部材12を受ける溝212を有している。ステープル保持部材210とベース部材220は例えば一体に形成されている。
以下では、説明の便宜上、二本のステープル保持部材210の中心軸を含む平面に垂直な方向を上下方向と呼び、二本のステープル保持部材210が延出している方向を前後方向、上下方向と前後方向に垂直な方向を横方向と呼ぶ。さらに、上下方向に関して、ステープルホルダー200に対してグラフト支持機構400が位置する方向を上方とし、冠動脈支持機構300が位置する方向を下方とする。また、前後方向に関して、ステープル保持部材210の固定端から自由端に向かう方向を前方とし、その逆を後方とする。
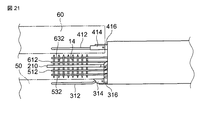
冠動脈支持機構300は、図4〜図6に示すように、互いに平行に延出している一対の冠動脈サポート312と、冠動脈サポート312が固定されている固定部314と、固定部314が取り付けられたベース部316とを有している。固定部314は、軸318を介してベース部316に連結されており、軸318の中心にベース部316に対して旋回可能である。ベース部316はフレーム110に固定されている。
グラフト支持機構400は、図4〜図6に示すように、互いに平行に延出している一対のグラフトサポート412と、グラフトサポート412が固定されている固定部414と、固定部414が取り付けられたベース部416とを有している。固定部414は、軸418を介してベース部416に連結されており、軸418の中心にベース部416に対して旋回可能である。
処置部102はまた、図4〜図6に示すように、ステープル10の下側すなわち冠動脈側の針14の湾曲を制御するため、互いに平行に延出している一対の外側ピラー512と、互いに平行に延出している一対の内側ピラー532とを有している。外側ピラー512は互いに連結されており、両者の相対位置関係は一定に維持されている。内側ピラー532は互いに連結されており、両者の相対位置関係は一定に維持されている。外側ピラー512は、ステープルホルダー200に保持されたステープル10の針14の外側と接触し、内側ピラー532は、ステープルホルダー200に保持されたステープル10の針14の内側と接触する。
同様に、処置部102は、図4〜図6に示すように、ステープル10の上側すなわちグラフト側の針14の湾曲を制御するため、互いに平行に延出している一対の外側ピラー612と、互いに平行に延出している一対の内側ピラー632とを有している。外側ピラー612は互いに連結されており、両者の相対位置関係は一定に維持されている。内側ピラー632は互いに連結されており、両者の相対位置関係は一定に維持されている。外側ピラー612は、ステープルホルダー200に保持されたステープル10の針14の外側と接触し、内側ピラー632は、ステープルホルダー200に保持されたステープル10の針14の内側と接触する。
ステープルホルダー200とグラフト支持機構400と外側ピラー512と内側ピラー532と外側ピラー612と内側ピラー632は、後述する溝カム機構によって、上下方向に移動可能である。この溝カム機構は、図3に示すように、カバー190に覆われている。
処置部102はさらに、冠動脈とグラフトを切開する切開機構700とを有している。
切開機構700は、図7と図8に示すように、冠動脈を切開するためのカッター710と、グラフトを切開するためのカッター720とを有している。カッター710は、長溝718を有する支持部716と、支持部716から延出しているアーム714と、アーム714の先端部に設けられた刃712とを有している。カッター720は、カッター710と実質的に同じ構造をしており、カッター710と同様に、長溝728を有する支持部726と、支持部726から延出しているアーム724と、アーム724の先端部に設けられた刃722とを有している。
切開機構700はまた、カッター710,720を支持する支持部材730と、支持部材730を支持する支持部材750と、支持部材750を支持するガイド770とを有している。
支持部材730は、逆U字状に折り曲げられた板状部材732と、板状部材732に固定された円柱形状のピン734とを有している。板状部材732は、中央部に位置する溝736と、溝736の下側に位置する溝742,744と、溝736の上側に位置する溝746,748とを有している。溝736は前後方向に直線的に延びている。溝742,744は前後方向に対して斜めに直線的に延び、前方端部が後方端部に対して下方に位置している。溝746,748は前後方向に対して斜めに直線的に延び、前方端部が後方端部に対して上方に位置している。ピン734は上下方向に延びている。
支持部材750は、折り曲げられた板状部材からなり、互いに平行な二つの板状部752と、二つの板状部752の間にC形状に湾曲して延びている湾曲部754とを有している。板状部752は、前方に位置する溝762と、後方に位置する溝764と、溝762の後方に位置する穴766と、溝764の前方に位置する穴768とを有している。溝762,764は互いに平行に上下方向に延びている。穴766,768は上下方向に関して中央近くに位置している。湾曲部754は、支持部材730のピン734が通る溝756を上部に有している。溝756は前後方向に延びている。
ガイド770は、支持部材750の湾曲部754の内側を通る二本のレール776と、レール776の前方端部が固定された前方固定部772と、レール776の後方端部が固定された後方固定部774とを有している。レール776は、支持部材750を前後方向に移動可能に支持している。前方固定部772は、横方向に突出した一対のピン782を有している。後方固定部774は、横方向に突出した一対のピン784を有している。
支持部材730は、ピン734が支持部材750の溝756を通り、板状部材732が支持部材750の板状部752の間に位置し、溝736が支持部材750の穴766,768と整列するように配置されており、支持部材750の穴766と支持部材730の溝736とにピン802が通されている。さらに、支持部材750の穴768と支持部材730の溝736とにピン804が通されている。このような溝カム機構により、支持部材730は、支持部材750に対して前後方向に移動可能に支持されている。
カッター720は、支持部726が支持部材730の板状部材732の間に位置し、長溝728が、支持部材730の溝746と支持部材750の溝762との重なり部分と整列するとともに、支持部材730の溝748と支持部材750の溝764との重なり部分と整列するように配置されている。さらに、支持部材750の溝762と支持部材730の溝746とカッター720の長溝728にピン796が通され、支持部材750の溝764と支持部材730の溝748とカッター720の長溝728にピン798が通されている。このような溝カム機構により、カッター720は、支持部材750に対して上下方向に移動可能に、また支持部材730に対して前後方向に移動可能に支持されている。
カッター710は、支持部716が支持部材730の板状部材732の間に位置し、長溝718が、支持部材730の溝742と支持部材750の溝762との重なり部分と整列するとともに、支持部材730の溝744と支持部材750の溝764との重なり部分と整列するように配置されている。さらに、支持部材750の溝762と支持部材730の溝742とカッター710の長溝718にピン792が通され、支持部材750の溝764と支持部材730の溝744とカッター710の長溝718にピン794が通されている。このような溝カム機構により、カッター710は、支持部材750に対して上下方向に移動可能に、また支持部材730に対して前後方向に移動可能に支持されている。
このように構成された切開機構700では、ガイド770に対する支持部材750の前後方向の移動に対して、カッター710とカッター720が前後方向に移動する。また、支持部材750に対する支持部材730の後方への移動に対しては、カッター710が下方に移動するとともにカッター720が上方に移動する。これとは逆に、支持部材750に対する支持部材730の前方への移動に対しては、カッター710が上方に移動するとともにカッター720が下方に移動する。
図8に示すように、切開機構700には、切開機構700を操作するためのワイヤーアッセンブリー810,820,830,840,850,860,870,880が取り付けられている。
ワイヤーアッセンブリー810,820は、ガイド770に対して支持部材750を前後方向に移動させるためのものである。ワイヤーアッセンブリー810はワイヤー812が支持部材750に固定されており、ワイヤー外管814がガイド770の後方固定部774に固定されている。またワイヤーアッセンブリー820はワイヤー822が支持部材750に固定されており、ワイヤー外管824がガイド770の前方固定部772に固定されている。ワイヤーアッセンブリー810,820は連結部104を通って操作部106にまで延びており、ワイヤー812,822が操作ノブに連結されている。
操作部106を操作してワイヤー822を引っ張ることによりガイド770に対して支持部材750が前方に移動される。その結果、支持部材730とカッター710,720が一体となって前方に移動される。また、操作部106を操作してワイヤー812を引っ張ることによりガイド770に対して支持部材750が後方に移動される。その結果、支持部材730とカッター710,720が一体となって後方に移動される。
ワイヤーアッセンブリー830,840は、支持部材750に対して支持部材730を前後方向に移動させるためのものである。ワイヤーアッセンブリー830はワイヤー832が支持部材730のピン734に固定されており、ワイヤー外管834が支持部材750の後部に固定されている。またワイヤーアッセンブリー840はワイヤー842が支持部材730のピン734に固定されており、ワイヤー外管844が支持部材750の前部に固定されている。ワイヤーアッセンブリー830,840は連結部104を通って操作部106にまで延びており、ワイヤー832,842が操作ノブに連結されている。
操作部106を操作してワイヤー842を引っ張ることにより支持部材750に対して支持部材730が前方に移動される。その結果、ピン792,794が上方に移動されてカッター710が上方に移動されるとともに、ピン796,798が下方に移動されてカッター720が下方に移動される。また、操作部106を操作してワイヤー832を引っ張ることにより支持部材750に対して支持部材730が後方に移動される。その結果、ピン792,794が下方に移動されてカッター710が下方に移動されるとともに、ピン796,798が上方に移動されてカッター720が上方に移動される。
ワイヤーアッセンブリー850,860は、支持部材730に対してカッター710を前後方向に移動させるためのものである。ワイヤーアッセンブリー850はワイヤー852がカッター710の支持部716の後部に固定されており、ワイヤー外管854がピン794に固定されている。またワイヤーアッセンブリー860はワイヤー862がカッター710のアーム714に固定されており、ワイヤー外管864がピン792に固定されている。ワイヤーアッセンブリー850,860は連結部104を通って操作部106にまで延びており、ワイヤー852,862が操作ノブに連結されている。
操作部106を操作してワイヤー852を引っ張ることにより支持部材730に対してカッター710が前方に移動される。また操作部106を操作してワイヤー862を引っ張ることによりカッター710に対して支持部材750が後方に移動される。
同様に、ワイヤーアッセンブリー870,880は、支持部材730に対してカッター720を前後方向に移動させるためのものである。ワイヤーアッセンブリー870はワイヤー872がカッター720の支持部726の後部に固定されており、ワイヤー外管874がピン798に固定されている。またワイヤーアッセンブリー880はワイヤー882がカッター720のアーム724に固定されており、ワイヤー外管884がピン796に固定されている。ワイヤーアッセンブリー870,880は連結部104を通って操作部106にまで延びており、ワイヤー872,882が操作ノブに連結されている。
操作部106を操作してワイヤー872を引っ張ることにより支持部材730に対してカッター720が前方に移動される。また操作部106を操作してワイヤー882を引っ張ることによりカッター720に対して支持部材750が後方に移動される。
このように切開機構700は、カッター710とカッター720とが上下方向および前後方向に互いに独立に操作可能である。
前述したステープルホルダー200と冠動脈支持機構300とグラフト支持機構400と内側ピラー532と外側ピラー612と内側ピラー632と切開機構700はいずれも、図4〜図6に示すように、フレーム110に搭載されている。
フレーム110は、図6に示すように、横方向の両側に、互いに平行に上方に延出している四対の側壁部112,114,116,118を有し、また、後方の端部に、上方に延出している一つの後端壁部120を有している。側壁部112,118は互いに同じ高さを有している。側壁部114,116は互いに同じ高さを有している。側壁部114,116の高さは側壁部112,118の高さよりも高い。側壁部112,118は、それぞれ、上下方向に延びている溝122,128を有している。溝122,128は互いに同じ長さを有している。側壁部114,116は、それぞれ、上下方向に延びている溝124,126を有している。溝124,126は互いに同じ長さを有している。側壁部114は、横方向に突出した一対のピン132を溝124の上部に有している。また側壁部116は、横方向に突出した一対のピン134を溝126の上部に有している。
グラフト支持機構400のベース部416は前後方向に延びている溝を有し、その溝の両側の部分は、切開機構700の支持部材750の板状部752の横方向の両側に延びている。ステープルホルダー200のベース部材220は前後方向に延びている溝を有し、その溝の両側の部分は、切開機構700の支持部材750の板状部752の横方向の両側に延びている。外側ピラー512と内側ピラー532はいずれも切開機構700の支持部材750の板状部752の横方向の両側に延びている。同様に、外側ピラー612と内側ピラー632のいずれもまた切開機構700の支持部材750の板状部752の横方向の両側に延びている。
前述したように、切開機構700のガイド770の前方固定部772は、横方向に突出した一対のピン782を有し、後方固定部774は、横方向に突出した一対のピン784を有している。前方固定部772のピン782はフレーム110の側壁部114の溝124を通り、後方固定部774のピン784はフレーム110の側壁部116の溝126を通っている。また、グラフト支持機構400のベース部416は横方向に突出した二対のピン432,434を有している。ピン432はフレーム110の側壁部114の溝124を通り、ピン434はフレーム110の側壁部116の溝126を通っている。さらに、ステープルホルダー200のベース部材220は横方向に突出した二対のピン222,224を有している。ピン222はフレーム110の側壁部114の溝124を通り、ピン224はフレーム110の側壁部116の溝126を通っている。
内側ピラー632は横方向に突出した二対のピン642,644を有している。ピン642はフレーム110の側壁部112の溝122を通り、ピン644はフレーム110の側壁部118の溝128を通っている。また外側ピラー612は横方向に突出した二対のピン622,624を有している。ピン622はフレーム110の側壁部112の溝122を通り、ピン624はフレーム110の側壁部118の溝128を通っている。また、外側ピラー512は横方向に突出した二対のピン522,524を有している。ピン522はフレーム110の側壁部112の溝122を通り、ピン524はフレーム110の側壁部118の溝128を通っている。また内側ピラー532は横方向に突出した二対のピン542,544を有している。ピン542はフレーム110の側壁部112の溝122を通り、ピン544はフレーム110の側壁部118の溝128を通っている。
図5に示すように、フレーム110には、フレーム110に対して前後方向に移動可能に内側スライダー140が取り付けられている。内側スライダー140は、上方から見てほぼU字形状に折り曲げられた板材で構成されており、横方向の両側に互いに平行な側壁部を有している。
内側スライダー140は、側壁部の前方部分に溝152,154,156,158を有し、側壁部の後方部分に溝162,164,166,168を有している。溝152,154,156,158はそれぞれ溝162,164,166,168と同じ形状を有している。溝152,162は全体的に前後方向に直線的に延びている。溝154,164は、前方部分が前後方向に直線的に延び、後方部分が前後方向に対して傾斜して直線的に延びている。溝154,164の後方部分は後方に向かって上方に傾斜している。溝156,166は、前方部分と後方部分とが共に前後方向に対して傾斜して直線的に延びている。溝156,166の前方部分と後方部分は共に後方に向かって上方に傾斜している。溝158,168もまた、前方部分と後方部分とが共に前後方向に対して傾斜して直線的に延びている。溝158,168の前方部分と後方部分は共に後方に向かって上方に傾斜しており、後方部分の方が前方部分に比べて傾斜が大きい。
溝152,162には、それぞれ、フレーム110の側壁部112,118の溝122,128を通って突出した内側ピラー532のピン542,544が通っている。溝154,164には、それぞれ、フレーム110の側壁部112,118の溝122,128を通って突出した外側ピラー512のピン522,524が通っている。溝156,166には、それぞれ、フレーム110の側壁部112,118の溝122,128を通って突出した外側ピラー612のピン622,624が通っている。溝158,168には、それぞれ、フレーム110の側壁部112,118の溝122,128を通って突出した内側ピラー632のピン642,644が通っている。
また内側スライダー140は、溝152,154,156,158の側壁部の後方部分に溝142を有し、溝162,164,166,168の側壁部の前方部分に溝144を有している。溝142は溝144と同じ形状を有している。溝142,144は、前方部分と後方部分とが共に前後方向に対して傾斜して直線的に延びている。溝142,144の前方部分と後方部分は共に後方に向かって上方に傾斜しており、後方部分の方が前方部分に比べて傾斜が大きい。
溝142,144には、それぞれ、フレーム110の側壁部114,116の溝124,126を通って突出したステープルホルダー200のピン222,224が通っている。
このような溝カム機構により、フレーム110に対する内側スライダー140の後方への移動に対しては、外側ピラー512とステープルホルダー200と外側ピラー612と内側ピラー632と内側ピラー532とが互いに近づいていき、それらの上下方向の相対間隔が狭まる。これとは逆に、フレーム110に対する内側スライダー140の前方への移動に対しては、外側ピラー512とステープルホルダー200と外側ピラー612と内側ピラー632と内側ピラー532とが互いに離れていき、それらの上下方向の相対間隔が広がる。
フレーム110に対して内側スライダー140を前後方向に移動させるためのワイヤーアッセンブリー550,560が設けられている。ワイヤーアッセンブリー550はワイヤー552がピン544に固定されており、ワイヤー外管554が内側スライダー140の後方端部に固定されている。またワイヤーアッセンブリー560はワイヤー562が内側スライダー140の後方端部に固定されており、ワイヤー外管564がフレーム110の後端壁部120に固定されている。ワイヤーアッセンブリー550,560は連結部104を通って操作部106にまで延びており、ワイヤー552,562が操作ノブに連結されている。
操作部106を操作してワイヤー562を引っ張ることにより内側スライダー140がフレーム110に対して後方に移動される。その結果、前述したように、内側ピラー532と外側ピラー512とステープルホルダー200と外側ピラー612と内側ピラー632の相対間隔が狭まる。また、操作部106を操作してワイヤー552を引っ張ることにより内側スライダー140がフレーム110に対して前方に移動される。その結果、前述したように、内側ピラー532と外側ピラー512とステープルホルダー200と外側ピラー612と内側ピラー632の相対間隔が広がる。
詳しくは後述するように、内側ピラー532と外側ピラー512と外側ピラー612と内側ピラー632は、ステープルホルダー200に近い状態からステープルホルダー200から離れることにより、ステープルホルダー200に保持されたステープル10の針14を湾曲した状態から実質的に真っすぐな状態に延ばす。また、内側ピラー532と外側ピラー512と外側ピラー612と内側ピラー632は、ステープルホルダー200から離れた状態からステープルホルダー200に近づくことにより、ステープルホルダー200に保持されたステープル10の針14を真っすぐに延びた状態から自然な湾曲した状態に戻す。すなわち、内側ピラー532と外側ピラー512と外側ピラー612と内側ピラー632およびこれらを上下方向に移動させる機構は、ステープル10の針14の湾曲を制御する湾曲制御機構を構成している。
図4に示すように、フレーム110には、フレーム110に対して前後方向に移動可能に外側スライダー170が取り付けられている。外側スライダー170は、前方から見てほぼU字形状に折り曲げられた板材で構成されており、横方向の両側に互いに平行な側壁部を有している。
外側スライダー170は、側壁部の前方部分に溝172,174,176,178を有し、側壁部の後方部分に溝182,184,186,188を有している。溝172,174,176,178はそれぞれ溝182,184,186,188と同じ形状を有している。溝172,182は、前方部分と中央部分と後方部分とが共に前後方向に対して傾斜して直線的に延びている。溝172,182の前方部分と中央部分と後方部分は共に後方に向かって上方に傾斜している。溝174,184もまた、前方部分と中央部分と後方部分とが共に前後方向に対して傾斜して直線的に延びている。溝174,184の前方部分と中央部分と後方部分は共に後方に向かって上方に傾斜している。溝176,186は、前方部分と中央部分とが前後方向に直線的に延び、後方部分が前後方向に対して傾斜して直線的に延びている。溝176,186の後方部分は共に後方に向かって上方に傾斜している。溝178,188は全体的に前後方向に直線的に延びている。
溝172,182には、それぞれ、フレーム110の側壁部114,116の溝124,126を通って突出したステープルホルダー200のピン222,224が通っている。溝174,184には、それぞれ、フレーム110の側壁部114,116の溝124,126を通って突出したグラフト支持機構400のピン432,434が通っている。溝176,186には、それぞれ、フレーム110の側壁部114,116の溝124,126を通って突出した切開機構700のピン782,784が通っている。溝178,188には、それぞれ、フレーム110のピン132,134が通っている。
このような溝カム機構により、フレーム110に対する外側スライダー170の後方への移動に対しては、ステープルホルダー200とグラフト支持機構400とが下方に移動して冠動脈支持機構300に近づいていき、それらの上下方向の相対間隔が狭まる。その際、切開機構700は、ステープルホルダー200とグラフト支持機構400と冠動脈支持機構300の相対間隔が大きい間だけ下方に移動し、それ以外ではその高さを維持する。これとは逆に、フレーム110に対する外側スライダー170の前方への移動に対しては、ステープルホルダー200とグラフト支持機構400とが上方に移動して冠動脈支持機構300から離れていき、それらの上下方向の相対間隔が広がる。その際、切開機構700は、ステープルホルダー200とグラフト支持機構400と冠動脈支持機構300の相対間隔が大きい間だけ上方に移動し、それ以外ではその高さを維持する。
フレーム110に対して外側スライダー170を前後方向に移動させるためのワイヤーアッセンブリー350,360が設けられている。ワイヤーアッセンブリー350はワイヤー352が外側スライダー170の後方端部に固定されており、ワイヤー外管354がフレーム110の後端壁部120に固定されている。またワイヤーアッセンブリー360はワイヤー362がフレーム110の側壁部116のピン134に固定されており、ワイヤー外管364が外側スライダー170の後方端部に固定されている。ワイヤーアッセンブリー350,360は連結部104を通って操作部106にまで延びており、ワイヤー352,362が操作ノブに連結されている。
操作部106を操作してワイヤー352を引っ張ることにより内側スライダー140がフレーム110に対して後方に移動される。その結果、前述したように、ステープルホルダー200とグラフト支持機構400と冠動脈支持機構300の相対間隔が狭まる。また、操作部106を操作してワイヤー362を引っ張ることにより内側スライダー140がフレーム110に対して前方に移動される。その結果、前述したように、ステープルホルダー200とグラフト支持機構400と冠動脈支持機構300の相対間隔が広がる。
ステープルホルダー200とグラフト支持機構400およびこれらを上下方向に移動させる機構は、ステープルホルダー200に対する二本の中空組織すなわち冠動脈とグラフトの間隔を制御する間隔制御機構を構成している。
冠動脈とグラフトの間隔を制御するこの間隔制御機構は、フレーム110に対して外側スライダー170が前後方向に移動されることにより駆動される。また、ステープル10の針14の湾曲を制御する前述した湾曲制御機構は、フレーム110に対して内側スライダー140が前後方向に移動されることにより駆動される。つまり、間隔制御機構と湾曲制御機構は互いに独立している。
続いて、グラフト支持機構400について図9〜図14を参照しながらさらに詳しく説明する。
図9に示すように、固定部414とベース部416には板ばね422が取り付けられている。板ばね422は、ベース部416に対して固定部414が真っすぐになるように、つまりベース部416に対する固定部414の傾斜がなくなるように付勢している。また図10に示すように、ベース部416には貫通穴が形成されており、その貫通穴の中にピン420が収容されている。ピン420はベース部416の貫通穴の中を進退可能である。ベース部416の貫通穴の中にはコイルバネ424が組み込まれている。コイルバネ424は、ピン420をベース部416から突出させるようにピン420を付勢している。ピン420にはワイヤー426が接続されている。ワイヤー426は連結部104を通って操作部106まで延びており、操作ノブに連結されている。
図9と図10に示した状態では、板ばね422によって付勢されている固定部414が、ベース部416から突出しているピン420に当接している。これにより、固定部414がベース部416に対して傾斜した姿勢でロックされている。本明細書では、この状態を開いた状態と呼ぶ。この開いた状態から、コイルバネ424の弾性力に逆らってワイヤー426を引っ張ると、図11に示すように、ピン420がベース部416の内部に引き込まれ、ロックが解除される。固定部414は、板ばね422から受ける力によって軸418を中心に旋回する。固定部414の旋回は、固定部414の端面がベース部416に当たって止まる。その結果、図12に示すように、固定部414は、ベース部416に対して直線的に延びた姿勢で静止する。その後、ワイヤー426を緩めると、図13に示すように、コイルバネ424の弾性力によってベース部416からピン420が突出され、固定部414の穴に進入する。これにより、固定部414がベース部416に対して直線的に延びた姿勢でロックされる。本明細書では、この状態を閉じた状態と呼ぶ。
冠動脈支持機構300も基本的にグラフト支持機構400と同様の構造をしている。すなわち、図4〜図6に示された冠動脈支持機構300は、板ばねによって付勢されている固定部314がベース部316から突出しているピン320に当接していることにより、固定部314がベース部316に対して傾斜した姿勢でロックされている。つまり、冠動脈支持機構300は開いた状態にある。この開いた状態から、ピン320がベース部316の内部に引き込まれてロックが解除されると、固定部314が軸318を中心に旋回してベース部316に対して直線的に延びた姿勢で静止する。その後、ピン320がベース部316から突出されて固定部314の穴に進入することにより、固定部314がベース部316に対して直線的に延びた姿勢でロックされる。つまり、冠動脈支持機構300は閉じた状態となる。
グラフト支持機構400と冠動脈支持機構300の相違点の一つとしては、グラフト支持機構400のグラフトサポート412は、グラフトの端面からグラフト内に挿入されるため、真っすぐであるが、冠動脈支持機構300の冠動脈サポート312は、冠動脈の側面から冠動脈に突き刺されるので、付け根部分が下方に折れ曲がった形状をしており、冠動脈内に実際に挿入される部分が固定部314への固定位置に対して下方にずれて位置している。
また冠動脈支持機構300との別の相違点として、グラフト支持機構400は、グラフトを保持するためのグラフト保持機構を有している。このため、図14に示すように、固定部414には、気体を移送するためのチューブ442が接続されている。一例では、固定部414に、グラフトと接触する面に開口した吸引孔が設けられている。吸引孔はチューブ442を介して負圧源と接続される。この構成では、負圧源によりチューブ442内を減圧し、グラフトを固定部414に吸着させることにより、グラフトが固定部414に保持される。別の例では、固定部414にバルーン444が取り付けられている。バルーン444はチューブ442を介して気体供給源に接続される。この構成では、気体供給源からバルーン444に気体を供給し、グラフト内でバルーン444を膨らませることにより、グラフトが固定部414に保持される。
以下、図15〜図51を参照しながら、中空組織接合装置100を使用してステープル10により冠動脈とグラフトを接合する動作について説明する。
図15に示すように、中空組織接合装置100は、冠動脈支持機構300とグラフト支持機構400が開いた状態に調整する。また外側ピラー512と内側ピラー532と外側ピラー612と内側ピラー632とをステープルホルダー200に近づけておく。ステープル10は、リング部材12がステープル保持部材210の溝212に整列するようにステープルホルダー200の前方に配置する。
その後、リング部材12をステープル保持部材210の溝212の間に押し込み、ステープル10をステープルホルダー200に装着する。その際、リング部材12は、押しつぶされながら、ステープル保持部材210の溝212に沿って摺動される。これにより、ステープル10は図1に示した自然状態から図2に示した変形状態に変形される。さらに、外側ピラー512と内側ピラー532と外側ピラー612と内側ピラー632とをステープルホルダー200から遠ざけて、ステープル10の針14が真っすぐにのばす。ステープル10がステープルホルダー200に装着され針14が真っすぐにのばされた状態を図16と図17に示す。
次に、図18と図19に示すように、冠動脈サポート312を冠動脈50に突き刺し、冠動脈支持機構300を閉じた状態にするとともに、グラフトサポート412と固定部414にグラフト60を端面から挿入する。さらに、グラフト保持機構によってグラフト60を固定部414に保持する。
続いて、図20〜図22に示すように、グラフト支持機構400を閉じた状態にする。これにより、冠動脈50とグラフト60とがほぼ平行に配置される。
次に、図23〜図25に示すように、グラフト支持機構400とステープルホルダー200を冠動脈支持機構300に近づけて、ステープルホルダー200に対するグラフト支持機構400と冠動脈支持機構300の間隔を狭めていき、ステープル10の針14の先端部を冠動脈50とグラフト60に刺す。冠動脈サポート312とグラフトサポート412は、それぞれ、ステープル10の針14が冠動脈50とグラフト60に刺さる際に冠動脈50とグラフト60を支持する。針14の刺しは、針14が冠動脈50とグラフト60を貫通しない程度にとどめておく。
その後、図26〜図28に示すように、切開機構700のカッター710,720を前方に移動させて、刃712,722をステープル10のリング部材12の内側の後方に配置する。図26と図27では、カッター710を見やすくするため、外側ピラー612と内側ピラー632の図示を省略している。
続いて、カッター710を下方に移動させて刃712を冠動脈50に刺すとともにカッター720を上方に移動させて刃722をグラフト60に刺した後、カッター710とカッター720を共に前方に移動させて、冠動脈50とグラフト60をそれぞれ切開する。切開が終了した状態を図29〜図31に示す。
図26〜図28は、冠動脈50とグラフト60を、互いに同じ位置を互いに同じ長さだけ切開する例を示しているが、冠動脈50とグラフト60を切開する位置と長さは異なっていてもよい。つまり、冠動脈50とグラフト60を、互いに同じ位置を異なる長さで切開してもよく、また、互いに異なる位置を互いに同じ長さだけ、または互いに異なる位置を互いに異なる長さだけ切開してもよい。
このように切開機構700は、カッター710,720の刃712,722を冠動脈50とグラフト60との間に配置し、冠動脈50とグラフト60を外側から切開する。また、ステープルホルダー200は、カッター710,720の刃712,722がステープル10と接触することのないようにステープル10を保持している。具体的には、ステープルホルダー200は、カッター710,720の刃712,722がリング部材12の内側に位置するようにステープル10を保持している。さらに、ステープルホルダー200は、ステープル10を保持している間、少なくとも冠動脈50とグラフト60を開切する間、ステープル10のリング部材12の拡張を防止する拡張防止機構として機能する。
次に、カッター710を上方に移動させて刃712を冠動脈50から離すとともにカッター720を下方に移動させて刃722をグラフト60から離した後、カッター710,720を共に後方に移動させて筐体190内に収納する。カッター710,720を収納する途中の状態を図32〜図34に示す。図32と図33では、カッター710を見やすくするため、外側ピラー612と内側ピラー632の図示を省略している。
本実施形態の中空組織接合装置100では、切開機構700に接続された四本のワイヤー852,862,872,882はそれぞれ操作部106の異なる操作ノブに連結されている。あるいは、二本のワイヤー852,872が、それらの動作が互いに逆向きになるように共通の操作ノブに連結され、二本のワイヤー862,882が、それらの動作が互いに逆向きになるように別の共通の操作ノブに連結されている。ワイヤー852,862が連結された操作ノブとワイヤー872,882が連結された操作ノブとをそれぞれ別々に操作することにより、冠動脈50とグラフト60を位置または長さまたはその両方を異なせて切開することができる。
また、中空組織接合装置100が常に冠動脈50とグラフト60の同じ位置を同じ長さだけ切開する用途に使用されるのであれば、中空組織接合装置100は、二本のワイヤー852,872が操作部106の共通の操作ノブに連結され、また二本のワイヤー862,882が操作部106の別の共通の操作ノブに連結されていてもよい。あるいは、二本のワイヤー852,872と二本のワイヤー862,882とが、それらの動作が互いに逆向きになるように共通の操作ノブに連結されていてもよい。
その後、図35〜図37に示すように、グラフト支持機構400とステープルホルダー200を冠動脈支持機構300にさらに近づけて行き、ステープルホルダー200に対するグラフト支持機構400と冠動脈支持機構300の間隔を狭める。その際、内側ピラー632と内側ピラー532はそれぞれグラフト支持機構400と冠動脈支持機構300と連動してステープルホルダー200に近づいていくが、外側ピラー612と外側ピラー512は共にステープルホルダー200に対して移動しない。このようにステープルホルダー200に対してグラフト支持機構400と冠動脈支持機構300を近づけることにより、ステープル10の針14の先端部を冠動脈50とグラフト60にそれぞれ貫通させる。その間、冠動脈サポート312とグラフトサポート412はそれぞれ冠動脈50とグラフト60を支持している。また、冠動脈サポート312とグラフトサポート412は、それぞれ、冠動脈50とグラフト60との接触個所が、ステープル10の針14が冠動脈50とグラフト60を貫通する位置からずれている。ステープル10の針14の先端部が冠動脈50とグラフト60をそれぞれ貫通した状態を図38〜図40に示す。
図40に示すように、冠動脈サポート312とグラフトサポート412は、冠動脈50やグラフト60を貫通した針14の先端部の内側に位置している。このため、冠動脈50やグラフト60を貫通した針14の先端部は、自然状態である湾曲した形状に戻ろうとするが、冠動脈サポート312とグラフトサポート412に当たり、元の湾曲した形状に戻る変形が冠動脈サポート312とグラフトサポート412によって邪魔される。つまり、ここでは、冠動脈サポート312とグラフトサポート412は、針14が元の湾曲した形状に戻る変形すなわち針14の復元を抑制する抑制部材として機能する。
次に、図41〜図43に示すように、グラフト支持機構400とステープルホルダー200を冠動脈支持機構300から遠ざけて、ステープルホルダー200に対するグラフト支持機構400と冠動脈支持機構300の間隔を広げていき、冠動脈50を貫通した針14の先端部と冠動脈サポート312との接触およびグラフト60を貫通した針14の先端部とグラフトサポート412との接触を解除する。これにより、冠動脈50を貫通した針14の先端部とグラフト60を貫通した針14の先端部は元の湾曲した形状に戻る。この針14の先端部の変形に伴って、図43に示すように、冠動脈50の切開個所の周辺部分が上方に引っ張られ、またグラフト60の切開個所の周辺部分が下方に引っ張られる。その結果、冠動脈50の切開面とグラフト60の切開面とが互いに向き合う。
続いて、図44〜図46に示すように、外側ピラー512と内側ピラー532と外側ピラー612と内側ピラー632とをステープルホルダー200に近づけていく。これにより、図46に示すように、冠動脈50の切開面とグラフト60の切開面とが互いに接触し、針14は元の湾曲した形状にほぼ戻る。
その後、図47と図48に示すように、冠動脈50とグラフト60を接合したステープル10から、ステープルホルダー200や冠動脈サポート312やグラフトサポート412などを引き抜く。これにより、ステープル10がステープルホルダー200から外れ、リング部材12が元の拡張した形状に戻る。これにより、冠動脈50とグラフト60の接合部が外側に広がり、冠動脈50とグラフト60との間に流路が確保される。接合された冠動脈50とグラフト60を図49〜図51に示す。
本実施形態は以下の利点を有している。
カッター710,720の刃712,722が冠動脈50とグラフト60との間に配置され、冠動脈50とグラフト60を外側から切開するので、中空組織接合装置100は細い冠動脈50とグラフト60に対しても使用できる。
また切開機構700は、カッター710とカッター720とが上下方向および前後方向に互いに独立に操作可能であるため、冠動脈50とグラフト60を、互いに同じまたは異なる位置を、互いに同じ長さまたは異なる長さだけ切開することが可能である。これにより、血管壁の厚さが互いに異なる冠動脈50とグラフト60をも適切に接合することが可能となる。
ステープルホルダー200は、カッター710,720の刃712,722がステープル10と接触することのないようにステープル10を保持するので、カッター710,720の刃712,722とステープル10との衝突に起因するゴミの発生が防止される。カッター710,720の刃712,722とステープル10との衝突により発生したゴミが血管内に混入することがない。
ステープルホルダー200がステープル10のリング部材12の拡張を防止しているので、冠動脈50とグラフト60を開切する際に血管にかかる負荷が少ない。
冠動脈サポート312とグラフトサポート412がステープル10の針14が冠動脈50とグラフト60を貫通する位置からずれているので、冠動脈50とグラフト60にステープル10の針14を貫通させる際に血管にかかる負荷が少ない。
冠動脈50とグラフト60の切開面同士を接触させて冠動脈50とグラフト60が接合されるので、自己修復機能による細胞増殖の発生が少なく、細胞増殖によって血流が妨げられることが低減される。
[ステープルの変形例]
以下、ステープルの変形例について説明する。上述した実施形態では、ステープル10は、リング部材12が閉じたリングの形状を有しているが、リング部材12の形状はこれに限定されない。ステープル10の変形例として、図1と図2に示したステープル10に代えて使用可能な別のステープル10を図52に示す。図52に示すように、この変形例のステープル10Aは、リング部材12Aが、開いたリングの形状を有している。そのほかの構成は、図1と図2に示したステープル10と同じである。このステープル10Aもまた、図1と図2に示したステープル10とまったく同様に、上述した中空組織接合装置100において使用される。
これまで、図面を参照しながら本発明の実施形態を述べたが、本発明は、これらの実施形態に限定されるものではなく、その要旨を逸脱しない範囲において様々な変形や変更が施されてもよい。
上述した実施形態では、ステープルホルダー200とグラフト支持機構400と外側ピラー512と内側ピラー532と外側ピラー612と内側ピラー632を上下方向に移動させる機構は、溝カム機構によって構成されているが、これに限定されるものではなく、直動リンクや揺動リンクやネジや歯車などを利用した機構によって構成されてもよい。同様に、カッター710,720を移動させる機構も、溝カム機構に限らず、直動リンクや揺動リンクやネジや歯車などを利用した機構によって構成されてもよい。これらの機構は、実施形態ではワイヤーによって操作されるが、これに限らず、複節リンクなど、任意の力伝達部材によって操作されてもよい。力伝達部材を使用する代わりに、それらの機構にアクチュエーターを設け、それを使用して操作してもよい。
本発明の実施形態における自然状態のステープルを示している。 本発明の実施形態における中空組織接合装置に装着された状態のステープルを示している。 本発明の実施形態における中空組織接合装置の外観を示している。 図3に示した処置部の内部機構を示している。 図4から外側スライダーを取り除いた処置部の内部機構を示している。 図5から内側スライダーを取り除いた処置部の内部機構を示している。 図3に示した処置部に内蔵された切開機構の分解斜視図である。 図7に示した切開機構の組み立て完成図である。 開いた状態のグラフト支持機構を斜め上方から見た斜視図である。 図9に示したグラフト支持機構を斜め下方から見た斜視図である。 図10に示した状態からピンがベース部に引っ込んでロックが解除されたグラフト支持機構を斜め下方から見た斜視図である。 ベース部に対して固定部が直線的に延びた状態のグラフト支持機構を斜め上方から見た斜視図である。 閉じた状態のグラフト支持機構を斜め下方から見た斜視図である。 グラフト支持機構に設けられたグラフトの保持機構を模式的に示している。 自然状態のステープルと中空組織接合装置の処置部とを示している。 ステープルが装着された中空組織接合装置の処置部の斜視図である。 図16に示した処置部の側面図である。 冠動脈サポートが冠動脈に挿入され、グラフトサポートがグラフトに挿入された処置部の斜視図である。 図18に示した処置部の側面図である。 グラフト支持機構が閉じられた処置部の斜視図である。 図20に示した処置部の側面図である。 図20に示した処置部の正面図である。 ステープルの針の先端部がグラフトと冠動脈に刺さった処置部の斜視図である。 図23に示した処置部の側面図である。 図23に示した処置部の正面図である。 カッターの刃がグラフトと冠動脈の間に配置された処置部の斜視図である。 図26に示した処置部の側面図である。 図26に示した処置部の正面図である。 グラフトと冠動脈の開切が終了した処置部の斜視図である。 図29に示した処置部の側面図である。 図29に示した処置部の正面図である。 カッターが筐体内に収納される途中の処置部の斜視図である。 図32に示した処置部の側面図である。 図32に示した処置部の正面図である。 ステープルの針がグラフトと冠動脈にさらに刺さった途中の処置部の斜視図である。 図35に示した処置部の側面図である。 図35に示した処置部の正面図である。 ステープルの針の先端部がグラフトと冠動脈を貫通した処置部の斜視図である。 図38に示した処置部の側面図である。 図38に示した処置部の正面図である。 グラフトサポートと冠動脈サポートがステープルホルダーから遠ざけられた処置部の斜視図である。 図41に示した処置部の側面図である。 図41に示した処置部の正面図である。 ピラーがステープルホルダーに近づけられた処置部の斜視図である。 図44に示した処置部の側面図である。 図44に示した処置部の正面図である。 グラフトと冠動脈から引き抜かれる途中の処置部の斜視図である。 図47に示した処置部の側面図である。 互いに接合されたグラフトと冠動脈の斜視図である。 図49に示したグラフトの一部を破断して示した斜視図である。 図49に示した互いに接合されたグラフトと冠動脈の断面図である。 図1と図2に示したステープルに代えて使用可能な別のステープルを示している。
符号の説明
10,10A…ステープル、12,12A…リング部材、14…針、50…冠動脈、60…グラフト、100…中空組織接合装置、102…処置部、104…連結部、106…操作部、110…フレーム、112,114,116,118…側壁部、120…後端壁部、122,124,126,128…溝、132,134…ピン、140…内側スライダー、142,144,152,154,156,158,162,164,166,168…溝、170…外側スライダー、172,174,176,178,182,184,186,188…溝、190…カバー、200…ステープルホルダー、210…ステープル保持部、212…溝、220…ベース部、222,224,232,234…ピン、300…冠動脈支持機構、312…冠動脈サポート、314…固定部、316…ベース部、318…軸、320,332…ピン、350,360…ワイヤーアッセンブリー、352,362…ワイヤー、354,364…ワイヤー外管、400…グラフト支持機構、412…グラフトサポート、414…固定部、416…ベース部、418…軸、420…ピン、422…板ばね、424…コイルバネ、426…ワイヤー、432,434…ピン、442…チューブ、444…バルーン、512…外側ピラー、522,524…ピン、532…内側ピラー、542,544…ピン、550,560…ワイヤーアッセンブリー、552,562…ワイヤー、554,564…ワイヤー外管、612…外側ピラー、622,624…ピン、632…内側ピラー、642,644…ピン、700…切開機構、710,720…カッター、712,722…刃、714,724…アーム、716,726…支持部、718,728…長溝、730…支持部材、732…板状部材、734…ピン、736,742,744,746,748…溝、750…支持部材、752…板状部、754…湾曲部、756,762,764…溝、766,768…穴、770…ガイド、772…前方固定部、774…後方固定部、776…レール、782,784,792,794,796,798,802,804…ピン、810,820,830,840,850,860,870,880…ワイヤーアッセンブリー、812,822,832,842,852,862,872,882…ワイヤー、814,824,834,844,854,864,874,884…ワイヤー外管。

Claims (4)

  1. 弾性変形可能な湾曲した複数の針を有するステープルで二本の中空組織を接合する中空組織接合装置であり、
    ステープルを保持するステープルホルダーと、
    前記ステープルホルダーに保持された前記ステープルの前記針の湾曲を制御する湾曲制御機構であり、前記針を実質的に真っすぐに延ばす湾曲制御機構と、
    前記ステープルホルダーに対する前記中空組織の間隔を制御する間隔制御機構であり、前記間隔を減少させて実質的に真っすぐに延びた前記針を前記中空組織に貫通させる間隔制御機構とを有し、
    前記湾曲制御機構と前記間隔制御機構とが互いに独立している、中空組織接合装置。
  2. 前記間隔制御機構は、二本の中空組織をそれぞれ支持する二つの中空組織支持機構と、前記二つの中空組織支持機構を互いに近づく方向および遠ざかる方向に移動させる機構とを有している、請求項1に記載の中空組織接合装置。
  3. 前記中空組織支持機構は、針の復元を抑制する抑制部材を有している、請求項2に記載の中空組織接合装置。
  4. 前記中空組織を切開する切開機構をさらに有している、請求項1〜請求項3のいずれかひとつに記載の中空組織接合装置。
JP2008161927A 2008-06-20 2008-06-20 中空組織接合装置 Expired - Fee Related JP5284692B2 (ja)

Priority Applications (2)

Application Number Priority Date Filing Date Title
JP2008161927A JP5284692B2 (ja) 2008-06-20 2008-06-20 中空組織接合装置
US12/487,971 US7959053B2 (en) 2008-06-20 2009-06-19 Hollow tissue inosculation apparatus

Applications Claiming Priority (1)

Application Number Priority Date Filing Date Title
JP2008161927A JP5284692B2 (ja) 2008-06-20 2008-06-20 中空組織接合装置

Publications (2)

Publication Number Publication Date
JP2010000239A true JP2010000239A (ja) 2010-01-07
JP5284692B2 JP5284692B2 (ja) 2013-09-11

Family

ID=41582444

Family Applications (1)

Application Number Title Priority Date Filing Date
JP2008161927A Expired - Fee Related JP5284692B2 (ja) 2008-06-20 2008-06-20 中空組織接合装置

Country Status (2)

Country Link
US (1) US7959053B2 (ja)
JP (1) JP5284692B2 (ja)

Cited By (1)

* Cited by examiner, † Cited by third party
Publication number Priority date Publication date Assignee Title
CN113520498A (zh) * 2015-02-10 2021-10-22 丽多斯医疗有限公司 用于可连通地耦合第一器官体和第二器官体的装置

Families Citing this family (13)

* Cited by examiner, † Cited by third party
Publication number Priority date Publication date Assignee Title
JP2010042204A (ja) * 2008-08-18 2010-02-25 Olympus Corp 中空組織接合装置
JP2010069051A (ja) * 2008-09-19 2010-04-02 Olympus Corp 中空組織接合装置
JP2010069054A (ja) * 2008-09-19 2010-04-02 Olympus Corp 中空組織接合装置
JP2010069052A (ja) * 2008-09-19 2010-04-02 Olympus Corp 中空組織を接合するためのステープル
JP2010069055A (ja) * 2008-09-19 2010-04-02 Olympus Corp 中空組織接合装置
JP2010069053A (ja) * 2008-09-19 2010-04-02 Olympus Corp 中空組織接合装置
JP2010069050A (ja) * 2008-09-19 2010-04-02 Olympus Corp 中空組織接合装置
US8308041B2 (en) 2010-11-10 2012-11-13 Tyco Healthcare Group Lp Staple formed over the wire wound closure procedure
US9220502B2 (en) * 2011-12-28 2015-12-29 Covidien Lp Staple formation recognition for a surgical device
US9289207B2 (en) * 2012-11-29 2016-03-22 Ethicon Endo-Surgery, Llc Surgical staple with integral pledget for tip deflection
US9554801B2 (en) 2014-03-14 2017-01-31 Cook Medical Technologies Llc Extravascular implant for facilitating sutured side-to-side arteriovenous fistula creation and maintaining patency
US11141161B2 (en) * 2018-05-08 2021-10-12 Gyrus Acmi, Inc. Full eversion anastomosis juncture formation and suturing
US12558096B2 (en) 2018-05-08 2026-02-24 Gyrus Acmi, Inc. Full eversion anastomosis juncture formation and suturing

Citations (1)

* Cited by examiner, † Cited by third party
Publication number Priority date Publication date Assignee Title
US20060069401A1 (en) * 2004-09-27 2006-03-30 Wright David W Fastener apparatus for tissue and methods of deployment and manufacture

Family Cites Families (5)

* Cited by examiner, † Cited by third party
Publication number Priority date Publication date Assignee Title
US5484451A (en) * 1992-05-08 1996-01-16 Ethicon, Inc. Endoscopic surgical instrument and staples for applying purse string sutures
US5242457A (en) * 1992-05-08 1993-09-07 Ethicon, Inc. Surgical instrument and staples for applying purse string sutures
US5868763A (en) * 1996-09-16 1999-02-09 Guidant Corporation Means and methods for performing an anastomosis
US7766924B1 (en) * 1999-07-28 2010-08-03 Cardica, Inc. System for performing anastomosis
US6391038B2 (en) * 1999-07-28 2002-05-21 Cardica, Inc. Anastomosis system and method for controlling a tissue site

Patent Citations (1)

* Cited by examiner, † Cited by third party
Publication number Priority date Publication date Assignee Title
US20060069401A1 (en) * 2004-09-27 2006-03-30 Wright David W Fastener apparatus for tissue and methods of deployment and manufacture

Cited By (1)

* Cited by examiner, † Cited by third party
Publication number Priority date Publication date Assignee Title
CN113520498A (zh) * 2015-02-10 2021-10-22 丽多斯医疗有限公司 用于可连通地耦合第一器官体和第二器官体的装置

Also Published As

Publication number Publication date
JP5284692B2 (ja) 2013-09-11
US20100181363A1 (en) 2010-07-22
US7959053B2 (en) 2011-06-14

Similar Documents

Publication Publication Date Title
JP5284692B2 (ja) 中空組織接合装置
JP2010069053A (ja) 中空組織接合装置
JP2010069054A (ja) 中空組織接合装置
JP2010069052A (ja) 中空組織を接合するためのステープル
US7285131B1 (en) System for performing anastomosis
JP2010069051A (ja) 中空組織接合装置
JP2010069050A (ja) 中空組織接合装置
JP2010042204A (ja) 中空組織接合装置
US7850703B2 (en) System for performing anastomosis
US6994714B2 (en) Anastomosis system
JP2010069055A (ja) 中空組織接合装置
US20010021857A1 (en) Anastomosis system and method for controlling a tissue site
JP5780108B2 (ja) 医療用器具
CN116138828B (zh) 一种外科切割吻合器
JP2015513975A (ja) 超弾性ステープルを備えた外科用ステープラ
EP2168504B1 (en) Rotary cutter head for surgical stapling instrument
EP2152174B1 (en) Surgical tool for removing a block of tissue from an organ
JP2004534585A (ja) 遠位吻合システム
EP3829457B1 (en) System for fixation of vessels for percutaneous fistula creation
CN115068029B (zh) 一种防止抵钉座和钉仓脱落的双连杆吻合器
JP5769365B2 (ja) カテーテル
JP6053369B2 (ja) 医療用縫合具
CN120267449A (zh) 输送装置和输送系统
JP2001198133A (ja) 首振り型自動縫合器
JP2011194162A (ja) 吻合器及び吻合針の押出方法

Legal Events

Date Code Title Description
A621 Written request for application examination

Free format text: JAPANESE INTERMEDIATE CODE: A621

Effective date: 20110518

A131 Notification of reasons for refusal

Free format text: JAPANESE INTERMEDIATE CODE: A131

Effective date: 20121023

A521 Request for written amendment filed

Free format text: JAPANESE INTERMEDIATE CODE: A523

Effective date: 20121219

TRDD Decision of grant or rejection written
A01 Written decision to grant a patent or to grant a registration (utility model)

Free format text: JAPANESE INTERMEDIATE CODE: A01

Effective date: 20130507

A61 First payment of annual fees (during grant procedure)

Free format text: JAPANESE INTERMEDIATE CODE: A61

Effective date: 20130530

LAPS Cancellation because of no payment of annual fees