JP2009298564A - Sheet post-treatment device - Google Patents

Sheet post-treatment device Download PDF

Info

Publication number
JP2009298564A
JP2009298564A JP2008156419A JP2008156419A JP2009298564A JP 2009298564 A JP2009298564 A JP 2009298564A JP 2008156419 A JP2008156419 A JP 2008156419A JP 2008156419 A JP2008156419 A JP 2008156419A JP 2009298564 A JP2009298564 A JP 2009298564A
Authority
JP
Japan
Prior art keywords
sheet
jogger
height
post
paper
Prior art date
Legal status (The legal status is an assumption and is not a legal conclusion. Google has not performed a legal analysis and makes no representation as to the accuracy of the status listed.)
Pending
Application number
JP2008156419A
Other languages
Japanese (ja)
Inventor
Takeshi Hirabayashi
健 平林
Current Assignee (The listed assignees may be inaccurate. Google has not performed a legal analysis and makes no representation or warranty as to the accuracy of the list.)
Ricoh Elemex Corp
Original Assignee
Ricoh Elemex Corp
Priority date (The priority date is an assumption and is not a legal conclusion. Google has not performed a legal analysis and makes no representation as to the accuracy of the date listed.)
Filing date
Publication date
Application filed by Ricoh Elemex Corp filed Critical Ricoh Elemex Corp
Priority to JP2008156419A priority Critical patent/JP2009298564A/en
Publication of JP2009298564A publication Critical patent/JP2009298564A/en
Pending legal-status Critical Current

Links

Images

Landscapes

  • Pile Receivers (AREA)
  • Folding Of Thin Sheet-Like Materials, Special Discharging Devices, And Others (AREA)

Abstract

<P>PROBLEM TO BE SOLVED: To improve the precision of stitching treatment by securing the favorable precision of the registration of a sheet bundle of a stitching object loaded on a registration tray. <P>SOLUTION: This sheet post-treatment device has a staple tray 22 to receive and temporarily place a sheet of the stitching object, a jogger part 70 to carry out registration in the cross direction of the sheet placed on the staple tray 22 and a saddle stitching stapler 30 to stitch the sheet registered by the jogger part 70. The jogger part 70 is provided with small joggers 72a, 72b variable in height in the thickness direction of the sheet placed on the staple tray 22. <P>COPYRIGHT: (C)2010,JPO&INPIT

Description

本発明は、複写機やプリンタなどの画像形成装置に装備され用紙整合および綴じ処理を行なう用紙後処理装置に関するものである。   The present invention relates to a sheet post-processing apparatus that is provided in an image forming apparatus such as a copying machine or a printer and performs sheet alignment and binding processing.

従来、複写機などの画像形成装置の排紙側に装着され、仕分け、スタック、綴じ、中綴じ製本を行なって排紙する用紙後処理装置が知られている(たとえば、特許文献1、2参照)。綴じ処理や、中綴じ処理を行う場合には、処理対象の用紙をステイプルトレイ(整合トレイ)に搬送して一時的に搬送方向の基準フェンスに当接した状態で積載し、さらにその用紙束の横方向の整合をジョガーフェンスの移動により行った後、ステイプラにより綴じ処理を実行する。特に、中綴じ処理を行なう場合、ステイプルトレイに用紙を積載して横整合し、その用紙を中綴じすべき中心位置に移動させた後に綴じを行なっている。   2. Description of the Related Art Conventionally, a paper post-processing apparatus that is mounted on a paper discharge side of an image forming apparatus such as a copying machine and performs paper output after sorting, stacking, binding, and saddle stitching is known (see, for example, Patent Documents 1 and 2). ). When performing the binding process or the saddle stitching process, the paper to be processed is transported to a staple tray (alignment tray) and is temporarily stacked in contact with the reference fence in the transport direction. After performing the horizontal alignment by moving the jogger fence, the binding process is executed by the stapler. In particular, when the saddle stitching process is performed, sheets are stacked on the staple tray and laterally aligned, and then the sheets are bound and moved to a center position where saddle stitching is to be performed.

特開2005−324932号公報JP 2005-324932 A 特許第3466376号公報Japanese Patent No. 3466376

しかしながら、上記に示されるような従来の技術にあっては、ジョガーの幅が広い用紙の自重により用紙がたわむスペースが広くなるため、整合精度が良好に確保されないことに起因して、結果的に高い綴じ精度が得られない。また、中綴じ処理を行なう場合、中心位置に用紙を移動する際に用紙の中央付近が膨らみ良好な整合が確保されないという問題点があった。   However, in the conventional technology as described above, the space for the paper to bend becomes wide due to the weight of the paper having a wide jogger, and as a result, good alignment accuracy is not ensured. High binding accuracy cannot be obtained. Further, when the saddle stitching process is performed, there is a problem that when the sheet is moved to the center position, the vicinity of the center of the sheet swells and good alignment cannot be secured.

本発明は、上記に鑑みてなされたものであって、整合トレイ上に積載される綴じ対象の用紙束の良好な整合精度を確保することにより、綴じ処理精度の向上を図ることを目的とする。   The present invention has been made in view of the above, and an object of the present invention is to improve binding processing accuracy by ensuring good alignment accuracy of a bundle of sheets to be bound stacked on an alignment tray. .

上述した課題を解決し、目的を達成するために、請求項1にかかる発明は、綴じ対象の用紙を受け入れて一時積載する整合トレイと、前記整合トレイ上に積載される用紙の幅方向の整合を行なう幅方向整合手段と、前記幅方向整合手段により整合された用紙を綴じる用紙綴じ手段と、を有する用紙後処理装置であって、前記幅方向整合手段は、前記整合トレイに積載される用紙の厚み方向の高さを可変するジョガー高さ可変手段を備えることを特徴とする。   In order to solve the above-described problems and achieve the object, the invention according to claim 1 is directed to an alignment tray for receiving and temporarily stacking sheets to be bound, and alignment in the width direction of the sheets stacked on the alignment tray. A sheet post-processing apparatus having a width direction aligning unit that performs the alignment and a sheet binding unit that binds the sheets aligned by the width direction aligning unit, wherein the width direction aligning unit includes the sheets stacked on the alignment tray. Jogger height varying means for varying the height in the thickness direction is provided.

また、請求項2にかかる発明は、さらに、画像を形成する画像形成装置と、前記画像形成装置本体を制御する本体制御手段と、前記本体制御手段と相互通信可能に接続され、前記本体制御手段から送信される後処理に関する信号にしたがって用紙後処理の制御を行なう後処理制御手段と、を有し、前記後処理制御手段は、前記本体制御手段から送信される用紙枚数にしたがって前記ジョガー高さ可変手段により所定の高さに設定することを特徴とする。   The invention according to claim 2 further includes an image forming apparatus that forms an image, a main body control unit that controls the main body of the image forming apparatus, and a main body control unit that are communicably connected to the main body control unit. Post-processing control means for controlling paper post-processing in accordance with signals relating to post-processing transmitted from the post-processing control means, wherein the post-processing control means is configured to adjust the jogger height according to the number of sheets transmitted from the main body control means. The predetermined height is set by the variable means.

また、請求項3にかかる発明は、前記後処理制御手段は、用紙が前記整合トレイに積載された後、前記ジョガー高さ可変手段の高さに設定することを特徴とする。   The invention according to claim 3 is characterized in that the post-processing control means sets the height of the jogger height varying means after the sheets are stacked on the alignment tray.

また、請求項4にかかる発明は、前記後処理制御手段は、前記用紙綴じ手段により用紙が綴じられた後、前記ジョガー高さ可変手段の高さを広げることを特徴とする。   Further, the invention according to claim 4 is characterized in that the post-processing control means widens the height of the jogger height varying means after the paper is bound by the paper binding means.

また、請求項5にかかる発明は、前記ジョガー高さ可変手段の一部分が、用紙面に対する高さ方向に移動する部材を含むことを特徴とする。   The invention according to claim 5 is characterized in that a part of the jogger height varying means includes a member that moves in a height direction with respect to the paper surface.

本発明にかかる用紙後処理装置は、整合トレイに積載される用紙の厚み方向の高さを、用紙の整合枚数に対応した高さに変更する手段を備えることにより、整合トレイ上で用紙を移動するときの用紙のたわみ、膨らみが抑制されるので良好な整合精度が得られ、綴じ処理精度の向上を図ることができるという効果を奏する。   The sheet post-processing apparatus according to the present invention includes means for changing the height in the thickness direction of the sheets stacked on the alignment tray to a height corresponding to the number of aligned sheets, thereby moving the sheets on the alignment tray. Since the sheet is prevented from being bent and swollen, good alignment accuracy can be obtained, and the binding processing accuracy can be improved.

以下に添付図面を参照して、この発明にかかる用紙後処理装置の最良な実施の形態を詳細に説明する。   Exemplary embodiments of a sheet post-processing apparatus according to the present invention will be explained below in detail with reference to the accompanying drawings.

(実施の形態)
図1は、本発明の実施の形態にかかる用紙後処理装置の概略構成を示す説明図である。この図1において、符号100は後述する用紙への後処理を実行する用紙後処理装置、符号200は複写機やプリンタなどの用紙に画像形成を行う画像形成装置である。用紙後処理装置100は、画像形成装置200からの指示による後処理モードにしたがって、搬送経路A,B,C,Dに用紙を分岐させ所定の処理を行うように構成されている。搬送経路Aはプルーフモード、B1,2は綴じ処理モード、搬送経路Cはシフト処理モード、搬送経路Dは中綴じモードの各搬送経路である。
(Embodiment)
FIG. 1 is an explanatory diagram showing a schematic configuration of a sheet post-processing apparatus according to an embodiment of the present invention. In FIG. 1, reference numeral 100 denotes a paper post-processing apparatus that performs post-processing on paper, which will be described later, and reference numeral 200 denotes an image forming apparatus that forms an image on paper such as a copying machine or a printer. The sheet post-processing apparatus 100 is configured to branch a sheet to the transport paths A, B, C, and D and perform a predetermined process according to a post-processing mode according to an instruction from the image forming apparatus 200. The transport path A is a proof mode, B1 and B2 are binding processing modes, the transport path C is a shift processing mode, and the transport path D is a saddle stitching mode.

図1において、符号10は本装置上部に設けられ、画像形成装置200からの用紙を積載するプルーフトレイ、符号20は綴じ処理モード時に用紙束を整合し綴じるステイプルユニット、符号40は用紙束の中綴じを行う中綴じユニット、符号60a,bはスタック/シフト動作可能で、処理後あるいはスルーパスで排紙された用紙を積載する昇降排紙トレイである。この例では昇降排紙トレイを2段構成で示しているがこれに限らず1段であってもよい。また、符号80〜82はステイプル排紙センサ、符号83はプルーフトレイ排紙センサ、符号84はストレートパス排紙センサ、符号105は受け入れセンサである。なお、その他、図示しないが、搬送タイミング用およびジャム検知に用いる各センサや、分岐爪、ソレノイドなどが設けられている。これらの図1の各ユニットの詳細については後述する。   In FIG. 1, reference numeral 10 is provided at the upper part of the apparatus, and a proof tray for stacking sheets from the image forming apparatus 200, reference numeral 20 is a staple unit for aligning and binding the sheet bundle in the binding processing mode, and reference numeral 40 is in the sheet bundle. The saddle stitching units 60a and 60b for performing binding are stacking / shifting operations, and are elevating / discharging trays for stacking sheets discharged after processing or through-pass. In this example, the elevating / discharging tray is shown in a two-stage configuration, but the present invention is not limited to this and may be one stage. Reference numerals 80 to 82 are staple discharge sensors, reference numeral 83 is a proof tray discharge sensor, reference numeral 84 is a straight path discharge sensor, and reference numeral 105 is a receiving sensor. In addition, although not shown, each sensor used for conveyance timing and jam detection, a branch claw, a solenoid, and the like are provided. Details of these units in FIG. 1 will be described later.

すなわち、図1に示すように、この用紙後処理装置100には、シフト仕分け、ステイプル処理といったさまざまな処理ユニットが付設されている。用紙受入れ部の主用紙搬送路上の下流には、副搬送路が5つの方向(A,B1,B2,C,D)に設けられている。この副搬送路は、プルーフトレイ104、ストレート(スルーパス)、ステイプルユニット20、中綴じユニット40の処理を施す方向に分かれており、その分岐点には分岐爪が揺動可能な状態で設置されている。プルーフ分岐爪(不図示)は「プルーフ搬送とストレート搬送の切替え」、ステイプル分岐爪(不図示)は「ストレート搬送とステイプル搬送の切替え」、および中綴じユニット40側への分岐爪(不図示)が行えるように揺動可能になっている。プルーフ分岐爪よびステイプル分岐爪の軸端には、分岐爪を揺動させるための図示しない揺動手段(たとえばソレノイドを駆動源とする駆動機構)が連結されている。   That is, as shown in FIG. 1, the paper post-processing apparatus 100 is provided with various processing units such as shift sorting and stapling. Sub-conveyance paths are provided in five directions (A, B1, B2, C, D) downstream of the sheet receiving unit on the main sheet conveyance path. This sub-transport path is divided into directions for processing the proof tray 104, straight (through path), stapling unit 20, and saddle stitching unit 40, and the branching claw is installed in a state in which the branching claw can swing. Yes. The proof branching claw (not shown) is “switching between proof conveyance and straight conveyance”, the staple branching claw (not shown) is “switching between straight conveyance and staple conveyance”, and the branching claw toward the saddle stitching unit 40 (not shown). Is swingable so that The shaft end of the proof branch claw and the staple branch claw is connected to a swing means (not shown) for swinging the branch claw (for example, a drive mechanism using a solenoid as a drive source).

プルーフトレイ104の下流側には、処理ユニットは付設されておらず、排出された用紙を受入れるトレイのみが排出先として設けられている。また、副搬送路「ストレート」の下流側には、搬送方向と垂直の方向に用紙をシフトさせるシフトユニットが付設されており、その下流側には、排出される用紙を受入れる昇降排紙トレイ60aが付設されている。また、ステイプルユニット20の下流側には、ステイプルされた用紙束を受け入れるトレイが付設されている。なお、ステイプルユニット20は操作部202の指示にしたがって、ユニットをスライド移動して端面綴じ、中綴じを選択的に行うように構成されている。   A processing unit is not provided on the downstream side of the proof tray 104, and only a tray for receiving discharged paper is provided as a discharge destination. Further, a shift unit that shifts the sheet in a direction perpendicular to the transport direction is attached to the downstream side of the sub-transport path “straight”, and on the downstream side, the lifting / lowering sheet discharge tray 60a that receives the discharged sheet is provided. Is attached. Further, a tray for receiving the stapled bundle of sheets is attached to the downstream side of the staple unit 20. The staple unit 20 is configured to selectively perform end face binding and saddle stitching by sliding the unit in accordance with an instruction from the operation unit 202.

図示するように、用紙搬送装置100は、画像形成装置200の排紙側に付設されており、画像形成装置200から排出された用紙を受入れて、画像形成装置200の操作部202からの入力指示により、ステイプル処理、ソート処理といった後処理を施す。   As shown in the figure, the sheet conveying apparatus 100 is attached to the sheet discharge side of the image forming apparatus 200, accepts the sheet discharged from the image forming apparatus 200, and inputs an instruction from the operation unit 202 of the image forming apparatus 200. Thus, post-processing such as stapling and sorting is performed.

図2は、図1の用紙後処理装置の制御系の主構成を示すブロック図である。この図2において、符号101は制御部、符号105は受け入れセンサ、符号106は搬送センサ群、符号80,81.82はステイプル排紙センサ、符号110はジョガーフェンス横移動部、符号111はジョガー高さ移動部、符号21はステイプラ、符号60a,bは昇降排紙トレイである。   FIG. 2 is a block diagram showing the main configuration of the control system of the sheet post-processing apparatus of FIG. In FIG. 2, reference numeral 101 denotes a control unit, reference numeral 105 denotes a receiving sensor, reference numeral 106 denotes a transport sensor group, reference numerals 80 and 81.82 denote staple discharge sensors, reference numeral 110 denotes a jogger fence lateral movement unit, and reference numeral 111 denotes a jogger height. Reference numeral 21 denotes a stapler, reference numeral 21 denotes a stapler, and reference numerals 60a and 60b denote elevating / discharging trays.

また、図2において、符号201はユーザーによる各種設定やその設定状態や装置の状態などをパネル表示するオペレーションパネルであり、操作部202、表示パネル203を備える。また、符号204は本画像形成装置を統括的に制御するシステムコントローラ101、符号205は画像形成部である。ユーザーが設定するオペレーションパネル201では、「処理」および「排出先」を選択できるように設定ボタン等が表示されるように構成される。   In FIG. 2, reference numeral 201 denotes an operation panel that displays various settings by the user, their setting states, device states, and the like, and includes an operation unit 202 and a display panel 203. Reference numeral 204 denotes a system controller 101 that performs overall control of the image forming apparatus, and reference numeral 205 denotes an image forming unit. The operation panel 201 set by the user is configured to display a setting button or the like so that “processing” and “discharge destination” can be selected.

図3は、図1におけるステイプルユニットの構成を示す説明図である。この図3において、符号21はステイプラ、符号22はステイプルトレイ、符号23は基準フェンス、符号24はジョガーフェンス、符号25は先端ストッパ、符号26は放出ベルト、符号26aは放出爪、符号27はたたきコロ、符号28は用紙押えである。   FIG. 3 is an explanatory diagram showing the configuration of the staple unit in FIG. In FIG. 3, reference numeral 21 is a stapler, reference numeral 22 is a staple tray, reference numeral 23 is a reference fence, reference numeral 24 is a jogger fence, reference numeral 25 is a tip stopper, reference numeral 26 is a discharge belt, reference numeral 26a is a discharge claw, and reference numeral 27 is a tap. A roller, 28 is a paper presser.

このように、本実施の形態では、たたきコロ27の下流側で、ステイプルトレイ22にほぼ垂直に設けられた先端ストッパ25が設けてある。先端ストッパ25はシート搬送方向に沿って往復移動可能なような構成になっている。このため、搬送ローラ15から排出されたシートの先端を突き当て飛び出し量を規制するとともに、シートを基準フェンス23側に寄せるように上流側に移動して用紙先端を搬送方向に押えることによりステイプルトレイ22へ排出された用紙の搬送方向の揃えを行う。   As described above, in the present embodiment, the front end stopper 25 provided substantially perpendicular to the staple tray 22 is provided on the downstream side of the hitting roller 27. The leading end stopper 25 is configured to be able to reciprocate along the sheet conveying direction. For this reason, the staple tray is controlled by abutting the leading edge of the sheet discharged from the conveying roller 15 and moving upstream so as to bring the sheet closer to the reference fence 23 side and pressing the leading edge of the sheet in the conveying direction. The conveyance direction of the paper discharged to 22 is aligned.

また、先端ストッパ25はシート束の放出時には、回転し搬送路から退避することでシート束の放出を可能としている。ステイプルトレイ22内には、搬送方向に放出ベルト26が架け渡されており、放出ベルト26にはステイプルされたシートを引っ掛けステイプルトレイ22から排紙トレイへ放出する放出爪26aが取り付けられている。   Further, the tip stopper 25 is rotated when the sheet bundle is discharged, and is retracted from the conveyance path, thereby enabling the sheet bundle to be discharged. In the staple tray 22, a discharge belt 26 is stretched in the conveyance direction, and a discharge claw 26 a that hooks the stapled sheet and discharges it from the staple tray 22 to the paper discharge tray is attached to the discharge belt 26.

画像形成装置よりステイプルモードが選択されると、搬送経路部に設置されている分岐爪が切り替わる。それにより搬送部より搬送された用紙はステイプル部にガイドされ入口ローラ15によりステイプルトレイ22に排出される。このとき、たたきコロ27は上がった状態になっており、ステイプルトレイ22に搬入された用紙の負荷にならない位置に待避している。先端ストッパ25はステイプルトレイ22に搬入された用紙の先端が突き当たる位置で待機しており、用紙の先端の位置を規制している。   When the staple mode is selected from the image forming apparatus, the branching claws installed in the transport path are switched. As a result, the sheet conveyed from the conveyance unit is guided to the staple unit and discharged to the staple tray 22 by the entrance roller 15. At this time, the tapping roller 27 is in a raised state, and is retracted to a position where it does not become a load of the paper carried into the staple tray 22. The leading edge stopper 25 stands by at a position where the leading edge of the paper carried into the staple tray 22 abuts, and regulates the position of the leading edge of the paper.

用紙がステイプルトレイ22に搬入されると、たたきコロ27が下がり用紙をステイプルトレイ22に押し付ける状態となり、その摩擦力により搬送力を得て、用紙を基準フェンス23に突き当てる。たたきコロ27は回転運動しており、上下動の駆動においてはステッピングモータで行っている。   When the sheet is carried into the staple tray 22, the tapping roller 27 is lowered and presses the sheet against the staple tray 22, and a conveying force is obtained by the frictional force so that the sheet is abutted against the reference fence 23. The tapping roller 27 is rotating, and a vertical motion is driven by a stepping motor.

たたきコロ27により用紙が基準フェンス23に突き当たる前には、用紙押え28も下がっており、用紙の後端を押え込み、用紙後端をステイプラ21の開口部にガイドする機構となっている。その後、ジョガーが用紙の横揃えを行う。その後にたたきコロ27、用紙押え28、先端ストッパ25、ジョガーフェンス24は所定のホーム位置に戻りつぎの用紙の受入れ状態となる。この一連の動作を指定の枚数分繰り返し、ステイプルトレイ22上に揃った用紙束を完成させる。揃った用紙束はステイプラ21によりステイプルされる。ステイプラ21の位置は指定した位置に移動可能な構成となっている。   Before the paper hits the reference fence 23 by the tapping roller 27, the paper presser 28 is also lowered, and the rear end of the paper is pressed and the rear end of the paper is guided to the opening of the stapler 21. Thereafter, the jogger performs horizontal alignment of the paper. After that, the tapping roller 27, the paper presser 28, the front end stopper 25, and the jogger fence 24 return to a predetermined home position and are ready to receive the next paper. This series of operations is repeated for a specified number of sheets to complete a sheet bundle aligned on the staple tray 22. The aligned sheet bundle is stapled by the stapler 21. The position of the stapler 21 can be moved to a designated position.

ステイプルされた用紙束は放出爪26aにより放出される。ステイプル完了の信号が送れられると放出ベルト26周りに設置されている放出爪26aが作動し、用紙束をステイプルトレイ22から押しだす状態となる。放出爪26aより押出された用紙はジョガーフェンス24などにガイドされてトレイ上に放出される。この動作で1部のステイプルされた用紙束が完成する。この動作を指定部数分繰り返し、指定された部数の用紙束をシフトトレイ上に整列させる。   The stapled sheet bundle is discharged by the discharge claw 26a. When a stapling completion signal is sent, the discharge claw 26 a installed around the discharge belt 26 is activated, and the sheet bundle is pushed out of the staple tray 22. The sheet pushed out from the discharge claw 26a is guided by the jogger fence 24 or the like and discharged onto the tray. With this operation, one stapled sheet bundle is completed. This operation is repeated for the designated number of copies, and the designated number of sheet bundles are aligned on the shift tray.

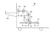
図4は、図1における中綴じユニットの構成を示す説明図である。この図4において、符号41はガイド部材、符号42,43は用紙送り方向のジョガー、符号44,45は用紙幅方向の整合を行うジョガーフェンス、符号46はステイプラ、符号47は折り部材、符号48a,48b,49a,49b,50a,50b,51a,51bは搬送ローラである。   FIG. 4 is an explanatory view showing the configuration of the saddle stitching unit in FIG. 4, reference numeral 41 is a guide member, reference numerals 42 and 43 are joggers in the paper feed direction, reference numerals 44 and 45 are jogger fences for alignment in the paper width direction, reference numeral 46 is a stapler, reference numeral 47 is a folding member, reference numerals 48a, Reference numerals 48b, 49a, 49b, 50a, 50b, 51a, 51b denote conveying rollers.

中綴じ処理をする場合、用紙は用紙送り方向の整合部材であるジョガー42および43、用紙送り方向と直交する方向の整合部材であるジョガー44および45、ガイド部材、ステイプラ46、折り部材47から成る中綴じ処理部へ搬送される。ここで綴じあるいは折り処理された用紙は、用紙を搬送するローラ対およびガイド部材から成る搬送部を経て、用紙排紙部にスタックされる。   When the saddle stitching process is performed, the sheet is composed of joggers 42 and 43 that are alignment members in the sheet feeding direction, joggers 44 and 45 that are alignment members in a direction orthogonal to the sheet feeding direction, a guide member, a stapler 46, and a folding member 47. It is conveyed to the processing unit. The sheets that have been bound or folded here are stacked on a sheet discharge section through a conveyance section including a pair of rollers for conveying the sheet and a guide member.

つぎに、図5〜図10を参照し、本発明の特徴となるジョガー部の構成および動作例について説明する。ここでは中綴じ処理をステイプルユニットで行う例について説明する。図5〜図9において符号70はジョガー部であり、大ジョガー71a,71b、用紙厚み方向に高さが可変する小ジョガー72a,72bを備えている。前述したように、用紙がステイプルトレイ22に搬送されると用紙毎にジョガー部70にて用紙の横そろえを行うため、左右に駆動する。中綴じステイプルの場合は、指定した枚数がステイプルトレイ22にスタックされて、ジョガー部70にて横そろえが行われた後に中綴じステイプラ30によりステイプルされた後、中折りされ、機外に放出される。   Next, with reference to FIGS. 5 to 10, a configuration and an operation example of the jogger unit, which is a feature of the present invention, will be described. Here, an example in which the saddle stitching process is performed by the staple unit will be described. 5 to 9, reference numeral 70 denotes a jogger section, which includes large joggers 71a and 71b, and small joggers 72a and 72b whose height is variable in the sheet thickness direction. As described above, when the sheet is conveyed to the staple tray 22, the jogger unit 70 drives the sheet to the left and right in order to align the sheet. In the case of saddle stitching staples, the specified number of sheets is stacked on the staple tray 22, aligned by the jogger unit 70, stapled by the saddle stitching stapler 30, then folded in the middle, and discharged outside the apparatus. The

中綴じ時は用紙束の略中心にてステイプルすることが望ましく、中綴じステイプラ30は固定され、用紙束90a(90b)の後端を持ち上げることにより、位置出しをしているため、用紙の後端が撓むと用紙束の中心の位置がずれて、中綴じステイプル位置30aがずれてしまう。   During saddle stitching, it is desirable to staple at approximately the center of the sheet bundle, and the saddle stitch stapler 30 is fixed and positioned by lifting the rear end of the sheet bundle 90a (90b). When the end is bent, the center position of the sheet bundle is shifted, and the saddle stitching staple position 30a is shifted.

このときの、指定したステイプル枚数が多いとき、たとえば50枚の場合、ジョガー高さLは、用紙束の厚みに合わせて15mm広くなり(図5のA視)、指定した枚数が少ないとき、たとえば2枚の場合、ジョガー高さLは5mm狭くなる(図6のB視)。このように、枚数によりジョガー高さLが変動することで、用紙束90a,90bとジョガーの内壁との隙間が少なくなり、用紙束の撓む空間がなくなる。そうすることで中綴じステイプラ30の綴じ位置30aの精度が向上する機構となっている。   At this time, when the designated number of staples is large, for example, 50, the jogger height L is increased by 15 mm according to the thickness of the sheet bundle (see A in FIG. 5), and when the designated number is small, for example, In the case of two sheets, the jogger height L is narrowed by 5 mm (see B in FIG. 6). As described above, the jogger height L varies depending on the number of sheets, so that a gap between the sheet bundles 90a and 90b and the inner wall of the jogger is reduced, and a space for bending the sheet bundle is eliminated. By doing so, the accuracy of the binding position 30a of the saddle stitching stapler 30 is improved.

ところで、ジョガー部70における小ジョガー72a,bのジョガー高さを部分的にかえてもよい。そうすることで必要な箇所のみジョガー高さLを狭くすることで用紙束落下時にかかる負荷を軽減することができ、揃え精度が向上する。本実施例ではジョガー高さの変動タイミングは用紙がステイプルトレイ22にスタックされた後であるが、それに限らない。また、中綴じ後用紙を排出する際にジョガー高さを広げてもよい。   By the way, the jogger height of the small joggers 72a and 72b in the jogger unit 70 may be partially changed. By doing so, by reducing the jogger height L only at a necessary portion, it is possible to reduce the load applied when the sheet bundle is dropped, and the alignment accuracy is improved. In this embodiment, the change timing of the jogger height is after the sheets are stacked on the staple tray 22, but is not limited thereto. Further, the jogger height may be increased when discharging the sheet after saddle stitching.

ジョガー部70における小ジョガー72a,bの高さを可変させる機構について図7〜図9を参照して説明する。この構成は用紙束90を揃える小ジョガー72a,bとその小ジョガー72a,bと同期する大ジョガー71a,71b、用紙全体を支えているステイプルトレイ22からなっている。駆動系の構成は大ジョガー71a,71bを駆動させるモータ77、その駆動を伝達するタイミングベルト78、小ジョガー72a,bを動かしジョガー高さを変動させるための駆動モータ73、小ジョガー72a,bを上下動させるためのカム74、そのカム74の回転軸75、カム74と小ジョガー72a,bを繋げている軸76などから構成されている。   A mechanism for changing the heights of the small joggers 72a and 72b in the jogger section 70 will be described with reference to FIGS. This configuration includes small joggers 72a and 72b for aligning the sheet bundle 90, large joggers 71a and 71b synchronized with the small joggers 72a and 72b, and a staple tray 22 that supports the entire sheet. The drive system is composed of a motor 77 for driving the large joggers 71a and 71b, a timing belt 78 for transmitting the drive, a drive motor 73 for moving the jogger height by moving the small joggers 72a and 72b, and the small joggers 72a and 72b. The cam 74 is configured to move up and down, the rotating shaft 75 of the cam 74, the shaft 76 connecting the cam 74 and the small joggers 72a and 72b, and the like.

つぎに、小ジョガー高さ72a,bを可変させるときの動作について説明する。ジョガー高さの情報を受けると、モータ73が回転する。モータ73が予め定めた小ジョガー72a,bの高さLに相当する指定のパルス分にしたがって回転すると、カム74が回転し、そのカム74の回転により、カム74の渦巻き状の溝に遊嵌されて回転軸75と小ジョガー72a,bはつながっているため、軸76が移動することで、小ジョガー72a,bが上下方向に移動する。軸76と大ジョガー71a,71bの接続部は長穴71cになっており、小ジョガー72a,bの上下動とは連動しない構成になっている。以上の動きにより、ジョガー高さが決まると、モータ77が駆動し、大ジョガー71a,71bと小ジョガー72a,bによる用紙揃えが行われる。   Next, an operation for changing the small jogger heights 72a and 72b will be described. When the information on the jogger height is received, the motor 73 rotates. When the motor 73 rotates in accordance with a specified pulse corresponding to a predetermined height L of the small joggers 72a and 72b, the cam 74 rotates, and the cam 74 rotates to loosely fit into the spiral groove of the cam 74. Since the rotary shaft 75 and the small joggers 72a and 72b are connected, the small joggers 72a and 72b move in the vertical direction when the shaft 76 moves. A connecting portion between the shaft 76 and the large joggers 71a and 71b is a long hole 71c, and is configured not to be interlocked with the vertical movement of the small joggers 72a and 72b. When the jogger height is determined by the above movement, the motor 77 is driven, and the paper is aligned by the large joggers 71a and 71b and the small joggers 72a and 72b.

図10は、本発明の実施の形態にかかる用紙後処理装置の動作例を示すフローチャートである。なお、この動作は制御部101によって実行される。図10において、まず、画像形成装置200のシステムコントローラ204を介して送られてくる制御信号から綴じ対象の用紙の枚数は5枚以下であるか否かを判断する(ステップS11)。ここで用紙の枚数が5枚以下であると判断した場合、さらにステイプル排紙センサ80を通過したか否かを判断する(ステップS12)。ここでステイプル排紙センサ80を通過したと判断したならば、小ジョガー72a,bの高さを3mmに移動し(ステップS13)、ジョガー揃え動作を開始し(ステップS14)、ジョガー揃え動作を続行する(ステップS15)。一方、ステップS11において用紙の枚数が5枚以下ではないと判断した場合、さらに用紙の枚数は10枚以下であるか否かを判断する(ステップS16)。ここで用紙の枚数が10枚以下であると判断した場合、さらにステイプル排紙センサ80を通過したか否かを判断する(ステップS17)。ここでステイプル排紙センサ80を通過したと判断したならば、小ジョガー72a,bの高さを5mmに移動し(ステップS18)、ジョガー揃え動作を開始し、ジョガー揃え動作を続行する。また、ステップS16において用紙の枚数が10枚以下ではないと判断した場合、さらにステイプル排紙センサ80を通過したか否かを判断する(ステップS19)。ここでステイプル排紙センサ80を通過したと判断したならば、小ジョガー72a,bの高さ10mmに移動し(ステップS20)、ジョガー揃え動作を開始し、ジョガー揃え動作を続行する。なお、上記動作において綴じ対象の用紙枚数に対する小ジョガー72a,bの高さはこの限りではなく、適宜変更してもよい。   FIG. 10 is a flowchart showing an operation example of the sheet post-processing apparatus according to the embodiment of the present invention. This operation is executed by the control unit 101. In FIG. 10, first, it is determined whether or not the number of sheets to be bound is 5 or less from a control signal sent via the system controller 204 of the image forming apparatus 200 (step S11). If it is determined that the number of sheets is 5 or less, it is further determined whether or not the sheet has passed through the staple paper discharge sensor 80 (step S12). If it is determined that the staple paper discharge sensor 80 has been passed, the height of the small joggers 72a, 72b is moved to 3 mm (step S13), the jogger alignment operation is started (step S14), and the jogger alignment operation is continued. (Step S15). On the other hand, if it is determined in step S11 that the number of sheets is not 5 or less, it is further determined whether or not the number of sheets is 10 or less (step S16). If it is determined that the number of sheets is 10 or less, it is further determined whether or not the sheet has passed through the staple paper discharge sensor 80 (step S17). If it is determined that the staple paper discharge sensor 80 has been passed, the height of the small joggers 72a, 72b is moved to 5 mm (step S18), the jogger alignment operation is started, and the jogger alignment operation is continued. If it is determined in step S16 that the number of sheets is not 10 or less, it is further determined whether or not the sheet has passed through the staple discharge sensor 80 (step S19). If it is determined that the staple paper discharge sensor 80 has been passed, the small joggers 72a and 72b are moved to a height of 10 mm (step S20), the jogger alignment operation is started, and the jogger alignment operation is continued. In the above operation, the height of the small joggers 72a and 72b with respect to the number of sheets to be bound is not limited to this, and may be appropriately changed.

したがって、以上説明した実施の形態によれば、ステイプルトレイ22(整合トレイ)上にて横揃えするジョガー部(小ジョガー72a,b)の高さが可変することにより、特に、中綴じ時のジョガー部(小ジョガー72a,b)の高さを狭くすることができ、用紙の腰により用紙が撓むスペースが狭くなることで、綴じ位置精度が向上する。   Therefore, according to the above-described embodiment, the height of the jogger portions (small joggers 72a and 72b) that are horizontally aligned on the staple tray 22 (alignment tray) can be varied, and in particular, the jogger at the time of saddle stitching. The height of the portions (small joggers 72a, 72b) can be reduced, and the space in which the paper bends due to the waist of the paper is reduced, so that the binding position accuracy is improved.

また、整合枚数により、ジョガー高さを決定することにより、ジョガー高さを整合枚数により、変えるとこができるため、整合枚数が少ない場合はジョガー高さを狭くし、整合枚数が多い場合はジョガー部(小ジョガー72a,b)の高さを広くすることで、枚数による中綴じ位置精度のバラつきを抑えることができる。   Also, by determining the jogger height according to the number of aligned sheets, the jogger height can be changed according to the number of aligned sheets. Therefore, when the number of aligned sheets is small, the jogger height is narrowed, and when the number of aligned sheets is large, the jogger section By increasing the height of the (small joggers 72a, 72b), it is possible to suppress variations in the saddle stitching position accuracy due to the number of sheets.

また、用紙が整合トレイにてスタックされた後、ジョガー高さが可変することにより、整合トレイへの排出時はジョガー高さを広く、中綴じ時はジョガー高さを狭くすることで、用紙の撓み量が少なくなり、中綴じ位置精度が向上する。   In addition, after the paper is stacked on the alignment tray, the jogger height can be changed, so that the jogger height is wide when ejecting to the alignment tray and the jogger height is narrow when saddle stitching. The amount of bending is reduced, and the saddle stitching position accuracy is improved.

また、整合時にジョガー高さが狭まり、放出時には広がることにより、整合トレイに用紙が排出される際、及び用紙束が放出される際の、ジョガーとの接触による用紙への負荷が軽減され放出精度が向上する。   In addition, the jogger height is narrowed during alignment and widened during discharge, reducing the load on the paper due to contact with the jogger when paper is discharged to the alignment tray and when a stack of paper is discharged. Will improve.

また、ジョガー部70の一部の高さが可変することにより、整合トレイに用紙が排出される際、及び用紙束が放出される際の、ジョガーとの接触による用紙への負荷が軽減され中綴じ位置精度が向上する。   Further, by changing the height of a part of the jogger unit 70, the load on the paper due to contact with the jogger when the paper is discharged to the alignment tray and when the paper bundle is discharged is reduced. Binding accuracy is improved.

以上のように、本発明にかかる用紙後処理装置は、複写機やプリンタなどの画像形成装置から排紙処理された用紙をステイプル処理する装置に有用であり、特に、ステイプル処理前の用紙の浮きなどを抑制して整合を確実に行う装置に適している。   As described above, the sheet post-processing apparatus according to the present invention is useful for an apparatus that staples a sheet discharged from an image forming apparatus such as a copying machine or a printer, and in particular, floats of the sheet before the stapling process. It is suitable for an apparatus that performs the alignment with certainty.

本発明の実施の形態にかかる用紙後処理装置の概略構成を示す説明図である。It is explanatory drawing which shows schematic structure of the paper post-processing apparatus concerning embodiment of this invention. 図1の用紙後処理装置の制御系の主構成を示すブロック図である。FIG. 2 is a block diagram illustrating a main configuration of a control system of the sheet post-processing apparatus of FIG. 1. 図1におけるステイプルユニットの構成を示す説明図である。It is explanatory drawing which shows the structure of the staple unit in FIG. 図1における中綴じユニットの構成を示す説明図である。It is explanatory drawing which shows the structure of the saddle stitching unit in FIG. 本発明の実施の形態にかかるジョガー部の構成(その1)を示す説明図である。It is explanatory drawing which shows the structure (the 1) of the jogger part concerning embodiment of this invention. 本発明の実施の形態にかかるジョガー部の構成(その2)を示す説明図である。It is explanatory drawing which shows the structure (the 2) of the jogger part concerning embodiment of this invention. 本発明の実施の形態にかかるジョガー部の構成を示す平面図である。It is a top view which shows the structure of the jogger part concerning embodiment of this invention. 図7のジョガー部におけるカム部と大ジョガー部の構成を示す説明図である。It is explanatory drawing which shows the structure of the cam part and large jogger part in the jogger part of FIG. 図7のジョガー部におけるカム部の構成を示す説明図である。It is explanatory drawing which shows the structure of the cam part in the jogger part of FIG. 本発明の実施の形態にかかる用紙後処理装置の動作例を示すフローチャートである。It is a flowchart which shows the operation example of the paper post-processing apparatus concerning embodiment of this invention.

符号の説明Explanation of symbols

20 ステイプルユニット
22 ステイプルトレイ
30 中綴じステイプラ
70 ジョガー部
71a,b 大ジョガー
72a,b 小ジョガー
74 モータ
74 カム
80,81,82 ステイプル排紙センサ
100 用紙後処理装置
101 制御部
105 受け入れセンサ
106 搬送センサ群
110 ジョガーフェン横移動部
111 ジョガー高さ移動部
200 画像形成装置
201 オペレーションパネル
204 システムコントローラ
20 Stapling unit 22 Stapling tray 30 Saddle stitching stapler 70 Jogger portion 71a, b Large jogger 72a, b Small jogger 74 Motor 74 Cam 80, 81, 82 Staple discharge sensor 100 Paper post-processing device 101 Control portion 105 Acceptance sensor 106 Conveyance sensor Group 110 jogger phen lateral moving unit 111 jogger height moving unit 200 image forming apparatus 201 operation panel 204 system controller

Claims (5)

綴じ対象の用紙を受け入れて一時積載する整合トレイと、
前記整合トレイ上に積載される用紙の幅方向の整合を行なう幅方向整合手段と、
前記幅方向整合手段により整合された用紙を綴じる用紙綴じ手段と、
を有する用紙後処理装置であって、
前記幅方向整合手段は、
前記整合トレイに積載される用紙の厚み方向の高さを可変するジョガー高さ可変手段を備えることを特徴とする用紙後処理装置。
An alignment tray for receiving and temporarily stacking sheets to be bound;
A width direction alignment means for performing alignment in the width direction of the sheets stacked on the alignment tray;
Paper binding means for binding the paper aligned by the width direction alignment means;
A sheet post-processing apparatus having
The width direction alignment means includes
A paper post-processing apparatus, comprising: a jogger height varying unit that varies a height in a thickness direction of the paper loaded on the alignment tray.
さらに、
画像を形成する画像形成装置と、
前記画像形成装置本体を制御する本体制御手段と、
前記本体制御手段と相互通信可能に接続され、前記本体制御手段から送信される後処理に関する信号にしたがって用紙後処理の制御を行なう後処理制御手段と、
を有し、
前記後処理制御手段は、
前記本体制御手段から送信される用紙枚数にしたがって前記ジョガー高さ可変手段により所定の高さに設定することを特徴とする請求項1に記載の用紙後処理装置。
further,
An image forming apparatus for forming an image;
Main body control means for controlling the image forming apparatus main body;
Post-processing control means connected to the main body control means so as to be able to communicate with each other, and controlling paper post-processing in accordance with a signal relating to post-processing transmitted from the main body control means;
Have
The post-processing control means includes
2. The sheet post-processing apparatus according to claim 1, wherein the jogger height changing unit sets the predetermined height according to the number of sheets transmitted from the main body control unit.
前記後処理制御手段は、用紙が前記整合トレイに積載された後、前記ジョガー高さ可変手段の高さに設定することを特徴とする請求項2に記載の用紙後処理装置。   3. The paper post-processing apparatus according to claim 2, wherein the post-processing control unit sets the height of the jogger height changing unit after the paper is stacked on the alignment tray. 前記後処理制御手段は、
前記用紙綴じ手段により用紙が綴じられた後、前記ジョガー高さ可変手段の高さを広げることを特徴とする請求項1、2または3に記載の用紙後処理装置。
The post-processing control means includes
The sheet post-processing apparatus according to claim 1, 2 or 3, wherein after the sheets are bound by the sheet binding means, the height of the jogger height varying means is increased.
前記ジョガー高さ可変手段の一部分が、用紙面に対する高さ方向に移動する部材を含むことを特徴とする請求項1〜4の何れか一つに記載の用紙後処理装置。   5. The sheet post-processing apparatus according to claim 1, wherein a part of the jogger height varying unit includes a member that moves in a height direction with respect to a sheet surface.
JP2008156419A 2008-06-16 2008-06-16 Sheet post-treatment device Pending JP2009298564A (en)

Priority Applications (1)

Application Number Priority Date Filing Date Title
JP2008156419A JP2009298564A (en) 2008-06-16 2008-06-16 Sheet post-treatment device

Applications Claiming Priority (1)

Application Number Priority Date Filing Date Title
JP2008156419A JP2009298564A (en) 2008-06-16 2008-06-16 Sheet post-treatment device

Publications (1)

Publication Number Publication Date
JP2009298564A true JP2009298564A (en) 2009-12-24

Family

ID=41545878

Family Applications (1)

Application Number Title Priority Date Filing Date
JP2008156419A Pending JP2009298564A (en) 2008-06-16 2008-06-16 Sheet post-treatment device

Country Status (1)

Country Link
JP (1) JP2009298564A (en)

Cited By (1)

* Cited by examiner, † Cited by third party
Publication number Priority date Publication date Assignee Title
JP7626261B2 (en) 2019-09-30 2025-02-04 セイコーエプソン株式会社 Processing device, processing device control method, and recording system

Cited By (1)

* Cited by examiner, † Cited by third party
Publication number Priority date Publication date Assignee Title
JP7626261B2 (en) 2019-09-30 2025-02-04 セイコーエプソン株式会社 Processing device, processing device control method, and recording system

Similar Documents

Publication Publication Date Title
JP5000949B2 (en) Sheet processing apparatus and image forming apparatus
US7862016B2 (en) Sheet stacking mechanism, sheet folding device, sheet post-processing apparatus and image forming apparatus
JP4336322B2 (en) Sheet folding apparatus, sheet processing apparatus, and image forming apparatus
JPH11165935A (en) Output tray and paper post-processing device
JP5273601B2 (en) Paper post-processing device
JP5287182B2 (en) Paper post-processing apparatus and image forming apparatus
JP2003276937A (en) Paper processing apparatus and image forming system
JP5994243B2 (en) Paper processing device
JP2009298564A (en) Sheet post-treatment device
JP4084300B2 (en) Paper processing apparatus, image forming system, computer program, and recording medium
JP4846983B2 (en) Paper processing apparatus and image forming apparatus
JP4787058B2 (en) Sheet processing apparatus, sheet post-processing apparatus, and image forming apparatus
JP2003231092A (en) Paper processing apparatus and image forming system
JP2004210418A (en) Paper transport device, paper processing device, and image forming system
JP2003261261A (en) Paper processing apparatus and image forming system
JP4554244B2 (en) Paper processing apparatus and image forming apparatus
JP4700327B2 (en) Paper post-processing system and image forming apparatus including the same
JP4224393B2 (en) Paper processing apparatus, image forming system, computer program, and recording medium
JP2009173379A (en) Image forming system and sheet conveying method in the system
JP5747634B2 (en) Paper post-processing device
JP2006219302A (en) Paper processing apparatus and image forming system
JP2004161489A (en) Paper processing apparatus and image forming system
JP4689443B2 (en) Recording medium post-processing apparatus and image forming apparatus
JP4758254B2 (en) Paper post-processing device
JP4348277B2 (en) Paper processing apparatus and image forming apparatus