JP2009166330A - Printing apparatus and printing apparatus control method - Google Patents

Printing apparatus and printing apparatus control method Download PDF

Info

Publication number
JP2009166330A
JP2009166330A JP2008006016A JP2008006016A JP2009166330A JP 2009166330 A JP2009166330 A JP 2009166330A JP 2008006016 A JP2008006016 A JP 2008006016A JP 2008006016 A JP2008006016 A JP 2008006016A JP 2009166330 A JP2009166330 A JP 2009166330A
Authority
JP
Japan
Prior art keywords
image data
image
display
editing
printing apparatus
Prior art date
Legal status (The legal status is an assumption and is not a legal conclusion. Google has not performed a legal analysis and makes no representation as to the accuracy of the status listed.)
Withdrawn
Application number
JP2008006016A
Other languages
Japanese (ja)
Inventor
Koji Idei
恒治 出井
Manabu Kanda
学 神田
Current Assignee (The listed assignees may be inaccurate. Google has not performed a legal analysis and makes no representation or warranty as to the accuracy of the list.)
Sony Corp
Original Assignee
Sony Corp
Priority date (The priority date is an assumption and is not a legal conclusion. Google has not performed a legal analysis and makes no representation as to the accuracy of the date listed.)
Filing date
Publication date
Application filed by Sony Corp filed Critical Sony Corp
Priority to JP2008006016A priority Critical patent/JP2009166330A/en
Publication of JP2009166330A publication Critical patent/JP2009166330A/en
Withdrawn legal-status Critical Current

Links

Images

Landscapes

  • Record Information Processing For Printing (AREA)

Abstract

【課題】多種多様な編集処理を施した画像データを容易に印刷可能とすることによりユーザの利便性の向上を実現する印刷装置を提供する。
【解決手段】印刷対象となる画像データに対応する表示用画像を表示するモニタ13を備える印刷装置1において、印刷対象となる画像データと、画像データに関連付けられている関連情報とを対応付けて記憶する画像記憶部18と、画像データに対して関連情報に応じた編集処理を施す画像処理部17と、ユーザからの操作命令が入力される操作入力部12と、編集処理が施された画像データに対応する表示用画像を逐次切り替えてモニタ13に表示させるとともに、操作入力部12に入力される操作命令に応じて、モニタ13に表示されている画像に対応する印刷用の画像データを印刷する制御部16とを備える。
【選択図】 図3
Provided is a printing apparatus that can improve user convenience by enabling easy printing of image data subjected to various editing processes.
In a printing apparatus including a monitor for displaying a display image corresponding to image data to be printed, image data to be printed is associated with related information associated with the image data. An image storage unit 18 that stores data, an image processing unit 17 that performs editing processing on image data according to related information, an operation input unit 12 that receives an operation command from a user, and an image that has undergone editing processing The display image corresponding to the data is sequentially switched and displayed on the monitor 13, and printing image data corresponding to the image displayed on the monitor 13 is printed in accordance with an operation command input to the operation input unit 12. And a control unit 16.
[Selection] Figure 3

Description

本発明は、印刷対象となる画像データに対応する表示用画像を表示する表示手段を備える印刷装置、及びその印刷装置の制御方法に関するものである。   The present invention relates to a printing apparatus including a display unit that displays a display image corresponding to image data to be printed, and a control method for the printing apparatus.

印刷対象となる画像データに対応する表示用画像を表示する表示手段を備える印刷装置には、印刷対象となる画像データを確認用として表示するだけでなく、印刷対象となる画像に対して編集処理を施す機能を内蔵しているものがある(特許文献1)。   In a printing apparatus including a display unit that displays a display image corresponding to image data to be printed, not only the image data to be printed is displayed for confirmation but also an editing process for the image to be printed Some have a built-in function (Patent Document 1).

このような印刷装置には、ユーザの利便性の向上を図るため、より多種多様な編集機能を有しているものがある。   Some of these printing apparatuses have a wider variety of editing functions in order to improve user convenience.

特開2007―274225号公報JP 2007-274225 A

しかしながら、多種多様な編集機能を有する印刷装置では、ユーザによって使いこなしていない機能が増大してしまい、ユーザの利便性の向上を十分に実現することができていない。   However, in a printing apparatus having a wide variety of editing functions, functions that are not used well by the user increase, and the convenience of the user cannot be sufficiently improved.

本発明は、このような実情に鑑みて提案されたものであり、多種多様な編集処理を施した画像データを容易に印刷可能とすることによりユーザの利便性の向上を実現する印刷装置、及びこの印刷装置の制御方法を提供することを目的とする。   The present invention has been proposed in view of such circumstances, and a printing apparatus that improves the convenience of the user by enabling easy printing of image data subjected to various editing processes, and An object of the present invention is to provide a method for controlling the printing apparatus.

上述した課題を解決するための手段として、本発明に係る印刷装置は、印刷対象となる画像データに対応する表示用画像を表示する表示手段を備える印刷装置において、印刷対象となる画像データと、画像データに関連付けられている関連情報とを対応付けて記憶する記憶手段と、記憶手段に記憶されている画像データに対して、関連情報に応じた編集処理を施す編集手段と、ユーザからの操作命令が入力される操作入力手段と、編集手段により編集処理が施された画像データに対応する表示用画像を逐次切り替えて表示手段に表示させるとともに、操作入力手段に入力される操作命令に応じて、表示手段に表示されている画像に対応する印刷用の画像データを印刷する制御手段とを備える。   As means for solving the above-described problems, a printing apparatus according to the present invention includes image data to be printed in a printing apparatus including display means for displaying a display image corresponding to image data to be printed; Storage means for associating and storing related information associated with image data, editing means for performing editing processing according to related information for image data stored in the storage means, and operation from a user The operation input means for inputting the command and the display image corresponding to the image data subjected to the editing process by the editing means are sequentially switched and displayed on the display means, and according to the operation command input to the operation input means Control means for printing image data for printing corresponding to the image displayed on the display means.

また、本発明に係る印刷装置の制御方法は、印刷対象となる画像データに対応する表示用画像を表示する表示手段を備える印刷装置の制御方法において、印刷対象となる画像データと、画像データに関連付けられている関連情報とを対応付けて記憶する記憶手段に記憶されている画像データに対して、関連情報に応じた編集処理を施す編集ステップと、編集ステップにより編集処理が施された画像データに対応する表示用画像を逐次切り替えて表示手段に表示させる表示ステップと、操作入力手段により入力されるユーザからの操作命令に応じて、表示ステップにより表示されている画像に対応する印刷用の画像データを印刷する印刷ステップとを有する。   According to another aspect of the present invention, there is provided a printing apparatus control method comprising: a display unit configured to display a display image corresponding to image data to be printed; the image data to be printed; An editing step for performing an editing process in accordance with the related information on the image data stored in the storage unit that stores the associated information in association with each other, and the image data subjected to the editing process by the editing step A display step for sequentially switching the display image corresponding to the item to be displayed on the display unit, and a print image corresponding to the image displayed in the display step in accordance with an operation command from the user input by the operation input unit A printing step for printing the data.

本発明は、編集処理が施された画像データを逐次切り替えて表示手段に表示させた状態で、操作入力手段により入力されるユーザからの操作命令に応じて、表示手段により表示されている画像に対応する印刷用の画像データを印刷するように印刷装置を制御するので、多種多様な編集処理の中から関連情報に応じて適切な編集処理が施された画像データを容易に印刷可能となりユーザの利便性の向上に実現することができる。   In the present invention, the image data that has been subjected to the editing process is sequentially switched and displayed on the display unit, and the image displayed on the display unit is displayed in accordance with an operation command from the user input by the operation input unit. Since the printing apparatus is controlled to print the corresponding image data for printing, it is possible to easily print image data that has been subjected to appropriate editing processing according to related information from various editing processing. It is possible to improve convenience.

以下、本発明を実施するための最良の形態について、図面を参照しながら詳細に説明する。   Hereinafter, the best mode for carrying out the present invention will be described in detail with reference to the drawings.

本発明が適用された印刷装置は、印刷対象となる画像データに対応する表示用画像を表示する表示手段を備える印刷装置である。以下では、このような印刷装置の一例として、図1に示すような印刷装置1を用いて本発明を実施するための最良の形態について説明する。   A printing apparatus to which the present invention is applied is a printing apparatus including display means for displaying a display image corresponding to image data to be printed. Below, the best form for implementing this invention using the printing apparatus 1 as shown in FIG. 1 as an example of such a printing apparatus is demonstrated.

すなわち、この印刷装置1は、装置本体10の前面10aに印画紙が収納された印画紙トレイ2が装着される開口部11が形成され、この前面10a側より装置本体10内へ印画紙の挿入、排出が行われる。また、この印刷装置1の上面10bには、操作ボタン12a、12b及び印刷対象となる画像等を表示するモニタ13が設けられている。また、この印刷装置1には、外部インタフェースとして、前面10aに記録メディアが装着される記録メディア用スロット14aが、側面10cに外部機器との間で通信を行う入出力端子14b、14cとHDMIなどのHD規格の映像信号を出力する映像出力端子15とが設けられている。   That is, in the printing apparatus 1, an opening 11 is formed on the front surface 10a of the apparatus main body 10 to which the photographic paper tray 2 storing photographic paper is mounted, and the photographic paper is inserted into the apparatus main body 10 from the front surface 10a side. The discharge is done. On the upper surface 10b of the printing apparatus 1, operation buttons 12a and 12b and a monitor 13 for displaying an image to be printed are provided. In addition, in the printing apparatus 1, as an external interface, a recording medium slot 14a in which a recording medium is mounted on the front surface 10a, and input / output terminals 14b and 14c for communicating with an external device on the side surface 10c and HDMI, etc. And a video output terminal 15 for outputting an HD standard video signal.

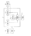
次に、この印刷装置1が装置本体10内部に備える構成について図2を参照して詳細に説明する。   Next, the configuration of the printing apparatus 1 provided in the apparatus main body 10 will be described in detail with reference to FIG.

すなわち、印刷装置1は、操作入力部12と、モニタ13と、外部I/F14と、映像出力端子15と、装置全体の動作を制御する制御部16と、印刷対象となる画像データに対して画像処理を施す画像処理部17と、画像データを記憶する画像記憶部18と、文字データなどを記憶するデータ記憶部19と、画像データに対応する表示用画像データの表示出力先を制御する出力制御部20と、画像データの印刷を行う印刷処理部21とを備える。   That is, the printing apparatus 1 performs the operation input unit 12, the monitor 13, the external I / F 14, the video output terminal 15, the control unit 16 that controls the operation of the entire apparatus, and the image data to be printed. An image processing unit 17 that performs image processing, an image storage unit 18 that stores image data, a data storage unit 19 that stores character data and the like, and an output that controls a display output destination of display image data corresponding to the image data A control unit 20 and a print processing unit 21 that prints image data are provided.

操作入力部12は、上述した操作ボタン12a、12bから構成されており、印刷装置1を使用するユーザからの操作命令が入力され、入力された操作命令を制御部16に供給する。   The operation input unit 12 includes the operation buttons 12 a and 12 b described above, and receives an operation command from a user who uses the printing apparatus 1, and supplies the input operation command to the control unit 16.

モニタ13は、印刷対象となる画像データに対応する表示用画像データを表示する表示手段であって、例えば、映像出力端子15が出力するHD規格よりも低解像度の画サイズで、後述する出力制御部20から出力される表示用画像データを表示する。また、モニタ13は、印刷対象となる画像データに対応する表示用画像を表示する以外にも、この印刷装置1を操作するための操作用画面などをユーザに表示する。   The monitor 13 is display means for displaying display image data corresponding to image data to be printed. For example, the monitor 13 has an image size lower in resolution than the HD standard output from the video output terminal 15 and output control described later. The display image data output from the unit 20 is displayed. In addition to displaying a display image corresponding to image data to be printed, the monitor 13 displays an operation screen for operating the printing apparatus 1 to the user.

外部I/F14は、記録メディア用スロット14a、入出力端子14b、14cを総称した入出力処理ブロックであって、外部から画像データが入力され、入力された画像データを画像処理部17に供給する。   The external I / F 14 is an input / output processing block that is a generic name for the recording medium slot 14 a and the input / output terminals 14 b and 14 c, and receives image data from the outside and supplies the input image data to the image processing unit 17. .

映像出力端子15は、モニタ13と異なる解像度で画像を表示するための画像データを外部へ出力する出力手段の一例として、上述したようにHDMIなどのHD規格の映像信号を出力する端子であり、後述する出力制御部20から出力される表示用画像データを、HD規格の映像信号を表示可能な表示装置に出力する。   The video output terminal 15 is a terminal that outputs an HD standard video signal such as HDMI as described above as an example of output means for outputting image data for displaying an image with a resolution different from that of the monitor 13 as described above. Display image data output from an output control unit 20 to be described later is output to a display device capable of displaying an HD standard video signal.

制御部16は、印刷装置1全体の動作を制御する制御手段であって、上述した操作入力部12から供給される操作命令に応じた動作を行うように各部を制御する。なお、制御部16が行う具体的な制御処理内容については後述する。   The control unit 16 is a control unit that controls the overall operation of the printing apparatus 1 and controls each unit so as to perform an operation according to the operation command supplied from the operation input unit 12 described above. The specific control processing content performed by the control unit 16 will be described later.

画像処理部17は、制御部16から供給される制御命令に従って、例えば次のような動作を行う。   The image processing unit 17 performs, for example, the following operation in accordance with the control command supplied from the control unit 16.

すなわち、画像処理部17は、上述する外部I/F14から供給される画像データを画像記憶部18に記憶するための処理を行う。また、印刷用の画像データに対して表示用の画像データが比較的低解像度であるため、画像処理部17は、画像記憶部18から印刷対象の画像データを読み出して、読み出した画像データに対して画素を間引く等の縮小処理を施すことによって表示用のデータに変換して、出力制御部20に供給する。また、画像処理部17は、画像記憶部18から読み出した画像データを印刷用画像データに変換して後述する印刷処理部21に供給する。   That is, the image processing unit 17 performs processing for storing the image data supplied from the external I / F 14 described above in the image storage unit 18. Further, since the display image data has a relatively low resolution with respect to the print image data, the image processing unit 17 reads out the image data to be printed from the image storage unit 18 and outputs the read image data. Then, the data is converted into display data by performing reduction processing such as thinning out the pixels and supplied to the output control unit 20. Further, the image processing unit 17 converts the image data read from the image storage unit 18 into print image data and supplies the image data to a print processing unit 21 described later.

画像記憶部18は、上述したように画像処理部17によって印刷対象となる画像データを記憶する。また、画像記憶部18は、印刷対象となる画像データを記憶するとともに、各画像データに関連付けられている関連情報を、印刷対象となる画像データに対応付けて記憶する。   The image storage unit 18 stores the image data to be printed by the image processing unit 17 as described above. The image storage unit 18 stores image data to be printed, and stores related information associated with each image data in association with the image data to be printed.

ここで、画像記憶部18が記憶する関連情報とは、具体的に、その画像データが撮像されたときの撮像時刻を示す撮像時刻情報、GPSなどの位置情報取得手段によって取得された撮像位置を示す撮像位置情報である。また、これ以外にも、画像記憶部18は、関連情報として、その画像データが撮像されたときのシャッタ速度、絞り値を示す情報を記憶するようにしてもよい。   Here, the related information stored in the image storage unit 18 is specifically the imaging time information indicating the imaging time when the image data is imaged, and the imaging position acquired by the positional information acquisition means such as GPS. Imaging position information shown. In addition to this, the image storage unit 18 may store information indicating the shutter speed and the aperture value when the image data is captured as the related information.

データ記憶部19は、上述したように文字データなどを記憶する記憶手段であって、例えば操作用画面に用いられる文字情報を記憶している。また、データ記憶部19に記憶されているデータは、画像処理部17によって読み出される。   The data storage unit 19 is a storage unit that stores character data as described above, and stores character information used for an operation screen, for example. Further, the data stored in the data storage unit 19 is read out by the image processing unit 17.

出力制御部20は、画像処理部17から供給される表示用画像データを、モニタ13及び映像出力端子15に出力する出力制御手段である。具体的に、出力制御部20は、モニタ13及び映像出力端子15のうち何れか一方を表示出力先とする。また、上述したようにモニタ13で表示される画サイズが比較的小さいので、出力制御部20は、モニタ13が出力先であって、モニタ13の表示出力解像度より高い解像度の表示用画像データを表示するときには、画像処理部17から供給される画像データに対して画素を間引く等の縮小処理を施してからモニタ13に出力する。   The output control unit 20 is output control means for outputting the display image data supplied from the image processing unit 17 to the monitor 13 and the video output terminal 15. Specifically, the output control unit 20 sets one of the monitor 13 and the video output terminal 15 as a display output destination. In addition, since the image size displayed on the monitor 13 is relatively small as described above, the output control unit 20 outputs display image data with a resolution higher than the display output resolution of the monitor 13, where the monitor 13 is the output destination. When displaying, the image data supplied from the image processing unit 17 is subjected to a reduction process such as thinning out pixels, and then output to the monitor 13.

印刷処理部21は、熱転写型の印刷手段であって、サーマルヘッド211と、プラテンローラ212とを備える。印刷処理部21は、インクリボン31を収納したインクリボンカートリッジ3が装着され、複数の発熱抵抗体が形成されたサーマルヘッド211とこのサーマルヘッド211と対向する位置に設けられたプラテンローラ212との間に、インクリボン31と印画紙トレイ2から挿入される印画紙4とを走行させ、サーマルヘッド211により熱エネルギをインクリボン31に印加することによってインクリボン31の染料を印画紙4に熱転写して印刷する。   The print processing unit 21 is a thermal transfer type printing unit, and includes a thermal head 211 and a platen roller 212. The print processing unit 21 includes an ink ribbon cartridge 3 containing an ink ribbon 31 and a thermal head 211 on which a plurality of heating resistors are formed, and a platen roller 212 provided at a position facing the thermal head 211. In the meantime, the ink ribbon 31 and the photographic paper 4 inserted from the photographic paper tray 2 are run, and thermal energy is applied to the ink ribbon 31 by the thermal head 211 to thermally transfer the dye of the ink ribbon 31 to the photographic paper 4. Print.

なお、本実施形態に係る印刷装置1は、上述した熱転写型の印刷処理を行うがこれに限定されるものではなく、インクジェット型などの他の印刷処理を行うものであってもよい。   The printing apparatus 1 according to the present embodiment performs the above-described thermal transfer type printing process, but is not limited thereto, and may perform other printing processes such as an ink jet type.

以上のような構成からなる印刷装置1では、印刷装置1に内蔵されているモニタ13、又は映像出力端子15と接続されたディスプレイなどに印刷対象となる画像データに対応する表示用画像データを確認用として表示することができる。   In the printing apparatus 1 configured as described above, display image data corresponding to image data to be printed is confirmed on a monitor 13 incorporated in the printing apparatus 1 or a display connected to the video output terminal 15. Can be displayed for use.

印刷装置1は、上述したように画像記憶部18に記憶されている画像データを単に印刷するだけでなく、画像処理部17により画像データに対して多種多様の編集処理を施す機能を有している。   The printing apparatus 1 has a function of not only simply printing the image data stored in the image storage unit 18 as described above, but also performing various editing processes on the image data by the image processing unit 17. Yes.

具体的に、編集処理を施した画像データを印刷する処理は、次のような動作によって実現される。   Specifically, the process of printing the image data subjected to the editing process is realized by the following operation.

すなわち、印刷装置1では、多種多様の編集処理の中から任意の編集処理を選択するための操作用画面をモニタ13等に表示する。そして、印刷装置1は、ユーザによって操作入力部12が操作されることによって所望とする編集処理が選択される。所望とする編集処理が選択されると、印刷装置1では、画像処理部17が画像記憶部18から画像データを読み出して編集処理を施して、その編集処理を施した印刷用の画像データを印刷処理部21に出力される。   In other words, the printing apparatus 1 displays an operation screen for selecting an arbitrary editing process from various editing processes on the monitor 13 or the like. The printing apparatus 1 selects a desired editing process by operating the operation input unit 12 by the user. When a desired editing process is selected, in the printing apparatus 1, the image processing unit 17 reads the image data from the image storage unit 18, performs the editing process, and prints the image data for printing subjected to the editing process. The data is output to the processing unit 21.

このようにして、印刷装置1では、モニタ13等に表示される操作用画面に応じてユーザが操作入力部12を操作することによって所望とする編集処理を画像データに施すことができるが、編集処理の種類が多種多様になると、所望とする編集処理を行うまでの操作が煩雑になるため、結果として編集処理がユーザによって使われる機会が減少してしまう。   In this way, in the printing apparatus 1, the user can perform desired editing processing on the image data by operating the operation input unit 12 according to the operation screen displayed on the monitor 13 or the like. When the types of processing are varied, the operation until the desired editing process is performed becomes complicated, and as a result, the opportunity for the editing process to be used by the user is reduced.

そこで、第1の実施形態に係る印刷装置1の制御処理では、図3に示すような「お勧め編集モード」を実行することによって、ユーザの利便性の向上を図る。   Therefore, in the control process of the printing apparatus 1 according to the first embodiment, the “recommended editing mode” as shown in FIG. 3 is executed to improve user convenience.

なお、図3に示す印刷処理の前段として、印刷装置1には、その画像記憶部18に外部I/F14から取り込んだ印刷対象となる複数の画像データと、各画像データの関連情報を記憶しているものとする。また、印刷装置1に内蔵されているモニタ13又は映像出力端子15と接続されているディスプレイには、印刷装置1を操作するための操作用画面が表示されているものとする。   As a pre-stage of the printing process shown in FIG. 3, the printing apparatus 1 stores a plurality of pieces of image data to be printed imported from the external I / F 14 in the image storage unit 18 and related information of each image data. It shall be. Further, it is assumed that an operation screen for operating the printing apparatus 1 is displayed on the display 13 connected to the monitor 13 or the video output terminal 15 built in the printing apparatus 1.

ステップS11において、制御部16は、操作入力部12による操作入力に基づいて、操作用画面内に表示されている「お勧め編集モード」が選択されたか否かを判断する。制御部16は、「お勧め編集モード」が選択されるまでこの処理を繰り返し行い、「お勧め編集モード」が選択されるとステップS12に進む。   In step S <b> 11, the control unit 16 determines whether or not the “recommended editing mode” displayed in the operation screen is selected based on the operation input by the operation input unit 12. The control unit 16 repeats this process until “recommended editing mode” is selected. When “recommended editing mode” is selected, the process proceeds to step S12.

ステップS12において、制御部16は、各画像データの関連情報に基づいて画像記憶部18から画像データを選択して、ステップS13に進む。具体的に、制御部16は、画像記憶部18に記憶されている画像データを、関連情報である撮像時刻情報に基づいて、例えば同日に撮像された画像データにグループ分けをして、任意の1つのグループを選択する。なお、制御部16は、このグループ分けに係る処理として、例えば、同一の撮像位置で撮像された画像データにグループ分けするように、撮像位置情報に基づいて行うようにしてもよい。   In step S12, the control unit 16 selects image data from the image storage unit 18 based on the related information of each image data, and proceeds to step S13. Specifically, the control unit 16 groups the image data stored in the image storage unit 18 into, for example, image data captured on the same day based on imaging time information that is related information, and arbitrarily Select one group. The control unit 16 may perform the grouping process based on the imaging position information so as to group the image data captured at the same imaging position, for example.

ステップS13において、制御部16は、選択されたグループ内の画像データの関連情報に基づいて、このグループの撮像内容を例えば次のようにして分析してステップS14に進む。   In step S13, the control unit 16 analyzes the captured content of this group based on the related information of the image data in the selected group, for example, and proceeds to step S14.

具体的に、制御部16は、撮像位置情報から、グループ内の画像データの撮像内容が海岸、スキー場、ホテルなどの結婚式場で撮像されたものと分析する。また、制御部16は、関連情報の撮像時刻情報から、グループ内の画像データの撮像内容が、クリスマスパーティ、お正月、雛祭り、七五三などの目的で撮像されたものと分析する。   Specifically, the control unit 16 analyzes from the imaging position information that the imaging content of the image data in the group is captured at a wedding hall such as a beach, a ski resort, or a hotel. Further, the control unit 16 analyzes from the imaging time information of the related information that the imaging content of the image data in the group is captured for the purpose of Christmas party, New Year, Hinamatsuri, Shichigosan, etc.

ステップS14において、制御部16は、分析された撮像内容に相応しい編集処理を選択する。   In step S14, the control unit 16 selects an editing process appropriate for the analyzed imaging content.

ステップS15において、制御部16は、選択した編集処理をグループ内の画像データに施させるように画像処理部17を制御して、ステップS16に進む。具体的に、画像処理部17は、次のような編集処理を施すこととなる。   In step S15, the control unit 16 controls the image processing unit 17 to perform the selected editing process on the image data in the group, and the process proceeds to step S16. Specifically, the image processing unit 17 performs the following editing process.

第1の編集例として、撮像位置情報から結婚式で撮像されたものと分析されたグループの画像データに対して、画像処理部17は、図4に示すように、編集画像データのフレーム40の中央部に画像データ41を配置するとともに、分析された撮像内容に相応しい処理として、フレーム40の余白部に、予め画像記憶部18等に記憶されている花柄をモチーフにした画像データ42、43を配置する編集処理を施す。   As a first editing example, for the image data of the group analyzed as captured at the wedding from the imaging position information, the image processing unit 17 displays the frame 40 of the edited image data as shown in FIG. The image data 41 is arranged in the central portion, and the image data 42, 43 having a floral pattern as a motif stored in advance in the image storage unit 18 or the like in the margin of the frame 40 as processing suitable for the analyzed captured content. Edit processing to place the.

第2の編集例として、撮像位置情報から海岸であり撮像時刻情報から季節が夏であると分析されたグループの画像データに対して、画像処理部17は、図5に示すように、分析された撮像内容に相応しい処理として、グループ内の画像データ51、52とをそれぞれフレーム50の右斜め上部と左斜め下部に配置して、これらの画像データの余白部に、予め画像記憶部18等に記憶されている貝殻や椰子をモチーフにした画像データ53、54を配置する編集処理を施す。   As a second editing example, as shown in FIG. 5, the image processing unit 17 analyzes the image data of the group analyzed from the imaging position information to the coast and from the imaging time information to the season being summer. As processing suitable for the captured contents, the image data 51 and 52 in the group are respectively arranged in the upper right and lower left portions of the frame 50, and the margins of these image data are stored in advance in the image storage unit 18 or the like. An editing process is performed to arrange the image data 53 and 54 using the stored shells and cocoons as motifs.

第3の編集例として、撮像位置情報からスキー場であり、撮像時刻情報から季節が冬であると分析されたグループの画像データに対して、画像処理部17は、図6に示すように、分析された撮像内容に相応しい処理として、グループ内の画像データ61、62とをそれぞれフレーム60の右斜め上部と左斜め下部に配置して、これらの画像データの余白部に、予め画像記憶部18等に記憶されている雪だるまや雪の結晶をモチーフにした画像データ63、64を配置する編集処理を施す。   As a third editing example, for the image data of the group analyzed from the imaging position information as a ski resort and from the imaging time information as the season being winter, the image processing unit 17, as shown in FIG. As processing suitable for the analyzed imaging content, the image data 61 and 62 in the group are respectively arranged on the upper right and lower left sides of the frame 60, and the image storage unit 18 is preliminarily placed in the margins of these image data. Edit processing for arranging image data 63 and 64 using a snowman or a snow crystal as a motif is stored.

第4の編集例として、海外で撮像されたものと分析されたグループの画像データに対して、画像処理部17は、図7に示すように、フレーム70の左斜め上部に画像データ71を配置するとともに、分析された撮像内容に相応しい処理として予め画像記憶部18等に記憶されている航空機をモチーフにした画像データ72とを配置する編集処理を施す。   As a fourth editing example, the image processing unit 17 arranges image data 71 in the upper left part of the frame 70 as shown in FIG. At the same time, an editing process for arranging image data 72 using an aircraft as a motif stored in advance in the image storage unit 18 or the like is performed as a process appropriate to the analyzed captured content.

ステップS16において、制御部16は、上述した図4〜図7に示すような画像処理部17によって編集処理が施された編集画像データに対応する表示用画像データを逐次切り替えてモニタ13等に表示する処理を行う。   In step S16, the control unit 16 sequentially switches the display image data corresponding to the edited image data subjected to the editing process by the image processing unit 17 as shown in FIGS. 4 to 7 and displays it on the monitor 13 or the like. Perform the process.

ステップS17において、制御部16は、モニタ13等に編集画像データに対応する表示用画像データが逐次切り替えて表示されている状態で、この表示画面を視認しているユーザによって印刷操作が行われたか否かを判断する。制御部16は、印刷操作が行われたときステップS18に進み、印刷操作が行われなかったときステップS16に処理を戻る。   In step S <b> 17, the control unit 16 has performed a printing operation by the user viewing the display screen in a state where the display image data corresponding to the edited image data is sequentially switched and displayed on the monitor 13 or the like. Judge whether or not. The control unit 16 proceeds to step S18 when the printing operation is performed, and returns to step S16 when the printing operation is not performed.

ステップS18において、制御部16は、ユーザによって印刷操作が行われた時にモニタ13等に表示されている表示画像に対応する編集画像データを印刷するように、画像処理部17と印刷処理部21とを制御する。   In step S18, the control unit 16 prints the edited image data corresponding to the display image displayed on the monitor 13 or the like when the printing operation is performed by the user, and the image processing unit 17 and the print processing unit 21. To control.

そして、制御部16は、編集画像データの印刷処理が終了すると、「お勧め印刷モード」を終了する。なお、制御部16は、ステップS18によって編集画像データの印刷処理を開始した後、ステップS16に戻って編集画像データに対応する表示用画像データを逐次切り替えて表示する処理を行うようにしたり、ステップS12に戻ってグループの選択処理まで戻って「お勧め印刷モード」の処理を行うようにしてもよい。   Then, the control unit 16 ends the “recommended print mode” when the printing process of the edited image data ends. The control unit 16 starts the printing process of the edited image data in step S18, and then returns to step S16 to perform a process of sequentially switching and displaying the display image data corresponding to the edited image data. It is also possible to return to S12 and return to the group selection process to perform the “recommended print mode” process.

以上のような処理を行う印刷装置1では、ステップS16により編集処理が施された画像データに対応する表示用画像データを逐次切り替えてモニタ13等に表示させた状態で、操作入力部12により入力されるユーザからの操作命令に応じて、表示画像に対応する編集画像データを印刷するように印刷処理部21を制御するので、多種多様な編集処理の中から、関連情報に応じて適切な編集処理が施された画像データ(図4〜図7)を容易に印刷可能となりユーザの利便性の向上を実現することができる。   In the printing apparatus 1 that performs the process as described above, the operation input unit 12 inputs the display image data corresponding to the image data that has been subjected to the editing process in step S <b> 16 and sequentially displayed on the monitor 13 or the like. Since the print processing unit 21 is controlled to print the edited image data corresponding to the display image in response to an operation command from the user, an appropriate editing is performed according to the related information from various editing processes. The processed image data (FIGS. 4 to 7) can be easily printed, and the convenience of the user can be improved.

また、上述した「お勧め印刷モード」の処理工程の一部を図8に示すような処理に変更するようにしてもよい。   Further, a part of the processing steps of the “recommended printing mode” described above may be changed to the processing shown in FIG.

すなわち、制御部16は、ステップS17の判断処理で印刷操作が行われると、ステップS21に進む。そして、ステップS21において、制御部16は、印刷対象となる画像データを印刷するかを確認する操作用画面をモニタ13に表示して、ステップS22に進む。   In other words, when a printing operation is performed in the determination process in step S17, the control unit 16 proceeds to step S21. In step S21, the control unit 16 displays an operation screen for confirming whether or not image data to be printed is to be printed on the monitor 13, and proceeds to step S22.

ステップS22において、制御部16は、前段の処理で表示された印刷確認用の画面を視認しているユーザによってさらに印刷操作が行われたか否かを判断する。ここで、制御部16は、所定の時間以内にユーザによって印刷操作が行われるとステップS23、S24に進み、所定の時間以内にユーザによって印刷操作が行われないときステップS16に戻る。   In step S <b> 22, the control unit 16 determines whether or not a printing operation is further performed by the user who is viewing the print confirmation screen displayed in the preceding process. Here, the control unit 16 proceeds to steps S23 and S24 when the printing operation is performed by the user within a predetermined time, and returns to step S16 when the printing operation is not performed by the user within the predetermined time.

ステップS23において、制御部16は、ユーザによって印刷操作が行われた時にモニタ13等に表示されている表示用画像データに対応する編集画像データを印刷するように、画像処理部17と印刷処理部21とを制御する。   In step S23, the control unit 16 and the image processing unit 17 and the print processing unit print the edited image data corresponding to the display image data displayed on the monitor 13 or the like when a printing operation is performed by the user. 21.

ステップS24において、制御部16は、ステップS23により印刷されている表示用画像データに対応する編集画像データに施されている編集処理を行うための取扱説明情報をモニタ13等に表示する。   In step S24, the control unit 16 displays on the monitor 13 the handling instruction information for performing the editing process applied to the edited image data corresponding to the display image data printed in step S23.

そして、制御部16は、編集画像データの印刷処理が終了すると、「お勧め印刷モード」を終了する。   Then, the control unit 16 ends the “recommended print mode” when the printing process of the edited image data ends.

このようにして、印刷装置1では、ステップS21において印刷確認用の操作画面を表示してから更にユーザによって操作入力が行われることによって編集画像データの印刷を開始するので、誤って操作入力部12がユーザによって操作されて編集画像データの印刷処理を行ってしまうことを防止することができる。   In this way, the printing apparatus 1 starts printing the edited image data by displaying an operation screen for print confirmation in step S21 and further performing an operation input by the user. It is possible to prevent the edited image data from being printed by being operated by the user.

また、印刷装置1では、ステップS24において、印刷対象となった編集画像データに施されている編集処理をユーザが行うための取扱説明を表示することによって、「お勧め印刷モード」によって制御部16によって自動的に選択された編集処理と同じ編集処理をユーザがマニュアル操作によって容易に行うことができる操作環境を提供することができる。   Further, in step S24, the printing apparatus 1 displays the instruction for the user to perform the editing process applied to the edited image data to be printed, thereby controlling the control unit 16 according to the “recommended printing mode”. It is possible to provide an operation environment in which the user can easily perform the same editing process as the editing process automatically selected by the manual operation.

多種多様な編集処理の中から適切な処理内容をマニュアル操作により選択することはユーザにとって大変であるが、印刷装置1では、上述したように制御部16が「お勧め印刷モード」を実行することによって、ユーザが煩雑な操作することなく、多種多様に用意されている編集処理が施された編集画像を印刷可能にモニタ13等に表示するので、ユーザの利便性を向上させることができる。   Although it is difficult for the user to select appropriate processing contents from among various editing processes by manual operation, in the printing apparatus 1, the control unit 16 executes the “recommended printing mode” as described above. Thus, the user can improve the convenience for the user because the edited image that has been subjected to various editing processes is displayed on the monitor 13 or the like so as to be printed without complicated operations.

上述したように、印刷装置1は、印刷対象となる画像データを、この印刷装置1が内蔵するモニタ13に表示出力するだけではなく、例えば図9に示すように、映像出力端子15に接続されたケーブル200を介して、HD規格の画像を表示可能なディスプレイ100に表示出力することができる。このようにして、印刷装置1では、ディスプレイ100に印刷処理を行う前の印刷対象となる画像データを表示出力することによって、ユーザにとって、印刷する画像を前もって細部にわたり確認する事が可能となり、印刷後に細部の不具合に気づくことも少なくなるという利点を実現することができる。   As described above, the printing apparatus 1 not only displays and outputs image data to be printed on the monitor 13 built in the printing apparatus 1, but also is connected to the video output terminal 15 as shown in FIG. The HD standard image can be displayed on the display 100 via the cable 200. In this way, in the printing apparatus 1, by displaying and outputting the image data to be printed before performing the printing process on the display 100, it becomes possible for the user to confirm the image to be printed in detail in advance. It is possible to realize an advantage that less attention is paid to a detail defect later.

ここで、上述した印刷装置1を操作するための操作用画面を、モニタ13とディスプレイ100と兼用した場合、2つの表示出力の解像度が大きく異なるため、モニタ13に適合した操作用画面の画像データをディスプレイ100に表示出力した場合、文字情報の字体が非常に太くなり、一方ディスプレイ100に適合した操作用画面の画像データをモニタ13の表示出力した場合、文字情報の字体が細いため掠れたようになるため、ユーザにとって視覚的に見にくくなってしまう。   Here, when the operation screen for operating the printing apparatus 1 described above is combined with the monitor 13 and the display 100, the resolution of the two display outputs is greatly different, so that the image data of the operation screen suitable for the monitor 13 is displayed. Is displayed on the display 100, the font of the character information becomes very thick. On the other hand, when the image data of the operation screen suitable for the display 100 is displayed on the monitor 13, the character information is thin and the character information is thin. Therefore, it becomes difficult for the user to see visually.

そこで、印刷装置1では、このような表示出力先が違ってもユーザにとって視覚的に見やすい字体で文字情報を表示するため、画像処理部17が次のような構成を備えている。   Therefore, in the printing apparatus 1, the image processing unit 17 has the following configuration in order to display character information in a font that is visually easy for the user to see even if the display output destination is different.

すなわち、画像処理部17は、図10に示すように、画像記憶部18から画像を取り込む画像入力部171と、画像入力部171により取り込まれた画像データに付加するための文字データの字体を加工する文字出力加工部172と、画像データと加工された文字データとを合成して出力する合成処理部173と、出力制御部20の表示先を判定する出力判定部174とを備える。   That is, as shown in FIG. 10, the image processing unit 17 processes an image input unit 171 that captures an image from the image storage unit 18 and character data fonts to be added to the image data captured by the image input unit 171. A character output processing unit 172, a composition processing unit 173 that combines and outputs the image data and the processed character data, and an output determination unit 174 that determines a display destination of the output control unit 20.

画像入力部171は、制御部16からの制御命令に従って、画像記憶部18から例えば印刷装置1を操作するための操作用画面を表示するための画像データを読み出して、文字出力加工部172及び合成処理部173に供給する。   The image input unit 171 reads out image data for displaying, for example, an operation screen for operating the printing apparatus 1 from the image storage unit 18 in accordance with a control command from the control unit 16, and outputs the character output processing unit 172 and the composition. The data is supplied to the processing unit 173.

文字出力加工部172は、画像入力部171により取り込まれた画像データに付加するための文字データをデータ記憶部19から読み出して、読み出した文字データを、後述するように出力判定部174による判定結果に応じて字体を加工する。そして、文字出力加工部172は、加工処理を施した文字データを合成処理部173に供給する。   The character output processing unit 172 reads character data to be added to the image data captured by the image input unit 171 from the data storage unit 19, and the read character data is determined by the output determination unit 174 as will be described later. Process the font according to Then, the character output processing unit 172 supplies the processed character data to the synthesis processing unit 173.

合成処理部173は、画像入力部171から供給された画像データと、文字出力加工部172によって加工した文字データとを合成する。そして、合成処理部173は、合成した画像データを出力制御部20に出力する。   The composition processing unit 173 synthesizes the image data supplied from the image input unit 171 and the character data processed by the character output processing unit 172. Then, the synthesis processing unit 173 outputs the synthesized image data to the output control unit 20.

以上のような構成を有する画像処理部17では、図11に示すようなフローチャートに従って、表示先の表示手段の解像度に応じた加工処理を行う。   In the image processing unit 17 having the above-described configuration, processing according to the resolution of the display unit as the display destination is performed according to the flowchart as shown in FIG.

ステップS31において、出力判定部174は、出力制御部20又は制御部16から供給される情報により、画像データの表示出力先がモニタ13であるか、映像出力端子15であるかを判定する。ここで、出力判定部174は、表示出力先がモニタ13と判定したときステップS32に進み、表示出力先がモニタ13ではない、すなわち映像出力端子15であると判定したときステップS35に進む。   In step S <b> 31, the output determination unit 174 determines whether the display output destination of the image data is the monitor 13 or the video output terminal 15 based on the information supplied from the output control unit 20 or the control unit 16. Here, the output determination unit 174 proceeds to step S32 when determining that the display output destination is the monitor 13, and proceeds to step S35 when determining that the display output destination is not the monitor 13, that is, the video output terminal 15.

ステップS32において、文字出力加工部172は、モニタ13の表示用フォントデータによる加工処理を文字データに施して合成処理部173に出力する。   In step S <b> 32, the character output processing unit 172 performs processing using the display font data on the monitor 13 on the character data and outputs the character data to the composition processing unit 173.

具体的に、モニタ13の表示解像度が映像出力端子15から出力される表示解像度よりも非常に低いので、文字出力加工部172は、出力先で表示される画像の解像度に応じた比較的太い字体のフォントデータを用いてデータ記憶部19から読み出した文字データに加工処理を施して合成処理部173に出力してステップS33に進む。   Specifically, since the display resolution of the monitor 13 is much lower than the display resolution output from the video output terminal 15, the character output processing unit 172 has a relatively thick font according to the resolution of the image displayed at the output destination. The character data read from the data storage unit 19 is processed using the font data and output to the synthesis processing unit 173, and the process proceeds to step S33.

ステップS33において、合成処理部173は、ステップS33で加工処理された文字データと、画像入力部171から供給された文字データとを合成して、合成した画像データを出力制御部20に供給する。   In step S <b> 33, the composition processing unit 173 combines the character data processed in step S <b> 33 and the character data supplied from the image input unit 171, and supplies the combined image data to the output control unit 20.

ステップS34において、出力制御部20は、合成処理部173から供給された画像データをモニタ13に表示出力する。ここで、出力制御部20は、モニタ13の解像度に合わせて画像データから画素を間引く縮小処理を施すが、上述したように文字出力加工部172により文字データの字体が比較的太くなるように加工処理がなされているため、図12に示すように、文字が掠れるようなことがなく、ユーザにとって視覚的に見やすい画像表示となるように画像データをモニタ13に表示することができる。   In step S <b> 34, the output control unit 20 displays and outputs the image data supplied from the synthesis processing unit 173 on the monitor 13. Here, the output control unit 20 performs a reduction process for thinning out pixels from the image data in accordance with the resolution of the monitor 13, but as described above, the character output processing unit 172 processes the character data so that the font of the character data becomes relatively thick. Since the processing is performed, as shown in FIG. 12, the image data can be displayed on the monitor 13 so that the characters are not drawn and the image display is visually easy for the user.

また、ステップS35において、文字出力加工部172は、映像出力端子15の表示用フォントデータによる加工処理を文字データに施して合成処理部173に出力する。   In step S <b> 35, the character output processing unit 172 performs processing on the character data using the display font data of the video output terminal 15 and outputs the processed character data to the composition processing unit 173.

具体的に、映像出力端子15の表示解像度がモニタ13から出力される表示解像度よりも非常に高いので、文字出力加工部172は、出力先で表示される画像の解像度に応じた比較的細い字体のフォントデータを用いてデータ記憶部19から読み出した文字データに加工処理を施して合成処理部173に出力してステップS36に進む。   Specifically, since the display resolution of the video output terminal 15 is much higher than the display resolution output from the monitor 13, the character output processing unit 172 has a relatively thin font according to the resolution of the image displayed at the output destination. The character data read out from the data storage unit 19 is processed using the font data and output to the composition processing unit 173, and the process proceeds to step S36.

ステップS36において、合成処理部173は、ステップS35で加工処理された文字データと、画像入力部171から供給された文字データとを合成して、合成した画像データを出力制御部20に供給する。   In step S <b> 36, the composition processing unit 173 combines the character data processed in step S <b> 35 and the character data supplied from the image input unit 171, and supplies the combined image data to the output control unit 20.

ステップS37において、出力制御部20は、合成処理部173から供給された画像データを映像出力端子15からディスプレイ100などに表示出力する。ここで、出力制御部20は、映像出力端子15から出力されるHD規格のきめ細かい表示画像に合わせて文字データの字体を細くすることにより、図13に示すように、ユーザにとって視覚的に見やすい画像表示となるように、画像データをディスプレイ100に表示することができる。   In step S <b> 37, the output control unit 20 displays and outputs the image data supplied from the synthesis processing unit 173 on the display 100 or the like from the video output terminal 15. Here, the output control unit 20 narrows the font of the character data in accordance with the HD standard fine display image output from the video output terminal 15, so that an image that is visually easy for the user to see as shown in FIG. The image data can be displayed on the display 100 so as to be displayed.

このようにして、印刷装置1では、出力される出力先で表示される画像の解像度に応じて、ステップS32、及びステップS35により文字データの字体を加工して、字体を加工した文字データと画像データとを合成して出力先に出力するので、表示出力先の解像度に応じて文字情報を視覚的に見やすい字体で文字情報を表示させることができる。   In this way, the printing apparatus 1 processes the character data font in steps S32 and S35 in accordance with the resolution of the image displayed at the output destination to be output. Since the data is synthesized and output to the output destination, the character information can be displayed in a visually easy-to-read font according to the resolution of the display output destination.

なお、本発明は、以上の実施形態のみに限定されるものではなく、例えば撮像画像を確認可能なディスプレイを備えるデジタルスチルカメラなどの表示手段を内蔵するとともに、画像データを外部へ出力する出力端子が設けられた電子機器に適用するようにしてもよい。   The present invention is not limited to the above-described embodiment. For example, a display unit such as a digital still camera having a display capable of confirming a captured image is incorporated, and an output terminal for outputting image data to the outside. You may make it apply to the electronic device provided with.

本発明が適用された印刷装置の外観を示した図である。1 is an external view of a printing apparatus to which the present invention is applied. 本発明が適用された印刷装置の内部構成を示したブロック図である。1 is a block diagram illustrating an internal configuration of a printing apparatus to which the present invention is applied. お勧め印刷モードを実行する印刷装置の処理内容を説明するために供するフローチャートである。6 is a flowchart provided to explain processing contents of a printing apparatus that executes a recommended printing mode. お勧め印刷モードによる編集処理が施された編集画像の一例を示した図である。FIG. 10 is a diagram illustrating an example of an edited image that has been subjected to editing processing in a recommended print mode. お勧め印刷モードによる編集処理が施された編集画像の一例を示した図である。FIG. 10 is a diagram illustrating an example of an edited image that has been subjected to editing processing in a recommended print mode. お勧め印刷モードによる編集処理が施された編集画像の一例を示した図である。FIG. 10 is a diagram illustrating an example of an edited image that has been subjected to editing processing in a recommended print mode. お勧め印刷モードによる編集処理が施された編集画像の一例を示した図である。FIG. 10 is a diagram illustrating an example of an edited image that has been subjected to editing processing in a recommended print mode. お勧め印刷モードを実行する印刷装置の処理内容を説明するために供するフローチャートである。6 is a flowchart provided to explain processing contents of a printing apparatus that executes a recommended printing mode. 印刷装置と、印刷装置に接続されたディスプレイとを示した図である。It is the figure which showed the printing apparatus and the display connected to the printing apparatus. 画像処理部の内部構成を示した図である。It is the figure which showed the internal structure of the image process part. 表示先の表示手段の解像度に応じた加工処理を説明するために供するフローチャートである。It is a flowchart provided in order to demonstrate the process according to the resolution of the display means of a display destination. モニタに出力される操作用画面を示した図である。It is the figure which showed the screen for operation output to a monitor. 映像出力端子から出力される操作用画面を示した図である。It is the figure which showed the screen for operation output from a video output terminal.

符号の説明Explanation of symbols

1 印刷装置、2 印画紙トレイ、3 インクリボンカートリッジ、4 印画紙、10 装置本体、10a 前面、10b 上面、10c 側面、11 開口部、12 操作入力部、12a、12b 操作ボタン、13 モニタ、14 外部I/F、14a 記録メディア用スロット、14b、14c 入出力端子、15 映像出力端子、16 制御部、17 画像処理部、171 画像入力部、172 文字出力加工部、173 合成処理部、174 出力判定部、18 画像記憶部、19 データ記憶部、20 出力制御部、21 印刷処理部、211 サーマルヘッド、212 プラテンローラ、31 インクリボン、100 ディスプレイ、200 ケーブル   DESCRIPTION OF SYMBOLS 1 Printing apparatus, 2 photographic paper tray, 3 ink ribbon cartridge, 4 photographic paper, 10 apparatus main body, 10a front surface, 10b upper surface, 10c side surface, 11 opening part, 12 operation input part, 12a, 12b operation button, 13 monitor, 14 External I / F, 14a Recording media slot, 14b, 14c Input / output terminal, 15 Video output terminal, 16 Control section, 17 Image processing section, 171 Image input section, 172 Character output processing section, 173 Composition processing section, 174 output Determination unit, 18 image storage unit, 19 data storage unit, 20 output control unit, 21 print processing unit, 211 thermal head, 212 platen roller, 31 ink ribbon, 100 display, 200 cable

Claims (5)

印刷対象となる画像データに対応する表示用画像を表示する表示手段を備える印刷装置において、
上記印刷対象となる画像データと、該画像データに関連付けられている関連情報とを対応付けて記憶する記憶手段と、
上記記憶手段に記憶されている画像データに対して、上記関連情報に応じた編集処理を施す編集手段と、
ユーザからの操作命令が入力される操作入力手段と、
上記編集手段により編集処理が施された画像データに対応する表示用画像を逐次切り替えて上記表示手段に表示させるとともに、上記操作入力手段に入力される操作命令に応じて、該表示手段に表示されている画像に対応する印刷用の画像データを印刷する制御手段とを備える印刷装置。
In a printing apparatus including a display unit that displays a display image corresponding to image data to be printed,
Storage means for storing the image data to be printed and related information associated with the image data in association with each other;
Editing means for performing editing processing according to the related information on the image data stored in the storage means;
An operation input means for inputting an operation command from the user;
The display image corresponding to the image data subjected to the editing process by the editing unit is sequentially switched and displayed on the display unit, and displayed on the display unit in accordance with an operation command input to the operation input unit. And a control unit that prints image data for printing corresponding to the image being printed.
上記記憶手段は、上記関連情報として、上記画像データが撮像された撮像時刻を示す撮像時刻情報、及び/又は、撮像位置を示す撮像位置情報を記憶しており、
上記制御手段は、上記関連情報に基づいて、上記記憶手段に記憶された画像データを選択し、該選択した画像データに対して上記編集手段に編集処理を施させることを特徴とする請求項1記載の印刷装置。
The storage means stores, as the related information, imaging time information indicating an imaging time when the image data is captured and / or imaging position information indicating an imaging position.
The control means selects image data stored in the storage means based on the related information, and causes the editing means to perform editing processing on the selected image data. The printing apparatus as described.
上記制御手段は、上記関連情報に応じて選択した画像データの撮像内容を該関連情報に基づいて分析し、該分析した撮像内容に応じた編集処理を該選択した画像データに施させるように上記編集手段を制御することを特徴とする請求項2記載の印刷装置。   The control means analyzes the imaging content of the image data selected according to the related information based on the related information, and performs the editing process according to the analyzed imaging content on the selected image data. The printing apparatus according to claim 2, wherein the editing unit is controlled. 上記制御手段は、上記編集手段により編集処理が施された画像データに対応する表示用画像を逐次切り替えて上記表示手段に表示させているとき、上記操作入力手段に入力される操作命令より該表示手段に表示されている画像に対応する画像データから印刷対象となる画像データが選択されると、該印刷対象となる画像データを印刷するかを確認する画像を該表示手段に表示させ、さらに該操作入力手段に入力される操作命令に応じて該印刷対象となる画像データを印刷するように制御することを特徴とする請求項1記載の印刷装置。   The control means switches the display image from the operation command input to the operation input means when the display image corresponding to the image data subjected to the edit processing by the editing means is sequentially switched and displayed on the display means. When image data to be printed is selected from image data corresponding to an image displayed on the means, an image for confirming whether to print the image data to be printed is displayed on the display means, and 2. The printing apparatus according to claim 1, wherein control is performed so as to print the image data to be printed in accordance with an operation command input to the operation input means. 印刷対象となる画像データに対応する表示用画像を表示する表示手段を備える印刷装置の制御方法において、
上記印刷対象となる画像データと、該画像データに関連付けられている関連情報とを対応付けて記憶する記憶手段に記憶されている画像データに対して、上記関連情報に応じた編集処理を施す編集ステップと、
上記編集ステップにより編集処理が施された画像データに対応する表示用画像を逐次切り替えて上記表示手段に表示させる表示ステップと、
操作入力手段により入力されるユーザからの操作命令に応じて、上記表示ステップにより表示されている画像に対応する印刷用の画像データを印刷する印刷ステップとを有する印刷装置の制御方法。
In a control method of a printing apparatus including a display unit that displays a display image corresponding to image data to be printed,
Editing that performs editing processing according to the related information on the image data stored in the storage unit that stores the image data to be printed and the related information associated with the image data in association with each other Steps,
A display step of sequentially switching the display image corresponding to the image data subjected to the editing process in the editing step and displaying the image on the display means;
A printing apparatus control method comprising: a printing step of printing image data for printing corresponding to an image displayed in the display step in response to an operation command from a user input by an operation input unit.
JP2008006016A 2008-01-15 2008-01-15 Printing apparatus and printing apparatus control method Withdrawn JP2009166330A (en)

Priority Applications (1)

Application Number Priority Date Filing Date Title
JP2008006016A JP2009166330A (en) 2008-01-15 2008-01-15 Printing apparatus and printing apparatus control method

Applications Claiming Priority (1)

Application Number Priority Date Filing Date Title
JP2008006016A JP2009166330A (en) 2008-01-15 2008-01-15 Printing apparatus and printing apparatus control method

Publications (1)

Publication Number Publication Date
JP2009166330A true JP2009166330A (en) 2009-07-30

Family

ID=40968083

Family Applications (1)

Application Number Title Priority Date Filing Date
JP2008006016A Withdrawn JP2009166330A (en) 2008-01-15 2008-01-15 Printing apparatus and printing apparatus control method

Country Status (1)

Country Link
JP (1) JP2009166330A (en)

Similar Documents

Publication Publication Date Title
US9172828B2 (en) Image display apparatus, image display method and image display program
JP2002016859A (en) Digital photographic system, printer for use therein and printing method
JP4218704B2 (en) Operation screen generation device, printing device, imaging device, operation screen generation method, and program
JP2009094736A (en) PRINT SYSTEM, IMAGE DISPLAY DEVICE, IMAGE DISPLAY METHOD, AND IMAGE DISPLAY PROGRAM
JP4471000B2 (en) Electronic device and control method of electronic device
JP2009182429A (en) Image forming apparatus and image information saving method
JP2009166330A (en) Printing apparatus and printing apparatus control method
JP2007331321A (en) Image processing apparatus and control method thereof
JP2005074626A (en) Image processing method and apparatus, and program thereof
JP2000101953A (en) Photographic seal ejecting device
JP2005244736A (en) Image processing system and image processing method
JP4229578B2 (en) Image forming apparatus
JP2007136831A (en) Print image creation method, print image creation apparatus, program, and printing apparatus
JPH11259630A (en) Image processing apparatus and method, and storage medium
JP4438888B2 (en) Image forming apparatus
JP2011140236A (en) Print image forming method, print image forming apparatus, program, and printer
JP2008210347A (en) Image editing device, method, and program
JP4409614B2 (en) Image forming apparatus
JP4544226B2 (en) Image editing device
JPH1178150A (en) Image forming apparatus
JP2006076186A (en) Printer device
JPH07284047A (en) Printing equipment
US20060146369A1 (en) Printing apparatus and printing method
JP2011203919A (en) Editing image data generating device and editing image data generating method
JP2007323416A (en) Digital image classification display method by operation history

Legal Events

Date Code Title Description
A300 Withdrawal of application because of no request for examination

Free format text: JAPANESE INTERMEDIATE CODE: A300

Effective date: 20110405