JP2009158181A - Manufacturing method of surface light source device - Google Patents
Manufacturing method of surface light source device Download PDFInfo
- Publication number
- JP2009158181A JP2009158181A JP2007332773A JP2007332773A JP2009158181A JP 2009158181 A JP2009158181 A JP 2009158181A JP 2007332773 A JP2007332773 A JP 2007332773A JP 2007332773 A JP2007332773 A JP 2007332773A JP 2009158181 A JP2009158181 A JP 2009158181A
- Authority
- JP
- Japan
- Prior art keywords
- panel
- roller
- organic
- resin film
- manufacturing
- Prior art date
- Legal status (The legal status is an assumption and is not a legal conclusion. Google has not performed a legal analysis and makes no representation as to the accuracy of the status listed.)
- Pending
Links
Images
Landscapes
- Electroluminescent Light Sources (AREA)
- Planar Illumination Modules (AREA)
Abstract
【課題】有機ELパネルを破損させず且つパネルの素子を劣化させずに、良好な貼付面状を有し且つ光取り出し効率の高い面光源装置を製造しうる製造方法を提供する。
【解決手段】有機発光層及び中空封止容器を有する有機ELパネル、並びにパネルの出光面側の表面に設けられた凹凸構造を有する樹脂フィルムを備える面光源装置の製造方法であって、離型フィルム上に接着機能樹脂を塗布し積層体を得る工程、加熱した弾性体ローラーを移動させ且つ積層体の未接着の部分を緊張させながら積層体をローラーで加圧して積層体を接着層とパネルの出光面側の表面とが接するようパネルに貼付する工程、離型フィルムを剥離し接着層を露出させ工程、及び加熱した弾性体ローラーを移動させ且つ樹脂フィルムの未接着の部分を緊張させながら樹脂フィルムをローラーで加圧して露出した接着層の面上に樹脂フィルムを貼付する工程を含む製造方法。
【選択図】 図5Provided is a manufacturing method capable of manufacturing a surface light source device having a good pasting surface shape and high light extraction efficiency without damaging an organic EL panel and without deteriorating elements of the panel.
An organic EL panel having an organic light emitting layer and a hollow sealing container, and a method of manufacturing a surface light source device including a resin film having a concavo-convex structure provided on a light exit surface side of the panel, the mold release Applying an adhesive functional resin on the film to obtain a laminate, moving the heated elastic roller and tensioning the unadhered portion of the laminate to press the laminate with a roller, and then applying the laminate to the adhesive layer and panel The process of sticking to the panel so that the surface of the light-emitting surface is in contact, the process of peeling the release film and exposing the adhesive layer, and moving the heated elastic roller and tensioning the unbonded part of the resin film The manufacturing method including the process of sticking a resin film on the surface of the contact bonding layer exposed by pressing a resin film with a roller.
[Selection] Figure 5
Description
本発明は、面光源装置の製造方法に関する。 The present invention relates to a method for manufacturing a surface light source device.
一般的に有機エレクトロルミネッセンス素子(以下「有機EL素子」ということがある。)は、基板と、基板上に形成される電極層および発光層とを備え、さらに、発光層等の層を大気劣化から保護するための封止容器を備える。封止容器により規定される素子内部は、一般的には中空であり、その中に発光層等の層が存在する形態とされる(例えば、特許文献1参照)。 In general, an organic electroluminescence element (hereinafter sometimes referred to as an “organic EL element”) includes a substrate, an electrode layer and a light emitting layer formed on the substrate, and further degrades the layer such as the light emitting layer to the atmosphere. A sealing container is provided for protecting from. The inside of the device defined by the sealing container is generally hollow, and a layer such as a light emitting layer is present therein (see, for example, Patent Document 1).
有機EL素子においては、素子における発光効率は高いものの、素子外への光取り出し効率を向上させることが困難であるという問題点がある。有機EL素子の光取出効率を向上させるために、光取出面に凹凸構造を形成することが報告されている(例えば、特許文献2参照)。かかる凹凸構造は、発光層等の形成を容易とするため、基板、発光層及び封止容器を含む有機ELパネルを形成した後に、その出光面側の面上に凹凸構造を有するフィルムを、接着剤を介して貼付することにより設けることが一般的である。 In the organic EL element, although the light emission efficiency in the element is high, there is a problem that it is difficult to improve the light extraction efficiency to the outside of the element. In order to improve the light extraction efficiency of the organic EL element, it has been reported that a concavo-convex structure is formed on the light extraction surface (see, for example, Patent Document 2). In order to facilitate the formation of a light emitting layer and the like, such a concavo-convex structure is formed by bonding a film having a concavo-convex structure on the light emitting surface side after forming an organic EL panel including a substrate, a light emitting layer, and a sealing container. It is common to provide by sticking through an agent.
かかるフィルムの貼付に際しては、貼付面状を、光学損失がないように極めて良好にする必要がある。しかし接着剤の塗布及び乾燥による寸法の変化により、フィルムに反り・ひずみが生じやすく貼付面状が不良になりやすい。 When sticking such a film, it is necessary to make the sticking surface very good so that there is no optical loss. However, due to the change in dimensions due to the application and drying of the adhesive, the film tends to be warped and distorted, and the sticking surface is likely to be defective.
また封止容器が中空なため、凹凸構造層を有機ELパネルに貼り付ける際高い圧力をかけると割れ等の破損が発生するため、貼付は出来るだけ低圧で行なう必要がある。しかし低圧での貼付では、良好な面状になりにくい。しかも、通常の発光層は耐熱性に乏しいため、貼付温度は80℃以下といった低温にする必要がある。一方、面光源装置の使用に際しては、素子の発光により基板の温度が高くなるため、接着剤の耐熱温度(流動温度)は50℃以上といった高温にする必要がある。 Further, since the sealing container is hollow, if a high pressure is applied when the concavo-convex structure layer is applied to the organic EL panel, breakage such as cracking occurs. Therefore, the application needs to be performed at as low a pressure as possible. However, it is difficult to obtain a good surface shape when applied at a low pressure. In addition, since a normal light emitting layer has poor heat resistance, the pasting temperature needs to be as low as 80 ° C. or less. On the other hand, when the surface light source device is used, the temperature of the substrate increases due to light emission from the element, and therefore the heat-resistant temperature (flow temperature) of the adhesive needs to be as high as 50 ° C. or higher.
したがって、本発明の目的は、有機ELパネルを破損させず、且つ有機ELパネルの素子を劣化させずに、良好な貼付面状を有し且つ光取り出し効率の高い面光源装置を製造しうる製造方法を提供することにある。 Accordingly, an object of the present invention is to manufacture a surface light source device having a good pasting surface shape and high light extraction efficiency without damaging the organic EL panel and without degrading the elements of the organic EL panel. It is to provide a method.
本発明者らは、上記課題を解決するために鋭意検討した結果、接着層を特定の工程により有機ELパネル上に転写し、さらにその上に凹凸構造を有する樹脂フィルムを特定の工程により貼付することにより上記課題を解決しうることを見出し、本発明を完成した。 As a result of intensive studies to solve the above problems, the present inventors have transferred the adhesive layer onto the organic EL panel by a specific process, and further stuck a resin film having a concavo-convex structure thereon on the specific process. As a result, the inventors have found that the above-described problems can be solved, and completed the present invention.
即ち、本発明によれば、下記のものが提供される:
〔1〕 有機発光層、及びこの有機発光層を収容する中空封止容器を有する有機ELパネル、並びに前記有機ELパネルの出光面側の表面に設けられた凹凸構造を有する樹脂フィルムを備える面光源装置の製造方法であって、工程(A):離型フィルム上に接着機能樹脂を塗布し、離型フィルム及び接着層を有する積層体(1)を得る工程、工程(B):加熱した弾性体ローラーを移動させ且つ前記積層体(1)の未接着の部分を緊張させながら、前記積層体(1)を前記ローラーで加圧して、前記積層体(1)を、前記接着層と前記有機ELパネルの出光面側の表面とが接するよう、前記有機ELパネルに貼付する工程、工程(C):前記離型フィルムを剥離し、前記接着層を露出させ工程、及び工程(D):加熱した弾性体ローラーを移動させ且つ前記凹凸構造を有する樹脂フィルムの未接着の部分を緊張させながら、前記凹凸構造を有する樹脂フィルムを前記ローラーで加圧して、露出した前記接着層の面上に、前記凹凸構造を有する樹脂フィルムを貼付する工程を含み、かつ前記弾性体ローラーの加圧における接触圧力が0.5MPa以下である面光源装置の製造方法。
〔2〕 前記製造方法であって、前記弾性体ローラーの材質がシリコンゴムあるいはフッ素ゴムである製造方法。
That is, according to the present invention, the following is provided:
[1] An organic EL panel having an organic light-emitting layer, a hollow sealing container that accommodates the organic light-emitting layer, and a surface light source including a resin film having a concavo-convex structure provided on the light-emitting surface side of the organic EL panel A method for manufacturing an apparatus, wherein step (A): a step of applying an adhesive functional resin on a release film to obtain a laminate (1) having a release film and an adhesive layer, step (B): heated elasticity While the body roller is moved and the unbonded portion of the laminate (1) is tensioned, the laminate (1) is pressurized with the roller, and the laminate (1) is combined with the adhesive layer and the organic Step of attaching to the organic EL panel such that the surface on the light exit surface side of the EL panel is in contact, step (C): peeling the release film and exposing the adhesive layer, and step (D): heating Moving elastic roller The resin having the concavo-convex structure is exposed on the exposed surface of the adhesive layer by pressing the resin film having the concavo-convex structure with the roller while tensioning an unbonded portion of the resin film having the concavo-convex structure. The manufacturing method of the surface light source device which includes the process of sticking a film and whose contact pressure in pressurization of the said elastic body roller is 0.5 Mpa or less.
[2] The manufacturing method, wherein the material of the elastic roller is silicon rubber or fluororubber.
本発明の製造方法によれば、有機ELパネルを破損させず、且つ有機ELパネルの素子を劣化させずに、良好な貼付面状を有し且つ光取り出し効率の高い面光源装置を製造することができる。 According to the manufacturing method of the present invention, a surface light source device having a good pasting surface shape and high light extraction efficiency without damaging the organic EL panel and without degrading the elements of the organic EL panel. Can do.
以下に、本発明の製造方法を、図面を参照して具体的に説明する。
本発明は、面光源装置の製造方法であって、かかる面光源装置は、有機発光層及び中空封止容器を有する有機ELパネル、並びに前記有機ELパネルの出光面側の表面に設けられた凹凸構造を有する樹脂フィルムを備える。
Below, the manufacturing method of this invention is demonstrated concretely with reference to drawings.
The present invention relates to a method of manufacturing a surface light source device, and the surface light source device includes an organic EL panel having an organic light emitting layer and a hollow sealing container, and unevenness provided on the light emitting surface side surface of the organic EL panel. A resin film having a structure is provided.
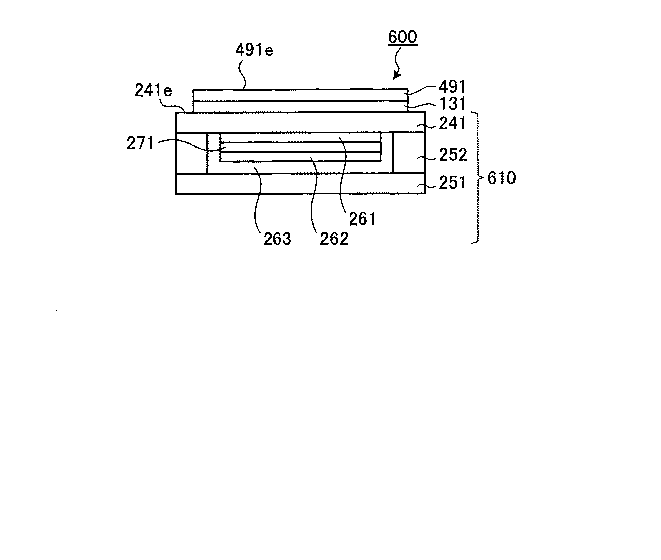
本発明の製造方法によって製造しうる面光源装置の一例を、図6を参照して説明する。図6において、面光源装置600は、透明な基板241、封止基板251と周辺封止部材252とからなる封止容器、並びにこれらにより規定される空隙263内に設けられている透明電極261、発光層271及び反射電極262を有する有機ELパネル610と、基板241の出光面側の面241e上に設けられた接着層131及び樹脂フィルム491とを備える。樹脂フィルム491の出光面491eには、凹凸構造が設けられている(図6において不図示)。
An example of a surface light source device that can be manufactured by the manufacturing method of the present invention will be described with reference to FIG. In FIG. 6, the surface
電極261,262から発光層271に電圧を印加することにより発光層271から光が発生し、これが直接、または反射電極262に反射された後、透明電極261、基板241、接着層131及び樹脂フィルム491を透過し出光する。このように、発光層が基板上に積層された面光源装置において、発光層からの光が基板及び凹凸構造を有する樹脂フィルムを透過して出光する態様とすることで、光取り出し効率を向上させることができる。
Light is generated from the
凹凸構造を有する樹脂フィルム491の凹凸の形状は、円錐形状、角錐形状又はプリズム形状とすることができる。角錐形状とは、例えば図7に示すように、底面が正方形である四角錘941を隙間無く並べた形状とすることができるが、図7に示す例に限られず、三角錘、五角錘、六角錘、底面が正方形でない四角錘などの角錐を、隙間無く又は平坦な隙間を介して並べた形状とすることができる。
The uneven shape of the
さらに、本願でいう円錐及び角錐は、その頂部が尖った通常の円錐及び角錐のみならず、先端が丸みを帯びた形状、又は平らに面取りされた形状をも包含する。これを図9〜図11を参照して説明する。図9は、図7における四角錘941を、線9aを通り、四角錘941の斜面941a及び941bの法線と平行で且つ基板の面方向に垂直な面で切断した部分断面図である。図9の例においては三角錐の頂部1153は尖った形状となっているが、これが、図10に示す頂部1255のように丸みを帯びた形状になっていてもよい。また、図11に示すように、角錐の頂部に平坦な部分1355を設け、平らに面取りされた形状とすることもできる。
Furthermore, the cone and the pyramid as used in the present application include not only a normal cone and a pyramid having a pointed top but also a shape having a rounded tip or a flat chamfered shape. This will be described with reference to FIGS. FIG. 9 is a partial cross-sectional view of the
角錐の頂部が丸みを帯びた形状である場合、頂部1255と、当該角錐が丸みを帯びず尖った形状となっていた場合の頂部1253との高さの差1257は、当該角錐が丸みを帯びず尖った形状となっていた場合の角錐の高さ1258の20%以下とすることができる。角錐の頂部が平らに面取りされた形状である場合、平坦な部分1355と、当該角錐の頂部が平坦で無く尖った形状となっていた場合の頂部1353との高さの差1357は、当該角錐の頂部が平坦で無く尖った形状となっていた場合の角錐の高さ1358の20%以下とすることができる。
When the top of the pyramid has a rounded shape, the
凹凸構造の寸法は、特に限定されないが、様々な方向に沿って測定した中心線平均粗さの最大値(Ra(max))として1〜50μmの範囲内とすることができる。 Although the dimension of the concavo-convex structure is not particularly limited, the maximum value (Ra (max)) of the center line average roughness measured along various directions can be in the range of 1 to 50 μm.
一方、凹凸構造110がプリズム形状である場合のプリズム形状とは、三角柱等の角柱を、角柱の高さ方向が出光面に平行な方向となるよう並べた形状であり、例えば図8に示すように、複数の線状プリズム1041が平行に並んだプリズム条列1040の形状とすることができるが、これに限られず、例えばその頂部1042の形状が、上記角錐の場合と同様に、尖った形状のみならず、丸みを帯びた形状又は平らに面取りされた形状とすることができる。
On the other hand, the prism shape in the case where the concavo-convex structure 110 has a prism shape is a shape in which prisms such as triangular prisms are arranged so that the height direction of the prisms is parallel to the light exit surface, for example, as shown in FIG. In addition, the shape of the
本発明において、円錐形状、角錐形状又はプリズム形状の斜面と、出光面とがなす角は45〜60°であることが好ましい。例えば凹凸構造が、図7に示す四角錘である場合、その頂角(図9における角1151)は、60〜90°となることが好ましい。また、凹凸構図の頂部が丸みを帯びた形状又は平らに面取りされた形状である場合は、当該形状の部分を除く斜面の角度を、角錐又はプリズム形状の斜面とする。例えば、図10及び図11に示す例では、平面1241a、1241b、1341a及び1341bを、角錐の斜面とする。斜面の角度をこのような角度とすることにより、光取り出し効率を高めることができる。凹凸構造層の出光面の斜面は、必ずしも全てが同じ角度である必要は無く、上記範囲内で、異なる角度を有する斜面が共存していてもよい。なお、円錐形状の斜面と出光面とがなす角とは、かかる円錐の母線と出光面とがなす角とすることができる。
In the present invention, the angle formed by the conical, pyramidal, or prismatic slope and the light exit surface is preferably 45 to 60 °. For example, when the concavo-convex structure is a quadrangular pyramid shown in FIG. 7, the apex angle (
本発明において、出光面側の基板を構成する材料としては、ガラス、樹脂を挙げることができる。出光面側の基板の屈折率は、透明樹脂層と近い方がよく1.5〜1.6とすることができる。本発明において、基板の厚さは、特に限定されないが、100μm〜3mmであることが好ましい。一方、封止容器を構成する材料としては、封止基板にはガラス、金属、樹脂、周辺部剤には封止基板と出光面基板とを接着する接着剤が用いられる。 In the present invention, examples of the material constituting the light-emitting surface side substrate include glass and resin. The refractive index of the substrate on the light exit surface side is preferably close to that of the transparent resin layer, and can be 1.5 to 1.6. In the present invention, the thickness of the substrate is not particularly limited, but is preferably 100 μm to 3 mm. On the other hand, as a material constituting the sealing container, glass, metal, resin, and an adhesive for bonding the sealing substrate and the light-emitting surface substrate are used for the sealing substrate and the peripheral agent.
本発明において、有機ELパネル中の発光素子を構成する発光層としては、特に限定されず既知のものを適宜選択することができるが、光源としての用途に適合すべく、一種の層単独又は複数種類の層の組み合わせにより、白色又はそれに近い色の光を発光するものとすることができる。電極も、特に限定されず既知のものを適宜選択することができる。また、電極間に、発光層に加えてホール注入層、ホール輸送層、電子輸送層、電子注入層及びガスバリア層等の他の層をさらに有することもできる。 In the present invention, the light-emitting layer constituting the light-emitting element in the organic EL panel is not particularly limited and can be appropriately selected from known ones. A combination of types of layers can emit white or near-color light. The electrode is not particularly limited, and a known electrode can be appropriately selected. Further, other layers such as a hole injection layer, a hole transport layer, an electron transport layer, an electron injection layer, and a gas barrier layer can be further provided between the electrodes in addition to the light emitting layer.
電極及びその間に設ける層を構成する材料としては、特に限定されないが、具体例として下記のものを挙げることができる。
透明電極の材料としてはITO等を挙げることができる。
正孔注入層の材料としてはスターバースト系芳香族ジアミン化合物等を挙げることができる。
正孔輸送層の材料としてはトリフェニルジアミン誘導体等を挙げることができる。
黄色発光層のホスト材料としては同じくトリフェニルジアミン誘導体等を挙げることができ、黄色発光層のドーパント材料としてはテトラセン誘導体等を挙げることができる。
青色発光層のホスト材料としてはアントラセン誘導体等を挙げることができ、青色発光層のドーパント材料としてはペリレン誘導体等を挙げることができる。
赤色発光層の材料としては、ユーロピウム錯体等を挙げることができる。
電子輸送層の材料にはアルミニウムキノリン錯体(Alq)等を挙げることができる。
陰極材料にはフッ化リチウムおよびアルミニウムをそれぞれ用い、これらを順次真空成膜により積層させたものを挙げることができる。
Although it does not specifically limit as a material which comprises an electrode and the layer provided among them, The following can be mentioned as a specific example.
ITO etc. can be mentioned as a material of a transparent electrode.
Examples of the material for the hole injection layer include a starburst aromatic diamine compound.
Examples of the material for the hole transport layer include triphenyldiamine derivatives.
Examples of the host material for the yellow light-emitting layer include triphenyldiamine derivatives, and examples of the dopant material for the yellow light-emitting layer include tetracene derivatives.
Examples of the host material for the blue light emitting layer include anthracene derivatives, and examples of the dopant material for the blue light emitting layer include perylene derivatives.
Examples of the material for the red light emitting layer include europium complexes.
Examples of the material for the electron transport layer include an aluminum quinoline complex (Alq).
Examples of the cathode material include lithium fluoride and aluminum, which are sequentially stacked by vacuum film formation.
上記のもの又はその他の発光層を適宜組み合わせて積層型又はタンデム型と呼ばれる、補色関係にある発光色を発生する発光層を得ることができる。補色関係の組み合わせは、黄/青、又は緑/青/赤等とすることができ、それにより、光源の用途に適した白色の発光を得ることができる。 By appropriately combining the above or other light-emitting layers, a light-emitting layer that generates a light emission color having a complementary color relationship, which is referred to as a stacked type or a tandem type, can be obtained. The combination of complementary colors can be yellow / blue, green / blue / red, or the like, whereby white light emission suitable for the light source application can be obtained.
図6に示す例においては、透明な基板241上に、透明電極261、発光層271及び反射電極262をこの順に設けることにより、基板を通して出光する、所謂ボトムエミッション型の発光素子を構成しているが、本発明はこれに限られずトップエミッション型の発光素子を構成してもよい。
In the example shown in FIG. 6, a
本発明の製造方法では、まず、離型フィルム上に接着機能樹脂を塗布し、離型フィルム及び接着層を有する積層体(1)を得る(工程(A))。図1は、かかる積層体(1)の例を模式的に示す断面図である。図1に示す通り、離型フィルム121の面上に接着機能樹脂を塗布し、その後必要に応じて乾燥等の工程を行なうことにより、接着層131を形成し、離型フィルム121及び接着層131からなる積層体(1)を得ることができる。
In the production method of the present invention, first, an adhesive functional resin is applied on a release film to obtain a laminate (1) having a release film and an adhesive layer (step (A)). FIG. 1 is a cross-sectional view schematically showing an example of such a laminate (1). As shown in FIG. 1, an adhesive functional resin is applied on the surface of the
本発明において、離型フィルムの材料としては、次の工程で接着層を剥離しやすい材料を適宜選択することができ、透明な材料であっても、不透明な材料であってもよい。具体的には例えば、極性基を有する樹脂接着剤であれば非極性ポリマーであるポリエチレン、ポリプロピレンフィルム、非極性基を有する樹脂接着剤であれば極性ポリマーであるPET,PMMA、または接着剤の材質に無関係にフッ素化合物ポリマーであるポリテトラフルオロエチレンなどやまたは表面をフッ素化処理しているフィルム、があげられる。 In the present invention, as a material for the release film, a material that easily peels the adhesive layer in the next step can be appropriately selected, and it may be a transparent material or an opaque material. Specifically, for example, if the resin adhesive has a polar group, polyethylene, polypropylene film which is a nonpolar polymer, if it is a resin adhesive having a nonpolar group, PET, PMMA which is a polar polymer, or the material of the adhesive Regardless of the above, there may be mentioned polytetrafluoroethylene which is a fluorine compound polymer or a film whose surface is fluorinated.
離型フィルム上に塗布する接着機能樹脂としては、加熱により溶着し冷却により硬化する熱溶融型の樹脂を用いることができ、そのガラス転移温度(Tg)が50〜80℃であるものが好ましい。ガラス転移温度を50℃以上とすることにより、十分な耐熱性を有する面光源装置を得ることができ、一方80℃以下とすることにより、有機ELパネルの発光層を損なうことなく貼付を行なうことができる。 As the adhesive functional resin applied on the release film, a heat melting type resin that is welded by heating and hardened by cooling can be used, and a glass transition temperature (Tg) of 50 to 80 ° C. is preferable. By setting the glass transition temperature to 50 ° C. or higher, a surface light source device having sufficient heat resistance can be obtained. On the other hand, by setting the glass transition temperature to 80 ° C. or lower, the light emitting layer of the organic EL panel can be stuck without damaging it. Can do.
前記接着機能樹脂としては、共役ジエン重合体を環化反応させることにより得られる共役ジエン重合体環化物であって、前記共役ジエン重合体中の不飽和結合に対する前記共役ジエン重合体環化物中に存在する不飽和結合の減少率(不飽和結合減少率)が30%以上である共役ジエン重合体環化物を用いることができる。また、前記接着機能樹脂としては、前記共役ジエン重合体環化物と脂環式オレフィン樹脂とを含有してなるものを用いることもできる。 The adhesive functional resin is a conjugated diene polymer cyclized product obtained by cyclization reaction of a conjugated diene polymer, and the conjugated diene polymer cyclized product with respect to an unsaturated bond in the conjugated diene polymer. A conjugated diene polymer cyclized product having an existing unsaturated bond reduction rate (unsaturated bond reduction rate) of 30% or more can be used. Moreover, as said adhesive function resin, what contains the said conjugated diene polymer cyclization thing and alicyclic olefin resin can also be used.
前記共役ジエン重合体環化物は、共役ジエン重合体を、酸触媒の存在化に環化反応させて得られる。共役ジエン重合体としては、共役ジエン単量体の単独重合体及び共重合体並びに共役ジエン単量体とこれと共重合可能な単量体との共重合体を使用することができる。 The conjugated diene polymer cyclized product is obtained by subjecting a conjugated diene polymer to a cyclization reaction in the presence of an acid catalyst. As the conjugated diene polymer, homopolymers and copolymers of conjugated diene monomers and copolymers of conjugated diene monomers and monomers copolymerizable therewith can be used.
共役ジエン単量体は、特に限定されず、その具体例としては、1,3−ブタジエン、イソプレン、2,3−ジメチル−1,3−ブタジエン、2−フェニル−1,3−ブタジエン、1,3−ペンタジエン、2−メチル−1,3−ペンタジエン、1,3−ヘキサジエン、4,5−ジエチル−1,3−オクタジエン、3−ブチル−1,3−オクタジエン等が挙げられる。これらの単量体は、単独で使用しても2種類以上を組み合わせて用いてもよい。 The conjugated diene monomer is not particularly limited, and specific examples thereof include 1,3-butadiene, isoprene, 2,3-dimethyl-1,3-butadiene, 2-phenyl-1,3-butadiene, 1, Examples include 3-pentadiene, 2-methyl-1,3-pentadiene, 1,3-hexadiene, 4,5-diethyl-1,3-octadiene, and 3-butyl-1,3-octadiene. These monomers may be used alone or in combination of two or more.
共役ジエン重合体の具体例としては、天然ゴム、ポリイソプレン、ブタジエン−イソプレン共重合体等の共役ジエンの単独重合体又は共重合体;スチレン−ブタジエン共重合体、スチレン−イソプレン共重合体、イソプレン−イソブチレン共重合体、エチレン−プロピレン−ジエン系共重合体ゴム、スチレン−イソプレンブロック共重合体等の芳香族ビニル−共役ジエンブロック共重合体、等の共役ジエンとこれと共重合可能な単量体との共重合体を挙げることができる。中でも、天然ゴム、ポリイソプレン、及びスチレン−イソプレンブロック共重合体が好ましく、ポリイソプレン及びスチレン−イソプレンブロック共重合体がより好ましい。 Specific examples of conjugated diene polymers include homopolymers or copolymers of conjugated dienes such as natural rubber, polyisoprene, and butadiene-isoprene copolymers; styrene-butadiene copolymers, styrene-isoprene copolymers, isoprene. -Aromatic vinyl-conjugated diene block copolymer such as isobutylene copolymer, ethylene-propylene-diene copolymer rubber, styrene-isoprene block copolymer, etc. And a copolymer with the body. Among these, natural rubber, polyisoprene, and styrene-isoprene block copolymer are preferable, and polyisoprene and styrene-isoprene block copolymer are more preferable.
また、共役ジエン重合体環化物としては、極性基で変性された変性共役ジエン重合体環化物を用いることが好ましい。変性共役ジエン重合体環化物は、これを含有する発光素子用樹脂組成物の被着物に対する接着性を発現させ、また、発光素子用樹脂組成物中に微粒子が含まれる場合には、その微粒子の分散性を向上させる効果がある。極性基を含有する変性共役ジエン重合体環化物は、その一種類が発光素子用樹脂組成物中に含まれていてもよく、また、極性基が異なる複数種類が発光素子用樹脂組成物中に含まれていてもよい。また、2種類以上の官能基を有する共役ジエン重合体環化物を用いてもよい。 As the conjugated diene polymer cyclized product, a modified conjugated diene polymer cyclized product modified with a polar group is preferably used. The modified conjugated diene polymer cyclized product exhibits adhesion to the adherend of the resin composition for a light emitting device containing the same, and when the resin composition for a light emitting device contains fine particles, There is an effect of improving dispersibility. One kind of the modified conjugated diene polymer cyclized product containing a polar group may be contained in the resin composition for a light emitting device, and a plurality of types having different polar groups may be contained in the resin composition for a light emitting device. It may be included. Further, a conjugated diene polymer cyclized product having two or more kinds of functional groups may be used.
極性基としては、特に限定されるものではなく、例えば、酸無水物基、カルボキシル基、水酸基、チオール基、エステル基、エポキシ基、アミノ基、アミド基、シアノ基、シリル基、及びハロゲンなどが挙げられる。 The polar group is not particularly limited, and examples thereof include an acid anhydride group, carboxyl group, hydroxyl group, thiol group, ester group, epoxy group, amino group, amide group, cyano group, silyl group, and halogen. Can be mentioned.
酸無水物基又はカルボキシル基としては、例えば、無水マレイン酸、無水イタコン酸、無水アコニット酸、ノルボルネンジカルボン酸無水物、アクリル酸、メタクリル酸、及びマレイン酸などのビニルカルボン酸化合物などが共役ジエン重合体環化物に付加した構造の基が挙げられ、なかでも、無水マレイン酸が共役ジエン重合体環化物に付加した構造の基が反応性、経済性の点で好ましい。 Examples of the acid anhydride group or carboxyl group include maleic anhydride, itaconic anhydride, aconitic anhydride, norbornene dicarboxylic anhydride, vinyl carboxylic acid compounds such as acrylic acid, methacrylic acid, and maleic acid. Examples include a group having a structure added to a cyclized product of a polymer, and among them, a group having a structure in which maleic anhydride is added to a cyclized product of a conjugated diene polymer is preferable in terms of reactivity and economy.
アミド基は、アミド基を含有する不飽和化合物を用いて共役ジエン重合体環化物にグラフト化することにより、アミド基を導入する方法;官能基を含有する不飽和化合物を用いて官能基を導入し、導入した官能基とアミド基を有する化合物を反応させる方法等により導入できる。アミド基を含有する不飽和化合物としては、アクリルアミド、N−イソプロピルアクリルアミド、N,N−ジメチルアクリルアミド、N−ベンジルアクリルアミドなどが挙げられる。 Amide group is introduced by grafting conjugated diene polymer cyclized product using unsaturated compound containing amide group; introducing functional group using unsaturated compound containing functional group Then, it can be introduced by a method of reacting the introduced functional group with a compound having an amide group. Examples of the unsaturated compound containing an amide group include acrylamide, N-isopropylacrylamide, N, N-dimethylacrylamide, and N-benzylacrylamide.
水酸基としては、例えば、(メタ)アクリル酸2−ヒドロキシエチル、及び(メタ)アクリル酸2−ヒドロキシプロピルなどの不飽和酸のヒドロキシアルキルエステル類、N−メチロール(メタ)アクリルアミド、及びN−(2−ヒドロキシエチル)(メタ)アクリルアミドなどのヒドロキシル基を有する不飽和酸アミド類、ポリエチレングリコールモノ(メタ)アクリレート、ポリプロピレングリコールモノ(メタ)アクリレート、及びポリ(エチレングリコール−プロピレングリコール)モノ(メタ)クリレートなどの不飽和酸のポリアルキレングリコールモノエステル類、並びにグリセロールモノ(メタ)アクリレートなどの不飽和酸の多価アルコールモノエステル類などが共役ジエン重合体環化物に付加した構造の基が挙げられ、これらの中でも、不飽和酸のヒドロキシアルキルエステル類が好ましく、特にアクリル酸2−ヒドロキシエチル、又はメタクリル酸2−ヒドロキシエチルが共役ジエン重合体環化物に付加した構造の基が好ましい。 Examples of the hydroxyl group include hydroxyalkyl esters of unsaturated acids such as 2-hydroxyethyl (meth) acrylate and 2-hydroxypropyl (meth) acrylate, N-methylol (meth) acrylamide, and N- (2 -Unsaturated acid amides having hydroxyl groups such as hydroxyethyl) (meth) acrylamide, polyethylene glycol mono (meth) acrylate, polypropylene glycol mono (meth) acrylate, and poly (ethylene glycol-propylene glycol) mono (meth) acrylate Groups of structures in which polyalkylene glycol monoesters of unsaturated acids such as, and polyhydric alcohol monoesters of unsaturated acids such as glycerol mono (meth) acrylate are added to the conjugated diene polymer cyclized product, This Among al, hydroxyalkyl esters of unsaturated acids are preferred, particularly 2-hydroxyethyl acrylate or 2-hydroxyethyl methacrylate is a group of the structure obtained by adding the conjugated diene polymer cyclized product preferred.
その他の極性基を含有するビニル化合物としては、例えば、メチル(メタ)アクリレート、エチル(メタ)アクリレート、ブチル(メタ)アクリレート、グリシジル(メタ)アクリレート、ジメチルアミノエチル(メタ)アクリレート、ジメチルアミノプロピル(メタ)アクリレート、(メタ)アクリルアミド、及び(メタ)アクリロニトリルなどが挙げられる。 Examples of vinyl compounds containing other polar groups include methyl (meth) acrylate, ethyl (meth) acrylate, butyl (meth) acrylate, glycidyl (meth) acrylate, dimethylaminoethyl (meth) acrylate, dimethylaminopropyl ( And (meth) acrylate, (meth) acrylamide, and (meth) acrylonitrile.
変性共役ジエン重合体環化物、特に極性基含有共役ジエン重合体環化物中の極性基の含有量は、特に制限されないが、通常、0.1〜15モル%、好ましくは0.5〜10モル%、より好ましくは1〜7モル%の範囲である。この含有量が少なすぎても多すぎても、酸素吸収機能が劣る傾向がある。なお、極性基の含有量は、変性共役ジエン重合体環化物の分子に結合している極性基の分子量相当量を1モルとしている。 The content of the polar group in the modified conjugated diene polymer cyclized product, particularly the polar group-containing conjugated diene polymer cyclized product is not particularly limited, but is usually 0.1 to 15 mol%, preferably 0.5 to 10 mol. %, More preferably in the range of 1 to 7 mol%. If the content is too small or too large, the oxygen absorption function tends to be inferior. In addition, content of a polar group makes 1 mol the molecular weight equivalent amount of the polar group couple | bonded with the molecule | numerator of a modified conjugated diene polymer cyclization thing.
変性共役ジエン重合体環化物を製造する方法としては、(1)上述の方法で得られた共役ジエン重合体環化物に極性基含有ビニル化合物を付加反応させる方法、(2)極性基を含有する共役ジエン重合体を、上述の方法で環化反応させて得る方法、(3)極性基を含有しない共役ジエン重合体に極性基を含有するビニル化合物を付加反応させた後、環化反応させて得る方法、及び(4)前記(2)又は(3)の方法で得たものにさらに極性基含有ビニル化合物を付加反応させる方法等が挙げられる。中でも、不飽和結合減少率をより調整しやすい点からは、前記(1)の方法が好ましい。 As a method for producing a modified conjugated diene polymer cyclized product, (1) a method in which a conjugated diene polymer cyclized product obtained by the above-described method is subjected to an addition reaction with a polar group-containing vinyl compound, and (2) a polar group is contained. A method of obtaining a conjugated diene polymer by cyclization reaction by the above-mentioned method, (3) An addition reaction of a vinyl compound containing a polar group to a conjugated diene polymer not containing a polar group, followed by a cyclization reaction. And (4) a method of further adding a polar group-containing vinyl compound to the product obtained by the method (2) or (3). Especially, the point of said (1) is preferable from the point which can adjust an unsaturated bond decreasing rate more easily.
極性基含有ビニル化合物としては、共役ジエン重合体環化物に極性基を導入することができる化合物であれば特に限定されるものではなく、例えば、酸無水物基、カルボキシル基、水酸基、チオール基、エステル基、エポキシ基、アミノ基、アミド基、シアノ基、シリル基、及びハロゲンなどの極性基を有するビニル化合物が好ましく挙げられる。 The polar group-containing vinyl compound is not particularly limited as long as it is a compound that can introduce a polar group into a conjugated diene polymer cyclized product. For example, an acid anhydride group, a carboxyl group, a hydroxyl group, a thiol group, Preferred examples include vinyl compounds having polar groups such as ester groups, epoxy groups, amino groups, amide groups, cyano groups, silyl groups, and halogens.
酸無水物基又はカルボキシル基を有するビニル化合物としては、例えば、無水マレイン酸、無水イタコン酸、無水アコニット酸、ノルボルネンジカルボン酸無水物、アクリル酸、メタクリル酸、及びマレイン酸などが挙げられ、なかでも、無水マレイン酸が反応性及び経済性の点で好ましく使用できる。水酸基を含有するビニル化合物としては、例えば、不飽和酸のヒドロキシアルキルエステル類が好ましく、特にアクリル酸2−ヒドロキシエチル、及びメタクリル酸2−ヒドロキシエチルが好ましいビニル化合物として挙げられる。 Examples of the vinyl compound having an acid anhydride group or a carboxyl group include maleic anhydride, itaconic anhydride, aconitic anhydride, norbornene dicarboxylic acid anhydride, acrylic acid, methacrylic acid, and maleic acid. Maleic anhydride can be preferably used in terms of reactivity and economy. As a vinyl compound containing a hydroxyl group, for example, hydroxyalkyl esters of unsaturated acids are preferable, and 2-hydroxyethyl acrylate and 2-hydroxyethyl methacrylate are particularly preferable vinyl compounds.
共役ジエン重合体環化物に、極性基含有ビニル化合物を付加反応させて、この極性基含有ビニル化合物に由来する極性基を導入する方法は、特に限定されないが、一般にエン付加反応又はグラフト重合反応と呼ばれる公知の反応に従えばよい。この付加反応は、共役ジエン重合体環化物と極性基含有ビニル化合物とを、必要に応じて、ラジカル発生剤の存在下に、接触反応させることによって行われる。ラジカル発生剤としては、例えば、ジ−tert−ブチルパーオキシド、ジクミルパーオキシド、及びベンゾイルパーオキシドのようなパーオキシド類、並びにアゾビスイソブチロニトリルのようなアゾニトリル類などが挙げられる。 The method for adding a polar group-containing vinyl compound to a conjugated diene polymer cyclized product and introducing a polar group derived from the polar group-containing vinyl compound is not particularly limited, but is generally an ene addition reaction or a graft polymerization reaction. What is necessary is just to follow the well-known reaction called. This addition reaction is carried out by contacting the conjugated diene polymer cyclized product with the polar group-containing vinyl compound in the presence of a radical generator, if necessary. Examples of the radical generator include peroxides such as di-tert-butyl peroxide, dicumyl peroxide, and benzoyl peroxide, and azonitriles such as azobisisobutyronitrile.
共役ジエン重合体環化物は、100%環化したものを除けば、少なくとも共役ジエン本来の直鎖状不飽和結合と環化した部分の環状不飽和結合との2種類の不飽和結合を有している。共役ジエン重合体環化物は、環状不飽和結合部分が酸素吸収に大きく寄与し、直鎖状不飽和結合部分はほとんど酸素吸収に寄与しないと考えられる。そのため、共役ジエン重合体中の不飽和結合に対する前記共役ジエン重合体環化物中に存在する不飽和結合の減少率(不飽和結合減少率)が30%以上の共役ジエン重合体環化物が、本発明の発光素子における酸素吸収部材の素材として必須である。共役ジエン重合体環化物の不飽和結合減少率は、好ましくは40〜75%、より好ましくは55〜70%である。不飽和結合減少率が低すぎると、酸素吸収性が劣化する傾向がある。共役ジエン重合体環化物は、不飽和結合減少率を上記好ましい範囲の上限以下とすることで、共役ジエン重合体環化物が脆くなることを防ぎ、製造を容易にすると共に、製造時にゲル化の進行を抑え、透明性が向上し多くの用途に使用できる。また、不飽和結合減少率が50%を超えると、接着性が発現するので、この性質を活用することもできる。 The conjugated diene polymer cyclized product has at least two kinds of unsaturated bonds, ie, a linear unsaturated bond inherent to the conjugated diene and a cyclic unsaturated bond of the cyclized portion, except for a 100% cyclized product. ing. In the conjugated diene polymer cyclized product, it is considered that the cyclic unsaturated bond portion greatly contributes to oxygen absorption, and the linear unsaturated bond portion hardly contributes to oxygen absorption. Therefore, a conjugated diene polymer cyclized product having a reduction rate of unsaturated bonds (unsaturated bond reduction rate) in the conjugated diene polymer cyclized product with respect to unsaturated bonds in the conjugated diene polymer of 30% or more is It is essential as a material for the oxygen absorbing member in the light emitting device of the invention. The unsaturated bond reduction rate of the conjugated diene polymer cyclized product is preferably 40 to 75%, more preferably 55 to 70%. If the unsaturated bond reduction rate is too low, oxygen absorption tends to deteriorate. The conjugated diene polymer cyclized product prevents the conjugated diene polymer cyclized product from becoming brittle by making the unsaturated bond reduction rate less than or equal to the upper limit of the above preferred range, facilitates production, and causes gelation during production. Progression is suppressed, transparency is improved, and it can be used for many purposes. Further, if the unsaturated bond reduction rate exceeds 50%, adhesiveness is exhibited, and this property can be utilized.
ここで不飽和結合減少率は、共役ジエン重合体中の共役ジエン単量体単位部位において、不飽和結合が環化反応によって減少した程度を表す指標であり、以下のようにして求められる数値である。すなわち、プロトンNMR(1H−NMR)分析により、共役ジエン重合体中の共役ジエン単量体単位部分において、全プロトンのピーク面積に対する二重結合に直接結合したプロトンのピーク面積の比率を、環化反応前後について、それぞれ求め、その減少率を計算する。 Here, the unsaturated bond reduction rate is an index representing the degree to which the unsaturated bond is reduced by the cyclization reaction in the conjugated diene monomer unit site in the conjugated diene polymer, and is a numerical value obtained as follows. is there. That is, by proton NMR ( 1 H-NMR) analysis, in the conjugated diene monomer unit portion in the conjugated diene polymer, the ratio of the peak area of protons directly bonded to double bonds to the peak area of all protons is Calculate the reduction rate before and after the chemical reaction.
いま、共役ジエン重合体中の共役ジエン単量体単位部位において、環化反応前の全プロトンピーク面積をSBT,二重結合に直接結合したプロトンのピーク面積をSBU,環化反応後の全プロトンピーク面積をSAT,二重結合に直接結合したプロトンピークのピーク面積をSAUとすると環化反応前の二重結合に直接結合したプロトンのピーク面積比率(SB)は、SB=SBU/SBTとして、環化反応後の二重結合に直接結合したプロトンのピーク面積比率(SA)は、SA=SAU/SATとして表される。従って、不飽和結合減少率は、
不飽和結合減少率(%)=100×(SB−SA)/SB
として求められる。
Now, in the conjugated diene polymer unit site in the conjugated diene polymer, the total proton peak area before the cyclization reaction is SBT, the peak area of the proton directly bonded to the double bond is SBU, and the total proton after the cyclization reaction When the peak area is SAT and the peak area of the proton peak directly bonded to the double bond is SAU, the peak area ratio (SB) of the proton directly bonded to the double bond before the cyclization reaction is SB = SBU / SBT, The peak area ratio (SA) of the proton directly bonded to the double bond after the cyclization reaction is expressed as SA = SAU / SAT. Therefore, the unsaturated bond reduction rate is
Unsaturated bond reduction rate (%) = 100 × (SB−SA) / SB
As required.
本発明に用いる共役ジエン重合体環化物の酸素吸収量は、5ml/g以上、好ましくは10ml/g以上,より好ましくは50ml/g以上である。酸素吸収量とは、23℃において、共役ジエン重合体環化物を粉末または薄膜として十分に酸素を吸収させて飽和状態になったときの共役ジエン重合体環化物1gの吸収した酸素量である。酸素吸収量が少ないと、長期間安定して酸素を吸収させるためには、大量の共役ジエン重合体環化物が必要となる。酸素吸収量はおもに共役ジエン重合体環化物中の不飽和結合減少率と相関がある。 The oxygen absorption amount of the conjugated diene polymer cyclized product used in the present invention is 5 ml / g or more, preferably 10 ml / g or more, more preferably 50 ml / g or more. The oxygen absorption amount is the amount of oxygen absorbed by 1 g of the conjugated diene polymer cyclized product when the conjugated diene polymer cyclized product is sufficiently absorbed as a powder or thin film to reach a saturated state at 23 ° C. If the amount of oxygen absorbed is small, a large amount of conjugated diene polymer cyclized product is required to stably absorb oxygen for a long period of time. The amount of oxygen absorbed is mainly correlated with the unsaturated bond reduction rate in the conjugated diene polymer cyclized product.
本発明においては、用いる共役ジエン重合体環化物は、表面からの酸素吸収速度が1.0ml/m2・日以上、好ましくは5.0ml/m2・日以上、さらに好ましくは10ml/m2・日以上である。共役ジエン重合体環化物に大きな酸素吸収能力があったとしても、酸素吸収速度が遅すぎると外部から侵入してくる酸素を十分に吸収できず透過させてしまうことがある。また、発光素子の封止容器として使用した際、何らかの理由で封止空間内に存在、または侵入してきた酸素は、速やかに共役ジエン重合体環化物層により吸収
除去されねばならない。このような観点からも上述の酸素吸収速度を持つものが望ましい。
In the present invention, the conjugated diene polymer cyclized product used has an oxygen absorption rate from the surface of 1.0 ml / m 2 · day or more, preferably 5.0 ml / m 2 · day or more, more preferably 10 ml / m 2. -More than a day. Even if the conjugated diene polymer cyclized product has a large oxygen absorption ability, if the oxygen absorption rate is too slow, oxygen entering from the outside may not be sufficiently absorbed and transmitted. Further, when used as a sealing container of a light emitting element, oxygen that has existed or has invaded in the sealed space for some reason must be quickly absorbed and removed by the conjugated diene polymer cyclized product layer. From this point of view, those having the above-described oxygen absorption rate are desirable.
前記共役ジエン重合体環化物の前記接着機能樹脂中の含有量は、通常の場合、5〜90重量%であり、好ましくは15〜70重量%である。この共役ジエン重合体環化物の含有量が前記下限値を下回ると、常温(25℃)における酸素吸収力及び密着力が低下するといった不都合を生じることがあり、また前記上限値を超えると機械的強度が低下するといった不都合を生じることがある。 The content of the conjugated diene polymer cyclized product in the adhesive functional resin is usually 5 to 90% by weight, preferably 15 to 70% by weight. When the content of the conjugated diene polymer cyclized product is lower than the lower limit value, there may be a disadvantage that the oxygen absorption capacity and the adhesion force at room temperature (25 ° C.) are lowered. There is a possibility that the strength is lowered.
前記脂環式オレフィン樹脂とは、主鎖及び/または側鎖にシクロアルカン構造やシクロアルケン構造などの脂環式構造を有する非晶性の樹脂である。機械的強度や耐熱性などの観点から、主鎖に脂環式構造を含有する重合体が好適である。また、脂環式構造としては、単環、多環(縮合多環、橋架け環など)が挙げられる。脂環式構造の中では、シクロアルカン構造が好ましい。脂環式構造の一単位を構成する炭素原子数は、格別な制限はないが、通常4〜30個、好ましくは5〜20個、より好ましくは5〜15個の範囲であるときに、機械的強度、耐熱性、及び成形性の諸特性が高度にバランスされ好適である。前記脂環式オレフィン樹脂の具体例としては、(1)ノルボルネン重合体、(2)単環の環状オレフィンの重合体、(3)環状共役ジエンの重合体、(4)ビニル脂環式炭化水素重合体及びこれらの混合物などが挙げられる。これらの中でも、光学特性、耐熱性、及び機械的強度の観点から、ノルボルネン重合体、ビニル脂環式炭化水素重合体が好ましい。また、脂環式オレフィン樹脂として極性基を有する脂環式オレフィン樹脂を用いると、光線透過率を損なうことなく無機物との親和性を向上させ得ることができる。 The alicyclic olefin resin is an amorphous resin having an alicyclic structure such as a cycloalkane structure or a cycloalkene structure in the main chain and / or side chain. From the viewpoint of mechanical strength and heat resistance, a polymer containing an alicyclic structure in the main chain is preferred. Examples of the alicyclic structure include monocycles and polycycles (condensed polycycles, bridged rings, etc.). Among the alicyclic structures, a cycloalkane structure is preferable. The number of carbon atoms constituting one unit of the alicyclic structure is not particularly limited, but is usually 4-30, preferably 5-20, more preferably 5-15. Various properties such as mechanical strength, heat resistance, and moldability are highly balanced and suitable. Specific examples of the alicyclic olefin resin include (1) norbornene polymer, (2) monocyclic olefin polymer, (3) cyclic conjugated diene polymer, and (4) vinyl alicyclic hydrocarbon. Examples thereof include a polymer and a mixture thereof. Among these, a norbornene polymer and a vinyl alicyclic hydrocarbon polymer are preferable from the viewpoints of optical properties, heat resistance, and mechanical strength. Further, when an alicyclic olefin resin having a polar group is used as the alicyclic olefin resin, the affinity with an inorganic substance can be improved without impairing the light transmittance.
(1)ノルボルネン重合体
この発明に用いるノルボルネン重合体としては、ノルボルネンモノマーの開環重合体、ノルボルネンモノマーとこれを開環共重合可能なその他のモノマーとの開環共重合体、これらの水素化物、ノルボルネンモノマーの付加重合体、ノルボルネンモノマーとこれと共重合可能なその他のモノマーとの付加共重合体などが挙げられる。ノルボルネンモノマーとしては、ビシクロ〔2.2.1〕−ヘプト−2−エン(慣用名:ノルボルネン)及びその誘導体(環に置換基を有するもの)、トリシクロ〔4.3.12,5.01,6〕−デカ−3,7−ジエン、テトラシクロ〔7.4.110,13.01,9.02,7〕−トリデカ−2,4,6,11−テトラエン、テトラシクロ〔4.4.12,5.17,10.0〕−ドデカ−エン及びこれらの環に置換基を有する誘導体などが挙げられる。環に存在する置換基としては、アルキル基、アルキレン基、ビニル基、及びアルコキシカルボニル基などが例示でき、上記ノルボルネンモノマーはこれらを2種以上有してもよい。これらのノルボルネンモノマーはそれぞれ単独であるいは2種以上を組み合わせて用いられる。ノルボルネンモノマーと開環共重合可能なその他のモノマーとしては、例えば、シクロヘキセン、シクロヘプテン、及びシクロオクテンなどの単環の環状オレフィン系単量体などを挙げることができる。これらのノルボルネンモノマーと共重合可能なその他のモノマーは、それぞれ単独で、あるいは2種以上を組み合わせて使用することができる。ノルボルネンモノマーとこれと共重合可能なその他のモノマーとを付加共重合する場合は、付加共重合体中のノルボルネンモノマー由来の構造単位と共重合可能なその他のモノマー由来の構造単位との割合が、重量比で30:70〜99:1、好ましくは50:50〜97:3、より好ましくは70:30〜95:5の範囲となるように適宜選択される。ノルボルネンモノマーと付加共重合可能なその他のモノマーとしては、エチレン、プロピレン、1−ブテン等の炭素数2〜12のα−オレフィン類;スチレン、α−メチルスチレンなどのスチレン類;1,3−ブタジエン、イソプレン等の鎖状共役ジエン類;エチルビニルエーテルなどのビニルエーテル類などが挙げられる。
(1) Norbornene polymer The norbornene polymer used in the present invention includes a ring-opening polymer of a norbornene monomer, a ring-opening copolymer of a norbornene monomer and other monomers capable of ring-opening copolymerization, and hydrides thereof. Addition polymers of norbornene monomers, addition copolymers of norbornene monomers and other monomers copolymerizable therewith, and the like. Examples of the norbornene monomer include bicyclo [2.2.1] -hept-2-ene (common name: norbornene) and its derivatives (having a substituent in the ring), and tricyclo [4.3.1 2,5 . 0 1,6 ] -deca-3,7-diene, tetracyclo [7.4.1 10,13 . 0 1,9 . 0 2,7 ] -trideca-2,4,6,11-tetraene, tetracyclo [4.4.1 2,5 . 1 7,10 . 0] -dodecaene and derivatives having a substituent on these rings. Examples of the substituent present in the ring include an alkyl group, an alkylene group, a vinyl group, and an alkoxycarbonyl group. The norbornene monomer may have two or more of these. These norbornene monomers may be used alone or in combination of two or more. Examples of other monomers capable of ring-opening copolymerization with norbornene monomer include monocyclic olefin monomers such as cyclohexene, cycloheptene, and cyclooctene. These other monomers copolymerizable with the norbornene monomer can be used alone or in combination of two or more. In the case of addition copolymerization of a norbornene monomer and another monomer copolymerizable therewith, the ratio of the structural unit derived from the norbornene monomer and the structural unit derived from the other monomer copolymerizable in the addition copolymer is The weight ratio is appropriately selected so as to be in the range of 30:70 to 99: 1, preferably 50:50 to 97: 3, more preferably 70:30 to 95: 5. Other monomers capable of addition copolymerization with norbornene monomer include α-olefins having 2 to 12 carbon atoms such as ethylene, propylene, 1-butene; styrenes such as styrene and α-methylstyrene; 1,3-butadiene. And chain conjugated dienes such as isoprene; and vinyl ethers such as ethyl vinyl ether.
(2)単環の環状オレフィン重合体
単環の環状オレフィン重合体としては、例えば、シクロヘキセン、シクロヘプテン、及びシクロオクテンなどの単環環状オレフィン単量体の付加重合体を用いることができる。
(2) Monocyclic Cyclic Olefin Polymer As the monocyclic cycloolefin polymer, for example, an addition polymer of a monocyclic cycloolefin monomer such as cyclohexene, cycloheptene, and cyclooctene can be used.
(3)環状共役ジエン重合体
環状共役ジエン重合体としては、例えば、シクロペンタジエン、及びシクロヘキサジエンなどの環状共役ジエン単量体を1,2−又は1,4−付加重合した重合体及びその水素化物などを用いることができる。
(3) Cyclic conjugated diene polymer Examples of the cyclic conjugated diene polymer include a polymer obtained by subjecting a cyclic conjugated diene monomer such as cyclopentadiene and cyclohexadiene to 1,2- or 1,4-addition polymerization, and hydrogen thereof. A compound or the like can be used.
(4)ビニル脂環式炭化水素重合体
ビニル脂環式炭化水素重合体としては、例えば、ビニルシクロヘキセン、及びビニルシクロヘキサンなどのビニル脂環式炭化水素系単量体の重合体及びその水素化物、スチレン、及びα−メチルスチレンなどを初めとするビニル芳香族単量体を重合してなる重合体の、芳香族環部分の水素化物、が挙げられ、ビニル脂環式炭化水素単量体及びビニル芳香族単量体等と、これら単量体と共重合可能な他の単量体との共重合体の水素化物などが挙げられる。
(4) Vinyl alicyclic hydrocarbon polymer As the vinyl alicyclic hydrocarbon polymer, for example, polymers of vinyl alicyclic hydrocarbon monomers such as vinyl cyclohexene and vinyl cyclohexane and their hydrides, Examples thereof include hydrides of aromatic ring portions of polymers obtained by polymerizing vinyl aromatic monomers such as styrene and α-methylstyrene, and vinyl alicyclic hydrocarbon monomers and vinyl. Examples thereof include hydrides of copolymers of aromatic monomers and other monomers copolymerizable with these monomers.
極性基を有する脂環式オレフィン樹脂における、極性基の種類としては、例えば、酸素原子、窒素原子、硫黄原子、及びケイ素原子を含む極性基、並びにハロゲン原子が挙げられるが、無機化合物との分散性及び他の樹脂との相溶性等の観点から、酸素原子及び窒素原子等を含む極性基が好ましい。極性基の具体例としては、カルボキシル基、カルボニルオキシカルボニル基、エポキシ基、ヒドロキシル基、オキシ基、エステル基、シラノール基、シリル基、アミノ基、ニトリル基、及びスルホン基などが挙げられる。 Examples of the polar group in the alicyclic olefin resin having a polar group include a polar group containing an oxygen atom, a nitrogen atom, a sulfur atom, and a silicon atom, and a halogen atom. From the viewpoints of compatibility and compatibility with other resins, polar groups containing oxygen atoms, nitrogen atoms, and the like are preferred. Specific examples of the polar group include a carboxyl group, a carbonyloxycarbonyl group, an epoxy group, a hydroxyl group, an oxy group, an ester group, a silanol group, a silyl group, an amino group, a nitrile group, and a sulfone group.
この発明においては、これらの脂環式オレフィン樹脂の中でも、ノルボルネン重合体が好ましく、ノルボルネンモノマーとα−オレフィン類との付加共重合体がより好ましく、ノルボルネンモノマーとエチレンとの付加共重合体が特に好ましい。 In the present invention, among these alicyclic olefin resins, norbornene polymers are preferable, addition copolymers of norbornene monomers and α-olefins are more preferable, and addition copolymers of norbornene monomers and ethylene are particularly preferable. preferable.
前記脂環式オレフィン樹脂の前記接着機能樹脂中の含有量は、通常の場合、10〜80重量%であり、好ましくは15〜70重量%である。この脂環式オレフィン樹脂の含有量が前記下限値を下回ると機械的強度が低下するといった不都合を生じることがあり、また前記上限値を超えると常温(25℃)における酸素吸収力が低下するといった不都合を生じることがある。 The content of the alicyclic olefin resin in the adhesive functional resin is usually 10 to 80% by weight, preferably 15 to 70% by weight. When the content of the alicyclic olefin resin is less than the lower limit value, mechanical strength may be lowered. When the upper limit value is exceeded, the oxygen absorption capacity at room temperature (25 ° C.) is reduced. Inconvenience may occur.
前記接着機能樹脂は、水分吸収性樹脂、無機乾燥剤、放熱性微粉体、各種添加剤等を、含有していても良い。
またその他の接着機能樹脂としては、無水マレイン酸などの極性物質を用いて変性したポリオレフインが用いられる。ポリオレフインは熱可塑性樹脂として熱安定性、耐薬品性および耐候性などの諸特性において優れており(なかでも特に線状ポリエチレンあるいはポリプロピレン)、汎用性の高い樹脂である半面、分子内に極性官能基を有していないために接着性、印刷性等の物性が著しく劣り、その使用範囲が制限されている。
ポリオレフインの持つ上記のような欠点を補う為に無水マレイン酸をグラフト重合させる方法がある。これにはγ線、X線あるいは高速電子線などを照射してグラフト重合を行なう方法、パーオキサイドなどのグラフト重合開始剤を使用する方法などが利用されている。このうちパーオキサイドを使用する方法は、反応に際して特殊な設備等を必要としないことなどの点で有利であることが多く、広く使用されている方法である。パーオキサイドとしては、ベンゾイルパーオキサイド、あるいはt−ブチルパーオキシベンゾエートなどの使用が一般的である。
The adhesive functional resin may contain a moisture absorbing resin, an inorganic desiccant, a heat dissipating fine powder, various additives, and the like.
As other adhesive functional resin, polyolefin modified with a polar substance such as maleic anhydride is used. Polyolefin is a thermoplastic resin that excels in various properties such as thermal stability, chemical resistance, and weather resistance (especially linear polyethylene or polypropylene). On the other hand, it is a highly versatile resin, with polar functional groups in the molecule. Therefore, the physical properties such as adhesiveness and printability are remarkably inferior, and the range of use is limited.
There is a method of graft polymerization of maleic anhydride to compensate for the above-mentioned drawbacks of polyolefin. For this, a method of performing graft polymerization by irradiating γ-rays, X-rays or high-speed electron beams, a method of using a graft polymerization initiator such as peroxide, and the like are used. Of these, the method using peroxide is often advantageous in that it does not require special equipment during the reaction, and is a widely used method. As the peroxide, benzoyl peroxide, t-butyl peroxybenzoate, or the like is generally used.
離型フィルム上への接着機能樹脂の塗布の方法は、特に限定されずバーコーティング、スピンコーティング、スプレーコーティング、グラビアコーティング等の方法を採ることができる。これらの方法により塗膜を形成し、さらに必要に応じて乾燥等の処理を施すことにより、接着層を得ることができる。接着層の厚さは、100μm以下が好ましく、さらに好ましくは50μm以下である。接着層の厚さの下限は、例えば0.1μm以上とすることができる。 The method of applying the adhesive functional resin onto the release film is not particularly limited, and methods such as bar coating, spin coating, spray coating, and gravure coating can be employed. An adhesive layer can be obtained by forming a coating film by these methods and further performing a treatment such as drying as necessary. The thickness of the adhesive layer is preferably 100 μm or less, and more preferably 50 μm or less. The lower limit of the thickness of the adhesive layer can be set to 0.1 μm or more, for example.
本発明の製造方法では、続いて、加熱した弾性体ローラーを移動させ且つ前記積層体(1)の未接着の部分を緊張させながら、前記積層体(1)を前記ローラーで加圧して、前記積層体(1)を、前記接着層と前記有機ELパネルの出光面側の表面とが接するよう、前記有機ELパネルに貼付する(工程(B))。 In the production method of the present invention, subsequently, the laminated body (1) is pressurized with the roller while moving the heated elastic roller and tensioning the unbonded portion of the laminated body (1), The laminate (1) is attached to the organic EL panel so that the adhesive layer and the surface on the light emitting surface side of the organic EL panel are in contact with each other (step (B)).
この工程を、図2及び図3を参照して説明する。図2は、かかる貼付の工程の一例を模式的に説明する断面図であり、図3は、かかる貼付が完了した状態の構造物の一例を模式的に示す断面図である。 This process will be described with reference to FIGS. FIG. 2 is a cross-sectional view schematically illustrating an example of the sticking process, and FIG. 3 is a cross-sectional view schematically illustrating an example of a structure in a state where the sticking is completed.
図2に示す例においては、加熱したローラー281を矢印283a方向に動かし、基板241の出光面側の表面241e上に、離型フィルム121及び接着層131からなる積層体(1)を、離型フィルム121側から矢印283b方向に加圧しながら貼付している。図2においては、接着層131の領域291dが既に接着され、領域291t及び291uがこれから接着される時点での状態を図示している。
In the example shown in FIG. 2, the
貫通孔を有するか又は多孔質材料で形成された真空チャック装置282を用い、空気を矢印284aの方向に吸引することにより、真空チャック装置282で積層体(1)の領域291uを保持し、真空チャック装置282で積層体(1)に、矢印283cの方向に緊張を加えることにより、積層体(1)の未接着の部分である領域291tを緊張させながら、積層体(1)をローラー281で加圧することができる。真空チャック装置282の吸引は、ローラー281の動きと連動させることができる。即ち、ローラー281が、矢印283aの方向に移動するに従い、真空チャック装置282のうちローラー281が近づいた部分の吸引を解除することにより、緊張の方向283cを一定の角度とし、且つ緊張の張力を一定に保つことができる。
By using a
かかる貼付により、図3に示すように、有機パネル610の基板241の出光面側の面241e上に、接着層131及び離型フィルム121がこの順に積層された構造物が得られる。
With this pasting, as shown in FIG. 3, a structure in which the
この工程でローラーとしては、弾性体ローラーを使用する。ここでいう弾性体とは、ヤング率が0.1Gpa以下のゴム状の材質を示している。弾性体ローラーは、その全てが弾性体である必要はなく、ローラーが加圧対象に接する部分のみが弾性体であってもよい。例えば非弾性体の金属の円筒の外周を弾性体で被覆した構造のローラーも弾性体ローラーに含まれる。弾性体は、好ましくは耐熱性である。耐熱性であるとは、後述する加熱温度における加圧が可能であることをいう。かかる弾性体としては、具体的には例えば、シリコンゴム、フッ素ゴム等の材料を用いることができる。かかる弾性体ローラーを用いることにより、ローラーが樹脂フィルム上へ接触した際、フィルムへの接触面積が大きくなり、比較的接触圧力が低くても効率的に加熱することが可能となる。 In this step, an elastic roller is used as the roller. The elastic body here refers to a rubber-like material having a Young's modulus of 0.1 Gpa or less. The elastic roller does not necessarily have to be an elastic body, and only the portion where the roller contacts the object to be pressed may be an elastic body. For example, a roller having a structure in which the outer periphery of a non-elastic metal cylinder is covered with an elastic body is also included in the elastic body roller. The elastic body is preferably heat resistant. To be heat resistant means that pressurization at a heating temperature described later is possible. As such an elastic body, specifically, materials such as silicon rubber and fluorine rubber can be used. By using such an elastic roller, when the roller comes into contact with the resin film, the contact area with the film becomes large, and it is possible to heat efficiently even if the contact pressure is relatively low.
ローラーの加熱温度は、接着層の接着面(図2の例では、接着層131の、基板241と接触する面)の温度が、50〜80℃の範囲内となる温度とすることが好ましい。貼付温度を80℃以下とすることにより、発光層の劣化を伴わずに貼付を行なうことができ、50℃以上とすることにより、上述の接着層に適合した貼付を行なうことができる。ローラー自体の温度は、ローラーの移動速度に応じて接着層の接着面温度が変化する(移動速度が速いほど接着面温度が低下する)ので、ローラーの移動速度などの条件に応じて適宜調節することができる。ローラーの移動速度はフィルムの材質により一律ではないが10〜1,000mm/minとすることができる。
The heating temperature of the roller is preferably a temperature at which the temperature of the adhesive surface of the adhesive layer (the surface of the
ローラーの加圧における接触圧力は、0.5MPa以下とすることが好ましい。接触圧力をこの範囲とすることにより、封止容器の中空部分でのひずみの発生を防止し、ひいては封止容器及び透明基板の破損を防止することができる。また、接触圧力の下限は、特に限定されないが、0.01MPa以上とすることができる。 The contact pressure in pressing the roller is preferably 0.5 MPa or less. By setting the contact pressure within this range, it is possible to prevent the occurrence of distortion in the hollow portion of the sealing container, and thus prevent the sealing container and the transparent substrate from being damaged. The lower limit of the contact pressure is not particularly limited, but can be 0.01 MPa or more.
積層体(1)の未接着の部分を緊張させる際の緊張を加える方向は、上記の例に示す通り、ローラーの回転軸に垂直で、且つ、貼付対象である有機ELパネルの出光面側の表面と、所定の角度を有する方向とすることができる。かかる所定の角度は、0〜50°とすることができる。また、緊張を加える際の張力はフィルムの材質により一律ではないが、1〜100MPaとすることができる。 As shown in the above example, the direction of applying tension when the unbonded portion of the laminate (1) is tensioned is perpendicular to the rotation axis of the roller and on the light emitting surface side of the organic EL panel to be pasted. It can be a direction having a predetermined angle with the surface. Such a predetermined angle can be 0 to 50 °. Moreover, although the tension | tensile_strength at the time of applying tension is not uniform with the material of a film, it can be set to 1-100 Mpa.
上記の如く貼付を行なうことにより、発光層の温度上昇を最小限としつつ、接着層を熱溶融させながら貼付することができ、皺が無く均一な接着層を、有機ELパネルの破損や劣化を伴わずに、有機ELパネル上に設けることができる。 By sticking as described above, it is possible to stick while the adhesive layer is melted by heat while minimizing the temperature rise of the light emitting layer. It can be provided on the organic EL panel without accompanying.
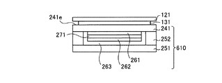
本発明の製造方法では、続いて、前記離型フィルムを剥離し、前記接着層を露出させる(工程(C))。これにより、例えば図4に示す例のように、有機ELパネル610の出光面側の面241e上に、面131eが露出した接着層131を設けた構造物を得ることができる。
In the production method of the present invention, subsequently, the release film is peeled off to expose the adhesive layer (step (C)). As a result, for example, as in the example shown in FIG. 4, it is possible to obtain a structure in which the
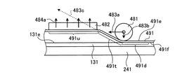
本発明の製造方法では、続いて、加熱した弾性体ローラーを移動させ且つ前記凹凸構造を有する樹脂フィルムの未接着の部分を緊張させながら、前記凹凸構造を有する樹脂フィルムを前記ローラーで加圧して、露出した前記接着層の面上に、前記凹凸構造を有する樹脂フィルムを貼付する(工程(D))。 In the production method of the present invention, subsequently, the heated elastic roller is moved and the unbonded portion of the resin film having the uneven structure is tensioned, and the resin film having the uneven structure is pressed with the roller. Then, the resin film having the concavo-convex structure is pasted on the exposed surface of the adhesive layer (step (D)).
この工程を、図5及び図6を参照して説明する。図5は、かかる貼付の工程の一例を模式的に説明する断面図であり、図6は、かかる貼付が完了した状態の有機ELパネルの構造の一例を模式的に示す断面図である。 This process will be described with reference to FIGS. FIG. 5 is a cross-sectional view schematically illustrating an example of the pasting process, and FIG. 6 is a cross-sectional view schematically illustrating an example of the structure of the organic EL panel in a state where the pasting is completed.
図5に示す例においては、加熱したローラー481を矢印483a方向に動かし、接着層131の、離型フィルムで覆われていた側の面131e上に、凹凸構造を有する樹脂フィルム491を、その表面491e側から矢印483b方向に加圧しながら貼付している。図5においては、樹脂フィルム491の領域491dが既に接着され、領域491t及び491uがこれから接着される時点での状態を図示している。
In the example shown in FIG. 5, the
貫通孔を有するか又は多孔質材料で形成された真空チャック装置482を用い、空気を矢印484aの方向に吸引することにより、真空チャック装置482で樹脂フィルム491の領域491uを保持し、真空チャック装置482で樹脂フィルム491に、矢印483cの方向に緊張を加えることにより、樹脂フィルム491の未接着の部分である領域491tを緊張させながら、樹脂フィルム491をローラー481で加圧することができる。真空チャック装置482の吸引は、ローラー481の動きと連動させることができる。即ち、ローラー481が、矢印483aの方向に移動するに従い、真空チャック装置482のうちローラー481が近づいた部分の吸引を解除することにより、緊張の方向483cを一定の角度とし、且つ緊張の張力を一定に保つことができる。
By using a
かかる貼付により、図6に示すように、有機パネル610の基板241の出光面側の面241e上に、接着層131及び凹凸構造を有する樹脂フィルム491がこの順に積層された面光源装置600を得ることができる。
With this pasting, as shown in FIG. 6, a surface
この工程でローラーとしては、弾性体ローラーを使用する。かかる弾性体ローラーとしては、工程(B)で用いたものと同様のものを用いることができる。 In this step, an elastic roller is used as the roller. As such an elastic roller, the same roller as that used in the step (B) can be used.
ローラーの加熱温度は、接着層の接着面(図5の例では、接着層131の、樹脂フィルム491と接触する面)の温度が、50〜80℃の範囲内となる温度とすることが好ましい。貼付温度を80℃以下とすることにより、発光層の劣化を伴わずに貼付を行なうことができ、50℃以上とすることにより、上述の接着層に適合した貼付を行なうことができる。移動速度、接触圧力等のローラーの操作条件は、工程(B)と同様とすることができる。
The heating temperature of the roller is preferably a temperature at which the temperature of the adhesive surface of the adhesive layer (in the example of FIG. 5, the surface of the
凹凸構造を有する樹脂フィルムの未接着の部分を緊張させる際の緊張を加える方向は、上記の例に示す通り、ローラーの回転軸に垂直で、且つ、貼付対象である有機ELパネルの出光面側の表面と、所定の角度を有する方向とすることができる。かかる所定の角度は0〜50°とすることができる。また、緊張を加える際の張力はフィルムの材質により一律ではないが、1〜100MPaとすることができる。 As shown in the above example, the direction in which the unbonded portion of the resin film having a concavo-convex structure is tensioned is perpendicular to the rotation axis of the roller and the light emitting surface side of the organic EL panel to be pasted And a direction having a predetermined angle. Such a predetermined angle can be 0 to 50 °. Moreover, although the tension | tensile_strength at the time of applying tension is not uniform with the material of a film, it can be set to 1-100 Mpa.
上記の如く貼付を行なうことにより、発光層の温度上昇を最小限としつつ、接着層を熱溶融させながら凹凸構造を有する樹脂フィルムを貼付することができ、皺が無く均一な凹凸構造の層を、有機ELパネルの破損や劣化を伴わずに、有機ELパネル上に設けることができる。 By sticking as described above, it is possible to stick a resin film having a concavo-convex structure while fusing the adhesive layer while minimizing the temperature rise of the light emitting layer, and to form a layer having a uniform concavo-convex structure without wrinkles. The organic EL panel can be provided on the organic EL panel without being damaged or deteriorated.
本発明の製造方法で得られる面光源装置の用途は、特に限定されないが、照明装置の光源、または液晶表示装置等の表示装置のバックライトとして用いることができる。 Although the use of the surface light source device obtained by the manufacturing method of the present invention is not particularly limited, it can be used as a light source of a lighting device or a backlight of a display device such as a liquid crystal display device.
本発明は、前記実施形態の例示には限定されず、本願の特許請求の範囲及びその均等の範囲内での変更を施すことができる。
例えば、有機ELパネル上には接着層と凹凸構造を有する樹脂フィルムをそれぞれ1層のみ設けたが、必要に応じてさらにその他の層を設ける工程を含んでもよい。かかるその他の層は、接着層及び凹凸構造を有する樹脂フィルムと同様、ローラー等を用いた方法により有機ELパネル上に貼付することができる。
The present invention is not limited to the exemplification of the above-described embodiment, and can be modified within the scope of the claims of the present application and its equivalent scope.
For example, although only one layer of the adhesive layer and the resin film having the concavo-convex structure is provided on the organic EL panel, a step of further providing other layers as necessary may be included. Such other layers can be stuck on the organic EL panel by a method using a roller or the like, as in the case of the resin film having the adhesive layer and the uneven structure.
以下、実施例に基づき、本発明についてさらに詳細に説明する。なお、本発明は下記実施例に限定されるものではない。 Hereinafter, the present invention will be described in more detail based on examples. In addition, this invention is not limited to the following Example.
<実施例1>
(1−1:有機ELパネル)
厚さ1mmのガラス基板上に、透明電極層100nm、ホール輸送層10nm、黄色発光層20nm、青色発光層15nm、電子輸送層15nm、電子注入層1nm、及び反射電極層100nmを順次形成させた。ホール輸送層から電子輸送層までは全て有機材料である。第一から第二発光層はそれぞれ異なる発光スペクトルを有している。
<Example 1>
(1-1: Organic EL panel)
On a glass substrate having a thickness of 1 mm, a transparent electrode layer 100 nm, a hole transport layer 10 nm, a yellow light emitting layer 20 nm, a blue light emitting layer 15 nm, an electron transport layer 15 nm, an electron injection layer 1 nm, and a reflective electrode layer 100 nm were sequentially formed. The hole transport layer to the electron transport layer are all organic materials. The first to second light emitting layers have different emission spectra.
透明電極層から反射電極層までの各層を形成した材料は、それぞれ下記の通りである:
・透明電極層;錫添加酸化インジウム(ITO)
・ホール輸送層;4,4’−ビス[N−(ナフチル)−N−フェニルアミノ]ビフェニル(α−NPD)
・黄色発光層;ルブレン1.5重量%添加 α−NPD
・青色発光層;イリジウム錯体10重量%添加 4,4’−ジカルバゾリル−1,1’−ビフェニル(CBP)
・電子輸送層;フェナンスロリン誘導体(BCP)
・電子注入層;フッ化リチウム(LiF)
・反射電極層;Al
The material forming each layer from the transparent electrode layer to the reflective electrode layer is as follows:
-Transparent electrode layer; tin-added indium oxide (ITO)
Hole transport layer: 4,4′-bis [N- (naphthyl) -N-phenylamino] biphenyl (α-NPD)
・ Yellow light emitting layer: 1.5% by weight of rubrene added α-NPD
Blue light-emitting layer; iridium complex added by 10% by weight 4,4′-dicarbazolyl-1,1′-biphenyl (CBP)
-Electron transport layer; phenanthroline derivative (BCP)
-Electron injection layer; lithium fluoride (LiF)
-Reflective electrode layer: Al
透明電極層の形成方法は、ITOターゲットとした反応性スパッタリング法にて行い、表面抵抗を10Ω/□以下とした。また、ホール注入層から反射電極層までの形成方法は、真空蒸着装置内に透明電極層を既に形成したガラス基板を設置し、上記のホール注入層から反射電極層までの材料を抵抗加熱式により順次蒸着させることにより行なった。系内圧は5x10−3Paで、蒸発速度は0.1〜0.2nm/sで行った。 The transparent electrode layer was formed by a reactive sputtering method using an ITO target, and the surface resistance was 10Ω / □ or less. In addition, the formation method from the hole injection layer to the reflective electrode layer is that a glass substrate on which a transparent electrode layer has already been formed is installed in a vacuum evaporation apparatus, and the material from the hole injection layer to the reflective electrode layer is formed by resistance heating. This was done by sequentially depositing. The system internal pressure was 5 × 10 −3 Pa and the evaporation rate was 0.1 to 0.2 nm / s.
さらに、電極層に通電のための配線を取り付け、さらにホール注入層から反射電極層までを封止部材により封止し、有機ELパネルを得た。封止は、図6に示す態様のように、周辺封止部材252と封止基板251とからなる封止容器を基板241に貼り付ける形で行ない、反射電極262と封止基板251との間には空隙を設けた。
Furthermore, wiring for energization was attached to the electrode layer, and the hole injection layer to the reflective electrode layer were sealed with a sealing member to obtain an organic EL panel. As shown in FIG. 6, the sealing is performed by attaching a sealing container including the peripheral sealing
(1−2:積層体(1)の作製;工程(A))
ポリエチレンテレフタレート(PET)フィルム上に、極性基を有するガラス転移温度60℃のポリオレフィン樹脂(シクロオレフィンポリマー)を、バーコーターで塗布し、100℃で乾燥させ、PETフィルム上に厚さ20μmの接着層を有する積層体(1)を得た。
(1-2: Production of laminate (1); Step (A))
A polyethylene resin (cycloolefin polymer) having a glass transition temperature of 60 ° C. having a polar group is coated on a polyethylene terephthalate (PET) film with a bar coater, dried at 100 ° C., and an adhesive layer having a thickness of 20 μm on the PET film. A laminate (1) having the following was obtained.
(1−3:積層体(1)の貼付;工程(B))
上記1−1で得た有機ELパネルの基板の面上に、上記1−2で得た積層体(1)を貼付した。貼付は、図2で示す態様のように、加熱した弾性体ローラー281を移動させ且つ積層体(1)の未接着の部分291tを真空チャック装置282で緊張させながら、積層体(1)をローラー281で加圧して行なった。積層体(1)の向きは、積層体(1)の接着層131と有機ELパネルの出光面側の表面241eとが接する向きとした。真空チャック装置282の吸引をローラー281の動きと連動させることにより、緊張をかける方向283cと面241eとがなす角度を、40〜50°の範囲内に保った。また、緊張を加える際の張力は10MPaとした。ローラーとしてはシリコンゴム製のものを用いた。ローラーの接触圧力は0.4MPaとし、移動速度は70mm/minとした。貼付の際の接着層上の温度をサーモラベルにより測定したところ、70℃であった。
(1-3: Pasting of laminate (1); step (B))
On the surface of the substrate of the organic EL panel obtained in 1-1, the laminate (1) obtained in 1-2 was attached. The sticking is performed by moving the heated
(1−4:剥離フィルムの剥離;工程(C))
続いて、離型フィルムを剥離し、接着層を露出させ、図4で示す態様のような、有機ELパネル610及び接着層131を有する構造物を得た。
(1-4: Release of release film; step (C))
Subsequently, the release film was peeled off to expose the adhesive layer, and a structure having the
(1−5:凹凸構造を有する樹脂フィルム)
熱インプリント法により、規則配列したマイクロレンズ(直径80μm)を形成したゼオノアフィルム(日本ゼオン製)を作製した。すなわち、マイクロレンズを形成したニッケル金型を150℃に加熱させゼオノアフィルム上に押し付けることで作製した。
得られた樹脂フィルムの厚さは100μmであり、その一方の面には、直径80μmのマイクロレンズの凹凸が形成されていた。
(1-5: Resin film having an uneven structure)
A ZEONOR film (manufactured by ZEON Corporation) in which regularly arranged microlenses (diameter 80 μm) were formed was produced by a thermal imprint method. That is, it was manufactured by heating a nickel mold on which a microlens was formed at 150 ° C. and pressing it on a ZEONOR film.
The thickness of the obtained resin film was 100 μm, and unevenness of a microlens having a diameter of 80 μm was formed on one surface thereof.
(1−6:凹凸構造を有する樹脂フィルムの貼付;工程(D))
1−4で得た構造物の、接着層が露出した面131e上に、1−5で得た凹凸構造を有する樹脂フィルムを貼付し、図6に示す態様のような面光源装置を得た。貼付は、図5で示す態様のように、加熱した弾性体ローラー481を移動させ且つ樹脂フィルム491の未接着の部分491tを真空チャック装置482で緊張させながら、樹脂フィルム491をローラー481で加圧して行なった。樹脂フィルム491の向きは、樹脂フィルムの凹凸構造を有する面と反対側の面が、接着層131の表面131eと接するよう行なった。真空チャック装置482の吸引をローラー481の動きと連動させることにより、緊張をかける方向483cと面241eとがなす角度を、40〜50°の範囲内に保った。また、緊張を加える際の張力は10MPaとした。真空チャック装置及びローラーとしては上記1−3で用いたものと同じものを用いた。ローラーの接触圧力は0.4MPaとし、移動速度は70mm/minとした。貼付の際の接着層上の温度をサーモラベルにより測定したところ、70℃であった。
(1-6: Affixing a resin film having an uneven structure; Step (D))
The surface light source device as shown in FIG. 6 was obtained by pasting the resin film having the concavo-convex structure obtained in 1-5 on the
(1−7:評価)
上記1−6で得た面光源装置を、下記の観点から評価した。
(1-7: Evaluation)
The surface light source device obtained in 1-6 above was evaluated from the following viewpoints.
(i)接着性
得られた面光源装置上の凹凸構造を有する樹脂フィルムが基板に接着する接着力を、クロスカット法(JIS K5400)にて判定した。具体的には、試験片にカッターナイフで1mm間隔にて10×10の切れ込みを入れ、その上からセロハン粘着テープを密着させ、テープの端を試験片から90度に保ち瞬間的に引き剥がす。そのときの剥離状態を、○;剥離なし、△;一部剥離、×;全て剥離、の3段階で評価した。
(I) Adhesiveness The adhesive force with which the obtained resin film having a concavo-convex structure on the surface light source device adheres to the substrate was determined by a cross-cut method (JIS K5400). Specifically, 10 × 10 cuts are made into the test piece at 1 mm intervals with a cutter knife, and a cellophane adhesive tape is brought into close contact therewith, and the end of the tape is kept at 90 degrees from the test piece and peeled off instantaneously. The peeled state at that time was evaluated in three stages: o: no peeling, Δ: partial peeling, x: all peeling.
(ii)面状
面光源装置を通電して観察し、出光面のシワ、気泡の残り及び発光層の劣化の有無を観察した。
観察結果を表1に示す。
(Ii) Planar surface The surface light source device was energized and observed, and the presence or absence of wrinkles on the light exit surface, remaining bubbles and deterioration of the light emitting layer were observed.
The observation results are shown in Table 1.
<比較例1>
上記1−3及び1−6で、ローラーの接触圧力を0.9MPaとした他は、実施例1と同様に操作し、面光源装置を作製し評価した。結果を表1に示す。
<Comparative Example 1>
In the above 1-3 and 1-6, except that the contact pressure of the roller was set to 0.9 MPa, the surface light source device was produced and evaluated in the same manner as in Example 1. The results are shown in Table 1.
<比較例2>
実施例1の工程1−5で得たものと同じ、凹凸構造を有する樹脂フィルムの、凹凸構造を有しない面上に、実施例1の工程1−2で使用したものと同一のポリオレフィン樹脂を塗布し、乾燥させ、厚さ20μmの接着層を設けた。これを、実施例1の工程1−6と同様の条件で、工程1−1で得たものと同じ有機ELパネルの基板の面上に貼付し、面光源装置を作製した。得られた面光源装置を、実施例1と同様に評価した。結果を表1に示す。
<Comparative example 2>
The same polyolefin resin as that used in Step 1-2 of Example 1 on the same surface of the resin film having a concavo-convex structure as that obtained in Step 1-5 of Example 1 is used. It was applied and dried, and an adhesive layer having a thickness of 20 μm was provided. This was affixed on the surface of the same organic EL panel substrate as obtained in Step 1-1 under the same conditions as in Step 1-6 of Example 1 to produce a surface light source device. The obtained surface light source device was evaluated in the same manner as in Example 1. The results are shown in Table 1.
表1の結果から明らかな通り、本発明の製造方法で得られた実施例1の面光源装置は、凹凸構造を有する樹脂フィルムの接着が強固であり、且つ素子の劣化、フィルムの貼付の不良及びパネルの欠陥のいずれも観察されず、製造工程のいずれかが本発明の規定の範囲外である比較例1〜2に比べて良好な面光源装置を得ることができた。 As is clear from the results in Table 1, the surface light source device of Example 1 obtained by the manufacturing method of the present invention has strong adhesion of the resin film having the concavo-convex structure, and deterioration of the element and poor film adhesion. None of the panel defects were observed, and a good surface light source device could be obtained as compared with Comparative Examples 1 and 2 in which any of the manufacturing processes was outside the scope of the present invention.
121 離型フィルム
131 接着層
241 基板
251 封止基板
252 周辺封止部材
261 透明電極
262 反射電極
263 空隙
271 発光層
281、481 ローラー
282、482 真空チャック装置
491 凹凸構造を有する樹脂フィルム
600 面光源装置
610 有機ELパネル
941 四角錘
941a、941b 四角錘の斜面
1040 プリズム条列
1041 線状プリズム
1042 線状プリズムの頂部
1153 三角錐の頂部
1255 三角錐の頂部の丸みを帯びた頂部
1355 三角錐の頂部の平坦な部分
121
Claims (2)
前記有機ELパネルの出光面側の表面に設けられた凹凸構造を有する樹脂フィルム
を備える面光源装置の製造方法であって、
工程(A):離型フィルム上に接着機能樹脂を塗布し、離型フィルム及び接着層を有する積層体(1)を得る工程、
工程(B):加熱した弾性体ローラーを移動させ且つ前記積層体(1)の未接着の部分を緊張させながら、前記積層体(1)を前記ローラーで加圧して、前記積層体(1)を、前記接着層と前記有機ELパネルの出光面側の表面とが接するよう、前記有機ELパネルに貼付する工程、
工程(C):前記離型フィルムを剥離し、前記接着層を露出させ工程、及び
工程(D):加熱した弾性体ローラーを移動させ且つ前記凹凸構造を有する樹脂フィルムの未接着の部分を緊張させながら、前記凹凸構造を有する樹脂フィルムを前記ローラーで加圧して、露出した前記接着層の面上に、前記凹凸構造を有する樹脂フィルムを貼付する工程を含み、かつ前記弾性体ローラーの加圧における接触圧力が0.5MPa以下である面光源装置の製造方法。 Manufacture of a surface light source device comprising: an organic light emitting layer; an organic EL panel having a hollow sealed container that accommodates the organic light emitting layer; and a resin film having a concavo-convex structure provided on a light exit surface side of the organic EL panel A method,
Step (A): A step of applying an adhesive functional resin on a release film to obtain a laminate (1) having a release film and an adhesive layer,
Step (B): The laminated body (1) is pressed with the roller while moving the heated elastic roller and the unbonded portion of the laminated body (1) is tensioned, and the laminated body (1) Is attached to the organic EL panel so that the adhesive layer and the surface on the light emitting surface side of the organic EL panel are in contact with each other,
Step (C): peeling the release film and exposing the adhesive layer; and Step (D): moving the heated elastic roller and tensioning the unbonded portion of the resin film having the concavo-convex structure. And pressing the resin film having the concavo-convex structure with the roller, and affixing the resin film having the concavo-convex structure on the exposed surface of the adhesive layer, and pressing the elastic roller The manufacturing method of the surface light source device whose contact pressure in is 0.5 Mpa or less.
前記弾性体ローラーの材質がシリコンゴムあるいはフッ素ゴムである製造方法。 The manufacturing method according to claim 1,
The manufacturing method whose material of the said elastic body roller is silicon rubber or fluororubber.
Priority Applications (1)
| Application Number | Priority Date | Filing Date | Title |
|---|---|---|---|
| JP2007332773A JP2009158181A (en) | 2007-12-25 | 2007-12-25 | Manufacturing method of surface light source device |
Applications Claiming Priority (1)
| Application Number | Priority Date | Filing Date | Title |
|---|---|---|---|
| JP2007332773A JP2009158181A (en) | 2007-12-25 | 2007-12-25 | Manufacturing method of surface light source device |
Publications (1)
| Publication Number | Publication Date |
|---|---|
| JP2009158181A true JP2009158181A (en) | 2009-07-16 |
Family
ID=40961986
Family Applications (1)
| Application Number | Title | Priority Date | Filing Date |
|---|---|---|---|
| JP2007332773A Pending JP2009158181A (en) | 2007-12-25 | 2007-12-25 | Manufacturing method of surface light source device |
Country Status (1)
| Country | Link |
|---|---|
| JP (1) | JP2009158181A (en) |
Cited By (8)
| Publication number | Priority date | Publication date | Assignee | Title |
|---|---|---|---|---|
| JP2011054526A (en) * | 2009-09-04 | 2011-03-17 | Fujifilm Corp | Organic electroluminescent device and method of manufacturing the same |
| JP2011060606A (en) * | 2009-09-10 | 2011-03-24 | Fujifilm Corp | Organic electroluminescence device and method of manufacturing the same |
| JP2011082032A (en) * | 2009-10-07 | 2011-04-21 | Toppan Printing Co Ltd | Scattering prevention sheet, el element equipped with the same, and el light-emitting device equipped with the el element as light-emitting source |
| KR20110071039A (en) * | 2009-12-20 | 2011-06-28 | 엘지디스플레이 주식회사 | Sealing method of organic light emitting device |
| JP2011159451A (en) * | 2010-01-29 | 2011-08-18 | Toppan Printing Co Ltd | Electroluminescent element, organic el display, liquid crystal display, and lighting system |
| JP2014032740A (en) * | 2011-07-13 | 2014-02-20 | Nippon Electric Glass Co Ltd | Composite substrate |
| EP2732969A4 (en) * | 2011-07-13 | 2015-03-18 | Nippon Electric Glass Co | COMPOSITE SUBSTRATE |
| CN110716346A (en) * | 2019-09-23 | 2020-01-21 | 武汉华星光电技术有限公司 | Backlight module and liquid crystal display device |
-
2007
- 2007-12-25 JP JP2007332773A patent/JP2009158181A/en active Pending
Cited By (9)
| Publication number | Priority date | Publication date | Assignee | Title |
|---|---|---|---|---|
| JP2011054526A (en) * | 2009-09-04 | 2011-03-17 | Fujifilm Corp | Organic electroluminescent device and method of manufacturing the same |
| JP2011060606A (en) * | 2009-09-10 | 2011-03-24 | Fujifilm Corp | Organic electroluminescence device and method of manufacturing the same |
| JP2011082032A (en) * | 2009-10-07 | 2011-04-21 | Toppan Printing Co Ltd | Scattering prevention sheet, el element equipped with the same, and el light-emitting device equipped with the el element as light-emitting source |
| KR20110071039A (en) * | 2009-12-20 | 2011-06-28 | 엘지디스플레이 주식회사 | Sealing method of organic light emitting device |
| KR101633118B1 (en) * | 2009-12-20 | 2016-06-23 | 엘지디스플레이 주식회사 | SEALING METHOD of OLED |
| JP2011159451A (en) * | 2010-01-29 | 2011-08-18 | Toppan Printing Co Ltd | Electroluminescent element, organic el display, liquid crystal display, and lighting system |
| JP2014032740A (en) * | 2011-07-13 | 2014-02-20 | Nippon Electric Glass Co Ltd | Composite substrate |
| EP2732969A4 (en) * | 2011-07-13 | 2015-03-18 | Nippon Electric Glass Co | COMPOSITE SUBSTRATE |
| CN110716346A (en) * | 2019-09-23 | 2020-01-21 | 武汉华星光电技术有限公司 | Backlight module and liquid crystal display device |
Similar Documents
| Publication | Publication Date | Title |
|---|---|---|
| JP2009158181A (en) | Manufacturing method of surface light source device | |
| TWI482831B (en) | Method of packaging electronic parts | |
| CN105122939B (en) | Organic electronic device component seal resin combination, organic electronic device component seal resin sheet, organic electroluminescent device and image display device | |
| KR101876112B1 (en) | Resin composition for organic electronic device element encapsulation, resin sheet for organic electronic device element encapsulation, organic electroluminescent element and image display device | |
| CN105122940B (en) | Resin composition for element sealing of organic electronic device, resin sheet for element sealing of organic electronic device, organic electroluminescence element, and image display device | |
| TWI634148B (en) | Resin composition for electronic device sealing and electronic device | |
| JP6012618B2 (en) | Apparatus for producing composites including electronic devices and adhesives by vacuum laminating | |
| TW201024389A (en) | Method for encapsulating an electronic arrangement | |
| US8476825B2 (en) | Organic electroluminescent light source device | |
| TWI547550B (en) | A resin composition for sealing an element for an organic electronic device, a resin sheet for sealing an element for an organic electronic device, an organic electroluminescent element, and a screen display device | |
| KR20100069624A (en) | Method for encapsulating an electronic arrangement | |
| KR20150016876A (en) | Pressure sensitive adhesive compositions, pressure sensitive adhesive film and encapsulation method of organic electronic device using the same | |
| TW201005063A (en) | Adhesive encapsulating composition and electronic devices made therewith | |
| TWI742153B (en) | Adhesive composition, sealing sheet and sealing body | |
| TW201025465A (en) | Method for encapsulating an electronic device | |
| CN104797669A (en) | Adhesive composition, adhesive sheet and electronic device | |
| JP5365891B2 (en) | RESIN COMPOSITION FOR LIGHT EMITTING ELEMENT, LAMINATE FOR LIGHT EMITTING ELEMENT, LIGHT EMITTING ELEMENT | |
| KR20100048035A (en) | Multilayered film, method of making the same, and encapsulated structure including the same | |
| TWI673169B (en) | Sealing sheet, member for electronic device, and electronic device | |
| JP2016160343A (en) | Adhesive sheet, adhesive film, organic light-emitting device, and adhesive composition | |
| CN105830534A (en) | Filler material for organic electroluminescent element, and method for sealing organic electroluminescent element | |
| JP2014146582A (en) | Sealing sheet, and method for sealing element for organic electronic device | |
| CN110392721A (en) | Gas barrier film and seal | |
| JP5251225B2 (en) | Organic electroluminescence light source device | |
| CN105814970A (en) | Filling material for organic electroluminescent element and sealing method for organic electroluminescent element |
