JP2009130666A - 電気音響変換器 - Google Patents
電気音響変換器 Download PDFInfo
- Publication number
- JP2009130666A JP2009130666A JP2007304093A JP2007304093A JP2009130666A JP 2009130666 A JP2009130666 A JP 2009130666A JP 2007304093 A JP2007304093 A JP 2007304093A JP 2007304093 A JP2007304093 A JP 2007304093A JP 2009130666 A JP2009130666 A JP 2009130666A
- Authority
- JP
- Japan
- Prior art keywords
- voice coil
- electroacoustic transducer
- diaphragm
- magnetic circuit
- long
- Prior art date
- Legal status (The legal status is an assumption and is not a legal conclusion. Google has not performed a legal analysis and makes no representation as to the accuracy of the status listed.)
- Pending
Links
- 239000012528 membrane Substances 0.000 claims description 10
- 230000002159 abnormal effect Effects 0.000 abstract description 6
- 230000005520 electrodynamics Effects 0.000 abstract description 3
- 230000006866 deterioration Effects 0.000 description 4
- 230000001012 protector Effects 0.000 description 3
- 230000002787 reinforcement Effects 0.000 description 2
- 230000003014 reinforcing effect Effects 0.000 description 2
- 238000006243 chemical reaction Methods 0.000 description 1
- 230000007547 defect Effects 0.000 description 1
- 230000000694 effects Effects 0.000 description 1
- 230000012447 hatching Effects 0.000 description 1
- 238000009751 slip forming Methods 0.000 description 1
Images
Landscapes
- Audible-Bandwidth Dynamoelectric Transducers Other Than Pickups (AREA)
- Diaphragms For Electromechanical Transducers (AREA)
Abstract
【課題】
携帯電話機等に用いられる細長形状の導電型スピーカは、ボイスコイルも細長形状をしているため、ボイスコイルの長辺側の強度は弱く、駆動時に中域の周波数帯域での分割振動による異常音の発生等の不具合が生じる。
【解決手段】
永久磁石、該永久磁石の一方の磁極側に固定したヨーク、他方の磁極側に固定したトッププレートよりなる磁気回路と、ボイスコイルを備えた振動膜とを有する導電型の電気音響変換器において、前記振動膜とボイスコイルは長辺と短辺とを有する細長形状に形成されるとともに、前記磁気回路を構成する磁気空隙も長辺と短辺とを有する細長形状に形成されてなり、前記振動膜の短辺方向に段差部を形成し、該段差部の側壁にボイスコイルの側面をガイドして補強したことを特徴とする。
【選択図】 図1
携帯電話機等に用いられる細長形状の導電型スピーカは、ボイスコイルも細長形状をしているため、ボイスコイルの長辺側の強度は弱く、駆動時に中域の周波数帯域での分割振動による異常音の発生等の不具合が生じる。
【解決手段】
永久磁石、該永久磁石の一方の磁極側に固定したヨーク、他方の磁極側に固定したトッププレートよりなる磁気回路と、ボイスコイルを備えた振動膜とを有する導電型の電気音響変換器において、前記振動膜とボイスコイルは長辺と短辺とを有する細長形状に形成されるとともに、前記磁気回路を構成する磁気空隙も長辺と短辺とを有する細長形状に形成されてなり、前記振動膜の短辺方向に段差部を形成し、該段差部の側壁にボイスコイルの側面をガイドして補強したことを特徴とする。
【選択図】 図1
Description
本発明は電気音響変換器に係り、特にボイスコイル形状として長辺と短辺とを有する細長形状のボイスコイルを備えた導電型の電気音響変換器に関する。
近年、携帯電話機等の小型携帯機器においてオーディオ機能が重視されており、電気音響変換器としても、単なるコール音のみを目的とした圧電タイプから音響特性を重視した動電型の電気音響変換器が搭載されるようになってきた。しかもこれらの小型携帯機器は表示装置やキーボードにスペースをとられるため、電気音響変換器を取り付けるためのスペースがますます狭くなってきて従来の円形形状の電気音響変換器が取り付けられなくなっている。この対策として携帯電話機において大型化された表示装置を避けて細長形状の電気音響変換器を取り付けた構成がある。(例えば、特許文献1参照。)。
以下、図12、図13を用いて特許文献1に開示された従来技術における電気音響変換器を説明する。図12は特許文献1に開示された従来技術における電気音響変換器を備えた携帯電話機の正面図であり、図13は図12の電気音響変換器を構成するボイスコイルの斜視図である。図12において100は携帯電話機であり、表示装置111、マイク112、電気音響変換器である導電型スピーカ60を有する蓋部110と、キーボード121、機能ボタン122を有する本体部120とがヒンジ部130によって開閉可能に結合されている。
そして蓋部110においては、出来るだけ広い表示画面が望まれている表示装置111が大部分の面積を占有し、表示装置111とヒンジ部130との狭い隙間部分に細長形状の導電型スピーカ60が配置されている。図13は導電型スピーカ60を構成するボイスコイル64であり、ボイスコイル64の形状は導電型スピーカ60の細長形状に合わせて長方形になっている。すなわち、ボイスコイル64の長辺部64aの長さL1は短辺部64bの長さL2の2倍以上の細長形状となっている。
しかしながら通常は、導電型スピーカのボイスコイルは円形形状をしているのが一般的である。そして導電型スピーカの駆動時にこのバランスのとれた円形形状によってボイスコイルの各部にかかる応力が均一になり、正常な音響出力を発生する事が出来るようになっていた。
しかるに引用文献1における導電型スピーカ60のボイスコイル64は、長辺部64aの長さL1と短辺部64bの長さL2との比が2倍以上の細長形状となっているために、導電型スピーカの駆動時にこのアンバランスな形状によってボイスコイルの各部にかかる応力が不均一になり正常な音響出力を発生する事が出来ないという問題がある。すなわちボイスコイル64の長辺部64aの強度不足により、中域の周波数帯域にて、分割振動による異常音の発生、歪率の悪化等の不具合が発生する結果となる。
(発明の目的)
本発明は上記問題に鑑みなされたもので、携帯機器等の狭いスペースに配設が可能な細長形状を有しながら、中域の周波数帯域での分割振動による異常音の発生や、歪率悪化等の不具合の発生を改良した電気音響変換器を提供することを目的とする。
本発明は上記問題に鑑みなされたもので、携帯機器等の狭いスペースに配設が可能な細長形状を有しながら、中域の周波数帯域での分割振動による異常音の発生や、歪率悪化等の不具合の発生を改良した電気音響変換器を提供することを目的とする。
上記目的を達成するための本発明の電気音響変換器は、永久磁石、該永久磁石の一方の磁極側に固定したヨーク、他方の磁極側に固定したトッププレートよりなる磁気回路と、ボイスコイルを備えた振動膜とを有する導電型の電気音響変換器において、前記振動膜とボイスコイルは長辺と短辺とを有する細長形状に形成されるとともに、前記磁気回路を構成する磁気空隙も長辺と短辺とを有する細長形状に形成されてなり、前記振動膜の短辺方向に段差部を形成し、該段差部の側壁にボイスコイルの側面をガイドして補強したことを特徴とする。
前記段差部は振動膜の単辺方向の両端部に、少なくとも2個が設けられていることを特徴とする。
上記構成により、ボイスコイルの長辺側の強度不足を補強することで、中域の周波数帯域での分割振動による異常音の発生や、歪率悪化の発生を抑止することができ、音響特性の改善ができた。
前記段差部は振動膜の単辺を横切る凹形状溝によって形成され、前記凹形状溝の両端の側壁にボイスコイルの側面をガイドして補強していることを特徴とする。
前記段差部が複数個設けられていることを特徴とする。
前記段差部に対応するトッププレートの位置に、前記段差部を避けるための切欠部を設けたことを特徴とする。
上記ごとく磁気回路を構成するトッププレートの、振動膜段差部に対応する位置に、電気音響変換器の駆動時に振動する振動膜段差部を収納する切欠部を設けることによって電気音響変換器の高さを増すことなく、十分な音響特性の改善ができた。
以上のように本発明の電気音響変換によれば、ボイスコイルの長辺側の強度不足を補強することで、中域の周波数帯域での分割振動による異常音の発生や、歪率悪化の発生を抑止することができ、音響特性の改善ができた。
以下本発明の実施形態における電気音響変換器を図面により詳細に説明する。図1から図9は本発明の第1実施形態における電気音響変換器の構成を示すものであり、図1は電気音響変換器の上面図、図2は図1の電気音響変換器のA−A断面図、図3は図1の電気音響変換器のB−B断面図、図4は本発明の第1実施形態における振動膜の上面図、図5は図4の拡大したC−C断面図、図6は図3のG部の拡大断面図、図7は図1の電気音響変換器から振動膜を取り外した磁気回路の上面図、図8は図7の磁気回路のA−A断面図、図9は図7の磁気回路のB−B断面図である。
図1、図2、図3において10は電気音響変換器である導電型スピーカであり、従来の導電型スピーカ60と同様に細長形状となっている。1は永久磁石、2は永久磁石1の一方の磁極側に固定したヨーク、3は永久磁石1の他方の磁極側に固定したトッププレートであり、前記永久磁石1、ヨーク2、トッププレート3により磁気回路を構成している。4はボイスコイル、5はボイスコイル4を備えた振動膜、6は振動膜の単辺を横切るように形成された凹形状溝であり詳細については後述する。7はフレームであり、このフレーム7はヨーク2と結合されることにより磁気回路全体を支持している。8はプロテクタであり、前記フレーム7と結合してその間に振動膜5を挟持するとともに、振動膜5の上面側を保護する機能を有する。そして前記導電型スピーカ10の動作は基本的に従来の導電型スピーカの動作と同じであり、ヨーク2とトッププレート3によって形成される磁気空隙9内に配置されたボイスコイル4に通電することにより、振動膜5が振動して音響出力を発生する。
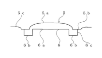
次に本発明の特徴である、振動膜5の凹形状溝6について説明する。図4、図5に示す如く振動膜5は、中央に湾曲した振動部5aと、コイルを接着するための平坦なコイル接着部5bと、プロテクタ8と前記フレーム7に挟持される支持部5cとが振動膜5の中心からリング状に連続して形成されている。そして振動膜5は長円形を有し、長辺部の長さL1と短辺部の長さL2との比が2倍以上の細長形状となっている。
そして振動膜5の単辺を横切るように凹形状溝6が形成されており、この凹形状溝6は振動膜5の振動部5aから1段沈んだ第1溝6aと、第1溝6aの両端にさらに1段沈んだ第2溝6bが設けられ、この第2溝6bの両端が段差部6cとなってボイスコイル4の補強を行う部分である。そして凹形状溝6の長さはボイスコイル4の横幅と等しくなっている。
次に図6により振動膜5に対するボイスコイル4の取り付け及び補強構成について説明する。図6は図3におけるG部の拡大断面図であり、振動膜5に対するボイスコイル4の取り付け及び補強構成を示している。図6は図3で説明した如く、ヨーク2とトッププレート3によって形成される磁気空隙9内に振動膜5に固着されたボイスコイル4が配置された状態を示している。そして振動膜5に対するボイスコイル4の取り付け構成は、長円形状を有するボイスコイル4の上辺は全周に渡って振動膜5の平坦なコイル接着部5bに接着固定されており、またボイスコイル4の内周の一部が、振動膜5に設けられた凹形状溝6の段差部6cに側面をガイドされて補強されている。なお、段差部6cに対するボイスコイル4のガイドは圧接でも良いし、接着しても良い。
すなわち、振動膜5に対するボイスコイル4の取り付け構成は、解り易くするためにハッチングで示したコイル接着部5bに接着固定され、さらに内周の一部が段差部6cに側面をガイドされて補強されている。なお、このボイスコイル4を段差部6cでガイドする位置は、ボイスコイル4の長辺部の中央部付近に設けるのが、ボイスコイル4の長辺部の強度不足を補う上で最適である。
次に導電型スピーカ10の磁気回路の構成について説明する。
図7は図1の導電型スピーカ10から振動膜5を取り外した磁気回路の上面図、図8は図7の磁気回路のA−A断面図、図9は図7の磁気回路のB−B断面図であり、図1から図3に示す導電型スピーカ10と同一の各要素については番号のみを付し、重複する説明を省略する。
図7は図1の導電型スピーカ10から振動膜5を取り外した磁気回路の上面図、図8は図7の磁気回路のA−A断面図、図9は図7の磁気回路のB−B断面図であり、図1から図3に示す導電型スピーカ10と同一の各要素については番号のみを付し、重複する説明を省略する。
すなわち本発明の磁気回路の特徴は図7及び図9に示す如く、前記振動膜5に形成された凹形状溝6の第2溝6bに対応するトッププレート3の位置に、前記段差部6cを避けるための切欠部3a、3bを設けたことであり、この切欠部3a、3bの位置には永久磁石1が見えている。そして図6に示す如くこの切欠部3a、3bによって振動膜5に形成された凹形状溝6の第2溝6bが振動する間隙Hが確保されている。
図10、図11は本発明の第2実施形態における電気音響変換器である導電型スピーカの構成を示すものであり、図10は導電型スピーカの上面図、図11は図10の導電型スピーカのA−A断面図である。また図10、図11の導電スピーカ20は図1、図2に示す第1実施形態における導電スピーカ10と基本的構成は同じであり、同一要素には同一番号を付し、重複する説明を省略する。
導電型スピーカ20が導電型スピーカ10と異なるところは、振動膜5に形成された凹形状溝6が2個形成されることによって、複数の段差部が設けられていることである。すなわち、導電型スピーカ10においては、1個の凹形状溝6をボイスコイル4の長辺部の中央部に設けていたのに対し、導電型スピーカ20においては2個の凹形状溝6をボイスコイル4の長辺部の中央部から等間隔の位置に設けていることであり、この結果ボイスコイル4の側面をガイド段差部の数が倍になって、ボイスコイル4の長辺部の補強効果を高めている。
上記の如く本発明の電気音響変換器は、細長いボイスコイルの短辺側を振動膜に形成した段差部でガイドすることによって長辺側の強度不足を補強しているため、中域の周波数帯域での分割振動による異常音の発生や、歪率悪化の発生を抑止することができ、音響特性の改善ができるものである。
1 永久磁石
2 ヨーク
3 トッププレート
3a、3b 切欠部
4 ボイスコイル
5 振動膜
6 凹形状溝
6a 第1溝
6b 第2溝
6c 段差部
7 フレーム
8 プロテクタ
10,20 導電型スピーカ
2 ヨーク
3 トッププレート
3a、3b 切欠部
4 ボイスコイル
5 振動膜
6 凹形状溝
6a 第1溝
6b 第2溝
6c 段差部
7 フレーム
8 プロテクタ
10,20 導電型スピーカ
Claims (5)
- 永久磁石、該永久磁石の一方の磁極側に固定したヨーク、他方の磁極側に固定したトッププレートよりなる磁気回路と、ボイスコイルを備えた振動膜とを有する導電型の電気音響変換器において、前記振動膜とボイスコイルは長辺と短辺とを有する細長形状に形成されるとともに、前記磁気回路を構成する磁気空隙も長辺と短辺とを有する細長形状に形成されてなり、前記振動膜の短辺方向に段差部を形成し、該段差部の側壁にボイスコイルの側面をガイドして補強したことを特徴とする電気音響変換器。
- 前記段差部は振動膜の単辺方向の両端部に、少なくとも2個が設けられていることを特徴とする請求項1記載の電気音響変換器。
- 前記段差部は振動膜の単辺を横切る凹形状溝によって形成され、前記凹形状溝の両端の側壁にボイスコイルの側面をガイドして補強している請求項2記載の電気音響変換器。
- 前記段差部が複数個設けられていることを特徴とする請求項1乃至3の何れか1項に記載の電気音響変換器。
- 前記段差部に対応するトッププレートの位置に、前記段差部を避けるための切欠部を設けたことを特徴とする請求項1乃至3の何れか1項に記載の電気音響変換器。
Priority Applications (1)
| Application Number | Priority Date | Filing Date | Title |
|---|---|---|---|
| JP2007304093A JP2009130666A (ja) | 2007-11-26 | 2007-11-26 | 電気音響変換器 |
Applications Claiming Priority (1)
| Application Number | Priority Date | Filing Date | Title |
|---|---|---|---|
| JP2007304093A JP2009130666A (ja) | 2007-11-26 | 2007-11-26 | 電気音響変換器 |
Publications (1)
| Publication Number | Publication Date |
|---|---|
| JP2009130666A true JP2009130666A (ja) | 2009-06-11 |
Family
ID=40821142
Family Applications (1)
| Application Number | Title | Priority Date | Filing Date |
|---|---|---|---|
| JP2007304093A Pending JP2009130666A (ja) | 2007-11-26 | 2007-11-26 | 電気音響変換器 |
Country Status (1)
| Country | Link |
|---|---|
| JP (1) | JP2009130666A (ja) |
Cited By (3)
| Publication number | Priority date | Publication date | Assignee | Title |
|---|---|---|---|---|
| TWI504286B (zh) * | 2011-08-19 | 2015-10-11 | Goertek Inc | 動圈式電聲轉換器 |
| WO2017106985A1 (zh) * | 2015-12-21 | 2017-06-29 | 邓克忠 | 具有改良音膜及结构的气动式高音单体 |
| EP4044620A4 (en) * | 2019-09-11 | 2024-04-24 | Haining Ximini Technology Co., Ltd. | SPEAKER WITH FIN-REINFORCED ACOUSTIC COIL STRUCTURE |
-
2007
- 2007-11-26 JP JP2007304093A patent/JP2009130666A/ja active Pending
Cited By (4)
| Publication number | Priority date | Publication date | Assignee | Title |
|---|---|---|---|---|
| TWI504286B (zh) * | 2011-08-19 | 2015-10-11 | Goertek Inc | 動圈式電聲轉換器 |
| WO2017106985A1 (zh) * | 2015-12-21 | 2017-06-29 | 邓克忠 | 具有改良音膜及结构的气动式高音单体 |
| US10623848B2 (en) | 2015-12-21 | 2020-04-14 | Ko-Chung Teng | Pneumatic tweeter unit having improved sound diaphragm and structure |
| EP4044620A4 (en) * | 2019-09-11 | 2024-04-24 | Haining Ximini Technology Co., Ltd. | SPEAKER WITH FIN-REINFORCED ACOUSTIC COIL STRUCTURE |
Similar Documents
| Publication | Publication Date | Title |
|---|---|---|
| CN101584225B (zh) | 扬声器、视频设备、以及便携式信息处理装置 | |
| CN217216884U (zh) | 多功能发声器件 | |
| US10932050B2 (en) | Micro-speaker | |
| WO2013114872A1 (ja) | スピーカ、スピーカを備えたインナーイヤーヘッドホンおよび補聴器 | |
| CN107409259B (zh) | 电子音响变换装置 | |
| US11770653B2 (en) | Speaker | |
| US20080063234A1 (en) | Electroacoustic transducer | |
| WO2022062047A1 (zh) | 发声单体及扬声器 | |
| JP4416609B2 (ja) | ダイナミックコンバータ、特に小型スピーカ | |
| WO2005086530A1 (ja) | スピーカ | |
| US8256567B2 (en) | Diaphragm and speaker using same | |
| JP2009130666A (ja) | 電気音響変換器 | |
| US11076240B2 (en) | Speaker | |
| JP2008177692A (ja) | 電気音響変換器 | |
| US20200045448A1 (en) | Speaker | |
| US11622200B2 (en) | Speaker | |
| KR102021181B1 (ko) | 전기 음향 변환 장치 | |
| CN109803198A (zh) | 发声装置 | |
| JP4445182B2 (ja) | スピーカ装置 | |
| US10764685B2 (en) | Speaker | |
| KR20230123677A (ko) | 마이크로스피커 | |
| JP2005303775A (ja) | 音響変換器用振動板 | |
| US12069461B2 (en) | Speaker | |
| JP2002281587A (ja) | スピーカ | |
| US20250301255A1 (en) | Speaker |