JP2009071663A - Movement mechanism and imaging apparatus - Google Patents

Movement mechanism and imaging apparatus Download PDF

Info

Publication number
JP2009071663A
JP2009071663A JP2007239055A JP2007239055A JP2009071663A JP 2009071663 A JP2009071663 A JP 2009071663A JP 2007239055 A JP2007239055 A JP 2007239055A JP 2007239055 A JP2007239055 A JP 2007239055A JP 2009071663 A JP2009071663 A JP 2009071663A
Authority
JP
Japan
Prior art keywords
moving
beams
moved
fixed
unit
Prior art date
Legal status (The legal status is an assumption and is not a legal conclusion. Google has not performed a legal analysis and makes no representation as to the accuracy of the status listed.)
Pending
Application number
JP2007239055A
Other languages
Japanese (ja)
Inventor
Yasutaka Tanimura
康隆 谷村
Natsuko Shioda
奈津子 塩田
Akira Kosaka
明 小坂
Yoshihiro Hara
吉宏 原
Current Assignee (The listed assignees may be inaccurate. Google has not performed a legal analysis and makes no representation or warranty as to the accuracy of the list.)
Konica Minolta Inc
Original Assignee
Konica Minolta Inc
Priority date (The priority date is an assumption and is not a legal conclusion. Google has not performed a legal analysis and makes no representation as to the accuracy of the date listed.)
Filing date
Publication date
Application filed by Konica Minolta Inc filed Critical Konica Minolta Inc
Priority to JP2007239055A priority Critical patent/JP2009071663A/en
Publication of JP2009071663A publication Critical patent/JP2009071663A/en
Pending legal-status Critical Current

Links

Images

Landscapes

  • Transforming Light Signals Into Electric Signals (AREA)
  • Studio Devices (AREA)

Abstract

<P>PROBLEM TO BE SOLVED: To provide a movement mechanism capable of moving a movement section in parallel with the driving direction of a driving section without using a plurality of driving sections and without depending on the driving of the driving section itself, and an imaging apparatus using the movement section. <P>SOLUTION: The movement mechanism is provided, in which the movement section is connected to a fixed section by a beam having a spring property, and the driving section moves the movement section, so that the movement section can thereby be moved in parallel with the driving direction of the driving section without using a plurality of driving sections and without depending on the driving of the driving section itself. The imaging apparatus using the movement mechanism can be provided. <P>COPYRIGHT: (C)2009,JPO&INPIT

Description

本発明は、移動機構および撮像装置に関し、特に、固定部と梁で接続された移動部を梁のバネ性によって駆動部の駆動方向と平行に移動させる移動機構および該移動機構を用いた撮像装置に関する。   The present invention relates to a moving mechanism and an imaging apparatus, and more particularly, to a moving mechanism that moves a moving part connected by a fixed part and a beam in parallel with the driving direction of the driving part by the spring property of the beam, and an imaging apparatus using the moving mechanism. About.

近年、携帯電話等に、高倍率ズームレンズとオートフォーカス機能や手ブレ補正機能を備えた超小型のマイクロカメラユニット(以下、MCUと言う)が搭載されてきている。MCU等の超小型撮像装置においては、オートフォーカス機能や手ブレ補正機能を実現するために使えるスペースが限られており、限られたスペースの範囲でいかに高性能化するかがポイントとなる。この際に、撮像光学系に比べて小型軽量な撮像素子を移動させる方法がある。   In recent years, ultra-small micro camera units (hereinafter referred to as MCUs) equipped with a high-power zoom lens, an autofocus function, and a camera shake correction function have been mounted on mobile phones and the like. In an ultra-small imaging device such as an MCU, a space that can be used for realizing an autofocus function and a camera shake correction function is limited, and the point is how to improve the performance within the limited space. At this time, there is a method of moving an image sensor that is smaller and lighter than the imaging optical system.

撮像素子を移動させる方法での高性能化のためには、例えばオートフォーカス機能では、撮像素子をMCUの撮像光学系の光軸に平行に移動させる必要があり、例えば手ブレ補正機能では、撮像素子をMCUの撮像光学系の光軸に垂直な面内で平行に移動させる必要がある。   In order to achieve high performance in the method of moving the image sensor, for example, in the auto focus function, it is necessary to move the image sensor in parallel to the optical axis of the imaging optical system of the MCU. It is necessary to move the element in parallel in a plane perpendicular to the optical axis of the imaging optical system of the MCU.

そこで、例えばオートフォーカス機能の達成のために、小型の静電駆動アクチュエータを複数用意し、各アクチュエータのバネ力によって、撮像素子を光学系の光軸に平行に移動させる方法が提案されている(例えば、特許文献1参照)。
特開2005−237174号公報
Therefore, for example, in order to achieve the autofocus function, a method has been proposed in which a plurality of small electrostatic drive actuators are prepared, and the image sensor is moved in parallel with the optical axis of the optical system by the spring force of each actuator ( For example, see Patent Document 1).
JP 2005-237174 A

しかし、特許文献1の方法では、撮像素子の裏面の非常に小さい面積下に多くの小型アクチュエータを配置する必要がある。もし配置するアクチュエータの個数が少ないと、アクチュエータの駆動力のバラツキ等によって撮像素子が傾いたり蛇行したりしてオートフォーカス性能が劣化する。   However, in the method of Patent Document 1, it is necessary to arrange many small actuators under a very small area on the back surface of the image sensor. If the number of actuators to be arranged is small, the image pickup device tilts or snakes due to variations in the driving force of the actuators and the autofocus performance deteriorates.

また、多くのアクチュエータを配置するためにはアクチュエータをより微細に製造する必要があり、製造上の課題が大きい。さらに、アクチュエータを小型化すると発生力も弱くなり、駆動距離も小さくなって撮像素子を移動させることができなくなる。   Moreover, in order to arrange many actuators, it is necessary to manufacture the actuators more finely, and the manufacturing problems are great. Further, when the actuator is downsized, the generated force is weakened, the driving distance is reduced, and the image pickup device cannot be moved.

本発明は、上記事情に鑑みてなされたもので、複数の駆動部を用いることなく、駆動部自体の駆動に依存することもなく、移動部を駆動部の駆動方向と平行に移動させることのできる移動機構および該移動機構を用いた撮像装置を提供することを目的とする。   The present invention has been made in view of the above circumstances, and without using a plurality of driving units, without depending on driving of the driving unit itself, the moving unit can be moved in parallel with the driving direction of the driving unit. It is an object of the present invention to provide a moving mechanism that can be used and an imaging apparatus using the moving mechanism.

本発明の目的は、下記構成により達成することができる。   The object of the present invention can be achieved by the following constitution.

1.少なくとも底面と側面とからなる凹部を有する固定部と、
被移動部を搭載するための平板状の移動部と、
前記移動部の前記被移動部を搭載した面の裏面と前記凹部の底面との間に設けられ、前記移動部を前記凹部の底面に垂直な方向に移動させる駆動部と、
一端が前記移動部に固定され、他端が前記凹部の側面に固定され、前記移動部が移動される方向にバネ性が付与されている複数の梁を備えたことを特徴とする移動機構。
1. A fixed portion having a recess composed of at least a bottom surface and a side surface;
A plate-shaped moving part for mounting the moved part;
A drive unit that is provided between the back surface of the surface of the moving unit on which the moving unit is mounted and the bottom surface of the recess, and moves the moving unit in a direction perpendicular to the bottom surface of the recess;
A moving mechanism comprising: a plurality of beams having one end fixed to the moving portion, the other end fixed to a side surface of the recess, and spring properties in a direction in which the moving portion is moved.

2.複数の前記梁は、一端が前記移動部の同一端面の厚み方向に異なる位置に固定された片持ち支持梁であり、
複数の前記梁と前記移動部の端面と前記凹部の複数の前記梁が固定される側面とが平行四辺形を形成することを特徴とする1に記載の移動機構。
2. The plurality of beams are cantilevered support beams whose one ends are fixed at different positions in the thickness direction of the same end surface of the moving unit,
2. The moving mechanism according to 1, wherein the plurality of beams, end surfaces of the moving unit, and side surfaces to which the plurality of beams of the concave portion are fixed form a parallelogram.

3.複数の前記梁は、一端が前記移動部の少なくとも対向する1対の端面に固定され、他端が前記凹部の対向する側面に固定されていることを特徴とする1に記載の移動機構。   3. 2. The moving mechanism according to 1, wherein one end of each of the plurality of beams is fixed to at least one pair of opposing end surfaces of the moving unit, and the other end is fixed to the opposing side surfaces of the concave portion.

4.前記被移動部は、半導体製造プロセスで形成される電子回路部であり、
前記移動部と複数の前記梁とは前記被移動部と同一の主材料で形成され、
前記被移動部は、少なくともその一部が前記移動部に直接接合技術により接合されていることを特徴とする1乃至3の何れか1項に記載の移動機構。
4). The moved part is an electronic circuit part formed in a semiconductor manufacturing process,
The moving part and the plurality of beams are formed of the same main material as the moved part,
The moving mechanism according to any one of claims 1 to 3, wherein at least a part of the moved part is joined to the moving part by a direct joining technique.

5.前記被移動部、前記移動部および複数の前記梁は前記凹部内に収納されており、
前記凹部を覆う封止部を備え、
前記凹部は、前記固定部と前記封止部とにより密封されていることを特徴とする1乃至4の何れか1項に記載の移動機構。
5). The moved portion, the moving portion, and the plurality of beams are housed in the recess,
A sealing portion covering the recess,
The moving mechanism according to any one of claims 1 to 4, wherein the concave portion is sealed by the fixing portion and the sealing portion.

6.前記移動部と複数の前記梁の少なくとも1つとに、前記被移動部と外部とを接続する配線を形成したことを特徴とする1乃至5の何れか1項に記載の移動機構。   6). The moving mechanism according to any one of claims 1 to 5, wherein a wiring for connecting the moved portion and the outside is formed on at least one of the moving portion and the plurality of beams.

7.被移動部を搭載するための平板状の第1の移動部と、
前記第1の移動部と同一面内で、前記第1の移動部の少なくとも3方を囲むように設けられた第1の固定部と、
前記第1の移動部と前記第1の固定部との間に配置され、前記第1の移動部を前記第1の固定部に対して同一面内で移動させる複数の第1の駆動部と
一端が前記第1の移動部の同一端面に固定され、他端が前記第1の固定部に固定され、前記第1の移動部が移動される方向にバネ性が付与された複数の第1の梁と、
少なくとも底面と側面とからなる凹部を有する第2の固定部と、
前記第1の固定部と前記第2の固定部との間に配置され、前記第1の固定部を前記第2の固定部に対して同一面内で前記第1の移動部の移動方向と垂直な方向に移動させる複数の第2の駆動部と、
一端が前記第1の固定部の同一端面に固定され、他端が前記第2の固定部の側面に固定され、前記第1の固定部が移動される方向にバネ性が付与された複数の第2の梁とを備えたことを特徴とする移動機構。
7). A flat plate-like first moving part for mounting the moved part;
A first fixed portion provided to surround at least three sides of the first moving portion in the same plane as the first moving portion;
A plurality of first drive units disposed between the first moving unit and the first fixed unit, the first driving unit moving the first moving unit with respect to the first fixed unit in the same plane; One end is fixed to the same end surface of the first moving part, the other end is fixed to the first fixing part, and a plurality of first elements are provided with a spring property in a direction in which the first moving part is moved. And
A second fixing portion having a recess composed of at least a bottom surface and a side surface;
The first fixing portion is disposed between the first fixing portion and the second fixing portion, and the first fixing portion is moved in the same plane with respect to the second fixing portion, and the moving direction of the first moving portion is A plurality of second drive units that move in a vertical direction;
One end is fixed to the same end surface of the first fixing portion, the other end is fixed to a side surface of the second fixing portion, and a plurality of spring properties are provided in a direction in which the first fixing portion is moved. A moving mechanism comprising a second beam.

8.前記被移動部は、半導体製造プロセスで形成される電子回路部であり、
前記第1の移動部、前記第1の固定部、複数の前記第1の梁、および複数の前記第2の梁は前記被移動部と同一の主材料で形成され、
前記被移動部は、少なくともその一部が前記第1の移動部に直接接合技術により接合されていることを特徴とする7に記載の移動機構。
8). The moved part is an electronic circuit part formed in a semiconductor manufacturing process,
The first moving part, the first fixed part, the plurality of first beams, and the plurality of second beams are formed of the same main material as the moved part,
8. The moving mechanism according to 7, wherein at least a part of the moved part is joined to the first moving part by a direct joining technique.

9.前記被移動部、前記第1の移動部、前記第1の固定部、複数の前記第1の駆動部、複数の前記第1の梁、複数の前記第2の駆動部および複数の前記第2の梁は前記凹部内に収納されており、
前記凹部を覆う封止部を備え、
前記凹部は、前記固定部と前記封止部とにより密封されていることを特徴とする7または8に記載の移動機構。
9. The moved portion, the first moving portion, the first fixed portion, the plurality of first drive portions, the plurality of first beams, the plurality of second drive portions, and the plurality of second portions. Is housed in the recess,
A sealing portion covering the recess,
The moving mechanism according to claim 7 or 8, wherein the concave portion is sealed by the fixing portion and the sealing portion.

10.前記第1の移動部、複数の前記第1の梁の少なくとも1つ、前記第1の固定部および複数の前記第2の梁の少なくとも1つに、前記被移動部と外部とを接続する配線を形成したことを特徴とする7乃至9の何れか1項に記載の移動機構。   10. Wiring for connecting the moved part and the outside to at least one of the first moving part, at least one of the plurality of first beams, the first fixed part and the plurality of second beams. 10. The moving mechanism according to any one of 7 to 9, wherein

11.前記配線は、印刷により形成されることを特徴とする6または10に記載の移動機構。   11. The moving mechanism according to claim 6 or 10, wherein the wiring is formed by printing.

12.撮像光学系と、
1乃至11の何れか1項に記載の移動機構とを備え、
前記被移動部は撮像センサであることを特徴とする撮像装置。
12 An imaging optical system;
The moving mechanism according to any one of 1 to 11,
An image pickup apparatus, wherein the moved part is an image sensor.

本発明によれば、バネ性を備えた梁によって移動部と固定部とを接続し、駆動部によって移動部を移動させることで、複数の駆動部を用いることなく、駆動部自体の駆動に依存することもなく、移動部を駆動部の駆動方向と平行に移動させることのできる移動機構および該移動機構を用いた撮像装置を提供することができる。   According to the present invention, the moving unit and the fixed unit are connected by a beam having a spring property, and the moving unit is moved by the driving unit, so that it depends on driving of the driving unit itself without using a plurality of driving units. Accordingly, it is possible to provide a moving mechanism capable of moving the moving unit in parallel with the driving direction of the driving unit and an imaging apparatus using the moving mechanism.

以下、本発明を図示の実施の形態に基づいて説明するが、本発明は該実施の形態に限られない。なお、図中、同一あるいは同等の部分には同一の番号を付与し、重複する説明は省略する。   Hereinafter, the present invention will be described based on the illustrated embodiment, but the present invention is not limited to the embodiment. In the drawings, the same or equivalent parts are denoted by the same reference numerals, and redundant description is omitted.

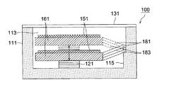
まず、本発明の第1の実施の形態について、図1乃至図3を用いて説明する、図1は、本発明における移動機構の第1の実施の形態を示す模式図で、図1(a)は平面図、図1(b)は図1(a)のA−A’断面図である。   First, a first embodiment of the present invention will be described with reference to FIGS. 1 to 3. FIG. 1 is a schematic diagram showing a first embodiment of a moving mechanism in the present invention, and FIG. ) Is a plan view, and FIG. 1B is a cross-sectional view taken along line AA ′ of FIG.

図1(a)および(b)において、移動機構100は、固定部111、被移動部151、移動部161、4つの梁171、4つの梁支持部175および駆動部121等で構成される。   1A and 1B, the moving mechanism 100 includes a fixed portion 111, a moved portion 151, a moving portion 161, four beams 171, four beam support portions 175, a driving portion 121, and the like.

移動部161は剛性を持つ矩形の平板であり、矩形の4辺の各中央部で4つの梁171と接続され、一体に形成されている。移動部161と4つの梁171とは、固定部111の凹部113内に収納され、移動部161は4つの梁171を介して固定部111の凹部113の内壁に接している。   The moving part 161 is a rectangular plate having rigidity, and is connected to the four beams 171 at each central part of the four sides of the rectangle and is integrally formed. The moving part 161 and the four beams 171 are accommodated in the recessed part 113 of the fixed part 111, and the moving part 161 is in contact with the inner wall of the recessed part 113 of the fixed part 111 via the four beams 171.

梁171は、移動部161および固定部111と接続される部分の幅が狭く、中央部が広い形状である。梁171の中央部にはスリット173(図1(a)では十字形のスリット)が設けられ、これによって駆動部121の駆動方向(図1(b)のZ方向)にバネ性が付与されている。   The beam 171 has a shape in which the width of the portion connected to the moving portion 161 and the fixed portion 111 is narrow and the center portion is wide. A slit 173 (a cross-shaped slit in FIG. 1A) is provided at the center of the beam 171, thereby imparting a spring property in the drive direction of the drive unit 121 (Z direction in FIG. 1B). Yes.

被移動部151は、例えば撮像素子、加速度センサ、位置センサ、温度センサ等のセンサ類や、それらと周辺回路とを集積した集積回路等のような半導体製造プロセスで製造される電子回路であり、移動部161の一方の平面上に搭載され、少なくともその一部が移動部161に固定されている。固定方法については後述する。   The moved portion 151 is an electronic circuit manufactured by a semiconductor manufacturing process such as an image sensor, an acceleration sensor, a position sensor, a temperature sensor, or an integrated circuit in which these and peripheral circuits are integrated. The moving unit 161 is mounted on one plane, and at least a part of the moving unit 161 is fixed to the moving unit 161. The fixing method will be described later.

駆動部121は、移動部161の被移動部151搭載面の裏面と固定部111との間に配置され、移動部161を図1(b)のZ方向に移動させる。駆動部121としては、例えば積層型圧電素子、静電アクチュエータ等が考えられるが、それに限るものではなく、その他にも多くのアクチュエータが使用可能である。詳細は後述する。   The driving unit 121 is disposed between the back surface of the moving unit 151 mounting surface of the moving unit 161 and the fixed unit 111, and moves the moving unit 161 in the Z direction in FIG. As the drive unit 121, for example, a laminated piezoelectric element, an electrostatic actuator, or the like is conceivable, but the drive unit 121 is not limited thereto, and many other actuators can be used. Details will be described later.

梁171の固定部111の内壁に接する部分には、移動部161と4つの梁171とを固定部111の凹部の底面から駆動部121の高さ分だけ持ち上げるための梁支持部175が設けられている。梁支持部175は、移動部161および4つの梁171と一体に形成され、梁171の固定部111の内壁に接する部分で図の−Z方向に直角に形成されている。移動部161、4つの梁171および梁支持部175の形成方法については後述する。   A beam support portion 175 for lifting the moving portion 161 and the four beams 171 from the bottom surface of the concave portion of the fixing portion 111 by the height of the driving portion 121 is provided at a portion of the beam 171 contacting the inner wall of the fixing portion 111. ing. The beam support portion 175 is formed integrally with the moving portion 161 and the four beams 171, and is formed at a right angle in the −Z direction in the drawing at a portion in contact with the inner wall of the fixed portion 111 of the beam 171. A method of forming the moving part 161, the four beams 171 and the beam support part 175 will be described later.

被移動部151、移動部161、4つの梁171、4つの梁支持部175および駆動部121は全て固定部111の凹部113内に収納されており、カバーガラス等の封止部材131によって封止されている。これによって、被移動部151の表面へのゴミの付着、梁171への異物の噛み込みや、湿度による各部の腐食等を防止することができる。   The moved portion 151, the moving portion 161, the four beams 171, the four beam support portions 175, and the driving portion 121 are all housed in the recess 113 of the fixed portion 111 and sealed by a sealing member 131 such as a cover glass. Has been. Accordingly, it is possible to prevent dust from adhering to the surface of the moved portion 151, biting of foreign matter into the beam 171 and corrosion of each portion due to humidity.

図2は、図1に示した移動機構100の動作状態を示す模式図である。   FIG. 2 is a schematic diagram illustrating an operation state of the moving mechanism 100 illustrated in FIG. 1.

図2において、駆動部121は、図示しない外部駆動回路からの信号により、図のZ方向に伸縮する。移動部161は剛性を持つ平板であるため、駆動部121の伸縮に同期して図のZ方向に移動する。この際、移動部161の4辺がZ方向にバネ性を持つ4つの梁171によって固定部111に接続されているので、4つの梁171のバネ性の釣り合いにより、移動部161は、その面上に被移動部151を搭載した状態で、傾くことなしにZ方向に平行に移動される。   In FIG. 2, the drive unit 121 expands and contracts in the Z direction in the figure by a signal from an external drive circuit (not shown). Since the moving unit 161 is a rigid flat plate, the moving unit 161 moves in the Z direction in synchronization with the expansion and contraction of the driving unit 121. At this time, since the four sides of the moving portion 161 are connected to the fixed portion 111 by the four beams 171 having spring properties in the Z direction, the moving portion 161 has its surface due to the balance of the spring properties of the four beams 171. With the moved portion 151 mounted thereon, it is moved in parallel to the Z direction without tilting.

図3は、図1に示した梁支持部175の他の実施形態を示す模式図である。   FIG. 3 is a schematic view showing another embodiment of the beam support portion 175 shown in FIG.

図3においては、図1に示したような梁支持部175は設けられておらず、その代わりに固定部111の内壁部に、梁171を支持するための突起部115が設けられている。一体に形成された移動部161と梁171とは、図の+Z方向から固定部111の凹部113内に挿入され、移動部161の裏面が駆動部121の上面に接し、梁171の固定部111の内壁に接する部分が突起部115の上面に接する。移動部161の裏面と駆動部121の上面、および梁171の固定部111の内壁に接する部分と突起部115の上面とはそれぞれ例えば接着等により固定される。図3に示した例において、移動機構100の動作は図2に示したと同じである。   In FIG. 3, the beam support portion 175 as shown in FIG. 1 is not provided, and instead, a projection 115 for supporting the beam 171 is provided on the inner wall portion of the fixed portion 111. The integrally formed moving portion 161 and beam 171 are inserted into the recessed portion 113 of the fixed portion 111 from the + Z direction in the figure, the back surface of the moving portion 161 is in contact with the upper surface of the drive portion 121, and the fixed portion 111 of the beam 171 is inserted. A portion in contact with the inner wall of the projection contacts the upper surface of the projection 115. The back surface of the moving unit 161 and the upper surface of the driving unit 121, and the portion of the beam 171 in contact with the inner wall of the fixing unit 111 and the upper surface of the projection 115 are fixed by, for example, bonding. In the example shown in FIG. 3, the operation of the moving mechanism 100 is the same as that shown in FIG.

上述したように、本発明の第1の実施の形態によれば、駆動部121の伸縮によって移動部161をZ方向に移動させる際に、移動部161の4辺を固定部111に接続している4つの梁171のバネ性の釣り合いにより、移動部161を傾くことなしにZ方向に平行に移動させることができ、移動部161の面上に搭載された被移動部151も、傾くことなしにZ方向に平行に移動させることができる。   As described above, according to the first embodiment of the present invention, when the moving unit 161 is moved in the Z direction by the expansion and contraction of the driving unit 121, the four sides of the moving unit 161 are connected to the fixed unit 111. Due to the spring balance of the four beams 171 that are present, the moving part 161 can be moved in parallel to the Z direction without being inclined, and the moved part 151 mounted on the surface of the moving part 161 is also not inclined. Can be moved parallel to the Z direction.

さらに、被移動部151、移動部161、4つの梁171および駆動部121等が全て固定部111の凹部113内に収納されており、カバーガラス等の封止部材131によって封止されているので、被移動部151の表面へのゴミの付着、梁171への異物の噛み込みや、湿度による各部の腐食等を防止することができる。   Further, the moved portion 151, the moving portion 161, the four beams 171 and the driving portion 121 are all housed in the recess 113 of the fixed portion 111 and are sealed by a sealing member 131 such as a cover glass. Further, it is possible to prevent dust from adhering to the surface of the moved portion 151, biting of foreign matter into the beam 171 and corrosion of each portion due to humidity.

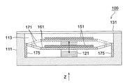
次に、本発明の第2の実施の形態について、図4および図5を用いて説明する。図4は、本発明における移動機構の第2の実施の形態を示す模式図で、図4(a)は平面図、図4(b)は図4(a)のB−B’断面図、図4(c)は図4(a)のC−C’断面図である。   Next, a second embodiment of the present invention will be described with reference to FIGS. FIG. 4 is a schematic view showing a second embodiment of the moving mechanism in the present invention, FIG. 4 (a) is a plan view, FIG. FIG. 4C is a cross-sectional view taken along the line CC ′ of FIG.

図4(a)(b)および(c)において、移動機構100は、固定部111、被移動部151、移動部161、2本の梁181、2本の梁183、4カ所の突起部115および駆動部121等で構成される。   4A, 4 </ b> B, and 4 </ b> C, the moving mechanism 100 includes a fixed portion 111, a moved portion 151, a moving portion 161, two beams 181, two beams 183, and four protruding portions 115. And a drive unit 121 and the like.

移動部161は剛性を持つ矩形の平板であり、矩形の1辺の端面の4カ所で2本の梁181および2本の梁183と接続され、一体に形成されている。移動部161と2本の梁181および2本の梁183とは、固定部111の凹部113内に収納され、移動部161は2本の梁181および2本の梁183を介して固定部111の凹部113の4カ所の突起部115に固定されている。   The moving part 161 is a rectangular plate having rigidity, and is connected to the two beams 181 and the two beams 183 at four locations on the end surface of one side of the rectangle, and is integrally formed. The moving part 161 and the two beams 181 and the two beams 183 are housed in the recess 113 of the fixed part 111, and the moving part 161 is connected to the fixed part 111 via the two beams 181 and the two beams 183. Are fixed to four protrusions 115 of the recess 113.

2本の梁181および2本の梁183は、所謂片持ち支持梁であり、4カ所の突起部115に固定された部分で支持されている。2本の梁181および2本の梁183の他端は、移動部161の矩形の1辺の端面の4カ所で移動部161と一体的に形成されている。   The two beams 181 and the two beams 183 are so-called cantilever support beams, and are supported by portions fixed to the four protruding portions 115. The other ends of the two beams 181 and the two beams 183 are integrally formed with the moving unit 161 at four positions on one end face of the rectangular side of the moving unit 161.

図4(b)に示すように、2本の梁181および2本の梁183の位置は、移動部161の端面の厚み方向にそれぞれずらせて配置されている。これによって2本の梁181と2本の梁183とは所謂平行板バネを構成し、駆動部121の駆動方向(図4(c)のZ方向)にバネ性を持つ。ここで、例えば2本の梁181と2本の梁183との合計4つの梁を同一の形状とすることで、4つの梁の持つバネ性を同一とすることができる。   As shown in FIG. 4B, the positions of the two beams 181 and the two beams 183 are shifted from each other in the thickness direction of the end surface of the moving unit 161. As a result, the two beams 181 and the two beams 183 form a so-called parallel leaf spring and have a spring property in the driving direction of the driving unit 121 (Z direction in FIG. 4C). Here, for example, a total of four beams of the two beams 181 and the two beams 183 have the same shape, whereby the spring properties of the four beams can be made the same.

被移動部151は、第1の実施の形態と同様に、例えば撮像素子、加速度センサ、位置センサ、温度センサ等のセンサ類や、それらと周辺回路とを集積した集積回路等のような半導体製造プロセスで製造される電子回路であり、移動部161の一方の平面上に搭載され、少なくともその一部が移動部161に固定されている。固定方法については後述する。   As in the first embodiment, the moved portion 151 is a semiconductor manufacturing device such as an image sensor, an acceleration sensor, a position sensor, a temperature sensor, or an integrated circuit in which these and peripheral circuits are integrated. It is an electronic circuit manufactured by a process, is mounted on one plane of the moving part 161, and at least a part of the moving part 161 is fixed to the moving part 161. The fixing method will be described later.

駆動部121も、第1の実施の形態と同様に、移動部161の被移動部151搭載面の裏面と固定部111との間に配置され、移動部161を図4(c)のZ方向に移動させる。駆動部121としては、第1の実施の形態と同様に、例えば積層型圧電素子、静電アクチュエータ等が考えられるが、それに限るものではなく、その他にも多くのアクチュエータが使用可能である。詳細は後述する。   Similarly to the first embodiment, the drive unit 121 is also disposed between the back surface of the moving unit 151 mounting surface of the moving unit 161 and the fixed unit 111, and the moving unit 161 is arranged in the Z direction in FIG. Move to. As the drive unit 121, for example, a multilayer piezoelectric element, an electrostatic actuator, and the like are conceivable as in the first embodiment, but the present invention is not limited to this, and many other actuators can be used. Details will be described later.

固定部111の突起部115は、図3に示したと同様の構成で、2本の梁181および2本の梁183の固定部111の内壁に接する部分を支持し、接着との方法により固定している。もちろん、図1に示した梁支持部175と同様の構成をとってもよい。   The protruding portion 115 of the fixing portion 111 has the same configuration as shown in FIG. 3, supports the portions of the two beams 181 and the two beams 183 that are in contact with the inner walls of the fixing portion 111, and is fixed by a method of bonding. ing. Of course, the same configuration as that of the beam support portion 175 shown in FIG. 1 may be adopted.

被移動部151、移動部161、2本の梁181および2本の梁183、4つの突起部115および駆動部121は全て固定部111の凹部113内に収納されており、カバーガラス等の封止部材131によって封止されている。これによって、被移動部151の表面へのゴミの付着、2本の梁181および2本の梁183への異物の噛み込みや、湿度による各部の腐食等を防止することができる。   The moving part 151, the moving part 161, the two beams 181 and the two beams 183, the four projecting parts 115, and the driving part 121 are all housed in the concave part 113 of the fixed part 111 and sealed with a cover glass or the like. It is sealed by a stop member 131. Accordingly, it is possible to prevent dust from adhering to the surface of the moved portion 151, biting of foreign matter into the two beams 181 and two beams 183, corrosion of each portion due to humidity, and the like.

図5は、図4に示した移動機構100の動作状態を示す模式図である。   FIG. 5 is a schematic diagram illustrating an operation state of the moving mechanism 100 illustrated in FIG. 4.

図5において、駆動部121は、図示しない外部駆動回路からの信号により、図のZ方向に伸縮する。移動部161は剛性を持つ平板であるため、駆動部121の伸縮に同期して図のZ方向に移動する。この際、図4で述べたように、2本の梁181と2本の梁183との4つの梁が持つバネ性は同一であるので、4つの梁バネ性の釣り合いにより、4つの梁と、4つの梁が固定されている移動部161の端面、および4つの梁が固定されている固定部111の内壁113が形作る平行四辺形が維持されるように移動部161が移動される。よって、移動部161は、その面上に被移動部151を搭載した状態で、傾くことなしにZ方向に平行に移動される。   In FIG. 5, the drive unit 121 expands and contracts in the Z direction in the figure by a signal from an external drive circuit (not shown). Since the moving unit 161 is a rigid flat plate, the moving unit 161 moves in the Z direction in synchronization with the expansion and contraction of the driving unit 121. At this time, as described in FIG. 4, the spring properties of the four beams 181 and 183 are the same, so that the four beams are balanced by the balance of the four beam spring properties. The moving part 161 is moved so that the parallelogram formed by the end face of the moving part 161 to which the four beams are fixed and the inner wall 113 of the fixing part 111 to which the four beams are fixed is maintained. Therefore, the moving part 161 is moved in parallel with the Z direction without tilting in a state where the moved part 151 is mounted on the surface thereof.

上述したように、本発明の第2の実施の形態によれば、駆動部121の伸縮によって移動部161をZ方向に移動させる際に、移動部161の1辺を固定部111に接続している片持ち支持梁である2本の梁181および2本の梁183のバネ性の釣り合いにより、移動部161を傾くことなしにZ方向に平行に移動させることができ、移動部161の面上に搭載された被移動部151も、傾くことなしにZ方向に平行に移動させることができる。   As described above, according to the second embodiment of the present invention, when the moving unit 161 is moved in the Z direction by expansion and contraction of the driving unit 121, one side of the moving unit 161 is connected to the fixed unit 111. The two beams 181 and 183, which are cantilever supporting beams, can be moved in parallel to the Z direction without tilting the movable portion 161 without being tilted. The moved part 151 mounted on the can also be moved parallel to the Z direction without being inclined.

さらに、被移動部151、移動部161、2本の梁181、2本の梁183および駆動部121等が全て固定部111の凹部113内に収納されており、カバーガラス等の封止部材131によって封止されているので、被移動部151の表面へのゴミの付着、梁181および183への異物の噛み込みや、湿度による各部の腐食等を防止することができる。   Further, the moved portion 151, the moving portion 161, the two beams 181, the two beams 183, the driving portion 121, and the like are all housed in the concave portion 113 of the fixed portion 111, and a sealing member 131 such as a cover glass. Therefore, it is possible to prevent dust from adhering to the surface of the moved part 151, biting of foreign matter into the beams 181 and 183, corrosion of each part due to humidity, and the like.

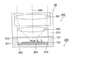
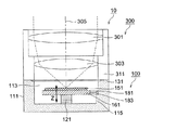
次に、上述した第1または第2の実施の形態の移動機構100を備えた撮像装置の1例を、図6を用いて説明する。図6は、上述した第2の実施の形態の移動機構100を備えた撮像装置10の1例を示す断面図である。   Next, an example of an imaging apparatus including the moving mechanism 100 according to the first or second embodiment described above will be described with reference to FIG. FIG. 6 is a cross-sectional view illustrating an example of the imaging apparatus 10 including the moving mechanism 100 according to the second embodiment described above.

図6において、撮像素子である被移動部151、移動部161、2本の梁181および2本の梁183および駆動部121は、撮像素子パッケージである固定部111の凹部113内に収納されている。固定部111の開口部は、赤外光(IR)カットフィルタである封止部材131によって封止されており、上述したMCUである撮像装置10のオートフォーカスユニットである移動機構100を構成している。   In FIG. 6, the moving part 151, the moving part 161, the two beams 181, the two beams 183, and the driving part 121, which are imaging elements, are housed in the recess 113 of the fixed part 111, which is an imaging element package. Yes. The opening of the fixed portion 111 is sealed by a sealing member 131 that is an infrared light (IR) cut filter, and constitutes the moving mechanism 100 that is an autofocus unit of the imaging device 10 that is the MCU described above. Yes.

移動機構100の上には、鏡胴311内に撮像レンズ301と303とを固定して収納した撮像装置10の撮像光学系300が、例えば撮像光学系300の光軸305が被移動部151の画素部の中心に一致するように配置されている。固定部111と鏡胴311とは、例えば接着等により接続され、MCUである撮像装置10を構成している。   On the moving mechanism 100, the imaging optical system 300 of the imaging apparatus 10 in which the imaging lenses 301 and 303 are fixedly housed in the lens barrel 311, for example, the optical axis 305 of the imaging optical system 300 is connected to the moved portion 151. It is arranged so as to coincide with the center of the pixel portion. The fixing unit 111 and the lens barrel 311 are connected by, for example, bonding or the like, and constitute the imaging device 10 that is an MCU.

撮像装置10のオートフォーカス動作時には、例えば撮像素子である被移動部151の画像信号に基づいて、図示しないオートフォーカス回路によって、被移動部151の撮像面上のピント状態の検出と被移動部151の移動方向の決定が行われる。オートフォーカス回路によって決定された移動方向に基づいて、図示しない外部駆動回路からの信号により、駆動部121が図のZ方向に伸縮され、図5に述べた原理によって被移動部151がZ方向に平行移動される。これによって、撮像光学系300と撮像素子である被移動部151との相対位置関係が変更される。以上の一連の動作が繰り返されて、撮像装置10のオートフォーカス動作が行われる。   During the autofocus operation of the imaging apparatus 10, for example, based on the image signal of the moved unit 151 that is an image sensor, the autofocus circuit (not shown) detects the focus state on the imaging surface of the moved unit 151 and the moved unit 151. The direction of movement is determined. Based on the movement direction determined by the autofocus circuit, the drive unit 121 is expanded and contracted in the Z direction in the figure by a signal from an external drive circuit (not shown), and the moved part 151 is moved in the Z direction by the principle described in FIG. Translated. As a result, the relative positional relationship between the imaging optical system 300 and the moved portion 151 that is an imaging element is changed. The series of operations described above are repeated, and the autofocus operation of the imaging device 10 is performed.

なお、図6では、第2の実施の形態の移動機構100を備えた撮像装置10の例を示したが、第1の実施の形態の移動機構100を用いても同じである。   FIG. 6 shows an example of the imaging apparatus 10 including the moving mechanism 100 of the second embodiment, but the same applies even when the moving mechanism 100 of the first embodiment is used.

上述したように、第1または第2の実施の形態の移動機構100を備えた撮像装置10によれば、第1または第2の実施の形態の移動機構100によって、撮像素子である被移動部151を光軸305に対して傾くことなく平行に移動させることができるので、画像の片ボケ等のない高画質な撮像装置10を提供することができる。   As described above, according to the imaging apparatus 10 including the moving mechanism 100 of the first or second embodiment, the moving unit that is an imaging element is moved by the moving mechanism 100 of the first or second embodiment. 151 can be moved in parallel without being inclined with respect to the optical axis 305, so that it is possible to provide the high-quality image pickup apparatus 10 that is free from image blurring.

さらに、移動機構100が固定部111と封止部材131とで封止されているので、被移動部151の表面へのゴミの付着、梁171、あるいは梁181および183への異物の噛み込みや、湿度による各部の腐食等を防止することができ、信頼性の高い撮像装置10を提供することができる。   Further, since the moving mechanism 100 is sealed by the fixed portion 111 and the sealing member 131, the adhesion of dust to the surface of the moved portion 151, the biting of foreign matter into the beam 171 or the beams 181 and 183, Thus, corrosion of each part due to humidity can be prevented, and a highly reliable imaging device 10 can be provided.

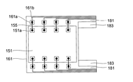
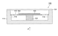
続いて、撮像素子である被移動部151の電源や画像信号等の配線を外部に取り出す方法の1例を、図7を用いて説明する。図7は、被移動部151の配線を外部に取り出す方法の1例を示す模式図である。図7では図4に示した移動機構100の第2の実施の形態における被移動部151、移動部161および梁181と183のみを図示してある。   Next, an example of a method for taking out the power supply of the moved portion 151 that is an image sensor and the wiring for an image signal or the like will be described with reference to FIG. FIG. 7 is a schematic diagram showing an example of a method for taking out the wiring of the moved portion 151 to the outside. FIG. 7 shows only the moved portion 151, the moving portion 161, and the beams 181 and 183 in the second embodiment of the moving mechanism 100 shown in FIG.

図7において、撮像素子である被移動部151上には、半導体製造プロセスによって形成される電源や画像信号等の配線のためのボンディングパッド151aが、例えば図7の例では8個備えられている。移動部161上の被移動部151のボンディングパッド151aに対向する位置にも、ボンディングパッド161aが備えられており、ボンディングパッド161aから梁181の端部まで配線161bが引かれている。対向するボンディングパッド151aと161aとの間は、ボンディングワイヤ155によって結線されている。   In FIG. 7, for example, eight bonding pads 151a for wiring such as a power source and an image signal formed by a semiconductor manufacturing process are provided on a moved portion 151 that is an image sensor. . A bonding pad 161 a is also provided at a position on the moving portion 161 facing the bonding pad 151 a of the moved portion 151, and the wiring 161 b is drawn from the bonding pad 161 a to the end of the beam 181. The bonding pads 151a and 161a facing each other are connected by a bonding wire 155.

2本の梁181の端部の配線161bは、例えば導電性接着剤等により撮像素子パッケージである固定部111上の配線に結線され、これによって、撮像素子である被移動部151と撮像素子パッケージである固定部111の外部にある回路とが接続されて、信号の授受が行われる。   The wiring 161b at the end of the two beams 181 is connected to the wiring on the fixed portion 111, which is an image sensor package, by, for example, a conductive adhesive, and thereby the moved portion 151 that is an image sensor and the image sensor package. Is connected to a circuit outside the fixed portion 111, and signals are exchanged.

移動部161および梁181上のボンディングパッド161aおよび配線161bは、例えば半導体製造プロセスによって形成されてもよいし、例えばインクジェット方式等の印刷方法によって形成されてもよい。   The bonding pad 161a and the wiring 161b on the moving part 161 and the beam 181 may be formed by a semiconductor manufacturing process, for example, or may be formed by a printing method such as an inkjet method.

上述したように移動部161および梁181上にボンディングパッド161aおよび配線161bを設けることにより、移動する被移動部151と固定部111の間にボンディングワイヤを結線する必要がなくなり、被移動部151の移動にともなってボンディングワイヤが揺り動かされて断線するという危険を防止することができ、移動機構100の信頼性の向上に寄与することができる。なお、上述した配線の形成方法は、図8で後述する本発明の第3の実施の形態においても適用可能である。   By providing the bonding pad 161a and the wiring 161b on the moving part 161 and the beam 181 as described above, there is no need to connect a bonding wire between the moving part 151 to be moved and the fixed part 111. It is possible to prevent the danger that the bonding wire is swayed and broken along with the movement, thereby contributing to the improvement of the reliability of the moving mechanism 100. The wiring formation method described above can also be applied to the third embodiment of the present invention described later with reference to FIG.

次に、本発明の第3の実施の形態について、図8を用いて説明する。図8は、本発明における移動機構の第3の実施の形態を示す模式図で、図8(a)は移動前の状態を示す平面図、図8(b)は移動後の状態を示す平面図である。第1および第2の実施の形態では被移動部151をZ方向に平行移動させる機構について示したが、本第3の実施の形態では、平面状の被移動部151を、その平面方向に移動させる機構について説明する。   Next, a third embodiment of the present invention will be described with reference to FIG. 8A and 8B are schematic views showing a third embodiment of the moving mechanism according to the present invention. FIG. 8A is a plan view showing a state before the movement, and FIG. 8B is a plane showing a state after the movement. FIG. In the first and second embodiments, the mechanism for moving the moved portion 151 in the Z direction is shown. In the third embodiment, the planar moved portion 151 is moved in the plane direction. The mechanism to be performed will be described.

図8(a)において、移動機構200は、固定部211、被移動部151、第1の移動部261、2本の第1の梁293、2個の第1の駆動部223、第2の移動部263、2本の第2の梁295および2個の第2の駆動部225等で構成される。   8A, the moving mechanism 200 includes a fixed portion 211, a moved portion 151, a first moving portion 261, two first beams 293, two first driving portions 223, and a second moving portion 200. The moving unit 263, two second beams 295, two second driving units 225, and the like are included.

第1の移動部261は剛性を持つ矩形の平板であり、矩形の1辺の端面の両端2カ所で2本の第1の梁293の一端と接続されている。2本の第1の梁293の他端は、第1の移動部261と2本の第1の梁293とを囲むロの字状の剛性を持つ平板である第2の移動部263の1辺と接続されている。第2の移動部263は、その1辺の端面の両端2カ所で2本の第2の梁295の一端と接続されている。2本の第2の梁295の他端は固定部211の凹部213の内壁側面に当接され、接着等により固定されている。上述した第1の移動部261、2本の第1の梁293、第2の移動部263および2本の第2の梁295は一体に形成されている。   The first moving unit 261 is a rectangular plate having rigidity, and is connected to one end of the two first beams 293 at two ends of the end surface of one side of the rectangle. The other end of the two first beams 293 is one of the second moving portions 263 which is a flat plate having a rectangular shape surrounding the first moving portion 261 and the two first beams 293. Connected to the edge. The second moving portion 263 is connected to one end of the two second beams 295 at two positions on both ends of the end surface of one side thereof. The other ends of the two second beams 295 are in contact with the inner wall side surface of the recess 213 of the fixing portion 211 and are fixed by bonding or the like. The first moving portion 261, the two first beams 293, the second moving portion 263, and the two second beams 295 are integrally formed.

2個の第1の駆動部223は、図8に示すように、第1の移動部261と第2の移動部263との2カ所の隙間に、図8のX方向に駆動力が互いに反対方向に作用するように配置される。2個の第2の駆動部225は、図8に示すように、第2の移動部263と固定部211の内壁側面との2カ所の隙間に、図8のY方向に駆動力が互いに反対方向に作用するように配置される。   As shown in FIG. 8, the two first driving units 223 have driving forces opposite to each other in the X direction in FIG. 8 in two gaps between the first moving unit 261 and the second moving unit 263. Arranged to act in the direction. As shown in FIG. 8, the two second driving units 225 have driving forces opposite to each other in the Y direction in FIG. 8 in two gaps between the second moving unit 263 and the inner wall side surface of the fixed unit 211. Arranged to act in the direction.

被移動部151は、第1および第2の実施の形態と同様に、例えば撮像素子、加速度センサ、位置センサ、温度センサ等のセンサ類や、それらと周辺回路とを集積した集積回路等のような半導体製造プロセスで製造される電子回路であり、第1の移動部261の表面上に搭載され、少なくともその一部が第1の移動部261に固定されている。固定方法については後述する。   As in the first and second embodiments, the moved portion 151 is, for example, an image sensor, an acceleration sensor, a position sensor, a temperature sensor, or other sensors, or an integrated circuit in which these and peripheral circuits are integrated. The electronic circuit is manufactured by a semiconductor manufacturing process, and is mounted on the surface of the first moving unit 261, and at least a part of the electronic circuit is fixed to the first moving unit 261. The fixing method will be described later.

被移動部151、第1の移動部261、2本の第1の梁293、2個の第1の駆動部223、第2の移動部263、2本の第2の梁295および2個の第2の駆動部225は全て固定部111の凹部113内に収納されており、図示しないカバーガラス等の封止部材によって封止されている。これによって、被移動部151の表面へのゴミの付着、2本の第1の梁293および2本の第2の梁295への異物の噛み込みや、湿度による各部の腐食等を防止することができる。   The moved part 151, the first moving part 261, the two first beams 293, the two first driving parts 223, the second moving part 263, the two second beams 295, and the two The second drive unit 225 is all housed in the recess 113 of the fixed unit 111 and is sealed by a sealing member such as a cover glass (not shown). This prevents dust from adhering to the surface of the moved portion 151, foreign matter biting into the two first beams 293 and the two second beams 295, and corrosion of each portion due to humidity. Can do.

図8(b)において、図示しない外部回路によって、2個の第1の駆動部223の一方が伸張し、他方が収縮するような駆動信号が印加されると、2本の第1の梁293が平行板バネとして作用して第1の移動部261がX方向に平行移動される。   In FIG. 8B, when a driving signal is applied such that one of the two first driving units 223 expands and the other contracts by an external circuit (not shown), the two first beams 293 are applied. Acts as a parallel leaf spring, and the first moving portion 261 is translated in the X direction.

同様に、図示しない外部回路によって、2個の第2の駆動部225の一方が伸張し、他方が収縮するような駆動信号が印加されると、2本の第2の梁295が平行板バネとして作用して、第1の移動部261および第2の移動部263がY方向に平行移動される。   Similarly, when a drive signal is applied so that one of the two second drive units 225 expands and the other contracts by an external circuit (not shown), the two second beams 295 are parallel leaf springs. As a result, the first moving unit 261 and the second moving unit 263 are translated in the Y direction.

上述した2個の第1の駆動部223および2個の第2の駆動部225への駆動信号の印加を同時に行うことで、第1の移動部261上に固定された被駆動部151を、図のXY面内でのXおよびY方向に平行移動することができる。   By simultaneously applying the drive signals to the two first drive units 223 and the two second drive units 225 described above, the driven unit 151 fixed on the first moving unit 261 It is possible to translate in the X and Y directions in the XY plane of the figure.

上述したように、本発明の第3の実施の形態によれば、第1の駆動部223あるいは第2の駆動部225の伸縮によって第1の移動部261をX、Y方向に移動させる際に、2本の第1の梁293あるいは2本の第2の梁295のバネ性の釣り合いにより、移動部261を傾くことなしにX、Y方向に平行に移動させることができ、移動部261の面上に搭載された被移動部151も、傾くことなしにX、Y方向に平行に移動させることができる。   As described above, according to the third embodiment of the present invention, when the first moving unit 261 is moved in the X and Y directions by the expansion and contraction of the first driving unit 223 or the second driving unit 225. Due to the spring balance of the two first beams 293 or the two second beams 295, the moving unit 261 can be moved in parallel in the X and Y directions without tilting. The moved portion 151 mounted on the surface can also be moved parallel to the X and Y directions without being inclined.

さらに、被移動部151、第1の移動部261、2本の第1の梁293、2個の第1の駆動部223、第2の移動部263、2本の第2の梁295および2個の第2の駆動部225が全て固定部111の凹部113内に収納されており、カバーガラス等の封止部材によって封止されているので、被移動部151の表面へのゴミの付着、2本の第1の梁293および2本の第2の梁295への異物の噛み込みや、湿度による各部の腐食等を防止することができる。   Furthermore, the moved part 151, the first moving part 261, the two first beams 293, the two first driving parts 223, the second moving part 263, the two second beams 295 and 2 Since the individual second driving units 225 are all housed in the recesses 113 of the fixing unit 111 and sealed by a sealing member such as a cover glass, dust adheres to the surface of the moved unit 151. It is possible to prevent foreign matter from getting caught in the two first beams 293 and the two second beams 295, corrosion of each part due to humidity, and the like.

続いて、上述した第3の実施の形態の移動機構200を備えた撮像装置の1例を、図9を用いて説明する。図9は、上述した第3の実施の形態の移動機構200を備えた撮像装置20の1例を示す断面図である。   Next, an example of an imaging apparatus including the moving mechanism 200 according to the third embodiment described above will be described with reference to FIG. FIG. 9 is a cross-sectional view illustrating an example of the imaging apparatus 20 including the moving mechanism 200 according to the third embodiment described above.

図9において、撮像素子である被移動部151、第1の移動部261、2本の第1の梁293、2個の第1の駆動部223、第2の移動部263、2本の第2の梁295および2個の第2の駆動部225は、撮像素子パッケージである固定部211の凹部213内に収納されている。固定部211の開口部は、赤外光(IR)カットフィルタである封止部材131によって封止されており、上述したMCUである撮像装置20の手ブレ補正ユニットである移動機構200を構成している。   In FIG. 9, a moving part 151, which is an image sensor, a first moving part 261, two first beams 293, two first driving parts 223, a second moving part 263, and two first moving parts. The two beams 295 and the two second drive units 225 are housed in the recess 213 of the fixed unit 211 that is an image sensor package. The opening of the fixed portion 211 is sealed by a sealing member 131 that is an infrared light (IR) cut filter, and constitutes the moving mechanism 200 that is the camera shake correction unit of the imaging device 20 that is the MCU described above. ing.

移動機構200の上には、鏡胴311内に撮像レンズ301と303とを固定して収納した撮像装置20の撮像光学系300が、例えば、移動機構200が駆動されていない状態で、撮像光学系300の光軸305が被移動部151の画素部の中心に一致するように配置されている。固定部211と鏡胴311とは、例えば接着等により接続され、MCUである撮像装置20を構成している。   On the moving mechanism 200, the imaging optical system 300 of the imaging apparatus 20 in which the imaging lenses 301 and 303 are fixedly housed in the lens barrel 311 is, for example, in a state where the moving mechanism 200 is not driven. The optical axis 305 of the system 300 is arranged so as to coincide with the center of the pixel portion of the moved portion 151. The fixing unit 211 and the lens barrel 311 are connected by, for example, bonding or the like, and constitute the imaging device 20 that is an MCU.

撮像装置20の手ブレ補正動作時には、例えば図示しない手ブレ検出部からの手ブレ信号に基づいて、図示しない手ブレ補正回路によって、被移動部151の移動方向と移動量の決定が行われる。手ブレ補正回路によって決定された移動方向と移動量に基づいて、図示しない外部駆動回路からの信号により、2個の第1の駆動部223および2個の第2の駆動部225駆動され、図8に述べた原理によって被移動部151がXおよびY方向に平行移動される。これによって、撮像光学系300と撮像素子である被移動部151との、光軸305に垂直な方向の相対位置関係が変更され、撮像装置20の手ブレ補正動作が行われる。   At the time of camera shake correction operation of the imaging apparatus 20, for example, based on a camera shake signal from a camera shake detection unit (not shown), the movement direction and the movement amount of the moved portion 151 are determined by a camera shake correction circuit (not shown). Based on the moving direction and moving amount determined by the camera shake correction circuit, two first driving units 223 and two second driving units 225 are driven by signals from an external driving circuit (not shown). According to the principle described in FIG. 8, the moved portion 151 is translated in the X and Y directions. As a result, the relative positional relationship between the imaging optical system 300 and the moved portion 151 that is the imaging element in the direction perpendicular to the optical axis 305 is changed, and the camera shake correction operation of the imaging device 20 is performed.

上述したように、第3の実施の形態の移動機構200を備えた撮像装置20によれば、第3の実施の形態の移動機構200によって、撮像素子である被移動部151を光軸305に対して傾くことなく、光軸305に垂直な面内で平行に移動させることができるので、画像の片ボケや傾き等のない高画質な撮像装置10を提供することができる。   As described above, according to the imaging apparatus 20 including the moving mechanism 200 of the third embodiment, the moved portion 151 that is an imaging element is moved to the optical axis 305 by the moving mechanism 200 of the third embodiment. Since it can be moved in parallel in a plane perpendicular to the optical axis 305 without being tilted, it is possible to provide a high-quality image pickup apparatus 10 that is free from image blurring or tilting.

さらに、移動機構200が固定部211と封止部材131とで封止されているので、被移動部151の表面へのゴミの付着、2本の第1の梁293および2本の第2の梁295への異物の噛み込みや、湿度による各部の腐食等を防止することができ、信頼性の高い撮像装置10を提供することができる。   Furthermore, since the moving mechanism 200 is sealed by the fixed portion 211 and the sealing member 131, dust adheres to the surface of the moved portion 151, the two first beams 293, and the two second portions. Biting of foreign matter into the beam 295, corrosion of each part due to humidity, and the like can be prevented, and the imaging device 10 with high reliability can be provided.

上述した第1あるいは第2の実施の形態と第3の実施の形態とを組み合わせれば、撮像素子である被移動部151を撮像光学系300の光軸305に垂直な面内(X方向およびY方向)と光軸305方向(Z方向)の3方向に自由に平行移動させることができ、手ブレ補正とオートフォーカスの両機能を高性能に達成することができる。   By combining the first or second embodiment and the third embodiment described above, the moved portion 151 that is an image sensor is placed in a plane perpendicular to the optical axis 305 of the image pickup optical system 300 (in the X direction and Y direction) and the optical axis 305 direction (Z direction) can be freely translated, and both functions of camera shake correction and autofocus can be achieved with high performance.

ここで、第1乃至第3の実施の形態における移動部や梁のような構造体の形成方法について、図10を用いて説明する。図10は、図1に示した第1の実施の形態における移動部161、4つの梁171、スリット173および4つの梁支持部175の形成方法を示す模式図である。ここで用いられる技術は、半導体製造プロセスを応用した所謂微細加工技術(以下、MEMS技術と言う)である。   Here, a method of forming a structure such as a moving part or a beam in the first to third embodiments will be described with reference to FIG. FIG. 10 is a schematic diagram showing a method of forming the moving part 161, the four beams 171, the slits 173, and the four beam support parts 175 in the first embodiment shown in FIG. The technique used here is a so-called microfabrication technique (hereinafter referred to as a MEMS technique) applying a semiconductor manufacturing process.

図10(a)において、シリコン(Si)からなる基板401上に犠牲層403と呼ばれるシリコンの酸化膜(SiO2)を選択的に積む。図10(b)において、基板401と犠牲層403との上に、不純物を高濃度にドープされて導電性を持つシリコン(Si)からなる構造層405を積み上げる。 In FIG. 10A, a silicon oxide film (SiO 2 ) called a sacrificial layer 403 is selectively stacked on a substrate 401 made of silicon (Si). In FIG. 10B, a structural layer 405 made of silicon (Si) having high conductivity doped with impurities is stacked on the substrate 401 and the sacrificial layer 403.

図10(c)において、構造層405を犠牲層403まで選択的にエッチングし、移動部161、4つの梁171およびスリット173を形成する。図10(d)において、基板401を犠牲層403まで選択的にエッチングし、4つの梁支持部175を形成する。図10(e)において、最後に犠牲層403を犠牲層エッチング技術により取り除くことで、図1に示した第1の実施の形態における移動部161、4つの梁171、スリット173および4つの梁支持部175を形成することができる。   In FIG. 10C, the structural layer 405 is selectively etched up to the sacrificial layer 403 to form the moving portion 161, the four beams 171 and the slit 173. In FIG. 10D, the substrate 401 is selectively etched up to the sacrificial layer 403 to form four beam support portions 175. In FIG. 10 (e), the sacrificial layer 403 is finally removed by the sacrificial layer etching technique, so that the moving part 161, the four beams 171, the slit 173, and the four beams in the first embodiment shown in FIG. A portion 175 can be formed.

図4に示した第2の実施の形態および図8に示した第3の実施の形態における移動部および梁についても、同様の方法によって形成が可能である。   The moving part and the beam in the second embodiment shown in FIG. 4 and the third embodiment shown in FIG. 8 can also be formed by the same method.

次に、本実施の形態における被移動部151を移動部161に固定する方法について、説明する。上述したように、本実施の形態における被移動部151は、例えば撮像素子、加速度センサ、位置センサ、温度センサ等のセンサ類や、それらと周辺回路とを集積した集積回路等のようなシリコン(Si)を主材料として半導体製造プロセスで作製される電子回路である。また移動部161も、図10で説明したように、シリコン(Si)を主材料としてMEMS技術によって作製される。   Next, a method for fixing the moved portion 151 to the moving portion 161 in the present embodiment will be described. As described above, the moved portion 151 in the present embodiment includes, for example, silicon (such as an imaging device, an acceleration sensor, a position sensor, a temperature sensor, and an integrated circuit in which these and peripheral circuits are integrated). This is an electronic circuit manufactured by a semiconductor manufacturing process using Si) as a main material. Further, as described with reference to FIG. 10, the moving unit 161 is also manufactured by MEMS technology using silicon (Si) as a main material.

このように、シリコン(Si)等を素材に半導体製造プロセスやMEMS技術で作製されたチップや部品同士を接合する技術として、直接接合技術がある。直接接合技術とは、接着剤を用いずに、同種材料間の表面間引力を利用してチップや部品同士を直接接合する方法であり、接合後の強度や歪や傾きの少なさ、接合の簡便性、省スペース等に優れた方法である。本実施の形態においては、被移動部151も移動部161もシリコン(Si)からできていることから、直接接合技術による接合が可能となり上述したメリットを得ることができる。   As described above, there is a direct bonding technique as a technique for bonding chips or components manufactured by a semiconductor manufacturing process or a MEMS technique using silicon (Si) or the like as a material. Direct bonding technology is a method in which chips and parts are directly bonded to each other using the attractive force between the surfaces of the same kind of material without using an adhesive, and the strength, distortion and inclination after bonding, This method is excellent in simplicity, space saving, and the like. In the present embodiment, since both the moved portion 151 and the moving portion 161 are made of silicon (Si), bonding by a direct bonding technique is possible, and the above-described advantages can be obtained.

なお、直接接合技術については、例えば[独立行政法人産業技術総合研究所「ウェハ直接接合技術」http://staff.aist.go.jp/takagi.hideki/waferbonding.html(平成19年8月27日検索)]等に詳述されている。   As for the direct bonding technology, for example, [National Institute of Advanced Industrial Science and Technology “Wafer Direct Bonding Technology” http: // stuff. aist. go. jp / takagi. hideki / waferbonding. html (searched on August 27, 2007)] and the like.

上述したように、シリコン(Si)等を素材にチップや部品を半導体製造プロセスやMEMS技術で作製することで、チップや部品を直接接合技術によって接合することができ、接合後の強度や歪や傾きの少なさ、接合の簡便性、省スペース等のメリットを得ることができる。   As described above, by manufacturing chips and components using silicon (Si) or the like by a semiconductor manufacturing process or MEMS technology, the chips or components can be bonded by direct bonding technology, and the strength and strain after bonding can be increased. Advantages such as a small inclination, simple joining, and space saving can be obtained.

最後に、本発明における駆動部121について述べる。本発明においては、駆動部121は、例えば第1および第2の実施の形態のように移動部161と固定部111との間に、あるいは第3の実施の形態のように、第1の移動部261と第2の移動部263との隙間や第2の移動部263と固定部211の内壁側面との隙間に配置できさえすれば、アクチュエータの種類に依存するものではなく、上述した積層型圧電素子、静電アクチュエータ等をはじめとして、多種多様なアクチュエータを使用することができる。   Finally, the drive unit 121 in the present invention will be described. In the present invention, the driving unit 121 performs the first movement between the moving unit 161 and the fixed unit 111 as in the first and second embodiments, or as in the third embodiment, for example. As long as it can be arranged in the gap between the portion 261 and the second moving portion 263 and the gap between the second moving portion 263 and the inner wall side surface of the fixed portion 211, it does not depend on the type of the actuator, and the above-described stacked type A wide variety of actuators can be used, including piezoelectric elements and electrostatic actuators.

以下に、[長田他「ソフトアクチュエータ開発の最前線(人工筋肉の実現をめざして)」(株)エヌ・ティー・エス、2004年10月1日初版発行]に記されているアクチュエータから、本発明に使用可能なアクチュエータの何例かを挙げる。   From the actuators described in [Nagata et al., “Frontiers of Soft Actuator Development (Aiming at Realization of Artificial Muscle)” (NTS, Inc., first published on October 1, 2004)] Here are some examples of actuators that can be used in the invention.

(1)イオン伝導アクチュエータ(同上96頁)
(2)導電性高分子アクチュエータ(同上96頁)
(3)電場駆動型高分子アクチュエータ(同上207頁図12)
(4)液晶ゲルアクチュエータ(同上217頁)
(5)空気圧ソフトアクチュエータ(同上294頁)
(6)電場駆動型メタル・アクチュエータ(同上349頁図11)
なお、ここに示したアクチュエータはほんの1例であり、本発明は上述したアクチュエータに制限されるものではない。
(1) Ion conduction actuator (p. 96)
(2) Conductive polymer actuator (p. 96)
(3) Electric field driven polymer actuator (Fig. 12 on page 207)
(4) Liquid crystal gel actuator (Id. 217)
(5) Pneumatic soft actuator (page 294)
(6) Electric field drive type metal actuator (Fig. 11 on page 349)
The actuator shown here is only an example, and the present invention is not limited to the actuator described above.

アクチュエータは、その材質にもよるが、シリコン(Si)系を主材料とするものであれば、上述した直接接合技術を用いて接合し、あるいはシリコン(Si)の構造部に蒸着等の手法でアクチュエータ自体を形成することもできる。また、異質な材料であれば、接着等の方法で取り付けることができる。   Depending on the material of the actuator, if the main material is silicon (Si), the actuator can be joined using the direct joining technique described above, or it can be deposited on the silicon (Si) structure by means such as vapor deposition. The actuator itself can also be formed. Moreover, if it is a different material, it can attach by methods, such as adhesion | attachment.

以上に述べたように、本発明によれば、バネ性を備えた梁によって移動部と固定部とを接続し、駆動部によって移動部を移動させることで、複数の駆動部を用いることなく、駆動部自体の駆動に依存することもなく、移動部を駆動部の駆動方向と平行に移動させることのできる移動機構および該移動機構を用いた撮像装置を提供することができる。   As described above, according to the present invention, the moving unit and the fixed unit are connected by a beam having spring properties, and the moving unit is moved by the driving unit, without using a plurality of driving units. It is possible to provide a moving mechanism capable of moving the moving unit in parallel with the driving direction of the driving unit and an imaging apparatus using the moving mechanism without depending on the driving of the driving unit itself.

尚、本発明に係る移動機構および撮像装置を構成する各構成の細部構成および細部動作に関しては、本発明の趣旨を逸脱することのない範囲で適宜変更可能である。   The detailed configuration and detailed operation of each component constituting the moving mechanism and the imaging apparatus according to the present invention can be changed as appropriate without departing from the spirit of the present invention.

本発明における移動機構の第1の実施の形態を示す模式図である。It is a schematic diagram which shows 1st Embodiment of the moving mechanism in this invention. 図1に示した移動機構の動作状態を示す模式図である。It is a schematic diagram which shows the operation state of the moving mechanism shown in FIG. 図1に示した梁支持部の他の実施形態を示す模式図である。It is a schematic diagram which shows other embodiment of the beam support part shown in FIG. 本発明における移動機構の第2の実施の形態を示す模式図である。It is a schematic diagram which shows 2nd Embodiment of the moving mechanism in this invention. 図4に示した移動機構の動作状態を示す模式図である。It is a schematic diagram which shows the operation state of the moving mechanism shown in FIG. 第2の実施の形態の移動機構を備えた撮像装置の1例を示す断面図である。It is sectional drawing which shows one example of the imaging device provided with the moving mechanism of 2nd Embodiment. 被移動部の配線を外部に取り出す方法の1例を示す模式図である。It is a schematic diagram which shows an example of the method of taking out the wiring of a to-be-moved part outside. 本発明における移動機構の第3の実施の形態を示す模式図である。It is a schematic diagram which shows 3rd Embodiment of the moving mechanism in this invention. 第3の実施の形態の移動機構を備えた撮像装置の1例を示す断面図である。It is sectional drawing which shows one example of the imaging device provided with the moving mechanism of 3rd Embodiment. 第1の実施の形態における移動部、4つの梁、スリットおよび4つの梁支持部の形成方法を示す模式図である。It is a schematic diagram which shows the formation method of the moving part, four beams, a slit, and four beam support parts in 1st Embodiment.

符号の説明Explanation of symbols

10 撮像装置
100 移動機構(オートフォーカスユニット)
111 固定部
113 (固定部の)凹部
115 突起部
121 駆動部
131 封止部材
151 被移動部
151a ボンディングパッド
155 ボンディングワイヤ
161 移動部
161a ボンディングパッド
161b 配線
171 梁
173 スリット
175 梁支持部
181 梁
183 梁
20 撮像装置
200 移動機構(手ブレ補正ユニット)
211 固定部
213 (固定部の)凹部
223 第1の駆動部
225 第2の駆動部
261 第1の移動部
263 第2の移動部
293 第1の梁
295 第2の梁
300 撮像光学系
301 撮像レンズ
303 撮像レンズ
305 (撮像光学系の)光軸
311 鏡胴
401 基板
403 犠牲層
405 構造層
10 imaging device 100 moving mechanism (autofocus unit)
DESCRIPTION OF SYMBOLS 111 Fixed part 113 Recessed part (fixed part) 115 Projection part 121 Drive part 131 Sealing member 151 Moved part 151a Bonding pad 155 Bonding wire 161 Moving part 161a Bonding pad 161b Wiring 171 Beam 173 Slit 175 Beam support part 181 Beam 183 Beam 20 Imaging device 200 Moving mechanism (camera shake correction unit)
211 Fixed part 213 Concave part (of fixed part) 223 First drive part 225 Second drive part 261 First moving part 263 Second moving part 293 First beam 295 Second beam 300 Imaging optical system 301 Imaging Lens 303 Imaging lens 305 Optical axis (of imaging optical system) 311 Lens barrel 401 Substrate 403 Sacrificial layer 405 Structure layer

Claims (12)

少なくとも底面と側面とからなる凹部を有する固定部と、
被移動部を搭載するための平板状の移動部と、
前記移動部の前記被移動部を搭載した面の裏面と前記凹部の底面との間に設けられ、前記移動部を前記凹部の底面に垂直な方向に移動させる駆動部と、
一端が前記移動部に固定され、他端が前記凹部の側面に固定され、前記移動部が移動される方向にバネ性が付与されている複数の梁を備えたことを特徴とする移動機構。
A fixed portion having a recess composed of at least a bottom surface and a side surface;
A plate-shaped moving part for mounting the moved part;
A drive unit that is provided between the back surface of the surface of the moving unit on which the moving unit is mounted and the bottom surface of the recess, and moves the moving unit in a direction perpendicular to the bottom surface of the recess;
A moving mechanism comprising: a plurality of beams having one end fixed to the moving portion, the other end fixed to a side surface of the recess, and spring properties in a direction in which the moving portion is moved.
複数の前記梁は、一端が前記移動部の同一端面の厚み方向に異なる位置に固定された片持ち支持梁であり、
複数の前記梁と前記移動部の端面と前記凹部の複数の前記梁が固定される側面とが平行四辺形を形成することを特徴とする請求項1に記載の移動機構。
The plurality of beams are cantilevered support beams whose one ends are fixed at different positions in the thickness direction of the same end surface of the moving unit,
The moving mechanism according to claim 1, wherein the plurality of beams, end surfaces of the moving unit, and side surfaces to which the plurality of beams of the concave portion are fixed form a parallelogram.
複数の前記梁は、一端が前記移動部の少なくとも対向する1対の端面に固定され、他端が前記凹部の対向する側面に固定されていることを特徴とする請求項1に記載の移動機構。 2. The moving mechanism according to claim 1, wherein one end of each of the plurality of beams is fixed to at least one pair of opposing end surfaces of the moving unit, and the other end is fixed to the opposing side surfaces of the recess. . 前記被移動部は、半導体製造プロセスで形成される電子回路部であり、
前記移動部と複数の前記梁とは前記被移動部と同一の主材料で形成され、
前記被移動部は、少なくともその一部が前記移動部に直接接合技術により接合されていることを特徴とする請求項1乃至3の何れか1項に記載の移動機構。
The moved part is an electronic circuit part formed in a semiconductor manufacturing process,
The moving part and the plurality of beams are formed of the same main material as the moved part,
The moving mechanism according to any one of claims 1 to 3, wherein at least a part of the moved portion is joined to the moving portion by a direct joining technique.
前記被移動部、前記移動部および複数の前記梁は前記凹部内に収納されており、
前記凹部を覆う封止部を備え、
前記凹部は、前記固定部と前記封止部とにより密封されていることを特徴とする請求項1乃至4の何れか1項に記載の移動機構。
The moved portion, the moving portion, and the plurality of beams are housed in the recess,
A sealing portion covering the recess,
5. The moving mechanism according to claim 1, wherein the concave portion is sealed by the fixing portion and the sealing portion.
前記移動部と複数の前記梁の少なくとも1つとに、前記被移動部と外部とを接続する配線を形成したことを特徴とする請求項1乃至5の何れか1項に記載の移動機構。 The moving mechanism according to any one of claims 1 to 5, wherein a wiring for connecting the moved portion and the outside is formed on at least one of the moving portion and the plurality of beams. 被移動部を搭載するための平板状の第1の移動部と、
前記第1の移動部と同一面内で、前記第1の移動部の少なくとも3方を囲むように設けられた第1の固定部と、
前記第1の移動部と前記第1の固定部との間に配置され、前記第1の移動部を前記第1の固定部に対して同一面内で移動させる複数の第1の駆動部と
一端が前記第1の移動部の同一端面に固定され、他端が前記第1の固定部に固定され、前記第1の移動部が移動される方向にバネ性が付与された複数の第1の梁と、
少なくとも底面と側面とからなる凹部を有する第2の固定部と、
前記第1の固定部と前記第2の固定部との間に配置され、前記第1の固定部を前記第2の固定部に対して同一面内で前記第1の移動部の移動方向と垂直な方向に移動させる複数の第2の駆動部と、
一端が前記第1の固定部の同一端面に固定され、他端が前記第2の固定部の側面に固定され、前記第1の固定部が移動される方向にバネ性が付与された複数の第2の梁とを備えたことを特徴とする移動機構。
A flat plate-like first moving part for mounting the moved part;
A first fixed portion provided to surround at least three sides of the first moving portion in the same plane as the first moving portion;
A plurality of first drive units disposed between the first moving unit and the first fixed unit, the first driving unit moving the first moving unit with respect to the first fixed unit in the same plane; One end is fixed to the same end surface of the first moving part, the other end is fixed to the first fixing part, and a plurality of first elements are provided with a spring property in a direction in which the first moving part is moved. And
A second fixing portion having a recess composed of at least a bottom surface and a side surface;
The first fixing portion is disposed between the first fixing portion and the second fixing portion, and the first fixing portion is arranged in the same plane with respect to the second fixing portion, and the moving direction of the first moving portion is A plurality of second drive units that move in a vertical direction;
One end is fixed to the same end surface of the first fixing portion, the other end is fixed to a side surface of the second fixing portion, and a plurality of spring properties are provided in a direction in which the first fixing portion is moved. A moving mechanism comprising a second beam.
前記被移動部は、半導体製造プロセスで形成される電子回路部であり、
前記第1の移動部、前記第1の固定部、複数の前記第1の梁、および複数の前記第2の梁は前記被移動部と同一の主材料で形成され、
前記被移動部は、少なくともその一部が前記第1の移動部に直接接合技術により接合されていることを特徴とする請求項7に記載の移動機構。
The moved part is an electronic circuit part formed in a semiconductor manufacturing process,
The first moving part, the first fixed part, the plurality of first beams, and the plurality of second beams are formed of the same main material as the moved part,
The moving mechanism according to claim 7, wherein at least a part of the moved portion is joined to the first moving portion by a direct joining technique.
前記被移動部、前記第1の移動部、前記第1の固定部、複数の前記第1の駆動部、複数の前記第1の梁、複数の前記第2の駆動部および複数の前記第2の梁は前記凹部内に収納されており、
前記凹部を覆う封止部を備え、
前記凹部は、前記固定部と前記封止部とにより密封されていることを特徴とする請求項7または8に記載の移動機構。
The moved portion, the first moving portion, the first fixed portion, the plurality of first drive portions, the plurality of first beams, the plurality of second drive portions, and the plurality of second portions. Is housed in the recess,
A sealing portion covering the recess,
The movement mechanism according to claim 7 or 8, wherein the concave portion is sealed by the fixing portion and the sealing portion.
前記第1の移動部、複数の前記第1の梁の少なくとも1つ、前記第1の固定部および複数の前記第2の梁の少なくとも1つに、前記被移動部と外部とを接続する配線を形成したことを特徴とする請求項7乃至9の何れか1項に記載の移動機構。 Wiring for connecting the moved part and the outside to at least one of the first moving part, at least one of the plurality of first beams, the first fixed part, and the plurality of second beams. The moving mechanism according to claim 7, wherein the moving mechanism is formed. 前記配線は、印刷により形成されることを特徴とする請求項6または10に記載の移動機構。 The moving mechanism according to claim 6, wherein the wiring is formed by printing. 撮像光学系と、
請求項1乃至11の何れか1項に記載の移動機構とを備え、
前記被移動部は撮像センサであることを特徴とする撮像装置。
An imaging optical system;
A moving mechanism according to any one of claims 1 to 11,
An image pickup apparatus, wherein the moved part is an image sensor.
JP2007239055A 2007-09-14 2007-09-14 Movement mechanism and imaging apparatus Pending JP2009071663A (en)

Priority Applications (1)

Application Number Priority Date Filing Date Title
JP2007239055A JP2009071663A (en) 2007-09-14 2007-09-14 Movement mechanism and imaging apparatus

Applications Claiming Priority (1)

Application Number Priority Date Filing Date Title
JP2007239055A JP2009071663A (en) 2007-09-14 2007-09-14 Movement mechanism and imaging apparatus

Publications (1)

Publication Number Publication Date
JP2009071663A true JP2009071663A (en) 2009-04-02

Family

ID=40607451

Family Applications (1)

Application Number Title Priority Date Filing Date
JP2007239055A Pending JP2009071663A (en) 2007-09-14 2007-09-14 Movement mechanism and imaging apparatus

Country Status (1)

Country Link
JP (1) JP2009071663A (en)

Cited By (3)

* Cited by examiner, † Cited by third party
Publication number Priority date Publication date Assignee Title
KR20120125449A (en) * 2012-10-29 2012-11-15 엘지이노텍 주식회사 Mems actuator and camera module comprising the same
JP2016001912A (en) * 2009-06-15 2016-01-07 アイデンティクス・インコーポレーテッドIdentix Incorporated Method for generating fingerprint image
JP2021099417A (en) * 2019-12-20 2021-07-01 ローム株式会社 Camera module

Cited By (5)

* Cited by examiner, † Cited by third party
Publication number Priority date Publication date Assignee Title
JP2016001912A (en) * 2009-06-15 2016-01-07 アイデンティクス・インコーポレーテッドIdentix Incorporated Method for generating fingerprint image
KR20120125449A (en) * 2012-10-29 2012-11-15 엘지이노텍 주식회사 Mems actuator and camera module comprising the same
KR101721894B1 (en) * 2012-10-29 2017-03-31 디지털옵틱스 코포레이션 Mems actuator and camera module comprising the same
JP2021099417A (en) * 2019-12-20 2021-07-01 ローム株式会社 Camera module
JP7426816B2 (en) 2019-12-20 2024-02-02 ローム株式会社 The camera module

Similar Documents

Publication Publication Date Title
US12132420B2 (en) MEMS actuator package architecture
US8248497B2 (en) Image sensor device with movable sensor
US7489340B2 (en) Optical image stabilizer for camera lens assembly
CN101420526B (en) Image sensor bearing device and camera module group
CN107948532B (en) Optical image stabilization system, imaging device and electronic device
US8730599B2 (en) Piezoelectric and MEMS actuator
US20200363629A1 (en) Process for manufacturing a mems micromirror device, and associated device
US11614634B2 (en) Piezoelectric MEMS actuator for compensating unwanted movements and manufacturing process thereof
KR101158200B1 (en) Optical Image Stabilizer and Method of manufacturing the same
KR101075710B1 (en) Optical image stabilization device and manufacturing method thereof
CN112781829A (en) Adjustable frequency spectrum sensing device, out-of-plane motion motor and preparation method thereof
JP5217489B2 (en) Drive mechanism
JP2009071663A (en) Movement mechanism and imaging apparatus
KR20150002220A (en) MICRO ELECTRO MECHANICAL SYSTEMS DEVICE and CAMERA MODULE HAVING THE SAME
US8000590B2 (en) Driving apparatus, image capturing unit, and image capturing apparatus
KR102029783B1 (en) Micro electro mechanical systems device and apparatus for compensating tremble
EP4261592B1 (en) Microelectromechanical mirror device with piezoelectric actuation having improved stress resistance
JP2007233153A (en) Shape variable mirror and optical pickup apparatus with same
US12493180B2 (en) Microelectromechanical mirror device with piezoelectric actuation having improved stress resistance
JP2009034779A (en) Driving device, imaging unit, imaging device, and manufacturing method of driving device
KR20140116737A (en) Camera Module
EP4082962B1 (en) Microelectromechanical mirror device with piezoelectric actuation and improved opening angle
JP2006261141A (en) Piezoelectric actuator and image input device
KR20140117029A (en) Camera Module
KR102107584B1 (en) Micro electro mechanical systems device