JP2008519631A - 基質内の走査パターン用のシステム及び方法 - Google Patents

基質内の走査パターン用のシステム及び方法 Download PDF

Info

Publication number
JP2008519631A
JP2008519631A JP2007540732A JP2007540732A JP2008519631A JP 2008519631 A JP2008519631 A JP 2008519631A JP 2007540732 A JP2007540732 A JP 2007540732A JP 2007540732 A JP2007540732 A JP 2007540732A JP 2008519631 A JP2008519631 A JP 2008519631A
Authority
JP
Japan
Prior art keywords
substrate
axis
volume
eye
cone
Prior art date
Legal status (The legal status is an assumption and is not a legal conclusion. Google has not performed a legal analysis and makes no representation as to the accuracy of the status listed.)
Granted
Application number
JP2007540732A
Other languages
English (en)
Other versions
JP5030785B2 (ja
Inventor
クーン、トビアス
ロエゼル、フリーデル
Current Assignee (The listed assignees may be inaccurate. Google has not performed a legal analysis and makes no representation or warranty as to the accuracy of the list.)
20/10
Original Assignee
20/10
Priority date (The priority date is an assumption and is not a legal conclusion. Google has not performed a legal analysis and makes no representation as to the accuracy of the date listed.)
Filing date
Publication date
Application filed by 20/10 filed Critical 20/10
Publication of JP2008519631A publication Critical patent/JP2008519631A/ja
Application granted granted Critical
Publication of JP5030785B2 publication Critical patent/JP5030785B2/ja
Anticipated expiration legal-status Critical
Expired - Fee Related legal-status Critical Current

Links

Images

Classifications

    • AHUMAN NECESSITIES
    • A61MEDICAL OR VETERINARY SCIENCE; HYGIENE
    • A61FFILTERS IMPLANTABLE INTO BLOOD VESSELS; PROSTHESES; DEVICES PROVIDING PATENCY TO, OR PREVENTING COLLAPSING OF, TUBULAR STRUCTURES OF THE BODY, e.g. STENTS; ORTHOPAEDIC, NURSING OR CONTRACEPTIVE DEVICES; FOMENTATION; TREATMENT OR PROTECTION OF EYES OR EARS; BANDAGES, DRESSINGS OR ABSORBENT PADS; FIRST-AID KITS
    • A61F9/00Methods or devices for treatment of the eyes; Devices for putting in contact-lenses; Devices to correct squinting; Apparatus to guide the blind; Protective devices for the eyes, carried on the body or in the hand
    • A61F9/007Methods or devices for eye surgery
    • A61F9/008Methods or devices for eye surgery using laser
    • AHUMAN NECESSITIES
    • A61MEDICAL OR VETERINARY SCIENCE; HYGIENE
    • A61FFILTERS IMPLANTABLE INTO BLOOD VESSELS; PROSTHESES; DEVICES PROVIDING PATENCY TO, OR PREVENTING COLLAPSING OF, TUBULAR STRUCTURES OF THE BODY, e.g. STENTS; ORTHOPAEDIC, NURSING OR CONTRACEPTIVE DEVICES; FOMENTATION; TREATMENT OR PROTECTION OF EYES OR EARS; BANDAGES, DRESSINGS OR ABSORBENT PADS; FIRST-AID KITS
    • A61F9/00Methods or devices for treatment of the eyes; Devices for putting in contact-lenses; Devices to correct squinting; Apparatus to guide the blind; Protective devices for the eyes, carried on the body or in the hand
    • A61F9/007Methods or devices for eye surgery
    • A61F9/008Methods or devices for eye surgery using laser
    • A61F9/00825Methods or devices for eye surgery using laser for photodisruption
    • A61F9/00827Refractive correction, e.g. lenticle
    • AHUMAN NECESSITIES
    • A61MEDICAL OR VETERINARY SCIENCE; HYGIENE
    • A61FFILTERS IMPLANTABLE INTO BLOOD VESSELS; PROSTHESES; DEVICES PROVIDING PATENCY TO, OR PREVENTING COLLAPSING OF, TUBULAR STRUCTURES OF THE BODY, e.g. STENTS; ORTHOPAEDIC, NURSING OR CONTRACEPTIVE DEVICES; FOMENTATION; TREATMENT OR PROTECTION OF EYES OR EARS; BANDAGES, DRESSINGS OR ABSORBENT PADS; FIRST-AID KITS
    • A61F9/00Methods or devices for treatment of the eyes; Devices for putting in contact-lenses; Devices to correct squinting; Apparatus to guide the blind; Protective devices for the eyes, carried on the body or in the hand
    • A61F9/007Methods or devices for eye surgery
    • A61F9/008Methods or devices for eye surgery using laser
    • A61F2009/00861Methods or devices for eye surgery using laser adapted for treatment at a particular location
    • A61F2009/00872Cornea
    • AHUMAN NECESSITIES
    • A61MEDICAL OR VETERINARY SCIENCE; HYGIENE
    • A61FFILTERS IMPLANTABLE INTO BLOOD VESSELS; PROSTHESES; DEVICES PROVIDING PATENCY TO, OR PREVENTING COLLAPSING OF, TUBULAR STRUCTURES OF THE BODY, e.g. STENTS; ORTHOPAEDIC, NURSING OR CONTRACEPTIVE DEVICES; FOMENTATION; TREATMENT OR PROTECTION OF EYES OR EARS; BANDAGES, DRESSINGS OR ABSORBENT PADS; FIRST-AID KITS
    • A61F9/00Methods or devices for treatment of the eyes; Devices for putting in contact-lenses; Devices to correct squinting; Apparatus to guide the blind; Protective devices for the eyes, carried on the body or in the hand
    • A61F9/007Methods or devices for eye surgery
    • A61F9/008Methods or devices for eye surgery using laser
    • A61F2009/00897Scanning mechanisms or algorithms

Landscapes

  • Health & Medical Sciences (AREA)
  • Ophthalmology & Optometry (AREA)
  • Heart & Thoracic Surgery (AREA)
  • Vascular Medicine (AREA)
  • Optics & Photonics (AREA)
  • Surgery (AREA)
  • Engineering & Computer Science (AREA)
  • Biomedical Technology (AREA)
  • Physics & Mathematics (AREA)
  • Nuclear Medicine, Radiotherapy & Molecular Imaging (AREA)
  • Life Sciences & Earth Sciences (AREA)
  • Animal Behavior & Ethology (AREA)
  • General Health & Medical Sciences (AREA)
  • Public Health (AREA)
  • Veterinary Medicine (AREA)
  • Laser Surgery Devices (AREA)
  • Prostheses (AREA)

Abstract

あらかじめ選択された角膜組織32の表面下のボリュームを光破砕して、角膜の屈折特性を変えるための方法が開示される。具体的には、実質的に円錐形の面を有する少なくとも1つの基質のボリュームが光破砕される。このために、通常はレーザ源12、レーザ・スキャナ22、及び1つ又は複数の光学要素18を有するレーザ装置10が使用される。一実施例では、基質の各ボリュームが実質的に円錐形の面を有する、複数の基質のボリュームが逐次的に光破砕されて、隣接する基質の空洞を形成する。特定の実装形態では、円錐形の各面が、眼の前面を通る基準軸と同一直線上になるように位置調整され、且つ眼30の前面に垂直に位置調整することが可能な円錐軸を定める。

Description

本発明は一般に、眼のレーザ手術技術に関する。より詳細には、本発明は、あらかじめ選択された角膜組織の表面下のボリュームを光破砕するための装置及び方法に関する。本発明は特に、ただしそれだけには限らないが、角膜の屈折特性を矯正するために、角膜からある体積の基質組織を除去するのに有用である。
広く実施されている生体内レーザ角膜切開術(LASIK)の処置では、マイクロケラトームを用いて患者の角膜を切開し、フラップを作成する。次いでフラップを持ち上げ、エキシマ・レーザを用いて逐次的に切除される基質組織の床を露出させる。切除後、フラップを戻し、治癒させる。この方法は、視覚異常を矯正するのにある程度の成果を挙げているが、いくつかの欠点も有している。例えば、LASIK処置用の適切なフラップの作成は大きな労力を要し、外科医の技能及び眼と手の協応に大きく依存する。さらに、マイクロケラトームを用いると、しばしば凹凸のある切開部が生じ、それによって、凹凸のある内部のフラップ面が切除された組織の比較的滑らかな床の上に戻されたとき、視覚障害が引き起こされる可能性がある。
LASIKを用いた角膜の再形成に代わる別法として、比較的短いパルス幅を有する一連のレーザ・パルスを、患者の角膜内部の所定の表面下の位置にある焦点に向けることが可能である。次いで、この焦点を用いて、焦点にある組織を正確且つ精密に光破砕することができる。例えば、赤外パルスを最小限のエネルギー損失で角膜組織を通過させ、表面下焦点に送ることができる。患者の角膜内部の所定の表面下の位置に集束させたパルス・レーザ・ビームを用いる処置の例が、「Method for Reshaping the Eye」という名称の発明に対してBille等に発行された、米国特許第4907586号に開示されている。
より詳細には、パルス・レーザによる組織の光破砕は、「レーザ誘起光学破壊(laser induced optical breakdown)」(LIOB)と呼ばれる過程によって生じる。具体的には、LIOB過程できわめて高い局所的な電場が生成されるため、レーザの焦点において組織の破壊が生じる。この高い電場は組織原子の電子結合エネルギーを上回り、その結果、マイクロプラズマ、衝撃波及びキャビテーション気泡が生じる。通常、蒸発した組織は約30〜60分以内に角膜から放散する。重要なことには、各焦点で生成されたキャビテーション気泡は、眼圧をうけて崩壊する。結果として、この過程を用いて角膜を効率的に再形成することができる。
角膜の再形成に対する表面下の光破砕の使用を考えるとき、角膜についての解剖学の一般知識が役立つ。詳細には、角膜は構造的に区別することができる複数層の組織からなる。角膜の様々な層とは、後部の方向に眼の外側から眼の内側へ向かって順番に、上皮層、ボーマン膜、基質、デスメ膜及び内皮層である。こうした様々な構造のうち、基質が最も広く、一般に約400ミクロンの厚みがある。このため、屈折矯正処置における除去には、一般的に基質組織が選択される。
基質についてさらに詳しく考えると、それは一般に、確認及び区別することが可能な約200のラメラ層からなる。基質内のこれらのラメラ層はそれぞれ、角膜自体と同様にある程度ドーム形をしており、約9ミリメートルの直径を有する円形領域にわたって延びている。各層は複数のラメラを含んでいる。内部に特定のラメラが存在する層全体とは異なり、層内の各ラメラは、わずか約10分の1ミリメートル(0.1mm)〜1と2分の1ミリメートル(1.5mm)の短い距離の間に延びている。最後に、個々のラメラは、層に垂直な方向にはそれぞれ約2ミクロンの厚みしかないことに留意されたい。
前述の一般的な構造の中で、基質が著しく異方性であることを理解されたい。具体的には、ラメラ内部の組織の強度は、ラメラの各層を一緒に保持する接着組織によってもたらされる強度の約50倍である。この基質における強度と方向の関係のため、ラメラ層に垂直に延びるボリューム内の組織を光破砕する方が、ラメラ層に沿って延びるボリューム内の組織を光破砕するより効率的である。
前述の考察に加えて、光破砕処置の効率及び精度に影響を及ぼす可能性がある他の要因は、レーザが目標位置にある焦点に到達するためにたどる光路である。この点に関しては、レーザが以前に光破砕された位置を通過しなければならない場合、ビームが歪められる可能性があることが理解される。この好ましくない歪みは、焦点の位置とサイズの両方に影響を及ぼし、不正確な結果をまねく恐れがある。
前述のことに照らして、本発明の目的は、一般にラメラ層の方向に垂直に延びる形を有する基質のボリュームを光破砕するための装置及び方法を提供することである。本発明の他の目的は、外科用レーザを、以前に光破砕された位置を通過するビーム経路上に配置することを避けて目標位置に到達させる、あらかじめ選択された基質のボリュームを光破砕するための装置及び方法を提供することである。本発明の他の目的は、使いやすく、実装が比較的簡単で、比較的費用効果の高い角膜の屈折特性矯正用の装置及び方法を提供することである。
本発明は、あらかじめ選択された角膜組織のボリュームを光破砕するための装置及び方法を対象とするものである。特定の実施例では、基質内の表面下の位置に集束されるパルス赤外レーザ・ビームを用いて、ある体積の基質組織を蒸発させる。本発明のある用途では、あらかじめ選択された角膜組織のボリュームを蒸発させて基質内に隣接する空洞を作成することによって、視覚異常(例えば近視、遠視など)を矯正することができる。空洞が眼圧をうけて崩壊すると、角膜は新しい形及び曲率をとるようになる。
本発明の一態様では、複数の基質の位置それぞれに対する座標を特定することによって始まる方法が開示される。具体的には、各位置における光破砕によって、互いに円錐軸を定める実質的に平行な2つの円錐形の面によって境界を定められる基質のボリュームの光破砕が生じるように、基質の位置が選択される。特定されたこれらの座標を用いてパルス・レーザ・ビームが最初の基質の位置にある焦点に導かれ、そこで組織を光破砕する。次に、特定されたすべての位置で光破砕が行われるまで、焦点が所定の経路に沿って、特定されたある位置から次へと走査される。このために、通常はレーザ源、レーザ・スキャナ、及び1つ又は複数の光学要素を有するレーザ装置が用いられる。ある例示的な構成では、レーザ装置は使用できる状態で、レーザ源、3次元で走査するためのレーザ・スキャナ、望遠鏡として配置された複数のレンズ、ミラー及び切断レンズを含むことができる。処置によっては、角膜をレーザ源に対して安定させ、眼の前面をあらかじめ選択された曲率半径Rに合致させるために、コンタクト・レンズを使用することができる。
本発明の一実装形態では、複数の基質のボリュームが逐次的に光破砕されて、隣接する基質の空洞を形成する。この実施形態では、基質の各ボリュームはそれぞれ、実質的に平行な2つの円錐形の面によって境界を定められる。例えば、基質の各ボリュームを、それぞれが各円錐体の一部である実質的に平行な面を有するように光破砕することができる。さらに、各円錐面を円錐軸のまわりに部分的に延ばすだけでもよい。別の言い方をすれば、各円錐面が円錐軸のまわりの360度未満の方位角αに対応するようにすることができる(α<360度)。或いは、円錐面が円錐軸のまわり全体に延びるようにすることもできる(α=360度)。
面が円錐体の頂点を含む場合もあれば、基質のボリュームの面が円錐体の頂点から間隔をおいた円錐部分からなる場合もある。いずれの場合も、操作者が望むように生成される面を選択することができる。ある特定の実施形態では、円錐形の各面が、眼の前面を通る基準軸と同一直線上になるように位置調整され、且つ前面に直交するように位置調整された円錐軸を有する直円錐体を画定する。
先に示したように、光破砕は所定の経路に沿って行われる。本発明の一実装形態では、所定の経路は、基準軸に対してゼロ以外の方位角成分を有する変位ベクトルによって特徴付けられる焦点ずれを含む。この実施形態では、光破砕は一般に、最初の焦点位置を最後の焦点位置より眼の前面から遠くに配置して、最初の焦点位置から最後の焦点位置まで行われる。場合によっては、この技術を用いて、外科用レーザを、以前に光破砕された位置を通過するビーム経路上に配置せずに目標位置に到達させることを保証することができる。
本発明の新規な特徴並びに本発明自体は、その構造とその動作の両方について、付随する記述と共に取り上げられる添付図面から最もよく理解されよう。各図面において、類似の参照記号は類似の部分を指している。
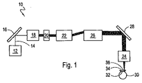
まず図1を参照すると、(レーザ誘起光学破壊(LIOB)の効果によって)基質内で表面下を光破砕するための眼科用レーザ・システムが示され、概して10と表記してある。図1に示すように、システム10は、パルス・レーザ・ビームを発生させ、レーザ・ビームを第1のビーム経路14に沿って方向付けるレーザ源12を含んでいる。レーザ源12の典型的な実施例には、1fs〜約100psのパルス幅、近赤外の動作波長、及び1kHz〜1Mhzの範囲の反復周波数を有する全固体フェムト秒(fs)レーザが含まれる。
引き続き図1を参照すると、レーザ源12で生成されたレーザ・ビームがビーム経路14に沿って方向付けられ、そこで45度のミラー16を用いて反射されることが分かる。ビームは、ミラー16からガリレイ望遠鏡18として配置された複数のレンズ内に向けられる。望遠鏡18ではレーザ・ビームが拡大され、主シャッタ20へ送られる。主シャッタ20は安全要素として働く。シャッタ20を通過した後、ビームは走査ユニット22に入る。
走査ユニット22は、レーザ・ビームを3次元走査するための手段を含んでいる。適切な走査ユニット22についてのより詳細な記述、及びその動作は、同時係属で共有される「Beam Steering System for Corneal Laser Surgery」という名称の米国特許出願第10/821402号に記載されており、その全体を参照によって本明細書に援用する。
システム10では、制御信号が単一プロセッサ(図示せず)へ送られ、そこで、例えばリアルタイムのオペレーティング・システムによって処理され、適切なハードウェア・ツールによって評価される。処置又は較正中にレーザ出力又は位置決めにエラーが生じた場合、主シャッタ20を作動させてビームを遮断し、有害な放射線が患者の眼に到達するのを防ぐ。
引き続き図1を参照すると、走査ユニット22を出た後、ビームが切断レンズ24へ中継されることが分かる。具体的には、図示するように、ビームはまず望遠鏡として配置された複数のレンズ26を通過し、次いで45度のダイクロイック・ミラー28によって反射される。ダイクロイック・ミラー28によって、ミラー28及び切断レンズ24を経由して、顕微鏡(図示せず)によって患者の眼30を観察することが可能になる。角膜32を切断レンズ24に対して安定させるために、システム10が、一般に透過性PMMAでできたコンタクト・レンズ34を含んでいることも分かる。さらに図示するように、コンタクト・レンズ34は、角膜32の前面36をコンタクト・レンズ34に合致させるように、角膜32と接触して配置される。通常、合致させる角膜32は、約7.5mm〜約11.0mmの範囲の曲率半径Rを有している。ほとんどの場合、(角膜外面の自然な曲率に近い)約8.8mmの曲率半径Rが用いられる。
患者の眼30の固定及び位置調整は通常、コンタクト・レンズ34及び位置調整装置(図示せず)を用いて行われる。このために、コンタクト・レンズ34に取り付けられた、又はコンタクト・レンズ34と一体化された眼の安定化要素(図示せず)を用いて、コンタクト・レンズ34が眼30に適用され、それに対して保持される。眼の安定化要素は、眼30に対して中央に置かれた後、真空を適用することによって固定される。次に、位置調整装置が、切断レンズ24のビーム出口と位置調整装置との間に配置される。電動式の患者用の椅子を用いて、眼30及び眼の安定化要素を位置調整装置に向かって移動させる。眼の安定化要素と位置調整装置との間の接続は、適切なx−yの整合を維持するように自動調心式になっている。さらにその構成によって、患者の眼30と切断レンズ24との間の正確な「z」方向の距離が与えられる。位置調整装置と眼の安定化要素との間の接触が確立されると、圧力センサ(図示せず)を用いて眼30の圧力が測定される。システムの固定及び位置調整、並びにその動作についてのより詳しい記述は、同時係属で共有される「System and Method for Positioning a Patient for Laser Surgery」という名称の米国特許出願第10/790625号に記載されており、その全体を参照によって本明細書に援用する。
図2は、レンズ形の基質の空洞38を作成するために光破砕された角膜32を示している。レンズ形の空洞38を示しているが、レンズ形の形状は例示的なものにすぎず、システム10を用いてレンズ形以外の他の形状を有する空洞を光破砕することも可能であることを理解されたい。図2はさらに、空洞38が8つの基質のボリューム40a〜hの光破砕によって形成されたことを示している。図示するように、基質のボリューム40はそれぞれ、実質的に円錐形の面を有するように形成され、そのうちボリューム40eに対応する例示的な円錐面42を表示してある。通常の処置では、これらのボリューム40a〜hは逐次的に光破砕されて、隣接する基質の空洞38を形成する。図示した空洞38の場合、基質の各ボリューム40a〜hは、それぞれの実質的な円錐体の一部である面を有し、その円錐体は眼30の光軸44と同一線上にある円錐軸を有している。さらに、円錐体の頂点46を含むボリューム(例えばボリューム40g)もあれば、円錐体の頂点から間隔をおいた円錐部分のみからなるボリューム(例えばボリューム40b)もある。空洞38を作成するために、ボリューム40は通常、ボリューム40aで始まりボリューム40hで終わる連続した順番で光破砕される。図2には示されていないが、一部のボリューム(例えばボリューム40a)は通常、ボリューム40hの光破砕中に部分的に又は完全につぶされることを理解されたい。
図3に示すように、各ボリューム40a〜h内において、光破砕は所定の経路に沿って行われる。通常は図3に示すように、所定の経路は、光軸44に対してゼロ以外の方位角成分を有する変位ベクトルによって特徴付けられる、焦点ずれを含む可能性がある。この実装形態では、光破砕は、一般に矢印48の方向に、相対的に後方の焦点50aから相対的に前方の焦点50bへと進む。この技術を用いて、外科用レーザを、以前に光破砕された位置を通過するビーム経路上に配置せずに目標位置に到達させることを保証することができる。
図4は、レンズ形の基質の空洞38の光破砕された部分について、別の図を示している。図4から、ボリューム40gは実質的に平行な2つの円錐形の面42a、bによって境界を定められていることが分かる。さらに図4は、これらの円錐形の面42a、bが互いに円錐軸44を画定することも示している。さらに図示するように、面42aは、約0度〜約50度の間であるテーパ角度θを有する直円錐体の一部である。処理直径が約12mmの場合、角度θは約40度に等しくなる(θ=40°)。
図5及び6は、ボリューム40a’〜40c’を有する(空洞38’と表記した)別の基質の空洞を示している。図示するように、基質の空洞38’の場合、各ボリューム40a’〜40c’は、実質的に平行な2つの円錐形の面によって境界を定められる。例えば、ボリューム40a’は、円錐形の面42a’及び42b’によって境界を定められている。さらに、各ボリューム40a’〜40c’に対する円錐形の面が、そのそれぞれの円錐体に対する円錐頂点を含んでいることも分かる。さらに図6に最もよく示されるように、ボリューム40a’〜40c’はそれぞれ、円錐軸44’のまわり全体に延びている。また図5では、空洞38’が円錐形の切除されていないボリューム52を囲んでいることが分かる。
図7は、(空洞38a’’及び空洞38b’’と表記した)2つの基質の空洞を有する切除パターンの別の実施例を示している。図7は、空洞38a’’がボリューム40a’’〜40c’’を含み、空洞38b’’がボリューム40d’’〜40f’’を含んでいることを示している。基質の空洞38a’’及び38b’’の場合、各ボリューム40a’’〜40f’’は、実質的に平行な2つのそれぞれの円錐形の面によって境界を定められる。例えばボリューム40a’’は、円錐形の面42a’’及び42b’’によって境界を定められている。ただし図示するように、図6に示した実施例とは異なり、基質の空洞38a’’及び38b’’では、各ボリューム40a’’〜40f’’が1対の円錐形の面を有し、円錐形の各面が、円錐軸44’’のまわりの180度未満の方位角αに対応している。したがって、各ボリューム40a’’〜40f’’は円錐軸44’’のまわり全体には延びていない。一実施形態では、空洞38a’’全体が切除され、次いで空洞38b’’が切除される。或いは、図7に示した切除パターンを、ON−OFF式の全円のラスタ走査を用いて切除することもできる。このように、ボリューム40a’’、ボリューム40d’’、ボリューム40b’’、ボリューム40e’’、ボリューム40c’’、ボリューム40f’’の順番でボリュームを逐次的に切除することによって、空洞38a’’、38b’’が切除される。
本明細書において詳細に示し、開示した基質内の走査パターン用の特定のシステム及び方法によって、目的を達成し、本明細書で前述した利点を提供することが十分に可能であるが、それらは現在のところ好ましい本発明の実施例を例示するものにすぎず、添付の特許請求の範囲に記述したもの以外の、本明細書に示した構造又は設計の詳細に限定するものではないことを理解されたい。
あらかじめ選択された角膜組織のボリュームを光破砕するためのシステムについて、主要な光学部品を示す概略図である。 角膜の屈折特性を変えるために、光破砕されてレンズ形の基質の空洞が作成された角膜の拡大断面図である。 基質を通る焦点の経路を示す概略図である。 本発明の方法によって作成された円錐形の面を示す部分断面図における、光破砕された基質の空洞の斜視図である。 本発明の方法によって作成された円錐形の面を示す部分断面図における、光破砕された別の基質の空洞の斜視図である。 図5に示した光破砕された基質の空洞の上面図である。 円錐軸のまわりの180度未満の方位角に対応する円錐面が作成されている、光破砕された基質の空洞の上面図である。

Claims (20)

  1. 前面及び基質を有する、眼の基質内屈折治療用の方法であって、
    前記眼に対する基準系を確立するステップであって、前記基準系が、前記眼の前面を通り、且つそれに対して実質的に垂直に位置調整された軸を含むステップと、
    前記軸から半径方向のある距離の所にある基質内の表面下焦点にレーザ・ビームを方向付けて、前記焦点にある基質組織を光破砕するステップと、
    前記焦点を所定の経路に沿って走査して基質のボリュームを光破砕するステップであって、前記基質のボリュームが、互いに円錐軸を定める実質的に平行な円錐形の面によって境界を定められ、前記円錐軸が前記基準軸と同一直線上にあるステップと
    を含む方法。
  2. 前記円錐形の面が第1の面及び第2の面であり、前記第1の面が直円錐体の一部である請求項1に記載の方法。
  3. 前記直円錐体が頂点を定め、前記第1の円錐形の面が前記頂点を含む請求項2に記載の方法。
  4. 前記眼が光軸を有し、前記基準軸が前記光軸と実質的に同一直線上にある請求項2に記載の方法。
  5. 前記円錐体がテーパ角度を定め、前記テーパ角度が0度〜50度の範囲である請求項2に記載の方法。
  6. 前記所定の経路が、前記基準軸に平行なゼロ以外の成分を有する変位ベクトルによって特徴付けられる焦点ずれを含む請求項1に記載の方法。
  7. 前記所定の経路が、前記基準軸に対してゼロ以外の方位角成分を有する変位ベクトルによって特徴付けられる焦点ずれを含む請求項1に記載の方法。
  8. 基質組織が、前記所定の経路に沿って最初の焦点位置及び最後の焦点位置に対して光破砕され、前記最初の焦点位置が、前記最後の焦点位置より前記眼の前面から遠くに配置される請求項1に記載の方法。
  9. 前記基質のボリュームが第1の基質のボリュームを含み、前記方法が、実質的に円錐形の面を有する第2の基質のボリュームを光破砕するために、焦点を所定の経路に沿って走査するステップをさらに含む請求項1に記載の方法。
  10. 前記走査ステップが複数の基質のボリュームを光破砕して、隣接するレンズ形の空洞を作成し、基質の各ボリュームが、互いに円錐軸を定める実質的に平行な円錐形の面によって境界を定められ、前記円錐軸が前記基準軸と同一直線上にある請求項1に記載の方法。
  11. 基質を有する眼に対する基質内の屈折治療の方法であって、
    前記基質内の表面下焦点にレーザ・ビームを方向付けて、前記焦点にある基質組織を光破砕するステップと、
    前記焦点を第1の所定の経路に沿って走査して、実質的に円錐形の面を有する第1の基質のボリュームを光破砕するステップと、
    前記焦点を第2の所定の経路に沿って移動させて、実質的に円錐形の面を有し、前記第1の基質のボリュームと隣接している第2の基質のボリュームを光破砕するステップと
    を含む方法。
  12. 前記第1の円錐形の面が第1の直円錐体の一部であり、前記第2の円錐形の面が第2の直円錐体の一部である請求項11に記載の方法。
  13. 前記第1の直円錐体が頂点を定め、前記第1の円錐形の面が前記頂点を含む請求項12に記載の方法。
  14. 前記眼が光軸を有し、前記第1の円錐体が第1の円錐軸を定め、前記第2の円錐体が第2の円錐軸を定め、前記第1及び第2の円錐軸が前記光軸と同一直線上にある請求項12に記載の方法。
  15. 前記眼が前面及び光軸を有し、前記第1の直円錐体が第1の頂点を定め、前記第2の直円錐体が第2の頂点を定め、前記走査ステップが前記移動ステップの前に実施され、前記第1及び第2の頂点が、前記第1の頂点を前記第2の頂点より前記前面から遠くに配置した状態で前記光軸上に配置される請求項12に記載の方法。
  16. 前記第2の円錐形の面が前記第2の頂点を含む請求項15に記載の方法。
  17. 前記実質的に円錐形の面が円錐軸を定め、前記円錐軸のまわりの360度未満の方位角αに対応している(α<360度)請求項11に記載の方法。
  18. 眼の基質内屈折治療用のシステムであって、前記眼が前面を有し、前記前面を通り、且つそれに対して垂直に位置調整された基準軸を定め、
    外科用レーザ・ビームを発生させる手段と、
    前記レーザ・ビームを、前記軸から半径方向のある距離の所にある基質内の表面下焦点に方向付けて、前記焦点にある基質組織を光破砕する手段と、
    前記焦点を所定の経路に沿って走査して基質のボリュームを光破砕する手段であって、前記基質のボリュームが円錐軸を定める実質的に円錐形の面を有し、前記円錐軸が前記基準軸と実質的に同一直線上にある手段と
    を含むシステム。
  19. 前記レーザ・ビームがパルス赤外レーザであり、前記レーザ・ビームは、各パルスが100フェムト秒〜1ピコ秒の範囲のパルス幅を有する一連のパルスを含む請求項18に記載のシステム。
  20. 前記方向付けの手段が、前記レーザ・ビームを1μm〜11μmの範囲の直径を有する焦点に集束させる請求項18に記載のシステム。
JP2007540732A 2004-11-12 2005-10-19 基質内の走査パターン用のシステム及び方法 Expired - Fee Related JP5030785B2 (ja)

Applications Claiming Priority (3)

Application Number Priority Date Filing Date Title
US10/987,542 US7662148B2 (en) 2004-11-12 2004-11-12 Systems and methods for intrastromal scanning patterns
US10/987,542 2004-11-12
PCT/IB2005/003119 WO2006051364A1 (en) 2004-11-12 2005-10-19 Systems and methods for intrastromal scanning patterns

Publications (2)

Publication Number Publication Date
JP2008519631A true JP2008519631A (ja) 2008-06-12
JP5030785B2 JP5030785B2 (ja) 2012-09-19

Family

ID=35677519

Family Applications (1)

Application Number Title Priority Date Filing Date
JP2007540732A Expired - Fee Related JP5030785B2 (ja) 2004-11-12 2005-10-19 基質内の走査パターン用のシステム及び方法

Country Status (3)

Country Link
US (1) US7662148B2 (ja)
JP (1) JP5030785B2 (ja)
WO (1) WO2006051364A1 (ja)

Cited By (1)

* Cited by examiner, † Cited by third party
Publication number Priority date Publication date Assignee Title
JP2012249701A (ja) * 2011-05-31 2012-12-20 Nidek Co Ltd 眼科用レーザ手術装置

Families Citing this family (18)

* Cited by examiner, † Cited by third party
Publication number Priority date Publication date Assignee Title
US8394084B2 (en) 2005-01-10 2013-03-12 Optimedica Corporation Apparatus for patterned plasma-mediated laser trephination of the lens capsule and three dimensional phaco-segmentation
US9233023B2 (en) 2007-03-13 2016-01-12 Optimedica Corporation Method and apparatus for creating ocular surgical and relaxing incisions
ES2338051T3 (es) * 2007-03-19 2010-05-03 Wavelight Ag Sistema laser pspservador de los ojos para cirugia refractiva.
US8409179B2 (en) * 2007-12-17 2013-04-02 Technolas Perfect Vision Gmbh System for performing intrastromal refractive surgery
US7717908B2 (en) * 2007-12-17 2010-05-18 Technolas Perfect Vision Gmbh Method patterns for intrastromal refractive surgery
US7717907B2 (en) * 2007-12-17 2010-05-18 Technolas Perfect Vision Gmbh Method for intrastromal refractive surgery
US8740888B2 (en) * 2008-01-18 2014-06-03 Technolas Perfect Vision Gmbh Computer control for bio-mechanical alteration of the cornea
US20090299345A1 (en) * 2008-05-27 2009-12-03 Bille Josef F System and method for reshaping a cornea using a combination of liob and structural change procedures
DE102008056488A1 (de) 2008-11-06 2010-05-12 Carl Zeiss Meditec Ag Ophthalmologisches Lasersystem und Betriebsverfahren
DE102008062658A1 (de) 2008-12-17 2010-06-24 Carl Zeiss Meditec Ag Ophthalmologisches Lasersystem und Betriebsverfahren
US20110022037A1 (en) * 2009-01-06 2011-01-27 Bille Josef F System and Method for Minimizing the Side Effects of Refractive Corrections Using Line or Dot Cuts for Incisions
US8377048B2 (en) * 2009-01-06 2013-02-19 Technolas Perfect Vision Gmbh Minimizing the side-effects of refractive corrections using statistically determined irregularities in intrastromal incisions
US8366701B2 (en) * 2009-01-27 2013-02-05 Technolas Perfect Vision Gmbh System and method for correcting higher order aberrations with changes in intrastromal biomechanical stress distributions
EP2395955B1 (en) * 2009-02-09 2018-08-01 AMO Development, LLC System for intrastromal refractive correction
DE102010012616A1 (de) 2010-03-20 2011-09-22 Carl Zeiss Meditec Ag Ophthalmologische Laser-Behandlungseinrichtung und Betriebsverfahren für eine solche
DE102021101253A1 (de) 2021-01-21 2022-07-21 Excelsius Medical Co., Ltd. Verarbeitungsvorrichtung für Augengewebe sowie Computerprogramm und computerlesbares Medium zur Steuerung dieser Vorrichtung
US12303433B2 (en) * 2021-04-19 2025-05-20 Ziemer Ophthalmic Systems Ag Ophthalmological device for refractive correction of a cornea
DE102021125782A1 (de) * 2021-10-05 2023-04-06 Carl Zeiss Meditec Ag Planungseinrichtung zum Erzeugen von Steuerdaten für eine Lasereinrichtung einer Behandlungsvorrichtung zur refraktiven Korrektur eines Auges, Behandlungsvorrichtung, Verfahren zum Erzeugen von Steuerdaten und Verfahren zur refraktiven Korrektur

Citations (2)

* Cited by examiner, † Cited by third party
Publication number Priority date Publication date Assignee Title
JPH07184951A (ja) * 1993-11-12 1995-07-25 Intelligent Surgical Lasers Inc パルスレーザ光線を使用して眼科手術を行う装置
WO2003082146A2 (en) * 2002-03-23 2003-10-09 Intralase Corp. System and method for improved material processing using a laser beam

Family Cites Families (15)

* Cited by examiner, † Cited by third party
Publication number Priority date Publication date Assignee Title
US3769963A (en) 1972-03-31 1973-11-06 L Goldman Instrument for performing laser micro-surgery and diagnostic transillumination of living human tissue
DE3069080D1 (en) 1979-11-28 1984-10-04 Lasag Ag Observation device for eye-treatment
US4732148A (en) 1983-11-17 1988-03-22 Lri L.P. Method for performing ophthalmic laser surgery
US4770172A (en) 1983-11-17 1988-09-13 Lri L.P. Method of laser-sculpture of the optically used portion of the cornea
US4773414A (en) 1983-11-17 1988-09-27 Lri L.P. Method of laser-sculpture of the optically used portion of the cornea
US4665913A (en) 1983-11-17 1987-05-19 Lri L.P. Method for ophthalmological surgery
US4669466A (en) 1985-01-16 1987-06-02 Lri L.P. Method and apparatus for analysis and correction of abnormal refractive errors of the eye
AU606315B2 (en) 1985-09-12 1991-02-07 Summit Technology, Inc. Surface erosion using lasers
US4988348A (en) 1989-05-26 1991-01-29 Intelligent Surgical Lasers, Inc. Method for reshaping the cornea
US5984916A (en) 1993-04-20 1999-11-16 Lai; Shui T. Ophthalmic surgical laser and method
US6325792B1 (en) 1991-11-06 2001-12-04 Casimir A. Swinger Ophthalmic surgical laser and method
US5549632A (en) 1992-10-26 1996-08-27 Novatec Laser Systems, Inc. Method and apparatus for ophthalmic surgery
US5993438A (en) * 1993-11-12 1999-11-30 Escalon Medical Corporation Intrastromal photorefractive keratectomy
US6010497A (en) 1998-01-07 2000-01-04 Lasersight Technologies, Inc. Method and apparatus for controlling scanning of an ablating laser beam
US6610051B2 (en) 2001-10-12 2003-08-26 20/10 Perfect Vision Optische Geraete Gmbh Device and method for performing refractive surgery

Patent Citations (3)

* Cited by examiner, † Cited by third party
Publication number Priority date Publication date Assignee Title
JPH07184951A (ja) * 1993-11-12 1995-07-25 Intelligent Surgical Lasers Inc パルスレーザ光線を使用して眼科手術を行う装置
WO2003082146A2 (en) * 2002-03-23 2003-10-09 Intralase Corp. System and method for improved material processing using a laser beam
JP2005520663A (ja) * 2002-03-23 2005-07-14 イントラレース コーポレーション レーザビームを使用する、改善された材料プロセシングのためのシステムおよび方法

Cited By (1)

* Cited by examiner, † Cited by third party
Publication number Priority date Publication date Assignee Title
JP2012249701A (ja) * 2011-05-31 2012-12-20 Nidek Co Ltd 眼科用レーザ手術装置

Also Published As

Publication number Publication date
US20060106372A1 (en) 2006-05-18
JP5030785B2 (ja) 2012-09-19
US7662148B2 (en) 2010-02-16
WO2006051364A1 (en) 2006-05-18

Similar Documents

Publication Publication Date Title
US7238176B2 (en) Method for intrastromal photodisruption of dome-shaped surfaces
JP5030785B2 (ja) 基質内の走査パターン用のシステム及び方法
JP6549284B2 (ja) レーザ手術システム
CN103037821B (zh) 用于整合白内障手术与青光眼或散光手术的方法和装置
EP3638165B1 (en) Birefringent lens for laser beam delivery
US6325792B1 (en) Ophthalmic surgical laser and method
US20140350533A1 (en) Contactless photodisruptive laser cataract surgery
JP2014522284A (ja) 眼科手術のためのレーザー伝送システム
US20130131653A1 (en) Ophthalmological laser method and apparatus
AU2015404411B2 (en) System for modifying eye tissue and intraocular lenses
US20200206033A1 (en) Eye surgical procedure
US11406536B2 (en) Confocal detection to minimize capsulotomy overcut while dynamically running on the capsular surface
JP5898228B2 (ja) 集束パルスレーザ照射を用いて人の眼の角膜を切断するための装置および方法
US10363173B2 (en) Confocal detection to minimize capsulotomy overcut while dynamically running on the capsular surface

Legal Events

Date Code Title Description
A621 Written request for application examination

Free format text: JAPANESE INTERMEDIATE CODE: A621

Effective date: 20080904

A711 Notification of change in applicant

Free format text: JAPANESE INTERMEDIATE CODE: A711

Effective date: 20100202

A131 Notification of reasons for refusal

Free format text: JAPANESE INTERMEDIATE CODE: A131

Effective date: 20101112

A521 Request for written amendment filed

Free format text: JAPANESE INTERMEDIATE CODE: A523

Effective date: 20110214

A131 Notification of reasons for refusal

Free format text: JAPANESE INTERMEDIATE CODE: A131

Effective date: 20110819

A601 Written request for extension of time

Free format text: JAPANESE INTERMEDIATE CODE: A601

Effective date: 20111121

A602 Written permission of extension of time

Free format text: JAPANESE INTERMEDIATE CODE: A602

Effective date: 20111129

A601 Written request for extension of time

Free format text: JAPANESE INTERMEDIATE CODE: A601

Effective date: 20111219

A521 Request for written amendment filed

Free format text: JAPANESE INTERMEDIATE CODE: A523

Effective date: 20111227

A602 Written permission of extension of time

Free format text: JAPANESE INTERMEDIATE CODE: A602

Effective date: 20111227

TRDD Decision of grant or rejection written
A01 Written decision to grant a patent or to grant a registration (utility model)

Free format text: JAPANESE INTERMEDIATE CODE: A01

Effective date: 20120615

A01 Written decision to grant a patent or to grant a registration (utility model)

Free format text: JAPANESE INTERMEDIATE CODE: A01

A61 First payment of annual fees (during grant procedure)

Free format text: JAPANESE INTERMEDIATE CODE: A61

Effective date: 20120626

R150 Certificate of patent or registration of utility model

Ref document number: 5030785

Country of ref document: JP

Free format text: JAPANESE INTERMEDIATE CODE: R150

Free format text: JAPANESE INTERMEDIATE CODE: R150

FPAY Renewal fee payment (event date is renewal date of database)

Free format text: PAYMENT UNTIL: 20150706

Year of fee payment: 3

R250 Receipt of annual fees

Free format text: JAPANESE INTERMEDIATE CODE: R250

R250 Receipt of annual fees

Free format text: JAPANESE INTERMEDIATE CODE: R250

R250 Receipt of annual fees

Free format text: JAPANESE INTERMEDIATE CODE: R250

R250 Receipt of annual fees

Free format text: JAPANESE INTERMEDIATE CODE: R250

R250 Receipt of annual fees

Free format text: JAPANESE INTERMEDIATE CODE: R250

LAPS Cancellation because of no payment of annual fees