JP2008240874A - 車両用ディスクブレーキ - Google Patents

車両用ディスクブレーキ Download PDF

Info

Publication number
JP2008240874A
JP2008240874A JP2007081487A JP2007081487A JP2008240874A JP 2008240874 A JP2008240874 A JP 2008240874A JP 2007081487 A JP2007081487 A JP 2007081487A JP 2007081487 A JP2007081487 A JP 2007081487A JP 2008240874 A JP2008240874 A JP 2008240874A
Authority
JP
Japan
Prior art keywords
motor
motor shaft
speed reduction
electric motor
reduction mechanism
Prior art date
Legal status (The legal status is an assumption and is not a legal conclusion. Google has not performed a legal analysis and makes no representation as to the accuracy of the status listed.)
Granted
Application number
JP2007081487A
Other languages
English (en)
Other versions
JP4767891B2 (ja
Inventor
Manabu Matsushita
学 松下
Akihiko Koike
明彦 小池
Current Assignee (The listed assignees may be inaccurate. Google has not performed a legal analysis and makes no representation or warranty as to the accuracy of the list.)
Honda Motor Co Ltd
Hitachi Astemo Ltd
Original Assignee
Honda Motor Co Ltd
Nissin Kogyo Co Ltd
Priority date (The priority date is an assumption and is not a legal conclusion. Google has not performed a legal analysis and makes no representation as to the accuracy of the date listed.)
Filing date
Publication date
Application filed by Honda Motor Co Ltd, Nissin Kogyo Co Ltd filed Critical Honda Motor Co Ltd
Priority to JP2007081487A priority Critical patent/JP4767891B2/ja
Publication of JP2008240874A publication Critical patent/JP2008240874A/ja
Application granted granted Critical
Publication of JP4767891B2 publication Critical patent/JP4767891B2/ja
Expired - Fee Related legal-status Critical Current
Anticipated expiration legal-status Critical

Links

Images

Landscapes

  • Retarders (AREA)
  • Braking Arrangements (AREA)

Abstract

【課題】電動モータの回転動力を減速する減速機構が、電動モータのモータ軸に相対回転不能に連結される楕円状カムを有するものである車両用ディスクブレーキにおいて、減速機構の軸方向長さを短縮して小型化を図るとともにコストの低減を可能とする。
【解決手段】モータ軸60の減速機構45側の端部は減速機構45を収容するケース68にボールベアリング64を介して回転自在に支承され、一端をボールベアリング64の内輪に当接せしめる楕円状カム141には、モータ軸60を相対回転不能に嵌合、貫通せしめる連結孔151が設けられ、ボールベアリング64とは反対側から楕円状カム141に係合する止め部材152がモータ軸60に装着される。
【選択図】 図18

Description

本発明は、モータケースがキャリパボディに取付けられる電動モータと、該電動モータのモータ軸に相対回転不能に連結される楕円状カムを有するとともに前記電動モータの回転動力を減速するようにして前記電動モータと同軸に配置される減速機構と、摩擦パッドをディスクロータ側に押圧可能とすべく前記減速機構の回転動力を軸方向進退作動力に変換する運動変換機構とを備える車両用ディスクブレーキに関する。
このような車両用ディスクブレーキは、特許文献1で知られており、このものでは、波動歯車機構である減速機構の楕円状カムにモータ軸が相対回転不能に嵌合され、前記モータ軸および出力側回転部材間に介装されたボールベアリングの内輪の一端を前記楕円状カムに当接せしめるとともに、前記ボールベアリングの外輪の他端を前記出力側回転部材に当接させることで、モータ軸に対する楕円状カムの軸方向相対移動を規制するようにしている。
特開2007−40459号公報
ところが、上記特許文献1で開示されるように、楕円状カムのモータ軸に対する軸方向相対移動を規制するとともに出力側回転部材をモータ軸で相対回転自在に支承するために、出力側回転部材およびモータ軸間にボールベアリングを介装した構造では、そのボールベアリングを配置するためのスペースを軸方向で確保する必要があり、減速機構の軸方向長さが大きくなるだけでなく、コストの増大にもつながることになる。
本発明は、かかる事情に鑑みてなされたものであり、減速機構の軸方向長さを短縮して小型化を図るとともにコストの低減を可能とした車両用ディスクブレーキを提供することを目的とする。
上記目的を達成するために、請求項1記載の発明は、モータケースがキャリパボディに取付けられる電動モータと、該電動モータのモータ軸に相対回転不能に連結される楕円状カムを有するとともに前記電動モータの回転動力を減速するようにして前記電動モータと同軸に配置される減速機構と、摩擦パッドをディスクロータ側に押圧可能とすべく前記減速機構の回転動力を軸方向進退作動力に変換する運動変換機構とを備える車両用ディスクブレーキにおいて、前記モータ軸の前記減速機構側の端部は、前記減速機構を収容するケースに他のボールベアリングを介して回転自在に支承され、一端を前記他のボールベアリングの内輪に当接せしめる前記楕円状カムには、前記モータ軸を相対回転不能に嵌合、貫通せしめる連結孔が設けられ、前記他のボールベアリングとは反対側から前記楕円状カムに係合する止め部材が前記モータ軸に装着されることを特徴とする。
また請求項2記載の発明は、請求項1記載の発明の構成に加えて、前記減速機構が、前記楕円状カムの外周にボールベアリングが装着されて成る波動発生器と、外周に複数の歯が設けられて前記ボールベアリングの外輪に装着される弾性リングギヤと、該弾性リングギヤの軸方向一方の半部の歯に噛合する歯を内周に有する固定側リングギヤと、前記弾性リングギヤの軸方向他方の半部の歯に噛合する歯を内周に有する出力側リングギヤと、該出力側リングギヤに結合される出力側回転部材とを有する波動歯車機構であることを特徴とする。
なお実施例のプッシュナット152が本発明の止め部材に対応する。
請求項1または2記載の発明によれば、モータ軸が楕円状カムに相対回転不能に嵌合されることで楕円状カムがモータ軸とともに回転することになり、しかも楕円状カムのモータ軸に対する軸方向相対移動は、減速機構を収容するケースおよびモータ軸間に介装されるボールベアリングと、モータ軸に装着される止め部材とで規制されることになり、楕円状カムの軸方向移動を規制するために出力側回転部材および楕円状カム間に介設されるボールベアリングに代えて止め部材を用いるのでコスト低減を図ることができ、また止め部材で必要とされる軸方向長さは短くてすむので減速機構の軸方向長さを短縮して小型化を図ることができる。
以下、本発明の実施の形態を、添付の図面に示した本発明の一実施例に基づいて説明する。
図1〜図18は本発明の一実施例を示すものであり、図1は車両用ディスクブレーキの斜視図、図2は図1の2−2線に沿う断面図、図3は図2の3矢視図、図4は図2の4−4線断面図、図5は図1の5矢視図、図6は図5の6−6線断面図、図7はモータカバーを省略した状態での図6の7矢視図、図8はモータカバーの斜視図、図9はキャリパボディを省略した状態での図6の9−9線矢視図、図10は図2の10矢示部拡大図、図11はモータカバーを省略した状態でブラシホルダを図7と同一方向から見た図、図12はブラシおよびセンサカバーを省略した状態でブラシホルダを図11と同一方向から見た図、図13はブラシホルダ内でのリードフレームの埋設状態を示すための図11と同一方向から見た図、図14は電動モータの電気的接続状態を示す図、図15は図11の15−15線拡大断面図、図16は図15の16−16線断面図、図17はセンサカバーの斜視図、図18は図2の減速機構を拡大して示す断面図である。
先ず図1〜図3において、この車両用ディスクブレーキは、液圧によるサービスブレーキ状態を得ることを可能とするとともに電動モータ25(図2参照)の作動によるパーキングブレーキ状態を得ることを可能としたものであり、図示しない車輪のホイールとともに回転するディスクロータ26と、キャリパボディ27と、ディスクロータ26の両側面に対向して配置されてディスクロータ26およびキャリパボディ27間に配置される一対の摩擦パッド28,29とを備える。
キャリパボディ27は、車体側に取付けられたブラケット30で前記ディスクロータ26の軸線に沿う方向に摺動可能に支持されるハウジング部27aと、ハウジング部27aからディスクロータ26を跨いで反対側に延びる腕部27bとを備え、前記ディスクロータ26の軸線と平行に延びて前記ハウジング部27aに固定されるスライドピン31,31が前記ブラケット30にスライド可能に支承され、両スライドピストン31…を囲繞するブーツ32,32が前記ハウジング部27aおよび前記ブラケット30間に設けられる。
前記ハウジング部27a側でディスクロータ26の一側面に対向する摩擦パッド28はディスクロータ26に摺接して摩擦力を発揮し得るライニング22が裏金20に設けられて成り、腕部27b側でディスクロータ26の他側面に対向する摩擦パッド29はディスクロータ26に摺接して摩擦力を発揮し得るライニング23が裏金21に設けられて成り、両摩擦パッド28,29は、ディスクロータ26の軸線に沿う方向に移動することを可能として前記ブラケット30に保持される。
キャリパボディ27のハウジング部27aには、前記ディスクロータ26の軸線と平行な軸線を有して前記摩擦パッド28側に開放したシリンダ孔33と、前記摩擦パッド28とは反対側に開放した収容凹部34と、シリンダ孔33および収容凹部34間に介在する隔壁35とが設けられる。シリンダ孔33および収容凹部34は同一軸線上で円形断面を有するように形成されるものであり、前記隔壁35の中央部にはシリンダ孔33および収容凹部34を同軸に結ぶ貫通孔36が設けられる。
シリンダ孔33には、前記隔壁35との間に液圧室37を形成するとともに前端を閉塞した有底円筒状のブレーキピストン38がその前端を摩擦パッド28の裏金20に当接させるようにして軸方向スライド可能に収容され、該ブレーキピストン38の前端は、シリンダ孔33内での回転を阻止するために前記裏金20に係合される。
またシリンダ孔33の内面には、キャリパボディ27およびブレーキピストン38間に介装される環状のピストンシール40が装着され、シリンダ孔33の開口端部およびブレーキピストン38間には環状のダストブーツ41が設けられ、ハウジング部27aには前記液圧室37に液圧を導く液圧路42が設けられる。
ところで、ブレーキピストン38には、両摩擦パッド28,29をディスクロータ26に対して進退させる動力を発揮する電動モータ25の出力が、その出力を減速する減速機構45および運動変換機構46を介して伝達されるものであり、運動変換機構46はブレーキピストン38の背後に配置されるようにしてキャリパボディ27のシリンダ孔33に収容され、減速機構45は電動モータ25に支持されるものであり、その大部分が収容凹部34に収容され、電動モータ25はディスクロータ26とは反対側でキャリパボディ27のハウジング部27aに取付けられる。
運動変換機構46は、シリンダ孔33と同軸の回転軸47と、相対回転を不能としてブレーキピストン38に係合されるとともに前記回転軸47の先端側外周に刻設された雄ねじ48に螺合されるナット49とを備える。ブレーキピストン38とは反対側で回転軸47の一端部は、隔壁35の貫通孔36を回転自在に貫通するものであり、前記隔壁35の液圧室37に臨む面に対向するようにして半径方向外方に張り出す鍔部47aが前記回転軸47に一体に設けられる。而してハウジング部27aの隔壁35および回転軸47間にはOリング50が介装され、前記隔壁35の前記液圧室37に臨む面および前記鍔部47a間にはスラスト軸受51およびワッシャ52が介装される。
前記スラスト軸受51の前記ワッシャ52への摺動面には樹脂コーティングが施されており、それによってスラスト軸受51およびワッシャ52間でシール効果が生じ、Oリング50による負荷圧力を軽減することができる。その結果、Oリング50の耐久性(耐摩耗性)を高めることができる。
また前記回転軸47の収容凹部34側の突出部外周には止め輪53が装着されており、キャリパボディ27の前記隔壁35および前記止め輪53間に皿ばね54が介設される。この皿ばね54が発揮する弾発力によって前記回転軸47は電動モータ25側に向けて付勢されるものであり、前記皿ばね54が発揮する弾発力は、前記液圧室37に液圧が作用した後の液圧解放時に前記Oリング50に生じるロールバックによって前記電動モータ25と反対側に向けて前記回転軸47に作用するスラスト力以上に設定される。
図4を併せて参照して、回転軸47は、前記ブレーキピストン38内で該回転軸47を囲繞するナット49に螺合される。またナット49は、正四角形の外周を有する係合部49aを前端に有するものであり、係合部49aの前端面がブレーキピストン38の前端内面に当接する。
一方、有底円筒状であるブレーキピストン38の内周には、係合部49aが有する4つの角部の個数の整数倍(この実施例では2倍)の係止溝55…が、周方向に位相をずらせた複数箇所で前記角部を選択的に係合させるようにして、軸方向に延びつつ周方向等間隔に設けられる。すなわちブレーキピストン38の内周は、係合部49aの外周形状に対応するとともに相互に位相をずらせた複数の正多角形を重ねた形状に形成されるものであり、この実施例では位相を45度ずらせた2つの正四角形を重ねた星形形状に形成されている。
このような運動変換機構46において、電動モータ25からの動力が減速機構45で減速され、回転軸47にその一方向に回転する動力が伝達されると、回転軸47の回転動力はブレーキピストン38およびナット49の回転が阻止された状態でブレーキピストン38の軸方向進退作動力に変換され、ブレーキピストン38が前方にスライドすることによる作用および反作用によってディスクロータ26が摩擦パッド28,29で両側から挟圧され、それにより制動力が得られることになる。また前記回転軸47がその他方向に回転されることにより、ブレーキピストン38が軸方向後方にスライドして制動状態が解除される。
図5および図6を併せて参照して、電動モータ25のモータケース56は、一端に端壁57aを有するとともに他端には半径方向外方に張り出すフランジ部57bを有して導電性を有する材料によって有底筒状(この実施例では有底円筒状)に形成されるヨーク57と、該ヨーク57のフランジ部57bに外周を当接させるようにして中心孔77を有して合成樹脂によりリング状に形成されるブラシホルダ58と、該ブラシホルダ58を前記ヨーク57の他端すなわち開口端との間に挟む蓋板59とから成り、前記ブラシホルダ58には、前記ヨーク57の開口端に嵌合される短円筒部58bが一体に設けられる。
前記ブラシホルダ58の中心孔77を貫通するモータ軸60が前記モータケース56で回転自在に支承されるものであり、前記モータ軸60には、コンミテータ61を有するアーマチュア62が設けられる。而して前記モータ軸60の一端は前記モータケース56におけるヨーク57の一端の端壁57aに設けられた円筒状の第1軸受ハウジング65を回転自在に貫通し、第1軸受ハウジング65および前記モータ軸60間に第1ボールベアリング63が介装され、前記モータ軸60の他端側は前記モータケース56における蓋板59の中央部に設けられた円筒状の第2軸受ハウジング66を回転自在に貫通し、第2軸受ハウジング66およびモータ軸60間には、シール付きの第2ボールベアリング64が介装される。すなわちモータ軸60の一端はヨーク57の一端に第1ボールベアリング63を介して回転自在に支承され、前記モータ軸60の他端は蓋板59に第2ボールベアリング64を介して回転自在に支承される。また前記アーマチュア62に対応する部分で前記ヨーク57の内周には複数のマグネット67…が固着される。
前記減速機構45は、ケース68内に収容されるものであり、該ケース68は、前記モータケース56の一部を構成する蓋板59と、該蓋板59の外周に電動モータ25とは反対側から当接するフランジ部69aを開口端に有してカップ状に形成されるケース部材69とから成るものであり、電動モータ25におけるモータケース56の周方向に等間隔をあけた複数個所、この実施例では3個所をキャリパボディ27に締結するボルト70…でキャリパボディ27に取付けられる。
図7を併せて参照して、前記モータケース56におけるフランジ部57bの周方向に等間隔をあけた複数個所、この実施例では3個所に前記ボルト70…を挿通せしめるための挿通孔71…が設けられ、前記蓋板59の外周部および前記ケース部材69のフランジ部69aには、前記挿通孔71…に対応した挿通孔72…,73…が設けられる。また前記ブラシホルダ58の外周部の前記各挿通孔71…,72…,73…に対応する部分には、前記ボルト70…を挿通せしめるための金属から成る円筒状のカラー74…が両端をヨーク57のフランジ部57bおよび蓋板59に当接させるようにして埋設される。而して前記ボルト70…は、その拡径頭部70a…を前記フランジ部57bに当接、係合せしめるようにして前記挿通孔71…、前記カラー74…および前記挿通孔72…,73…に挿通されるものであり、前記キャリパボディ27のハウジング部27aに設けられたねじ孔75…に螺合される。しかもボルト70…拡径頭部70a…における外端面には、図示しない工具を係合してボルト70…を回転操作せしめるための非円形の断面形状を有する係合凹部76…が設けられる。
図8を併せて参照して、前記モータケース56の少なくとも一部、この実施例ではヨーク57およびブラシホルダ58の一部は、合成樹脂から成るモータカバー80で覆われるものであり、このモータカバー80は、前記ヨーク57を同軸に覆う有底円筒部80aと、前記ヨーク57のフランジ部57bに密接して重なるようにして前記有底円筒部80aの開口端から外側方に張り出すフランジ部80bと、該フランジ部80bの外周縁に直角に連なって前記ブラシホルダ58の一部を同軸に覆う短円筒部80cとを一体に有する。
前記モータカバー80における前記フランジ部80bには、前記モータケース56および前記ケース68を貫通する複数個たとえば3個の連結脚部81…の基端部が一体に設けられる。しかも前記ケース68におけるケース部材69のフランジ部69aを貫通した連結脚部81の…先端は、前記ケース部材69のフランジ部69aに係合、固定されるものであり、この実施例では偏心した小径軸部81aが連結脚部81の先端に一体に設けられ、図9で示すように、前記フランジ部69aに当接、係合するプッシュナット82…が前記小径軸部81aに装着される。なお前記連結脚部81…の先端部を熱かしめによって前記ケース部材69のフランジ部69aに係合、固定するようにしてもよい。
前記モータカバー80は、そのフランジ部80bを前記ボルト70…の拡径頭部70aの周囲の全周でモータケース56におけるヨーク57のフランジ部57bに密接させるのであるが、前記モータカバー80のフランジ部80bには、前記ボルト70…を挿通可能であるとともにそれらのボルト70…の前記拡径頭部70a…をそれぞれ囲繞する筒部83…が一体に設けられる。
しかも前記各筒部83…の先端部には、弾性材料たとえばゴムから成るとともに前記各筒部83…の先端部を液密に塞ぐキャップ84…が、着脱可能として前記各筒部83…の先端部に嵌合される。しかもキャップ84には、該キャップ84を前記筒部83に嵌合した状態で該筒部83の外方に位置するつまみ部84aが一体に設けられており、このつまみ部84aは、力を加えない自然な状態では筒部83の先端部を外方から挟み込む形状に形成されている。
図10において、前記モータケース56の一部を構成するブラシホルダ58と、キャリパボディ27のハウジング部27aとの対向面間には、電動モータ25の軸線に沿う方向に長い長方形の横断面形状を有する環状のシール部材86がその内側方および外側方のいずれか一方に撓むことを規制されつつ介装される。而してこの実施例では、前記シール部材86が、前記減速機構45を収容したケース68の外周を囲繞するものであり、シール部材86は前記ケース68の外周によって内側方側に撓むことを規制されている。
しかも前記キャリパボディ27のハウジング部27aおよび前記ブラシホルダ58の対向面には、前記シール部材86に内側方および外側方の他方、この実施例では外側方から対向する規制面87a,88aを有する環状の規制部87,88が相互に近接する側に延びるようにして突設されており、前記両規制面87a,88aは、前記両規制部87,88の先端側に向かうにつれて前記シール部材86から離反するように傾斜したテーパ面として形成される。
図11において、前記ブラシホルダ58には、アーマチュア62が有するコンミテータ61に摺接する複数個たとえば4個のブラシ90,90…が、前記コンミテータ61の周方向に等間隔をあけた位置で前記コンミテータ61の半径方向にスライドすることを可能として保持されており、各ブラシ90,90…は、ばね91,91…によりコンミテータ61に摺接する側にばね付勢される。
前記ブラシホルダ58には、4つの前記ブラシ90,90…のうち90度ずつの間隔をあけて配置される2つのブラシ90,90にそれぞれ連なるプラス側給電線92,93を接続せしめるプラス側内部給電端子96と、残余のブラシ90,90にそれぞれ連なるマイナス側給電線94,95を接続せしめるマイナス側内部給電端子97とが相互に隣接して配置される。また前記ブラシホルダ58には、電動モータ25の回転角を検出する回転角検出センサ98が配設されるものであり、この回転角検出センサ98はアーマチュア62に関して前記プラス側および前記マイナス側内部給電端子96,97とは反対側で前記ブラシホルダ58に配設される。
図12および図13において、前記ブラシホルダ58には、導電金属から成る第1〜第5リードフレーム99,100,101,102,103がブラシホルダ58の型成形時にモールド結合されるようにして埋設される。而して第1および第2リードフレーム99,100は、その一端でプラス側およびマイナス側外部給電端子104,105を形成するとともに前記プラス側および前記マイナス側内部給電端子96,97を他端で形成するようにしてブラシホルダ58に埋設される。また第3および第4リードフレーム101,102は、その一端でセンサ用プラス側およびマイナス側外部端子106,107を形成するとともにセンサ用プラス側およびマイナス側内部端子108,109を他端で形成するようにしてブラシホルダ58に埋設され、前記回転角検出センサ98に対応する部分でブラシホルダ58に設けられた開口部110に臨む前記センサ用プラス側およびマイナス側内部端子108,109に前記回転角検出センサ98が接続される。
ところで前記ブラシホルダ58には、その側方に突出するカプラ部58aが一体に形成されており、前記プラス側およびマイナス側外部給電端子104,105と、前記センサ用プラス側およびマイナス側外部端子106,107とは前記カプラ部58a内に配置される。而して前記カプラ部58aの前記プラス側およびマイナス側外部給電端子104,105には、図14で示すように、プラス側外部電源線111およびマイナス側外部電源線112が接続され、前記カプラ部58aの前記センサ用プラス側およびマイナス側外部端子106,107には、センサ用プラス側外部導線113およびセンサ用マイナス側外部導線114が接続される。
また電動モータ25の作動を制御する電子制御ユニット115にはバッテリ116が接続されており、前記プラス側外部電源線111、前記マイナス側外部電源線112、前記センサ用プラス側外部導線113および前記センサ用マイナス側外部導線114は前記電子制御ユニット115に接続される。
ところで、電動モータ25には、前記プラス側およびマイナス側外部給電端子104,105ならびに前記センサ用プラス側およびマイナス側外部端子106,107とは別に、前記ヨーク57を車体Bに電気的に接続するためのノイズ対策用端子117が設けられるものであり、このノイズ対策用端子117は、第5リードフレーム103の一端に形成され、前記プラス側外部給電端子104、前記マイナス側外部給電端子105、前記センサ用プラス側外部端子106および前記センサ用マイナス側外部端子107とともに、前記カプラ部58a内に配置される。
図6に注目して、前記ブラシホルダ58には、第5リードフレーム103の一部を臨ませる収容孔118が設けられ、導電性を有する金属材料から成るコイルばね119が、その一端を第5リードフレーム103に当接せしめるとともに他端を前記ヨーク57のフランジ部57bに当接せしめるようにして前記収容孔118に収容される。すなわちノイズ対策用端子117は、第5リードフレーム103およびコイルばね119を介して前記ヨーク57に電気的に接続されることになる。しかもノイズ対策用端子117には、図14で示すように、車体Bに連なるアース線120が接続される。
図15および図16において、回転角検出センサ98は、相互に平行な一対の導電板121…の一端にホールIC122が取付けられるとともに両導電板121…の中間部間にコンデンサ123が設けられて成るものであり、ホールIC122に近接した位置でブラシホルダ58にマグネット124が取付けられ、回転角検出センサ98で検出されるべきパルサー125(図2および図6参照)が、前記ホールIC122の内側方に位置するようにして、前記モータケース56内でモータ軸60に設けられる。
前記モータ軸60に設けられるパルサー125の外側方に位置する部分で前記ブラシホルダ58には、前記中心孔77および前記開口部110間であって前記中心孔77寄りに位置する取付け凹部126が、蓋板59とは反対側に開口するようにして設けられ、前記ホールIC122は前記取付け凹部126内に収容される。また前記両導電板121…は、一端側の前記ホールIC122を取付け凹部126内に収容しめるとともに他端側をパルサー125とは反対側に延出させるようにして略直角に屈曲されており、前記ブラシホルダ58の開口部110内で前記両導電板121…の他端がセンサ用プラス側およびマイナス側内部端子108,109にそれぞれ電気的に接続される。
前記パルサー125の外側方で前記取付け凹部126内に収容されるホールIC122および前記コンデンサ123は、モータケース56のブラシホルダ58と、該ブラシホルダ58に着脱可能に取付けられるセンサカバー127とで保持される。
図17において、前記センサカバー127は、ホールIC122を取付け凹部126内に収容せしめた前記両導電板121…を前記ブラシホルダ58との間に挟む第1挟持板部127aと、第1挟持板部127の両側部にそれぞれ直角に連なる第1および第2側板部127b,127cと、第1側板部127bにヒンジ部127dを介して基端部が連なる第2挟持板部127eとを一体に有し、第2挟持板部127eの先端には、第2側板部127cの内面に設けられた係止凹部128に弾発的に係合し得る係合爪129が突設される。
前記取付け凹部126および前記開口部110間において前記両導電板121…が配置される部分の両側で前記ブラシホルダ58には、矩形状である挿通孔130,130が設けられており、一方の挿通孔130には、ヒンジ部127dで屈曲されていない状態の第1側板部127bおよび第2挟持板部127eが挿通され、他方の挿通孔130には、第2側板部127cが挿通される。
前記一方の挿通孔130に挿通されて蓋板59側に突出した第2挟持板部127eはヒンジ部127dで直角に屈曲され、他方の挿通孔130に挿通された第2側板部127cの係止凹部128に係合爪129が弾発係合され、これによりセンサカバー127がブラシホルダ58に着脱可能に取付けられるとともに、ホールIC122がセンサカバー127およびブラシホルダ58間に保持される。しかも第2挟持板部127eおよびブラシホルダ58の対向面には、相互に対応した凹部131,132が設けられており、それらの凹部131,132に嵌合されるようにしてマグネット124が第2挟持板部127eおよびブラシホルダ58間に保持される。
また第1挟持板部127aは、前記蓋板59とは反対側から前記開口部110を覆うように形成されており、前記開口部110内で前記両導電板121…に前記センサ用プラス側およびマイナス側内部端子108,109が接続されるので、前記ホールIC122への前記センサ用プラス側およびマイナス側内部端子108,109の接続部が前記センサカバー127で覆われることになる。
図1、図5、図7、図9、図11〜図13で明示するように、ブラシホルダ58には、前記ヨーク57のフランジ部57bおよび前記キャリパボディ27におけるハウジング部27aの外周よりも外側方に突出する一対の突部135,135が、電動モータ25をキャリパボディ27から取り外す際に指をかけることを可能として一体に突設されており、両突部135…は前記ブラシホルダ58に突設されているカプラ部58aとは反対側で外側方に突出するようにしてブラシホルダ58に一体に設けられる。
ところで前記ブラシホルダ58の周方向に等間隔をあけた位置には、モータケース56をキャリパボディ27のハウジング部27aに締結するボルト70…を挿通せしめるための金属から成る円筒状のカラー74…が埋設されており、それらのカラー74…の1つ、この実施例では前記カプラ部58aとは反対側に位置するカラー74を周方向両側から挟むようにして前記両突部135,135が前記ブラシホルダ58に突設される。
また前記各カラー74…が埋設される部分に対応して前記ブラシホルダ58の外周の複数個所(3個所)には、凹部136…が形成されるとともに、それらの凹部136…内に複数ずつ配置されるリブ137…が一体に設けられる。
前記カプラ部58aは、その一部がキャリパボディ27のハウジング部27a側にはみ出すようにして前記ブラシホルダ58に一体に形成されるものであり、前記キャリパボディ27のハウジング部27aには、図5で明示するように、モータケース56の前記キャリパボディ27に対する周方向相対位置が正規位置からずれた状態で前記モータケース56を前記キャリパボディ27に取付けようとするときに前記カプラ部58aに干渉する一対ずつ2組の突起138,138;139,139が突設される。
すなわちモータケース56は周方向に等間隔をあけた3個所でボルト70…によりキャリパボディ27に締結されるものであるので、モータケース56は、キャリパボディ27に対して180度ずつ回動した位置でボルト70…によりキャリパボディ27に取付け可能となるはずである。しかるにカプラ部58aがブラシホルダ58から側方に突出されるので、車輪の軸線まわりでのカプラ部58aの位置が一定であることが要求されるものであり、モータケース56は、前記カプラ部58aが車輪の軸線まわりに正しい位置にあるようにして前記キャリパボディ27に対する周方向相対位置が正規位置にある状態でキャリパボディ27に取付けられることが要求される。
しかも一方の組の前記突起138,138は、キャリパボディ27に設けられたシリンダ孔33の直径線Lに関して対称となる位置で対をなすようにして前記キャリパボディ27に突設され、他方の組の前記突起139,139は、前記シリンダ孔33の直径線に関して対称となる位置、この実施例では前記突起138…とは反対側で前記直径線Lに関して対称となる位置で対をなすようにして前記キャリパボディ27に突設される。
而して左右一方の車輪において、図5の実線で示す位置にカプラ部58aが配置されている状態が、モータケース56のキャリパボディ27に対する周方向相対位置が正規位置である状態であるとすると、前記カプラ部58aが鎖線で示す位置となるようにモータケース56のキャリパボディ27に対する周方向相対位置が正規位置からずれた位置となったときには、一方の組の突起138…の一方、もしくは他方の組の突起139…の一方が前記カプラ部58aと干渉することでモータケース56のキャリパボディ27への締結が不能となる。
また左右他方の車輪にあっては、モータケース56のキャリパボディ27に対する周方向相対位置が正規位置からずれた位置となったときには、一方の組の突起138…の他方、もしくは他方の組の突起139…の他方が前記カプラ部58aと干渉することでモータケース56のキャリパボディ27への締結が不能となる。
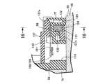
図18において、減速機構45は、モータケース56の一部を構成する蓋板59と、該蓋板59の外周に電動モータ25とは反対側からフランジ部69aを当接させるカップ状のケース部材69とから成るケース68に収容されており、蓋板59およびケース部材69間には環状のシール部材140が介装される。
減速機構45は、波動歯車機構であり、電動モータ25のモータ軸60に相対回転不能に連結される楕円状カム141の外周に第3ボールベアリング142が装着されて成る波動発生器143と、外周に多数の歯145…が設けられて第3ボールベアリング142の外輪に装着される弾性リングギヤ144と、前記ケース68に固定されるとともに前記弾性リングギヤ144の軸方向一方の半部の歯145…に噛合する歯147…を内周に有する固定側リングギヤ146と、前記弾性リングギヤ144の軸方向他方の半部の歯145…に噛合する歯149…を内周に有する出力側リングギヤ148と、該出力側リングギヤ148に結合される出力側回転部材150とを有してケース68内に収容される。しかも固定側リングギヤ146の内周の歯147…の歯数は弾性リングギヤ144の外周の歯145…の歯数と同一であり、出力側リングギヤ148の内周の歯149…の歯数は、弾性リングギヤ144の外周の歯145…の歯数よりも2個多く設定される。
ところで前記モータ軸60の減速機構45側の端部は、ケース68における蓋板59の第2軸受ハウジング66に第2ボールベアリング64を介して支承されるようにしてケース68内に突入されるものであり、前記第2ボールベアリング64の内輪に一端側を当接させる前記楕円状カム141には、前記モータ軸60の端部に設けられる嵌合軸部60aを嵌合せしめる連結孔151が設けられ、前記モータ軸60に対する前記楕円状カム141の相対回転を不能とするために、前記嵌合軸部60aおよび前記連結孔151は横断面形状が非円形となるように形成される。
また前記モータ軸60には、前記楕円状カム141から出力側回転部材150側に突出する小径軸部60bが同軸に設けられており、この小径軸部60bには、前記第2ボールベアリング64とは反対側から前記楕円状カム141に当接、係合する止め部材であるプッシュナット152が装着される。すなわちモータ軸60に対する楕円状カム141の軸方向移動は前記第2ボールベアリング64およびプッシュナット152で規制されることになる。
また前記減速機構45の一部を構成する少なくとも1つの静止部材、この実施例では固定側リングギヤ146を、第2ボールベアリング64に対して同軸に位置決めする位置決め部が前記蓋板59に設けられるものであり、この実施例では、第2ボールベアリング64の外輪を嵌入せしめるようにして蓋板59に設けられている円筒状の第2軸受ハウジング66と同軸である位置決め部としての嵌合凹部153が、固定側リングギヤ146の外周を嵌合せしめるようにして蓋板59に設けられ、前記嵌合凹部153に嵌合された状態の固定側リングギヤ146が複数のボルト154…で前記蓋板59に固定される。
出力側リングギヤ148は、出力側回転部材150に複数のボルト155…で締結される。また出力側回転部材150は、ケース68におけるケース部材69の中央部に設けられる円筒状の第3軸受ハウジング156に第4ボールベアリング157を介して回転自在に支承される。この出力側回転部材150には、前記運動変換機構46における回転軸47の前記減速機構45側の端部に非円形の横断面形状を有して設けられる連結嵌合部47aを相対回転不能に嵌合せしめる連結凹部158が設けられる。而して出力側回転部材150は前記回転軸47に相対回転不能に連結されることになり、減速機構45で減速された回転動力が回転軸47に伝達されることになる。
次にこの実施例の作用について説明すると、キャリパボディ27には、ブレーキピストン38を摺動自在に嵌合せしめるシリンダ孔33と、ブレーキピストン38との間に液圧室37を形成する隔壁35とが設けられ、運動変換機構46の一部を構成する回転軸47を回転自在に貫通せしめる貫通孔36が前記隔壁35に設けられ、前記隔壁35の液圧室37に臨む面および前記回転軸47間にスラスト軸受51が介装され、貫通孔36の内周および回転軸47の外周間にはOリング50が介装されており、液圧室37への液圧作用後の液圧解放時にOリング50に生じるロールバックによって前記回転軸47には、電動モータ25とは反対側へのスラスト力が作用するのであるが、前記スラスト力以上の弾発力を発揮する皿ばね54が、回転軸47を電動モータ25側に付勢するようにしてキャリパボディ27の前記隔壁35および回転軸47間に介設されている。
したがって液圧室37の液圧解放後にOリング50にロールバックが生じて回転軸47に電動モータ25とは反対側に向けてのスラスト力が作用したとしても、回転軸47が軸方向に移動することはなく、したがってスラスト軸受51の摺動面に隙間が生じることが防止され、回転軸47の円滑な回転が保証される。
電動モータ25のモータケース56の少なくとも一部は、減速機構45を収容するケース68とは反対側からモータケース56に当接するフランジ部80bを有する合成樹脂製のモータカバー80で覆われており、このモータカバー80に、モータケース56および前記ケース68を貫通する複数の連結脚部81…の基端が一体に設けられ、それらの連結脚部81…の先端部が前記ケース68におけるケース部材69のフランジ部69aに係合、固定される。
したがって電動モータ25に減速機構45を連結するようにしてモータケース56に減速機構45のケース68を当接させた状態で、モータカバー80のフランジ部80bをモータケース56に当接させつつ複数の連結脚部81…がモータケース56および前記ケース68を貫通するようにし、各連結脚部81…の先端をケース68に係合、固定することで、モータカバー80、電動モータ25および減速機構45を小組してユニット化することができ、電動モータ25のモータケース56をキャリパボディ27に締結することで、モータカバー80、電動モータ25および減速機構45をキャリパボディ27に組付けることができ、モータカバー、電動モータおよび減速機構を個別にキャリパボディに組付けるものに比べて、組付けのための部品点数を少なくするとともに、組付け工数を少なくして組付け性を高めることができる。しかも各連結脚部81…でモータケース56および減速機構45のケース68を軸方向にくし刺しにすることで、モータカバー80、電動モータ25および減速機構45の同軸管理が容易となる。
またモータケース──が、該モータケース56に当接、係合する拡径頭部70aを有する複数のボルト70…でキャリパボディ27に取付けられており、モータケース56の少なくとも一部を覆うとともに前記拡径頭部70a…の周囲の全周でモータケース56に密接するモータカバー80に、各ボルト70…を挿通可能であるとともにそれらのボルト70…の拡径頭部70a…をそれぞれ囲繞する筒部83…が設けられ、弾性材料から成るとともに各筒部83…の先端部を液密に塞ぐキャップ84…が、着脱可能として各筒部83…の先端部に嵌合されるので、各ボルト70…の拡径頭部70a…が液密にモータカバー80およびキャップ84…で覆われることになり、拡径頭部70a…が錆びることを防止することができるとともに、モータケース56に設けられる挿通孔71…,72…,73…およびボルト70…の芯ずれが生じても、ボルト70…およびモータケース56間を確実にシールすることができる。
またキャップ84…には、該キャップ84…を前記筒部83…に嵌合した状態で該筒部83…の外方に位置するつまみ部84a…が一体に設けられるので、つまみ部84aをつまんで引っ張ることによってキャップ84を筒部83から容易に離脱させることができ、メンテナンス作業が容易となる。
しかも前記つまみ部84aは筒部83の先端部を外方から挟み込む形状に形成されるので、つまみ部84aをつかみ易くすることができるとともに、キャップ84を筒部83に嵌合した状態でもつまみ部84aの外観性を高めることができる。
ところでキャリパボディ27およびモータケース56の対向面間には、電動モータ25の軸線に沿う方向に長い長方形の横断面形状を有する環状のシール部材86が介装されるので、キャリパボディ27およびモータケース56の対向面間の間隔の寸法誤差および組付け誤差を吸収するようにして、前記キャリパボディ27および前記モータケース56間をシールすることができる。
しかも前記シール部材86は、その内側方に撓むことを規制されつつキャリパボディ27およびモータケース56の対向面間に介装され、そのシール部材86に外側方から対向する規制面87a,88aを有する環状の規制部87,88が相互に近接する側に延びるようにしてキャリパボディ27およびモータケース56の前記対向面にそれぞれ突設され、両規制面87a,88aは、前記両規制部87,88の先端側に向かうにつれて前記シール部材86から離反するように傾斜したテーパ面として形成されているので、シール部材86が外側方に凸に変形したときには前記規制面87a,88aに当接することになり、シール性の低下を防止することができる。
前記電動モータ25が備えるブラシホルダ58には、モータ軸60に設けられるアーマチュア62が有するコンミテータ61に摺接する複数のブラシ90…が保持されており、それらのブラシ90…にそれぞれ連なるプラス側およびマイナス側給電線92,93;94,95を接続せしめるプラス側およびマイナス側内部給電端子96,97と、電動モータ25の回転角を検出する回転角検出センサ98とがブラシホルダ58に配設されるのであるが、回転角検出センサ98がアーマチュア62に関して前記プラス側およびマイナス側内部給電端子96,97とは反対側でブラシホルダ58に配設されるので、各ブラシ90…に連なるプラス側およびマイナス側給電線92,93;94,95を回転角検出センサ98が邪魔になることがないようにしてプラス側およびマイナス側内部給電端子96,97に容易に接続することができ、また回転角検出センサ98を、プラス側およびマイナス側内部給電端子96,97が設けられていない広いスペースに容易に組付けることが可能であり、プラス側およびマイナス側内部給電端子96,97へのプラス側およびマイナス側給電線92,93;94,95の接続作業を容易とするとともに、回転角検出センサ98のブラシホルダ58への組付け性を高めることができる。
また前記電動モータ25には、前記ブラシ90…に接続されるプラス側およびマイナス側外部給電端子104,105、ならびに前記回転角検出センサ98に接続されるセンサ用プラス側およびマイナス側外部端子106,107とは別に、モータケース56の一部を構成するヨーク57を車体Bに電気的に接続するためのノイズ対策用端子117が設けられており、モータケース56のヨーク57を、車体Bに電気的に接続してアースさせるだけの簡単な構成により、ヨーク57がシールド効果を発揮することになり、ラジオノイズの発生を抑制することができる。
しかもノイズ対策用端子117を一端に形成するリードフレーム103が合成樹脂から成るブラシホルダ58内に埋設され、そのリードフレーム103の一部を臨ませて前記ブラシホルダ58に設けられる収容孔118に、導電性を有するコイルばね119が、その一端を前記リードフレーム103に当接せしめるとともに他端をヨーク57に当接せしめるようにして収容されるので、ヨーク57およびブラシホルダ58の組付け時に溶接等の特別な電気的接続作業をすることを不要として、ヨーク57およびノイズ対策用端子117の電気的接続を確実なものとすることができる。
またプラス側およびマイナス側外部給電端子104,105と、センサ用プラス側およびマイナス側外部端子106,107と、ノイズ対策用端子117とが共通に配置されるカプラ部58aが、前記ブラシホルダ58に一体に設けられるので、プラス側およびマイナス側外部給電端子104,105へのプラス側およびマイナス側外部電源線111,112の電気的接続、センサ用プラス側およびマイナス側外部端子106,107へのセンサ用プラス側およびマイナス側外部導線112,113の電気的接続、ならびにノイズ対策用端子117の車体Bへの電気的接続を同時に行うことができ、電気的接続作業が容易となる。
前記回転角検出センサ98が備えるホールIC122は、モータ軸60に設けられるパルサー125の外側方に位置するようにして電動モータ25内に配置され、電動モータ25のモータケース56と、該モータケース56に着脱可能に取付けられる合成樹脂製のセンサカバー127とで保持されるものであり、ホールIC122が電動モータ25内に配置されることによってホールIC122のための専用の防水シール対策が不要となり、ホールIC122をモータケース56に取り付けるのに必要な部品はセンサカバー127だけであるので部品点数を低減することができる。
またモータケース56の一部を構成するブラシホルダ58とセンサカバー127とでホールIC122が保持され、該ホールIC122へのセンサ用プラス側およびマイナス側内部端子108,109の接続部がセンサカバー127で覆われるので、ブラシホルダ58に保持されているブラシ90…のコンミテータ61への摺接によって発生する摩耗粉が、ホールIC122への前記センサ用プラス側およびマイナス側内部端子108,109の接続部に影響を及ぼして電気的短絡が生じるのを防止することができる。
しかもホールIC122に近接して配置されるマグネット124が、ブラシホルダ58およびセンサカバー127間に保持されるので、マグネット124をブラシホルダ58側に配設するための専用部品が不要であり、部品点数を低減することができる。
ところでモータケース56の一部を構成するヨーク57は半径方向外方に張り出すフランジ部57bを開口端に有して有底円筒状に形成され、該ヨーク57のフランジ部57bと、該フランジ部57bおよびキャリパボディ27間に挟まれるブラシホルダ58の外周部とが、周方向複数の締結個所たとえば3個所でキャリパボディ27に締結されており、ブラシホルダ58には、ヨーク57のフランジ部57bならびにキャリパボディ27におけるハウジング部27aの外周よりも外側方に突出する突部135…が、電動モータ25をキャリパボディ27から取り外す際に指をかけることを可能として一体に突設されている。したがって電動モータ25をキャリパボディ27から取り外す際には、ブラシホルダ58に一体に設けられた突部135…に指をかけてキャリパボディ27とは反対側に向けての力を作用せしめればよく、ブラシホルダ58はヨーク57およびキャリパボディ27間に挟まれるものであるので、ブラシホルダ58がヨーク57から離脱することがないようにして電動モータ25をキャリパボディ27から取り外すことができる。
また前記突部135…は、ブラシホルダ58に一体に設けられている前記カプラ部58aとは反対側で外側方に突出するものであるので、突部135…に指をかけるのにカプラ部58aが邪魔にならないようにして、電動モータ25のキャリパボディ27からの取り外しを容易とすることができる。
またボルト70…による複数の締結個所でブラシホルダ58には、ボルト70…を挿通せしめる金属から成る円筒状のカラー74…がそれぞれ埋設され、それらのカラー74…の1つを周方向両側から挟むようにして一対の前記突部135…が前記ブラシホルダ58に一体に突設されるので、電動モータ25をキャリパボディ27から取り外す際に、ブラシホルダ58にかかる力を2個所に分散することができ、しかも両突部135…で挟まれる位置でブラシホルダ58に金属製のカラー74が埋設されるので、突部135…にかかる力に対応してブラシホルダ58を前記カラー74で補強することができる。
さらにカラー74…が埋設される部分に対応してブラシホルダ58の外周の前記両突部135…間を含む複数個所には、凹部136が形成されるとともに、該凹部136内に複数ずつ配置されるリブ137…が一体に設けられるので、カラー74…を埋設するようにしてブラシホルダ58を型成形する際にカラー74…の存在に起因して引けが生じることを回避することができ、しかも両突部135…間の凹部136には突部135…に指をかける際に指が入り易く、凹部136に入った指でヨーク57側だけに取り外し方向の力がかかってしまう可能性があるが、凹部136…に複数ずつのリブ137…が配置されるので凹部136内に指が入ってしまうことを防止し、突部135…だけに指がかかるようにして、より確実にブラシホルダ58ごと電動モータ25をキャリパボディ27から取り外すことができる。
また前記キャリパボディ27のハウジング部27aには、前記モータケース56のキャリパボディ27に対する周方向相対位置が正規位置からずれた状態のモータケース56をキャリパボディ27に取付けようとするときには、ブラシホルダ58から外側方に突出するカプラ部58aに干渉する突起138…,139…が突設されるので、キャリパボディ27に対するモータケース56の周方向相対位置が正規位置からずれた状態では、モータケース56の外周から突出するカプラ部58aに前記突起138…,139…が干渉するので、キャリパボディ27に対するカプラ部58aの相対位置を誰が組付けても必ず正規位置となるようにして誤組が生じることを確実に防止することができる。すなわちモータケース56がシリンダ孔33の周方向に等間隔に設定された複数の締結個所でキャリパボディ27に締結されるので、モータケース56をキャリパボディ27に取付ける際に、キャリパボディ27へのモータケース56の取付け姿勢を締結個所の個数だけ変化させ得るのであるが、前記モータケース56のキャリパボディ27に対する周方向相対位置が正規位置からずれた状態では、前記カプラ部58aに干渉する突起138…,139が干渉することで誤組が生じることを確実に防止することができる。
しかも前記突起138…,139…が、シリンダ孔33の直径線Lに関して対称となる位置で対をなすようにしてキャリパボディ27に突設されるので、キャリパボディ27および電動モータ25を左右の車輪に共通に用いることができ、キャリパボディ27を型成形する際の型を左右車輪毎に個別に作る必要がなく、コスト低減を図ることができる。
電動モータ25の回転動力を減速するようにして電動モータ25と同軸に配置される減速機構45は、電動モータ25のモータ軸60に相対回転不能に連結される楕円状カム141の外周に第3ボールベアリング142が装着されて成る波動発生器143と、外周に複数の歯145…が設けられて第3ボールベアリング142の外輪に装着される弾性リングギヤ144と、該弾性リングギヤ144の軸方向一方の半部の歯145…に噛合する歯147…を内周に有する固定側リングギヤ146と、前記弾性リングギヤの軸方向他方の半部の歯145…に噛合する歯149…を内周に有する出力側リングギヤ148と、該出力側リングギヤ148に結合される出力側回転部材150とを有する波動歯車機構であり、モータ軸60の減速機構45側の端部は、減速機構45を収容するケース68の蓋板59に第2ボールベアリング64を介して回転自在に支承され、一端を第2ボールベアリング64の内輪に当接せしめる楕円状カム141には、モータ軸60を相対回転不能に嵌合、貫通せしめる連結孔151が設けられ、第2ボールベアリング64とは反対側から楕円状カム141に係合するプッシュナット152がモータ軸60にに装着される。
したがって楕円状カム141は、モータ軸60が相対回転不能に嵌合されることでモータ軸60とともに回転することになり、しかも楕円状カム141のモータ軸60に対する軸方向相対移動は、減速機構45を収容するケース68の蓋板59およびモータ軸60間に介装される第2ボールベアリング64と、モータ軸60に装着されるプッシュナット152とで規制されることになり、楕円状カム141の軸方向移動を規制するために出力側回転部材150および楕円状カム141間に介設されるボールベアリングに代えてプッシュナット152を用いるのでコスト低減を図ることができ、またプッシュナット152で必要とされる軸方向長さは短くてすむので減速機構45の軸方向長さを短縮して小型化を図ることができる。
ところでモータケース56は、第1ボールベアリング63を介してモータ軸60の一端部を回転自在に支承する端壁57aを一端に有して有底筒状に形成されるヨーク57と、第2ボールベアリング64を介してモータ軸60の他端側を回転自在に支承するとともに前記ヨーク57の他端側に取付けられる蓋板59とを有しており、減速機構45の一部を構成する少なくとも1つの静止部材である固定側リングギヤ146を嵌合することで固定側リングギヤ146を第2ボールベアリング64に対して同軸に位置決めする嵌合凹部153が蓋板59に設けられ、その嵌合凹部153で位置決めされた前記固定側リングギヤ146が蓋板59に固定されるので、同軸度を高めつつ減速機構45を電動モータ25側に組付けることが可能であり、同軸管理を容易として同軸度を高めて作動音の発生を防止することができ、また蓋板59を減速機構45のケース68の一部として共用することができるので、減速機構45および電動モータ25の連結時の軸方向長さを短縮して小型化を図ることができる。
以上、本発明の実施例を説明したが、本発明は上記実施例に限定されるものではなく、特許請求の範囲に記載された本発明を逸脱することなく種々の設計変更を行うことが可能である。
車両用ディスクブレーキの斜視図である。 図1の2−2線に沿う断面図である。 図2の3矢視図である。 図2の4−4線断面図である。 図1の5矢視図である。 図5の6−6線断面図である。 モータカバーを省略した状態での図6の7矢視図である。 モータカバーの斜視図である。 キャリパボディを省略した状態での図6の9−9線矢視図である。 図2の10矢示部拡大図である。 モータカバーを省略した状態でブラシホルダを図7と同一方向から見た図である。 ブラシおよびセンサカバーを省略した状態でブラシホルダを図11と同一方向から見た図である。 ブラシホルダ内でのリードフレームの埋設状態を示すための図11と同一方向から見た図である。 電動モータの電気的接続状態を示す図である。 図11の15−15線拡大断面図である。 図15の16−16線断面図である。 センサカバーの斜視図である。 図2の減速機構を拡大して示す断面図である。
符号の説明
25・・・電動モータ
26・・・ディスクロータ
27・・・キャリパボディ
28,29・・・摩擦パッド
45・・・減速機構
46・・・運動変換機構
56・・・モータケース
60・・・モータ軸
64,142・・・ボールベアリング
68・・・ケース
141・・・楕円状カム
143・・・波動発生器
144・・・弾性リングギヤ
145,147,149・・・歯
146・・・固定側リングギヤ
148・・・出力側リングギヤ
150・・・出力側回転部材
151・・・連結孔
152・・・止め部材であるプッシュナット

Claims (2)

  1. モータケース(56)がキャリパボディ(27)に取付けられる電動モータ(25)と、該電動モータ(25)のモータ軸(60)に相対回転不能に連結される楕円状カム(141)を有するとともに前記電動モータ(25)の回転動力を減速するようにして前記電動モータ(25)と同軸に配置される減速機構(45)と、摩擦パッド(28,29)をディスクロータ(26)側に押圧可能とすべく前記減速機構(45)の回転動力を軸方向進退作動力に変換する運動変換機構(46)とを備える車両用ディスクブレーキにおいて、前記モータ軸(60)の前記減速機構(45)側の端部は、前記減速機構(45)を収容するケース(68)に他のボールベアリング(64)を介して回転自在に支承され、一端を前記他のボールベアリング(64)の内輪に当接せしめる前記楕円状カム(141)には、前記モータ軸(60)を相対回転不能に嵌合、貫通せしめる連結孔(151)が設けられ、前記他のボールベアリング(64)とは反対側から前記楕円状カム(141)に係合する止め部材(152)が前記モータ軸(60)に装着されることを特徴とする車両用ディスクブレーキ。
  2. 前記減速機構(45)が、前記楕円状カム(141)の外周にボールベアリング(142)が装着されて成る波動発生器(143)と、外周に複数の歯(145)が設けられて前記ボールベアリング(142)の外輪に装着される弾性リングギヤ(144)と、該弾性リングギヤ(144)の軸方向一方の半部の歯(145)に噛合する歯(147)を内周に有する固定側リングギヤ(146)と、前記弾性リングギヤ(144)の軸方向他方の半部の歯(145)に噛合する歯(149)を内周に有する出力側リングギヤ(148)と、該出力側リングギヤ(148)に結合される出力側回転部材(150)とを有する波動歯車機構であることを特徴とする請求項1記載の車両用ディスクブレーキ。
JP2007081487A 2007-03-27 2007-03-27 車両用ディスクブレーキ Expired - Fee Related JP4767891B2 (ja)

Priority Applications (1)

Application Number Priority Date Filing Date Title
JP2007081487A JP4767891B2 (ja) 2007-03-27 2007-03-27 車両用ディスクブレーキ

Applications Claiming Priority (1)

Application Number Priority Date Filing Date Title
JP2007081487A JP4767891B2 (ja) 2007-03-27 2007-03-27 車両用ディスクブレーキ

Publications (2)

Publication Number Publication Date
JP2008240874A true JP2008240874A (ja) 2008-10-09
JP4767891B2 JP4767891B2 (ja) 2011-09-07

Family

ID=39912476

Family Applications (1)

Application Number Title Priority Date Filing Date
JP2007081487A Expired - Fee Related JP4767891B2 (ja) 2007-03-27 2007-03-27 車両用ディスクブレーキ

Country Status (1)

Country Link
JP (1) JP4767891B2 (ja)

Cited By (3)

* Cited by examiner, † Cited by third party
Publication number Priority date Publication date Assignee Title
JP2014092165A (ja) * 2012-10-31 2014-05-19 Hitachi Automotive Systems Ltd ディスクブレーキ
KR20150080924A (ko) 2013-09-11 2015-07-10 가부시키가이샤 하모닉 드라이브 시스템즈 파동 발생기 및 파동 기어 장치
US20230080487A1 (en) * 2020-02-04 2023-03-16 Hitachi Astemo, Ltd. Disc brake

Citations (2)

* Cited by examiner, † Cited by third party
Publication number Priority date Publication date Assignee Title
JPH05248502A (ja) * 1992-03-03 1993-09-24 Topcon Corp 粗微動装置
JP2007040459A (ja) * 2005-08-04 2007-02-15 Nissin Kogyo Co Ltd 車両用ディスクブレーキ

Patent Citations (2)

* Cited by examiner, † Cited by third party
Publication number Priority date Publication date Assignee Title
JPH05248502A (ja) * 1992-03-03 1993-09-24 Topcon Corp 粗微動装置
JP2007040459A (ja) * 2005-08-04 2007-02-15 Nissin Kogyo Co Ltd 車両用ディスクブレーキ

Cited By (6)

* Cited by examiner, † Cited by third party
Publication number Priority date Publication date Assignee Title
JP2014092165A (ja) * 2012-10-31 2014-05-19 Hitachi Automotive Systems Ltd ディスクブレーキ
KR20150080924A (ko) 2013-09-11 2015-07-10 가부시키가이샤 하모닉 드라이브 시스템즈 파동 발생기 및 파동 기어 장치
JP5968528B2 (ja) * 2013-09-11 2016-08-10 株式会社ハーモニック・ドライブ・システムズ 波動発生器および波動歯車装置
US9709151B2 (en) 2013-09-11 2017-07-18 Harmonic Drive Systems Inc. Wave generator and strain wave gearing
US20230080487A1 (en) * 2020-02-04 2023-03-16 Hitachi Astemo, Ltd. Disc brake
US12397767B2 (en) * 2020-02-04 2025-08-26 Hitachi Astemo, Ltd. Disc brake

Also Published As

Publication number Publication date
JP4767891B2 (ja) 2011-09-07

Similar Documents

Publication Publication Date Title
JP4474433B2 (ja) 車両用ディスクブレーキ
JP4474432B2 (ja) 車両用ディスクブレーキ
US7607520B2 (en) Electric disk brake for vehicle
US7942247B2 (en) Vehicle disc brake
WO2011108450A1 (ja) 車両用電動ブレーキ装置
JP4732062B2 (ja) 車両用ディスクブレーキ
JP4767891B2 (ja) 車両用ディスクブレーキ
JP4767892B2 (ja) 車両用ディスクブレーキ
JP4792420B2 (ja) 車両用ディスクブレーキ
JP4657236B2 (ja) 車両用ディスクブレーキ
JP4648350B2 (ja) 車両用ディスクブレーキ
JP4711991B2 (ja) 車両用ディスクブレーキ
JP4648349B2 (ja) 車両用ディスクブレーキ
JP4657235B2 (ja) 車両用ディスクブレーキ
JP4767890B2 (ja) 車両用ディスクブレーキ
JP4608389B2 (ja) 車両用電動ディスクブレーキ
JP2011179657A (ja) 車両用電動ブレーキ装置
JP4608387B2 (ja) 車両用電動ディスクブレーキ
JP4602188B2 (ja) 車両用電動ディスクブレーキ
JP4608388B2 (ja) 車両用電動ディスクブレーキ
JP2007040467A (ja) 車両用ディスクブレーキ
JP2011179656A (ja) 車両用電動ブレーキ装置
JP2007040465A (ja) 車両用電動ディスクブレーキ
JP2011179651A (ja) 車両用電動ブレーキ装置

Legal Events

Date Code Title Description
A621 Written request for application examination

Free format text: JAPANESE INTERMEDIATE CODE: A621

Effective date: 20090824

A131 Notification of reasons for refusal

Free format text: JAPANESE INTERMEDIATE CODE: A131

Effective date: 20100908

A977 Report on retrieval

Free format text: JAPANESE INTERMEDIATE CODE: A971007

Effective date: 20100909

A521 Written amendment

Free format text: JAPANESE INTERMEDIATE CODE: A523

Effective date: 20101108

A01 Written decision to grant a patent or to grant a registration (utility model)

Free format text: JAPANESE INTERMEDIATE CODE: A01

Effective date: 20110608

A01 Written decision to grant a patent or to grant a registration (utility model)

Free format text: JAPANESE INTERMEDIATE CODE: A01

A61 First payment of annual fees (during grant procedure)

Free format text: JAPANESE INTERMEDIATE CODE: A61

Effective date: 20110615

R150 Certificate of patent (=grant) or registration of utility model

Free format text: JAPANESE INTERMEDIATE CODE: R150

FPAY Renewal fee payment (prs date is renewal date of database)

Free format text: PAYMENT UNTIL: 20140624

Year of fee payment: 3

R250 Receipt of annual fees

Free format text: JAPANESE INTERMEDIATE CODE: R250

LAPS Cancellation because of no payment of annual fees