JP2007335231A - コネクタの吸着カバー及び吸着カバーを有するコネクタ - Google Patents
コネクタの吸着カバー及び吸着カバーを有するコネクタ Download PDFInfo
- Publication number
- JP2007335231A JP2007335231A JP2006165843A JP2006165843A JP2007335231A JP 2007335231 A JP2007335231 A JP 2007335231A JP 2006165843 A JP2006165843 A JP 2006165843A JP 2006165843 A JP2006165843 A JP 2006165843A JP 2007335231 A JP2007335231 A JP 2007335231A
- Authority
- JP
- Japan
- Prior art keywords
- side walls
- insulator
- suction cover
- connector
- suction
- Prior art date
- Legal status (The legal status is an assumption and is not a legal conclusion. Google has not performed a legal analysis and makes no representation as to the accuracy of the status listed.)
- Pending
Links
- 230000000274 adsorptive effect Effects 0.000 title abstract 4
- 239000012212 insulator Substances 0.000 claims abstract description 66
- 238000001179 sorption measurement Methods 0.000 abstract 4
- 230000037431 insertion Effects 0.000 description 10
- 238000003780 insertion Methods 0.000 description 10
- 239000000758 substrate Substances 0.000 description 9
- 238000005476 soldering Methods 0.000 description 7
- 239000000463 material Substances 0.000 description 5
- 239000002184 metal Substances 0.000 description 5
- 229910052751 metal Inorganic materials 0.000 description 5
- 230000000694 effects Effects 0.000 description 4
- 230000001105 regulatory effect Effects 0.000 description 4
- 229920003002 synthetic resin Polymers 0.000 description 4
- 239000000057 synthetic resin Substances 0.000 description 4
- 229920005989 resin Polymers 0.000 description 3
- 239000011347 resin Substances 0.000 description 3
- 239000000126 substance Substances 0.000 description 3
- RYGMFSIKBFXOCR-UHFFFAOYSA-N Copper Chemical compound [Cu] RYGMFSIKBFXOCR-UHFFFAOYSA-N 0.000 description 2
- 229910052802 copper Inorganic materials 0.000 description 2
- 239000010949 copper Substances 0.000 description 2
- 238000000354 decomposition reaction Methods 0.000 description 2
- 239000011248 coating agent Substances 0.000 description 1
- 238000000576 coating method Methods 0.000 description 1
- 238000007689 inspection Methods 0.000 description 1
- 230000002265 prevention Effects 0.000 description 1
- 230000002250 progressing effect Effects 0.000 description 1
- 230000035939 shock Effects 0.000 description 1
- 230000009466 transformation Effects 0.000 description 1
Images
Landscapes
- Coupling Device And Connection With Printed Circuit (AREA)
Abstract
【課題】 矩形の底壁と、この底壁から立ち上げた左右側壁及び前後側壁と、これらの側壁の間に位置する凹部とを有するインシュレータ、及びこのインシュレータの左右側壁にそれぞれ列状に支持されたコンタクトを有するコネクタに対する装着作業性に優れた吸着カバー、あるいは装着容易な吸着カバーを備えたコネクタを得る。
【解決手段】 インシュレータの左右側壁上に渡る吸着面部と、この吸着面部から左右側壁に沿って延びて該インシュレータに着脱自在に係止される係止脚と、吸着面部から左右側壁の間に延びて上記凹部底壁に臨む一対の内部腕とを備えている。
【選択図】図1
【解決手段】 インシュレータの左右側壁上に渡る吸着面部と、この吸着面部から左右側壁に沿って延びて該インシュレータに着脱自在に係止される係止脚と、吸着面部から左右側壁の間に延びて上記凹部底壁に臨む一対の内部腕とを備えている。
【選択図】図1
Description
本発明は、ボードツーボード(BOARD TO BOARD)タイプのコネクタ装置を構成するコネクタ(リセコネクタとプラグコネクタ)の吸着カバー、及び吸着カバーを備えたコネクタ(リセコネクタとプラグコネクタ)に関する。
ボードツーボードタイプのコネクタ装置は、一対の基板(BOARD、FPCを含む)にそれぞれ、リセコネクタと、このリセコネクタと嵌合関係となるプラグコネクタとを固定してなっている。このコネクタ装置では、各コネクタ(リセコネクタとプラグコネクタ)を基板に実装するため、各コネクタに予め吸着カバーを装着しておき、これをマウンタで吸着して基板上に搬送し、各コンタクトを基板上の端子に半田付け(リフロー)している。
このような目的で使用される吸着カバーは従来、単にコネクタの所定の位置に弾性を有する係止片のみで被着されていた。
登録実用新案第3025323号公報
この種のコネクタ装置は、コンタクトの小型化と狭ピッチ化、全体の小型化と低背化が極限迄進行している。このため、コネクタに吸着カバーを装着する作業性が悪化している。また、小型であるため、正しい位置に装着することが非常に困難であった。さらに、装着後の振動や衝撃が加わった場合に吸着カバーがズレたり、特に回転方向の場合は外れ易かった。
本発明は、コネクタに対する装着作業性に優れるとともにズレ難い吸着カバー、あるいは装着容易でズレ難い吸着カバーを備えたコネクタを得ることを目的とする。
また本発明は、コネクタを基板に実装する際、吸着カバーによってコネクタの変形を防止できる装置を得ることを目的とする。
また本発明は、コネクタを基板に実装する際、吸着カバーによってコネクタの変形を防止できる装置を得ることを目的とする。
本発明は、矩形の底壁と、この底壁から立ち上げた左右側壁及び前後側壁と、これらの側壁の間に位置する凹部とを有するインシュレータ、及びこのインシュレータの上記左右側壁にそれぞれ列状に支持されたコンタクトを有するコネクタに結合される吸着カバーにおいて、インシュレータの左右側壁上に渡る吸着面部と、この吸着面部から上記左右側壁に沿って延びて該インシュレータに着脱自在に係止される係止脚と、上記吸着面部から上記左右側壁の間に延びて上記凹部底壁に臨む一対の内部腕とを有することを特徴としている。係止脚は、左右側壁の外面に沿う外面係止脚でも内面に沿う内面係止脚でもよい。
この吸着カバーの一対の内部腕は、インシュレータの前後側壁の内側に沿って該吸着カバーの前後方向の位置決めをすることが好ましい。また、同じ一対の内部腕によって、インシュレータの左右側壁の内側にも同時に沿って該吸着カバーの左右方向の位置決めをさせることもできる。
内部腕のインシュレータ凹部底壁との接触部は平面とすることが望ましい。
本発明の吸着カバーは、金属、合成樹脂材料のいずれから形成してもよいが、特に金属製のときには、吸着カバーの内部腕がインシュレータの凹部底壁に当接するとき、その吸着面部裏面は、インシュレータの左右側壁上端部に当接しないようにすることが望ましい。つまり、吸着カバーの挿入端を吸着カバーの内部腕がインシュレータの凹部底壁に当接する位置で規制する態様である。
あるいは、逆に、吸着カバーの吸着面部裏面は、インシュレータの左右側壁に当接し、このとき吸着カバーの内部腕とインシュレータの凹部底壁との間にはクリアランスが形成されるようにしてもよい。つまり、吸着カバーの挿入端を吸着カバーの吸着面部裏面とインシュレータの左右側壁の上端部とが当接する位置で規制する態様である。
本発明は、吸着カバーの態様だけでなく、吸着カバーを装着したコネクタにも及ぶ。
本発明は、プラグコネクタ、リセ(リセプタクル)コネクタのいずれにも適用可能である。
本発明によれば、吸着カバーのコネクタに対する装着作業性を高めることができる。また吸着カバーの内部腕によって、振動や衝撃等の外乱が加わったとしてもズレ難くすることができるとともにコネクタを基板に実装する際の該コネクタの変形を防止し、装着(半田付け)信頼性を高めることができる。
図1ないし図6は、本発明をプラグコネクタに適用した第一の実施形態を示している。
プラグコネクタ10は、合成樹脂材料(耐熱絶縁樹脂材料)からなるプラグインシュレータ11と、このプラグインシュレータ11に支持された金属(銅)製のプラグコンタクト12とを有している。プラグインシュレータ11は矩形の底壁11aと、この底壁11aの各辺から立ち上げた一対の互いに平行な長辺側の左右側壁(挿入壁)11bと、一対の互いに平行な短辺側の前後側壁(挿入壁)11cとを備えており、これらの側壁によって中心部に凹部11dが形成されている。「前後左右」は説明の便宜上のものであり、特定の場所や方向を述べたものではない。
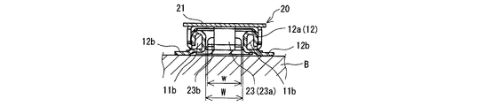
左右側壁11bには、両壁の中心線に関して対称形状のプラグコンタクト12が一定ピッチでインサート成形されている。各プラグコンタクト12は、左右側壁11bの外面と内面に沿う凸U字状導通部12a(図5)と、この凸U字状導通部12aに左右側壁11bの外面で連なる接続脚12bとを有している。プラグインシュレータ11には、プラグコンタクト12とは別に、前後側壁11c部分に位置させてダミーコンタクト13がインサート成形されている。ダミーコンタクト13の半田付け脚13aは、プラグコンタクト12の接続脚12bと並んでいる。接続脚12bと半田付け脚13aは、基板B(図3ないし図5)の端子及びダミー端子(図示せず)に半田付け(リフロー)される。
吸着カバー(プレート)20は、以上のプラグコネクタ10をチップマウンタにより基板B上に搬送し、接続脚12b(と半田付け脚13a)を各端子(とダミー端子)に半田付けする際に使用する。吸着カバー20は、図1及び図6に単体形状を示すように、前後左右の中心線に関し対称な形状をしており、プラグインシュレータ11の凹部11dを覆い(塞ぎ)左右側壁11b上に延びる吸着面部(平面部)21と、この吸着面部21から左右側壁11bの外面に延びる4本の外面係止脚22と、吸着面部21から左右側壁11bの内側(凹部11d)に延びて底壁11aに接触する(臨む)一対の内部腕23Xとを有している。
各外面係止脚22は、吸着面部21と同一平面にあって前後側壁11c側に延びる同一平面脚22aと、この同一平面脚22aの先端から外方に延びた後下方に延びる外面脚22bと、この外面脚22bの下端に内方に向けて曲折形成した係止フック22cとを有している。プラグインシュレータ11の左右側壁11bには、この係止フック22cを掛け止める係止凹部11eが形成されている。
一対の内部腕23Xは、外面係止脚22の対をなす同一平面脚22aの間に延びる同一平面部23cと、この同一平面部23cの先端部を下方へ曲折した下方曲折腕23dと、この下方曲折腕23dの下端部を内方にL字状に曲折した接触腕23eとを備えている。接触腕23eはプラグインシュレータ11の底壁11aと接触するもので平面からなっている。また、この一対の内部腕23の接触腕23bの最大間隔d(図3)は、プラグインシュレータ11の前後側壁11cの内寸D(同)より僅かに小さく、前後側壁11cに沿う。また、この一対の内部腕23Xの最大幅w(図5)は、左右側壁11b(凸U字状導通部12a)の内寸W(同)より僅かに小さい。
上記構成の本吸着カバー20は、基板Bにプラグコネクタ10を実装(半田付け)する前に、図2ないし図5に示すように、該プラグコネクタ10に装着する。すなわち、吸着カバー20の一対の内部腕23をプラグインシュレータ11の凹部11d内に挿入すると、一対の内部腕23が左右側壁11bに沿ってプラグコネクタ10と吸着カバー20の左右方向の平面位置が定まり、一対の内部腕23が前後側壁11cに沿って前後方向の平面位置が定まり、プラグインシュレータ11の係止凹部11eと外面係止脚22の平面位置が合致する。従ってそのまま挿入し続けると、やがて外面係止脚22の係止フック22cが係止凹部11eに係合し、装着作業が終了する(図2)。この装着状態では、吸着カバー20がプラグコネクタ10に対して位置ズレを生じることがなく、特に回転方向に位置ズレが生じることがない。
内部腕23Xの高さ方向の有効長は、この装着終了状態において、吸着面部21の裏面と左右側壁11bの上端部との間に隙間S(図3)が生じるように定められており、吸着面部21とプラグコンタクト12の凸U字状導通部12aとが導通することがない。すなわち、吸着カバー20の挿入端は、該吸着カバー20の内部腕23Xがインシュレータ11の凹部底壁11aに当接する位置で規制されている。なお、隙間Sが極めて小さい場合や、吸着カバー20の裏面とプラグコンタクト12とを当接させる場合(すなわち、吸着カバー20の挿入端を該吸着カバー20の吸着面部21とインシュレータ11の左右側壁11bの上端部と当接する位置で規制する場合)は、吸着カバー20の裏面に樹脂コーティング等の絶縁体を形成して導通を防止することも可能である。
チップマウンタは、図2の状態の吸着カバー20の吸着面部21を吸着し、基板B上の所定位置に搬送する。その搬送状態で、接続脚12b(と半田付け脚13a)を各端子(とダミー端子)に半田付けし、終了後に吸着カバー20をプラグコネクタ10から離脱させる。吸着カバー20を金属から構成した場合にも、吸着面部21の裏面と凸U字状導通部12aとは非接触で導通がないことから、吸着カバー20を装着した状態で電気的検査を実施したとしても問題は生じない。
図7ないし図12は、本発明をプラグコネクタに適用した第二の実施形態を示している。この実施形態は、主に吸着カバー20の一対の内部腕23の形状を第一の実施形態とは異ならせたものである。各内部腕23は、一対の同一平面脚22aの間において下方へ曲折された下方曲折腕23aと、この下方曲折腕23aの下端部を外方にU字状に曲折した接触腕23bとを有している。この接触腕23bのプラグインシュレータ11の底壁11aとの接触面23b’は平面である(図9)。この一対の内部腕23の最大間隔dと最大幅wは、第一の実施形態と同様に、プラグインシュレータ11の前後側壁11cの内寸Dと左右側壁11bの内寸Wより僅かに小さい。この他の構成要素は、実質的に第一の実施形態と同一であるので、共通の構成要素には同一の符号を付している。
この実施形態においても、図7に示す分離状態のプラグコネクタ10と吸着カバー20を図8のように装着し、この吸着カバー20の吸着面部21をチップマウンタで吸着して、第一の実施形態と同様の作用効果を得ることができる。
図13ないし図19は、本発明をリセ(リセプタクル)コネクタに適用した第三の実施形態を示している。リセコネクタ30は、第一の実施形態あるいは第二の実施形態のプラグコネクタと組み合わせて使用されるもので、合成樹脂材料(耐熱絶縁樹脂材料)からなるリセ(リセプタクル)インシュレータ31と、このリセインシュレータ31に支持された金属(銅)製のリセ(リセプタクル)コンタクト32とを有している。リセインシュレータ31は矩形の底壁31aと、この底壁31aの各辺から立ち上げた一対の互いに平行な長辺側の左右側壁31bと、一対の互いに平行な短辺側の前後側壁31cと、これら側壁の中心に位置する平面矩形の中央島部31dとを備えており、これらの側壁と中央島部によって凹部31eが形成されている。
リセインシュレータ31の左右側壁31bから底壁31a及び中央島部31dにかけては、左右側壁31bの中心に関して対称形状のコンタクト収納溝31fが一定ピッチで形成されており、各コンタクト収納溝31fにそれぞれ、左右の側壁31bで対称形状のリセコンタクト32が収納されている。
各リセコンタクト32は、左右の側壁31bで対称形状をしており、該側壁31bの内外面に沿う逆U字状部32aと、側壁31bの外側においてこの逆U字状部32aに連なる基板との接続脚32bと、側壁31bの内側において、逆U字状部32aに連なるU字溝状導通部32cとを有している。接続脚32bは、基板B2(図2)の端子(図示せず)に半田付けされる。このリセコネクタ30では、第一、第二の実施形態のダミーコンタクト13に代えて、固定金具33が備えられ、この固定金具33には、接続脚32bに並ぶ半田付け脚33aが形成されている。
このリセコネクタ30に装着される吸着カバー20は、大きさを除き、実質的に第一の実施形態の吸着カバー20と同一形状である。すなわち、吸着カバー20は、リセインシュレータ31の中央島部31d及び凹部31eを覆い(塞ぎ)左右側壁31b上に延びる吸着面部(平面部)21と、この吸着面部21から左右側壁11bの外面に延びる4本の外面係止脚22と、吸着面部21から左右側壁11bの内側(凹部11d)に延びて底壁11aに接触する(臨む)一対の内部腕23Xとを有している。外面係止脚22は、第一、第二実施形態と同様であり、内部腕23Xは第一の実施形態と同様である。一対の内部腕23Xの最大間隔dと最大幅wは、リセインシュレータ31の前後側壁31cの内寸Dと左右側壁31bの内寸Wより僅かに小さい。左右側壁31bには、外面係止脚22の係止フック22cを掛け止める係止凹部31gが形成されている。この他の構成要素は、実質的に第一の実施形態と同一であるので、共通の構成要素には同一の符号を付している。
一方、この実施形態では、吸着カバー20のリセコネクタ30に対する挿入端は、吸着面部21の裏面と左右側壁31bの上端部とが接触する位置で規制され、この挿入端においては、内部腕23Xと凹部底面31aとの間には、僅かなクリアランス(図15)が生じる。これは、リセコンタクト32の逆U字状部32aがコンタクト収納溝31f内に挿入されていて、左右側壁31bの上端に露出していないからである。勿論、吸着カバー20のリセコネクタ30に対する挿入端を内部腕23Xが凹部底面31aと当接する位置で規制することも可能である。
なお、第一または第二のプラグコネクタ10の左右側壁11bと前後側壁11cは、このリセコネクタ30の左右側壁31b、前後側壁31c及び中央島部31dの隙間に挿入され、プラグコンタクト12がリセコンタクト32に導通する。
この実施形態でも、第一、第二の実施形態と同様に、リセコネクタ30に吸着カバー20を装着することができる。すなわち、吸着カバー20の一対の内部腕23Xをリセインシュレータ31の凹部31e内に挿入すると、一対の内部腕23Xが左右側壁31bに沿ってリセコネクタ30と吸着カバー20の左右方向の平面位置が定まり、一対の内部腕23Xが前後側壁31cに沿って前後方向の平面位置が定まり、リセインシュレータ31の係止凹部31eと外面係止脚22の平面位置が合致する。従ってそのまま挿入し続けると、やがて外面係止脚22の係止フック22cが係止凹部31gに係合し、装着作業が終了する(図14ないし図18)。
チップマウンタは、図14の状態の吸着カバー20の吸着面部21を吸着し、基板B上の所定位置に搬送する。その搬送状態で、接続脚32b(と半田付け脚33a)を各端子(とダミー端子)に半田付けし、終了後に吸着カバー20をリセコネクタ30から離脱させる。
以上の各実施形態の吸着カバー20は、基板Bにリフローする際のコネクタ10、30の変形を抑制する効果がある。図20(A)はリフロー時の変形を模式的に示している。常温時には実質的に平面形状を維持するコネクタ10(30)(インシュレータ11(31))は、リフロー時に260℃程度の温度が加わる。現在の合成樹脂製のコネクタ10(30)は低背小型であるため、この熱によって軟化して反りが生じ、常温に戻ってもその反りが残存してしまう。反りが生じる原因は、昇温によって内部応力が解放されるためではないかと考えられている。図20(B)は、本発明の第三の実施形態を模式化して示したもので、吸着カバー20の一対の内部腕23Xがインシュレータ31の凹部31eに入り込んで凹部底壁31aに沿っているため、インシュレータ31の変形を抑制することができる。第三の実施形態では、厳密には内部腕23Xと凹部底壁31aとの間には僅かなクリアランスが存在するが、両者は、インシュレータ31が変形を開始するとすぐに当接し、変形防止作用を発揮する。勿論、第一、第二の実施形態においても同様の作用効果を得ることができる。
10 プラグコネクタ(コネクタ)
11 プラグインシュレータ(インシュレータ)
11a 底壁
11b 左右側壁
11c 前後側壁
11d 中央凹部
11e 係止凹部
12 プラグコンタクト
12b 接続脚
20 吸着カバー
21 吸着面部
22 外面係止脚(係止脚)
23 23X 内部腕
30 リセコネクタ(コネクタ)
31 リセインシュレータ(インシュレータ)
31a 底壁
31b 左右側壁
31c 前後側壁
31d 中央島部
31e 凹部
31g 係止凹部
32 リセコンタクト(コンタクト)
32b 接続脚
11 プラグインシュレータ(インシュレータ)
11a 底壁
11b 左右側壁
11c 前後側壁
11d 中央凹部
11e 係止凹部
12 プラグコンタクト
12b 接続脚
20 吸着カバー
21 吸着面部
22 外面係止脚(係止脚)
23 23X 内部腕
30 リセコネクタ(コネクタ)
31 リセインシュレータ(インシュレータ)
31a 底壁
31b 左右側壁
31c 前後側壁
31d 中央島部
31e 凹部
31g 係止凹部
32 リセコンタクト(コンタクト)
32b 接続脚
Claims (12)
- 矩形の底壁と、この底壁から立ち上げた左右側壁及び前後側壁と、これらの側壁の間に位置する凹部とを有するインシュレータ、及びこのインシュレータの上記左右側壁にそれぞれ列状に支持されたコンタクトを有するコネクタに結合される吸着カバーであって、
上記インシュレータの左右側壁上に渡る吸着面部と、この吸着面部から上記左右側壁に沿って延びて該インシュレータに着脱自在に係止される係止脚と、上記吸着面部から上記左右側壁の間に延びて上記凹部底壁に臨む一対の内部腕とを有することを特徴とするコネクタの吸着カバー。 - 請求項1記載のコネクタの吸着カバーにおいて、上記一対の内部腕は、インシュレータの前後側壁の内側に沿って該吸着カバーの前後方向の位置決めをするコネクタの吸着カバー。
- 請求項1記載のコネクタの吸着カバーにおいて、上記一対の内部腕は、インシュレータの左右側壁の内側にも同時に沿って該吸着カバーの左右方向の位置決めをするコネクタの吸着カバー。
- 請求項1ないし3のいずれか1項記載のコネクタの吸着カバーにおいて、上記内部腕のインシュレータ凹部底壁との接触部は平面であるコネクタの吸着カバー。
- 請求項1ないし4のいずれか1項記載のコネクタの吸着カバーにおいて、上記吸着カバーの内部腕がインシュレータの凹部底壁に当接するとき、その吸着面部裏面は、インシュレータの左右側壁に当接しないコネクタの吸着カバー。
- 請求項1ないし4のいずれか1項記載のコネクタの吸着カバーにおいて、上記吸着カバーの吸着面部裏面は、インシュレータの左右側壁に当接し、このとき吸着カバーの内部腕とインシュレータの凹部底壁との間にはクリアランスが形成されるコネクタの吸着カバー。
- 矩形の底壁と、この底壁から立ち上げた左右側壁及び前後側壁と、これらの側壁の間に位置する凹部とを有するインシュレータ、及びこのインシュレータの上記左右側壁にそれぞれ列状に支持されたコンタクトを有するコネクタにおいて、
該コネクタに、上記インシュレータの左右側壁上に渡る吸着面部と、この吸着面部から上記左右側壁に沿って延びて該インシュレータに着脱自在に係止される係止脚と、上記吸着面部から上記左右側壁の間に延びて上記凹部底壁に臨む一対の内部腕とを有する吸着カバーを装着したことを特徴とする吸着カバーを有するコネクタ。 - 請求項7記載の吸着カバーを有するコネクタにおいて、上記一対の内部腕は、インシュレータの前後側壁の内側に沿って該吸着カバーの前後方向の位置決めをする吸着カバーを有するコネクタ。
- 請求項7記載の吸着カバーを有するコネクタにおいて、上記一対の内部腕は、インシュレータの左右側壁の内側にも同時に沿って該吸着カバーの左右方向の位置決めをする吸着カバーを有するコネクタ。
- 請求項7ないし9のいずれか1項記載の吸着カバーを有するコネクタにおいて、上記内部腕のインシュレータ凹部底壁との接触部は平面である吸着カバーを有するコネクタ。
- 請求項7ないし10のいずれか1項記載の吸着カバーを有するコネクタにおいて、上記吸着カバーの内部腕がインシュレータの凹部底壁に当接するとき、その吸着面部裏面は、インシュレータの左右側壁に当接しない吸着カバーを有するコネクタ。
- 請求項7ないし10のいずれか1項記載の吸着カバーを有するコネクタにおいて、上記吸着カバーの吸着面部裏面は、インシュレータの左右側壁に当接し、このとき吸着カバーの内部腕とインシュレータの凹部底壁との間にはクリアランスが形成される吸着カバーを有するコネクタ。
Priority Applications (1)
| Application Number | Priority Date | Filing Date | Title |
|---|---|---|---|
| JP2006165843A JP2007335231A (ja) | 2006-06-15 | 2006-06-15 | コネクタの吸着カバー及び吸着カバーを有するコネクタ |
Applications Claiming Priority (1)
| Application Number | Priority Date | Filing Date | Title |
|---|---|---|---|
| JP2006165843A JP2007335231A (ja) | 2006-06-15 | 2006-06-15 | コネクタの吸着カバー及び吸着カバーを有するコネクタ |
Publications (1)
| Publication Number | Publication Date |
|---|---|
| JP2007335231A true JP2007335231A (ja) | 2007-12-27 |
Family
ID=38934495
Family Applications (1)
| Application Number | Title | Priority Date | Filing Date |
|---|---|---|---|
| JP2006165843A Pending JP2007335231A (ja) | 2006-06-15 | 2006-06-15 | コネクタの吸着カバー及び吸着カバーを有するコネクタ |
Country Status (1)
| Country | Link |
|---|---|
| JP (1) | JP2007335231A (ja) |
Cited By (11)
| Publication number | Priority date | Publication date | Assignee | Title |
|---|---|---|---|---|
| JP2012009456A (ja) * | 2011-10-07 | 2012-01-12 | Hirose Electric Co Ltd | 吸着部材付き電気コネクタ及び吸着部材、そして該電気コネクタの実装方法 |
| US8282399B2 (en) | 2009-09-10 | 2012-10-09 | Hirose Electric Co., Ltd. | Electrical connector |
| JP2013008679A (ja) * | 2012-07-24 | 2013-01-10 | Jst Mfg Co Ltd | 被吸着部材付きリセプタクルコネクタ |
| CN109950716A (zh) * | 2019-04-25 | 2019-06-28 | 苏州祥龙嘉业电子科技股份有限公司 | 一种浮动式btb连接器 |
| US11152751B1 (en) | 2020-03-27 | 2021-10-19 | Japan Aviation Electronics Industry, Ltd. | Connector with suction cover |
| US11251549B2 (en) | 2020-03-27 | 2022-02-15 | Japan Aviation Electronics Industry, Ltd. | Connector |
| US11336042B2 (en) | 2020-03-27 | 2022-05-17 | Japan Aviation Electronics Industry, Ltd. | Board-to-board connector |
| US11367973B2 (en) | 2020-03-27 | 2022-06-21 | Japan Aviation Electronics Industry, Ltd. | Board-to-board connector |
| CN114744424A (zh) * | 2020-12-24 | 2022-07-12 | 山一电机株式会社 | 连接器套件以及连接器 |
| US11495903B2 (en) | 2020-04-28 | 2022-11-08 | Japan Aviation Electronics Industry, Ltd. | Board-to-board connector |
| US11522308B2 (en) | 2020-03-27 | 2022-12-06 | Japan Aviation Electronics Industry, Ltd. | Board-to-board connector |
-
2006
- 2006-06-15 JP JP2006165843A patent/JP2007335231A/ja active Pending
Cited By (18)
| Publication number | Priority date | Publication date | Assignee | Title |
|---|---|---|---|---|
| US8282399B2 (en) | 2009-09-10 | 2012-10-09 | Hirose Electric Co., Ltd. | Electrical connector |
| EP2296232A3 (en) * | 2009-09-10 | 2014-05-21 | Hirose Electric Co., Ltd. | Electrical connector |
| JP2012009456A (ja) * | 2011-10-07 | 2012-01-12 | Hirose Electric Co Ltd | 吸着部材付き電気コネクタ及び吸着部材、そして該電気コネクタの実装方法 |
| JP2013008679A (ja) * | 2012-07-24 | 2013-01-10 | Jst Mfg Co Ltd | 被吸着部材付きリセプタクルコネクタ |
| CN109950716A (zh) * | 2019-04-25 | 2019-06-28 | 苏州祥龙嘉业电子科技股份有限公司 | 一种浮动式btb连接器 |
| CN109950716B (zh) * | 2019-04-25 | 2024-02-06 | 苏州祥龙嘉业电子科技股份有限公司 | 一种浮动式btb连接器 |
| US11349232B2 (en) | 2020-03-27 | 2022-05-31 | Japan Aviation Electronics Industry, Ltd. | Connector |
| US11336042B2 (en) | 2020-03-27 | 2022-05-17 | Japan Aviation Electronics Industry, Ltd. | Board-to-board connector |
| US11251549B2 (en) | 2020-03-27 | 2022-02-15 | Japan Aviation Electronics Industry, Ltd. | Connector |
| US11367973B2 (en) | 2020-03-27 | 2022-06-21 | Japan Aviation Electronics Industry, Ltd. | Board-to-board connector |
| US11417975B2 (en) | 2020-03-27 | 2022-08-16 | Japan Aviation Electronics Industry, Ltd. | Board-to-board connector |
| US11424564B2 (en) | 2020-03-27 | 2022-08-23 | Japan Aviation Electronics Industry, Ltd. | Board-to-board connector |
| US11522308B2 (en) | 2020-03-27 | 2022-12-06 | Japan Aviation Electronics Industry, Ltd. | Board-to-board connector |
| US11152751B1 (en) | 2020-03-27 | 2021-10-19 | Japan Aviation Electronics Industry, Ltd. | Connector with suction cover |
| US11495903B2 (en) | 2020-04-28 | 2022-11-08 | Japan Aviation Electronics Industry, Ltd. | Board-to-board connector |
| CN114744424A (zh) * | 2020-12-24 | 2022-07-12 | 山一电机株式会社 | 连接器套件以及连接器 |
| EP4044377A1 (en) * | 2020-12-24 | 2022-08-17 | Yamaichi Electronics Co., Ltd. | Connector set and connector |
| US11984679B2 (en) | 2020-12-24 | 2024-05-14 | Yamaichi Electronics Co., Ltd. | Connector set and connector |
Similar Documents
| Publication | Publication Date | Title |
|---|---|---|
| US7320605B2 (en) | Board-to-board connector with improved terminal contacts | |
| KR0137493Y1 (ko) | 인쇄 회로 기판용 모서리 커넥터 | |
| TWI445252B (zh) | 卡緣連接器 | |
| US7249957B2 (en) | Connector fixing structure | |
| US20080076277A1 (en) | Electrical connector | |
| JP2009218221A (ja) | 基板対基板電気コネクタ組立体 | |
| TW201421820A (zh) | 低剖面背板連接器 | |
| US20180151985A1 (en) | Electrical connector having shielding plate retained tightly thereto | |
| TWM518826U (zh) | 插頭電連接器與插座電連接器 | |
| KR20070119708A (ko) | 기판 대 기판 커넥터 | |
| JP2007335231A (ja) | コネクタの吸着カバー及び吸着カバーを有するコネクタ | |
| TWM517433U (zh) | 電連接器及其端子 | |
| JP2015516109A (ja) | 印刷回路基板を相互接続するためのシステム | |
| TWM578033U (zh) | 電連接器 | |
| TW202512604A (zh) | 連接器組件 | |
| TWM597519U (zh) | 電連接器組件 | |
| US7985080B2 (en) | Electrical connector having auxiliary hold-down arrangement | |
| TWM491273U (zh) | 電連接器 | |
| JP7215854B2 (ja) | 可動コネクタ | |
| JP2009117058A (ja) | 回路基板用コネクタ及びその取付構造 | |
| JP3150829U (ja) | 金属シェル、該金属シェルを備えた電気コネクタ及び電気コネクタ組立て体 | |
| US20130078831A1 (en) | Vertical connector and assembly thereof | |
| TWM299396U (en) | An electrical connector with pick-up cap | |
| CN100456566C (zh) | 带有接触件叉齿插板的电连接器 | |
| TWM491283U (zh) | 具有遮蔽殼體的電連接器 |