JP2007141222A - 画像処理装置および画像処理方法 - Google Patents

画像処理装置および画像処理方法 Download PDF

Info

Publication number
JP2007141222A
JP2007141222A JP2006282288A JP2006282288A JP2007141222A JP 2007141222 A JP2007141222 A JP 2007141222A JP 2006282288 A JP2006282288 A JP 2006282288A JP 2006282288 A JP2006282288 A JP 2006282288A JP 2007141222 A JP2007141222 A JP 2007141222A
Authority
JP
Japan
Prior art keywords
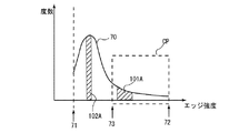
edge
edge strength
image
value
image processing
Prior art date
Legal status (The legal status is an assumption and is not a legal conclusion. Google has not performed a legal analysis and makes no representation as to the accuracy of the status listed.)
Withdrawn
Application number
JP2006282288A
Other languages
English (en)
Japanese (ja)
Other versions
JP2007141222A5 (enExample
Inventor
Manabu Kido
学 木戸
Current Assignee (The listed assignees may be inaccurate. Google has not performed a legal analysis and makes no representation or warranty as to the accuracy of the list.)
Keyence Corp
Original Assignee
Keyence Corp
Priority date (The priority date is an assumption and is not a legal conclusion. Google has not performed a legal analysis and makes no representation as to the accuracy of the date listed.)
Filing date
Publication date
Application filed by Keyence Corp filed Critical Keyence Corp
Priority to JP2006282288A priority Critical patent/JP2007141222A/ja
Priority to US11/583,136 priority patent/US20070086658A1/en
Publication of JP2007141222A publication Critical patent/JP2007141222A/ja
Publication of JP2007141222A5 publication Critical patent/JP2007141222A5/ja
Withdrawn legal-status Critical Current

Links

Images

Classifications

    • GPHYSICS
    • G06COMPUTING OR CALCULATING; COUNTING
    • G06VIMAGE OR VIDEO RECOGNITION OR UNDERSTANDING
    • G06V10/00Arrangements for image or video recognition or understanding
    • G06V10/40Extraction of image or video features
    • G06V10/44Local feature extraction by analysis of parts of the pattern, e.g. by detecting edges, contours, loops, corners, strokes or intersections; Connectivity analysis, e.g. of connected components

Landscapes

  • Engineering & Computer Science (AREA)
  • Computer Vision & Pattern Recognition (AREA)
  • Physics & Mathematics (AREA)
  • General Physics & Mathematics (AREA)
  • Multimedia (AREA)
  • Theoretical Computer Science (AREA)
  • Image Processing (AREA)
  • Image Analysis (AREA)
  • Electric Connection Of Electric Components To Printed Circuits (AREA)
  • Length Measuring Devices By Optical Means (AREA)
JP2006282288A 2005-10-19 2006-10-17 画像処理装置および画像処理方法 Withdrawn JP2007141222A (ja)

Priority Applications (2)

Application Number Priority Date Filing Date Title
JP2006282288A JP2007141222A (ja) 2005-10-19 2006-10-17 画像処理装置および画像処理方法
US11/583,136 US20070086658A1 (en) 2005-10-19 2006-10-19 Image processing apparatus and method of image processing

Applications Claiming Priority (2)

Application Number Priority Date Filing Date Title
JP2005305084 2005-10-19
JP2006282288A JP2007141222A (ja) 2005-10-19 2006-10-17 画像処理装置および画像処理方法

Publications (2)

Publication Number Publication Date
JP2007141222A true JP2007141222A (ja) 2007-06-07
JP2007141222A5 JP2007141222A5 (enExample) 2009-11-12

Family

ID=37948201

Family Applications (1)

Application Number Title Priority Date Filing Date
JP2006282288A Withdrawn JP2007141222A (ja) 2005-10-19 2006-10-17 画像処理装置および画像処理方法

Country Status (2)

Country Link
US (1) US20070086658A1 (enExample)
JP (1) JP2007141222A (enExample)

Cited By (4)

* Cited by examiner, † Cited by third party
Publication number Priority date Publication date Assignee Title
JP2010067247A (ja) * 2008-08-09 2010-03-25 Keyence Corp 画像処理におけるパターンモデルの位置決め方法、画像処理装置、画像処理プログラム及びコンピュータで読み取り可能な記録媒体
JP2010067248A (ja) * 2008-08-09 2010-03-25 Keyence Corp 画像処理におけるパターンモデルの位置決め方法、画像処理装置、画像処理プログラム及びコンピュータで読み取り可能な記録媒体
WO2014010263A1 (ja) * 2012-07-11 2014-01-16 オリンパス株式会社 画像処理装置及び画像処理方法
JP2014063377A (ja) * 2012-09-21 2014-04-10 Nikon Systems Inc 画像処理装置およびプログラム

Families Citing this family (6)

* Cited by examiner, † Cited by third party
Publication number Priority date Publication date Assignee Title
US8175390B2 (en) * 2008-03-28 2012-05-08 Tandent Vision Science, Inc. System and method for illumination invariant image segmentation
JP5521449B2 (ja) * 2009-09-09 2014-06-11 村田機械株式会社 画像判別装置
EP2490151A1 (en) 2011-02-17 2012-08-22 Nagravision S.A. Method and device to speed up face recognition
US9995573B2 (en) * 2015-01-23 2018-06-12 Cognex Corporation Probe placement for image processing
US10417533B2 (en) * 2016-08-09 2019-09-17 Cognex Corporation Selection of balanced-probe sites for 3-D alignment algorithms
CN120107257B (zh) * 2025-05-08 2025-08-15 东莞市旭田包装机械有限公司 一种用于束带机的扎带缺陷检测方法及系统

Family Cites Families (2)

* Cited by examiner, † Cited by third party
Publication number Priority date Publication date Assignee Title
US2003A (en) * 1841-03-12 Improvement in horizontal windivhlls
US6757442B1 (en) * 2000-11-22 2004-06-29 Ge Medical Systems Global Technology Company, Llc Image enhancement method with simultaneous noise reduction, non-uniformity equalization, and contrast enhancement

Cited By (7)

* Cited by examiner, † Cited by third party
Publication number Priority date Publication date Assignee Title
JP2010067247A (ja) * 2008-08-09 2010-03-25 Keyence Corp 画像処理におけるパターンモデルの位置決め方法、画像処理装置、画像処理プログラム及びコンピュータで読み取り可能な記録媒体
JP2010067248A (ja) * 2008-08-09 2010-03-25 Keyence Corp 画像処理におけるパターンモデルの位置決め方法、画像処理装置、画像処理プログラム及びコンピュータで読み取り可能な記録媒体
US8406527B2 (en) 2008-08-09 2013-03-26 Keyence Corporation Pattern model positioning method in image processing, image processing apparatus, image processing program, and computer readable recording medium
WO2014010263A1 (ja) * 2012-07-11 2014-01-16 オリンパス株式会社 画像処理装置及び画像処理方法
JP2014016933A (ja) * 2012-07-11 2014-01-30 Olympus Corp 画像処理装置及び画像処理方法
US9881227B2 (en) 2012-07-11 2018-01-30 Olympus Corporation Image processing apparatus and method
JP2014063377A (ja) * 2012-09-21 2014-04-10 Nikon Systems Inc 画像処理装置およびプログラム

Also Published As

Publication number Publication date
US20070086658A1 (en) 2007-04-19

Similar Documents

Publication Publication Date Title
KR101683704B1 (ko) 얼굴 보정 방법, 시스템 및 컴퓨터 저장 매체
CN105069799B (zh) 一种角点定位方法及装置
CN101599175B (zh) 确定拍摄背景发生改变的检测方法及图像处理设备
JP4670657B2 (ja) 画像処理装置、画像処理方法及びプログラム
US8036463B2 (en) Character extracting apparatus, method, and program
CN109829904B (zh) 检测屏幕上灰尘的方法、装置、电子设备、可读存储介质
JP6529315B2 (ja) 主被写体検出方法、主被写体検出装置及びプログラム
EP1587295A2 (en) Boundary extracting method, and device using the same
KR101359280B1 (ko) 패턴 매칭 방법, 패턴 매칭 프로그램을 기록한 컴퓨터로 판독가능한 기록 매체, 전자 계산기, 전자 디바이스 검사 장치
JP4373840B2 (ja) 動物体追跡方法、動物体追跡プログラムおよびその記録媒体、ならびに、動物体追跡装置
WO2015070723A1 (zh) 眼部图像处理方法和装置
JP2012118698A (ja) 画像処理装置
US8139862B2 (en) Character extracting apparatus, method, and program
JP2010205067A (ja) 領域抽出装置、領域抽出方法及び領域抽出プログラム
JP2005309560A (ja) 画像処理方法および装置並びにプログラム
JP2007141222A (ja) 画像処理装置および画像処理方法
US8139861B2 (en) Character extracting apparatus, method, and program
JP2011227748A (ja) 画像処理装置、画像処理方法、画像処理プログラム、及び欠陥検出装置
JP6669390B2 (ja) 情報処理装置、情報処理方法、及びプログラム
CN112285876A (zh) 基于图像处理与气泡检测的相机自动对焦方法
JPWO2002045021A1 (ja) エントロピーフィルタ及び該フィルタを用いた領域抽出法
JP2018028774A (ja) 画像処理装置及び画像処理用プログラム
JP2019100937A (ja) 欠陥検査装置及び欠陥検査方法
JP2008226176A (ja) 熱目標追跡装置及び熱目標追跡方法
JP6314464B2 (ja) 画像処理装置、画像処理方法および画像処理プログラム

Legal Events

Date Code Title Description
A521 Request for written amendment filed

Free format text: JAPANESE INTERMEDIATE CODE: A523

Effective date: 20090924

A621 Written request for application examination

Free format text: JAPANESE INTERMEDIATE CODE: A621

Effective date: 20090924

A761 Written withdrawal of application

Free format text: JAPANESE INTERMEDIATE CODE: A761

Effective date: 20100223