JP2005299852A - Composition for sliding member and rolling bearing - Google Patents
Composition for sliding member and rolling bearing Download PDFInfo
- Publication number
- JP2005299852A JP2005299852A JP2004119281A JP2004119281A JP2005299852A JP 2005299852 A JP2005299852 A JP 2005299852A JP 2004119281 A JP2004119281 A JP 2004119281A JP 2004119281 A JP2004119281 A JP 2004119281A JP 2005299852 A JP2005299852 A JP 2005299852A
- Authority
- JP
- Japan
- Prior art keywords
- composition
- sliding member
- resin
- cage
- fullerene
- Prior art date
- Legal status (The legal status is an assumption and is not a legal conclusion. Google has not performed a legal analysis and makes no representation as to the accuracy of the status listed.)
- Granted
Links
- 239000000203 mixture Substances 0.000 title claims abstract description 38
- 238000005096 rolling process Methods 0.000 title claims abstract description 35
- XMWRBQBLMFGWIX-UHFFFAOYSA-N C60 fullerene Chemical compound C12=C3C(C4=C56)=C7C8=C5C5=C9C%10=C6C6=C4C1=C1C4=C6C6=C%10C%10=C9C9=C%11C5=C8C5=C8C7=C3C3=C7C2=C1C1=C2C4=C6C4=C%10C6=C9C9=C%11C5=C5C8=C3C3=C7C1=C1C2=C4C6=C2C9=C5C3=C12 XMWRBQBLMFGWIX-UHFFFAOYSA-N 0.000 claims abstract description 43
- 229910003472 fullerene Inorganic materials 0.000 claims abstract description 43
- 125000003118 aryl group Chemical group 0.000 claims abstract description 32
- 229920001721 polyimide Polymers 0.000 claims abstract description 23
- 239000009719 polyimide resin Substances 0.000 claims abstract description 22
- 238000000576 coating method Methods 0.000 claims abstract description 20
- 239000011248 coating agent Substances 0.000 claims abstract description 19
- 229920003002 synthetic resin Polymers 0.000 claims abstract description 10
- 239000000057 synthetic resin Substances 0.000 claims abstract description 10
- 239000007769 metal material Substances 0.000 claims description 10
- 239000000314 lubricant Substances 0.000 abstract description 8
- 229920005989 resin Polymers 0.000 description 42
- 239000011347 resin Substances 0.000 description 42
- XEEYBQQBJWHFJM-UHFFFAOYSA-N Iron Chemical compound [Fe] XEEYBQQBJWHFJM-UHFFFAOYSA-N 0.000 description 12
- -1 aromatic tetracarboxylic acid Chemical class 0.000 description 12
- 239000000463 material Substances 0.000 description 11
- OKTJSMMVPCPJKN-UHFFFAOYSA-N Carbon Chemical compound [C] OKTJSMMVPCPJKN-UHFFFAOYSA-N 0.000 description 10
- 229920002312 polyamide-imide Polymers 0.000 description 10
- 239000004962 Polyamide-imide Substances 0.000 description 9
- 238000000034 method Methods 0.000 description 9
- 229910052799 carbon Inorganic materials 0.000 description 8
- 239000002245 particle Substances 0.000 description 8
- 239000002966 varnish Substances 0.000 description 8
- 239000007787 solid Substances 0.000 description 7
- SECXISVLQFMRJM-UHFFFAOYSA-N N-Methylpyrrolidone Chemical compound CN1CCCC1=O SECXISVLQFMRJM-UHFFFAOYSA-N 0.000 description 6
- 230000000052 comparative effect Effects 0.000 description 6
- 229910052742 iron Inorganic materials 0.000 description 6
- 238000002156 mixing Methods 0.000 description 6
- 239000000126 substance Substances 0.000 description 6
- 150000004984 aromatic diamines Chemical class 0.000 description 5
- 238000004519 manufacturing process Methods 0.000 description 4
- CWQXQMHSOZUFJS-UHFFFAOYSA-N molybdenum disulfide Chemical compound S=[Mo]=S CWQXQMHSOZUFJS-UHFFFAOYSA-N 0.000 description 4
- 229910052982 molybdenum disulfide Inorganic materials 0.000 description 4
- 239000000843 powder Substances 0.000 description 4
- CBCKQZAAMUWICA-UHFFFAOYSA-N 1,4-phenylenediamine Chemical compound NC1=CC=C(N)C=C1 CBCKQZAAMUWICA-UHFFFAOYSA-N 0.000 description 3
- 239000004734 Polyphenylene sulfide Substances 0.000 description 3
- YXFVVABEGXRONW-UHFFFAOYSA-N Toluene Chemical compound CC1=CC=CC=C1 YXFVVABEGXRONW-UHFFFAOYSA-N 0.000 description 3
- GTDPSWPPOUPBNX-UHFFFAOYSA-N ac1mqpva Chemical compound CC12C(=O)OC(=O)C1(C)C1(C)C2(C)C(=O)OC1=O GTDPSWPPOUPBNX-UHFFFAOYSA-N 0.000 description 3
- 125000004432 carbon atom Chemical group C* 0.000 description 3
- 238000004140 cleaning Methods 0.000 description 3
- 125000001997 phenyl group Chemical group [H]C1=C([H])C([H])=C(*)C([H])=C1[H] 0.000 description 3
- 229920000069 polyphenylene sulfide Polymers 0.000 description 3
- 229920001343 polytetrafluoroethylene Polymers 0.000 description 3
- 239000004810 polytetrafluoroethylene Substances 0.000 description 3
- 239000002904 solvent Substances 0.000 description 3
- WZCQRUWWHSTZEM-UHFFFAOYSA-N 1,3-phenylenediamine Chemical compound NC1=CC=CC(N)=C1 WZCQRUWWHSTZEM-UHFFFAOYSA-N 0.000 description 2
- XQUPVDVFXZDTLT-UHFFFAOYSA-N 1-[4-[[4-(2,5-dioxopyrrol-1-yl)phenyl]methyl]phenyl]pyrrole-2,5-dione Chemical compound O=C1C=CC(=O)N1C(C=C1)=CC=C1CC1=CC=C(N2C(C=CC2=O)=O)C=C1 XQUPVDVFXZDTLT-UHFFFAOYSA-N 0.000 description 2
- LJGHYPLBDBRCRZ-UHFFFAOYSA-N 3-(3-aminophenyl)sulfonylaniline Chemical compound NC1=CC=CC(S(=O)(=O)C=2C=C(N)C=CC=2)=C1 LJGHYPLBDBRCRZ-UHFFFAOYSA-N 0.000 description 2
- YBRVSVVVWCFQMG-UHFFFAOYSA-N 4,4'-diaminodiphenylmethane Chemical compound C1=CC(N)=CC=C1CC1=CC=C(N)C=C1 YBRVSVVVWCFQMG-UHFFFAOYSA-N 0.000 description 2
- HLBLWEWZXPIGSM-UHFFFAOYSA-N 4-Aminophenyl ether Chemical compound C1=CC(N)=CC=C1OC1=CC=C(N)C=C1 HLBLWEWZXPIGSM-UHFFFAOYSA-N 0.000 description 2
- NBIIXXVUZAFLBC-UHFFFAOYSA-N Phosphoric acid Chemical compound OP(O)(O)=O NBIIXXVUZAFLBC-UHFFFAOYSA-N 0.000 description 2
- 239000004642 Polyimide Substances 0.000 description 2
- VYPSYNLAJGMNEJ-UHFFFAOYSA-N Silicium dioxide Chemical compound O=[Si]=O VYPSYNLAJGMNEJ-UHFFFAOYSA-N 0.000 description 2
- 229910000831 Steel Inorganic materials 0.000 description 2
- 238000005299 abrasion Methods 0.000 description 2
- 239000002585 base Substances 0.000 description 2
- 239000011230 binding agent Substances 0.000 description 2
- ZCILODAAHLISPY-UHFFFAOYSA-N biphenyl ether Natural products C1=C(CC=C)C(O)=CC(OC=2C(=CC(CC=C)=CC=2)O)=C1 ZCILODAAHLISPY-UHFFFAOYSA-N 0.000 description 2
- 125000006267 biphenyl group Chemical group 0.000 description 2
- 125000002915 carbonyl group Chemical group [*:2]C([*:1])=O 0.000 description 2
- 239000003795 chemical substances by application Substances 0.000 description 2
- 238000009841 combustion method Methods 0.000 description 2
- 238000013329 compounding Methods 0.000 description 2
- 150000004985 diamines Chemical class 0.000 description 2
- 125000005442 diisocyanate group Chemical group 0.000 description 2
- 238000007598 dipping method Methods 0.000 description 2
- 239000006185 dispersion Substances 0.000 description 2
- 125000001033 ether group Chemical group 0.000 description 2
- 239000000945 filler Substances 0.000 description 2
- 229910002804 graphite Inorganic materials 0.000 description 2
- 239000010439 graphite Substances 0.000 description 2
- 238000010438 heat treatment Methods 0.000 description 2
- 125000005842 heteroatom Chemical group 0.000 description 2
- 238000005461 lubrication Methods 0.000 description 2
- 230000013011 mating Effects 0.000 description 2
- 125000001570 methylene group Chemical group [H]C([H])([*:1])[*:2] 0.000 description 2
- 125000001624 naphthyl group Chemical group 0.000 description 2
- 239000003921 oil Substances 0.000 description 2
- 239000003960 organic solvent Substances 0.000 description 2
- 239000005011 phenolic resin Substances 0.000 description 2
- 229920003192 poly(bis maleimide) Polymers 0.000 description 2
- 239000002243 precursor Substances 0.000 description 2
- 239000002994 raw material Substances 0.000 description 2
- 238000010008 shearing Methods 0.000 description 2
- 239000010959 steel Substances 0.000 description 2
- 125000001174 sulfone group Chemical group 0.000 description 2
- JYEUMXHLPRZUAT-UHFFFAOYSA-N 1,2,3-triazine Chemical compound C1=CN=NN=C1 JYEUMXHLPRZUAT-UHFFFAOYSA-N 0.000 description 1
- VLDPXPPHXDGHEW-UHFFFAOYSA-N 1-chloro-2-dichlorophosphoryloxybenzene Chemical compound ClC1=CC=CC=C1OP(Cl)(Cl)=O VLDPXPPHXDGHEW-UHFFFAOYSA-N 0.000 description 1
- GWHLJVMSZRKEAQ-UHFFFAOYSA-N 3-(2,3-dicarboxyphenyl)phthalic acid Chemical compound OC(=O)C1=CC=CC(C=2C(=C(C(O)=O)C=CC=2)C(O)=O)=C1C(O)=O GWHLJVMSZRKEAQ-UHFFFAOYSA-N 0.000 description 1
- NFSQGQXKVFGKSO-UHFFFAOYSA-N 3-(2-phenylphenoxy)aniline Chemical group NC1=CC=CC(OC=2C(=CC=CC=2)C=2C=CC=CC=2)=C1 NFSQGQXKVFGKSO-UHFFFAOYSA-N 0.000 description 1
- RJPKRDCEWWJSKO-UHFFFAOYSA-N 3-[[2-[2-[(2,3-dicarboxyphenyl)methyl]benzoyl]oxycarbonylphenyl]methyl]phthalic acid Chemical compound OC(=O)C1=CC=CC(CC=2C(=CC=CC=2)C(=O)OC(=O)C=2C(=CC=CC=2)CC=2C(=C(C(O)=O)C=CC=2)C(O)=O)=C1C(O)=O RJPKRDCEWWJSKO-UHFFFAOYSA-N 0.000 description 1
- VQVIHDPBMFABCQ-UHFFFAOYSA-N 5-(1,3-dioxo-2-benzofuran-5-carbonyl)-2-benzofuran-1,3-dione Chemical compound C1=C2C(=O)OC(=O)C2=CC(C(C=2C=C3C(=O)OC(=O)C3=CC=2)=O)=C1 VQVIHDPBMFABCQ-UHFFFAOYSA-N 0.000 description 1
- 229920000049 Carbon (fiber) Polymers 0.000 description 1
- 239000004215 Carbon black (E152) Substances 0.000 description 1
- 229910000975 Carbon steel Inorganic materials 0.000 description 1
- RYGMFSIKBFXOCR-UHFFFAOYSA-N Copper Chemical compound [Cu] RYGMFSIKBFXOCR-UHFFFAOYSA-N 0.000 description 1
- 229910000640 Fe alloy Inorganic materials 0.000 description 1
- CWYNVVGOOAEACU-UHFFFAOYSA-N Fe2+ Chemical compound [Fe+2] CWYNVVGOOAEACU-UHFFFAOYSA-N 0.000 description 1
- 229920006360 Hostaflon Polymers 0.000 description 1
- 229910001209 Low-carbon steel Inorganic materials 0.000 description 1
- ZOKXTWBITQBERF-UHFFFAOYSA-N Molybdenum Chemical compound [Mo] ZOKXTWBITQBERF-UHFFFAOYSA-N 0.000 description 1
- 239000004677 Nylon Substances 0.000 description 1
- 239000004696 Poly ether ether ketone Substances 0.000 description 1
- 229930182556 Polyacetal Natural products 0.000 description 1
- 239000004693 Polybenzimidazole Substances 0.000 description 1
- 239000004695 Polyether sulfone Substances 0.000 description 1
- 239000004697 Polyetherimide Substances 0.000 description 1
- 239000004721 Polyphenylene oxide Substances 0.000 description 1
- 229910001297 Zn alloy Inorganic materials 0.000 description 1
- 239000002253 acid Substances 0.000 description 1
- 239000003513 alkali Substances 0.000 description 1
- 229910000147 aluminium phosphate Inorganic materials 0.000 description 1
- 238000001241 arc-discharge method Methods 0.000 description 1
- QVGXLLKOCUKJST-UHFFFAOYSA-N atomic oxygen Chemical compound [O] QVGXLLKOCUKJST-UHFFFAOYSA-N 0.000 description 1
- 230000015572 biosynthetic process Effects 0.000 description 1
- 238000005422 blasting Methods 0.000 description 1
- 238000007664 blowing Methods 0.000 description 1
- WKDNYTOXBCRNPV-UHFFFAOYSA-N bpda Chemical compound C1=C2C(=O)OC(=O)C2=CC(C=2C=C3C(=O)OC(C3=CC=2)=O)=C1 WKDNYTOXBCRNPV-UHFFFAOYSA-N 0.000 description 1
- 229910021387 carbon allotrope Inorganic materials 0.000 description 1
- 239000004917 carbon fiber Substances 0.000 description 1
- 239000010962 carbon steel Substances 0.000 description 1
- 239000003575 carbonaceous material Substances 0.000 description 1
- 238000005119 centrifugation Methods 0.000 description 1
- 238000006243 chemical reaction Methods 0.000 description 1
- 239000010960 cold rolled steel Substances 0.000 description 1
- 238000011109 contamination Methods 0.000 description 1
- 238000001816 cooling Methods 0.000 description 1
- 229910052802 copper Inorganic materials 0.000 description 1
- 239000010949 copper Substances 0.000 description 1
- TVZPLCNGKSPOJA-UHFFFAOYSA-N copper zinc Chemical compound [Cu].[Zn] TVZPLCNGKSPOJA-UHFFFAOYSA-N 0.000 description 1
- 239000002537 cosmetic Substances 0.000 description 1
- 238000004132 cross linking Methods 0.000 description 1
- UKJLNMAFNRKWGR-UHFFFAOYSA-N cyclohexatrienamine Chemical group NC1=CC=C=C[CH]1 UKJLNMAFNRKWGR-UHFFFAOYSA-N 0.000 description 1
- 230000006837 decompression Effects 0.000 description 1
- 229910003460 diamond Inorganic materials 0.000 description 1
- 239000010432 diamond Substances 0.000 description 1
- 238000003618 dip coating Methods 0.000 description 1
- 238000001035 drying Methods 0.000 description 1
- 230000000694 effects Effects 0.000 description 1
- 238000009503 electrostatic coating Methods 0.000 description 1
- 239000003822 epoxy resin Substances 0.000 description 1
- 238000011156 evaluation Methods 0.000 description 1
- 238000001704 evaporation Methods 0.000 description 1
- 239000000835 fiber Substances 0.000 description 1
- HDNHWROHHSBKJG-UHFFFAOYSA-N formaldehyde;furan-2-ylmethanol Chemical compound O=C.OCC1=CC=CO1 HDNHWROHHSBKJG-UHFFFAOYSA-N 0.000 description 1
- 239000007849 furan resin Substances 0.000 description 1
- 239000007789 gas Substances 0.000 description 1
- 239000003365 glass fiber Substances 0.000 description 1
- LNEPOXFFQSENCJ-UHFFFAOYSA-N haloperidol Chemical compound C1CC(O)(C=2C=CC(Cl)=CC=2)CCN1CCCC(=O)C1=CC=C(F)C=C1 LNEPOXFFQSENCJ-UHFFFAOYSA-N 0.000 description 1
- 125000000623 heterocyclic group Chemical group 0.000 description 1
- 229930195733 hydrocarbon Natural products 0.000 description 1
- 150000002430 hydrocarbons Chemical class 0.000 description 1
- 150000003949 imides Chemical group 0.000 description 1
- 238000007654 immersion Methods 0.000 description 1
- 229910052500 inorganic mineral Inorganic materials 0.000 description 1
- 230000003993 interaction Effects 0.000 description 1
- 239000007788 liquid Substances 0.000 description 1
- 230000007774 longterm Effects 0.000 description 1
- 238000003754 machining Methods 0.000 description 1
- 238000005259 measurement Methods 0.000 description 1
- 238000002844 melting Methods 0.000 description 1
- 230000008018 melting Effects 0.000 description 1
- VNWKTOKETHGBQD-UHFFFAOYSA-N methane Chemical compound C VNWKTOKETHGBQD-UHFFFAOYSA-N 0.000 description 1
- 239000010445 mica Substances 0.000 description 1
- 229910052618 mica group Inorganic materials 0.000 description 1
- 239000012046 mixed solvent Substances 0.000 description 1
- 229910052750 molybdenum Inorganic materials 0.000 description 1
- 239000011733 molybdenum Substances 0.000 description 1
- OBKARQMATMRWQZ-UHFFFAOYSA-N naphthalene-1,2,5,6-tetracarboxylic acid Chemical compound OC(=O)C1=C(C(O)=O)C=CC2=C(C(O)=O)C(C(=O)O)=CC=C21 OBKARQMATMRWQZ-UHFFFAOYSA-N 0.000 description 1
- OMGMPQSKRWSUHO-UHFFFAOYSA-N naphthalene-1,2,5-tricarboxylic acid Chemical compound OC(=O)C1=CC=CC2=C(C(O)=O)C(C(=O)O)=CC=C21 OMGMPQSKRWSUHO-UHFFFAOYSA-N 0.000 description 1
- 150000002825 nitriles Chemical class 0.000 description 1
- 229920001778 nylon Polymers 0.000 description 1
- 229910052760 oxygen Inorganic materials 0.000 description 1
- 239000001301 oxygen Substances 0.000 description 1
- 230000002093 peripheral effect Effects 0.000 description 1
- 238000006303 photolysis reaction Methods 0.000 description 1
- 229920005575 poly(amic acid) Polymers 0.000 description 1
- 229920001643 poly(ether ketone) Polymers 0.000 description 1
- 229920002492 poly(sulfone) Polymers 0.000 description 1
- 229920006122 polyamide resin Polymers 0.000 description 1
- 229920002480 polybenzimidazole Polymers 0.000 description 1
- 229920000647 polyepoxide Polymers 0.000 description 1
- 229920001225 polyester resin Polymers 0.000 description 1
- 239000004645 polyester resin Substances 0.000 description 1
- 229920000570 polyether Polymers 0.000 description 1
- 229920006393 polyether sulfone Polymers 0.000 description 1
- 229920002530 polyetherether ketone Polymers 0.000 description 1
- 229920001601 polyetherimide Polymers 0.000 description 1
- 229920000098 polyolefin Polymers 0.000 description 1
- 229920006324 polyoxymethylene Polymers 0.000 description 1
- 229920001955 polyphenylene ether Polymers 0.000 description 1
- 238000003825 pressing Methods 0.000 description 1
- 238000011084 recovery Methods 0.000 description 1
- 239000012779 reinforcing material Substances 0.000 description 1
- 102220259718 rs34120878 Human genes 0.000 description 1
- 102220342298 rs777367316 Human genes 0.000 description 1
- 239000000377 silicon dioxide Substances 0.000 description 1
- 229920002050 silicone resin Polymers 0.000 description 1
- 238000000638 solvent extraction Methods 0.000 description 1
- 239000004071 soot Substances 0.000 description 1
- 238000005507 spraying Methods 0.000 description 1
- 230000000087 stabilizing effect Effects 0.000 description 1
- 239000010935 stainless steel Substances 0.000 description 1
- 229910001220 stainless steel Inorganic materials 0.000 description 1
- 238000013020 steam cleaning Methods 0.000 description 1
- 238000000859 sublimation Methods 0.000 description 1
- 230000008022 sublimation Effects 0.000 description 1
- 230000003746 surface roughness Effects 0.000 description 1
- 238000004381 surface treatment Methods 0.000 description 1
- 125000006158 tetracarboxylic acid group Chemical group 0.000 description 1
- 238000005979 thermal decomposition reaction Methods 0.000 description 1
- 229920006259 thermoplastic polyimide Polymers 0.000 description 1
- 229920005992 thermoplastic resin Polymers 0.000 description 1
- 229920001187 thermosetting polymer Polymers 0.000 description 1
- SRPWOOOHEPICQU-UHFFFAOYSA-N trimellitic anhydride Chemical compound OC(=O)C1=CC=C2C(=O)OC(=O)C2=C1 SRPWOOOHEPICQU-UHFFFAOYSA-N 0.000 description 1
- ITRNXVSDJBHYNJ-UHFFFAOYSA-N tungsten disulfide Chemical compound S=[W]=S ITRNXVSDJBHYNJ-UHFFFAOYSA-N 0.000 description 1
- 239000010723 turbine oil Substances 0.000 description 1
- 238000004506 ultrasonic cleaning Methods 0.000 description 1
- 229920006337 unsaturated polyester resin Polymers 0.000 description 1
Images
Classifications
-
- F—MECHANICAL ENGINEERING; LIGHTING; HEATING; WEAPONS; BLASTING
- F16—ENGINEERING ELEMENTS AND UNITS; GENERAL MEASURES FOR PRODUCING AND MAINTAINING EFFECTIVE FUNCTIONING OF MACHINES OR INSTALLATIONS; THERMAL INSULATION IN GENERAL
- F16C—SHAFTS; FLEXIBLE SHAFTS; ELEMENTS OR CRANKSHAFT MECHANISMS; ROTARY BODIES OTHER THAN GEARING ELEMENTS; BEARINGS
- F16C33/00—Parts of bearings; Special methods for making bearings or parts thereof
- F16C33/30—Parts of ball or roller bearings
- F16C33/46—Cages for rollers or needles
- F16C33/54—Cages for rollers or needles made from wire, strips, or sheet metal
- F16C33/542—Cages for rollers or needles made from wire, strips, or sheet metal made from sheet metal
- F16C33/543—Cages for rollers or needles made from wire, strips, or sheet metal made from sheet metal from a single part
-
- F—MECHANICAL ENGINEERING; LIGHTING; HEATING; WEAPONS; BLASTING
- F16—ENGINEERING ELEMENTS AND UNITS; GENERAL MEASURES FOR PRODUCING AND MAINTAINING EFFECTIVE FUNCTIONING OF MACHINES OR INSTALLATIONS; THERMAL INSULATION IN GENERAL
- F16C—SHAFTS; FLEXIBLE SHAFTS; ELEMENTS OR CRANKSHAFT MECHANISMS; ROTARY BODIES OTHER THAN GEARING ELEMENTS; BEARINGS
- F16C33/00—Parts of bearings; Special methods for making bearings or parts thereof
- F16C33/30—Parts of ball or roller bearings
- F16C33/46—Cages for rollers or needles
- F16C33/56—Selection of substances
- F16C33/565—Coatings
-
- F—MECHANICAL ENGINEERING; LIGHTING; HEATING; WEAPONS; BLASTING
- F16—ENGINEERING ELEMENTS AND UNITS; GENERAL MEASURES FOR PRODUCING AND MAINTAINING EFFECTIVE FUNCTIONING OF MACHINES OR INSTALLATIONS; THERMAL INSULATION IN GENERAL
- F16C—SHAFTS; FLEXIBLE SHAFTS; ELEMENTS OR CRANKSHAFT MECHANISMS; ROTARY BODIES OTHER THAN GEARING ELEMENTS; BEARINGS
- F16C19/00—Bearings with rolling contact, for exclusively rotary movement
- F16C19/22—Bearings with rolling contact, for exclusively rotary movement with bearing rollers essentially of the same size in one or more circular rows, e.g. needle bearings
- F16C19/30—Bearings with rolling contact, for exclusively rotary movement with bearing rollers essentially of the same size in one or more circular rows, e.g. needle bearings for axial load mainly
- F16C19/305—Bearings with rolling contact, for exclusively rotary movement with bearing rollers essentially of the same size in one or more circular rows, e.g. needle bearings for axial load mainly consisting of rollers held in a cage
-
- F—MECHANICAL ENGINEERING; LIGHTING; HEATING; WEAPONS; BLASTING
- F16—ENGINEERING ELEMENTS AND UNITS; GENERAL MEASURES FOR PRODUCING AND MAINTAINING EFFECTIVE FUNCTIONING OF MACHINES OR INSTALLATIONS; THERMAL INSULATION IN GENERAL
- F16C—SHAFTS; FLEXIBLE SHAFTS; ELEMENTS OR CRANKSHAFT MECHANISMS; ROTARY BODIES OTHER THAN GEARING ELEMENTS; BEARINGS
- F16C2208/00—Plastics; Synthetic resins, e.g. rubbers
- F16C2208/20—Thermoplastic resins
- F16C2208/40—Imides, e.g. polyimide [PI], polyetherimide [PEI]
-
- F—MECHANICAL ENGINEERING; LIGHTING; HEATING; WEAPONS; BLASTING
- F16—ENGINEERING ELEMENTS AND UNITS; GENERAL MEASURES FOR PRODUCING AND MAINTAINING EFFECTIVE FUNCTIONING OF MACHINES OR INSTALLATIONS; THERMAL INSULATION IN GENERAL
- F16C—SHAFTS; FLEXIBLE SHAFTS; ELEMENTS OR CRANKSHAFT MECHANISMS; ROTARY BODIES OTHER THAN GEARING ELEMENTS; BEARINGS
- F16C2240/00—Specified values or numerical ranges of parameters; Relations between them
- F16C2240/40—Linear dimensions, e.g. length, radius, thickness, gap
- F16C2240/60—Thickness, e.g. thickness of coatings
- F16C2240/64—Thickness, e.g. thickness of coatings in the nanometer range
-
- F—MECHANICAL ENGINEERING; LIGHTING; HEATING; WEAPONS; BLASTING
- F16—ENGINEERING ELEMENTS AND UNITS; GENERAL MEASURES FOR PRODUCING AND MAINTAINING EFFECTIVE FUNCTIONING OF MACHINES OR INSTALLATIONS; THERMAL INSULATION IN GENERAL
- F16C—SHAFTS; FLEXIBLE SHAFTS; ELEMENTS OR CRANKSHAFT MECHANISMS; ROTARY BODIES OTHER THAN GEARING ELEMENTS; BEARINGS
- F16C2362/00—Apparatus for lighting or heating
- F16C2362/52—Compressors of refrigerators, e.g. air-conditioners
Landscapes
- Engineering & Computer Science (AREA)
- General Engineering & Computer Science (AREA)
- Mechanical Engineering (AREA)
- Compressor (AREA)
- Rolling Contact Bearings (AREA)
Abstract
Description
本発明は合成樹脂をバインダとした摺動部材用組成物およびこの摺動部材用組成物を用いた転がり軸受に関する。 The present invention relates to a sliding member composition using a synthetic resin as a binder, and a rolling bearing using the sliding member composition.
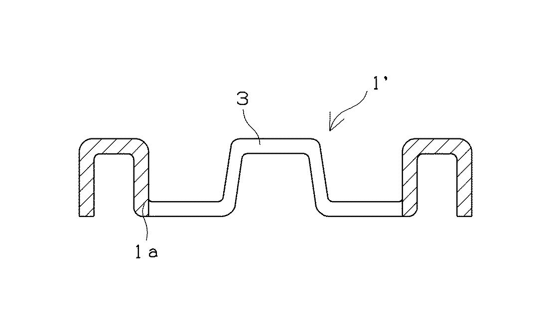
カーエアコンなどの空気調和機に用いられる圧縮機には、一般的に、針状コロ軸受が多用されている。この針状コロ軸受の保持器としては、強度およびコストの面から、鉄板をプレス加工したものが多数用いられている。この保持器の形状を図2に示す。図2は保持器の断面図である。 In general, needle roller bearings are frequently used in compressors used in air conditioners such as car air conditioners. As a retainer for this needle roller bearing, many steel plate presses are used from the viewpoint of strength and cost. The shape of this cage is shown in FIG. FIG. 2 is a sectional view of the cage.
保持器1’には転動体を挿入するための穴3が設けられるが、この穴3の内面は、剪断面となっており、表面粗さが大きく、バリ状の突起が生じやすい。この保持器1を組み込んだ軸受を使用する場合、潤滑剤が豊富に存在する条件下では特に大きな問題を生じないが、カーエアコン用の圧縮機に使用される軸受のように、潤滑剤が希薄にしか存在しない条件下では、穴3内面の突起によって転動体が損傷を受ける場合がある。
この損傷した転動体をそのまま使用していると、転動体の損傷部のエッジ部やその周辺の盛り上がり部分で軌道輪との接触面圧が高まり、転走面に傷が生じる。そして、この状態が継続されると、転動体通過による繰返し応力により、上記の傷が起点となって軌道輪の転走面に極めて短時間で剥離が生じる場合がある。
The cage 1 'is provided with a
If this damaged rolling element is used as it is, the contact surface pressure with the raceway is increased at the edge of the damaged part of the rolling element and the surrounding bulging part, and the rolling surface is damaged. If this state continues, peeling may occur in a very short time on the rolling surface of the raceway due to the above-mentioned scratches due to repeated stress caused by passing through the rolling elements.
これに対し、保持器として樹脂製のものを使用することが考えられるが、転動体の滑りにより保持器が摩耗したり、十分な強度を有さないため、破損が生じたりする場合がある。
また、フッ素樹脂や二硫化モリブデン等の固体潤滑剤を含む皮膜を転動体と接触する部分に形成する方法が開示されている(特許文献1参照)。
しかしながら、フッ素樹脂や二硫化モリブデン等の固体潤滑剤を含む皮膜は耐摩耗性が十分でないため、過酷な条件での試験や長期間の耐久試験を行なうと皮膜が摩耗してなくなり、転動体と保持器が直接接触することとなり、転動体が損傷するため転がり軸受の寿命が短くなるという問題がある。
On the other hand, it is conceivable to use a resin cage as the cage, but the cage may be worn due to the sliding of the rolling elements, or may not be sufficiently strong and may be damaged.
In addition, a method of forming a film containing a solid lubricant such as a fluororesin or molybdenum disulfide on a portion in contact with the rolling element is disclosed (see Patent Document 1).
However, since a film containing a solid lubricant such as fluororesin or molybdenum disulfide has insufficient wear resistance, the film is not worn when subjected to a severe test or a long-term durability test. There is a problem in that the cage comes into direct contact and the rolling element is damaged, so that the life of the rolling bearing is shortened.
一方、フラーレンは、炭素5員環と6員環から構成され、球状に閉じた多面体構造を有する炭素分子であり、その構造から極めて特殊な性質を発現し、超伝導体や半導体、光機能材等への応用が報告されている。また、ジアルコキシジサルファイドの光分解反応へのフラーレンの関与(非特許文献1)、化粧品用途へのフラーレンの応用(非特許文献2)等が報告されている。しかしフラーレンの摺動部材用組成物への応用については知られていない。 On the other hand, fullerene is a carbon molecule composed of a carbon 5-membered ring and a 6-membered ring and having a polyhedral structure closed in a spherical shape, and expresses very special properties from the structure. Application to etc. has been reported. In addition, participation of fullerene in the photodecomposition reaction of dialkoxydisulfide (Non-Patent Document 1), application of fullerene for cosmetic use (Non-Patent Document 2) and the like have been reported. However, the application of fullerene to a composition for a sliding member is not known.
また、ビフェニルエーテルテトラカルボン酸二無水物と、2.5−ビス(4−アミノフェニル)ヒリミジンおよびパラフェニレンジアミンとを原料とするポリイミド樹脂にフラーレンを配合した組成物が知られている(非特許文献3)。しかし、ヘテロ環を分子内に有するポリイミド樹脂は芳香族ポリイミド樹脂に比較して耐熱性に劣り、またフラーレンとヘテロ原子との相互作用が生じる場合も考えられ、フラーレンの配合により摺動特性は向上していない。
本発明は潤滑剤が希薄にしか存在しない過酷な条件下においても、優れた摺動特性を有する摺動部材用組成物およびこの摺動部材用組成物を表面被膜に用いた保持器を備え、長寿命、高信頼性が得られる転がり軸受の提供を目的とする。 The present invention includes a sliding member composition having excellent sliding characteristics even under severe conditions where the lubricant is present only in a dilute state, and a cage using the sliding member composition as a surface coating, The purpose is to provide a rolling bearing that can provide a long life and high reliability.
本発明の摺動部材用組成物は、少なくとも表面部位が摺動部材で形成された機械部品に用いられる摺動部材用組成物であって、該組成物は合成樹脂に、組成物全体に対して、フラーレンを 0.1〜50 容量%配合してなることを特徴とする。
また、上記表面部位に形成された摺動部材が被膜であることを特徴とする。
また、摺動部材用組成物の合成樹脂が芳香族ポリイミド系樹脂であることを特徴とする。
The composition for a sliding member of the present invention is a composition for a sliding member used for a machine part having at least a surface portion formed of a sliding member, and the composition is formed on a synthetic resin with respect to the entire composition. And 0.1 to 50% by volume of fullerene.
Further, the sliding member formed on the surface portion is a film.
Moreover, the synthetic resin of the composition for sliding members is an aromatic polyimide resin.
本発明の転がり軸受は、保持器を備える転がり軸受であって、該保持器の少なくとも表面部位が上記摺動部材用組成物で形成されてなることを特徴とする。
特に、転がり軸受を構成する保持器が鉄系金属材料の成形体であり、その表面に上記摺動部材用組成物の被膜が形成されてなることを特徴とする。
また、上記転がり軸受が空気調和機用圧縮機に使用されることを特徴とする。
The rolling bearing of the present invention is a rolling bearing provided with a cage, and is characterized in that at least a surface portion of the cage is formed of the above-mentioned composition for a sliding member.
In particular, the cage constituting the rolling bearing is a molded body of an iron-based metal material, and the coating film of the composition for sliding member is formed on the surface thereof.
Further, the rolling bearing is used in an air conditioner compressor.
合成樹脂にフラーレンを 0.1〜50 容量%配合することにより、微粒子形状のフラーレンが樹脂体または被膜中に均一に配合される。その結果、フラーレン粒子の作用により耐摩耗性が向上する。 By blending fullerene in a synthetic resin in an amount of 0.1 to 50% by volume, fine particle-shaped fullerene is uniformly blended in the resin body or coating. As a result, the wear resistance is improved by the action of the fullerene particles.
本発明に使用できる合成樹脂としては、耐油性を有し、被膜としたときに皮膜強度が強く、耐摩耗性に優れた材料であれは、特に限定されない。そのような例としては、エポキシ樹脂、フェノール樹脂、ポリカルボジイミド樹脂、フラン樹脂、ビスマレイミドトリアジン樹脂、不飽和ポリエステル樹脂、シリコーン樹脂、ポリアミノビスマレイミド樹脂、芳香族ポリイミド樹脂等の熱硬化性樹脂、ポリオレフィン樹脂、ポリアセタール樹脂、ポリアミド樹脂、ポリフェニレンエーテル樹脂、ポリフェニレンサルファイド樹脂、ポリサルフォン樹脂、ポリエーテルサルフォン樹脂、ポリエーテルイミド樹脂、熱可塑性ポリイミド樹脂、芳香族ポリアミドイミド樹脂、ポリベンゾイミダゾール樹脂、ポリエーテルケトン樹脂、ポリエーテルニトリル樹脂、フッ素樹脂、芳香族ポリエステル樹脂等の熱可塑性樹脂等があげられる。これらの中でも好ましいものとして、芳香族ポリアミドイミド樹脂、芳香族ポリイミド樹脂、エポキン樹脂、フェノール樹脂、ポリフェニレンサルファイド樹脂等があげられる。これらの合成樹脂は、必要に応じて、繊維状や粒子状の各種充填材を配合することができる。 The synthetic resin that can be used in the present invention is not particularly limited as long as it is a material that has oil resistance, has high film strength when formed into a film, and is excellent in wear resistance. Examples of such resins include epoxy resins, phenol resins, polycarbodiimide resins, furan resins, bismaleimide triazine resins, unsaturated polyester resins, silicone resins, polyamino bismaleimide resins, aromatic polyimide resins and other thermosetting resins, polyolefins Resin, polyacetal resin, polyamide resin, polyphenylene ether resin, polyphenylene sulfide resin, polysulfone resin, polyether sulfone resin, polyetherimide resin, thermoplastic polyimide resin, aromatic polyamideimide resin, polybenzimidazole resin, polyether ketone resin And thermoplastic resins such as polyether nitrile resin, fluororesin, and aromatic polyester resin. Among these, preferred are aromatic polyamideimide resin, aromatic polyimide resin, epochine resin, phenol resin, polyphenylene sulfide resin and the like. These synthetic resins can be blended with various fillers in the form of fibers and particles as necessary.
本発明において、特に好ましい合成樹脂は被膜形成能に優れる芳香族ポリイミド系樹脂である。芳香族ポリイミド系樹脂は分子内にベンゼン環に直接結合したイミド環を有する樹脂であり、芳香族ポリイミド樹脂、芳香族ポリアミドイミド樹脂等が挙げられる。 In the present invention, a particularly preferable synthetic resin is an aromatic polyimide resin excellent in film forming ability. The aromatic polyimide resin is a resin having an imide ring directly bonded to a benzene ring in the molecule, and examples thereof include an aromatic polyimide resin and an aromatic polyamideimide resin.
芳香族ポリイミド樹脂は、化1で示す繰返し単位を有する樹脂であり、化1で示す繰返し単位を有する樹脂の前駆体であるポリアミック酸も使用できる。R1は芳香族テトラカルボン酸またはその誘導体の残基であり、R2は芳香族ジアミンまたはその誘導体の残基である。そのようなR1またはR2としては、フェニル基、ナフチル基、ジフェニル基、およびこれらがメチレン基、エーテル基、カルボニル基、スルホン基等の連結基で連結されている芳香族基が挙げられる。
芳香族テトラカルボン酸またはその誘導体の例としては、ピロメリット酸二無水物、2,2´,3,3´−ビフェニルテトラカルボン酸二無水物、3,3´,4,4´−ビフェニルテトラカルボン酸二無水物、3,3´,4,4´−ベンゾフェノンテトラカルボン酸二無水物、1,2,5,6−ナフタレンテトラカルボン酸二無水物、ビス(2,3−ジカルボキシフェニル)メタン酸二無水物等が挙げられ、これらは単独あるいは混合して用いられる。
芳香族ジアミンまたはその誘導体の例としては、4,4´−ジアミノジフェニルエーテル、3,3´−ジアミノジフェニルスルホン、4,4´−ジアミノジフェニルメタン、メタフェニレンジアミン、パラフェニレンジアミン、4,4’−ビス(3−アミノフェノキシ)ビフェニルエーテルなどのジアミン類またはジイソシアネート類が挙げられる。
Examples of aromatic tetracarboxylic acids or derivatives thereof include pyromellitic dianhydride, 2,2 ′, 3,3′-biphenyltetracarboxylic dianhydride, 3,3 ′, 4,4′-biphenyltetra Carboxylic dianhydride, 3,3 ′, 4,4′-benzophenone tetracarboxylic dianhydride, 1,2,5,6-naphthalene tetracarboxylic dianhydride, bis (2,3-dicarboxyphenyl) Examples thereof include methanoic dianhydride, and these are used alone or in combination.
Examples of aromatic diamines or derivatives thereof include 4,4′-diaminodiphenyl ether, 3,3′-diaminodiphenyl sulfone, 4,4′-diaminodiphenylmethane, metaphenylenediamine, paraphenylenediamine, and 4,4′-bis. Examples include diamines such as (3-aminophenoxy) biphenyl ether or diisocyanates.
上記芳香族テトラカルボン酸またはその誘導体と、芳香族ジアミンまたはその誘導体との組み合わせで得られる芳香族ポリイミド樹脂の例としては、表1に示す繰返し単位を有するものが挙げられる。これらはR1およびR2にヘテロ原子を有しない樹脂である。
芳香族ポリイミド樹脂ワニスの市販品としては、例えば宇部興産社製Uワニスが挙げられる。
Examples of the aromatic polyimide resin obtained by a combination of the aromatic tetracarboxylic acid or derivative thereof and the aromatic diamine or derivative thereof include those having a repeating unit shown in Table 1. These are resins having no heteroatoms in R 1 and R 2 .
As a commercial item of aromatic polyimide resin varnish, U varnish by Ube Industries, Ltd. is mentioned, for example.
芳香族ポリアミドイミド樹脂は、化2で示す繰返し単位を有する樹脂であり、R3は芳香族トリカルボン酸またはその誘導体の残基であり、R2は芳香族ジアミンまたはその誘導体の残基である。そのようなR2またはR3としては、フェニル基、ナフチル基、ジフェニル基、およびこれらがメチレン基、エーテル基、カルボニル基、スルホン基等の連結基で連結されている芳香族基が挙げられる。
芳香族トリカルボン酸またはその誘導体の例としては、トリメリット酸無水物、2,2´,3−ビフェニルトリカルボン酸無水物、3,3´,4−ビフェニルトリカルボン酸無水物、3,3´,4−ベンゾフェノントリカルボン酸無水物、1,2,5−ナフタレントリカルボン酸無水物、2,3−ジカルボキシフェニルメチル安息香酸無水物等が挙げられ、これらは単独あるいは混合して用いられる。
芳香族ジアミンまたはその誘導体の例としては、4,4´−ジアミノジフェニルエーテル、3,3´−ジアミノジフェニルスルホン、4,4´−ジアミノジフェニルメタン、メタフェニレンジアミン、パラフェニレンジアミンなどのジアミン類またはジイソシアネート類が挙げられる。
Examples of aromatic tricarboxylic acids or derivatives thereof include trimellitic anhydride, 2,2 ′, 3-biphenyltricarboxylic anhydride, 3,3 ′, 4-biphenyltricarboxylic anhydride, 3,3 ′, 4 -Benzophenone tricarboxylic acid anhydride, 1,2,5-naphthalene tricarboxylic acid anhydride, 2,3-dicarboxyphenylmethyl benzoic acid anhydride, etc. are mentioned, These are used individually or in mixture.
Examples of aromatic diamines or derivatives thereof include diamines or diisocyanates such as 4,4′-diaminodiphenyl ether, 3,3′-diaminodiphenyl sulfone, 4,4′-diaminodiphenylmethane, metaphenylenediamine, paraphenylenediamine, and the like. Is mentioned.
芳香族ポリイミド樹脂と異なり、前駆体を経ることなく樹脂溶液の状態で化2で示す繰返し単位を有する芳香族ポリアミドイミド樹脂が本発明において特に好ましい。また、芳香族ポリアミドイミド樹脂のジイソシアネート変性、BPDA変性、スルホン変性、ゴム変性樹脂を使用できる。芳香族ポリアミドイミド樹脂ワニスの市販品としては、例えば日立化成社製HPC4250が挙げられる。 Unlike an aromatic polyimide resin, an aromatic polyamideimide resin having a repeating unit represented by Chemical Formula 2 in a resin solution state without passing through a precursor is particularly preferred in the present invention. In addition, diisocyanate-modified, BPDA-modified, sulfone-modified and rubber-modified resins of aromatic polyamideimide resins can be used. As a commercial item of aromatic polyamide-imide resin varnish, for example, HPC4250 manufactured by Hitachi Chemical Co., Ltd. may be mentioned.
芳香族ポリイミド系樹脂に配合されるフラーレンは、炭素5員環と6員環から構成され、球状に閉じた多様な多面体構造を有する炭素分子である。グラファイト、ダイヤモンドに続く第3の炭素同素体として1985年にH.W.KrotoとR.E.Smalley等によって発見された新規な炭素材料である。代表的な分子構造としては、60個の炭素原子が12個の五員環と20個の六員環からなる球状の切頭正二十面体を構成する、いわゆるサッカーボール状の構造のC60が挙げられ、同様に70個の炭素原子からなるC70、さらに炭素数の多い高次フラーレン、例えばC76、C78、C82、C84、C90、C94、C96などが存在する。これらのうちのC60およびC70が代表的なフラーレンである。また、これらを反応させて多量体が得られる。本発明においては、フラーレンであれば球状、あるいは多量体のいずれも使用できる。 The fullerene blended in the aromatic polyimide resin is a carbon molecule composed of a carbon 5-membered ring and a 6-membered ring and having various polyhedral structures closed in a spherical shape. As a third carbon allotrope following graphite and diamond, H. W. Kroto and R.K. E. It is a new carbon material discovered by Smalley et al. As a typical molecular structure, a C 60 having a so-called soccer ball-like structure in which 60 carbon atoms constitute a spherical truncated icosahedron composed of 12 five-membered rings and 20 six-membered rings. Similarly, there are C 70 composed of 70 carbon atoms, and higher fullerenes having a larger number of carbon atoms such as C 76 , C 78 , C 82 , C 84 , C 90 , C 94 , C 96, etc. . Of these, C 60 and C 70 are typical fullerenes. Moreover, a multimer is obtained by making these react. In the present invention, any fullerene can be used, either spherical or multimeric.
フラーレンの製造法には、レーザ蒸発法、抵抗加熱法、アーク放電法、熱分解法などがあり、具体的には、例えば特許第2802324号に開示されており、これらは、減圧下あるいは不活性ガス存在化、炭素蒸気を生成し、冷却、クラスター成長させることによりフラーレン類を得ている。
一方、近年、経済的で効率のよい大量製造法として燃焼法が実用化されている。燃焼法の例としては、バーナーが減圧チャンバー内に設置された装置を使用し、系内を真空ポンプにて換気しつつ炭化水素原料と酸素とを混合してバーナーに供給し、火炎を生成する。その後、上記火炎により生成した煤状物質を下流に設けた回収装置により回収する。この製造法において、フラーレンは煤中の溶媒可溶分として得られ、溶媒抽出、昇華等により単離される。得られたフラーレンは通常C60、C70および高次フラーレンの混含物であり、さらに精製してC60、C70等を単離することもできる。
本発明で用いるフラーレンとしては、構造や製造法を特に限定するものではないが、特にC60、C70の炭素数のもの、あるいはこれらの混合物が好ましい。
The fullerene production method includes a laser evaporation method, a resistance heating method, an arc discharge method, a thermal decomposition method, etc., and specifically disclosed in, for example, Japanese Patent No. 2802324, which is under reduced pressure or inactive. Fullerenes are obtained by gas existence, generation of carbon vapor, cooling and cluster growth.
On the other hand, in recent years, a combustion method has been put to practical use as an economical and efficient mass production method. As an example of the combustion method, a device in which a burner is installed in a decompression chamber is used, and a hydrocarbon raw material and oxygen are mixed and supplied to the burner while the system is ventilated with a vacuum pump to generate a flame. . Then, the soot-like substance produced | generated by the said flame is collect | recovered with the collection | recovery apparatus provided downstream. In this production method, fullerene is obtained as a solvent-soluble component in soot and is isolated by solvent extraction, sublimation or the like. The obtained fullerene is usually a mixture of C 60 , C 70 and higher order fullerene, and can be further purified to isolate C 60 , C 70 and the like.
The fullerene used in the present invention is not particularly limited in its structure and production method, but those having a carbon number of C 60 or C 70 or a mixture thereof are particularly preferred.
フラーレンは固体状の配合剤として、あるいはフラーレンを有機溶剤に溶解、分散させて得られる配合剤として用いることができる。いずれの場合においても、フラーレンはC60、C70およぴ高次フラーレン単独でも、混含状態でも用いることが可能であるが、樹脂への分散性等の観点から、これらを混合状態で用いることが好ましい。さらにより分散性を良好にするため、混合時の平均粒径は 100μm 以下、好ましくは 50μm 以下、より好ましくは 10μm 以下である。
摺動部材用組成物に対するフラーレンの配合割合は、組成物全体に対して、固体状のフラーレンを 0.1〜50 容量%、好ましくは 0.3〜30 容量%配合する。0.1 容量%未満では十分な耐摩耗性を得ることができず、50 容量%をこえると分散不良となり耐摩耗性が悪化する。
Fullerene can be used as a solid compounding agent or as a compounding agent obtained by dissolving and dispersing fullerene in an organic solvent. In any case, C 60 , C 70 and higher order fullerenes can be used alone or in a mixed state, but these are used in a mixed state from the viewpoint of dispersibility in the resin and the like. It is preferable. In order to further improve dispersibility, the average particle size at the time of mixing is 100 μm or less, preferably 50 μm or less, more preferably 10 μm or less.
The blending ratio of fullerene to the sliding member composition is 0.1 to 50% by volume, preferably 0.3 to 30% by volume of solid fullerene based on the entire composition. If it is less than 0.1% by volume, sufficient wear resistance cannot be obtained, and if it exceeds 50% by volume, the dispersion becomes poor and the wear resistance deteriorates.
本発明の摺動部材用組成物には、耐摩耗性を低下させずに、摩擦係数の安定化や初期馴染み性を向上させることを目的に、二硫化モリブデン、二硫化タングステン、ポリテトラフルオロエチレン、黒鉛等の固体潤滑剤をフラーレンと併用することができる。 The composition for a sliding member of the present invention includes molybdenum disulfide, tungsten disulfide, and polytetrafluoroethylene for the purpose of stabilizing the friction coefficient and improving the initial conformability without reducing the wear resistance. A solid lubricant such as graphite can be used in combination with fullerene.
転がり軸受に用いる保持器の材料としては、特に限定されるものでなく、鉄系金属材料、銅系金属材料、樹脂材料を使用することができる。
鉄系金属材料としては、冷間圧延鋼(SPCC)、熱間圧延鋼(SPHC)、炭素鋼(S25C〜S55C)、ステンレス鋼(SUS304〜SUS316)、軟鋼(SS400)等を使用できる。
また、銅系金属材料としては、銅−亜鉛合金(HBsC1、HBsBE1、BSP1〜3)、銅−アルミニウム−鉄合金(AlBC1)等を使用できる。
また、ナイロン、ポリフェニレンスルフィド、ポリエーテルエーテルケトン等の樹脂材料を使用することができる。樹脂材料に補強材としてガラス繊維や炭素繊維等を含有するものも使用できる。
本発明においては鉄系金属材料が好ましい。
The material of the cage used for the rolling bearing is not particularly limited, and an iron-based metal material, a copper-based metal material, and a resin material can be used.
As the ferrous metal material, cold rolled steel (SPCC), hot rolled steel (SPHC), carbon steel (S25C to S55C), stainless steel (SUS304 to SUS316), mild steel (SS400) and the like can be used.
Moreover, as a copper-type metallic material, a copper-zinc alloy (HBsC1, HBsBE1, BSP1-3), a copper-aluminum-iron alloy (AlBC1), etc. can be used.
Moreover, resin materials, such as nylon, polyphenylene sulfide, and polyetheretherketone, can be used. A resin material containing glass fiber or carbon fiber as a reinforcing material can also be used.
In the present invention, an iron-based metal material is preferable.
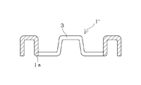
空気調和機用圧縮機に使用される針状コロ軸受の保持器の一例を図1に示す。図1(a)は保持器の一部斜視図であり、図1(b)は断面図である。
保持器1は鉄系金属材料の成形体1aの表面にフラーレン含有樹脂被膜2が形成されている。3は転動体を挿入するための穴である。
An example of a cage for a needle roller bearing used in a compressor for an air conditioner is shown in FIG. Fig.1 (a) is a partial perspective view of a holder | retainer, FIG.1 (b) is sectional drawing.
The
本発明の摺動部材用組成物を、転がり軸受保持器用の被膜とする場合は、次の方法で皮膜を形成させることができる。
まず、鉄系金属材料で形成された基材となる保持器を十分に洗浄し、表面の汚染を除去する。この洗浄方法としては、有機溶剤による浸漬洗浄、超音波洗浄、蒸気洗浄、酸・アルカリ洗浄等による方法が挙げられる。
次いで、スプレーコーティング法、ディップ(浸漬)コーティング法、静電塗装法、タンブラーコーティング法等によって、摺動部材用組成物の被膜を保持器表面に形成させる。好ましい被膜の厚さは、1〜100μm 、より好ましくは 1〜50μm である。また、被膜形成の過程で、余分に付着したワニスはふき取り、遠心分離、エアーブロー等の物理的、化学的方法により除去し、所望の厚さに調整する。
被膜形成後は、加熱処理によって溶媒除去、乾燥、融解、架橋等を行ない、表面に被膜が形成された保持器を完成させる。膜厚を増す場合には、重ね塗りをしてもよい。また、被膜完成後に機械加工やタンブラー処理等を行なうことも可能である。
When the composition for a sliding member of the present invention is used as a coating for a rolling bearing cage, the coating can be formed by the following method.
First, a cage as a base formed of an iron-based metal material is sufficiently washed to remove surface contamination. Examples of the cleaning method include immersion cleaning with an organic solvent, ultrasonic cleaning, steam cleaning, acid / alkali cleaning, and the like.
Next, a coating film of the sliding member composition is formed on the cage surface by spray coating, dip coating, electrostatic coating, tumbler coating, or the like. A preferred coating thickness is 1 to 100 μm, more preferably 1 to 50 μm. Further, in the process of forming the film, excess varnish adhered is removed by physical and chemical methods such as wiping, centrifugation, air blowing, etc., and adjusted to a desired thickness.
After the formation of the coating, solvent removal, drying, melting, crosslinking, and the like are performed by heat treatment to complete the cage having the coating formed on the surface. When the film thickness is increased, it may be overcoated. It is also possible to perform machining or tumbling after the coating is completed.
フラーレン含有樹脂被膜2と鉄系金属材料の成形体1aとの密着性を向上させるため、保持器の基材はプレス加工することによって得られたものが好ましい。プレス加工の際に、転動体を挿入するための穴3を剪断によって開けるが、この剪断によって生じる凹凸がアンカーとなり、皮膜と保持器の穴の部分が良好に密着するからである。ただ、この穴の部分以外のプレス面は、比較的平滑であり、この面での密着性を上げるためには、ショットブラスト等の表面処理やリン酸皮膜処理等を行なうことが望ましい。
In order to improve the adhesion between the fullerene-containing
本発明に係る転がり軸受の形式は、ラジアル軸受、スラスト軸受のいずれの場合であってもよい。また、転動体の形状は特に限定されないが、特にコロ形状、針状コロ形状の場合に、この発明の効果をより享受することができる。
また、本発明に係る転がり軸受は、圧縮機、特にエアコンやカーエアコン等の空気調和機用の圧縮機など、希薄な潤滑条件で使用される転がり軸受に好適に使用できる。
The type of the rolling bearing according to the present invention may be either a radial bearing or a thrust bearing. Further, the shape of the rolling element is not particularly limited, but the effect of the present invention can be enjoyed more particularly in the case of a roller shape or a needle roller shape.
In addition, the rolling bearing according to the present invention can be suitably used for a rolling bearing used under lean lubrication conditions such as a compressor, particularly a compressor for an air conditioner such as an air conditioner or a car air conditioner.
本発明の実施例と比較例に用いた材料を一括して示すと次の通りである。[ ]内は表2に示す略称である。
(1)芳香族ポリアミドイミド樹脂ワニス[PAI]
日立化成工業社製HPC−4250
(2)芳香族ポリイミド樹脂ワニス[PI]
宇部興産社製Uワニス−A
(3)混合フラーレン[ミックスフラーレン]
フロンティアカーボン社製混合フラーレン、C60(直径:0.71nm )が約 60 重量%、C70(長軸径:0.796nm、短軸径:0.712nm)が約 25 重量%で残部が高次フラーレンの混合物である。
(4)シリカ粉末[シリカ−7μm]
東海ミネラル社製ES−07、モース硬さ7、平均粒径 7μm
(5)二硫化モリブデン粉末[MoS2−0.5μm]
日本モリブデン社製M5、平均粒径 0.5μm
(6)ポリテトラフルオロエチレン粉末[PTFE−3μm]
ヘキスト社製ホスタフロンTF9207、平均粒径 3μm
(7)黒鉛粉末[黒鉛−6μm]
大阪ガス社製MCMB6−2800、平均粒径 6μm
(8)雲母粉末[雲母−3μm]
ノガミ工業社製セリサイト2NW6、平均粒径 0.6μm
The materials used in the examples and comparative examples of the present invention are collectively shown as follows. [] Is an abbreviation shown in Table 2.
(1) Aromatic polyamide-imide resin varnish [PAI]
HPC-4250 manufactured by Hitachi Chemical Co., Ltd.
(2) Aromatic polyimide resin varnish [PI]
U varnish-A made by Ube Industries
(3) Mixed fullerene [mixed fullerene]
Frontier Carbon's mixed fullerene, C 60 (diameter: 0.71 nm) is about 60 wt%, C 70 (major axis diameter: 0.796 nm, minor axis diameter: 0.712 nm) is about 25 wt% with the balance being higher order fullerene It is a mixture.
(4) Silica powder [Silica-7 μm]
ES-07 made by Tokai Mineral Co., Mohs hardness 7, average particle size 7μm
(5) Molybdenum disulfide powder [MoS 2 -0.5 μm]
Nippon Molybdenum M5, average particle size 0.5μm
(6) Polytetrafluoroethylene powder [PTFE-3 μm]
Hoechst Hostaflon TF9207, average particle size 3μm
(7) Graphite powder [graphite-6 μm]
MCMB6-2800 made by Osaka Gas Co., average particle size 6μm
(8) Mica powder [Mica-3 μm]
Nogami Kogyo sericite 2NW6, average particle size 0.6μm
実施例1〜3、比較例1〜7
芳香族ポリアミドイミド樹脂ワニス(溶剤:N−メチル−2−ピロリドン)の固形分に対し各種充填材を表2に記載の割合でボールミルで十分に均一分散するまで混合して、混合液をSPCC平板にディッピング法にてコーティングした。コーティング後 100℃で 1 時間乾燥し、180℃で 1 時間焼成した。皮膜厚みは、ディッピング回数を調整し、20〜30μm になるようにした。なお、フラーレンを分散させたコーティング液のみは、あらかじめフラーレンをトルエンとN−メチル−2−ピロリドンとの混合溶媒(混合重量比率(50/50))に 5 %の濃度で溶解させてから添加した。表2に各成分の配合割合を示す。なお、各成分の配合割合は固形分での割合でありすべて容量%である。
Examples 1-3, Comparative Examples 1-7
Various fillers were mixed with the solid content of the aromatic polyamideimide resin varnish (solvent: N-methyl-2-pyrrolidone) in the proportions shown in Table 2 until they were sufficiently uniformly dispersed by a ball mill, and the mixture was mixed with the SPCC flat plate. It was coated by dipping method. After coating, it was dried at 100 ° C. for 1 hour and baked at 180 ° C. for 1 hour. The film thickness was adjusted to 20-30 μm by adjusting the number of dipping. Only the coating liquid in which fullerene was dispersed was added after dissolving fullerene in a mixed solvent of toluene and N-methyl-2-pyrrolidone (mixed weight ratio (50/50)) at a concentration of 5%. . Table 2 shows the blending ratio of each component. In addition, the mixture ratio of each component is a ratio in solid content, and all are volume%.
得られた試験片を摩耗試験を用いて、軸受保持器に要求される特性として摩粍量と相手材の損傷程度を評価した。
摩耗試験の形態は、回転する円盤の外周面に、上記方法で作製したコーティング平板を加圧接触させ、平板状試験片と円盤状相手材とを摺動させた。試験条件は、荷重 50 N 、速度 50 mm/s 、円盤材質SUJ2(Ra 0.01μm )、試験時間 1 時間で、タービン油(VG2)中での油浴潤滑とした。なお、試験面圧は、試験後の摩粍痕面積から計算すると 50〜100 MPa である。測定結果を表2に示す。
Using the abrasion test, the obtained specimen was evaluated for the amount of abrasion and the degree of damage to the mating material as characteristics required for the bearing cage.
In the form of the wear test, the coated flat plate produced by the above method was brought into pressure contact with the outer peripheral surface of the rotating disk, and the flat test piece and the disk-shaped mating member were slid. The test conditions were load 50 N, speed 50 mm / s, disk material SUJ2 (Ra 0.01 μm),
実施例4
芳香族ポリイミド樹脂ワニス(溶剤:N−メチル−2−ピロリドン)を用いて、表2に示す割合でフラーレンを配合し、コーティング後の焼成時間を 350℃とする以外は実施例1と同様の方法で試験片を作製し、実施例1と同様に評価した。結果を表2に示す。
Example 4
The same method as in Example 1 except that aromatic polyimide resin varnish (solvent: N-methyl-2-pyrrolidone) is used and the fullerene is blended in the proportions shown in Table 2 and the baking time after coating is 350 ° C. A test piece was prepared and evaluated in the same manner as in Example 1. The results are shown in Table 2.
以下に実施例および比較例の評価結果について示す。
表2に示す結果から明らかなように、従来から使用されているポリテトラフルオロエチレンを配合した比較例1は、相手材の損傷が小さいが、摩耗量が大きく十分な耐久性を有しているとは言えない。比較例2〜6は、十分な耐摩耗性が得られない。比較例7はフラーレンの配合量が所定量より多いため、分散が悪く、またバインダである樹脂分が少なくフラーレンを保持しきれないため摩耗量が増大した。
The evaluation results of Examples and Comparative Examples are shown below.
As is apparent from the results shown in Table 2, Comparative Example 1 in which polytetrafluoroethylene used in the past is blended has little damage to the counterpart material, but has a large wear amount and sufficient durability. It can not be said. In Comparative Examples 2 to 6, sufficient wear resistance cannot be obtained. In Comparative Example 7, since the blending amount of fullerene was larger than a predetermined amount, the dispersion was poor, and the amount of wear was increased because the resin content as a binder was small and could not hold fullerene.
一方、実施例1〜4は、フラーレンを所定量配合した芳香族ポリイミド系樹脂被膜であるので、相手材の損傷がほとんどなく、十分な耐摩耗性を示す。また、摩擦係数も低かった。 On the other hand, Examples 1-4 are aromatic polyimide resin coatings containing a predetermined amount of fullerene, so that there is almost no damage to the counterpart material, and sufficient wear resistance is exhibited. The coefficient of friction was also low.
転がり軸受の保持器にフラーレンを配合した芳香族ポリイミド系樹脂被膜を形成するので、転動体と保持器の接触による転動体の損傷が抑制され、長寿命、高信頼性が得られる。そのため、潤滑剤が希薄にしか存在しない過酷な条件下において使用される転がり軸受の保持器に好適に利用できる。 Since the aromatic polyimide resin film in which fullerene is blended is formed in the cage of the rolling bearing, damage to the rolling element due to contact between the rolling element and the cage is suppressed, and a long life and high reliability are obtained. Therefore, it can be suitably used for a rolling bearing retainer used under severe conditions where the lubricant is present only in a lean state.
1 保持器
2 フラーレン含有樹脂被膜
3 穴
1
Claims (6)
Priority Applications (1)
| Application Number | Priority Date | Filing Date | Title |
|---|---|---|---|
| JP2004119281A JP4633381B2 (en) | 2004-04-14 | 2004-04-14 | Composition for sliding member and rolling bearing |
Applications Claiming Priority (1)
| Application Number | Priority Date | Filing Date | Title |
|---|---|---|---|
| JP2004119281A JP4633381B2 (en) | 2004-04-14 | 2004-04-14 | Composition for sliding member and rolling bearing |
Publications (2)
| Publication Number | Publication Date |
|---|---|
| JP2005299852A true JP2005299852A (en) | 2005-10-27 |
| JP4633381B2 JP4633381B2 (en) | 2011-02-16 |
Family
ID=35331619
Family Applications (1)
| Application Number | Title | Priority Date | Filing Date |
|---|---|---|---|
| JP2004119281A Expired - Fee Related JP4633381B2 (en) | 2004-04-14 | 2004-04-14 | Composition for sliding member and rolling bearing |
Country Status (1)
| Country | Link |
|---|---|
| JP (1) | JP4633381B2 (en) |
Cited By (9)
| Publication number | Priority date | Publication date | Assignee | Title |
|---|---|---|---|---|
| JP2006160799A (en) * | 2004-12-02 | 2006-06-22 | Toyota Industries Corp | Coating composition, method for producing sliding layer using the coating composition and sliding member having the sliding layer |
| JP2007084719A (en) * | 2005-09-22 | 2007-04-05 | Ntn Corp | Bearing resin material and resin rolling bearing |
| JP2007170537A (en) * | 2005-12-21 | 2007-07-05 | Ntn Corp | Rolling bearing |
| WO2008143210A1 (en) * | 2007-05-21 | 2008-11-27 | Ntn Corporation | Resin composition for slide member and roller bearing |
| JP2008286375A (en) * | 2007-05-21 | 2008-11-27 | Ntn Corp | Composition for sliding member and rolling bearing |
| JP2009115255A (en) * | 2007-11-08 | 2009-05-28 | Ntn Corp | Rolling bearing for aircraft |
| JP2009133403A (en) * | 2007-11-30 | 2009-06-18 | Ntn Corp | Spindle supporting rolling bearing for wind power generation device |
| JP2009150256A (en) * | 2007-12-19 | 2009-07-09 | Ntn Corp | Rolling bearing for aircraft |
| EP3632577A4 (en) * | 2017-05-25 | 2020-06-17 | Shandong Golden Empire Precision Machinery Technology Co., Ltd | PLASTIC SPRAYING METHOD AND DEVICE FOR BEARING HOLDERS |
Citations (9)
| Publication number | Priority date | Publication date | Assignee | Title |
|---|---|---|---|---|
| JPH06337016A (en) * | 1993-05-28 | 1994-12-06 | Nippon Seiko Kk | Corrosion resistant rolling bearing |
| JPH0942295A (en) * | 1995-07-31 | 1997-02-10 | Ntn Corp | Solid lubrication rolling bearing |
| JPH09188506A (en) * | 1995-12-29 | 1997-07-22 | Sony Corp | Fluorofullerene polymer, fluorinated fullerene polymer film, fluorinated fullerene polymer-containing medium, and methods for producing the same |
| JP2002053883A (en) * | 2000-08-07 | 2002-02-19 | Toyota Motor Corp | Composition for sliding members |
| JP2002069473A (en) * | 2000-09-01 | 2002-03-08 | Toyota Motor Corp | Composition for sliding members |
| JP2003012885A (en) * | 2001-04-24 | 2003-01-15 | Ntn Corp | Abrasion-resistant fluororesin composition and coating film, and seamless pipe for fixing device |
| JP2003194970A (en) * | 2001-12-21 | 2003-07-09 | Seiko Instruments Inc | Timepiece having train wheel and train wheel apparatus |
| JP2003301838A (en) * | 2002-04-10 | 2003-10-24 | Ntn Corp | Rolling bearing |
| JP2004075933A (en) * | 2002-08-21 | 2004-03-11 | Toray Ind Inc | Thermoplastic resin composition and manufacturing method therefor |
-
2004
- 2004-04-14 JP JP2004119281A patent/JP4633381B2/en not_active Expired - Fee Related
Patent Citations (9)
| Publication number | Priority date | Publication date | Assignee | Title |
|---|---|---|---|---|
| JPH06337016A (en) * | 1993-05-28 | 1994-12-06 | Nippon Seiko Kk | Corrosion resistant rolling bearing |
| JPH0942295A (en) * | 1995-07-31 | 1997-02-10 | Ntn Corp | Solid lubrication rolling bearing |
| JPH09188506A (en) * | 1995-12-29 | 1997-07-22 | Sony Corp | Fluorofullerene polymer, fluorinated fullerene polymer film, fluorinated fullerene polymer-containing medium, and methods for producing the same |
| JP2002053883A (en) * | 2000-08-07 | 2002-02-19 | Toyota Motor Corp | Composition for sliding members |
| JP2002069473A (en) * | 2000-09-01 | 2002-03-08 | Toyota Motor Corp | Composition for sliding members |
| JP2003012885A (en) * | 2001-04-24 | 2003-01-15 | Ntn Corp | Abrasion-resistant fluororesin composition and coating film, and seamless pipe for fixing device |
| JP2003194970A (en) * | 2001-12-21 | 2003-07-09 | Seiko Instruments Inc | Timepiece having train wheel and train wheel apparatus |
| JP2003301838A (en) * | 2002-04-10 | 2003-10-24 | Ntn Corp | Rolling bearing |
| JP2004075933A (en) * | 2002-08-21 | 2004-03-11 | Toray Ind Inc | Thermoplastic resin composition and manufacturing method therefor |
Cited By (10)
| Publication number | Priority date | Publication date | Assignee | Title |
|---|---|---|---|---|
| JP2006160799A (en) * | 2004-12-02 | 2006-06-22 | Toyota Industries Corp | Coating composition, method for producing sliding layer using the coating composition and sliding member having the sliding layer |
| JP2007084719A (en) * | 2005-09-22 | 2007-04-05 | Ntn Corp | Bearing resin material and resin rolling bearing |
| JP2007170537A (en) * | 2005-12-21 | 2007-07-05 | Ntn Corp | Rolling bearing |
| WO2008143210A1 (en) * | 2007-05-21 | 2008-11-27 | Ntn Corporation | Resin composition for slide member and roller bearing |
| JP2008286375A (en) * | 2007-05-21 | 2008-11-27 | Ntn Corp | Composition for sliding member and rolling bearing |
| US8449200B2 (en) | 2007-05-21 | 2013-05-28 | Ntn Corporation | Resin composition for sliding member and rolling bearing |
| JP2009115255A (en) * | 2007-11-08 | 2009-05-28 | Ntn Corp | Rolling bearing for aircraft |
| JP2009133403A (en) * | 2007-11-30 | 2009-06-18 | Ntn Corp | Spindle supporting rolling bearing for wind power generation device |
| JP2009150256A (en) * | 2007-12-19 | 2009-07-09 | Ntn Corp | Rolling bearing for aircraft |
| EP3632577A4 (en) * | 2017-05-25 | 2020-06-17 | Shandong Golden Empire Precision Machinery Technology Co., Ltd | PLASTIC SPRAYING METHOD AND DEVICE FOR BEARING HOLDERS |
Also Published As
| Publication number | Publication date |
|---|---|
| JP4633381B2 (en) | 2011-02-16 |
Similar Documents
| Publication | Publication Date | Title |
|---|---|---|
| CN101715471B (en) | Resin composition for sliding member and rolling bearing | |
| JP4633381B2 (en) | Composition for sliding member and rolling bearing | |
| JP2008286375A (en) | Composition for sliding member and rolling bearing | |
| JP6591820B2 (en) | Foil bearing | |
| US20130174724A1 (en) | Swash plate for swash plate compressor and swash plate compressor | |
| US9808894B2 (en) | Swash plate of a swash plate type compressor and the swash plate type compressor | |
| JP2009156295A (en) | Rolling bearing for wind power generator | |
| Song et al. | Fabrication of polydopamine‐modified carbon fabric/polyimide composites with enhanced mechanical and tribological properties | |
| JPS61162551A (en) | Polyetherimide bearing composition | |
| JP5122934B2 (en) | Rolling bearing for aircraft | |
| JP2011075021A (en) | Sliding member, retainer, and rolling bearing | |
| CN114540099A (en) | Super-slip system and application thereof | |
| JP2007145894A (en) | Multi-layer sliding member | |
| JP2010065820A (en) | Bearing for tenter clip guide | |
| JPH10122040A (en) | Piston for internal combustion engine | |
| JP2009133403A (en) | Spindle supporting rolling bearing for wind power generation device | |
| JP2009115255A (en) | Rolling bearing for aircraft | |
| JP2010065821A (en) | Retainer for ball bearing and ball bearing | |
| JP2007051569A (en) | Swash plate compressor and its swash plate, and | |
| JP2010065819A (en) | Bearing for automobile accessory | |
| JP2010065818A (en) | Bearing for motorcycle reduction gear | |
| JP2009133402A (en) | Universal joint | |
| JP4886764B2 (en) | Rolling bearing | |
| JP2009150439A (en) | Universal joint | |
| JP2010065816A (en) | Retainer and ball bearing provided with retainer |
Legal Events
| Date | Code | Title | Description |
|---|---|---|---|
| A711 | Notification of change in applicant |
Free format text: JAPANESE INTERMEDIATE CODE: A711 Effective date: 20070411 |
|
| A621 | Written request for application examination |
Free format text: JAPANESE INTERMEDIATE CODE: A621 Effective date: 20070412 |
|
| A521 | Request for written amendment filed |
Free format text: JAPANESE INTERMEDIATE CODE: A821 Effective date: 20070412 |
|
| A977 | Report on retrieval |
Free format text: JAPANESE INTERMEDIATE CODE: A971007 Effective date: 20090417 |
|
| A131 | Notification of reasons for refusal |
Free format text: JAPANESE INTERMEDIATE CODE: A131 Effective date: 20090428 |
|
| A521 | Request for written amendment filed |
Free format text: JAPANESE INTERMEDIATE CODE: A523 Effective date: 20090629 |
|
| A131 | Notification of reasons for refusal |
Free format text: JAPANESE INTERMEDIATE CODE: A131 Effective date: 20100406 |
|
| A521 | Request for written amendment filed |
Free format text: JAPANESE INTERMEDIATE CODE: A523 Effective date: 20100607 |
|
| TRDD | Decision of grant or rejection written | ||
| A01 | Written decision to grant a patent or to grant a registration (utility model) |
Free format text: JAPANESE INTERMEDIATE CODE: A01 Effective date: 20101026 |
|
| A01 | Written decision to grant a patent or to grant a registration (utility model) |
Free format text: JAPANESE INTERMEDIATE CODE: A01 |
|
| A61 | First payment of annual fees (during grant procedure) |
Free format text: JAPANESE INTERMEDIATE CODE: A61 Effective date: 20101117 |
|
| R150 | Certificate of patent or registration of utility model |
Free format text: JAPANESE INTERMEDIATE CODE: R150 |
|
| FPAY | Renewal fee payment (event date is renewal date of database) |
Free format text: PAYMENT UNTIL: 20131126 Year of fee payment: 3 |
|
| LAPS | Cancellation because of no payment of annual fees |
