JP2005296030A - 磁場計測装置 - Google Patents

磁場計測装置 Download PDF

Info

Publication number
JP2005296030A
JP2005296030A JP2004111908A JP2004111908A JP2005296030A JP 2005296030 A JP2005296030 A JP 2005296030A JP 2004111908 A JP2004111908 A JP 2004111908A JP 2004111908 A JP2004111908 A JP 2004111908A JP 2005296030 A JP2005296030 A JP 2005296030A
Authority
JP
Japan
Prior art keywords
bias
magnetic field
bias current
signal
squid magnetometers
Prior art date
Legal status (The legal status is an assumption and is not a legal conclusion. Google has not performed a legal analysis and makes no representation as to the accuracy of the status listed.)
Granted
Application number
JP2004111908A
Other languages
English (en)
Other versions
JP3715303B2 (ja
Inventor
Akihiko Kandori
明彦 神鳥
Takeshi Miyashita
豪 宮下
Daisuke Suzuki
大介 鈴木
Kuniomi Ogata
邦臣 緒方
Akira Tsukamoto
塚本  晃
Yuukai Seki
悠介 関
Current Assignee (The listed assignees may be inaccurate. Google has not performed a legal analysis and makes no representation or warranty as to the accuracy of the list.)
Hitachi Ltd
Hitachi High Tech Corp
Original Assignee
Hitachi High Technologies Corp
Hitachi Ltd
Hitachi High Tech Corp
Priority date (The priority date is an assumption and is not a legal conclusion. Google has not performed a legal analysis and makes no representation as to the accuracy of the date listed.)
Filing date
Publication date
Application filed by Hitachi High Technologies Corp, Hitachi Ltd, Hitachi High Tech Corp filed Critical Hitachi High Technologies Corp
Priority to JP2004111908A priority Critical patent/JP3715303B2/ja
Publication of JP2005296030A publication Critical patent/JP2005296030A/ja
Application granted granted Critical
Publication of JP3715303B2 publication Critical patent/JP3715303B2/ja
Anticipated expiration legal-status Critical
Expired - Fee Related legal-status Critical Current

Links

Images

Landscapes

  • Geophysics And Detection Of Objects (AREA)
  • Measurement And Recording Of Electrical Phenomena And Electrical Characteristics Of The Living Body (AREA)
  • Measuring Magnetic Variables (AREA)

Abstract

【課題】
複数SQUID磁束計を同時に安定に動作できる磁場計測装置を提供する。
【解決手段】
検出コイルを具備する複数SQUID磁束計12を有する磁場計測装置において、全CHに共通の単一の発振器13によりACバイアスを行う発振周波数を決定する。発振器からの信号を基準としてスイッチSW0、SW1、SW2、SW3、SW4、SW5を切り替え、ACバイアス信号、キャンセル電圧信号、オスセット磁束信号の印加を選択する。プラス側のバイアス電流の時のV−Φ特性とマイナス側の電流バイアスの時のV−Φ特性を用いて相互相関関数を用いる手法、又は、ACバイアスを行なっているV−Φ特性をスペクトル解析する手法に基づいて、ACバイアス信号の自動調整を行なう。
【選択図】 図2

Description

本発明は、心臓磁場、脳磁場等の生体磁場計測、地磁気計測、非破壊検査等の微弱磁場計測を行なう超伝導デバイスであるSQUID(Superconducting Quantum Interference Device:超伝導量子干渉素子)磁束計を用いた磁場計測技術に関する。
高温超電導SQUIDを用いた磁場計測装置では、高温超電導部材内のトラップ磁束による揺らぎによるノイズ等を低減させるために、通常、電流バイアスをACバイアス電流(バイアス電流をプラス側とマイナス側に交互に変化させる方法)として印加する(例えば、非特許文献1を参照)。この従来方法では、ACバイアス電流を加える発振周波数を上昇させると、高温超電導SQUIDの感度特性が向上することが提案されている。
しかし、ACバイアス電流を使用してマルチチャネルに適応した場合の回路構成に関する具体的方法、ACバイアス電流値、オフセット電圧量、キャンセル磁束量を自動で調整する具体的手法については言及がない。
Review of Scientific Instruments, Vol. 74, No. 12, pp.5189-5193 (2003)
ACバイアス電流をSQUID磁束計に印加するために、発振器を各チャネル(以下、CHと略記する)毎に配置すると、それぞれの発振器間に微妙な位相差が生じ、チャープ信号のようなノイズが発生する。チャープ信号は、各CH間で完全にクロストークがない理想的な回路構成であれば生じないが、実際の回路構成では、ACバイアスの発振周波数の信号によるクロストークは無視できない。そのため、安定に複数の高温超電導SQUIDを安定に動作させるACバイアス方式が望まれている。
また、ACバイアス方式では、自動で高温超電導SQUID磁束計の調整を行なうことが困難であるという課題があった。なぜなら、ACバイアス方式を行なう場合、プラスバイアス時とマイナスバイアス時の位相差の磁束量を各CH毎に調整しなければならないためである。また、妨害磁気雑音の多い環境下では、前述の位相差を検出することは困難であるという課題を有していた。
本発明の目的は、複数SQUID磁束計を同時に安定に動作できる磁場計測技術を提供することにある。
上記目的を達成するために、本発明の磁場計測装置は、検査対象から発生する磁場を検出する検出コイルを具備する複数のSQUID磁束計を有し、ACバイアスを行う発振周波数を決定するための発振器を全CH共通に1つだけを有する構成とする。発振器から発生する信号に基づいてスイッチを切り替えるスイッチ切り替え手段を有し、スイッチ切り替え手段によって、ACバイアス信号、キャンセル電圧信号、オフセット磁束信号の印加を選択できる構成とする。この構成により、複数の発振器を使用する必要がないため、雑音となるチャープ信号を生じることはない。
また、複数のSQUID磁束計に対する、ACバイアス電流値の自動調整方法は、プラス側のバイアス電流の時のV−Φ特性とマイナス側の電流バイアスの時のV−Φ特性を用いて相互相関関数を用いる手法、又は、ACバイアスを行なっているV−Φ特性をスペクトル解析する手法に基づく構成とする。相互相関関数を用いる手法やスペクトル解析する手法を用いることによって、自動で簡易にSQUID磁束計のACバイアス電流動作を実現できる。
本発明によれば、複数SQUID磁束計を同時に安定に動作できる磁場計測装置を実現できる。
本発明の磁場計測装置は、検査対象から発生する磁場を検出する検出コイルを具備する複数のSQUID磁束計と、複数のSQUID磁束計にACバイアス電流を印加するための単一の発振器の信号を複数のSQUIDに共通に供給する手段とを有し、この単一の発振器から発生される基準信号に基づいて、ACバイアス信号、キャンセル電圧信号、オフセット磁束信号の印加を選択して制御する手段を有する。
検査対象から発生する磁場を検出する検出コイルを具備する複数のSQUID磁束計へのACバイアス電流の印加は、単一の発振器から発生される基準信号に基づいて実行される。この基準信号は複数のSQUIDに対して共通に供給され、複数のSQUID磁束計にACバイアス電流が印加される。プラス側のACバイアス電流の印加時に測定されるV−Φ特性とマイナス側のACバイアス電流の印加時に測定されるV−Φ特性との間の相互相関関数を計算する手段を有し、相互相関関数が最大値を与える時点で印加されている外部磁束を用いて、プラス側のACバイアス電流の印加時とマイナス側のACバイアス電流の印加時の磁束の位相差をキャンセルできる。即ち、相互相関関数が最大値に基づいて、プラス側のACバイアス電流の印加時とマイナス側のACバイアス電流の印加時の磁束の位相差をキャンセルできる。
また、ACバイアス電流の印加時に測定されるV−Φ特性のパワースペクトラムの低周波成分が最大となる位相差を求めることにより、プラス側のACバイアス電流の印加時とマイナス側のACバイアス電流の印加時における磁束の位相差をキャンセルできる。
以下、本発明の実施例について、図面を参照して詳細に説明する。
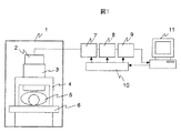
図1は、本発明の実施例になる磁場計測装置の全体構成例を示す図である。
磁気シールドルーム1内にベッド6が配置され、ベッド6の上には被験者5が横たわる。被験者5の上部には、ガントリー4によって保持固定されているクライオスタット3が設置してある。クライオスタット3内部には検出コイルを具備するSQUID磁束計が配置してあり、被験者5の心臓や脳等から発生する微弱な磁場を検出する。SQUIDは、クライオスタット3の上部に設置してあるプリアンプ2を介して、駆動回路7とアンプ・フィルター回路8を通った後、ADコンバーター9に入力されデジタルデータとしてコンピューター11に格納される。また、駆動回路7、アンプ・フィルター回路8、ADコンバーター9はインターフェースボード10を介してコンピューター11によって制御される。デジタルデータとしてコンピューター11に格納された検出された生体磁場データに対して、以下に説明する各種の演算処理が施される。
図2は、本発明の実施例の磁場計測装置の回路構成例を示す図である。
図2に示す磁場計測装置の回路は、1CHからNCH(Nチャネル)から構成されており、インターフェースボード10のみ1枚の構成で全CHを同時にコントロールしている。低温部3−i(i=1、2、〜、N)に配置される高温超電導SQUID12とフィードバックコイルF1は、図1に示したクライオスタット3上部に配置されるプリアンプ部2−i(i=1、2、〜、N)を通して駆動回路部7−i(i=1、2、〜、N)でコントロールされ、磁束計としてSQUID12は動作する。プリアンプ部2−i(i=1、2、〜、N)では、プリアンプ入力の電圧性雑音を低減させるため、プリアンプ(LT1028)を並列に10個接続した構成としている。プリアンプを並列接続したことで、プリアンプの電圧性雑音を0.5nV/√Hzまで低減することが可能となっている。なお、図2において、低温部3−i(i=2、〜、N)の構成は低温部3−1の構成と同じであり、プリアンプ部2−i(i=2、〜、N)の構成はプリアンプ部2−1の構成と同じであり、駆動回路部7−i(i=2、〜、N)の構成は駆動回路部7−1と同じである。簡単のために図2では、検出コイルは省略している。
次に、図2に示す駆動回路部7−i(i=1、2、〜、N)について説明を行なう。駆動回路部7−i(i=1、2、〜、N)は、図の上段から、電流バイアス部(1段目)、信号検出部(2段目)、フィードバック部(3段目)の3つにより構成されている。以下、電流バイアス部(1段目)、信号検出部(2段目)、フィードバック部(3段目)の構成について、説明する。
電流バイアス部(1段目)は、DCバイアス部とACバイアス部とをスイッチSW0によって切り替え使用する。DCバイアスモードを選択した場合、スイッチSW0の上段部のスイッチがONになり、スイッチSW0の下段のスイッチがOFFになる。SW0の選択後、DCバイアス電流を加えるための設定電圧値のデジタルデータD0を入力し、DAコンバーターDA0によってアナログ信号に変換される。一方、ACバイアス部に切り替える場合には、SW0の上段部スイッチをOFFにして、下段部スイッチをONにする。この状態で、ACバイアスを行なうプラス側のバイアス電流を加えるための設定電圧値のデジタルデータD1pと、マイナス側のバイアス電流を加えるための設定電圧値のデジタルデータD1mをインターフェースボード10からDAコンバーターDA1に入力されアナログ電圧へと変換される。アナログ変換された電圧をスイッチSW1によって、プラス側の電圧とマイナス側の電圧とを切り替えて矩形波状の電圧を発生させる。
スイッチSW1の切り替えタイミングは、インターフェースボード10内に一つだけ設置してある発振器13によって制御される。この発振器13は、全CHに対する、ACバイアス制御、後述するキャンセル電圧制御、後述するオフセット磁束量制御のための共通の基準信号を発生する。これにより、各CH間のクロストークを避けることが可能となり、複数個配置した発振器によるチャープ信号ノイズの発生を抑止できる。
信号検出部(2段目)では、積分器(スイッチSW5の回路)の前段にキャンセル電圧を入力する。キャンセル電圧はインターフェースボード10から、プラス側のキャンセル電圧(後述の図5に示すVmp)を加えるための設定電圧値のデジタルデータD2pと、マイナス側のキャンセル電圧(後述の図5に示すVmm)を加えるための設定電圧値のデジタルデータD2mを、DAコンバーターDA2に入力し、アナログ電圧に変換し発振器13によって制御されたスイッチSW2によって、キャンセル電圧を加えて積分器の前でのオフセット電圧をキャンセルすることが可能である。
フィードバック部(3段目)では、フィードバック抵抗F2に行く前に、駆動回路部7−i(i=1、2、〜、N)内で、磁束の位相差(後述の図5に示すΦb)を調整するための位相調整用電圧の印加を行なう構成と、SQUIDのV−Φ特性をモニターするための磁束の印加を行なう構成の2種類のスイッチ(SW3とSW4)を有している。磁束の位相差を調整する電圧の印加を行なうため、インターフェースボード10から、プラス側のキャンセル電圧を加えるための設定電圧値のデジタルデータD3をDAコンバーターDA3に入力しアナログ電圧に変換し、発振器13によって制御されたスイッチSW3によってプラス側だけの矩形波を生じさせ、発生した矩形波をフィードバックループ内に入力する。フィードバックループ内に入力された矩形波の電圧によってバイアスのプラス側の時とマイナス側の時の磁束の位相差(Φb)をキャンセルすることが可能となる。
また、SQUIDのV−Φ特性をモニターするための磁束の印加は、設定電圧値のデジタルデータD4をDAコンバーターDA4に入力しアナログ電圧に変換し、図3に示すように、デジタルデータD4を順次変化させてV−Φ特性をモニターすることが可能である。V−Φ特性をモニターする場合は、スイッチSW4はONにし、スイッチSW3はOFFにする。反対に、磁束の位相差を調整する電圧の印加を行なう場合は、スイッチSW4はOFFし、スイッチSW3はONにする。
上記したACバイアス、キャンセル電圧、磁束の位相差の調整が終わると、スイッチSW6をONにした後、スイッチSW5をOFFにすることによって、SQUID12は磁束計として動作が可能となる。磁束計動作後の出力信号Vouti(i=1、2、〜、N)は各CHに生じる。
以上の構成のように、本実施例の構成によれば、マルチチャネルの場合、発振器13を一つだけ持たせることによって、各CH間のクロストークをなくし、複数個の発振器を配置した場合に発生するチャープ雑音信号等の発生を避けることが可能である。
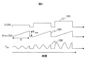
図3は、本発明の実施例の磁場計測装置のV−Φ特性モニター時の制御シーケンスを示す図である。
図3に示すように、V−Φ特性をモニターする場合、電流バイアスIb(D0)131を段階的に変化させて、各段階の一定の値を有する電流バイアス131の印加時に外部磁束Φext信号(D4)121を三角波(鋸歯状波)の形で入力する。外部磁束Φext信号121は、時間Tの間で0から最大値Φmaxまで直線的に変化する。一定値を有する電流バイアスが印加された状態で外部磁束Φext121が変化すると、出力信号Voutの波形132として正弦波に近い波形が得られる。
図4は、本発明の実施例の磁場計測装置置のSQUIDの制御手順(ステップ16〜21)を示す図である。
ステップ16:各設定パラメーター(スイッチやデジタルデータ)を初期値に設定する。
ステップ17:V−Φ特性の変調電圧ΔVpが最大になるプラス方向時のバイアス電流の最適値を求め、その時のキャンセル電圧Vmp(後述の図5を参照)を計算する。同様に、V−Φ特性の変調電圧ΔVmが最大になるマイナス方向時のバイアス電流の最適値を求め、その時のキャンセル電圧Vmm(後述の図5を参照)を計算する(ΔVp、ΔVm、Vmp、Vmmの検出方法については、後述の図6を参照)。
ステップ18:バイアス電流のプラス方向でΔVpが最大になったV−Φ特性と、バイアス電流のマイナス方向でΔVmが最大になったV−Φ特性との位相差(Φb)を検出する(Φbの検出法については、後述の図7と図8を参照)。
ステップ19:ΔVp、ΔVm、Vmp、Vmm、位相差(Φb)を設定する。
ステップ20:FeedbackとLockの制御(スイッチSW6をONにした後、スイッチSW5をOFFにする)を行なう。
ステップ21:計測開始を行なう。
図5は、本発明の実施例の磁場計測装置のV−Φ特性を示す図である。
図6は、本発明の実施例の磁場計測装置の最適なバイアス電流、ΔVp、Vmp、ΔVm、Vmmを求める制御手順を示す図である。
図5、図6を用いて、図4に示すΔVp、ΔVm、Vmp、Vmmの検出方法について説明する。図5は、図3に示す外部磁束Φext(D4)を横軸、図3に示すVoutを縦軸として表示した2次元プロット図である。即ち、図5は、バイアス電流がプラスの状態(Ibp)の時のV−Φ特性14と、バイアス電流がマイナスの状態(Ibm)の時のV−Φ特性15とを示している。図2に示したデジタルデータD2pによって作成されるプラス側のキャンセル電圧は、図5に示すVmpの電圧量と一致させる。同様に、図2に示したデジタルデータD2mによって作成されるマイナス側のキャンセル電圧は、図5に示すVmmの電圧量と一致させる。キャンセル電圧Vmp、Vmmは、バイアス電流がプラスの状態(Ibp)の状態の時のV−Φ特性14から計算する。
V−Φ特性14の上限値と下限値の差分量をΔVpとし、この差分量ΔVpの1/2の量の0からの位置をVmpとする。同様に、バイアス電流がマイナスの状態(Ibm)の状態の時のV−Φ特性15から計算する。V−Φ特性15の上限値と下限値の差分量をΔVmとし、この差分量ΔVmの1/2の量の0からの位置をVmmとする。
図6は、図5で示したΔVp、ΔVm、Vmp、Vmmの検出法の詳細(ステップ22〜32)を示す。
ステップ22:電流バイアスIbを、D0=ΔDにセットする。D0のプラス側の初期値をセットする。
ステップ23:外部磁束Φextとして、D4を0からΦmaxまで順次増加させる。
ステップ24:ΔVp、Vmpの検出を行なう。
ステップ25:D0が最大値MAXを超えたかどうかの判定を行なう(判定処理25)。この判定結果が、Y(Yes)であればステップ27の処理へ、N(No)であればステップ26の処理へ移る。
ステップ26:電流バイアスIbのD0をステップΔDで増加させる処理を行なう(D0=D0+ΔD)。
ステップ27:電流バイアスIbを、D0=−ΔDにセットする。D0のマイナス側の初期値をセットする。
ステップ28:外部磁束Φextとして、D4を0からΦmaxまで順次増加させる。
ステップ29:ΔVm、Vmmの検出を行なう。
ステップ30:D0が最小値MINを超えたかどうかの判定を行なう(判定処理30)。この判定結果が、Y(Yes)であればステップ32の処理へ、N(No)であればステップ31の処理へ移る。
ステップ31:電流バイアスIbのD0をステップΔDで減少させる処理を行なう(D0=D0−ΔD)。
ステップ32:最適なIbpとIbmを決定し、ΔVp、ΔVm、Vmp、Vmmの検出を行なって、終了する。
最初に、バイアス電流のプラス側でのΔVpの最大値の検出するルーチンがあり、次に、バイアス電流のマイナス側でのΔVmの最大値の検出するルーチンがある。最初のルーチンでは、バイアス電流を印加する電圧のデジタル値を変化量ΔD(順次ΔDで増加させる)とする。その後、外部磁束Φext(D4)を時間Tの間で0からΦmaxまで順次増加させ(図3を参照)、各D4の値のVoutを検出し、ΔVp、Vmpの検出を行い、D0が最大値になるまで(判定処理25)D0を増加させながら(ステップ26)繰り返していく。
同様に、バイアス電流のマイナス側でのΔVmの最大値の検出するルーチンでは、D0の初期値を−ΔDとしてD0を順次減少させて(ステップ31)、ΔVm、Vmmを検出していく。D0が最小値になるまで(判定処理30)、D0を減少させながら(ステップ31)繰り返していく。以上のデータを全て記録しておき、最適なIbpとIbmを決定し、最適なIbpの時のΔVp、Vmpと、最適なIbmの時のΔVm、Vmmを決定する。
図7は、本発明の実施例の磁場計測装置において、相関法を用いた位相差の検出方法を示す図である。
図8は、本発明の実施例の磁場計測装置において、ACバイアス時のVout信号のスペクトル解析法を用いた位相差の検出方法を示す図である。
図7、図8では、図4に示すステップ18(位相差Φbの検出)における具体的な手法について説明している。
図7では、プラス側のV−Φ特性とマイナス側のV−Φ特性との相互相関を計算して、最適な磁束の位相差Φbを決定する方法を示している。
図7において、33は外部磁束Φextの変化直線、34はバイアスプラス側のV−Φ特性、35はバイアスマイナス側のV−Φ特性、36はバイアスプラス側のV−Φ特性とバイアスマイナス側のV−Φ特性との間の相互相関関数、37は外部磁束Φextの変化直線、38は最大値、をそれぞれ示している。
図7に示すように、外部磁束Φextを直線33のように時間的に増加させて入力していくと、バイアス電流がプラスIbp側では曲線34が生じ、バイアス電流がマイナス側Ibmでは曲線35を生じる。曲線34、曲線35は、オフセット電圧を除去した後の波形を示しているため、Voutは0を基準とした波形となっている。これら曲線34、曲線35を用いて相互相関関数を計算すると曲線36を得る。曲線36の最大値38を検出し、最大値38を示した時刻におけるΦbの値を直線37(直線33と同じ)から最下段の図のように求める。図7に示す手法は、SQUIDへの妨害磁気雑音が少ない場合は大変有効な手段である。
一方、妨害磁気雑音が多い場合は、図7に示すような鮮明なV−Φ特性を得られるとは限らず、妨害磁気雑音が多少混入しても自動でSQUIDのΦbをCH毎に最適値にしていく必要がある。そこで妨害磁気雑音の影響を受けにくい調整法について図8を用いて説明する。
図8では、ACバイアス電流(プラスとマイナスのバイアス電流)を印加した状態でのV−Φ特性からスペクトルを計算して、低周波のパワースペクトルが最大値を生じる位相差を最大値とする手法を示している。
図8において、39はバイアスプラス側のV−Φ特性、40はバイアスマイナス側のV−Φ特性、41はACバイアス時の出力電圧Vout、42はバイアスプラス側のV−Φ特性、43はバイアスマイナス側のV−Φ特性、44はACバイアス時の出力電圧Vout、45はバイアスプラス側のV−Φ特性、46はバイアスマイナス側のV−Φ特性、47はACバイアス時の出力電圧Vout、48は位相差180度の時のパワースペクトラム、49は位相差90度の時のパワースペクトラム、50は位相差0度の時のパワースペクトラム、51、52は高周波成分、53、54は低周波成分、をそれぞれ示す。
図8(a)に示す曲線39は、バイアス電流がプラスIbp側でオフセット電圧除去後の時間波形を示し、曲線40は、バイアス電流がマイナス側Ibmでオフセット電圧除去後の時間波形を示している。ACバイアスを行なうとこれらの曲線39、40の間をVoutは行き来するため曲線41に示すような波形となる。曲線41をスペクトル解析するとスペクトラム48を得ることが可能である。図8(a)では、曲線39と曲線40とは位相差が180度ずれているため、高周波のスペクトル51が生じる。
同様に、位相差が90度変化させた時の状態を図8(b)に示す。ACバイアス時のVout波形曲線44を見ると、まだ高周波成分が現れていることが分かる。曲線44をスペクトル解析行なうと、高周波成分52は減少し、低周波成分53が現れてきていることが分かる。
図8(c)に示す曲線45と曲線46との位相差がほぼ揃った時(位相差0度の時)は、ACバイアス電流印加時の曲線47は高周波成分がないことが分かる。さらに、スペクトル解析を行なった結果(パワースペクトラム50)を見ると、低周波成分54のみであることが分かる。
図8に示したように、低周波成分が最も大きくなるΦbの値を求めれば位相が合うことが分かる。図8に示したACバイアス時のスペクトル法は妨害磁気雑音が混入してもスペクトル解析を行なうことができ、誤差が少なくΦbの最適値を求めることが可能である。
図9は、本発明の実施例の磁場計測装置を用いて測定された、ACバイアス時の磁場感度特性を示す図である。
図9は、図8に示した方法を用いてACバイアス法を行い計測された磁場感度曲線91、91’のスペクトル特性を示している。図8では、2チャンネルの波形を示しており、図9中で矢印で示すように、お互いにクロストークなく20Hz近傍で50fT/√Hzを実現していることが分かる。
図10は、本発明の実施例の磁場計測装置を用いて、6×6のマトリックス状に配置した高温超電導SQUIDマグネットメーターによって測定された心臓磁場波形例を示す図である。
図10では、高温超電導SQUIDのマグネットメーターを6×6配置して、測定した心磁図波形(101−1、101−2、〜、101−36)を約100回平均して各測定CHの位置に配置して示している。1CHから36CHの全CHで心電図信号とほぼ同じ波形が検出されていることが分かる。なお、図10において、縦軸のフルスケールは400pT、横軸のフルスケールは800msecである。
図11は、図10の磁場分布から計算された電流分布図を示す図である。
図11では、図10で測定された磁場分布を用いて電流分布表示を行なっている。図11では、1chの波形111のP波、QRS波、T波の最大点の時点における電流分布図112−p、112−QRS、112−Tを示している。図11の電流分布図は、測定された磁場Bzから、Ix=dBz/dy、Iy=−dBz/dxにより、電流Ix、Iyを計算して求めている。なお、xy面は生体の胸部面に平行な面であり、z軸方向はxy面に垂直である。
以上のように、本発明の磁場計測装置によれば、複数のSQUID磁束計を安定にACバイアス動作させた状態で、自動で測定条件の調整が行なえ、各CH間のクロストーク無くSQUID磁束計を動作させることが可能である。
本発明の実施例の磁場計測装置の全体構成例を示す図。 本発明の実施例の磁場計測装置の回路構成例を示す図。 本発明の実施例の磁場計測装置のV−Φ特性モニター時の制御シーケンスを示す図。 本発明の実施例の磁場計測装置置のSQUIDの制御手順を示す図。 本発明の実施例の磁場計測装置のV−Φ特性を示す図。 本発明の実施例の磁場計測装置の最適なバイアス電流、ΔVp、Vmp、ΔVm、Vmmを求める制御手順を示す図。 本発明の実施例の磁場計測装置において、相関法を用いた位相差の検出方法を示す図。 本発明の実施例の磁場計測装置において、ACバイアス時のVout信号のスペクトル解析法を用いた位相差の検出方法を示す図。 本発明の実施例の磁場計測装置を用いて測定された、ACバイアス時の磁場感度特性を示す図。 本発明の実施例の磁場計測装置を用いて、6×6のマトリックス状に配置した高温超電導SQUDマグネットメーターによって測定された心臓磁場波形例を示す図。 図10の磁場分布から計算された電流分布図を示す図。
符号の説明
1…磁気シールドルーム、2、2−1、2−2、〜、2−N…プリアンプ部、3…クライオスタット、3−1、3−2、〜、3−N…低温部、4…ガントリー、5…被験者、6…ベッド、7、7−1、7−2、〜、7−N…駆動回路、8…アンプ・フィルター回路、9…ADコンバーター、10…インターフェースボード、11…コンピューター、12…SQUID、13…発振器、131…電流バイアス、121…外部Φext信号、132…出力電圧Vout、14…電流バイアスプラス側のV−Φ特性、15…電流バイアスマイナス側のV−Φ特性、91、91’…磁場感度曲線、101−1〜101−36…心臓磁場波形、111…心臓磁場波形、112−p…P波における電流分布図、112−QRS…QRS波における電流分布図、112−T…T波における電流分布図、SW0、SW1、SW2、SW3、SW4、SW5…スイッチ、DA0、DA1、DA2、DA3、DA4…DAコンバーター、F1…フィードバックコイル、F2…フィードバック抵抗、Vout1〜VoutN…出力信号、ΔVp…電流バイアスプラス側の変調電圧、ΔVm…電流バイアスマイナス側の変調電圧、Vmp…電流バイアスプラス側のキャンセル電圧、Vmm…電流バイアスマイナス側のキャンセル電圧、Φb…磁束の位相差。

Claims (5)

  1. 検査対象から発生する磁場を検出する検出コイルを具備する複数のSQUID磁束計と、前記複数のSQUID磁束計をACバイアス動作させる発信周波数を決定するための単一の発信器と、前記単一の発振器から発生する信号を前記複数のSQUID磁束計に共通に供給する手段とを有してなることを特徴とする磁場計測装置。
  2. 検査対象から発生する磁場を検出する検出コイルを具備する複数のSQUID磁束計と、前記複数のSQUID磁束計にACバイアス電流を印加するための単一の発振器の信号を前記複数のSQUID磁束計に共通に供給する手段と、前記発振器から発生される基準信号に基づいて、ACバイアス信号、キャンセル電圧信号、およびオフセット磁束信号を制御する手段とを有することを特徴とする磁場計測装置。
  3. 検査対象から発生する磁場を検出する検出コイルを具備する複数のSQUID磁束計と、前記複数のSQUID磁束計にACバイアス電流を印加するための単一の発振器の信号を前記複数のSQUID磁束計に共通に供給する手段と、前記複数のSQUID磁束計にACバイアス電流を印加する手段とを有することを特徴とする磁場計測装置。
  4. 請求項3に記載の磁場計測装置において、プラス側のACバイアス電流の印加時に測定されるV−Φ特性とマイナス側のACバイアス電流の印加時に測定されるV−Φ特性との間の相互相関関数を計算する手段を有し、前記相互相関関数の最大値に基づいて前記プラス側のACバイアス電流の印加時と前記マイナス側のACバイアス電流の印加時の磁束の位相差をキャンセルすることを特徴とする磁場計測装置。
  5. 請求項3に記載の磁場計測装置において、前記ACバイアス電流の印加時に測定されるV−Φ特性のパワースペクトラムの低周波成分が最大となる位相差を求める手段を有することを特徴とする磁場計測装置。
JP2004111908A 2004-04-06 2004-04-06 磁場計測装置 Expired - Fee Related JP3715303B2 (ja)

Priority Applications (1)

Application Number Priority Date Filing Date Title
JP2004111908A JP3715303B2 (ja) 2004-04-06 2004-04-06 磁場計測装置

Applications Claiming Priority (1)

Application Number Priority Date Filing Date Title
JP2004111908A JP3715303B2 (ja) 2004-04-06 2004-04-06 磁場計測装置

Publications (2)

Publication Number Publication Date
JP2005296030A true JP2005296030A (ja) 2005-10-27
JP3715303B2 JP3715303B2 (ja) 2005-11-09

Family

ID=35328314

Family Applications (1)

Application Number Title Priority Date Filing Date
JP2004111908A Expired - Fee Related JP3715303B2 (ja) 2004-04-06 2004-04-06 磁場計測装置

Country Status (1)

Country Link
JP (1) JP3715303B2 (ja)

Cited By (3)

* Cited by examiner, † Cited by third party
Publication number Priority date Publication date Assignee Title
CN106793979A (zh) * 2014-08-28 2017-05-31 日立麦克赛尔株式会社 运动功能评价系统以及运动功能测量装置
JP2021060396A (ja) * 2019-10-08 2021-04-15 株式会社リコー 磁場計測装置および磁束量子の算出方法
US11435416B2 (en) 2019-10-30 2022-09-06 Ricoh Company, Ltd. Magnetic field measuring apparatus

Cited By (3)

* Cited by examiner, † Cited by third party
Publication number Priority date Publication date Assignee Title
CN106793979A (zh) * 2014-08-28 2017-05-31 日立麦克赛尔株式会社 运动功能评价系统以及运动功能测量装置
JP2021060396A (ja) * 2019-10-08 2021-04-15 株式会社リコー 磁場計測装置および磁束量子の算出方法
US11435416B2 (en) 2019-10-30 2022-09-06 Ricoh Company, Ltd. Magnetic field measuring apparatus

Also Published As

Publication number Publication date
JP3715303B2 (ja) 2005-11-09

Similar Documents

Publication Publication Date Title
Iivanainen et al. On-scalp MEG system utilizing an actively shielded array of optically-pumped magnetometers
US5152288A (en) Apparatus and method for measuring weak, location-dependent and time-dependent magnetic fields
Wei et al. Nested magnetic field compensation with regulated coefficients for bio-magnetic field measurement
JP3473210B2 (ja) 生体磁気計測装置
JP4263544B2 (ja) 磁場計測装置
CN112450935B (zh) 一种基于无屏蔽原子磁力仪的心磁测量方法和系统
JP6890484B2 (ja) 磁界計測装置および計測磁界表示方法
RU2504794C2 (ru) Цифровой усилитель с управлением с использованием прямой и обратной связи
US10641858B2 (en) Spatiotemporal magnetic field monitoring with hall effect sensors during the MRI scan
Reermann et al. Real-time biomagnetic signal processing for uncooled magnetometers in cardiology
Han et al. Giant magneto-impedance sensor with working point selfadaptation for unshielded human bio-magnetic detection
JP3715303B2 (ja) 磁場計測装置
JP3789024B2 (ja) Squid磁束計
US11604236B2 (en) Optimal methods to feedback control and estimate magnetic fields to enable a neural detection system to measure magnetic fields from the brain
Skidchenko et al. The tale of two rooms: comparison of QuSpin zero-field OPMs’ operation in two magnetically shielded environments
JP3949237B2 (ja) 電流源推定装置
JP2006518242A (ja) Mriシステムの振動による磁界の乱れの補償
JPH1189817A (ja) 磁気共鳴イメージング装置
JP3651540B2 (ja) 生体磁場計測装置
JP6109508B2 (ja) 磁気共鳴イメージング装置
EP3318887B1 (en) A device and a method for correcting the current in a gradient coil of a magnetic resonance imaging apparatus for the compensation of the effect of eddy currents
JP4427122B2 (ja) Squid磁束計
JP3187092B2 (ja) 核スピントモグラフ
Władziński et al. Active Compensation for OPM-MEG Inside a Two-Layer Magnetically Shielded Room
CA2379800A1 (en) Method and device for measuring biomagnetic and in particular cardiomagnetic fields

Legal Events

Date Code Title Description
TRDD Decision of grant or rejection written
A01 Written decision to grant a patent or to grant a registration (utility model)

Free format text: JAPANESE INTERMEDIATE CODE: A01

Effective date: 20050816

A61 First payment of annual fees (during grant procedure)

Free format text: JAPANESE INTERMEDIATE CODE: A61

Effective date: 20050824

R150 Certificate of patent or registration of utility model

Ref document number: 3715303

Country of ref document: JP

Free format text: JAPANESE INTERMEDIATE CODE: R150

Free format text: JAPANESE INTERMEDIATE CODE: R150

FPAY Renewal fee payment (event date is renewal date of database)

Free format text: PAYMENT UNTIL: 20080902

Year of fee payment: 3

FPAY Renewal fee payment (event date is renewal date of database)

Free format text: PAYMENT UNTIL: 20090902

Year of fee payment: 4

FPAY Renewal fee payment (event date is renewal date of database)

Free format text: PAYMENT UNTIL: 20090902

Year of fee payment: 4

FPAY Renewal fee payment (event date is renewal date of database)

Free format text: PAYMENT UNTIL: 20100902

Year of fee payment: 5

FPAY Renewal fee payment (event date is renewal date of database)

Free format text: PAYMENT UNTIL: 20110902

Year of fee payment: 6

FPAY Renewal fee payment (event date is renewal date of database)

Free format text: PAYMENT UNTIL: 20120902

Year of fee payment: 7

FPAY Renewal fee payment (event date is renewal date of database)

Free format text: PAYMENT UNTIL: 20130902

Year of fee payment: 8

LAPS Cancellation because of no payment of annual fees