JP2005294989A - Image reading device - Google Patents

Image reading device Download PDF

Info

Publication number
JP2005294989A
JP2005294989A JP2004103917A JP2004103917A JP2005294989A JP 2005294989 A JP2005294989 A JP 2005294989A JP 2004103917 A JP2004103917 A JP 2004103917A JP 2004103917 A JP2004103917 A JP 2004103917A JP 2005294989 A JP2005294989 A JP 2005294989A
Authority
JP
Japan
Prior art keywords
film
image reading
reading apparatus
image
photographic film
Prior art date
Legal status (The legal status is an assumption and is not a legal conclusion. Google has not performed a legal analysis and makes no representation as to the accuracy of the status listed.)
Withdrawn
Application number
JP2004103917A
Other languages
Japanese (ja)
Inventor
Keiji Morimoto
桂司 森本
Current Assignee (The listed assignees may be inaccurate. Google has not performed a legal analysis and makes no representation or warranty as to the accuracy of the list.)
Noritsu Koki Co Ltd
Original Assignee
Noritsu Koki Co Ltd
Priority date (The priority date is an assumption and is not a legal conclusion. Google has not performed a legal analysis and makes no representation as to the accuracy of the date listed.)
Filing date
Publication date
Application filed by Noritsu Koki Co Ltd filed Critical Noritsu Koki Co Ltd
Priority to JP2004103917A priority Critical patent/JP2005294989A/en
Publication of JP2005294989A publication Critical patent/JP2005294989A/en
Withdrawn legal-status Critical Current

Links

Images

Landscapes

  • Projection-Type Copiers In General (AREA)
  • Facsimiles In General (AREA)
  • Facsimile Scanning Arrangements (AREA)

Abstract

【課題】 フィルムの搬送経路におけるフィルム先端部あるいは後端部の位置つまりフィルム自体の位置を正確に検知し、明瞭な画像の読取り、焼付けを行うことができるとともに、フィルムの長さの算出にも高い精度を確保することができる画像読取装置を提供すること。
【解決手段】 写真フィルムFを搬送経路に沿って搬送する搬送機構と、搬送経路の途上に設けられ、写真フィルムFに対する処理を行うための処理機構と、搬送経路に沿って搬送される写真フィルムFを巻き取り収容する収容空間部と、写真フィルムFに形成された画像の読取り、焼付けを行う画像読取機構と、を備えた画像読取装置1であって、前記搬送経路中に、発光部および受光部を有する反射式光センサSと、反射ミラーMを設けたことを特徴とする。
【選択図】 図1

PROBLEM TO BE SOLVED: To accurately detect the position of a film leading end or rear end in a film transport path, that is, the position of the film itself, read and print a clear image, and calculate a film length. To provide an image reading apparatus capable of ensuring high accuracy.
SOLUTION: A transport mechanism for transporting a photographic film F along a transport path, a processing mechanism for performing processing on the photographic film F provided along the transport path, and a photographic film transported along the transport path An image reading apparatus 1 comprising a storage space for winding and storing F, and an image reading mechanism for reading and printing an image formed on the photographic film F, wherein a light emitting unit and A reflection type optical sensor S having a light receiving portion and a reflection mirror M are provided.
[Selection] Figure 1

Description

本発明は、画像読取装置に関するもので、特に、写真フィルム(以下「フィルム」という。)を搬送経路に沿って搬送する搬送機構と、フィルムに対する処理を行うための処理機構と、搬送経路に沿って搬送されるフィルムを巻き取り収容する収容空間部と、フィルムに形成された画像の読取り、焼付けを行う画像読取機構と、を備えた画像読取装置に関するものである。   The present invention relates to an image reading apparatus, and in particular, a conveyance mechanism that conveys a photographic film (hereinafter referred to as “film”) along a conveyance path, a processing mechanism that performs processing on the film, and a conveyance path. The present invention relates to an image reading apparatus including an accommodation space for winding and accommodating a film conveyed and an image reading mechanism for reading and printing an image formed on the film.

かかる画像読取装置は、現像済みフィルムに形成されているコマ画像を読み取るために設けられ、現像済みフィルムのコマ画像を写真感光材料に投影露光するためにも用いられる。ここでAPSフィルムのコマ画像を読み取る場合の動作の一例を説明する。現像済みフィルムは、カートリッジと呼ばれるフィルム容器に収容されており、このカートリッジをフィルム搬送ユニットのカートリッジ装填部に装填する。次に、カートリッジから帯状のフィルムを順次引き出し搬送させると、フィルムは所定の搬送経路に沿って搬送される。この搬送経路の途上に開口部が設けられており、この開口部を通じてフィルムの画像を読み取る。この往路搬送経路における読み取りはプレスキャニングと呼ばれ、粗い画素数で画像を読み取る。このとき読み取られた画像データは、モニター画面に表示させてオペレータによる画像処理作業を行わせるために利用される。従って、読み取り解像度は高くなくても良い。フィルムは、一定速度で搬送されつつ、プレスキャニングが行われ、さらに、フィルムは搬送経路の下流側に設けられた巻き取り用の収容空間部にロール状に収容されていく。   Such an image reading apparatus is provided for reading a frame image formed on a developed film, and is also used for projecting and exposing the frame image of the developed film on a photographic photosensitive material. Here, an example of an operation when reading a frame image of an APS film will be described. The developed film is accommodated in a film container called a cartridge, and this cartridge is loaded into the cartridge loading section of the film transport unit. Next, when the belt-like film is sequentially pulled out from the cartridge and transported, the film is transported along a predetermined transport path. An opening is provided in the middle of the conveyance path, and an image of the film is read through the opening. Reading in the forward conveyance path is called press canning, and an image is read with a rough number of pixels. The image data read at this time is displayed on a monitor screen and used to perform an image processing operation by an operator. Therefore, the reading resolution may not be high. While the film is conveyed at a constant speed, press canning is performed, and the film is accommodated in a roll shape in a take-up accommodating space provided on the downstream side of the conveying path.

このようにフィルムはプレスキャニングが行われながら収容空間部に巻き取られていくが、プレスキャニングが終了すると、フィルムを搬送経路に沿って逆方向に搬送させる。今度も、開口部を通じてフィルムの画像を読み取るが、この復路における読み取りは本スキャニングであり、プレスキャニングとは異なり高解像度での画像データを取得する。この高解像度の画像データを用いて写真プリントの作成が行われる。また、写真プリントの作成にあたり、画像処理作業で入力された色・濃度の補正も行われ、適切な画質の写真プリントが作成される。本スキャニングが終了したフィルムは、再び、カートリッジに収容されることになる。   As described above, the film is wound around the accommodation space while being press-canned. When the press canning is completed, the film is transported in the reverse direction along the transport path. This time, the image of the film is read through the opening, but reading in this return path is the main scanning, and unlike the press scanning, the image data with high resolution is acquired. Photo prints are created using the high-resolution image data. In creating a photo print, the color and density input in the image processing operation are also corrected, and a photo print with an appropriate image quality is created. The film for which the main scanning has been completed is accommodated in the cartridge again.

以上のような画像読取装置には、フィルムの位置を検知するセンサ(以下「位置センサ」という。)が設けられており、搬送されるフィルムの先端部あるいは末端部の通過時点を検知し、フィルム上の画像の読取り、焼付けなどを自動的に行っている。例えば、撮像装置との関係では、撮像開始のタイミングを決定するレディセンサとしての役割を果たしている。また、先端部と末端部とを検知し、搬送速度量からフィルムの長さの算出にも利用される。このとき、位置センサとしては、フィルムを傷つけずにスムーズに搬送できるように、非接触かつ正確にその端部の検知を行うことができるような構成が必要とされる。一般には、フィルムを中央に発光部および受光部を各面側に配置される透過式の光センサ、あるいは、一方に並列に位置される反射式の光センサのいずれかが用いられている。   The image reading apparatus as described above is provided with a sensor for detecting the position of the film (hereinafter referred to as “position sensor”), detects the passage time of the leading end or the end of the film being conveyed, and the film The above image is automatically read and printed. For example, in the relationship with the imaging device, it plays a role as a ready sensor that determines the timing of imaging start. Further, the leading end portion and the terminal end portion are detected and used for calculating the length of the film from the conveyance speed amount. At this time, the position sensor is required to have a configuration that can accurately detect the end thereof in a non-contact manner so that the film can be smoothly conveyed without being damaged. In general, either a transmissive optical sensor in which a light emitting part and a light receiving part are arranged on each surface side with a film at the center or a reflective optical sensor positioned in parallel on one side is used.

具体的には、フィルムなどシート体の搬送機構の制御方法に関し、図7に示すように、シート体Aを前段のローラ対122および後段のローラ対124からなる二組のローラ対で挟持して搬送する際、前記シート体Aを検知して前段のローラ対122によりシート体を挟持搬送し、次いで、後段のローラ対124をシート体Aの厚さ以上の間隔に離間させた状態で待機させ、所定時間経過後、前記シート体Aを後段のローラ対124により挟持搬送すると共に前記前段ローラ対122によるシート体Aの挟持を解除している。ここで、シート体Aの検知としては、一対の検知センサ137a、137bを近接して配設し、一方137aから他方137bに指向して光ビームを射出しておき、シート体によって遮光させることでシート体を検知する方法(透過式)が例示されている(例えば、特許文献1参照)。
特開平7−48784号公報
Specifically, as shown in FIG. 7, the sheet body A is sandwiched between two roller pairs including a front roller pair 122 and a rear roller pair 124, as shown in FIG. When transporting, the sheet body A is detected and the sheet body is nipped and transported by the roller pair 122 at the front stage, and then the roller pair 124 at the rear stage is put on standby in a state of being separated by an interval greater than the thickness of the sheet body A. After a predetermined time, the sheet body A is nipped and conveyed by the subsequent roller pair 124 and the nipping of the sheet body A by the previous roller pair 122 is released. Here, as the detection of the sheet A, a pair of detection sensors 137a and 137b are arranged close to each other, a light beam is emitted from one 137a to the other 137b, and the sheet is blocked by the sheet. The method (transmission type) which detects a sheet body is illustrated (for example, refer to patent documents 1).
JP 7-48784 A

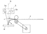
しかしながら、上記のようなフィルムの位置の検出方法では、いくつかの問題点があった。つまり、反射式センサを用いた場合、図8(A)のように、発光部Saおよび受光部Sbから構成される位置センサSがフィルムFの搬送経路上部側に設けられている場合には、必ず発光部Saからの光はフィルムFに対し斜めに照射する必要があり、検出感度を高くしようとすると入射角θを大きくする必要があり、フィルムのカールあるいは反りの状態によってフィルム先端部における光の反射が一定にならず、検出レベルが一定とならないことからフィルムの検出位置にバラツキが生じるという問題がある。入射角θを小さくすれば、こうした影響は少なくなるが位置センサの構造上発光部Saおよび受光部Sbの距離の短縮には限界があり、フィルムFとの距離を拡大すると、検出感度の低下あるいは外部の散乱光の影響が無視できなくなるという課題がある。   However, the above-described film position detection method has several problems. That is, when a reflection type sensor is used, as shown in FIG. 8A, when the position sensor S composed of the light emitting portion Sa and the light receiving portion Sb is provided on the upper side of the transport path of the film F, The light from the light emitting part Sa must be irradiated obliquely to the film F, and if the detection sensitivity is to be increased, the incident angle θ needs to be increased, and the light at the film leading end depends on the curl or warpage of the film. There is a problem that the detection position of the film varies because the reflection of the film does not become constant and the detection level does not become constant. If the incident angle θ is reduced, such influence is reduced, but there is a limit to shortening the distance between the light emitting part Sa and the light receiving part Sb due to the structure of the position sensor, and if the distance from the film F is increased, the detection sensitivity decreases or There is a problem that the influence of external scattered light cannot be ignored.

このとき、フィルムFが搬送経路下部側にカールしている場合にあっては、正規の位置Nから搬送経路上の距離Δa通過した後に検出することになり、画像認識に(+)Δa位置ズレを生じることになる。また、逆に図8(B)のように、フィルムFが搬送経路上部側にカールしている場合にあっては、正規の位置Nから搬送経路上の距離Δb前の位置で検出することになり、画像認識に(−)Δb位置ズレを生じることになる。さらに、フィルムの端部に反っている場合には、その面での光の反射方向はマチマチになることから検出位置にバラツキが生じることになる。また、位置センサSを、図8(C)のように、フィルム幅方向に発光部Saおよび受光部Sbが並ぶように配した場合においても、フィルムFの反りに対して同様の影響を受けることになる。具体的には、カールによる位置検知の誤差としては、最大5mm程度となることもあり、画像読取装置として無視できない場合がある。また、正規の寸法よりの短いフィルムが搬送された場合にあっては、正しい検知が可能であれば画像読取ができないフィルムとして取扱いがされるが、上記のように誤って長く検知した場合には、正常フィルムとして搬送され、搬送経路でのつまりや読取画像の不良などを招来することになる。逆の場合にも画像読取装置としての正規の機能を果たすことができなくなる。   At this time, in the case where the film F is curled to the lower side of the transport path, it is detected after passing the distance Δa on the transport path from the normal position N, and the (+) Δa position shift is used for image recognition. Will result. On the contrary, as shown in FIG. 8B, when the film F is curled on the upper side of the transport path, it is detected at a position before the distance Δb on the transport path from the normal position N. Thus, a (−) Δb position shift occurs in image recognition. Further, when the film is warped at the edge, the light reflection direction on the surface is uneven, so that the detection position varies. Further, even when the position sensor S is arranged so that the light emitting portion Sa and the light receiving portion Sb are arranged in the film width direction as shown in FIG. 8C, it is similarly affected by the warp of the film F. become. Specifically, the position detection error due to curl may be about 5 mm at the maximum, and may not be ignored as an image reading apparatus. Also, when a film shorter than the regular dimension is conveyed, it is handled as a film that cannot be read if correct detection is possible, but if it is detected by mistake as described above, The film is transported as a normal film, which leads to clogging in the transport path and a defective read image. In the reverse case, the regular function as the image reading apparatus cannot be achieved.

一方、透過式センサは、画像読取装置においては、搬送経路に対し垂直に近い光路によって検出することが可能であり、カールあるいは反りの影響を軽減することは可能であるが、透過式センサの場合発光部と受光部との配置関係において求められる精度が厳しく、光学系の調整が必要となる。また、こうした画像読取装置においては、フィルム搬送経路を定期的に清掃・清浄処理などの保守を行う必要があることから、発光部Saあるいは受光部Sbの位置に変動が生じる場合があり、光学系の再調整を必要とし保守面においても課題が大きい。さらに、フィルムがポジタイプの場合には、フィルムの透過特性の相違によって検出精度が異なる場合があり適用が難しいという課題がある。   On the other hand, a transmissive sensor can be detected by an optical path that is nearly perpendicular to the conveyance path in an image reading apparatus, and can reduce the effects of curling or warping. The accuracy required in the arrangement relationship between the light emitting unit and the light receiving unit is strict, and adjustment of the optical system is necessary. Further, in such an image reading apparatus, since it is necessary to periodically perform maintenance such as cleaning / cleaning processing of the film conveyance path, the position of the light emitting portion Sa or the light receiving portion Sb may vary, and the optical system Re-adjustment is required, and there are significant problems in terms of maintenance. Further, when the film is a positive type, there is a problem that the detection accuracy may be different due to the difference in transmission characteristics of the film, which makes it difficult to apply.

本発明は上記実情に鑑みてなされたものであり、その課題は、フィルムの搬送経路におけるフィルム先端部あるいは後端部の位置つまりフィルム自体の位置を正確に検知し、明瞭な画像の読取り、焼付けを行うことができるとともに、フィルムの長さの算出にも高い精度を確保することができる画像読取装置を提供することである。また、同時に画像読取装置の保守・点検後においても、特別な調整等を必要とせず、簡素な構成で、再現よくフィルム自体の位置を正確に検知することができる、画像読取装置を提供することである。   The present invention has been made in view of the above circumstances, and its problem is to accurately detect the position of the film front end or rear end in the film conveyance path, that is, the position of the film itself, and to read and print clear images. And an image reading apparatus capable of ensuring high accuracy in calculating the length of the film. Further, it is possible to provide an image reading apparatus capable of accurately detecting the position of the film itself with a simple configuration and without recognizing even after maintenance / inspection of the image reading apparatus. It is.

上記課題を解決するため本発明に係る画像読取装置は、
写真フィルムを搬送経路に沿って搬送する搬送機構と、搬送経路の途上に設けられ、写真フィルムに対する処理を行うための処理機構と、搬送経路に沿って搬送される写真フィルムを巻き取り収容する収容空間部と、写真フィルムに形成された画像の読取り、焼付けを行う画像読取機構と、を備えた画像読取装置であって、前記搬送経路中に、発光部および受光部を有する反射式光センサと、反射ミラーを設けたことを特徴とする。
In order to solve the above problems, an image reading apparatus according to the present invention provides:
A conveyance mechanism that conveys the photographic film along the conveyance path, a processing mechanism that is provided in the middle of the conveyance path and performs processing on the photographic film, and a storage that winds and accommodates the photographic film conveyed along the conveyance path An image reading apparatus comprising a space portion and an image reading mechanism for reading and printing an image formed on a photographic film, the reflection-type optical sensor having a light emitting portion and a light receiving portion in the transport path; A reflection mirror is provided.

本発明者は、こうした検知系を構成することによって、搬送経路中のフィルム位置の検知において、フィルムの反りに対する検知精度の影響が少ない透過式光センサの機能を有し、かつ一方の面からの検知が可能でセンサの保守が容易な反射式センサの機能を兼ね備えることが可能であることを見出したものである。また、反射式センサは、発光部と受光部の位置関係が固定的で安定性が高い点においても優位である。   By constructing such a detection system, the present inventor has a function of a transmission type optical sensor that has little influence of detection accuracy on the warping of the film in the detection of the film position in the transport path, and from one surface. The present inventors have found that it is possible to have the function of a reflective sensor that can be detected and that can be easily maintained. The reflective sensor is also advantageous in that the positional relationship between the light emitting unit and the light receiving unit is fixed and has high stability.

つまり、反射ミラーを用いることで、図5(B)に示すように実質的に位置Scに発光部を有する透過式センサを形成することができ、さらに、実効光路長が通常使用距離の2倍となり、その分入射角θを小さくすることができる。従って、フィルムの搬送経路におけるフィルム先端部あるいは後端部の位置つまりフィルム自体の位置を正確に検知し、明瞭な画像の読取り、焼付けを行うことができるとともに、フィルムの長さの算出にも高い精度を確保することができる画像読取装置を提供することができる。   That is, by using the reflection mirror, a transmission sensor having a light emitting portion at a position Sc can be formed substantially as shown in FIG. 5B, and the effective optical path length is twice the normal use distance. Therefore, the incident angle θ can be reduced accordingly. Therefore, it is possible to accurately detect the position of the leading end or the trailing end of the film in the film transport path, that is, the position of the film itself, and to read and print a clear image, and to calculate the length of the film. An image reading apparatus capable of ensuring accuracy can be provided.

また、反射式光センサおよび反射ミラーを別々に取り付けることあるいは取外すことを容易に行うことができるとともに、取り付けあるいは取外しに伴う光路のズレによる影響が非常に小さくすることができる。従って、画像読取装置の保守・点検後においても、特別な調整等を必要とせず、簡素な構成で、再現よくフィルム自体の位置を正確に検知することができる、画像読取装置を提供することができる。   In addition, the reflection type optical sensor and the reflection mirror can be easily attached or detached separately, and the influence of the optical path shift caused by the attachment or removal can be extremely reduced. Accordingly, it is possible to provide an image reading apparatus capable of accurately detecting the position of the film itself with a simple configuration and with good reproducibility even after maintenance / inspection of the image reading apparatus. it can.

さらに、フィルムの検知において、フィルム無から有への状態の変化に対し、従来の反射式センサの使用方法であれば、受光部への入射光が無から有へ変化する一方、本発明においては、受光部への入射光が有から無へ変化する。つまり、前者では、フィルムのカールによる散乱光の増加が位置の検知に大きな誤差を生み、誤作動の影響が無視できず、後者では、遮光に伴う速やかな光量の変化が発生することによって、その影響がない点においても優位である。   Furthermore, in the detection of the film, if the conventional reflective sensor is used for the change in the state from the absence of the film to the presence, the incident light to the light receiving portion changes from none to the presence, in the present invention. The incident light on the light receiving portion changes from presence to absence. In other words, in the former, the increase in scattered light due to the curl of the film causes a large error in position detection, the influence of malfunction cannot be ignored, and in the latter, a rapid change in the amount of light accompanying light shielding occurs. It is also advantageous in that there is no influence.

本発明は、上記画像読取装置であって、前記反射式光センサと反射ミラーが、前記搬送経路を中央に相対する位置であって、写真フィルムの中央部かつその垂線方向に配することを特徴とする。   The present invention is the above-described image reading apparatus, wherein the reflection type photosensor and the reflection mirror are disposed at a position opposite to the center of the transport path and in a central portion of the photographic film and in a direction perpendicular thereto. And

一般に、フィルムの搬送において、フィルムの1の側端部で検知した場合、フィルムの中央部あるいは他の側端部との関連が一定とはいえず、また、側端面はパーフォレーション管理などを行うために規制されることがあるため、画像のあるフィルムの中央部がフィルム位置を代表するのに最適である。従って、上記の構成によって、フィルムの位置を正確に検知し、明瞭な画像の読取り、焼付けを行うことができる。   In general, when the film is detected at one side edge of the film, the relationship with the center or other side edge of the film is not constant, and the side edge surface performs perforation management. Therefore, the central portion of the film with an image is optimal for representing the film position. Therefore, with the above configuration, it is possible to accurately detect the position of the film and to read and print a clear image.

なお、フィルムの当初の巻き方向、あるいは装置での押し出し、搬送、巻取りの流れから、フィルムがカールする方向はほぼ同一である。従って、フィルムの位置の検知においても、搬送経路に対し完全に垂直な光によりも傾斜(入射角度)を有する方がカールの影響を少なく検知することができる。本発明における反射式センサにおいては、搬送経路方向に発光部と受光部を配置することで必然的にこうした傾斜を有する状態を形成することができることから、こうしたカールの方向を予め考慮した構成を満たすことができる点において優位である。   Note that the direction in which the film curls is substantially the same from the initial winding direction of the film or the flow of extrusion, conveyance, and winding by the apparatus. Accordingly, even in the detection of the film position, the influence of curl can be detected with the inclination (incident angle) even with light completely perpendicular to the transport path. In the reflection type sensor according to the present invention, a state having such an inclination can be inevitably formed by arranging the light emitting unit and the light receiving unit in the conveyance path direction. It is advantageous in that it can.

本発明は、上記画像読取装置であって、前記反射式光センサと反射ミラー受光面との距離を調整する機構を有することを特徴とする。   The present invention is the above-described image reading apparatus, characterized in that it has a mechanism for adjusting the distance between the reflective optical sensor and the reflective mirror light receiving surface.

上記のように、本発明の構成の特徴は、フィルム位置検知のための光学系を構成する反射式光センサと反射ミラーを、搬送経路を介して別々に配置することにあり、かつ、取り付けることあるいは取外すことを容易に行うことができるとともに、取り付けあるいは取外しに伴う光路のズレによる影響が非常に小さくすることができることにある。つまり、例えば1コマフィルムにおける画像読取のように、非常にフィルム位置検知の精度を要求される場合にあっても、特別な精密調整機構を用いずに、両者の距離を調整する簡素な機構で、さらに精度の高いフィルム自体の位置を正確に検知することができる。   As described above, the feature of the configuration of the present invention resides in that the reflective photosensor and the reflective mirror constituting the optical system for film position detection are separately arranged via the transport path, and attached. Alternatively, the removal can be easily performed, and the influence of the deviation of the optical path due to the attachment or removal can be extremely reduced. In other words, a simple mechanism that adjusts the distance between the two without using a special precision adjustment mechanism even when the accuracy of film position detection is required, such as when reading an image on a single frame film. Further, it is possible to accurately detect the position of the film itself with higher accuracy.

本発明は、上記画像読取装置であって、前記搬送経路に対する前記反射ミラー受光面の角度調整機構を有することを特徴とする。   The present invention is the above-described image reading apparatus, characterized in that the image reading apparatus includes an angle adjustment mechanism of the reflection mirror light receiving surface with respect to the conveyance path.

上記のように、本発明の構成は、反射式光センサと反射ミラーの配置およびそれに伴う光学系の高い安定性に特徴がある。従って、非常にフィルム位置検知の精度を要求される場合にあっては、両者の距離を調整だけではなく、反射ミラーの角度調整によっても容易かつ簡素な機構で行うことができる。つまり、上記のように反射ミラーについては浅い入射角度で取付けが可能であることから、特別な精密調整機構を用いずに、反射ミラーの角度を調整することが可能であり、簡素な機構でさらに精度の高いフィルム自体の位置を正確に検知することができる。   As described above, the configuration of the present invention is characterized by the arrangement of the reflective photosensor and the reflective mirror and the high stability of the optical system associated therewith. Therefore, when the accuracy of film position detection is required, it can be performed with an easy and simple mechanism not only by adjusting the distance between them but also by adjusting the angle of the reflecting mirror. In other words, since the reflection mirror can be mounted at a shallow incident angle as described above, the angle of the reflection mirror can be adjusted without using a special precision adjustment mechanism. It is possible to accurately detect the position of the highly accurate film itself.

本発明は、上記画像読取装置であって、前記反射式光センサの出力微分値の変化から、写真フィルムの位置を検知することを特徴とする。   The present invention is the image reading apparatus described above, wherein the position of the photographic film is detected from a change in the output differential value of the reflective optical sensor.

本発明に係る装置においては、フィルムの検知において、受光部での入射光が有から無へ急激に変化する。つまり、遮光に伴う速やかな光量の変化が発生することを利用している。従って、こうした急激な変化は光センサの出力に変化とともに、出力の変化率をも大きく変化させる現象と捉えることができる。つまり、光センサの出力値を微分することで、より顕著にその変化を捉え、迅速にフィルムの位置を検知することができる。   In the apparatus according to the present invention, in the detection of the film, the incident light at the light receiving portion changes rapidly from presence to absence. In other words, it utilizes the fact that a rapid change in the amount of light accompanying the light shielding occurs. Therefore, such a rapid change can be regarded as a phenomenon that changes the output rate of the optical sensor as well as the output change rate. That is, by differentiating the output value of the optical sensor, the change can be recognized more remarkably and the position of the film can be detected quickly.

以上のような構成によって、フィルムの搬送経路におけるフィルム端部の位置つまりフィルム自体の位置を正確に検知し、明瞭な画像の読取り、焼付けを行うことができるとともに、フィルムの長さの算出にも高い精度を確保することができる画像読取装置を提供することである。特に、1コマフィルムのように寸法の短いフィルムについては、搬送制御精度の重要性が高いことから、こうした精度の高い位置の検知によって最適な制御が可能となる。   With the configuration as described above, the position of the film edge in the film transport path, that is, the position of the film itself can be accurately detected, and a clear image can be read and printed, and the length of the film can also be calculated. An object of the present invention is to provide an image reading apparatus capable of ensuring high accuracy. In particular, since a film having a short dimension such as a single frame film is highly important for conveyance control accuracy, optimum control can be performed by detecting such a highly accurate position.

また、光学系の構成部材の取付けや取外しに伴う光路のズレによる影響が非常に小さく、画像読取装置の保守・点検後においても、特別な調整等を必要とせず、簡素な構成で、再現よくフィルム自体の位置を正確に検知することができる。   In addition, the effects of optical path deviations associated with the installation and removal of optical system components are very small, and no special adjustments are required after maintenance and inspection of the image reader. The position of the film itself can be detected accurately.

本発明に係る画像読取装置の好適な実施形態を、図面を用いて説明する。
図1は、画像読取装置1が用いられる写真処理システムの構成を示す模式図である。
A preferred embodiment of an image reading apparatus according to the present invention will be described with reference to the drawings.
FIG. 1 is a schematic diagram showing a configuration of a photographic processing system in which the image reading apparatus 1 is used.

<写真処理システムの構成>
図1は、現像済みフィルムに形成されているコマ画像を読み取りデジタルデータ化し、デジタル露光操作方式でペーパーP(写真感光材料)に画像を焼付露光して写真プリントを作成する写真処理システムであり、画像読取装置1(フイルムスキャナー)とプリンタプロセッサーPRを備えている。画像読取装置1は、図1に示すように照明光学系2と、撮像光学系3と、本発明に係るフィルム位置検知系(以下「検出系」という。)を含むフィルムキャリア4(フィルム搬送ユニット)と、を備えている。
<Photo processing system configuration>
FIG. 1 is a photographic processing system that reads a frame image formed on a developed film, converts it into digital data, and prints and exposes the image on paper P (photosensitive material) by a digital exposure operation method. An image reading apparatus 1 (film scanner) and a printer processor PR are provided. As shown in FIG. 1, the image reading apparatus 1 includes a film carrier 4 (film transport unit) including an illumination optical system 2, an imaging optical system 3, and a film position detection system (hereinafter referred to as “detection system”) according to the present invention. ) And.

照明光学系2は、フィルムキャリア4内を搬送経路に沿って搬送されるフィルムF(ネガフィルムやポジフィルム)に対して光を照射するために設けられる。照明光学系2は、光源部5と、調光フィルター6と、ミラートンネル7とを備えている。光源部5は、例えば、ハロゲンランプであり、赤(R)緑(G)青(B)の3色の夫々に対応する波長領域の光が含まれている。調光フィルター6は、光源部5からの放射光の色分布を必要に応じて整えるためのものである。従って、光源部5から照射される光は、調光フィルター6とミラートンネル7によって、その色分布や強度分布が調整された後に、フィルムFに照射される。   The illumination optical system 2 is provided in order to irradiate the film F (negative film or positive film) conveyed along the conveyance path in the film carrier 4. The illumination optical system 2 includes a light source unit 5, a light control filter 6, and a mirror tunnel 7. The light source unit 5 is, for example, a halogen lamp, and includes light in a wavelength region corresponding to each of the three colors of red (R), green (G), and blue (B). The light control filter 6 is for adjusting the color distribution of the radiated light from the light source part 5 as needed. Therefore, the light emitted from the light source unit 5 is applied to the film F after its color distribution and intensity distribution are adjusted by the light control filter 6 and the mirror tunnel 7.

撮像光学系3は、ズームレンズを含むレンズユニット8と、フィルムFを通過した光を受光するCCDラインセンサ9(以下、CCDセンサと省略)を備えている。レンズユニット8は、フィルムFを通過した光をCCDセンサ9上に結像させるために設けられる。なお、図1では、レンズユニット8として1枚のレンズのみが図示されているが、複数のレンズで構成されていても良い。   The imaging optical system 3 includes a lens unit 8 including a zoom lens, and a CCD line sensor 9 (hereinafter abbreviated as a CCD sensor) that receives light that has passed through the film F. The lens unit 8 is provided to form an image of the light that has passed through the film F on the CCD sensor 9. In FIG. 1, only one lens is shown as the lens unit 8, but it may be composed of a plurality of lenses.

CCDセンサ9は、フィルムFの搬送方向(図1の矢印方向であり副走査方向に相当)に直交する方向(主走査方向に相当)に沿って配置されたライン状のセンサである。ここでCCDセンサ9は、主走査方向つまりフィルムFの幅方向と平行に配列される多数の画素(ピクセル)を有している。CCDセンサ9は、カラー画像データを取得するために、副走査方向上流側から下流側に沿って互いに所定間隔だけ離間して配置された3つのラインセンサ9a,9b,9cを備えている。   The CCD sensor 9 is a linear sensor arranged along a direction (corresponding to the main scanning direction) orthogonal to the film F conveyance direction (arrow direction in FIG. 1 and corresponding to the sub-scanning direction). Here, the CCD sensor 9 has a large number of pixels arranged in parallel with the main scanning direction, that is, the width direction of the film F. The CCD sensor 9 includes three line sensors 9a, 9b, and 9c that are spaced apart from each other by a predetermined distance from the upstream side in the sub-scanning direction to the downstream side in order to acquire color image data.

各ラインセンサ9a,9b,9cの各撮像面には、R,G,Bの色分解フィルターのいずれかが夫々取り付けられており、R,G,Bの各色に対応するように割り当てられている。つまり、赤色に対応するラインセンサ9aの撮像面にはフィルムFを透過した光の赤色成分のみを通過させるカラーフィルタが、これと同様に、緑色に対応するラインセンサ9bの撮像面には緑色成分のみを通過させるカラーフィルタが、青色に対応するラインセンサ9cの撮像面には青色成分のみを通過させるカラーフィルタが取り付けられている。   One of R, G, and B color separation filters is attached to each imaging surface of each line sensor 9a, 9b, and 9c, and is assigned to correspond to each color of R, G, and B. . That is, a color filter that allows only the red component of the light transmitted through the film F to pass through the imaging surface of the line sensor 9a corresponding to red, and similarly, a green component to the imaging surface of the line sensor 9b corresponding to green. A color filter that passes only the blue component is attached to the imaging surface of the line sensor 9c corresponding to blue.

フィルムキャリア4の詳細は後述するが、フィルムFに対する照射光学系2と撮像光学系3とを結ぶ光路の後段あるいは前段の少なくともいずれか一方のフィルム搬送経路に、位置センサSおよび反射ミラーMを有するフィルム位置検知系が配されている。フィルムFの通過による光の反射からフィルムFの位置を検知し、フィルムFの停止位置の確認および搬送系の制御を行うとともに、位置情報をデータ処理部10に入力することによってフィルム位置と画像データとの相関を管理することができる。   Although details of the film carrier 4 will be described later, a position sensor S and a reflecting mirror M are provided in at least one of the film transport path in the rear stage or the front stage of the optical path connecting the irradiation optical system 2 and the imaging optical system 3 to the film F. A film position detection system is arranged. The position of the film F is detected from the reflection of light due to the passage of the film F, the stop position of the film F is confirmed and the transport system is controlled, and the position information is input to the data processing unit 10 to thereby detect the film position and image data. The correlation with can be managed.

データ処理部10は、各ラインセンサ9a,9b,9cの画素から出力される各画素信号をサンプルホールドすることにより、各画素信号を連続した画像信号にするとともに、この各画素信号を所定のビット数のデジタル信号に変換した後に、画像処理部11に送出する。また、画像処理部11では、オペレータにより入力された色・濃度の補正データに基づいた画像処理や、写真プリント作成のために必要とされる種々の画像補正処理を実行する機能を有する。画像処理部11で画像処理が施されたコマ画像の画像データは、露光エンジン13に転送される。   The data processing unit 10 samples and holds the pixel signals output from the pixels of the line sensors 9a, 9b, and 9c, thereby converting the pixel signals into continuous image signals, and converting the pixel signals to predetermined bits. After being converted into a number of digital signals, it is sent to the image processing unit 11. The image processing unit 11 has a function of executing image processing based on color / density correction data input by an operator and various image correction processing required for creating a photo print. The image data of the frame image that has been subjected to image processing by the image processing unit 11 is transferred to the exposure engine 13.

次に、プリンタプロセッサーPRの構成を説明する。ペーパーマガジンM1,M2には、写真感光材料であるペーパーがロールの形態で収容されている。いずれか一方のペーパーマガジンM1,M2から長尺状のペーパーが引き出されていき、搬送経路途上に設けられたペーパーカッター14によりプリントサイズにカットされる。振り分け搬送機構15により、ペーパーは1列から複列に搬送状態が切り替えられる。   Next, the configuration of the printer processor PR will be described. Paper magazines M1 and M2 contain paper, which is a photographic photosensitive material, in the form of a roll. A long paper is pulled out from one of the paper magazines M1 and M2, and is cut into a print size by a paper cutter 14 provided in the course of the transport path. The sorting conveyance mechanism 15 switches the conveyance state of the paper from one row to multiple rows.

露光エンジン13は、画像処理部11から転送されてきた画像データに基づいて、ペーパーに画像を焼付露光する。露光エンジン13は、レーザーエンジン、PLZTエンジン等の種々の構造のものを採用することができる。画像が焼付露光されたペーパーは、搬送機構16により搬送されて現像処理部17に送り込まれる。現像処理部17にて現像処理が施され、乾燥処理部18で乾燥処理が施された後、ペーパー排出部19から仕上がりの写真プリントが装置外部に排出される。   The exposure engine 13 prints and exposes an image on paper based on the image data transferred from the image processing unit 11. The exposure engine 13 can employ various structures such as a laser engine and a PLZT engine. The paper on which the image is printed and exposed is transported by the transport mechanism 16 and sent to the development processing unit 17. After the development processing is performed in the development processing unit 17 and the drying processing is performed in the drying processing unit 18, the finished photographic print is discharged from the paper discharge unit 19 to the outside of the apparatus.

<フィルムキャリア(フィルム搬送ユニット)の構成>
次に、フィルムキャリア4の構成を説明する。画像読取装置1は、現像済みフィルムに形成されたコマ画像を読み取るために設けられており、フィルムキャリア4は、そのためのフィルムを搬送させる機能を備えている。フィルムキャリア4は、いわゆる135タイプのフィルム(35mmフィルムロールともいい、以下、「135フィルム」と称する)と、いわゆるAPSによるフィルム(以下、「240フィルム」と称する)の両方を取り扱うことができる。フィルムキャリア4の構成は図2,4の斜視図及び図3の平面図に示される。図2,3は、上部本体32を閉じた状態、図4は、上部本体32を開いた状態を示している。
<Configuration of film carrier (film transport unit)>
Next, the configuration of the film carrier 4 will be described. The image reading device 1 is provided to read a frame image formed on a developed film, and the film carrier 4 has a function of conveying the film for that purpose. The film carrier 4 can handle both a so-called 135 type film (also called a 35 mm film roll, hereinafter referred to as “135 film”) and a so-called APS film (hereinafter referred to as “240 film”). The configuration of the film carrier 4 is shown in the perspective views of FIGS. 2 and 4 and the plan view of FIG. 2 and 3 show a state in which the upper body 32 is closed, and FIG. 4 shows a state in which the upper body 32 is opened.

図2〜4に示されるように、240フィルムを搬送させるための第1搬送経路R1(搬送レーン)と135フィルムを搬送させるための第2搬送経路R2とが横並びで平行に配置されている。240フィルムは、カートリッジに収容されているので、そのカートリッジを装填するための装填部20が設けられている。135フィルムは、容器には収容されていないので、帯状の135フィルムをそのまま挿入するためのフィルム挿入部21が設けられている。   2-4, the 1st conveyance path | route R1 (conveyance lane) for conveying 240 films and the 2nd conveyance path | route R2 for conveying 135 films are arrange | positioned in parallel in parallel. Since 240 film is accommodated in a cartridge, a loading unit 20 for loading the cartridge is provided. Since the 135 film is not accommodated in the container, a film insertion portion 21 for inserting the strip-shaped 135 film as it is is provided.

装填部20は、240フィルムのカートリッジを保持するホルダー部22と、このホルダー部22に保持されたカートリッジのスプール軸を回転させる駆動部30と、ホルダー部22に保持された240フィルムのスプール軸を支持する支持部23とで構成されている。ホルダー部22は、240フィルムのカートリッジを挿入するホルダー本体22aと、このホルダー本体22aをフィルム搬送部24に取り付けるための取り付け部材22bとで構成されている。   The loading unit 20 includes a holder unit 22 that holds a 240 film cartridge, a drive unit 30 that rotates a spool shaft of the cartridge held by the holder unit 22, and a 240 film spool shaft that is held by the holder unit 22. It is comprised with the support part 23 to support. The holder portion 22 includes a holder main body 22 a into which a 240 film cartridge is inserted, and an attachment member 22 b for attaching the holder main body 22 a to the film transport portion 24.

ホルダー本体22aは、外周径状が240フィルムのカートリッジの端面形状と略相似した形状に設定されてドーナツ状に形成されたベース部220と、このベース部220の外周方向に所定間隔を有し、ベース部220の外周縁部から中心線方向に突出した複数の保持片221とで構成される。複数の保持片221は、先端側に240フィルムのカートリッジを装填する装填口25を形成しており、この保持片221で包囲される領域内に240フィルムのカートリッジを軸芯方向に挿入可能にしている。また、複数の保持片221は、240フィルムのカートリッジを装填した状態で、カートリッジのシャッター部(フィルムを引き出す引出し口)が複数の保持片221の間に来るように配置され、240フィルムの引出しが可能となるように配置されている。   The holder body 22a has a base portion 220 that is formed in a donut shape with an outer peripheral diameter set to a shape substantially similar to the end face shape of a 240 film cartridge, and a predetermined interval in the outer peripheral direction of the base portion 220. A plurality of holding pieces 221 projecting from the outer peripheral edge of the base portion 220 in the center line direction. The plurality of holding pieces 221 form a loading port 25 for loading a 240 film cartridge on the leading end side, and the 240 film cartridge can be inserted in the axial direction into an area surrounded by the holding piece 221. Yes. The plurality of holding pieces 221 are arranged so that the shutter portion (drawing port for drawing out the film) of the cartridge is located between the plurality of holding pieces 221 in a state where a 240 film cartridge is loaded. It is arranged to be possible.

取り付け部材22bは、後述する下部本体31に着脱可能に構成されており、ホルダー本体22aのベース部220が蝶着されている。ホルダー本体22aと取り付け部材22bとを蝶着した軸体26には、ねじりコイルバネ(図示せず)が装着されており、ホルダー本体22aが軸体26回りに付勢されている。   The attachment member 22b is configured to be attachable to and detachable from a lower main body 31 described later, and a base portion 220 of the holder main body 22a is hinged. A torsion coil spring (not shown) is attached to the shaft body 26 in which the holder main body 22a and the attachment member 22b are hinged, and the holder main body 22a is biased around the shaft body 26.

ホルダー部22は、装填したカートリッジのシャッター部が第1搬送経路R1側となるように、取り付け部材22bがフィルム搬送部24に取り付けられ、この状態でホルダー本体22aは、装填されたカートリッジ内のスプール軸が横臥せ状態となるフィルム引出し姿勢と、装填口25が上方に向く装填姿勢との間で姿勢変更可能となっている。ホルダー部22は、フィルム引出し姿勢において、第1搬送経路R1の第1搬送挿入口と、カートリッジのシャッター部とが対向し、カートリッジから240フィルムを引き出して第1搬送経路R1に挿入できるようにしている。一方、装填姿勢においては、装填口25が上方に向き、240フィルムのカートリッジの装填及び取り出しを行うことができる。   The holder portion 22 has an attachment member 22b attached to the film transport portion 24 so that the shutter portion of the loaded cartridge is on the first transport path R1 side. In this state, the holder main body 22a is a spool in the loaded cartridge. The posture can be changed between a film drawing posture in which the shaft is in a lying state and a loading posture in which the loading port 25 faces upward. In the film drawing posture, the holder portion 22 faces the first conveyance insertion port of the first conveyance path R1 and the shutter portion of the cartridge so that the 240 film can be pulled out from the cartridge and inserted into the first conveyance path R1. Yes. On the other hand, in the loading posture, the loading port 25 faces upward, and a 240 film cartridge can be loaded and unloaded.

前記駆動部30は、フィルム搬送部24に連結されるベース体30aと、駆動源である電動モータ30cと、この駆動モータ30cの回転を減速する減速機構30bとを備えている。このベース体30aは、フィルム搬送部24の下面に取り付けられており、ベース体30aには、電動モータ30c及び減速機構30bが取り付けられる。この減速機構30bの出力軸(図示せず)は、一端部がホルダー本体22aに向けて突出するように設けられており、ホルダー本体部22aのベース部220の孔を介し、装填姿勢からフィルム引出し姿勢になったカートリッジ内のスプール軸の一端部と係合して電動モータ30cの駆動がスプール軸に伝達されるようになっている。なお、電動モータ30cは、減速機構30bを介してフィルム搬送部24の駆動も担っている。   The drive unit 30 includes a base body 30a connected to the film transport unit 24, an electric motor 30c that is a drive source, and a speed reduction mechanism 30b that decelerates the rotation of the drive motor 30c. The base body 30a is attached to the lower surface of the film transport unit 24, and the electric motor 30c and the speed reduction mechanism 30b are attached to the base body 30a. The output shaft (not shown) of the speed reduction mechanism 30b is provided so that one end protrudes toward the holder body 22a, and the film is drawn from the loading posture through the hole of the base portion 220 of the holder body 22a. The drive of the electric motor 30c is transmitted to the spool shaft by engaging with one end portion of the spool shaft in the cartridge in the posture. The electric motor 30c is also responsible for driving the film transport unit 24 via the speed reduction mechanism 30b.

支持部23は、スプール軸の他端部を支持する回転自在な支持軸23aを備えている。具体的には、支持部23は、240フィルムにおけるカートリッジのシャッター部を開閉する開閉機構を備えている。この開閉機構は、電動モータ23bと、電動モータ23bの駆動をカートリッジのシャッター部に伝達する伝達機構23cとを備えており、支持軸23aは伝達機構23cに回転自在に軸支されている。かかる開閉機構は、ベース23dに支持されており、フィルム引出し姿勢になったカートリッジ内のスプール軸の軸芯方向に進退可能に設けられている。   The support portion 23 includes a rotatable support shaft 23a that supports the other end of the spool shaft. Specifically, the support portion 23 includes an opening / closing mechanism that opens and closes a shutter portion of a cartridge in 240 film. The opening / closing mechanism includes an electric motor 23b and a transmission mechanism 23c that transmits the drive of the electric motor 23b to the shutter portion of the cartridge. The support shaft 23a is rotatably supported by the transmission mechanism 23c. The opening / closing mechanism is supported by the base 23d and is provided so as to be able to advance and retract in the axial direction of the spool shaft in the cartridge in the film drawing posture.

支持軸23aは、240フィルムのスプール軸の他端部と係合可能に構成されており、この支持部23aがカートリッジに向けて前進することで、スプール軸の他端部と係合するように構成されている。一方、支持部23が、カートリッジから離間するように後退することで、スプール軸と出力軸との係合が解除されるようになっている。   The support shaft 23a is configured to be engageable with the other end portion of the spool shaft of 240 film, and the support portion 23a advances toward the cartridge so as to engage with the other end portion of the spool shaft. It is configured. On the other hand, the support portion 23 is retracted away from the cartridge, so that the engagement between the spool shaft and the output shaft is released.

フィルム搬送部24は、上下に対向配置された下部本体31と、上部本体32とで構成されている。下部本体31は、下面視略矩形状に形成されており、長手方向の一端側における一方の角部が、平面視略角形に切り欠かれ、装填部20を配置する配置スペースを形成している。   The film transport unit 24 includes a lower main body 31 and an upper main body 32 that are opposed to each other in the vertical direction. The lower main body 31 is formed in a substantially rectangular shape when viewed from the bottom, and one corner on one end side in the longitudinal direction is cut out into a substantially rectangular shape when seen in a plan view to form an arrangement space for placing the loading portion 20. .

図4に示すように、下部本体31における上部本体32と対向する面には、第1搬送経路R1を形成するための第1下溝41と、第2搬送経路R2を形成するための第2下溝50とが形成されている。第1下溝41は、240フィルムの幅に対応した幅に設定されており、装填部20の配置スペースの形成位置(カートリッジのシャッター部の配置位置)に対応するように、下部本体31の長手方向の全長にわたって形成されている。この第1下溝41の底面には、長手方向(フィルムの搬送方向)に所定間隔を有して複数の凹部42が形成されており、この凹部42には、回転駆動される駆動ローラ43が内装されている。この駆動ローラ43は、第1下溝41の底面から一部を突出させるように設けられており、上部本体32の従動ローラ(図示せず)と当接するように構成されている。   As shown in FIG. 4, on the surface of the lower body 31 that faces the upper body 32, a first lower groove 41 for forming the first conveyance path R1 and a second lower groove for forming the second conveyance path R2. 50 is formed. The first lower groove 41 is set to a width corresponding to the width of the 240 film, and the longitudinal direction of the lower main body 31 so as to correspond to the formation position of the placement space of the loading portion 20 (location position of the shutter portion of the cartridge). Is formed over the entire length. A plurality of recesses 42 are formed on the bottom surface of the first lower groove 41 with a predetermined interval in the longitudinal direction (film transport direction). A driving roller 43 that is rotationally driven is provided in the recess 42. Has been. The drive roller 43 is provided so as to partially protrude from the bottom surface of the first lower groove 41, and is configured to contact a driven roller (not shown) of the upper main body 32.

第1下溝41の底面の所定位置には、溝幅方向(フィルム幅方向)に延びて上下方向に貫通したスリット状の第1下スリット開口部44(処理用開口部に相当)が形成され、この第1下スリット開口部44を介してフィルムに形成されたコマ画像の情報を読み取ることができる。このスリット開口部44の搬送上流側には、上部本体32に設けられた磁気ヘッド(図示せず)に対して240フィルムを押し付ける回転自在なヘッド用ローラ45が埋設されている。さらに、第1下溝41の上流側には、フィルム面をクリーニングするブラシ46が埋設されている。   A slit-shaped first lower slit opening 44 (corresponding to a processing opening) extending in the groove width direction (film width direction) and penetrating in the vertical direction is formed at a predetermined position on the bottom surface of the first lower groove 41, Information on the frame image formed on the film can be read through the first lower slit opening 44. A rotatable head roller 45 for pressing a 240 film against a magnetic head (not shown) provided in the upper main body 32 is embedded on the upstream side of the slit opening 44 in the conveyance. Further, a brush 46 for cleaning the film surface is embedded upstream of the first lower groove 41.

また、スリット開口部44下流側には、検出系が設けられている。検出系は、位置センサSを下部本体31に設け、反射ミラーMを上部本体32に設けることが好ましい。逆の設置も可能であるが、本装置構成例においては、上部本体32が開閉可能な構成となっていることから電源・信号処理用配線を有する位置センサを固定的な下部本体31に設けることが好適である。こうした構成によって、反射式光センサおよび反射ミラーを別々に取り付けることあるいは取外すことを容易に行うことができるとともに、取り付けあるいは取外しに伴う光路のズレによる影響が非常に小さくすることができる。   A detection system is provided downstream of the slit opening 44. In the detection system, it is preferable that the position sensor S is provided in the lower body 31 and the reflection mirror M is provided in the upper body 32. Although the reverse installation is also possible, in this device configuration example, since the upper body 32 is configured to be openable and closable, a position sensor having power supply / signal processing wiring is provided in the fixed lower body 31. Is preferred. With such a configuration, it is possible to easily attach or remove the reflection type optical sensor and the reflection mirror separately, and it is possible to greatly reduce the influence of the deviation of the optical path due to the attachment or removal.

位置センサとしては、非接触の光センサを用いることが好ましい。光センサとしては、紫外線、可視光あるいは赤外線など波長域を問うものではないが、発光部Saとして発光ダイオード、受光部Sbとしてフォトダイオードとを組合せたコンパクトな反射式センサが、装置構成上好ましい。反射式センサは、発光部と受光部の位置関係が固定的で安定性が高い点においても優位である。   It is preferable to use a non-contact optical sensor as the position sensor. The optical sensor is not limited to a wavelength range such as ultraviolet light, visible light, or infrared light. However, a compact reflective sensor in which a light emitting diode as the light emitting portion Sa and a photodiode as the light receiving portion Sb are combined is preferable. The reflective sensor is advantageous in that the positional relationship between the light emitting unit and the light receiving unit is fixed and has high stability.

第2下溝50は、135フィルムのフィルム幅に対応した幅に設定されており、フィルムの幅方向において第1下溝41と並列状態となるように、下部本体31の長手方向で全長にわたって形成されている。第2下溝50にも同様に複数の凹部51が形成され、この凹部51に回転駆動される駆動ローラ52が内装されている。駆動ローラ52は、上部本体32の従動ローラ(図示せず)と当接する。第2下溝50の底面には、溝幅方向(フィルム幅方向)に延びて上下方向に貫通したスリット状の第2下スリット開口部53が形成されている。この第2スリット開口部53は、第1スリット開口部44の延長線上に形成されている。   The second lower groove 50 is set to a width corresponding to the film width of the 135 film, and is formed over the entire length in the longitudinal direction of the lower body 31 so as to be in parallel with the first lower groove 41 in the film width direction. Yes. Similarly, a plurality of recesses 51 are formed in the second lower groove 50, and a driving roller 52 that is rotationally driven by the recesses 51 is internally provided. The driving roller 52 is in contact with a driven roller (not shown) of the upper main body 32. A slit-like second lower slit opening 53 extending in the groove width direction (film width direction) and penetrating in the vertical direction is formed on the bottom surface of the second lower groove 50. The second slit opening 53 is formed on an extension line of the first slit opening 44.

スリット開口部53下流側には、上記同様、検出系が設けられている。位置センサSを下部本体32に設け、反射ミラーMを上部本体31に設けることが好ましい点は、上記と同様である。   A detection system is provided on the downstream side of the slit opening 53 as described above. The point that the position sensor S is preferably provided in the lower main body 32 and the reflection mirror M is preferably provided in the upper main body 31 is the same as described above.

上部本体32は、平面視矩形状に形成されており、長手方向が第1搬送経路R1の全長に対応した長さに設定され、短手方向が下部本体31の短手方向の長さに対応した長さに設定されている。上部本体32は、装填部20をかわして下部本体31に対向配置されており、短手方向の一端部が下部本体31の短手方向の一端部に蝶着されている。これにより、上部本体32は、下部本体31に対して開閉可能となっており、上部本体32と下部本体31との対向面同士が密接する状態と離間する状態とに姿勢変更可能となっている。   The upper body 32 is formed in a rectangular shape in plan view, the longitudinal direction is set to a length corresponding to the entire length of the first transport path R1, and the short direction corresponds to the length of the lower body 31 in the short direction. The length is set. The upper body 32 is disposed opposite the lower body 31 so as to avoid the loading unit 20, and one end portion in the short direction is hinged to one end portion in the short direction of the lower body 31. Thereby, the upper main body 32 can be opened and closed with respect to the lower main body 31, and the posture can be changed between a state in which the facing surfaces of the upper main body 32 and the lower main body 31 are in close contact with each other and a state in which they are separated from each other. .

<フィルム位置検出系の構成>
図5に、上記検出系の詳細を例示する。図5(A)に示すように、駆動部30から駆動ローラR(上記では43、52)によって搬送されたフィルムFは、開口部K(上記では44、53)を経て検出系に至る。このとき、位置センサSは、自ら発しミラーMで反射された連続光あるいはパルス光を受光しており、フィルムFの挿入によって光が遮断されることでフィルムFの存在、位置を検出することができる。
<Configuration of film position detection system>
FIG. 5 illustrates details of the detection system. As shown in FIG. 5A, the film F conveyed from the driving unit 30 by the driving roller R (43, 52 in the above) reaches the detection system through the opening K (44, 53 in the above). At this time, the position sensor S receives continuous light or pulsed light emitted by itself and reflected by the mirror M, and can detect the presence and position of the film F when the light is blocked by insertion of the film F. it can.

つまり、フィルムFの挿入によって、従来の反射式センサの使用方法であれば、受光部への入射光が無から有へ変化する一方、本装置においては、受光部Sbへの入射光が有から無へ変化する。従って、前者では、フィルムのカールによる散乱光の増加が位置の検知に大きな誤差を生み、誤作動の影響が無視できず、後者では、遮光に伴う速やかな光量の変化が発生することによって、その影響がない点においても優位である。   In other words, if the conventional reflective sensor is used by inserting the film F, the incident light to the light receiving portion changes from none to yes, whereas in this apparatus, the incident light to the light receiving portion Sb is It changes to nothing. Therefore, in the former, an increase in scattered light due to the curl of the film causes a large error in position detection, and the influence of malfunction cannot be ignored.In the latter, a rapid change in the amount of light due to light shielding occurs. It is also advantageous in that there is no influence.

具体的な実験によれば、従来の方法では、カールによる位置検知の誤差として最大5mm程度となる場合もあり、本装置によれば、最大1mm以内に押さえることが可能となった。   According to a specific experiment, in the conventional method, the position detection error due to curl may be about 5 mm at the maximum, and according to the present apparatus, it is possible to hold it within a maximum of 1 mm.

また、図5(B)に示すように、発光部Saと受光部Sbを有する位置センサSがフィルム搬送経路下面側に配置され、中央に搬送経路を介して上面側の距離m離れた位置に反射ミラーMが配置されている。このとき、発光部Saから発せられた光は入射角θをもって反射ミラーMに入射され、等角で反射して受光部Sbに入射する。これは、あたかも発光部Scからの光が反射ミラーMおよび搬送経路を通過して受光部に入射する透過式センサを同じ光学系を構成することとなる。しかも、実効光路長が搬送経路からの距離の2倍となることから、発光部Saと受光部Sbとの距離が同じセンサで比較すると入射角を非常に小さくすることができる。   Further, as shown in FIG. 5B, a position sensor S having a light emitting portion Sa and a light receiving portion Sb is arranged on the lower surface side of the film conveyance path, and at a position separated by a distance m on the upper surface side through the conveyance path in the center. A reflection mirror M is disposed. At this time, the light emitted from the light emitting portion Sa is incident on the reflection mirror M at an incident angle θ, is reflected at an equal angle, and is incident on the light receiving portion Sb. This constitutes the same optical system as a transmission sensor in which light from the light emitting unit Sc passes through the reflection mirror M and the transport path and enters the light receiving unit. In addition, since the effective optical path length is twice the distance from the transport path, the incident angle can be made very small when compared with the same distance between the light emitting part Sa and the light receiving part Sb.

つまり、図6に示すように、フィルムFの端部が搬送経路下部側あるいは上部側いずれにカールしている場合であっても、入射角が小さい場合には検出位置の誤差を非常に小さくすることができる。さらに、フィルムFのカールは、フィルムFの当初の巻き方向、あるいは装置での押し出し、搬送、巻取りの流れから、ほぼ同一方向に形成される。従って、フィルムFの位置の検知においても、搬送経路に対し完全に垂直な光によりも傾斜を有する方がカールの影響を少なく検知することができる。本装置においては、位置センサSを図6のような配置にすることで、必ずいくらかの入射角θを形成することになり、こうしたカールの方向を予め考慮した方向に検出系を構成することで、さらに反りに対する影響が少ないフィルムFの位置検知を行うことができる。   That is, as shown in FIG. 6, even when the end of the film F is curled on either the lower side or the upper side of the transport path, the error in the detection position is made extremely small when the incident angle is small. be able to. Further, the curl of the film F is formed in substantially the same direction from the initial winding direction of the film F or the flow of extrusion, conveyance and winding by the apparatus. Therefore, also in the detection of the position of the film F, the influence of curling can be detected with a slight inclination even when the light is completely perpendicular to the transport path. In the present apparatus, by arranging the position sensor S as shown in FIG. 6, a certain incident angle θ is surely formed, and by configuring the detection system in such a direction that takes the curl direction into consideration in advance. Further, the position of the film F can be detected with little influence on the warp.

また、フィルムFに対する検出系の配置については、フィルムFの1の側端部で検知した場合、フィルムFの中央部あるいは他の側端部との関連が一定とはいえずフィルムFを代表しているとはいえない。さらに、側端面はパーフォレーション管理などを行うために規制されることがあるため適切ではない。従って、フィルムFの位置を正確に検知し、明瞭な画像の読取り、焼付けを行う観点を考慮する画像のあるフィルムFの中央部がフィルム位置を代表するのに最適である。   In addition, regarding the arrangement of the detection system with respect to the film F, when it is detected at one side end portion of the film F, the relationship with the center portion of the film F or the other side end portion is not constant and the film F is representative. I cannot say that. Further, the side end face is not appropriate because it may be restricted to perform perforation management or the like. Accordingly, the center portion of the film F having an image in consideration of the viewpoint of accurately detecting the position of the film F and reading and printing a clear image is optimal for representing the film position.

さらに、本装置では、反射式光センサSと反射ミラーMの受光面との距離を調整する機構を有することが好ましい。上記のように、本装置では、両者を搬送経路を介して別々に配置しており、特に反射ミラーMは取付けや取外しも容易であり、取付け部材に調整ネジを利用するなど簡素な機構で両者の距離を調整することが可能である。例えば1コマフィルムにおける画像読取のように、非常にフィルム位置検知の精度を要求される場合にあっても、特別な精密調整機構を用いずに、十分対応することができる。   Furthermore, this apparatus preferably has a mechanism for adjusting the distance between the reflective photosensor S and the light receiving surface of the reflective mirror M. As described above, in the present apparatus, both are arranged separately via the transport path. In particular, the reflection mirror M is easy to attach and detach, and both of them can be provided with a simple mechanism such as using an adjustment screw as an attachment member. It is possible to adjust the distance. For example, even in the case where the accuracy of film position detection is required, such as image reading on a single frame film, it is possible to cope with it without using a special precision adjustment mechanism.

同様に、搬送経路に対する反射ミラーMの受光面の角度を調整する機構を有することが好ましい。上記のように、反射ミラーMの取付け時に、反射式光センサSとの距離を調整だけではなく、反射ミラーの角度も容易かつ簡素な機構で調整することができる。従って非常にフィルム位置検知の精度を要求される場合にあっても、特別な精密調整機構を用いずに、十分対応することができる。   Similarly, it is preferable to have a mechanism for adjusting the angle of the light receiving surface of the reflection mirror M with respect to the transport path. As described above, when the reflection mirror M is attached, not only the distance from the reflection type optical sensor S but also the angle of the reflection mirror can be adjusted with an easy and simple mechanism. Therefore, even when the accuracy of film position detection is required, it is possible to cope with it without using a special precision adjustment mechanism.

既述のように、位置センサSからの位置情報はデータ処理部10に入力され、画像の読取りや画像データとの相関を管理される。本装置では、さらに、位置センサSの出力微分値の変化から、写真フィルムの位置を検知することが好ましい。つまり、本装置においては、検出系へのフィルムFの挿入によって生じる遮光に伴う速やかな光量の変化が発生することを利用している。従って、こうした急激な変化は位置センサSの出力の変化率をも大きく変化させることから、位置センサSの出力値を微分することで、より顕著にその変化を捉えることができる。従って、位置センサSの出力値における外部からの定常的なバックグランドに影響を受けずに、迅速にフィルムの位置を検知することができる。位置センサSの出力値の微分演算処理は、データ処理部10あるいは外部の出力処理手段によって行われる。   As described above, the position information from the position sensor S is input to the data processing unit 10 to manage image reading and correlation with image data. In the present apparatus, it is further preferable to detect the position of the photographic film from the change in the output differential value of the position sensor S. That is, this apparatus utilizes the fact that a rapid change in the amount of light accompanying the light shielding caused by the insertion of the film F into the detection system occurs. Accordingly, since such a sudden change greatly changes the rate of change of the output of the position sensor S, the change can be recognized more significantly by differentiating the output value of the position sensor S. Therefore, the position of the film can be detected quickly without being affected by the stationary background from the outside in the output value of the position sensor S. The differential calculation processing of the output value of the position sensor S is performed by the data processing unit 10 or an external output processing means.

<巻き取りユニットの構成>
次に巻き取りユニット80を説明する。巻き取りユニット80は、図2、図4に示すように、第1搬送経路R1で搬送されてくる240フィルムを一時的に巻き取り収容する第1巻き取り部81と、第2搬送経路R2で搬送されてくる135フィルムを一時的に巻き取り回収する第2巻き取り部82と、これら第1・第2巻き取り部81,82をユニット化してフィルム搬送部24に取り付けるフレーム部83とで構成されている。
<Configuration of winding unit>
Next, the winding unit 80 will be described. As shown in FIGS. 2 and 4, the winding unit 80 includes a first winding unit 81 that temporarily winds and stores the 240 film transported through the first transport path R1, and a second transport path R2. A second winding unit 82 that temporarily winds and collects the 135 film being transported and a frame unit 83 that unitizes the first and second winding units 81 and 82 and attaches them to the film transport unit 24. Has been.

<別実施形態>
上記は、フィルムの位置検出によって、画像読取のタイミングあるいはスキャニング位置を制御する機能あるいは駆動ローラの回転量からフィルムの長さを計測する機能について述べたが、本発明に係る検出系は、駆動ローラ間に設けて搬送量を制御することも可能である。つまり、下流側の駆動ローラを経由したフィルムが検出系を通過した時点を始点として、駆動ローラの回転数から搬送量をカウントし、所定の搬送量で駆動ローラを停止することでフィルムの位置を制御することができる。特に短いフィルムにおいては高い精度を要求されることから、本発明は好適である。
<Another embodiment>
The above describes the function of controlling the image reading timing or scanning position by detecting the position of the film, or the function of measuring the length of the film from the amount of rotation of the driving roller. It is also possible to control the carry amount by providing it in between. In other words, starting from the time when the film passing through the downstream drive roller passes through the detection system, the conveyance amount is counted from the number of rotations of the drive roller, and the drive roller is stopped at a predetermined conveyance amount to thereby adjust the film position. Can be controlled. In particular, the present invention is suitable for a short film because high accuracy is required.

また、検出系を複数設けることも可能である。フィルムの寸法検知において、先端部の検知および後端部の検知を異なる検出系で行うことで、検知に必要な搬送距離を少なくすることができ、また、両検出系を往復させることで、フィルム長の計測精度を上げることも可能となる。   It is also possible to provide a plurality of detection systems. In film dimension detection, the detection of the front end and the detection of the rear end are performed by different detection systems, so that the transport distance required for detection can be reduced, and the film can be reciprocated by reciprocating both detection systems. It is also possible to increase the measurement accuracy of the length.

フィルム搬送ユニットは、APSフィルムのみを搬送させるためのユニットでもよい。また、135タイプのフィルムについてもAPSフィルムと同様の巻き取り部の構成にしても良い。   The film transport unit may be a unit for transporting only the APS film. Further, the 135 type film may have the same winding portion as that of the APS film.

なお、上記の収容空間部の構成は、適用するフィルムの種類は問うものではなく、240フィルムのみならず、110,120,135など各種のフィルムにおいても適用可能である。   In addition, the structure of said accommodation space part does not ask | require the kind of film to apply, and it can apply not only to 240 films but also to various films, such as 110, 120, 135.

フィルム搬送ユニットは、現像済みフィルムに形成されたコマ画像を写真感光材料(ペーパー)に焼付露光するために用いる場合でも本発明は応用できるものである。   The present invention can be applied even when the film transport unit is used to print and expose a frame image formed on a developed film onto a photographic photosensitive material (paper).

以上の画像読取装置は、写真フィルムについて言及したが、上記の収容空間部を含めた各部の構成は、複写用紙あるいは合成繊維フィルムなどにおいても利用することが可能であり、簡素な構成によって汎用性の高い画像読取装置とすることができる。   The above image reading apparatus refers to a photographic film. However, the configuration of each part including the above-described accommodating space part can also be used for a copy sheet or a synthetic fiber film. High image reading apparatus.

また、フィルム位置検知系は、写真フィルムだけではなく、布や金属フィルムなど材料に限定なく広くシート状体の搬送系においても適用可能である。   Further, the film position detection system is not limited to materials such as cloth and metal film, but can be widely applied not only to photographic film but also to a sheet-like material conveyance system.

画像読取装置が用いられる写真処理システムの構成を示す模式図Schematic diagram showing the configuration of a photo processing system in which an image reading apparatus is used フィルム搬送ユニットの構成を示す外観斜視図External perspective view showing the configuration of the film transport unit フィルム搬送ユニットの構成を示す外観平面図External plan view showing the configuration of the film transport unit 上部本体を開いた状態のフィルム搬送ユニットの構成を示す外観斜視図External perspective view showing the configuration of the film transport unit with the upper body opened フィルム搬送ユニットの構成を例示する説明図Explanatory drawing illustrating the configuration of the film transport unit フィルム搬送ユニットにおける位置検出系の動作を説明する概略図Schematic explaining the operation of the position detection system in the film transport unit 従来技術に係る位置検出系の構成を例示する説明図Explanatory drawing illustrating the configuration of a position detection system according to the prior art 従来技術に係る位置検出系の動作を説明する概略図Schematic explaining the operation of the position detection system according to the prior art

符号の説明Explanation of symbols

1 画像読取装置
4 フィルムキャリア(フィルム搬送ユニット)
30 駆動部
43、52 駆動ローラ
44、53 第1下スリット開口部
46 第1上スリット開口部
80 巻き取りユニット
F 写真フィルム
M 反射ミラー
S 位置センサ
Sa 発光部
Sb 受光部
1 Image reader 4 Film carrier (film transport unit)
30 Driving unit 43, 52 Driving roller 44, 53 First lower slit opening 46 First upper slit opening 80 Winding unit F Photo film M Reflecting mirror S Position sensor Sa Light emitting unit Sb Light receiving unit

Claims (5)

写真フィルムを搬送経路に沿って搬送する搬送機構と、
搬送経路の途上に設けられ、写真フィルムに対する処理を行うための処理機構と、
搬送経路に沿って搬送される写真フィルムを巻き取り収容する収容空間部と、
写真フィルムに形成された画像の読取り、焼付けを行う画像読取機構と、
を備えた画像読取装置であって、
前記搬送経路中に、発光部および受光部を有する反射式光センサと、反射ミラーを設けたことを特徴とする画像読取装置。
A transport mechanism for transporting photographic film along the transport path;
A processing mechanism for performing processing on a photographic film, provided in the middle of the transport path;
An accommodating space for winding and accommodating the photographic film conveyed along the conveying path;
An image reading mechanism for reading and printing images formed on photographic film;
An image reading apparatus comprising:
An image reading apparatus comprising a reflection type optical sensor having a light emitting unit and a light receiving unit and a reflection mirror in the conveyance path.
前記反射式光センサと反射ミラーが、前記搬送経路を中央に相対する位置であって、写真フィルムの中央部かつその垂線方向に配することを特徴とする請求項1に記載の画像読取装置。   The image reading apparatus according to claim 1, wherein the reflection type optical sensor and the reflection mirror are disposed at a position opposite to the center of the conveyance path and in a central portion of the photographic film and in a direction perpendicular thereto. 前記反射式光センサと反射ミラー受光面との距離を調整する機構を有することを特徴とする請求項1または2に記載の画像読取装置。   The image reading apparatus according to claim 1, further comprising a mechanism that adjusts a distance between the reflective optical sensor and a reflective mirror light receiving surface. 前記搬送経路に対する前記反射ミラー受光面の角度調整機構を有することを特徴とする請求項1〜3のいずれかに記載の画像読取装置。   The image reading apparatus according to claim 1, further comprising an angle adjustment mechanism of the reflection mirror light receiving surface with respect to the conveyance path. 前記反射式光センサの出力微分値の変化から、写真フィルムの位置を検知することを特徴とする請求項1〜4のいずれかに記載の画像読取装置。
The image reading apparatus according to claim 1, wherein the position of the photographic film is detected from a change in an output differential value of the reflective optical sensor.
JP2004103917A 2004-03-31 2004-03-31 Image reading device Withdrawn JP2005294989A (en)

Priority Applications (1)

Application Number Priority Date Filing Date Title
JP2004103917A JP2005294989A (en) 2004-03-31 2004-03-31 Image reading device

Applications Claiming Priority (1)

Application Number Priority Date Filing Date Title
JP2004103917A JP2005294989A (en) 2004-03-31 2004-03-31 Image reading device

Publications (1)

Publication Number Publication Date
JP2005294989A true JP2005294989A (en) 2005-10-20

Family

ID=35327476

Family Applications (1)

Application Number Title Priority Date Filing Date
JP2004103917A Withdrawn JP2005294989A (en) 2004-03-31 2004-03-31 Image reading device

Country Status (1)

Country Link
JP (1) JP2005294989A (en)

Similar Documents

Publication Publication Date Title
US6343787B1 (en) Sheeting transport apparatus having anti-positional offset mechanism
JP2005294989A (en) Image reading device
US6409400B1 (en) Image recording apparatus, light-sensitive material processing apparatus and image forming apparatus
US6172737B1 (en) Image recording apparatus
JP2005295059A (en) Image reading device
JP2005294958A (en) Image reading device
JP3804936B2 (en) Sheet transport device
JP3653648B2 (en) Image recording device
JPH11202419A (en) Image recording device
JP3769061B2 (en) Sub-scanning transport device
JPH11149127A (en) Recording material magazine
JP3753519B2 (en) Image recording device
JPH10186529A (en) Printing developing machine
JP3634910B2 (en) Image recording device
JPH09120104A (en) Slide carrier
JPH09304838A (en) Image recorder
JP2002290673A (en) Film carrier and scanner
JPH10133286A (en) Image recording device
JP3628456B2 (en) Image recording device
JPH09114016A (en) Slide carrier
JPH09114017A (en) Slide carrier
JPH11167170A (en) Scanning carrying device
JPH09131921A (en) Image recording device
JPH11174588A (en) Image recorder
JPH09133973A (en) Image recorder

Legal Events

Date Code Title Description
A300 Withdrawal of application because of no request for examination

Free format text: JAPANESE INTERMEDIATE CODE: A300

Effective date: 20070605