JP2005294749A - Solid-state image sensor - Google Patents

Solid-state image sensor Download PDF

Info

Publication number
JP2005294749A
JP2005294749A JP2004111225A JP2004111225A JP2005294749A JP 2005294749 A JP2005294749 A JP 2005294749A JP 2004111225 A JP2004111225 A JP 2004111225A JP 2004111225 A JP2004111225 A JP 2004111225A JP 2005294749 A JP2005294749 A JP 2005294749A
Authority
JP
Japan
Prior art keywords
waveguide
lens
layer
light receiving
solid
Prior art date
Legal status (The legal status is an assumption and is not a legal conclusion. Google has not performed a legal analysis and makes no representation as to the accuracy of the status listed.)
Granted
Application number
JP2004111225A
Other languages
Japanese (ja)
Other versions
JP4556475B2 (en
Inventor
Tetsuya Komoguchi
徹哉 菰口
Current Assignee (The listed assignees may be inaccurate. Google has not performed a legal analysis and makes no representation or warranty as to the accuracy of the list.)
Sony Corp
Original Assignee
Sony Corp
Priority date (The priority date is an assumption and is not a legal conclusion. Google has not performed a legal analysis and makes no representation as to the accuracy of the date listed.)
Filing date
Publication date
Application filed by Sony Corp filed Critical Sony Corp
Priority to JP2004111225A priority Critical patent/JP4556475B2/en
Publication of JP2005294749A publication Critical patent/JP2005294749A/en
Application granted granted Critical
Publication of JP4556475B2 publication Critical patent/JP4556475B2/en
Anticipated expiration legal-status Critical
Expired - Fee Related legal-status Critical Current

Links

Images

Landscapes

  • Solid State Image Pick-Up Elements (AREA)
  • Transforming Light Signals Into Electric Signals (AREA)
  • Light Receiving Elements (AREA)

Abstract

【課題】 容易に歩留まりよく製造することができると共に、感度等の特性が良好である構成の固体撮像素子を提供する。
【解決手段】 半導体基体1に光電変換素子が形成されて成る受光部2の上方に、この受光部2側にレンズ面6Aが形成された層内レンズ6が設けられ、層内レンズ6が周囲の層9よりも屈折率の高い材料から成り、この層内レンズ6上に接続して形成された孔部内に、この孔部の周囲の層9よりも屈折率の高い材料が充填された導波路10を設けて固体撮像素子を構成する。
【選択図】 図1
PROBLEM TO BE SOLVED: To provide a solid-state imaging device having a configuration that can be easily manufactured with a high yield and has good characteristics such as sensitivity.
An inner lens 6 having a lens surface 6A formed on the light receiving portion 2 side is provided above the light receiving portion 2 in which a photoelectric conversion element is formed on a semiconductor substrate 1. The hole 9 formed of a material having a higher refractive index than the layer 9 and connected to the intra-layer lens 6 is filled with a material having a higher refractive index than the layer 9 around the hole. A waveguide 10 is provided to constitute a solid-state imaging device.
[Selection] Figure 1

Description

本発明は、固体撮像素子に係わる。   The present invention relates to a solid-state imaging device.

従来から、固体撮像素子における感度の向上を目的として、様々な提案がなされている。   Conventionally, various proposals have been made for the purpose of improving sensitivity in a solid-state imaging device.

その1つとして、受光部の直上の位置に孔部を形成し、この孔部内に高屈折率材料を充填して導波路構造とした構成が提案されている(例えば、特許文献1及び特許文献2参照。)。   As one of them, a configuration is proposed in which a hole is formed at a position immediately above the light receiving portion, and a high refractive index material is filled in the hole to form a waveguide structure (for example, Patent Document 1 and Patent Document). 2).

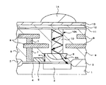
この導波路構造を設けた固体撮像素子の概略断面図を図4に示す。
シリコン基板等の半導体基体51の素子分離層53によって分離された領域に、受光部(フォトダイオード)52が形成されている。
この受光部(フォトダイオード)52の左側の半導体基体51上には、ゲート絶縁膜54を介して転送ゲート電極55が形成されている。
また、コンタクト層(導電プラグ)57を介して半導体基体51に接続された、2層の配線層58が設けられている。
これら2層の配線層58は、絶縁層59により覆われている。
この絶縁層59の上に、パッシベーション膜(保護膜)61、平坦化膜62、カラーフィルタ63、オンチップレンズ64が形成されている。
FIG. 4 shows a schematic cross-sectional view of a solid-state imaging device provided with this waveguide structure.
A light receiving portion (photodiode) 52 is formed in a region separated by the element isolation layer 53 of the semiconductor substrate 51 such as a silicon substrate.
A transfer gate electrode 55 is formed on the semiconductor substrate 51 on the left side of the light receiving portion (photodiode) 52 via a gate insulating film 54.
A two-layer wiring layer 58 connected to the semiconductor substrate 51 through a contact layer (conductive plug) 57 is provided.
These two wiring layers 58 are covered with an insulating layer 59.
On this insulating layer 59, a passivation film (protective film) 61, a planarizing film 62, a color filter 63, and an on-chip lens 64 are formed.

そして、受光部(フォトダイオード)52の上方において、絶縁層59に形成された孔部内に、高屈折率材料層60が充填されて、詳細を後述するように、導波路を構成している。
なお、図中56は、エッチングストッパ膜であり、絶縁層59に孔部を形成するエッチングの際のエッチングストッパとなるものである。
Then, above the light receiving portion (photodiode) 52, a hole formed in the insulating layer 59 is filled with a high refractive index material layer 60 to constitute a waveguide as will be described in detail later.
In the figure, reference numeral 56 denotes an etching stopper film, which serves as an etching stopper at the time of etching for forming a hole in the insulating layer 59.

導波路は、オンチップレンズ64と受光部(フォトダイオード)52との間を光学的に接続するものである。
導波路内部のコア材となる高屈折率材料層60がクラッド部となる絶縁層59に比して屈折率が高いことを利用して、高屈折率材料層60と絶縁層59との界面において、臨界角θよりも大きい入射角をもつ入射光を全反射させることができる。
この界面での反射により、入射光を受光部(フォトダイオード)52へ向かうようにすることができるため、受光部(フォトダイオード)52への集光効率を高めることができる。
特開平11−121725号公報 特開平10−326885号公報
The waveguide optically connects the on-chip lens 64 and the light receiving unit (photodiode) 52.
By utilizing the fact that the refractive index of the high refractive index material layer 60 serving as the core material inside the waveguide is higher than that of the insulating layer 59 serving as the cladding portion, at the interface between the high refractive index material layer 60 and the insulating layer 59. The incident light having an incident angle larger than the critical angle θ can be totally reflected.
Due to the reflection at the interface, incident light can be directed to the light receiving portion (photodiode) 52, so that the light collection efficiency to the light receiving portion (photodiode) 52 can be increased.
Japanese Patent Laid-Open No. 11-121725 Japanese Patent Laid-Open No. 10-326885

しかしながら、固体撮像素子の微細化に伴い、各画素の面積が狭くなるため、それに伴い孔部の開口面積も縮小され、孔部のアスペクト比(幅と深さの比)が大きくなる。
また、例えば、図4に示したように多層の配線層58を有する構成においては、配線層58を覆う絶縁層59の高さが高くなるため、導波路が深く形成される。これによっても、孔部のアスペクト比が大きくなる。
このように孔部のアスペクト比が大きくなることにより、孔部に高屈折率材料を充填する際に埋め込み性が悪くなる。そのため、集光性の悪化や、画素の特性ばらつきが懸念される。
However, as the solid-state imaging device is miniaturized, the area of each pixel is reduced, and accordingly, the opening area of the hole is reduced and the aspect ratio (width / depth ratio) of the hole is increased.
Further, for example, in the configuration having the multilayer wiring layer 58 as shown in FIG. 4, the height of the insulating layer 59 covering the wiring layer 58 is increased, so that the waveguide is formed deeply. This also increases the aspect ratio of the hole.
By increasing the aspect ratio of the hole as described above, the embedding property is deteriorated when the hole is filled with a high refractive index material. For this reason, there is a concern about deterioration of the light condensing property and variation in pixel characteristics.

また、導波路の孔部を開口するエッチングの際に、受光部52付近の半導体基体51等にダメージを与えてしまうことがあり、これが白点の発生原因となる。   Further, when etching is performed to open the hole portion of the waveguide, the semiconductor substrate 51 in the vicinity of the light receiving portion 52 may be damaged, which causes white spots.

そこで、このエッチングによるダメージを回避するため、導波路の孔部を半導体基体51付近まで形成せず、エッチングを途中で止めて、導波路の底面を高くして受光部(フォトダイオード)52から離すことが考えられる。
しかし、この場合には、導波路から放出される斜め光が、受光部(フォトダイオード)52に集光されなくなるおそれがある。
Therefore, in order to avoid damage due to this etching, the hole portion of the waveguide is not formed up to the vicinity of the semiconductor substrate 51, and the etching is stopped halfway to raise the bottom surface of the waveguide and away from the light receiving portion (photodiode) 52. It is possible.
However, in this case, the oblique light emitted from the waveguide may not be collected on the light receiving unit (photodiode) 52.

また、導波路への集光率を上げるために、導波路の径を広げることが考えられる。
この場合にも、導波路の径を広げたことにより、導波路から放出される斜め光が受光部(フォトダイオード)52に集光されなくなるおそれがある。
It is also conceivable to increase the diameter of the waveguide in order to increase the light collection rate to the waveguide.
Also in this case, there is a possibility that the oblique light emitted from the waveguide is not collected on the light receiving unit (photodiode) 52 by expanding the diameter of the waveguide.

これらの場合のように、導波路から放出される斜め光が、受光部(フォトダイオード)52に集光されなくなると、図4中矢印71で示すように隣接するゲート電極55に拡散したり、素子分離領域53に拡散したりするため、感度向上の効果が充分に得られなくなる。   As in these cases, when the oblique light emitted from the waveguide is not collected by the light receiving portion (photodiode) 52, it diffuses to the adjacent gate electrode 55 as indicated by an arrow 71 in FIG. Since it diffuses into the element isolation region 53, the effect of improving the sensitivity cannot be obtained sufficiently.

上述した問題の解決のために、本発明においては、容易に歩留まりよく製造することができると共に、感度等の特性が良好である構成の固体撮像素子を提供するものである。   In order to solve the above-described problems, the present invention provides a solid-state imaging device having a structure that can be easily manufactured with a high yield and that characteristics such as sensitivity are good.

本発明の固体撮像素子は、半導体基体に光電変換素子が形成されて成る受光部を有し、この受光部の上方に、この受光部側にレンズ面が形成された層内レンズが設けられ、この層内レンズが、その周囲の層よりも屈折率の高い材料から成り、この層内レンズ上に接続して形成された孔部内に、この孔部の周囲の層よりも屈折率の高い材料が充填されることにより、導波路が構成されているものである。   The solid-state imaging device of the present invention has a light receiving part in which a photoelectric conversion element is formed on a semiconductor substrate, and an inner lens having a lens surface formed on the light receiving part side is provided above the light receiving part, This intra-layer lens is made of a material having a higher refractive index than the surrounding layer, and a material having a higher refractive index than the surrounding layer of this hole is formed in the hole formed connected to the in-layer lens. Is filled with the waveguide.

上述の本発明の固体撮像素子の構成によれば、受光部の上方に、この受光部側にレンズ面が形成された層内レンズが設けられ、この層内レンズが、その周囲の層よりも屈折率の高い材料から成ることにより、層内レンズの受光部側のレンズ面で入射光を集光させて、受光部へ入射させることができる。
さらに、層内レンズ上に接続して形成された孔部内に、この孔部の周囲の層よりも屈折率の高い材料が充填されることにより、導波路が構成されているので、導波路をコア部、周囲の層をクラッド部として作用させ、入射光を導波路の外壁で反射させて、受光部へ導くことが可能になる。
従って、入射光の受光部への集光度を高めて、より多くの入射光を受光部に入射させることができる。
According to the above-described configuration of the solid-state imaging device of the present invention, an intralayer lens having a lens surface formed on the light receiving portion side is provided above the light receiving portion, and the intralayer lens is more than the surrounding layers. By being made of a material having a high refractive index, incident light can be condensed on the lens surface on the light receiving portion side of the in-layer lens and can be incident on the light receiving portion.
Furthermore, a waveguide is formed by filling a hole formed by connecting on the intralayer lens with a material having a higher refractive index than the layer around the hole. It is possible to guide the incident light to the light receiving portion by causing the core portion and the surrounding layers to act as the cladding portion and reflecting the incident light on the outer wall of the waveguide.
Therefore, the degree of condensing incident light on the light receiving portion can be increased, and more incident light can be incident on the light receiving portion.

そして、導波路の下に接続して層内レンズがあるため、導波路と受光部との間の垂直距離を広げることができ、また導波路の孔部をエッチングにより形成する際のエッチングの終点は層内レンズの上になる。これにより、受光部付近の半導体基体に対するダメージを抑制することができる。
同時に、導波路の深さを低減して、アスペクト比を低減することができるため、導波路の充填材料の埋め込み性を向上させることができる。
And since there is an in-layer lens connected under the waveguide, the vertical distance between the waveguide and the light receiving portion can be increased, and the etching end point when the hole of the waveguide is formed by etching Is on the inner lens. Thereby, damage to the semiconductor substrate near the light receiving portion can be suppressed.
At the same time, since the depth of the waveguide can be reduced and the aspect ratio can be reduced, the embedding property of the filling material of the waveguide can be improved.

また、上記本発明の固体撮像素子において、層内レンズが窒化膜により形成されている構成とすることも可能である。
このような構成としたときには、窒化膜が高屈折率材料である(例えばシリコン窒化膜では、屈折率n=2.0である)ことから、上述した集光効果が得られる。
In the solid-state imaging device of the present invention, the inner lens may be formed of a nitride film.
In such a configuration, since the nitride film is a high refractive index material (for example, in the case of a silicon nitride film, the refractive index n is 2.0), the above-described light collecting effect can be obtained.

また、上記本発明の固体撮像素子において、層内レンズの窒化膜がプラズマCVD法により形成された窒化膜である構成とすることも可能である。
このような構成としたときには、プラズマCVD法により形成した窒化膜が水素を多く含有しているため、製造の際に、窒化膜から受光部の半導体基体に水素を供給することが可能になる。これにより、ダングリングボンドを終端させて、界面準位の発生を抑制し、白点の発生を抑制することが可能となる。
In the solid-state imaging device of the present invention, the nitride film of the inner lens may be a nitride film formed by a plasma CVD method.
In such a configuration, since the nitride film formed by the plasma CVD method contains a large amount of hydrogen, it is possible to supply hydrogen from the nitride film to the semiconductor substrate of the light receiving portion during manufacturing. As a result, the dangling bonds are terminated, the generation of interface states can be suppressed, and the generation of white spots can be suppressed.

また、上記本発明の固体撮像素子において、導波路の充填材料が、層内レンズの材料に対して、屈折率が同じか或いは屈折率が低い構成とすることも可能である。
このような構成としたときには、導波路と層内レンズの境界面で入射光が反射しないようにすることができるため、その分受光部へ向かう入射光を増やして感度を向上することができる。
In the solid-state imaging device of the present invention, the waveguide filling material may have a refractive index that is the same as or lower than that of the material of the in-layer lens.
In such a configuration, incident light can be prevented from being reflected at the boundary surface between the waveguide and the in-layer lens. Therefore, the incident light directed toward the light receiving portion can be increased correspondingly to improve sensitivity.

上述の本発明によれば、層内レンズ及び導波路の各作用によって入射光の集光度を高めて、より多くの入射光を受光部に入射させることができるため、感度を向上することができる。
また、受光部付近の半導体基体に対するダメージを抑制することができるため、半導体基体に対するダメージに起因する白点の発生を抑制することができる。
従って、良好な特性を有する固体撮像素子を実現することができる。
According to the above-described present invention, the degree of condensing incident light can be increased by the action of the inner lens and the waveguide, and more incident light can be incident on the light receiving unit, so that the sensitivity can be improved. .
In addition, since damage to the semiconductor substrate near the light receiving portion can be suppressed, generation of white spots due to damage to the semiconductor substrate can be suppressed.
Therefore, a solid-state image sensor having good characteristics can be realized.

また、本発明によれば、導波路の充填材料の埋め込み性を向上させることができるため、容易に良好な特性を有する固体撮像素子を製造することができ、製造歩留まりを向上することが可能になる。
従って、信頼性の高い固体撮像素子を実現することができる。
In addition, according to the present invention, since the embedding property of the filling material of the waveguide can be improved, a solid-state imaging device having good characteristics can be easily manufactured, and the manufacturing yield can be improved. Become.
Therefore, a highly reliable solid-state imaging device can be realized.

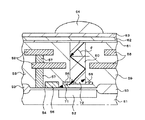
本発明の一実施の形態として、固体撮像素子の概略構成図(断面図)を図1に示す。図1は、固体撮像素子の1画素分の断面図を示している。
本実施の形態は、本発明をCMOS型の固体撮像素子に適用した場合である。
As an embodiment of the present invention, FIG. 1 shows a schematic configuration diagram (cross-sectional view) of a solid-state imaging device. FIG. 1 shows a cross-sectional view of one pixel of a solid-state image sensor.
In this embodiment, the present invention is applied to a CMOS solid-state imaging device.

この固体撮像素子は、シリコン基板等の半導体基体1の素子分離層3によって分離された領域に、受光部(フォトダイオード)2が形成されて、画素を構成している。
この受光部(フォトダイオード)2の左側の半導体基体1上には、ゲート絶縁膜4を介して転送ゲート電極5が形成されている。
また、コンタクト層(導電プラグ)7を介して半導体基体1に接続された、2層の配線層8が設けられている。
これら2層の配線層8は、絶縁層9により覆われている。
そして、この絶縁層9の上に、パッシベーション膜(保護膜)11、平坦化膜12、カラーフィルタ13、オンチップレンズ14が形成されている。
In this solid-state imaging device, a light receiving portion (photodiode) 2 is formed in a region separated by an element isolation layer 3 of a semiconductor substrate 1 such as a silicon substrate to constitute a pixel.
A transfer gate electrode 5 is formed on the semiconductor substrate 1 on the left side of the light receiving portion (photodiode) 2 through a gate insulating film 4.
A two-layer wiring layer 8 connected to the semiconductor substrate 1 via a contact layer (conductive plug) 7 is provided.
These two wiring layers 8 are covered with an insulating layer 9.
A passivation film (protective film) 11, a planarizing film 12, a color filter 13, and an on-chip lens 14 are formed on the insulating layer 9.

本実施の形態においては、受光部2の上方に、層内レンズ6を設けている。
この層内レンズ6は、受光部2側に下に凸の曲面から成るレンズ面6Aが形成され、周囲の絶縁層9よりも屈折率の高い材料から成る。
層内レンズ6の材料としては、例えば、シリコン窒化膜(屈折率n=2.0)等の窒化膜を用いることができる。
そして、窒化膜として、特に、プラズマCVD法により形成された窒化膜を用いることにより、後述するように、水素供給によって白点の発生を抑制する効果が得られる。
In the present embodiment, an in-layer lens 6 is provided above the light receiving unit 2.
This in-layer lens 6 is formed of a material having a refractive index higher than that of the surrounding insulating layer 9 and having a lens surface 6A having a convex curved surface on the light receiving portion 2 side.
As a material of the in-layer lens 6, for example, a nitride film such as a silicon nitride film (refractive index n = 2.0) can be used.
In particular, by using a nitride film formed by a plasma CVD method as the nitride film, an effect of suppressing the generation of white spots by supplying hydrogen can be obtained as will be described later.

また、本実施の形態においては、特に、層内レンズ6上に接続して導波路10を設けている。
この導波路10は、層内レンズ6の上方の絶縁層9に形成された孔部内に、周囲の絶縁層9よりも屈折率の高い材料が充填されて成る。
導波路10の充填材料としては、例えば、ポリイミド系樹脂(屈折率n=1.7)等の比較的屈折率の高い樹脂を用いることができる。
In the present embodiment, in particular, the waveguide 10 is connected to the inner lens 6.
The waveguide 10 is formed by filling a hole formed in the insulating layer 9 above the inner lens 6 with a material having a higher refractive index than the surrounding insulating layer 9.
As a filling material of the waveguide 10, for example, a resin having a relatively high refractive index such as a polyimide resin (refractive index n = 1.7) can be used.

この導波路10を設けたことにより、内部が周囲の絶縁層9よりも屈折率が高いため、導波路10の内部を光を伝達させるコア部、周囲の絶縁層9をクラッド部として作用させ、図1中矢印で示すように、導波路10の外壁面10Aにおいて、入射光を反射させることができる。これにより、入射光を受光部2の方へ導くことができる。   By providing this waveguide 10, the inside has a higher refractive index than the surrounding insulating layer 9, so that the core part that transmits light inside the waveguide 10 and the surrounding insulating layer 9 act as a cladding part, As indicated by arrows in FIG. 1, incident light can be reflected on the outer wall surface 10 </ b> A of the waveguide 10. Thereby, incident light can be guided toward the light receiving unit 2.

また、導波路10の充填材料(光伝達コア材料)は、層内レンズ6を構成する材料、例えばプラズマシリコン窒化膜(n=2.0)よりも屈折率が低い材料とすることが望ましい。
これにより、導波路10と層内レンズ6との境界面で、入射光が反射して上方に戻ってしまわないようにすることが可能になる。
The filling material (light transmission core material) of the waveguide 10 is desirably a material having a refractive index lower than that of the material constituting the intralayer lens 6, for example, a plasma silicon nitride film (n = 2.0).
This makes it possible to prevent incident light from being reflected and returning upward at the boundary surface between the waveguide 10 and the intralayer lens 6.

図4に示した構成では、導波路60の底部において、導波路60の孔部に充填された材料よりも屈折率が低い絶縁層59内に向けて光が放出される。このため、臨界角以上の斜め光が、図4中矢印72で示すように、導波路60の底部の界面においても全反射して、導波路60の上部に向けて戻ってしまうことになる。
これに対して、本実施の形態の構成では、導波路10の下に層内レンズ6が接続され、この層内レンズ6が導波路10の充填材料のポリイミド系樹脂よりも屈折率の高いシリコン窒化膜から成るため、導波路10と層内レンズ6との界面での反射を生じないようにすることができる。
In the configuration shown in FIG. 4, light is emitted at the bottom of the waveguide 60 toward the insulating layer 59 having a lower refractive index than the material filled in the hole of the waveguide 60. For this reason, as shown by an arrow 72 in FIG. 4, oblique light having a critical angle or more is totally reflected at the interface at the bottom of the waveguide 60 and returns toward the top of the waveguide 60.
On the other hand, in the configuration of the present embodiment, the intralayer lens 6 is connected under the waveguide 10, and the intralayer lens 6 is silicon having a refractive index higher than that of the polyimide resin as a filling material of the waveguide 10. Since it is made of a nitride film, reflection at the interface between the waveguide 10 and the inner lens 6 can be prevented.

また、図4に示した構成において、導波路の充填材料にポリイミド系樹脂を用いると、ポリイミド系樹脂の金属含有量がレジスト等他の樹脂と比べて多いため(例えばナトリウムの含有量が0.4ppm)、フォトダイオード52の表面に金属の拡散が起こり、その結果、白点が増加することが懸念される。
これに対して、本実施の形態の構成では、フォトダイオード2と導波路10との間に層内レンズ6があることから、導波路10の充填材料にポリイミド系樹脂を用いても、層内レンズ6のシリコン窒化膜により金属の拡散を抑制することが可能である。これにより、金属の拡散に起因する白点の発生を抑制することが可能になる。
In the configuration shown in FIG. 4, when a polyimide resin is used as a filling material of the waveguide, the metal content of the polyimide resin is higher than that of other resins such as a resist (for example, the sodium content is 0.1%). 4 ppm), metal diffusion occurs on the surface of the photodiode 52, and as a result, there is a concern that white spots increase.
On the other hand, in the configuration of the present embodiment, since the intralayer lens 6 is provided between the photodiode 2 and the waveguide 10, even if a polyimide resin is used as the filling material of the waveguide 10, It is possible to suppress metal diffusion by the silicon nitride film of the lens 6. Thereby, generation | occurrence | production of the white spot resulting from metal diffusion can be suppressed.

なお、層内レンズ6の材料と導波路10の充填材料とを同じ材料としても構わない。
ただし、その場合、上述した金属の拡散を抑制すると共に、良好な埋め込み性を有することが望ましいため、材料がさらに制限されたり、製造工程に工夫を要したりする。
The material of the inner lens 6 and the filling material of the waveguide 10 may be the same material.
However, in that case, it is desirable to suppress the diffusion of the metal described above and to have a good embedding property, so that the material is further limited or the manufacturing process needs to be devised.

本実施の形態の固体撮像素子は、例えば次のようにして、製造することができる。
まず、従来の製造方法と同様にして、例えばシリコン層から成る半導体基体1内にフォトダイオード2を、半導体基体1上にゲート絶縁膜4を介して転送ゲート電極5を、それぞれ形成する。
その後、転送ゲート電極5を覆って、例えば酸化シリコン等の絶縁層21を形成する(以上図2A参照)。
The solid-state imaging device of the present embodiment can be manufactured, for example, as follows.
First, in the same manner as in the conventional manufacturing method, a photodiode 2 is formed in a semiconductor substrate 1 made of, for example, a silicon layer, and a transfer gate electrode 5 is formed on the semiconductor substrate 1 via a gate insulating film 4.
Thereafter, an insulating layer 21 such as silicon oxide is formed to cover the transfer gate electrode 5 (see FIG. 2A above).

次に、絶縁層21に、等方性エッチングにより、図2Bに示すように、層内レンズを形成するための凹型溝(凹面)21Aを形成する。このエッチングは、例えばダウンフロープラズマを用いて、C4F,O,Ar等のガスを用いる。 Next, as shown in FIG. 2B, a concave groove (concave surface) 21A for forming an in-layer lens is formed in the insulating layer 21 by isotropic etching. For this etching, for example, a gas such as C4F 8 , O 2 , Ar is used by using a down flow plasma.

次に、プラズマCVD法により、プラズマシリコン窒化膜を全面に形成する。このとき、例えば、シランガス(SiH)及び窒素ガスを用いる。
その後、エッチバック法により、絶縁層21の表面までプラズマシリコン窒化膜を削って、図2Cに示すように、絶縁層21の凹型溝(凹面)21A上に層内レンズ6を形成する。このとき、例えば、エッチングガスとしてCH,O,Ar等のガスを用いる。
さらに、アニール(例えば400℃)を行って、層内レンズ6を構成するプラズマシリコン窒化膜から、受光部2の半導体基体1へ水素22を供給する。
Next, a plasma silicon nitride film is formed on the entire surface by plasma CVD. At this time, for example, silane gas (SiH 4 ) and nitrogen gas are used.
Thereafter, the plasma silicon nitride film is cut down to the surface of the insulating layer 21 by an etch back method, and the inner lens 6 is formed on the concave groove (concave surface) 21A of the insulating layer 21 as shown in FIG. 2C. At this time, for example, a gas such as CH 2 F 2 , O 2 , Ar is used as an etching gas.
Furthermore, annealing (for example, 400 ° C.) is performed to supply hydrogen 22 from the plasma silicon nitride film constituting the inner lens 6 to the semiconductor substrate 1 of the light receiving unit 2.

次に、層間絶縁膜、コンタクト層7、多層の配線層8をそれぞれ形成した後に、全体を絶縁層で覆う。これにより、図2Dに示すように、層内レンズ6、コンタクト層7、多層の配線層8が絶縁層9に覆われる。   Next, after an interlayer insulating film, a contact layer 7 and a multilayer wiring layer 8 are formed, the whole is covered with an insulating layer. As a result, as shown in FIG. 2D, the inner lens 6, the contact layer 7, and the multilayer wiring layer 8 are covered with the insulating layer 9.

次に、図3Eに示すように、絶縁層9に、異方性エッチングにより、導波路となる孔部23を開口する。この異方性エッチングは、例えば、C,O,Arを用いたRIE(反応性イオンエッチング)により行う。
このとき、層内レンズ6のプラズマシリコン窒化膜がエッチングストッパとして作用する。そして、絶縁層(例えば酸化シリコン)9と層内レンズ(プラズマシリコン窒化膜)6との間で、10程度のエッチング選択比を確保することが可能である。
Next, as shown in FIG. 3E, a hole 23 serving as a waveguide is opened in the insulating layer 9 by anisotropic etching. This anisotropic etching is performed by, for example, RIE (reactive ion etching) using C 4 F 8 , O 2 , and Ar.
At this time, the plasma silicon nitride film of the inner lens 6 acts as an etching stopper. An etching selectivity of about 10 can be secured between the insulating layer (for example, silicon oxide) 9 and the inner lens (plasma silicon nitride film) 6.

次に、孔部を埋めて、導波路の充填材料の透明膜を形成する。例えば、塗布法によりポリイミド系樹脂を孔部に埋め込む。
続いて、エッチバック法又はCMP(化学的機械的研磨)法により、透明膜を絶縁層9の表面まで全面的に除去して、グローバル平坦化処理を施す。これにより、孔部内のみに透明膜が残り、導波路10が形成される(以上図3F参照)。
Next, the hole is filled to form a transparent film of the waveguide filling material. For example, a polyimide resin is embedded in the hole by a coating method.
Subsequently, the transparent film is entirely removed to the surface of the insulating layer 9 by an etch back method or a CMP (Chemical Mechanical Polishing) method, and a global planarization process is performed. As a result, the transparent film remains only in the hole and the waveguide 10 is formed (see FIG. 3F above).

その後は、従来の製造方法と同様にして、パッシベーション膜(保護膜)11、平坦化膜12、カラーフィルタ13、オンチップレンズ14を順次形成する。
このようにして、図1に示した固体撮像素子を製造することができる。
Thereafter, a passivation film (protective film) 11, a planarizing film 12, a color filter 13, and an on-chip lens 14 are sequentially formed in the same manner as in the conventional manufacturing method.
In this way, the solid-state imaging device shown in FIG. 1 can be manufactured.

上述の本実施の形態によれば、受光部(フォトダイオード)2の上方に、この受光部2側にレンズ面6Aが形成された層内レンズ6が設けられ、この層内レンズ6が周囲の絶縁層6よりも屈折率の高い材料(例えば窒化シリコン膜)から成ることにより、レンズ面6Aで入射光を集光させて、受光部2へ入射させることができる。   According to the above-described embodiment, the in-layer lens 6 having the lens surface 6A formed on the light receiving unit 2 side is provided above the light receiving unit (photodiode) 2, and the intra-layer lens 6 is surrounded by the surrounding lens 6A. By being made of a material having a refractive index higher than that of the insulating layer 6 (for example, a silicon nitride film), incident light can be condensed on the lens surface 6A and incident on the light receiving unit 2.

さらに、層内レンズ6上に接続して、周囲の絶縁層9よりも屈折率の高い材料が充填されて成る導波路10を設けていることにより、導波路10をコア部、周囲の絶縁層9をクラッド部として作用させ、入射光を導波路10の外壁10Aで反射させて、受光部2へ導くことが可能になる。   Further, by providing a waveguide 10 connected to the inner lens 6 and filled with a material having a refractive index higher than that of the surrounding insulating layer 9, the waveguide 10 is provided as a core portion and the surrounding insulating layer. 9 is allowed to act as a cladding part, and incident light can be reflected by the outer wall 10A of the waveguide 10 and guided to the light receiving part 2.

従って、入射光の受光部2への集光度を高めて、より多くの入射光を受光部2に入射させることができる。
これにより、感度の向上を図ることが可能になる。
Accordingly, the degree of condensing incident light onto the light receiving unit 2 can be increased, and more incident light can be incident on the light receiving unit 2.
This makes it possible to improve sensitivity.

また、層内レンズ6上に接続して導波路10を設けているので、導波路10の直下に接続して層内レンズ6があり、層内レンズ6によって導波路10と受光部2との間の垂直距離Hを広げることができる。そして、導波路10の孔部をエッチングにより形成する際のエッチングの終点は、層内レンズ6の上になる。
これにより、受光部2付近の半導体基体1に対するダメージを抑制することができる。
同時に、層内レンズ6の分だけ導波路10の深さを低減することができ、孔部のアスペクト比を低減することができるため、導波路10の充填材料の埋め込み性を向上させることができる。
In addition, since the waveguide 10 is provided on the intralayer lens 6, there is the intralayer lens 6 connected directly below the waveguide 10, and the waveguide 10 and the light receiving unit 2 are connected by the intralayer lens 6. The vertical distance H can be increased. The end point of etching when the hole of the waveguide 10 is formed by etching is on the inner lens 6.
Thereby, damage to the semiconductor substrate 1 in the vicinity of the light receiving unit 2 can be suppressed.
At the same time, the depth of the waveguide 10 can be reduced by the amount of the inner lens 6, and the aspect ratio of the hole can be reduced, so that the filling property of the filling material of the waveguide 10 can be improved. .

さらに、層内レンズ6の材料を、プラズマCVD法により形成した窒化膜とすることにより、窒化膜が絶縁層9に用いられる酸化膜よりも高い屈折率を有する(例えばシリコン窒化膜で屈折率n=2.0)ことにより、上述した集光効果が得られる。また、プラズマCVD法により形成した窒化膜は、水素の含有量が多いため、製造の際に受光部2付近の半導体基体1へ水素を供給することが可能になる。
これにより、ダングリングボンドを終端させて、白点の発生を抑制することができる。
Furthermore, the material of the inner lens 6 is a nitride film formed by plasma CVD, so that the nitride film has a higher refractive index than the oxide film used for the insulating layer 9 (for example, the refractive index n is a silicon nitride film). = 2.0), the above-described light collecting effect is obtained. Further, since the nitride film formed by the plasma CVD method has a high hydrogen content, it is possible to supply hydrogen to the semiconductor substrate 1 in the vicinity of the light receiving portion 2 at the time of manufacture.
Thereby, dangling bonds can be terminated and the occurrence of white spots can be suppressed.

さらにまた、導波路10の充填材料を、層内レンズ6の材料に対して、屈折率が同じか屈折率が低い材料とすることにより、導波路10と層内レンズ6との境界面における反射を抑制することができ、斜めに入射した光に対しても、受光部2へ向けて集光させて、受光部2への集光率を向上させることができる。   Furthermore, the filling material of the waveguide 10 is made of a material having the same refractive index or a lower refractive index than the material of the in-layer lens 6, thereby reflecting at the interface between the waveguide 10 and the in-layer lens 6. The light condensing rate to the light receiving unit 2 can be improved by condensing the light incident obliquely toward the light receiving unit 2.

即ち、本実施の形態の固体撮像素子によれば、高い感度を有し、白点の発生が少なく、良好な特性を有する固体撮像素子を実現することができる。
また、容易に良好な特性を有する固体撮像素子を製造することができ、製造歩留まりを向上することが可能になる。
従って、信頼性の高い固体撮像素子を実現することができる。
That is, according to the solid-state imaging device of the present embodiment, it is possible to realize a solid-state imaging device having high sensitivity, few white spots, and good characteristics.
In addition, a solid-state imaging device having good characteristics can be easily manufactured, and the manufacturing yield can be improved.
Therefore, a highly reliable solid-state imaging device can be realized.

なお、層内レンズを形成する方法は、図2B〜図2Cに示した等方エッチングにより凹面を形成する方法に限定されるものではなく、その他の方法により層内レンズを形成することも可能である。
例えば、PSG(リン珪酸ガラス)やBPSG(ボロン・リン珪酸ガラス)等により、配線層等の段差を利用して凹部を形成し、さらにリフローさせて凹部の曲面の形状を整えてレンズ面を形成した後に、この凹部内に窒化膜等の屈折率の高い材料を埋めて層内レンズとする方法がある。
The method for forming the inner lens is not limited to the method for forming the concave surface by isotropic etching shown in FIGS. 2B to 2C, and the inner lens can be formed by other methods. is there.
For example, by using PSG (phosphorus silicate glass) or BPSG (boron phosphosilicate glass), etc., a recess is formed by using a step such as a wiring layer, and then reflowing is performed to adjust the shape of the curved surface of the recess to form a lens surface. Then, there is a method of filling the recess with a material having a high refractive index such as a nitride film to form an in-layer lens.

また、層内レンズの上面(受光部とは反対側の面)は、図1に示した平面に限られるものではなく、例えば集光性を高めるために、上側に凸の曲面としてもよい。   Further, the upper surface of the inner lens (the surface opposite to the light receiving portion) is not limited to the plane shown in FIG. 1, and may be a curved surface convex upward, for example, in order to improve the light collecting property.

上述の実施の形態では、CMOS型固体撮像素子に本発明を適用したが、その他の構成の固体撮像素子にも本発明を適用することができる。
例えばCCD固体撮像素子にも、本発明を適用することが可能である。
いずれの構成の固体撮像素子においても、本発明を適用して、受光部の上方に層内レンズを設け、この層内レンズ上に接続して導波路を設けることにより、本発明の効果が得られる。
In the above-described embodiment, the present invention is applied to the CMOS type solid-state imaging device. However, the present invention can also be applied to solid-state imaging devices having other configurations.
For example, the present invention can be applied to a CCD solid-state imaging device.
In any configuration of the solid-state imaging device, the effect of the present invention can be obtained by applying the present invention and providing an intralayer lens above the light receiving portion and providing a waveguide connected to the intralayer lens. It is done.

本発明は、上述の実施の形態に限定されるものではなく、本発明の要旨を逸脱しない範囲でその他様々な構成が取り得る。   The present invention is not limited to the above-described embodiment, and various other configurations can be taken without departing from the gist of the present invention.

本発明の一実施の形態の固体撮像素子の概略構成図(断面図)である。1 is a schematic configuration diagram (cross-sectional view) of a solid-state imaging device according to an embodiment of the present invention. A〜D 図1の固体撮像素子の製造方法を示す工程図である。FIGS. 2A to 2D are process diagrams showing a method for manufacturing the solid-state imaging device of FIG. E、F 図1の固体撮像素子の製造方法を示す工程図である。E and F are process diagrams showing a method of manufacturing the solid-state imaging device of FIG. 受光部上に導波路構造を設けた固体撮像素子の概略断面図である。It is a schematic sectional drawing of the solid-state image sensor which provided the waveguide structure on the light-receiving part.

符号の説明Explanation of symbols

1 半導体基体、2 フォトダイオード(受光部)、3 素子分離層、4 ゲート絶縁膜、5 転送ゲート電極、6 層内レンズ、7 コンタクト層、8 配線層、9 絶縁層、10 導波路、13 カラーフィルタ、14 オンチップレンズ   DESCRIPTION OF SYMBOLS 1 Semiconductor substrate, 2 photodiode (light-receiving part), 3 element isolation layer, 4 gate insulating film, 5 transfer gate electrode, 6 inner lens, 7 contact layer, 8 wiring layer, 9 insulating layer, 10 waveguide, 13 color Filter, 14 on-chip lens

Claims (4)

半導体基体に光電変換素子が形成されて成る受光部を有し、
前記受光部の上方に、前記受光部側にレンズ面が形成された層内レンズが設けられ、
前記層内レンズが、前記層内レンズの周囲の層よりも屈折率の高い材料から成り、
前記層内レンズ上に接続して形成された孔部内に、前記孔部の周囲の層よりも屈折率の高い材料が充填されることにより、導波路が構成されている
ことを特徴とする固体撮像素子。
It has a light receiving part formed by forming a photoelectric conversion element on a semiconductor substrate,
An in-layer lens having a lens surface formed on the light receiving unit side is provided above the light receiving unit,
The in-layer lens is made of a material having a higher refractive index than a layer around the in-layer lens;
A waveguide is configured by filling a hole formed on the intra-layer lens with a material having a higher refractive index than that of a layer around the hole. Image sensor.
前記層内レンズが窒化膜により形成されていることを特徴とする請求項1に記載の固体撮像素子。   The solid-state imaging device according to claim 1, wherein the inner lens is formed of a nitride film. 前記層内レンズの前記窒化膜がプラズマCVD法により形成された窒化膜であることを特徴とする請求項2に記載の固体撮像素子。   The solid-state imaging device according to claim 2, wherein the nitride film of the intralayer lens is a nitride film formed by a plasma CVD method. 前記導波路の充填材料は、前記層内レンズの材料に対して、屈折率が同じか或いは屈折率が低いことを特徴とする請求項1に記載の固体撮像素子。   2. The solid-state imaging device according to claim 1, wherein the filling material of the waveguide has the same refractive index or a lower refractive index than the material of the in-layer lens.
JP2004111225A 2004-04-05 2004-04-05 Solid-state imaging device and manufacturing method thereof Expired - Fee Related JP4556475B2 (en)

Priority Applications (1)

Application Number Priority Date Filing Date Title
JP2004111225A JP4556475B2 (en) 2004-04-05 2004-04-05 Solid-state imaging device and manufacturing method thereof

Applications Claiming Priority (1)

Application Number Priority Date Filing Date Title
JP2004111225A JP4556475B2 (en) 2004-04-05 2004-04-05 Solid-state imaging device and manufacturing method thereof

Publications (2)

Publication Number Publication Date
JP2005294749A true JP2005294749A (en) 2005-10-20
JP4556475B2 JP4556475B2 (en) 2010-10-06

Family

ID=35327305

Family Applications (1)

Application Number Title Priority Date Filing Date
JP2004111225A Expired - Fee Related JP4556475B2 (en) 2004-04-05 2004-04-05 Solid-state imaging device and manufacturing method thereof

Country Status (1)

Country Link
JP (1) JP4556475B2 (en)

Cited By (14)

* Cited by examiner, † Cited by third party
Publication number Priority date Publication date Assignee Title
JP2007180156A (en) * 2005-12-27 2007-07-12 Fujifilm Corp Solid-state image sensor
KR100805837B1 (en) 2006-08-07 2008-02-21 삼성전자주식회사 Image sensor and its formation method
US7598552B2 (en) 2006-08-11 2009-10-06 Samsung Electronics Co., Ltd. Image sensor having improved sensitivity and method of manufacturing the same
CN101924114A (en) * 2009-06-10 2010-12-22 索尼公司 Solid-state imaging device, method for manufacturing solid-state imaging device, and imaging apparatus
CN101944533A (en) * 2009-07-06 2011-01-12 原相科技股份有限公司 Image Sensor and preparation method thereof
US7875488B2 (en) 2006-07-31 2011-01-25 Samsung Electronics Co., Ltd. Method of fabricating image sensor having inner lens
CN101165878B (en) * 2006-08-16 2011-04-13 三星电子株式会社 Image sensor and its manufacture method
US8237237B2 (en) 2008-09-29 2012-08-07 Sony Corporation Solid-state imaging device, method for manufacturing solid-state imaging device, and electronic apparatus
US8319167B2 (en) 2009-01-30 2012-11-27 Sony Corporation Solid state imaging device and electronic apparatus
US8619176B2 (en) 2009-01-07 2013-12-31 Sony Corporation Solid state imaging device having lens and material with refractive index greater than 1 between the lens and imaging chip
US8633559B2 (en) 2008-09-29 2014-01-21 Sony Corporation Solid-state imaging device, method of manufacturing the same, and electronic apparatus
JP2016178341A (en) * 2016-06-15 2016-10-06 キヤノン株式会社 Imaging element and imaging device
JP2018091890A (en) * 2016-11-30 2018-06-14 日東電工株式会社 Opto-electric hybrid board
CN110164920A (en) * 2018-02-12 2019-08-23 三星显示有限公司 Display device and method of manufacturing the same

Citations (8)

* Cited by examiner, † Cited by third party
Publication number Priority date Publication date Assignee Title
JPS6149466A (en) * 1984-08-17 1986-03-11 Matsushita Electronics Corp Manufacture of solid-state image pickup device
JP2000150845A (en) * 1998-11-11 2000-05-30 Sony Corp Solid-state imaging device and method of manufacturing the same
JP2001077339A (en) * 1999-09-03 2001-03-23 Sony Corp Solid-state imaging device
JP2002373976A (en) * 2001-06-13 2002-12-26 Nikon Corp Solid-state imaging device and method of manufacturing the same
JP2003249633A (en) * 2002-02-25 2003-09-05 Sony Corp Solid-state imaging device and method of manufacturing the same
JP2003298034A (en) * 2002-04-05 2003-10-17 Sony Corp Solid-state imaging device and method of manufacturing the same
JP4120543B2 (en) * 2002-12-25 2008-07-16 ソニー株式会社 Solid-state imaging device and manufacturing method thereof
JP4117545B2 (en) * 2002-12-25 2008-07-16 ソニー株式会社 Solid-state imaging device and manufacturing method thereof

Patent Citations (8)

* Cited by examiner, † Cited by third party
Publication number Priority date Publication date Assignee Title
JPS6149466A (en) * 1984-08-17 1986-03-11 Matsushita Electronics Corp Manufacture of solid-state image pickup device
JP2000150845A (en) * 1998-11-11 2000-05-30 Sony Corp Solid-state imaging device and method of manufacturing the same
JP2001077339A (en) * 1999-09-03 2001-03-23 Sony Corp Solid-state imaging device
JP2002373976A (en) * 2001-06-13 2002-12-26 Nikon Corp Solid-state imaging device and method of manufacturing the same
JP2003249633A (en) * 2002-02-25 2003-09-05 Sony Corp Solid-state imaging device and method of manufacturing the same
JP2003298034A (en) * 2002-04-05 2003-10-17 Sony Corp Solid-state imaging device and method of manufacturing the same
JP4120543B2 (en) * 2002-12-25 2008-07-16 ソニー株式会社 Solid-state imaging device and manufacturing method thereof
JP4117545B2 (en) * 2002-12-25 2008-07-16 ソニー株式会社 Solid-state imaging device and manufacturing method thereof

Cited By (17)

* Cited by examiner, † Cited by third party
Publication number Priority date Publication date Assignee Title
JP2007180156A (en) * 2005-12-27 2007-07-12 Fujifilm Corp Solid-state image sensor
US7875488B2 (en) 2006-07-31 2011-01-25 Samsung Electronics Co., Ltd. Method of fabricating image sensor having inner lens
KR100805837B1 (en) 2006-08-07 2008-02-21 삼성전자주식회사 Image sensor and its formation method
US7598552B2 (en) 2006-08-11 2009-10-06 Samsung Electronics Co., Ltd. Image sensor having improved sensitivity and method of manufacturing the same
CN101165878B (en) * 2006-08-16 2011-04-13 三星电子株式会社 Image sensor and its manufacture method
US8633559B2 (en) 2008-09-29 2014-01-21 Sony Corporation Solid-state imaging device, method of manufacturing the same, and electronic apparatus
US8237237B2 (en) 2008-09-29 2012-08-07 Sony Corporation Solid-state imaging device, method for manufacturing solid-state imaging device, and electronic apparatus
US8619176B2 (en) 2009-01-07 2013-12-31 Sony Corporation Solid state imaging device having lens and material with refractive index greater than 1 between the lens and imaging chip
US9313385B2 (en) 2009-01-07 2016-04-12 Sony Corporation Solid-state image-taking apparatus to focus incoming light into an image, manufacturing method thereof, and camera
US8319167B2 (en) 2009-01-30 2012-11-27 Sony Corporation Solid state imaging device and electronic apparatus
US8384173B2 (en) 2009-06-10 2013-02-26 Sony Corporation Solid-state imaging device and method for making the same, and imaging apparatus
CN101924114A (en) * 2009-06-10 2010-12-22 索尼公司 Solid-state imaging device, method for manufacturing solid-state imaging device, and imaging apparatus
CN101944533A (en) * 2009-07-06 2011-01-12 原相科技股份有限公司 Image Sensor and preparation method thereof
JP2016178341A (en) * 2016-06-15 2016-10-06 キヤノン株式会社 Imaging element and imaging device
JP2018091890A (en) * 2016-11-30 2018-06-14 日東電工株式会社 Opto-electric hybrid board
CN110164920A (en) * 2018-02-12 2019-08-23 三星显示有限公司 Display device and method of manufacturing the same
CN110164920B (en) * 2018-02-12 2024-05-17 三星显示有限公司 Display device and method of manufacturing the same

Also Published As

Publication number Publication date
JP4556475B2 (en) 2010-10-06

Similar Documents

Publication Publication Date Title
JP4556475B2 (en) Solid-state imaging device and manufacturing method thereof
CN101540335B (en) Solid-state imaging device and manufacturing method thereof
JP5639748B2 (en) Solid-state imaging device and manufacturing method thereof
KR101089684B1 (en) Solid-state imaging device and production method therefor
US8669632B2 (en) Solid-state imaging device and method for manufacturing the same
JP4281132B2 (en) Solid-state image sensor
JP5241902B2 (en) Manufacturing method of semiconductor device
JP5446485B2 (en) Solid-state imaging device, manufacturing method thereof, and imaging apparatus
JP4117545B2 (en) Solid-state imaging device and manufacturing method thereof
JP5709564B2 (en) Manufacturing method of semiconductor device
JPH1168074A (en) Solid-state imaging device
JP2009176952A (en) Solid-state image sensor
JP2004079608A (en) Solid-state imaging device and method of manufacturing solid-state imaging device
JP2006120845A (en) Photoelectric conversion device and manufacturing method thereof
CN101431090B (en) Image sensor and method for manufacturing the same
JP3677970B2 (en) Solid-state imaging device and manufacturing method thereof
JP2011014674A (en) Method for manufacturing solid-state image pickup device
JP4682568B2 (en) Manufacturing method of solid-state imaging device
JP2007305690A (en) Element for solid-state imaging device and manufacturing method thereof
JP2008103757A (en) Solid-state imaging device and its manufacturing method
JP6254829B2 (en) Solid-state imaging device and manufacturing method thereof
US20070152228A1 (en) Method of manufacturing a cmos image sensor
JP2010177418A (en) Method of manufacturing solid-state imaging device, and solid-state imaging device
JP2006339339A (en) Solid-state imaging device and manufacturing method thereof
JP2004356269A (en) Photoelectric conversion device and method of manufacturing the same

Legal Events

Date Code Title Description
A621 Written request for application examination

Free format text: JAPANESE INTERMEDIATE CODE: A621

Effective date: 20070308

A131 Notification of reasons for refusal

Free format text: JAPANESE INTERMEDIATE CODE: A131

Effective date: 20091215

A977 Report on retrieval

Free format text: JAPANESE INTERMEDIATE CODE: A971007

Effective date: 20091217

A521 Request for written amendment filed

Free format text: JAPANESE INTERMEDIATE CODE: A523

Effective date: 20100119

TRDD Decision of grant or rejection written
A01 Written decision to grant a patent or to grant a registration (utility model)

Free format text: JAPANESE INTERMEDIATE CODE: A01

Effective date: 20100629

A01 Written decision to grant a patent or to grant a registration (utility model)

Free format text: JAPANESE INTERMEDIATE CODE: A01

A61 First payment of annual fees (during grant procedure)

Free format text: JAPANESE INTERMEDIATE CODE: A61

Effective date: 20100712

FPAY Renewal fee payment (event date is renewal date of database)

Free format text: PAYMENT UNTIL: 20130730

Year of fee payment: 3

LAPS Cancellation because of no payment of annual fees