JP2005293953A - 電子機器のキーボードスィッチ構造 - Google Patents

電子機器のキーボードスィッチ構造 Download PDF

Info

Publication number
JP2005293953A
JP2005293953A JP2004105372A JP2004105372A JP2005293953A JP 2005293953 A JP2005293953 A JP 2005293953A JP 2004105372 A JP2004105372 A JP 2004105372A JP 2004105372 A JP2004105372 A JP 2004105372A JP 2005293953 A JP2005293953 A JP 2005293953A
Authority
JP
Japan
Prior art keywords
wiring board
light
light guide
key top
key
Prior art date
Legal status (The legal status is an assumption and is not a legal conclusion. Google has not performed a legal analysis and makes no representation as to the accuracy of the status listed.)
Granted
Application number
JP2004105372A
Other languages
English (en)
Other versions
JP4417759B2 (ja
Inventor
Tatsuya Watanabe
達也 渡邊
Current Assignee (The listed assignees may be inaccurate. Google has not performed a legal analysis and makes no representation or warranty as to the accuracy of the list.)
Toshiba Corp
Original Assignee
Toshiba Corp
Priority date (The priority date is an assumption and is not a legal conclusion. Google has not performed a legal analysis and makes no representation as to the accuracy of the date listed.)
Filing date
Publication date
Application filed by Toshiba Corp filed Critical Toshiba Corp
Priority to JP2004105372A priority Critical patent/JP4417759B2/ja
Publication of JP2005293953A publication Critical patent/JP2005293953A/ja
Application granted granted Critical
Publication of JP4417759B2 publication Critical patent/JP4417759B2/ja
Anticipated expiration legal-status Critical
Expired - Fee Related legal-status Critical Current

Links

Images

Classifications

    • HELECTRICITY
    • H01ELECTRIC ELEMENTS
    • H01HELECTRIC SWITCHES; RELAYS; SELECTORS; EMERGENCY PROTECTIVE DEVICES
    • H01H13/00Switches having rectilinearly-movable operating part or parts adapted for pushing or pulling in one direction only, e.g. push-button switch
    • H01H13/70Switches having rectilinearly-movable operating part or parts adapted for pushing or pulling in one direction only, e.g. push-button switch having a plurality of operating members associated with different sets of contacts, e.g. keyboard
    • H01H13/83Switches having rectilinearly-movable operating part or parts adapted for pushing or pulling in one direction only, e.g. push-button switch having a plurality of operating members associated with different sets of contacts, e.g. keyboard characterised by legends, e.g. Braille, liquid crystal displays, light emitting or optical elements
    • HELECTRICITY
    • H01ELECTRIC ELEMENTS
    • H01HELECTRIC SWITCHES; RELAYS; SELECTORS; EMERGENCY PROTECTIVE DEVICES
    • H01H2219/00Legends
    • H01H2219/054Optical elements
    • H01H2219/06Reflector
    • HELECTRICITY
    • H01ELECTRIC ELEMENTS
    • H01HELECTRIC SWITCHES; RELAYS; SELECTORS; EMERGENCY PROTECTIVE DEVICES
    • H01H2219/00Legends
    • H01H2219/054Optical elements
    • H01H2219/062Light conductor
    • HELECTRICITY
    • H01ELECTRIC ELEMENTS
    • H01HELECTRIC SWITCHES; RELAYS; SELECTORS; EMERGENCY PROTECTIVE DEVICES
    • H01H2219/00Legends
    • H01H2219/054Optical elements
    • H01H2219/064Optical isolation of switch sites

Landscapes

  • Push-Button Switches (AREA)

Abstract

【課題】 本発明の課題は、小型で、簡単な構成で安価あり、照光表示の視認性が良好な電子機器のキーボードスィッチ構造を提供することにある。
【解決手段】 本発明に関わる電子機器のキーボードスィッチ構造は、スィッチをオン・オフ等する際に押下されるキートップ5aを有するキーボード5と、表面にスィッチ用配線パターンが形成される配線基板6と、配線基板6表面上に設置され、キートップ5aの押下により反転動作してスィッチ用パターンの接点間を導通させるクリックドーム2とを備える電子機器のキーボードスィッチ10構造であって、配線基板6の裏面側に設置される光源体1と、クリックドーム2外周の外方の位置に導光穴3を有する配線基板6と、配線基板6の裏面側に光源体1と配線基板6の導光穴3とに対向して設けられ、光源体1の光を反射して導光穴3を通して配線基板6表面側に導く第1反射部7aとを備えることを特徴としている。
【選択図】 図2

Description

本発明は、電子機器のキーボードスィッチ構造に係り、より詳細にはキーボードスィッチの押し釦のキートップを照光表示する構造に関する。
携帯端末等の電子機器には、照光表示されるキーボードスィッチが設置されている。
この照光表示されるスィッチボタンの構造に関し、文献公知発明として特許文献1、2には、以下の開示がなされている。
特許文献1に記載された照光式ポインティングデバイスによれば、その断面図である図5に示すように、複数の歪検知体122が円周状に配列形成される操作基板120におけるその円周状の中心部の取り付け穴121に、中空の金属ピン150を取り付け、その中心孔151に導光体170を配置して、キートップ160を金属ピン150、導光体170に被せる。そして、ベース基板140上に導光体170の内端面と対向させて光源180を実装する構成である。
この構成においては、光源180を、キートップ160、金属ピン150、導光体170等のポインティングデバイスの直下におき、光源180から発せられた光をポインティングデバイスの中心部に設けた導光体170を通してキートップ160に入射し、キートップ160が照光表示されるものである。
一方、特許文献2に記載された照光付スイッチ装置によれば、その断面図である図6に示すように、金属ドームの可動接点206の頂部に設けた孔206aと対向する位置のプリント基板201に、貫通孔202aを設け、光源209を貫通孔202aから露出させて、光源209が可動接点206の孔206aに向かって照光する構成である。
特開平2003−67125号公報 特開平2002−260479号公報
ところで、上述の特許文献1の構成においては、ポインティングデバイス自体が大きいため、ベース基板140からキートップ160上面までの寸法が長くなりキー部の厚み大きくなり、小型薄型化が困難となっている。また、構造が複雑であるため、コスト高となり高価になる場合が多い。
一方、特許文献2の構成においては、LED等の光源209の高さよりプリント基板201が薄い場合、光源209がプリント基板201の可動接点206側に突出するため、キートップ160が強く押下された場合には、光源209が押圧される可能性がある。
また、光源209の大きさに対し可動接点206が十分大きくないと、可動接点206である金属ドームの曲げ剛性の関係から、可動接点206とプリント基板201上の固定接点203との接触に必要な変形量が得られない。
そのため、可動接点206が側部方向へ大きくならざるを得ず、小型化が困難な構成である。

本発明は上記実状に鑑み、小型で、簡単な構成で安価あり、照光表示の視認性が良好な電子機器のキーボードスィッチ構造の提供を目的とする。
上記目的を達成するべく、本発明の請求項1に関わる電子機器のキーボードスィッチ構造は、スィッチをオン・オフ等する際に押下されるキートップを有するキーボードと、表面にスィッチ用配線パターンが形成される配線基板と、該配線基板表面上に設置され、前記キートップの押下により反転動作して前記スィッチ用パターンの接点間を導通させるクリックドームとを備える電子機器のキーボードスィッチ構造であって、前記配線基板の裏面側に設置される光源体と、前記クリックドーム外周の外方の位置に導光穴を有する配線基板と、前記配線基板の裏面側に前記光源体と前記配線基板の導光穴とに対向して設けられ、前記光源体の光を反射して前記導光穴を通して前記配線基板表面側に導く第1反射部とを備えることを特徴としている。
本発明の請求項2に関わる電子機器のキーボードスィッチ構造は、請求項1に記載の電子機器のキーボードスィッチ構造において、前記クリックドームおよび前記導光穴を囲繞して前記配線基板表面から上方に立設するとともに前記キートップに対向する側を解放して設けられ、前記導光穴を通して前記配線基板表面側に導かれた前記光源体の光を、反射するとともに外部への漏れを防ぎ前記キートップへ導く第2反射部を備えることを特徴としている。
本発明の請求項3に関わる電子機器のキーボードスィッチ構造は、請求項1または請求項2に記載の電子機器のキーボードスィッチ構造において、前記配線基板における導光穴は、前記光源体に対して対称に複数設けられることを特徴としている。
以上、詳述した如く、本発明に関わるの請求項1に関わる電子機器のキーボードスィッチ構造によれば、光源体が配線基板の裏面に設置されるため、クリックドームが当接することが未然に防止され信頼性が高く、かつ、クリックドームが小さくできスィッチの小型化が可能である。
加えて、光源体が配線基板の表面に突出せず、デッドスペースに収容されるため、スイッチの薄型化が図れる。
また、構造が簡単で、製造コストが低減される。
請求項2に関わる電子機器のキーボードスィッチ構造によれば、第2反射部を有するため、単一キーの照光が可能である。
請求項3に関わる電子機器のキーボードスィッチ構造によれば、光源体に対して導光穴が対称に複数設けられるため、キートップを照光する光のムラが防止され、視認性の良好な照光表示が得られる。
以下、本発明の実施形態について添付図面を参照して説明する。
図1には、本発明を適用した携帯電話機のキーボードスィッチ10部の外観を示している。
携帯電話機の筐体4上には、スィッチをオン・オフ等する際に押下されるキートップ5aが外方に突出している。
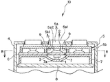
この携帯電話機のキーボードスィッチ10は、図1のA−A線断面図の図2に示すように、キートップ5aを押下することにより、キーボード5の押し子5b1によってキー基板6に貼り付けられたクリックドーム2の中央部が、下方に押圧されて反転動作し、キー基板(配線基板)6上に設けられた接点間を導通させることにより電気的接続を得ている。
また、このキーボードスィッチ10におけるキートップ5aの照光表示は、図2に示すように、キー基板6の裏面側に実装されたLED(光源体)1の光を、メイン基板8に組み付けられたシールドケース7天板上面に形成される反射用凹部(第1反射部)7aにて反射させ、キー基板6におけるクリックドーム2の外周外方の位置に配設される複数の導光穴3(図2のB−B線断面図の図3参照)を通してキー基板6表面側に導き、この反射光を、外部への漏れを防ぐ反射板(第2反射部)9によって反射させてキートップ5aに導き照光している。
なお、本実施例においては、図2に示すキーボードスィッチ10における中央部のスィッチのみを照光構造とした場合を例示している。
次に、この携帯電話機のキーボードスィッチ10の構造について説明する。
キーボード5におけるキートップ5aは、透明なポリカーボネイト等を用いた樹脂成形品であり、図1に示すように、携帯電話機の外部からキートップ5a上の数字、記号等を目視させるため、その上面5a1または下面5a2(図2参照)に、内部からの光を通過させる数字、記号等を除いた部分に金属色の印刷が施されている。或いは、数字、記号等を印刷して遮光し、他部分を透過させるようにしてもよい。
上述のクリックドーム2押圧用の押し子5b1は、ローゴム5bの一部として下方に突出して形成されており、該ローゴム5bは、光を透過させるために透光性のシリコンゴム等を用いて製造され、それぞれのクリックドーム2が存する各室を画成する態様で、キー基板6を上方から覆う形状に成形されている。
このローゴム5b上面の所定の箇所に、各キートップ5aが接着、融着等により接合され、キーボード5が形成されている。
上記キー基板6の上面には、スィッチの入切を検知するためのスィッチ用配線パターンが印刷されており、図2に示すように、複数のキートップ5aに対応する所定の位置に、スィッチ用配線パターンにおける接点間を導通させるための複数のクリックドーム2が貼り付けられている。
そして、キー基板6上には、クリックドーム2に対応したスィッチ用配線パターンとして、クリックドーム2の周縁が当接する位置に外周パターンの接点(図示せず)が形成され、また、クリックドーム2中央部が接触するための中央接点(図示せず)が、クリックドーム2中央部に対向する位置に形成されている。
この構成により、キートップ5aが押下されることにより、クリックドーム2が反転動作しクリックドーム2中央部が中央接点に接触することで、クリックドーム2周縁部の外周パターンの接点と中央接点とがクリックドーム2を介して導通し、スイッチの入切が検知される。
クリックドーム2は、薄肉の金属板、例えば、ステンレス鋼板を用いて製造され、一部に反転動作した際に空気を抜くための穴を有してドーム状に形成されている。
なお、クリックドーム2は、接点間の導通を行うために導電性を有し、かつ、キートップ5aが押下された際には反転動作するとともに、キートップ5aの非押下時には元の形状に復元する弾性的性質を有するものであれば、ドーム状に成形した樹脂成形品に導電性のメッキ等を施したものでもよく、金属板に限定されるものではない。
また、図2、図3に示すように、キー基板6上のクリックドーム2外周の外方の位置には、キー基板6裏面側のLED1の光をキー基板6表面側に導くための導光穴3が、LED1に対して対称に複数、穿孔されている。
このように、導光穴3をLED1に対して対称に設けることにより、キートップ5aを照光する光にムラが生じることが防止され、キートップ5aの照光表示を良好に行え、以って照光表示の視認性の向上を図れる。
なお、導光穴3の形状は、卵形様の形状を例示しているが、矩形状、円状、楕円状等の卵形様の形状以外の形状も適宜、任意に選択可能であり、また、導光穴3の数も任意に選択できる。
このキー基板6の裏面には、所定の配線パターンが印刷されるとともに、キートップ5aの照光表示の光源となるLED1が実装されている。
なお、LED1は、本例ではキー基板6の裏面に実装した場合を例示しているが、キー基板6の裏面側に設ければ、必ずしもキー基板6に実装されていなくともよい。
キー基板6は、メイン基板8上に実装される電子部品等の電磁波を遮蔽する目的に、これら電子部品等を含む回路を外部から遮断して閉塞するようにメイン基板8上に組み付けられたシールドケース7上に設けられている。
シールドケース7における天板7aには、キー基板6裏面のLED1とのスペース的な干渉を防ぐとともに、LED1の光を反射して導光穴3を通してキー基板6表面側に導く形状に反射用凹部7aが形成されており、該反射用凹部7aはLED1の光を反射するための反射材が施されている。
このシールドケース7は、樹脂成形品であり、電磁波の遮蔽を行うためにシールドケース7の外面全体に銅・ニッケル等のメッキ処理が施され、このメッキ処理は、反射用凹部7aの反射性の向上を目的に、圧膜メッキ処理とされ光沢を出している。
ここで、LED1の光を反射するためには、反射用凹部7aのみに圧膜メッキを施し反射するように光沢を出せばよいが、本例では、シールド用メッキと兼用している。
なお、シールドケース7における反射用凹部7aの反射を良好にするためには、メッキ以外に反射用凹部7aに光沢のある印刷を施してもよいし、或いは、光沢あるフィルム、例えば、PET(ポリエチレンテレフタレート)シートを貼り付けてもよい。
また、シールドケース7は、上記樹脂成形品以外のアルミ、ステンレス等の金属薄板のプレス品等としてもよいが、反射用凹部7aは、光沢ある材料を選択する、メッキ処理を施す、研磨する等して充分な反射性をもつように構成する必要がある。
そして、図2、図3に示すように、この反射用凹部7aに反射され、導光穴3を通してキー基板6表面側に導かれた光を、反射させ、かつ、他のキーへの漏れることを防ぎローゴム5bを介してキートップ5aへ導くことを目的に、キー基板6上のクリックドーム2および複数の導光穴3を囲繞して、反射板9が設けられている。
反射板9は、光沢のあるフィルム、アルミ等を用いて形成され、他キーへの光漏れを防ぐためにクリックドーム2および複数の導光穴3を囲繞してキー基板6表面から上方に立設して一部上方側を覆い、かつ、光をキートップ5aに導くためにキートップ5aに対向する側を解放する形状を有している。
ここで、反射板9は、ローゴム5bと別体のものを例示しているが、ローゴム5bと別体にすることなく、ローゴム5b内面に、上記と同様な形状を有するように、光沢のある銀カーボン、アルミ系の材料を印刷したり、フィルムを貼り付けてもよい。
上述の如く構成することにより、キー基板6表面側に導かれた光が集光されて単一のキートップ5aを照光し、この単一のキートップ5aの照光表示が可能となる。
なお、反射板9を用いることなく構成すれば、他のキーをも照光する構成が可能となる。
また、上述の実施例においては、回路基板としてキー基板6とメイン基板8の2枚の回路基板を有する場合を例示したが、キー基板6とメイン基板8とを1枚の回路基板で兼用し、この回路基板裏面側に光源のLEDを配置するとともに、回路基板裏面に電子部品を実装し、これらLED、電子部品の下方に筐体が在る場合には、この筐体の内面上に凹状の反射用凹部を設ければよい。
この反射用凹部の形成に際しては、筐体が樹脂成形品である場合には、この反射用凹部に蒸着、メッキ等を施し光沢があり充分な反射性をもたせればよく、或いは、筐体が金属部品で場合あるには、光沢ある充分な反射性をもつ材料を選択する、筐体の反射用凹部にメッキ処理、研磨等を施すなどして、反射性を良好にすればよい。
従って、この反射用凹部は、回路基板裏面側のLEDと回路基板の導光穴に対向して回路基板裏面側に設けられ、LEDの光を、反射して導光穴を通して回路基板の表面側に導く構成であれば、如何なる部材上に設けることも可能であり、例示したシールドケース、筐体に限定されるものではない。
上記構成によれば、キートップ5aの照光表示の光源であるLED1をキー基板6裏面側に設置したので、キートップ5aが押下された際にクリックドーム2がLED1に当接することが未然に防止され、信頼性が高い。
また、LED1がキー基板6裏面側に在りクリックドーム2内にLED1が無いため、クリックドーム2の反転動作のための所定の変形量が、小さな形状のクリックドーム2で可能であり、スイッチの小型化が行える。
また、LED1がキー基板6裏面側のデッドスペースに収容されキー基板6表面側に突出しないため、スイッチの薄型化が図れる。
また、構成が簡単なため、製造コストの低減が可能である。
加えて、キー基板6表面に反射板9を設ければ、単一キーの照光が可能である。
さらに、キー基板6における導光穴3を、LED1に対して対称に複数設ければ、キートップ5aを照光する光のムラを防止することができ、キートップ5aの照光表示の視認性が良好となる。
また、図4に示すような、複数キー25a、25a、…をキー基板26上のローゴム25b内に設置したLED21によって照光するという一般的なキーの照光構造の部品に関しても、このキー基板26に導光穴を穿孔し、前述の反射板9をキー基板26上のローゴム25bの室内のクリックドーム22および導光穴を囲繞して付加すれば、同一の部品を流用できるため、製造コストの削減に寄与し、安価に単一キーの照光が可能である。
従って、本発明によれば、小型で、かつ、簡単な構造で安価であり、しかも高信頼性を有するとともに照光表示の視認性が良好な電子機器のキーボードスィッチ構造が実現できる。
本発明の活用例として、実施例以外にコードレスホン、PDA(Personal Digital Assistant)、PHS(Personal Handy-phone System)、電子手帳、電子辞典等の小型の電子機器のみならず、その他の電子機器においても、本発明を有効活用できる。
本発明を適用した実施例の携帯電話機のキーボードスィッチ部の外観を示す斜視図。 図1の携帯電話機のキーボードスィッチ部のA−A線断面図。 図2の携帯電話機のキーボードスィッチ部のB−B線要部断面図。 一般的なキーボードスィッチ構造を示す断面図。 従来の特許文献1に関わる照光式ポインティングデバイスを示す断面図。 従来の特許文献2に関わる照光付スイッチ装置を示す断面図。
符号の説明
1…LED(光源体)、
2…クリックドーム、
3…導光穴、
5…キーボード、
5a…キートップ、
6…キー基板(配線基板)、
7a…反射用凹部(第1反射部)、
9…反射板(第2反射部)、
10…キーボードスィッチ。

Claims (3)

  1. スィッチをオン・オフ等する際に押下されるキートップを有するキーボードと、表面にスィッチ用配線パターンが形成される配線基板と、該配線基板表面上に設置され、前記キートップの押下により反転動作して前記スィッチ用パターンの接点間を導通させるクリックドームとを備える電子機器のキーボードスィッチ構造であって、
    前記配線基板の裏面側に設置される光源体と、
    前記クリックドーム外周の外方の位置に導光穴を有する配線基板と、
    前記配線基板の裏面側に前記光源体と前記配線基板の導光穴とに対向して設けられ、前記光源体の光を反射して前記導光穴を通して前記配線基板表面側に導く第1反射部とを備える
    ことを特徴とする電子機器のキーボードスィッチ構造。
  2. 前記クリックドームおよび前記導光穴を囲繞して前記配線基板表面から上方に立設するとともに前記キートップに対向する側を解放して設けられ、前記導光穴を通して前記配線基板表面側に導かれた前記光源体の光を、反射するとともに外部への漏れを防ぎ前記キートップへ導く第2反射部を備える
    ことを特徴とする請求項1に記載の電子機器のキーボードスィッチ構造。
  3. 前記配線基板における導光穴は、前記光源体に対して対称に複数設けられる
    ことを特徴とする請求項1または請求項2に記載の電子機器のキーボードスィッチ構造。
JP2004105372A 2004-03-31 2004-03-31 電子機器のキーボードスィッチ構造及び電子機器 Expired - Fee Related JP4417759B2 (ja)

Priority Applications (1)

Application Number Priority Date Filing Date Title
JP2004105372A JP4417759B2 (ja) 2004-03-31 2004-03-31 電子機器のキーボードスィッチ構造及び電子機器

Applications Claiming Priority (1)

Application Number Priority Date Filing Date Title
JP2004105372A JP4417759B2 (ja) 2004-03-31 2004-03-31 電子機器のキーボードスィッチ構造及び電子機器

Publications (2)

Publication Number Publication Date
JP2005293953A true JP2005293953A (ja) 2005-10-20
JP4417759B2 JP4417759B2 (ja) 2010-02-17

Family

ID=35326671

Family Applications (1)

Application Number Title Priority Date Filing Date
JP2004105372A Expired - Fee Related JP4417759B2 (ja) 2004-03-31 2004-03-31 電子機器のキーボードスィッチ構造及び電子機器

Country Status (1)

Country Link
JP (1) JP4417759B2 (ja)

Cited By (3)

* Cited by examiner, † Cited by third party
Publication number Priority date Publication date Assignee Title
JP2007036051A (ja) * 2005-07-28 2007-02-08 Kyocera Corp 携帯電子機器
US7455415B2 (en) 2006-09-14 2008-11-25 Kabushiki Kaisha Tokai Rika Denki Seisakusho Operation device
EP2184751A4 (en) * 2007-08-30 2013-05-22 Fujitsu Ltd STRUCTURE FOR ILLUMINATING A KEY OPERATING PART, ELECTRONIC UNIT, MOBILE DEVICE AND METHOD FOR ILLUMINATING A KEY OPERATING PART

Cited By (3)

* Cited by examiner, † Cited by third party
Publication number Priority date Publication date Assignee Title
JP2007036051A (ja) * 2005-07-28 2007-02-08 Kyocera Corp 携帯電子機器
US7455415B2 (en) 2006-09-14 2008-11-25 Kabushiki Kaisha Tokai Rika Denki Seisakusho Operation device
EP2184751A4 (en) * 2007-08-30 2013-05-22 Fujitsu Ltd STRUCTURE FOR ILLUMINATING A KEY OPERATING PART, ELECTRONIC UNIT, MOBILE DEVICE AND METHOD FOR ILLUMINATING A KEY OPERATING PART

Also Published As

Publication number Publication date
JP4417759B2 (ja) 2010-02-17

Similar Documents

Publication Publication Date Title
US7952043B2 (en) Keyboard with backlighting functionality
EP1962314B1 (en) Light guide sheet and movable contact unit and switch using the same
US7388167B2 (en) Keyboard structure
KR101228452B1 (ko) 키패드 어셈블리 및 이를 구비한 휴대 단말기
US6926418B2 (en) Integrated light-guide and dome-sheet for keyboard illumination
US8063326B2 (en) Illuminating structure of key operating unit, electronic apparatus, portable apparatus, and illuminating method of key operating unit
US7982718B2 (en) Mobile terminal with back-lighted directional keys
US8890014B1 (en) Luminous keyboard and light guide plate module thereof
CA2473331C (en) Cover plate for a mobile device having a push-through dial keypad
US7825907B2 (en) Touch key assembly for a mobile terminal
KR100454203B1 (ko) 휴대폰용 키패드 조립체
CN110188740B (zh) 指纹识别模组的安装结构及电子设备
EP1761002B1 (en) Touch key assembly for a mobile terminal
JP2001167655A (ja) 押ボタンスイッチの照明装置
CN108447715B (zh) 按键结构及具有该按键结构的电子装置
US8142036B2 (en) Keypad device with light source and reflector
US20100148994A1 (en) Keyboard with Backlighting Functionality
CN101414517A (zh) 开关
US20190148091A1 (en) Luminous keyboard
JP4417759B2 (ja) 電子機器のキーボードスィッチ構造及び電子機器
JPH06309992A (ja) キーパッド
US20180166234A1 (en) Luminous keyboard
US20070151838A1 (en) Electronic device keypad
JP2007073445A (ja) キー操作部及び電子機器
JP2001352379A (ja) 通信端末装置

Legal Events

Date Code Title Description
A621 Written request for application examination

Free format text: JAPANESE INTERMEDIATE CODE: A621

Effective date: 20070319

A977 Report on retrieval

Free format text: JAPANESE INTERMEDIATE CODE: A971007

Effective date: 20090716

A131 Notification of reasons for refusal

Free format text: JAPANESE INTERMEDIATE CODE: A131

Effective date: 20090811

A521 Written amendment

Free format text: JAPANESE INTERMEDIATE CODE: A523

Effective date: 20091008

TRDD Decision of grant or rejection written
A01 Written decision to grant a patent or to grant a registration (utility model)

Free format text: JAPANESE INTERMEDIATE CODE: A01

Effective date: 20091104

A01 Written decision to grant a patent or to grant a registration (utility model)

Free format text: JAPANESE INTERMEDIATE CODE: A01

A61 First payment of annual fees (during grant procedure)

Free format text: JAPANESE INTERMEDIATE CODE: A61

Effective date: 20091126

FPAY Renewal fee payment (event date is renewal date of database)

Free format text: PAYMENT UNTIL: 20121204

Year of fee payment: 3

FPAY Renewal fee payment (event date is renewal date of database)

Free format text: PAYMENT UNTIL: 20121204

Year of fee payment: 3

S111 Request for change of ownership or part of ownership

Free format text: JAPANESE INTERMEDIATE CODE: R313113

FPAY Renewal fee payment (event date is renewal date of database)

Free format text: PAYMENT UNTIL: 20121204

Year of fee payment: 3

R350 Written notification of registration of transfer

Free format text: JAPANESE INTERMEDIATE CODE: R350

FPAY Renewal fee payment (event date is renewal date of database)

Free format text: PAYMENT UNTIL: 20121204

Year of fee payment: 3

FPAY Renewal fee payment (event date is renewal date of database)

Free format text: PAYMENT UNTIL: 20131204

Year of fee payment: 4

FPAY Renewal fee payment (event date is renewal date of database)

Free format text: PAYMENT UNTIL: 20131204

Year of fee payment: 4

S533 Written request for registration of change of name

Free format text: JAPANESE INTERMEDIATE CODE: R313533

LAPS Cancellation because of no payment of annual fees