JP2005292892A - 携帯情報端末装置 - Google Patents
携帯情報端末装置 Download PDFInfo
- Publication number
- JP2005292892A JP2005292892A JP2004102727A JP2004102727A JP2005292892A JP 2005292892 A JP2005292892 A JP 2005292892A JP 2004102727 A JP2004102727 A JP 2004102727A JP 2004102727 A JP2004102727 A JP 2004102727A JP 2005292892 A JP2005292892 A JP 2005292892A
- Authority
- JP
- Japan
- Prior art keywords
- key
- input
- information terminal
- terminal device
- support shaft
- Prior art date
- Legal status (The legal status is an assumption and is not a legal conclusion. Google has not performed a legal analysis and makes no representation as to the accuracy of the status listed.)
- Granted
Links
- 239000000758 substrate Substances 0.000 claims description 7
- 239000002184 metal Substances 0.000 claims description 5
- 230000007246 mechanism Effects 0.000 abstract description 16
- 210000000078 claw Anatomy 0.000 description 5
- 230000001413 cellular effect Effects 0.000 description 3
- 210000003811 finger Anatomy 0.000 description 3
- 238000010586 diagram Methods 0.000 description 2
- 125000002066 L-histidyl group Chemical group [H]N1C([H])=NC(C([H])([H])[C@](C(=O)[*])([H])N([H])[H])=C1[H] 0.000 description 1
- 230000005540 biological transmission Effects 0.000 description 1
- 230000006866 deterioration Effects 0.000 description 1
- 238000012986 modification Methods 0.000 description 1
- 230000004048 modification Effects 0.000 description 1
- 210000003813 thumb Anatomy 0.000 description 1
Images
Landscapes
- Mechanisms For Operating Contacts (AREA)
- Push-Button Switches (AREA)
- Telephone Set Structure (AREA)
- Input From Keyboards Or The Like (AREA)
Abstract
【課題】 入力キーのキートップを上下させる機構の機能の持続性向上の可能な携帯情報端末装置を提供する。
【解決手段】 複数の入力キーを備えるキー入力部が配設された主筐体と、キー入力部を不使用時にキー入力部を被覆する副筐体がヒンジ部を介して開閉可能に接続された携帯情報端末装置において、ヒンジ部の軸方向に対し略垂直方向に設けられ、かつ略中央に第1転回支軸を有する略楕円形の回転部材と、回転部材の一端部に設けられた第2転回支軸を中心に回動自在なアーム部と、アーム部の第2転回支軸と反対側の端部に設けられた第3転回支軸と回動自在に接続され、主筐体内部でヒンジ部の軸方向に対し略垂直方向に摺動可能な摺動基板と、を備え、摺動基板には、携帯情報端末装置が閉じている際に入力キーを収納する入力キー収納部が設けられ、この入力キー収納部のうちヒンジ部方向の面に上向き斜面が形成されていることを特徴とする。
【選択図】 図2
【解決手段】 複数の入力キーを備えるキー入力部が配設された主筐体と、キー入力部を不使用時にキー入力部を被覆する副筐体がヒンジ部を介して開閉可能に接続された携帯情報端末装置において、ヒンジ部の軸方向に対し略垂直方向に設けられ、かつ略中央に第1転回支軸を有する略楕円形の回転部材と、回転部材の一端部に設けられた第2転回支軸を中心に回動自在なアーム部と、アーム部の第2転回支軸と反対側の端部に設けられた第3転回支軸と回動自在に接続され、主筐体内部でヒンジ部の軸方向に対し略垂直方向に摺動可能な摺動基板と、を備え、摺動基板には、携帯情報端末装置が閉じている際に入力キーを収納する入力キー収納部が設けられ、この入力キー収納部のうちヒンジ部方向の面に上向き斜面が形成されていることを特徴とする。
【選択図】 図2
Description
本発明は、携帯電話機やPHS等の携帯情報端末装置に係り、特に折り畳み式の携帯情報端末装置に関する。
近年、携帯電話機、PHS(Personal Handy Phone)を始めとする無線電話機等の携帯情報端末装置において、無線電話機同士、あるいはパーソナルコンピュータ(以下、パソコンと略す)の電子メールとのやりとりが可能になっている。また、パソコンと同様にして、チャットやインターネットもこれら端末で利用することが出来るようになっている。そのため、電子メール文書等の漢字入力や大量の文字データを入力することが必要となってきている。
このため、このような携帯情報端末装置の操作性については、特に、主入力手段であるキー入力部に備わる各入力キーのキーストロークをできるだけ大きくして、デスクトップ型パソコンに用いられている通常のキーボードの感覚に近づけることにより、キー入力部の操作性を向上させたいという要望がある。文字入力時にのみ、キー入力部の入力キーのキートップをポップアップさせるキーボード機構として、折り畳み型の携帯情報端末装置において、蓋となる表示部側筐体を開けて携帯情報端末装置の入力部の操作をする際に、表示部側筐体の開閉に連動して、入力部に備わる各入力キーのキートップを上下させる機構をキー入力部側筐体に付加したしたものが開示されている(例えば、特許文献1〜4を参照)。
しかしながら、上記各特許文献に開示されているキーボード機構は、何れもバネ等の弾性体の圧縮力や復元力を利用して構成されている。これら弾性体は、使用するにつれ、その弾性力は、変形等により劣化していく。すなわち、キーボード機構に作用する弾性体の弾性力の劣化に伴い、入力部に備わる各入力キーのキートップを上下させる機構の機能が低下する虞がある。
そこで、本発明は、従来の携帯情報端末装置が有する上記問題点に鑑みてなされたものであり、本発明の目的は、携帯情報端末装置を何度使用しても、入力部に備わる各入力キーのキートップを上下させる機構の機能の耐久性、持続性の向上の可能な,新規かつ改良された携帯情報端末装置を提供することである。
上記課題を解決するために、本発明のある観点によれば、複数の入力キーを備えるキー入力部が配設された主筐体と、キー入力部を不使用時にキー入力部を被覆する副筐体がヒンジ部を介して開閉可能に接続された携帯情報端末装置において、ヒンジ部の軸方向に対し略垂直方向に設けられ、かつ略中央に第1転回支軸を有する略楕円形の回転部材と、回転部材の一端部に設けられた第2転回支軸を中心に回動自在なアーム部と、アーム部の第2転回支軸と反対側の端部に設けられた第3転回支軸と回動自在に接続され、主筐体内部でヒンジ部の軸方向に対し略垂直方向に摺動可能な摺動基板と、を備え、摺動基板には、携帯情報端末装置が閉じている際に入力キーを収納する入力キー収納部が設けられ、この入力キー収納部のうちヒンジ部方向の面に上向き斜面が形成されていることを特徴とする、携帯情報端末装置が提供される。
このとき、摺動基板のキー入力部を有する面のうち、斜面の頂上側の部位に金属配線パターンが印刷されたフィルム状基盤が設けられ、このフィルム状基盤の上には、内部空間を有する弾性押圧部材が積層されていることとしてもよい。
また、入力キーの基端側の側面には、係止手段が設けられ、入力キーの底面部は、入力キーの先端側の面より小面積であり、かつ係止手段から底面部にかけて略四角錐形状であることとしてもよい。
このような構成とすることにより、携帯情報端末装置を開くと、まず副筐体の基端側側面に回動自在に固定された略楕円形の回転部材である楕円回転体が第1転回支軸を中心に左回りに回転する。そして、楕円回転体の一端部に設けた第2転回支軸に回動自在に固定されたアーム部が第3転回支軸を介して摺動基板であるスライダベースを主筐体となる入力部側筐体の長手方向のうち、入力部側筐体の先端側に向かう方向に力を加え、スライダベースを摺動させる。スライダベースの摺動により、入力キー収納部に設けた斜面が入力キーを持ち上げ、入力キーのキートップがポップアップされる。すなわち、従来のように弾性体を介さずに、文字入力時にのみ、入力キーのキートップをポップアップさせることができる。
また、このとき入力キーの基端側の側面に設けた係止手段である爪部により、入力キーのキートップをポップアップさせた際に、入力キーが主筐体である入力部側筐体から抜け落ちることを防止できる。
以上説明したように本発明によれば、表示部側筐体を開けて携帯情報端末装置の入力部の操作をする際に、キートップがポップアップするため、キーストロークを確保することが出来る。そのため、キートップ上面からキートップ下面に向かって、力を凝縮させて伝わらせることが可能となり、文字認識端子に対しての押す力が従来よりも軽くなることにより、文字入力が容易になる。
また、キーストロークの確保により、入力が軽くなり、人差し指等でキーを叩くことが可能になる。そのため、例えば開状態の端末を卓上に置いて、人差し指で高速に入力することが出来る。また、逆手で端末を持ち、利き手の人差し指でキートップを叩けば、片手で親指入力を主体としたキートップがポップアップしない従来機よりも、さらに高速な文字入力が可能となる。
さらに、本発明では、弾性体を使用せずに、入力部に備わる各入力キーのキートップを上下させる機構を構成しているため、入力部に備わる各入力キーのキートップを上下させる機構の機能の持続性、耐久性の向上が実現される。
以下に添付図面を参照しながら,本発明の好適な実施の形態について詳細に説明する。なお,本明細書及び図面において,実質的に同一の機能構成を有する構成要素については,同一の符号を付することにより重複説明を省略する。
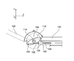
まず、本発明の携帯情報端末装置を適用した第1実施形態における携帯電話機の構成について図面を使用しながら説明する。図1は、本発明の携帯情報端末装置を適用した第1実施形態における折り畳み式携帯電話機100の正面側からの全体構成図である。
図1に示すように、本実施形態の携帯電話機100は、表示部側筐体102と入力部側筐体104がヒンジ部106で回動可能に結合され、このヒンジ部106を中心に折り畳み開閉が可能な構成となっている。
本実施形態では、表示部側筐体102の正面側には、携帯電話本体100を開いた状態における携帯電話機100の各種情報をLCD等で表示する表示部108と、通信相手の音声を出力する受話部110が設けられている。
一方、入力部側筐体104の正面側には、携帯電話機100におけるユーザインタフェース部のうち、数字や文字を入力する際に使用する複数の入力キー111から構成されるキー入力部112と、通話時にユーザの音声を入力する送話部114が設けられている。
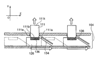
次に、本実施形態における携帯電話機100のヒンジ部106内部の構成について図面を使用しながら説明する。図2は、本実施形態の携帯電話機100のヒンジ部106の斜視部分断面図である。なお、本図において、ヒンジ部106の軸方向をX軸とし、ヒンジ部106の軸方向(X軸方向)に対し略垂直方向のうち入力部側筐体104の長手方向をZ軸とし、ヒンジ部106の軸方向に対し略垂直方向のうちZ軸と垂直な方向をY軸とする。
図2に示すように、本実施形態では、ヒンジ部106の軸方向に対し略垂直方向に楕円回転体116が設けられている。この回転楕円体116は、略中央に設けられた第1転回支軸118により、表示部側筐体102の基端側の側面に回動自在に設置されている。すなわち、楕円回転体116は、第1転回支軸118によって端末100のヒンジ部106に取り付けられている。そのため、楕円回転体116は、表示部側筐体102と入力部側筐体104との開閉動作と連動して、第1転回支軸118を中心として、ヒンジ部106の軸方向に対し略垂直方向となる平面上(YZ平面上)を回転することが出来る。つまり、楕円回転体116の回転可能な角度は、図1に示す端末100の端末開状態ヒンジ角度θ1と同じである。
また、楕円回転体116は、第1転回支軸118を中心とした対角線上の一端には、第2転回支軸120を有し、この第2転回支軸120には、アーム部122が回動自在に固定されている。アーム部122は、両端に転回支軸を備える。すなわち、アーム部122と楕円回転体116を接続している第2転回支軸120の反対端には、第3転回支軸124が設けられ、この第3転回支軸124には、スライドベース126が回動自在に固定されている。
アーム部122は、アーム部122の少なくとも一方に設けられた転回支軸が固定されていなければ、第2転回支軸120または第3転回支軸124を中心としてYZ軸平面上を回転することが出来る。すなわち、第1転回支軸118、第2転回支軸120、及び第3転回支軸124は、無理な力を加えることなく、円滑に回転することが出来る。
スライドベース126の側面には、Z軸と略平行にスライド溝128が形成されている。このスライド溝128は、入力部側筐体104の長手方向の内壁部に形成された勘合ピン130に摺動自在に勘合している。このため、スライドベース126は、スライド溝128に沿って入力部側筐体104の長手方向(Z軸方向)に摺動することが出来る。また、スライドベース126は、無理な力を加えることなく、スライド溝128に沿って円滑に摺動することが出来る。
また、スライドベース126には、本実施形態の折り畳み式携帯電話機100が閉じている際に入力キー111を収納する入力キー収納部132が入力キー111と同数設けられている。そして、入力キー収納部132には、ヒンジ部106に向かう方向(−Z軸方向)に上向きの斜面134が形成されている。この斜面134が後述するように入力キー111のキートップ111tを押し上げる役割をする。
さらに、スライドベース126に設けた入力キー収納部132に形成した斜面134の頂上側に有するキー入力部112側の面には、ゴム製で内部に空間が形成された弾性押圧部材136がある。弾性押圧部材136の内部空間の下面には、金属配線パターンが印刷されたフィルム状基盤(図示せず。)が積層されている。弾性押圧部材136上部から力が加わり、内部空間の上面が下面に有する金属配線パターンが印刷されたフィルム状基盤(図示せず。)に触れると、端末100は、入力を認識することが出来る。
次に、本実施形態の折り畳み式携帯電話機100のキー入力部112に備わる各入力キー111のキートップを上下させる機構の動作について、図面を使用しながら説明する。
図3は、本実施形態の折り畳み式携帯電話機100を閉じた状態での入力部側筐体104の部分断面図であり、図4は、本実施形態の折り畳み式携帯電話機100を開いた状態での入力部側筐体104の部分断面図であり、図5は、本実施形態の折り畳み式携帯電話機100を開閉動作したときのヒンジ部106の横断面図である。なお、図3〜5のY、Z軸は、図2と同様に定義するものとする。
まず、本実施形態の折り畳み式携帯電話機100を閉じた状態について説明する。
図3に示すように、端末100が閉じた状態では、入力キー111は、キートップ111tを含め、スライドベース126に設けた入力キー収納部132に収納されている。すなわち、入力部側筐体104の内部に収納されている。また、閉状態の場合、表示部側筐体102がキートップ111tの蓋となる構造になっている。
また、入力キー111の基端側の側面には、入力キー111が入力部側筐体104から抜け落ちないようにするための係止手段となる爪部111aが設けられている。そして、入力キー111は、爪部111bよりも基端側となる下部が略四角錐の形状になっている。このため、入力キー111の基端側となる底面部111bは、キートップ111tより小面積となっている。
なお、携帯電話機100を閉じた状態では、スライドベース126は、図2に示すように、第3転回支軸124によってアーム部122に固定されているので、動くことはない。
次に、端末100の閉状態から開状態への動作について説明する。
端末100を開状態にしようとすると、表示部側筐体102の基端側の側面に回動自在に固定されている楕円回転体116が第1転回支軸118を中心に左回りに回転する。楕円回転体116の回転に連動して、第2転回支軸120によって固定されているアーム部122に、スライドベース126を入力部側筐体104の長手方向(Z軸正方向)に押す力が生じる。第2転回支軸120からアーム部122にスライドベース126を押す力が加えられると、もう片方の第3転回支軸124によって、スライドベース126にZ軸正方向へ向かう力が伝達される。アーム部122からスライドベース126に力が伝達されると、スライドベース126がスライド溝128に沿ってZ軸正方向に摺動する。
スライドベース126が、Z軸正方向に摺動することで、図4に示すように、スライドベース126に形成された斜面134もZ軸正方向に摺動される。斜面134がZ軸正方向に摺動されることによって、入力キー111が斜面134上を摺動して、弾性押圧部材136の上に持ち上げられる。すなわち、端末100が開状態になると、入力キー111の底面部111bが弾性押圧部材136の上に来るようになる。
このため、スライドベース126が入力キー111を支持する筐体となり、入力キー111のキートップ111tは、入力部側筐体104のキー入力部112が備わる面よりもポップアップした状態になる。そして、ポップアップした入力キー111のキートップ111tを押動すると、入力キー111の底面部111bにより弾性押圧部材136上部へ力が加わり、弾性押圧部材136に設けられた内部空間の下面に有する金属配線パターンが印刷されたフィルム状基盤(図示せず。)に触れることにより、キー入力部112による端末100の入力操作が可能になる。
また、上述したように入力キー111の基端側の側面には、爪部111aが設けられているので、入力キー111が弾性押圧部材136の上に持ち上げられても、入力部側筐体104から外れないようになっている。
次に本実施形態の折り畳み式携帯電話機100の開状態から閉状態への動作について、図2、図3、及び図5を用いて説明する。なお、図5では、端末100が開状態のときの表示部側筐体102、楕円回転体116、アーム部122、及びスライドベース126は、点線で描かれ、端末100が閉状態のときは、これらは実線で描かれているものとする。
端末100の閉状態にしようとすると、表示部側狂態102の基端側の側面に回動自在に固定されている楕円回転体116も第1転回支軸118を中心に右回りに回転する。図5に示すように、楕円回転体116が回転すると、第2転回支軸120によって固定されているアーム部122を引っ張る力が生じる。
第2転回支軸120から、アーム部122に引く力が加えられると、アーム部122のもう一端に設けられた第3転回支軸124によって、スライドベース126にZ軸負方向へ向かう力が伝えられる。アーム部122からスライドベース126に力が伝達されると、スライド溝128に沿ってスライドベース126がZ軸負方向に摺動する。
スライドベース126が摺動することで、図3に示すように、スライドベース126は、入力キー111を支えない場所に移動される。入力キー111は、スライドベース126が摺動する時に、自然落下で斜面134を下ることになる。また、自然落下しない場合は、ポップアップ状態を支えていたスライドベース126が無いので、蓋となる表示部側筐体102によって、入力キー111は、入力部側筐体104の内部に押し下げられ、入力キー収納部132に収納される。
以上詳述したように、表示部側筐体102を開けて端末100のキー入力部112の操作をする際に、入力キー111のキートップ111tがポップアップするため、入力キー111のキーストロークを確保することが出来る。また、従来のように弾性体を使用せずにキー入力部112に備わる各入力キー111のキートップ111tを上下させる機構を構成しているため、従来のキー機構よりも入力キー111のキートップ111tを昇降させる機構の機能の持続性、耐久性が向上する。
以上,添付図面を参照しながら本発明の好適な実施形態について説明したが,本発明は係る例に限定されないことは言うまでもない。当業者であれば,特許請求の範囲に記載された範疇内において,各種の変更例または修正例に想到し得ることは明らかであり,それらについても当然に本発明の技術的範囲に属するものと了解される。
例えば、上述した本発明の第1実施形態においては、主に携帯電話機を例に取って説明したが、本発明は、携帯型のパソコンやPDA、デジタルカメラ等の表示部とキー操作をする操作部を具備し、表示部及び操作部がそれぞれ別の筐体に配置されてヒンジ部によって回転、開閉するように構成された携帯情報端末装置であれば良いものである。
また、上述した本発明の第1実施形態においては、主に折り畳み式携帯電話機について本発明を適用した例について説明しているが、表示部とキー入力部が一体型の携帯情報端末装置であっても、その表示部及びキー入力部をカーバーするための折り畳み型の蓋を持っていれば、第1実施形態と同様に適用できる。
さらに、縦開閉動作の携帯情報端末装置だけでなく、横開閉動作の携帯情報端末装置でも適用できる。また、表示部を具備してない装置であっても、スライド機構を持つ折り畳み型の文字入力装置ユニットまたは、モジュール等でも適用可能である。
本発明は、入力キーによる入力操作が行われる携帯情報端末装置に適用可能であり、特に携帯電話機やPDA(Personal Digital Assistant)等のキースライド機構、及びキースライド機構を備えた折り畳み型の携帯情報端末装置に適用可能である。
100 携帯電話機
102 表示部側筐体
104 入力部側筐体
106 ヒンジ部
108 表示部
110 受話部
111 入力キー
111a 爪部
111b 底面部
111t キートップ
112 キー入力部
114 送話部
116 楕円回転体
118 第1転回支軸
120 第2転回支軸
122 アーム部
124 第3転回支軸
126 スライドベース
128 スライド溝
130 勘合ピン
132 入力キー収納部
134 斜面
136 弾性押圧部材
102 表示部側筐体
104 入力部側筐体
106 ヒンジ部
108 表示部
110 受話部
111 入力キー
111a 爪部
111b 底面部
111t キートップ
112 キー入力部
114 送話部
116 楕円回転体
118 第1転回支軸
120 第2転回支軸
122 アーム部
124 第3転回支軸
126 スライドベース
128 スライド溝
130 勘合ピン
132 入力キー収納部
134 斜面
136 弾性押圧部材
Claims (4)
- 複数の入力キーを備えるキー入力部が配設された主筐体と、前記キー入力部を不使用時に前記キー入力部を被覆する副筐体がヒンジ部を介して開閉可能に接続された携帯情報端末装置において、
前記ヒンジ部の軸方向に対し略垂直方向に設けられ、かつ略中央に第1転回支軸を有する略楕円形の回転部材と、
前記回転部材の一端部に設けられた第2転回支軸を中心に回動自在なアーム部と、
前記アーム部の第2転回支軸と反対側の端部に設けられた第3転回支軸と回動自在に接続され、前記主筐体内部で前記ヒンジ部の軸方向に対し略垂直方向に摺動可能な摺動基板と、を備え、
前記摺動基板には、前記携帯情報端末装置が閉じている際に前記入力キーを収納する入力キー収納部が設けられ、該入力キー収納部のうち前記ヒンジ部方向の面に上向き斜面が形成されていることを特徴とする、携帯情報端末装置。 - 前記摺動基板の前記キー入力部を有する面のうち、前記斜面の頂上側の部位に金属配線パターンが印刷されたフィルム状基盤が設けられ、該フィルム状基盤の上には、内部空間を有する弾性押圧部材が積層されていることを特徴とする、請求項1に記載の携帯情報端末装置。
- 前記入力キーの基端側の側面には、係止手段が設けられていることを特徴とする、請求項1または2に記載の携帯情報端末装置。
- 前記入力キーの底面部は、前記入力キーの先端側の面より小面積であり、かつ前記係止手段から前記底面部にかけて略四角錐形状であることを特徴とする、請求項1〜3の何れか1項に記載の携帯情報端末装置。
Priority Applications (1)
| Application Number | Priority Date | Filing Date | Title |
|---|---|---|---|
| JP2004102727A JP4079903B2 (ja) | 2004-03-31 | 2004-03-31 | 携帯情報端末装置 |
Applications Claiming Priority (1)
| Application Number | Priority Date | Filing Date | Title |
|---|---|---|---|
| JP2004102727A JP4079903B2 (ja) | 2004-03-31 | 2004-03-31 | 携帯情報端末装置 |
Publications (2)
| Publication Number | Publication Date |
|---|---|
| JP2005292892A true JP2005292892A (ja) | 2005-10-20 |
| JP4079903B2 JP4079903B2 (ja) | 2008-04-23 |
Family
ID=35325798
Family Applications (1)
| Application Number | Title | Priority Date | Filing Date |
|---|---|---|---|
| JP2004102727A Expired - Fee Related JP4079903B2 (ja) | 2004-03-31 | 2004-03-31 | 携帯情報端末装置 |
Country Status (1)
| Country | Link |
|---|---|
| JP (1) | JP4079903B2 (ja) |
Cited By (5)
| Publication number | Priority date | Publication date | Assignee | Title |
|---|---|---|---|---|
| JP2010531531A (ja) * | 2007-06-26 | 2010-09-24 | ソニー エリクソン モバイル コミュニケーションズ, エービー | 可変位置機能を有するキー |
| JP2016095767A (ja) * | 2014-11-17 | 2016-05-26 | レノボ・シンガポール・プライベート・リミテッド | 電子機器 |
| KR101747535B1 (ko) | 2014-10-14 | 2017-06-14 | 켐 홍콩 유한회사 | 2축 힌지 및 이 2축 힌지를 이용한 전자기기 |
| JP2019215611A (ja) * | 2018-06-11 | 2019-12-19 | レノボ・シンガポール・プライベート・リミテッド | 電子機器 |
| KR20200029963A (ko) * | 2018-01-24 | 2020-03-19 | 페가트론 코포레이션 | 입력 유닛의 상승장치, 그 키보드 및 전자 장치 |
-
2004
- 2004-03-31 JP JP2004102727A patent/JP4079903B2/ja not_active Expired - Fee Related
Cited By (7)
| Publication number | Priority date | Publication date | Assignee | Title |
|---|---|---|---|---|
| JP2010531531A (ja) * | 2007-06-26 | 2010-09-24 | ソニー エリクソン モバイル コミュニケーションズ, エービー | 可変位置機能を有するキー |
| KR101747535B1 (ko) | 2014-10-14 | 2017-06-14 | 켐 홍콩 유한회사 | 2축 힌지 및 이 2축 힌지를 이용한 전자기기 |
| JP2016095767A (ja) * | 2014-11-17 | 2016-05-26 | レノボ・シンガポール・プライベート・リミテッド | 電子機器 |
| KR20200029963A (ko) * | 2018-01-24 | 2020-03-19 | 페가트론 코포레이션 | 입력 유닛의 상승장치, 그 키보드 및 전자 장치 |
| KR102156125B1 (ko) | 2018-01-24 | 2020-09-16 | 페가트론 코포레이션 | 입력 유닛의 상승장치, 그 키보드 및 전자 장치 |
| JP2019215611A (ja) * | 2018-06-11 | 2019-12-19 | レノボ・シンガポール・プライベート・リミテッド | 電子機器 |
| US10599187B2 (en) | 2018-06-11 | 2020-03-24 | Lenovo Singapore Pte Ltd | Electronic device |
Also Published As
| Publication number | Publication date |
|---|---|
| JP4079903B2 (ja) | 2008-04-23 |
Similar Documents
| Publication | Publication Date | Title |
|---|---|---|
| US7269000B2 (en) | Folding keyboard for an electronic communications device | |
| CN100394700C (zh) | 滑动/折叠型便携式设备 | |
| CN101068266B (zh) | 用于游戏的便携式通信终端和其中的用户接口设备 | |
| US20060211459A1 (en) | Portable terminal | |
| CN100385804C (zh) | 供手持式电子设备里使用的自操作打开机构 | |
| EP1950937A2 (en) | Portable apparatus | |
| CN102573366A (zh) | 电子装置 | |
| US8463326B2 (en) | Handheld electronic device transitionable between different configurations | |
| US20070004477A1 (en) | Portable terminal having slidable and foldable housings | |
| EP1638299A1 (en) | Hand-held communication device with two housings and a keypad accessible both in the open and the closed position | |
| JP4079903B2 (ja) | 携帯情報端末装置 | |
| EP2222058B1 (en) | Handheld electronic device transitionable between different configurations | |
| JP5229212B2 (ja) | 携帯端末および携帯端末の操作方法 | |
| KR100876790B1 (ko) | 멀티미디어 휴대 통신 장치 | |
| JP2005534237A (ja) | 電子デバイス用の自動開放機構 | |
| CN100525328C (zh) | 具有便于数据输入的滑动键盘的便携式终端 | |
| US7822445B2 (en) | Hand held apparatus and flip device thereof | |
| CN101370369A (zh) | 折叠式电子装置 | |
| KR100673521B1 (ko) | 듀얼 키패드를 구비하는 이동통신단말기 | |
| US20060187623A1 (en) | Retractable keyboard | |
| JP2003333142A (ja) | 電子機器 | |
| KR200370666Y1 (ko) | 듀얼 키패드를 구비하는 이동통신단말기 | |
| JP2005159390A (ja) | 折り畳み型携帯通信端末機 | |
| CN1428992A (zh) | 具有可隐藏式输入装置的移动电话手机 | |
| TWM297111U (en) | Mobile phone |
Legal Events
| Date | Code | Title | Description |
|---|---|---|---|
| A977 | Report on retrieval |
Free format text: JAPANESE INTERMEDIATE CODE: A971007 Effective date: 20071228 |
|
| TRDD | Decision of grant or rejection written | ||
| A01 | Written decision to grant a patent or to grant a registration (utility model) |
Free format text: JAPANESE INTERMEDIATE CODE: A01 Effective date: 20080115 |
|
| A61 | First payment of annual fees (during grant procedure) |
Free format text: JAPANESE INTERMEDIATE CODE: A61 Effective date: 20080205 |
|
| FPAY | Renewal fee payment (event date is renewal date of database) |
Free format text: PAYMENT UNTIL: 20110215 Year of fee payment: 3 |
|
| R150 | Certificate of patent or registration of utility model |
Free format text: JAPANESE INTERMEDIATE CODE: R150 |
|
| LAPS | Cancellation because of no payment of annual fees |