JP2005292037A - 角度測定装置 - Google Patents
角度測定装置 Download PDFInfo
- Publication number
- JP2005292037A JP2005292037A JP2004110134A JP2004110134A JP2005292037A JP 2005292037 A JP2005292037 A JP 2005292037A JP 2004110134 A JP2004110134 A JP 2004110134A JP 2004110134 A JP2004110134 A JP 2004110134A JP 2005292037 A JP2005292037 A JP 2005292037A
- Authority
- JP
- Japan
- Prior art keywords
- angle
- angle measuring
- measuring device
- shaft body
- measured
- Prior art date
- Legal status (The legal status is an assumption and is not a legal conclusion. Google has not performed a legal analysis and makes no representation as to the accuracy of the status listed.)
- Pending
Links
- 238000005259 measurement Methods 0.000 claims abstract description 15
- 238000001514 detection method Methods 0.000 claims description 14
- 238000012545 processing Methods 0.000 claims description 14
- 230000005484 gravity Effects 0.000 claims description 8
- 238000010586 diagram Methods 0.000 description 4
- 238000000034 method Methods 0.000 description 4
- 230000006870 function Effects 0.000 description 2
- 230000003287 optical effect Effects 0.000 description 2
- 238000003860 storage Methods 0.000 description 2
- 238000007796 conventional method Methods 0.000 description 1
- 238000003754 machining Methods 0.000 description 1
- 238000004519 manufacturing process Methods 0.000 description 1
- 239000000463 material Substances 0.000 description 1
- 238000012986 modification Methods 0.000 description 1
- 230000004048 modification Effects 0.000 description 1
- 230000002093 peripheral effect Effects 0.000 description 1
- 239000004065 semiconductor Substances 0.000 description 1
Images
Landscapes
- Length Measuring Devices By Optical Means (AREA)
Abstract
【課題】被測定物の水平方向を軸とした回転角度を測定するに当たり、簡単な取り付けで高精度で測定することのできる角度測定装置を提供すること。
【解決手段】角度測定装置を筐体と、筐体に回転自在に支持された軸体と、軸体に取り付けられ、軸体と共に回転する平面鏡と、平面鏡にレーザー光を出射する投光部、平面鏡で反射されたレーザー光の入射ビームの角度変化を位置変化に変換するエフシータレンズ、及び受光部からなる検出部と、で構成し、測定時に軸体を被測定物に固定することにより筐体が重力方向に垂下し、軸体と筐体との相対的な回転角度が検出されるようにした。
【選択図】 図1
【解決手段】角度測定装置を筐体と、筐体に回転自在に支持された軸体と、軸体に取り付けられ、軸体と共に回転する平面鏡と、平面鏡にレーザー光を出射する投光部、平面鏡で反射されたレーザー光の入射ビームの角度変化を位置変化に変換するエフシータレンズ、及び受光部からなる検出部と、で構成し、測定時に軸体を被測定物に固定することにより筐体が重力方向に垂下し、軸体と筐体との相対的な回転角度が検出されるようにした。
【選択図】 図1
Description
本発明は、角度測定装置に関するもので、特に被測定物の水平方向を軸とした回転角度を測定する角度測定装置に関する。
従来、工作機械や半導体製造装置においては、ワークの基準面を水平面と一致させて加工を行う場合が多く、ワークを載置したテーブルを傾斜させてワークの姿勢を調節するチルチングテーブルが用いられている。このチルチングテーブルは、水平方向を軸として回転することによってワークの姿勢を調節するようになっている。
このチルチングテーブルの水平方向を軸とした回転角度をを高精度に測定する場合、従来は水準器を用いて傾きを測定する方法、又はチルチングテーブルに反射鏡を載置し、固定部分にオートコリメータをセットして角度を測定する方法が用いられていた。
また、チルチングテーブルの回転軸上に中心を合わせた円盤状の基準インクリメント板を設け、固定部分に基準インクリメント板の側面に形成されたインクリメントマークを読み取るセンサを設けた角度測定器も知られている(例えば、特許文献1参照。)。
特開2003−166821号公報
しかし、従来の水準器を用いた傾き測定は測定可能な角度範囲に限定があり、反射鏡とオートコリメータとの組み合わせでは、反射鏡としてポリゴンミラーを用いれば測定可能角度範囲は十分であるが、オートコリメータを固定部にセットし、ポリゴンミラーとの光軸をあわせるのに時間を要するという問題があった。
また、前述の特許文献1に記載された方法では、被測定物の回転軸に基準インクリメント板を取り付けなければならず、更にセンサを固定部にセットし基準インクリメント板の側面との芯合わせをしなければならず、測定対象物に制約があると共に、測定の段取りに時間を要するという問題があった。
本発明はこのような事情に鑑みてなされたもので、被測定物の水平方向を軸とした回転角度を測定するに当たり、簡単な取り付けで高精度で測定することのできる角度測定装置を提供することを目的とする。
本発明は前記目的を達成するために、被測定物の水平方向を軸とした回転角度を測定する角度測定装置において、該角度測定装置の本体を形成する筐体と、該筐体に回転自在に支持された軸体と、該軸体に取り付けられ、軸体と共に回転する平面鏡と、投光部、入射ビームの角度変化を位置変化に変換するエフシータレンズ、及び受光部とを有し、前記筐体に取り付けられた検出部と、が設けられ、該検出部では前記投光部より前記平面鏡にレーザー光を出射し、前記平面鏡で反射されたレーザー光をエフシータレンズを介して前記受光部に導くように構成され、測定時は前記軸体が前記被測定物に固定されることにより、前記筐体が重力方向に垂下し、前記軸体と前記筐体との相対的な回転角度が検出されることを特徴としている。
本発明によれば、角度測定装置の軸体を前記被測定物に固定することにより角度測定装置の筐体が自重により重力方向に垂下し、軸体と筐体との相対的な回転角度が検出されて被測定物の水平方向を軸とした回転角度が測定されるので、簡単な取り付けで高精度な測定をすることができる。
また、本発明は、前記平面鏡がポリゴンミラーの1面であることを付加的要件としている。これによれば、測定可能な角度範囲が大きく取れる。
また、本発明は、前記受光部がラインセンサであることを付加的要件としている。これによれば、ポリゴンミラー面の傾きの変化をレーザー光の位置の変化に変換し、その位置の変化をラインセンサで検出するので、検出データの処理が容易である。
また、本発明は、前記筐体には、前記被測定物の回転角度を演算する処理部が組込まれていることを付加的要件としている。これによれば、被測定物の回転角度を演算する処理部が角度測定装置の筐体内に組込まれているので、外部の処理装置に接続することなく回転角度を演算することができる。
以上説明したように本発明の角度測定装置によれば、角度測定装置の軸体を前記被測定物に固定することにより角度測定装置の筐体が自重により重力方向に垂下し、軸体と筐体との相対的な回転角度が検出されて被測定物の水平方向を軸とした回転角度が測定されるので、角度測定装置の取り付けが簡単で、高精度な測定を容易に行うことができる。
以下添付図面に従って本発明に係る角度測定装置の好ましい実施の形態について詳説する。尚、各図において同一部材には同一の番号または記号を付している。
図1は、本発明の角度測定装置の構成を概念的に表わしたもので、図2は図1におけるA−A断面図である。
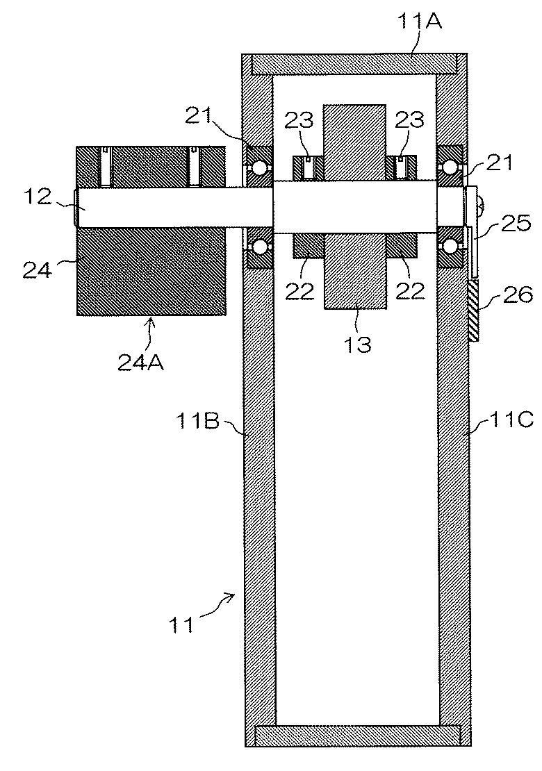
角度測定装置10は、図1に示すように、本体を形成する筐体、筐体に後出のベアリングを介して回転自在に支持された軸体12、軸体に固定された平面鏡であるポリゴンミラー13、ポリゴンミラー13の回転角度を検出する検出部14、検出部からの検出データを処理して角度を算出する処理部31、算出された測定データを表示する表示部34、及び外部に信号を出力する出力部35等から構成されている。
検出部14は、投光部であるレーザーダイオード15、コリメートレンズ16、ミラー17、エフシータレンズ(fθレンズ)18、及び受光部であるラインセンサ19を有している。また、処理部31は、ラインセンサ19のデータをカウントするカウンタ32、及びカウンタ32によるカウント値から角度を演算する演算器33を有している。
図2に示すように、筐体11は、枠体11A、後板11B、前板11Cとからなっており、後板11B及び前板11Cの夫々に取り付けられたベアリング21で軸体12を回転自在に支持している。
軸体12にはポリゴンミラー13が、夫々螺子23によって軸体12に固定される2個の固定リング22、22で挟み込まれて、軸体12に固定支持されている。
図3は、エフシータレンズ18の機能を説明するための概念図である。エフシータレンズ18は、2枚のレンズ面の曲率を変えることにより、レンズの周辺部と中心部とで走査速度が一定になるように設計されたものである。そのため、エフシータレンズ18の焦点距離fの位置から入射されるビームの入射角度(θラジアン)に比例した理想像高(y)が得られ、y=fθの関係を有している。
従って、図3に示すように、エフシータレンズ18の焦点距離fの位置に反射面を有するポリゴンミラー13を回転させた場合、エフシータレンズ18への反射光ビームの入射角度の変化がエフシータレンズ18の径方向の位置変化に変換されるので、反射光ビームをエフシータレンズ18の径方向で検出することにより反射面の回転角度を算出することができ、また、反射面1面相当分のエフシータレンズ18の径方向のスキャン幅も検出することができる。
また、エフシータレンズ18の径方向におけるスキャン回数をカウントすることにより、対応した反射面の数が分るので、ポリゴンミラー13の回転数も算出することができる。
図4は、このエフシータレンズ18を用いてポリゴンミラー13の回転角度を算出する方法を表わしたもので、図4(a)はポリゴンミラー13の回転前の状態を表わしている、また、図4(b)はポリゴンミラー13が回転して、ポリゴンミラー13の複数の反射面からの反射光ビームがラインセンサ19上をスキャンしている状態を表わし、図4(c)はポリゴンミラー13が所定角度回転した後の状態を表わしている。
図において、fはエフシータレンズ18の焦点距離、Lは反射光ビームによるラインセンサ19上のスキャン幅、αはポリゴンミラー13の回転前の状態における反射光ビームのラインセンサ19上のスキャン幅最下端からの位置、βはポリゴンミラー13が所定角度回転した後の、反射光ビームのラインセンサ19上のスキャン幅最上端からの位置、mはラインセンサ19上の反射光ビームによるスキャン回数を表わしている。
なお、前出の図3、及び図4において、ポリゴンミラー13に対する入射側ビームの記載は省略してある。
次に、本発明に係る角度測定装置10の作用について説明する。図5は工作機械等のチルチングテーブルの水平方向を軸とした回転角度を測定する状態を表わしている。チルチングテーブル54は、一端の側面で移動テーブル51の上面に取り付けられた2個のブロック52、52に設けられたピン53、53に回転可能に支持され、他端側で図示しないモータ等の駆動手段によって回転される螺子部材55に当接されており、螺子部材55の回転によりチルチングされるようになっている。
角度測定装置10は、その軸体12をチルチングテーブル54の側面に形成された穴54Aに挿入し、ねじ54Bによって締め付けられてチルチングテーブル54に取り付けられる。
角度測定装置10の軸体12がチルチングテーブル54に固定されると、角度測定装置10は自重によって軸体12を支点として重力方向に垂下する。このため、軸体12に固定されたポリゴンミラー13と重力方向に垂下した筐体11との相対的な角度変化を求めることにより、チルチングテーブル54の角度変化を求めることができる。
この状態で図1に示すように、レーザーダイオード15からレーザー光が照射され、コリメートレンズによってレーザービームBに絞られてポリゴンミラー13に照射される。
ポリゴンミラー13に照射されたレーザービームBはミラー17で方向を変えられてエフシータレンズ18に入射する。ここでレーザービームBはエフシータレンズ18の光軸方向に向きを変えられてラインセンサ19に入射する。ラインセンサ19はこのレーザービームBの位置情報を処理部31に出力し、処理部31では図示しないメモリに初期位置として記憶する。
次に、図示しないモータ等の駆動手段によって螺子部材55が回転され、チルチングテーブル54が所定角度回転する。この間、レーザービームBはラインセンサ19内をスキャンするので、ラインセンサ19の各ピクセルは次々と検出信号を処理部31に出力し、出力された検出信号は処理部31のカウンタ32でカウントされ、このカウント値を基に演算器33がポリゴンミラー13の回転角度、即ちチルチングテーブル54の回転角度を算出する。
なお、ポリゴンミラー13の各面の角度偏差は予め測定しておき、既知のデータとして処理部31に記憶させ、回転角度の算出時にこの偏差分を補正する。
算出された測定結果は角度測定装置10の表示部34に表示されると共に、出力部35から外部に出力される。この出力部35は、角度測定装置10が重力方向に垂下する時に信号線による抵抗なくすため、無線で出力するのが好ましい。同様の理由で、角度測定装置10の筐体11内にバッテリーを搭載し、筐体11内の各部材をバッテリー駆動とすることが好ましい。
このように、図示しない工作機械の制御装置によって制御されるチルチングテーブル54の傾斜精度を容易に測定することができる。
また、図6に示すように、角度測定装置10の軸体12に取り付け面24Aが形成された固定ブロック24をねじ等で取り付け、角度測定装置10を取り付け面24Aで水平面に取り付けたときの、ラインセンサ上におけるレーザービームBの検出位置を記憶しておくことにより(原点位置記憶)、被測定物の水平面に対する傾斜角度も容易に測定することができる。
この場合、被測定物の水平面に対する傾斜角度が小さく、ポリゴンミラー13の反射面1面のみのスキャンで済む場合は、角度測定装置10を固定ブロック24で被測定物に取り付けるだけでよい。
更に、軸体12の固定ブロック24を取り付けた側と逆方向の端面に指標25を設け、前板11Cに角度測定装置10を水平面に取り付けたときに指標25と合致する合いマーク26を付しておくことにより、被測定物の水平面に対する傾斜角度が大きくてポリゴンミラー13の複数の反射面を使用する場合の水平面に対する傾斜角度の測定も行うことができる。
この場合は、角度測定装置10を固定ブロック24の取り付け面24Aで被測定物に取り付け、軸体12に設けた指標25と前板11Cに設けた合いマーク26とが一致する位置に角度測定装置10を回転させて支持し、この位置でラインセンサ19からの信号のカウントを開始する。それから徐々に角度測定装置10の姿勢を重力方向まで戻し、そこまでのカウント値から被測定物の水平面に対する傾斜角度が算出されるようにすればよい。
この場合、処理部31では原点位置記憶で原点を記憶しているので、ラインセンサ19の各ピクセルで検知する信号のカウントを原点からカウントすることができるので、指標25と合いマーク26との一致が多少不正確であっても、精度よく傾斜角度を測定することができる。
また、固定ブロック24の取り付け面24Aにマグネット材を埋設しておけば、角度測定装置10の被測定物への取り付けがより一層容易になる。
なお、前述の実施の形態では、角度検出にレーザー光を用いたが、本発明はレーザー光に限らず集光された光を用いてもよい。
また、前述の実施形態では、被測定物としてチルチングテーブル54の例で説明したが、本発明の角度測定装置10はこれに限らず、種々の被測定物の水平方向を軸とした回転角度や傾きを容易に測定することができる。
10…角度測定装置、11…筐体、12…軸体、13…ポリゴンミラー(平面鏡)、14…検出部、15…レーザーダイオード(投光部)、18…エフシータレンズ、19…ラインセンサ(受光部)、31…処理部、B…レーザービーム(レーザー光)
Claims (4)
- 被測定物の水平方向を軸とした回転角度を測定する角度測定装置において、
該角度測定装置の本体を形成する筐体と、
該筐体に回転自在に支持された軸体と、
該軸体に取り付けられ、軸体と共に回転する平面鏡と、
投光部、入射ビームの角度変化を位置変化に変換するエフシータレンズ、及び受光部とを有し、前記筐体に取り付けられた検出部と、が設けられ、
該検出部では前記投光部より前記平面鏡にレーザー光を出射し、前記平面鏡で反射されたレーザー光をエフシータレンズを介して前記受光部に導くように構成され、
測定時は前記軸体が前記被測定物に固定されることにより、前記筐体が重力方向に垂下し、前記軸体と前記筐体との相対的な回転角度が検出されることを特徴とする角度測定装置。 - 前記平面鏡がポリゴンミラーの1面である、請求項1に記載の角度測定装置。
- 前記受光部がラインセンサである、請求項1又は請求項2に記載の角度測定装置。
- 前記筐体には、前記被測定物の回転角度を演算する処理部が組込まれていることを特徴とする、請求項1、2、又は3のうちいずれか1項に記載の角度測定装置。
Priority Applications (1)
| Application Number | Priority Date | Filing Date | Title |
|---|---|---|---|
| JP2004110134A JP2005292037A (ja) | 2004-04-02 | 2004-04-02 | 角度測定装置 |
Applications Claiming Priority (1)
| Application Number | Priority Date | Filing Date | Title |
|---|---|---|---|
| JP2004110134A JP2005292037A (ja) | 2004-04-02 | 2004-04-02 | 角度測定装置 |
Publications (1)
| Publication Number | Publication Date |
|---|---|
| JP2005292037A true JP2005292037A (ja) | 2005-10-20 |
Family
ID=35325117
Family Applications (1)
| Application Number | Title | Priority Date | Filing Date |
|---|---|---|---|
| JP2004110134A Pending JP2005292037A (ja) | 2004-04-02 | 2004-04-02 | 角度測定装置 |
Country Status (1)
| Country | Link |
|---|---|
| JP (1) | JP2005292037A (ja) |
Cited By (7)
| Publication number | Priority date | Publication date | Assignee | Title |
|---|---|---|---|---|
| US7701564B2 (en) * | 2005-05-18 | 2010-04-20 | Hitachi Global Storage Technologies Netherlands B.V. | System and method for angular measurement |
| JP2012093252A (ja) * | 2010-10-27 | 2012-05-17 | Tokyo Seimitsu Co Ltd | 角度測定方法及び角度測定システム |
| JP2013011631A (ja) * | 2012-10-18 | 2013-01-17 | Tokyo Seimitsu Co Ltd | 角度測定方法及び角度測定システム |
| JP2013079978A (ja) * | 2013-01-23 | 2013-05-02 | Tokyo Seimitsu Co Ltd | 角度測定方法及び角度測定システム |
| JP2015062030A (ja) * | 2014-11-27 | 2015-04-02 | 株式会社東京精密 | 角度測定方法及び角度測定システム |
| US9134145B2 (en) | 2013-04-03 | 2015-09-15 | Tokyo Seimitsu Co., Ltd. | Angle measuring method and angle measuring system |
| US9354088B2 (en) | 2012-02-15 | 2016-05-31 | Tokyo Seimitsu Co., Ltd. | Rotation angle measurement device and rotation angle measurement method |
-
2004
- 2004-04-02 JP JP2004110134A patent/JP2005292037A/ja active Pending
Cited By (10)
| Publication number | Priority date | Publication date | Assignee | Title |
|---|---|---|---|---|
| US7701564B2 (en) * | 2005-05-18 | 2010-04-20 | Hitachi Global Storage Technologies Netherlands B.V. | System and method for angular measurement |
| JP2012093252A (ja) * | 2010-10-27 | 2012-05-17 | Tokyo Seimitsu Co Ltd | 角度測定方法及び角度測定システム |
| US9354088B2 (en) | 2012-02-15 | 2016-05-31 | Tokyo Seimitsu Co., Ltd. | Rotation angle measurement device and rotation angle measurement method |
| US9778075B2 (en) | 2012-02-15 | 2017-10-03 | Tokyo Seimitsu Co., Ltd. | Rotation angle measurement device and rotation angle measurement method |
| JP2013011631A (ja) * | 2012-10-18 | 2013-01-17 | Tokyo Seimitsu Co Ltd | 角度測定方法及び角度測定システム |
| JP2013079978A (ja) * | 2013-01-23 | 2013-05-02 | Tokyo Seimitsu Co Ltd | 角度測定方法及び角度測定システム |
| US9134145B2 (en) | 2013-04-03 | 2015-09-15 | Tokyo Seimitsu Co., Ltd. | Angle measuring method and angle measuring system |
| US9372099B2 (en) | 2013-04-03 | 2016-06-21 | Tokyo Seimitsu Co., Ltd. | Angle measuring method and angle measuring system |
| US9574908B2 (en) | 2013-04-03 | 2017-02-21 | Tokyo Seimitsu Co., Ltd. | Angle measuring method and angle measuring system |
| JP2015062030A (ja) * | 2014-11-27 | 2015-04-02 | 株式会社東京精密 | 角度測定方法及び角度測定システム |
Similar Documents
| Publication | Publication Date | Title |
|---|---|---|
| JP6560596B2 (ja) | 測量装置 | |
| EP2056066B1 (en) | Surveying Instrument | |
| EP3696498B1 (en) | Surveying instrument and method of calibrating a survey instrument | |
| EP2075530A2 (en) | Surveying instrument and surveying compensation method | |
| US10816665B2 (en) | Surveying system | |
| EP1321739B1 (en) | Position measuring instrument | |
| CN105890578A (zh) | 姿势检测装置以及数据取得装置 | |
| CN108291809A (zh) | 用于检验和/或校准旋转激光器的竖直轴线的方法 | |
| EP3767232B1 (en) | Three-dimensional survey apparatus, three-dimensional survey method, and three-dimensional survey program | |
| US10267659B2 (en) | Angle detecting device and surveying instrument | |
| JP6753961B2 (ja) | レーザー受信機に入射する受信ビームと回転レーザービームを比較するための方法 | |
| EP4134620A1 (en) | Tilt sensor and data acquring device | |
| EP3187822B1 (en) | Surface shape measuring device | |
| CN101960257B (zh) | 用于测量仪的倾角传感器 | |
| JP2021067612A (ja) | スキャナ装置 | |
| US20230305152A2 (en) | Three-dimensional survey apparatus, three-dimensional survey method, and three-dimensional survey program | |
| JP2005292037A (ja) | 角度測定装置 | |
| CN109764952B (zh) | 一种轴抖动检测、转速测量方法 | |
| US11692823B2 (en) | Three-dimensional survey apparatus, three-dimensional survey method, and three-dimensional survey program | |
| US7193730B2 (en) | Eccentricity measuring instrument of polygon-mirror motor | |
| EP3795946B1 (en) | Three-dimensional survey apparatus, three-dimensional survey method, and three-dimensional survey program | |
| JP4418712B2 (ja) | 傾き測定器 | |
| JP2017134059A (ja) | 入れ子構造において回転子を含む3d測定デバイス | |
| JP4745733B2 (ja) | 電子レベル | |
| JP2011080962A (ja) | 振れ計測装置及び振れ計測方法 |