JP2005291933A - Mobile communication terminal, information display method thereof, and error correction method of geomagnetic sensor - Google Patents

Mobile communication terminal, information display method thereof, and error correction method of geomagnetic sensor Download PDF

Info

Publication number
JP2005291933A
JP2005291933A JP2004107770A JP2004107770A JP2005291933A JP 2005291933 A JP2005291933 A JP 2005291933A JP 2004107770 A JP2004107770 A JP 2004107770A JP 2004107770 A JP2004107770 A JP 2004107770A JP 2005291933 A JP2005291933 A JP 2005291933A
Authority
JP
Japan
Prior art keywords
gps signal
information
display
geomagnetic sensor
accuracy
Prior art date
Legal status (The legal status is an assumption and is not a legal conclusion. Google has not performed a legal analysis and makes no representation as to the accuracy of the status listed.)
Granted
Application number
JP2004107770A
Other languages
Japanese (ja)
Other versions
JP4093981B2 (en
Inventor
Shigeo Okeya
成生 桶屋
Current Assignee (The listed assignees may be inaccurate. Google has not performed a legal analysis and makes no representation or warranty as to the accuracy of the list.)
Kyocera Corp
Original Assignee
Kyocera Corp
Priority date (The priority date is an assumption and is not a legal conclusion. Google has not performed a legal analysis and makes no representation as to the accuracy of the date listed.)
Filing date
Publication date
Application filed by Kyocera Corp filed Critical Kyocera Corp
Priority to JP2004107770A priority Critical patent/JP4093981B2/en
Priority to CN200580016638.3A priority patent/CN1957228B/en
Priority to KR1020067022864A priority patent/KR100790603B1/en
Priority to PCT/JP2005/006332 priority patent/WO2005095892A1/en
Priority to US10/599,540 priority patent/US7912640B2/en
Publication of JP2005291933A publication Critical patent/JP2005291933A/en
Application granted granted Critical
Publication of JP4093981B2 publication Critical patent/JP4093981B2/en
Anticipated expiration legal-status Critical
Expired - Fee Related legal-status Critical Current

Links

Images

Landscapes

  • Navigation (AREA)
  • Mobile Radio Communication Systems (AREA)
  • Telephone Function (AREA)
  • Instructional Devices (AREA)
  • Controls And Circuits For Display Device (AREA)
  • Traffic Control Systems (AREA)
  • Position Fixing By Use Of Radio Waves (AREA)

Abstract

<P>PROBLEM TO BE SOLVED: To provide a portable communication terminal for giving more effective azimuth information to a user, and to provide an information display method of the portable information terminal, and the error correction method of a terrestrial magnetism sensor. <P>SOLUTION: If the level of a GPS signal received by a GPS signal reception section 151 is monitored and it is detected that the level goes below a prescribed value when azimuth information is being displayed at a display section 155, it is determined that a cellular phone unit 100 is inside a building, and the display section 155 indicates that the precision of the azimuth information at the display section 155 is low, thus allowing a user to appropriately grasp whether the precision in the azimuth information being displayed is low. <P>COPYRIGHT: (C)2006,JPO&NCIPI

Description

本発明は、地理的方位を測定するための地磁気センサを備えた携帯電話機等の携帯通信端末とその情報表示方法、地磁気センサの誤差補正方法に関するものである。   The present invention relates to a mobile communication terminal such as a mobile phone provided with a geomagnetic sensor for measuring a geographical orientation, an information display method thereof, and an error correction method of the geomagnetic sensor.

従来から、現在地の地理的位置を確認したり、目的地までの道のりを地図によって案内する装置への要望があり、こうした要望を満たすものとして、カーナビゲーション装置が知られている。   Conventionally, there has been a demand for a device that confirms the geographical position of the current location and guides the route to the destination by a map, and a car navigation device is known as a device that satisfies such a demand.

一般に、カーナビゲーション装置は、複数のGPS(global positioning system)衛星から送出される信号(以降、GPS信号と表記する)を受信して処理することにより現在地の地理的位置を割り出し、この現在地周辺の地図データを装置内の記憶部(DVDやハードディスク等)に格納されたデータベースから読み出して、ディスプレイに表示させている。また、車速センサとジャイロセンサを用いて車の移動軌跡を算出し、これと地図上における道路との一致程度を検出するマップマッチング処理を行って、測位の誤差を補正している。   In general, a car navigation device receives and processes signals (hereinafter referred to as GPS signals) transmitted from a plurality of GPS (global positioning system) satellites to determine the geographical position of the current location, and Map data is read from a database stored in a storage unit (DVD, hard disk, etc.) in the apparatus and displayed on a display. In addition, a vehicle movement trajectory is calculated using a vehicle speed sensor and a gyro sensor, and a map matching process is performed to detect the degree of coincidence between this and the road on the map, thereby correcting the positioning error.

しかしながら、車に乗っていないときでも自らの位置を把握し、目的地までの道のりを知りたいという要望があり、こうした要望を満たすものとして、携帯電話機に簡易的なナビゲーション機能を搭載したものが登場している。   However, even when not in a car, there is a request to know the position of itself and know the way to the destination, and a mobile phone equipped with a simple navigation function appears to satisfy these requests doing.

当初、ナビゲーション機能付き携帯電話機には、方位を測定するための装置が省略されていたため、カーナビゲーション装置で一般的に行われているヘディングアップ表示(進行方向が画面の上部に向かうように地図を回転させる表示)のような使用者にとって分かり易い地図表示が困難であった。   Initially, mobile phones with a navigation function did not have a device for measuring the direction, so a heading-up display commonly used in car navigation devices (a map with the direction of travel toward the top of the screen) It is difficult to display a map that is easy to understand for the user, such as a rotating display.

そこで、近年では、地磁気センサを用いて方位の測定を行い、ヘディングアップ表示を可能にしたナビゲーション機能付きの携帯電話機が提案されている。
特開2004−28837号公報 特開2002−328042号公報 特開平10−197258号公報
Therefore, in recent years, a mobile phone with a navigation function has been proposed in which heading-up display is possible by measuring the direction using a geomagnetic sensor.
JP 2004-28837 A JP 2002-328042 A JP-A-10-197258

しかしながら、建物の鉄筋や電車の駆動系などは地磁気センサの検出誤差となる強い磁界を発生するため、街中で歩行者が携帯電話機のナビゲーション機能を用いると、しばしば、このような外部磁界の影響により方位の精度が低下してしまうことがある。   However, building rebars and train drive systems generate strong magnetic fields that cause geomagnetic sensor detection errors. When pedestrians use mobile phone navigation functions in town, they are often affected by external magnetic fields. The direction accuracy may be reduced.

一方、携帯電話機では、サイズやコストの制約から、例えばカーナビゲーション装置におけるジャイロセンサを用いた移動方向の検出などのように、地磁気センサ以外の検出方法を用いて方位の測定誤差を補正することが困難である。したがって、地磁気センサの検出誤差がそのまま方位の精度低下につながってしまうという不利益がある。   On the other hand, in mobile phones, due to size and cost constraints, it is possible to correct azimuth measurement errors using a detection method other than a geomagnetic sensor, such as detection of a moving direction using a gyro sensor in a car navigation device. Have difficulty. Therefore, there is a disadvantage that the detection error of the geomagnetic sensor leads to a decrease in the accuracy of the azimuth as it is.

本発明はかかる事情に鑑みてなされたものであり、その目的は、より有効な方位の情報をユーザに与えることができる携帯通信端末とその情報表示方法を提供することにある。また、本発明の他の目的は、地磁気センサを用いて精度良く方位を求めることができる携帯通信端末を提供すること、ならびに、携帯通信端末においてより精度よく方位を求めることを可能にする地磁気センサの誤差補正方法を提供することにある。   The present invention has been made in view of such circumstances, and an object of the present invention is to provide a mobile communication terminal and an information display method thereof that can give a user more effective azimuth information. Another object of the present invention is to provide a mobile communication terminal capable of obtaining an azimuth with high accuracy using a geomagnetic sensor, and to obtain a azimuth with higher accuracy in the mobile communication terminal. An error correction method is provided.

本発明の第1の発明は、地磁気を検出する地磁気センサと、GPS信号を受信するGPS信号受信手段と、表示手段と、上記地磁気センサの検出値に基づいて地理的方位を算出し、該算出した方位の情報と、上記GPS信号受信手段において受信されるGPS信号に基づいて特定される現在地の地理的位置の情報とを上記表示手段に表示させる制御手段とを有する携帯通信端末であって、上記制御手段は、上記方位の情報を上記表示手段に表示させているとき、上記GPS信号受信手段において受信されるGPS信号のレベルを監視し、該レベルが所定の値より低くなったことを検知した場合、上記表示手段における方位の情報の表示を停止させる、および/または、方位の情報の精度が低いことを上記表示手段に示す。   According to a first aspect of the present invention, a geomagnetic sensor for detecting geomagnetism, a GPS signal receiving means for receiving a GPS signal, a display means, and a geographical direction based on a detection value of the geomagnetic sensor are calculated, and the calculation is performed. A mobile communication terminal having control means for causing the display means to display information on the azimuth and the information on the geographical position of the current location specified based on the GPS signal received by the GPS signal receiving means, The control means monitors the level of the GPS signal received by the GPS signal receiving means when displaying the direction information on the display means, and detects that the level has become lower than a predetermined value. In this case, the display means stops the display of the direction information and / or indicates that the accuracy of the direction information is low.

上記制御手段は、上記GPS信号に基づいて特定される現在地の周辺の地図を上記表示手段に表示させ、上記表示手段の表示画面上における上記地図の向きを上記算出した方位に応じて制御する処理を行い、該処理中に、上記GPS信号のレベルが上記所定の値より低くなった場合、上記地図の向きの制御を停止して、上記地図上の所定の方位を上記表示画面上の所定の方向に固定しても良い。   The control means causes the display means to display a map around the current location specified based on the GPS signal, and controls the orientation of the map on the display screen of the display means in accordance with the calculated azimuth. When the level of the GPS signal becomes lower than the predetermined value during the processing, the control of the orientation of the map is stopped, and the predetermined direction on the map is changed to a predetermined value on the display screen. It may be fixed in the direction.

上記第1の発明は、無線通信手段を有しても良く、上記地理的位置の情報は、現在地の周辺の地図の画像情報であっても良い。そして、上記制御手段は、上記算出した方位に応じた地図の画像情報を、上記無線通信手段を介して所定の情報供給元から取得して上記表示手段に表示させる処理を行い、該処理中に、上記GPS信号のレベルが上記所定の値より低くなった場合、上記算出した方位とは関係なく予め設定された方位の地図の画像情報を、上記無線通信手段を介して上記情報供給元から取得して上記表示手段に表示させても良い。   The first invention may include wireless communication means, and the geographical position information may be image information of a map around the current location. Then, the control means performs processing for acquiring map image information corresponding to the calculated direction from a predetermined information supply source via the wireless communication means and displaying the information on the display means. When the level of the GPS signal is lower than the predetermined value, image information of a map with a preset orientation is acquired from the information supply source via the wireless communication means regardless of the calculated orientation. Then, it may be displayed on the display means.

上記制御手段は、上記GPS信号のレベルが上記所定の値より低くなったことに応じて、上記表示手段における方位の情報の表示を停止させ、および/または、方位の情報の精度が低いことを示す情報を上記表示手段に表示させた後、上記GPS信号のレベルが上記所定の値より高くなった場合、上記表示手段における上記方位の情報の表示を再開する、および/または、方位の情報の精度が回復したことを上記表示手段に示しても良い。   The control means stops the display of the direction information on the display means and / or the accuracy of the direction information is low in response to the level of the GPS signal being lower than the predetermined value. After displaying the information to be displayed on the display means, when the level of the GPS signal becomes higher than the predetermined value, the display of the direction information on the display means is resumed and / or the direction information is displayed. The display means may indicate that the accuracy has been recovered.

上記制御手段は、上記GPS信号のレベルが上記所定の値より低くなったことに応じて上記地図の向きの制御を停止した後、上記GPS信号のレベルが上記所定の値より高くなった場合、上記地図の向きの制御を再開させても良い。   The control means stops the control of the orientation of the map in response to the GPS signal level being lower than the predetermined value, and then the GPS signal level is higher than the predetermined value. Control of the map orientation may be resumed.

上記制御手段は、上記GPS信号のレベルが上記所定の値より高くなり、かつ、上記方位の算出結果の所定時間における変動幅が所定範囲内に収まる場合に、上記表示手段における上記方位の情報の表示を再開する、および/または、方位の情報の精度が回復したことを上記表示手段に示しても良い。   When the GPS signal level is higher than the predetermined value and the fluctuation range of the calculation result of the azimuth is within a predetermined range, the control means The display unit may indicate that the display is resumed and / or that the accuracy of the orientation information has been restored.

上記制御手段は、上記GPS信号のレベルが上記所定の値より高くなり、かつ、上記方位の算出結果の所定時間における変動幅が所定範囲内に収まる場合に、上記地図の向きの制御を再開しても良い。   The control means resumes the control of the orientation of the map when the level of the GPS signal is higher than the predetermined value and the fluctuation range of the calculation result of the azimuth is within a predetermined range. May be.

本発明の第2の発明は、地磁気を検出する地磁気センサと、GPS信号を受信するGPS信号受信手段と、表示手段と、上記地磁気センサの検出値に基づいて地理的方位を算出し、該算出した方位の情報と、上記GPS信号受信手段において受信されるGPS信号に基づいて特定される現在地の地理的位置の情報とを上記表示手段に表示させる処理、および、上記地磁気センサのオフセット誤差を検出して補正するオフセット誤差補正処理を行う制御手段と、を有する携帯通信端末であって、上記制御手段は、上記方位の情報を上記表示手段に表示させているとき、上記GPS信号受信手段において受信されるGPS信号のレベルを監視し、該レベルが所定の値より低くなったことを検知した場合、上記オフセット誤差補正処理を禁止する。   According to a second aspect of the present invention, a geomagnetic sensor for detecting geomagnetism, a GPS signal receiving means for receiving a GPS signal, a display means, and a geographical direction based on a detection value of the geomagnetic sensor are calculated, and the calculation is performed. Processing for displaying on the display means information on the azimuth and the geographical position of the current location specified based on the GPS signal received by the GPS signal receiving means, and detecting an offset error of the geomagnetic sensor And a control means for performing an offset error correction process for correcting the information, wherein the control means receives the information on the azimuth on the display means when the GPS signal reception means receives the information. The level of the GPS signal to be monitored is monitored, and when the level is detected to be lower than a predetermined value, the offset error correction process is prohibited.

上記制御手段は、上記GPS信号のレベルが上記所定の値より低くなったことに応じて、上記オフセット成分の補正処理を禁止した後、上記GPS信号のレベルが上記所定の値より高くなった場合、上記オフセット誤差補正処理の禁止を解除しても良い。   The control means prohibits the offset component correction processing in response to the GPS signal level being lower than the predetermined value, and then the GPS signal level is higher than the predetermined value. The prohibition of the offset error correction process may be lifted.

上記制御手段は、上記GPS信号のレベルが上記所定の値より高くなり、かつ、上記方位の算出結果の所定時間における変動幅が所定範囲内に収まる場合に、上記オフセット誤差補正処理の禁止を解除しても良い。   The control means cancels the prohibition of the offset error correction processing when the level of the GPS signal is higher than the predetermined value and the fluctuation range of the calculation result of the azimuth is within a predetermined range. You may do it.

上記制御手段は、上記GPS信号のレベルが上記所定の値より低くなった場合、上記地磁気センサの動作を停止させても良い。   The control means may stop the operation of the geomagnetic sensor when the level of the GPS signal becomes lower than the predetermined value.

本発明の第3の発明は、地磁気を検出する地磁気センサと、GPS信号を受信するGPS信号受信手段と、上記地磁気センサの検出値に基づいて算出される地理的方位の情報と、上記GPS信号受信手段において受信されるGPS信号に基づいて特定される現在地の地理的位置の情報とを表示する表示手段とを有する携帯通信端末において情報を表示する携帯通信端末の情報表示方法であって、上記方位の情報が上記表示手段に表示されているときに、上記GPS信号受信手段において受信されるGPS信号のレベルが所定の値より低くなるか否か監視する第1の工程と、上記第1の工程において上記GPS信号のレベルが上記所定の値より低くなったことを検知した場合、上記表示手段における方位の情報の表示を停止させる、および/または、方位の情報の精度が低いことを上記表示手段に示す第2の工程とを有する。   According to a third aspect of the present invention, there is provided a geomagnetic sensor for detecting geomagnetism, a GPS signal receiving means for receiving a GPS signal, information on a geographical direction calculated based on a detection value of the geomagnetic sensor, and the GPS signal. An information display method for a mobile communication terminal for displaying information on a mobile communication terminal having display means for displaying information on a geographical position of a current location specified based on a GPS signal received by a receiving means, A first step of monitoring whether the level of the GPS signal received by the GPS signal receiving means is lower than a predetermined value when the direction information is displayed on the display means; If it is detected in the process that the level of the GPS signal is lower than the predetermined value, the display of the direction information on the display means is stopped and / or Includes a second step shown in the display means that the accuracy of the information of the bearing is low.

本発明の第4の発明は、地磁気を検出する地磁気センサと、GPS信号を受信するGPS信号受信手段と、上記地磁気センサの検出値に基づいて算出される地理的方位の情報と、上記GPS信号受信手段において受信されるGPS信号に基づいて特定される現在地の地理的位置の情報とを表示する表示手段とを有する携帯通信端末において、上記地磁気センサの誤差を補正する地磁気センサの誤差補正方法であって、上記方位の情報を上記表示手段に表示させているときに、上記GPS信号受信手段において受信されるGPS信号のレベルが所定の値より低くなるか否か監視する第1の工程と、上記第1の工程において上記GPS信号のレベルが上記所定の値より低くなったことを検知した場合、上記地磁気センサのオフセット誤差を検出して補正する処理を禁止する第2の工程とを有する。   According to a fourth aspect of the present invention, there is provided a geomagnetic sensor for detecting geomagnetism, a GPS signal receiving means for receiving a GPS signal, information on a geographical direction calculated based on a detection value of the geomagnetic sensor, and the GPS signal. An error correction method for a geomagnetic sensor for correcting an error of the geomagnetic sensor in a portable communication terminal having display means for displaying information on a geographical position of a current location specified based on a GPS signal received by a receiving means A first step of monitoring whether or not a level of the GPS signal received by the GPS signal receiving means is lower than a predetermined value when the information on the azimuth is displayed on the display means; When it is detected in the first step that the level of the GPS signal is lower than the predetermined value, an offset error of the geomagnetic sensor is detected. And a second step of prohibiting a process of correcting.

本発明によれば、方位の精度に関連する情報を含んだ、より有効な方位の情報をユーザに提供できる。   According to the present invention, more effective azimuth information including information related to azimuth accuracy can be provided to the user.

以下、ナビゲーション機能や撮像機能を有する多機能型の携帯電話機に本発明を適用した場合の一実施形態について、図面を参照しながら述べる。   Hereinafter, an embodiment in which the present invention is applied to a multi-function mobile phone having a navigation function and an imaging function will be described with reference to the drawings.

図1は、本発明の実施形態に係る携帯電話機100において地理的位置および地図の情報を取得するためのシステムの構成例を示すブロック図である。   FIG. 1 is a block diagram illustrating a configuration example of a system for acquiring geographical position and map information in the mobile phone 100 according to the embodiment of the present invention.

携帯電話機100は、既知の軌道を周回する3つまたはそれ以上のGPS衛星200から送信されるGPS信号を受信する。そして、受信したGPS信号に関する情報を、基地局300から通信網を経由してGPSサーバ装置401に送信し、現在地の位置情報をGPSサーバ装置401から取得する。
また、携帯電話機100は、GPSサーバ装置401から取得した現在地の位置情報を、基地局300から通信網を経由してナビゲーションサーバ装置402に送信し、現在地周辺の地図の情報をナビゲーションサーバ装置402から取得する。
The mobile phone 100 receives GPS signals transmitted from three or more GPS satellites 200 that go around a known orbit. Then, the received information on the GPS signal is transmitted from the base station 300 to the GPS server device 401 via the communication network, and the current location information is acquired from the GPS server device 401.
In addition, the mobile phone 100 transmits the location information of the current location acquired from the GPS server device 401 from the base station 300 to the navigation server device 402 via the communication network, and the map information around the current location is transmitted from the navigation server device 402. get.

GPSサーバ装置401は、通信網を介して携帯電話機100から送られてくるGPS信号の情報に基づいて、携帯電話機100の地理的な位置(例えば緯度や経度など)を算出する。そして、算出した位置情報を、通信網から基地局300を経由して携帯電話機100に送信する。   The GPS server device 401 calculates the geographical position (for example, latitude and longitude) of the mobile phone 100 based on the information of the GPS signal sent from the mobile phone 100 via the communication network. Then, the calculated position information is transmitted from the communication network to the mobile phone 100 via the base station 300.

ナビゲーションサーバ装置402は、通信網を介して携帯電話機100から送られてくる位置情報に基づいて、携帯電話機100周辺の地図の情報をデータベースから検索する。そして、検索した地図情報を、通信網から基地局300を経由して携帯電話機100に送信する。   The navigation server device 402 searches the database for map information around the mobile phone 100 based on the position information sent from the mobile phone 100 via the communication network. Then, the searched map information is transmitted from the communication network to the mobile phone 100 via the base station 300.

図2、図3、および図4は、携帯電話機100の外観の一例を示す図である。
図2は、開いた状態にある携帯電話機100の斜視図であり、図3は、閉じた状態にある携帯電話機100の一側面からの斜視図であり、図4は、閉じた状態にある携帯電話機100の他の側面からの斜視図である。
2, 3, and 4 are diagrams illustrating an example of the appearance of the mobile phone 100.
2 is a perspective view of the mobile phone 100 in the open state, FIG. 3 is a perspective view from one side of the mobile phone 100 in the closed state, and FIG. 4 is a mobile phone in the closed state. 4 is a perspective view from the other side of the telephone 100. FIG.

携帯電話機100は、図に示すように、第1筐体(上部筐体)2と、第2筐体(下部筐体)3とが、可動機構部4を介して開閉自在(回転自在)に連結されている。
なお、可動機構部4は、所定の回転軸を中心に、第1筐体2と第2筐体3の2つの筐体を相対的に回転可能に構成される。
As shown in the figure, in the mobile phone 100, a first casing (upper casing) 2 and a second casing (lower casing) 3 are openable and closable (movable) via a movable mechanism section 4. It is connected.
In addition, the movable mechanism part 4 is comprised so that two housings, the 1st housing | casing 2 and the 2nd housing | casing 3, can rotate relatively centering on the predetermined | prescribed rotating shaft.

第1筐体2は、図2および図3に示すように、可動機構部4の作動状態(開状態、閉状態)にかかわりなく露出する第1面2aに例えばLCD(liquid crystal display)パネルや有機EL(electroluminescent)ディスプレイパネルからなる表示パネル21が配置される。この表示パネル21の図2中の上部には、スピーカ22が内蔵されている。
表示パネル21は、後述する表示部155に含まれる。また、スピーカ22は、後述する音声処理部156に含まれる。
As shown in FIGS. 2 and 3, the first housing 2 has, for example, an LCD (liquid crystal display) panel or the like on the first surface 2a exposed regardless of the operating state (open state, closed state) of the movable mechanism unit 4. A display panel 21 including an organic EL (electroluminescent) display panel is disposed. A speaker 22 is built in the upper portion of the display panel 21 in FIG.
The display panel 21 is included in a display unit 155 described later. The speaker 22 is included in an audio processing unit 156 described later.

第2筐体3は、内部に基板が実装される基板実装筐体31と、基板実装筐体31の蓋体をなす蓋側筐体32とを重ね合わせて構成されている。   The second housing 3 is configured by superimposing a substrate mounting housing 31 on which a substrate is mounted and a lid side housing 32 forming a lid of the substrate mounting housing 31.

第2筐体3の基板実装筐体31の外平面31a、すなわち閉状態時に第1筐体2の一面と対向する面31aには、テンキーボタン311aと、カーソルボタン311bと、決定ボタン311cとを有する操作キー311が配置されている。そして、操作キー311の図2中の下部には、マイクロフォン312が内蔵されている。
操作キー311は、後述するキー入力部154に含まれる。また、マイクロフォン312は、後述する音声処理部156に含まれる。
A numeric keypad button 311a, a cursor button 311b, and an enter button 311c are provided on the outer flat surface 31a of the board mounting housing 31 of the second housing 3, that is, the surface 31a that faces one surface of the first housing 2 in the closed state. The operation key 311 is provided. A microphone 312 is built in the lower part of the operation key 311 in FIG.
The operation key 311 is included in a key input unit 154 described later. The microphone 312 is included in an audio processing unit 156 described later.

第2筐体3の蓋側筐体32において開状態、閉状態にかかわりなく露出する外平面32bには、図4に示すように、その中央部より可動機構部4の連結部に近い側に、カメラモジュール34の光学系34aが配置されている。
また、第2筐体3の蓋側筐体32の外平面32aにおいて、光学系34aより更に連結部に近い側には、光学系34aと並列に、内蔵のフラッシュランプによる閃光を外部に放射するための発光窓321と、接写時等に撮影補助としての白色光を放射するための発光窓322が配置されている。
カメラモジュール34は、後述する撮像部157に含まれる。
As shown in FIG. 4, the outer flat surface 32 b exposed in the lid-side housing 32 of the second housing 3 regardless of the open state and the closed state is closer to the side closer to the connecting portion of the movable mechanism portion 4 than the center portion thereof. The optical system 34a of the camera module 34 is disposed.
In addition, on the outer plane 32a of the lid side housing 32 of the second housing 3, the flash light from the built-in flash lamp is radiated to the outside in parallel with the optical system 34a on the side closer to the coupling portion than the optical system 34a. A light emitting window 321 for emitting white light as a photographing assistance during close-up photography or the like is disposed.
The camera module 34 is included in an imaging unit 157 described later.

第2筐体3の一側部には、図2および図3に示すように、カメラモジュール用タクトスイッチ35が配置されており、第2筐体3の他方の側部には、連結部に近い側に、メモリカードを挿入するためのメモリカード用スロット33が形成されている。   As shown in FIGS. 2 and 3, a camera module tact switch 35 is disposed on one side of the second housing 3, and a connecting portion is provided on the other side of the second housing 3. A memory card slot 33 for inserting a memory card is formed on the near side.

図5は、基板実装筐体31の内部31bにおける基板実装状態を示す斜視図である。
図5に示すように、基板実装筐体31の内部31bには、その底面部全体にわたって、メイン基板37が装着される。
メイン基板37上においてメモリカード用スロット33に面する位置には、着脱可能なメモリカードが装着されるメモリカード部159が実装される。
また、このメモリカード部159に隣接するメイン基板37の中央寄りの位置には、地磁気センサ158が実装される。
FIG. 5 is a perspective view showing a substrate mounting state in the inside 31 b of the substrate mounting housing 31.
As shown in FIG. 5, the main board 37 is attached to the inside 31 b of the board mounting housing 31 over the entire bottom surface.
A memory card unit 159 to which a removable memory card is mounted is mounted on the main board 37 at a position facing the memory card slot 33.
A geomagnetic sensor 158 is mounted at a position near the center of the main board 37 adjacent to the memory card unit 159.

図6は、本発明の実施形態に係る携帯電話機100の構成例を示すブロック図である。
図6に例示する携帯電話機100は、無線通信部150と、GPS信号受信部151と、記憶部152と、開閉判定部153と、キー入力部154と、表示部155と、音声入出力部156と、撮像部157と、地磁気センサ158と、メモリカード部159と、制御部160とを有する。
無線通信部150は、本発明の無線通信手段の一実施形態である。
GPS信号受信部151は、本発明のGPS信号受信手段の一実施形態である。
GPS信号受信部151および無線通信部150は、本発明の位置情報取得手段の一実施形態である。
開閉判定部153は、本発明の作動状態判定手段の一実施形態である。
表示部155は、本発明の表示手段の一実施形態である。
地磁気センサ158は、本発明の地磁気センサの一実施形態である。
メモリカード部159は、本発明の記憶媒体装着手段の一実施形態である。
制御部160は、本発明の制御手段の一実施形態である。
FIG. 6 is a block diagram illustrating a configuration example of the mobile phone 100 according to the embodiment of the present invention.
A mobile phone 100 illustrated in FIG. 6 includes a wireless communication unit 150, a GPS signal reception unit 151, a storage unit 152, an open / close determination unit 153, a key input unit 154, a display unit 155, and a voice input / output unit 156. An imaging unit 157, a geomagnetic sensor 158, a memory card unit 159, and a control unit 160.
The wireless communication unit 150 is an embodiment of the wireless communication means of the present invention.
The GPS signal receiving unit 151 is an embodiment of the GPS signal receiving means of the present invention.
The GPS signal receiving unit 151 and the wireless communication unit 150 are an embodiment of the position information acquisition unit of the present invention.
The open / close determining unit 153 is an embodiment of the operating state determining means of the present invention.
The display unit 155 is an embodiment of the display means of the present invention.
The geomagnetic sensor 158 is an embodiment of the geomagnetic sensor of the present invention.
The memory card unit 159 is an embodiment of the storage medium mounting means of the present invention.
The control unit 160 is an embodiment of the control means of the present invention.

無線通信部150は、基地局300との間の無線通信に関する処理を行う。例えば、制御部160から出力される送信データに所定の変調処理を施して無線信号に変換し、アンテナから送出する。また、アンテナにおいて受信された無線信号に所定の復調処理を施して受信データを再生し、制御部160に出力する。
また、無線通信部150は、位置情報取得手段として、基地局300から送出される測位用の基準信号を受信しする処理も行う。
The wireless communication unit 150 performs processing related to wireless communication with the base station 300. For example, the transmission data output from the control unit 160 is subjected to predetermined modulation processing to be converted into a radio signal and transmitted from the antenna. Also, the radio signal received by the antenna is subjected to a predetermined demodulation process to reproduce the received data and output it to the control unit 160.
The wireless communication unit 150 also performs processing for receiving a positioning reference signal transmitted from the base station 300 as position information acquisition means.

GPS信号受信部151は、GPS衛星20から送出されるGPS信号を受信して増幅、ノイズ除去、変調等の信号処理を施し、GPSサーバ装置401において携帯電話機100の地理的位置を算出するために必要な情報を取得する。   The GPS signal receiving unit 151 receives a GPS signal transmitted from the GPS satellite 20, performs signal processing such as amplification, noise removal, and modulation, and calculates the geographical position of the mobile phone 100 in the GPS server device 401. Get the information you need.

記憶部152は、制御部160において実行されるプログラムや、制御部160の処理で用いられる定数データ、一時的に記憶が必要な変数データ、撮像画像データなどを記憶する。   The storage unit 152 stores a program executed by the control unit 160, constant data used in processing of the control unit 160, variable data that needs to be temporarily stored, captured image data, and the like.

開閉判定部153は、可動機構部4による第1筐体2および第2筐体3の回転の状態が、上述した開状態または閉状態の何れであるかを判定する。
例えば、開閉判定部153は、第1筐体2と第2筐体3とが重なった状態になる閉状態を検出するスイッチ等の検出器を含んでおり、閉状態とそれ以外の状態とを判別する。
The open / close determination unit 153 determines whether the rotation state of the first housing 2 and the second housing 3 by the movable mechanism unit 4 is the open state or the closed state described above.
For example, the open / close determination unit 153 includes a detector such as a switch that detects a closed state in which the first housing 2 and the second housing 3 overlap each other. Determine.

キー入力部154は、上述した操作キー311やカメラモジュール用タクトスイッチ35に対してキーを押下する等の入力操作が行われた場合、これに応じた信号を発生して制御部160に出力する。   When an input operation such as pressing a key is performed on the operation key 311 or the camera module tact switch 35 described above, the key input unit 154 generates a signal corresponding to this and outputs it to the control unit 160. .

表示部155は、制御部160において生成される画像データに応じた画像を表示パネル21に表示させる。   The display unit 155 displays an image corresponding to the image data generated by the control unit 160 on the display panel 21.

音声処理部156は、入力される音声をマイクロフォン312において電気的な音声信号に変換して増幅、アナログ−デジタル変換、符号化等の信号処理を施し、その処理結果の音声データを制御部160へ出力する。また、制御部160から入力される音声データに復号化、デジタル−アナログ変換、増幅等の信号処理を施して音声信号を生成し、これをスピーカ22において音声に変換する。   The sound processing unit 156 converts the input sound into an electric sound signal by the microphone 312, performs signal processing such as amplification, analog-digital conversion, and encoding, and outputs the sound data of the processing result to the control unit 160. Output. In addition, the audio data input from the control unit 160 is subjected to signal processing such as decoding, digital-analog conversion, and amplification to generate an audio signal, which is converted into audio by the speaker 22.

撮像部157は、上述した光学系34aにおいて入射した像を撮像して静止画や動画の画像データを生成し、制御部160に出力する。また、制御部160の制御に従って、撮像時にフラッシュランプを点灯させ、発光窓321から放射させる。   The imaging unit 157 captures an incident image in the optical system 34 a described above, generates still image data or moving image image data, and outputs the image data to the control unit 160. Further, according to the control of the control unit 160, the flash lamp is turned on at the time of imaging, and is emitted from the light emission window 321.

地磁気センサ158は、方位の算出に用いる地磁気を検出する。
例えば図5に示すように、地磁気センサ158は、メイン基板37上の固定された位置において、互いに直交する3つの方向の地磁気を検出する。すなわち、メイン基板37上に設定された所定の3軸の座標系を基準として、その各軸方向の地磁気を検出する。地磁気の検出には、例えばコイルの励磁を利用する方法や、ホール効果を利用する方法、磁気抵抗素子を利用する方法など、種々の方法が用いられる。
The geomagnetic sensor 158 detects the geomagnetism used for calculating the azimuth.
For example, as shown in FIG. 5, the geomagnetic sensor 158 detects geomagnetism in three directions orthogonal to each other at a fixed position on the main board 37. That is, the geomagnetism in each axial direction is detected using a predetermined three-axis coordinate system set on the main board 37 as a reference. For the detection of geomagnetism, various methods such as a method using excitation of a coil, a method using the Hall effect, and a method using a magnetoresistive element are used.

本実施形態では、一例として、地磁気センサ158がアナログ−デジタル変換器を搭載しており、上述のような方法で得られる地磁気のアナログ信号を8ビットのデジタル信号に変換して出力するものとする。すなわち、3方向の地磁気の検出値を、それぞれ‘0’から‘255’までの整数値として出力するものとする。   In this embodiment, as an example, the geomagnetic sensor 158 includes an analog-digital converter, which converts a geomagnetic analog signal obtained by the above method into an 8-bit digital signal and outputs it. . That is, the detected values of geomagnetism in three directions are output as integer values from “0” to “255”, respectively.

制御部160は、記憶部152に格納されるプログラムに基づいて処理を実行するコンピュータを有しており、携帯電話機100の全体的な動作に関わる種々の処理を行う。
例えば、電話機の機能に関連する処理として、キー入力部154におけるキー入力操作に応じて無線通信部150の発呼、着信のシーケンスを制御する処理や、音声処理部156において入出力される音声データを無線通信部150において送受信させる処理を行う。
データ通信機能に関連する処理としては、キー入力部154におけるキー入力操作に応じて無線通信部150を動作させて、所定のメールサーバ装置と通信を行い、電子メール等のデータのやりとりする処理を行う。
撮像機能に関連する処理としては、キー入力部154におけるキー入力操作に応じて撮像部157に静止画や動画の撮像処理を実行させる処理や、撮像された画像のデータに圧縮符号化等の画像処理を施して記憶部152に格納する処理などを行う。静止画の撮影時には、適切なタイミングでフラッシュランプを点灯させる処理も行う。
The control unit 160 includes a computer that executes processing based on a program stored in the storage unit 152, and performs various processes related to the overall operation of the mobile phone 100.
For example, as processing related to the function of the telephone, processing for controlling a calling / incoming sequence of the wireless communication unit 150 according to a key input operation in the key input unit 154, and voice data input / output in the voice processing unit 156 Is transmitted / received by the wireless communication unit 150.
As processing related to the data communication function, the wireless communication unit 150 is operated in response to a key input operation in the key input unit 154, communicates with a predetermined mail server device, and exchanges data such as electronic mail. Do.
As processing related to the imaging function, processing for causing the imaging unit 157 to execute imaging processing of a still image or a moving image in response to a key input operation in the key input unit 154, or image processing such as compression encoding on captured image data Processing is performed to store the data in the storage unit 152. When taking a still image, the flash lamp is turned on at an appropriate timing.

また、制御部160は、ナビゲーション機能に関連する処理として、地磁気センサ158の検出値に基づいて地理的方位を算出する処理や、GPS信号受信部151で受信したGPS信号の情報をGPSサーバ装置401に送信して現在地の位置情報を取得する処理、この位置情報をナビゲーションサーバ装置402に送信して現在地周辺の地図の情報を取得する処理、基地局300からの測位用信号と方位の算出結果とに基づいて現在地を割り出す処理、方位の算出結果に応じて表示部155の表示画面上における地図の向きを制御する処理(ヘディングアップ表示処理)などを行う。   In addition, the control unit 160 calculates the geographical orientation based on the detection value of the geomagnetic sensor 158 as the processing related to the navigation function, and the GPS server device 401 receives the GPS signal information received by the GPS signal receiving unit 151. , A process for acquiring the current position information, a process for transmitting the position information to the navigation server device 402 and acquiring map information around the current position, a positioning signal from the base station 300, and a calculation result of the direction; A process for determining the current location based on the above, a process for controlling the orientation of the map on the display screen of the display unit 155 (heading-up display process), and the like according to the calculation result of the azimuth.

更に、制御部160は、ユーザに対する表示パネル21の向きが開状態と閉状態とで180度異なることに対処するため、開閉判定部153の判定結果に応じて表示部155の表示画像に回転を施す処理を行う。   Further, the control unit 160 rotates the display image of the display unit 155 according to the determination result of the open / close determination unit 153 in order to deal with the fact that the orientation of the display panel 21 with respect to the user differs 180 degrees between the open state and the closed state. The processing to apply is performed.

ここで、上述した構成を有する携帯電話機100の動作について、本発明に関連するナビゲーション機能を中心に説明する。   Here, the operation of the mobile phone 100 having the above-described configuration will be described focusing on the navigation function related to the present invention.

まず、GPS信号の受信処理について述べる。   First, GPS signal reception processing will be described.

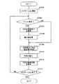
図7は、携帯電話機100におけるGPS信号受信処理の一例を図解したフローチャートである。   FIG. 7 is a flowchart illustrating an example of GPS signal reception processing in the mobile phone 100.

制御部160は、例えば2秒間隔といった一定のタイミングでGPS信号受信部151を制御して、衛星からのGPS信号のスキャンを行う(ステップST102,ST104)。スキャンの結果、GPS信号を受信できた場合には、その情報を記憶部152に格納する(ST106)。このようなGPS信号のスキャンと情報の格納を、受信可能な全ての衛星について繰り返す(ステップST108,ST104,ST106)。全ての衛星についてスキャンを行ったら、次のGPS信号受信タイミングまで待って、再びステップST104〜108の処理を行う。制御部160は、このようなGPS信号受信処理を、例えば電源がオンの期間において常に実行する。   The control unit 160 controls the GPS signal receiving unit 151 at a fixed timing such as an interval of 2 seconds, for example, and scans the GPS signal from the satellite (steps ST102 and ST104). If the GPS signal can be received as a result of the scan, the information is stored in the storage unit 152 (ST106). Such GPS signal scanning and information storage are repeated for all receivable satellites (steps ST108, ST104, ST106). After all the satellites have been scanned, the processing of steps ST104 to ST108 is performed again after waiting for the next GPS signal reception timing. The control unit 160 always executes such GPS signal reception processing, for example, during a power-on period.

次に、ナビゲーション処理について述べる。   Next, the navigation process will be described.

図8は、携帯電話機100におけるナビゲーション処理の一例を図解したフローチャートである。   FIG. 8 is a flowchart illustrating an example of navigation processing in the mobile phone 100.

制御部100は、例えばキー入力部154におけるキー入力操作等によってナビゲーション処理の開始が選択されると(ステップST122)、まず、上述したGPS受信処理によって得られた情報を無線通信部150から基地局300、通信網を介して、GPSサーバ装置401に送信する処理を行う(ステップST124)。
GPSサーバ装置401は、携帯電話機100からGPSの情報を受信すると、この受信したGPS情報に基づいて携帯電話機100の現在地の位置(例えば緯度、経度の情報)を算出し、その算出結果を通信網から基地局300を経由して、携帯電話機100に送信する。
携帯電話機100は、GPSサーバ装置401から送信される位置情報を受信して、記憶部152に格納する(ステップST126)。
When the start of the navigation process is selected, for example, by a key input operation or the like in the key input unit 154 (step ST122), the control unit 100 first obtains the information obtained by the GPS reception process from the radio communication unit 150 from the base station. 300, processing to transmit to the GPS server device 401 via the communication network is performed (step ST124).
When the GPS server device 401 receives GPS information from the mobile phone 100, the GPS server device 401 calculates the position (for example, latitude and longitude information) of the current location of the mobile phone 100 based on the received GPS information, and the calculation result is transmitted to the communication network. To the mobile phone 100 via the base station 300.
The cellular phone 100 receives the position information transmitted from the GPS server device 401 and stores it in the storage unit 152 (step ST126).

次に、制御部100は、無線通信部150から基地局300、通信網を介してナビゲーションサーバ装置402にアクセスし(ステップST128)、取得した位置情報をナビゲーションサーバ装置402へ送信する(ステップST130)。
ナビゲーションサーバ装置402は、携帯電話機100から位置情報を受信すると、この位置情報によって特定される携帯電話機100の現在地周辺の地図の情報をデータベースから検索し、該検索した地図情報を通信網から基地局300を経由して携帯電話機100に送信する。
携帯電話機100は、ナビゲーションサーバ装置402から送信される地図情報を受信して、記憶部152に格納する(ステップST132)。
Next, the control unit 100 accesses the navigation server device 402 from the wireless communication unit 150 via the base station 300 and the communication network (step ST128), and transmits the acquired position information to the navigation server device 402 (step ST130). .
When the navigation server device 402 receives the location information from the mobile phone 100, the navigation server device 402 searches the database for information on the map around the current location of the mobile phone 100 specified by the location information, and retrieves the searched map information from the communication network to the base station. The data is transmitted to the mobile phone 100 via 300.
The cellular phone 100 receives the map information transmitted from the navigation server device 402 and stores it in the storage unit 152 (step ST132).

図9は、ナビゲーションサーバ装置402から送信される地図情報の一例を示す図である。
本実施形態では、一例として、地図情報にそれぞれ固有の識別番号が割り当てられているものとする。ナビゲーションサーバ装置402は、この識別番号に基づいて、所定サイズ(例えば1km四方)ごとに地図のデータを管理しており、携帯電話機100へ地図情報を送信する場合には、この識別番号を地図のデータに添付して送信する。図9の例において、現在地周辺の地図は識別番号MP0であり、その四方の地図は識別番号MP1〜MP4である。
FIG. 9 is a diagram illustrating an example of map information transmitted from the navigation server device 402.
In this embodiment, as an example, it is assumed that a unique identification number is assigned to each map information. The navigation server device 402 manages map data for each predetermined size (for example, 1 km square) based on this identification number. When transmitting map information to the mobile phone 100, the navigation server apparatus 402 uses this identification number as the map number. Send it attached to the data. In the example of FIG. 9, the map around the current location is the identification number MP0, and the four maps are the identification numbers MP1 to MP4.

このような地図情報を取得すると、制御部160は、取得した地図情報に基づいて現在地周辺の地図の画像データを生成し、表示部155の表示パネル21に地図を表示させる(ステップST134)。   When such map information is acquired, the control unit 160 generates map image data around the current location based on the acquired map information, and displays the map on the display panel 21 of the display unit 155 (step ST134).

表示パネル21に表示される地図の領域は、例えば図9に示すように、ナビゲーションサーバ装置402から取得した1km四方の地図より狭い領域(例えば200m×300m)である。   The area of the map displayed on the display panel 21 is an area (for example, 200 m × 300 m) narrower than the 1 km square map acquired from the navigation server device 402 as shown in FIG.

地図の表示方法は、例えばノースアップ表示(地図上の北を画面の上に向ける表示)とヘディングアップ表示(地図上の進行方向を画面の上に向ける表示)の何れかを選択することが可能である。
キー入力部154のキー操作によってノースアップ表示が選択された場合、制御部160は、地図の北方向を表示画面の上方向に固定させて表示部155に表示させる。
The map display method can be selected, for example, from either north-up display (display where the north on the map is on the screen) or heading-up display (display where the traveling direction on the map is on the screen). It is.
When the north-up display is selected by the key operation of the key input unit 154, the control unit 160 fixes the north direction of the map to the upper direction of the display screen and displays it on the display unit 155.

一方、キー入力部154のキー操作によってヘディングアップ表示が選択された場合、制御部160は、後述する方位算出処理によって求めた方位に応じて、表示画面上における地図の向きを制御する処理を行う。例えば、第2筐体3のマイクロフォン312が配置される一方の端部から連結部を有する他方の端部へ向かう方向A(図2参照)を進行方向とした場合、この進行方向の方位が表示画面の上方に向かうように、表示画面上における地図の向きを制御する。   On the other hand, when the heading-up display is selected by the key operation of the key input unit 154, the control unit 160 performs a process of controlling the orientation of the map on the display screen according to the direction obtained by the direction calculation process described later. . For example, when the traveling direction is a direction A (see FIG. 2) from one end where the microphone 312 of the second housing 3 is disposed to the other end having the connecting portion, the direction of the traveling direction is displayed. The direction of the map on the display screen is controlled so as to go upward.

なお、ここで述べている「表示画面の上方」は、第2筐体3を把持して携帯電話機100を利用するユーザの視点から見た場合のものであり、筐体の開、閉状態を変化させると、これに応じて「表示画面の上方」も変化する。すなわち、筐体が開状態の場合、第1筐体2におけるスピーカ22側が表示画面の上方になり、筐体が開状態の場合は、第1筐体2における連結部側が表示画面の上方になる。
制御部160は、後述するように、筐体の開、閉状態に応じて表示画面上における画像を回転させる処理を行い、ユーザに対して適切な向きに画像を表示させる。
Note that “above the display screen” described here is a view from the viewpoint of a user who holds the second housing 3 and uses the mobile phone 100, and indicates whether the housing is open or closed. When it is changed, “above the display screen” changes accordingly. That is, when the housing is open, the speaker 22 side of the first housing 2 is above the display screen, and when the housing is open, the connecting portion side of the first housing 2 is above the display screen. .
As will be described later, the control unit 160 performs a process of rotating the image on the display screen in accordance with the open / closed state of the casing, and displays the image in an appropriate direction for the user.

上述のようにして地図の表示を始めると、制御部160は、キー入力部154のキー操作によってナビゲーション処理の終了が選択されるまでの間、次に述べるステップST138以降の処理を繰り返す(ステップST136)。   When the display of the map is started as described above, the control unit 160 repeats the processes after step ST138 described below until the end of the navigation process is selected by the key operation of the key input unit 154 (step ST136). ).

まず、制御部160は、携帯電話機100周囲の複数(例えば3つ以上)の基地局300から送出される測位用の基準信号を無線通信部150に受信させ、その受信信号に基づいて現在地の位置を算出する(ステップST138)。そして、現在地の算出結果から携帯電話機100の移動の有無を判定し(ステップST140)、携帯電話機100が移動していないと判定した場合は、基地局300からの基準信号に基づく現在地の算出を引き続き行う(ST138)。   First, the control unit 160 causes the wireless communication unit 150 to receive positioning reference signals transmitted from a plurality of (for example, three or more) base stations 300 around the mobile phone 100, and based on the received signals, the position of the current location Is calculated (step ST138). Then, the presence / absence of movement of the mobile phone 100 is determined from the calculation result of the current location (step ST140). If it is determined that the mobile phone 100 is not moving, the calculation of the current location based on the reference signal from the base station 300 is continued. Perform (ST138).

ステップST140において、携帯電話機100が移動したと判定した場合、制御部160は、その移動先の地点が現在取得している地図の端の領域にあるか否かを判定する(ステップST142)。例えば、表示部155に表示すべき地図の一部が、現在取得している地図に含まれておらず、これに隣接する地図に含まれている場合、現在地が地図の端の領域にあると判定する。
現在地が端領域にあると判定した場合、制御部160は、この端領域に隣接する地図をナビゲーションサーバ装置146に要求する(ステップST146)。例えば、現在取得中の地図の識別番号と、この地図に対して東西南北の何れの方位に隣接するかを指示する情報とを、ナビゲーションサーバ装置146に送信する。
ナビゲーションサーバ装置146は、携帯電話機100から送られるこれらの情報に応じた地図をデータベースから検出して、携帯電話機100に送信する。
携帯電話機100は、ナビゲーションサーバ装置402から送信される地図情報を受信して記憶部152に格納し(ステップST132)、この地図情報に応じた地図を表示部155に表示させる(ステップST134)。その後は、ステップST138以降の処理を繰り返す。
また、現在地が端領域にないと判定した場合、制御部160は、現在地の算出結果に応じて、例えば携帯電話機100の現在地が地図の中央になるように地図の表示領域を移動させる処理を行い、その後は、ステップST138以降の処理を繰り返す。
If it is determined in step ST140 that the mobile phone 100 has moved, the control unit 160 determines whether or not the destination location is in the area of the edge of the currently acquired map (step ST142). For example, when a part of the map to be displayed on the display unit 155 is not included in the currently acquired map and is included in a map adjacent thereto, the current location is in the area at the end of the map. judge.
If it is determined that the current location is in the end region, the control unit 160 requests the navigation server device 146 for a map adjacent to the end region (step ST146). For example, the navigation server device 146 is transmitted to the navigation server device 146 with the identification number of the currently acquired map and the information indicating which direction the east, west, south, and north are adjacent to this map.
The navigation server device 146 detects a map corresponding to these pieces of information sent from the mobile phone 100 from the database, and transmits the map to the mobile phone 100.
The cellular phone 100 receives the map information transmitted from the navigation server device 402, stores it in the storage unit 152 (step ST132), and causes the display unit 155 to display a map corresponding to the map information (step ST134). Thereafter, the processes after step ST138 are repeated.
Also, when it is determined that the current location is not in the end region, the control unit 160 performs a process of moving the map display region so that the current location of the mobile phone 100 becomes the center of the map, for example, according to the calculation result of the current location. Thereafter, the processing after step ST138 is repeated.

次に、筐体の開、閉状態に応じた表示画像の回転処理について述べる。   Next, display image rotation processing according to the open / closed state of the housing will be described.

図10は、携帯電話機100における表示画像の回転処理の一例を図解したフローチャートである。   FIG. 10 is a flowchart illustrating an example of display image rotation processing in the mobile phone 100.

制御部160は、電源がオンの間、開閉判定部153において判定される開閉状態を常に監視する(ステップST162)。そして、開閉判定部153において閉状態でないこと(すなわち開状態)が判定されると、第1筐体2におけるスピーカ22側が画像の上方となる向きで、表示パネル21に画像を表示させる(ステップST166)。
この開状態における表示を通常表示とすると、開閉判定部153において閉状態が判定された場合、制御部160は、通常表示における画像を180度回転させて表示パネル21に表示させる(ステップST164)。すなわち、第1筐体2における連結部側が画像の上方となる向きで、表示パネル21に画像を表示させる。
このような表示画像の回転処理によって、筐体の開、閉状態によらず常にユーザの見易い向きで表示部155に画像を表示させることができる。
Control unit 160 constantly monitors the open / closed state determined by open / close determining unit 153 while the power is on (step ST162). When the open / close determination unit 153 determines that it is not in the closed state (that is, in the open state), an image is displayed on the display panel 21 in a direction in which the speaker 22 side of the first housing 2 is above the image (step ST166). ).
If the display in the open state is a normal display, when the open / close determining unit 153 determines the closed state, the control unit 160 rotates the image in the normal display by 180 degrees and displays the image on the display panel 21 (step ST164). That is, an image is displayed on the display panel 21 in a direction in which the connecting portion side in the first housing 2 is above the image.
By such display image rotation processing, an image can be displayed on the display unit 155 in a direction that is always easy for the user to see regardless of whether the housing is open or closed.

次に、方位の算出処理について述べる。
ここでは、まず、図11を参照して方位の算出方法の概略を述べ、その後、図12〜図19を参照して制御部160における方位算出処理の幾つかの例を述べる。
Next, the azimuth calculation processing will be described.
Here, first, an outline of the direction calculation method will be described with reference to FIG. 11, and then several examples of the direction calculation processing in the control unit 160 will be described with reference to FIGS. 12 to 19.

図11は、方位角の算出方法を説明するための図である。
図11において、座標軸Hx、Hy、Hzを有する直角座標系は、地平面上に設定される基準の座標系である。すなわち、座標軸HxおよびHyは地平面に平行な座標軸であり、それぞれ所定の方位を向く。また、座標軸Hzは地平面に垂直な方向を向く座標軸である。
方位角θは、第2筐体3のメイン基板37上に設定される地磁気検出の基準方向(例えば図2における方向A)のベクトルを地平面に正射影した像Zxyと座標軸Hxとのなす角度である。傾斜角φは、この像Zxyと基準方向Aのベクトルとのなす角度である。また、ひねり角ηは、基準方向Aのベクトルを回転軸として携帯電話機100をその周りに回転させた角度である。
方位角θ、傾斜角φ、ひねり角ηが何れもゼロの場合、第2筐体3のメイン基板37上に設定される地磁気検出の座標系は、図11に示す座標軸Hx、Hy、Hzの座標系と一致する。
FIG. 11 is a diagram for explaining a method of calculating the azimuth angle.
In FIG. 11, a rectangular coordinate system having coordinate axes Hx, Hy, Hz is a reference coordinate system set on the ground plane. That is, the coordinate axes Hx and Hy are coordinate axes parallel to the ground plane, and each face a predetermined direction. The coordinate axis Hz is a coordinate axis that faces in a direction perpendicular to the ground plane.
The azimuth angle θ is an angle formed by an image Zxy obtained by orthogonally projecting a vector in the reference direction (for example, direction A in FIG. 2) of the geomagnetism detection set on the main substrate 37 of the second housing 3 and the coordinate axis Hx. It is. The inclination angle φ is an angle formed by the image Zxy and a vector in the reference direction A. Further, the twist angle η is an angle obtained by rotating the mobile phone 100 around the rotation axis about the vector in the reference direction A.
When the azimuth angle θ, the inclination angle φ, and the twist angle η are all zero, the geomagnetic detection coordinate system set on the main board 37 of the second housing 3 has coordinate axes Hx, Hy, and Hz shown in FIG. Match the coordinate system.

ここで、座標軸Hxに対応する地磁気の検出値をα、座標軸Hyに対応する地磁気の検出値をβ、座標軸Hzに対応する地磁気の検出値をγとすると、図11に示す方位角θの正接tanθは次式で表される。   Here, if the detected value of geomagnetism corresponding to the coordinate axis Hx is α, the detected value of geomagnetism corresponding to the coordinate axis Hy is β, and the detected value of geomagnetism corresponding to the coordinate axis Hz is γ, the tangent of the azimuth angle θ shown in FIG. tan θ is expressed by the following equation.

(数1)
tanθ=β/(γ・sinφ−α・cosφ) … (1)
(Equation 1)
tan θ = β / (γ · sin φ−α · cos φ) (1)

ただし、式(1)において、ひねり角ηはゼロとしている。
制御部160は、例えば式(1)に示すような関係を用いて、地磁気センサ158から得られる3方向の地磁気の検出値に応じた方位角を算出する。
However, in the formula (1), the twist angle η is zero.
The control unit 160 calculates an azimuth angle according to the detected values of the three directions of geomagnetism obtained from the geomagnetic sensor 158 using a relationship as shown in, for example, the equation (1).

制御部160は、上述した方位の算出にあたって、地平面に対する表示パネル21の傾斜角も加味する。
一般のユーザは、表示パネル21を例えば45度程度の角度で傾けたときに、楽な姿勢で表示パネル21の画像を見ることができる。そこで、制御部160は、地平面に対する表示パネル21の傾斜角が例えば45度になるときの傾斜角φを用いて、式(1)により方位を算出する。
The control unit 160 also takes into account the inclination angle of the display panel 21 with respect to the ground plane when calculating the above-described azimuth.
A general user can view an image on the display panel 21 with an easy posture when the display panel 21 is tilted at an angle of about 45 degrees, for example. Therefore, the control unit 160 calculates the azimuth by Expression (1) using the inclination angle φ when the inclination angle of the display panel 21 with respect to the ground plane is 45 degrees, for example.

なお、制御部160は、開状態と閉状態とにおいて地平面に対する地磁気センサ158の傾斜角が異なる場合、この傾斜角の違いを考慮して、それぞれの状態の方位角を算出しても良い。
例えば、閉状態において第1筐体2と第2筐体3とがほぼ平行に重なるのに対し、開状態において第1筐体2と第2筐体3とが相対的に傾斜する(例えば「く」字状に傾く)ように、2つの筐体が連結されているものとする。この場合、ユーザが、両方の操作スタイルで表示パネル21に対する視線の方向を一定に保とうとすると、地平面に対する第2筐体3の傾斜は、開状態と閉状態とで異なる。第2筐体3の傾斜が異なるということは、地平面に対する基準方向Aの傾斜が開,閉状態において異なることを意味する。そこで、制御部160は、開閉判定部153の判定結果に応じた所定の角度の傾斜角φを用いて、方位の算出を行う。この傾斜角φは、開状態および閉状態の何れにおいても、地平面に対する表示パネル21の傾斜角が例えば45度で一定となるように予め設定された角度である。
In addition, when the inclination angle of the geomagnetic sensor 158 with respect to the ground plane is different between the open state and the closed state, the control unit 160 may calculate the azimuth angle of each state in consideration of the difference in the inclination angle.
For example, the first housing 2 and the second housing 3 overlap each other substantially in parallel in the closed state, whereas the first housing 2 and the second housing 3 are relatively inclined in the open state (for example, “ It is assumed that the two housings are connected so as to incline in the shape of "". In this case, if the user tries to keep the direction of the line of sight with respect to the display panel 21 constant in both operation styles, the inclination of the second housing 3 with respect to the ground plane differs between the open state and the closed state. That the inclination of the second housing 3 is different means that the inclination of the reference direction A with respect to the ground plane is different in the open and closed states. Therefore, the control unit 160 calculates the azimuth using the predetermined inclination angle φ according to the determination result of the open / close determination unit 153. This tilt angle φ is an angle set in advance so that the tilt angle of the display panel 21 with respect to the ground plane is constant at, for example, 45 degrees in both the open state and the closed state.

傾斜角の情報は、例えばデータテーブルとして記憶部152に予め格納される。方位の検出が行われる場合、制御部160は、開閉判定部153の判定結果に関連付けられた傾斜角の情報をこのデータテーブルから読み出し、この傾斜角の情報を用いて方位の算出を行う。   The information on the tilt angle is stored in advance in the storage unit 152 as a data table, for example. When the azimuth is detected, the control unit 160 reads the tilt angle information associated with the determination result of the open / close determination unit 153 from the data table, and calculates the azimuth using the tilt angle information.

図12は、携帯電話機100における方位算出処理の第1の例を図解したフローチャートである。   FIG. 12 is a flowchart illustrating a first example of orientation calculation processing in the mobile phone 100.

キー入力部154におけるキー入力操作等によってナビゲーション処理の開始が選択されると(ステップST202)、制御部160は、所定のイベントが発生しているか否かを調べる(ステップST204)。   When the start of navigation processing is selected by a key input operation or the like at key input unit 154 (step ST202), control unit 160 checks whether a predetermined event has occurred (step ST204).

ここで所定のイベントとは、表示部155において方位の情報(ヘディングアップ表示の地図や方位を示すコンパスなど)を表示しているときに、携帯電話機100内の回路や処理系において、地磁気センサ158の検出値に変化を生じさせるような磁界を発生させるイベントである。
この所定のイベントは、例えば、図8のステップST146においてナビゲーションサーバ装置402から地図を取得する場合や、着信処理、メール受信処理を行う場合などにおいて、無線通信部150を動作させるイベントを含む。
また、キー入力操作、方位の情報の変化、地図の表示の更新などに応じて表示部155における表示輝度を変化させるイベントや、音声処理部156を動作させてスピーカから音声を出力させるイベントなどを含んでも良い。
表示部155がLCDパネルを有する場合は、例えば、LCDバックライトとしての光源をオンオフさせたり、光源の発光強度を変化させるイベントを含んでも良い。
Here, the predetermined event refers to a geomagnetic sensor 158 in a circuit or processing system in the mobile phone 100 when information on the direction (a heading-up display map or a compass indicating the direction) is displayed on the display unit 155. This is an event that generates a magnetic field that causes a change in the detected value.
This predetermined event includes, for example, an event that causes the wireless communication unit 150 to operate when a map is acquired from the navigation server device 402 in step ST146 of FIG. 8 or when an incoming call process or mail reception process is performed.
In addition, an event for changing the display brightness in the display unit 155 according to a key input operation, a change in azimuth information, a map display update, an event for operating the audio processing unit 156 and outputting sound from a speaker, etc. May be included.
In the case where the display unit 155 includes an LCD panel, for example, an event for turning on / off a light source as an LCD backlight or changing the light emission intensity of the light source may be included.

このような所定のイベントの発生を検知すると、制御部160は、検知したイベントに対応して予め用意された地磁気検出値の補正用データを記憶部152から読み出して、現在使用中の補正用データを変更する。   When the occurrence of such a predetermined event is detected, the control unit 160 reads correction data for the geomagnetic detection value prepared in advance corresponding to the detected event from the storage unit 152, and the correction data currently being used. To change.

図13は、補正用データの一例を示す図である。
図13の例において、補正用データは、地磁気センサ158の3方向(X軸、Y軸、Z軸)の検出値に対応する3つの補正値によって構成される。例えば、無線通信部150を動作させる通信処理が実行される場合、制御部160は、X軸、Y軸、Z軸の地磁気検出値に対応する‘−1’,‘0’,‘−1’の補正値を記憶部152から読み出す。
記憶部152は、例えばこのような補正用データを、複数のイベントにそれぞれ対応付けて記憶する。補正用データの各補正値は、例えば、それぞれのイベントが発生している場合と発生していない場合とにおける地磁気検出値の変動量を予め測定することにより決定される。
FIG. 13 is a diagram illustrating an example of correction data.
In the example of FIG. 13, the correction data is constituted by three correction values corresponding to the detected values of the geomagnetic sensor 158 in the three directions (X axis, Y axis, Z axis). For example, when a communication process for operating the wireless communication unit 150 is executed, the control unit 160 sets “−1”, “0”, “−1” corresponding to the geomagnetic detection values of the X axis, the Y axis, and the Z axis. Are read from the storage unit 152.
The storage unit 152 stores such correction data in association with a plurality of events, for example. Each correction value of the correction data is determined by, for example, measuring in advance the amount of change in the geomagnetic detection value when each event has occurred and when it has not occurred.

制御部160は、記憶部152から読み出した補正用データに基づいて、地磁気センサ158の検出値を補正する(ステップST208)。すなわち、地磁気センサの3方向の検出値に、補正用データの対応する補正値をそれぞれ加算する。そして、この補正後の地磁気検出値を用いて、上述した算出方法により、方位を算出する(ステップST210)。
制御部160は、ナビゲーション処理が実行されている間、上述したステップST204〜ST210の処理を繰り返す(ステップST212)。
Control unit 160 corrects the detection value of geomagnetic sensor 158 based on the correction data read from storage unit 152 (step ST208). That is, the correction values corresponding to the correction data are added to the detected values in the three directions of the geomagnetic sensor. Then, using the corrected geomagnetic detection value, the azimuth is calculated by the above-described calculation method (step ST210).
Control unit 160 repeats the processes of steps ST204 to ST210 described above while the navigation process is being executed (step ST212).

なお、ステップST204において複数のイベントの発生を検知した場合、制御部160は、検知したイベントに対応する補正用データの補正値を3方向の地磁気検出値にそれぞれ加算する。
例えば、図13の例において、通信処理と音声出力処理とが共に発生している場合、X軸の補正値は‘−1’+‘−1’=‘−2’、Y軸の補正値は‘0’+‘0’=‘0’、Z軸の補正値は‘−1’+‘0’=‘−1’になる。
Note that when the occurrence of a plurality of events is detected in step ST204, the control unit 160 adds the correction values of the correction data corresponding to the detected events to the geomagnetic detection values in the three directions, respectively.
For example, in the example of FIG. 13, when both the communication process and the audio output process occur, the X-axis correction value is “−1” + “− 1” = “− 2”, and the Y-axis correction value is “0” + “0” = “0”, and the Z-axis correction value is “−1” + “0” = “− 1”.

また、ステップST204においてあるイベントの終了を検知した場合、制御部160は、終了したイベントに対応する補正用データの補正値を、現在の値から減算する。
例えば、現在のX軸、Y軸、Z軸の補正値が‘−2’、‘−1’、‘1’の状態で図13に示す通信処理が終了した場合、X軸の補正値は‘−2’−‘−1’=‘−1’、Y軸の補正値は‘−1’−‘0’=‘−1’、Z軸の補正値は‘1’−‘−1’=‘2’に変更される。
In addition, when the end of a certain event is detected in step ST204, the control unit 160 subtracts the correction value of the correction data corresponding to the ended event from the current value.
For example, when the communication processing shown in FIG. 13 is completed when the current X-axis, Y-axis, and Z-axis correction values are “−2”, “−1”, and “1”, the X-axis correction value is “ -2 '-'- 1' = '-1', Y-axis correction value is '-1'-'0' = '-1', Z-axis correction value is '1'-'- 1 '=' Changed to 2 '.

以上のように、図12に示す方位算出処理の第1の例によれば、方位の情報を表示部155に表示させているときに、携帯電話機100内部の磁界を変動させる所定のイベントの発生(イベントの終了を含む)が制御部160によって監視され、該所定イベントの発生が検知された場合に、方位の情報が補正される。
したがって、イベントの発生によって地磁気センサ158の検出値が変動し、表示部155に表示される方位の情報の精度が低下しても、イベントの発生を検知して方位の情報を補正することにより、方位の情報の精度を回復させることができる。
また、イベントごとに予め決定されて記憶部152に記憶される補正用データを用いて方位の情報の補正が行われるため、発生するイベント毎に精度良く方位の情報を補正することができる。
As described above, according to the first example of the azimuth calculation process shown in FIG. 12, the occurrence of a predetermined event that fluctuates the magnetic field inside the mobile phone 100 when the azimuth information is displayed on the display unit 155. (Including the end of the event) is monitored by the control unit 160, and the direction information is corrected when the occurrence of the predetermined event is detected.
Therefore, even if the detection value of the geomagnetic sensor 158 fluctuates due to the occurrence of an event and the accuracy of the orientation information displayed on the display unit 155 decreases, by detecting the occurrence of the event and correcting the orientation information, The accuracy of the direction information can be recovered.
Further, since the direction information is corrected using the correction data determined in advance for each event and stored in the storage unit 152, the direction information can be accurately corrected for each event that occurs.

次に、方位算出処理の第2の例を述べる。
図14は、携帯電話機100における方位算出処理の第2の例を図解したフローチャートである。
Next, a second example of the azimuth calculation process will be described.
FIG. 14 is a flowchart illustrating a second example of the direction calculation processing in the mobile phone 100.

上述した第1の例(図12)に対する第2の例(図14)の違いは、所定のイベントの発生を検知してから、方位の情報の補正を行うための演算を行って表示部155に演算結果の方位の情報を表示させるまでの間、表示部155に表示される方位の情報の精度が低いことを表示部155に表示させる点にある。   The difference between the first example (FIG. 12) and the second example (FIG. 14) is that the display unit 155 performs an operation for correcting the direction information after detecting the occurrence of a predetermined event. The display unit 155 displays that the accuracy of the direction information displayed on the display unit 155 is low until the calculation result direction information is displayed on the display unit 155.

すなわち、制御部160は、ステップST204において所定のイベントの発生を検知すると、表示部155に表示される方位の情報の精度が低いことを表示部155に表示させる(ステップST214)。
例えば、方位を表すコンパスの画像を表示させている場合には、このコンパスが左右に振れるような動きを表示させることにより、方位の情報の精度が低いことを示しても良い。また、コンパスの画像の形や色、サイズを変化させたり、方位の精度が低いことを示す別の画像を表示させても良い。
That is, when detecting the occurrence of a predetermined event in step ST204, control unit 160 causes display unit 155 to display that the accuracy of the orientation information displayed on display unit 155 is low (step ST214).
For example, when an image of a compass representing an azimuth is displayed, it may be indicated that the accuracy of the azimuth information is low by displaying a movement that causes the compass to swing left and right. Further, the shape, color and size of the compass image may be changed, or another image indicating that the orientation accuracy is low may be displayed.

制御部160は、このような方位の精度低下を示す情報を、補正値の変更(ステップST206)、地磁気検出値の補正(ステップST208)、方位の算出(ステップST210)を行っている間に表示部155に表示させる。そして、補正後の方位の情報を表示部155に表示させるときに、方位の精度が回復したことを表示部155に表示させる(ステップST216)。
例えば、コンパスの画像を左右に振らせる動きによって方位の精度低下を表示している場合には、この左右の振れを停止させることによって方位の精度が回復したことを示しても良い。コンパスの画像の形や色、サイズを変化させることにより方位の精度低下を表示している場合には、これを元の状態に戻すことにより精度の回復を表しても良い。あるいは、方位の情報の精度が回復したことを示す別の画像を表示させても良い。
The control unit 160 displays information indicating such a decrease in azimuth accuracy while changing the correction value (step ST206), correcting the geomagnetic detection value (step ST208), and calculating the azimuth (step ST210). Displayed on the unit 155. Then, when the corrected direction information is displayed on the display unit 155, the display unit 155 displays that the accuracy of the direction has been recovered (step ST216).
For example, in the case where a decrease in azimuth accuracy is displayed by a movement of shaking the compass image to the left and right, it may be indicated that the azimuth accuracy has been recovered by stopping the left and right shake. In the case where the deterioration of the azimuth accuracy is displayed by changing the shape, color, and size of the compass image, the accuracy recovery may be expressed by returning this to the original state. Alternatively, another image indicating that the accuracy of the direction information has been recovered may be displayed.

以上のように、図14に示す方位算出処理の第2の例によれば、所定のイベントの発生(イベントの終了を含む)によって地磁気検出値の補正値に変更が生じた場合、新たな補正値によって方位を再算出してその結果を表示部155に表示させるまでの間、表示中の方位の情報の精度が低いことをユーザに通知することができる。これにより、表示されている方位の情報の精度が低いか否かをユーザが正しく把握できるようになる。   As described above, according to the second example of the azimuth calculation process shown in FIG. 14, when the correction value of the geomagnetic detection value is changed due to the occurrence of a predetermined event (including the end of the event), a new correction is performed. Until the azimuth is recalculated based on the value and the result is displayed on the display unit 155, the user can be notified that the accuracy of the azimuth information being displayed is low. As a result, the user can correctly grasp whether or not the accuracy of the displayed orientation information is low.

次に、方位算出処理の第3の例を述べる。
図15は、携帯電話機100における方位算出処理の第3の例を図解したフローチャートである。
Next, a third example of the azimuth calculation process will be described.
FIG. 15 is a flowchart illustrating a third example of the direction calculation processing in the mobile phone 100.

上述した第1および第2の例の方位算出処理では、イベントの発生によって生じる地磁気検出値の変化を補正するが、次に述べる第3の例では、筐体の開、閉状態に応じた地磁気検出値の変化を補正する。   In the azimuth calculation processes of the first and second examples described above, the change in the geomagnetic detection value caused by the occurrence of the event is corrected. In the third example described below, the geomagnetism corresponding to the open / closed state of the casing is used. Correct the change in the detected value.

携帯電話機100には、上述のようなイベントごとに発生する動的な磁界と異なり、例えばスピーカ22に用いられている磁石などの静的な磁界を発生する部品が含まれている。このような静磁界は、地磁気検出値の定常的な誤差(オフセット誤差)の原因になっており、後述するオフセット誤差補正処理によって補正される。しかしながら、筐体の開、閉状態を変化させると、地磁気センサ158に対するこれらの静磁界発生源の位置関係が変化するため、これに応じてオフセット誤差も変化してしまう。
そこで、第3の例の方位算出処理では、このようなオフセット誤差の変化による方位算出値の精度低下を低減させるため、オフセット誤差補正処理により得られるオフセット誤差の補正値を開状態および閉状態のそれぞれについて別に保持する。そして、筐体の開閉状態に変化が生じた場合、これに合わせて、オフセット誤差の補正に用いる補正値を変更する。
Unlike the dynamic magnetic field generated for each event as described above, the mobile phone 100 includes components that generate a static magnetic field such as a magnet used for the speaker 22. Such a static magnetic field causes a steady error (offset error) of the detected geomagnetic value, and is corrected by an offset error correction process described later. However, when the open / closed state of the housing is changed, the positional relationship of these static magnetic field generation sources with respect to the geomagnetic sensor 158 changes, and the offset error also changes accordingly.
Therefore, in the azimuth calculation process of the third example, in order to reduce the decrease in accuracy of the azimuth calculation value due to such a change in offset error, the offset error correction value obtained by the offset error correction process is set to the open state and the closed state. Keep separate for each. When a change occurs in the open / closed state of the housing, the correction value used for correcting the offset error is changed accordingly.

キー入力部154におけるキー入力操作等によってナビゲーション処理の開始が選択されると(ステップST302)、制御部160は、開閉判定部153の判定結果を調べる(ステップST304)。開閉判定部153において筐体が開状態にあると判定されている場合、制御部160は、例えば制御部160内の図示しないレジスタに保持されている開状態のオフセット誤差補正用データを読み出し(ステップST306)、これに基づいて地磁気センサ158の検出値を補正する(ステップST310)。また、開閉判定部153において筐体が閉状態にあると判定されている場合、制御部160は、制御部160内の図示しないレジスタに保持されている閉状態のオフセット誤差補正用データを読み出し(ステップST308)、これに基づいて地磁気センサ158の検出値を補正する(ステップST310)。   When the start of navigation processing is selected by a key input operation or the like in key input unit 154 (step ST302), control unit 160 examines the determination result of open / close determination unit 153 (step ST304). When the open / close determination unit 153 determines that the housing is in the open state, the control unit 160 reads, for example, the open state offset error correction data held in a register (not shown) in the control unit 160 (step). (ST306) Based on this, the detection value of the geomagnetic sensor 158 is corrected (step ST310). When the open / close determination unit 153 determines that the housing is in the closed state, the control unit 160 reads out the offset error correction data in the closed state held in a register (not shown) in the control unit 160 ( Based on this, the detection value of the geomagnetic sensor 158 is corrected (step ST310).

なお、オフセット誤差補正用データは、例えば図13に示すように、3方向の地磁気検出値に対応する3つの補正値で構成されている。この補正値は、後述するオフセット誤差補正処理によって、ナビゲーション処理の開始時やその実行中に度々取得されて、開、閉の状態の各々に対して設けられた制御部160の所定のレジスタに書き込まれる。レジスタに格納されるオフセット誤差補正用データは、オフセット誤差補正処理が実行され、新しい補正値が取得される度に書き換えられる。   For example, as shown in FIG. 13, the offset error correction data is composed of three correction values corresponding to the geomagnetic detection values in three directions. This correction value is frequently obtained by an offset error correction process, which will be described later, at the start or during the execution of the navigation process, and written in a predetermined register of the control unit 160 provided for each of the open and closed states. It is. The offset error correction data stored in the register is rewritten whenever an offset error correction process is executed and a new correction value is acquired.

地磁気センサ158の検出値を補正すると、制御部160は、この補正後の地磁気検出値を用いて、方位の算出を行う(ステップST312)。   When the detection value of the geomagnetic sensor 158 is corrected, the control unit 160 calculates the azimuth using the corrected geomagnetic detection value (step ST312).

次いで制御部160は、再び開閉判定部153の判定結果を取得して、開閉状態に変化がないか調べる(ステップST314)。
閉状態から開状態への変化を検出した場合、制御部160は、ステップST306に戻って開状態のオフセット誤差補正用データを読み出し、これを用いて地磁気検出値の補正と方位の算出を繰り返す(ステップST310,ST312)。
開状態から閉状態への変化を検出した場合、制御部160は、ステップST308に戻って閉状態のオフセット誤差補正用データを読み出し、これを用いて地磁気検出値の補正と方位の算出を繰り返す(ステップST310,ST312)。
開閉状態の変化がない場合、制御部160は、ナビゲーション処理の終了が選択されていないか確認し(ステップST316)、ナビゲーション処理が続行するならば、現在使用中のオフセット誤差補正用データを用いて地磁気検出値の補正と方位の算出を繰り返す(ステップST310,ST312)。
Next, control unit 160 obtains the determination result of open / close determination unit 153 again, and checks whether there is a change in the open / close state (step ST314).
When the change from the closed state to the open state is detected, the control unit 160 returns to step ST306, reads the offset error correction data in the open state, and uses this to repeat the correction of the geomagnetic detection value and the calculation of the azimuth ( Steps ST310 and ST312).
When the change from the open state to the closed state is detected, the control unit 160 returns to step ST308, reads the offset error correction data in the closed state, and uses this to repeat the correction of the geomagnetic detection value and the calculation of the azimuth ( Steps ST310 and ST312).
If there is no change in the open / close state, the control unit 160 confirms whether or not the end of the navigation process is selected (step ST316), and if the navigation process is continued, the offset error correction data currently in use is used. The correction of the geomagnetic detection value and the calculation of the azimuth are repeated (steps ST310 and ST312).

ナビゲーション処理の終了が選択されると、制御部160は、レジスタに保持されている開状態および閉状態のオフセット誤差補正用データを記憶部152にそれぞれ保存する(ステップST318)。これにより、次回ナビゲーション処理が行われる際には、記憶部152に保存したオフセット誤差補正用データを用いて速やかに方位の算出を行うことが可能になる。   When the end of the navigation process is selected, control unit 160 stores the open state and closed state offset error correction data held in the register in storage unit 152 (step ST318). As a result, the next time navigation processing is performed, it is possible to quickly calculate the azimuth using the offset error correction data stored in the storage unit 152.

以上のように、図15に示す方位算出処理の第3の例によれば、方位の情報を表示部155に表示させているときに開閉判定部153における判定結果の変化が監視され、該変化が検知された場合、表示部155に表示される方位の情報が該変化後の状態(開状態または閉状態)に応じて補正される。すなわち、該変化が検知されると、地磁気センサ158の検出値に、該変化後の状態に対応する所定の補正が行われ、この補正後の地磁気検出値に基づいて方位が算出される。
したがって、開状態および閉状態の両方で表示部155による方位の情報の表示が可能な構造を有する携帯電話機100において、この開閉状態の変化に伴い地磁気センサ158の検出値が変動して、表示中の方位の情報の精度が低下する場合でも、開閉判定部153における判定結果の変化を検知して方位の情報を補正することにより、方位の情報の精度を回復させることができる。
また、開状態および閉状態のそれぞれにおけるオフセット誤差補正用データが制御部160の所定のレジスタに別に保持されており、開閉状態に応じた適切なオフセット誤差補正用データを用いて方位の情報の補正が行われるため、それぞれの状態において精度良く方位の情報を補正することができる。
As described above, according to the third example of the azimuth calculation process shown in FIG. 15, the change in the determination result in the open / close determination unit 153 is monitored when the azimuth information is displayed on the display unit 155. Is detected, the direction information displayed on the display unit 155 is corrected according to the changed state (open state or closed state). That is, when the change is detected, a predetermined correction corresponding to the state after the change is performed on the detection value of the geomagnetic sensor 158, and the azimuth is calculated based on the corrected geomagnetic detection value.
Therefore, in the mobile phone 100 having a structure that allows the display unit 155 to display the orientation information in both the open state and the closed state, the detection value of the geomagnetic sensor 158 varies with the change in the open / close state, Even when the accuracy of the azimuth information decreases, the accuracy of the azimuth information can be recovered by detecting the change in the determination result in the open / close determination unit 153 and correcting the azimuth information.
Further, offset error correction data in each of the open state and the closed state is separately held in a predetermined register of the control unit 160, and correction of azimuth information using appropriate offset error correction data according to the open / close state Therefore, it is possible to correct the direction information with high accuracy in each state.

なお、ステップST314における開閉状態の変化の検出では、開閉判定部153の判定結果に基づいて開閉状態の変化を検知した後、この変化後の開または閉状態が所定時間持続することをもって、開状態から閉状態もしくは閉状態から開状態への変化が生じたと最終判定しても良い。これにより、意図せず可動機構部4が動いて開閉状態の変化が瞬間的に検出されるような場合に、オフセット誤差補正用データが誤って変更されることを防止できる。   In the detection of the change in the open / closed state in step ST314, after detecting the change in the open / closed state based on the determination result of the open / close determining unit 153, the open state or the closed state after this change continues for a predetermined time, so that the open state It may be finally determined that the change from the closed state to the closed state or from the closed state to the open state has occurred. Thereby, it is possible to prevent the offset error correction data from being erroneously changed when the movable mechanism unit 4 moves unintentionally and a change in the open / close state is detected instantaneously.

次に、方位算出処理の第4の例を述べる。
図16は、携帯電話機100における方位算出処理の第4の例を図解したフローチャートである。
Next, a fourth example of the azimuth calculation process will be described.
FIG. 16 is a flowchart illustrating a fourth example of the direction calculation processing in the mobile phone 100.

上述した第3の例(図15)に対する第4の例(図16)の違いは、開閉判定部153において開閉状態の変化を検知してから、方位を再算出し、該再算出した方位の情報を表示部155に表示させるまでの間、表示部155に表示される方位の情報の精度が低いことを表示部155に表示させる点にある。   The difference between the third example (FIG. 15) and the fourth example (FIG. 16) is that the opening / closing determination unit 153 detects a change in the opening / closing state, recalculates the direction, and calculates the recalculated direction. Until the information is displayed on the display unit 155, the display unit 155 displays that the accuracy of the orientation information displayed on the display unit 155 is low.

すなわち、制御部160は、ステップST314において開閉状態の変化を検出し、これに応じてステップST306またはST308において変化後の状態に応じたオフセット誤差補正用データを読み出した後、表示部155に表示される方位の情報の精度が低いことを表示部155に表示させる(ステップST320)。
制御部160は、例えば既に述べた図14のステップST214と同様に、方位を表すコンパスの画像を左右に振らせたり、コンパスの形,色,サイズ等を変化させたり、方位の精度低下を表す別の画像を表示させるなどの方法により、方位の精度低下の情報を表示部155に表示させる。
That is, the control unit 160 detects a change in the open / closed state in step ST314, and in response to this, reads the offset error correction data corresponding to the changed state in step ST306 or ST308, and then displays the data on the display unit 155. The display unit 155 displays that the accuracy of the orientation information is low (step ST320).
For example, as in step ST214 of FIG. 14 described above, the control unit 160 shakes the compass image indicating the azimuth to the left and right, changes the shape, color, size, and the like of the compass, and indicates a decrease in azimuth accuracy. Information on a decrease in azimuth accuracy is displayed on the display unit 155 by a method such as displaying another image.

制御部160は、このような方位の精度低下を示す情報を、地磁気検出値の補正(ステップST310)および方位の算出(ステップST312)を行っている間に表示部155に表示させる。そして、補正後の方位の情報を表示部155に表示させるときに、方位の精度が回復したことを表示部155に表示させる(ステップST322)。
例えば、コンパスの画像を左右に振らせる動きによって方位の精度低下を表示している場合には、この左右の振れを停止させても良い。コンパスの画像の形や色、サイズを変化させることにより方位の精度低下を表示している場合には、これを元の状態に戻しても良い。あるいは、方位の情報の精度が回復したことを示す別の画像を表示させても良い。
The control unit 160 causes the display unit 155 to display information indicating such a decrease in azimuth accuracy while performing correction of the geomagnetic detection value (step ST310) and calculation of the azimuth (step ST312). Then, when the corrected direction information is displayed on the display unit 155, the display unit 155 displays that the accuracy of the direction has been recovered (step ST322).
For example, in the case where a decrease in azimuth accuracy is displayed by moving the compass image to the left and right, the left and right shake may be stopped. In the case where the deterioration of the orientation accuracy is displayed by changing the shape, color, and size of the compass image, it may be returned to the original state. Alternatively, another image indicating that the accuracy of the direction information has been recovered may be displayed.

以上のように、図16に示す方位算出処理の第4の例によれば、筐体の開閉状態の変化によって地磁気検出値の補正値に変更が生じた場合、新たな補正値によって方位を再算出してその結果を表示部155に表示させるまでの間、表示中の方位の情報の精度が低いことをユーザに通知することができる。これにより、表示されている方位の情報の精度が低いか否かをユーザが正しく把握できるようになる。   As described above, according to the fourth example of the azimuth calculation process shown in FIG. 16, when the correction value of the geomagnetism detection value is changed due to the change in the open / close state of the casing, the azimuth is restored by the new correction value. It is possible to notify the user that the accuracy of the azimuth information being displayed is low until the calculation and the result are displayed on the display unit 155. As a result, the user can correctly grasp whether or not the accuracy of the displayed orientation information is low.

次に、方位算出処理の第5の例を述べる。
図17は、携帯電話機100における方位算出処理の第5の例を図解したフローチャートである。
Next, a fifth example of the azimuth calculation process will be described.
FIG. 17 is a flowchart illustrating a fifth example of the azimuth calculation processing in mobile phone 100.

上述した第3および第4の例の方位算出処理では、筐体の開閉状態の変化によって生じる地磁気検出値の変化を補正するが、次に述べる第5の例では、メモリカード部159におけるメモリカードの装着の有無に応じた地磁気検出値の変化を補正する。   In the azimuth calculation processes of the third and fourth examples described above, the change in the geomagnetic detection value caused by the change in the open / close state of the casing is corrected. In the fifth example described below, the memory card in the memory card unit 159 is corrected. The change of the geomagnetic detection value according to the presence or absence of wearing is corrected.

メモリカードに、例えば半導体集積装置のリードフレームなどのような磁気を帯び易い部品が使用されていると、この磁気の影響によって、メモリカードの装着時と未装着時とにおける地磁気センサ158のオフセット誤差が変化する場合がある。
図18は、メモリカードの装着の有無に応じた地磁気センサ検出値(X軸、Y軸、Z軸)の時間的変化の一例を示す図である。図18の例では、X軸、Y軸、Z軸における地磁気センサ検出値が、それぞれ‘−7’、‘−8’、‘−1’だけ変化している。
第5の例の方位算出処理では、このような地磁気センサ検出値の変動による方位の誤差を低減させるため、オフセット誤差補正処理により得られるオフセット誤差の補正値をメモリカード装着時および未装着時のそれぞれについて別に保持する。そして、筐体のメモリカードの装着状態に変化が生じた場合、これに合わせて、オフセット誤差の補正に用いる補正値を変更する。
If a memory card uses a component that is easily magnetized, such as a lead frame of a semiconductor integrated device, an offset error of the geomagnetic sensor 158 between when the memory card is mounted and when it is not mounted is affected by this magnetism. May change.
FIG. 18 is a diagram illustrating an example of a temporal change in the geomagnetic sensor detection values (X axis, Y axis, Z axis) depending on whether or not a memory card is attached. In the example of FIG. 18, the detected values of the geomagnetic sensors on the X axis, the Y axis, and the Z axis change by “−7”, “−8”, and “−1”, respectively.
In the azimuth calculation process of the fifth example, in order to reduce the azimuth error due to the fluctuation of the detected value of the geomagnetic sensor, the offset error correction value obtained by the offset error correction process is set when the memory card is mounted and when the memory card is not mounted. Keep separate for each. When a change occurs in the mounting state of the memory card in the housing, the correction value used for correcting the offset error is changed accordingly.

キー入力部154におけるキー入力操作等によってナビゲーション処理の開始が選択されると(ステップST402)、制御部160は、メモリカード部159におけるメモリカードの装着状態を調べる(ステップST404)。メモリカード部159からの信号によってメモリカードが装着されていると判定した場合、制御部160は、例えば制御部160内の図示しないレジスタに保持されているメモリカード装着時のオフセット誤差補正用データを読み出し(ステップST406)、これに基づいて地磁気センサ158の検出値を補正する(ステップST410)。また、メモリカード部159からの信号によってメモリカードが装着されていと判定した場合、制御部160は、制御部160内の図示しないレジスタに保持されているメモリカード未装着時のオフセット誤差補正用データを読み出し(ステップST408)、これに基づいて地磁気センサ158の検出値を補正する(ステップST410)。   When the start of navigation processing is selected by a key input operation or the like in key input unit 154 (step ST402), control unit 160 checks the memory card mounting state in memory card unit 159 (step ST404). When it is determined that a memory card is inserted based on a signal from the memory card unit 159, the control unit 160 uses, for example, the offset error correction data when the memory card is held held in a register (not shown) in the control unit 160. Reading (step ST406), and based on this, the detection value of the geomagnetic sensor 158 is corrected (step ST410). In addition, when it is determined that a memory card is inserted based on a signal from the memory card unit 159, the control unit 160 stores offset error correction data when the memory card is not installed, which is held in a register (not shown) in the control unit 160. (Step ST408), and based on this, the detection value of the geomagnetic sensor 158 is corrected (step ST410).

メモリカード装着時および未装着時のオフセット誤差補正用データは、例えば図13に示すように、3方向の地磁気検出値に対応する3つの補正値で構成されている。この補正値は、後述するオフセット誤差補正処理によって、ナビゲーション処理の開始時やその実行中に度々取得されて、メモリカード装着時および未装着時の各々に対して設けられた制御部160内の所定のレジスタに書き込まれる。レジスタに格納されるオフセット誤差補正用データは、オフセット誤差補正処理が実行され、新しい補正値が取得される度に書き換えられる。   For example, as shown in FIG. 13, the offset error correction data when the memory card is attached and not attached is composed of three correction values corresponding to the geomagnetic detection values in three directions. This correction value is obtained frequently by an offset error correction process, which will be described later, at the start or during the execution of the navigation process, and is a predetermined value in the control unit 160 provided for each of when the memory card is mounted and when it is not mounted. Written to the register. The offset error correction data stored in the register is rewritten whenever an offset error correction process is executed and a new correction value is acquired.

地磁気センサ158の検出値を補正すると、制御部160は、この補正後の地磁気検出値を用いて、方位の算出を行う(ステップST412)。   When the detection value of the geomagnetic sensor 158 is corrected, the control unit 160 calculates the azimuth using the corrected geomagnetic detection value (step ST412).

次いで制御部160は、再びメモリカード部159におけるメモリカードの装着状態を確認し、装着状態に変化がないか調べる(ステップST414)。
メモリカード部159にメモリカードが装着されていない状態からメモリカード部159にメモリカードが装着された状態への変化を検出した場合、制御部160は、ステップST406に戻ってメモリカード装着時のオフセット誤差補正用データを読み出し、これを用いて地磁気検出値の補正と方位の算出を繰り返す(ステップST410,ST412)。
メモリカード部159にメモリカードが装着された状態からメモリカード部159にメモリカードが装着されていない状態への変化を検出した場合、制御部160は、ステップST408に戻ってメモリカード未装着時のオフセット誤差補正用データを読み出し、これを用いて地磁気検出値の補正と方位の算出を繰り返す(ステップST410,ST412)。
メモリカードの装着状態に変化がない場合、制御部160は、ナビゲーション処理の終了が選択されていないか確認し(ステップST416)、ナビゲーション処理が続行するならば、現在使用中のオフセット誤差補正用データを用いて地磁気検出値の補正と方位の算出を繰り返す(ステップST410,ST412)。
Next, control unit 160 confirms the memory card mounting state in memory card unit 159 again, and checks whether there is a change in the mounting state (step ST414).
When detecting a change from a state in which no memory card is installed in the memory card unit 159 to a state in which a memory card is installed in the memory card unit 159, the control unit 160 returns to step ST406 and performs an offset when the memory card is installed. The error correction data is read out, and using this, the correction of the geomagnetic detection value and the calculation of the direction are repeated (steps ST410 and ST412).
When detecting a change from the state in which the memory card is installed in the memory card unit 159 to the state in which no memory card is installed in the memory card unit 159, the control unit 160 returns to step ST408 and returns to the state when the memory card is not installed. The offset error correction data is read, and the correction of the geomagnetic detection value and the calculation of the direction are repeated using this data (steps ST410 and ST412).
If there is no change in the memory card mounting state, the control unit 160 checks whether the end of the navigation process is selected (step ST416), and if the navigation process continues, the offset error correction data currently in use. Is used to repeat the correction of the geomagnetic detection value and the calculation of the direction (steps ST410 and ST412).

ナビゲーション処理の終了が選択されると、制御部160は、レジスタに保持されているメモリカード装着時および未装着時のオフセット誤差補正用データを記憶部152にそれぞれ保存する(ステップST418)。これにより、次回ナビゲーション処理が行われる際には、記憶部152に保存したオフセット誤差補正用データを用いて速やかに方位の算出を行うことが可能になる。   When the end of the navigation process is selected, the control unit 160 stores the offset error correction data stored in the register when the memory card is installed and when the memory card is not installed in the storage unit 152 (step ST418). As a result, the next time navigation processing is performed, it is possible to quickly calculate the azimuth using the offset error correction data stored in the storage unit 152.

以上のように、図17に示す方位算出処理の第5の例によれば、方位の情報を表示部155に表示させているときにメモリカード部159におけるメモリカードの装着状態の変化が監視され、該変化が検知された場合、表示部155に表示される方位の情報が該変化後の状態(装着または未装着)に応じて補正される。すなわち、メモリカードの装着状態に変化が検知された場合、地磁気センサ158の検出値に、該変化後の状態に対応する所定の補正が行われ、この補正後の地磁気検出値に基づいて方位が算出される。
したがって、メモリカードの装着状態の変化によって地磁気センサ158の検出値が変動し、表示部155に表示される方位の情報の精度が低下しても、メモリカード部159におけるメモリカードの装着状態の変化を検知して方位の情報を補正することにより、方位の情報の精度を回復させることができる。
また、装着状態および未装着状態のそれぞれにおけるオフセット誤差補正用データが制御部160の所定のレジスタに別に保持されており、メモリカードの装着状態に応じた適切なオフセット誤差補正用データを用いて方位の情報の補正が行われるため、それぞれの状態において精度良く方位の情報を補正することができる。
As described above, according to the fifth example of the azimuth calculation process shown in FIG. 17, the change in the memory card mounting state in the memory card unit 159 is monitored when the azimuth information is displayed on the display unit 155. When the change is detected, the orientation information displayed on the display unit 155 is corrected according to the state after the change (mounted or not mounted). That is, when a change is detected in the mounting state of the memory card, a predetermined correction corresponding to the state after the change is performed on the detection value of the geomagnetic sensor 158, and the direction is determined based on the detection value of the geomagnetism after the correction. Calculated.
Therefore, even if the detection value of the geomagnetic sensor 158 fluctuates due to a change in the mounting state of the memory card and the accuracy of the orientation information displayed on the display unit 155 decreases, the change in the mounting state of the memory card in the memory card unit 159 The accuracy of the azimuth information can be recovered by detecting the azimuth and correcting the azimuth information.
Further, offset error correction data in each of the attached state and the unattached state is separately held in a predetermined register of the control unit 160, and the direction is determined using appropriate offset error correction data corresponding to the attached state of the memory card. Therefore, the direction information can be accurately corrected in each state.

次に、方位算出処理の第6の例を述べる。
図19は、携帯電話機100における方位算出処理の第6の例を図解したフローチャートである。
Next, a sixth example of the azimuth calculation process will be described.
FIG. 19 is a flowchart illustrating a sixth example of orientation calculation processing in the mobile phone 100.

上述した第5の例(図17)に対する第6の例(図19)の違いは、メモリカードの装着状態の変化を検知してから、方位を再算出し、該再算出した方位の情報を表示部155に表示させるまでの間、表示部155に表示される方位の情報の精度が低いことを表示部155に表示させる点にある。   The difference between the sixth example (FIG. 19) and the fifth example (FIG. 17) described above is that the orientation is recalculated after detecting a change in the memory card mounting state, and the recalculated orientation information is obtained. Until the display unit 155 displays the information, the display unit 155 displays that the accuracy of the orientation information displayed on the display unit 155 is low.

すなわち、制御部160は、ステップST414においてメモリカード装着状態の変化を検出し、これに応じてステップST406またはST408において変化後の状態に応じたオフセット誤差補正用データを読み出した後、表示部155に表示される方位の情報の精度が低いことを表示部155に表示させる(ステップST420)。
制御部160は、例えば既に述べた図14のステップST214と同様に、方位を表すコンパスの画像を左右に振らせたり、コンパスの形,色,サイズ等を変化させたり、方位の精度低下を表す別の画像を表示させるなどの方法により、方位の精度低下の情報を表示部155に表示させる。
That is, the control unit 160 detects a change in the memory card mounting state in step ST414, and in response to this, reads the offset error correction data corresponding to the changed state in step ST406 or ST408, and then displays it on the display unit 155. The fact that the accuracy of the displayed orientation information is low is displayed on display unit 155 (step ST420).
For example, as in step ST214 of FIG. 14 described above, the control unit 160 shakes the compass image indicating the azimuth to the left and right, changes the shape, color, size, and the like of the compass, and indicates a decrease in azimuth accuracy. Information on a decrease in azimuth accuracy is displayed on the display unit 155 by a method such as displaying another image.

制御部160は、このような方位の精度低下を示す情報を、地磁気検出値の補正(ステップST410)および方位の算出(ステップST412)を行っている間に表示部155に表示させる。そして、補正後の方位の情報を表示部155に表示させるときに、方位の精度が回復したことを表示部155に表示させる(ステップST422)。
例えば、コンパスの画像を左右に振らせる動きによって方位の精度低下を表示している場合には、この左右の振れを停止させても良い。コンパスの画像の形や色、サイズを変化させることにより方位の精度低下を表示している場合には、これを元の状態に戻しても良い。あるいは、方位の情報の精度が回復したことを示す別の画像を表示させても良い。
The control unit 160 causes the display unit 155 to display information indicating such a decrease in azimuth accuracy while performing correction of the geomagnetic detection value (step ST410) and calculation of the azimuth (step ST412). Then, when the corrected azimuth information is displayed on the display unit 155, the display unit 155 displays that the accuracy of the azimuth has been recovered (step ST422).
For example, in the case where a decrease in azimuth accuracy is displayed by moving the compass image to the left and right, the left and right shake may be stopped. In the case where the deterioration of the orientation accuracy is displayed by changing the shape, color, and size of the compass image, it may be returned to the original state. Alternatively, another image indicating that the accuracy of the direction information has been recovered may be displayed.

以上のように、図19に示す方位算出処理の第6の例によれば、メモリカードの装着状態の変化によって地磁気検出値の補正値に変更が生じた場合、新たな補正値によって方位を再算出してその結果を表示部155に表示させるまでの間、表示中の方位の情報の精度が低いことをユーザに通知することができる。これにより、表示されている方位の情報の精度が低いか否かをユーザが正しく把握できるようになる。   As described above, according to the sixth example of the azimuth calculation process shown in FIG. 19, when the correction value of the geomagnetism detection value is changed due to the change in the mounting state of the memory card, the azimuth is restored by the new correction value. It is possible to notify the user that the accuracy of the azimuth information being displayed is low until the calculation and the result are displayed on the display unit 155. As a result, the user can correctly grasp whether or not the accuracy of the displayed orientation information is low.

次に、オフセット誤差補正処理について述べる。   Next, offset error correction processing will be described.

オフセット誤差補正処理は、携帯電話機100内部の磁界発生源によって生じる定常的な地磁気検出値の誤差を補正するための処理である。
携帯電話機100内部で発生する静的な磁界は、携帯電話機100を向ける方位に依らない定常的な誤差を地磁気センサ158の検出値にもたらす。これに対し、地磁気自体の検出値は、携帯電話機100を向ける方位に応じて変化する。したがって、例えば携帯電話機100を回転させながら地磁気の検出を行い、携帯電話機100の回転に応じた地磁気のベクトルの軌跡を求めることによって、地磁気センサ158の検出値に含まれるオフセット誤差を容易に算出することできる。
The offset error correction process is a process for correcting an error in a steady geomagnetic detection value generated by a magnetic field generation source inside the mobile phone 100.
The static magnetic field generated inside the mobile phone 100 brings a steady error to the detection value of the geomagnetic sensor 158 regardless of the direction in which the mobile phone 100 is directed. On the other hand, the detected value of the geomagnetism itself changes according to the direction in which the mobile phone 100 is directed. Therefore, for example, by detecting the geomagnetism while rotating the mobile phone 100 and obtaining the locus of the geomagnetic vector according to the rotation of the mobile phone 100, the offset error included in the detection value of the geomagnetic sensor 158 is easily calculated. I can.

制御部160は、例えばナビゲーション処理を開始する際、ユーザに対して携帯電話機100を回転するように促す指示を表示部155に表示させる。ユーザがこの指示に従って携帯電話機100を回転させると、制御部160は、回転の途中で地磁気センサ158の検出値を複数取得する。そして、取得した地磁気検出値のベクトル軌跡からオフセット誤差を算出して、地磁気センサ158の検出値から差し引く。これにより、オフセット誤差が補正された地磁気検出値が得られる。
制御部160は、上述のようなオフセット誤差補正処理によって算出されるオフセット誤差を、オフセット誤差補正用データとして制御部160の所定のレジスタに格納する。
For example, when starting the navigation process, the control unit 160 causes the display unit 155 to display an instruction that prompts the user to rotate the mobile phone 100. When the user rotates the mobile phone 100 according to this instruction, the control unit 160 acquires a plurality of detection values of the geomagnetic sensor 158 during the rotation. Then, an offset error is calculated from the vector locus of the acquired geomagnetic detection value, and is subtracted from the detection value of the geomagnetic sensor 158. Thereby, the geomagnetic detection value in which the offset error is corrected is obtained.
The control unit 160 stores the offset error calculated by the offset error correction process as described above in a predetermined register of the control unit 160 as offset error correction data.

また、制御部160は、ナビゲーション処理を実行している間にも、例えば一定時間毎に、上述したオフセット誤差補正処理を行う。   In addition, the control unit 160 performs the above-described offset error correction process, for example, at regular intervals while the navigation process is being performed.

更に、制御部160は、次に述べるように、地磁気センサ158の検出値がオーバーフロー等の所定の異常状態になった場合にも、オフセット誤差補正処理を行って地磁気検出値の補正を行う。   Further, as will be described below, the control unit 160 performs an offset error correction process to correct the geomagnetic detection value even when the detection value of the geomagnetic sensor 158 enters a predetermined abnormal state such as an overflow.

図20は、地磁気検出値に異常状態が生じた場合におけるオフセット誤差補正処理の第1の例を図解したフローチャートである。   FIG. 20 is a flowchart illustrating a first example of offset error correction processing when an abnormal state occurs in the geomagnetic detection value.

キー入力部154におけるキー入力操作等によってナビゲーション処理の開始が選択されると(ステップST502)、制御部160は、地磁気センサ158の検出値が所定の異常状態になっているか調べる(ステップST504)。
ここで所定の異常状態とは、例えば、‘0’〜‘255’までの整数値で表現される8ビットの検出値の何れか1つ(すなわちX軸、Y軸、Z軸の地磁気検出値の何れか1つ)にオーバーフローが生じて、その値が最大値‘255’や最小値‘0’になっている状態である。
また、上限値と下限値を持つ正常範囲が規定されている場合には、地磁気検出値の何れか1つがこの正常範囲を外れていることをもって、異常状態としても良い。
When the start of the navigation process is selected by a key input operation or the like at the key input unit 154 (step ST502), the control unit 160 checks whether the detection value of the geomagnetic sensor 158 is in a predetermined abnormal state (step ST504).
Here, the predetermined abnormal state is, for example, any one of 8-bit detection values expressed by integer values from “0” to “255” (that is, geomagnetic detection values on the X axis, Y axis, and Z axis). In any one of the cases, an overflow occurs and the value is the maximum value “255” or the minimum value “0”.
In addition, when a normal range having an upper limit value and a lower limit value is defined, any one of the geomagnetic detection values may be out of the normal range, and an abnormal state may be set.

制御部160は、このような地磁気検出値の異常状態を検知すると、該検知の時点から異常状態が持続する時間を計測する(ステップST506)。そして、異常状態が所定時間(例えば5秒間)持続した場合、制御部160は、携帯電話機100の着磁等によってオフセット誤差が生じたと判断して、上述のオフセット誤差補正処理を実行する(ステップST510)。   When detecting such an abnormal state of the geomagnetic detection value, control unit 160 measures the time during which the abnormal state continues from the time of the detection (step ST506). If the abnormal state continues for a predetermined time (for example, 5 seconds), control unit 160 determines that an offset error has occurred due to magnetization of mobile phone 100 or the like, and executes the above-described offset error correction process (step ST510). ).

オフセット誤差補正処理の後、制御部160は、ナビゲーション処理の終了が選択されているかどうかを調べ、当該処理が続くと確認された場合、上述したステップST504〜ST510の処理を繰り返す(ステップST512)。
また、ステップST504において地磁気検出値の異常状態が検知されない場合や、ステップST508において所定時間内に全ての検出値の異常状態が解消されたと判定された場合、同様にナビゲーション処理の続行を確認した上で、ステップST504〜ST510の処理を繰り返す(ステップST512)。
After the offset error correction process, the control unit 160 checks whether or not the end of the navigation process is selected. If it is confirmed that the process will continue, the process of steps ST504 to ST510 described above is repeated (step ST512).
In addition, when an abnormal state of the geomagnetic detection value is not detected in step ST504, or when it is determined in step ST508 that the abnormal state of all detection values has been resolved within a predetermined time, the continuation of the navigation process is confirmed in the same manner. Thus, the processes of steps ST504 to ST510 are repeated (step ST512).

以上のように、図20に示すオフセット誤差補正処理の第1の例によれば、方位の情報を表示部155に表示させているときに、地磁気センサ158の検出値が所定の異常状態になり、この異常状態が所定時間続いた場合、方位の情報の補正が行われる。すなわち、3方向の地磁気の検出値の何れか1つ(もしくは複数)が所定の異常状態になり、この異常状態が所定時間続いた場合に、地磁気センサ158のオフセット誤差を検出して補正する処理(オフセット誤差補正処理)が行われ、この補正後の地磁気検出値に基づいて方位が再算出される。
したがって、地磁気センサ158の検出値の異常を監視することにより、携帯電話機100の着磁等によるオフセット誤差の発生が検知されて適切な補正が行われるため、オフセット誤差による方位の情報の精度低下を抑えることができる。
As described above, according to the first example of the offset error correction process shown in FIG. 20, when the orientation information is displayed on the display unit 155, the detection value of the geomagnetic sensor 158 becomes a predetermined abnormal state. When the abnormal state continues for a predetermined time, the direction information is corrected. That is, when any one (or a plurality) of detected values of the geomagnetism in the three directions is in a predetermined abnormal state, and this abnormal state continues for a predetermined time, the offset error of the geomagnetic sensor 158 is detected and corrected. (Offset error correction processing) is performed, and the direction is recalculated based on the corrected geomagnetic detection value.
Therefore, by monitoring an abnormality in the detection value of the geomagnetic sensor 158, occurrence of an offset error due to magnetization of the mobile phone 100 or the like is detected and appropriate correction is performed. Can be suppressed.

また、図20の処理によれば、地磁気検出値が所定時間以上にわたって持続して所定の異常状態になった場合に、オフセット誤差補正処理が行われる。
そのため、例えば建物や電車などから発生する外部磁界の影響で起こった一時的な地磁気検出値の異常状態を、携帯電話機100の着磁等により生じたオフセット誤差と間違って判定し、不適切なオフセット誤差補正処理が実行されてしまうケースを減らすことができる。
Further, according to the processing of FIG. 20, when the detected geomagnetism value continues for a predetermined time or more and becomes a predetermined abnormal state, the offset error correction processing is performed.
For this reason, for example, an abnormal state of a temporary geomagnetic detection value caused by the influence of an external magnetic field generated from a building or a train is erroneously determined as an offset error caused by the magnetization of the mobile phone 100, and an inappropriate offset. The case where the error correction process is executed can be reduced.

図21は、外部磁界の影響により生じた地磁気検出値の異常状態の一例を示す図である。同図の例では、3〜4秒の時間にわたって、Z軸方向の地磁気検出値が‘0’に張り付いている。
このような一時的な外部磁界による異常が起きているときにオフセット誤差補正処理を実行してしまうと、オフセット誤差を正しく算出できないため、誤った補正値で地磁気検出値の補正を行ってしまい、結果として方位の算出結果が不正確になる。方位の不正確な状態は、少なくとも次回のオフセット誤差補正処理まで続いてしまう。
FIG. 21 is a diagram illustrating an example of an abnormal state of a geomagnetic detection value generated due to the influence of an external magnetic field. In the example of the figure, the geomagnetic detection value in the Z-axis direction is stuck to “0” over a period of 3 to 4 seconds.
If the offset error correction process is executed when an abnormality due to such a temporary external magnetic field is occurring, the offset error cannot be calculated correctly, and the geomagnetic detection value is corrected with an incorrect correction value. As a result, the calculation result of the orientation becomes inaccurate. The inaccurate state of the azimuth continues at least until the next offset error correction process.

図21に示すように、外部磁界の影響による地磁気検出値の異常状態は、通常、数秒以内の一過性のものであり、例えば5秒間以内に多くの場合は正常状態に戻る。
したがって、図20の処理のように、所定時間以上異常状態が持続するか否かに応じて、外部磁界の影響により生じた異常状態とオフセット誤差とを判別し、この判別結果に従ってオフセット誤差補正処理の実行を制御することにより、該補正処理の不適切な実行を効果的に防ぐことができる。
As shown in FIG. 21, the abnormal state of the geomagnetic detection value due to the influence of the external magnetic field is usually a transient state within a few seconds, and in many cases returns to a normal state within 5 seconds, for example.
Therefore, as in the process of FIG. 20, the abnormal state and the offset error caused by the influence of the external magnetic field are discriminated according to whether or not the abnormal state continues for a predetermined time or more, and the offset error correction process is performed according to the discrimination result. By controlling the execution of this, inappropriate execution of the correction process can be effectively prevented.

次に、オフセット誤差補正処理の第2の例を述べる。
図22は、携帯電話機100におけるオフセット誤差補正処理の第2の例を図解したフローチャートである。
Next, a second example of offset error correction processing will be described.
FIG. 22 is a flowchart illustrating a second example of offset error correction processing in mobile phone 100.

上述した第1の例(図20)に対する第2の例(図22)の違いは、方位の情報の補正を行っている間、方位の情報の精度が低いことを表示部155に表示させる点にある。   The difference between the first example (FIG. 20) and the second example (FIG. 22) is that the display unit 155 displays that the accuracy of the direction information is low while the direction information is being corrected. It is in.

すなわち、制御部160は、ステップST508において地磁気検出値の異常が所定時間以上持続したと判定した後、表示部155に表示される方位の情報の精度が低いことを表示部155に表示させる(ステップST514)。
制御部160、例えば既に述べた図14のステップST214と同様に、方位を表すコンパスの画像を左右に振らせたり、コンパスの形,色,サイズ等を変化させたり、方位の精度低下を表す別の画像を表示させるなどの方法により、方位の精度低下の情報を表示部155に表示させる。
That is, after determining that the abnormality of the geomagnetic detection value has continued for a predetermined time or longer in step ST508, the control unit 160 displays on the display unit 155 that the accuracy of the orientation information displayed on the display unit 155 is low (step 155). ST514).
Similarly to the control unit 160, for example, the step ST214 in FIG. 14 described above, the compass image representing the azimuth is moved to the left and right, the shape, color, size, etc. of the compass is changed, and the accuracy of the azimuth is reduced. The display unit 155 is caused to display information on the deterioration of the orientation accuracy by a method such as displaying an image of

制御部160は、このような方位の精度低下を示す情報を、オフセット誤差補正処理(ステップST510)を行っている間に表示部155に表示させる。そして、補正後の地磁気検出値に基づいて再算出した方位の情報を表示部155に表示させるときに、方位の精度が回復したことを表示部155に表示させる(ステップST516)。
例えば、コンパスの画像を左右に振らせる動きによって方位の精度低下を表示している場合には、この左右の振れを停止させても良い。コンパスの画像の形や色、サイズを変化させることにより方位の精度低下を表示している場合には、これを元の状態に戻しても良い。あるいは、方位の情報の精度が回復したことを示す別の画像を表示させても良い。
The control unit 160 causes the display unit 155 to display information indicating such a decrease in azimuth accuracy during the offset error correction process (step ST510). Then, when displaying the direction information recalculated based on the corrected geomagnetic detection value on the display unit 155, the display unit 155 displays that the accuracy of the direction has been recovered (step ST516).
For example, in the case where a decrease in azimuth accuracy is displayed by moving the compass image to the left and right, the left and right shake may be stopped. In the case where the deterioration of the orientation accuracy is displayed by changing the shape, color, and size of the compass image, it may be returned to the original state. Alternatively, another image indicating that the accuracy of the direction information has been recovered may be displayed.

以上のように、図22に示すオフセット誤差補正処理の第2の例によれば、地磁気検出値の異常に伴う方位の情報の補正を行っている間、表示部155に表示されている方位の情報の精度が低いことをユーザに通知することができる。これにより、表示されている方位の情報の精度が低いか否かをユーザが正しく把握できるようになる。   As described above, according to the second example of the offset error correction process shown in FIG. 22, the direction of the azimuth displayed on the display unit 155 is corrected while the direction information accompanying the abnormality of the geomagnetic detection value is being corrected. The user can be notified that the accuracy of information is low. As a result, the user can correctly grasp whether or not the accuracy of the displayed orientation information is low.

次に、オフセット誤差補正処理の第3の例を述べる。
図23は、携帯電話機100におけるオフセット誤差補正処理の第3の例を図解したフローチャートである。
Next, a third example of offset error correction processing will be described.
FIG. 23 is a flowchart illustrating a third example of offset error correction processing in mobile phone 100.

上述した第2の例(図22)に対する第3の例(図23)の違いは、方位の情報の補正を行っている間、地図の表示をヘディングアップ表示からノースアップ表示に固定し、方位の情報の補正が完了した場合、ヘディングアップ表示を再開することにある。   The difference between the third example (FIG. 23) and the second example (FIG. 22) described above is that the map display is fixed from the heading-up display to the north-up display while the orientation information is being corrected. When the correction of the information is completed, the heading-up display is resumed.

すなわち、制御部160は、ステップST508において地磁気検出値の異常が所定時間以上持続したと判定した後、地図の表示をヘディングアップ表示からノースアップ表示に固定し(ステップST518)、オフセット誤差補正処理(ステップST510)を行っている間は、ノースアップ表示を持続する。そして、この補正後の地磁気検出値に基づいて方位が再算出されときに、ノースアップ表示を解除して、ヘディングアップ表示を再開させる(ステップST520)。   That is, after determining that the abnormality of the geomagnetic detection value has continued for a predetermined time or longer in step ST508, the control unit 160 fixes the map display from the heading-up display to the north-up display (step ST518), and offset error correction processing ( While performing step ST510), the north-up display is continued. When the direction is recalculated based on the corrected geomagnetic detection value, the north-up display is canceled and the heading-up display is resumed (step ST520).

以上のように、図23に示すオフセット誤差補正処理の第3の例においても、地磁気検出値の異常に伴う方位の情報の補正を行っている間、ノースアップ表示に固定することによって、表示部155に表示されている方位の情報の精度が低いことをユーザに通知することができる。これにより、表示されている方位の情報の精度が低いか否かをユーザが正しく把握できるようになる。   As described above, also in the third example of the offset error correction process shown in FIG. 23, the display unit is fixed to the north-up display while correcting the direction information accompanying the abnormality of the geomagnetic detection value. The user can be notified that the accuracy of the orientation information displayed in 155 is low. As a result, the user can correctly grasp whether or not the accuracy of the displayed orientation information is low.

次に、外部磁場の影響によって地磁気センサ158の検出値に誤差が生じ、方位の情報の精度が低下する場合の処理について述べる。   Next, processing in the case where an error occurs in the detection value of the geomagnetic sensor 158 due to the influence of an external magnetic field and the accuracy of azimuth information decreases will be described.

一般に、建物や電車などは磁界の発生源を多く含んでいるため、その内部や周囲では、これらの磁界発生源による外部磁界の影響を受けて、地磁気センサ158の検出値に大きな誤差を生じる。仮に、このような地域でオフセット誤差補正処理を実行してしまうと、誤ったオフセット誤差を算出してしまうため、該地域を離れた後も、再びオフセット誤差補正処理を行うまでは、不正確な方位の情報を表示部155に表示したままになる。
そこで、以下に述べる処理では、外部磁界等の影響で地磁気センサ158の検出値に誤差を生じる地域に入ったことを検知した場合、オフセット誤差補正処理を禁止する。また、方位の情報の精度が低下することを表示部155に表示させて、ユーザが方位の情報を参考にすべきか否かを判断できるようにする。
In general, buildings, trains, and the like include many magnetic field generation sources, and therefore, a large error occurs in the detection value of the geomagnetic sensor 158 due to the influence of external magnetic fields generated by these magnetic field generation sources. If the offset error correction process is executed in such an area, an incorrect offset error is calculated. Therefore, even after leaving the area, it is inaccurate until the offset error correction process is performed again. The direction information remains displayed on the display unit 155.
Therefore, in the processing described below, when it is detected that an area that causes an error in the detection value of the geomagnetic sensor 158 due to the influence of an external magnetic field or the like is detected, the offset error correction processing is prohibited. In addition, the display unit 155 displays that the accuracy of the direction information is lowered, so that the user can determine whether or not to refer to the direction information.

図24は、外部磁場の影響によって地磁気検出値に誤差が生じる場合における処理の第1の例を図解したフローチャートである。   FIG. 24 is a flowchart illustrating a first example of processing when an error occurs in the geomagnetic detection value due to the influence of an external magnetic field.

キー入力部154におけるキー入力操作等によってナビゲーション処理の開始が選択されると(ステップST602)、制御部160は、GPS信号受信部151において受信されるGPS信号のレベルが所定の値より低いか否かを調べる(ステップST604)。   When the start of navigation processing is selected by a key input operation or the like at key input unit 154 (step ST602), control unit 160 determines whether or not the level of the GPS signal received at GPS signal reception unit 151 is lower than a predetermined value. (STEP ST604).

通常、GPS信号のレベルは、携帯電話機100が建物の内部に入ると受信不能なレベルまで非常に小さくなる。本例では、この性質を利用して、携帯電話機100が建物の内部に入っているか否かを判断する。   Normally, the level of the GPS signal becomes very small to a level at which reception is impossible when the mobile phone 100 enters the building. In this example, using this property, it is determined whether or not the mobile phone 100 is inside the building.

GPS信号が所定値より低くなったことを検知した場合、制御部160は、携帯電話機100が建物の内部に入ったと判断して、上述したオフセット誤差補正処理の実行を禁止する(ステップST606)。例えば一定時間毎に補正処理が繰り返されている場合には、この一定時間経過後も補正処理を行わないようにする。
また、この場合、制御部160は、方位の情報の精度が低下していることを表示部155に表示させる(ステップST608)。例えば、既に述べた図14のステップST214と同様に、方位を表すコンパスの画像を左右に振らせたり、コンパスの形,色,サイズ等を変化させたり、方位の精度低下を表す別の画像を表示させるなどの方法により、方位の精度低下の情報を表示部155に表示させる。
When it is detected that the GPS signal has become lower than the predetermined value, control unit 160 determines that mobile phone 100 has entered the interior of the building, and prohibits execution of the above-described offset error correction processing (step ST606). For example, when the correction process is repeated every fixed time, the correction process is not performed even after the fixed time has elapsed.
In this case, control unit 160 causes display unit 155 to display that the accuracy of the direction information has been reduced (step ST608). For example, as in step ST214 of FIG. 14 described above, the compass image representing the azimuth is shaken to the left and right, the shape, color, size, etc. of the compass is changed, or another image representing the deterioration of the azimuth accuracy is displayed. The display unit 155 is caused to display information on the deterioration of the azimuth accuracy by a method such as display.

一方、GPS信号が所定値より高くなったことを検知した場合、制御部160は、携帯電話機100が建物の内部に入っていないと判断して、上述したオフセット誤差補正処理の実行が禁止されている状態であれば、この禁止を解除する(ステップST610)。
また、この場合、制御部160は、方位の情報の精度が回復したことを表示部155に表示させる(ステップST612)。例えば、コンパスの画像を左右に振らせる動きによって方位の精度低下を表示している場合には、この左右の振れを停止させても良い。コンパスの画像の形や色、サイズを変化させることにより方位の精度低下を表示している場合には、これを元の状態に戻しても良い。あるいは、方位の情報の精度が回復したことを示す別の画像を表示させても良い。
On the other hand, when it is detected that the GPS signal has become higher than the predetermined value, the control unit 160 determines that the mobile phone 100 is not inside the building, and the execution of the offset error correction process described above is prohibited. If so, this prohibition is canceled (step ST610).
In this case, control unit 160 causes display unit 155 to display that the accuracy of the direction information has been recovered (step ST612). For example, in the case where a decrease in azimuth accuracy is displayed by moving the compass image to the left and right, the left and right shake may be stopped. In the case where the deterioration of the orientation accuracy is displayed by changing the shape, color, and size of the compass image, it may be returned to the original state. Alternatively, another image indicating that the accuracy of the direction information has been recovered may be displayed.

ステップST608またはST612の後、制御部160は、ナビゲーション処理の終了が選択されているかどうかを調べ、当該処理が続くと確認された場合、上述したステップST604以降の処理を繰り返す(ステップST614)。   After step ST608 or ST612, control unit 160 checks whether or not the end of the navigation process is selected, and if it is confirmed that the process will continue, it repeats the processes after step ST604 described above (step ST614).

以上のように、外部磁場の影響によって地磁気検出値に誤差が生じる場合における処理の第1の例(図24)によれば、方位の情報を表示部155に表示させているとき、GPS信号受信部151において受信されるGPS信号のレベルが監視し、このレベルが所定の値より低くなったことが検知された場合、携帯電話機100が建物の内部に入っていると判断され、表示部155における方位の情報の精度が低いことを示す情報が表示部155に表示される。
これにより、表示されている方位の情報の精度が低いか否かをユーザが正しく把握できるようになる。例えば、方位の情報の精度が低い場合、画面に表示中の方位を参考にせずに、地図に表示されている情報と周囲の風景とを見比べて方位を把握するなど、別の方法により方位の見当を付けるべきことがユーザにとって明確になるため、ナビゲーション機能の使い易さを向上させることができる。
As described above, according to the first example (FIG. 24) of the processing in the case where an error occurs in the geomagnetic detection value due to the influence of the external magnetic field, when the direction information is displayed on the display unit 155, GPS signal reception is performed. When the level of the GPS signal received by the unit 151 is monitored and it is detected that the level is lower than a predetermined value, it is determined that the mobile phone 100 is inside the building, and the display unit 155 Information indicating that the accuracy of the orientation information is low is displayed on the display unit 155.
As a result, the user can correctly grasp whether or not the accuracy of the displayed orientation information is low. For example, if the accuracy of orientation information is low, the orientation can be determined by another method, such as comparing the information displayed on the map with the surrounding landscape without referring to the orientation displayed on the screen. Since it is clear for the user that a register should be obtained, the ease of use of the navigation function can be improved.

また、建物の内部など、外部磁場の影響によってオフセット誤差を正確に算出することができない不適切な地域においてオフセット誤差補正処理の実行が禁止されるため、不正確な方位の表示を長時間にわたって表示部155に表示させてしまうケースを減らすことができる。   In addition, since the execution of offset error correction processing is prohibited in inappropriate areas where the offset error cannot be accurately calculated due to the influence of an external magnetic field, such as inside a building, the display of inaccurate orientation is displayed for a long time. Cases that are displayed on the portion 155 can be reduced.

次に、外部磁場の影響によって地磁気検出値に誤差が生じる場合における処理の第2の例について、図25に示すフローチャートを参照して述べる。   Next, a second example of processing when an error occurs in the geomagnetic detection value due to the influence of an external magnetic field will be described with reference to the flowchart shown in FIG.

上述した第1の例(図24)に対する第2の例(図25)の違いは、GPS信号が所定値より低くなったことを検知した場合に、地図の表示をヘディングアップ表示からノースアップ表示に固定し、GPS信号が所定値より高くなったことを検知した場合に、ヘディングアップ表示を再開させることにある。   The difference between the first example (FIG. 24) and the second example (FIG. 25) is that the map display is changed from the heading-up display to the north-up display when it is detected that the GPS signal is lower than a predetermined value. When the GPS signal is detected to be higher than a predetermined value, the heading-up display is resumed.

すなわち、制御部160は、ステップST604においてGPS信号が所定値より低くなったことを検知した場合、オフセット誤差補正処理を禁止するとともに(ステップST606)、地図の表示をヘディングアップ表示からノースアップ表示に固定する(ステップST616)。また、ステップST604においてGPS信号が所定値より高くなったことを検知した場合、オフセット誤差補正処理の禁止を解除するとともに(ステップST610)、ノースアップ表示を解除して、ヘディングアップ表示を再開させる(ステップST618)。   That is, when detecting that the GPS signal has become lower than the predetermined value in step ST604, control unit 160 prohibits the offset error correction process (step ST606) and changes the map display from heading-up display to north-up display. It is fixed (step ST616). If it is detected in step ST604 that the GPS signal is higher than the predetermined value, the prohibition of the offset error correction process is canceled (step ST610), the north-up display is canceled, and the heading-up display is restarted (step ST610). Step ST618).

以上のように、図25に示す第2の例の処理によれば、建物の内部など、外部磁場の影響で方位の情報の精度が低下する地域において、地図の表示をノースアップ表示に固定することにより、表示部155に表示されている方位の情報の精度が低いことをユーザに通知することができる。これにより、表示されている方位の情報の精度が低いか否かをユーザが正しく把握できるようになる。   As described above, according to the processing of the second example shown in FIG. 25, the map display is fixed to the north-up display in an area where the accuracy of the direction information is lowered due to the influence of the external magnetic field, such as the inside of a building. Thus, it is possible to notify the user that the accuracy of the orientation information displayed on the display unit 155 is low. As a result, the user can correctly grasp whether or not the accuracy of the displayed orientation information is low.

次に、外部磁場の影響によって地磁気検出値に誤差が生じる場合における処理の第3の例について、図26に示すフローチャートを参照して述べる。   Next, a third example of processing when an error occurs in the geomagnetic detection value due to the influence of the external magnetic field will be described with reference to the flowchart shown in FIG.

上述した第2の例(図25)に対する第3の例(図26)の違いは、GPS信号が所定値より低くなったことを検知した場合に、方位の算出処理ならびに地磁気センサ158の動作を停止させ、GPS信号が所定値より高くなったことを検知した場合に、これらの動作を再開させることにある。   The difference between the third example (FIG. 26) and the second example (FIG. 25) described above is that the direction calculation processing and the operation of the geomagnetic sensor 158 are performed when it is detected that the GPS signal is lower than a predetermined value. These operations are to be resumed when it is detected that the GPS signal has become higher than a predetermined value.

すなわち、制御部160は、ステップST604においてGPS信号が所定値より低くなったことを検知した場合、地図の表示をヘディングアップ表示からノースアップ表示に固定するとともに(ステップST616)、方位の算出処理ならびに地磁気センサ158の動作を停止させる(ステップST620)。また、ステップST604においてGPS信号が所定値より高くなったことを検知した場合、ノースアップ表示を解除してヘディングアップ表示を再開させるとともに(ステップST618)、方位の算出処理ならびに地磁気センサ158の動作を再開させる(ステップST622)。   That is, when it is detected in step ST604 that the GPS signal has become lower than the predetermined value, control unit 160 fixes the map display from the heading-up display to the north-up display (step ST616), and calculates the direction and The operation of the geomagnetic sensor 158 is stopped (step ST620). If it is detected in step ST604 that the GPS signal is higher than the predetermined value, the north-up display is canceled and the heading-up display is resumed (step ST618), and the azimuth calculation process and the operation of the geomagnetic sensor 158 are performed. It is restarted (step ST622).

もともとGPS信号を受信し難い建物の内部などは、外部磁場の影響を受け易い環境であるが、以上述べた図26に示す第3の例の処理によれば、携帯電話機100がこのような環境にあるか否かをGPS信号のレベルに応じて検知して地磁気センサ158の動作を停止させるため、利用されない回路への無駄な電力の供給を抑えて、消費電力の削減を図ることができる。   The interior of a building that is difficult to receive GPS signals is an environment that is easily affected by an external magnetic field. However, according to the above-described third example processing shown in FIG. Therefore, the operation of the geomagnetic sensor 158 is stopped according to the level of the GPS signal, so that the wasteful power supply to unused circuits can be suppressed and the power consumption can be reduced.

次に、外部磁場の影響によって地磁気検出値に誤差が生じる場合における処理の第4の例について、図27に示すフローチャートを参照して述べる。   Next, a fourth example of processing in the case where an error occurs in the geomagnetic detection value due to the influence of an external magnetic field will be described with reference to the flowchart shown in FIG.

上述した第3の例(図26)に対する第4の例(図27)の違いは、GPS信号が所定値より高くなったことを検知した場合、方位の算出値が安定してから、ヘディングアップ表示を再開させることにある。   The difference between the fourth example (FIG. 27) and the third example (FIG. 26) described above is that, when it is detected that the GPS signal has become higher than a predetermined value, the heading is increased after the calculated direction value is stabilized. It is to resume the display.

すなわち、制御部160は、ステップST604においてGPS信号が所定値より高くなったことを検知し、方位の算出処理ならびに地磁気センサ158の動作を再開させた後(ステップST622)、方位の算出値が安定したか否かを判定する(ステップST624)。例えば、制御部160は、方位の算出結果の所定時間における変動幅が所定範囲内に収まる場合、方位の算出値が安定したと判定する。そして、方位の算出値が安定したと判定した後、ノースアップ表示を解除して、ヘディングアップ表示を再開させる(ステップST618)。   That is, after detecting that the GPS signal has become higher than the predetermined value in step ST604, the control unit 160 resumes the direction calculation processing and the operation of the geomagnetic sensor 158 (step ST622), and the calculated direction value is stable. It is determined whether or not (step ST624). For example, the control unit 160 determines that the calculated value of the azimuth is stable when the fluctuation range in the predetermined time of the calculation result of the azimuth is within a predetermined range. Then, after determining that the calculated value of the azimuth is stable, the north-up display is canceled and the heading-up display is resumed (step ST618).

以上のように、図27に示す第4の例の処理によれば、GPS信号の信号レベルが所定値より高くなり、携帯電話機100が建物等の内部から出たと判断された場合、方位の算出値の安定が確認されてからヘディングアップ表示が再開される。そのため、例えば建物の外に出た直後において建物からの磁場による地磁気検出値の変動が大きい状態で、精度の低い方位の情報が表示部155に表示されることを防ぐことができる。   As described above, according to the process of the fourth example shown in FIG. 27, when it is determined that the signal level of the GPS signal is higher than a predetermined value and the mobile phone 100 comes out of the inside of a building or the like, the direction calculation is performed. The heading up display is resumed after the value is confirmed to be stable. Therefore, for example, it is possible to prevent information with a low accuracy from being displayed on the display unit 155 in a state in which the fluctuation of the geomagnetic detection value due to the magnetic field from the building is large immediately after going out of the building.

次に、外部磁場の影響によって地磁気検出値に誤差が生じる場合における処理の第5の例について、図28に示すフローチャートを参照して述べる。   Next, a fifth example of processing in the case where an error occurs in the geomagnetic detection value due to the influence of an external magnetic field will be described with reference to the flowchart shown in FIG.

上述した第1〜第4の例の処理(図24〜図27)では、GPS信号の受信レベルに基づいて、携帯電話機100が建物の内部に入っているか否か、すなわち外部磁場の影響によって地磁気の検出に誤差が生じ易い地域に入っているか否かを判断している。
次に述べる第5の例(図28)の処理では、予め記憶部152に登録される情報に基づいて、携帯電話機100の現在地が磁気センサ158の検出値の精度低下を生じる精度低下地域に含まれるか否かを判定し、含まれると判定した場合に、オフセット誤差補正処理を禁止する。また、方位の情報の精度が低下することを表示部155に表示させて、ユーザが方位の情報を参考にすべきか否かを判断できるようにする。
In the processes of the first to fourth examples (FIGS. 24 to 27) described above, based on the reception level of the GPS signal, whether or not the mobile phone 100 is inside the building, that is, the geomagnetism due to the influence of the external magnetic field. It is determined whether or not the vehicle is in an area where errors are likely to occur.
In the process of the fifth example (FIG. 28) to be described next, the current location of the mobile phone 100 is included in the accuracy-decreased region where the accuracy of the detection value of the magnetic sensor 158 is reduced based on information registered in the storage unit 152 in advance. If it is determined that it is included, the offset error correction process is prohibited. In addition, the display unit 155 displays that the accuracy of the direction information is lowered, so that the user can determine whether or not to refer to the direction information.

まず、キー入力部154におけるキー入力操作等によってナビゲーション処理の開始が選択されると(ステップST702)、制御部160は、端末の現在地が記憶部152に登録されている精度低下地域に含まれるか否か判定する(ステップST704)。   First, when the start of the navigation process is selected by a key input operation or the like in the key input unit 154 (step ST702), the control unit 160 determines whether the current location of the terminal is included in the reduced accuracy area registered in the storage unit 152. It is determined whether or not (step ST704).

記憶部152に登録されている精度低下地域の情報は、例えば、ナビゲーションサーバ装置402から送られてくる地図の識別番号と、この地図上における精度低下地域の座標の情報(例えば座標の範囲によって地図上の精度低下地域を示す情報など)とによって構成される。
制御部160は、まず記憶部152に登録されている精度低下地域の情報から、現在表示中の地図と同一の識別番号の情報を検索する。検索の結果、同一の識別番号の情報が存在する場合は、更にその座標情報が示す地図上の精度低下地域の座標範囲に携帯電話機100の現在地が含まれるか否かを判定する。現在地がこの座標範囲に含まれる場合、制御部160は、携帯電話機100の現在地が精度低下地域に含まれるとの判定を下す。
For example, the information on the reduced accuracy area registered in the storage unit 152 includes an identification number of the map sent from the navigation server device 402, and information on the coordinates of the reduced accuracy area on the map (for example, the map according to the coordinate range). Etc.), and the information indicating the accuracy-decreased area above.
First, the control unit 160 searches the information on the same identification number as that of the currently displayed map from the information on the reduced accuracy area registered in the storage unit 152. If information of the same identification number exists as a result of the search, it is further determined whether or not the current location of the mobile phone 100 is included in the coordinate range of the reduced accuracy area on the map indicated by the coordinate information. When the current location is included in the coordinate range, the control unit 160 determines that the current location of the mobile phone 100 is included in the reduced accuracy area.

現在地が精度低下地域に含まれると判定した場合、制御部160は、上述したオフセット誤差補正処理の実行を禁止する(ステップST706)。例えば一定時間毎に補正処理が繰り返されている場合、この一定時間経過後も補正処理を行わないようにする。
また、この場合、制御部160は、方位の情報の精度が低下していることを表示部155に表示させる(ステップST708)。例えば、既に述べた図14のステップST214と同様に、方位を表すコンパスの画像を左右に振らせたり、コンパスの形,色,サイズ等を変化させたり、方位の精度低下を表す別の画像を表示させるなどの方法により、方位の精度低下の情報を表示部155に表示させる。
If it is determined that the current location is included in the reduced accuracy region, control unit 160 prohibits execution of the above-described offset error correction processing (step ST706). For example, when the correction process is repeated every fixed time, the correction process is not performed even after the fixed time has elapsed.
In this case, control unit 160 also causes display unit 155 to display that the accuracy of the direction information has decreased (step ST708). For example, as in step ST214 of FIG. 14 described above, the compass image representing the azimuth is shaken to the left and right, the shape, color, size, etc. of the compass is changed, or another image representing the deterioration of the azimuth accuracy is displayed. The display unit 155 is caused to display information on the deterioration of the azimuth accuracy by a method such as display.

一方、現在地が精度低下地域の外にあると判定した場合、制御部160は、上述したオフセット誤差補正処理の実行が禁止されている状態であれば、この禁止を解除する(ステップST710)。
また、この場合、制御部160は、方位の情報の精度が回復したことを表示部155に表示させる(ステップST712)。例えば、コンパスの画像を左右に振らせる動きによって方位の精度低下を表示している場合には、この左右の振れを停止させても良い。コンパスの画像の形や色、サイズを変化させることにより方位の精度低下を表示している場合には、これを元の状態に戻しても良い。あるいは、方位の情報の精度が回復したことを示す別の画像を表示させても良い。
On the other hand, if it is determined that the current location is outside the area of reduced accuracy, control unit 160 cancels the prohibition if execution of the above-described offset error correction process is prohibited (step ST710).
In this case, control unit 160 also causes display unit 155 to display that the accuracy of the direction information has been recovered (step ST712). For example, in the case where a decrease in azimuth accuracy is displayed by moving the compass image to the left and right, the left and right shake may be stopped. In the case where the deterioration of the orientation accuracy is displayed by changing the shape, color, and size of the compass image, it may be returned to the original state. Alternatively, another image indicating that the accuracy of the direction information has been recovered may be displayed.

ステップST708またはST712の後、制御部160は、ナビゲーション処理の終了が選択されているかどうかを調べ、当該処理が続くと確認された場合、上述したステップST704以降の処理を繰り返す(ステップST714)。   After step ST708 or ST712, the control unit 160 checks whether or not the end of the navigation process is selected. If it is confirmed that the process will continue, the control unit 160 repeats the processes after step ST704 (step ST714).

以上のように、外部磁場の影響によって地磁気検出値に誤差が生じる場合における処理の第5の例(図28)によれば、方位の情報を表示部155に表示させているとき、携帯電話機100の現在地が記憶部152に登録される精度低下地域に含まれるか否かの判定が行われる。この判定の結果、現在地が精度低下地域に含まれると判定された場合、表示部155における方位の情報の精度が低いことを示す情報が表示部155に表示される。
これにより、表示されている方位の情報の精度が低いか否かをユーザが正しく把握できるようになるため、ナビゲーション機能の使い易さを向上させることができる。
As described above, according to the fifth example (FIG. 28) of the processing in the case where an error occurs in the geomagnetic detection value due to the influence of the external magnetic field, when the orientation information is displayed on the display unit 155, the mobile phone 100 It is determined whether or not the current location is included in the reduced accuracy area registered in the storage unit 152. As a result of this determination, when it is determined that the current location is included in the reduced accuracy area, information indicating that the accuracy of the orientation information on the display unit 155 is low is displayed on the display unit 155.
Thereby, since the user can correctly grasp whether or not the accuracy of the displayed orientation information is low, the ease of use of the navigation function can be improved.

また、外部磁場の影響によってオフセット誤差を正確に算出することができない精度低下地域においてオフセット誤差補正処理の実行が禁止されるため、不正確な方位の表示を長時間にわたって表示部155に表示させてしまうケースを減らすことができる。   In addition, since the execution of the offset error correction process is prohibited in an area where the offset error cannot be accurately calculated due to the influence of the external magnetic field, an incorrect azimuth display is displayed on the display unit 155 for a long time. Can be reduced.

次に、外部磁場の影響によって地磁気検出値に誤差が生じる場合における処理の第6の例について、図29に示すフローチャートを参照して述べる。   Next, a sixth example of processing when an error occurs in the geomagnetic detection value due to the influence of an external magnetic field will be described with reference to the flowchart shown in FIG.

上述した第5の例(図28)に対する第6の例(図29)の違いは、現在地が精度低下地域に含まれると判定した場合に、地図の表示をヘディングアップ表示からノースアップ表示に固定し、現在地が精度低下地域から外れたと判定した場合に、ヘディングアップ表示を再開させることにある。   The difference between the above-described fifth example (FIG. 28) and the sixth example (FIG. 29) is that the map display is fixed from the heading-up display to the north-up display when it is determined that the current location is included in the reduced accuracy area. Then, when it is determined that the current location is out of the reduced accuracy region, the heading-up display is resumed.

すなわち、制御部160は、ステップST704において携帯電話機100の現在地が精度低下地域に含まれると判定した場合、オフセット誤差補正処理を禁止するとともに(ステップST706)、地図の表示をヘディングアップ表示からノースアップ表示に固定する(ステップST716)。また、ステップST704において現在地が精度低下地域から外れたと判定した場合、オフセット誤差補正処理の禁止を解除するとともに(ステップST710)、ノースアップ表示を解除して、ヘディングアップ表示を再開させる(ステップST718)。   That is, if controller 160 determines in step ST704 that the current location of mobile phone 100 is included in the reduced accuracy area, control unit 160 prohibits the offset error correction process (step ST706) and changes the map display from heading-up display to north-up. The display is fixed (step ST716). If it is determined in step ST704 that the current location is out of the reduced accuracy region, the prohibition of the offset error correction process is canceled (step ST710), the north-up display is canceled, and the heading-up display is resumed (step ST718). .

以上のように、図29に示す第6の例の処理によれば、建物の内部など、外部磁場の影響で方位の情報の精度が低下する地域において、地図の表示をノースアップ表示に固定することにより、表示部155に表示されている方位の情報の精度が低いことをユーザに通知することができる。これにより、表示されている方位の情報の精度が低いか否かをユーザが正しく把握できるようになる。   As described above, according to the process of the sixth example shown in FIG. 29, the map display is fixed to the north-up display in an area where the accuracy of the direction information is reduced due to the influence of the external magnetic field, such as the inside of a building. Thus, it is possible to notify the user that the accuracy of the orientation information displayed on the display unit 155 is low. As a result, the user can correctly grasp whether or not the accuracy of the displayed orientation information is low.

次に、外部磁場の影響によって地磁気検出値に誤差が生じる場合における処理の第7の例について、図30に示すフローチャートを参照して述べる。   Next, a seventh example of processing in the case where an error occurs in the geomagnetic detection value due to the influence of an external magnetic field will be described with reference to the flowchart shown in FIG.

上述した第6の例(図29)に対する第7の例(図30)の違いは、記憶部152の情報に基づいて携帯電話機100が精度低下地域に入ったと判定した場合に、方位の算出処理ならびに地磁気センサ158の動作を停止させ、携帯電話機100が精度低下地域から出たと判定した場合に、これらの動作を再開させることにある。   The difference between the above-described sixth example (FIG. 29) and the seventh example (FIG. 30) is that, when it is determined that the mobile phone 100 has entered an area of reduced accuracy based on the information in the storage unit 152, the direction calculation processing In addition, the operation of the geomagnetic sensor 158 is stopped, and when it is determined that the mobile phone 100 is out of the area of reduced accuracy, these operations are resumed.

すなわち、制御部160は、ステップST704において携帯電話機100の現在地が精度低下地域に含まれると判定した場合、地図の表示をヘディングアップ表示からノースアップ表示に固定するとともに(ステップST716)、方位の算出処理ならびに地磁気センサ158の動作を停止させる(ステップST720)。また、ステップST704において現在地が精度低下地域から外れたと判定した場合、ノースアップ表示を解除してヘディングアップ表示を再開させるとともに(ステップST718)、方位の算出処理ならびに地磁気センサ158の動作を再開させる(ステップST722)。   That is, if controller 160 determines in step ST704 that the current location of mobile phone 100 is included in the area of reduced accuracy, control unit 160 fixes the display of the map from heading-up display to north-up display (step ST716), and calculates the direction. Processing and the operation of the geomagnetic sensor 158 are stopped (step ST720). If it is determined in step ST704 that the current location is out of the reduced accuracy region, the north-up display is canceled and the heading-up display is resumed (step ST718), and the direction calculation processing and the operation of the geomagnetic sensor 158 are resumed (step ST718). Step ST722).

以上のように、図30に示す第8の例の処理によれば、外部磁場の影響で方位の情報の精度が低下する地域において地磁気センサ158の動作を停止させるため、利用されない回路への無駄な電力の供給を抑えて、消費電力の削減を図ることができる。   As described above, according to the process of the eighth example shown in FIG. 30, the operation of the geomagnetic sensor 158 is stopped in an area where the accuracy of the orientation information is lowered due to the influence of the external magnetic field, so that it is wasteful to an unused circuit. Therefore, it is possible to reduce power consumption by suppressing the supply of unnecessary power.

次に、外部磁場の影響によって地磁気検出値に誤差が生じる場合における処理の第8の例について、図31に示すフローチャートを参照して述べる。   Next, an eighth example of processing in the case where an error occurs in the geomagnetic detection value due to the influence of an external magnetic field will be described with reference to the flowchart shown in FIG.

上述した第7の例(図30)に対する第8の例(図31)の違いは、携帯電話機100が精度低下地域から出たとを判定した場合、方位の算出値が安定してから、ヘディングアップ表示を再開させることにある。   The difference between the above-described seventh example (FIG. 30) and the eighth example (FIG. 31) is that when it is determined that the mobile phone 100 is out of the area with reduced accuracy, the heading is increased after the calculated value of the azimuth is stabilized. It is to resume the display.

すなわち、制御部160は、ステップST704において携帯電話機100の現在地が精度低下地域より外れたことを判定し、方位の算出処理ならびに地磁気センサ158の動作を再開させた後(ステップST722)、方位の算出値が安定したか否かを判定する(ステップST724)。例えば、制御部160は、方位の算出結果の所定時間における変動幅が所定範囲内に収まる場合、方位の算出値が安定したと判定する。そして、方位の算出値が安定したと判定した後、ノースアップ表示を解除して、ヘディングアップ表示を再開させる(ステップST718)。   That is, control unit 160 determines in step ST704 that the current location of mobile phone 100 is out of the reduced accuracy region, restarts the direction calculation processing and the operation of geomagnetic sensor 158 (step ST722), and then calculates the direction. It is determined whether or not the value is stable (step ST724). For example, the control unit 160 determines that the calculated value of the azimuth is stable when the fluctuation range in the predetermined time of the calculation result of the azimuth is within a predetermined range. Then, after determining that the calculated value of the azimuth is stable, the north-up display is canceled and the heading-up display is resumed (step ST718).

以上のように、図31に示す第8の例の処理によれば、携帯電話機100の現在地が精度低下地域より外れたと判断された場合、方位の算出値が安定したことを確認してからヘディングアップ表示が再開される。そのため、例えば精度低下地域から外れた直後において、建物などからの磁界による地磁気検出値の変動が残っている場合に、精度の低い方位の情報が表示部155に表示されることを防ぐことができる。   As described above, according to the process of the eighth example shown in FIG. 31, when it is determined that the current location of the mobile phone 100 is out of the accuracy-decreasing area, the heading is confirmed after confirming that the calculated value of the bearing is stable. Up display is resumed. Therefore, for example, immediately after leaving the area with reduced accuracy, it is possible to prevent information with a low accuracy from being displayed on the display unit 155 when a change in the geomagnetic detection value due to a magnetic field from a building or the like remains. .

次に、上述した第5〜第8の例の処理(図28〜図31)において、記憶部152に精度低下地域を登録する処理について、図32のフローチャートを参照して述べる。   Next, in the processing of the fifth to eighth examples (FIGS. 28 to 31) described above, processing for registering the reduced accuracy area in the storage unit 152 will be described with reference to the flowchart of FIG.

キー入力部154におけるキー入力操作等によってナビゲーション処理の開始が選択されると(ステップST732)、制御部160は、地磁気センサ158の検出値が所定の異常状態になっているか調べる(ステップST734)。
ここで所定の異常状態は、例えば図20のオフセット誤差補正処理において述べたものと同様である。すなわち、‘0’〜‘255’までの整数値で表現される8ビットの検出値の何れか1つにオーバーフローが生じている状態や、地磁気検出値の何れか1つが所定の正常範囲を外れている状態を、異常状態として検知する。
When the start of the navigation process is selected by a key input operation or the like at the key input unit 154 (step ST732), the control unit 160 checks whether the detection value of the geomagnetic sensor 158 is in a predetermined abnormal state (step ST734).
Here, the predetermined abnormal state is the same as that described in the offset error correction process of FIG. 20, for example. That is, an overflow has occurred in any one of the 8-bit detection values represented by integer values from “0” to “255”, and any one of the geomagnetic detection values is out of the predetermined normal range. Is detected as an abnormal condition.

制御部160は、このような地磁気検出値の異常状態を検知すると、該検知の時点から異常状態が持続する時間を計測する(ステップST736)。そして、異常状態が所定時間(例えば5秒間)以内で終了した場合、制御部160は、外部磁界によって地磁気検出地に誤差が生じたと判断し(ステップST738)、現在地を精度低下地域として記憶部152に登録する(ステップST740)。   When detecting such an abnormal state of the geomagnetic detection value, control unit 160 measures the time during which the abnormal state continues from the time of the detection (step ST736). When the abnormal state ends within a predetermined time (for example, 5 seconds), the control unit 160 determines that an error has occurred in the geomagnetism detection location due to the external magnetic field (step ST738), and the storage unit 152 uses the current location as the accuracy reduction region. (Step ST740).

記憶部152への精度低下地域の登録は、地磁気検出値の異常を検出した際に表示していた地図の識別番号と、該異常が生じた地図上の座標の情報(例えば異常発生地点を含む数メートル四方の領域の座標範囲など)とを関連付けて、記憶部152に割り当てられた所定の精度低下地域登録用データテーブルに格納することにより行う。   The registration of the reduced accuracy area in the storage unit 152 includes the identification number of the map displayed when the abnormality of the geomagnetic detection value is detected, and information on the coordinates on the map where the abnormality has occurred (for example, the abnormality occurrence point) The coordinate range of an area of several meters square is associated with each other and stored in a predetermined accuracy-reduced area registration data table assigned to the storage unit 152.

なお、記憶部152に登録する精度低下地域の数には上限を設けても良い。この場合、制御部160は、記憶部152に登録される精度低下地域の数がこの上限に達した場合、新たな精度低下地域を登録する際に、登録済みの精度低下地域の情報の中から最も古い情報を削除しても良い。
これにより、精度低下地域の登録情報によって記憶部152の記憶領域が際限なく消費されることを防止できるとともに、最新の情報を残すことによって精度低下地域の情報の信頼性を高めることができる。
Note that an upper limit may be set for the number of areas with reduced accuracy registered in the storage unit 152. In this case, when the number of accuracy-decreasing areas registered in the storage unit 152 reaches this upper limit, the control unit 160, when registering a new accuracy-decreasing area, from among the information on the registered accuracy-decreasing areas. The oldest information may be deleted.
Thereby, it is possible to prevent the storage area of the storage unit 152 from being consumed indefinitely by the registration information of the reduced accuracy area, and it is possible to improve the reliability of the information of the reduced accuracy area by leaving the latest information.

記憶部152に精度低下地域を登録した後、制御部160は、ナビゲーション処理の終了が選択されているかどうかを調べ(ステップST742)、当該処理が続くと確認された場合、上述したステップST734〜ST740の処理を繰り返す。
また、ステップST734において地磁気検出値の異常状態が検知されない場合や、ステップST738において所定時間以上にわたって地磁気検出値の異常状態が続いたと判定された場合、同様にナビゲーション処理の続行を確認した上で、ステップST734〜ST740の処理を繰り返す。
After registering the reduced accuracy area in the storage unit 152, the control unit 160 checks whether or not the end of the navigation process is selected (step ST742), and if it is confirmed that the process will continue, the above-described steps ST734 to ST740 are performed. Repeat the process.
In addition, when an abnormal state of the geomagnetism detection value is not detected in step ST734, or when it is determined in step ST738 that the abnormal state of the geomagnetism detection value has continued for a predetermined time or more, after confirming the continuation of the navigation process, The processes in steps ST734 to ST740 are repeated.

ここまで、本発明の好ましい実施形態について述べてきたが、本発明は上述した形態にのみ限定されるものではなく、種々のバリエーションを含む。   The preferred embodiments of the present invention have been described so far, but the present invention is not limited to the above-described embodiments, and includes various variations.

上述の実施形態では、方位算出処理として第1〜第6の例、オフセット誤差補正処理として第1〜第3の例、外部磁場の影響により地磁気検出値に誤差が生じる場合の処理として第1〜第8の例を示したが、本発明の実施形態には、これらの処理例の少なくとも一部を任意に組み合わせた形態が含まれる。   In the above-described embodiment, the first to sixth examples as the azimuth calculation processing, the first to third examples as the offset error correction processing, and the first to third processings when an error occurs in the geomagnetic detection value due to the influence of the external magnetic field. Although the eighth example has been shown, the embodiment of the present invention includes a form in which at least some of these processing examples are arbitrarily combined.

上述の実施形態では、地磁気センサ158において3方向の地磁気が検出される例を示したが、これに限らず、例えば2方向でも良い。   In the above-described embodiment, an example in which geomagnetism in three directions is detected by the geomagnetic sensor 158 has been described.

上述の実施形態では、例えば図14のステップST208などにおいて、方位の情報の精度が低下していることを表示部155に表示させる例が示されているが、これに限定されず、例えばこの表示を行っているときに方位の情報の補正を行っている場合には、その補正中であることを表示部155に表示させても良い。あるいは、精度低下中と補正中とを両方示す情報を表示部155に表示させても良い。   In the above-described embodiment, for example, in step ST208 of FIG. 14 and the like, an example in which the accuracy of the orientation information is reduced is displayed on the display unit 155. However, the present invention is not limited to this. When the direction information is corrected while performing the correction, it may be displayed on the display unit 155 that the correction is being performed. Or you may display on the display part 155 the information which shows both during the precision fall and correction | amendment.

また、精度低下中や補正中などの情報を表示する代わりに、方位の情報の表示を単に停止させても良い。この場合、方位の補正が完了した場合(あるいは精度低下地域から外れた場合)には、方位の情報の表示を再開することによって、方位の情報の精度が回復したことをユーザに示しても良い。   Further, instead of displaying information such as when accuracy is being reduced or during correction, the display of orientation information may be simply stopped. In this case, when the correction of the azimuth is completed (or out of the area where the accuracy is lowered), the display of the azimuth information may be resumed to indicate to the user that the accuracy of the azimuth information has been restored. .

図26,27のステップST616およびST618ではノースアップ表示の固定とその解除を行っているが、これに限らず、例えば図24のステップST608およびST612と同様に、方位の精度低下、方位の精度回復の表示を行っても良い。   In steps ST616 and ST618 of FIGS. 26 and 27, the north-up display is fixed and released. However, the present invention is not limited to this. For example, as in steps ST608 and ST612 of FIG. May be displayed.

図30,31のステップST716およびST718ではノースアップ表示の固定とその解除を行っているが、これに限らず、例えば図28のステップST708およびST712と同様に、方位の精度低下、方位の精度回復の表示を行っても良い。   In steps ST716 and ST718 of FIGS. 30 and 31, the north-up display is fixed and released. However, the present invention is not limited to this. For example, as in steps ST708 and ST712 of FIG. May be displayed.

外部磁場の影響により地磁気検出値に誤差が生じる場合の処理である第5〜第8の例(図28〜図31)では、精度低下地域の情報を記憶部152のデータテーブルから取得しているが、これに限らず、例えば無線通信部150を介して接続されるサーバ装置から取得しても良い。
すなわち、制御部160は、携帯電話機100の現在地が精度低下地域に含まれるか否かを示す情報を、所定のサーバ装置から無線通信部150を介して取得し、この取得した情報において現在地が精度低下地域に含まれることが示されている場合、オフセット誤差補正処理を禁止しても良い。
In the fifth to eighth examples (FIGS. 28 to 31), which are processes in the case where an error occurs in the geomagnetic detection value due to the influence of the external magnetic field, information on the accuracy-decreasing area is acquired from the data table of the storage unit 152. However, the present invention is not limited thereto, and may be acquired from a server device connected via the wireless communication unit 150, for example.
That is, the control unit 160 acquires information indicating whether or not the current location of the mobile phone 100 is included in the accuracy-decreased region from the predetermined server device via the wireless communication unit 150, and the current location is the accuracy in the acquired information. In the case where it is indicated that it is included in the lowered area, the offset error correction process may be prohibited.

上述の実施形態では、携帯電話機100において地図の回転処理(例えばヘディングアップ表示など)を行っているが、これに限らず、例えば携帯電話機100がナビゲーションサーバ装置402に対して地図の表示の向きを指定して地図情報を要求し、ナビゲーションサーバ装置402が、携帯電話機100から要求に応じた向きの地図情報を生成して携帯電話機100に提供しても良い。
すなわち、制御部160は、地磁気検出値に基づき算出した方位に応じた地図の画像情報を、ナビゲーションサーバ装置402から取得して表示部155に表示させる処理を行なっても良い。
そして、この処理中に、例えばGPS信号のレベルが所定値より低くなる等により、地磁気検出値の検出精度の低下が検知された場合、制御部160は、算出した方位とは関係なく予め設定された方位の地図の画像情報をナビゲーションサーバ装置402に要求してこれを取得し、表示部155に表示させても良い。
In the above-described embodiment, map rotation processing (for example, heading-up display) is performed on the mobile phone 100. However, the present invention is not limited to this, and for example, the mobile phone 100 indicates the map display direction with respect to the navigation server device 402. The map information may be requested and the navigation server device 402 may generate map information in a direction corresponding to the request from the mobile phone 100 and provide the map information to the mobile phone 100.
That is, the control unit 160 may perform processing for acquiring map image information corresponding to the orientation calculated based on the detected geomagnetism value from the navigation server device 402 and displaying it on the display unit 155.
During this process, if a decrease in the detection accuracy of the geomagnetic detection value is detected, for example, because the level of the GPS signal becomes lower than a predetermined value, the control unit 160 is set in advance regardless of the calculated orientation. The navigation server device 402 may be requested to obtain image information of a map in a different direction, and may be displayed on the display unit 155.

上述の実施形態では、GPS信号に応じた位置の算出処理をGPSサーバ装置401で行っているが、これに限らず、携帯電話機100においてGPS信号から位置を求める計算を行っても良い。   In the above-described embodiment, the position calculation process according to the GPS signal is performed by the GPS server device 401. However, the present invention is not limited to this, and the mobile phone 100 may calculate the position from the GPS signal.

上述の実施形態では、地図情報をナビゲーションサーバ装置402から取得しているが、これに限らず、地図情報を携帯電話機100の内部の記憶装置に格納しても良い。   In the above-described embodiment, the map information is acquired from the navigation server device 402. However, the present invention is not limited to this, and the map information may be stored in a storage device inside the mobile phone 100.

上述の実施形態では、制御部160の処理がコンピュータによってプログラムに基づいて実行される例を示したが、これらの処理の少なくとも一部をコンピュータによらずにハードウェアで実行させることも可能である。
逆に、制御部160以外の他のユニットにおける少なくとも一部の処理を、制御部160のコンピュータにおいて実行させても良い。
In the above-described embodiment, an example in which the processing of the control unit 160 is executed based on a program by a computer has been described. However, at least a part of these processing can be executed by hardware without using a computer. .
Conversely, at least a part of processing in units other than the control unit 160 may be executed by the computer of the control unit 160.

また、本発明の携帯通信端末は携帯電話機に限定されない。例えば、PDA(personal digital assistants)など、通信機能を有する携帯型の端末装置に本発明は広く適用可能である。   Further, the mobile communication terminal of the present invention is not limited to a mobile phone. For example, the present invention can be widely applied to portable terminal devices having a communication function such as PDA (personal digital assistants).

本発明の実施形態に係る携帯電話機において地理的位置および地図の情報を取得するためのシステムの構成例を示すブロック図である。It is a block diagram which shows the structural example of the system for acquiring the information of geographical location and map in the mobile telephone which concerns on embodiment of this invention. 開状態にある携帯電話機の斜視図である。It is a perspective view of the mobile phone in an open state. 閉状態にある携帯電話機の一側面からの斜視図である。It is a perspective view from one side of a cellular phone in a closed state. 閉状態にある携帯電話機の他の側面からの斜視図であるIt is a perspective view from the other side of a cellular phone in a closed state. 基板実装筐体の内部における基板実装状態を示す斜視図である。It is a perspective view which shows the board | substrate mounting state in the inside of a board | substrate mounting housing | casing. 本発明の実施形態に係る携帯電話機の構成例を示すブロック図である。It is a block diagram which shows the structural example of the mobile telephone which concerns on embodiment of this invention. 携帯電話機におけるGPS信号受信処理の一例を図解したフローチャートである。It is the flowchart which illustrated an example of the GPS signal reception process in a mobile telephone. 携帯電話機におけるナビゲーション処理の一例を図解したフローチャートである。5 is a flowchart illustrating an example of navigation processing in a mobile phone. ナビゲーションサーバ装置から送信される地図情報の一例を示す図である。It is a figure which shows an example of the map information transmitted from a navigation server apparatus. 携帯電話機における表示画像の回転処理の一例を図解したフローチャートである。5 is a flowchart illustrating an example of display image rotation processing in a mobile phone. 方位角の算出方法を説明するための図である。It is a figure for demonstrating the calculation method of an azimuth. 携帯電話機における方位算出処理の第1の例を図解したフローチャートである。It is the flowchart which illustrated the 1st example of the azimuth | direction calculation process in a mobile telephone. 補正用データの一例を示す図である。It is a figure which shows an example of the data for correction | amendment. 携帯電話機における方位算出処理の第2の例を図解したフローチャートである。It is the flowchart which illustrated the 2nd example of the azimuth | direction calculation process in a mobile telephone. 携帯電話機における方位算出処理の第3の例を図解したフローチャートである。12 is a flowchart illustrating a third example of orientation calculation processing in a mobile phone. 携帯電話機における方位算出処理の第4の例を図解したフローチャートである。10 is a flowchart illustrating a fourth example of direction calculation processing in a mobile phone. 携帯電話機における方位算出処理の第5の例を図解したフローチャートである。10 is a flowchart illustrating a fifth example of orientation calculation processing in a mobile phone. メモリカードの装着の有無に応じた地磁気センサ検出値の時間的変化の一例を示す図である。It is a figure which shows an example of the time change of the geomagnetic sensor detection value according to the presence or absence of mounting | wearing of a memory card. 携帯電話機における方位算出処理の第6の例を図解したフローチャートである。12 is a flowchart illustrating a sixth example of orientation calculation processing in a mobile phone. 地磁気検出値に異常状態が生じた場合におけるオフセット誤差補正処理の第1の例を図解したフローチャートである。6 is a flowchart illustrating a first example of offset error correction processing when an abnormal state occurs in a geomagnetic detection value. 外部磁界の影響により生じた地磁気検出値の異常状態の一例を示す図である。It is a figure which shows an example of the abnormal state of the geomagnetic detection value produced by the influence of an external magnetic field. 携帯電話機におけるオフセット誤差補正処理の第2の例を図解したフローチャートである。It is the flowchart which illustrated the 2nd example of the offset error correction process in a mobile telephone. 携帯電話機におけるオフセット誤差補正処理の第3の例を図解したフローチャートである。10 is a flowchart illustrating a third example of offset error correction processing in a mobile phone. 外部磁場の影響によって地磁気検出値に誤差が生じる場合における処理の第1の例を図解したフローチャートである。It is the flowchart which illustrated the 1st example of the process in case an error arises in a geomagnetic detection value by the influence of an external magnetic field. 外部磁場の影響によって地磁気検出値に誤差が生じる場合における処理の第2の例を図解したフローチャートである。It is the flowchart which illustrated the 2nd example of the process in case an error arises in a geomagnetic detection value by the influence of an external magnetic field. 外部磁場の影響によって地磁気検出値に誤差が生じる場合における処理の第3の例を図解したフローチャートである。It is the flowchart which illustrated the 3rd example of the process in case an error arises in a geomagnetic detection value by the influence of an external magnetic field. 外部磁場の影響によって地磁気検出値に誤差が生じる場合における処理の第4の例を図解したフローチャートである。It is the flowchart which illustrated the 4th example of the process in case an error arises in a geomagnetic detection value by the influence of an external magnetic field. 外部磁場の影響によって地磁気検出値に誤差が生じる場合における処理の第5の例を図解したフローチャートである。It is the flowchart which illustrated the 5th example of the process in case an error arises in a geomagnetic detection value by the influence of an external magnetic field. 外部磁場の影響によって地磁気検出値に誤差が生じる場合における処理の第6の例を図解したフローチャートである。It is the flowchart which illustrated the 6th example of the process in case an error arises in a geomagnetic detection value by the influence of an external magnetic field. 外部磁場の影響によって地磁気検出値に誤差が生じる場合における処理の第7の例を図解したフローチャートである。It is the flowchart which illustrated the 7th example of the process in case an error arises in a geomagnetic detection value by the influence of an external magnetic field. 外部磁場の影響によって地磁気検出値に誤差が生じる場合における処理の第8の例を図解したフローチャートである。It is the flowchart which illustrated the 8th example of the process in case an error arises in a geomagnetic detection value by the influence of an external magnetic field. 図28〜図31に示す処理において、記憶部に精度低下地域を登録する処理の一例を図解したフローチャートである。FIG. 32 is a flowchart illustrating an example of processing for registering a reduced accuracy area in a storage unit in the processing illustrated in FIGS. 28 to 31.

符号の説明Explanation of symbols

2…第1筐体、3…第2の筐体、4…可動機構部、21…表示パネル、100…携帯電話機、200…GPS衛星、300…基地局、401…GPSサーバ装置、402…ナビゲーションサーバ装置、150…無線通信部、151…GPS信号受信部、152…記憶部、153…開閉判定部、154…キー入力部、155…表示部、156…音声処理部、157…撮像部、158…地磁気センサ、159…メモリカード部、160…制御部。   DESCRIPTION OF SYMBOLS 2 ... 1st housing | casing, 3 ... 2nd housing | casing, 4 ... Movable mechanism part, 21 ... Display panel, 100 ... Mobile phone, 200 ... GPS satellite, 300 ... Base station, 401 ... GPS server apparatus, 402 ... Navigation Server device 150... Wireless communication unit 151... GPS signal receiving unit 152. Storage unit 153 Open / close determination unit 154 Key input unit 155 Display unit 156 ... Geomagnetic sensor, 159 ... Memory card part, 160 ... Control part.

Claims (13)

地磁気を検出する地磁気センサと、
GPS信号を受信するGPS信号受信手段と、
表示手段と、
上記地磁気センサの検出値に基づいて地理的方位を算出し、該算出した方位の情報と、上記GPS信号受信手段において受信されるGPS信号に基づいて特定される現在地の地理的位置の情報とを上記表示手段に表示させる制御手段と、
を有する携帯通信端末であって、
上記制御手段は、上記方位の情報を上記表示手段に表示させているとき、上記GPS信号受信手段において受信されるGPS信号のレベルを監視し、該レベルが所定の値より低くなったことを検知した場合、上記表示手段における方位の情報の表示を停止させる、および/または、方位の情報の精度が低いことを上記表示手段に示す
ことを特徴とする携帯通信端末。
A geomagnetic sensor for detecting geomagnetism;
GPS signal receiving means for receiving GPS signals;
Display means;
The geographical direction is calculated based on the detection value of the geomagnetic sensor, the calculated direction information, and the geographical position information of the current location specified based on the GPS signal received by the GPS signal receiving means. Control means for displaying on the display means;
A mobile communication terminal having
The control means monitors the level of the GPS signal received by the GPS signal receiving means when displaying the direction information on the display means, and detects that the level has become lower than a predetermined value. In such a case, the display means stops the display of the direction information and / or indicates to the display means that the accuracy of the direction information is low.
上記制御手段は、上記GPS信号に基づいて特定される現在地の周辺の地図を上記表示手段に表示させ、上記表示手段の表示画面上における上記地図の向きを上記算出した方位に応じて制御する処理を行い、該処理中に、上記GPS信号のレベルが上記所定の値より低くなった場合、上記地図の向きの制御を停止して、上記地図上の所定の方位を上記表示画面上の所定の方向に固定する
ことを特徴とする請求項1に記載の携帯通信端末。
The control means causes the display means to display a map around the current location specified based on the GPS signal, and controls the orientation of the map on the display screen of the display means in accordance with the calculated azimuth. When the level of the GPS signal becomes lower than the predetermined value during the processing, the control of the orientation of the map is stopped, and the predetermined direction on the map is changed to a predetermined value on the display screen. The mobile communication terminal according to claim 1, wherein the mobile communication terminal is fixed in a direction.
無線通信手段を有し、
上記地理的位置の情報は、現在地の周辺の地図の画像情報であって、
上記制御手段は、上記算出した方位に応じた地図の画像情報を、上記無線通信手段を介して所定の情報供給元から取得して上記表示手段に表示させる処理を行い、該処理中に、上記GPS信号のレベルが上記所定の値より低くなった場合、上記算出した方位とは関係なく予め設定された方位の地図の画像情報を、上記無線通信手段を介して上記情報供給元から取得して上記表示手段に表示させる
ことを特徴とする請求項1に記載の携帯通信端末。
Having wireless communication means;
The geographical location information is image information of a map around the current location,
The control means performs a process of acquiring image information of a map corresponding to the calculated direction from a predetermined information supply source via the wireless communication means and displaying the information on the display means. When the GPS signal level is lower than the predetermined value, the image information of the map of the preset orientation is acquired from the information supply source via the wireless communication means regardless of the calculated orientation. The mobile communication terminal according to claim 1, wherein the mobile communication terminal is displayed on the display unit.
上記制御手段は、上記GPS信号のレベルが上記所定の値より低くなったことに応じて、上記表示手段における方位の情報の表示を停止させ、および/または、方位の情報の精度が低いことを示す情報を上記表示手段に表示させた後、上記GPS信号のレベルが上記所定の値より高くなった場合、上記表示手段における上記方位の情報の表示を再開する、および/または、方位の情報の精度が回復したことを上記表示手段に示す
ことを特徴とする請求項1に記載の携帯通信端末。
The control means stops the display of the direction information on the display means and / or the accuracy of the direction information is low in response to the level of the GPS signal being lower than the predetermined value. After displaying the information to be displayed on the display means, when the level of the GPS signal becomes higher than the predetermined value, the display of the direction information on the display means is resumed and / or the direction information is displayed. The mobile communication terminal according to claim 1, wherein the display means indicates that the accuracy has been recovered.
上記制御手段は、上記GPS信号のレベルが上記所定の値より低くなったことに応じて上記地図の向きの制御を停止した後、上記GPS信号のレベルが上記所定の値より高くなった場合、上記地図の向きの制御を再開する
ことを特徴とする請求項2に記載の携帯通信端末。
The control means stops the control of the orientation of the map in response to the GPS signal level being lower than the predetermined value, and then the GPS signal level is higher than the predetermined value. The mobile communication terminal according to claim 2, wherein the control of the orientation of the map is resumed.
上記制御手段は、上記GPS信号のレベルが上記所定の値より高くなり、かつ、上記方位の算出結果の所定時間における変動幅が所定範囲内に収まる場合に、上記表示手段における上記方位の情報の表示を再開する、および/または、方位の情報の精度が回復したことを上記表示手段に示す
ことを特徴とする請求項4に記載の携帯通信端末。
When the GPS signal level is higher than the predetermined value and the fluctuation range of the calculation result of the azimuth is within a predetermined range, the control means The mobile communication terminal according to claim 4, wherein the display means indicates that the display is resumed and / or the accuracy of the direction information is restored.
上記制御手段は、上記GPS信号のレベルが上記所定の値より高くなり、かつ、上記方位の算出結果の所定時間における変動幅が所定範囲内に収まる場合に、上記地図の向きの制御を再開する
ことを特徴とする請求項5に記載の携帯通信端末。
The control means resumes the control of the orientation of the map when the level of the GPS signal is higher than the predetermined value and the fluctuation range of the calculation result of the azimuth is within a predetermined range. The mobile communication terminal according to claim 5.
地磁気を検出する地磁気センサと、
GPS信号を受信するGPS信号受信手段と、
表示手段と、
上記地磁気センサの検出値に基づいて地理的方位を算出し、該算出した方位の情報と、上記GPS信号受信手段において受信されるGPS信号に基づいて特定される現在地の地理的位置の情報とを上記表示手段に表示させる処理、および、上記地磁気センサのオフセット誤差を検出して補正するオフセット誤差補正処理を行う制御手段と、
を有する携帯通信端末であって、
上記制御手段は、上記方位の情報を上記表示手段に表示させているとき、上記GPS信号受信手段において受信されるGPS信号のレベルを監視し、該レベルが所定の値より低くなったことを検知した場合、上記オフセット誤差補正処理を禁止する
ことを特徴とする携帯通信端末。
A geomagnetic sensor for detecting geomagnetism;
GPS signal receiving means for receiving GPS signals;
Display means;
The geographical direction is calculated based on the detection value of the geomagnetic sensor, the calculated direction information, and the geographical position information of the current location specified based on the GPS signal received by the GPS signal receiving means. Control means for performing processing to be displayed on the display means, and offset error correction processing for detecting and correcting an offset error of the geomagnetic sensor;
A mobile communication terminal having
The control means monitors the level of the GPS signal received by the GPS signal receiving means when displaying the direction information on the display means, and detects that the level has become lower than a predetermined value. In such a case, the mobile communication terminal is characterized in that the offset error correction process is prohibited.
上記制御手段は、上記GPS信号のレベルが上記所定の値より低くなったことに応じて、上記オフセット成分の補正処理を禁止した後、上記GPS信号のレベルが上記所定の値より高くなった場合、上記オフセット誤差補正処理の禁止を解除する
ことを特徴とする請求項8に記載の携帯通信端末。
The control means prohibits the offset component correction processing in response to the GPS signal level being lower than the predetermined value, and then the GPS signal level is higher than the predetermined value. The mobile communication terminal according to claim 8, wherein the prohibition of the offset error correction process is canceled.
上記制御手段は、上記GPS信号のレベルが上記所定の値より高くなり、かつ、上記方位の算出結果の所定時間における変動幅が所定範囲内に収まる場合に、上記オフセット誤差補正処理の禁止を解除する
ことを特徴とする請求項9に記載の携帯通信端末。
The control means cancels the prohibition of the offset error correction processing when the level of the GPS signal is higher than the predetermined value and the fluctuation range of the calculation result of the azimuth is within a predetermined range. The mobile communication terminal according to claim 9.
上記制御手段は、上記GPS信号のレベルが上記所定の値より低くなった場合、上記地磁気センサの動作を停止させる
ことを特徴とする請求項1乃至10の何れか一に記載の携帯通信端末。
The mobile communication terminal according to any one of claims 1 to 10, wherein the control means stops the operation of the geomagnetic sensor when the level of the GPS signal becomes lower than the predetermined value.
地磁気を検出する地磁気センサと、GPS信号を受信するGPS信号受信手段と、上記地磁気センサの検出値に基づいて算出される地理的方位の情報と、上記GPS信号受信手段において受信されるGPS信号に基づいて特定される現在地の地理的位置の情報とを表示する表示手段とを有する携帯通信端末において情報を表示する携帯通信端末の情報表示方法であって、
上記方位の情報が上記表示手段に表示されているときに、上記GPS信号受信手段において受信されるGPS信号のレベルが所定の値より低くなるか否か監視する第1の工程と、
上記第1の工程において上記GPS信号のレベルが上記所定の値より低くなったことを検知した場合、上記表示手段における方位の情報の表示を停止させる、および/または、方位の情報の精度が低いことを上記表示手段に示す第2の工程と
を有することを特徴とする携帯通信端末の情報表示方法。
A geomagnetic sensor for detecting geomagnetism, a GPS signal receiving means for receiving a GPS signal, information on a geographical direction calculated based on a detection value of the geomagnetic sensor, and a GPS signal received by the GPS signal receiving means. An information display method of a mobile communication terminal for displaying information in a mobile communication terminal having display means for displaying information on a geographical position of a current location specified based on
A first step of monitoring whether or not the level of the GPS signal received by the GPS signal receiving means is lower than a predetermined value when the direction information is displayed on the display means;
When it is detected in the first step that the level of the GPS signal is lower than the predetermined value, the display of the direction information on the display means is stopped and / or the accuracy of the direction information is low. And a second step of displaying the above on the display means.
地磁気を検出する地磁気センサと、GPS信号を受信するGPS信号受信手段と、上記地磁気センサの検出値に基づいて算出される地理的方位の情報と、上記GPS信号受信手段において受信されるGPS信号に基づいて特定される現在地の地理的位置の情報とを表示する表示手段とを有する携帯通信端末において、上記地磁気センサの誤差を補正する地磁気センサの誤差補正方法であって、
上記方位の情報を上記表示手段に表示させているときに、上記GPS信号受信手段において受信されるGPS信号のレベルが所定の値より低くなるか否か監視する第1の工程と、
上記第1の工程において上記GPS信号のレベルが上記所定の値より低くなったことを検知した場合、上記地磁気センサのオフセット誤差を検出して補正する処理を禁止する第2の工程と
を有することを特徴とする地磁気センサの誤差補正方法。

A geomagnetic sensor for detecting geomagnetism, a GPS signal receiving means for receiving a GPS signal, information on a geographical direction calculated based on a detection value of the geomagnetic sensor, and a GPS signal received by the GPS signal receiving means. In a portable communication terminal having display means for displaying information on the geographical position of the current location specified based on the error correction method of the geomagnetic sensor for correcting the error of the geomagnetic sensor,
A first step of monitoring whether or not the level of the GPS signal received by the GPS signal receiving means is lower than a predetermined value when displaying the direction information on the display means;
A second step of prohibiting a process of detecting and correcting an offset error of the geomagnetic sensor when detecting that the level of the GPS signal is lower than the predetermined value in the first step. An error correction method for a geomagnetic sensor.

JP2004107770A 2004-03-31 2004-03-31 Mobile communication terminal, information display method thereof, and error correction method of geomagnetic sensor Expired - Fee Related JP4093981B2 (en)

Priority Applications (5)

Application Number Priority Date Filing Date Title
JP2004107770A JP4093981B2 (en) 2004-03-31 2004-03-31 Mobile communication terminal, information display method thereof, and error correction method of geomagnetic sensor
CN200580016638.3A CN1957228B (en) 2004-03-31 2005-03-31 Mobile map display device, map display system and map display method
KR1020067022864A KR100790603B1 (en) 2004-03-31 2005-03-31 Mobile Map Display, Map Display System and Map Display Method
PCT/JP2005/006332 WO2005095892A1 (en) 2004-03-31 2005-03-31 Mobile map display device, map display system, and map display method
US10/599,540 US7912640B2 (en) 2004-03-31 2005-03-31 Mobile map display apparatus, map display system and map display method

Applications Claiming Priority (1)

Application Number Priority Date Filing Date Title
JP2004107770A JP4093981B2 (en) 2004-03-31 2004-03-31 Mobile communication terminal, information display method thereof, and error correction method of geomagnetic sensor

Publications (2)

Publication Number Publication Date
JP2005291933A true JP2005291933A (en) 2005-10-20
JP4093981B2 JP4093981B2 (en) 2008-06-04

Family

ID=35325019

Family Applications (1)

Application Number Title Priority Date Filing Date
JP2004107770A Expired - Fee Related JP4093981B2 (en) 2004-03-31 2004-03-31 Mobile communication terminal, information display method thereof, and error correction method of geomagnetic sensor

Country Status (2)

Country Link
JP (1) JP4093981B2 (en)
CN (1) CN1957228B (en)

Cited By (14)

* Cited by examiner, † Cited by third party
Publication number Priority date Publication date Assignee Title
WO2007086581A1 (en) 2006-01-30 2007-08-02 Kyocera Corporation Mobile electronic device and its direction display method
WO2007114235A1 (en) 2006-03-30 2007-10-11 Kyocera Corporation Mobile electronic device and method for calibrating terrestrial magnetism sensor
WO2007114236A1 (en) 2006-03-30 2007-10-11 Kyocera Corporation Mobile electronic device and method for calibrating terrestrial magnetism sensor
JP2009031042A (en) * 2007-07-25 2009-02-12 Furuno Electric Co Ltd Attitude measurement device
JP2009077392A (en) * 2007-08-03 2009-04-09 Lufthansa Systems Ag Object position tracking device and control method
JP2010154538A (en) * 2010-01-25 2010-07-08 Kyocera Corp Portable electronic apparatus and method of controlling same
JP2011002447A (en) * 2009-05-21 2011-01-06 Zenrin Datacom Co Ltd Map display device, map display system, and map display method
KR101143503B1 (en) 2010-02-22 2012-05-09 현대엠엔소프트 주식회사 Method and apparatus for providing path using map information indoor
US8224573B2 (en) 2007-10-02 2012-07-17 Toyota Jidosha Kabushiki Kaisha Azimuth detecting device and azimuth detecting method
JP2013061263A (en) * 2011-09-14 2013-04-04 Mega Chips Corp Positioning device, observing device, positioning method, and program
JP2014066638A (en) * 2012-09-26 2014-04-17 Lapis Semiconductor Co Ltd Determination device, electronic apparatus, and determination method
CN106293006A (en) * 2016-08-12 2017-01-04 广东欧珀移动通信有限公司 Method, device and mobile terminal for running magnetic sensor calibration algorithm library
WO2019198469A1 (en) * 2018-04-12 2019-10-17 株式会社オートネットワーク技術研究所 On-board device, wireless terminal, correction method, and computer program
WO2021166620A1 (en) * 2020-02-21 2021-08-26 株式会社デンソー Control device, parking lot system, and location accuracy calculation method

Family Cites Families (2)

* Cited by examiner, † Cited by third party
Publication number Priority date Publication date Assignee Title
JP4244561B2 (en) * 2001-07-10 2009-03-25 ヤマハ株式会社 Portable electronic device with orientation measurement function
KR100533106B1 (en) * 2002-08-06 2005-12-05 삼성전자주식회사 Attitude error compensation system of fluxgate and method thereof

Cited By (25)

* Cited by examiner, † Cited by third party
Publication number Priority date Publication date Assignee Title
WO2007086581A1 (en) 2006-01-30 2007-08-02 Kyocera Corporation Mobile electronic device and its direction display method
US7950160B2 (en) 2006-01-30 2011-05-31 Kyocera Corporation Mobile electronic apparatus and bearing display method of same
US8266808B2 (en) 2006-03-30 2012-09-18 Kyocera Corporation Portable electronic apparatus and geomagnetism sensor calibration method
WO2007114235A1 (en) 2006-03-30 2007-10-11 Kyocera Corporation Mobile electronic device and method for calibrating terrestrial magnetism sensor
WO2007114236A1 (en) 2006-03-30 2007-10-11 Kyocera Corporation Mobile electronic device and method for calibrating terrestrial magnetism sensor
US8326560B2 (en) 2006-03-30 2012-12-04 Kyocera Corporation Portable electronic apparatus and geomagnetism sensor calibration method
JP2009031042A (en) * 2007-07-25 2009-02-12 Furuno Electric Co Ltd Attitude measurement device
JP2009077392A (en) * 2007-08-03 2009-04-09 Lufthansa Systems Ag Object position tracking device and control method
US8224573B2 (en) 2007-10-02 2012-07-17 Toyota Jidosha Kabushiki Kaisha Azimuth detecting device and azimuth detecting method
US8527201B2 (en) 2007-10-02 2013-09-03 Toyota Jidosha Kabushiki Kaisha Azimuth detecting device and azimuth detecting method
JP2011002447A (en) * 2009-05-21 2011-01-06 Zenrin Datacom Co Ltd Map display device, map display system, and map display method
JP2010154538A (en) * 2010-01-25 2010-07-08 Kyocera Corp Portable electronic apparatus and method of controlling same
KR101143503B1 (en) 2010-02-22 2012-05-09 현대엠엔소프트 주식회사 Method and apparatus for providing path using map information indoor
JP2013061263A (en) * 2011-09-14 2013-04-04 Mega Chips Corp Positioning device, observing device, positioning method, and program
JP2014066638A (en) * 2012-09-26 2014-04-17 Lapis Semiconductor Co Ltd Determination device, electronic apparatus, and determination method
CN106293006A (en) * 2016-08-12 2017-01-04 广东欧珀移动通信有限公司 Method, device and mobile terminal for running magnetic sensor calibration algorithm library
WO2019198469A1 (en) * 2018-04-12 2019-10-17 株式会社オートネットワーク技術研究所 On-board device, wireless terminal, correction method, and computer program
WO2021166620A1 (en) * 2020-02-21 2021-08-26 株式会社デンソー Control device, parking lot system, and location accuracy calculation method
JPWO2021166621A1 (en) * 2020-02-21 2021-08-26
JPWO2021166620A1 (en) * 2020-02-21 2021-08-26
WO2021166621A1 (en) * 2020-02-21 2021-08-26 株式会社デンソー Supervision device, parking lot system, and positional accuracy calculation method
JP7255744B2 (en) 2020-02-21 2023-04-11 株式会社デンソー CONTROL DEVICE, PARKING SYSTEM AND LOCATION ACCURACY CALCULATION METHOD
JP7255743B2 (en) 2020-02-21 2023-04-11 株式会社デンソー CONTROL DEVICE, PARKING SYSTEM AND LOCATION ACCURACY CALCULATION METHOD
US12062285B2 (en) 2020-02-21 2024-08-13 Denso Corporation Control device, parking lot system, and positional accuracy calculation method
US12094340B2 (en) 2020-02-21 2024-09-17 Denso Corporation Control device, parking lot system, and location accuracy calculation method

Also Published As

Publication number Publication date
JP4093981B2 (en) 2008-06-04
CN1957228A (en) 2007-05-02
CN1957228B (en) 2011-10-12

Similar Documents

Publication Publication Date Title
JP4434818B2 (en) Error correction method for portable communication terminal and its geomagnetic sensor
JP4176040B2 (en) Error correction method for portable communication terminal and its geomagnetic sensor
JP4213072B2 (en) Error correction method for portable communication terminal and its geomagnetic sensor
JP4093981B2 (en) Mobile communication terminal, information display method thereof, and error correction method of geomagnetic sensor
JP4093982B2 (en) Error correction method for portable communication terminal and its geomagnetic sensor
JP4213071B2 (en) Error correction method for portable communication terminal and its geomagnetic sensor
KR100790603B1 (en) Mobile Map Display, Map Display System and Map Display Method
JP4637944B2 (en) Mobile communication terminal and method for correcting direction information thereof
JP4762501B2 (en) Mobile communication terminal, information display method thereof, and error correction method of geomagnetic sensor
KR100980538B1 (en) Mobile communication terminal and bearing display method
JP4743722B2 (en) Error correction method for portable communication terminal and its geomagnetic sensor
JP4745373B2 (en) Portable orientation calculation device and orientation correction method in portable orientation calculation device
JP5312499B2 (en) Mobile communication terminal and information display method thereof

Legal Events

Date Code Title Description
A621 Written request for application examination

Free format text: JAPANESE INTERMEDIATE CODE: A621

Effective date: 20070213

TRDD Decision of grant or rejection written
A01 Written decision to grant a patent or to grant a registration (utility model)

Free format text: JAPANESE INTERMEDIATE CODE: A01

Effective date: 20080205

A61 First payment of annual fees (during grant procedure)

Free format text: JAPANESE INTERMEDIATE CODE: A61

Effective date: 20080304

FPAY Renewal fee payment (event date is renewal date of database)

Free format text: PAYMENT UNTIL: 20110314

Year of fee payment: 3

R150 Certificate of patent or registration of utility model

Ref document number: 4093981

Country of ref document: JP

Free format text: JAPANESE INTERMEDIATE CODE: R150

Free format text: JAPANESE INTERMEDIATE CODE: R150

FPAY Renewal fee payment (event date is renewal date of database)

Free format text: PAYMENT UNTIL: 20110314

Year of fee payment: 3

FPAY Renewal fee payment (event date is renewal date of database)

Free format text: PAYMENT UNTIL: 20120314

Year of fee payment: 4

FPAY Renewal fee payment (event date is renewal date of database)

Free format text: PAYMENT UNTIL: 20120314

Year of fee payment: 4

FPAY Renewal fee payment (event date is renewal date of database)

Free format text: PAYMENT UNTIL: 20130314

Year of fee payment: 5

FPAY Renewal fee payment (event date is renewal date of database)

Free format text: PAYMENT UNTIL: 20130314

Year of fee payment: 5

FPAY Renewal fee payment (event date is renewal date of database)

Free format text: PAYMENT UNTIL: 20140314

Year of fee payment: 6

LAPS Cancellation because of no payment of annual fees