JP2005291354A - 着脱自在な保冷カバー - Google Patents

着脱自在な保冷カバー Download PDF

Info

Publication number
JP2005291354A
JP2005291354A JP2004106800A JP2004106800A JP2005291354A JP 2005291354 A JP2005291354 A JP 2005291354A JP 2004106800 A JP2004106800 A JP 2004106800A JP 2004106800 A JP2004106800 A JP 2004106800A JP 2005291354 A JP2005291354 A JP 2005291354A
Authority
JP
Japan
Prior art keywords
cold insulation
insulation cover
pipe connection
cover
detachable
Prior art date
Legal status (The legal status is an assumption and is not a legal conclusion. Google has not performed a legal analysis and makes no representation as to the accuracy of the status listed.)
Pending
Application number
JP2004106800A
Other languages
English (en)
Inventor
Takashi Nakamura
隆司 中村
Nobuo Shimizu
信夫 清水
Shinji Takahashi
真治 高橋
Current Assignee (The listed assignees may be inaccurate. Google has not performed a legal analysis and makes no representation or warranty as to the accuracy of the list.)
Chugoku Electric Power Co Inc
Chuden Plant Co Ltd
Original Assignee
Chugoku Electric Power Co Inc
Chuden Plant Co Ltd
Priority date (The priority date is an assumption and is not a legal conclusion. Google has not performed a legal analysis and makes no representation as to the accuracy of the date listed.)
Filing date
Publication date
Application filed by Chugoku Electric Power Co Inc, Chuden Plant Co Ltd filed Critical Chugoku Electric Power Co Inc
Priority to JP2004106800A priority Critical patent/JP2005291354A/ja
Publication of JP2005291354A publication Critical patent/JP2005291354A/ja
Pending legal-status Critical Current

Links

Images

Landscapes

  • Thermal Insulation (AREA)

Abstract

【課題】ローディングアームを用いた液化天然ガスの荷役終了後に直ちに配管接続部を分離できる着脱自在な保冷カバーを提供する。
【解決手段】液化天然ガスの受入ライン2における配管接続部4を覆う着脱自在な保冷カバーC1であって、円弧状となるように接続可能な複数の外装板5の内側には、配管接続部4を覆う保冷材6が設けられ、かつ、外装板5の対向し合う接続部には、掛脱自在な掛止部材7が設けられている。
【選択図】 図1

Description

本発明は、液化天然ガスの移送(受入・払出)ラインにおける配管接続部を覆う着脱自在な保冷カバーの技術分野に関する。
接岸したLNG船から液化天然ガスを荷揚げする際には、LNG船に設けた接続フランジに、陸側のローディングアームに設けた接続フランジが接続され、荷揚げ作業が終了すると分離される。しかし、液化天然ガスの荷揚げ作業中はローディングアームは極低温になるため作業が完了する頃には、通常、接続フランジが凍結している。そこで、従来では、凍結した接続フランジに水をかけて凍結を解除してから接続フランジを分離するようにしていた。なお、ローディングアームを用いたLNG受入基地についての提案が開示されている(例えば、特許文献1参照)。
また、陸側に設けられる液化天然ガスの受入配管には保冷カバーが巻装されている。その保冷カバーは、例えば、グラスウールやポリエチレンシート、(注入発泡による)ポリウレタンフォーム、ポリウレタンフォームカバー、防湿剤等からなる保冷材を配管の外周に積層状態に取り付け、さらにその外側を(例えば、着色ステンレス鋼板等からなる)外装板で覆うようにしていた。
特開平11−034971号公報
ローディングアームによりLNG船から荷揚げ作業を行う場合、特に、雨天時や湿度の高い時、冬期等では、凍結が甚だしくなるため、従来のように、凍結した接続フランジに水をかけて凍結を解除する方法では、長時間を要することがあった。
また、陸側に設けられる液化天然ガスの受入配管は、受け入れ時と通常時とでは、温度差が大きくなるため、配管の度重なる伸縮により、配管接続部からガスが漏洩することがあった。そのような場合には、外装板を取り除いた後、内部に積層してある保冷材をも取り除いて、漏洩の原因を究明して補修を行い、新しい保冷材を充填し直し外装板も新しいものに取り替えるようにしていた。
しかし、このような点検と取り替えの作業は、多大の手間と時間を要し、復旧には、最低3日が必要とされ、環境条件が不良な場合には、さらに長い作業日数が必要とされていた。即ち、保冷カバーを取り外す時には、保冷材が周囲に飛散するのを防止するために、フランジ接続部の周囲に囲いを設ける必要があり、その作業が煩瑣であった。また、ポリウレタンフォームカバーの加工やポリウレタンフォームの注入発泡は現場で行われるため段取りが大変面倒であった。
本発明は、このような実情に鑑みてなされ、ローディングアームを用いた液化天然ガスの荷役終了後に直ちに配管接続部を分離できる着脱自在な保冷カバーを提供することを目的とし、また、配管接続部の保守点検が容易で再度の使用が可能となる着脱自在な保冷カバーを提供することをも目的とする。
本発明に係る着脱自在な保冷カバーは、上述の課題を解決するための手段を、以下のように構成している。
(1)液化天然ガスの移送ラインにおける配管接続部を覆う着脱自在な保冷カバーにあって、
円弧状となるように接続可能な複数の外装板の内側には、前記配管接続部を覆う保冷材が設けられ、かつ、前記外装板の対向し合う接続部には、掛脱自在な掛止部材が設けられている。
このような構成によれば、保冷カバーを配管接続部に装着することで、配管接続部を保冷し、かつ凍結を防止できると共に、掛止部材の掛止状態を解除して保冷カバーを取り除けば、(凍結していない)配管接続部を容易に分離することができる。また、その配管接続部を保守点検することもできる。そして、保守点検が終了した後には、元通りに保冷カバーを配管接続部に被せて掛止部材を掛止すれば、その保冷カバーを再度使用することができる。なお、移送ラインには、受入ライン及び払出ラインが含まれる。
(2)このような着脱自在な保冷カバーは、LNG船に接続されるローディングアームに設けられた配管接続部を覆うよう使用してもよい。このようにすれば、ローディングアームによりLNG船から荷揚げ作業を行う際に、荷揚げ作業中に配管接続部を保冷することができ、かつ、その凍結を防止することができる。従って、荷揚げ作業が終了した後、直ちに保冷カバーを分離して取り除けば、配管接続部は凍結していないため、容易に分離することができる。
本発明に係る着脱自在な保冷カバーは、円弧状となるように接続可能な複数の外装板の内側に配管接続部を覆う保冷材を設け、かつ、外装板の対向し合う接続部に掛脱自在な掛止部材を設けたので、保冷カバーによって配管接続部を保冷し、かつ凍結を防止できると共に、掛止部材の掛止状態を解除して保冷カバーを取り除けば、(凍結していない)配管接続部を容易に分離することができ、また、配管接続部の保守点検も可能となる。そして、保守点検後には、保冷カバーを取り付けて掛止部材を掛止すれば、その保冷カバーを再度使用することができる。
以下に、本発明の最良の実施の形態に係る着脱自在な保冷カバーについて図面を参照しつつ詳細に説明する。
〔実施の形態1〕
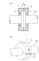
図1は、着脱自在な保冷カバー(以下、保冷カバーという)を配管接続部に取り付けた状態を示し、(a)はその断面図、(b)は斜視図、図2は保冷カバーを内側から見た正面図であり、これらの図に示される保冷カバーC1は、例えば、図5に示すように、接岸したLNG船1に接続されるローディングアーム(本発明でいう液化天然ガスの移送ライン)3の配管接続部4に着脱自在に装着して使用される。なお、図5は荷揚げ中のLNG船1と発電所の液化天然ガスの受入配管(本発明でいう液化天然ガスの移送ライン)2の一部を示し、11は水噴霧設備、12は低発泡設備、13は防液堤、14,15は原油タンク、16はLNGタンクである。
その配管接続部4は、LNG船1に設けられる接続フランジ4aと、ローディングアーム3に設けられる接続フランジ4bと、からなり、LNG船1から荷揚げ作業を行うときにのみボルト,ナット等の締結部材(図示省略)によって接続固定され、荷揚げ作業が終了すると、直ちに、分離されるものである。
この保冷カバーC1は、半割れ状に形成されて互いに円弧状となるように接続可能な一対の外装板(ステンレス鋼板等からなる)5,5と、配管接続部4を覆うために外装板5,5の内面に設けられる保冷材6,6と、からなり、その一対の外装板5,5の対向し合う接続部には掛脱自在な掛止部材7,7が設けられ、配管接続部4に対して着脱自在に装着できるように構成されている。
その外装板5の内面に設けられる保冷材6には、図2に示すように、配管接続部4の締結部材(ボルト,ナット等)を嵌め込むための逃げ穴6a,6bが形成されている。その保冷材6は、例えば、外装板5の内面にウレタンカバーを接着することにより形成することができる。また、掛止部材7は、掛止部71と、掛止部71に掛止される被掛止部72とからなり、ワンタッチで掛脱操作可能なものが好適である。
このような保冷カバーC1は、円弧状に接合した一対の外装板5,5の内側同士を対向させて2枚合せで一つの配管接続部4を覆うようにして使用する。従って、配管接続部4に装着された状態では、図1(a)(b)に示すように、配管接続部4の周囲を覆う保冷材6は外装板5によって完全に覆い隠されている。
このような構成によれば、ローディングアーム3を介してLNG船1から荷揚げ作業を行う場合に、荷揚げ作業中に配管接続部4の凍結を効果的に防止することができる。従って、荷揚げ作業が終了した後、掛止部材7を外して直ちに保冷カバーC1を4つの部分に分離して取り除けば、凍結していない配管接続部4を容易に分離することができる。なお、雨天時や降雪時等には、荷揚げ作業中に保冷カバーC1をビニールシートで覆っておくと、凍結防止効果が向上する。
〔実施の形態2〕
図3は、着脱自在な保冷カバー(以下、保冷カバーという)C2を配管接続部4に取り付けた状態の断面図、図4はその分解斜視図である。これらの図に示される保冷カバーC2は、例えば、図5に示すように、発電所の液化天然ガスの受入配管2における配管接続部(図示省略)に着脱自在に装着して使用される。なお、前実施の形態と同一部材または同等部材には同一符号を付し、その説明を省略する。
この場合、3つの配管接続部41,42,43を、保冷カバーC2で覆っており、まず、配管接続部41,42,43の凹凸部にアルミ箔付きのグラスウール(1層目)61を巻き付けてポリエステルシート62で覆い、さらに、その外側を管軸方向に6分割したウレタンカバー(2層目)63で覆うことで保冷材6を構成し、その保冷材6の外側をステンレスバンド8で締結して配管接続部41,42,43に固定した後、その外側を半割り状の外装板5で覆うようにしている。そのウレタンカバーの内面は、FRPでコーティングされ、含水を防止している。
従って、配管接続部41,42,43に装着された状態では、図3に示すように、保冷材6は外装板5によって完全に覆い隠されている。図示の例では、保冷材6は、2セットに分離し、外装板5は、それぞれ半割れ状に形成される円弧状の板部材51,52を中央部で重ね継ぎ(ラップ接続)により接合して、その接合部をシリコンパッキンにより密封している。このような重ね継ぎにより、縦方向(管軸に沿う方向)及び横方向(管軸に垂直な方向)に板部材51,52を分割することができるため、着脱時の取り扱いが容易となる。なお、図示は省略するが、半割れ状に形成される円弧状の板部材51,52同士は中央部で溶接してもよく、その場合には、例えば、接合部をフランジ状に形成して、そのフランジ同士をスポット溶接により接合してもよい。
このような構成によれば、板部材51,52(外装板5)を分離して、ステンレスバンド8を取り外して保冷材6を取り除けば、直ちに、配管接続部41,42,43を点検することができる。そして、点検終了後には、配管接続部41,42,43に保冷材6,6を取り付けて板部材51,52(外装板5)で覆えば、各部材の再度の使用が可能となる。また、このような作業は、保冷材6が飛散することもなく、従って、従来のように、囲いを設ける必要もなく、きわめて高能率に行うことができ、コスト安に配管接続部4の保守点検が可能となる。
なお、本発明は、以上の実施の形態に限定されることなく、発明の趣旨を逸脱しない限度において、使用箇所や使用条件、環境条件等に応じて、適宜、改良、変更等は自由である。例えば、実施の形態1における保冷カバーC1の外装板5は、半割れ状ではなく、互いに円弧状となるように接続可能であれば、3分割又はそれ以上に分割されてもよく、左右の外装板5,5を一体化してもよい。また、その保冷カバーC1は、比較的に頻繁に着脱される配管接続部であれば、タンクローリ(車両)へのローディング時や、タンクローリからのローディング時に使用される配管接続部等にも適用可能であるのは言うまでもない。
また、実施の形態2における保冷材6を構成するウレタンカバー63は、6分割ではなく、2分割や3分割、4分割等であってもよく、その素材は、保冷効果のあるその他の素材により形成されてもよい。あるいは、保冷材6の一部または全てを外装板5の内面に一体化させてもよい。また、外装板5は、半割れ状ではなく、互いに円弧状となるように接続可能であれば、3分割又はそれ以上の板部材に分割されてもよい。さらに、板部材51,52同士を重ね継ぎや溶接により接合して外装板5を形成するのではなく、単一の板部材で外装板5を形成してもよい。また、複数に分割された板部材を3つ以上組み合わせて外装板5を形成してもよい。あるいは、その保冷カバーC2は、地上に設けられた液化天然ガスの受入ラインの配管接続部に限られることなく、例えば、LNG船上の払出ライン(又は受入ライン)の配管接続部にも適用できるのは言うまでもない。
(a)は本発明の実施の形態1に係る着脱自在な保冷カバーの装着時の断面図、(b)はその斜視図である。 同保冷カバーの内側から見た正面図である。 は本発明の実施の形態2に係る着脱自在な保冷カバーの装着時の断面図である。 同保冷カバーの分解斜視図である。 荷揚げ中のLNG船と発電所の液化天然ガスの受入ラインの一部を示す説明図である。
符号の説明
1…LNG船、2…移送(受入)ライン、3…ローディングアーム、4…配管接続部、C1,C2…保冷カバー、5…外装板、6…保冷材、7…掛止部材

Claims (2)

  1. 液化天然ガスの移送ラインにおける配管接続部を覆う着脱自在な保冷カバーであって、
    円弧状となるように接続可能な複数の外装板の内側には、前記配管接続部を覆う保冷材が設けられ、かつ、前記外装板の対向し合う接続部には、掛脱自在な掛止部材が設けられていることを特徴とする着脱自在な保冷カバー。
  2. 前記配管接続部が、LNG船に接続されるローディングアームに設けられていることを特徴とする請求項1に記載の着脱自在な保冷カバー。
JP2004106800A 2004-03-31 2004-03-31 着脱自在な保冷カバー Pending JP2005291354A (ja)

Priority Applications (1)

Application Number Priority Date Filing Date Title
JP2004106800A JP2005291354A (ja) 2004-03-31 2004-03-31 着脱自在な保冷カバー

Applications Claiming Priority (1)

Application Number Priority Date Filing Date Title
JP2004106800A JP2005291354A (ja) 2004-03-31 2004-03-31 着脱自在な保冷カバー

Publications (1)

Publication Number Publication Date
JP2005291354A true JP2005291354A (ja) 2005-10-20

Family

ID=35324513

Family Applications (1)

Application Number Title Priority Date Filing Date
JP2004106800A Pending JP2005291354A (ja) 2004-03-31 2004-03-31 着脱自在な保冷カバー

Country Status (1)

Country Link
JP (1) JP2005291354A (ja)

Cited By (1)

* Cited by examiner, † Cited by third party
Publication number Priority date Publication date Assignee Title
WO2024145093A1 (en) * 2022-12-29 2024-07-04 Ge Infrastructure Technology Llc Radiation shield for a gaseous fuel circuit

Cited By (2)

* Cited by examiner, † Cited by third party
Publication number Priority date Publication date Assignee Title
WO2024145093A1 (en) * 2022-12-29 2024-07-04 Ge Infrastructure Technology Llc Radiation shield for a gaseous fuel circuit
US12305576B2 (en) 2022-12-29 2025-05-20 Ge Vernova Infrastructure Technology Llc Radiation shield for a gaseous fuel circuit

Similar Documents

Publication Publication Date Title
US5722463A (en) External pipe reinforcing sleeve
CN103635737B (zh) 一个用于相对固定结构固定元件的耦合器
CN105026819B (zh) 生产用于存储容器的密封隔热层的方法
KR102096514B1 (ko) 지지 구조안에 통합된 밀봉되고 단열되는 탱크
US9676456B2 (en) Arrangement for containment of liquid natural gas (LNG)
CN107270115B (zh) 一种用于制造罐壁的隔热边缘块
CN204176159U (zh) 船舶及其上管路穿舱件
CN109073158B (zh) 热隔离密封罐
CA2714329C (en) Storage tank containment apparatus
US9470367B2 (en) Systems and methods for fluid containment
RU2755830C2 (ru) Герметизированный и теплоизолированный резервуар
US3998350A (en) Semi-membrane like container, heat-insulated fluid-tight tank embodying same and methods of making same
US3008735A (en) Pipe coupling and method for interconnecting pipes
SK2542003A3 (en) Method of reinforcing an existing metal structure, method of reinforcing pipes and method of addition of spur lines to pipelines
JP2005291354A (ja) 着脱自在な保冷カバー
US10737748B2 (en) Device for loading of bulk carriers and loading method
CN105711756B (zh) A型独立液货舱底面内侧垂向支座绝缘的安装方法
US20160001972A1 (en) Inspection port for insulated tank car
JP2014043261A (ja) 流体荷役装置
CN105711752B (zh) A型独立液货舱底面外侧垂向支座绝缘的安装方法
JP2020090971A (ja) メタノール送液用配管補修方法
KR20100010368U (ko) Lng 저장탱크의 하부경사면 유지보수용 발판구조체
KR101623100B1 (ko) 로딩암이 구비된 lng 운반선
JP6468857B2 (ja) 既設油送管の撤去方法
KR102490348B1 (ko) 액화가스 화물창의 펌프 타워 베이스 서포트

Legal Events

Date Code Title Description
A621 Written request for application examination

Effective date: 20061206

Free format text: JAPANESE INTERMEDIATE CODE: A621

RD04 Notification of resignation of power of attorney

Effective date: 20080620

Free format text: JAPANESE INTERMEDIATE CODE: A7424

A977 Report on retrieval

Effective date: 20090608

Free format text: JAPANESE INTERMEDIATE CODE: A971007

A131 Notification of reasons for refusal

Free format text: JAPANESE INTERMEDIATE CODE: A131

Effective date: 20090612

A521 Written amendment

Effective date: 20090811

Free format text: JAPANESE INTERMEDIATE CODE: A523

A711 Notification of change in applicant

Free format text: JAPANESE INTERMEDIATE CODE: A711

Effective date: 20090819

A521 Written amendment

Effective date: 20090819

Free format text: JAPANESE INTERMEDIATE CODE: A821

A131 Notification of reasons for refusal

Free format text: JAPANESE INTERMEDIATE CODE: A131

Effective date: 20091002

A521 Written amendment

Effective date: 20091001

Free format text: JAPANESE INTERMEDIATE CODE: A523

A521 Written amendment

Effective date: 20091201

Free format text: JAPANESE INTERMEDIATE CODE: A523

A02 Decision of refusal

Free format text: JAPANESE INTERMEDIATE CODE: A02

Effective date: 20091218