JP2005291154A - Protection device for electric compressor - Google Patents

Protection device for electric compressor Download PDF

Info

Publication number
JP2005291154A
JP2005291154A JP2004110038A JP2004110038A JP2005291154A JP 2005291154 A JP2005291154 A JP 2005291154A JP 2004110038 A JP2004110038 A JP 2004110038A JP 2004110038 A JP2004110038 A JP 2004110038A JP 2005291154 A JP2005291154 A JP 2005291154A
Authority
JP
Japan
Prior art keywords
terminal
connection
case
electric compressor
storage
Prior art date
Legal status (The legal status is an assumption and is not a legal conclusion. Google has not performed a legal analysis and makes no representation as to the accuracy of the status listed.)
Granted
Application number
JP2004110038A
Other languages
Japanese (ja)
Other versions
JP4522132B2 (en
Inventor
Hideki Koseki
秀樹 小関
Current Assignee (The listed assignees may be inaccurate. Google has not performed a legal analysis and makes no representation or warranty as to the accuracy of the list.)
Ubukata Industries Co Ltd
Original Assignee
Ubukata Industries Co Ltd
Priority date (The priority date is an assumption and is not a legal conclusion. Google has not performed a legal analysis and makes no representation as to the accuracy of the date listed.)
Filing date
Publication date
Application filed by Ubukata Industries Co Ltd filed Critical Ubukata Industries Co Ltd
Priority to JP2004110038A priority Critical patent/JP4522132B2/en
Priority to CNB2004100978735A priority patent/CN100532838C/en
Publication of JP2005291154A publication Critical patent/JP2005291154A/en
Application granted granted Critical
Publication of JP4522132B2 publication Critical patent/JP4522132B2/en
Anticipated expiration legal-status Critical
Expired - Lifetime legal-status Critical Current

Links

Images

Landscapes

  • Compressor (AREA)
  • Applications Or Details Of Rotary Compressors (AREA)
  • Control Of Positive-Displacement Pumps (AREA)

Abstract

<P>PROBLEM TO BE SOLVED: To cope with a specification change without increasing a number of parts in a protection device used for electric motor protection of a hermetic or a semi-hermetic electric compressor in which refrigerant is circulated mainly inside a container. <P>SOLUTION: Connection terminals 4, 5 are installed and fixed spanning terminal connection portions 3B and terminal receiving portions 3C which are formed in a case 3 and installation portions 4A, 5A of the connection terminals are received in the two terminal receiving portions 3C. Conductive terminal pins 2B of a motor protector 2 are connected and fixed to welded portions 4B, 5B of the connection terminals. The two terminal receiving portions 3C can be installed even when tip shapes of the connection terminals to be received are changed with each other. This allows the case to be used as it is even when changing of the terminals are required in relation to mounting positions to a device to be protected and it is unnecessary to newly design a case. <P>COPYRIGHT: (C)2006,JPO&NCIPI

Description

本発明は主に容器の内部に冷媒が循環する密閉型や半密閉型の電動圧縮機の電動機保護に使用される保護装置の構造に関するものである。   The present invention mainly relates to a structure of a protection device used for protecting a motor of a hermetic type or semi-hermetic type electric compressor in which a refrigerant circulates inside a container.

従来、この種の電動圧縮機に使用される保護装置としては冷媒の流れる圧縮機の密閉容器内に配置されるものがある。(例えば、特許文献1参照)この保護装置について図16及び図17を参照しながら説明する。この保護装置101はモータープロテクタ102(以下、プロテクタと称する)と、このプロテクタを保持する電機絶縁性のケース103とからなる。   Conventionally, as a protection device used for this type of electric compressor, there is an apparatus disposed in a sealed container of a compressor through which a refrigerant flows. (For example, refer patent document 1) This protection apparatus is demonstrated referring FIG.16 and FIG.17. The protection device 101 includes a motor protector 102 (hereinafter referred to as a protector) and an electric insulating case 103 that holds the protector.

このプロテクタ102は金属製容器内部に熱応動接点機構を有するもの(例えば、特許文献2参照)であり、その金属製の密閉容器102Aの内部には周囲の熱や内部の発熱に応答してバイメタルなどの熱応動素子で接点を開閉する接点機構を収納している。密閉容器102Aには前記接点機構と電気的に接続された導電端子ピン102B、102Cがそれぞれ電気的に絶縁された状態で気密に貫通固定されている。   This protector 102 has a thermally responsive contact mechanism inside a metal container (see, for example, Patent Document 2), and the metal sealed container 102A has a bimetal in response to ambient heat and internal heat generation. It contains a contact mechanism that opens and closes the contact with a thermally responsive element. Conductive terminal pins 102B and 102C electrically connected to the contact mechanism are hermetically penetrated and fixed to the sealed container 102A in an electrically insulated state.

ケース103には接続端子104と105が固定されており、この例の接続端子においては接続端子104はケース103に弾性的に保持されており、接続端子105はインサート成形によってケースの壁面に固定されている。これらケース103に固定されたそれぞれの接続端子にプロテクタ102の導電端子ピン102B及び102Cが溶接によって接続固定されることにより、プロテクタ102はケース103に対して固定されている。プロテクタ102はケース103に所定の姿勢で配置されることにより金属製の密閉容器の一側面をケースで覆われるとともに、他の面は周囲に対して開放される。そのため周囲雰囲気との熱交換を良好に行うことができる。   Connection terminals 104 and 105 are fixed to the case 103. In the connection terminals of this example, the connection terminals 104 are elastically held by the case 103, and the connection terminals 105 are fixed to the wall surface of the case by insert molding. ing. The protector 102 is fixed to the case 103 by connecting and fixing the conductive terminal pins 102B and 102C of the protector 102 to the respective connection terminals fixed to the case 103 by welding. The protector 102 is disposed on the case 103 in a predetermined posture so that one side surface of the metal hermetic container is covered with the case, and the other surface is opened to the surroundings. Therefore, heat exchange with the surrounding atmosphere can be performed satisfactorily.

この保護装置101は密閉型電動圧縮機の密閉ハウジングに設けられた密閉端子110の導電ピン111の一本に固定される。この密閉端子の導電ピン111にはタブ端子112が溶接固定されており、保護装置の接続端子104をこのタブ端子と導電ピンに刺し込むことによって、保護装置101は密閉端子110に対して固定される。こうして電動圧縮機の密閉容器内に固定された保護装置101は、プロテクタ102の一方の導電端子ピン102Bが密閉端子110の導電ピン111を介して密閉容器外部の電源と接続されるとともに、他方の導電端子ピン102Cには電動機巻線と接続されるリード線113が接続端子105を介して接続される。この実施例では図17に示す様にリード線113先端のリセプタクル端子114が接続端子105に挿入接続されている。   The protection device 101 is fixed to one conductive pin 111 of the sealed terminal 110 provided in the sealed housing of the sealed electric compressor. A tab terminal 112 is welded and fixed to the conductive pin 111 of the sealed terminal, and the protective device 101 is fixed to the sealed terminal 110 by inserting the connection terminal 104 of the protective device into the tab terminal and the conductive pin. The In this way, in the protective device 101 fixed in the sealed container of the electric compressor, one conductive terminal pin 102B of the protector 102 is connected to the power supply outside the sealed container via the conductive pin 111 of the sealed terminal 110, and the other A lead wire 113 connected to the motor winding is connected to the conductive terminal pin 102 </ b> C via the connection terminal 105. In this embodiment, as shown in FIG. 17, the receptacle terminal 114 at the tip of the lead wire 113 is inserted and connected to the connection terminal 105.

このように密閉型電動圧縮機に取付けられた電動圧縮機保護装置101は、プロテクタ102の金属容器102Aが直接冷媒の流れの中に配置されているので冷媒との熱交換が速やかに行われる。電動圧縮機の運転中には、その運転電流がプロテクタ内の電路を流れて内部部品が発熱しているが、通常時にはその発熱量と冷媒によって奪われる熱量とがほぼ平衡状態を保つので熱応動素子は接点機構の動作温度には達しない。何らかの異常によって冷媒温度の上昇や冷媒の減少による放熱の低下が起きたり、プロテクタに過電流が流れたりして熱応動素子がその動作温度を超えると、プロテクタはその接点機構を開放することにより通電を遮断して電動圧縮機の過熱による破壊や焼損を防止する。   In the electric compressor protection device 101 attached to the hermetic electric compressor in this way, since the metal container 102A of the protector 102 is directly arranged in the flow of the refrigerant, heat exchange with the refrigerant is performed quickly. During the operation of the electric compressor, the operating current flows through the electric circuit in the protector and the internal parts generate heat.In normal times, the amount of heat generated and the amount of heat taken away by the refrigerant are kept in an almost equilibrium state. The element does not reach the operating temperature of the contact mechanism. If any abnormality causes a decrease in heat dissipation due to an increase in refrigerant temperature or a decrease in refrigerant, or if an overcurrent flows through the protector and the thermal actuator exceeds its operating temperature, the protector is energized by opening its contact mechanism. To prevent breakage and burnout due to overheating of the electric compressor.

特許第2769600号公報Japanese Patent No. 2769600 特許第2519530号公報Japanese Patent No. 2519530

従来の電動圧縮機保護装置101においてはケース103に対して接続端子104と105が予め固定されており、それぞれの接続端子にプロテクタ102の導電端子ピン102B及び102Cが溶接されることによって、プロテクタ102はケース103に対して保持固定されている。   In the conventional electric compressor protection device 101, connection terminals 104 and 105 are fixed in advance to the case 103, and the conductive terminal pins 102B and 102C of the protector 102 are welded to the respective connection terminals, thereby the protector 102. Is held and fixed to the case 103.

しかしこの場合、接続端子104と105の形状が違い、さらに一方の接続端子105はケース103に対して予めインサート成形されていることから、例えば左右の端子を入れ替えて使用したい場合や、端子の形状や組合せを変えたい場合などには端子の形状の変更はもちろん、それに合わせてケース103を新たに作る必要があった。そのためケースの種類は端子の種類や組合せの分だけ増えてしまい汎用性に欠けると言う問題がある。   However, in this case, the connection terminals 104 and 105 are different in shape, and one of the connection terminals 105 is insert-molded in advance with respect to the case 103. When it is desired to change the combination, it is necessary to change the shape of the terminal as well as to newly make the case 103 accordingly. For this reason, there is a problem that the number of types of cases increases by the number of types and combinations of terminals and lacks versatility.

本発明はこのような従来技術の問題を解決するためになされたものであり、その目的は前記特許文献1に記載の電動圧縮機保護装置の性能を生かしながら、さらに各種の取付姿勢への対応が容易な構造の電動圧縮機用保護装置を提供することにある。   The present invention has been made to solve such problems of the prior art, and the object thereof is to deal with various mounting postures while taking advantage of the performance of the electric compressor protection device described in Patent Document 1. It is an object of the present invention to provide a protective device for an electric compressor having an easy structure.

上記の目的を達成するための請求項1に記載の発明は、金属製の密閉容器内に接点機構を有するモータプロテクタとこのモータプロテクタを保持する電気絶縁性のケースを有し、前記ケースには接続端子が装着され、この接続端子にモータプロテクタの端子を接続固定することによりモータプロテクタがケースに対して所定の姿勢で保持固定される電動圧縮機用保護装置において、前記ケースはモータプロテクタ収納部と端子接続部、さらに2箇所の端子収納部を有しており、端子接続部はモータプロテクタ収納部に対して隣接し、さらに端子収納部は前記端子接続部と隔壁を挟んで隣接しており、前記接続端子は端子接続部と端子収納部との間を跨いで装着固定されており、端子収納部には接続端子の先端部が収納され、端子接続部でモータプロテクタの導電端子が接続端子と接続固定され、前記2箇所の端子収納部は少なくとも互いに収納される接続端子先端を入れ替え可能にされていることを特徴とする電動圧縮機用保護装置である。   The invention described in claim 1 for achieving the above object has a motor protector having a contact mechanism in a metal sealed container and an electrically insulating case for holding the motor protector. In the protective device for an electric compressor, in which the connection terminal is mounted, and the motor protector is held and fixed in a predetermined posture with respect to the case by connecting and fixing the terminal of the motor protector to the connection terminal. And the terminal connection part, and further, there are two terminal storage parts, the terminal connection part is adjacent to the motor protector storage part, and the terminal storage part is adjacent to the terminal connection part across the partition wall. The connection terminal is mounted and fixed so as to straddle between the terminal connection portion and the terminal storage portion, and the terminal storage portion stores the distal end portion of the connection terminal, and the terminal connection portion has a mode. Conductive terminals of the protector is connected fixed to the connection terminal, the terminal accommodating portions of the two positions is an electric compressor protection device, characterized by being in the interchangeable connection terminal tip is housed at least one another.

また請求項2の発明は、2箇所の端子収納部は実質的に同一形状であることを特徴とする電動圧縮機用保護装置である。   According to a second aspect of the present invention, there is provided the protective device for an electric compressor, wherein the two terminal storage portions have substantially the same shape.

また請求項3の発明は、2箇所の端子収納部がケースに対して実質的に左右対称に配置されていることを特徴とする電動圧縮機用保護装置である。   According to a third aspect of the present invention, there is provided the protective device for an electric compressor, wherein the two terminal storage portions are disposed substantially symmetrically with respect to the case.

また請求項4の発明は、2箇所の端子収納部が貫通孔を有し、この貫通孔のどちらの開口部からも接続端子に外部端子を装着可能にされている電動圧縮機用保護装置である。   The invention of claim 4 is a protective device for an electric compressor in which two terminal storage portions have through holes, and an external terminal can be attached to a connection terminal from either opening of the through hole. is there.

また請求項5の発明は、少なくともひとつの接続端子が左右対象形状とされてケースのどちらの端子収納部に収納することもできるようにされた電動圧縮機用保護装置である。   According to a fifth aspect of the present invention, there is provided a protective device for an electric compressor in which at least one connection terminal has a right / left target shape and can be accommodated in any terminal accommodating portion of the case.

また請求項6の発明は、ケースの端子収納部と端子接続部の間に所定の開口幅で隔壁を切り欠いた挿通部が設けられており、この挿通部はその一部の開口幅を変えられており、接続端子の連通部分の幅を挿通部の任意の位置における開口幅に合わせることによって接続端子が挿通部の所望の位置で当接保持されることを特徴とする電動圧縮機用保護装置である。   According to a sixth aspect of the present invention, there is provided an insertion portion in which a partition wall is cut out with a predetermined opening width between the terminal storage portion and the terminal connection portion of the case, and this insertion portion changes a part of the opening width. The connection terminal is held in contact with and held at a desired position of the insertion portion by adjusting the width of the communication portion of the connection terminal to the opening width at an arbitrary position of the insertion portion. Device.

また請求項7の発明は、端子収納部の貫通孔が接続端子の先端部分を隔壁で覆ったものであることを特徴とする電動圧縮機用保護装置である。   According to a seventh aspect of the present invention, there is provided the protective device for an electric compressor, wherein the through hole of the terminal accommodating portion covers the tip end portion of the connection terminal with a partition wall.

また請求項8の発明は、端子収納部がその端面の一部を挿通部の底部と同じ高さにまで切り欠かれていることを特徴とする電動圧縮機用保護装置である。   The invention according to claim 8 is the protective device for an electric compressor characterized in that the terminal housing part is cut out at a part of its end surface to the same height as the bottom part of the insertion part.

また請求項9の発明は、ケースにモータプロテクタ収納部を1箇所と端子接続部を2箇所、さらに端子収納部を2箇所有しており、2箇所の端子接続部はモータプロテクタ収納部に対してそれぞれ隣接するとともに端子接続部同士は互いに隔壁によって独立し、さらに2箇所の端子収納部は実質的に同一形状とされ、それぞれの端子収納部は前記端子接続部の一方と隔壁を挟んで隣接するとともに端子収納部同士は互いに隔壁によって独立しており、端子接続部及び端子収納部は各々ケースに対して実質的に左右対称に配置されており、それぞれの隣接した端子接続部と端子収納部との間には前記接続端子が両者を接続するように配置固定され、端子接続部でモータプロテクタの導電端子が接続端子と接続固定され、端子収納部は少なくとも2種類の接続端子形状に対応していることを特徴とする電動圧縮機用保護装置である。   In the invention of claim 9, the case has one motor protector storage part, two terminal connection parts, and two terminal storage parts, and the two terminal connection parts with respect to the motor protector storage part. And the terminal connection portions are independent from each other by a partition wall, and the two terminal storage portions have substantially the same shape, and each terminal storage portion is adjacent to one of the terminal connection portions with the partition wall interposed therebetween. In addition, the terminal storage portions are independent from each other by a partition wall, and the terminal connection portion and the terminal storage portion are disposed substantially symmetrically with respect to the case, and the adjacent terminal connection portions and the terminal storage portions are adjacent to each other. The connection terminal is arranged and fixed so as to connect both, and the conductive terminal of the motor protector is connected and fixed to the connection terminal at the terminal connection part, and the terminal storage part is at least It is an electric compressor protection device according to claim that corresponds to the type of connection terminal shape.

請求項1の発明によれば、2箇所の端子収納部は少なくとも互いに収納される接続端子先端形状を入れ替え可能にしたことによって、端子の入れ替えを行う場合にもケースはそのまま使用することができる。また接続端子をケースに一体整形するのではなく後から装着固定するようにしたことで、ケースの汎用性が向上し、製造がより容易になる。   According to the first aspect of the present invention, since the two terminal storage portions can exchange at least the connecting terminal tip shapes stored in each other, the case can be used as it is even when the terminals are replaced. In addition, since the connection terminals are attached and fixed to the case instead of being integrally molded, the versatility of the case is improved, and the manufacture becomes easier.

請求項2の発明によれば、端子収納部が実質的に同一形状なので端子先端形状の入れ替えを行ってもそれぞれの接続端子に対する装着条件自体は変わらず取扱いが容易になる。   According to the second aspect of the present invention, since the terminal storage portions have substantially the same shape, even if the terminal tip shape is exchanged, the mounting condition itself for each connection terminal does not change and the handling becomes easy.

請求項3の発明によれば、端子収納部をケースに対して実質的に左右対称に配置することで、接続端子の形状を両側の端子収納部に対応させることがより容易になる。   According to the invention of claim 3, it is easier to make the shape of the connection terminal correspond to the terminal storage portions on both sides by arranging the terminal storage portions substantially symmetrically with respect to the case.

請求項4の発明によれば、端子収納部に貫通孔を設けてどちらの開口部からも接続端子に外部端子を装着可能にしたことで、保護装置の取付姿勢に関する自由度が向上する。   According to the fourth aspect of the present invention, the through hole is provided in the terminal accommodating portion so that the external terminal can be attached to the connection terminal from either opening portion, so that the degree of freedom regarding the mounting posture of the protective device is improved.

請求項5の発明によれば、少なくともひとつの接続端子を左右対象形状としてケースのどちらの端子収納部にも収納できるようにしたことで、左右の接続端子を入れ替える場合にも新たな形状の接続端子を用意する必要がなくなる。   According to the invention of claim 5, it is possible to store at least one connection terminal as a right and left target shape in either terminal storage portion of the case, so that a connection with a new shape can be achieved even when the left and right connection terminals are replaced. There is no need to prepare terminals.

請求項6の発明によれば、ケースの端子収納部と端子接続部の間の挿通部を一部の開口幅を変えながら切り欠き、接続端子の幅を挿通部の任意の部分の開口幅に合わせることによって、接続端子は挿通部の所望の位置で当接保持される。   According to invention of Claim 6, the insertion part between the terminal storage part of a case and a terminal connection part is notched, changing a part of opening width, and the width of a connection terminal is made into the opening width of the arbitrary parts of an insertion part. By matching, the connection terminal is held in contact at a desired position of the insertion portion.

請求項7の発明によれば、接続端子の先端部分を隔壁で覆うことにより、取扱いにおける外力の影響を抑えることができる。   According to invention of Claim 7, the influence of the external force in handling can be suppressed by covering the front-end | tip part of a connecting terminal with a partition.

請求項8の発明によれば、端子収納部はその端面である隔壁の一部を挿通部の底部と同じ高さにまで切り欠かいたことにより、端子を横方向に延びだすことが容易になる。   According to the eighth aspect of the present invention, the terminal accommodating portion is notched to the same height as the bottom portion of the insertion portion, so that it is easy to extend the terminal in the lateral direction. .

請求項9の発明によれば、端子収納部はそれぞれ少なくとも2種類の接続端子形状に対応していることにより、ケースの形状を変えなくても対応する接続端子を用意することで保護装置の取付方法の自由度を増すことができる。   According to the ninth aspect of the present invention, since each of the terminal storage portions corresponds to at least two types of connection terminal shapes, the corresponding connection terminals can be prepared without changing the shape of the case. The degree of freedom of the method can be increased.

電動圧縮機保護装置のケースの端子接続部及び端子収納部を実質的に左右対称に配置するとともに端子収納部は少なくとも2種類の端子形状に対応させ端子を互いに入れ替え可能にする。ケースに装着される接続端子はケースにあらかじめ一体整形するのではなく後から装着固定する。そのためひとつのケースで複数種類の接続端子の選択使用が可能になり、端子位置の入れ替えなどに対しても対応が容易になる。   The terminal connection portion and the terminal storage portion of the case of the electric compressor protection device are arranged substantially symmetrically, and the terminal storage portion corresponds to at least two types of terminal shapes so that the terminals can be replaced with each other. The connection terminals to be attached to the case are not fixed to the case in advance but fixed and attached later. Therefore, it is possible to select and use a plurality of types of connection terminals in one case, and it is easy to cope with switching terminal positions.

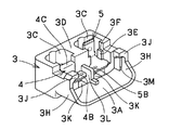
以下、図1乃至図5を参照しながら本発明の電動圧縮機保護装置について説明する。図1は本発明の電動圧縮機保護装置1の平面図であり、図2はその正面図である。さらにこの電動圧縮機保護装置1に使用されるケースに接続端子を装着した状態を図3の斜視図と図4の正面図に示す。また図5はこのケースの平面図である。この電動圧縮機保護装置1は、モータプロテクタ2(以下、単にプロテクタと称する)とこれを保持するケース3とを有している。このプロテクタ2は金属製の耐圧密閉容器2Aを持ち、この密閉容器内部にバイメタルなどの熱応動素子を利用した接点機構を有している。プロテクタの密閉容器2Aには、これを貫通して導電端子ピン2Bがガラスなどの電気絶縁性材料で気密に絶縁固定されている。またケース3はエンジニアリングプラスチック等の電気絶縁材料で形成されており、接続端子であるリセプタクル端子4とタブ端子5が配置されている。リセプタクル端子4とタブ端子5はそれぞれ一方に所定の端子との装着部4Aまたは5Aを有し、他方には前記導電端子ピン2Bとの接続用のリブが形成された溶接部4Bまたは5Bを有している。   The electric compressor protection device of the present invention will be described below with reference to FIGS. FIG. 1 is a plan view of an electric compressor protection device 1 according to the present invention, and FIG. 2 is a front view thereof. Furthermore, the state which attached the connection terminal to the case used for this electric compressor protection apparatus 1 is shown in the perspective view of FIG. 3, and the front view of FIG. FIG. 5 is a plan view of this case. The electric compressor protection device 1 includes a motor protector 2 (hereinafter simply referred to as a protector) and a case 3 that holds the motor protector 2. This protector 2 has a metal pressure-resistant sealed container 2A, and has a contact mechanism using a thermally responsive element such as a bimetal inside the sealed container. The conductive terminal pin 2B is airtightly insulated and fixed with an electrically insulating material such as glass through the sealed container 2A of the protector. The case 3 is made of an electrically insulating material such as engineering plastic, and a receptacle terminal 4 and a tab terminal 5 which are connection terminals are arranged. Each of the receptacle terminal 4 and the tab terminal 5 has a mounting portion 4A or 5A with a predetermined terminal on one side, and has a welding portion 4B or 5B on which a rib for connection with the conductive terminal pin 2B is formed on the other side. doing.

ケース3は左右対称に形成されており、図1の平面図において図示手前側にあたる上面にはプロテクタ2が配置されるプロテクタ収納部3Aと、この収納部に隣接して端子接続部3Bと、さらにこれらの端子接続部に隣接した端子収納部3Cが設けられている。端子接続部3Bはそれぞれの端子の配置位置を隔壁3Lによって2ヶ所に分離独立されており、さらにそれぞれの端子接続部3Bに隣接した端子収納部3C同士もこれを囲む隔壁である周縁部3Dによって互いに独立している。この2つの端子収納部3Cは左右対称に配置された同一形状の貫通孔とされており、両者は周縁部3Dによって収納される端子間の電気絶縁距離が充分に採れるようにされている。   The case 3 is formed symmetrically, and in the plan view of FIG. 1, a protector storage portion 3 </ b> A in which the protector 2 is disposed on an upper surface corresponding to the front side of the drawing, a terminal connection portion 3 </ b> B adjacent to the storage portion, A terminal accommodating portion 3C adjacent to these terminal connecting portions is provided. The terminal connection portions 3B are separated and independent in two locations by the partition walls 3L, and the terminal storage portions 3C adjacent to the respective terminal connection portions 3B are also surrounded by a peripheral edge portion 3D which is a partition wall surrounding the terminal connection portions 3B. Independent of each other. The two terminal storage portions 3C are formed as through holes having the same shape and arranged symmetrically, and both of them are provided with a sufficient electrical insulation distance between the terminals stored by the peripheral portion 3D.

この端子収納部は少なくとも2種類の端子形状に対応しており、この実施例においてはリセプタクルを収納してタブを挿入するものにも、タブを収納してリセプタクルを挿入するものにも対応しており、相互に入れ替えて使用できるようにされている。端子接続部3Bと端子収納部3Cとの間には隔壁である周縁部3D部分を所定の開口幅で切り欠いた挿通部3Eが設けられており、それぞれの挿通部3Eの両壁面上部にはその開口幅を広げることによって段差3Fが設けられている。   This terminal accommodating portion corresponds to at least two types of terminal shapes. In this embodiment, the terminal accommodating portion accommodates a receptacle accommodating a receptacle and inserting a tab, and accommodating a tab accommodating a receptacle. They can be used interchangeably. Between the terminal connection portion 3B and the terminal storage portion 3C, there are provided insertion portions 3E in which a peripheral edge portion 3D portion that is a partition wall is cut out with a predetermined opening width, and on both wall upper portions of each insertion portion 3E. A step 3F is provided by widening the opening width.

リセプタクル端子4やタブ端子5は、それぞれこの挿通部3Eをまたいで配置され、それぞれの装着部4Aまたは5Aを端子収納部3Cに収納している。本実施例においてリセプタクル端子4の形状は、装着部4Aをケース3の下方に向けて配置するために装着部4Aと溶接部4Bとの間に位置する連通部4Cを一旦上方向に立ち上げてから装着部4Aを下方向に向かせた形状としており、装着部4Aを端子収納部3Cに差込むようにしてケースに取りつけられる。ここでリセプタクル端子4の連通部4Cの幅は挿通部3Eの下部の開口幅よりも広く、段差3F上の開口幅に合わせられている。こうしたことによりリセプタクル端子4の装着時に連通部4Cが挿通部の段差3Fに当接して挿入量を決められる。またリセプタクル端子4はその装着部4A側と溶接部4B側とで挿通部3Eを両側から弾性的に挟むようにして装着されており、装着部4Aが端子収納部3Cに設けられた返り止め3Gを弾性的に乗り越え、端面が係止されることによって脱落しないように保持固定されている。なお、本実施例では返り止め3Gを端子収納部3C側に設けた例を示したが、端子接続部23B側に設けてもよいことは言うまでもない。   The receptacle terminal 4 and the tab terminal 5 are respectively disposed across the insertion portion 3E, and each mounting portion 4A or 5A is accommodated in the terminal accommodating portion 3C. In this embodiment, the shape of the receptacle terminal 4 is such that the communication portion 4C positioned between the mounting portion 4A and the welded portion 4B is once raised upward in order to dispose the mounting portion 4A toward the lower side of the case 3. The mounting portion 4A is directed downward, and the mounting portion 4A is attached to the case so as to be inserted into the terminal storage portion 3C. Here, the width of the communication portion 4C of the receptacle terminal 4 is wider than the opening width of the lower portion of the insertion portion 3E, and is adjusted to the opening width on the step 3F. As a result, when the receptacle terminal 4 is mounted, the communication portion 4C comes into contact with the step 3F of the insertion portion and the amount of insertion can be determined. The receptacle terminal 4 is mounted such that the insertion portion 3E is elastically sandwiched between the mounting portion 4A side and the welded portion 4B side from both sides, and the mounting portion 4A elastically supports the detent 3G provided in the terminal storage portion 3C. It is fixed so that it does not fall off when the end face is locked. In the present embodiment, an example in which the detent 3G is provided on the terminal housing portion 3C side is shown, but it goes without saying that it may be provided on the terminal connection portion 23B side.

また他方の端子収納部3Cに配置されるタブ端子5は、端子収納部から装着部5Aを上方に向けて配置される。タブ端子の連通部5Cの幅はケースの挿通部3Eの下部の開口幅に合わせ且つ、連通部5Cを溶接部5Bと同じ高さとされている。そのためタブ端子5を端子収納部3Cに配置した時に連通部5Cは段差3F上に留まること無く挿通部3Eの下端まで挿入されるので、タブ端子部分の先端を上方向に向けて配置した場合にもその先端高さを抑えることができ、タブを覆う周縁部3Dの高さを抑える事ができる。また中間部を何度も曲げる必要がないので端子の奥行きも抑えられ、端子収納部3Cを特に広げずに済む。またタブ端子は連通部5Cの側面が挿通部3Eに当たることで左右への動きを規制されるとともに、連通部5Cの前後の幅を太くすることで挿通部3Eの前後に当たるようにして前後への動きを規制している。こうしてタブ端子5は図1の手前側方向を除く5方向に対して拘束される。また手前側への力に対してはプロテクタとともに保持されるがこの点については後述する。   Further, the tab terminal 5 arranged in the other terminal accommodating portion 3C is arranged with the mounting portion 5A facing upward from the terminal accommodating portion. The width of the communication portion 5C of the tab terminal matches the opening width of the lower portion of the insertion portion 3E of the case, and the communication portion 5C has the same height as the welded portion 5B. Therefore, when the tab terminal 5 is disposed in the terminal storage portion 3C, the communication portion 5C is inserted up to the lower end of the insertion portion 3E without staying on the step 3F, and therefore when the tip of the tab terminal portion is disposed upward. The tip height can be suppressed, and the height of the peripheral edge 3D covering the tab can be suppressed. Further, since it is not necessary to bend the intermediate portion many times, the depth of the terminal can be suppressed, and the terminal accommodating portion 3C need not be particularly widened. Further, the tab terminal is restricted from moving to the left and right by the side surface of the communication portion 5C hitting the insertion portion 3E, and by making the width of the front and rear of the communication portion 5C wide, The movement is regulated. Thus, the tab terminal 5 is constrained in five directions except the front side direction in FIG. Moreover, although it keeps with a protector with respect to the force to a near side, this point is mentioned later.

ケース3のプロテクタ収納部3Aにはその側面にプロテクタ2の容器外周形状に沿ってせりあがる側壁3Hが設けられており、さらに両側からプロテクタの容器を抱え込むような形でせり出した保持部3Jが設けられている。側壁3Hの内側にはプロテクタの位置決め用の当接部3Mが設けられている。このプロテクタ収納部3Aに図1における図示下方からプロテクタ2を差込むように装着することによって、プロテクタはケースに対して所定の姿勢とされ、プロテクタの密閉容器2Aを隔壁3Lの端面、及び当接部3Mに当接することで位置決めされる。この状態でプロテクタの2本の導電端子ピン2Bは、それぞれリセプタクル端子とタブ端子の溶接部4Bまたは5B上に配置される。   The protector housing 3A of the case 3 is provided with a side wall 3H that rises along the outer peripheral shape of the protector 2 on its side surface, and further has a holding part 3J that protrudes in such a way as to hold the protector container from both sides. It has been. A contact portion 3M for positioning the protector is provided inside the side wall 3H. By attaching the protector 2 to the protector housing 3A so as to be inserted from below in FIG. 1, the protector is brought into a predetermined posture with respect to the case, and the sealed container 2A of the protector is brought into contact with the end face of the partition wall 3L and Positioning is performed by contacting the part 3M. In this state, the two conductive terminal pins 2B of the protector are respectively disposed on the welded portion 4B or 5B of the receptacle terminal and the tab terminal.

ケース3の端子接続部3Bには各接続端子の溶接部4B、5Bと対向する位置に溶接作業用の貫通孔3Kが設けられている。導電端子ピン2Bと各端子の溶接部との溶接作業時には、導電端子ピン側から一方の溶接電極を当てると同時にこの貫通孔3Kを通して各端子の溶接部に他方の溶接電極を当てることによって溶接作業を可能にする。ケースに固定されている溶接部4B、5Bに対してこのようにプロテクタ2の導電端子ピン2Bを溶接することによって、プロテクタ2はケース3に対して保持固定される。近接する溶接部4B−5B間は前述したように隔壁3Lによって分離されるとともに充分な電気絶縁距離とされている。   The terminal connecting portion 3B of the case 3 is provided with a through hole 3K for welding work at a position facing the welded portions 4B and 5B of each connecting terminal. During welding work between the conductive terminal pin 2B and the welded portion of each terminal, one welding electrode is applied from the conductive terminal pin side, and at the same time, the other welding electrode is applied to the welded portion of each terminal through the through hole 3K. Enable. The protector 2 is held and fixed to the case 3 by welding the conductive terminal pins 2B of the protector 2 to the welds 4B and 5B fixed to the case. As described above, the adjacent welds 4B-5B are separated by the partition 3L and have a sufficient electrical insulation distance.

ケース3の一方の端子収納部3Cに収納されたリセプタクル端子4には、接続部4Aに電動圧縮機の密閉容器に気密に固定された密閉端子のピンが挿入接続される。こうしてリセプタクル端子4は密閉端子に対して電気的に接続固定されるとともに、電動圧縮機保護装置1が密閉端子上に保持固定される。一方、タブ端子5はその接続部5Aをもう一方の端子収納部3Cに収納されており、電動機の巻線またはこの巻線に接続されたリード線が端子を介してこの接続部5Aに接続される。   In the receptacle terminal 4 housed in one terminal housing portion 3C of the case 3, a pin of a sealed terminal that is airtightly fixed to the sealed container of the electric compressor is inserted and connected to the connecting portion 4A. Thus, the receptacle terminal 4 is electrically connected and fixed to the sealed terminal, and the electric compressor protection device 1 is held and fixed on the sealed terminal. On the other hand, the tab terminal 5 has its connecting portion 5A accommodated in the other terminal accommodating portion 3C, and the winding of the motor or the lead wire connected to this winding is connected to this connecting portion 5A via the terminal. The

リセプタクル端子4とタブ端子5はそれぞれの接続部4A及び5Aをケース3の端子収納部3Cに収納することによって、それぞれの端子の先端部分である装着部は隔壁となる周縁部3Dに囲まれる。そのため製造時や取扱い時における外部応力はケースによって受けとめられ、接続端子は変形や破壊から確実に保護される。またタブ端子5は図1の手前方向については保持されていないが、ケースに保持部3Jを設けたことによってプロテクタ容器自体が保持されるので、前述したように連通部5Cにおける拘束構造と合わることで脱落することはない。なお本実施例においてはリセプタクル端子4とタブ端子5の突出量に合わせて両者を囲むケース3の周縁部3Dの上下方向に対する厚さをプロテクタ収納部3Aなどよりも厚くしているが、例えばタブ端子やリセプタクル端子の突出量を減らすことによって周縁部3Dの厚さも減らすことができることは言うまでもない。   The receptacle terminal 4 and the tab terminal 5 accommodate the respective connecting portions 4A and 5A in the terminal accommodating portion 3C of the case 3, so that the mounting portion, which is the tip portion of each terminal, is surrounded by the peripheral portion 3D serving as a partition wall. For this reason, external stress during manufacturing and handling is received by the case, and the connection terminals are reliably protected from deformation and destruction. Further, although the tab terminal 5 is not held in the front direction in FIG. 1, the protector container itself is held by providing the holding portion 3J in the case, so that it matches the restraining structure in the communication portion 5C as described above. It will not drop out. In this embodiment, the thickness of the peripheral portion 3D of the case 3 surrounding the receptacle terminal 4 and the tab terminal 5 in the vertical direction is made thicker than that of the protector storage portion 3A, for example. It goes without saying that the thickness of the peripheral edge 3D can be reduced by reducing the protruding amount of the terminal and the receptacle terminal.

本発明によれば、ケース3に対してリセプタクル端子4とタブ端子5を配置する際に、段差3Fを設けられた挿通部3Eを通して配置することによって端子それぞれの幅に応じて別の形態で保持することができる。また、ケースを左右対称にして挿通部及び端子収納部の形状を同じにし、さらに端子収納部はタブ端子とリセプタクル端子のどちらにも対応できるようにしたことで端子の組合せを変える場合には左右に対応した端子だけを用意すればよく、ケースそのものの種類を増やす必要が無くなる。なお、この実施例では端子接続部3B及び端子収納部3Cをそれぞれ隔壁3L及び周縁部3Dによって接続端子毎に独立させたているが、接続端子間に充分な電気絶縁距離が得られるのであればこれらの隔壁は必ずしも必要とされるものではなく、その場合は例えば端子収納部を一体化することもできる。   According to the present invention, when the receptacle terminal 4 and the tab terminal 5 are arranged with respect to the case 3, the receptacle terminal 4 and the tab terminal 5 are arranged through the insertion portion 3 </ b> E provided with the step 3 </ b> F to be held in another form according to the width of each terminal. can do. In addition, when changing the combination of terminals, the case is symmetrical and the shape of the insertion part and the terminal storage part are the same, and the terminal storage part is compatible with both the tab terminal and the receptacle terminal. There is no need to increase the number of types of cases themselves. In this embodiment, the terminal connection portion 3B and the terminal storage portion 3C are made independent for each connection terminal by the partition wall 3L and the peripheral edge portion 3D, respectively, as long as a sufficient electrical insulation distance can be obtained between the connection terminals. These partition walls are not necessarily required, and in that case, for example, the terminal accommodating portion can be integrated.

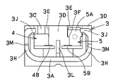
次に本発明の他の実施例について図6〜10を参照しながら説明する。図6は本発明の電動圧縮機用保護装置21の平面図であり、図7はそのケースの平面図、図8は図7のケースに端子を取付けた状態を示す斜視図である。また図9はプロテクタの取付状態を示す図6のA−A断面図及びB−B断面図、図10は保護装置を対象機器に接続した状態を説明するための平面図である。本実施例のケース23は前述の例と同様にエンジニアリングプラスチック等の電気絶縁材料で形成されており、接続端子であるリセプタクル端子24とタブ端子25が配意されている。リセプタクル端子24とタブ端子25はそれぞれ一方に所定の端子との装着部24Aまたは25Aを有し、他方にはプロテクタ2の導電端子ピン2Bとの接続用のリブが形成された溶接部24Bまたは25Bを有している。本実施例ではこの溶接部24B、25Bをそれぞれの端子の中心線に対して対称に配置することで、それぞれの端子が左右対称な形状とされている。   Next, another embodiment of the present invention will be described with reference to FIGS. 6 is a plan view of the protective device 21 for an electric compressor according to the present invention, FIG. 7 is a plan view of the case, and FIG. 8 is a perspective view showing a state in which a terminal is attached to the case of FIG. FIG. 9 is a cross-sectional view taken along lines AA and BB in FIG. 6 showing how the protector is attached, and FIG. 10 is a plan view for explaining a state where the protective device is connected to the target device. The case 23 of this embodiment is formed of an electrically insulating material such as engineering plastic as in the above-described example, and is provided with a receptacle terminal 24 and a tab terminal 25 which are connection terminals. Each of the receptacle terminal 24 and the tab terminal 25 has a mounting portion 24A or 25A with a predetermined terminal on one side, and the welded portion 24B or 25B on which the rib for connection to the conductive terminal pin 2B of the protector 2 is formed on the other side. have. In this embodiment, the welded portions 24B and 25B are arranged symmetrically with respect to the center line of each terminal, so that each terminal has a symmetrical shape.

ケース23は左右対称に形成されており、平面図において手前側にプロテクタ2が配置されるプロテクタ収納部23Aと、この収納部に隣接して2ヶ所の端子接続部23Bと、さらにこれらの端子接続部に隣接した端子収納部23Cが設けられている。端子接続部23Bは隔壁23Lによって互いに独立しており、それぞれの端子接続部23Bに隣接した端子収納部23C同士もこれを囲む隔壁である周縁部23Dによって互いに独立している。この2つの端子収納部23Cはケース23の中心に対して左右対称に配置された同一形状の貫通孔とされており、両者は周縁部23Dによって収納される端子間の電気絶縁距離が充分に採れるようにされている。   The case 23 is formed symmetrically, and in the plan view, a protector storage portion 23A in which the protector 2 is disposed on the front side, two terminal connection portions 23B adjacent to the storage portion, and these terminal connections A terminal accommodating portion 23C adjacent to the portion is provided. The terminal connection portions 23B are independent from each other by the partition walls 23L, and the terminal storage portions 23C adjacent to the respective terminal connection portions 23B are also independent from each other by a peripheral edge portion 23D that is a partition wall surrounding the terminal storage portions 23C. The two terminal storage portions 23C are formed as through holes having the same shape symmetrically arranged with respect to the center of the case 23, and both of them can sufficiently take an electrical insulation distance between the terminals stored by the peripheral portion 23D. Has been.

この端子収納部23Cも前述の例と同様に少なくとも2種類の端子形状に対応している。この実施例においてはリセプタクルを収納してタブを挿入するものにも、タブを収納してリセプタクルを挿入するものにも対応しており、相互に入れ替えて使用できるようにされている。端子接続部23Bと端子収納部23Cとの間には隔壁である周縁部23D部分を所定の開口幅で切り欠いた挿通部23Eが設けられているが、本実施例においては前述の実施例1のようには深く切り欠かれることなく、端子の板厚程度の深さとされている。   This terminal accommodating portion 23C also corresponds to at least two types of terminal shapes as in the above example. In this embodiment, both the one that accommodates the receptacle and inserts the tab and the one that accommodates the tab and inserts the receptacle can be used interchangeably. Between the terminal connection portion 23B and the terminal storage portion 23C, there is provided an insertion portion 23E in which a peripheral edge portion 23D portion that is a partition wall is cut out with a predetermined opening width. In this embodiment, the first embodiment described above is used. In this way, the depth is about the thickness of the terminal without being deeply cut out.

リセプタクル端子24やタブ端子25は、それぞれこの挿通部23Eをまたいで配置され、それぞれの装着部24Aまたは25Aを端子収納部23Cに収納している。本実施例においてはリセプタクル端子24の形状は、前述の例と同様に連通部24Cを一旦上方向に立ち上げてから装着部24Aを下方向に向かせた形状としており、装着部24Aを端子収納部23Cに差込むようにしてケースに取りつけられる。   The receptacle terminal 24 and the tab terminal 25 are disposed across the insertion portion 23E, and the respective mounting portions 24A or 25A are accommodated in the terminal accommodating portion 23C. In the present embodiment, the shape of the receptacle terminal 24 is such that the communication portion 24C is once raised upward and the attachment portion 24A is directed downward, as in the previous example, and the attachment portion 24A is accommodated in the terminal. It is attached to the case so as to be inserted into the portion 23C.

端子収納部23Cは図9に示すように上部を広く、下部を狭くされており、下部はリセプタクル収納部23Fとして図6やそのA−A断面図である図9(A)に示すようにリセプタクル端子の装着部24Aの少なくとも先端が収納保持される形状とされている。そのためリセプタクル端子24を対象機器のタブ端子などに装着する際にケース23が装着部24Aの横方向へ動くのを規制している。リセプタクル端子24はその装着部24A側と溶接部24B側とでケースの挿通部23Eを両側から弾性的に挟むようにして装着されており、端子収納部23Cに設けられた返り止め23Gに装着部24Aの端面がかかることによって脱落しないように保持固定されている。なお端子収納部23C側に設けた返り止め23Gは前述の例と同様に端子接続部23B側に設けることができるが、この点は後述するタブ端子などにおいても同様であることは言うまでもない。   As shown in FIG. 9, the terminal accommodating portion 23C is wide at the upper portion and narrowed at the lower portion, and the lower portion is the receptacle accommodating portion 23F as shown in FIG. 6 and its sectional view taken along the line AA in FIG. 9 (A). At least the tip of the terminal mounting portion 24A is stored and held. Therefore, the case 23 is restricted from moving in the lateral direction of the mounting portion 24A when the receptacle terminal 24 is mounted on a tab terminal or the like of the target device. The receptacle terminal 24 is mounted so that the insertion portion 23E of the case is elastically sandwiched between the mounting portion 24A side and the welding portion 24B side from both sides, and the detent 23G provided in the terminal storage portion 23C is attached to the detent 23G. It is held and fixed so that it does not fall off when the end face is applied. Note that the detent 23G provided on the terminal accommodating portion 23C side can be provided on the terminal connecting portion 23B side as in the above-described example, but it goes without saying that this point is the same in the tab terminal described later.

また本実施例において他方の端子収納部23Cに配置されているタブ端子25は、図6やそのB−B断面図である図9(B)に示すように、リセプタクル端子24と同様に連通部25Cがケースの挿通部23Eをまたぐような形状に曲げられており、さらに一旦下方向に向けた装着部25Aの先端は上方向に曲げられている。このタブ端子25もリセプタクル端子と同様に挿通部23Eに対して弾性的に装着されており、装着部側に設けられた幅広部25Dが返り止め23Gに当たることで脱落が防止されている。またタブ端子25にリセプタクル端子を装着されたときにリセプタクル端子が端子収納部23Cに干渉しないように、タブ端子の装着部25Aは端子収納部23Cの上部の広い部分に収納される。   Further, in this embodiment, the tab terminal 25 arranged in the other terminal storage portion 23C is connected to the communication portion as in the case of the receptacle terminal 24, as shown in FIG. 6 and FIG. 25C is bent so as to straddle the insertion portion 23E of the case, and the tip of the mounting portion 25A once downward is bent upward. The tab terminal 25 is also elastically attached to the insertion portion 23E like the receptacle terminal, and the wide portion 25D provided on the attachment portion side is prevented from falling off by hitting the detent 23G. Further, the tab terminal mounting portion 25A is housed in a wide portion above the terminal housing portion 23C so that the receptacle terminal does not interfere with the terminal housing portion 23C when the receptacle terminal is mounted on the tab terminal 25.

ケース23のプロテクタ収納部23Aの側面には前述の例と同様に側壁23Hが設けられており、また収納部23A内側にはプロテクタ2の容器を側面で支えて傾きを抑える当接部23Jが設けられている。さらに側壁23Hの内側にはプロテクタの端面が当たる位置決め用の当接部23Mが設けられている。プロテクタ収納部23Aと側壁23Hの内側の形状はプロテクタ容器の外周部にほぼ沿った形状とされている。このプロテクタ収納部23Aにプロテクタ2を装着することによって、プロテクタはケースに対して所定の姿勢とされ、プロテクタの密閉容器を当接部23Jと隔壁23Lの端面、及び当接部23Mに当接することで位置決めされる。この状態でプロテクタの2本の導電端子ピン2Bは、それぞれリセプタクル端子とタブ端子の溶接部24Bまたは25B上に配置される。   The side wall 23H is provided on the side surface of the protector storage portion 23A of the case 23 in the same manner as in the above example, and the contact portion 23J that supports the container of the protector 2 on the side surface and suppresses the tilt is provided inside the storage portion 23A. It has been. Further, an abutting portion 23M for positioning where the end face of the protector hits is provided inside the side wall 23H. The inner shape of the protector housing 23A and the side wall 23H is substantially in line with the outer periphery of the protector container. By attaching the protector 2 to the protector housing 23A, the protector is set in a predetermined posture with respect to the case, and the protector's sealed container is brought into contact with the contact portion 23J, the end surface of the partition wall 23L, and the contact portion 23M. Positioned with. In this state, the two conductive terminal pins 2B of the protector are arranged on the welded portions 24B or 25B of the receptacle terminal and the tab terminal, respectively.

ケース23の端子接続部23Bには溶接作業用の貫通孔23Kが設けられており、この貫通孔23Kを通して各溶接部に溶接電極を当てることによって溶接作業を可能にする。このようにケースに固定された各端子にプロテクタ2の導電端子ピン2Bを溶接することによって、プロテクタ2はケース23に対して保持固定される。   The terminal connection part 23B of the case 23 is provided with a through hole 23K for welding work, and welding work is enabled by applying a welding electrode to each welded part through the through hole 23K. Thus, the protector 2 is held and fixed to the case 23 by welding the conductive terminal pins 2B of the protector 2 to the respective terminals fixed to the case.

本実施例では図10に示すように、ケース23の一方の端子収納部23Cに収納されたリセプタクル端子24の接続部24Aには、電動圧縮機の密閉容器に気密に固定された密閉端子のピン31に固定されたタブ端子32が図の向こう側から手前方向に向けて挿入されて接続保持される。こうしてリセプタクル端子24は密閉端子に対して電気的に接続固定されるとともに、電動圧縮機保護装置21は密閉端子上に保持固定される。一方、もう一方の端子収納部23Cに収納されたタブ端子25の接続部25Aには、電動機の巻線またはこの巻線に接続されたリード線がリセプタクル端子33を介して接続される。このリセプタクル端子33は図示手前から挿入されており、接続部の曲げ部分または端子収納部23Cの段差に当たることで挿入量が決められる。また端子収納部23Cの上部は下部のリセプタクル収納部23Fよりも広くされており、タブ端子25の曲げ成型された接続部25Aにリセプタクル端子33を取付けることができる。さらに端子収納部23Cの内面がリセプタクル端子33の周縁部に沿うようにすることで、端子の動きを抑えて振動などに対する保持力を高めることができる。   In this embodiment, as shown in FIG. 10, the connecting terminal 24 </ b> A of the receptacle terminal 24 accommodated in one terminal accommodating part 23 </ b> C of the case 23 has a sealed terminal pin hermetically fixed to the sealed container of the electric compressor. A tab terminal 32 fixed to 31 is inserted from the other side of the figure toward the near side and connected and held. Thus, the receptacle terminal 24 is electrically connected and fixed to the sealed terminal, and the electric compressor protection device 21 is held and fixed on the sealed terminal. On the other hand, the connecting portion 25A of the tab terminal 25 housed in the other terminal housing portion 23C is connected to the winding of the motor or the lead wire connected to this winding through the receptacle terminal 33. The receptacle terminal 33 is inserted from the front of the figure, and the amount of insertion is determined by hitting the bent portion of the connecting portion or the step of the terminal accommodating portion 23C. The upper portion of the terminal storage portion 23C is wider than the lower receptacle storage portion 23F, and the receptacle terminal 33 can be attached to the connection portion 25A formed by bending the tab terminal 25. Furthermore, by making the inner surface of the terminal accommodating portion 23C follow the peripheral edge portion of the receptacle terminal 33, it is possible to suppress the movement of the terminal and increase the holding force against vibration or the like.

なお、本実施例においてリセプタクル端子24とタブ端子25はどちらも溶接部を含めてそれぞれ左右対称な形状とされており、さらにケースへの装着方法も同じにされている。そのためケース23に対してどちらの端子収納部23Cに装着することも可能である。例えば図6におけるリセプタクルとタブの位置関係を入れ替えることはもちろん、必要であれば双方に同一の端子を使用することも可能になる。この実施例によれば端子の入替えを必要とする場合であっても、ケースはもちろん端子も左右別々に用意する必要はないので、新たな部品を作成することなく仕様変更に対応することができる。   In the present embodiment, the receptacle terminal 24 and the tab terminal 25 are both symmetrically formed including the welded portion, and the mounting method to the case is also the same. For this reason, it is possible to attach the terminal 23 to either terminal housing portion 23 </ b> C. For example, the positional relationship between the receptacle and the tab in FIG. 6 can be interchanged, and the same terminal can be used for both if necessary. According to this embodiment, even if it is necessary to replace the terminals, it is not necessary to prepare the terminals separately on the left and right sides as well as the case, so it is possible to cope with the specification change without creating new parts. .

上述した各実施例においてはタブ端子の形状は貫通孔である端子収納部に制限されるため、横方向に引出すことは難しい。そこで次に本発明の第3の実施例として端子形状の自由度を上げた例について、図11乃至図13を参照して説明する。図11はこの電動圧縮機保護装置41の平面図であり、前述の例と同様の部品には同じ記号を付して詳細な説明は省略する。また図12はプロテクタの取付状態を示す図11のC−C断面図及びD−D断面図、図13はケースに端子を取付けた状態を示す斜視図である。この電動圧縮機保護装置41は前述の例と同じプロテクタ2が使用されている。このプロテクタ2は電気絶縁材料で形成されたケース43上に保持固定されている。ケースのプロテクタ収納部43Aに配置されたプロテクタ2は、その容器を保持部43Jで保持されるとともに、導電端子ピン2Bを接続端子であるタブ端子44やリセプタクル端子24に溶接することでケース上に固定される。このケース43は接続端子の左右入れ替えなどが可能な構造とされており、そのため左右対称な構造となっている。   In each of the above-described embodiments, the shape of the tab terminal is limited to the terminal accommodating portion that is a through hole, so that it is difficult to pull it out in the lateral direction. Accordingly, an example in which the degree of freedom of the terminal shape is increased as a third embodiment of the present invention will be described with reference to FIGS. FIG. 11 is a plan view of the electric compressor protection device 41. Components similar to those in the above-described example are denoted by the same reference numerals, and detailed description thereof is omitted. 12 is a cross-sectional view taken along the line CC and the line DD in FIG. 11 showing the attachment state of the protector, and FIG. 13 is a perspective view showing the state where the terminal is attached to the case. This electric compressor protection device 41 uses the same protector 2 as in the above example. The protector 2 is held and fixed on a case 43 made of an electrically insulating material. The protector 2 disposed in the protector storage portion 43A of the case is held on the case by holding the container by the holding portion 43J and welding the conductive terminal pin 2B to the tab terminal 44 or the receptacle terminal 24 which are connection terminals. Fixed. The case 43 has a structure in which the left and right connection terminals can be interchanged, and therefore has a symmetrical structure.

ケース43のプロテクタ収納部43Aとそれに隣接した端子接続部43Bの形状は実施例1で示したケースとほぼ同じであり、隔壁43Lで分割された2つの端子接続部43Bにはそれぞれに溶接電極を挿通するための貫通孔43Kが設けられている。これに対して端子収納部側の形状は前述のものと異なっており、リセプタクル端子24の接続部を収納するために貫通孔になっている端子収納部43Cの周縁部43Mのうち、ケース外側部分の二辺を高さ方向に大きく削られている点で異なっている。周縁部のその他の部分は前述の例と同じような高さのまま周縁隔壁部43Dとされて、隣接する端子収納部同士、あるいは端子収納部と端子接続部の間の隔壁として機能する。この隔壁部43Dには接続端子であるリセプタクル端子24やタブ端子44を通す挿通部43Eが所定の開口幅で設けられている。また挿通部43Eの上部には前述の例と同様に開口幅を広げた段部43Fが設けられている。本実施例における二つの端子収納部43Cは隔壁などの位置関係が異なっているが、後述するタブ端子の引き出し方向の関係で左右対象に配置されているだけで実質的に同一形状とされている。   The shape of the protector storage portion 43A of the case 43 and the terminal connection portion 43B adjacent to the protector storage portion 43A is substantially the same as the case shown in the first embodiment, and welding electrodes are respectively attached to the two terminal connection portions 43B divided by the partition wall 43L. A through hole 43K for insertion is provided. On the other hand, the shape of the terminal accommodating portion side is different from the above-described one, and the case outer portion of the peripheral portion 43M of the terminal accommodating portion 43C that is a through hole for accommodating the connecting portion of the receptacle terminal 24 is provided. The difference is that the two sides are greatly cut in the height direction. The other part of the peripheral part is the peripheral partition part 43D with the same height as in the above example, and functions as a partition between adjacent terminal storage parts or between the terminal storage part and the terminal connection part. The partition wall 43D is provided with an insertion portion 43E through which the receptacle terminal 24 and the tab terminal 44, which are connection terminals, pass with a predetermined opening width. In addition, a stepped portion 43F having an enlarged opening width is provided on the upper portion of the insertion portion 43E as in the above example. The two terminal storage portions 43C in the present embodiment have different positional relationships such as partition walls, but have substantially the same shape only by being arranged on the left and right sides in relation to the pull-out direction of the tab terminals described later. .

端子収納部43Cは貫通孔とされており、リセプタクル端子24は図12(B)に示すように端子収納部に装着部24Aを挿入されている。またリセプタクル端子は連通部24Cが挿通部の段差43Fに当接することによって挿入量が決められる。また装着部24A側と溶接部24B側とでケースの挿通部43Eを両側から弾性的に挟むようにすると同時に、装着部24Aの端面が返り止め43Gに当接することでケース43に対して脱落しないように固定されている。   The terminal accommodating portion 43C is a through hole, and the receptacle terminal 24 has a mounting portion 24A inserted in the terminal accommodating portion as shown in FIG. Further, the insertion amount of the receptacle terminal is determined when the communication portion 24C comes into contact with the step 43F of the insertion portion. Further, the insertion part 43E of the case is elastically sandwiched between the mounting part 24A side and the welding part 24B side, and at the same time, the end surface of the mounting part 24A does not fall off the case 43 by contacting the detent 43G. So that it is fixed.

本実施例のタブ端子44は図12(A)などに示すように装着部44Aから溶接部44Cまでほぼ同一平面とされ、連通部44Bは挿通部43Eの下部の幅より狭くされることにより、挿通部43Eの底部に当接する。こうしてタブ端子44はケース43の端子収納部43Cの上表面に沿って配置される。   As shown in FIG. 12A and the like, the tab terminal 44 of this embodiment is substantially flush with the mounting portion 44A to the welding portion 44C, and the communication portion 44B is narrower than the width of the lower portion of the insertion portion 43E. It contacts the bottom of the insertion part 43E. Thus, the tab terminal 44 is arranged along the upper surface of the terminal accommodating portion 43C of the case 43.

本実施例においてはこのように端子収納部43Cの周縁部43Mの端面をその一部が挿通部の底部と同じ高さにまで切り欠かれていることにより、タブ端子の装着部をケースに対して横方向に引き出すことができる。このタブ端子の装着部の引出し方向は図に示した方向のみに限定されるものでは無く、例えば真っ直ぐ伸ばすことで図11における上方向へ引出すようにしてもよいし、前述の例のように端子収納部から垂直方向へ曲げたものとしてもよい。なお、タブ端子44は挿通部43Eに単に上方向から装着したものを示しているが、たとえばこの挿通部に切り欠きや突起などを設けてタブ端子をそこにかみ合わせてからプロテクタ2と溶接することで、タブ端子とプロテクタの溶接部にかかる負担を分散することができる。   In the present embodiment, the end surface of the peripheral edge portion 43M of the terminal accommodating portion 43C is cut out to the same height as the bottom portion of the insertion portion in this way, so that the tab terminal mounting portion is attached to the case. Can be pulled out horizontally. The pull-out direction of the tab terminal mounting portion is not limited to the direction shown in the figure. For example, the tab terminal may be pulled straight up to be pulled upward in FIG. It may be bent in the vertical direction from the storage portion. Note that the tab terminal 44 is shown as being simply attached to the insertion portion 43E from above. For example, a notch or a projection is provided in the insertion portion, and the tab terminal is engaged therewith and then welded to the protector 2. Thus, the burden on the welded portion of the tab terminal and the protector can be dispersed.

この実施例においてリセプタクル端子24は、前述の第2の実施例と同様に溶接部24Bを左右に広げて端子全体を左右対称するとともに、溶接部24Bのどちらの端でも溶接可能にされている。この構造によればリセプタクル端子24はケース43に対して左右どちらの端子収納部43Cに配置する場合にも溶接固定が可能になるので、リセプタクル端子の位置の入れ替えが必要な時にも同一のリセプタクル端子が使用でき、部品の共通化を図ることができる。また例えばタブ端子においても横方向への曲げなどのない対称な構造とされる場合には、溶接部を同様の構造として共有化を図ることができる。   In this embodiment, the receptacle terminal 24 is widened to the left and right to widen the welded portion 24B in the same manner as in the second embodiment described above, and the entire terminal is bilaterally symmetric, and can be welded at either end of the welded portion 24B. According to this structure, the receptacle terminal 24 can be welded and fixed regardless of whether the receptacle terminal 24 is disposed in the left or right terminal accommodating portion 43C with respect to the case 43. Therefore, when the position of the receptacle terminal needs to be changed, the same receptacle terminal is used. Can be used, and parts can be shared. Further, for example, when the tab terminal has a symmetric structure without bending in the lateral direction, the welded portion can be shared as a similar structure.

なお、本実施例ではタブ端子の形状の自由度を大きくするために端子収納部の周縁部の高さを二辺に亘って削ったものを例に説明したが、例えばタブ端子の引出し方向が特定方向に限られているのであればタブ端子とリセプタクル端子との互換性だけを考慮した端子接続部と端子収納部の直線上の一辺のみを削除した構造であってもよい。またタブ端子の保持方法は実施例のものに限定するものではなく、リセプタクル端子や前述の第2の実施例のようにケースの挿通部43Eに弾性的に装着する構造としてもよい。   In this embodiment, the example in which the height of the peripheral portion of the terminal storage portion is cut across two sides in order to increase the degree of freedom of the shape of the tab terminal has been described. If the direction is limited to a specific direction, a structure in which only one side on the straight line of the terminal connection portion and the terminal storage portion considering only the compatibility between the tab terminal and the receptacle terminal may be deleted. The tab terminal holding method is not limited to that of the embodiment, and may be a structure that is elastically attached to the receptacle terminal or the insertion portion 43E of the case as in the second embodiment described above.

前述の各実施例では端子収納部をケースに対して実質的に左右対象に配置したものを例に説明したが、それぞれの端子先端形状の入れ替えに対応可能であれば例えば図14に示す電動圧縮機保護装置61のようにケース63の端子収納部63A及び63Bの位置関係をずらしてもよい。この実施例においては一方の接続端子は前述の実施例1と同様のリセプタクル端子4とし、他方の接続端子65は先端形状をタブ端子としているが、互いの先端形状を入れ替えることができることについては前述の例と同様である。このリセプタクル端子4は前述の実施例と同様に連接部4Cでケースの一方の挿通部63Cを越えるように弾性的に装着固定されている。またタブ端子65Aの連接部65Aは溶接部65Bと同一平面であり、他方の挿通部63Dの底部に当接する。その他の点については端子収納部の位置関係が違うことと接続端子の連接部の長さが違うこと以外は同様であるので詳細な説明は省略する。   In each of the above-described embodiments, the case where the terminal storage portion is arranged substantially in the left and right direction with respect to the case has been described as an example. However, if it is possible to replace each terminal tip shape, for example, electric compression shown in FIG. Like the machine protection device 61, the positional relationship between the terminal storage portions 63A and 63B of the case 63 may be shifted. In this embodiment, one connection terminal is the same receptacle terminal 4 as in the first embodiment, and the other connection terminal 65 has a tip shape as a tab terminal. However, it is described above that the tip shapes can be interchanged. This is the same as the example. The receptacle terminal 4 is elastically mounted and fixed so as to exceed one insertion portion 63C of the case at the connecting portion 4C as in the above-described embodiment. The connecting portion 65A of the tab terminal 65A is flush with the welded portion 65B and abuts against the bottom of the other insertion portion 63D. Since the other points are the same except that the positional relationship of the terminal storage portion is different and the length of the connecting portion of the connection terminal is different, detailed description is omitted.

さらに前述の各実施例では特に板厚の薄いリセプタクル端子について外部からの応力による変形を防ぐために端子収納部を隔壁で囲み貫通孔としたものを中心に説明したが、必ずしも貫通孔にする必要はなく、例えば図15に示す電動圧縮機保護装置71のように接続端子の先端を隔壁で挟み込むように保持するものであってもよい。この電動圧縮機保護装置71のケース73は端子収納部73Aが隔壁で端子先端部の全周を覆う貫通孔形状ではなく、リセプタクル端子4の先端を隔壁の内面で挟み込むようにされているとともに隔壁の一面73Bがタブ端子の幅に合わせて開口されることで、タブ端子75が横方向に挿通可能にされている。本実施例によれば端子収納部を貫通孔としなくてもリセプタクル端子への外力の影響を隔壁によって受けることができるとともに、タブ端子もケースの挿通部73Cと開口部73Bとで保持されることにより特に横方向の力に対して強固に保持される。   Further, in each of the above-described embodiments, the receptacle terminal having a thin plate thickness has been described mainly with the terminal housing portion surrounded by a partition wall to prevent deformation due to external stress. However, the through hole is not necessarily required. Instead, for example, an electric compressor protection device 71 shown in FIG. 15 may hold the tip of the connection terminal so as to be sandwiched between the partition walls. The case 73 of the electric compressor protection device 71 has a terminal housing portion 73A that is not a through-hole shape that covers the entire periphery of the terminal tip portion with a partition wall, and is configured such that the tip of the receptacle terminal 4 is sandwiched between the inner surfaces of the partition wall. Since one surface 73B is opened in accordance with the width of the tab terminal, the tab terminal 75 can be inserted in the lateral direction. According to the present embodiment, the influence of external force on the receptacle terminal can be received by the partition wall without using the terminal housing portion as a through hole, and the tab terminal is also held by the insertion portion 73C and the opening portion 73B of the case. In particular, it is firmly held against lateral forces.

上述の各実施例においては二つの端子収納部において、それぞれに収納される端子先端形状を入れ替え可能なものについて説明したが、それぞれの端子収納部を少なくとも2種類の接続端子形状に対応させることもできる。例えば端子収納部のうち一方だけをタブ端子を横に引き出す構造としたい場合には、一方の端子収納部を実施例1の形状として他方を実施例3の形状とすればよい。このようにそれぞれの端子収納部が複数の端子先端形状に対応することで、ケースの形状を変えなくても対応する接続端子を用意することで保護装置の取付方法の自由度を増すことができる。   In each of the above-described embodiments, the two terminal storage portions have been described in which the terminal tip shapes stored in the respective terminal storage portions can be interchanged. However, each terminal storage portion may correspond to at least two types of connection terminal shapes. it can. For example, when it is desired to have a structure in which only one of the terminal storage portions pulls out the tab terminal horizontally, one terminal storage portion may have the shape of the first embodiment and the other has the shape of the third embodiment. In this way, each terminal accommodating portion corresponds to a plurality of terminal tip shapes, so that the degree of freedom of the protective device mounting method can be increased by preparing a corresponding connection terminal without changing the shape of the case. .

以上述べたように、本発明の電動圧縮機用保護装置によれば、ケース上の2箇所の端子収納部は少なくとも互いに収納される接続端子先端形状を入れ替え可能にしたことによって、端子の入れ替えを行う場合にもケースはそのまま使用することができる。また接続端子をケースに一体整形するのではなく後から装着固定するようにしたことで、ケースの汎用性が向上し、製造がより容易になる。   As described above, according to the protection device for an electric compressor of the present invention, the terminal storage portions at two locations on the case can be replaced at least by connecting the tip shapes of the connection terminals stored in each other. The case can be used as it is. In addition, since the connection terminals are attached and fixed to the case instead of being integrally molded, the versatility of the case is improved, and the manufacture becomes easier.

またこの端子収納部を同一形状としたり、左右対象に配置することで接続端子の形状を両側の端子収納部に対応させることがより容易になる。さらにそれぞれの接続端子を左右対称な形状とすることで、接続端子も含めて部品のバリエーションを最小限にすることが可能になる。   Moreover, it becomes easier to make the shape of the connection terminal correspond to the terminal accommodating parts on both sides by making the terminal accommodating parts the same shape or arranging them on the left and right sides. Furthermore, by making each connection terminal symmetrical, it becomes possible to minimize variations of parts including the connection terminals.

端子収納部に貫通孔を設けてどちらの開口部からも接続端子に外部端子を装着可能にしたことで、保護装置の取付姿勢に関する自由度が向上し、より多くの保護対象機器への使用が可能になる。   By providing a through-hole in the terminal housing and making it possible to attach an external terminal to the connection terminal from either opening, the degree of freedom regarding the mounting orientation of the protective device is improved and it can be used for more protected devices. It becomes possible.

またケース上の挿通部の開口幅を部分的に変え、この挿通部を通す接続端子の幅を前記開口幅の所定位置に合わせることにより、接続端子のケース上での当接位置と姿勢を決めることができる。またケースに設けられた端子収納部の端面の一部を挿通部の底部と同じ高さにまで切り欠くことで、接続端子の形状の自由度を上げてより多様な装着方法に対応することができる。   Further, by changing the opening width of the insertion portion on the case partially, and adjusting the width of the connection terminal passing through the insertion portion to a predetermined position of the opening width, the contact position and posture of the connection terminal on the case are determined. be able to. In addition, by cutting out a part of the end surface of the terminal storage part provided in the case to the same height as the bottom part of the insertion part, it is possible to increase the degree of freedom of the shape of the connection terminal and cope with various mounting methods. it can.

またそれぞれの端子収納部を少なくとも2種類の端子形状に対応させることにより、接続端子の組合せを変えることで1種類のケースを複数の取付方法に対応させることができる。そのため取付方法ごとにケースの種類を増やす必要がなくなるので、部品の汎用性が広がり製造コストを低減させることができる。   Moreover, by making each terminal accommodating part correspond to at least two types of terminal shapes, one type of case can be made compatible with a plurality of attachment methods by changing the combination of connection terminals. For this reason, it is not necessary to increase the number of types of cases for each mounting method, so that the versatility of parts can be increased and the manufacturing cost can be reduced.

本発明の電動圧縮機用保護装置の第1実施例を示す平面図The top view which shows 1st Example of the protection apparatus for electric compressors of this invention 図1の電動圧縮機用保護装置の正面図Front view of the protective device for the electric compressor of FIG. 図1の電動圧縮機保護装置に使用されるケースに接続端子を装着した状態を示す斜視図。The perspective view which shows the state which attached the connection terminal to the case used for the electric compressor protection apparatus of FIG. 図1の電動圧縮機保護装置に使用されるケースに接続端子を装着した状態を示す正面図。The front view which shows the state which attached the connection terminal to the case used for the electric compressor protection apparatus of FIG. 図1の電動圧縮機保護装置に使用されるケースの平面図。The top view of the case used for the electric compressor protection apparatus of FIG. 本発明の電動圧縮機用保護装置の第2実施例を示す平面図。The top view which shows 2nd Example of the protection apparatus for electric compressors of this invention. 図6の電動圧縮機保護装置に使用されるケースの平面図。The top view of the case used for the electric compressor protection apparatus of FIG. 図6の電動圧縮機保護装置に使用されるケースに接続端子を装着した状態を示す斜視図。The perspective view which shows the state which attached the connection terminal to the case used for the electric compressor protection apparatus of FIG. 図6の電動圧縮機用保護装置のA−A断面図及びB−B断面図。The AA sectional view and BB sectional view of the protection device for electric compressors of FIG. 図6の電動圧縮機用保護装置を対象機器に接続した状態を示す平面図。The top view which shows the state which connected the protection apparatus for electric compressors of FIG. 6 to the object apparatus. 本発明の電動圧縮機用保護装置の第3実施例を示す平面図。The top view which shows 3rd Example of the protection apparatus for electric compressors of this invention. 図11の電動圧縮機用保護装置のC−C断面図及びD−D断面図。CC sectional drawing and DD sectional drawing of the protection apparatus for electric compressors of FIG. 図11の電動圧縮機保護装置に使用されるケースに接続端子を装着した状態を示す斜視図。The perspective view which shows the state which attached the connection terminal to the case used for the electric compressor protection apparatus of FIG. 本発明の電動圧縮機用保護装置の第4実施例を示す平面図。The top view which shows 4th Example of the protection apparatus for electric compressors of this invention. 本発明の電動圧縮機用保護装置の第5実施例を示す平面図。The top view which shows 5th Example of the protection apparatus for electric compressors of this invention. 従来の電動圧縮機保護装置の取付状態を示す平面図。The top view which shows the attachment state of the conventional electric compressor protection apparatus. 図16の電動圧縮機保護装置の取付状態を示す側面図。The side view which shows the attachment state of the electric compressor protection apparatus of FIG.

符号の説明Explanation of symbols

1、21、41、61、71:電動圧縮機保護装置
2:モータプロテクタ
3、23,43、63、73:ケース
3B、23B、43B:端子接続部
3C、23C、43C、63A、63B、73A:端子収納部
3E、23E、43E、63C、63D、73B:挿通部
3G、23G、43G:返り止め
3J、43J:保持部
4、24:リセプタクル端子
4A、24A:装着部
4B、24B:溶接部
4C、24C、44B:連通部
5、25、44:タブ端子
5A、25A:装着部
5B、25B:溶接部
5C、25C、44B、65A:連通部
23F:リセプタクル収納部
23J:当接部
25D:幅広部
1, 21, 41, 61, 71: Electric compressor protection device 2: Motor protector 3, 23, 43, 63, 73: Case 3B, 23B, 43B: Terminal connection part 3C, 23C, 43C, 63A, 63B, 73A : Terminal housing parts 3E, 23E, 43E, 63C, 63D, 73B: Insertion parts 3G, 23G, 43G: Detent 3J, 43J: Holding part 4, 24: Receptacle terminal 4A, 24A: Mounting part 4B, 24B: Welding part 4C, 24C, 44B: Communication portions 5, 25, 44: Tab terminals 5A, 25A: Mounting portions 5B, 25B: Welded portions 5C, 25C, 44B, 65A: Communication portions 23F: Receptacle storage portion 23J: Contact portion 25D: Wide part

Claims (9)

金属製の密閉容器内に接点機構を有するモータプロテクタとこのモータプロテクタを保持する電気絶縁性のケースを有し、
前記ケースには接続端子が装着され、
この接続端子にモータプロテクタの端子を接続固定することによりモータプロテクタがケースに対して所定の姿勢で保持固定される電動圧縮機用保護装置において、
前記ケースはモータプロテクタ収納部と端子接続部、さらに2箇所の端子収納部を有しており、
端子接続部はモータプロテクタ収納部に対して隣接し、
さらに端子収納部は前記端子接続部と隔壁を挟んで隣接しており、
前記接続端子は端子接続部と端子収納部との間を跨いで装着固定されており、
端子収納部には接続端子の先端部が収納され、
端子接続部でモータプロテクタの導電端子が接続端子と接続固定され、
前記2箇所の端子収納部は少なくとも互いに収納される接続端子先端を入れ替え可能にされていることを特徴とする電動圧縮機用保護装置。
A motor protector having a contact mechanism in a metal sealed container and an electrically insulating case for holding the motor protector;
A connection terminal is attached to the case,
In the protective device for an electric compressor in which the motor protector is held and fixed in a predetermined posture with respect to the case by connecting and fixing the terminal of the motor protector to the connection terminal,
The case has a motor protector storage part and a terminal connection part, and further two terminal storage parts,
The terminal connection is adjacent to the motor protector storage,
Furthermore, the terminal storage part is adjacent to the terminal connection part across the partition,
The connection terminal is mounted and fixed across the terminal connection part and the terminal storage part,
The terminal storage part houses the tip of the connection terminal,
At the terminal connection, the motor protector's conductive terminal is connected and fixed to the connection terminal.
The protective device for an electric compressor, wherein the two terminal storage portions are configured so that at least the connection terminal tips stored in each other can be exchanged.
2箇所の端子収納部は実質的に同一形状であることを特徴とする請求項1に記載の電動圧縮機用保護装置。 The protective device for an electric compressor according to claim 1, wherein the two terminal storage portions have substantially the same shape. 2箇所の端子収納部はケースに対して実質的に左右対称に配置されていることを特徴とする請求項2に記載の電動圧縮機用保護装置。 The protective device for an electric compressor according to claim 2, wherein the two terminal storage portions are disposed substantially symmetrically with respect to the case. 2箇所の端子収納部は貫通孔を有し、この貫通孔のどちらの開口部からも接続端子に外部端子を装着可能にされていることを特徴とする請求項1乃至3のいずれか1項に記載の電動圧縮機用保護装置。 The two terminal storage portions have through holes, and the external terminals can be attached to the connection terminals from either opening of the through holes. The protective device for electric compressors as described in 2. 少なくともひとつの接続端子は左右対象形状とされてケースのどちらの端子収納部に収納することもできるようにされたことを特徴とする請求項1乃至4のいずれか1項に記載の電動圧縮機用保護装置。 5. The electric compressor according to claim 1, wherein at least one connection terminal has a right / left target shape and can be accommodated in any terminal accommodating portion of the case. 6. Protection device. ケースの端子収納部と端子接続部の間には所定の開口幅で隔壁を切り欠いた挿通部が設けられており、
この挿通部はその一部の開口幅を変えられており、
接続端子の連通部分の幅を挿通部の任意の位置における開口幅に合わせることによって接続端子が挿通部の所望の位置で当接保持されることを特徴とする請求項1乃至5のいずれか1項に記載の電動圧縮機用保護装置。
Between the terminal storage part and the terminal connection part of the case, there is provided an insertion part in which a partition wall is cut out with a predetermined opening width,
This insertion part has a part of its opening width changed,
The connection terminal is held in contact with a desired position of the insertion portion by matching the width of the communication portion of the connection terminal with the opening width at an arbitrary position of the insertion portion. The protective device for an electric compressor according to Item.
端子収納部の貫通孔は接続端子の先端部分を隔壁で覆ったものであることを特徴とする請求項1乃至6のいずれか1項に記載の電動圧縮機用保護装置。 The protective device for an electric compressor according to any one of claims 1 to 6, wherein the through hole of the terminal housing portion is formed by covering a tip portion of the connection terminal with a partition wall. 端子収納部はその端面の一部を挿通部の底部と同じ高さにまで切り欠かれていることを特徴とする請求項1乃至7のいずれか1項に記載の電動圧縮機用保護装置。 The protective device for an electric compressor according to any one of claims 1 to 7, wherein a part of an end surface of the terminal storage portion is cut out to the same height as a bottom portion of the insertion portion. 金属製の密閉容器内に接点機構を有するモータプロテクタとこのモータプロテクタを保持する電気絶縁性のケースを有し、
前記ケースには接続端子が装着され、
この接続端子にモータプロテクタの端子を接続固定することによりモータプロテクタがケースに対して所定の姿勢で保持固定される電動圧縮機用保護装置において、
前記ケースはモータプロテクタ収納部を1箇所と端子接続部を2箇所、さらに端子収納部を2箇所有しており、
2箇所の端子接続部はモータプロテクタ収納部に対してそれぞれ隣接するとともに端子接続部同士は互いに隔壁によって独立し、
さらに2箇所の端子収納部は実質的に同一形状とされ、
それぞれの端子収納部は前記端子接続部の一方と隔壁を挟んで隣接するとともに端子収納部同士は互いに隔壁によって独立しており、
端子接続部及び端子収納部は各々ケースに対して実質的に左右対称に配置されており、
それぞれの隣接した端子接続部と端子収納部との間には前記接続端子が両者を跨いで装着固定され、
端子接続部でモータプロテクタの導電端子が接続端子と接続固定され、
端子収納部はそれぞれ少なくとも2種類の接続端子形状に対応していることを特徴とする電動圧縮機用保護装置。
A motor protector having a contact mechanism in a metal sealed container and an electrically insulating case for holding the motor protector;
A connection terminal is attached to the case,
In the protective device for an electric compressor in which the motor protector is held and fixed in a predetermined posture with respect to the case by connecting and fixing the terminal of the motor protector to the connection terminal,
The case has one motor protector storage part, two terminal connection parts, and two terminal storage parts,
The two terminal connection portions are adjacent to the motor protector storage portion and the terminal connection portions are independent from each other by a partition wall.
Further, the two terminal storage portions have substantially the same shape,
Each terminal storage part is adjacent to one of the terminal connection parts across the partition wall, and the terminal storage parts are independent from each other by the partition wall,
The terminal connection part and the terminal storage part are respectively arranged substantially symmetrically with respect to the case,
Between each adjacent terminal connection part and the terminal storage part, the connection terminal is mounted and fixed across both,
At the terminal connection, the motor protector's conductive terminal is connected and fixed to the connection terminal.
Each of the terminal storage portions corresponds to at least two types of connection terminal shapes.
JP2004110038A 2004-04-02 2004-04-02 Protection device for electric compressor Expired - Lifetime JP4522132B2 (en)

Priority Applications (2)

Application Number Priority Date Filing Date Title
JP2004110038A JP4522132B2 (en) 2004-04-02 2004-04-02 Protection device for electric compressor
CNB2004100978735A CN100532838C (en) 2004-04-02 2004-11-30 Protection device for electric compressor

Applications Claiming Priority (1)

Application Number Priority Date Filing Date Title
JP2004110038A JP4522132B2 (en) 2004-04-02 2004-04-02 Protection device for electric compressor

Publications (2)

Publication Number Publication Date
JP2005291154A true JP2005291154A (en) 2005-10-20
JP4522132B2 JP4522132B2 (en) 2010-08-11

Family

ID=35049619

Family Applications (1)

Application Number Title Priority Date Filing Date
JP2004110038A Expired - Lifetime JP4522132B2 (en) 2004-04-02 2004-04-02 Protection device for electric compressor

Country Status (2)

Country Link
JP (1) JP4522132B2 (en)
CN (1) CN100532838C (en)

Cited By (4)

* Cited by examiner, † Cited by third party
Publication number Priority date Publication date Assignee Title
CN101938113B (en) * 2009-06-29 2013-06-05 上海电器股份有限公司人民电器厂 Mounting groove structure of display operation module of motor protector
KR101412362B1 (en) 2007-01-26 2014-06-25 센사타 테크놀로지스 매사추세츠, 인크. Motor protector attachment system
JP2018170839A (en) * 2017-03-29 2018-11-01 Ntn株式会社 Electric actuator and manufacturing method for electric actuator
WO2023084736A1 (en) * 2021-11-12 2023-05-19 株式会社生方製作所 Device for attaching motor protector, and encapsulated-type electric compressor

Citations (4)

* Cited by examiner, † Cited by third party
Publication number Priority date Publication date Assignee Title
JPH07241061A (en) * 1994-02-25 1995-09-12 Ubukata Seisakusho:Kk Protector for enclosed motor compressor
JPH10112357A (en) * 1996-10-08 1998-04-28 Sumitomo Wiring Syst Ltd Connector
JP2000180266A (en) * 1998-12-16 2000-06-30 Ubukata Seisakusho:Kk Heat sensitive sensor and hermetic motor-driven compressor fitted therewith
JP2002352893A (en) * 2001-05-25 2002-12-06 Yazaki Corp connector

Family Cites Families (2)

* Cited by examiner, † Cited by third party
Publication number Priority date Publication date Assignee Title
US5515217A (en) * 1993-09-22 1996-05-07 Ubukata Industries Co., Ltd. Thermal protector for hermetic electrically-driven compressors
CN1154212C (en) * 2001-09-18 2004-06-16 钱根良 Electric connector

Patent Citations (4)

* Cited by examiner, † Cited by third party
Publication number Priority date Publication date Assignee Title
JPH07241061A (en) * 1994-02-25 1995-09-12 Ubukata Seisakusho:Kk Protector for enclosed motor compressor
JPH10112357A (en) * 1996-10-08 1998-04-28 Sumitomo Wiring Syst Ltd Connector
JP2000180266A (en) * 1998-12-16 2000-06-30 Ubukata Seisakusho:Kk Heat sensitive sensor and hermetic motor-driven compressor fitted therewith
JP2002352893A (en) * 2001-05-25 2002-12-06 Yazaki Corp connector

Cited By (6)

* Cited by examiner, † Cited by third party
Publication number Priority date Publication date Assignee Title
KR101412362B1 (en) 2007-01-26 2014-06-25 센사타 테크놀로지스 매사추세츠, 인크. Motor protector attachment system
CN101938113B (en) * 2009-06-29 2013-06-05 上海电器股份有限公司人民电器厂 Mounting groove structure of display operation module of motor protector
JP2018170839A (en) * 2017-03-29 2018-11-01 Ntn株式会社 Electric actuator and manufacturing method for electric actuator
JP7146369B2 (en) 2017-03-29 2022-10-04 Ntn株式会社 Electric actuator and method for manufacturing electric actuator
WO2023084736A1 (en) * 2021-11-12 2023-05-19 株式会社生方製作所 Device for attaching motor protector, and encapsulated-type electric compressor
US12170471B2 (en) 2021-11-12 2024-12-17 Ubukata Industries Co., Ltd. Device for attaching motor protector and encapsulated-type electric compressor

Also Published As

Publication number Publication date
JP4522132B2 (en) 2010-08-11
CN1676930A (en) 2005-10-05
CN100532838C (en) 2009-08-26

Similar Documents

Publication Publication Date Title
US5615071A (en) Thermal protector for hermetic electrically-driven compressors
US5515217A (en) Thermal protector for hermetic electrically-driven compressors
US20030076213A1 (en) Fuse
US6726506B2 (en) Fuse holder
JP5941515B2 (en) connector
EP1235245B1 (en) Fuse holder
US6666723B2 (en) Multiple-fuse holder
JP2021045019A (en) Electrical junction box
JP4522132B2 (en) Protection device for electric compressor
CN120188250A (en) Plug-in fuse and method for manufacturing the same
JP4382493B2 (en) Thermally responsive switch
JP4706613B2 (en) Slow blow fuse fuse element, slow blow fuse and electrical junction box
JP2020202042A (en) Movable connector
JP2009110856A (en) Support structure of fusible link unit
JP2020080587A (en) Bus bar assembly structure, electrical connection box, and wire harness
JP4982142B2 (en) Overload relay holding device for electric compressor
JP4011397B2 (en) Internal protector for hermetic electric compressor
JP3916037B2 (en) Sealed electric compressor protector
JP3853779B2 (en) Internal protector for hermetic electric compressor
JPH07241061A (en) Protector for enclosed motor compressor
CN100593890C (en) Fuse cavity structure and electric connection box
US20060205248A1 (en) Voltmeter relay with shaped base which contains slots designed to form seatings for the insertion of &#34;faston&#34; connectors
JP3010141B2 (en) Protector for hermetic electric compressor
JP4207821B2 (en) Electrical junction box
JP6457817B2 (en) Electronic component unit and electrical junction box

Legal Events

Date Code Title Description
A621 Written request for application examination

Free format text: JAPANESE INTERMEDIATE CODE: A621

Effective date: 20070330

A977 Report on retrieval

Free format text: JAPANESE INTERMEDIATE CODE: A971007

Effective date: 20090820

A131 Notification of reasons for refusal

Free format text: JAPANESE INTERMEDIATE CODE: A131

Effective date: 20090915

A521 Request for written amendment filed

Free format text: JAPANESE INTERMEDIATE CODE: A523

Effective date: 20091116

TRDD Decision of grant or rejection written
A01 Written decision to grant a patent or to grant a registration (utility model)

Free format text: JAPANESE INTERMEDIATE CODE: A01

Effective date: 20100427

A01 Written decision to grant a patent or to grant a registration (utility model)

Free format text: JAPANESE INTERMEDIATE CODE: A01

A61 First payment of annual fees (during grant procedure)

Free format text: JAPANESE INTERMEDIATE CODE: A61

Effective date: 20100525

R150 Certificate of patent or registration of utility model

Ref document number: 4522132

Country of ref document: JP

Free format text: JAPANESE INTERMEDIATE CODE: R150

Free format text: JAPANESE INTERMEDIATE CODE: R150

FPAY Renewal fee payment (event date is renewal date of database)

Free format text: PAYMENT UNTIL: 20130604

Year of fee payment: 3

R250 Receipt of annual fees

Free format text: JAPANESE INTERMEDIATE CODE: R250

R250 Receipt of annual fees

Free format text: JAPANESE INTERMEDIATE CODE: R250

R250 Receipt of annual fees

Free format text: JAPANESE INTERMEDIATE CODE: R250

R250 Receipt of annual fees

Free format text: JAPANESE INTERMEDIATE CODE: R250

R250 Receipt of annual fees

Free format text: JAPANESE INTERMEDIATE CODE: R250

R250 Receipt of annual fees

Free format text: JAPANESE INTERMEDIATE CODE: R250

R250 Receipt of annual fees

Free format text: JAPANESE INTERMEDIATE CODE: R250

R250 Receipt of annual fees

Free format text: JAPANESE INTERMEDIATE CODE: R250

R250 Receipt of annual fees

Free format text: JAPANESE INTERMEDIATE CODE: R250

R250 Receipt of annual fees

Free format text: JAPANESE INTERMEDIATE CODE: R250

R250 Receipt of annual fees

Free format text: JAPANESE INTERMEDIATE CODE: R250

EXPY Cancellation because of completion of term