JP2005204258A - 撮像装置 - Google Patents
撮像装置 Download PDFInfo
- Publication number
- JP2005204258A JP2005204258A JP2004011011A JP2004011011A JP2005204258A JP 2005204258 A JP2005204258 A JP 2005204258A JP 2004011011 A JP2004011011 A JP 2004011011A JP 2004011011 A JP2004011011 A JP 2004011011A JP 2005204258 A JP2005204258 A JP 2005204258A
- Authority
- JP
- Japan
- Prior art keywords
- shooting
- image
- print setting
- photographing
- Prior art date
- Legal status (The legal status is an assumption and is not a legal conclusion. Google has not performed a legal analysis and makes no representation as to the accuracy of the status listed.)
- Pending
Links
- 238000003384 imaging method Methods 0.000 title claims abstract description 27
- 230000004044 response Effects 0.000 claims description 28
- 239000002131 composite material Substances 0.000 claims description 12
- 238000012545 processing Methods 0.000 abstract description 83
- 238000000034 method Methods 0.000 description 103
- 230000008569 process Effects 0.000 description 82
- 230000006870 function Effects 0.000 description 21
- 239000000203 mixture Substances 0.000 description 18
- 239000000872 buffer Substances 0.000 description 16
- 238000003825 pressing Methods 0.000 description 13
- 238000007906 compression Methods 0.000 description 8
- 230000006835 compression Effects 0.000 description 8
- 230000006837 decompression Effects 0.000 description 8
- 238000009432 framing Methods 0.000 description 8
- 238000010586 diagram Methods 0.000 description 7
- 239000004973 liquid crystal related substance Substances 0.000 description 7
- 230000007704 transition Effects 0.000 description 7
- 230000003287 optical effect Effects 0.000 description 5
- 238000012937 correction Methods 0.000 description 4
- 238000001454 recorded image Methods 0.000 description 3
- 239000004065 semiconductor Substances 0.000 description 3
- 238000006243 chemical reaction Methods 0.000 description 2
- 230000002596 correlated effect Effects 0.000 description 2
- 238000013500 data storage Methods 0.000 description 2
- 238000005070 sampling Methods 0.000 description 2
- 108010076504 Protein Sorting Signals Proteins 0.000 description 1
- 230000001276 controlling effect Effects 0.000 description 1
- 230000000875 corresponding effect Effects 0.000 description 1
- 238000013144 data compression Methods 0.000 description 1
- 238000011156 evaluation Methods 0.000 description 1
- 230000008676 import Effects 0.000 description 1
- 230000005764 inhibitory process Effects 0.000 description 1
- 238000003780 insertion Methods 0.000 description 1
- 230000037431 insertion Effects 0.000 description 1
- 230000004048 modification Effects 0.000 description 1
- 238000012986 modification Methods 0.000 description 1
- 230000009467 reduction Effects 0.000 description 1
- 239000012536 storage buffer Substances 0.000 description 1
- 230000002194 synthesizing effect Effects 0.000 description 1
- 230000000007 visual effect Effects 0.000 description 1
Images
Landscapes
- Television Signal Processing For Recording (AREA)
- Studio Devices (AREA)
Abstract
【課題】 連続的に撮影動作が繰り返し行われる場合においても、撮影タイミングに影響を与えることなく、プリント注文ファイルを良好に自動作成できるようにすること。
【解決手段】 デジタルカメラ1は、撮影制御部53とプリント設定処理部55とを備える。撮影制御部53は撮影指示に応答して撮影動作を制御し、プリント設定処理部55はその撮影動作に連動して、メモリカード90に記録される画像に対してプリント設定を自動的に行い、メモリカード90にプリント注文ファイルを記録する。プリント設定処理部55は、撮影制御部53によって連続的に撮影動作が繰り返し行われる場合には、連続的な複数回の撮影動作が終了した後に、複数回の撮影動作によって取得された画像に対するプリント設定を行うように構成される。また、プリント設定処理部55は、複数回の撮影動作によって得られる複数の画像ごとにプリント設定を行うように構成される。
【選択図】図3
【解決手段】 デジタルカメラ1は、撮影制御部53とプリント設定処理部55とを備える。撮影制御部53は撮影指示に応答して撮影動作を制御し、プリント設定処理部55はその撮影動作に連動して、メモリカード90に記録される画像に対してプリント設定を自動的に行い、メモリカード90にプリント注文ファイルを記録する。プリント設定処理部55は、撮影制御部53によって連続的に撮影動作が繰り返し行われる場合には、連続的な複数回の撮影動作が終了した後に、複数回の撮影動作によって取得された画像に対するプリント設定を行うように構成される。また、プリント設定処理部55は、複数回の撮影動作によって得られる複数の画像ごとにプリント設定を行うように構成される。
【選択図】図3
Description
本発明は、デジタルカメラ等の撮像装置に関し、特に撮影によって得られる画像をメモリカード等の記録媒体に記録するように構成される撮像装置に関する。
従来、デジタルカメラにおいて、撮影した画像を自動印刷するために、DPOF(Digital Print Order Format)ファイル等とよばれるようなプリント注文ファイルを記録媒体に記録する技術が存在する(例えば、特許文献1)。
特許文献1のデジタルカメラでは、1コマごとの煩雑なプリント設定操作を解消するために、ユーザがプリント指定することを予めわかっている場合には、1コマの画像撮影が行われると、それに連動して、画像を自動的にプリント注文ファイルに追記することができるようになっている。
上記特許文献1のデジタルカメラでは、1コマの画像撮影が行われる都度、記録媒体に記録されたプリント注文ファイルを更新していくため、連写撮影やブラケット撮影等のように、一定時間間隔で連続的に撮影動作を繰り返すことが必要な場合に問題が発生する。すなわち、1コマの撮影動作を行うたびにプリント注文ファイルを更新していたのでは、ファイルの更新処理が負担になって、一定時間ごとに撮影動作を繰り返すことができなくなるという問題が発生する。そのため、従来のデジタルカメラでは、連写撮影やブラケット撮影等の連続撮影を行う場合であっても、ユーザが所望するタイミングで撮影動作を繰り返すことができない可能性があった。その結果、自動作成されたプリント注文ファイルに基づいて画像のプリントを行ったとしても、ユーザの所望するプリント画像を得ることができない場合が生じていた。
本発明は、上記課題を解決するためになされたものであり、連続的に撮影動作を繰り返す場合においても、1コマごとの煩雑なプリント設定操作を解消し、かつ、撮影タイミングに影響を与えることなく良好にプリント注文ファイルを作成することのできる撮像装置を提供することを、その目的とするものである。
本発明にかかる撮像装置は、撮影によって得られる画像を記録媒体に記録するように構成されており、撮影指示に応答して撮影動作を制御する制御手段と、撮影動作に連動して、前記記録媒体に記録される画像に対してプリント設定を行い、前記記録媒体にプリント注文ファイルを記録するプリント設定手段と、を備え、前記プリント設定手段が、前記制御手段によって連続的に撮影動作が繰り返し行われる場合には、連続的な複数回の撮影動作が終了した後に、複数回の撮影動作によって取得された画像に対するプリント設定を行うことを特徴とするものである。
この撮像装置は、連続的な複数回の撮影動作が終了した後に、複数回の撮影動作によって得られた複数の画像を表示する表示手段、をさらに備え、前記プリント設定手段は、前記表示手段に表示される複数の画像のうちから、前記記録媒体に記録する画像が決定されたことに応答して、記録が指定された画像についてのプリント設定を有効にし、前記記録媒体に前記プリント注文ファイルの記録を行うように構成されることが好ましい。
また、前記制御手段は、連続的に撮影動作を繰り返し行う際、撮影条件を変化させつつ撮影動作を繰り返し行うように制御することが好ましい。
また、上記の撮像装置は、前記制御手段によって連続的に撮影動作が繰り返し行われる場合に、複数回の撮影動作によって取得される複数の画像を合成することによって合成画像を生成する合成手段、をさらに備え、前記プリント設定手段が、前記合成画像に対するプリント設定を行うように構成されることが好ましい。
さらに、本発明にかかる撮像装置は、撮影によって得られる画像を記録媒体に記録するように構成されており、撮影指示に応答して撮影動作を制御する制御手段と、撮影動作に連動して、前記記録媒体に記録される画像に対してプリント設定を行い、前記記録媒体にプリント注文ファイルを記録するプリント設定手段と、を備え、前記プリント設定手段が、前記制御手段によって連続的に繰り返し撮影動作が行われる場合には、複数回の撮影動作によって得られる複数の画像ごとにプリント設定を行っていくことを特徴とするものである。
この撮像装置において、前記プリント設定手段は、連続的な撮影動作の繰り返しの途中で撮影待機状態が発生した場合、前記撮影待機状態が発生するまでに取得された複数の画像に対してプリント設定を行うことが、好ましい。
本発明にかかる撮像装置によれば、連続的に撮影動作が繰り返し行われる場合においても、1コマごとにプリント設定操作を行わなければならないという煩雑さ解消し、かつ、撮影タイミングに影響を与えることなく、良好にプリント注文ファイルを自動作成することができる。
以下、本発明の実施の形態について図面を参照しつつ詳細に説明する。
<構成概要>
図1および図2は、本発明の実施形態に係るデジタルカメラ1の外観構成を示す図である。図1は正面側からみた概略斜視図であり、図2は背面側からみた概略斜視図である。図1および図2に示すように、デジタルカメラ1は、薄型の略直方体形状を有している。
図1および図2は、本発明の実施形態に係るデジタルカメラ1の外観構成を示す図である。図1は正面側からみた概略斜視図であり、図2は背面側からみた概略斜視図である。図1および図2に示すように、デジタルカメラ1は、薄型の略直方体形状を有している。
図1に示すように、デジタルカメラ1は、その正面側に撮影レンズ2と光学ファインダ4とフラッシュ6とを備えている。撮影レンズ2は前方の被写体からの光を取り込むための光学系であり、光学ファインダ4は撮影操作時にフレーミングの状態を確認するための覗き窓である。フラッシュ6は撮影時に被写体を照明するための光源である。また、デジタルカメラ1は、その上面側に電源ボタン3とシャッタボタン(レリーズボタン)9とを備えている。電源ボタン3は、電源のオン操作およびオフ操作を受け付けるために用いられる。具体的には、電源ボタン3を押下するごとにオン状態への移行とオフ状態への移行とが交互に繰り返される。シャッタボタン9はユーザ(操作者)による半押し状態(以下、S1状態とも称する)と全押し状態(以下、S2状態とも称する)とを区別して検出可能な2段階押し込みスイッチとなっている。半押し状態S1のときには、デジタルカメラ1において被写体像を合焦状態に導くための自動合焦制御が開始され、全押し状態S2のときには、記録用画像を撮影するための本撮影動作が開始される。
また、図1に示すように、デジタルカメラ1は、その側面に開閉可能な蓋14が設けられており、蓋14を開いた状態とすることにより、半導体メモリ等の記憶素子を内蔵したメモリカード90をデジタルカメラ1に装着することができるようになっている。つまり、メモリカード90はデジタルカメラ1に着脱自在な記録媒体である。デジタルカメラ1は、メモリカード90が装着されている状態で撮影動作を行うと、それによって得られる記録用の画像をメモリカード90に格納する。なお、記録媒体は、メモリカードに限定されるものではなく、磁気ディスクカード等であっても構わない。
次に、図2に示すように、デジタルカメラ1は、その背面側に、撮影前の被写体像を表示するためのプレビュー表示(ライブビュー表示とも称する)、及び撮影動作によって得られる記録画像の再生表示等を行う液晶表示部(以下、LCDという。)5を備えている。このLCD5は、所定数(例えば320×240)の表示画素を有しており、カラー画像を表示することができる。
デジタルカメラ1は、電源がオンされた後や、記録用の画像を取得するための本撮影動作が完了した後、撮影モードにおいて例えば1/30秒ごとに低解像度での撮影動作を繰り返し行い、それによって逐次得られる画像をライブビュー表示としてLCD5に動画的態様で表示する。これにより、ユーザは、LCD5におけるライブビュー表示によって撮影画像における被写体の位置および大きさ等を知覚し、フレーミング操作を行うことができる。なお、LCD5を用いることなく光学ファインダ4のみを用いてフレーミング操作を行うことも可能である。
また、デジタルカメラ1の背面側には、各種の操作を行うための操作部材として、ボタン群7,8と切替ボタン11とプリントボタン13とが設けられている。
ボタン群7は十字カーソルボタン7a〜7e(以下では、7aを上ボタン、7bを下ボタン、7cを左ボタン、7dを右ボタン、および7eを中央(実行)ボタンとも称する)で構成されており、例えばLCD5に表示されるメニュー画面等に対して選択操作や決定操作等を行う場合に用いられる。
ボタン群8はメニューボタン8aと液晶モニタボタン8bとフラッシュモードボタン8cとを有している。
メニューボタン8aは、LCD5へのメニューの表示および非表示を切り替える機能を有している。例えば、各動作モードの初期画面においてメニューボタン8aが押下されるごとに、メニュー画面と非メニュー画面(ライブビューあるいは再生画像等の表示画面)とが交互にLCD5に表示される。また、LCD5に表示されたメニュー画面における表示カーソルは、十字カーソルボタン7a〜7dを用いて4方向に移動させることができる。さらに、所望の選択肢が選択された状態で実行(中央)ボタン7eを押下することによって、その選択肢に対応する設定動作等が実行される。このような操作によって、各種撮影パラメータの設定等を行うことが可能である。
液晶モニタボタン8bは、液晶モニタであるLCD5の表示・非表示を切り替えるためのボタンである。液晶モニタボタン8bが押下されるごとに、LCD5に画像等が表示された状態(表示状態)と表示されない状態(非表示状態)とが交互に切り替わるようになっている。非表示状態にしておけば消費電力を低減できる。
フラッシュモードボタン8cは、フラッシュ6のモードを決定するためのボタンである。フラッシュモードボタン8cが押下されるごとに、自動発光、強制発光、発光禁止の順序でフラッシュモードが切り替わる。
切替ボタン11は、デジタルカメラ1の動作モード等を切り替えるための操作部材である。ユーザは、切替ボタン11を押下することにより、デジタルカメラ1の動作モードを撮影モードに設定したり、再生モードに設定することができる。撮影モードとは、写真撮影を行うモードであり、記録用の画像を取得してメモリカード90に記録する動作を行う。再生モードとは、メモリカード90に記録された撮影画像をLCD5に再生表示するモードである。本実施形態のデジタルカメラ1では、電源ボタン3の押下による電源オン時には撮影モードに設定されている。
プリントボタン13は、デジタルカメラの動作モードをプリントモードに移行させるためのボタンである。プリントモードでは、ユーザがデジタルカメラ1に対する手動操作を行うことによって、既にメモリカード90に記録された撮影画像に対してプリント設定を行うことができるようになる。ただし、デジタルカメラ1は、プリントモード時での手動操作によるプリント設定の他、撮影動作に連動して自動的にプリント設定を行うことができるようになっている。この場合、デジタルカメラ1には、記録用の画像を撮影するための撮影動作に連動して、その撮影動作によって取得される画像に対して自動的にプリント設定を行うことが予め設定されることになる。
次に、図3を参照しつつ、デジタルカメラ1の内部構成について説明する。図3は、デジタルカメラ1の内部機能を示すブロック図である。
デジタルカメラ1は、撮影モード時において、例えばシャッタボタン9が押下されたことによる撮影指示に応答して、記録用の画像を撮影するための撮影動作を行うように構成されている。このような撮影動作は、撮影レンズ2を介して入射する被写体像をCCD(撮像素子)20において光電変換が行われることによって実現される。
CCD(撮像素子)20は、被写体像を撮影して電子的な画像信号を生成する撮像手段として機能するものであり、例えば1600×1200個の画素を有し、撮影レンズ2によって結像された被写体の光像を、画素毎にR(赤),G(緑),B(青)の色成分の画像信号(各画素で受光された画素信号の信号列からなる信号)に変換して出力する。
CCD20から得られる画像信号はアナログ信号処理回路21に与えられ、アナログ信号処理回路21において画像信号(アナログ信号)に対して所定のアナログ信号処理が施される。アナログ信号処理回路21は相関二重サンプリング回路(CDS)とオートゲインコントロール回路(AGC)とを有しており、相関二重サンプリング回路により画像信号のノイズ低減処理を行い、オートゲインコントロール回路でゲインを調整することにより画像信号のレベル調整を行う。
A/D変換器22は、画像信号の各画素信号を12ビットのデジタル信号に変換するものである。変換後のデジタル信号は、画像データとして一時的にRAM50a内のバッファメモリ54に格納される。そして、バッファメモリ54に保存された画像データに対して、画像処理部51による、WB(ホワイトバランス)処理、γ補正処理、および色補正処理等が施された後、圧縮/伸張部52による圧縮処理等が施される。なお、RAM50aのバッファメモリ54には、連写撮影に対応すべく複数の画像データを記憶することができるようになっている。
操作部30は、上述した電源ボタン3、ボタン群7、8、シャッタボタン9、切替ボタン11等を含む操作部であり、ユーザがデジタルカメラ1の設定状態を変更操作する際や撮影操作を行う際等に用いられる。
全体制御部50は、内部にRAM50a及びROM50bを備えたマイクロコンピュータによって構成され、マイクロコンピュータが所定のプログラムを実行することにより、上記各部を統括的に制御する。なお、RAM50aは、高速アクセス可能な半導体メモリ(たとえばDRAM)であり、ROM50bは電気的にデータの書き換えが可能な不揮発性の半導体メモリ(たとえばフラッシュROM)として構成される。また、RAM50a内における一部の領域は、一時記憶用のバッファエリアとして機能する。ここでは、このバッファエリアをバッファメモリ54と称するものとする。バッファメモリ54は、画像データ等を一時的に記憶する。
全体制御部50は、画像処理部51、圧縮/伸張部52、撮影制御部53およびプリント設定処理部55として機能する。これらの各処理部51,52,53,55は、マイクロコンピュータが所定のプログラムを実行することにより実現される機能部である。
画像処理部51は、WB処理、γ補正処理等の各種のデジタル画像処理を施す処理部である。WB処理は、R,G,Bの各色成分のレベル変換を行い、カラーバランスを調整する処理であり、γ補正処理は、画素データの階調を補正する処理である。また、画像処理部51は、後述する画像合成処理を実行する処理部である。
圧縮/伸張部52は、画像データの圧縮処理および伸張処理を行う処理部である。たとえば、記録用画像をメモリカード90に記録する際には圧縮処理が実行され、メモリカード90に記録されている画像を再生表示する際には伸張処理が実行される。圧縮方式としては、例えばJPEG方式などが採用される。
撮影制御部53は、撮影モード時において、CCD20、アナログ信号処理回路21およびA/D変換器22を制御することにより、デジタルカメラ1における撮影動作を制御するものである。撮影モード時においては、撮影指示に応答して実行される撮影動作として、1コマ撮影動作と連続撮影動作がある。1コマ撮影動作は、撮影指示に応答して1回の撮影動作を行い、1コマ(1フレーム)の撮影画像を取得するための撮影動作である。連続撮影動作は、撮影指示に応答して連続的に撮影動作を複数回繰り返し行い、複数コマの撮影画像を取得するための撮影動作である。このため、撮影制御部53は、1コマ撮影が設定されている場合には、撮影指示に応答して1回の撮影動作を行うように各部を制御する一方、連続撮影動作が設定されている場合には、撮影指示に応答して複数回の撮影動作を繰り返し行うように各部を制御する。また、連続撮影動作には、連写撮影と、ブラケット撮影とがあり、撮影制御部53は連写撮影及びブラケット撮影のうちから選択された連続撮影動作を実現するように各部を制御する。なお、連写撮影とは、シャッタスピード等の撮影条件を固定したままで、一定時間ごとに撮影動作を繰り返す撮影動作であり、ブラケット撮影とは、撮影条件を変化させつつ一定時間ごとに撮影動作を繰り返すことにより、異なる撮影条件で撮影された複数の画像を取得するための撮影動作である。また、撮影指示が連続的に与えられることによって1コマ撮影動作が繰り返され、その結果、デジタルカメラ1において連続撮影動作が行われることもある。
図4は、撮影モード時におけるデジタルカメラ1の状態遷移の一例を示す図である。デジタルカメラ1の電源がオンになると、1コマ撮影モードGN1に移行する。1コマ撮影モードGN1は、撮影指示に応答して1コマの画像を撮影するモードであり、撮影動作に連動して生成される1コマの記録用画像は自動的にメモリカード90に記録される。そして、1コマ撮影モードGN1のときに、ユーザがメニューボタン8aを押下すると、LCD5に対して、撮影動作に関する各種設定を行うための撮影メニュー表示GN2が表示される状態に移行する。撮影メニュー表示GN2においては、ブラケット撮影や、複数の画像を撮影した後にそれら複数の画像の合成処理を行う画像合成処理を選択することができるようになっている。また、撮影メニュー表示GN2では、撮影動作によって取得される画像に対して自動的にプリント設定を行うための自動プリント設定機能をオン/オフすることもできるようになっている。
そして撮影メニュー表示GN2において、ユーザがブラケット撮影を選択し、決定操作を行うと、デジタルカメラ1はブラケット撮影モードGN3に移行する。ブラケット撮影モードGN3では、ユーザがシャッタボタン9の全押し操作を行って撮影指示を与えると、その撮影指示に応答して、例えばシャッタスピードを変化させつつ一定時間ごとに撮影動作が複数回繰り返され、異なる撮影条件で撮影された複数の画像が取得される。このブラケット撮影モードGN3において、ユーザがメニューボタン8aを押下すれば、再び撮影メニュー表示GN2に移行する。そしてブラケット撮影の選択状態を解除して決定操作を行えば1コマ撮影モードGN1に戻る。また、自動プリント設定機能をオンにして決定操作を行えば、ブラケット撮影モードGN3に戻って、ブラケット撮影の後、自動的にプリント設定を行う処理が実行されるようになる。
また撮影メニュー表示GN2において、ユーザが画像合成処理を選択し、決定操作を行うと、デジタルカメラ1は1コマ撮影モードの画像合成処理モードGN4に移行する。画像合成処理モードGN4では、ユーザがシャッタボタン9の全押し操作を複数回行って複数の撮影画像を取得する。例えば2フレーム分の画像合成が設定されている場合には、2回の撮影操作が行われ、デジタルカメラ1のRAM50aに2フレーム分の撮影画像が格納される。そして所定回数の撮影終了後、自動的に画像処理部51が機能し、RAM50aに格納された2フレーム分の撮影画像を所定の合成条件に基づいて合成することにより、1フレームの記録用画像を生成する。このような処理が行われることにより、例えば視野範囲を水平方向に移動させた2フレームの画像からパノラマ画像を生成するなどの合成画像を生成することができ、その合成画像をメモリカード90に記録することができる。
このような画像合成処理モードGN4において、ユーザがメニューボタン8aを押下すれば、再び撮影メニュー表示GN2に移行する。そして画像合成処理の選択状態を解除して決定操作を行えば1コマ撮影モードGN1に戻る。また、自動プリント設定機能をオンにして決定操作を行えば、画像合成処理モードGN4に戻って、画像合成処理を行った後、生成された合成画像に対して自動的にプリント設定を行う処理が実行されるようになる。
デジタルカメラ1は、1コマ撮影モードGN1、ブラケット撮影モードGN3及び画像合成処理モードGN4のいずれの状態にあるときでも、ユーザが切替ボタン11を押下すると、それに応答して連写撮影モードGN5に移行する。連写撮影モードGN5では、ユーザがシャッタボタン9の全押し操作を行って撮影指示を与えると、その撮影指示に応答して撮影動作を開始し、シャッタボタン9が全押しされている間は、予め設定された時間間隔で撮影動作が複数回繰り返し行われ、異なるタイミングで撮影された複数の画像が取得される。
連写撮影モードGN5において、ユーザがメニューボタン8aを押下すれば、撮影メニュー表示GN6に移行する。撮影メニュー表示GN6では、撮影動作によって取得される複数の画像に対して自動的にプリント設定を行うための自動プリント設定機能をオン/オフすることができるようになっている。撮影メニュー表示GN6において、ユーザが自動プリント設定機能をオンにし、決定操作を行うと、連写撮影モードGN5に戻り、連写撮影によって得られる複数の画像に対して自動的にプリント設定が行われるようになる。
なお、連写撮影モードGN5において、ユーザが切替ボタン11を押下すると、デジタルカメラ1の動作モードは撮影モードから再生モードに移行する。その再生モードにおいて、さらに切替ボタン11が押下されると、電源オン時と同様に、1コマ撮影モードGN1に戻ってくる。
図3に戻り、プリント設定処理部55は、メモリカード90に記録される画像に対してプリント設定を行い、メモリカード90にプリント注文ファイルを書き込んだり、又はプリント注文ファイルを更新するための処理部である。例えば、プリントモード時において、ユーザが手動操作でメモリカード90に記録された画像に対してプリント設定を指示する場合、プリント設定処理部55はユーザからの入力指示に基づいてプリント設定処理を実行し、メモリカード90にプリント注文ファイルを書き込む。また、撮影モード時において自動プリント設定機能がオンにされている場合、プリント設定処理部55は、撮影制御部53による撮影動作に連動して機能し、RAM50aに格納された撮影画像がメモリカード90に記録されることに連動して、メモリカード90に記録された記録画像(撮影画像)に対するプリント設定を自動的に実行し、メモリカード90にプリント注文ファイルを書き込む。なお、プリント注文ファイルとは、いわゆるDPOFファイル等と同様のファイルであり、メモリカード90に記録された個々の画像に対するプリント設定情報を格納するファイルである。
図5は、メモリカード90におけるデータ格納状態の一例を示す図である。メモリカード90には、撮影画像フォルダFaと、プリント注文ファイル用のフォルダFbとが作成される。撮影画像フォルダFaには、撮影動作によって取得される複数の画像ファイルGfが格納され、撮影画像フォルダFaと異なるフォルダFbには、プリント注文ファイルPfが格納される。プリント注文ファイルPfは、例えば図6に示すように、一般情報Df1、ユーザー情報Df2、プリントジョブ情報Df3、画像ソース情報Df4、各種設定情報Df5およびベンダー情報Df6で構成されている。ここで、ベンダー情報Df6とは、デジタルカメラを製造するメーカー各社で独自に定義される情報である。このようなプリント注文ファイルPfをメモリカード90に記録しておくことにより、メモリカード90に記録された画像のプリント処理を行うときには、プリント注文ファイルPfの内容を分析することにより、メモリカード90に記録された任意の画像の自動プリントを行うことが可能になる。
以上のような全体制御部50によって、デジタルカメラ1が撮影モード、再生モードおよびプリントモードの各動作モードにあるときの内部処理が実現される。
例えば、撮影モードにおいて、ライブビュー表示が行われるときには、比較的簡易な撮影動作として、CCD20の解像度が低解像度に設定され、ライブビュー表示のための撮影動作が繰り返される。そしてシャッタボタン9が半押し(S1状態)されると、CCD20から出力される画像データに基づき自動合焦制御(AF)のためのAF評価値を求め、周知の山登り方式によって合焦位置に撮影レンズを移動させる。また、CCD20で読みとった被写体の輝度情報に基づいて、本撮影動作時のシャッタスピード(SS)と絞りの値を求め、自動露出制御(AE)を行うとともに、ホワイトバランスを調整するためのゲイン設定値を決定してオートホワイトバランス制御(AWB)を行う。
その後、シャッタボタンが全押し(S2状態)されると、全体制御部50は、CCD20の解像度を高解像度に設定した後に記録用画像を取得するための撮影動作を行い、CCD20で取得された撮影画像データに基づき圧縮/伸張部52で圧縮画像を生成する。そして、圧縮された高解像度の画像データは、メモリカード90に記録されることとなる。
また、切替ボタン11の押下によって撮影モードから再生モードに移行すると、全体制御部50は、メモリカード90内で最も大きなコマ番号の画像、つまり直近に撮影された画像のデータを読み出して、圧縮/伸張部52でデータ伸張を行い、LCD5に画像表示を行う。この再生モードでは、左ボタン7c・右ボタン7dの押下によりコマの送り・戻しが可能である。
つぎにカードインタフェース(カードI/F)60は、デジタルカメラ1側面の挿入装着部に対して装着されるメモリカード90への画像データの書込み及び読出しを行うためのインタフェースである。全体制御部50がメモリカード90に対する画像データの読み書きを行う時には、圧縮/伸張部52において例えばJPEG方式で画像データの圧縮処理又は伸張処理が行われ、カードインタフェース60を介して画像データがバッファメモリ54とメモリカード90との間で送受信される。
デジタルカメラ1は、カードインタフェース60を用いて、画像データを送受信するだけでなく、デジタルカメラ1で動作するプログラムを取り込むことも可能である。たとえば、メモリカード90に記録される制御プログラムを、全体制御部50のRAM50a又はROM50b内に取り込むことができる。これにより、全体制御部50で実行される制御プログラムを更新することなどが可能である。
<自動プリント設定>
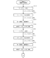
次に、撮影動作に連動した自動プリント設定について説明する。図7乃至図14は撮影動作に連動して自動プリント設定を行うための処理手順を示すフローチャートであり、特に図7は図4の1コマ撮影モードGN1における処理手順を示すフローチャートであり、図8はプリント注文ファイル作成処理の処理手順を示すフローチャートである。また、図9及び図10は、図4のブラケット撮影モードGN3における処理手順を示すフローチャートであり、図11及び図12は画像合成処理モードGN4における処理手順を示すフローチャートであり、図13及び図14は連写撮影モードGN5における処理手順を示すフローチャートである。なお、いずれのモードにおいても、撮影メニュー表示GN2又はGN6で予め自動プリント設定機能がオンに設定されているものとする。
次に、撮影動作に連動した自動プリント設定について説明する。図7乃至図14は撮影動作に連動して自動プリント設定を行うための処理手順を示すフローチャートであり、特に図7は図4の1コマ撮影モードGN1における処理手順を示すフローチャートであり、図8はプリント注文ファイル作成処理の処理手順を示すフローチャートである。また、図9及び図10は、図4のブラケット撮影モードGN3における処理手順を示すフローチャートであり、図11及び図12は画像合成処理モードGN4における処理手順を示すフローチャートであり、図13及び図14は連写撮影モードGN5における処理手順を示すフローチャートである。なお、いずれのモードにおいても、撮影メニュー表示GN2又はGN6で予め自動プリント設定機能がオンに設定されているものとする。
まず、1コマ撮影モードGN1の場合について説明する。図7に示すように、1コマ撮影モードGN1に移行すると、LCD5にライブビュー表示が行われる(ステップS100)。ユーザは、この状態でフレーミングを行い、所望のタイミングでシャッタボタン9を半押し操作する。デジタルカメラ1では、シャッタボタン9が半押し状態とされたことに応答して、全体制御部50がAF、AE、AWBの各処理を実行し、ユーザがシャッタボタン9の全押し操作を行うのを待機する(ステップS102)。そしてシャッタボタン9が全押し状態にされると、CCD20の露光を開始して、記録用画像を取得するための撮影動作を行う(ステップS104)。撮影動作によって取得された画像データはRAM50aに格納され(ステップS106)、メモリカード90への記録処理が行われる(ステップS108)。そして記録処理に連動して記録された画像に対するプリント設定が自動的に行われ(ステップS110)、プリント注文ファイル作成処理が実行される(ステップS112)。
プリント注文ファイル作成処理では、図8に示すように、メモリカード90に既にプリント注文ファイルPfが記録されているか否かが判断され(ステップS121)、記録されている場合には、あらたにメモリカード90に記録された画像に対するプリント設定を追記することによりプリント注文ファイルPfを更新する処理が行われる(ステップS122)。一方、メモリカード90に未だプリント注文ファイルPfが記録されていない場合には、メモリカード90に記録された画像に対してプリント設定を自動的に行い、そのプリント設定を記述したプリント注文ファイルPfを新規に作成してメモリカード90に記録する処理が行われる(ステップS123)。
なお、図7のプリント注文ファイル作成処理(ステップS112)が終了した後は、再びステップS100に戻り、次の撮影に備えるためのライブビュー表示が再開される。
以上のような処理により、1コマ撮影モードGN1では、撮影指示に応答した撮影動作によって、1コマの撮影画像が取得されてメモリカード90に記録されるとともに、その1コマの画像に対するプリント設定が自動的に行われてプリント注文ファイルPfがメモリカード90に記録される。したがって、ユーザは撮影操作を行った後に、デジタルカメラ1をプリントモードに移行させて画像ごとに煩雑なプリント設定操作を行う必要がなく、操作性が向上する。
次に、ブラケット撮影モードGN3の場合について説明する。図9に示すように、ブラケット撮影モードGN3に移行すると、LCD5にライブビュー表示が行われる(ステップS200)。ユーザは、この状態でフレーミングを行い、所望のタイミングでシャッタボタン9を半押し操作する。デジタルカメラ1では、シャッタボタン9が半押し状態とされたことに応答して、全体制御部50がAF、AE、AWBの各処理を実行する(ステップS202)。このステップS202の処理では、AE処理によって、適正露出を実現するためのシャッタスピードSSが求められる。
そしてシャッタボタン9が全押し状態にされると、第1の撮影条件として例えばシャッタスピードSSを適正値から1段階ダウンさせ(ステップS204)、CCD20の露光を開始して、1回目の撮影動作を行う(ステップS206)。このとき取得される画像データはRAM50aに格納される(ステップS208)。
続いて、第2の撮影条件としてシャッタスピードSSを適正値に設定し(ステップS210)、CCD20の露光を開始して、2回目の撮影動作を行う(ステップS212)。このとき取得される画像データもRAM50aに格納される(ステップS214)。
さらに続いて、第3の撮影条件としてシャッタスピードSSを適正値よりも1段階アップさせ(ステップS216)、CCD20の露光を開始して、3回目の撮影動作を行う(ステップS218)。このとき取得される画像データもRAM50aに格納される(ステップS220)。
このようにブラケット撮影では、撮影指示に応答して撮影条件を変更させつつ、複数回の撮影動作が連続的に繰り返される。なお、図9では、シャッタスピードSSを変化させつつ、3回の撮影動作を行う場合を例示したが、シャッタスピード以外の撮影条件を変化させるようにしてもよいし、撮影回数を4回以上に設定してもよい。
予め定められた撮影回数分の撮影動作が終了すると、図10のフローチャートに進み、LCD5に対してアフタービュー表示が行われる(ステップS222)。図15はブラケット撮影モードにおけるアフタービュー表示の一例を示す図である。図15に示すように、アフタービュー表示では、LCD5に対して、RAM50aに格納された3コマの撮影画像が表示される。一般にブラケット撮影は、撮影条件を変化させつつ複数回の撮影を行い、撮影条件の異なる複数の画像のうちから、メモリカード90に記録する画像を撮影後に選択するという撮影手法である。そのため、ステップS222のアフタービュー表示では、記録すべき画像の選択操作が行われることになる。具体的には、ボタン群7を操作することによって選択画像を示す太枠表示を任意の画像に移動させ、記録すべき画像に太枠が付されている状態で、選択機能が割り当てられた液晶モニタボタン8bを押下することで選択操作が行われる。
アフタービュー表示で選択操作が行われると、全体制御部50は記録しない画像をRAM50aから削除する(ステップS224)。そして選択された記録すべき画像をメモリカード90に記録するための処理を行う(ステップS226)。その後、全体制御部50ではプリント設定処理部55が機能し、ステップS226で記録された画像に対して自動的にプリント設定を行い、メモリカード90に対するプリント注文ファイル作成処理を実行する(ステップS228)。なお、ステップS228におけるプリント注文ファイル作成処理の詳細は、図8のフローチャートと同様である。
図10のプリント注文ファイル作成処理(ステップS228)が終了した後は、再び図9のステップS200に戻り、次の撮影に備えるためのライブビュー表示が再開される。
以上のような処理により、ブラケット撮影モードGN3では、撮影指示に応答して、撮影動作が複数回繰り返される。そして全ての撮影動作が終了した後、記録すべき画像が選択されると、その選択画像に対するプリント設定が自動的に行われてプリント注文ファイルPfがメモリカード90に記録される。したがって、ユーザは記録すべき画像の選択を行った後、あらためてプリント設定操作を行う必要がなく、操作性が向上する。また、自動的に行われるプリント設定処理は、全ての撮影動作が終了した後に行われるので、プリント設定処理が撮影動作の進行を妨げることはなく、ブラケット撮影において撮影タイミングが大きくずれることを抑制している。
次に、画像合成処理モードGN4の場合について説明する。なお、以下の画像合成処理モードGN4では、2フレーム分の画像を合成する場合を例示する。
図11に示すように、画像合成処理モードGN4に移行すると、LCD5にライブビュー表示が行われる(ステップS300)。ユーザは、この状態で1回目のフレーミングを行い、所望のタイミングでシャッタボタン9を半押し操作する。デジタルカメラ1では、シャッタボタン9が半押し状態とされたことに応答して、全体制御部50がAF、AE、AWBの各処理を実行し、ユーザがシャッタボタン9の全押し操作を行うのを待機する(ステップS302)。そしてシャッタボタン9が全押し状態にされると、CCD20の露光を開始して、第1の合成対象となる画像を取得するための1回目の撮影動作を行う(ステップS304)。1回目の撮影動作によって取得された画像データはRAM50aに格納される(ステップS306)。
そして再びLCD5にライブビュー表示が行われる(ステップS308)。ユーザは、この状態で2回目のフレーミングを行い、所望のタイミングでシャッタボタン9を半押し操作する。デジタルカメラ1では、シャッタボタン9が半押し状態とされたことに応答して、全体制御部50がAF、AE、AWBの各処理を実行し、ユーザがシャッタボタン9の全押し操作を行うのを待機する(ステップS310)。そしてシャッタボタン9が全押し状態にされると、第2の合成対象となる画像を取得するための2回目の撮影動作を行う(ステップS312)。2回目の撮影動作によって取得された画像データもまたRAM50aに格納される(ステップS314)。
第1及び第2の撮影動作が終了して、RAM50aに2フレーム分の画像が格納されると、図10のフローチャートに進む。全体制御部50では画像処理部51が機能し、RAM50aに格納された2フレームの画像を合成することにより、パノラマ画像などの合成画像を生成する(ステップS316)。そして生成された合成画像をメモリカード90に記録するための処理を行う(ステップS318)。尚、パノラマ合成処理の操作や処理手順は周知なので、ここでの説明は省略する。
その後、全体制御部50ではプリント設定処理部55が機能し、ステップS318で記録された合成画像に対して自動的にプリント設定を行い(ステップS320)、メモリカード90に対するプリント注文ファイル作成処理を実行する(ステップS322)。なお、ステップS322におけるプリント注文ファイル作成処理の詳細は、図8のフローチャートと同様である。
図12のプリント注文ファイル作成処理(ステップS322)が終了した後は、再び図11のステップS300に戻り、次の撮影に備えるためのライブビュー表示が再開される。
以上のような処理により、画像合成処理モードGN4では、ユーザからの撮影指示が繰り返し与えられ、それぞれの撮影指示に応答して撮影動作が繰り返される。そして全ての撮影動作が終了した後、画像合成処理が行われて、記録すべき合成画像が生成されるようになっている。そして合成画像が生成されると、それに応答して、合成画像に対するプリント設定を自動的に行い、プリント注文ファイルPfをメモリカード90に記録するように実現されている。したがって、ユーザは複数回の撮影指示を行った後に、あらためてプリント設定操作を行う必要がなく、操作性が向上する。また、自動的に行われるプリント設定処理は、全ての撮影動作が終了した後に行われるので、プリント設定処理が撮影動作の妨げることはない。
次に、連写撮影モードGN5の場合について説明する。なお、連写撮影モードでは、撮影終了後、アフタービュー表示により、連写撮影で得られた複数の画像のうちから自動プリント設定を行う画像を選択操作する場合と、アフタービュー表示を行わず、連写撮影で得られた複数の画像の全てに対してプリント設定を行う場合とがあり、以下に説明する図13及び図14のフローチャートでは、アフタービュー設定の有無を判断してそれぞれに適した自動プリント設定が行われる場合を例示している。
図13に示すように、連写撮影モードGN5に移行すると、LCD5にライブビュー表示が行われる(ステップS400)。ユーザは、この状態でフレーミングを行い、所望のタイミングでシャッタボタン9を半押し操作する。デジタルカメラ1では、シャッタボタン9が半押し状態とされたことに応答して、全体制御部50がAF、AE、AWBの各処理を実行し、ユーザがシャッタボタン9の全押し操作を行うのを待機する(ステップS402)。そしてシャッタボタン9が全押し状態にされると、CCD20の露光を開始して、画像を取得するための撮影動作を行う(ステップS404)。この撮影動作によって取得された画像データは一時的にRAM50aに格納される(ステップS406)。
取得された画像データの格納処理を終了すると、全体制御部50はシャッタボタン9が全押しされたままの状態であるか否かを判断し(ステップS408)、全押し状態が継続されていればステップS410に進む。
ステップS410では、連写撮影によって取得される画像データによってRAM50a内のバッファメモリ54の記憶可能な領域が一杯になったか否かが判断される。例えば、バッファメモリ54に1フレーム分の画像を記憶可能な領域が存在するなら「No」と判断され、1フレーム分の画像を記憶するだけの領域が存在しないなら「Yes」と判断される。そしてバッファメモリ54に次の画像を記憶するだけの容量が残されている場合(ステップS410で「No」の場合)には、再びステップS404に戻って、次の撮影動作を行う。すなわち、シャッタボタン9の全押しが継続されており、かつバッファメモリ54の残り記憶容量が十分に存在する場合には、ステップS404,S406,S408,S410の処理が繰り返し実行され、RAM50aに対して順次取得される画像が蓄積されていくことになる。
そしてステップS404,S406,S408,S410の繰り返し処理の継続中に、シャッタボタン9の全押し操作が解除された場合には、ステップS408において「No」と判断され、連写撮影のための連続的な撮影動作の繰り返しが停止され、ステップS418に進む。ステップS418では、それまでの連写撮影によってRAM50aに蓄積された画像をメモリカード90に記録するための記録処理が行われる。
一方、シャッタボタン9の全押し操作が継続され、RAM50aの残り記憶容量が不足することになった場合には、ステップS410において「Yes」と判断され、ステップS412に進んで、それまでの連写撮影によってRAM50aに蓄積された複数の画像をメモリカード90に記録するための記録処理が開始される。そしてシャッタボタン9の全押しが継続されているか否かを判断し(ステップS414)、継続されている場合には、ステップS412で開始した記録処理と並列的に、メモリカード90に記録される画像に対してプリント設定処理を行う(ステップS416)。
ステップS412の記録処理は、連写撮影を継続するために、RAM50aに空き領域を作成するための処理であり、記録処理によってメモリカード90への記録が終了すれば、その画像はRAM50aから消去される。プリント設定処理(ステップS416)は、その記録処理(ステップS412)と並列的に実行されることにより、メモリカード90に記録される画像に対して自動的にプリント設定が行われる。このプリント設定処理は、記録処理(ステップS412)のバックグランドで行われ、記録処理が終了した場合には、それに応答してプリント設定処理も終了する。
そして記録処理(ステップS412)とプリント設定処理(ステップS416)とが終了すると、ステップS410に戻る。この時点ではRAM50aに空きができているので、ステップS410では「No」と判断され、ステップS404に戻って、次の撮影動作が行われる。
このように連写撮影では、シャッタボタン9が全押し操作されている間、撮影動作が繰り返されるため、連続的な撮影動作の繰り返しによってRAM50a内のバッファメモリ54がフルになる可能性があり、RAM50a内のバッファメモリ54がフルになってしまうと、次の撮影画像を格納することができなくなることから、RAM50a内のバッファメモリ54に蓄積された複数の画像について記録処理を行って、RAM50a内のバッファメモリ54に空き領域を作成するように構成されている。そのため、記録処理(ステップS412)は、撮影動作の連続性という観点からみれば、連続的な撮影動作の繰り返しの途中で撮影待機状態を発生させる要因となっている。またプリント設定処理(ステップS416)は、この撮影待機状態において、記録処理と並行して、撮影待機状態が発生するまでにRAM50a内のバッファメモリ54に蓄積された複数の画像にプリント設定を行うようになっている。
そしてシャッタボタン9の全押し状態が解除され、かつ記録処理が終了すると、図14のステップS420に進む。ステップS420では、アフタービュー設定が設定されているか否かが判断される。
アフタービュー設定が行われていない場合には、ステップS426に進み、連写撮影によってメモリカード90に記録された全ての画像に対して自動的にプリント設定を行う。ただし、連写撮影の途中で、プリント設定処理(ステップS416)が実行され、既にプリント設定が行われている画像に対しては、ステップS426でのプリント設定処理を省略してもよい。
一方、アフタービュー設定が行われている場合には、ステップS422に進み、LCD5にアフタービュー表示が行われる。図16は連写撮影モードにおけるアフタービュー表示の一例を示す図である。図16に示すように、アフタービュー表示では、LCD5に対して、連写撮影によって取得された全ての撮影画像が配列して表示される。なお、図16の例では連写撮影によって6コマの撮影画像が取得された場合を例示している。一般に、連写撮影では、似たような画像が複数フレーム取得される一方、ユーザがプリントを希望する画像はそれら複数フレームの画像のうちの1フレームである場合がある。ステップS422のアフタービュー表示は、そのような場合に、ユーザにプリント指定を行わせるための画像表示である。そのため、ステップS422のアフタービュー表示では、プリント設定すべき画像の選択操作が行われることになる。具体的には、ボタン群7を操作することによって選択画像を示す太枠表示を任意の画像に移動させ、記録すべき画像に太枠が付されている状態で、選択機能が割り当てられた液晶モニタボタン8bを押下することで選択操作が行われる。なお、アフタービュー表示によってプリント指定が行われる画像の数は、1フレームに限定されるものではなく、複数フレームの画像であっても構わない。
アフタービュー表示で選択操作が行われると、全体制御部50はメモリカード90に記録された画像のうちから、指定された画像を特定し、その画像に対するプリント設定を行う(ステップS424)。またこのとき、ステップS416のプリント設定処理で既に他の画像に対してプリント設定が行われていた場合には、それらの画像を特定して、既に定義されているプリント設定を無効にする。そしてメモリカード90に対するプリント注文ファイル作成処理を実行する(ステップS428)。なお、ステップS428におけるプリント注文ファイル作成処理の詳細は、図8のフローチャートと同様である。
図14のプリント注文ファイル作成処理(ステップS428)が終了した後は、再び図13のステップS400に戻り、次の連写撮影に備えるためのライブビュー表示が再開される。
以上のような処理により、連写撮影モードGN5では、シャッタボタン9が全押しされている間、撮影動作が連続的に繰り返し実行される。そしてシャッタボタン9の全押し状態が解除されるまでに、RAM50aの残り記憶容量が不足する事態が生じなかった場合には、連続的な撮影動作の全てが終了した後に、連写撮影によって取得された画像に対するプリント設定を行うようになっている。そのため、1コマの撮影動作が行われる都度、プリント注文ファイルPfが更新されることはないので、一定時間ごとに撮影動作を繰り返すことができ、ユーザが所望する連写撮影を実現することができる。また、連写撮影の終了後に、自動的にプリント注文ファイルPfがメモリカード90に記録されるので、撮影後、デジタルカメラ1をプリントモードに移行させてプリント設定を手動操作で行う必要がなく、操作性の高いデジタルカメラ1が実現される。
また、シャッタボタン9の全押し状態が解除されるまでに、RAM50aの残り記憶容量が不足する事態が生じた場合には、その時点までにRAM50aに蓄積された複数の画像をメモリカード90に記録することによって、RAM50aに空き領域を作成し、連写撮影を継続するようになっている。この記録処理は連写撮影時に一時的な撮影待機状態を生じさせることになり、プリント設定はその撮影待機状態で記録処理と並列的に実行され、複数の画像ごとにプリント設定を行うようになっている。つまり、プリント設定処理は、RAM50aに空き領域を作成するための処理時間を利用して、複数の画像ごとに行われるので、連写撮影のための個々の撮影動作に影響を与えるなく、自動的にプリント設定を行うことができるようになっている。
以上のように、本実施形態におけるデジタルカメラ1は、ブラケット撮影モードGN3及び画像合成処理モードGN4のいずれにおいても、撮影指示に応答して、連続的に撮影動作が繰り返し行われるようになっており、連続的な複数回の撮影動作が終了した後に、プリント設定が行われる。また、連写撮影モードGN5においても、RAM50aの残り容量が不足しない限り、繰り返し行われる連続的な撮影動作の終了後に、プリント設定が行われる。そのため、デジタルカメラ1において、撮影動作に連動して自動的にプリント設定が行われる場合、連続的に撮影動作が繰り返されるとしてもプリント設定処理が個々の撮影動作の撮影タイミングに影響を与えることはない。
また、連写撮影モードGN5において、連写撮影のための撮影動作の継続中に、一時的な撮影待機状態が発生する場合、その撮影待機状態において複数の画像ごとにプリント設定が行われる。そのため、プリント設定処理が個々の撮影動作に影響を与えることはない。
したがって、連続的に撮影動作を繰り返す場合、1コマごとの煩雑なプリント設定操作を解消し、かつ、撮影タイミングに影響を与えることなく良好にプリント注文ファイルを自動作成することのできるデジタルカメラ1が実現される。
<変形例>
以上、本発明の一実施形態について説明したが、本発明は上記の内容に限定されるものではない。
以上、本発明の一実施形態について説明したが、本発明は上記の内容に限定されるものではない。
例えば、デジタルカメラ1が、プリントモード時において手動操作で画像ごとにプリント指定を行うことができる構成である場合を例示したが、そのような手動操作を行うための機能を有していなくてもよい。
また、図4に示した動作モードの遷移態様は単なる一例であり、図4以外の遷移態様によって各モード間を遷移するようにしてもよい。
1 デジタルカメラ(撮像装置)
5 LCD(表示手段)
50 全体制御部
51 画像処理部(合成手段)
53 撮影制御部(制御手段)
55 プリント設定処理部(プリント設定手段)
90 メモリカード(記録媒体)
5 LCD(表示手段)
50 全体制御部
51 画像処理部(合成手段)
53 撮影制御部(制御手段)
55 プリント設定処理部(プリント設定手段)
90 メモリカード(記録媒体)
Claims (6)
- 撮影によって得られる画像を記録媒体に記録する撮像装置であって、
撮影指示に応答して撮影動作を制御する制御手段と、
撮影動作に連動して、前記記録媒体に記録される画像に対してプリント設定を行い、前記記録媒体にプリント注文ファイルを記録するプリント設定手段と、
を備え、
前記プリント設定手段は、前記制御手段によって連続的に撮影動作が繰り返し行われる場合には、連続的な複数回の撮影動作が終了した後に、複数回の撮影動作によって取得された画像に対するプリント設定を行うことを特徴とする撮像装置。 - 請求項1に記載の撮像装置において、
連続的な複数回の撮影動作が終了した後に、複数回の撮影動作によって得られた複数の画像を表示する表示手段、
をさらに備え、
前記プリント設定手段は、前記表示手段に表示される複数の画像のうちから、前記記録媒体に記録する画像が決定されたことに応答して、記録が指定された画像についてのプリント設定を有効にし、前記記録媒体に前記プリント注文ファイルの記録を行うことを特徴とする撮像装置。 - 請求項2に記載の撮像装置において、
前記制御手段は、連続的に撮影動作を繰り返し行う際、撮影条件を変化させつつ撮影動作を繰り返し行うように制御することを特徴とする撮像装置。 - 請求項1に記載の撮像装置において、
前記制御手段によって連続的に撮影動作が繰り返し行われる場合に、複数回の撮影動作によって取得される複数の画像を合成することによって合成画像を生成する合成手段、
をさらに備え、
前記プリント設定手段は、前記合成画像に対するプリント設定を行うことを特徴とする撮像装置。 - 撮影によって得られる画像を記録媒体に記録する撮像装置であって、
撮影指示に応答して撮影動作を制御する制御手段と、
撮影動作に連動して、前記記録媒体に記録される画像に対してプリント設定を行い、前記記録媒体にプリント注文ファイルを記録するプリント設定手段と、
を備え、
前記プリント設定手段は、前記制御手段によって連続的に繰り返し撮影動作が行われる場合には、複数回の撮影動作によって得られる複数の画像ごとにプリント設定を行っていくことを特徴とする撮像装置。 - 請求項5に記載の撮像装置において、
前記プリント設定手段は、連続的な撮影動作の繰り返しの途中で撮影待機状態が発生した場合、前記撮影待機状態が発生するまでに取得された複数の画像に対してプリント設定を行うことを特徴とする撮像装置。
Priority Applications (1)
| Application Number | Priority Date | Filing Date | Title |
|---|---|---|---|
| JP2004011011A JP2005204258A (ja) | 2004-01-19 | 2004-01-19 | 撮像装置 |
Applications Claiming Priority (1)
| Application Number | Priority Date | Filing Date | Title |
|---|---|---|---|
| JP2004011011A JP2005204258A (ja) | 2004-01-19 | 2004-01-19 | 撮像装置 |
Publications (1)
| Publication Number | Publication Date |
|---|---|
| JP2005204258A true JP2005204258A (ja) | 2005-07-28 |
Family
ID=34823570
Family Applications (1)
| Application Number | Title | Priority Date | Filing Date |
|---|---|---|---|
| JP2004011011A Pending JP2005204258A (ja) | 2004-01-19 | 2004-01-19 | 撮像装置 |
Country Status (1)
| Country | Link |
|---|---|
| JP (1) | JP2005204258A (ja) |
Cited By (3)
| Publication number | Priority date | Publication date | Assignee | Title |
|---|---|---|---|---|
| JP2010187042A (ja) * | 2009-02-10 | 2010-08-26 | Casio Computer Co Ltd | 電子機器 |
| CN114098785A (zh) * | 2020-08-31 | 2022-03-01 | 佳能医疗系统株式会社 | X射线ct装置以及数据转发方法 |
| JP7503970B2 (ja) | 2020-08-31 | 2024-06-21 | キヤノンメディカルシステムズ株式会社 | X線ct装置、及びデータ転送方法 |
-
2004
- 2004-01-19 JP JP2004011011A patent/JP2005204258A/ja active Pending
Cited By (5)
| Publication number | Priority date | Publication date | Assignee | Title |
|---|---|---|---|---|
| JP2010187042A (ja) * | 2009-02-10 | 2010-08-26 | Casio Computer Co Ltd | 電子機器 |
| CN114098785A (zh) * | 2020-08-31 | 2022-03-01 | 佳能医疗系统株式会社 | X射线ct装置以及数据转发方法 |
| JP7503970B2 (ja) | 2020-08-31 | 2024-06-21 | キヤノンメディカルシステムズ株式会社 | X線ct装置、及びデータ転送方法 |
| US12154678B2 (en) | 2020-08-31 | 2024-11-26 | Canon Medical Systems Corporation | X-ray CT apparatus and data transfer method |
| CN114098785B (zh) * | 2020-08-31 | 2025-10-17 | 佳能医疗系统株式会社 | X射线ct装置以及数据转发方法 |
Similar Documents
| Publication | Publication Date | Title |
|---|---|---|
| JP4919160B2 (ja) | 撮像装置及びそのプログラム | |
| JP5076695B2 (ja) | 画像補正装置及び画像補正方法とプログラム | |
| JP2001251551A (ja) | 電子カメラ | |
| CN106941587B (zh) | 视频处理设备和视频处理方法 | |
| JP6304293B2 (ja) | 画像処理装置、画像処理方法及びプログラム | |
| JP2004187124A (ja) | 撮像装置 | |
| JP5494744B2 (ja) | 撮像装置、制御方法及びプログラム | |
| JP4189820B2 (ja) | 撮像装置及び画像記録方法 | |
| JP4730553B2 (ja) | 撮影装置及び露出制御方法 | |
| JP2008186287A (ja) | 画像記録装置及び画像記録方法 | |
| JP2004023747A (ja) | 電子カメラ | |
| JP3444281B2 (ja) | 画像処理システム、撮像装置、画像処理方法及びその方法の処理プログラムが記録された記録媒体 | |
| JP2004096392A (ja) | デジタルカメラ | |
| JP2006042399A (ja) | 撮像装置 | |
| JP2005204258A (ja) | 撮像装置 | |
| JP2004221650A (ja) | 電子カメラ | |
| JP2002112103A (ja) | デジタルスチルカメラ | |
| US20050195294A1 (en) | Method of controlling digital photographing apparatus for adaptive image compositing, and digital photographing apparatus using the method | |
| JP2005278003A (ja) | 画像処理装置 | |
| JP5109996B2 (ja) | カメラ装置、スルー画像表示方法及びそのプログラム | |
| JP2007325152A (ja) | 撮像装置及びそのプログラム | |
| JP2005347885A (ja) | 撮像装置、撮影範囲調整方法及びプログラム | |
| JP4678273B2 (ja) | 撮像装置、動画記憶方法および動画記憶プログラム | |
| JP2005229325A (ja) | カメラ装置及びスルー画像表示方法 | |
| JP5370662B2 (ja) | 撮像装置 |