JP2005041663A - Image forming device - Google Patents

Image forming device Download PDF

Info

Publication number
JP2005041663A
JP2005041663A JP2003278867A JP2003278867A JP2005041663A JP 2005041663 A JP2005041663 A JP 2005041663A JP 2003278867 A JP2003278867 A JP 2003278867A JP 2003278867 A JP2003278867 A JP 2003278867A JP 2005041663 A JP2005041663 A JP 2005041663A
Authority
JP
Japan
Prior art keywords
conveyance
sheet material
document
image forming
pair
Prior art date
Legal status (The legal status is an assumption and is not a legal conclusion. Google has not performed a legal analysis and makes no representation as to the accuracy of the status listed.)
Pending
Application number
JP2003278867A
Other languages
Japanese (ja)
Inventor
Shuji Fujisawa
修二 藤澤
Current Assignee (The listed assignees may be inaccurate. Google has not performed a legal analysis and makes no representation or warranty as to the accuracy of the list.)
Kyocera Document Solutions Inc
Original Assignee
Kyocera Mita Corp
Priority date (The priority date is an assumption and is not a legal conclusion. Google has not performed a legal analysis and makes no representation as to the accuracy of the date listed.)
Filing date
Publication date
Application filed by Kyocera Mita Corp filed Critical Kyocera Mita Corp
Priority to JP2003278867A priority Critical patent/JP2005041663A/en
Publication of JP2005041663A publication Critical patent/JP2005041663A/en
Pending legal-status Critical Current

Links

Images

Landscapes

  • Facsimiles In General (AREA)
  • Exposure Or Original Feeding In Electrophotography (AREA)
  • Controlling Sheets Or Webs (AREA)
  • Feeding Of Articles By Means Other Than Belts Or Rollers (AREA)

Abstract

<P>PROBLEM TO BE SOLVED: To prevent the breakage of members of an image forming device by effectively detecting binders such as clips or staple needles for binding sheet materials over the whole cross direction of the sheet materials such as documents or recording sheets. <P>SOLUTION: A pair of carrying guides are formed gradually narrower toward the downstream direction of carriage. The width of each of the pair of carrying guides is set to allow one sheet material to pass therethrough and to prohibit the binder from passing therethrough. Thus, the sheet materials bound by the binders such as clips, when fed to a carrying passage, can stay at the pair of carrying guides. Sensors are provided on the downstream sides of the pair of carrying guides for detecting the existence or not of the sheet materials, thereby allowing easy detection of the sheet materials with binders. A plurality of sensors are provided for detecting the dislocation of the carried sheet materials, thereby allowing detection of whether the sheet materials passing through the carrying guides are the sheet materials with binders or not. <P>COPYRIGHT: (C)2005,JPO&NCIPI

Description

本発明は,一対の搬送ガイドを含んで構成される搬送路を備えた画像形成装置に関するものである。 The present invention relates to an image forming apparatus including a conveyance path including a pair of conveyance guides.

近年,ファクシミリ装置,印刷装置及び複写装置等の画像形成装置の利用形態として,片面のみに印刷処理が施された片面使用済みの記録紙(以下,「裏紙」と称す。)の未使用面を利用して印字するいわゆる裏紙利用が盛んに行われている。裏紙利用は,省資源を促進して地球環境の保護に貢献するとともに,企業内での記録紙の消費量を軽減して経費の削減につながるので非常に好ましい。しかし,誤ってクリップやステープルの針等の綴じ具で束ねられた裏紙が記録紙として給紙カセットにセットされて記録紙搬送路に給紙搬送されると,搬送中に外れたクリップ等の綴じ具が画像形成装置内部に混入し,感光体ドラムや帯電装置等の内部部材を損傷させ,ひいては画像形成装置自体を破損させる恐れがある。
また,複写機等に設けられた自動原稿搬送装置に原稿をセットする際に、誤ってクリップやステープルの針等の綴じ具で束ねられた原稿をセットする場合がある。この状態で綴じ具で束ねられた原稿が搬送されると、原稿が分離装置により破損する恐れがある。また,原稿搬送路中に設けられた画像読取部,搬送ローラ,原稿台(コンタクトガラス)等が上記綴じ具によって損傷する恐れがある。
このような問題を解決するため,特許文献2及び特許文献3に示されるように,搬送する原稿の取り出し部から分離装置間の搬送路に、原稿を束ねるクリップ等を検出する金属センサが設けられた原稿搬送装置及び画像形成装置がある。これにより,クリップ等の有無が検出され,かかる検出に基づいて原稿の搬送動作を中止することにより上述した問題の発生を未然に防いでいる。
一方,特許文献1には,原稿を搬送する搬送ローラの上流側の上下ガイドに制限を設けることによって,原稿を搬送ローラの圧接部に導き,原稿が搬送ローラに挟まりにくくすることにより,ジャムの発生を防止する事を目的とする給紙装置が示されている。
特開平06−311295号公報 特開平08−113387号公報 特開2002−221880号公報
In recent years, as an application form of an image forming apparatus such as a facsimile apparatus, a printing apparatus, and a copying apparatus, an unused side of a recording sheet that has been used on one side (hereinafter referred to as “backing paper”) that has been subjected to printing processing on only one side. So-called backing paper is widely used for printing. The use of backing paper is very preferable because it promotes resource saving and contributes to the protection of the global environment, and also reduces the consumption of recording paper in the company, leading to cost reduction. However, if the backing paper mistakenly bundled with a binding tool such as a clip or staple needle is set as a recording paper in the paper feed cassette and fed to the recording paper conveyance path, the clip or the like removed during conveyance The binding tool may be mixed into the image forming apparatus, damaging internal members such as the photosensitive drum and the charging device, and possibly damaging the image forming apparatus itself.
In addition, when an original is set on an automatic document feeder provided in a copying machine or the like, there is a case where an original bundled by a binding tool such as a clip or a staple of a staple is set by mistake. In this state, when a document bundled with a binding tool is conveyed, the document may be damaged by the separation device. In addition, the image reading unit, the conveyance roller, the document table (contact glass) and the like provided in the document conveyance path may be damaged by the binding tool.
In order to solve such a problem, as shown in Patent Document 2 and Patent Document 3, a metal sensor for detecting a clip or the like for bundling documents is provided in a conveyance path between separation units from a take-out portion of a document to be conveyed. There are a document feeder and an image forming apparatus. As a result, the presence or absence of a clip or the like is detected, and the above-described problem is prevented beforehand by stopping the document transport operation based on the detection.
On the other hand, in Patent Document 1, by restricting the upper and lower guides on the upstream side of the conveyance roller that conveys the document, the document is guided to the pressure contact portion of the conveyance roller, and the document is not easily caught between the conveyance rollers. A paper feeder intended to prevent occurrence is shown.
Japanese Patent Laid-Open No. 06-311295 Japanese Patent Laid-Open No. 08-113387 JP 2002-221880 A

しかしながら,特許文献2及び特許文献3に示される各装置で用いられる磁気センサ等の金属センサでは,樹脂クリップ等を検出できないという問題点があった。更に,原稿の幅方向全体にわたって綴じ具を検出するためには多数のセンサを配置するか,或いは検出範囲の広い比較的大型なセンサを設ける必要があり,これでは装置が大型化し,更にコスト高となるため不経済である。
特許文献1に示される給紙装置は,クリップやステープルの針等の綴じ具が通過し得ない制限が施されておらず,前記問題を解決できるとは考えられない。
従って,本発明は前記事情に鑑みてなされたものであり,その目的とするところは,原稿や記録紙等のシート材の幅方向全体にわたって,シート材を束ねるクリップやステープルの針等の綴じ具を効果的にしかも簡易な方法で検出することにより,該シート材の搬送を制限し,シート材及び搬送ローラや原稿台等の各部材の破損を未然に防ぐことができる画像形成装置を提供することにある。
However, a metal sensor such as a magnetic sensor used in each device disclosed in Patent Document 2 and Patent Document 3 has a problem that a resin clip or the like cannot be detected. Furthermore, in order to detect the binding tool over the entire width of the document, it is necessary to arrange a large number of sensors or to provide a relatively large sensor with a wide detection range, which increases the size of the apparatus and further increases the cost. This is uneconomical.
The paper feeding device disclosed in Patent Document 1 is not restricted so that a binding tool such as a clip or a staple of a staple cannot pass through, and is not considered to solve the above problem.
Accordingly, the present invention has been made in view of the above circumstances, and an object of the present invention is to bind a binding tool such as a clip for binding a sheet material or a staple of a staple over the entire width direction of the sheet material such as a document or recording paper. An image forming apparatus capable of restricting the conveyance of the sheet material and preventing damage to the sheet material and the respective members such as the conveyance roller and the document table by detecting the image effectively and in a simple manner. There is.

前記目的を達成するために本発明は,一対の搬送ガイドを含んで構成される搬送路を備えた画像形成装置において,前記一対の搬送ガイドが搬送下流方向に向けて狭くなるよう形成され,且つ,前記一対の搬送ガイドの間隔が1枚のシート材が通過し得る幅であって綴じ具が通過し得ない幅に設定されてなることを特徴とする画像形成装置として構成されている。
これにより,クリップ等の綴じ具により束ねられた原稿や記録紙等のシート材が搬送路に送り出されたとしても,かかるシート材は前記一対の搬送ガイドで留まる。その結果,上記シート材がそれより下流側の搬送路へ搬送されず,従って,綴じ具が装置内部に混入するおそれがなくなり,下流側の搬送ローラ,或いは原稿台や記録紙収納部等の各部材の破損が未然に防止されるという効果を奏する。
この場合,前記一対の搬送ガイドが,シート材の重送を防止する分離装置の上流側の搬送路に設けられてなるものであれば,綴じ具付のシート材が分離装置により損傷する前に,該綴じ具付のシート材の搬送を止めることができる。
In order to achieve the above object, the present invention provides an image forming apparatus provided with a conveyance path including a pair of conveyance guides, wherein the pair of conveyance guides are formed narrower in the conveyance downstream direction, and The image forming apparatus is characterized in that the distance between the pair of conveyance guides is set to a width that allows a single sheet material to pass therethrough and cannot pass a binding tool.
As a result, even if a sheet material such as a document or recording paper bundled by a binding tool such as a clip is sent out to the conveyance path, the sheet material remains in the pair of conveyance guides. As a result, the sheet material is not conveyed to the conveyance path on the downstream side, and therefore, there is no possibility that the binding tool is mixed into the apparatus, and the conveyance rollers on the downstream side, the document table, the recording paper storage unit, etc. There is an effect that breakage of the member is prevented in advance.
In this case, if the pair of conveyance guides are provided in the conveyance path on the upstream side of the separation device that prevents double feeding of the sheet material, before the sheet material with the binding tool is damaged by the separation device. , The conveyance of the sheet material with the binding tool can be stopped.

また,前記画像形成装置に,前記一対の搬送ガイドの下流側にシート材の有無を検出するシート材検出手段が更に設けられてなるものが考えられる。
このように構成されることで,例えば,一定時間内にシート材が検出された場合は正常に一部ずつ搬送されたシート材と判断することができ,検出されない場合は搬送ガイドで停止した綴じ具付きのシート材と判断することができ,従って,綴じ具付のシート材を簡易に検出すること可能となる。
Further, it is conceivable that the image forming apparatus is further provided with sheet material detecting means for detecting the presence or absence of a sheet material on the downstream side of the pair of conveyance guides.
With this configuration, for example, when a sheet material is detected within a certain period of time, it can be determined that the sheet material has been partially conveyed normally, and when the sheet material is not detected, the binding stopped by the conveyance guide can be determined. Therefore, it is possible to determine the sheet material with a tool, and thus it is possible to easily detect the sheet material with a binding tool.

更に,前記一対の搬送ガイドの下流側にシート材のズレを検出するズレ検出手段が更に設けられてなるものも考えられる。
綴じ具付きのシート材が前記搬送ガイドにより一旦停止したが,シート材搬送ローラの搬送力に押されることによって,上記シート材が搬送ガイドを通過する場合が想定される。この場合は,正常にシート材が通過する場合と較べてシート材の幅方向に大きなズレが生ずることになる。従って,一定以上のシート材のズレを検出することで,前記搬送ガイドを通過したシート材が綴じ具付のシート材であるかどうかを効果的に検出することができるよう,前記ズレ検出手段を設けることとした。
Further, it is conceivable that a deviation detecting means for detecting a deviation of the sheet material is further provided on the downstream side of the pair of conveyance guides.
Although the sheet material with the binding tool is temporarily stopped by the conveyance guide, it is assumed that the sheet material passes through the conveyance guide by being pushed by the conveyance force of the sheet material conveyance roller. In this case, a larger shift occurs in the width direction of the sheet material than when the sheet material normally passes. Therefore, the deviation detection means is provided so that it is possible to effectively detect whether or not the sheet material that has passed through the conveyance guide is a sheet material with a binding tool by detecting the deviation of the sheet material above a certain level. We decided to provide it.

また,前記シート材検出手段或いは前記ズレ検出手段の検出結果に基づいて,シート材の搬送動作を中止する搬送中止手段が更に設けられたものであってもよい。これにより,綴じ具付のシート材がそれ以上搬送されることを防ぐことができ,これによりシート材の損傷及び装置内への綴じ具の混入を防止することができる。   Further, the sheet material detection unit or the detection result of the deviation detection unit may be further provided with a conveyance stop unit for stopping the sheet material conveyance operation. Thereby, it can prevent that the sheet | seat material with a binding tool conveys any more, and can prevent damage to a sheet | seat material and mixing of the binding tool in an apparatus by this.

また,前記シート材が記録紙であって,前記搬送路が,前記記録紙を所定の記録紙収納部から所定の画像形成部に搬送する記録紙搬送路であれば,搬送中に外れた綴じ具により画像形成部を構成する感光体ドラムや帯電装置等を破損することがなくなる。
更にまた,前記シート材が原稿であって,前記搬送路が,前記原稿を所定の原稿収納部から所定の原稿読取部に搬送する原稿搬送路であれば,原稿の破損,搬送ローラや画像読取部,原稿台等の破損を効果的に防止することができる。
Further, if the sheet material is a recording paper and the transport path is a recording paper transport path for transporting the recording paper from a predetermined recording paper storage section to a predetermined image forming section, the binding that has been removed during the transport is used. The tool does not damage the photosensitive drum or the charging device constituting the image forming unit.
Furthermore, if the sheet material is a document and the transport path is a document transport path for transporting the document from a predetermined document storage unit to a predetermined document reading unit, document breakage, transport rollers and image reading Can be effectively prevented from being damaged.

以上説明したように,本発明によれば,一対の搬送ガイドが搬送下流方向に向けて狭くなるよう形成され,且つ,前記一対の搬送ガイドの幅が1枚の原稿或いは記録紙等のシート材が通過し得る幅であって綴じ具が通過し得ない幅に設定されることにより,クリップ等の綴じ具により束ねられたシート材が搬送路に送り出されたとしても,かかるシート材は前記一対の搬送ガイドで留まり,その結果,上記シート材が下流側搬送路を通過せず,更に綴じ具が装置内部に混入する恐れがなくなり,画像形成装置の記録紙搬送路においては搬送下流側の感光体ドラムや定着装置等の各部材の破損が未然に防止され,自動原稿搬送装置の原稿搬送路においては搬送下流側の搬送ローラや原稿台等の各部材の破損が未然に防止されるという効果を奏する。
また,前記一対の搬送ガイドの下流側にシート材の有無を検出するセンサ等を設けることにより,例えば,一定時間内にシート材が検出された場合は正常に一部ずつ搬送されたシート材と判断することができ,検出されない場合は搬送ガイドで停止した綴じ具付きのシート材と判断することができ,従って,綴じ具付のシート材を簡易に検出することが可能となる。
更に,前記一対の搬送ガイドの下流側に例えばシート材を検出するセンサを複数設けて,搬送されたシート材のズレを検出することにより,前記搬送ガイドを通過したシート材が綴じ具付原稿であるかどうかを効果的に検出することが可能となる。
As described above, according to the present invention, the pair of transport guides are formed so as to narrow toward the downstream direction of transport, and the width of the pair of transport guides is a sheet material such as one document or recording paper. Is set to such a width that the binding material cannot pass, and even if the sheet material bundled by the binding device such as a clip is sent to the conveyance path, the sheet material is As a result, the sheet material does not pass through the downstream conveyance path, and there is no possibility that the binding tool will be mixed inside the apparatus. In the recording paper conveyance path of the image forming apparatus, the photosensitive material on the conveyance downstream side is eliminated. Damage to each member such as the body drum and the fixing device is prevented in advance, and damage to each member such as a transport roller on the downstream side of the transport and a document table is prevented in the document transport path of the automatic document transport device. Play .
In addition, by providing a sensor or the like for detecting the presence or absence of a sheet material on the downstream side of the pair of conveyance guides, for example, when a sheet material is detected within a certain time, If the sheet material can be determined and is not detected, it can be determined that the sheet material has a binding tool stopped by the conveyance guide. Therefore, the sheet material with the binding tool can be easily detected.
Further, a plurality of sensors for detecting, for example, a sheet material are provided on the downstream side of the pair of conveyance guides, and by detecting a deviation of the conveyed sheet material, the sheet material that has passed through the conveyance guide is a document with a binding tool. It is possible to effectively detect whether or not there is.

以下添付図面を参照しながら,本発明の実施の形態について説明し,本発明の理解に供する。尚,以下の実施の形態は,本発明を具体化した一例であって,本発明の技術的範囲を限定する性格のものではない。
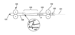
ここに,図1は本発明の実施の形態に係る画像形成装置Aのシート材搬送路の一部を示す模式断面図,図2は本発明の実施の形態に係る画像形成装置Aのシート材搬送路に設けられた搬送センサの配置を示す模式図,図3は本発明の実施の形態に係る画像形成装置Aの概略断面図である。尚,上記シート材搬送路は本発明の一実施形態にかかる画像形成装置Aに用いられる原稿搬送路や記録紙搬送路等の搬送路を指す。また,シート材とは原稿或いは記録紙等を総称するものである。
Hereinafter, embodiments of the present invention will be described with reference to the accompanying drawings so that the present invention can be understood. The following embodiment is an example embodying the present invention, and does not limit the technical scope of the present invention.
FIG. 1 is a schematic sectional view showing a part of the sheet material conveyance path of the image forming apparatus A according to the embodiment of the present invention. FIG. 2 is a sheet material of the image forming apparatus A according to the embodiment of the present invention. FIG. 3 is a schematic cross-sectional view of the image forming apparatus A according to the embodiment of the present invention, and FIG. 3 is a schematic diagram showing the arrangement of the conveyance sensors provided in the conveyance path. The sheet material conveyance path refers to a conveyance path such as a document conveyance path and a recording paper conveyance path used in the image forming apparatus A according to the embodiment of the present invention. The sheet material is a generic term for a document or a recording sheet.

まず,図3を用いて,本発明の一実施形態に係る画像形成装置A及び自動原稿搬送装置10の概略構成について説明する。尚,画像形成装置Aとして複写機を例示するが,スキャナ装置,FAX装置,プリンタ装置等であってもよい。
画像形成装置Aは下方に複数の記録紙収納部11を有し,その上方に両面ユニット12が配置され,その上方には感光体ドラム,帯電装置,現像装置等で構成された画像形成部13と,定着装置14とが設けられている。また,前記複数の記録紙収納部11と前記画像形成部13との間には記録紙搬送路131a(シート材搬送路の一例)が配設されている。
First, a schematic configuration of the image forming apparatus A and the automatic document feeder 10 according to the embodiment of the present invention will be described with reference to FIG. A copying machine is exemplified as the image forming apparatus A, but it may be a scanner apparatus, a FAX apparatus, a printer apparatus, or the like.
The image forming apparatus A has a plurality of recording paper storage units 11 below, a duplex unit 12 disposed above the recording sheet storage unit 11, and an image forming unit 13 including a photosensitive drum, a charging device, a developing device, and the like above the image forming unit A. And a fixing device 14 are provided. A recording paper conveyance path 131a (an example of a sheet material conveyance path) is disposed between the plurality of recording paper storage units 11 and the image forming unit 13.

前記記録紙搬送路131aには,少なくとも,記録紙搬送路131aの外側(図3において右側)を構成し,記録紙表面をガイドする表面搬送ガイド103(図1)と,該表面搬送ガイド103と一対をなし,記録紙搬送路131aの内側(図3において右側)を構成し,記録紙の裏面をガイドする裏面搬送ガイド104(図1)と,記録紙搬送ローラ102a及び105aと,複数の記録紙収納部11に収納された記録紙を取り出すピックアップローラ111と,ピックアップローラにより取り出された記録紙を更に記録紙搬送路131aの下流側へ給紙搬送する給紙ローラ112,記録紙を更に記録紙搬送路131aの下流側へ搬送する記録紙搬送ローラ113とを備えて構成されている。更に,表面搬送ガイド103を構成するとともに,前記記録紙搬送路131aの表面搬送ガイド103と裏面搬送ガイド104との間隙を外部に解放する扉22を備えている。尚,前記表面搬送ガイド103は前記扉22の内壁になるよう構成されている。
記録紙収納部11に収納された記録紙は,ピックアップローラ111及び給紙ローラ112により記録紙搬送路131aに給紙搬送され,搬送ローラ113により更に搬送方向下流側へ搬送される。搬送ローラ113の搬送方向下流側には記録紙搬送ローラ102a及び105aが設けられており,搬送ローラ102aと搬送ローラ105aとの間の搬送路には,前記一対の搬送ガイドのうち表面搬送ガイド103が搬送下流方向に向けて狭くなるよう形成され,且つ前記一対の搬送ガイドの間隔が1枚の記録紙が通過し得る幅であって綴じ具が通過し得ない幅に設定された搬送制限部130(図1)が設けられている。この搬送制限部130は,記録紙収納部11にクリップやステープルの針等の綴じ具により束ねられたままの記録紙(以下,「綴じ具付記録紙」と称す。)が誤って載置され,それが記録紙搬送路131aに供給されて,搬送下流方向P(図1)へ搬送された場合に,かかる記録紙の搬送を制限して,綴じ具によって搬送下流側に位置する画像形成部13の感光体ドラムや定着装置14等を破損するのを未然に防ぐために設けられている。かかる搬送制限部130については後段において詳細に説明する。
The recording paper conveyance path 131a constitutes at least the outer side (right side in FIG. 3) of the recording paper conveyance path 131a, and a front surface conveyance guide 103 (FIG. 1) for guiding the recording paper surface; A back side conveying guide 104 (FIG. 1) that forms a pair and constitutes the inner side (right side in FIG. 3) of the recording paper conveyance path 131a, guides the back side of the recording paper, recording paper conveyance rollers 102a and 105a, and a plurality of recordings A pickup roller 111 that takes out the recording paper stored in the paper storage unit 11, a paper feeding roller 112 that feeds and feeds the recording paper taken out by the pickup roller to the downstream side of the recording paper conveyance path 131a, and further records the recording paper. The recording paper transport roller 113 transports downstream of the paper transport path 131a. Further, the front surface conveyance guide 103 is configured, and a door 22 for releasing a gap between the front surface conveyance guide 103 and the rear surface conveyance guide 104 of the recording paper conveyance path 131a to the outside is provided. The surface conveyance guide 103 is configured to be an inner wall of the door 22.
The recording paper stored in the recording paper storage unit 11 is fed and conveyed to the recording paper conveyance path 131 a by the pickup roller 111 and the paper supply roller 112, and further conveyed downstream in the conveyance direction by the conveyance roller 113. Recording paper transport rollers 102a and 105a are provided on the downstream side of the transport roller 113 in the transport direction, and the surface transport guide 103 of the pair of transport guides is disposed on the transport path between the transport roller 102a and the transport roller 105a. Is formed so that the width of the pair of conveyance guides is narrower in the conveyance downstream direction, and the distance between the pair of conveyance guides is set to a width that allows one sheet of recording paper to pass therethrough and a width that prevents a binding tool from passing therethrough. 130 (FIG. 1) is provided. In the transport restricting unit 130, the recording paper (hereinafter referred to as “recording paper with a binding tool”) that has been bundled with a binding tool such as a clip or a staple of a staple is erroneously placed in the recording paper storage unit 11. , When it is supplied to the recording paper transport path 131a and transported in the transport downstream direction P (FIG. 1), the transport of the recording paper is limited, and the image forming unit positioned on the transport downstream side by the binding tool 13 is provided to prevent damage to the photosensitive drum 13 and the fixing device 14. The conveyance restriction unit 130 will be described in detail later.

前記画像形成部13の上部には画像読取装置15と原稿台16と自動原稿搬送装置(以下,「ADF」と称す)10とが配設されている。ADF10には,原稿トレイ17にセットされた原稿を画像読取装置15や原稿台16へ搬送する原稿搬送路131bが配設されている。   An image reading device 15, a document table 16, and an automatic document feeder (hereinafter referred to as “ADF”) 10 are disposed above the image forming unit 13. The ADF 10 is provided with a document transport path 131 b for transporting a document set on the document tray 17 to the image reading device 15 or the document table 16.

前記原稿搬送路131bには,少なくとも,原稿表面をガイドする表側搬送ガイド103(図2)と,該表側搬送ガイド103と一対をなし,原稿裏面をガイドする裏側搬送ガイド104(図2)と,原稿トレイ17と,原稿トレイ17から原稿を一部ずつ取り出し搬送路へ送り出す原稿給紙ローラ102bと,原稿の重送(重層)を防止するための分離ローラ105bとを備えて構成されている。
原稿トレイ17に載置された原稿は,原稿給紙ローラ102bにより取り出され,その後分離ローラ105b及び複数の搬送ローラ20等によって原稿の表裏が反転されながら原稿台16に搬送される。原稿台16では原稿が画像読取装置15により読み取られ,その後,原稿は,排出ローラ18により排出口19から原稿排出トレイ21に排出される。前記搬送ローラ102bと前記搬送ローラ105bとの間の原稿搬送路131bにも,前記記録紙搬送路131aと同様に,前記一対の搬送ガイドのうち表面搬送ガイド103が搬送下流方向に向けて狭くなるよう形成され,且つ前記一対の搬送ガイドの間隔が1枚の原稿が通過し得る幅であって綴じ具が通過し得ない幅に設定された搬送制限部130(図1)が設けられている。この搬送制限部130は,原稿トレイ17にクリップやステープルの針等の綴じ具により束ねられたままの原稿(以下,「綴じ具付原稿」と称す。)が誤って載置され,それが記録紙搬送路131aに供給されて,搬送下流方向P(図1)へ搬送された場合に,かかる原稿の搬送を制限して,綴じ具によって搬送下流側に位置する搬送ローラ20や原稿台16等を破損するのを未然に防ぐために設けられている。
The document conveyance path 131b includes at least a front conveyance guide 103 (FIG. 2) for guiding the document surface, a pair with the front conveyance guide 103, and a back conveyance guide 104 (FIG. 2) for guiding the document back surface. The document tray 17 is configured to include a document feed roller 102b that takes out documents from the document tray 17 part by part and sends them to the conveyance path, and a separation roller 105b for preventing document multi-feed (multilayer).
The document placed on the document tray 17 is taken out by the document feed roller 102b, and then conveyed to the document table 16 while the front and back sides of the document are reversed by the separation roller 105b and the plurality of conveyance rollers 20 and the like. On the document table 16, the document is read by the image reading device 15, and then the document is discharged from the discharge port 19 to the document discharge tray 21 by the discharge roller 18. In the document conveyance path 131b between the conveyance roller 102b and the conveyance roller 105b, the surface conveyance guide 103 of the pair of conveyance guides narrows toward the conveyance downstream direction, similarly to the recording paper conveyance path 131a. The conveyance restriction unit 130 (FIG. 1) is formed in such a manner that the gap between the pair of conveyance guides is set to a width that allows a single document to pass therethrough and cannot pass a binding tool. . The transport restricting unit 130 erroneously places a document (hereinafter referred to as a “document with a binding tool”) that has been bundled by a binding tool such as a clip or a staple of a staple on the document tray 17 and records it. When the paper is supplied to the paper conveyance path 131a and conveyed in the conveyance downstream direction P (FIG. 1), the conveyance of the original is restricted, and the conveyance roller 20 and the document table 16 positioned on the conveyance downstream side by the binding tool, etc. It is provided in order to prevent damage.

画像形成装置A本体上面には,液晶タッチパネル等の表示操作部(不図示)が配置されている。利用者は,該表示操作部の操作によって画像読み取りの開始操作等の各種操作を行い,該表示操作部に表示された紙詰まり等のジャム(故障)の警告表示によってその発生と発生箇所を認識することができる。   A display operation unit (not shown) such as a liquid crystal touch panel is disposed on the upper surface of the image forming apparatus A main body. The user performs various operations such as image reading start operation by the operation of the display operation unit, and recognizes the occurrence and occurrence location by a warning display of a jam (fault) such as a paper jam displayed on the display operation unit. can do.

次に,図1の模式図を用いて,前記記録紙搬送路131a或いは前記原稿搬送路131bに設けられた搬送制限部130について説明する。尚,以下の説明において,ローラA102は前記搬送ローラ102a或いは前記原稿給紙ローラ102bを示し,搬送路ローラB105は前記搬送ローラ105a或いは分離ローラ105bを示し,シート材搬送路131は記録紙搬送路131a或いは原稿搬送路131bを示す。   Next, the conveyance restriction unit 130 provided in the recording paper conveyance path 131a or the document conveyance path 131b will be described with reference to the schematic diagram of FIG. In the following description, the roller A102 indicates the conveyance roller 102a or the document feeding roller 102b, the conveyance path roller B105 indicates the conveyance roller 105a or the separation roller 105b, and the sheet material conveyance path 131 indicates the recording paper conveyance path. 131a or the document conveyance path 131b is shown.

図1はローラA102とローラB105との間のシート材搬送路131に前記搬送制限部130が設けられた場合の構成を模式的に示している。シート材搬送路131は,シート材の表面をガイドする表側搬送ガイド103とシート材の裏面をガイドする裏側搬送ガイド104とを備え,これらが所定の間隔Dを隔てて対をなすように設置されることでシート材搬送路131が形成される。前記搬送制限部130は,図1に示すように,表側搬送ガイド103の一部が搬送下流方向に向かうにつれて傾斜するよう形成され,シート材搬送路131において最も狭い間隔d(d<D)を形成するよう傾斜されている。この間隔dは,1枚のシート材が通過し得る間隔(幅)であって綴じ具が通過し得ない間隔(幅)であり,幅方向全体に形成されている。通常頻繁に使用される普通紙の紙厚は約0.2mmであり,綴じ具120として通常頻繁に使用されるクリップ,ステープルの針等で2,3枚の普通紙を束ねたときの綴じ部は数ミリの厚さを有することから,前記間隔dが0.5〜1mmとなるよう前記搬送制限部130を形成することが望ましい。少なくとも前記間隔dが前記範囲内であれば,1枚のシート材が通過するのに十分であり,しかも綴じ具付シート材101は前記搬送制限部130を通過することができない。   FIG. 1 schematically illustrates a configuration in which the conveyance restriction unit 130 is provided in the sheet material conveyance path 131 between the roller A102 and the roller B105. The sheet material conveyance path 131 includes a front-side conveyance guide 103 that guides the surface of the sheet material and a back-side conveyance guide 104 that guides the back surface of the sheet material, and is installed so as to make a pair with a predetermined distance D therebetween. Thus, the sheet material conveyance path 131 is formed. As shown in FIG. 1, the conveyance restriction unit 130 is formed so that a part of the front conveyance guide 103 is inclined toward the conveyance downstream direction, and has the narrowest interval d (d <D) in the sheet material conveyance path 131. Inclined to form. This interval d is an interval (width) through which one sheet material can pass, and an interval (width) through which the binding tool cannot pass, and is formed in the entire width direction. Usually, the thickness of plain paper that is frequently used is about 0.2 mm, and the binding portion when a few sheets of plain paper are bundled with clips, staples, etc. that are usually frequently used as the binding tool 120. Since it has a thickness of several millimeters, it is desirable to form the transport restriction 130 so that the distance d is 0.5 to 1 mm. If at least the distance d is within the above range, it is sufficient for one sheet material to pass through, and the binding-attached sheet material 101 cannot pass through the conveyance limiting portion 130.

従って,このような搬送制限部130を備えるシート材搬送路131が
記録紙搬送路131aに設けられることにより,記録紙収納部11に複数の記録紙からなる綴じ具付記録紙がセットされ,ピックアップローラ11及び給紙ローラ112等により綴じ具付記録紙が記録紙搬送路131aに給紙され,更に搬送ローラ113より搬送下流方向へ搬送されたとしても,前記綴じ具付記録紙は前記搬送制御部130を通過することができない。また,綴じ具がついていない通常の記録紙が記録紙収納部11にセットされた場合は,前記搬送制限部130は記録紙1枚を十分通過させる間隔dを有するので,記録紙は搬送制限部130に干渉されずに下流側搬送路へ搬送される。これにより,綴じ具付記録紙が記録紙搬送路131aの下流側搬送路へ搬送されないので,搬送中に外れた綴じ具によって感光体ドラム13aや定着装置14等の各部材の破損が未然に防止されることになる。
また,このような搬送制限部130を備えるシート材搬送路131が
原稿搬送路131bに設けられることにより,原稿トレイ17に複数の原稿からなる綴じ具付原稿がセットされ,原稿給紙ローラ102bによって綴じ具付原稿が原稿搬送路131bに送り出されたとしても,当該綴じ具付原稿は前記搬送制御部130を通過することができない。また,綴じ具がついていない通常の原稿がセットされた場合は,前記搬送制限部130は原稿1枚を十分通過させる間隔dを有するので,原稿は搬送制限部130に干渉されずに下流側搬送路へ搬送される。これにより,綴じ具付記録紙が記録紙搬送路131aの下流側搬送路へ搬送されないので,搬送中に外れた綴じ具によって搬送ローラ20や原稿台16等の各部材の破損が未然に防止されることになる。また,綴じ具120が画像形成装置A内部へ混入することも防止される。
Accordingly, by providing the sheet material conveyance path 131 having such a conveyance restriction unit 130 in the recording paper conveyance path 131a, the recording paper with a binding tool composed of a plurality of recording sheets is set in the recording paper storage unit 11, and the pickup is performed. Even if the recording paper with the binding tool is fed to the recording paper transport path 131a by the roller 11 and the paper feed roller 112 and further transported downstream from the transport roller 113, the recording paper with the binding tool is controlled by the transport control. It cannot pass through the section 130. Further, when a normal recording paper without a binding tool is set in the recording paper storage unit 11, the conveyance restriction unit 130 has an interval d that allows a single recording sheet to pass sufficiently. It is conveyed to the downstream conveyance path without interfering with 130. As a result, the recording paper with the binding tool is not transported to the downstream transport path of the recording paper transport path 131a, so that the members such as the photosensitive drum 13a and the fixing device 14 are prevented from being damaged by the binding tool detached during the transport. Will be.
Further, by providing a sheet material conveyance path 131 having such a conveyance restriction unit 130 in the document conveyance path 131b, a document with a binding tool composed of a plurality of documents is set on the document tray 17, and is fed by the document feed roller 102b. Even if the document with a binding tool is sent to the document transport path 131b, the document with a binding tool cannot pass through the transport control unit 130. In addition, when a normal document without a binding tool is set, the conveyance restriction unit 130 has an interval d that allows one document to sufficiently pass therethrough, so that the document is conveyed downstream without being interfered with the conveyance restriction unit 130. It is transported to the road. As a result, the recording paper with the binding tool is not transported to the downstream transport path of the recording paper transport path 131a, so that the members such as the transport roller 20 and the document table 16 are prevented from being damaged by the binding tool detached during transport. Will be. Further, the binding tool 120 can be prevented from entering the image forming apparatus A.

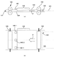
次に,図2を用いて,前記搬送制限部130の搬送下流側にシート材101の有無を検出する搬送センサ140が設けられた構成について説明する。かかる搬送センサ140はシート材検出手段の一例であって,例えばフォトセンサ等が用いられる。この搬送センサ140は,通常,原稿や記録用紙等のシート材の有無を検出するために,画像形成装置A内の各部に設けられている。図2(a)に示すように,かかる搬送センサ140が前記搬送制御部130の搬送下流側に設けられることにより生じる効果は,単に搬送されたシート材を検出するというだけではない。例えば,シート材がローラA102によって給紙搬送されてから一定時間内にシート材が検出されたか否かを検出することにより,一定時間内に検出された場合は,そのシート材は正常なシート材,つまり綴じ具付シート材101ではないと判断され,一定時間内に検出されなかった場合は,そのシート材は異常なシート材,つまり綴じ具付シート材101であると判断され得る。このような効果は,上記搬送制限部130の下流側に搬送センサ140を配置すことによりはじめて発揮される。このような構成を備えることにより,綴じ具付シート材101を簡易に検出することが可能となる。   Next, a configuration in which a conveyance sensor 140 for detecting the presence or absence of the sheet material 101 is provided on the conveyance downstream side of the conveyance restriction unit 130 will be described with reference to FIG. The conveyance sensor 140 is an example of a sheet material detection unit, and for example, a photo sensor or the like is used. The conveyance sensor 140 is usually provided in each part in the image forming apparatus A in order to detect the presence or absence of a sheet material such as a document or recording paper. As shown in FIG. 2A, the effect produced by providing the conveyance sensor 140 on the conveyance downstream side of the conveyance control unit 130 is not only to detect the conveyed sheet material. For example, if the sheet material is detected within a certain time by detecting whether the sheet material is detected within a certain time after the sheet material is fed and conveyed by the roller A102, the sheet material is a normal sheet material. That is, if it is determined that the sheet material 101 is not a binding tool and is not detected within a predetermined time, it can be determined that the sheet material is an abnormal sheet material, that is, the sheet material 101 with a binding tool. Such an effect is exhibited only when the transport sensor 140 is arranged on the downstream side of the transport restriction unit 130. By providing such a configuration, the binding-attached sheet material 101 can be easily detected.

更に,図2(b)に示すように,前記搬送センサ140が前記搬送制限部130の搬送下流側の3箇所に設けられた構成について説明する。
図2(b)に示される搬送センサ140−1,140−2はシート材の幅方向と平行する直線上に配置されている。また,搬送センサの一つは中央に(140−2),他の二つは中央のセンサ140−2から均等距離を隔てたシート材の両サイドに一つずつ配置されている(140−1)。このように搬送センサ140を前記搬送制限部130の搬送下流側に配置することにより,例えばセンサ140−2がシート材を検出するタイミングを基準として,このタイミングと,両サイドに設けられた2つのセンサ140−1がシート材を検出するタイミングとを比較することにより,シート材の搬送方向Pに対するズレを検出することが可能となる。このように,前記3つの搬送センサ140を設けることは,即ち,前記原稿搬送路131内の前記搬送制御部130の搬送下流側にシート材のズレを検出するズレ検出手段を設けることを意味する。このようなズレ検出センサ140−1,140−2を設けて一定以上のシート材のズレを検出することにより,搬送されたシート材が正常なシート材であるか綴じ具付のシート材であるかどうかを判断することができる。なぜなら,綴じ具付シート材101がローラA102の給紙力に押されて搬送制限部130を通過する場合も考えられる。このような場合には,綴じ具120が搬送制限部130に引っ掛かることにより,正常にシート材が通過する場合と較べてシート材に大きなズレが生ずることになる。従って,一定以上のシート材のズレを検出することで,前記搬送ガイドを通過したシート材が綴じ具付シート材101であるかどうかを効果的に検出することができる。そのためには,前記搬送センサ140−1をシート材の幅方向の両端に設けることが望ましく,更に,かかる搬送センサ140−1をセットされたシート材の用紙サイズに適した位置に自動移動することが望ましい。
Further, as shown in FIG. 2B, a configuration in which the conveyance sensor 140 is provided at three locations on the conveyance downstream side of the conveyance restriction unit 130 will be described.
The conveyance sensors 140-1 and 140-2 shown in FIG. 2B are arranged on a straight line parallel to the width direction of the sheet material. One of the conveyance sensors is arranged at the center (140-2), and the other two are arranged one by one on both sides of the sheet material at an equal distance from the center sensor 140-2 (140-1). ). By arranging the conveyance sensor 140 on the conveyance downstream side of the conveyance restriction unit 130 in this way, for example, the timing at which the sensor 140-2 detects the sheet material is used as a reference, and two timings provided on both sides. By comparing the timing at which the sensor 140-1 detects the sheet material, it is possible to detect the deviation of the sheet material with respect to the conveyance direction P. Thus, the provision of the three conveyance sensors 140 means that a deviation detection means for detecting a deviation of the sheet material is provided on the conveyance downstream side of the conveyance control unit 130 in the document conveyance path 131. . By providing such misalignment detection sensors 140-1 and 140-2 and detecting misalignment of the sheet material above a certain level, the conveyed sheet material is a normal sheet material or a sheet material with a binding tool. You can judge whether or not. This is also conceivable when the binding-attached sheet material 101 is pushed by the feeding force of the roller A102 and passes through the conveyance restriction unit 130. In such a case, when the binding tool 120 is caught by the conveyance restriction unit 130, the sheet material is largely displaced as compared with the case where the sheet material normally passes. Therefore, it is possible to effectively detect whether or not the sheet material that has passed through the conveyance guide is the sheet material 101 with the binding tool by detecting the deviation of the sheet material that exceeds a certain level. For this purpose, it is desirable to provide the conveyance sensors 140-1 at both ends in the width direction of the sheet material, and to automatically move the conveyance sensors 140-1 to positions suitable for the sheet size of the set sheet material. Is desirable.

このように,前記搬送センサ140を搬送制限部130の搬送下流側に設けることにより,シート材が綴じ具付シート材101であると判断された場合は,例えば記録紙収納部11からの記録紙の給紙動作を中止する機能,或いはADF10による原稿の搬送動作を中止する機能(搬送中止手段の一例)を画像形成装置Aに設けることにより,綴じ具付シート材101がそれ以上搬送されることを防ぐことができ,それによりシート材の損傷及び装置内への綴じ具の混入を防止することができる。
また,不図示の表示操作部に紙詰まり等のジャム(故障)の警告表示等をする場合と同様にして,前記搬送制限部130で綴じ具付きシート材が停止したこと及びその位置を前記表示操作部に表示させることとすれば,操作者は容易に綴じ具付きシート材が検出されたこと及びその位置を認識することができる。また,綴じ具付きシート材が綴じ具付き記録紙である場合は,操作者は表示された検出位置を参照して,記録紙搬送路131aを開放する扉22を開けることにより,綴じ具付き記録紙を容易に取り除くことができる。
また,綴じ具付きシート材が綴じ具付き原稿である場合は,ADF10による搬送中の原稿を搬送方向と逆の方向へ搬送する機能(逆方向搬送手段の一例)を設けてADF10による搬送動作を制御することにより,綴じ具付原稿101を容易に取り出すことが可能となる。
As described above, when the conveyance sensor 140 is provided on the conveyance downstream side of the conveyance restriction unit 130, when it is determined that the sheet material is the sheet material 101 with the binding tool, for example, the recording paper from the recording paper storage unit 11 is used. By providing the image forming apparatus A with the function of canceling the sheet feeding operation or the function of canceling the document transport operation by the ADF 10 (an example of the transport canceling unit), the sheet material 101 with the binding tool is transported further. This can prevent the sheet material from being damaged and the binding tool from being mixed into the apparatus.
Further, in the same manner as when a jam (failure) warning such as a paper jam is displayed on a display operation unit (not shown), the indication that the sheet material with the binding tool has stopped at the conveyance restriction unit 130 and its position are displayed. If displayed on the operation unit, the operator can easily recognize that the sheet material with the binding tool has been detected and its position. When the sheet material with a binding tool is a recording paper with a binding tool, the operator refers to the displayed detection position and opens the door 22 that opens the recording paper conveyance path 131a, thereby recording with the binding tool. Paper can be easily removed.
Further, when the sheet material with a binding tool is a document with a binding tool, a function (an example of a reverse direction transport unit) for transporting a document being transported by the ADF 10 in a direction opposite to the transport direction is provided to perform a transport operation by the ADF 10. By controlling, it becomes possible to easily take out the document 101 with the binding tool.

前記実施の形態では,表側搬送ガイド103の一部が搬送下流方向に向かうにつれて傾斜するよう形成され,表側搬送ガイド103と裏側搬送ガイド104とにより,シート材搬送路131において最も狭い間隔d(d<D)を形成するような搬送制限部130を説明したが,特にこれに限らず,表側搬送ガイド103若しくは裏側搬送ガイド104のどちらか一方,或いは両方の搬送ガイドの一部が,搬送下流方向に向かうにつれて傾斜するよう形成され,前記間隔dを形成するものであってもよい。例えば,裏側搬送ガイドのみが傾斜することにより前記間隔dが形成されてもよく,両搬送ガイドのそれぞれが傾斜することにより前記間隔dが形成されてもよい。
また,前記実施の形態では,記録紙収納部11から画像形成部13に至る記録紙搬送路131aに搬送制限部130が設けられて構成された画像形成装置Aについて説明したが,手差し給紙部から画像形成部13に至る搬送路に上記搬送制限部130が設けられて構成されたものであってもよい。
In the embodiment, a part of the front-side transport guide 103 is formed so as to be inclined toward the transport downstream direction, and the narrowest interval d (d) in the sheet material transport path 131 is formed by the front-side transport guide 103 and the back-side transport guide 104. <D) has been described. However, the present invention is not limited to this. However, one of the front-side transport guide 103 and the back-side transport guide 104, or a part of both transport guides is in the downstream transport direction. It may be formed so as to incline as it goes to form the interval d. For example, the distance d may be formed by inclining only the back side conveyance guide, or the distance d may be formed by inclining each of the both conveyance guides.
In the above-described embodiment, the image forming apparatus A is described in which the conveyance restriction unit 130 is provided in the recording paper conveyance path 131a from the recording paper storage unit 11 to the image forming unit 13. The conveyance restriction unit 130 may be provided on the conveyance path from the image forming unit 13 to the image forming unit 13.

本発明にかかる画像形成装置のシート材搬送路の一部を示す模式断面図。FIG. 3 is a schematic cross-sectional view illustrating a part of a sheet material conveyance path of the image forming apparatus according to the present invention. 本発明にかかる画像形成装置のシート材搬送路に設けられた搬送センサの配置を示す模式図。FIG. 3 is a schematic diagram illustrating an arrangement of conveyance sensors provided in a sheet material conveyance path of the image forming apparatus according to the present invention. 本発明の実施の形態に係る画像形成装置の概略断面図。1 is a schematic cross-sectional view of an image forming apparatus according to an embodiment of the present invention.

符号の説明Explanation of symbols

10…自動原稿搬送装置
11…記録紙収納部
12…両面ユニット
13…画像形成部
13a…感光体ドラム
14…定着装置
15…画像読取装置
16…原稿台
17…原稿トレイ
18…排出ローラ
19…排出口
20…搬送ローラ
21…原稿排出トレイ
22…扉
101…綴じ具付シート材
102…ローラA
102a…記録紙搬送ローラ
102b…原稿給紙ローラ
103…表側搬送ガイド
104…裏側搬送ガイド
105…ローラB
105a…記録紙搬送ローラ
105b…原稿分離ローラ
111…ピックアップローラ
112…記録紙給紙ローラ
113…記録紙搬送ローラ
120…綴じ具
130…搬送制限部
131…シート材搬送路
131a…記録紙搬送路
131b…原稿搬送路
140…搬送センサ
140−1…搬送センサ
140−2…搬送センサ


DESCRIPTION OF SYMBOLS 10 ... Automatic document feeder 11 ... Recording paper storage part 12 ... Duplex unit 13 ... Image forming part 13a ... Photosensitive drum 14 ... Fixing device 15 ... Image reading device 16 ... Document stand 17 ... Document tray 18 ... Ejection roller 19 ... Ejection roller 19 Exit 20 ... Conveying roller 21 ... Document discharge tray 22 ... Door 101 ... Binding sheet material 102 ... Roller A
102a ... Recording paper conveyance roller 102b ... Document feeding roller 103 ... Front side conveyance guide 104 ... Back side conveyance guide 105 ... Roller B
105a ... Recording paper transport roller 105b ... Original separation roller 111 ... Pickup roller 112 ... Recording paper feed roller 113 ... Recording paper transport roller 120 ... Binding tool 130 ... Conveyance limiting unit 131 ... Sheet material transport path 131a ... Recording paper transport path 131b Document transport path 140 Transport sensor 140-1 Transport sensor 140-2 Transport sensor


Claims (7)

一対の搬送ガイドを含んで構成される搬送路を備えた画像形成装置において,前記一対の搬送ガイドが搬送下流方向に向けて狭くなるよう形成され,且つ,前記一対の搬送ガイドの間隔が1枚のシート材が通過し得る幅であって綴じ具が通過し得ない幅に設定されてなることを特徴とする画像形成装置。 In the image forming apparatus provided with the conveyance path including the pair of conveyance guides, the pair of conveyance guides are formed so as to narrow toward the conveyance downstream direction, and the interval between the pair of conveyance guides is one sheet. An image forming apparatus characterized in that the sheet material is set to a width that allows the sheet material to pass therethrough and a binding tool cannot pass through. 前記一対の搬送ガイドが,シート材の重送を防止する分離装置の上流側の搬送路に設けられてなるものである請求項1に記載の画像形成装置。 The image forming apparatus according to claim 1, wherein the pair of conveyance guides are provided in a conveyance path on an upstream side of a separation device that prevents double feeding of sheet materials. 前記一対の搬送ガイドの下流側にシート材の有無を検出するシート材検出手段が更に設けられてなる請求項1又は2に記載の画像形成装置。 The image forming apparatus according to claim 1, further comprising a sheet material detection unit that detects the presence or absence of the sheet material on a downstream side of the pair of conveyance guides. 前記一対の搬送ガイドの下流側にシート材のズレを検出するズレ検出手段が更に設けられてなる請求項1〜3のいずれかに記載の画像形成装置。 The image forming apparatus according to claim 1, further comprising a deviation detecting unit that detects a deviation of the sheet material downstream of the pair of conveyance guides. 前記シート材検出手段或いは前記ズレ検出手段の検出結果に基づいて,シート材の搬送動作を中止する搬送中止手段が更に設けられてなる請求項1〜4のいずれかに記載の画像形成装置。 The image forming apparatus according to claim 1, further comprising a conveyance stopping unit that stops a sheet material conveying operation based on a detection result of the sheet material detection unit or the deviation detection unit. 前記シート材が記録紙であって,前記搬送路が,前記記録紙を所定の記録紙収容部から所定の画像形成部に搬送する記録紙搬送路である請求項1〜5のいずれかに記載の画像形成装置。 6. The recording sheet conveyance path according to claim 1, wherein the sheet material is a recording sheet, and the conveyance path is a recording sheet conveyance path for conveying the recording sheet from a predetermined recording sheet storage unit to a predetermined image forming unit. Image forming apparatus. 前記シート材が原稿であって,前記搬送路が,前記原稿を所定の原稿収容部から所定の原稿読取部に搬送する原稿搬送路である請求項1〜5のいずれかに記載の画像形成装置。 6. The image forming apparatus according to claim 1, wherein the sheet material is a document, and the transport path is a document transport path for transporting the document from a predetermined document storage unit to a predetermined document reading unit. .
JP2003278867A 2003-07-24 2003-07-24 Image forming device Pending JP2005041663A (en)

Priority Applications (1)

Application Number Priority Date Filing Date Title
JP2003278867A JP2005041663A (en) 2003-07-24 2003-07-24 Image forming device

Applications Claiming Priority (1)

Application Number Priority Date Filing Date Title
JP2003278867A JP2005041663A (en) 2003-07-24 2003-07-24 Image forming device

Publications (1)

Publication Number Publication Date
JP2005041663A true JP2005041663A (en) 2005-02-17

Family

ID=34265146

Family Applications (1)

Application Number Title Priority Date Filing Date
JP2003278867A Pending JP2005041663A (en) 2003-07-24 2003-07-24 Image forming device

Country Status (1)

Country Link
JP (1) JP2005041663A (en)

Cited By (1)

* Cited by examiner, † Cited by third party
Publication number Priority date Publication date Assignee Title
US7613406B2 (en) * 2005-04-28 2009-11-03 Canon Kabushiki Kaisha Image forming apparatus that detects a presence of a conductive foreign object on a recording material

Cited By (1)

* Cited by examiner, † Cited by third party
Publication number Priority date Publication date Assignee Title
US7613406B2 (en) * 2005-04-28 2009-11-03 Canon Kabushiki Kaisha Image forming apparatus that detects a presence of a conductive foreign object on a recording material

Similar Documents

Publication Publication Date Title
JP5262504B2 (en) Paper processing system
JP2004026320A (en) Sheet thickness detecting device, sheet processing device provided with the device, and image forming device
EP2455815B1 (en) Printing apparatus
CN102572171A (en) Image forming apparatus and guidance display method in the image forming apparatus
JP2018107566A (en) Image reading apparatus and image reading method
JP2018205432A (en) Image forming apparatus
JP3718655B2 (en) Image forming apparatus
JP5112182B2 (en) Automatic document feeder
JP2005221518A (en) Image forming apparatus
JP2014125322A (en) Paper conveyance device
JPH08119492A (en) Paper feeder
JP2005041663A (en) Image forming device
JP2011073820A (en) Recording device equipped with double feed determining function
JP2009057208A (en) Image forming apparatus
JP2007230681A (en) Paper carrying device and image forming apparatus with same
JP5171526B2 (en) Image forming apparatus
JP2009040606A (en) Image forming apparatus and paper discharge tray
JP2007334077A (en) Image forming apparatus
JP2014149448A (en) Image forming apparatus, image forming system, and image formation control method
JP2010037097A (en) Automatic document feeder and image forming device
JP2008238754A (en) Printer device
JP2006176245A (en) Paper sheet conveyor
JP2008254896A (en) Sheet feeder, document feeder and image forming device
JP4653528B2 (en) Fixing apparatus and image forming apparatus
JP3189436B2 (en) Paper transport device