JP2004209153A - 輸液バッグの口部構造 - Google Patents
輸液バッグの口部構造 Download PDFInfo
- Publication number
- JP2004209153A JP2004209153A JP2003002475A JP2003002475A JP2004209153A JP 2004209153 A JP2004209153 A JP 2004209153A JP 2003002475 A JP2003002475 A JP 2003002475A JP 2003002475 A JP2003002475 A JP 2003002475A JP 2004209153 A JP2004209153 A JP 2004209153A
- Authority
- JP
- Japan
- Prior art keywords
- injection
- passage
- syringe
- infusion bag
- infusion
- Prior art date
- Legal status (The legal status is an assumption and is not a legal conclusion. Google has not performed a legal analysis and makes no representation as to the accuracy of the status listed.)
- Withdrawn
Links
Images
Landscapes
- Medical Preparation Storing Or Oral Administration Devices (AREA)
Abstract
【解決手段】混注用口部に、注射器が連結可能な混注液注入口55と、この混注液注入口55から排出口56を経て容器本体につながる通路Rと、通路Rの途中に設けられる除菌フィルター54と、通路Rの排出口56に装着され、混注液の液圧で開放可能な閉鎖部材58とが備えられ、前記通路Rは、注射器に取り付けられた注射針が除菌フィルター54に到達できないようにクランク形状を有している。
【効果】注射器に注射針を取り付けて混注液注入口55から混注しようとした場合、注射針が除菌フィルター54を突き破って、混注液が除菌フィルター54を通過できなくなるという事態の発生を防止することができる。
【選択図】 図4
【効果】注射器に注射針を取り付けて混注液注入口55から混注しようとした場合、注射針が除菌フィルター54を突き破って、混注液が除菌フィルター54を通過できなくなるという事態の発生を防止することができる。
【選択図】 図4
Description
【0001】
【発明の属する技術分野】
本発明は、点滴注射等に用いられる輸液バッグの混注用口部の構造に関するものである。
【0002】
【従来の技術】
輸液バッグの中の薬液に、他の薬液(例えばビタミン、微量元素)を注入混合(以下「混注」という)して、使用する場合がある。
他の薬液(以下「混注液」という)を混注するには、輸液バッグの口部に注射針を刺して混注する方法が採用されていたが、このような方法では混注操作時に無菌性の確保が困難であった。特に、輸液バッグ内の薬液が栄養補給を目的とした高カロリーの薬液であると、たとえ少量の混入であっても微生物が繁殖してしまうことがある。このような場合、投与後期には大量の微生物が薬液と同時に患者の体内に注入される可能性がある。
【0003】
そこで輸液バッグの口部をゴム栓で密閉し、ゴム栓に刺針可能な刺針部と、この刺針部と一体に成型されたハウジングとを用意し、ハウジングの内部に除菌フィルターを設け、このハウジングに注射器(シリンジ)を取り付けて、その刺針部をゴム栓に押圧して貫通させ、注射器から混注液を注入する構造が提案されている。
【0004】
【特許文献1】特開平9−19480号公報
【0005】
【発明が解決しようとする課題】
しかしながら、前記従来技術では、刺針部がゴム栓を突き刺すことにより、コアリングが発生してしまい、容器内の薬液に異物が混入するおそれがある。また、刺針部をゴム栓に突き刺す構造であるため、輸液バッグの口部が比較的大型になり、さらには部品点数が多いため、コスト高になってしまうという問題がある。
【0006】
そこで、本発明は、混注したい薬液を無菌状態で注入することが可能であり、部品点数が少なくて、小型簡略化された輸液バッグの口部構造を提供することを目的とする。
【0007】
【課題を解決するための手段】
本発明の輸液バッグの口部構造によれば、混注用口部に、注射器が連結可能な混注液注入口と、この混注液注入口から排出口を経て容器本体につながる通路と、通路の途中に設けられる除菌フィルターと、通路の排出口に装着され、混注液の液圧で開放可能な閉鎖部材とが備えられ、前記通路は、注射器に取り付けられた注射針が除菌フィルターに到達できない形状を有しているものである(請求項1)。
【0008】
前記の構成によれば、混注液注入口に注射器を直接連結して混注液を注入すれば、混注液は除菌フィルターを通過し、その液圧で閉鎖部材が開放して、容器本体に注入される。このように、混注液を注射器によって注入して初めて、混注用口部と容器本体内が連通する構成としたので、無菌的な混注操作を確実に行うことができる。
また、注射器に注射針を取り付けて混注液注入口から混注しようとした場合、前記通路が、注射針が除菌フィルターに到達できない形状を有しているので、注射針が除菌フィルターを突き破って混注液が除菌フィルターを通過できなくなるという事態の発生を防止することができる。
【0009】
したがって、取扱者は、誤操作していることに気付き、注射器から注射針を取り外して、混注するようになる。
「注射針が除菌フィルターに到達できない形状」の具体例として、前記通路を、混注用口部内で屈曲又は湾曲させることが考えられる(請求項2)。
また、前記通路を、混注用口部内で屈曲又は湾曲させるとともに、混注液注入口の形成面を斜め又は直角などの向きに形成することも可能である(請求項3)。このような形状にすれば、取扱者は、混注用口部の形を見て注射針を使えないことを直感的に理解できるので、誤操作を未然に防ぐことができる。
【0010】
また前記通路に、注射針の進入を阻止する阻止部材を配置することも考えられる(請求項4)。
さらに、前記通路の長さを、注射針が除菌フィルターに到達できない長さに設定することも可能である(請求項5)。
前記各構成において、混注液注入口にゴム栓を嵌めておけば(請求項6)、注射針を使って混注するときは、ゴム栓に突き刺して混注することができ、注射器のみを使って混注するときは、ゴム栓をはずして混注することができる。したがって、注射器のみを使う方法と、注射針を使う方法の二種類を、取扱者の都合によって自由に選択できる。
【0011】
ゴム栓に、注射器の注出口を差し込むためのスリットが形成されていてもよい(請求項7)。この構造であれば、ゴム栓を取り外さなくても、注射器の注出口をスリットに差し込んで混注することができる。
【0012】
【発明の実施の形態】
以下、本発明の実施の形態を、添付図面を参照しながら詳細に説明する。
図1は、輸液バッグの全体図であり、輸液バッグは、容器本体1と、容器本体1の互いに対向する辺に備えられた混注用口部と、投与用口部とを有している。容器本体1、混注用口部2、投与用口部3は、ともに合成樹脂でできており、混注用口部2と投与用口部3とは、熱溶着などの接着手段によって容器本体1に液密状に接着されている。
【0013】
図2は、混注用口部2の分解断面図である。混注用口部2は、筒状部材4と、筒状部材4に接合される除菌フィルターを内蔵した薬液注入部5とからなる。
筒状部材4は、円筒状の筒体41と、筒体41の上端に形成した大きな直径のフランジ部42とからなる。筒体41は、容器本体1に差し込まれて熱溶着され、フランジ部42には、薬液注入部5の下端面が接合される。
薬液注入部5は、円板状の上蓋51及び下蓋52並びに上蓋51と下蓋52を連結する円周壁53を有している。上蓋51と下蓋52との間に除菌フィルター54を収容可能な内部空間Sを形成している。
【0014】
上蓋51には、混注液を収容した注射器と連結可能な混注液注入口55を設けている。この混注液注入口55は、上に向かって徐々に広がる緩やかなテーパ状に形成され、注射器の先端をここにはめ込んで押圧すると、薬液を漏らさずに除菌フィルター54に送り込むことができるようになっている(図3参照)。
下蓋52には、除菌フィルター54を通過した薬液が通過できる排出口56が設けられている。そして排出口56の周囲には、凸状のリッジ57が円環状に形成されている。この凸状のリッジ57に薬液の排出通路を塞ぐ閉鎖部材58が装着されている。この閉鎖部材58は、例えば合成樹脂フィルムからなり、凸状のリッジ57に溶着されている。この溶着の強さは、注射器で混注液を押入したときに初めて溶着の一部が破れる程度の強さに設定されている。この設定によって、少なくとも混注操作前には、容器本体1内の密閉性が確保され、容器本体1内の薬液を無菌状態に保てる。
【0015】
以下、混注時の操作方法を、図3を用いて説明する。
混注操作時には、混注液を収容した注射器Cを混注液注入口55に密接させ、混注液を注入する。注入通路には、除菌フィルター54が配置されているので、混注液は除菌フィルター54を通過することによって除菌される。除菌された混注液は、閉鎖部材58に達するとその圧力で閉鎖部材58のシールを破り、下蓋52の排出口56から筒状部材4内を通って、容器本体1内に流入し、容器本体1内の薬液と混合する。
【0016】
このように、混注液を注射器Cによって注入して初めて、混注用口部2と容器本体1内が連通する構成としたので、無菌的な混注操作を確実に行うことができる。
ところが、混注時に、注射器Cに注射針を取り付けたまま混注液を混注用口部2から容器本体1に注入するという、誤った操作がなされることが予想される。その場合、注射針が除菌フィルター54を突き破ってしまい、混注液が除菌フィルター54を通過できなくなり、混注液の除菌ができないという問題がある。
【0017】
誤操作を防止するためには、取扱者等への説明が重要となるが、注射器Cから注射針を取り外して注射器Cのみを使用するという形態のほうが変則であるため、このような誤操作を皆無にすることは難しいと思われる。
そこで、本発明では、除菌フィルター54への針刺しが全く起こらないような構造を提案する。
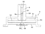
図4(a)は、混注液の通路Rをクランク状に曲げた薬液注入部5の構造を示す断面図である。上蓋51の中央部に、クランク状の通路Rを内部に形成した樹脂ブロック59を設けている。クランク状の通路Rは、樹脂ブロック59の上面に形成された混注液注入口55からつながり、屈曲後、除菌フィルター54が配置された内部空間Sにつながる。下蓋52の構造は、図2を使って前述したのと同様である。
【0018】
この構造であれば、混注装置時、混注液注入口55に注射針を差し込んでも、注射針は、通路Rの直角に曲がった部分に阻止されて、除菌フィルター54まで到達することができない。したがって、除菌フィルター54への針刺しは起こらなくなり、取扱者は誤操作していることに気付く。
図4(b)は、混注液注入口55に注射針を差し込んだときにそのまま混注操作ができるように、薬液注入部5の混注液注入口55にゴムキャップ60を液密状かつ取り外し可能に嵌めた構造を示す断面図である。ゴムキャップ60に注射針を差し込んで注射器Cから混注液を送り込んだ時に、ゴムキャップ60が液圧を受け止めるので、その液圧で閉鎖部材58のシールを破ることができる。したがって、取扱者はゴムキャップ60を取り外して注射器Cから直接混注液を送り込むこともできるし、ゴムキャップ60が取り付けられた状態で注射針を使って混注液を送り込むこともできる。つまり、注射器のみを使う方法と、注射針を使う方法の二種類を、取扱者の都合によって自由に選択できる。
【0019】
図5は、注射器の注出口を差し込むためのスリット62が形成されたゴムキャップ60を示す平面図及び側断面図である。このスリット62は、側断面図に示すようにゴムキャップ60を貫通していないことが好ましい。これにより、容器使用前に、容器内に異物が入るのを防止し、薬液の無菌性を確保することができる。
図6(a)は、ゴムキャップ60のスリット62から注射器Cの注出口を差し込んだ状態を示す側断面図である。 図6(a)に示すように、注射器Cの注出口を差し込むことによって、初めてゴムキャップ60を破って貫通する。そしてこの状態で、注射器Cの中の薬液が混注液注入口を通して容器内に混注される。
【0020】
図6(b)は、ゴムキャップ60に注射針を刺して混注操作をしている状態を示す側断面図である。注射針は、スリット62を避けてゴムキャップ60に刺しているが、スリット62に注射針を刺してもよい。前述したようにスリット62はゴムキャップ60を貫通していないので、注射器Cから混注液を送り込んだ時に、ゴムキャップ60が液圧を受け止めて、その液圧で閉鎖部材58のシールを破ることができる。
【0021】
このように、図5、図6の例では、取扱者はゴムキャップ60を取り外ししなくても、注射器Cから直接混注液を送り込むこともできるし、注射針を使って混注液を送り込むこともできる。つまり、ゴムキャップ60を嵌めた状態で、注射器のみを使う方法と、注射針を使う方法の二種類を、取扱者の都合によって自由に選択できる。
図7は、混注液の通路Rを斜めに曲げた薬液注入部5の構造を示す断面図である。上蓋51の中央部に、斜めの通路Rを形成した樹脂ブロック59を設けている。通路Rは、混注液注入口55からつながり、斜めに折れ曲がって、除菌フィルター54が配置された内部空間につながる。下蓋52の構造は、図2を使って前述したのと同様である。
【0022】
この構造であっても、混注装置時、混注液注入口55に注射針を差し込むと、注射針は、通路Rの折れ曲がった部分に阻止されて、まで到達することができない。したがって、除菌フィルター54への針刺しは起こらなくなり、取扱者は誤操作していることに気付く。
また、この構造においても、図4(b)に示したように、混注液注入口55にゴムキャップを嵌めることが可能である。
【0023】
なお、注射針が除菌フィルター54まで到達することを阻止できればよいので、通路Rを直角又は斜めに折り曲げる構造以外に、通路Rをらせん状に形成する、ジグザグに形成するなどの構造も採用可能である。
図8は、混注液注入口55を横に設け、通路Rを途中で直角に曲げて下方に降ろした薬液注入部5の構造を示す断面図である。上蓋51に、混注液注入口55を横に設け直角通路Rを形成した樹脂ブロック59を形成している。この構造では、混注液注入口55の形成面55aの法線Aが、薬液注入部5の中心線Bに対して角度θ(θ=90°)をなしている。なお、角度θとしては、90°に限定されるものではなく、0°<θ<180°を満たす任意の角度を設定することができる。
【0024】
この構造であれば、混注操作時、横に設けられた混注液注入口55に注射針を差し込んでも、注射針は、通路Rの直角に曲がった部分に阻止されて、除菌フィルター54まで到達することができない。したがって、除菌フィルター54への針刺しは起こらなくなり、取扱者は誤操作していることに気付く。また、取扱者は、薬液注入部5の折れた形を見て注射針を使えないことを直感的に理解できるので、誤操作を未然に防ぐことができる。
【0025】
なお、この構造においても、図4(b)に示したように、混注液注入口55にゴムキャップ60を嵌めることが可能である。
今までに説明した構造は、通路Rを非直線状に形成して注射針の通過を阻止するものであったが、通路Rの途中に注射針の通過を止める阻止部材(ストッパ)を配置する構造も可能である。
図9は、通路Rの途中に注射針の通過を止める阻止部材61を配置した薬液注入部5の構造を示す断面図である。通路Rの途中に段差Raを設けて、そこに阻止部材61を設置している。阻止部材61は、通路Rから外れ落ちないように、通路Rの内壁に溶着しておくとよい。
【0026】
阻止部材61の形状の例を、図10(a),(b)に示す。図10(a)は、通路Rの内径にほぼ等しい直径を持つ円板の周囲を、複数箇所切り欠いた阻止部材61の形状を示す。図10(b)は、メッシュ状の樹脂を、通路Rの内径にほぼ等しい直径に切り取った阻止部材61を示す。いずれも、紙面垂直に進入してくる注射針に当たり、その通過を阻止することができる。なお、阻止部材61の形状は図示したものに限られず、種々の形状が考えられる。
【0027】
なお、この構造においても、図4(b)に示したように、混注液注入口55にゴムキャップを嵌めることが可能である。
つぎに、注射針が除菌フィルター54まで到達できないように、通路Rの長さを長くした例を説明する。
図11は、混注液注入口55から除菌フィルター54までの長さLを長くして、注射針が除菌フィルター54まで到達できないようにした薬液注入部5の構造を示す断面図である。長さLは、混注操作に通常使用される注射針を想定した時に、注射針が除菌フィルター54まで到達できないような長さとする。例えば、通常使用される注射針の長さは、1.5インチ、全長56mmのものであるので、長さLは、56mm以上に設定すればよい。
【0028】
なお、この構造においても、図4(b)に示したように、混注液注入口55にゴムキャップを嵌めることが可能である。
以上で、本発明の実施の形態を説明したが、本発明の実施は、前記の形態に限定されるものではなく、本発明の範囲内で種々の変更を施すことが可能である。
【0029】
【発明の効果】
以上のように本発明によれば、注射器に注射針を取り付けて混注液注入口から混注しようとした場合、混注液の通路が、注射針が除菌フィルターに到達できない形状を有しているので、注射針が除菌フィルターを突き破って混注液が除菌フィルターを通過できなくなるという事態の発生を防止することができる。したがって、取扱者は、誤操作していることに気付き、注射器から注射針を取り外して、正しい方法で混注するようになるので、混注したい薬液を無菌状態で常に注入することが可能となる。
【図面の簡単な説明】
【図1】容器本体1と、容器本体1の互いに対向する辺に備えられた混注用口部2と、投与用口部3とを有する輸液バッグの全体図である。
【図2】混注用口部2の分解断面図である。
【図3】混注時の操作方法を示す断面図である。
【図4】(a)は、混注液の通路Rをクランク状に曲げた薬液注入部5の構造を示す断面図である。(b)は、混注液注入口55に注射針を差し込んだときにそのまま混注操作ができるように、薬液注入部5にゴムキャップ60を液密状かつ取り外し可能に嵌めた構造を示す断面図である。
【図5】注射器の注出口を差し込むためのスリット62が形成されたゴムキャップ60を示す平面図及び側断面図である。
【図6】(a)は、ゴムキャップ60のスリット62から注射器Cの注出口を差し込んだ状態を示す側断面図である。(b)は、ゴムキャップ60に注射針を刺して混注操作をしている状態を示す側断面図である。
【図7】混注液の通路Rを斜めに曲げた薬液注入部5の構造を示す断面図である。
【図8】混注液注入口55を横に設け、通路Rを途中で直角に曲げて下方に降ろした薬液注入部5の構造を示す断面図である。
【図9】通路Rの途中に注射針の通過を止める阻止部材61を配置した薬液注入部5の構造を示す断面図である。
【図10】阻止部材61の具体的形状を示す平面図である。
【図11】混注液注入口55から除菌フィルター54までの長さLを長くして、注射針が除菌フィルター54まで到達できないようにした薬液注入部5の構造を示す断面図である。
【符号の説明】
1 容器本体
2 混注用口部
3 投与用口部
4 筒状部材
5 薬液注入部
51 上蓋
52 下蓋
53 円周壁
54 除菌フィルター
55 混注液注入口56 排出口
57 リッジ
58 閉鎖部材
59 樹脂ブロック
60 ゴムキャップ
61 阻止部材
62 注出口
A 法線
B 中心線
C 注射器
R 通路
S 内部空間
【発明の属する技術分野】
本発明は、点滴注射等に用いられる輸液バッグの混注用口部の構造に関するものである。
【0002】
【従来の技術】
輸液バッグの中の薬液に、他の薬液(例えばビタミン、微量元素)を注入混合(以下「混注」という)して、使用する場合がある。
他の薬液(以下「混注液」という)を混注するには、輸液バッグの口部に注射針を刺して混注する方法が採用されていたが、このような方法では混注操作時に無菌性の確保が困難であった。特に、輸液バッグ内の薬液が栄養補給を目的とした高カロリーの薬液であると、たとえ少量の混入であっても微生物が繁殖してしまうことがある。このような場合、投与後期には大量の微生物が薬液と同時に患者の体内に注入される可能性がある。
【0003】
そこで輸液バッグの口部をゴム栓で密閉し、ゴム栓に刺針可能な刺針部と、この刺針部と一体に成型されたハウジングとを用意し、ハウジングの内部に除菌フィルターを設け、このハウジングに注射器(シリンジ)を取り付けて、その刺針部をゴム栓に押圧して貫通させ、注射器から混注液を注入する構造が提案されている。
【0004】
【特許文献1】特開平9−19480号公報
【0005】
【発明が解決しようとする課題】
しかしながら、前記従来技術では、刺針部がゴム栓を突き刺すことにより、コアリングが発生してしまい、容器内の薬液に異物が混入するおそれがある。また、刺針部をゴム栓に突き刺す構造であるため、輸液バッグの口部が比較的大型になり、さらには部品点数が多いため、コスト高になってしまうという問題がある。
【0006】
そこで、本発明は、混注したい薬液を無菌状態で注入することが可能であり、部品点数が少なくて、小型簡略化された輸液バッグの口部構造を提供することを目的とする。
【0007】
【課題を解決するための手段】
本発明の輸液バッグの口部構造によれば、混注用口部に、注射器が連結可能な混注液注入口と、この混注液注入口から排出口を経て容器本体につながる通路と、通路の途中に設けられる除菌フィルターと、通路の排出口に装着され、混注液の液圧で開放可能な閉鎖部材とが備えられ、前記通路は、注射器に取り付けられた注射針が除菌フィルターに到達できない形状を有しているものである(請求項1)。
【0008】
前記の構成によれば、混注液注入口に注射器を直接連結して混注液を注入すれば、混注液は除菌フィルターを通過し、その液圧で閉鎖部材が開放して、容器本体に注入される。このように、混注液を注射器によって注入して初めて、混注用口部と容器本体内が連通する構成としたので、無菌的な混注操作を確実に行うことができる。
また、注射器に注射針を取り付けて混注液注入口から混注しようとした場合、前記通路が、注射針が除菌フィルターに到達できない形状を有しているので、注射針が除菌フィルターを突き破って混注液が除菌フィルターを通過できなくなるという事態の発生を防止することができる。
【0009】
したがって、取扱者は、誤操作していることに気付き、注射器から注射針を取り外して、混注するようになる。
「注射針が除菌フィルターに到達できない形状」の具体例として、前記通路を、混注用口部内で屈曲又は湾曲させることが考えられる(請求項2)。
また、前記通路を、混注用口部内で屈曲又は湾曲させるとともに、混注液注入口の形成面を斜め又は直角などの向きに形成することも可能である(請求項3)。このような形状にすれば、取扱者は、混注用口部の形を見て注射針を使えないことを直感的に理解できるので、誤操作を未然に防ぐことができる。
【0010】
また前記通路に、注射針の進入を阻止する阻止部材を配置することも考えられる(請求項4)。
さらに、前記通路の長さを、注射針が除菌フィルターに到達できない長さに設定することも可能である(請求項5)。
前記各構成において、混注液注入口にゴム栓を嵌めておけば(請求項6)、注射針を使って混注するときは、ゴム栓に突き刺して混注することができ、注射器のみを使って混注するときは、ゴム栓をはずして混注することができる。したがって、注射器のみを使う方法と、注射針を使う方法の二種類を、取扱者の都合によって自由に選択できる。
【0011】
ゴム栓に、注射器の注出口を差し込むためのスリットが形成されていてもよい(請求項7)。この構造であれば、ゴム栓を取り外さなくても、注射器の注出口をスリットに差し込んで混注することができる。
【0012】
【発明の実施の形態】
以下、本発明の実施の形態を、添付図面を参照しながら詳細に説明する。
図1は、輸液バッグの全体図であり、輸液バッグは、容器本体1と、容器本体1の互いに対向する辺に備えられた混注用口部と、投与用口部とを有している。容器本体1、混注用口部2、投与用口部3は、ともに合成樹脂でできており、混注用口部2と投与用口部3とは、熱溶着などの接着手段によって容器本体1に液密状に接着されている。
【0013】
図2は、混注用口部2の分解断面図である。混注用口部2は、筒状部材4と、筒状部材4に接合される除菌フィルターを内蔵した薬液注入部5とからなる。
筒状部材4は、円筒状の筒体41と、筒体41の上端に形成した大きな直径のフランジ部42とからなる。筒体41は、容器本体1に差し込まれて熱溶着され、フランジ部42には、薬液注入部5の下端面が接合される。
薬液注入部5は、円板状の上蓋51及び下蓋52並びに上蓋51と下蓋52を連結する円周壁53を有している。上蓋51と下蓋52との間に除菌フィルター54を収容可能な内部空間Sを形成している。
【0014】
上蓋51には、混注液を収容した注射器と連結可能な混注液注入口55を設けている。この混注液注入口55は、上に向かって徐々に広がる緩やかなテーパ状に形成され、注射器の先端をここにはめ込んで押圧すると、薬液を漏らさずに除菌フィルター54に送り込むことができるようになっている(図3参照)。
下蓋52には、除菌フィルター54を通過した薬液が通過できる排出口56が設けられている。そして排出口56の周囲には、凸状のリッジ57が円環状に形成されている。この凸状のリッジ57に薬液の排出通路を塞ぐ閉鎖部材58が装着されている。この閉鎖部材58は、例えば合成樹脂フィルムからなり、凸状のリッジ57に溶着されている。この溶着の強さは、注射器で混注液を押入したときに初めて溶着の一部が破れる程度の強さに設定されている。この設定によって、少なくとも混注操作前には、容器本体1内の密閉性が確保され、容器本体1内の薬液を無菌状態に保てる。
【0015】
以下、混注時の操作方法を、図3を用いて説明する。
混注操作時には、混注液を収容した注射器Cを混注液注入口55に密接させ、混注液を注入する。注入通路には、除菌フィルター54が配置されているので、混注液は除菌フィルター54を通過することによって除菌される。除菌された混注液は、閉鎖部材58に達するとその圧力で閉鎖部材58のシールを破り、下蓋52の排出口56から筒状部材4内を通って、容器本体1内に流入し、容器本体1内の薬液と混合する。
【0016】
このように、混注液を注射器Cによって注入して初めて、混注用口部2と容器本体1内が連通する構成としたので、無菌的な混注操作を確実に行うことができる。
ところが、混注時に、注射器Cに注射針を取り付けたまま混注液を混注用口部2から容器本体1に注入するという、誤った操作がなされることが予想される。その場合、注射針が除菌フィルター54を突き破ってしまい、混注液が除菌フィルター54を通過できなくなり、混注液の除菌ができないという問題がある。
【0017】
誤操作を防止するためには、取扱者等への説明が重要となるが、注射器Cから注射針を取り外して注射器Cのみを使用するという形態のほうが変則であるため、このような誤操作を皆無にすることは難しいと思われる。
そこで、本発明では、除菌フィルター54への針刺しが全く起こらないような構造を提案する。
図4(a)は、混注液の通路Rをクランク状に曲げた薬液注入部5の構造を示す断面図である。上蓋51の中央部に、クランク状の通路Rを内部に形成した樹脂ブロック59を設けている。クランク状の通路Rは、樹脂ブロック59の上面に形成された混注液注入口55からつながり、屈曲後、除菌フィルター54が配置された内部空間Sにつながる。下蓋52の構造は、図2を使って前述したのと同様である。
【0018】
この構造であれば、混注装置時、混注液注入口55に注射針を差し込んでも、注射針は、通路Rの直角に曲がった部分に阻止されて、除菌フィルター54まで到達することができない。したがって、除菌フィルター54への針刺しは起こらなくなり、取扱者は誤操作していることに気付く。
図4(b)は、混注液注入口55に注射針を差し込んだときにそのまま混注操作ができるように、薬液注入部5の混注液注入口55にゴムキャップ60を液密状かつ取り外し可能に嵌めた構造を示す断面図である。ゴムキャップ60に注射針を差し込んで注射器Cから混注液を送り込んだ時に、ゴムキャップ60が液圧を受け止めるので、その液圧で閉鎖部材58のシールを破ることができる。したがって、取扱者はゴムキャップ60を取り外して注射器Cから直接混注液を送り込むこともできるし、ゴムキャップ60が取り付けられた状態で注射針を使って混注液を送り込むこともできる。つまり、注射器のみを使う方法と、注射針を使う方法の二種類を、取扱者の都合によって自由に選択できる。
【0019】
図5は、注射器の注出口を差し込むためのスリット62が形成されたゴムキャップ60を示す平面図及び側断面図である。このスリット62は、側断面図に示すようにゴムキャップ60を貫通していないことが好ましい。これにより、容器使用前に、容器内に異物が入るのを防止し、薬液の無菌性を確保することができる。
図6(a)は、ゴムキャップ60のスリット62から注射器Cの注出口を差し込んだ状態を示す側断面図である。 図6(a)に示すように、注射器Cの注出口を差し込むことによって、初めてゴムキャップ60を破って貫通する。そしてこの状態で、注射器Cの中の薬液が混注液注入口を通して容器内に混注される。
【0020】
図6(b)は、ゴムキャップ60に注射針を刺して混注操作をしている状態を示す側断面図である。注射針は、スリット62を避けてゴムキャップ60に刺しているが、スリット62に注射針を刺してもよい。前述したようにスリット62はゴムキャップ60を貫通していないので、注射器Cから混注液を送り込んだ時に、ゴムキャップ60が液圧を受け止めて、その液圧で閉鎖部材58のシールを破ることができる。
【0021】
このように、図5、図6の例では、取扱者はゴムキャップ60を取り外ししなくても、注射器Cから直接混注液を送り込むこともできるし、注射針を使って混注液を送り込むこともできる。つまり、ゴムキャップ60を嵌めた状態で、注射器のみを使う方法と、注射針を使う方法の二種類を、取扱者の都合によって自由に選択できる。
図7は、混注液の通路Rを斜めに曲げた薬液注入部5の構造を示す断面図である。上蓋51の中央部に、斜めの通路Rを形成した樹脂ブロック59を設けている。通路Rは、混注液注入口55からつながり、斜めに折れ曲がって、除菌フィルター54が配置された内部空間につながる。下蓋52の構造は、図2を使って前述したのと同様である。
【0022】
この構造であっても、混注装置時、混注液注入口55に注射針を差し込むと、注射針は、通路Rの折れ曲がった部分に阻止されて、まで到達することができない。したがって、除菌フィルター54への針刺しは起こらなくなり、取扱者は誤操作していることに気付く。
また、この構造においても、図4(b)に示したように、混注液注入口55にゴムキャップを嵌めることが可能である。
【0023】
なお、注射針が除菌フィルター54まで到達することを阻止できればよいので、通路Rを直角又は斜めに折り曲げる構造以外に、通路Rをらせん状に形成する、ジグザグに形成するなどの構造も採用可能である。
図8は、混注液注入口55を横に設け、通路Rを途中で直角に曲げて下方に降ろした薬液注入部5の構造を示す断面図である。上蓋51に、混注液注入口55を横に設け直角通路Rを形成した樹脂ブロック59を形成している。この構造では、混注液注入口55の形成面55aの法線Aが、薬液注入部5の中心線Bに対して角度θ(θ=90°)をなしている。なお、角度θとしては、90°に限定されるものではなく、0°<θ<180°を満たす任意の角度を設定することができる。
【0024】
この構造であれば、混注操作時、横に設けられた混注液注入口55に注射針を差し込んでも、注射針は、通路Rの直角に曲がった部分に阻止されて、除菌フィルター54まで到達することができない。したがって、除菌フィルター54への針刺しは起こらなくなり、取扱者は誤操作していることに気付く。また、取扱者は、薬液注入部5の折れた形を見て注射針を使えないことを直感的に理解できるので、誤操作を未然に防ぐことができる。
【0025】
なお、この構造においても、図4(b)に示したように、混注液注入口55にゴムキャップ60を嵌めることが可能である。
今までに説明した構造は、通路Rを非直線状に形成して注射針の通過を阻止するものであったが、通路Rの途中に注射針の通過を止める阻止部材(ストッパ)を配置する構造も可能である。
図9は、通路Rの途中に注射針の通過を止める阻止部材61を配置した薬液注入部5の構造を示す断面図である。通路Rの途中に段差Raを設けて、そこに阻止部材61を設置している。阻止部材61は、通路Rから外れ落ちないように、通路Rの内壁に溶着しておくとよい。
【0026】
阻止部材61の形状の例を、図10(a),(b)に示す。図10(a)は、通路Rの内径にほぼ等しい直径を持つ円板の周囲を、複数箇所切り欠いた阻止部材61の形状を示す。図10(b)は、メッシュ状の樹脂を、通路Rの内径にほぼ等しい直径に切り取った阻止部材61を示す。いずれも、紙面垂直に進入してくる注射針に当たり、その通過を阻止することができる。なお、阻止部材61の形状は図示したものに限られず、種々の形状が考えられる。
【0027】
なお、この構造においても、図4(b)に示したように、混注液注入口55にゴムキャップを嵌めることが可能である。
つぎに、注射針が除菌フィルター54まで到達できないように、通路Rの長さを長くした例を説明する。
図11は、混注液注入口55から除菌フィルター54までの長さLを長くして、注射針が除菌フィルター54まで到達できないようにした薬液注入部5の構造を示す断面図である。長さLは、混注操作に通常使用される注射針を想定した時に、注射針が除菌フィルター54まで到達できないような長さとする。例えば、通常使用される注射針の長さは、1.5インチ、全長56mmのものであるので、長さLは、56mm以上に設定すればよい。
【0028】
なお、この構造においても、図4(b)に示したように、混注液注入口55にゴムキャップを嵌めることが可能である。
以上で、本発明の実施の形態を説明したが、本発明の実施は、前記の形態に限定されるものではなく、本発明の範囲内で種々の変更を施すことが可能である。
【0029】
【発明の効果】
以上のように本発明によれば、注射器に注射針を取り付けて混注液注入口から混注しようとした場合、混注液の通路が、注射針が除菌フィルターに到達できない形状を有しているので、注射針が除菌フィルターを突き破って混注液が除菌フィルターを通過できなくなるという事態の発生を防止することができる。したがって、取扱者は、誤操作していることに気付き、注射器から注射針を取り外して、正しい方法で混注するようになるので、混注したい薬液を無菌状態で常に注入することが可能となる。
【図面の簡単な説明】
【図1】容器本体1と、容器本体1の互いに対向する辺に備えられた混注用口部2と、投与用口部3とを有する輸液バッグの全体図である。
【図2】混注用口部2の分解断面図である。
【図3】混注時の操作方法を示す断面図である。
【図4】(a)は、混注液の通路Rをクランク状に曲げた薬液注入部5の構造を示す断面図である。(b)は、混注液注入口55に注射針を差し込んだときにそのまま混注操作ができるように、薬液注入部5にゴムキャップ60を液密状かつ取り外し可能に嵌めた構造を示す断面図である。
【図5】注射器の注出口を差し込むためのスリット62が形成されたゴムキャップ60を示す平面図及び側断面図である。
【図6】(a)は、ゴムキャップ60のスリット62から注射器Cの注出口を差し込んだ状態を示す側断面図である。(b)は、ゴムキャップ60に注射針を刺して混注操作をしている状態を示す側断面図である。
【図7】混注液の通路Rを斜めに曲げた薬液注入部5の構造を示す断面図である。
【図8】混注液注入口55を横に設け、通路Rを途中で直角に曲げて下方に降ろした薬液注入部5の構造を示す断面図である。
【図9】通路Rの途中に注射針の通過を止める阻止部材61を配置した薬液注入部5の構造を示す断面図である。
【図10】阻止部材61の具体的形状を示す平面図である。
【図11】混注液注入口55から除菌フィルター54までの長さLを長くして、注射針が除菌フィルター54まで到達できないようにした薬液注入部5の構造を示す断面図である。
【符号の説明】
1 容器本体
2 混注用口部
3 投与用口部
4 筒状部材
5 薬液注入部
51 上蓋
52 下蓋
53 円周壁
54 除菌フィルター
55 混注液注入口56 排出口
57 リッジ
58 閉鎖部材
59 樹脂ブロック
60 ゴムキャップ
61 阻止部材
62 注出口
A 法線
B 中心線
C 注射器
R 通路
S 内部空間
Claims (7)
- 薬液が充填された輸液バッグの容器本体に混注用口部と、投与用口部とが設置されてなる輸液バッグにおいて、
前記混注用口部には、注射器が連結可能な混注液注入口と、この混注液注入口から排出口を経て容器本体につながる通路と、通路の途中に設けられる除菌フィルターと、通路の排出口に装着され、注射器の液圧で開放可能な閉鎖部材とが備えられ、
前記通路は、注射器に取り付けられた注射針が除菌フィルターに到達できない形状を有していることを特徴とする輸液バッグの口部構造。 - 前記通路は、混注用口部内で屈曲又は湾曲していることを特徴とする請求項1記載の輸液バッグの口部構造。
- 混注液注入口の形成面の法線が、混注用口部の一部を構成する、輸液バッグの容器本体に挿入される筒状部材の中心線に対して角度θ(0°<θ<180°)をなしていることを特徴とする請求項2記載の輸液バッグの口部構造。
- 前記通路に、注射針の進入を阻止する阻止部材が配置されていることを特徴とする請求項1記載の輸液バッグの口部構造。
- 前記通路の長さが、注射針が除菌フィルターに到達できない長さに設定されていることを特徴とする請求項1記載の輸液バッグの口部構造。
- 前記混注液注入口にゴム栓が嵌められていることを特徴とする請求項1〜請求項5のいずれかに記載の輸液バッグの口部構造。
- ゴム栓に、注射器の注出口を差し込むためのスリットが形成されていることを特徴とする請求項6記載の輸液バッグの口部構造。
Priority Applications (1)
| Application Number | Priority Date | Filing Date | Title |
|---|---|---|---|
| JP2003002475A JP2004209153A (ja) | 2003-01-08 | 2003-01-08 | 輸液バッグの口部構造 |
Applications Claiming Priority (1)
| Application Number | Priority Date | Filing Date | Title |
|---|---|---|---|
| JP2003002475A JP2004209153A (ja) | 2003-01-08 | 2003-01-08 | 輸液バッグの口部構造 |
Publications (1)
| Publication Number | Publication Date |
|---|---|
| JP2004209153A true JP2004209153A (ja) | 2004-07-29 |
Family
ID=32820206
Family Applications (1)
| Application Number | Title | Priority Date | Filing Date |
|---|---|---|---|
| JP2003002475A Withdrawn JP2004209153A (ja) | 2003-01-08 | 2003-01-08 | 輸液バッグの口部構造 |
Country Status (1)
| Country | Link |
|---|---|
| JP (1) | JP2004209153A (ja) |
Cited By (1)
| Publication number | Priority date | Publication date | Assignee | Title |
|---|---|---|---|---|
| US8433990B2 (en) | 2007-05-28 | 2013-04-30 | Advantest Corporation | Semiconductor test apparatus and test method |
-
2003
- 2003-01-08 JP JP2003002475A patent/JP2004209153A/ja not_active Withdrawn
Cited By (1)
| Publication number | Priority date | Publication date | Assignee | Title |
|---|---|---|---|---|
| US8433990B2 (en) | 2007-05-28 | 2013-04-30 | Advantest Corporation | Semiconductor test apparatus and test method |
Similar Documents
| Publication | Publication Date | Title |
|---|---|---|
| CN102164628B (zh) | 具有膜片的、用于将注射器连接到容器或胶管线上的连接器 | |
| JP4370552B2 (ja) | 薬液注入ポート | |
| CN100577234C (zh) | 用于容纳有医用液体的包装的连接器及用于医用液体的包装 | |
| KR20110019800A (ko) | 약화사고 방지를 위한 주사액 제조용 안전소켓 및 수액 키트 | |
| CN100515380C (zh) | 药液容器用栓体 | |
| WO2007114157A1 (ja) | 連通部材、およびそれを用いた医療用容器、並びに輸液調剤用具セット | |
| JP5802220B2 (ja) | 医療用液体を収容する容器用のクロージャーキャップ、及び容器 | |
| JPS59163165A (ja) | 容器 | |
| JP3820889B2 (ja) | 輸液容器 | |
| KR101079144B1 (ko) | 약화사고 방지를 위한 주사액 혼합용 안전 소켓 및 이를 포함하는 수액 키트 | |
| CN102458341B (zh) | 盖子及使用其的营养剂用容器 | |
| US20240375831A1 (en) | Valve, method of manufacturing a valve, cap for a fluid container comprising such valve, fluid container comprising such cap, and method for manufacturing such cap | |
| KR20110003950A (ko) | 약화사고 방지를 위한 주사액 혼합용 안전 소켓 및 이를 포함하는 수액 키트 | |
| JP4013248B2 (ja) | 混注具 | |
| KR101095960B1 (ko) | 개봉 즉시 주사가능한 주사액 공급 키트와 안전 수액 세트 | |
| JP2004209153A (ja) | 輸液バッグの口部構造 | |
| KR102593071B1 (ko) | 의료 용기용 커넥터 | |
| US20240216223A1 (en) | Cap for a fluid container, fluid container comprising such cap and method for manufacturing such cap | |
| JP2004033360A (ja) | 注入用注射器接続ポート | |
| CN108186347A (zh) | 静脉治疗装置 | |
| JP2004130022A (ja) | 口部材及びそれを用いた薬液収容容器 | |
| JPH0956779A (ja) | 医療用容器の口部構造 | |
| HK1089080B (en) | Connector for medical liquid-containing packages and medical liquid-containing packages | |
| HK1161154B (en) | Connector having a membrane, for connecting a syringe to a container or tubing |
Legal Events
| Date | Code | Title | Description |
|---|---|---|---|
| A621 | Written request for application examination |
Free format text: JAPANESE INTERMEDIATE CODE: A621 Effective date: 20050509 |
|
| A761 | Written withdrawal of application |
Free format text: JAPANESE INTERMEDIATE CODE: A761 Effective date: 20070703 |