JP2004181069A - コンピュータ断層撮影装置 - Google Patents

コンピュータ断層撮影装置 Download PDF

Info

Publication number
JP2004181069A
JP2004181069A JP2002353873A JP2002353873A JP2004181069A JP 2004181069 A JP2004181069 A JP 2004181069A JP 2002353873 A JP2002353873 A JP 2002353873A JP 2002353873 A JP2002353873 A JP 2002353873A JP 2004181069 A JP2004181069 A JP 2004181069A
Authority
JP
Japan
Prior art keywords
radiation
slices
pitch
imaging
slice
Prior art date
Legal status (The legal status is an assumption and is not a legal conclusion. Google has not performed a legal analysis and makes no representation as to the accuracy of the status listed.)
Granted
Application number
JP2002353873A
Other languages
English (en)
Other versions
JP4490627B2 (ja
Inventor
Tatsuro Suzuki
達郎 鈴木
Shigeo Kaminaga
茂生 神長
Current Assignee (The listed assignees may be inaccurate. Google has not performed a legal analysis and makes no representation or warranty as to the accuracy of the list.)
Toshiba Corp
Original Assignee
Toshiba Corp
Priority date (The priority date is an assumption and is not a legal conclusion. Google has not performed a legal analysis and makes no representation as to the accuracy of the date listed.)
Filing date
Publication date
Application filed by Toshiba Corp filed Critical Toshiba Corp
Priority to JP2002353873A priority Critical patent/JP4490627B2/ja
Priority to US10/330,049 priority patent/US7103134B2/en
Publication of JP2004181069A publication Critical patent/JP2004181069A/ja
Application granted granted Critical
Publication of JP4490627B2 publication Critical patent/JP4490627B2/ja
Anticipated expiration legal-status Critical
Expired - Lifetime legal-status Critical Current

Links

Images

Landscapes

  • Apparatus For Radiation Diagnosis (AREA)

Abstract

【課題】マルチスライスCT装置を用いてヘリカルスキャンを行うときの撮影計画において、撮影スライス数(検出素子列数)を操作者が計画途中で変更した場合であっても、かかる変更に起因する画質低下を防止でき、再撮影を余儀なくされることに因るX線被爆の増大を回避でき、且つ、操作労力の増大に因る患者スループットの低下を防止できる。
【解決手段】マルチスライスCT装置において、撮影計画作成システム120は、撮影スライスの数の変更に応じてヘリカルスキャンのヘリカルピッチ及びX線管101の管電流の少なくとも一方を自動的に変更する手段(110、115)を備える。この自動変更の機能は、再構成スライス厚(画像厚)の数値を操作者が計画途中で変更した場合にも適用でき、この変更に応答して画像生成ピッチが自動的に変更される。
【選択図】 図1

Description

【0001】
【発明の属する技術分野】
本発明は、被検体の複数の断層像をヘリカルスキャン方式で撮影するマルチスライスのコンピュータ断層撮影装置に係り、とくに、このコンピュータ断層撮影装置に対して操作者が行う撮影(検査)計画のためのインターフェースに関する。
【0002】
【従来の技術】
コンピュータ断層撮影装置として、X線コンピュータ断層撮影装置(以下、X線CT装置と呼ぶ)がある。このX線CT装置は、比較的旧くから医療診断用或いは各種の研究用に用いられており、歴史的にも大きな変遷を重ねている。
【0003】
初期の頃には、シングルスライスX線CT装置が用いられていた。このシングルスライスX線CT装置の場合、被検体のある一つのスライスの画像を得るものであるため、短時間に広い範囲の画像を撮影することは難しく、医師等から単位時間に、より高精細(高解像度)且つ広範囲に画像を撮影したいという強い要望が出されていた。
【0004】
この要望に応えるために、近年、マルチスライスX線CT装置が開発され、かなり普及している。このマルチスライスX線CT装置は、シングルスライスX線CT装置で用いられている検出器の列(1列)を、その列に直交する方向に複数列並べて、全体でMチャンネル×Nセグメント(M,Nは正の整数)の検出素子を有する構造の2次元検出器を用いる。マルチスライスX線CT装置は、スライス方向に広がり幅を有するファンビームX線を曝射するX線源と、上述した2次元検出器とを有しており、円錐状のX線ビーム(有効視野直径FOV)に基づいて被検体を透過したX線を2次元検出器で検出することにより、当該被検体のマルチスライスの投影データを一度に収集できる。このため、マルチスライスX線CT装置は、シングルスライスX線CT装置に比べて、高精細且つ広範囲な画像を収集することができる。
【0005】
このマルチスライスX線CT装置には、8列以上の多列化が進んだ検出器列を有するものがある。このような多列化されたX線CT装置は、例えば、4列の検出器列を用いたヘリカルスキャン及び8列の検出器列を用いたヘリカルスキャンなど、複数種のヘリカルスキャンに対応していることが多い。
【0006】
この場合、当然に、操作者は事前の撮影計画において「撮影スライス幅」を選択でるようになっている。この撮影スライス幅は、「撮影スライスの数×スライス厚」で定義される。撮影スライスはスキャンスライスとも呼ばれる。スライス厚は、回転中心位置でのスライス方向の厚さで定義され、例えば0.5mm、1mm、2mm、3mm、4mmなど、複数種の中から所望の値を選択できる。
【0007】
なお、撮影スライスの数は、指定されたスライス厚(例えば0.5mm)に対応するスライス方向厚(例えば0.5mm)を有する検出素子列の数に相当する。
【0008】
なお、検出器について「4列を用いる」又は「8列を用いる」とは、図16又は図17に示すように、X線管100から曝射されたプリコリメータ101でX線ビームを絞り、X線検出器102の4列以上又は8列以上の検出器列のうち、4列分又は8列分の検出器列にのみX線を照射してデータを収集し、その4列分又は8列分の収集データを用いたヘリカル再構成を行う、ことを意味する。
【0009】
ところで、従来、操作者による操作の効率を上げてルーチン検査の効率化を図ろうとするX線CT装置が例えば特許文献1で提案されている。この文献記載の技術によれば、操作者は撮影モード及び撮影部位を指定するだけでよく、この撮影モード及び撮影部位に応じてルーチン検査の流れが装置側で自動的にプログラミングされ、このプログラミングされたルーチン検査の諸機能が順次実行される。これにより、操作者は、1回のキー操作/ボタン操作によりルーチン検査を実行できる、操作効率を上げることができる。
【0010】
具体的には、プログラミング化により、例えば、検査開始の音声合図から始まって、スキャノ撮影、スキャン計画(撮影計画)、寝台位置設定、スキャン、追加スキャン、造影剤設定、画像転送、自動フィルム撮影、及び検査終了の音声合図までを一連のルーチンとして検査でき、操作性の向上が図られる。
【0011】
【特許文献1】
特開平5−68680号公報
【0012】
【発明が解決しようとする課題】
しかしながら、従来のマルチスライスCT装置を用いたヘリカルスキャンのための撮影計画にあっては、以下に示すような不都合があった。
【0013】
例えば、図18に示すように、撮影計画において、操作者が一旦、ヘリカルスキャンに用いるスライス数(検出素子列数)=8(8列)に且つヘリカルピッチ=7にそれぞれ設定したとする。なお、ヘリカルピッチとは、少なくとも本発明に関しては、「X線源及び検出器の対と被検体との間の相対的な1回転の間に回転軸方向に移動させる、指定スライス厚の検出列の1列に相当する収集スライス厚の何列分に相当するのかを示す距離」をいう。
【0014】
しかし、この撮影前に、撮影に対する要求(画質、撮影速度など)が変わる等の種々の理由から、途中でスライス数(検出素子列数)=4(4列)に変更したとする。この場合、操作者はヘリカルピッチの変更を忘れることもある。かかる変更を忘れた場合、撮影は、図19に模式的に示すように、スライス数(検出素子列数)=4(4列)に且つヘリカルピッチ=7で実行されてしまう。この結果、当然のことながら、再構成されたスライス像には非常にアーチファクトが多く、臨床上、殆ど有効な断層像にならない可能性がある。
【0015】
そのような場合、再撮影を行う必要があるが、そのようにすると被検体は余分なX線被曝を受けてしまうことになる。
【0016】
このようなスライス数とヘリカルピッチの関係は一例に過ぎない。撮影計画においては、この他にも例えば、一旦、得たい再構成スライス厚(画像厚)を1mmに且つ画像を再構成するピッチ(画像生成ピッチと呼ぶ)を1mmに設定したが(図20参照)、何等かの理由により、再構成スライス厚を0.5mmに変更する場合ある。このときにも、操作者は画像生成ピッチの変更を忘れることが多い。そのような場合、図21に模式的に示すように、再構成スライス厚0.5mmで且つ画像生成ピッチ1mmという、スキャン部位において歯抜け状態の画像生成となる。このため、画像生成が成されないギャップ部分が発生して、この部分の疾患が画像から抜け落ちるという心配もある。
【0017】
したがって、従来のヘリカルスキャンを行うマルチスライスCT装置の撮影計画において、操作者は、撮影スライス数の設定値を変更した場合、これに応じてヘリカルピッチやX線管の管電流を手動で変更し、また、目標の再構成スライス厚を変更した場合に、これに応じて画像生成ピッチを手動で変更しなければならなかった。このため、操作者にそって、かかる手動変更の手間が非常に煩わしい。このため、個々の患者の事情に合わせた確実なX線撮影を行おうとすると、患者スループットの低下を余儀なくされていた。
【0018】
一方、上述した特許文献1に記載のX線CT装置は、撮影開始の合図、スキャノ像の撮影、スキャン計画などの一連のルーチン全体についてその操作性の効率化を図ろうとするものであるから、撮影計画(スキャン計画)においては予め定めた一定のパターン(撮影パラメータの組み合わせパターン)しか指定できないことになる。このため、個々の患者について様々な形態で要求される撮影パラメータを任意に設定(変更)しようとすると、かかるプログラミング化されたルーチン検査のループから抜け出して、例えば全手動又は半手動で個々に設定することを余儀なくされる。したがって、この特許文献1に記載のルーチン検査を以ってしても、前述した、従来のマルチスライスCT装置によるヘリカルスキャン時に生じる問題を解決することはできなかった。
【0019】
本発明は、上述した事情に鑑みてなされたものであり、マルチスライスCT装置を用いてヘリカルスキャンを行うときの撮影計画において、操作者がスライス数(使用する検出素子列数)や得たい再構成スライス厚(画像厚)の数値を計画途中で変更した場合であっても、かかる変更に起因する画質低下を防止でき、再撮影を余儀なくされることに因るX線被爆の増大を回避でき、且つ、操作労力の増大に因る患者スループットの低下を防止できるようにすることを、その目的とする。
【0020】
【課題を解決するための手段】
上記目的を達成するため、本発明に係るコンピュータ断層撮影装置は、その一態様として、放射線を曝射させる放射線源と、この放射線源から曝射され且つ前記被検体を透過した放射線を検出する複数個の検出素子から成る素子列を当該素子列に直交する方向に複数列、配列した2次元の放射線検出器と、前記放射線源及び前記放射線検出器と前記被検体とを互いに相対的に移動可能な移動手段と、前記移動手段を制御して前記被検体を前記放射線によりヘリカルスキャン方式でスキャンするスキャン手段と、を備えるとともに、前記放射線検出器により検出される前記放射線に基づく複数の撮影スライスの数の変更に応じて前記移動手段に拠る前記ヘリカルスキャンのヘリカルピッチ及び前記放射線源の線源電流の少なくとも一方を自動的に変更するピッチ変更手段を備える。
【0021】
また、本発明に係るコンピュータ断層撮影装置は、その別の態様によれば、とくに、放射線検出器により検出される放射線に基づく複数の撮影スライスの数の変更に応答して移動手段に拠るヘリカルスキャンのヘリカルピッチの再確認を求める警報を発する警報手段を備えたことを特徴とする。
【0022】
さらに、本発明に係るコンピュータ断層撮影装置は、その別の態様によれば、画像生成手段により生成される複数の再構成スライスの厚さに応じて、当該複数の再構成スライスのピッチを変更するピッチ変更手段を備えたことを特徴とする。
【0023】
さらに、本発明に係るコンピュータ断層撮影装置は、その別の態様によれば、画像生成手段により生成される複数の再構成スライスの厚さに応答して、当該複数の再構成スライスのピッチの再確認を求める警報を発する警報手段を備えたことを特徴とする。
【0024】
これにより、マルチスライスのヘリカルスキャンを行うときの撮影計画において、操作者がスライス数(使用する検出素子列数)や得たい再構成スライス厚(画像厚)の数値を計画途中で変更した場合であっても、それらのパラメータに関連する他のパラメータが装置側で自動的に変更されたり、また、かかる関連する他のパラメータも変更するように装置側から操作者に警告が出される。したがって、関連する他のパラメータの変更が確実になされたり、その変更忘れが防止可能になる。
【0025】
【発明の実施の形態】
以下、本発明の実施形態を図面を参照して説明する。
【0026】
(第1の実施形態)
第1の実施形態を図1〜11に基づいて説明する。
【0027】
図1には、この実施形態に係る、放射線CT装置としての、X線CT装置の一形態であるマルチスライスCT装置の構成を示している。このマルチスライスCT装置は、本発明に係るマルチスライスのヘリカルスキャンを行うことができるのみならず、コンベンショナルスキャン(シングルスライススキャン及びマルチスライススキャン)をできるようになっている。
【0028】
このマルチスライスCT装置100は、被検体(例えば患者)Pを載置させる図示しない寝台と、被検体Pを挿入して診断を行うための診断用開口部OPを有し、被検体Pの投影データの収集を行う架台Gと、架台G全体の動作を制御するとともに、投影データを収集し、この投影データに基づいて画像再構成処理や画像表示等を行うデータ処理ユニットUとを備えている。
【0029】
寝台は、図示しない寝台駆動部の駆動により、その長手方向にスライド可能な天板を有する。通常、被検体Pは、その体軸方向が長手方向に一致するように載置される。
【0030】
架台Gは、その診断用開口部OPに挿入された被検体Pを挟んで対向配置された放射線源としてのX線管101及び放射線検出器としてのX線検出器103を備えるほか、スイッチ群103a(図3参照)、データ収集回路(DAS)104、非接触のデータ伝送装置105、架台駆動部107、及びスリップリング108を備えている。
【0031】
X線管101、X線検出器103、及びデータ収集装置104は、架台G内で回転可能な回転リング102に設けられており、架台駆動部107からの駆動制御により回転リング102が回転することで、架台3の診断用開口OP内に挿入された被検体Pの体軸方向に平行な回転中心軸の周りに両者が一体で回転可能になっている。回転リング102は、1回転あたり1秒以下という高速速度で回転駆動される。
【0032】
X線管101は、有効視野領域FOV内に載置された被検体Pに対してコーンビーム(四角錐)状又はファンビーム状のX線を発生する。X線管101には、X線の曝射に必要な電力(管電圧、管電流)が高電圧発生装置109からスリップリング108を介して供給される。これにより、X線管101は、回転中心軸に並行なスライス方向及びこのスライス方向に直交するチャンネル方向の2方向に広がる、いわゆるコーンビームX線又はファンビームX線を発生する。通常の診断では、被検体Pが寝台の長手方向に沿って天板に載るので、スライス方向は被検体Pの体軸方向に一致する。
【0033】
なお、架台G内のX線管101と被検体Pとの間には、X線管101のX線焦点から曝射されたコーン状又はファン状のX線ビームを整形し、所要の大きさのX線ビームを形成するためのコリメータ(図示せず)が設けられている。
【0034】
X線検出器103は、被検体Pを透過したX線を検出するデバイスであり、X線検出素子を互いに直交する2方向(スライス方向及びチャンネル方向を成す)それぞれにアレイ状に複数個配列され、これにより2次元のX線検出器を成している。本実施形態では、X線検出器103は、複数(例えば38個)の検出器モジュールから構成され、複数の検出モジュールがチャンネル方向に配列される。
【0035】
図2には、そのうちの1つの検出器モジュール1030の展開図を示している。検出器モジュール1030は、シンチレータと、フォトダイオードからなる複数の検出素子1031,1032を有するフォトダイオードチップとを有している。複数の検出素子1031、1032は、チャンネル方向とスライス方向との2方向に関してマトリクス状に配列される。なお、本実施形態におけるマルチスライスCT装置では、複数の検出器モジュール1030のそれぞれは、平面的ではなく、X線管101の焦点を中心とした1つの円弧に沿って配列される。
【0036】
検出器モジュール1030は、上述したように複数の検出素子1031、1032を有するフォトダイオードチップとともに、スイッチングチップ(スイッチング群103aを成す)、DASチップ(DAS104を成す)を有している。これらフォトダイオードチップ、スイッチングチップ、DASチップは、単一のリジッドなプリント配線板上に実装される。
【0037】
一方の検出素子1031は、スライス方向に関する幅が1.0mmで、チャンネル方向に関する幅が0.5mmの有感域を備えている。他方の検出素子1032は、スライス方向に関する幅が0.5mmで、チャンネル方向に関する幅が0.5mmの有感域を備えている。
【0038】
フォトダイオードの有感域の幅は、X線管の回転中心軸上での換算値として定義される。つまり、「1mmの有感域幅を有するフォトダイオード」とは、「X線管の回転中心軸上で1mmに相当する有感域幅を有するフォトダイオード」を意味している。このため、X線が放射状に拡散することを考慮すると、フォトダイオードの実際の有感域の幅は、X線焦点と回転中心軸との距離に対するX線焦点とフォトダイオードの有感域との実際の距離の比率に従って、1mmより若干広くなる。
【0039】
0.5mm幅の検出素子1032は、スライス方向に例えば16個並べられる。なお、スライス方向に並べられた16個の検出素子1032を、第1の検出素子列群と称する。また、1mm幅の検出素子1031は、スライス方向に関し、第1の検出素子列群の両側それぞれに、検出素子1032の配列個数よりも少ない複数個、例えば12個ずつ並べられる。スライス方向Cに並べられた12個の検出素子1031を、それぞれ第2の検出素子列群と称する。
【0040】
本実施形態では、スライス方向に並べられた検出素子1032の個数(例えば16個)は、その両側それぞれに配置された検出素子1031の個数(例えば12個)よりも多く、そのトータル個数(例えば24個)よりも少なくなるように設計されている。
【0041】
つまり本実施形態では、X線検出器103はチャンネル方向(行方向)に912個、スライス方向(列方向)に40個の検出素子が配列されて成る。尚、本実施形態のX線検出器103は、0.5mm幅の検出素子と1.0mm幅の検出素子により不均等ピッチの2次元検出器を形成しているが、均等サイズの検出素子を行・列方向に配列された2次元検出器でも良く、また検出素子サイズも0.5mm、1.0mmではなく、1.25mm幅の検出素子など本例に限定されることはない。
【0042】
このようなX線検出器103で検出されたM×N(上記の例でいえば、M=24行×38個=912であり、N=40(=16列+2×12列)である。)の全チャンネルに関する膨大なデータ(すなわち、1ビューあたりのM×Nチャンネル分のデータ(2次元投影データ))は、スイッチ群103aを介して、チップ化されているDAS104に一旦集められる。
【0043】
具体的には、X線検出器103の各検出素子により検出されたX線投影データは、スイッチ群103aを介して例えば各チャンネルの検出素子列(40列の検出素子1031、1032)に対して、40列より少ない8列分(912行×8列)のデータ収集素子又は4列分(912行×4列)のデータ収集素子を有するDAS104に送られる。
【0044】
このX線投影データのDAS104へのデータ転送を行うために、スイッチ群103aはホストコントローラ110から制御信号を受けて、X線投影データをスライス方向の列毎に加算して(すなわち、データを列毎に束ねて)所要列数の2次元等価データを生成する。
【0045】
DAS104から出力される2次元投影データは、一括して光通信を応用した非接触データ伝送装置105を介して後述のデータ処理ユニットUに伝送される。尚、ここでは、データ伝送装置として、光通信を応用した非接触データ伝送装置105を例に挙げて説明しているが、スリップリング等の接触データ伝送装置でも良い。
【0046】
X線検出器103による検出動作は、1回転(約1秒)の間に、例えば1000回程度繰り返される。これにより、M×Nチャンネル分の膨大な2次元投影データが1秒(1回転)あたり1000回発生し、この膨大でしかも高速に発生する2次元投影データを時間遅れなく伝送するために、DAS104及び非接触データ伝送装置105の動作は超高速で実行される。
【0047】
図3は、本実施形態における2次元のX線検出器103,スイッチ群103a,及びDAS104の構造を模式的に示す斜視図である。同図に示すように、X線検出器103は、検出素子がアレイ状に並べられており、スイッチ群103aは、例えばスイッチ基板上にFET等のスイッチング素子を実装して構成されている。また、DAS104のデータ収集素子は、X線検出器103の各検出素子と同様にアレイ状に配列されている。
【0048】
DAS104の各データ収集素子は、送られたX線投影データに対して増幅処理やA/D変換処理等を施して被検体Pの16スライス、8スライス、4スライスなど複数スライス分の投影データを収集するようになっている。
【0049】
データ処理ユニットUは、ホストコントローラ110を中心として、データ補正等の前処理を行う前処理装置106、記憶装置111、補助記憶装置112、データ処理装置113、再構成装置114、入力装置115、及び表示装置116がデータ/制御バス116を介して相互に接続されている。さらに、このバス116は外部の画像処理装置200に接続されている。この画像処理装置200は、補助記憶装置201、データ処理装置202、再構成装置203、入力装置204、及び表示装置205を備えている。
【0050】
前処理装置106は、非接触データ伝送装置105より伝送されてきた投影データに感度補正やX線強度補正等を施す。前処理装置106で感度補正やX線強度補正等を受けた360゜分、つまり1000セットの2次元投影データは記憶装置111に一旦記憶される。
【0051】
再構成装置114は、記憶装置111に記憶された投影データにファンビーム再構成方式又はコーンビーム再構成方式の再構成処理を施してスライスの断層像データを生成(再構成)する。
【0052】
コーンビーム再構成方式による再構成処理は、主としてFeldkamp法と呼ばれる再構成アルゴリズムを利用して、投影データの画像再構成を行う。
【0053】
Feldkamp再構成法は、スライス方向に広い対象領域を複数のボクセルの集合体として扱って、X線吸収係数の3次元的分布データ(以下「ボリュームデータ(複数のボクセルデータが立体的(3次元的)に集合したもの)」という。)を発生するために、ファンビーム・コンボリューション・バックプロジェクション法をもとに改良された近似的再構成法である。つまり、Feldkamp再構成法は、データをファン投影データとみなして畳み込み、次いで、回転中心軸に対して実際のコーン角に応じた斜めのレイに沿ってバックプロジェクションを行うものである。
【0054】
コーンビーム再構成方式の再構成処理としては、Feldkamp再構成法を行うとともに、以下のいずれかの補正処理を施せば、再構成処理の誤差を小さくすることができる。
【0055】
第1の補正処理は、X線ビームが再構成面(スライス面)に対して斜めに入っていることによって、X線ビームが被検体の中を通る長さが長くなることに対して補正処理を施すものである。すなわちデータ収集装置で得られた投影データ(前処理などを施しても施さなくても良い)に対して、コーンビームX線における体軸方向の位置に応じて異なるビーム経路長を補正する。
【0056】
第2の補正処理は、実測のX線パスは、X線焦点と再構成処理上規定されるボクセルの中心とを結ぶ計算上のX線パスに対してズレを生じるが、この誤差を補正するものである。すなわち計算上のX線パスの周囲に存在する実際の複数本(例えば4本)のX線パスに沿って実測された投影データに対して所定の計算処理を施し、得られた計算データを、計算上のX線パスに示す直線に沿って逆投影データとし、これを所定の重み付けをして逆投影する。特にヘリカルスキャンの場合は、所望の再構成面とX線焦点とのスライス方向に関する位置関係が変わるので、X線焦点の位置毎(或いはビュー毎)に上記計算処理に使用される検出素子列(のデータ)或いは検出素子列の寄与度を変えるのが望ましい。このようなコーンビーム再構成方式による再構成処理を行えば、スライス方向に広い検出器を有効に活用することができる。
【0057】
一方、ファンビーム再構成方式による再構成は、例えば特開平10−248837号及び同10−21372号公報で知られているように、ファンビーム・コンボリューション・バックプロジェクション法を利用したもので、バックプロジェクションで、X線レイを回転中心軸に対して直交するものと仮定(投影データが体軸方向に垂直方向のX線により得られたと仮定)して、投影データに基づいて画像再構成する。
【0058】
このヘリカル補間とは、所望スライスの再構成に必要な投影データ(360度分又は180度+ファン角度分の投影データ)を、スライス面の近傍で得られる同一位相の投影データを線形補間して得ることを言う。本実施形態では、このヘリカル補間を改良し、ファンビーム再構成方式の場合、データ収集装置113は、所望スライス面の近傍の一定の範囲に所定数のリサンプリング点を仮想的に設定し、各リサンプリング点におけるリサンプリングデータを当該各リサンプリング点を挟む同一位相のデータを線形内挿補間で得て、このリサンプリングデータに対して所定のフィルタによる重み付け加算を行うことで、所望スライスの投影データを生成する。再構成装置114は、生成された投影データに基づいてファンビーム再構成処理により画像を生成する。
【0059】
コーンビーム再構成方式では、データ処理装置113は、ファンビーム再構成方式のようなヘリカル補間は行われないが、上述した第1又は第2の補正処理が適宜実行される。
【0060】
再構成されたボリュームデータは、直接、あるいは記憶装置111に一旦記憶された後、データ処理装置113に送られて、操作者の指示に基づき、既に広く用いられている、任意断面の断層像、任意方向からの投影像、レンダリング処理による特定臓器の3次元表面画像等のいわゆる疑似3次元画像データに変換されて、表示装置116に表示される。
【0061】
操作者は、検査・診断の目的に応じて、上記任意断面の断層像、任意方向からの投影像及び3次元表面画像等の中から任意の表示形態を選択し、設定することが可能である。この場合、一つのボリュームデータから、異なる形態での画像を生成し、表示することになる。また、表示の際には、1種類の画像だけでなく、複数種類の画像を同時に表示するモードも備え、目的に応じて一つの画像を表示するモードとの切り替えが可能であるようになっている。
【0062】
ホストコントローラ110は、例えば以下に述べるような制御を実行して、X線透過データ(投影データ)の収集処理を行う。
【0063】
具体的には、ホストコントローラ110は、操作者から入力装置115を介して入力された情報に基づくスライス厚等のスキャン条件を内部メモリに格納し、この格納されたスキャン条件(あるいは、マニュアルモードにおいて操作者から直接設定されたスキャン条件)に基づいて高電圧発生装置109、寝台駆動部、架台駆動部107、及び寝台の体軸方向への送り量、送り速度、架台(X線管球2014及び放射線検出器103)の回転速度、回転ピッチ、及びX線の曝射タイミング等を制御しながら、当該高電圧発生装置109、寝台駆動部、架台駆動部107を駆動させる。これにより、被検体の所望の撮影領域に対して多方向からコーン状のX線ビームが照射され、被検体の撮影領域を透過した透過X線を、放射線検出器103の各検出素子を介してX線透過データとして検出することができる。
【0064】
同時に、ホストコントローラ110は、入力装置115にて設定されたスキャン条件(特に、撮影スライス幅(撮影スライス厚×スライス数))に基づき、必要に応じて、スイッチ群103aのスイッチング素子のオン/オフを制御する。これにより、X線検出器103の検出素子(フォトダイオード)の列とDAS104のDAS素子列との接続状態がスライス厚に応じて変更される、いわゆるDAS前の信号束ね(列相互の信号の加算加算)が行われる。
【0065】
なお、指令されたスライス厚に応じて、DAS104の収集データを演算により列相互間で加算することもでき、これにより、いわゆるDAS後の信号束ね処理が行われる。このDAS後の信号束ね処理は例えば前処理装置106で実行できる。
【0066】
また、ホストコントローラ110は、上述したスイッチ群103aの接続状態の制御に加え、DAS104におけるデータ収集に使用するスライス方向のDAS列数を切り換える。これにより、スキャン条件や再構成条件に対応した複数スライスのX線投影データがDAS104から出力される。
【0067】
なお、上述したデータ処理ユニットUのうち、ホストコントローラ110、入力装置115、及び表示装置116は、装置側と操作者との間のインタラクティブなインターフェースであり、操作者が実際のスキャン前に撮影計画を立てるときに使用する撮影計画作成システム120としても機能する。
【0068】
この撮影計画作成システム120による撮影計画作成機能には、検査対象部位、スキャンから画像記録までのフロー、データ収集のためのスキャン条件、画像再構成を行うための再構成条件、再構成された画像を表示及び記録するための画像表示・記録条件などの入力及び設定が含まれる。
【0069】
一般に、管電圧、管電流、X線曝射時間等のスキャン条件の最適化、撮影スライス幅(撮影スライス厚×スライス枚数)、マトリクスサイズ等の再構成条件の最適化は、専門的知識を必要とする。その専門的知識をベースとして、経験の浅いまた専門的知識の希薄な操作者であっても同等の条件設定を可能にするために開発された機能が、上述した撮影計画作成機能である。
【0070】
スキャンから画像記録までのフローとしては、天板停止状態におけるスキャンとスキャン後の天板移動を繰り返すコンベンショナルスキャンのフローがあり、設定された全スライス位置のスキャンが終了した後、画像再構成・表示を行うスキャン&スキャンモード、コンベンショナルスキャンにおいて設定スライス位置のスキャンした直後に当該スキャンにより得られたデータに基づく画像再構成・表示を行う動作を全スライス位置において繰り返すスキャン&ビューモード等がある。
【0071】
また、スキャン中に天板が移動するヘリカルスキャンのフローとしては、ヘリカルスキャンに追従して、ファンビーム再構成処理又はコーンビーム再構成処理を行い、予め設定したウインドウ条件でスキャン中にフィルミングされる画像を表示画面上で観察しながらフィルミングするオートフィルミングモード、スキャン中にウインドウ条件を調整する必要がある場合は、フィルミング中にインタラクティブにウインドウの条件変更が可能となり、条件変更中は自動的にフィルミング状態が待機状態になるアクティブオートフィルミングモード、ヘリカルスキャンに追従してリアルタイムに再構成及び画像表示が行われ、スキャン終了後、リアルタイム再構成とは異なるファンビーム再構成又はコーンビーム再構成された画像を観察しながらフィルミングするというリアルタイムモード等がある。
【0072】
ヘリカルスキャン(螺旋スキャン又はスパイラルスキャンとも呼ばれる)とは、第3世代又は第4世代X線CT装置の場合、X線源を連続回転させながら、被写体を移動させるものである。このヘリカルスキャンでは、X線を曝射する動作中に、X線源の回転角度に応じて被検体の位置が連続的に変わる。すなわち、被検体に対する走査平面の位置が連続的に変化する。
【0073】
投影データの収集動作(スキャン動作)には、複数のパラメータが関わっている。同様に、収集した信号から断層像を生成する画像生成動作にも、また再構成した断層像を表示する画像表示動作にも、それぞれ複数のパラメータが関わっている。
【0074】
スキャン条件(信号収集パラメータ)としては、撮影部位(全身、頭部、胸部、肺野、下肢等)、スキャンタイプ(コンベンショナルスキャンか(マルチスライススキャンか又はシングルスライススキャンか)又はヘリカルスキャンか)、撮影スライス厚、スライス間隔、マルチスライススキャンの場合に使用するスライス数(すなわち、同時に使用する検出素子列の数)、ボリュームサイズ、ガントリ傾斜角度、管電圧、管電流、撮影領域サイズ、スキャンスピード(X線管と検出器の回転速度)、X線管及びX線検出器が被検体の周りを1回転する間に移動する寝台の移動量(ヘリカルピッチ)、寝台移動量等がある。
【0075】
再構成条件(再構成パラメータ)としては、再構成方式(ファンビーム再構成方式/コーンビーム再構成方式)、得たい再構成スライスの厚さ(画像厚)、画像を生成するピッチ(画像生成ピッチ)、再構成領域サイズ、再構成マトリクスサイズ、関心部位を抽出するためのしきい値等がある。
【0076】
さらに画像表示・記録条件(画像表示・記録パラメータ)としては、ウインドウレベル、ウインドウ幅、表示倍率、マルチプラナー(サジタル/コロナル/オブリーク)がある。
【0077】
本実施形態において、ヘリカルスキャン方式でマルチスライス撮影を行う場合、操作者が撮影計画作成システム120(ホストコントローラ110、入力装置115、及び表示装置116)との間でインタラクティブに撮影計画を立てている間に、あるパラメータを変更した場合、これに関連する他のパラメータが自動的に変更されるというアシストを得ることができる。つまり、所望のスライス数(すなわち、使用する検出素子列の数)を撮影計画中に変更した場合、これに応じて関連するヘリカルピッチ及び管電流のうちの少なくとも一方が自動的に適性値に変更される。この自動変更の処理は後述される。
【0078】
信号収集から画像生成を経て最終的に画像表示するまでの一連の検査シーケンスを完遂するためには、上述したスキャン条件、再構成条件、画像表示・記録条件をそれぞれ設定することが要求される。これらの条件(パラメータ)の設定、信号収集、再構成、画像表示、及び画像記録までのフローはプランと総称される。そこで、撮影計画を立てるときの操作者にとっての設定作業の便宜を考慮して、スキャン条件、再構成条件、及び画像表示・記録条件までを含めてプランとして予め登録しておくことができる。プランを選択することにより、簡単に上述の一連のシーケンス全体を実行することができる。
【0079】
この撮影計画作成システム120の支援のもとで、操作者は、検査対象部位、スキャンから画像記録までのフロー、スキャン条件、再構成条件、画像表示・記録条件を含む撮影計画(スケジュール)の設定を行う。設定されたスケジュールに従ってホストコントローラ110は架台及び寝台を制御し、そのスケジュールを順次実行する。
【0080】
図4には、撮影スケジュール設定画面の例を示している。ここでは、撮影スケジュール設定画面として、スキャンスケジュールを設定するための画面を示している。撮影スケジュール設定画面は、表示装置116の画面上に表示されるが、入力装置115のモニタ画面に表示されるようにしてもよい。
【0081】
この撮影スケジュール設定画面の右上欄には、X線管とX線検出器を固定した状態で天板を移動することにより得られたデータに基づいて作成されたスキャノグラムが表示される。このスキャノグラム上にスキャン範囲を設定するための枠線が表示される。この枠線を拡大/縮小、移動、回転操作することにより、全スキャンエリア(スキャンしたい全範囲)を設定することができる。
【0082】
また、撮影スケジュール設定画面の上欄の中央部には被検体(患者)情報欄が、さらにはその左欄にはデータ収集後の処理設定欄が表示される。
【0083】
さらに、これらの被検体情報欄及び処理設定欄の下側には、操作者が必要に応じて操作する各種のボタンが表示されている。このボタンには、被曝線量、スキャン時間、スキャンと再構成のトータル時間、画質、及び管球OLP(X線管のオーバー・ロード・プロテクション)を優先指令するためのボタンB1〜B5、及び、操作者の意思確認を行うための確認ボタンCがある。
【0084】
さらに、この設定画面の下欄には、スキャンスケジュール表が表示される。このスキャンスケジュール表には、予定する複数のスキャンオペレーション1,2がその時系列順に縦に配列されている。操作者は、スキャンオペレーションの新規(追加)、複写、消去の各機能を使って所望するスキャンオペレーションを所望順に配列していく。
【0085】
各スキャンオペレーションの行には、操作者がトリガボタンを押した任意時刻を起点とした各スキャンオペレーションの開始時間、スキャンオペレーション間の休止時間、スキャンオペレーション各々のスキャンの範囲(開始/終了位置)、スキャンモード(コンベンショナルスキャン(マルチスライススキャン、シングルスライススキャン)/ヘリカルスキャン)、ヘリカルピッチ、及びメインボタンが配列されている。メインパラメータには、スキャンオペレーションの回数、高電圧発生装置からX線管101へ供給される管電圧、管電流、スキャン速度(スキャントータル時間)、FOVのサイズ、撮影スライス幅(撮影スライス厚×スライス数)、スキャン範囲、スキャンオペレーション間の天板の移動量、等の条件の項目が配列されている。
【0086】
また、メインボタンの隣接して、連続スキャン、再構成パラメータ、拡張機能、ウインドウ条件などのボタンが配列されている。
【0087】
この中で、再構成パラメータのボタンをクリックすることにより、撮影計画作成システム120は、再構成条件として、再構成方式(ファンビーム再構成方式/コーンビーム再構成方式)、再構成スライスの厚さ(画像厚)、画像生成ピッチ、再構成領域サイズ、再構成マトリクスサイズ、関心部位を抽出するためのしきい値などのパラメータを表示できる。
【0088】
各項目の値は、撮影計画作成システム120により初期推奨値が挿入されており、操作者は必要に応じてその値を変更可能である。
【0089】
なお、スキャノグラム上に表示されるスキャン範囲を示す枠線は、開始位置、終了位置、スキャン範囲、FOVのサイズのいずれかの項目の値を変更すれば、その変更に連動してサイズや位置が変更される。また逆に、スキャノグラム上の枠線をクリックして移動すれば、開始位置、終了位置などの項目がその移動に応じて連動して変更される。
【0090】
(作用効果)
次に、本実施形態に係るX線CT装置の作用効果について説明する。
【0091】
まず操作者は、図4に示す、撮影計画作成システム120の一部を成す表示装置116に表示された撮影計画作成画面において、患者情報及びデータ収集後の処理などの所定事項を入力する。
【0092】
次いで、操作者は被検体のスキャノ撮影を行う(X線管と放射線検出器システムを回転させないでX線管からX線を発生させ、架台の診断用開口部に天板を挿入させて撮影する)。スキャノ撮影により得られたデータには所定の処理が施され、スキャノグラムSNが得られる。このスキャノグラムSNは、撮影計画作成画面上に図4に示すように描出される。この図4に示す画面例は、操作者が、上述のオートフィルミングモードを選択している場合である。
【0093】
次いで、操作者は、この撮影計画作成画面上において、撮影計画作成システム120のアシストを得ながら、検査対象部位、スキャン条件、再構成条件、画像表示・記録条件(ウインドウ条件)の設定など、スキャンから画像記録までのフローを設定する。
【0094】
この一連の設定作業中に、この設定をシステム側で自動的にアシストするアシスト処理が図5及び6に示す如く実行される。なお、この図5及び6に示す双方の処理は、撮影計画作成システム120の中枢部であるホストコントローラ110により、撮影計画作成処理(メイン処理)のバックグラウンド処理として、かかる作成処理の起動に応答して実行開始される。このため、操作者は、かかるアシスト処理を何等意識することなく、撮影計画に没頭でき、しかも的確なアシスト機能を享受できる。
【0095】
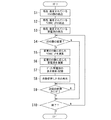
図5は、上述した撮影計画作成処理の途中において、X線検出器103のうち、使用する検出器素子列の数、すなわちスライス数を変更した場合のアシスト処理を示す。
【0096】
具体的には、ホストコントローラ110は、現在指定されているスライス数(検出器素子列の数)、ヘリカルピッチ、及び管電流を順次読み込む(ステップS1〜S3)。次いで、ホストコントローラ110は、スライス数が撮影計画作成処理を実行している途中で変更されたか否かを判断する(ステップS4)。ホストコントローラ110、操作者が入力装置115を介して撮影計画作成画面の撮像スライス幅のウインドウ(図4参照)への入力数値を監視しているので、この数値変更に基づいて上記変更を判断することができる。
【0097】
上記ステップS4でYESの判断、すなわち、スライス数が変更されたと判断した場合、ホストコントローラ110は、変更スライス数に対応したヘリカルピッチを演算する(ステップS5)。この演算では、スライス数の変更度合いに比例するヘリカルピッチを求めるようにしてもよいし、比例させ且つ近い整数値にまるめたヘリカルピッチを求めるようにしてもよいし、さらに、比例させ且つ0.5ピッチずらした高密度サンプリングのヘリカルピッチを求めるようにしてもよい。
【0098】
例えば、比例させる例としては、スライス数(検出器列数)=4且つヘリカルピッチ=5と一旦決めたものが、スライス数=8に変更された場合には、ヘリカルピッチ=10に自動変更される。その反対に、スライス数(検出器列数)=8且つヘリカルピッチ=7と一旦決めたものが、スライス数=4に変更された場合には、ヘリカルピッチ=3.5に自動変更される。
【0099】
次いで、ホストコントローラ110は、変更スライス数に対応したX線管101に供給する管電流を演算する(ステップS6)。一例として、スライス数(検出器列数)=4且つヘリカルピッチ=5と一旦決めたものが、スライス数=8に変更する場合には、管電流は自動的に半分に変更される。これにより、X線被曝量が同等に保たれる。
【0100】
次いで、ホストコントローラ110は、ステップS5及びS6で演算した新しいヘリカルピッチ及び管電流の表示値を更新するとともに記憶する(ステップS7)。さらに、この更新したヘリカルピッチ及び管電流の表示を一定時間点滅させたり、文章によるメッセージを表示したりして、自動更新した旨の表示を行う(ステップS8)。
【0101】
この後、ホストコントローラ110は次回の処理タイミングが到来したか否かを判断しながら一定時間の待機し、かかるタイミングが到来したときには、処理の終了が指令されない限り、処理をステップS4に戻して、上述した一連の処理を繰り返す(ステップS9、S10)。
【0102】
なお、上述した図5の処理では、ヘリカルピッチ及び管電流の双方について同時に自動的に変更するようにしたが、何れか一方のみについて実行するようにしてもよい。
【0103】
(具体例)
そこで、かかる変更の一態様として、ヘリカルピッチのみについて例示すると、最初にスライス数(検出器列数)=8でヘリカルスキャンを実行しようとして、ヘリカルピッチ=7と決めたが、撮影計画の途中で、スライス数(検出器列数)=4に変更したとする。この場合、上述した図5の処理により、ヘリカルピッチが例えば3.5と、半分の値に自動的に変更される。
【0104】
この変更後の撮影計画作成画面は、図7に示すように、操作者の操作によるスライス数の変更に応答して、ヘリカルピッチが3.5に自動的に変更される。この変更後の値が確定されると、この値が、その後のヘリカルスキャンに反映される。
【0105】
この変更後のヘリカルピッチを用いたスキャン時のジオメトリは図8に示す如く模式化される。この状態は、前述した図18と対比されるもので、スライス数が変更されても、ヘリカルピッチによるサンプリング密度は同等の状態に保持されることが分かる。
【0106】
また、別な変更の態様として、最初にスライス数(検出器列数)=4でヘリカルスキャンを実行しようとして、ヘリカルピッチ=5と決めたが、撮影計画の途中で、スライス数(検出器列数)=8に変更したとする。この場合、上述した図5の処理により、ヘリカルピッチが例えば10と、倍の値に自動的に変更される。
【0107】
さらに、別な変更の態様として、最初にスライス数(検出器列数)=4でヘリカルスキャンを実行しようとして、ヘリカルピッチ=5と決めたが、撮影計画の途中で、スライス数(検出器列数)=8に変更したとする。この場合、上述した図5の処理により、ヘリカルピッチが例えば10と、倍の値に自動的に変更され、且つ、管電流(X線管のフィラメント電流)はそれまでの値120mAの半分の値60mAに自動的に変更される。これにより、ヘリカルスキャンのサンプリング密度のみならず、被検体のボリュームにとって、X線被曝量は変更の前後で同等の状態に保持される。
【0108】
さらに、別な変更の態様として、管電流のみの場合について言えば、最初にスライス数(検出器列数)=4でヘリカルスキャンを実行しようとして、ヘリカルピッチ=5と決めたが、撮影計画の途中で、スライス数(検出器列数)=8に変更したとする。この場合、上述した図5の処理により、管電流はそれまでの値120mAの半分の値60mAに自動的に変更される(この場合、ヘリカルピッチ=5は保持される)。
【0109】
図6に戻って説明する。図6は、上述した撮影計画作成処理の途中において、再構成スライス厚(画像厚)を変更した場合のアシスト処理を示す。
【0110】
具体的には、ホストコントローラ110は、現在指定されている再構成スライス厚及び画像生成ピッチを順次読み込む(ステップS11〜S12)。次いで、ホストコントローラ110は、再構成スライス厚が撮影計画作成処理を実行している途中で変更されたか否かを判断する(ステップS13)。ホストコントローラ110、操作者が入力装置115を介して撮影計画作成画面の再構成スライス厚(画像厚)のウインドウ(図9参照)への入力数値を監視しているので、この数値変更に基づいて上記変更を判断することができる。
【0111】
上記ステップS13でYESの判断、すなわち、再構成スライス厚が変更されたと判断した場合、ホストコントローラ110は、変更された再構成スライス厚に対応した画像生成ピッチを演算する(ステップS14)。この演算では、スライス数の変更度合いに比例する画像生成ピッチが求められる。例えば、得たい再構成スライス厚(画像厚)=1mm且つ画像生成ピッチ=1mmと一旦決めたが、再構成スライス厚=0.5mmに変更された場合には、画像生成ピッチ=0.5mmに自動変更される。
【0112】
次いで、ホストコントローラ110は、ステップS14で演算した新しい画像生成の表示値を更新するとともに記憶する(ステップS15)。さらに、この更新した画像生成ピッチの表示を一定時間点滅させたり、文章によるメッセージを表示したりして、自動更新した旨の表示を行う(ステップS16)。
【0113】
この後、ホストコントローラ110は次回の処理タイミングが到来したか否かを判断しながら一定時間の待機し、かかるタイミングが到来したときには、処理の終了が指令されない限り、処理をステップS13に戻して、上述した一連の処理を繰り返す(ステップS17、S18)。
【0114】
(具体例)
そこで、かかる再構成スライス厚の変更の一態様として、最初に、得たい再構成スライス厚(画像厚)=1mm且つ画像生成ピッチ=1mmと一旦決めたが、再構成スライス厚=0.5mmに変更される例が挙げられる。この場合、画像生成ピッチも0.5mmに自動変更される。
【0115】
この変更により、撮影計画作成画面は、図9から図10に示すように画像生成ピッチの表示が自動的に更新される。この変更後の値が確定されると、この値が、その後のヘリカル再構成に反映される。
【0116】
この変更後の画像生成ピッチを用いた再構成時のジオメトリは図11に示す如く模式化される。この状態は、前述した図21と対比されるもので、再構成する画像厚が変更されても、再構成するデータに歯抜けが生じることなく、したがって情報を取りこぼし無く、スライス像を再構成できる。
【0117】
また、再構成スライス厚の変更の別の態様によれば、最初に、得たい再構成スライス厚(画像厚)=1mm且つ画像生成ピッチ=1mmと一旦決めたが、再構成スライス厚=2mmに変更される例が挙げられる。この場合、画像生成ピッチも2mmに自動変更される。
【0118】
以上のように本実施形態によれば、マルチスライスCT装置を用いてヘリカルスキャンを行うときの撮影計画の途中において、所望のスライス数(検出素子列数)や再構成スライス厚(画像厚)の数値を変更した場合であっても、このスライス数に密接に関連するパラメータ(ヘリカルピッチ、管電流など)を装置側で自動的に変更できる。このため、操作者の関連パラメータに対する変更忘れに因る不都合を確実に防止できる。したがって、不適切な撮影条件のまま撮影(スキャン)がなされることに因る画質低下を防止できる。また、かかる原因に因る再撮影も不要になるから、その分のX線被曝を低減できる。さらに、操作者にとっても、関連パラメータまで常に留意しておかなければならないという気苦労や、その手動に拠る実際の変更設定が不要になるので、操作労力を著しく低減でき、したがって患者スループットを向上させることが可能になる。
【0119】
(第2の実施形態)
第2の実施形態を図12及び13を参照して説明する。なお、以下の説明において、上述した実施形態の構成要素と同一又は同等のものには同一符号を用いて、その説明を省略又は簡略化する。
【0120】
図12は、前述した撮影計画作成処理の途中において、X線検出器103のうち、使用する検出器素子列の数、すなわちスライス数を変更した場合のアラート(警告)処理を示す。
【0121】
具体的には、ホストコントローラ110は、そのステップS21〜S24において、前述した図5のステップS1〜S4と同一の処理を行う。そして、ステップS24において、スライス数がそれまでの値から別の値に変更されたと判断した場合、ホストコントローラ110は撮影計画作成画面に、関連するヘリカルピッチの値及び/又は管電流の値を確認するように促すアラート(警告)を操作者に出す(ステップS25)。
【0122】
この警告は、図13に示すように、ヘリカルピッチ及び/又は管電流のウインドウの背景色を変更する、数値を点滅させる、それらと共にサウンドを発生させる、ポップアップメッセージを表示するなど、各種の態様で実行される。同図の例は、最初にスライス数(検出素子列数)=8でヘリカルスキャンを実行しようとしてヘリカルピッチ=7に設定したが、操作者がスライス数=4に変更したため、ヘリカルピッチ及び/又は管電流のウインドウの背景色を目立つ色に変更することで、操作者の確認を促すものである。
【0123】
このアラート発令の後、ホストコントローラ110は、操作者によってヘリカルピッチ及び/又は管電流の値が変更されたか否かを判断する(ステップS26)。次いで、ホストコントローラ110は、一定時間の間に、かかる値が変更された場合には、その値が適正値か否かを、例えばテーブルを参照して判断する(ステップS27)。適正値の場合、次回の処理タイミングまで待機し、処理継続の場合にはステップS24まで処理が戻される(ステップS28,S29)。
【0124】
一方、ステップS26においてヘリカルピッチ及び/又は管電流の値が変更されないと判断されたときは、さらに、一定時間その判断を繰り返しながら待機する(ステップS30)。一定時間待っても、ヘリカルピッチ及び/又は管電流の値が変更されない場合は、その後で実行するヘリカルスキャンを禁止させるための処理(例えば禁止フラグを立てる)がなされるともに、撮影計画作成画面にスキャン禁止を指令した旨の表示がなされる。
【0125】
これにより、撮影計画途中のスライス数の変更に対して、ヘリカルピッチ及び/又は管電流を変更するように操作者の注意が喚起されるので、従来に比べて、より確実に撮影条件を設定でき、画質劣化やX線被曝の増大を抑えることが可能になる。
【0126】
(第3の実施形態)
第3の実施形態を図14及び15を参照して説明する。
【0127】
図14は、前述した撮影計画作成処理の途中において、得たい再構成スライス厚(画像厚)を変更した場合のアラート(警告)処理を示す。
【0128】
具体的には、ホストコントローラ110は、そのステップS41〜S43において、前述した図6のステップS11〜S13と同一の処理を行う。そして、ステップS43において、再構成スライス厚(画像厚)がそれまでの値から別の値に変更されたと判断した場合、ホストコントローラ110は撮影計画作成画面に、関連する画像生成ピッチの値を確認するように促すアラート(警告)を操作者に出す(ステップS44)。
【0129】
この警告は、図15に示すように、画像生成ピッチのウインドウの背景色を変更する、数値を点滅させる、それらと共にサウンドを発生させる、ポップアップメッセージを表示するなど、各種の態様で実行される。同図の例は、最初に再構成スライス厚(画像厚)=1mmでヘリカルスキャンを実行しようとして画像生成ピッチ=1mmに設定したが、操作者が再構成スライス厚=0.5mmに変更したため、画像生成ピッチのウインドウの背景色を目立つ色に変更することで、操作者の確認を促すものである。
【0130】
このアラート発令の後、ホストコントローラ110は、操作者によって画像生成ピッチの値が変更されたか否かを判断する(ステップS45)。次いで、ホストコントローラ110は、一定時間の間に、かかる値が変更された場合には、その値が適正値か否かを、例えばテーブルを参照して判断する(ステップS46)。適正値の場合、次回の処理タイミングまで待機し、処理継続の場合にはステップS43まで処理が戻される(ステップS47,S48)。
【0131】
一方、ステップS45において画像生成ピッチの値が変更されないと判断されたときは、さらに、一定時間その判断を繰り返しながら待機する(ステップS49)。一定時間待っても、画像生成ピッチの値が変更されない場合は、その後で実行するヘリカルスキャンを禁止させるための処理(例えば禁止フラグを立てる)がなされるともに、撮影計画作成画面にスキャン禁止を指令した旨の表示がなされる。
【0132】
これにより、撮影計画途中の再構成スライス厚の変更に対して、画像生成ピッチを変更するように操作者の注意が喚起されるので、第2の実施形態の場合と同様に、従来に比べて、より確実に撮影条件を設定でき、画質劣化やX線被曝の増大を抑えることが可能になる。
【0133】
本発明は、上述した実施形態に限定されるものではなく、本発明の実施段階ではその要旨を逸脱しない範囲で種々変形して実施することが可能である。
【0134】
例えば、上述した実施形態では、X線CT装置として、現在主流のX線管と放射線検出器とが一体として被検体の周囲を回転する回転/回転(ROTATE/ROTATE)タイプを一例として説明したが、リング状に多数の検出素子がアレイされ、X線管のみが被検体の周囲を回転する固定/回転(STATIONARY/ROTATE)タイプ等様々なタイプに適用しても良い。
【0135】
また、上述した実施形態では、1スライスの断層像データを再構成するのに必要な角度範囲として、被検体の周囲1周、約360°分の投影データが必要であるとして説明したが、180°+ビュー角分の投影データを用いるハーフスキャン等いずれの再構成方式にも適用可能である。
【0136】
さらに、上述した実施形態では、入射X線を電荷に変換するメカニズムとして、シンチレータ等の蛍光体でX線を光に変換し更にその光をフォトダイオード等の光電変換素子で電荷に変換する間接変換形について説明したが、X線による半導体内の電子正孔対の生成及びその電極への移動すなわち光導電現象を利用した直接変換形を採用しても良い。
【0137】
さらに、上述した実施形態では、一管球型のX線CT装置について説明したが、X線管とX線検出器との複数のペアを回転リングに搭載したいわゆる多管球型のX線CT装置に適用しても良い。
【0138】
【発明の効果】
以上説明したように、本発明に係るコンピュータ断層撮影装置によれば、マルチスライスのヘリカルスキャンを行うときの撮影計画において、操作者がスライス数(使用する検出素子列数)や得たい再構成スライス厚(画像厚)の数値を計画途中で変更した場合であっても、それらのパラメータに関連する他のパラメータが装置側で自動的に変更されたり、また、かかる関連する他のパラメータも変更するように装置側から操作者に警告が出される。したがって、関連する他のパラメータの変更し忘れが防止又は減少するので、撮影計画途中のパラメータ変更に起因する画質低下を防止でき、再撮影を余儀なくされることに因るX線被爆の増大を回避でき、且つ、操作労力の増大に因る患者スループットの低下を防止できるという、ヘリカルスキャンをマルチスライスCTで実行するときに非常に有効なアシスト機能が発揮される。
【図面の簡単な説明】
【図1】本発明の実施形態に係るX線CT装置の概略構成を示すブロック図。
【図2】実施形態のX線CT装置に採用されるX線検出器を成す複数の検出器モジュールのうちの1つを示す平面図。
【図3】X線検出器、スイッチ群、及びデータ収集回路(DAS)の配置関係の概略を説明する斜視図。
【図4】第1の実施形態において、撮影計画作成システムで表示される撮影計画設定画面の一例を示す模式図。
【図5】撮影計画作成システムにより実行されるアシスト処理の一例を説明する概略フローチャート。
【図6】撮影計画作成システムにより実行されるアシスト処理の別の例を説明する概略フローチャート。
【図7】図5のアシスト処理による作用を説明するための撮影計画設定画面を示す模式図。
【図8】ヘリカルピッチが適正値に自動変更されたときのスキャン時の動作説明図。
【図9】図6のアシスト処理による作用を説明するための撮影計画設定画面を示す模式図。
【図10】図6のアシスト処理による作用を説明するための撮影計画設定画面を示す模式図。
【図11】画像生成ピッチが適正値に自動変更されたときのスキャン時の動作説明図。
【図12】本発明の第2の実施形態に係るアラート処理を説明する概略フローチャート。
【図13】第2の実施形態によるアラート処理の動作を説明する撮影計画設定画面の一部の図。
【図14】本発明の第3の実施形態に係るアラート処理を説明する概略フローチャート。
【図15】第3の実施形態によるアラート処理の動作を説明する撮影計画設定画面の一部の図。
【図16】従来技術による、使用する検出素子列数を説明する図。
【図17】従来技術による、使用する検出素子列数を説明する別の図。
【図18】従来技術による、使用する検出素子列数とヘリカルピッチとの関係を説明する図。
【図19】従来技術による、使用する検出素子列数とヘリカルピッチとの関係を説明する別の図。
【図20】従来技術による、画像厚(再構成スライス厚)と画像生成ピッチとの関係を説明する図。
【図21】従来技術による、画像厚(再構成スライス厚)と画像生成ピッチとの関係を説明する別の図。
【符号の説明】
100 X線CT装置(放射線CT装置)
101 X線管(X線源)
103 X線検出器(放射線検出器)
103a スイッチ群
104b データ収集回路(DAS)
109 高電圧発生装置
110 ホストコントローラ
111 記憶装置
114 再構成装置
115 入力装置
116 表示装置
120 撮影計画作成システム

Claims (8)

  1. 放射線を曝射させる放射線源と、
    この放射線源から曝射され且つ前記被検体を透過した放射線を検出する複数個の検出素子から成る素子列を当該素子列に直交する方向に複数列、配列した2次元の放射線検出器と、
    前記放射線源及び前記放射線検出器と前記被検体とを互いに相対的に移動可能な移動手段と、
    前記移動手段を制御して前記被検体を前記放射線によりヘリカルスキャン方式でスキャンするスキャン手段と、を備えたコンピュータ断層撮影装置において、前記放射線検出器により検出される前記放射線に基づく複数の撮影スライスの数の変更に応じて前記移動手段に拠る前記ヘリカルスキャンのヘリカルピッチ及び前記放射線源の線源電流の少なくとも一方を自動的に変更するピッチ変更手段を備えたコンピュータ断層撮影装置。
  2. 請求項1に記載のコンピュータ断層撮影装置において、
    前記ピッチ変更手段は、前記ヘリカルピッチを変更する手段であることを特徴とするコンピュータ断層撮影装置。
  3. 請求項2に記載のコンピュータ断層撮影装置において、
    前記ピッチ変更手段は、前記複数の撮影スライスの数が変更されたか否かを判断する判断手段と、この判断手段により複数の撮影スライスの数が変更されたと判断されたときに、前記ヘリカルピッチの変更を指令する変更指令手段とを備えたことを特徴とするコンピュータ断層撮影装置。
  4. 請求項3に記載のコンピュータ断層撮影装置において、
    前記判断手段により前記複数のスライスの数が増加又は減少したと判断されたときに、前記変更指令手段は前記ヘリカルピッチを前記複数の撮影スライスの数の増加又は減少に比例してそれぞれ増加又は減少させる手段であることを特徴とするコンピュータ断層撮影装置。
  5. 請求項1に記載のコンピュータ断層撮影装置において、
    前記ピッチ変更手段は、前記放射線源の線源電流を変更する手段であることを特徴とするコンピュータ断層撮影装置。
  6. 放射線を曝射させる放射線源と、
    この放射線源から曝射され且つ前記被検体を透過した放射線を検出する複数個の検出素子から成る素子列を当該素子列に直交する方向に複数列、配列した2次元の放射線検出器と、
    前記放射線源及び前記放射線検出器と前記被検体とを互いに相対的に移動可能な移動手段と、
    前記移動手段を制御して前記被検体を前記放射線によりヘリカルスキャン方式でスキャンするスキャン手段と、を備えたコンピュータ断層撮影装置において、
    前記放射線検出器により検出される前記放射線に基づく複数の撮影スライスの数の変更に応答して前記移動手段に拠る前記ヘリカルスキャンのヘリカルピッチの再確認を求める警報を発する警報手段を備えたことを特徴とするコンピュータ断層撮影装置。
  7. 放射線を曝射させる放射線源と、
    この放射線源から曝射され且つ前記被検体を透過した放射線を検出する複数個の検出素子から成る素子列を当該素子列に直交する方向に複数列、配列した2次元の放射線検出器と、
    前記放射線源及び前記放射線検出器と前記被検体とを互いに相対的に移動可能な移動手段と、
    前記移動手段を制御して前記被検体を前記放射線によりヘリカルスキャン方式でスキャンするスキャン手段と、
    このスキャン手段の動作に応じて前記放射線検出器により検出された前記放射線から複数の再構成スライスの画像を生成する画像生成手段と、を備えたコンピュータ断層撮影装置において、
    前記画像生成手段により生成される複数の再構成スライスの厚さに応じて、当該複数の再構成スライスのピッチを変更するピッチ変更手段を備えたことを特徴とするコンピュータ断層撮影装置。
  8. 放射線を曝射させる放射線源と、
    この放射線源から曝射され且つ前記被検体を透過した放射線を検出する複数個の検出素子から成る素子列を当該素子列に直交する方向に複数列、配列した2次元の放射線検出器と、
    前記放射線源及び前記放射線検出器と前記被検体とを互いに相対的に移動可能な移動手段と、
    前記移動手段を制御して前記被検体を前記放射線によりヘリカルスキャン方式でスキャンするスキャン手段と、
    このスキャン手段の動作に応じて前記放射線検出器により検出された前記放射線から複数の再構成スライスの画像を生成する画像生成手段と、を備えたコンピュータ断層撮影装置において、
    前記画像生成手段により生成される複数の再構成スライスの厚さに応答して、当該複数の再構成スライスのピッチの再確認を求める警報を発する警報手段を備えたことを特徴とするコンピュータ断層撮影装置。
JP2002353873A 2001-12-28 2002-12-05 コンピュータ断層撮影装置 Expired - Lifetime JP4490627B2 (ja)

Priority Applications (2)

Application Number Priority Date Filing Date Title
JP2002353873A JP4490627B2 (ja) 2002-12-05 2002-12-05 コンピュータ断層撮影装置
US10/330,049 US7103134B2 (en) 2001-12-28 2002-12-30 Computed tomography apparatus

Applications Claiming Priority (1)

Application Number Priority Date Filing Date Title
JP2002353873A JP4490627B2 (ja) 2002-12-05 2002-12-05 コンピュータ断層撮影装置

Publications (2)

Publication Number Publication Date
JP2004181069A true JP2004181069A (ja) 2004-07-02
JP4490627B2 JP4490627B2 (ja) 2010-06-30

Family

ID=32755059

Family Applications (1)

Application Number Title Priority Date Filing Date
JP2002353873A Expired - Lifetime JP4490627B2 (ja) 2001-12-28 2002-12-05 コンピュータ断層撮影装置

Country Status (1)

Country Link
JP (1) JP4490627B2 (ja)

Cited By (5)

* Cited by examiner, † Cited by third party
Publication number Priority date Publication date Assignee Title
JP2007152110A (ja) * 2005-12-01 2007-06-21 General Electric Co <Ge> 非破壊撮像において低kVp選択及び線量低減を管理し高められたコントラスト強調を提供する方法及び装置
JP2009089905A (ja) * 2007-10-09 2009-04-30 Toshiba Corp 医用情報表示装置
JP2010046357A (ja) * 2008-08-22 2010-03-04 Toshiba Corp X線ct装置
JP2012024621A (ja) * 2011-11-07 2012-02-09 Toshiba Corp X線コンピュータ断層撮影装置、スキャン計画支援装置及びプログラム
JP2021142124A (ja) * 2020-03-12 2021-09-24 キヤノンメディカルシステムズ株式会社 医用処理装置

Families Citing this family (1)

* Cited by examiner, † Cited by third party
Publication number Priority date Publication date Assignee Title
JP7392481B2 (ja) * 2020-01-14 2023-12-06 コニカミノルタ株式会社 撮影支援装置、放射線撮影システム及びプログラム

Cited By (5)

* Cited by examiner, † Cited by third party
Publication number Priority date Publication date Assignee Title
JP2007152110A (ja) * 2005-12-01 2007-06-21 General Electric Co <Ge> 非破壊撮像において低kVp選択及び線量低減を管理し高められたコントラスト強調を提供する方法及び装置
JP2009089905A (ja) * 2007-10-09 2009-04-30 Toshiba Corp 医用情報表示装置
JP2010046357A (ja) * 2008-08-22 2010-03-04 Toshiba Corp X線ct装置
JP2012024621A (ja) * 2011-11-07 2012-02-09 Toshiba Corp X線コンピュータ断層撮影装置、スキャン計画支援装置及びプログラム
JP2021142124A (ja) * 2020-03-12 2021-09-24 キヤノンメディカルシステムズ株式会社 医用処理装置

Also Published As

Publication number Publication date
JP4490627B2 (ja) 2010-06-30

Similar Documents

Publication Publication Date Title
JP4490645B2 (ja) X線コンピュータ断層撮影装置
JP5204324B2 (ja) X線コンピュータ断層撮影装置
CN102105106B (zh) X射线ct图像形成方法和应用了该方法的x射线ct装置
JP4439202B2 (ja) X線コンピュータ断層撮影装置及び画像ノイズシミュレーション装置
US7103134B2 (en) Computed tomography apparatus
CN101254112B (zh) X射线ct装置及其控制方法
JP3942142B2 (ja) 放射線断層撮影装置およびその方法
JP2003199739A (ja) X線コンピュータトモグラフィ装置及びx線コンピュータトモグラフィ方法
JP2004180715A (ja) X線コンピュータ断層撮影装置
JP4612294B2 (ja) X線コンピュータ断層装置、x線コンピュータ断層装置制御方法、及びx線コンピュータ断層撮影プログラム
JP2004000605A (ja) X線ct装置
JP2007054372A (ja) X線ct装置
JP2007181623A (ja) X線ct装置
CN100398069C (zh) 计算机断层摄影装置
JP4469555B2 (ja) X線コンピュータ断層撮影装置
JP2006055635A (ja) X線コンピュータ断層撮影装置
JP2009089810A (ja) X線ct装置
JP4175809B2 (ja) コンピュータ断層撮影装置
CN100393278C (zh) 环状伪影消除方法及x线ct装置
JP5317389B2 (ja) 放射線断層撮影装置
JP4490627B2 (ja) コンピュータ断層撮影装置
JP4406106B2 (ja) X線ct装置
JP2007185358A (ja) X線ct装置
JP4551612B2 (ja) コンピュータ断層撮影装置
JP2008142354A (ja) 放射線撮影装置

Legal Events

Date Code Title Description
A621 Written request for application examination

Free format text: JAPANESE INTERMEDIATE CODE: A621

Effective date: 20051122

A977 Report on retrieval

Free format text: JAPANESE INTERMEDIATE CODE: A971007

Effective date: 20090113

A131 Notification of reasons for refusal

Free format text: JAPANESE INTERMEDIATE CODE: A131

Effective date: 20090120

A521 Request for written amendment filed

Free format text: JAPANESE INTERMEDIATE CODE: A523

Effective date: 20090323

A131 Notification of reasons for refusal

Free format text: JAPANESE INTERMEDIATE CODE: A131

Effective date: 20090811

A521 Request for written amendment filed

Free format text: JAPANESE INTERMEDIATE CODE: A523

Effective date: 20091013

TRDD Decision of grant or rejection written
A01 Written decision to grant a patent or to grant a registration (utility model)

Free format text: JAPANESE INTERMEDIATE CODE: A01

Effective date: 20100309

A01 Written decision to grant a patent or to grant a registration (utility model)

Free format text: JAPANESE INTERMEDIATE CODE: A01

A61 First payment of annual fees (during grant procedure)

Free format text: JAPANESE INTERMEDIATE CODE: A61

Effective date: 20100402

FPAY Renewal fee payment (event date is renewal date of database)

Free format text: PAYMENT UNTIL: 20130409

Year of fee payment: 3

FPAY Renewal fee payment (event date is renewal date of database)

Free format text: PAYMENT UNTIL: 20130409

Year of fee payment: 3

FPAY Renewal fee payment (event date is renewal date of database)

Free format text: PAYMENT UNTIL: 20140409

Year of fee payment: 4

S111 Request for change of ownership or part of ownership

Free format text: JAPANESE INTERMEDIATE CODE: R313114

Free format text: JAPANESE INTERMEDIATE CODE: R313117

Free format text: JAPANESE INTERMEDIATE CODE: R313111

R371 Transfer withdrawn

Free format text: JAPANESE INTERMEDIATE CODE: R371

S111 Request for change of ownership or part of ownership

Free format text: JAPANESE INTERMEDIATE CODE: R313111

Free format text: JAPANESE INTERMEDIATE CODE: R313117

Free format text: JAPANESE INTERMEDIATE CODE: R313114

R350 Written notification of registration of transfer

Free format text: JAPANESE INTERMEDIATE CODE: R350

S533 Written request for registration of change of name

Free format text: JAPANESE INTERMEDIATE CODE: R313533

R350 Written notification of registration of transfer

Free format text: JAPANESE INTERMEDIATE CODE: R350