JP2004166322A - Electrical junction box - Google Patents

Electrical junction box Download PDF

Info

Publication number
JP2004166322A
JP2004166322A JP2002325935A JP2002325935A JP2004166322A JP 2004166322 A JP2004166322 A JP 2004166322A JP 2002325935 A JP2002325935 A JP 2002325935A JP 2002325935 A JP2002325935 A JP 2002325935A JP 2004166322 A JP2004166322 A JP 2004166322A
Authority
JP
Japan
Prior art keywords
box
division
division box
divided
engine room
Prior art date
Legal status (The legal status is an assumption and is not a legal conclusion. Google has not performed a legal analysis and makes no representation as to the accuracy of the status listed.)
Granted
Application number
JP2002325935A
Other languages
Japanese (ja)
Other versions
JP3867658B2 (en
Inventor
Noriyuki Yoshida
範之 吉田
Current Assignee (The listed assignees may be inaccurate. Google has not performed a legal analysis and makes no representation or warranty as to the accuracy of the list.)
Sumitomo Wiring Systems Ltd
Original Assignee
Sumitomo Wiring Systems Ltd
Priority date (The priority date is an assumption and is not a legal conclusion. Google has not performed a legal analysis and makes no representation as to the accuracy of the date listed.)
Filing date
Publication date
Application filed by Sumitomo Wiring Systems Ltd filed Critical Sumitomo Wiring Systems Ltd
Priority to JP2002325935A priority Critical patent/JP3867658B2/en
Publication of JP2004166322A publication Critical patent/JP2004166322A/en
Application granted granted Critical
Publication of JP3867658B2 publication Critical patent/JP3867658B2/en
Anticipated expiration legal-status Critical
Expired - Fee Related legal-status Critical Current

Links

Images

Landscapes

  • Connector Housings Or Holding Contact Members (AREA)
  • Connection Or Junction Boxes (AREA)

Abstract

<P>PROBLEM TO BE SOLVED: To facilitate the connection of parting circuits for two divided electrical junction boxes. <P>SOLUTION: A first division box 11 and a second division box 20 can be slid and jointed with a lock portion 23 and a locked portion 12 provided at facing surfaces. Female connector engagement portions 24, 25 and male connector engagement portions 15, 16 are protruded at the facing surfaces of the first division box 11 and the second division box 20. Terminals of stations of part wires W1, W3 of wire harnesses W/H1, W/H2 are respectively accommodated and latched in the female and male connector engagement portions 16, 24, the male and female connector engagement portions 16, 24 are engaged at the time of sliding and jointing the first division box 11 and the second division box 20, and the wires W1, W3 are connected with each other to form a through circuit. A female tab 19b of a first bus bar 19 is protruded from the slide joint surface in the first division box 11, a male tab 34b on one end of a second bus bar 34 is protruded to the joint surface in the second division box 20, and the female tab 19b and the male tab 34b are brought into pressure contact for connection at the time of sliding and jointing. <P>COPYRIGHT: (C)2004,JPO

Description

【0001】
【発明の属する技術分野】
本発明は、電気接続箱に関し、詳しくは、ワイヤハーネスの分割に伴なって分割された電気接続箱を後結合で一体化させるものである。
【0002】
【従来の技術】
従来、図5に示すように、特開平8−185921号公報等に開示されているような電気接続箱1が提供されており、ワイヤハーネスW/Hの端末に接続されたアンダーケース4をヒューズ収容部6やリレー収容部7が設けられたメインケース3に取り付けて、アッパーカバー2とロアカバー5とで上下から閉鎖している。
一方、自動車のエンジンルームに配策されるワイヤハーネス(エンジンルームハーネス)は、特開2002−240653号公報等に開示されているように、エンジンルーム内の電気分配システムの効率化等を目的として、従来は1つであったエンジンルームハーネスを2つに分割し、エンジンルームハーネスの小径化、共用化、電線の取り回しの簡素化などを図る場合が生じている。
【0003】
【特許文献1】
特開平8―185921号公報
【0004】
【特許文献2】
特開2002−240653号公報
【0005】
【発明が解決しようとする課題】
しかしながら、エンジンルームハーネス製造時に電気接続箱も接続した状態で納入を行うために、2本のエンジンルームハーネスを個々に製造することに伴なって、該エンジンルームハーネスに接続されていた電気接続箱も2つに分割されることを強いられる。よって、従来の電気接続箱が1つの際には成立していた回路が、電気接続箱の分割により分断されてしまい、回路が成立しなくなる問題があった。
また、上記分断された回路を電線により個々に接続することも考えられるが、該電線の両端の端子を上記分割された回路の分割端の間に1つずつ接続する作業を行わねばならないため、作業効率が悪い問題がある。
【0006】
本発明は、上記問題に鑑みてなされたもので、ワイヤハーネスの分割に伴なって分割された電気接続箱の分断回路を容易に接続できるようにすることを課題としている。
【0007】
【課題を解決するための手段】
上記課題を解決するため、本発明は、電気接続箱を2つに分割して第1分割箱と第2分割箱とに分けて、それぞれ別々のワイヤハーネスに電気接続しており、上記第1分割箱と上記第2分割箱は対向面にスライド接合させ、該スライド接合面に設けられたロック部と被ロック部とをロック結合して固定可能とし、
かつ、上記第1分割箱と上記第2分割箱の対向面に雌コネクタ嵌合部と雄コネクタ嵌合部とを突設し、これら雌雄コネクタ嵌合部にそれぞれ上記ワイヤハーネスの一部電線の端末に接続された端子を収容係止し、上記第1分割箱と第2分割箱をスライド接合時に上記雌雄コネクタ嵌合部を嵌合させると共に電線同士が接続されてスルー回路を形成し、
さらに、上記第1分割箱より内部回路の第1バスバーの一部を第2分割箱とのスライド接合面より突出させ、該突出部に雌タブを設ける一方、上記第2分割箱には内部回路の第2バスバーの一端に設けた雄タブを突出し、上記第1、第2分割箱のスライド結合時に上記第1バスバーの雌タブと第2バスバーの雄タブとが圧接接続される構成としていることを特徴とする電気接続箱を提供している。
【0008】
上記構成とすると、それぞれ別々のワイヤハーネスに接続された上記第1分割箱と第2分割箱とは、互いにスライドさせるだけで上記第1分割箱と上記第2分割箱のロック部および被ロック部がロック結合され、第1分割箱と第2分割箱とを容易に結合して電気接続箱を構成することができる。
ここで、上記第1分割箱あるいは上記第2分割箱のいずれか一方に車体への固定用のブラケットを設けていると、車体に固定された第1分割箱(第2分割箱)に第2分割箱(第1分割箱)をロック固定することで、第2分割箱(第1分割箱)も第1分割箱(第2分割箱)を介して車体へ固定することができる。
【0009】
また、上記スライドロック作業を行うと同時に、上記第1分割箱と上記第2分割箱の雌コネクタ嵌合部と雄コネクタ嵌合部との嵌合接続も自動的に行われるので、第1分割箱へ接続された電線と第2分割箱へ接続された電線とが電気接続され、第1分割箱と第2分割箱とを跨いだスルー回路を容易に形成することができる。
さらには、上記第1分割箱と第2分割箱のスライド結合時に、第1分割箱の内部回路の第1バスバーの雌タブと第2分割箱の内部回路の第2バスバーの雄タブとも自動的に嵌合接続されるので、第1分割箱と第2分割箱の内部回路同士の電気接続も非常に容易に行うことができる。
【0010】
上記内部回路同士の接続の具体例としては、上記第1分割箱の上記第1バスバーは、該第1分割箱に搭載するリレーの出力端子と接続される一方、上記第2分割箱の上記第2バスバーは該第2分割箱の搭載するリレーの入力端子と接続され、第1、第2分割箱のスライド固定時に第1分割箱のリレーと第2分割箱のリレーとが接続される構成とすると好適である。
【0011】
また、上記分割された電気接続箱はエンジンルームに搭載され、該エンジンルームに配策されるワイヤハーネスをエンジンルームメインハーネスとエンジンルームハーネスとに二分割しており、上記第1分割箱あるいは第2分割箱のいずれか一方に上記エンジンルームメインハーネスを接続すると共に、いずれか他方に上記エンジンルームハーネスを接続している。
【0012】
即ち、エンジンルームに配策されるワイヤハーネスをエンジンルームメインハーネスとエンジンルームハーネスに分割し、夫々のハーネスに上記第1分割箱と第2分割箱を接続する構成とすることで、エンジンルーム内におけるワイヤハーネス配策の効率化が為され夫々のワイヤハーネスの小径化、共用化、取り回しの簡素化等が図られると共に、第1分割箱と第2分割箱とで分断された回路も作業性を良好に維持しながら回路接続を図ることができる。
【0013】
【発明の実施の形態】
本発明の実施形態を図面を参照して説明する。
図1は実施形態の電気接続箱10を示し、エンジンルームメインハーネスW/H1と接続される第1分割箱11と、エンジンルームハーネスW/H2と接続される第2分割箱20とに二分割されている。
【0014】
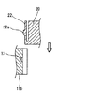
第1分割箱11は、上面視略L形状で、本体部11aと板状の突出壁部11bとを備え、本体部11aの側面および突出壁部11bの下端より連続して車体固定用のブラケット部11c、11dを突出している。
本体部11aには、リレー収容部17やヒューズ収容部18を設けている一方、突出壁部11bには、第2分割箱20との対向面に2つの被ロック部12を設けていると共に、雄コネクタ嵌合部15、16を嵌合面を上向きにして設けている。
【0015】
被ロック部12は、突出壁部11に穿設された被ロック穴13の両サイドにスライド溝14を上下方向に凹設している。
エンジンルームメインハーネスW/H1を構成する電線のうち、1本の電線W1は、その端末に接続された端子(図示せず)を一方の雄コネクタ嵌合部16のハウジング内に突出させていると共に、他の電線W2は、その端末に接続された端子(図示せず)を本体部11a下方よりリレー収容部17やヒューズ収容部18内に突出させている。
【0016】
また、第1分割箱11内には回路形成のため第1バスバーが収容されており、図2(A)(B)に示すように、第1バスバー19は、中央部19cを垂直として突出壁部11bに沿わせて配策し、屈曲された一端の圧接スロット19b−1を有する雌タブ19bを雄コネクタ嵌合部15内へ下方より突出させていると共に、屈曲された他端の圧接スロット19a−1を有する雌タブ19aをリレー収容部17の接点側入力部17aへと突出させている。
【0017】
第2分割箱20は、リレー収容部26、28やヒューズ収容部27を設けている一方、第1分割箱11の突出壁部11bとの対向面には、2つのロック部23を設けていると共に、雌コネクタ嵌合部24、25を嵌合面を下向きにして設けている。また、側面の所要位置には、電線ガイド部29を突設している。
【0018】
ロック部23は、図1および図3に示すように、第2分割箱20の側面と下端部分のみを連続させて可撓性を持たせて中央にロック爪22aを突設しているロック片22を設け、該ロック片22の両サイドにスライド枠21を上下方向に突設している。
エンジンルームハーネスW/H2を構成する電線のうち、1本の電線W3は、その端末に接続された端子(図示せず)を雌コネクタ嵌合部24のハウジング内に上方より挿入していると共に、他の電線W4は、その端末に接続された端子(図示せず)を下方よりリレー収容部26、28やヒューズ収容部27内に突出させている。
【0019】
この際、電線W3は雌コネクタ嵌合部24へと上方より挿入するため、電線W3の中間部分が邪魔にならないように、電線ガイド部29に挿通して保持させている。
電線ガイド部29は、図4に示すように、第2分割箱20の側面の凹溝に一対の閉鎖壁30、31を設けてガイド空間32を形成しており、一対の閉鎖壁30、31の間には狭幅の隙間Sが開けられていると共に、閉鎖壁30、31の上下には、該隙間Sが広がる方向にテーパー部30a、30b、31a、31bを設けている。また、ガイド空間32の対向する内面には、上下方向に突出した一対のリブ33を設けている。
電線ガイド部29に収容された電線W3を隙間Sを通して外部に取り出す際には、閉鎖壁30、31に電線W3を隙間Sへと拾い込むテーパー部30a、30b、31a、31bを設けているので取り出し易くなっている。
【0020】
第2分割箱20内には回路形成のため第2バスバー34が収容されており、図2(A)(B)に示すように、第2バスバー34は、屈曲された一端の雄タブ34bを雌コネクタ嵌合部25内へ突出させていると共に、屈曲された他端の圧接スロット34a−1を有する雌タブ34aをリレー収容部26の接点側出力部26bへと突出させている。リレー収容部26の接点側入力部へは別のバスバー35の雌タブ(図示せず)が接続されている。
【0021】
上記のように、第1分割箱11が接続された状態でエンジンルームメインハーネスW/H1を製造すると共に、それとは別に、第2分割箱20が接続された状態のエンジンルームハーネスW/H2を製造する。
そして、これらエンジンルームメインハーネスW/H1とエンジンルームハーネスW/H2とを自動車の組立ラインでエンジンルームにそれぞれ配策し、第1分割箱11のブラケット部11c、11dを車体にボルト締め固定する。
【0022】
第1分割箱11に対して第2分割箱20を上方から下方へ移動させ、スライド枠21をスライド溝14に嵌合してスライドすることにより、ロック片22のロック爪22aが被ロック穴13にロック固定され、第2分割箱20を第1分割箱11へ容易に結合することができる。
【0023】
また、上記スライドロック作業により、雌コネクタ嵌合部24、25と雄コネクタ嵌合部15、16との嵌合接続も自動的に行われる。
この際、図2(A)(B)に示すように、雌コネクタ嵌合部25および雄コネクタ嵌合部15を介して第1バスバー19の雌タブ19bと第2バスバー34の雄タブ34bとの雌雄嵌合が為され、第1分割箱11の内部回路と第2分割箱の内部回路との電気接続が行われる。
また同時に、雌コネクタ嵌合部24および雄コネクタ嵌合部16を介して電線W1と電線W3との電気接続が図られ、第1分割箱11と第2分割箱20とを跨いだスルー回路が形成される。
上記のようにして、第1分割箱11と第2分割箱20とをロック結合するだけで電気接続箱10を形成することができる。
【0024】
【発明の効果】
以上の説明より明らかなように、本発明によれば、別々のワイヤハーネスに接続された上記第1分割箱と第2分割箱は、互いにスライドさせてロックするだけで容易に結合されて電気接続箱を構成することができる。そして、該スライドロック作業と同時に、上記雌コネクタ嵌合部と上記雄コネクタ嵌合部との嵌合接続も自動的に行われて、第1分割箱の内部回路と第2分割箱の内部回路との電気接続を非常に容易に行うことができると共に、第1分割箱と第2分割箱とを跨いだスルー回路も形成することができる。
さらに、上記第1分割箱(第2分割箱)にブラケットを設けて車体に固定しているので、第2分割箱(第1分割箱)は第1分割箱(第2分割箱)を介して車体へ固定することができる。
【図面の簡単な説明】
【図1】本発明の実施形態に係る電気接続箱の斜視図である。
【図2】(A)は回路の接続形態を示す概略斜視図、(B)は模式図である。
【図3】第1分割箱と第2分割箱とのスライドロックを示す図面である。
【図4】電線ガイド部を示す拡大斜視図である。
【図5】従来の電気接続箱の分解斜視図である。
【符号の説明】
10 電気接続箱
11 第1分割箱
12 被ロック部
13 被ロック穴
14 スライド溝
15、16 雄コネクタ嵌合部
17、26 リレー収容部
18、27 ヒューズ収容部
19 第1バスバー
19b 雌タブ
20 第2分割箱
21 スライド枠
22 ロック片
22a ロック爪
23 ロック部
24、25 雌コネクタ嵌合部
29 電線ガイド部
34 第2バスバー
34b 雄タブ
W1、W2、W3、W4 電線
W/H1 エンジンルームメインハーネス
W/H2 エンジンルームハーネス
[0001]
TECHNICAL FIELD OF THE INVENTION
The present invention relates to an electric connection box, and more particularly, to integrating an electric connection box that is divided along with division of a wire harness by rear coupling.
[0002]
[Prior art]
Conventionally, as shown in FIG. 5, there has been provided an electric junction box 1 as disclosed in Japanese Patent Application Laid-Open No. 8-185921, and an under case 4 connected to a terminal of a wire harness W / H is fused. It is attached to the main case 3 provided with the housing section 6 and the relay housing section 7 and is closed from above and below by the upper cover 2 and the lower cover 5.
On the other hand, a wire harness (engine room harness) installed in an engine room of an automobile is used for the purpose of improving the efficiency of an electric distribution system in an engine room, as disclosed in Japanese Patent Application Laid-Open No. 2002-240653. In some cases, the conventional engine room harness is divided into two, and the engine room harness is reduced in size and shared, and the wiring of electric wires is simplified.
[0003]
[Patent Document 1]
JP-A-8-185921
[Patent Document 2]
JP, 2002-240653, A
[Problems to be solved by the invention]
However, since the engine room harness is manufactured with the electric connection box connected and delivered, the electric connection box connected to the engine room harness is produced along with manufacturing two engine room harnesses individually. Is also forced to be split into two. Therefore, there has been a problem that a circuit that has been established when the conventional electric connection box is one is divided by the division of the electric connection box, and the circuit is not established.
It is also conceivable to individually connect the divided circuits by electric wires, but since it is necessary to connect the terminals at both ends of the electric wires one by one between the divided ends of the divided circuit, There is a problem with poor work efficiency.
[0006]
The present invention has been made in view of the above-described problem, and has an object to easily connect a divided circuit of an electric junction box that is divided according to division of a wire harness.
[0007]
[Means for Solving the Problems]
In order to solve the above-mentioned problem, the present invention divides an electric junction box into two and divides the electric junction box into a first division box and a second division box, each of which is electrically connected to a separate wire harness. The division box and the second division box are slidably joined to the opposing surface, and a lock portion and a locked portion provided on the slide joint surface are lock-coupled and fixed, and
Further, a female connector fitting portion and a male connector fitting portion are protruded on opposing surfaces of the first division box and the second division box. The terminal connected to the terminal is housed and locked, and the first and second divided boxes are slidably joined with the male and female connector fitting portions and the electric wires are connected to form a through circuit,
Further, a part of the first bus bar of the internal circuit is protruded from the first divided box from the slide joint surface with the second divided box, and a female tab is provided on the protruding portion. A male tab provided at one end of the second bus bar is protruded, and the female tab of the first bus bar and the male tab of the second bus bar are press-connected when the first and second divided boxes are slid and joined. An electric connection box characterized by the following.
[0008]
With the above configuration, the first division box and the second division box, which are respectively connected to separate wire harnesses, can be locked and locked by simply sliding the first division box and the second division box. Are lock-coupled, and the first junction box and the second division box can be easily joined to form an electric junction box.
Here, if a bracket for fixing to the vehicle body is provided in one of the first division box and the second division box, the second division box fixed to the vehicle body has the second division box. By locking and fixing the division box (first division box), the second division box (first division box) can also be fixed to the vehicle body via the first division box (second division box).
[0009]
In addition, at the same time as the slide lock operation is performed, the fitting connection between the female connector fitting portion and the male connector fitting portion of the first division box and the second division box is automatically performed. The electric wire connected to the box and the electric wire connected to the second divided box are electrically connected, and a through circuit straddling the first divided box and the second divided box can be easily formed.
Furthermore, when the first and second division boxes are slid and joined together, the female tab of the first bus bar of the internal circuit of the first division box and the male tab of the second bus bar of the internal circuit of the second division box are automatically connected. , The electrical connection between the internal circuits of the first divided box and the second divided box can be very easily performed.
[0010]
As a specific example of the connection between the internal circuits, the first bus bar of the first division box is connected to an output terminal of a relay mounted on the first division box, while the first bus bar of the second division box is connected to an output terminal of a relay mounted on the first division box. The second bus bar is connected to an input terminal of a relay mounted on the second division box, and the relay of the first division box and the relay of the second division box are connected when the first and second division boxes are fixed to slide. Then, it is preferable.
[0011]
The divided electric connection box is mounted in an engine room, and a wire harness routed to the engine room is divided into an engine room main harness and an engine room harness. The engine room main harness is connected to one of the two divided boxes, and the engine room harness is connected to the other.
[0012]
That is, the wiring harness routed to the engine room is divided into an engine room main harness and an engine room harness, and the first and second divided boxes are connected to the respective harnesses. The efficiency of the wiring harness arrangement in, the diameter of each wiring harness, the common use, simplification of handling, etc. are achieved, and the circuit divided by the first divided box and the second divided box is also workable. Can be achieved while maintaining a good connection.
[0013]
BEST MODE FOR CARRYING OUT THE INVENTION
An embodiment of the present invention will be described with reference to the drawings.
FIG. 1 shows an electric connection box 10 according to an embodiment, which is divided into a first division box 11 connected to an engine room main harness W / H1 and a second division box 20 connected to an engine room harness W / H2. Have been.
[0014]
The first divided box 11 has a substantially L shape in a top view, includes a main body 11a and a plate-shaped protruding wall 11b, and a bracket for fixing the vehicle body continuously from a side surface of the main body 11a and a lower end of the protruding wall 11b. The portions 11c and 11d protrude.
The main body 11a is provided with a relay housing 17 and a fuse housing 18, while the protruding wall 11b is provided with two locked portions 12 on a surface facing the second divided box 20, The male connector fitting portions 15 and 16 are provided with the fitting surfaces facing upward.
[0015]
The locked portion 12 has a slide groove 14 vertically recessed on both sides of a locked hole 13 formed in the protruding wall portion 11.
Among the electric wires constituting the engine room main harness W / H1, one electric wire W1 has a terminal (not shown) connected to its terminal projecting into the housing of one male connector fitting portion 16. At the same time, the other electric wire W2 has a terminal (not shown) connected to the terminal protruding into the relay housing 17 or the fuse housing 18 from below the main body 11a.
[0016]
Further, a first bus bar is accommodated in the first divided box 11 for forming a circuit, and as shown in FIGS. 2A and 2B, the first bus bar 19 has a central portion 19c perpendicular to the projecting wall. The female tab 19b having the bent one end pressure contact slot 19b-1 is protruded from below into the male connector fitting portion 15 while being arranged along the portion 11b. The female tab 19a having 19a-1 is projected to the contact-side input portion 17a of the relay accommodating portion 17.
[0017]
The second divided box 20 is provided with the relay accommodating portions 26 and 28 and the fuse accommodating portion 27, while two lock portions 23 are provided on a surface of the first divided box 11 facing the protruding wall portion 11 b. In addition, the female connector fitting portions 24 and 25 are provided with the fitting surfaces facing downward. At a required position on the side surface, an electric wire guide portion 29 is protruded.
[0018]
As shown in FIGS. 1 and 3, the lock portion 23 is made up of a lock piece that has only the side surface and the lower end portion of the second divided box 20 continuous, has flexibility, and has a lock claw 22 a protruding at the center. A slide frame 21 is provided on both sides of the lock piece 22 to project vertically.
Among the electric wires constituting the engine room harness W / H2, one electric wire W3 has a terminal (not shown) connected to the terminal inserted from above into the housing of the female connector fitting portion 24. The other electric wire W4 has a terminal (not shown) connected to its terminal projecting from below into the relay accommodating portions 26 and 28 and the fuse accommodating portion 27.
[0019]
At this time, since the electric wire W3 is inserted into the female connector fitting portion 24 from above, the electric wire W3 is inserted and held in the electric wire guide portion 29 so that an intermediate portion of the electric wire W3 does not interfere.
As shown in FIG. 4, the wire guide portion 29 forms a guide space 32 by providing a pair of closing walls 30, 31 in a concave groove on the side surface of the second divided box 20, and forming a pair of closing walls 30, 31. A narrow gap S is opened therebetween, and tapered portions 30a, 30b, 31a, 31b are provided above and below the closing walls 30, 31 in a direction in which the gap S expands. A pair of ribs 33 protruding in the vertical direction are provided on the inner surfaces of the guide space 32 that face each other.
When the electric wire W3 housed in the electric wire guide portion 29 is taken out through the gap S, the tapered portions 30a, 30b, 31a, 31b for picking up the electric wire W3 into the gap S are provided in the closing walls 30, 31. Easy to take out.
[0020]
A second bus bar 34 is accommodated in the second divided box 20 for circuit formation. As shown in FIGS. 2A and 2B, the second bus bar 34 has a bent male tab 34b at one end. The female tab 34a having the female connector fitting portion 25 and the press-contact slot 34a-1 at the other bent end is projected to the contact side output portion 26b of the relay housing portion 26. A female tab (not shown) of another bus bar 35 is connected to the contact-side input section of the relay housing section 26.
[0021]
As described above, the engine room main harness W / H1 is manufactured in a state where the first division box 11 is connected, and separately from the engine room main harness W / H2 in a state where the second division box 20 is connected. To manufacture.
Then, the engine room main harness W / H1 and the engine room harness W / H2 are respectively routed to the engine room on an automobile assembly line, and the bracket portions 11c and 11d of the first split box 11 are fixed to the vehicle body with bolts. .
[0022]
The second crate 20 is moved downward from above with respect to the first crate 11, and the slide claw 22 a of the lock piece 22 is slid by fitting the slide frame 21 into the slide groove 14. And the second division box 20 can be easily coupled to the first division box 11.
[0023]
Further, by the slide lock operation, the fitting connection between the female connector fitting portions 24 and 25 and the male connector fitting portions 15 and 16 is automatically performed.
At this time, as shown in FIGS. 2A and 2B, the female tab 19b of the first bus bar 19 and the male tab 34b of the second bus bar 34 are connected via the female connector fitting portion 25 and the male connector fitting portion 15. And the internal circuit of the first divided box 11 is electrically connected to the internal circuit of the second divided box.
At the same time, the electric connection between the electric wires W1 and W3 is achieved via the female connector fitting portion 24 and the male connector fitting portion 16, and a through circuit that straddles the first divided box 11 and the second divided box 20 is formed. It is formed.
As described above, the electric connection box 10 can be formed only by locking the first division box 11 and the second division box 20 together.
[0024]
【The invention's effect】
As apparent from the above description, according to the present invention, the first divided box and the second divided box connected to different wire harnesses are easily connected only by sliding and locking each other, and the electric connection is established. A box can be configured. At the same time as the slide lock operation, the fitting connection between the female connector fitting portion and the male connector fitting portion is automatically performed, and the internal circuit of the first split box and the internal circuit of the second split box are connected. Can be very easily made, and a through circuit can be formed across the first and second divided boxes.
Further, since the first division box (second division box) is provided with a bracket and fixed to the vehicle body, the second division box (first division box) is connected via the first division box (second division box). Can be fixed to the car body.
[Brief description of the drawings]
FIG. 1 is a perspective view of an electric junction box according to an embodiment of the present invention.
FIG. 2A is a schematic perspective view showing a circuit connection mode, and FIG. 2B is a schematic view.
FIG. 3 is a view showing a slide lock between a first division box and a second division box.
FIG. 4 is an enlarged perspective view showing an electric wire guide portion.
FIG. 5 is an exploded perspective view of a conventional electric junction box.
[Explanation of symbols]
DESCRIPTION OF SYMBOLS 10 Electrical connection box 11 1st division box 12 Locked part 13 Locked hole 14 Slide groove 15, 16 Male connector fitting part 17, 26 Relay accommodation part 18, 27 Fuse accommodation part 19 First bus bar 19b Female tab 20 Second Division box 21 Slide frame 22 Lock piece 22a Lock claw 23 Lock part 24, 25 Female connector fitting part 29 Electric wire guide part 34 Second bus bar 34b Male tab W1, W2, W3, W4 Electric wire W / H1 Engine room main harness W / H2 engine room harness

Claims (4)

電気接続箱を2つに分割して第1分割箱と第2分割箱とに分けて、それぞれ別々のワイヤハーネスに電気接続しており、
上記第1分割箱と上記第2分割箱は対向面にスライド接合させ、該スライド接合面に設けられたロック部と被ロック部とをロック結合して固定可能とし、
かつ、上記第1分割箱と上記第2分割箱の対向面に雌コネクタ嵌合部と雄コネクタ嵌合部とを突設し、これら雌雄コネクタ嵌合部にそれぞれ上記ワイヤハーネスの一部電線の端末に接続された端子を収容係止し、上記第1分割箱と第2分割箱をスライド接合時に上記雌雄コネクタ嵌合部を嵌合させると共に電線同士が接続されてスルー回路を形成し、
さらに、上記第1分割箱より内部回路の第1バスバーの一部を第2分割箱とのスライド接合面より突出させ、該突出部に雌タブを設ける一方、上記第2分割箱には内部回路の第2バスバーの一端に設けた雄タブを突出し、上記第1、第2分割箱のスライド結合時に上記第1バスバーの雌タブと第2バスバーの雄タブとが圧接接続される構成としていることを特徴とする電気接続箱。
The electrical junction box is divided into two parts, divided into a first division box and a second division box, and each is electrically connected to a separate wire harness.
The first divided box and the second divided box are slidably joined to opposing surfaces, and a lock portion and a locked portion provided on the slide joint surface are lock-coupled and can be fixed,
Further, a female connector fitting portion and a male connector fitting portion are protruded on opposing surfaces of the first division box and the second division box. The terminal connected to the terminal is housed and locked, and the first and second divided boxes are slidably joined with the male and female connector fitting portions and the electric wires are connected to form a through circuit,
Further, a part of the first bus bar of the internal circuit is protruded from the first divided box from the slide joint surface with the second divided box, and a female tab is provided on the protruding portion. A male tab provided at one end of the second bus bar is protruded, and the female tab of the first bus bar and the male tab of the second bus bar are press-connected when the first and second divided boxes are slid and joined. An electrical junction box.
上記第1分割箱の上記第1バスバーは、該第1分割箱に搭載するリレーの出力端子と接続される一方、上記第2分割箱の上記第2バスバーは該第2分割箱の搭載するリレーの入力端子と接続され、第1、第2分割箱のスライド固定時に第1分割箱のリレーと第2分割箱のリレーとが接続される請求項1に記載の電気接続箱。The first bus bar of the first division box is connected to an output terminal of a relay mounted on the first division box, while the second bus bar of the second division box is connected to a relay mounted on the second division box. 2. The electrical junction box according to claim 1, wherein the relay of the first division box and the relay of the second division box are connected when the first and second division boxes are slid and fixed. 上記第1分割箱あるいは上記第2分割箱のいずれか一方に車体への固定用のブラケットを設けている請求項1または請求項2に記載の電気接続箱。The electric connection box according to claim 1 or 2, wherein a bracket for fixing to a vehicle body is provided on one of the first division box and the second division box. 上記電気接続箱はエンジンルームに搭載され、該エンジンルームに配策されるワイヤハーネスをエンジンルームメインハーネスとエンジンルームハーネスとに二分割しており、上記第1分割箱あるいは第2分割箱のいずれか一方に上記エンジンルームメインハーネスを接続すると共に、いずれか他方に上記エンジンルームハーネスを接続している請求項1乃至請求項3のいずれか1項に記載の電気接続箱。The electric connection box is mounted in an engine room, and divides a wire harness routed into the engine room into an engine room main harness and an engine room harness. The electric connection box according to any one of claims 1 to 3, wherein the engine room main harness is connected to one of the engine room harnesses, and the engine room harness is connected to one of the other.
JP2002325935A 2002-11-08 2002-11-08 Electrical junction box Expired - Fee Related JP3867658B2 (en)

Priority Applications (1)

Application Number Priority Date Filing Date Title
JP2002325935A JP3867658B2 (en) 2002-11-08 2002-11-08 Electrical junction box

Applications Claiming Priority (1)

Application Number Priority Date Filing Date Title
JP2002325935A JP3867658B2 (en) 2002-11-08 2002-11-08 Electrical junction box

Publications (2)

Publication Number Publication Date
JP2004166322A true JP2004166322A (en) 2004-06-10
JP3867658B2 JP3867658B2 (en) 2007-01-10

Family

ID=32805006

Family Applications (1)

Application Number Title Priority Date Filing Date
JP2002325935A Expired - Fee Related JP3867658B2 (en) 2002-11-08 2002-11-08 Electrical junction box

Country Status (1)

Country Link
JP (1) JP3867658B2 (en)

Cited By (6)

* Cited by examiner, † Cited by third party
Publication number Priority date Publication date Assignee Title
WO2007013325A1 (en) * 2005-07-26 2007-02-01 Sumitomo Wiring Systems, Ltd. Connection structure for split blocks
JP2007267530A (en) * 2006-03-29 2007-10-11 Fujikura Ltd Junction box for automobile
JP2016068872A (en) * 2014-09-30 2016-05-09 本田技研工業株式会社 Support structure for multiple couplers
JP2019030167A (en) * 2017-08-02 2019-02-21 矢崎総業株式会社 Electrical wiring block assembly, electrical junction box and wire harness
JP2019198143A (en) * 2018-05-08 2019-11-14 矢崎総業株式会社 Electric connection box and wire harness
CN114572123A (en) * 2022-04-29 2022-06-03 江苏英拓动力科技有限公司 Power assembly domain controller for electric truck

Cited By (7)

* Cited by examiner, † Cited by third party
Publication number Priority date Publication date Assignee Title
WO2007013325A1 (en) * 2005-07-26 2007-02-01 Sumitomo Wiring Systems, Ltd. Connection structure for split blocks
JP2007267530A (en) * 2006-03-29 2007-10-11 Fujikura Ltd Junction box for automobile
JP2016068872A (en) * 2014-09-30 2016-05-09 本田技研工業株式会社 Support structure for multiple couplers
JP2019030167A (en) * 2017-08-02 2019-02-21 矢崎総業株式会社 Electrical wiring block assembly, electrical junction box and wire harness
JP2019198143A (en) * 2018-05-08 2019-11-14 矢崎総業株式会社 Electric connection box and wire harness
CN114572123A (en) * 2022-04-29 2022-06-03 江苏英拓动力科技有限公司 Power assembly domain controller for electric truck
CN114572123B (en) * 2022-04-29 2022-07-01 江苏英拓动力科技有限公司 Power assembly domain controller for electric truck

Also Published As

Publication number Publication date
JP3867658B2 (en) 2007-01-10

Similar Documents

Publication Publication Date Title
JP5991260B2 (en) Connector and wire harness
EP1018783B1 (en) Electrical junction box having a bus bar
JP4083991B2 (en) Fuse unit and manufacturing method thereof
JP5382526B2 (en) Electrical junction box
US6459558B1 (en) Power breaking device
JP2004080918A (en) Electrical connection box, and method of assembling this electrical connection box
KR101315664B1 (en) Fuse unit
JPH1186951A (en) Coupling connector
JP2008117675A (en) Method for forming printed circuit board with connector, and electric junction box for automobile provided with printed circuit board
JP2004166322A (en) Electrical junction box
JPH1028311A (en) Electric junction box for automobile
JP2001093618A (en) Connector
JP2000188813A (en) Electrical connection box
JP2009266603A (en) Grounding joint connector
JP2007028806A (en) Electric junction box and assembly method therefor
JP2019033001A (en) Mounting structure for electronic unit
JP2011097709A (en) Electrical junction box
JP2001257024A (en) connector
CN115207851B (en) Electrical junction box, manufacturing method of electrical junction box, and wiring harness
JP2598099Y2 (en) Branch junction box
JPH104620A (en) Half-engagement detecting structure between electric connection boxes
JP2614159B2 (en) Assembled multi-pole connector
WO2007013325A1 (en) Connection structure for split blocks
JP2000083313A (en) Electrical junction box
JPH1084617A (en) Electrical junction box

Legal Events

Date Code Title Description
A621 Written request for application examination

Free format text: JAPANESE INTERMEDIATE CODE: A621

Effective date: 20041124

TRDD Decision of grant or rejection written
A01 Written decision to grant a patent or to grant a registration (utility model)

Free format text: JAPANESE INTERMEDIATE CODE: A01

Effective date: 20060919

A61 First payment of annual fees (during grant procedure)

Free format text: JAPANESE INTERMEDIATE CODE: A61

Effective date: 20061002

R150 Certificate of patent (=grant) or registration of utility model

Free format text: JAPANESE INTERMEDIATE CODE: R150

FPAY Renewal fee payment (prs date is renewal date of database)

Free format text: PAYMENT UNTIL: 20101020

Year of fee payment: 4

FPAY Renewal fee payment (prs date is renewal date of database)

Free format text: PAYMENT UNTIL: 20111020

Year of fee payment: 5

FPAY Renewal fee payment (prs date is renewal date of database)

Free format text: PAYMENT UNTIL: 20121020

Year of fee payment: 6

FPAY Renewal fee payment (prs date is renewal date of database)

Free format text: PAYMENT UNTIL: 20131020

Year of fee payment: 7

LAPS Cancellation because of no payment of annual fees