JP2004061326A - Pointer-type measuring instrument - Google Patents

Pointer-type measuring instrument Download PDF

Info

Publication number
JP2004061326A
JP2004061326A JP2002220531A JP2002220531A JP2004061326A JP 2004061326 A JP2004061326 A JP 2004061326A JP 2002220531 A JP2002220531 A JP 2002220531A JP 2002220531 A JP2002220531 A JP 2002220531A JP 2004061326 A JP2004061326 A JP 2004061326A
Authority
JP
Japan
Prior art keywords
light
pointer
value display
measurement value
scale
Prior art date
Legal status (The legal status is an assumption and is not a legal conclusion. Google has not performed a legal analysis and makes no representation as to the accuracy of the status listed.)
Granted
Application number
JP2002220531A
Other languages
Japanese (ja)
Other versions
JP4287627B2 (en
Inventor
Hideki Igarashi
五十嵐 秀樹
Current Assignee (The listed assignees may be inaccurate. Google has not performed a legal analysis and makes no representation or warranty as to the accuracy of the list.)
Nippon Seiki Co Ltd
Original Assignee
Nippon Seiki Co Ltd
Priority date (The priority date is an assumption and is not a legal conclusion. Google has not performed a legal analysis and makes no representation as to the accuracy of the date listed.)
Filing date
Publication date
Application filed by Nippon Seiki Co Ltd filed Critical Nippon Seiki Co Ltd
Priority to JP2002220531A priority Critical patent/JP4287627B2/en
Publication of JP2004061326A publication Critical patent/JP2004061326A/en
Application granted granted Critical
Publication of JP4287627B2 publication Critical patent/JP4287627B2/en
Anticipated expiration legal-status Critical
Expired - Fee Related legal-status Critical Current

Links

Images

Landscapes

  • Details Of Measuring Devices (AREA)
  • Illuminated Signs And Luminous Advertising (AREA)

Abstract

<P>PROBLEM TO BE SOLVED: To provide a pointer-type measuring instrument wherein illumination design of a measurement value display part is given a stereoscopic effect by effectively using a translucent member, in a pointer-type measuring instrument to be mounted on a movable body such as motorcycles, automobiles, watercrafts, and aircrafts. <P>SOLUTION: This instrument is equipped with a pointer 4 moving in proportion to a measured magnitude, a display part 5 having a measured value display part 51 comprising a numeral part 51a and a scale part 51b corresponding to the pointer 4, the translucent member 6 of the scale part 51b disposed on the front side of the display part 5, and a light source 9 disposed behind the display part 5. The scale part 51b is formed so as to have light transmissivity for transmitting the light of the source 9 to the front side, and the translucent member 6 is provided with a recessed part 64 for emitting light by receiving light transmitted by the scale part 51b. <P>COPYRIGHT: (C)2004,JPO

Description

【0001】
【発明の属する技術分野】
本発明は、例えばオートバイ、自動車、船舶、航空機等の移動体に搭載される指針式計器に関する。
【0002】
【従来の技術】
例えば自動車に搭載される指針式計器として、計測量に応じて回転動作する指針と、この指針に対応した目盛部や文字等の計測値表示部を有する表示板とでなり、指針が計測値表示部を指し示すことにより、計測値を表示する指針式計器が知られており、この場合、計測値表示部は指針動作に応じて円弧状に配列される。
【0003】
この種の指針式計器にあっては、例えば特開2002−56897号公報に示されているように、表示板上の計測値表示部を覆う円弧状の透光部材を設けると共に、表示板の背後に計測値表示部を透過照明する光源を配置し、この光源からの光を受けて発光する計測値表示部を透光部材を通じて視認させることにより、照明時の見栄えを工夫したものが知られている。
【0004】
【発明が解決しようとする課題】
しかしながら、前記公報開示のものは、透過光により発光する計測値表示部の発光像が透光部材を通じて透視されるだけであるため、計測値表示部の照明意匠が平面的とならざるを得ず、この点で改良の余地が残されていた。
【0005】
本発明は、この点に鑑みてなされたもので、その主な目的は、透光部材を有効活用し、計測値表示部の照明意匠に立体感を持たせることが可能な指針式計器を提供するものである。
【0006】
【課題を解決するための手段】
本発明は前記目的を達成するため、計測量に応じて動作する指針と、この指針に対応した計測値表示部を有する表示板と、この表示板の前方側に配置され前記計測値表示部を覆う透光部材と、前記表示板の背後に配置される光源とを備え、前記計測値表示部は前記光源の光を前方側に透過する光透過性に形成され、前記透光部材には前記計測値表示部を透過した光を受けて発光する凹部が形成されることを特徴とする。
【0007】
また本発明は、前記凹部の底面に拡散処理部を設けたことを特徴とする。
【0008】
また本発明は、前記凹部が前記計測値表示部に対応した形状に設けられることを特徴とする。
【0009】
【発明の実施の形態】
図1から図3は本発明の第1実施形態を示すもので、以下、これら図面に基づいて本発明の第1実施形態を例えば自動車に搭載される指針式計器に適用した場合について説明する。なお、図1は本発明の第1実施形態による指針式計器の正面図、図2は図1のA−A断面図、図3は図1のB−B断面図である。
【0010】
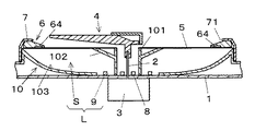
図1,図2において、本実施形態による指針式計器は、回路基板1と、この回路基板1に導通装着され回転軸2が前方に延びる駆動装置3と、回転軸2にて回転駆動される指針4と、この指針4の背後に位置して回路基板1上に配置される表示板5と、この表示板5の前方側に配置される透光部材6と、指針4や表示板5、透光部材6の所要部を露出させるための見返し板7と、指針4を照明する指針用の光源8と、表示板5を照明する表示板用の光源9と、表示板5と回路基板1との間に配置される枠体10とから構成される。
【0011】
回路基板1は、例えばガラスエポキシ系基材に配線パターン(図示せず)を施した硬質回路基板からなり、光源8,9と、例えば駆動装置3の駆動・制御を行う駆動手段(図示せず)や例えば抵抗、コンデンサ等の各種回路部品(図示せず)が前記配線パターンに導通接続されている。
【0012】
駆動装置3は、可動磁石式計器またはステッピングモータからなり、回転軸2が回路基板1を貫通するように、その主要部が回路基板1の背後に装着され、且つ半田付け等の適宜導通手段により前記配線パターン(前記駆動手段)に電気接続される。
【0013】
指針4は、透光性の合成樹脂からなり、回転軸2の先端に連結され、その回転中心部には遮光性カバーが装着されている。そして、この指針4は光源8からの光を受けて発光する発光式指針である。
【0014】
表示板5は、指針4の回転動作軌道に沿った円弧状の配列形状を有し指針4の指示部41の指示対象となる数字(文字)部51a及び目盛部51bからなる計測値表示部51と、この計測値表示部51の背景を形成する背景部52とを有している。
【0015】
これら計測値表示部51と背景部52は、図3に示すように、計測値表示部51が白色系の透光性インクにより、背景部52が例えば黒色系の遮光性インクにより、それぞれ表示板5の母材となる透光性の基材53の前面側に印刷形成されている。また基材53の背面側には反射層54が印刷形成され、この反射層54は、光反射率の高い白色系インクによって、背景部52を構成する黒色系の遮光性インクと同様、計測値表示部51の対応範囲を除く基材53領域に一様に形成されている。
【0016】
またこれら計測値表示部51,背景部52,反射層54を形成する各印刷層はスクリーン印刷等の手段を用いて印刷形成されるが、計測値表示部51,背景部52は基材53の背面に形成することもできるし、反射層54は基材53の前面で背景部53の背後に形成することもできる。
【0017】
また計測値表示部51は、指針4と組み合わされて計測表示対象に応じた指針式表示部Dを構成し、この指針式表示部Dは、本実施形態の場合、速度計からなる指針式表示部Dのみが示されているが、この他に例えば回転計、燃料計、水温計、電圧計等からなる指針式表示部を組み込んでコンビネーションメータとしてもよく、この際、各指針式表示部D毎に透光部材6を設けてもよい。
【0018】
透光部材6は、例えば無色透明なアクリル樹脂からなり、指針4の作動範囲を取り巻くと共に計測値表示部51の配列形状に沿った円弧状もしくはリング状に形成され、図3に示すように表示板5と見返し板7との間に位置する基部61と、この基部61から指針4側に連続形成され見返し板7から露出する露出部62とを有している。この際、露出部62は表示板5の前方側であって、計測値表示部51のうち目盛部51bを覆うように配置されている。
【0019】
また露出部62は、傾斜面63と目盛部51bに対応した形状の凹部64とを有し、傾斜面63は、見返し板7から離れるに従って表示板5側に傾くように、露出部62の前方側外壁面に形成され、凹部64は、その全体形状が目盛部51bの形状に対応しており、目盛部51bとは所定間隔を空けて対向する底部65と、この底部65に連なる側壁部66とを有し、この側壁部は目盛部51bに向けて末広がり形状に傾斜している。
【0020】
見返し板7は、透光部材6の露出部62とこれに囲まれた指針4や計測値表示部51の数字51aを露出し、それ以外の所要領域を隠蔽するもので、透光部材6の基部61に対応する箇所に開口部71を備えている。
【0021】
光源8は、例えば赤色光を発するチップ型発光ダイオードからなり、指針4の回転中心近傍に複数個配置され、枠体10の後述する筒状部内に収納され指針4を赤色に発光させる発光体である。
【0022】
光源9は、例えば白色光を発するチップ型発光ダイオードからなり、表示板5の背後で光源8の外周を取り巻くように複数個配置され、枠体10の後述する第1の反射部102に対向配置され、計測値表示部を白色に発光させる発光体である。
【0023】
枠体10は、例えば白色系の合成樹脂からなり、表示板5や導光部材11を保持する保持体としての機能、光源8,9を収納するハウジングとしての機能、光源8,9の光を前方側に反射させる反射体としての機能を有している。
【0024】
また枠体10は、光源8を収納し指針4の前記回転中心部に光源8の光を供給するための筒状部101と、この筒状部101を取り巻くように表示板5側に傾斜して延び光源9と対向する第1の反射部102と、この第1の反射部102と表示板5とに対向し回転軸2から遠ざかるに従って表示板5に近接する皿形状の環状壁からなる第2の反射部103とを有している。
【0025】
また、第1の反射部102は、光源9からの光を主に外周に向けて放射状に反射する反射面を構成し、第2の反射部103は第1の反射部102を通じて外周に反射された光を表示板5及び透光部材6側に反射する反射面を構成している。
【0026】
また、第1,第2の反射部102,103,筒状部101,表示板5の反射層54によって囲まれた空間部Sは光源9の光を計測値表示部51及び透光部材6に導く照明室としての機能を有しており、この照明室(空間部S)と前記照明室内に配置される光源9とで計測値表示部51を照明する照明手段Lが構成される。この際、表示板5の反射層54は、この反射層54により光源9の光を前記照明室内に再反射させ、照明効率を高める機能を有している。
【0027】
このような構成において、光源8が発光すると、その光によって指針4が照明され、指針4を赤色に照明する。また、光源9が発光すると、その光は前記照明室(空間部S)を通じて反射・拡散され、この光が計測値表示部51の数字部51a,目盛部51bを透過することにより数字部51a,目盛部51bが白色に発光する。
【0028】
そして、この際、目盛部51bを透過した光は、透光部材6の凹部64に至り、底部65を通じて傾斜面62側に抜けると同時に側壁部66や側壁部66と底部65との境界(角部)で乱反射し、これにより、観察者からは透光部材6の奥に光源9からの光を受けて発光する目盛部51bと組み合わされて立体的に発光する凹部64が視認され、この結果、目盛部51bが立体造形を有して視認される。また凹部64内に至った光は、その周囲にも拡散され、これにより凹部64の周囲が淡い輝度でぼんやりと発光し、斬新且つ独特な照明意匠を形成する。
【0029】
以上のように本実施形態では、計測量に応じて動作する指針4と、この指針4に対応した数字部51a,目盛部51bからなる計測値表示部51を有する表示板5と、この表示板5の前方側に配置され目盛部51bを覆う透光部材6と、表示板5の背後に配置される光源9とを備えており、目盛部51bは光源9の光を前方側に透過する光透過性に形成し、透光部材6に目盛部51bを透過した光を受けて発光する凹部64を設けたことにより、透光部材6の有効活用を図りながら、目盛部51bの照明意匠に立体感を与えることができる。
【0030】
また本実施形態では、凹部64の形状を目盛部51bの形状に対応させたことにより、凹部64と目盛部51bとの形状的マッチングを良好にでき、光源9の点灯、非点灯状態によらず、目盛部51bの視認性、判別性を良好に維持することができる。また、例えば昼間時等、透光部材6に外光が当たった状態で光源9を点灯させると、凹部64の発光感が失われ、目盛部51bを認識しづらくなる場合があるが、本実施形態では凹部64に対応する目盛部51bが背景部52(黒色)とは異なる色(白色)に形成されているため、極端に目盛部51bのコントラストが低下することがなく、この点でも判別性を高めている。
【0031】
なお本実施形態では、目盛部51に対応して凹部64を形成したが、凹部64は数字部51aの対応箇所に数字部51aに応じた形状に設けてもよい。
【0032】
また透光部材6の形状は、円弧状やリング状に限らず、計測値表示部51を覆うよう配置されるものであれば、その形状は任意である。
【0033】
図4は、本発明の第2実施形態を示す凹部の拡大断面図であり、本実施形態では凹部64の底部65にシボ加工部からなる拡散処理部67を設けたものである。このように構成することで、底部65を通じて前方側に進む光を拡散し、目盛部51bと対向する底部65を略均一に面発光させることができ、これにより目盛部51bの視認性、判別性を良好にすることができる。
【0034】
なお本実施形態では、シボ加工部からなる拡散処理部67を設けたが、拡散処理部67は拡散作用を持つものであれば、印刷や塗装からなる拡散層であってもよい。
【0035】
【発明の効果】
以上、本発明によれば、初期の目的を達成することができ、透光部材を有効活用し、計測値表示部の照明意匠に立体感を持たせることが可能な指針式計器を提供することができる。
【図面の簡単な説明】
【図1】本発明の第1実施形態によるメータ装置の正面図。
【図2】図1のA−A断面図。
【図3】図1のB−B断面図。
【図4】本発明の第2実施形態による凹部の拡大断面図。
【符号の説明】
1  回路基板
2  回転軸
3  駆動装置
4  指針
5  表示板
6  透光部材
7  見返し板7
8,9  光源
10  枠体
51  計測値表示部
51a  数字部
51b  目盛部
52  背景部
53  基材
54  反射層
61  基部
62  露出部
63  傾斜面
64  凹部
65  底部
66  側壁部
67  拡散処理部
101  筒状部
102  第1の反射部
103  第2の反射部
L  照明手段
S  空間部
[0001]
TECHNICAL FIELD OF THE INVENTION
The present invention relates to a pointer-type instrument mounted on a moving body such as a motorcycle, a car, a ship, and an aircraft.
[0002]
[Prior art]
For example, as a pointer-type instrument mounted on a car, the pointer consists of a pointer that rotates according to the amount of measurement, and a display panel that has a scale and characters and other measurement value display sections that correspond to the pointer. A pointer-type instrument that displays a measurement value by pointing a part is known. In this case, the measurement value display part is arranged in an arc shape according to the movement of the pointer.
[0003]
In this type of pointer-type instrument, for example, as shown in Japanese Patent Application Laid-Open No. 2002-56897, an arc-shaped light-transmitting member that covers a measurement value display portion on a display plate is provided, It is known that a light source for transmitting and illuminating the measurement value display unit is arranged behind the display unit, and the measurement value display unit that emits light by receiving light from the light source is visually recognized through a light transmitting member, thereby improving the appearance during illumination. ing.
[0004]
[Problems to be solved by the invention]
However, since the light emission image of the measurement value display unit that emits light by transmitted light is only seen through the light transmitting member, the illumination design of the measurement value display unit has to be planar. There was room for improvement in this regard.
[0005]
The present invention has been made in view of this point, and a main object thereof is to provide a pointer-type instrument capable of effectively utilizing a light-transmitting member and giving a three-dimensional appearance to a lighting design of a measurement value display section. Is what you do.
[0006]
[Means for Solving the Problems]
In order to achieve the above object, the present invention includes a pointer that operates according to a measured amount, a display plate having a measurement value display unit corresponding to the pointer, and a measurement value display unit that is disposed in front of the display plate. A light-transmitting member for covering, and a light source disposed behind the display panel, wherein the measurement value display portion is formed to have a light-transmitting property to transmit light of the light source to a front side, and the light-transmitting member has the light-transmitting member. A concave portion that receives light transmitted through the measurement value display portion and emits light is formed.
[0007]
Further, the present invention is characterized in that a diffusion processing section is provided on the bottom surface of the recess.
[0008]
Further, the invention is characterized in that the concave portion is provided in a shape corresponding to the measured value display section.
[0009]
BEST MODE FOR CARRYING OUT THE INVENTION
FIGS. 1 to 3 show a first embodiment of the present invention. Hereinafter, a case where the first embodiment of the present invention is applied to a pointer-type instrument mounted on, for example, an automobile will be described with reference to these drawings. 1 is a front view of a pointer-type instrument according to a first embodiment of the present invention, FIG. 2 is a sectional view taken along line AA of FIG. 1, and FIG. 3 is a sectional view taken along line BB of FIG.
[0010]
In FIGS. 1 and 2, the pointer-type instrument according to the present embodiment is rotationally driven by a circuit board 1, a driving device 3 which is conductively mounted on the circuit board 1 and has a rotating shaft 2 extending forward, and a rotating shaft 2. A pointer 4, a display plate 5 located behind the pointer 4 and disposed on the circuit board 1, a translucent member 6 disposed in front of the display plate 5, a pointer 4 and the display plate 5, A return plate 7 for exposing a required portion of the light transmitting member 6, a light source 8 for a pointer for illuminating the hands 4, a light source 9 for a display plate for illuminating the display plate 5, a display plate 5 and the circuit board 1 And the frame body 10 disposed between them.
[0011]
The circuit board 1 is made of, for example, a hard circuit board in which a wiring pattern (not shown) is formed on a glass epoxy base material, and driving means (not shown) for driving and controlling the light sources 8 and 9, for example, the driving device 3. ) And various circuit components (not shown) such as resistors and capacitors are electrically connected to the wiring pattern.
[0012]
The driving device 3 is composed of a movable magnet type instrument or a stepping motor, and its main part is mounted behind the circuit board 1 so that the rotating shaft 2 penetrates the circuit board 1 and is appropriately connected by conducting means such as soldering. It is electrically connected to the wiring pattern (the driving means).
[0013]
The pointer 4 is made of a light-transmitting synthetic resin, is connected to the tip of the rotating shaft 2, and has a light-shielding cover attached to the center of rotation. The pointer 4 is a light-emitting pointer that receives light from the light source 8 and emits light.
[0014]
The display plate 5 has an arc-shaped array shape along the rotation motion trajectory of the hands 4, and a measurement value display unit 51 including a numeral (character) unit 51 a to be indicated by the indicating unit 41 of the hands 4 and a scale unit 51 b. And a background section 52 that forms the background of the measurement value display section 51.
[0015]
As shown in FIG. 3, the measured value display section 51 and the background section 52 are formed on a display panel by using a white translucent ink for the measured value display section 51 and a black light-shielding ink for the background section 52, respectively. 5 is formed by printing on the front side of a light-transmitting base material 53 serving as a base material. On the back side of the base material 53, a reflective layer 54 is formed by printing, and the reflective layer 54 is formed of a white ink having a high light reflectance, similarly to the black light-shielding ink constituting the background portion 52. It is uniformly formed in the region of the base material 53 excluding the corresponding range of the display unit 51.
[0016]
Each of the printed layers forming the measured value display section 51, the background section 52, and the reflective layer 54 is formed by printing using means such as screen printing. The reflective layer 54 can be formed on the back surface, and can be formed on the front surface of the base material 53 and behind the background portion 53.
[0017]
In addition, the measured value display section 51 constitutes a pointer type display section D corresponding to the measurement display object in combination with the pointer 4, and in the case of the present embodiment, the pointer type display section D is a pointer type display comprising a speedometer. Although only the portion D is shown, a combination type meter including a tachometer, a fuel gauge, a water temperature meter, a voltmeter, and the like may be incorporated into the combination meter in addition thereto. A translucent member 6 may be provided for each time.
[0018]
The translucent member 6 is made of, for example, a colorless and transparent acrylic resin, surrounds the operating range of the hands 4, and is formed in an arc shape or a ring shape along the arrangement shape of the measurement value display unit 51, and is displayed as shown in FIG. It has a base portion 61 located between the plate 5 and the return plate 7, and an exposed portion 62 formed continuously from the base portion 61 toward the hands 4 and exposed from the return plate 7. At this time, the exposed portion 62 is disposed on the front side of the display panel 5 so as to cover the scale portion 51b of the measured value display portion 51.
[0019]
The exposed portion 62 has an inclined surface 63 and a concave portion 64 having a shape corresponding to the graduation portion 51b. The inclined surface 63 is in front of the exposed portion 62 so as to be inclined toward the display plate 5 as the distance from the dial plate 7 increases. The concave portion 64 is formed on the side outer wall surface, and the entire shape of the concave portion 64 corresponds to the shape of the scale portion 51b. The bottom portion 65 faces the scale portion 51b at a predetermined interval, and the side wall portion 66 connected to the bottom portion 65. And the side wall is inclined in a divergent shape toward the scale 51b.
[0020]
The return plate 7 exposes the exposed portion 62 of the light transmitting member 6, the pointer 4 surrounded by the exposed portion 62, and the numeral 51 a of the measurement value display portion 51, and conceals other necessary areas. An opening 71 is provided at a location corresponding to the base 61.
[0021]
The light source 8 is composed of, for example, a chip-type light emitting diode that emits red light. A plurality of the light sources 8 are arranged near the center of rotation of the hands 4, and are housed in a tubular portion of the frame 10, which emits the hands 4 in red. is there.
[0022]
The light source 9 is composed of, for example, a chip-type light emitting diode that emits white light. A plurality of the light sources 9 are arranged behind the display panel 5 so as to surround the outer periphery of the light source 8. This is a light emitter that emits white light on the measured value display section.
[0023]
The frame 10 is made of, for example, a white synthetic resin, and functions as a holder for holding the display panel 5 and the light guide member 11, a function as a housing for housing the light sources 8 and 9, and the light of the light sources 8 and 9. It has a function as a reflector that reflects light forward.
[0024]
The frame body 10 accommodates the light source 8 and supplies the light of the light source 8 to the center of rotation of the pointer 4. The cylindrical body 101 is inclined toward the display plate 5 so as to surround the cylindrical part 101. A first reflecting portion 102 extending and facing the light source 9, and a dish-shaped annular wall facing the first reflecting portion 102 and the display plate 5 and approaching the display plate 5 as the distance from the rotation axis 2 increases. And two reflecting portions 103.
[0025]
In addition, the first reflecting portion 102 constitutes a reflecting surface that radially reflects light from the light source 9 mainly toward the outer periphery, and the second reflecting portion 103 is reflected to the outer periphery through the first reflecting portion 102. And a reflection surface that reflects the reflected light toward the display panel 5 and the light transmitting member 6.
[0026]
The space S surrounded by the first and second reflecting portions 102 and 103, the cylindrical portion 101, and the reflecting layer 54 of the display panel 5 transmits the light of the light source 9 to the measured value display portion 51 and the light transmitting member 6. The lighting unit L has a function as an illumination room for guiding, and the illumination unit L for illuminating the measurement value display unit 51 is configured by the illumination room (space S) and the light source 9 arranged in the illumination room. At this time, the reflection layer 54 of the display panel 5 has a function of causing the light of the light source 9 to be re-reflected into the illumination room by the reflection layer 54 to increase the illumination efficiency.
[0027]
In such a configuration, when the light source 8 emits light, the light illuminates the hands 4 and illuminates the hands 4 in red. When the light source 9 emits light, the light is reflected and diffused through the illumination room (space S), and this light passes through the numeral 51a and the scale 51b of the measurement value display unit 51, so that the numeral 51a, The scale portion 51b emits white light.
[0028]
At this time, the light transmitted through the scale portion 51 b reaches the concave portion 64 of the light transmitting member 6 and passes through the bottom portion 65 to the inclined surface 62 side, and at the same time, the side wall portion 66 or the boundary between the side wall portion 66 and the bottom portion 65 (corner). Portion), the viewer sees a concave portion 64 that emits three-dimensional light in combination with the graduation portion 51b that receives light from the light source 9 and emits light in the back of the light transmitting member 6 from the observer. , The scale portion 51b has a three-dimensional structure and is visually recognized. Further, the light that has reached the inside of the concave portion 64 is also diffused around the concave portion 64, whereby the periphery of the concave portion 64 dimly emits light with low brightness, thereby forming a novel and unique lighting design.
[0029]
As described above, in the present embodiment, the indicator 4 that operates according to the measurement amount, the display plate 5 that has the measured value display unit 51 including the numeral unit 51a and the scale unit 51b corresponding to the indicator 4, and the display plate 5 5 includes a light transmitting member 6 disposed on the front side of the display panel 5 and covering the scale 51b, and a light source 9 disposed behind the display panel 5. The scale 51b transmits light of the light source 9 to the front side. By providing the light transmitting member 6 with the concave portion 64 that receives the light transmitted through the scale portion 51b and emits light, the light transmitting member 6 can be effectively used to make the lighting design of the scale portion 51b three-dimensional. Can give a feeling.
[0030]
In the present embodiment, the shape of the concave portion 64 is made to correspond to the shape of the scale portion 51b, so that the shape matching between the concave portion 64 and the scale portion 51b can be improved, and the light source 9 can be turned on or off regardless of the lighting state. Thus, the visibility and discrimination of the scale portion 51b can be favorably maintained. In addition, for example, when the light source 9 is turned on in a state where external light is applied to the light transmitting member 6 in the daytime or the like, the light emission feeling of the concave portion 64 may be lost, and it may be difficult to recognize the scale portion 51b. In the embodiment, the scale portion 51b corresponding to the concave portion 64 is formed in a color (white) different from the background portion 52 (black), so that the contrast of the scale portion 51b is not extremely reduced. Is increasing.
[0031]
In the present embodiment, the concave portion 64 is formed corresponding to the scale portion 51. However, the concave portion 64 may be provided in a position corresponding to the numeral portion 51a in a shape corresponding to the numeral portion 51a.
[0032]
Further, the shape of the light transmitting member 6 is not limited to an arc shape or a ring shape, and the shape is arbitrary as long as it is arranged so as to cover the measurement value display section 51.
[0033]
FIG. 4 is an enlarged sectional view of a concave portion showing a second embodiment of the present invention. In this embodiment, a diffusion processing portion 67 made of a grained portion is provided at the bottom 65 of the concave portion 64. With this configuration, light traveling forward can be diffused through the bottom portion 65, and the bottom portion 65 facing the scale portion 51b can be almost uniformly surface-emitted, whereby the visibility and discrimination of the scale portion 51b can be improved. Can be improved.
[0034]
In the present embodiment, the diffusion processing section 67 including the grain processing section is provided, but the diffusion processing section 67 may be a diffusion layer formed by printing or painting as long as it has a diffusion action.
[0035]
【The invention's effect】
As described above, according to the present invention, it is possible to provide a pointer-type instrument capable of achieving an initial object, effectively utilizing a light-transmitting member, and giving a three-dimensional appearance to a lighting design of a measurement value display section. Can be.
[Brief description of the drawings]
FIG. 1 is a front view of a meter device according to a first embodiment of the present invention.
FIG. 2 is a sectional view taken along line AA of FIG.
FIG. 3 is a sectional view taken along line BB of FIG. 1;
FIG. 4 is an enlarged sectional view of a concave portion according to a second embodiment of the present invention.
[Explanation of symbols]
REFERENCE SIGNS LIST 1 circuit board 2 rotating shaft 3 drive device 4 pointer 5 display plate 6 translucent member 7 return plate 7
8, 9 light source 10 frame 51 measured value display section 51a numeral section 51b scale section 52 background section 53 base material 54 reflective layer 61 base section 62 exposed section 63 inclined surface 64 concave section 65 bottom section 66 side wall section 67 diffusion processing section 101 cylindrical section 102 first reflector 103 second reflector L illumination means S space

Claims (3)

計測量に応じて動作する指針と、
この指針に対応した計測値表示部を有する表示板と、
この表示板の前方側に配置され前記計測値表示部を覆う透光部材と、
前記表示板の背後に配置される光源とを備え、
前記計測値表示部は前記光源の光を前方側に透過する光透過性に形成され、
前記透光部材には前記計測値表示部を透過した光を受けて発光する凹部が形成されることを特徴とする指針式計器。
A pointer that operates according to the measured amount,
A display plate having a measurement value display unit corresponding to the pointer,
A light-transmitting member disposed on the front side of the display plate and covering the measurement value display unit;
A light source disposed behind the display board,
The measurement value display unit is formed to be light-transmissive to transmit the light of the light source to the front side,
A pointer-type instrument, wherein a recess is formed in the translucent member to receive and transmit light transmitted through the measurement value display unit.
前記凹部の底部に拡散処理部を設けたことを特徴とする請求項1記載の指針式計器。The pointer-type instrument according to claim 1, wherein a diffusion processing unit is provided at a bottom of the concave portion. 前記凹部が前記計測値表示部に対応した形状に設けられることを特徴とする請求項1または請求項2記載の指針式計器。The pointer-type instrument according to claim 1, wherein the concave portion is provided in a shape corresponding to the measurement value display section.
JP2002220531A 2002-07-30 2002-07-30 Pointer-type instrument Expired - Fee Related JP4287627B2 (en)

Priority Applications (1)

Application Number Priority Date Filing Date Title
JP2002220531A JP4287627B2 (en) 2002-07-30 2002-07-30 Pointer-type instrument

Applications Claiming Priority (1)

Application Number Priority Date Filing Date Title
JP2002220531A JP4287627B2 (en) 2002-07-30 2002-07-30 Pointer-type instrument

Publications (2)

Publication Number Publication Date
JP2004061326A true JP2004061326A (en) 2004-02-26
JP4287627B2 JP4287627B2 (en) 2009-07-01

Family

ID=31941090

Family Applications (1)

Application Number Title Priority Date Filing Date
JP2002220531A Expired - Fee Related JP4287627B2 (en) 2002-07-30 2002-07-30 Pointer-type instrument

Country Status (1)

Country Link
JP (1) JP4287627B2 (en)

Cited By (11)

* Cited by examiner, † Cited by third party
Publication number Priority date Publication date Assignee Title
JP2005283346A (en) * 2004-03-30 2005-10-13 Nippon Seiki Co Ltd Instrument display
JP2006292485A (en) * 2005-04-08 2006-10-26 Nissan Motor Co Ltd Meter device
JP2007017167A (en) * 2005-07-05 2007-01-25 Yazaki Corp Instrument
JP2007071826A (en) * 2005-09-09 2007-03-22 Yazaki Corp Dial
JP2007248353A (en) * 2006-03-17 2007-09-27 Denso Corp Vehicular instrument
JP2008286575A (en) * 2007-05-16 2008-11-27 Yazaki Corp Display device
JP2009103568A (en) * 2007-10-23 2009-05-14 Calsonic Kansei Corp In-vehicle display device
WO2011055646A1 (en) * 2009-11-06 2011-05-12 カルソニックカンセイ株式会社 Meter
US9205775B2 (en) 2013-10-01 2015-12-08 Denso International America, Inc. Prism for light reflecting/diffusion between LED's
JP2018146402A (en) * 2017-03-06 2018-09-20 株式会社デンソー Vehicle display device
JP2019158788A (en) * 2018-03-16 2019-09-19 日本精機株式会社 Vehicle meter

Cited By (14)

* Cited by examiner, † Cited by third party
Publication number Priority date Publication date Assignee Title
JP2005283346A (en) * 2004-03-30 2005-10-13 Nippon Seiki Co Ltd Instrument display
JP2006292485A (en) * 2005-04-08 2006-10-26 Nissan Motor Co Ltd Meter device
JP2007017167A (en) * 2005-07-05 2007-01-25 Yazaki Corp Instrument
JP2007071826A (en) * 2005-09-09 2007-03-22 Yazaki Corp Dial
JP2007248353A (en) * 2006-03-17 2007-09-27 Denso Corp Vehicular instrument
JP2008286575A (en) * 2007-05-16 2008-11-27 Yazaki Corp Display device
JP2009103568A (en) * 2007-10-23 2009-05-14 Calsonic Kansei Corp In-vehicle display device
WO2011055646A1 (en) * 2009-11-06 2011-05-12 カルソニックカンセイ株式会社 Meter
JP2011099760A (en) * 2009-11-06 2011-05-19 Calsonic Kansei Corp Meter illumination structure
CN102597712A (en) * 2009-11-06 2012-07-18 卡森尼可关精株式会社 Meter
US9302585B2 (en) 2009-11-06 2016-04-05 Calsonic Kansei Corporation Meter
US9205775B2 (en) 2013-10-01 2015-12-08 Denso International America, Inc. Prism for light reflecting/diffusion between LED's
JP2018146402A (en) * 2017-03-06 2018-09-20 株式会社デンソー Vehicle display device
JP2019158788A (en) * 2018-03-16 2019-09-19 日本精機株式会社 Vehicle meter

Also Published As

Publication number Publication date
JP4287627B2 (en) 2009-07-01

Similar Documents

Publication Publication Date Title
US7874689B2 (en) Display device
US7525446B2 (en) Display device having decorative member on screen
JP2010256258A (en) Instrument lighting device
JP4329061B2 (en) Instrument device
JP2004061326A (en) Pointer-type measuring instrument
JP2003215142A (en) Measuring instrument for vehicle
JP2006162569A (en) Pointer instrument
JP5045403B2 (en) Pointer instrument
JP3928841B2 (en) Instrument device
JP2003344120A (en) Pointer-type display device
JP3912373B2 (en) Instrument device
JP4075843B2 (en) Vehicle indicator instrument
JP2004301534A (en) Pointer instrument for vehicle
JP4667896B2 (en) Pointer instrument
JP2003344119A (en) Meter unit
JP3747466B2 (en) Instrument device
JP3747464B2 (en) Instrument lighting structure
JP2007315769A (en) Vehicle display device
JP2004226363A (en) Instrument for vehicle
JP2007033268A (en) Pointer instrument for vehicle
JP2009047560A (en) Measuring instrument device
JP3503596B2 (en) Meter device
JP2002357461A (en) Measuring instrument
JP4652781B2 (en) Pointer instrument
JP2006113024A (en) Pointing instrument

Legal Events

Date Code Title Description
A621 Written request for application examination

Free format text: JAPANESE INTERMEDIATE CODE: A621

Effective date: 20050324

A977 Report on retrieval

Free format text: JAPANESE INTERMEDIATE CODE: A971007

Effective date: 20060609

A131 Notification of reasons for refusal

Free format text: JAPANESE INTERMEDIATE CODE: A131

Effective date: 20060614

A521 Request for written amendment filed

Free format text: JAPANESE INTERMEDIATE CODE: A523

Effective date: 20060719

A02 Decision of refusal

Free format text: JAPANESE INTERMEDIATE CODE: A02

Effective date: 20070202

A521 Request for written amendment filed

Free format text: JAPANESE INTERMEDIATE CODE: A523

Effective date: 20081201

A01 Written decision to grant a patent or to grant a registration (utility model)

Free format text: JAPANESE INTERMEDIATE CODE: A01

A61 First payment of annual fees (during grant procedure)

Free format text: JAPANESE INTERMEDIATE CODE: A61

Effective date: 20090327

FPAY Renewal fee payment (event date is renewal date of database)

Free format text: PAYMENT UNTIL: 20120403

Year of fee payment: 3

R150 Certificate of patent or registration of utility model

Free format text: JAPANESE INTERMEDIATE CODE: R150

Ref document number: 4287627

Country of ref document: JP

Free format text: JAPANESE INTERMEDIATE CODE: R150

A521 Request for written amendment filed

Free format text: JAPANESE INTERMEDIATE CODE: A523

Effective date: 20060719

FPAY Renewal fee payment (event date is renewal date of database)

Free format text: PAYMENT UNTIL: 20120403

Year of fee payment: 3

FPAY Renewal fee payment (event date is renewal date of database)

Free format text: PAYMENT UNTIL: 20150403

Year of fee payment: 6

R250 Receipt of annual fees

Free format text: JAPANESE INTERMEDIATE CODE: R250

R250 Receipt of annual fees

Free format text: JAPANESE INTERMEDIATE CODE: R250

LAPS Cancellation because of no payment of annual fees