EP4494496A1 - Electronic atomization device - Google Patents

Electronic atomization device Download PDF

Info

Publication number
EP4494496A1
EP4494496A1 EP23787847.5A EP23787847A EP4494496A1 EP 4494496 A1 EP4494496 A1 EP 4494496A1 EP 23787847 A EP23787847 A EP 23787847A EP 4494496 A1 EP4494496 A1 EP 4494496A1
Authority
EP
European Patent Office
Prior art keywords
operating element
airflow
connection structure
atomization device
electronic atomization
Prior art date
Legal status (The legal status is an assumption and is not a legal conclusion. Google has not performed a legal analysis and makes no representation as to the accuracy of the status listed.)
Pending
Application number
EP23787847.5A
Other languages
German (de)
French (fr)
Other versions
EP4494496A4 (en
Inventor
Zhongyuan SUN
Biao Wang
Zhongli XU
Yonghai LI
Current Assignee (The listed assignees may be inaccurate. Google has not performed a legal analysis and makes no representation or warranty as to the accuracy of the list.)
Shenzhen FirstUnion Technology Co Ltd
Original Assignee
Shenzhen FirstUnion Technology Co Ltd
Priority date (The priority date is an assumption and is not a legal conclusion. Google has not performed a legal analysis and makes no representation as to the accuracy of the date listed.)
Filing date
Publication date
Priority claimed from CN202220888270.0U external-priority patent/CN217446684U/en
Priority claimed from CN202223412077.9U external-priority patent/CN219353095U/en
Application filed by Shenzhen FirstUnion Technology Co Ltd filed Critical Shenzhen FirstUnion Technology Co Ltd
Publication of EP4494496A1 publication Critical patent/EP4494496A1/en
Publication of EP4494496A4 publication Critical patent/EP4494496A4/en
Pending legal-status Critical Current

Links

Images

Classifications

    • AHUMAN NECESSITIES
    • A24TOBACCO; CIGARS; CIGARETTES; SIMULATED SMOKING DEVICES; SMOKERS' REQUISITES
    • A24FSMOKERS' REQUISITES; MATCH BOXES; SIMULATED SMOKING DEVICES
    • A24F40/00Electrically operated smoking devices; Component parts thereof; Manufacture thereof; Maintenance or testing thereof; Charging means specially adapted therefor
    • A24F40/40Constructional details, e.g. connection of cartridges and battery parts
    • A24F40/48Fluid transfer means, e.g. pumps
    • A24F40/485Valves; Apertures
    • AHUMAN NECESSITIES
    • A24TOBACCO; CIGARS; CIGARETTES; SIMULATED SMOKING DEVICES; SMOKERS' REQUISITES
    • A24FSMOKERS' REQUISITES; MATCH BOXES; SIMULATED SMOKING DEVICES
    • A24F40/00Electrically operated smoking devices; Component parts thereof; Manufacture thereof; Maintenance or testing thereof; Charging means specially adapted therefor
    • A24F40/10Devices using liquid inhalable precursors
    • AHUMAN NECESSITIES
    • A24TOBACCO; CIGARS; CIGARETTES; SIMULATED SMOKING DEVICES; SMOKERS' REQUISITES
    • A24FSMOKERS' REQUISITES; MATCH BOXES; SIMULATED SMOKING DEVICES
    • A24F40/00Electrically operated smoking devices; Component parts thereof; Manufacture thereof; Maintenance or testing thereof; Charging means specially adapted therefor
    • A24F40/50Control or monitoring
    • A24F40/51Arrangement of sensors

Definitions

  • Embodiments of this application relate to the field of electronic atomization technologies, and in particular, to an electronic atomization device.
  • Tobacco products (such as cigarettes and cigars) burn tobacco during use to produce tobacco smoke. Attempts are made to replace these tobacco-burning products by making products that release compounds without burning.
  • an example of this type of products is a heating apparatus that releases compounds by heating rather than burning materials.
  • the materials may be tobacco or other non-tobacco products. These non-tobacco products may include or not include nicotine.
  • aerosol-providing articles are provided, for example, a so-called electronic atomization device. These devices generally include a liquid, and the liquid is heated to vaporize, to generate an inhalable aerosol.
  • the liquid may include nicotine, and/or aromatics, and/or aerosol-generation substances (such as glycerin).
  • an airflow sensor senses an inhalation action of a user, and controls, based on sensing of the airflow sensor, vaporization of the liquid to generate the aerosol.
  • An embodiment of this application provides an electronic atomization device, including:
  • the operating element avoids the air inlet at both the first position and the second position, so that the air inlet is open at both the first position and the second position.
  • the airflow channel when the operating element is at the first position and the second position, the airflow channel is unobstructed or circulable for an airflow.
  • the electronic atomization device includes only one air inlet.
  • the electronic atomization device further includes:
  • the electronic atomization device further includes:
  • the first connection structure includes a first recess
  • the second connection structure includes a second recess
  • the third connection structure includes a protrusion matchable to the first recess or the second recess.
  • the operating element is arranged to be movable relative to the shell in a first direction, to change the configuration between the first position and the second position;
  • the electronic atomization device further includes a biasing element, where the biasing element is arranged to provide bias toward the first connection structure for the third connection structure when the operating element is at the first position; or the biasing element is arranged to provide bias toward the second connection structure for the third connection structure when the operating element is at the second position.
  • a hook configured to connect the operating element to the shell is arranged on the operating element; and the biasing element includes a spring arranged around the hook.
  • the first side of the airflow sensor is at least partially exposed in the electronic atomization device.
  • the electronic atomization device further includes:
  • the shell includes a near end and a far end facing away from each other in a longitudinal direction;
  • the air inlet and the communication port are both located at the far end of the shell, a part of the airflow channel bypasses the airflow sensor, and the air inlet is in communication with the first side of the airflow sensor through the part.
  • Another embodiment of this application further provides an electronic atomization device, including:
  • Another embodiment of this application further provides an electronic atomization device, including:
  • the electronic atomization devices can selectively lock or unlock the airflow sensor through the operating element, to prevent the aerosol from being provided to a user, a minor in particular.
  • This application provides an electronic atomization device, configured to atomize a liquid substrate to generate an aerosol.
  • FIG. 1 is a schematic diagram of an electronic atomization device 100 according to a specific embodiment.
  • the electronic atomization device includes a plurality of components arranged in an outer body or a shell (which may be referred to as a housing).
  • An overall design of the outer body or the shell may be changed, and a type or a configuration of the outer body that may define an overall size and shape of the electronic atomization device 100 may be changed.
  • an elongated body may be formed by a single integrated housing, or an elongated housing may be formed by two or more separable bodies.
  • a control body may be arranged at an end of the electronic atomization device 100.
  • the control body has a housing including one or more reusable components (for example, a rechargeable battery and/or a storage battery of a rechargeable supercapacitor, and various electronic components configured to control operation of a product).
  • An outer body or a shell for inhalation is arranged at the other end.
  • the electronic atomization device 100 includes:
  • the shell 10 may be formed by using a metal or alloy such as stainless steel or aluminum.
  • suitable materials include various plastics (for example, polycarbonate), metal-plating over plastic, ceramics, and the like.
  • the electronic atomization device 100 further includes:
  • the electronic atomization device 100 further includes: an operating assembly, arranged at the far end 120 of the shell 10, and arranged to be movable in a width direction of the shell 10.
  • the operating assembly includes: an operating element 20, arranged at the far end 120 of the shell 10, and arranged to be movable in the width direction of the shell 10.
  • a sliding groove 122 extending in the width direction is provided at the far end 120 of the shell 10, and the operating element 20 at least partially moves in the sliding groove 122.
  • a hook groove 123 extending in the width direction of the shell 10 is provided on a side wall in the sliding groove 122; and a hook 21 extending into the hook groove 123 is arranged on the operating element 20, so that during movement of the operating element 20, the movement of the operating element 20 is limited through engagement between the hook 21 and the hook groove 123, and the operating element 20 is prevented from detaching from the sliding groove 122.
  • the operating element 20 is constructed to be substantially perpendicular to the longitudinal direction of the shell 10.
  • the operating element 20 has a relatively thin shape, a length of the operating element 20 is greater than a width, and the length is greater than a thickness.
  • the operating element 20 has an upper side surface and a lower side surface facing away from each other in a thickness direction. After assembly, the lower side surface of the operating element 20 is exposed outside the shell 10, and is further configured for the user to perform a moving operation.
  • the lower side surface of the operating element 20 is non-flat or uneven, so that it is convenient to form a friction force to facilitate the user to press the operating element 20 to perform the moving operation.
  • the hook 21 extends away from the operating element 20 from the upper side surface of the operating element 20.
  • the operating assembly further includes: a flexible damping element 30 located on the operating element 20.
  • the upper side surface of the operating element 20 has a recessed structure.
  • the flexible damping element 30 is at least partially accommodated or held in the recessed structure of the upper side surface of the operating element 20.
  • the flexible damping element 30 is configured to provide proper damping between the operating element 20 and the shell 10.
  • the damping element 30 is also constructed into a thin shape. After assembly, the damping element 30 is compressed by the operating element 20 and the shell 10 from two sides in the thickness direction. In addition, an avoidance hole 31 is provided on the damping element 30. During assembly, after passing through the avoidance hole 31, the hook 21 of the operating element 20 is connected to the hook groove 123 of the shell 10. A protruding rib 32 is arranged on a surface of the damping element 30 facing the shell 10, and is conducive to providing damping through pressing or compression formed by abutting against the shell 10.
  • the electronic atomization device 100 further includes: a liquid storage cavity 12 configured to store a liquid substrate, and an atomization assembly configured to absorb the liquid substrate from the liquid storage cavity 12 and atomize the liquid substrate by heating. To facilitate vaporization and output, both the liquid storage cavity 12 and the atomization assembly are arranged close to the near end 110.
  • the electronic atomization device 100 further includes an aerosol output tube 11 arranged in the longitudinal direction. The aerosol output tube 11 at least partially extends in the liquid storage cavity 12, and space between an outer wall of the aerosol output tube 11 and an inner wall of a first housing 10 forms the liquid storage cavity 12. An end portion of the aerosol output tube 11 opposite to the near end 110 is in communication with the inhalation port 113, to output the aerosol generated through atomization by the atomization assembly to the inhalation port 113 for inhalation.
  • the atomization assembly includes:
  • the liquid guiding element 13 may be further constructed in various regular or irregular shapes, and is partially in fluid communication with the liquid storage cavity 12 to receive the liquid substrate.
  • the liquid guiding element 13 may be in a larger number of regular or irregular shapes, such as a polygonal block shape, a groove shape with a groove provided on a surface, or an arch shape with a hollow channel inside.
  • the heating element 14 may be bonded onto the liquid guiding element 13 through printing, deposition, sintering, physical assembly, or the like.
  • the liquid guiding element 13 may have a plane or a curved surface configured to support the heating element 14, and the heating element 14 is formed on the plane or the curved surface of the liquid guiding element 13 through mounting, printing, deposition, or the like.
  • the heating element 14 is a conductive trajectory formed on a surface of the liquid guiding element 13.
  • the conductive trajectory of the heating element 14 may be in a form of a printed circuit formed by printing.
  • the heating element 14 is a patterned conductive trajectory.
  • the heating element 14 is planar.
  • the heating element 14 is a conductive trajectory extending in a circuitous, meandering, reciprocal, or bending manner
  • a flexible sealing element 15 is further arranged in the shell 10.
  • the sealing element 15 at least partially supports the aerosol output tube 11, and seals the liquid storage cavity 12.
  • the liquid storage cavity 12 defined between the outer wall of the aerosol output tube 11 and the inner wall of the shell 10 is closed at the end portion close to the near end 110; and an opening of the liquid storage cavity 12 facing the far end 120 is sealed by the sealing element 15.
  • a shape of the sealing element 15 substantially matches the opening of the liquid storage cavity 12 facing the far end 120.
  • a flange 152 extending toward the liquid storage cavity 12 is further arranged on the sealing element 15.
  • an end portion of the aerosol output tube 11 facing away from the inhalation port 113 is inserted on the flange 152, so that the aerosol output tube 11 is assembled with the sealing element 15.
  • the flange 152 of the sealing element 15 extends in the longitudinal direction of the electronic atomization device 100.
  • the sealing element 15 further defines an air channel 151 running through the sealing element 15 in the longitudinal direction of the electronic atomization device 100, for the external air to pass through the sealing element 15 to enter the aerosol output tube 11 during inhalation.
  • the air channel 151 is at least partially surrounded by the flange 152, or the air channel 151 runs through the flange 152.
  • the electronic atomization device 100 further includes: a battery cell 16, at least partially accommodated and held in the shell 10, and configured to supply power to the heating element 14, where the battery cell 16 is located between the sealing element 15 and the far end 120. Specifically, two ends of the heating element 14 are connected to leads by welding, and establish a conductive connection to the battery cell 140 after the leads penetrate the sealing element 15.
  • the electronic atomization device 100 further includes: a circuit board (not shown in the figure), where a related functional circuit is integrated on the circuit board. In addition, the circuit board abuts against or is arranged in parallel with the battery cell 16.
  • the circuit board for example, a PCB, extends in the longitudinal direction of the electronic atomization device 100, and is substantially parallel with, and abuts against or is attached to the battery cell 16.
  • the circuit board is conductively connected to the battery cell 16.
  • the two ends of the heating element 14 are connected to the leads by welding, and are connected to the circuit board after the leads penetrate the sealing element 15, so that the circuit board guides a current between the battery cell 16 and the heating element 14.
  • an airflow path of the electronic atomization device during inhalation is shown by an arrow R2.
  • the air inlet 121 is provided at the far end 120 of the electronic atomization device 100, for the external air to enter the shell 10 during inhalation.
  • a gap is provided between the battery cell 16 and the shell 10, so that the air entering the air inlet 121 can enter the air channel 151 of the sealing element 15 through the gap between the battery cell 16 and the shell 10, and then pass through the aerosol output tube 11 and carry the aerosol generated through heating by the heating element 14 to be output to the inhalation port 113.
  • the electronic atomization device 100 includes: a sensing assembly, configured to sense a change of an airflow flowing through the electronic atomization device 100 during inhalation.
  • a control component on the circuit board controls, according to a sensing result of the sensing assembly, the battery cell 16 to provide power for the heating element 14, to heat the liquid substrate in the liquid guiding element 13 to generate the aerosol.
  • the sensing assembly includes: an airflow sensor 40, for example, a microphone or a differential pressure sensor, having a first side 410 and a second side 420 facing away from each other in the longitudinal direction of the electronic atomization device 100. After assembly, in the longitudinal direction of the electronic atomization device 100, the airflow sensor 40 and the battery cell 16 are spaced apart.
  • the first side 410 of the airflow sensor 40 faces or is adjacent to the battery cell 16, and the second side 420 faces away from the battery cell 16 and faces the far end 120.
  • the airflow sensor 40 maintains a gap with the battery cell 16 through the first side 410, and the gap is in communication with an airflow flowing around the battery cell 16 during inhalation, or the gap provides a part of the airflow path, so that the airflow sensor 40 can sense the change of the airflow flowing through the electronic atomization device 100 during inhalation.
  • the second side 420 of the airflow sensor 40 is in communication with an external atmosphere, to sense a pressure of the external atmosphere. Therefore, the airflow sensor 40 can determine an inhalation action of the user and output a high-level signal according to a pressure difference between the first side 410 and the second side 420 that is greater than a preset threshold. Further, based on the high-level signal output by the airflow sensor 150, the control component on the circuit board controls the battery cell 16 to output power to the heating element 14, to atomize the liquid to generate the aerosol.
  • the sensing assembly further includes: a flexible sealing element 50, made of, for example, silicone or a thermoplastic elastic body.
  • the sealing element 50 surrounds or wraps the airflow sensor 40, so that the first side 410 and the second side 420 of the airflow sensor 40 are in an airflow isolation state. In this way, a pressure on the second side 420 is not affected by a pressure on the first side 410 during sensing.
  • the flexible sealing element 50 is arranged around the airflow sensor 40 and has an upper end and a lower end facing away from each other.
  • the sealing element 50 is located on the first side 410 of the airflow sensor 40, and the upper end of the sealing element 50 is open, in other words, the first side 410 of the airflow sensor 40 is exposed or substantially exposed.
  • the lower end of the sealing element 50 is located on the second side 420 of the airflow sensor 40, and the lower end of the sealing element 50 substantially wraps the second side 420 of the airflow sensor 40.
  • a through hole 51 is provided at the lower end of the sealing element 50, and the through hole 51 is configured for the second side 420 to communicate with the external atmosphere.
  • the electronic atomization device 100 further includes: a communication port 124, located at or close to the far end 120, and located between the second side 420 of the airflow sensor 40 and the far end 120; and a port of the communication port 124 at the far end 120 is located in the sliding groove 122.
  • the second side 420 of the airflow sensor 40 can communicate with the external atmosphere through the communication port 124, to sense the pressure of the external atmosphere.
  • the communication port 124 and the air inlet 121 are isolated from each other.
  • a protruding edge 52 at least partially surrounding the through hole 51 is further arranged at the lower end of the sealing element 50.
  • a wall surrounding or defining the communication port 124 is inserted into the protruding edge 52 and/or the through hole 51, to directly communicate with the second side 420 of the airflow sensor 40.
  • the through hole 51 and/or the protruding edge 52 are arranged deviating from a center of the second side 420 of the airflow sensor 40.
  • the operating element 20 moves in the sliding groove 122 under a pressing operation by the user, and has a first position. Specifically,
  • FIG. 2 , FIG. 5 , and FIG. 11 are schematic diagrams of the operating element 20 at the first position.
  • the operating element 20 and the damping element 30 close or cover the communication port 124. Therefore, at the first position, the second side 420 of the airflow sensor 40 is sealed or isolated from the external air, so that the airflow sensor 40, for example, a microphone or a differential pressure sensor, cannot be triggered, and cannot further sense the change of the airflow flowing through the electronic atomization device 100 during inhalation. Therefore, at the first position, the heating element 14 cannot heat the liquid substrate in response to the inhalation of the user to generate the aerosol.
  • the sliding groove 122 and/or the operating element 20 are isolated from the air inlet 121, so that at the first position, the air inlet 121 is open.
  • an airflow passing through the electronic atomization device 100 can be formed between the air inlet 121 and the inhalation port 113.
  • a direction of the airflow is shown by an arrow R2 in the figure, but no aerosol is generated and output.
  • FIG. 10 and FIG. 12 are schematic diagrams of the operating element 20 moved to a second position.
  • the operating element 20 and the damping element 30 open or expose the communication port 124.
  • the second side 420 of the airflow sensor 40 is in communication with the external air through the communication port 124. Therefore, at the second position, when the user inhales at the inhalation port 113, the external air can enter through the air inlet 121 and form an inhalation airflow passing through the electronic atomization device 100.
  • the airflow sensor 40 can be triggered based on the pressure difference between the first side 410 and the second side 420, so that the circuit board controls the battery cell 16 to supply power to the heating element 14, to generate the aerosol by heating.
  • FIG. 13 is a schematic diagram of sensing an inhalation airflow by an airflow sensor 40 according to an embodiment.
  • the airflow sensor 40 includes:
  • FIG. 14 shows a state of the airflow sensor 40 during inhalation.
  • the inhalation airflow flows through the first side 410, because the first side 410 is at a negative pressure, if an air pressure on a side of the deformable electrode membrane 41 facing the electrode plate 42 is in communication with an external atmosphere, the deformable electrode membrane 41 can bend or deform toward the first side 410 to a state shown in FIG. 14 .
  • the negative pressure on the first side 410 is greater, and deformation of the deformable electrode membrane 41 is correspondingly greater. Therefore, a change of the capacitance value defined between the deformable electrode membrane 41 and the electrode plate 42 is greater.
  • the airflow sensor 40 determines the pressure difference between the first side 410 and the second side 420 based on the change of the capacitance value.
  • the second side 420 is blocked by the operating element 20, because the air pressure on the side of the deformable electrode membrane 41 facing the electrode plate 42 is isolated from the external atmosphere, when the user inhales, the deformable electrode membrane 41 cannot deform to a corresponding degree in response to the negative pressure of the inhalation, so that a capacitance change between the deformable electrode membrane 41 and the electrode plate 42 cannot reach a response degree, and the airflow sensor 40 cannot be triggered in response to the inhalation of the user.
  • the operating element 20 moves between the first position and the second position in the sliding groove 122 in a width direction of the electronic atomization device 100, thereby selectively opening or closing the communication port 124. Specifically, the operating element 20 can close the communication port 124 when being moved to the first position, so that the electronic atomization device 100 is in a locked state. In this case, the airflow sensor 40 is prevented from sensing the pressure difference between the first side 410 and the second side 420. The operating element 20 can open or communicate with the communication port 124 when being moved to the second position, so that the electronic atomization device 100 is in an unlocked state.
  • the electronic atomization device can generate the aerosol in response to the inhalation of the user, and output the aerosol to the inhalation port 113 for the user to inhale. Therefore, the electronic atomization device 100 can prevent an inhalation operation by the user, for example, a minor in particular, through the locked state.
  • the electronic atomization device 100 may detect a position of the operating element 20 through a sensing component such as a distance sensor or an optical sensor, to determine a position status of the operating element 20, and prevent generation of the aerosol when being at the first position.
  • a sensing component such as a distance sensor or an optical sensor
  • the operating element 20 avoids the air inlet 121 at both the first position and the second position. Further, in an implementation, when the operating element 20 is at the first position and the second position, the air inlet 121 is always open or uncovered. Alternatively, when the operating element 20 is at the first position and the second position, an airflow channel flowing from the air inlet 121 to the inhalation port 113 can be formed when the user inhales.
  • the operating element 20 may be bonded onto the shell 10 by turning, for example, in a rotation manner; and can further close or open the communication port 124 through rotation selectively.
  • the operating element 20 is removably bonded onto the shell 10.
  • the operating element 20 includes a detachable cover, which can close the communication port 124 when the operating element 20 is bonded onto the shell 10; and when the operating element 20 is detached from the shell 10, the communication port 124 can be opened.
  • the electronic atomization device 100 includes only one air inlet 121.
  • FIG. 15 and FIG. 16 are schematic diagrams of an electronic atomization device 100 according to another variant embodiment.
  • an operating element 20a is at least partially movably arranged in the electronic atomization device 100, so that a first side 410a of an airflow sensor 40a can be selectively closed or opened. Further, when the operating element 20a closes the first side 410a of the airflow sensor 40a, a block is established between the first side 410a of the airflow sensor 40a and an airflow channel of the electronic atomization device 100, thereby preventing the airflow sensor 40a from sensing an airflow flowing through the electronic atomization device 100 when the user inhales, for example, as shown in FIG. 15 .
  • the airflow sensor 40a When the operating element 20a opens the first side 410a of the airflow sensor 40a, the airflow sensor 40a is allowed to sense the airflow flowing through the electronic atomization device 100 when the user inhales, for example, as shown in FIG. 16 .
  • a part of the operating element 20a is exposed on the outer surface of the electronic atomization device 100, or the operating element 20a is connected to another mechanism exposed on the outer surface of the electronic atomization device 100, thereby providing user control.
  • FIG. 17 is a schematic exploded view of an operating assembly and a shell 10b in an electronic atomization device 100 according to another variant embodiment.
  • a far end 120b of the shell 10b is provided with:
  • the operating element 20b is arranged at the far end 120b of the shell 10b, and is arranged to be movable in the width direction of the shell 10b. Specifically, a sliding groove 122b extending in the width direction is provided at the far end 120b of the shell 10b. The operating element 20b at least partially moves linearly in the sliding groove 122b.
  • a communication port 124b is provided in the sliding groove 122b.
  • a second side 420b of an airflow sensor 40b can communicate with the external atmosphere through the communication port 124b, to sense the pressure of the external atmosphere.
  • the operating element 20b is mainly in a shape of a thin sheet.
  • a hook 21b extending out and perpendicular to the operating element 20b is arranged on the operating element 20b.
  • the hook 21b extends longitudinally, and at least a part of a cross-sectional area of a free tail end 211b of the hook 21b increases, forming a hook portion.
  • the flexible damping element 30b is at least partially accommodated or held in a recessed structure of an upper side surface of the operating element 20b.
  • the flexible damping element 30b is configured to provide damping between the operating element 20b and the shell 10b.
  • a hook hole 123b is further provided in the sliding groove 122b of the shell 10b, and the hook 21b passes through the hook hole 123b and is connected to the shell 10b during assembly.
  • An outer surface of the hook 21b is provided with: at least one protrusion 26b extending in a longitudinal direction.
  • a recess 126b and a recess 125b that are arranged in a longitudinal direction are arranged on an inner surface of the hook hole 123b.
  • the protrusion 26b of the hook 21b can extend into the recess 126b to be coupled or engaged, so that the operating element 20b stably remains at the first position and cannot move toward the second position in the width direction.
  • the protrusion 26b of the hook 21b can extend into the recess 125b, so that the operating element 20b stably remains at the second position and cannot move toward the first position in the width direction.
  • the protrusion 26b of the hook 21b can extend into the recess 126b to provide retention.
  • the communication port 124b is blocked or covered or closed by the operating element 20b.
  • the air inlet 121b is open.
  • the recess 125b avoids the hook 21b.
  • the second side 420b of the airflow sensor 40b cannot sense the pressure of the external atmosphere, so that the airflow sensor 40b cannot respond to flowing of the airflow during inhalation.
  • the hook 21b extends into a clamping slot 127b after penetrating the hook hole 123b.
  • the user needs to first perform an operation shown in FIG. 20 , for example, moving the operating element 20b away from the shell 10b by a specific stroke by picking up the operating element 20b or pulling out the operating element 20b with a finger, as shown by an arrow R31 in FIG. 20 .
  • the protrusion 26b of the hook 21b is separated from the recess 126b or detached from the retention at the first position, so that the operating element 20b can move linearly in the width direction.
  • the operating element 20b is moved toward the second position in the width direction, to enable the protrusion 26b to be aligned with the recess 125b.
  • the protrusion 26b is staggered with the recess 126b.
  • the operating element 20b moves to a state shown in FIG. 21 , and the protrusion 26b is separated from the recess 125b in the longitudinal direction. In this case, the operating element 20b is not fastened or stably held.
  • the operating element 20b in FIG. 21 is longitudinally pushed or pressed inward toward the shell 10b, so that the protrusion 26b extends into the recess 125b to form coupling or engagement, and then the operating element 20b is stably held at the second position, so that the operating element 20b cannot move in the width direction.
  • the operating element 20b avoids the air inlet 121b and the communication port 124b, so that the external air can enter the electronic atomization device through the air inlet 121b, to form an inhalation airflow when the user inhales.
  • the second side 420b of the airflow sensor 40b can sense the pressure of the external atmosphere through the communication port 124b.
  • an avoidance notch 24b and an avoidance notch 23b are further provided on the operating element 20b.
  • the avoidance notch 24b is aligned with the communication port 124b, thereby preventing the communication port 124b from being covered or closed.
  • the avoidance notch 23b is aligned with the air inlet 121b, thereby preventing the air inlet 121b from being covered or closed.
  • the operating element 20b When the operating element 20b needs to be moved from the second position shown in FIG. 22 to the first position shown in FIG. 19 , the operating element 20b is first picked out or pulled out by the user to detach the protrusion 26b from the recess 125b. Then, the operating element 20b may be moved toward the first position to the state shown in FIG. 20 , and finally the operating element 20b is pressed inward to enable the protrusion 26b to extend into the recess 126b for bonding.
  • the electronic atomization device 100 further includes: a biasing element 25b, configured to enable the protrusion 26b of the operating element 20b to extend into the recess 126b at the first position for bias or reset; and enable the protrusion 26b of the operating element 20b to extend into the recess 125b at the second position for bias or reset. It is more convenient that the biasing element 25b is provided for replacing pressing the operating element 20b by the user during operation.
  • the biasing element 25b is a spring 25b surrounding or winding around the hook 21b.
  • one end of the spring 25b abuts against the free tail end 211b, and the other end abuts against an inner wall of the clamping slot 127b.
  • FIG. 23 and FIG. 29 are schematic diagrams of an electronic atomization device 100 according to another variant embodiment.
  • the electronic atomization device 100 includes:
  • the operating element 20c has a first end wall 20c2 and a second end wall 20c3 facing away from each other in a thickness direction, and a peripheral side wall 20c4 extending between the first end wall 20c2 and the second end wall 20c3.
  • the clamping bulge 20c1 is located on the peripheral side wall 20c4.
  • convex edges 20c5 are arranged on the second end wall 20c3, configured to provide friction when the user presses the second end wall 20c3 to perform a moving operation on the operating element 20c, which is convenient for the user to operate.
  • the convex edges 20c5 are perpendicular to a length direction of the operating element 20c.
  • An accommodating recess cavity 20c6 is provided on the first end wall 20c2 of the operating element 20c, and the accommodating recess cavity 20c6 is configured to accommodate and mount the damping element 30c. After assembly, the damping element 30c is located between the operating element 20c and the shell 10c in the longitudinal direction of the electronic atomization device 100, to provide damping during movement of the operating element 20c.
  • the damping element 30c is also constructed into a thin shape. After assembly, the damping element 30c is compressed by the operating element 20c and the shell 10c from two sides in the thickness direction. A protrusion 30c1 is arranged on a surface of the damping element 30c facing the shell 10c, and is conducive to providing damping by abutting against the shell 10c to form pressing or compression.
  • the electronic atomization device 100 further includes: a bracket 60c, located between a sealing element 50c and the far end 120c.
  • the bracket 60c is rigid and has a support arm 60c1.
  • the support arm 60c1 is inserted into the sealing element 50c to provide support for the sealing element 50c.
  • At least a part of a battery cell 16c is accommodated and held on the bracket 60c; and is configured to supply power to a heating element 14c.
  • a lead hole 50c1 is provided on the sealing element 50c. After assembly, two ends of the heating element 14c are connected to the battery cell 16c through leads passing through the lead hole 50c1, so that the heating element 14c is conducted.
  • a communication port 124c is provided.
  • the communication port 124c located in the sliding groove 122c is in communication with the external atmosphere.
  • An airflow sensor 40c for example, a microphone or a differential pressure sensor, is provided, and includes a first side 40c1 and a second side 40c2 facing away from each other in the longitudinal direction of the electronic atomization device 100.
  • the first side 40c1 is arranged facing the battery cell 16c
  • the second side 40c2 is arranged facing the far end 120c, and can communicate with the external atmosphere through the communication port 124c located in the sliding groove 122c.
  • a first airflow channel 70c is located between the battery cell 16c and the far end 120c.
  • the first airflow channel 70c has a first air inlet 71c located in the sliding groove 122c.
  • a first through hole 20c7 is provided on the operating element 20c, and a second through hole 30c2 opposite to and in communication with the first through hole 20c7 is provided on the damping element 30c.
  • the operating element 20c is moved in the sliding groove 122c due to pressing the second end wall 20c3 by the user, and has a first position and a second position.
  • FIG. 25 and FIG. 28 are schematic diagrams of the operating element 20c at the first position.
  • the operating element 20c and the damping element 30c close the first air inlet 71c of the first airflow channel 70c.
  • the operating element 20c and the damping element 30c close the communication port 124c. Therefore, at the first position, the second side 40c2 of the airflow sensor 40c is sealed or isolated from the external air, and the airflow sensor 40c cannot be triggered.
  • the circuit board controls the battery cell 16c to prevent the battery cell 16c from providing power for the heating element 14c, and the user cannot inhale.
  • the external air cannot enter the shell 10c through the first air inlet 71c. In this case, when the user inhales at the inhalation port 113, there is a large suction resistance because no inhalation airflow is generated.
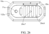
  • FIG. 26 and FIG. 29 are schematic diagrams of the operating element 20c moved to the second position.
  • the operating element 20c and the damping element 30c open or expose the first air inlet 71c of the first airflow channel 70c.
  • the communication port 124c is aligned with the first through hole 20c7 of the operating element 20c and the second through hole 30c2 of the damping element 30c to communicate with the external air.
  • the second side 40c2 of the airflow sensor 40c is in communication with the external air. Therefore, at the second position, when the user inhales at the inhalation port 113, the external air can enter the shell 10c through the first airflow channel 70c along an arrow R4 shown in FIG.
  • the airflow sensor 40c can be triggered according to a pressure difference between the first side 40c1 and the second side 40c2 that is greater than the preset threshold, so that the circuit board controls the battery cell 16c to supply power to the heating element 14c, to generate the aerosol by heating.
  • the operating element 20c moves between the first position and the second position along an arrow P shown in FIG. 25 and FIG. 26 , to selectively open or close the first airflow channel 70c and the communication port 124c. Specifically, when moving to the first position, the first airflow channel 70c and the communication port 124c are closed, to form a locked state of the electronic atomization device 100. In this case, the heating element 14c is prevented from generating the aerosol by heating, and there is a large suction resistance during inhalation to prevent inhalation. When moving to the second position, the first airflow channel 70c and the communication port 124c are opened or communicated to form an unlocked state of the electronic atomization device 100. In this case, the user can inhale the aerosol. Therefore, the electronic atomization device 100 can prevent inhalation of the user, for example, a minor in particular, through the locked state.
  • FIG. 30 and FIG. 35 are schematic diagrams of an electronic atomization device 100 according to another more preferred variant embodiment.
  • the electronic atomization device 100 includes:
  • the electronic atomization device 100 in this embodiment further includes:
  • FIG. 32 and FIG. 34 are schematic diagrams of the first position.
  • the operating element 20d covers or closes the first air inlet 71d and the communication port 124d of the first airflow channel 70d at the first position, to prevent the airflow sensor 40d from being triggered to lock the electronic atomization device 100.
  • the external air can enter the shell 10d through the second air inlet 73d of the second airflow channel 72d, as shown by an arrow R3 in FIG. 32 ; and then flow toward the air channel 151d and the aerosol output tube 11d through the gap between the battery cell 16d and the shell 10d.
  • the aerosol when the user inhales in the locked state, the aerosol is not heated to be generated, but an airflow still passes through the electronic atomization device 100.
  • the locked state air can still be inhaled without a large suction resistance, which is conducive to preventing a minor from finding or detecting that the electronic atomization device 100 is locked.
  • an area of the second air inlet 73d is greater than an area of the first air inlet 71d.
  • the communication port 124d is aligned with both the first through hole 840a of the operating element 20d and the second through hole 92a of the damping element 30d, to communicate with the external air.
  • the first air inlet 71d of the first airflow channel 70d is open or exposed, and during inhalation, the external air can enter the shell 10d along an arrow R4 in the figure. In this case, the electronic atomization device 100 is in the unlocked state.
  • the airflow sensor 40d When the user inhales, the airflow sensor 40d, for example, a microphone or a differential pressure sensor, can trigger to generate a high-level signal in response to an inhalation action, and then the circuit board controls, based on the trigger of the airflow sensor 40d, the battery cell 16d to output power to the heating element 14d.
  • the second air inlet 73d of the second airflow channel 72d is covered or closed, to prevent the external air from entering the shell 10d through the second airflow channel 72d.
  • generation of the aerosol is prevented in the locked state, and there is still the airflow passing through the electronic atomization device 100, which is conducive to preventing the minor from detecting that the electronic atomization device 100 is locked.
  • the air entering the shell 10d through the second airflow channel 72d during inhalation by the user avoids the first side 40d1 of the airflow sensor 40d; or in the locked state, the airflow during inhalation is separated from the first side 40d1 of the airflow sensor 40d, so that it is further conducive to preventing triggering of the airflow sensor 40d.
  • a cross-sectional area of the first airflow channel 70d is smaller than a cross-sectional area of the second airflow channel 72d.
  • the second air inlet 73d has a hole size of about 1 mm to 3 mm.
  • a plurality of second air inlets 73d are provided, for example, as shown in FIG. 34 , six second air inlets 73d are arranged annularly.
  • both the first airflow channel 70d and the second airflow channel 72d extend in the longitudinal direction of the electronic atomization device 100; and the first airflow channel 70d and the second airflow channel 72d are spaced apart in the width direction of the electronic atomization device 100.
  • the airflow sensor 40d is located between the first airflow channel 70d and the second airflow channel 72d in the width direction of the electronic atomization device 100.
  • the airflow sensor 40d is close to a center of the width direction of the electronic atomization device 100.
  • the first airflow channel 70d and/or the second airflow channel 72d deviate from the center of the width direction of the electronic atomization device 100.
  • the shell 10d of the electronic atomization device 100 is constructed into an elongated cylindrical shape different from the foregoing flat shape.
  • the operating element 20d is in a ring shape or an arc shape at least partially surrounding the shell.
  • the operating element 20d is driven to rotate around the shell in a circumferential direction, to adjust a position of the operating element 20d to be configured between the first position and the second position.
  • the first airflow channel 70d and the first air inlet 71d are correspondingly arranged at positions away from the far end 120d.
  • the first airflow channel 70d and the first air inlet 71d are located between the battery cell 16d and the sealing element 50d.
  • the first airflow channel 70d and the first air inlet 71d are defined between the bracket 60d and the sealing element 50d.
  • the operating element 20d is correspondingly adjusted and arranged at a corresponding position on the shell 10d.

Landscapes

  • Special Spraying Apparatus (AREA)

Abstract

An electronic atomization device (100), comprising: a liquid storage cavity (12), an atomization assembly, and a power-supply battery cell (16); an airflow channel, which defines an airflow path from an air inlet (121) to an air suction port (113) via the atomization assembly; an airflow sensor (40) for sensing a change in the airflow in the airflow channel, the airflow sensor (40) comprising a first side (410) and a second side (420) facing away from each other, the first side (410) and the second side (420) being isolated with respect to the airflow, the first side (410) being used for being in airflow communication with the airflow channel, and the second side (420) being used for communicating with the outside atmosphere; an operating element (20), which closes at least one of the first side (410) and the second side (420) in a first position to prevent the airflow sensor (40) from sensing a change in the airflow in the airflow channel, and which opens both the first side (410) and the second side (420) in a second position, so as to allow the airflow sensor (40) to sense the airflow in the airflow channel; and a circuit for controlling the battery cell (16) to provide power according to a sensing result of the airflow sensor (40). In the electronic atomization device (100), the airflow sensor (40) can be selectively locked or unlocked by means of the operating element (20), so as to prevent an aerosol from being provided to a user, particularly a minor.

Description

  • This application claims priority to Chinese Patent Application No. 202220888270.0, entitled "ELECTRONIC ATOMIZATION DEVICE" and filed with the China National Intellectual Property Administration on April 15, 2022 , and Chinese Patent Application No. 202223412077.9, entitled "ELECTRONIC ATOMIZATION DEVICE" and filed with the China National Intellectual Property Administration on December 19, 2022 , which are incorporated herein by reference in their entireties.
  • TECHNICAL FIELD
  • Embodiments of this application relate to the field of electronic atomization technologies, and in particular, to an electronic atomization device.
  • BACKGROUND
  • Tobacco products (such as cigarettes and cigars) burn tobacco during use to produce tobacco smoke. Attempts are made to replace these tobacco-burning products by making products that release compounds without burning.
  • An example of this type of products is a heating apparatus that releases compounds by heating rather than burning materials. For example, the materials may be tobacco or other non-tobacco products. These non-tobacco products may include or not include nicotine. In another example, aerosol-providing articles are provided, for example, a so-called electronic atomization device. These devices generally include a liquid, and the liquid is heated to vaporize, to generate an inhalable aerosol. The liquid may include nicotine, and/or aromatics, and/or aerosol-generation substances (such as glycerin). In a known electronic atomization device, an airflow sensor senses an inhalation action of a user, and controls, based on sensing of the airflow sensor, vaporization of the liquid to generate the aerosol.
  • SUMMARY
  • An embodiment of this application provides an electronic atomization device, including:
    • a liquid storage cavity, configured to store a liquid substrate;
    • an atomization assembly, configured to atomize the liquid substrate to generate an aerosol;
    • a battery cell, configured to provide power for the atomization assembly;
    • an inhalation port, an air inlet, and an airflow channel located between the air inlet and the inhalation port, where the airflow channel defines an airflow path from the air inlet to the inhalation port through the atomization assembly, to transfer the aerosol to the inhalation port;
    • an airflow sensor, configured to sense an airflow change in the airflow channel, where the airflow sensor includes a first side and a second side facing away from each other, and the first side and the second side are in airflow isolation from each other; and the first side is configured to be in airflow communication with the airflow channel, and the second side is configured to be in communication with an external atmosphere;
    • an operating element, arranged to be configurable between a first position and a second position, where the operating element closes at least one of the first side and the second side of the airflow sensor when being at the first position, to prevent the airflow sensor from sensing the airflow change in the airflow channel; and the operating element opens both the first side and the second side of the airflow sensor when being at the second position, to allow the airflow sensor to sense the airflow change in the airflow channel; and
    • a circuit, configured to control, according to a sensing result of the airflow sensor, the battery cell to provide power for the atomization assembly.
  • In some implementations, the operating element avoids the air inlet at both the first position and the second position, so that the air inlet is open at both the first position and the second position.
  • In some implementations, when the operating element is at the first position and the second position, the airflow channel is unobstructed or circulable for an airflow.
  • In some implementations, the electronic atomization device includes only one air inlet.
  • In some implementations, the electronic atomization device further includes:
    • a shell, at least partially defining an outer surface of the electronic atomization device, where
    • the operating element is at least partially exposed outside the shell, and is constructed to be movable relative to the shell, to change a configuration between the first position and the second position.
  • In some implementations, the electronic atomization device further includes:
    • a first connection structure and a second connection structure, where
    • a third connection structure is arranged on the operating element;
    • when the operating element is at the first position, the third connection structure is arranged to be connectable to the first connection structure, to prevent the operating element from moving toward the second position; and when the operating element is at the second position, the third connection structure is arranged to be connectable to the second connection structure, to prevent the operating element from moving toward the first position.
  • In some implementations, the first connection structure includes a first recess, the second connection structure includes a second recess, and the third connection structure includes a protrusion matchable to the first recess or the second recess.
  • In some implementations, the operating element is arranged to be movable relative to the shell in a first direction, to change the configuration between the first position and the second position; and
    • the operating element is arranged to be movable relative to the shell in a second direction, to establish a connection between the third connection structure and the first connection structure or release a connection between the third connection structure and the first connection structure; or
    • the operating element is arranged to be movable relative to the shell in a second direction, to establish a connection between the third connection structure and the second connection structure or release a connection between the third connection structure and the second connection structure, where
    • the second direction is perpendicular to the first direction.
  • In some implementations, the electronic atomization device further includes a biasing element, where the biasing element is arranged to provide bias toward the first connection structure for the third connection structure when the operating element is at the first position; or
    the biasing element is arranged to provide bias toward the second connection structure for the third connection structure when the operating element is at the second position.
  • In some implementations, a hook configured to connect the operating element to the shell is arranged on the operating element; and
    the biasing element includes a spring arranged around the hook.
  • In some implementations, the first side of the airflow sensor is at least partially exposed in the electronic atomization device.
  • In some implementations, the electronic atomization device further includes:
    • a shell, at least partially defining an outer surface of the electronic atomization device, where a communication port is provided on the shell, to communicate the second side with the external atmosphere; and
    • the operating element is constructed to cover or close the communication port when being at the first position, and open or expose the communication port when being at the second position.
  • In some implementations, the shell includes a near end and a far end facing away from each other in a longitudinal direction;
    • the inhalation port is located at the near end;
    • the airflow sensor is located between the battery cell and the far end; the first side and the second side of the airflow sensor are arranged facing away from each other in the longitudinal direction of the shell; and the first side faces the battery cell, and the second side faces the far end.
  • In some implementations, the air inlet and the communication port are both located at the far end of the shell, a part of the airflow channel bypasses the airflow sensor, and the air inlet is in communication with the first side of the airflow sensor through the part.
  • Another embodiment of this application further provides an electronic atomization device, including:
    • a liquid storage cavity, configured to store a liquid substrate;
    • an atomization assembly, configured to atomize the liquid substrate to generate an aerosol;
    • an inhalation port, an air inlet, and an airflow channel located between the air inlet and the inhalation port, where the airflow channel is defined as an airflow path from the air inlet to the inhalation port through the atomization assembly, to transfer the aerosol to the inhalation port;
    • an airflow sensor, configured to sense an airflow change in the airflow channel, where the airflow sensor includes a first side and a second side facing away from each other; and the first side is in airflow communication with the airflow channel;
    • a communication port, configured to communicate the second side with an external atmosphere; and
    • an operating element, arranged to be configurable between a first position and a second position, where the operating element closes the communication port at the first position; the operating element opens the communication port at the second position; and the operating element avoids or opens the air inlet at both the first position and the second position.
  • Another embodiment of this application further provides an electronic atomization device, including:
    • a liquid storage cavity, configured to store a liquid substrate;
    • an atomization assembly, configured to atomize the liquid substrate to generate an aerosol;
    • an airflow channel, configured to output the aerosol;
    • an airflow sensor, including a first side and a second side facing away from each other, where the first side is in airflow communication with the airflow channel;
    • a communication port, configured to communicate the second side with an external atmosphere;
    • an operating element, arranged to be movable between a first position and a second position, where the operating element closes the communication port at the first position, and the operating element opens the communication port at the second position; and
    • a first connection structure and a second connection structure, where
    • a third connection structure is arranged on the operating element; when the operating element is at the first position, the third connection structure is arranged to be connected to the first connection structure, to prevent the operating element from moving toward the second position; and when the operating element is at the second position, the third connection structure is arranged to be connected to the second connection structure, to prevent the operating element from moving toward the first position.
  • The electronic atomization devices can selectively lock or unlock the airflow sensor through the operating element, to prevent the aerosol from being provided to a user, a minor in particular.
  • BRIEF DESCRIPTION OF THE DRAWINGS
  • One or more embodiments are exemplarily described with reference to the corresponding figures in the accompanying drawings, and the exemplary descriptions do not constitute a limitation to the embodiments. Components in the accompanying drawings that have same reference numerals are represented as similar components, and unless otherwise particularly stated, the figures in the accompanying drawings are not drawn to scale.
    • FIG. 1 is a schematic diagram of an electronic atomization device according to an embodiment from a perspective;
    • FIG. 2 is a schematic diagram of the electronic atomization device in FIG. 1 from another perspective;
    • FIG. 3 is a schematic exploded view of an operating assembly and a shell of the electronic atomization device in FIG. 1;
    • FIG. 4 is a schematic exploded view of the operating assembly in FIG. 3 from another perspective;
    • FIG. 5 is a schematic diagram of the operating assembly in FIG. 3 from another perspective;
    • FIG. 6 is a schematic cross-sectional view of the electronic atomization device in FIG. 1 from a perspective;
    • FIG. 7 is a schematic structural diagram of a sensing assembly in FIG. 6 from a perspective;
    • FIG. 8 is a schematic structural diagram of the sensing assembly in FIG. 6 from another perspective;
    • FIG. 9 is a schematic cross-sectional view of the sensing assembly in FIG. 6 from a perspective;
    • FIG. 10 is a schematic diagram of an operating element in FIG. 2 moved to another position;
    • FIG. 11 is a schematic cross-sectional view of the operating element in FIG. 2 at a position;
    • FIG. 12 is a schematic cross-sectional view of the operating element in FIG. 10 moved to another position;
    • FIG. 13 is a schematic structural diagram of an airflow sensor according to an embodiment;
    • FIG. 14 is a schematic diagram of a deformable electrode membrane in FIG. 13 in response to a change of an inhalation airflow;
    • FIG. 15 is a schematic diagram of an electronic atomization device according to another embodiment;
    • FIG. 16 is a schematic diagram of an operating element in FIG. 15 moved to another position;
    • FIG. 17 is a schematic exploded view of an operating assembly and a shell of an electronic atomization device according to another embodiment;
    • FIG. 18 is a schematic structural diagram of the operating assembly in FIG. 17 from another perspective;
    • FIG. 19 is a schematic cross-sectional view of an operating element in FIG. 17 at a position;
    • FIG. 20 is a schematic diagram of the operating element in FIG. 19 being pulled to a movable state;
    • FIG. 21 is a schematic cross-sectional view of the operating element in FIG. 20 moved to another position;
    • FIG. 22 is a schematic diagram of the operating element in FIG. 21 being biased to a non-movable state;
    • FIG. 23 is a schematic exploded view of a part of components of an electronic atomization device according to another embodiment;
    • FIG. 24 is a schematic exploded view of an operating element and a damping element in FIG. 23 from another perspective;
    • FIG. 25 is a schematic diagram of the operating element in FIG. 23 in a position state;
    • FIG. 26 is a schematic diagram of the operating element in FIG. 23 moved to another position state;
    • FIG. 27 is a schematic cross-sectional view of the electronic atomization device in FIG. 23;
    • FIG. 28 is a schematic cross-sectional view of the operating element in FIG. 23 in a position state;
    • FIG. 29 is a schematic cross-sectional view of the operating element in FIG. 23 moved to another position state;
    • FIG. 30 is a schematic exploded view of a part of components of an electronic atomization device according to another embodiment;
    • FIG. 31 is a schematic cross-sectional view of the electronic atomization device in FIG. 30;
    • FIG. 32 is a schematic cross-sectional view of an operating element in FIG. 30 in a position state;
    • FIG. 33 is a schematic cross-sectional view of the operating element in FIG. 30 moved to another position state;
    • FIG. 34 is a schematic diagram of the operating element in FIG. 30 in a position state; and
    • FIG. 35 is a schematic diagram of the operating element in FIG. 30 moved to another position state.
    DETAILED DESCRIPTION
  • For ease of understanding of this application, this application is described in further detail below with reference to the accompanying drawings and specific implementations.
  • This application provides an electronic atomization device, configured to atomize a liquid substrate to generate an aerosol.
  • Further, FIG. 1 is a schematic diagram of an electronic atomization device 100 according to a specific embodiment. The electronic atomization device includes a plurality of components arranged in an outer body or a shell (which may be referred to as a housing). An overall design of the outer body or the shell may be changed, and a type or a configuration of the outer body that may define an overall size and shape of the electronic atomization device 100 may be changed. Generally, an elongated body may be formed by a single integrated housing, or an elongated housing may be formed by two or more separable bodies.
  • For example, a control body may be arranged at an end of the electronic atomization device 100. The control body has a housing including one or more reusable components (for example, a rechargeable battery and/or a storage battery of a rechargeable supercapacitor, and various electronic components configured to control operation of a product). An outer body or a shell for inhalation is arranged at the other end.
  • Further, in specific embodiments shown in FIG. 1 and FIG. 2, the electronic atomization device 100 includes:
    • a shell 10, substantially defining an outer surface of the electronic atomization device 100, and having a near end 110 and a far end 120 opposite to each other in a longitudinal direction. During use, the near end 110 is an end close to a user for inhalation; and the far end 120 is an end away from the user.
  • In some examples, the shell 10 may be formed by using a metal or alloy such as stainless steel or aluminum. Other suitable materials include various plastics (for example, polycarbonate), metal-plating over plastic, ceramics, and the like.
  • Further, as shown in FIG. 1 and FIG. 2, the electronic atomization device 100 further includes:
    • an inhalation port 113, configured for a user to inhale, and located at the near end 110 of the shell 10; and
    • an air inlet 121, defined at the far end 120 of the shell 10, and configured for external air to enter.
  • The electronic atomization device 100 further includes:
    an operating assembly, arranged at the far end 120 of the shell 10, and arranged to be movable in a width direction of the shell 10. Specifically, as shown in FIG. 3, the operating assembly includes:
    an operating element 20, arranged at the far end 120 of the shell 10, and arranged to be movable in the width direction of the shell 10. Specifically, a sliding groove 122 extending in the width direction is provided at the far end 120 of the shell 10, and the operating element 20 at least partially moves in the sliding groove 122. In addition, a hook groove 123 extending in the width direction of the shell 10 is provided on a side wall in the sliding groove 122; and a hook 21 extending into the hook groove 123 is arranged on the operating element 20, so that during movement of the operating element 20, the movement of the operating element 20 is limited through engagement between the hook 21 and the hook groove 123, and the operating element 20 is prevented from detaching from the sliding groove 122.
  • Further, referring to FIG. 3 to FIG. 5, the operating element 20 is constructed to be substantially perpendicular to the longitudinal direction of the shell 10. The operating element 20 has a relatively thin shape, a length of the operating element 20 is greater than a width, and the length is greater than a thickness. The operating element 20 has an upper side surface and a lower side surface facing away from each other in a thickness direction. After assembly, the lower side surface of the operating element 20 is exposed outside the shell 10, and is further configured for the user to perform a moving operation. In some examples, the lower side surface of the operating element 20 is non-flat or uneven, so that it is convenient to form a friction force to facilitate the user to press the operating element 20 to perform the moving operation. In addition, the hook 21 extends away from the operating element 20 from the upper side surface of the operating element 20.
  • In an optional embodiment, the operating assembly further includes: a flexible damping element 30 located on the operating element 20. The upper side surface of the operating element 20 has a recessed structure. During assembly, the flexible damping element 30 is at least partially accommodated or held in the recessed structure of the upper side surface of the operating element 20. In addition, when the operating element 20 moves in the sliding groove 122, the flexible damping element 30 is configured to provide proper damping between the operating element 20 and the shell 10.
  • Further, referring to FIG. 3 to FIG. 5, the damping element 30 is also constructed into a thin shape. After assembly, the damping element 30 is compressed by the operating element 20 and the shell 10 from two sides in the thickness direction. In addition, an avoidance hole 31 is provided on the damping element 30. During assembly, after passing through the avoidance hole 31, the hook 21 of the operating element 20 is connected to the hook groove 123 of the shell 10. A protruding rib 32 is arranged on a surface of the damping element 30 facing the shell 10, and is conducive to providing damping through pressing or compression formed by abutting against the shell 10.
  • As shown in FIG. 6 to FIG. 9, the electronic atomization device 100 further includes:
    a liquid storage cavity 12 configured to store a liquid substrate, and an atomization assembly configured to absorb the liquid substrate from the liquid storage cavity 12 and atomize the liquid substrate by heating. To facilitate vaporization and output, both the liquid storage cavity 12 and the atomization assembly are arranged close to the near end 110. The electronic atomization device 100 further includes an aerosol output tube 11 arranged in the longitudinal direction. The aerosol output tube 11 at least partially extends in the liquid storage cavity 12, and space between an outer wall of the aerosol output tube 11 and an inner wall of a first housing 10 forms the liquid storage cavity 12. An end portion of the aerosol output tube 11 opposite to the near end 110 is in communication with the inhalation port 113, to output the aerosol generated through atomization by the atomization assembly to the inhalation port 113 for inhalation.
  • According to an embodiment shown in FIG. 6, the atomization assembly includes:
    • a liquid guiding element 13, prepared by using a capillary material or a porous material, for example, a sponge body, cotton fiber, or a porous body such as a porous ceramic body, where the liquid guiding element 13 extends perpendicular to the longitudinal direction of the electronic atomization device 100, and the liquid guiding element 13 at least partially extends from the liquid storage cavity 12 into the aerosol output tube 11, to absorb the liquid substrate and store a part of the liquid substrate through capillary infiltration, and a liquid transfer direction is shown by an arrow R1 in FIG. 6; and
    • a heating element 14, located in the aerosol output tube 11, and surrounding the liquid guiding element 13, where the heating element 14 is configured to heat at least a part of the liquid substrate in the liquid guiding element 13 to generate the aerosol, and release the aerosol to the aerosol output tube 11. In the preferred implementation, the heating element 14 is a spiral heating wire surrounding the liquid guiding element 13.
  • Alternatively, in some other variant implementations, the liquid guiding element 13 may be further constructed in various regular or irregular shapes, and is partially in fluid communication with the liquid storage cavity 12 to receive the liquid substrate. Alternatively, in other variant implementations, the liquid guiding element 13 may be in a larger number of regular or irregular shapes, such as a polygonal block shape, a groove shape with a groove provided on a surface, or an arch shape with a hollow channel inside.
  • Alternatively, in some other variant implementations, the heating element 14 may be bonded onto the liquid guiding element 13 through printing, deposition, sintering, physical assembly, or the like. In some other variant implementations, the liquid guiding element 13 may have a plane or a curved surface configured to support the heating element 14, and the heating element 14 is formed on the plane or the curved surface of the liquid guiding element 13 through mounting, printing, deposition, or the like. Alternatively, in some other variant implementations, the heating element 14 is a conductive trajectory formed on a surface of the liquid guiding element 13. In an implementation, the conductive trajectory of the heating element 14 may be in a form of a printed circuit formed by printing. In some implementations, the heating element 14 is a patterned conductive trajectory. In some other implementations, the heating element 14 is planar. In an implementation, the heating element 14 is a conductive trajectory extending in a circuitous, meandering, reciprocal, or bending manner
  • Further, referring to FIG. 6, a flexible sealing element 15 is further arranged in the shell 10. The sealing element 15 at least partially supports the aerosol output tube 11, and seals the liquid storage cavity 12. In this way, after assembly, the liquid storage cavity 12 defined between the outer wall of the aerosol output tube 11 and the inner wall of the shell 10 is closed at the end portion close to the near end 110; and an opening of the liquid storage cavity 12 facing the far end 120 is sealed by the sealing element 15.
  • A shape of the sealing element 15 substantially matches the opening of the liquid storage cavity 12 facing the far end 120. In addition, a flange 152 extending toward the liquid storage cavity 12 is further arranged on the sealing element 15. During assembly, an end portion of the aerosol output tube 11 facing away from the inhalation port 113 is inserted on the flange 152, so that the aerosol output tube 11 is assembled with the sealing element 15. In addition, the flange 152 of the sealing element 15 extends in the longitudinal direction of the electronic atomization device 100.
  • The sealing element 15 further defines an air channel 151 running through the sealing element 15 in the longitudinal direction of the electronic atomization device 100, for the external air to pass through the sealing element 15 to enter the aerosol output tube 11 during inhalation. As shown in FIG. 6, the air channel 151 is at least partially surrounded by the flange 152, or the air channel 151 runs through the flange 152.
  • Further, referring to FIG. 6, the electronic atomization device 100 further includes:
    a battery cell 16, at least partially accommodated and held in the shell 10, and configured to supply power to the heating element 14, where the battery cell 16 is located between the sealing element 15 and the far end 120. Specifically, two ends of the heating element 14 are connected to leads by welding, and establish a conductive connection to the battery cell 140 after the leads penetrate the sealing element 15. In some specific implementations, the electronic atomization device 100 further includes: a circuit board (not shown in the figure), where a related functional circuit is integrated on the circuit board. In addition, the circuit board abuts against or is arranged in parallel with the battery cell 16. The circuit board, for example, a PCB, extends in the longitudinal direction of the electronic atomization device 100, and is substantially parallel with, and abuts against or is attached to the battery cell 16. In addition, the circuit board is conductively connected to the battery cell 16. The two ends of the heating element 14 are connected to the leads by welding, and are connected to the circuit board after the leads penetrate the sealing element 15, so that the circuit board guides a current between the battery cell 16 and the heating element 14.
  • Further, referring to FIG. 6, an airflow path of the electronic atomization device during inhalation is shown by an arrow R2. The air inlet 121 is provided at the far end 120 of the electronic atomization device 100, for the external air to enter the shell 10 during inhalation. A gap is provided between the battery cell 16 and the shell 10, so that the air entering the air inlet 121 can enter the air channel 151 of the sealing element 15 through the gap between the battery cell 16 and the shell 10, and then pass through the aerosol output tube 11 and carry the aerosol generated through heating by the heating element 14 to be output to the inhalation port 113.
  • Referring to FIG. 6 to FIG. 9, the electronic atomization device 100 includes: a sensing assembly, configured to sense a change of an airflow flowing through the electronic atomization device 100 during inhalation. A control component on the circuit board controls, according to a sensing result of the sensing assembly, the battery cell 16 to provide power for the heating element 14, to heat the liquid substrate in the liquid guiding element 13 to generate the aerosol. The sensing assembly includes: an airflow sensor 40, for example, a microphone or a differential pressure sensor, having a first side 410 and a second side 420 facing away from each other in the longitudinal direction of the electronic atomization device 100. After assembly, in the longitudinal direction of the electronic atomization device 100, the airflow sensor 40 and the battery cell 16 are spaced apart. The first side 410 of the airflow sensor 40 faces or is adjacent to the battery cell 16, and the second side 420 faces away from the battery cell 16 and faces the far end 120. The airflow sensor 40 maintains a gap with the battery cell 16 through the first side 410, and the gap is in communication with an airflow flowing around the battery cell 16 during inhalation, or the gap provides a part of the airflow path, so that the airflow sensor 40 can sense the change of the airflow flowing through the electronic atomization device 100 during inhalation.
  • In this embodiment, the second side 420 of the airflow sensor 40 is in communication with an external atmosphere, to sense a pressure of the external atmosphere. Therefore, the airflow sensor 40 can determine an inhalation action of the user and output a high-level signal according to a pressure difference between the first side 410 and the second side 420 that is greater than a preset threshold. Further, based on the high-level signal output by the airflow sensor 150, the control component on the circuit board controls the battery cell 16 to output power to the heating element 14, to atomize the liquid to generate the aerosol.
  • Referring to FIG. 6 to FIG. 9, in an optional example, the sensing assembly further includes: a flexible sealing element 50, made of, for example, silicone or a thermoplastic elastic body. The sealing element 50 surrounds or wraps the airflow sensor 40, so that the first side 410 and the second side 420 of the airflow sensor 40 are in an airflow isolation state. In this way, a pressure on the second side 420 is not affected by a pressure on the first side 410 during sensing.
  • Specifically, the flexible sealing element 50 is arranged around the airflow sensor 40 and has an upper end and a lower end facing away from each other. The sealing element 50 is located on the first side 410 of the airflow sensor 40, and the upper end of the sealing element 50 is open, in other words, the first side 410 of the airflow sensor 40 is exposed or substantially exposed. The lower end of the sealing element 50 is located on the second side 420 of the airflow sensor 40, and the lower end of the sealing element 50 substantially wraps the second side 420 of the airflow sensor 40. In addition, a through hole 51 is provided at the lower end of the sealing element 50, and the through hole 51 is configured for the second side 420 to communicate with the external atmosphere.
  • Referring to FIG. 3, FIG. 6, and FIG. 10 to FIG. 12, the electronic atomization device 100 further includes: a communication port 124, located at or close to the far end 120, and located between the second side 420 of the airflow sensor 40 and the far end 120; and a port of the communication port 124 at the far end 120 is located in the sliding groove 122. The second side 420 of the airflow sensor 40 can communicate with the external atmosphere through the communication port 124, to sense the pressure of the external atmosphere.
  • Specifically, as shown in FIG. 3, FIG. 6, and FIG. 9 to FIG. 12, the communication port 124 and the air inlet 121 are isolated from each other. A protruding edge 52 at least partially surrounding the through hole 51 is further arranged at the lower end of the sealing element 50. During assembly, a wall surrounding or defining the communication port 124 is inserted into the protruding edge 52 and/or the through hole 51, to directly communicate with the second side 420 of the airflow sensor 40. In addition, the through hole 51 and/or the protruding edge 52 are arranged deviating from a center of the second side 420 of the airflow sensor 40.
  • Referring to FIG. 2, FIG. 5, and FIG. 11, the operating element 20 moves in the sliding groove 122 under a pressing operation by the user, and has a first position. Specifically,
  • FIG. 2, FIG. 5, and FIG. 11 are schematic diagrams of the operating element 20 at the first position. At the first position, the operating element 20 and the damping element 30 close or cover the communication port 124. Therefore, at the first position, the second side 420 of the airflow sensor 40 is sealed or isolated from the external air, so that the airflow sensor 40, for example, a microphone or a differential pressure sensor, cannot be triggered, and cannot further sense the change of the airflow flowing through the electronic atomization device 100 during inhalation. Therefore, at the first position, the heating element 14 cannot heat the liquid substrate in response to the inhalation of the user to generate the aerosol. In addition, in this implementation, the sliding groove 122 and/or the operating element 20 are isolated from the air inlet 121, so that at the first position, the air inlet 121 is open. When the user inhales at the inhalation port 113, an airflow passing through the electronic atomization device 100 can be formed between the air inlet 121 and the inhalation port 113. A direction of the airflow is shown by an arrow R2 in the figure, but no aerosol is generated and output.
  • FIG. 10 and FIG. 12 are schematic diagrams of the operating element 20 moved to a second position. At the second position, the operating element 20 and the damping element 30 open or expose the communication port 124. In this case, the second side 420 of the airflow sensor 40 is in communication with the external air through the communication port 124. Therefore, at the second position, when the user inhales at the inhalation port 113, the external air can enter through the air inlet 121 and form an inhalation airflow passing through the electronic atomization device 100. The airflow sensor 40 can be triggered based on the pressure difference between the first side 410 and the second side 420, so that the circuit board controls the battery cell 16 to supply power to the heating element 14, to generate the aerosol by heating.
  • Specifically, for example, FIG. 13 is a schematic diagram of sensing an inhalation airflow by an airflow sensor 40 according to an embodiment. The airflow sensor 40 includes:
    • a deformable electrode membrane 41, arranged close to a first side 410; and
    • an electrode plate 42, arranged close to a second side 420. In addition, the deformable electrode membrane 41 and the electrode plate 42 are spaced opposite to each other in an axial direction of the airflow sensor 40. The airflow sensor 40 determines a pressure difference between the first side 410 and the second side 420 based on a capacitance value between the deformable electrode membrane 41 and the electrode plate 42.
  • For example, FIG. 14 shows a state of the airflow sensor 40 during inhalation. When the inhalation airflow flows through the first side 410, because the first side 410 is at a negative pressure, if an air pressure on a side of the deformable electrode membrane 41 facing the electrode plate 42 is in communication with an external atmosphere, the deformable electrode membrane 41 can bend or deform toward the first side 410 to a state shown in FIG. 14. Certainly, when a force of user inhaling is greater, the negative pressure on the first side 410 is greater, and deformation of the deformable electrode membrane 41 is correspondingly greater. Therefore, a change of the capacitance value defined between the deformable electrode membrane 41 and the electrode plate 42 is greater. Further, the airflow sensor 40 determines the pressure difference between the first side 410 and the second side 420 based on the change of the capacitance value. However, when the second side 420 is blocked by the operating element 20, because the air pressure on the side of the deformable electrode membrane 41 facing the electrode plate 42 is isolated from the external atmosphere, when the user inhales, the deformable electrode membrane 41 cannot deform to a corresponding degree in response to the negative pressure of the inhalation, so that a capacitance change between the deformable electrode membrane 41 and the electrode plate 42 cannot reach a response degree, and the airflow sensor 40 cannot be triggered in response to the inhalation of the user.
  • The operating element 20 moves between the first position and the second position in the sliding groove 122 in a width direction of the electronic atomization device 100, thereby selectively opening or closing the communication port 124. Specifically, the operating element 20 can close the communication port 124 when being moved to the first position, so that the electronic atomization device 100 is in a locked state. In this case, the airflow sensor 40 is prevented from sensing the pressure difference between the first side 410 and the second side 420. The operating element 20 can open or communicate with the communication port 124 when being moved to the second position, so that the electronic atomization device 100 is in an unlocked state. In this case, the electronic atomization device can generate the aerosol in response to the inhalation of the user, and output the aerosol to the inhalation port 113 for the user to inhale. Therefore, the electronic atomization device 100 can prevent an inhalation operation by the user, for example, a minor in particular, through the locked state.
  • In some implementations, the electronic atomization device 100 may detect a position of the operating element 20 through a sensing component such as a distance sensor or an optical sensor, to determine a position status of the operating element 20, and prevent generation of the aerosol when being at the first position.
  • In the foregoing implementation, the operating element 20 avoids the air inlet 121 at both the first position and the second position. Further, in an implementation, when the operating element 20 is at the first position and the second position, the air inlet 121 is always open or uncovered. Alternatively, when the operating element 20 is at the first position and the second position, an airflow channel flowing from the air inlet 121 to the inhalation port 113 can be formed when the user inhales.
  • Alternatively, in some other variant implementations, the operating element 20 may be bonded onto the shell 10 by turning, for example, in a rotation manner; and can further close or open the communication port 124 through rotation selectively.
  • Alternatively, in some other variant implementations, the operating element 20 is removably bonded onto the shell 10. For example, the operating element 20 includes a detachable cover, which can close the communication port 124 when the operating element 20 is bonded onto the shell 10; and when the operating element 20 is detached from the shell 10, the communication port 124 can be opened.
  • In the foregoing implementation, the electronic atomization device 100 includes only one air inlet 121.
  • FIG. 15 and FIG. 16 are schematic diagrams of an electronic atomization device 100 according to another variant embodiment. In this implementation, an operating element 20a is at least partially movably arranged in the electronic atomization device 100, so that a first side 410a of an airflow sensor 40a can be selectively closed or opened. Further, when the operating element 20a closes the first side 410a of the airflow sensor 40a, a block is established between the first side 410a of the airflow sensor 40a and an airflow channel of the electronic atomization device 100, thereby preventing the airflow sensor 40a from sensing an airflow flowing through the electronic atomization device 100 when the user inhales, for example, as shown in FIG. 15. When the operating element 20a opens the first side 410a of the airflow sensor 40a, the airflow sensor 40a is allowed to sense the airflow flowing through the electronic atomization device 100 when the user inhales, for example, as shown in FIG. 16. In an optional example, a part of the operating element 20a is exposed on the outer surface of the electronic atomization device 100, or the operating element 20a is connected to another mechanism exposed on the outer surface of the electronic atomization device 100, thereby providing user control.
  • Further, FIG. 17 is a schematic exploded view of an operating assembly and a shell 10b in an electronic atomization device 100 according to another variant embodiment. In this implementation, a far end 120b of the shell 10b is provided with:
    • an air inlet 121b, configured for the external air to enter during inhalation; and
    • an operating component, arranged at the far end 120b of the shell 10b, and arranged to be movable in a width direction of the shell 10b. Specifically, as shown in FIG. 17 and FIG. 18, the operating assembly includes an operating element 20b and a flexible damping element 30b located between the operating element 20b and the shell 10b.
  • The operating element 20b is arranged at the far end 120b of the shell 10b, and is arranged to be movable in the width direction of the shell 10b. Specifically, a sliding groove 122b extending in the width direction is provided at the far end 120b of the shell 10b. The operating element 20b at least partially moves linearly in the sliding groove 122b.
  • A communication port 124b is provided in the sliding groove 122b. A second side 420b of an airflow sensor 40b can communicate with the external atmosphere through the communication port 124b, to sense the pressure of the external atmosphere.
  • Further, referring to FIG. 17 and FIG. 18, the operating element 20b is mainly in a shape of a thin sheet. A hook 21b extending out and perpendicular to the operating element 20b is arranged on the operating element 20b. The hook 21b extends longitudinally, and at least a part of a cross-sectional area of a free tail end 211b of the hook 21b increases, forming a hook portion.
  • The flexible damping element 30b is at least partially accommodated or held in a recessed structure of an upper side surface of the operating element 20b. In addition, when the operating element 20b moves in the sliding groove 122b, the flexible damping element 30b is configured to provide damping between the operating element 20b and the shell 10b.
  • Referring to FIG. 17 and FIG. 18, a hook hole 123b is further provided in the sliding groove 122b of the shell 10b, and the hook 21b passes through the hook hole 123b and is connected to the shell 10b during assembly. An outer surface of the hook 21b is provided with: at least one protrusion 26b extending in a longitudinal direction. A recess 126b and a recess 125b that are arranged in a longitudinal direction are arranged on an inner surface of the hook hole 123b. During use, when the operating element 20b is located at the first position, the protrusion 26b of the hook 21b can extend into the recess 126b to be coupled or engaged, so that the operating element 20b stably remains at the first position and cannot move toward the second position in the width direction. In addition, when the operating element 20b is located at the second position, the protrusion 26b of the hook 21b can extend into the recess 125b, so that the operating element 20b stably remains at the second position and cannot move toward the first position in the width direction.
  • Specifically, referring to FIG. 19, when the operating element 20b is located at the first position, the protrusion 26b of the hook 21b can extend into the recess 126b to provide retention. In addition, the communication port 124b is blocked or covered or closed by the operating element 20b. In addition, in this state, the air inlet 121b is open. In this state, the recess 125b avoids the hook 21b. In this case, the second side 420b of the airflow sensor 40b cannot sense the pressure of the external atmosphere, so that the airflow sensor 40b cannot respond to flowing of the airflow during inhalation.
  • In addition, as shown in FIG. 19, the hook 21b extends into a clamping slot 127b after penetrating the hook hole 123b. When the user needs to move the operating element 20b to the second position, the user needs to first perform an operation shown in FIG. 20, for example, moving the operating element 20b away from the shell 10b by a specific stroke by picking up the operating element 20b or pulling out the operating element 20b with a finger, as shown by an arrow R31 in FIG. 20. Through the moving operation shown by the arrow R31, the protrusion 26b of the hook 21b is separated from the recess 126b or detached from the retention at the first position, so that the operating element 20b can move linearly in the width direction.
  • Further, after the protrusion 26b of the hook 21b is separated from the recess 126b to release the retention at the first position, as shown by an arrow R32 in FIG. 21, the operating element 20b is moved toward the second position in the width direction, to enable the protrusion 26b to be aligned with the recess 125b. The protrusion 26b is staggered with the recess 126b. The operating element 20b moves to a state shown in FIG. 21, and the protrusion 26b is separated from the recess 125b in the longitudinal direction. In this case, the operating element 20b is not fastened or stably held.
  • Referring to FIG. 22, the operating element 20b in FIG. 21 is longitudinally pushed or pressed inward toward the shell 10b, so that the protrusion 26b extends into the recess 125b to form coupling or engagement, and then the operating element 20b is stably held at the second position, so that the operating element 20b cannot move in the width direction. When the operating element 20b is located at the second position shown in FIG. 22, the operating element 20b avoids the air inlet 121b and the communication port 124b, so that the external air can enter the electronic atomization device through the air inlet 121b, to form an inhalation airflow when the user inhales. In this state, the second side 420b of the airflow sensor 40b can sense the pressure of the external atmosphere through the communication port 124b.
  • In the foregoing implementation, an avoidance notch 24b and an avoidance notch 23b are further provided on the operating element 20b. When the operating element 20b is at the second position, the avoidance notch 24b is aligned with the communication port 124b, thereby preventing the communication port 124b from being covered or closed. When the operating element 20b is at the second position, the avoidance notch 23b is aligned with the air inlet 121b, thereby preventing the air inlet 121b from being covered or closed.
  • When the operating element 20b needs to be moved from the second position shown in FIG. 22 to the first position shown in FIG. 19, the operating element 20b is first picked out or pulled out by the user to detach the protrusion 26b from the recess 125b. Then, the operating element 20b may be moved toward the first position to the state shown in FIG. 20, and finally the operating element 20b is pressed inward to enable the protrusion 26b to extend into the recess 126b for bonding.
  • Further, in the implementation shown in FIG. 17 to FIG. 22, the electronic atomization device 100 further includes: a biasing element 25b, configured to enable the protrusion 26b of the operating element 20b to extend into the recess 126b at the first position for bias or reset; and enable the protrusion 26b of the operating element 20b to extend into the recess 125b at the second position for bias or reset. It is more convenient that the biasing element 25b is provided for replacing pressing the operating element 20b by the user during operation.
  • For example, in the implementation shown in FIG. 17 to FIG. 22, the biasing element 25b is a spring 25b surrounding or winding around the hook 21b. In arrangement, one end of the spring 25b abuts against the free tail end 211b, and the other end abuts against an inner wall of the clamping slot 127b. When the user picks out or pulls out the operating element 20b from the shell 10b at the first position and/or the second position, the spring 25b is compressed. Then, after the moving operation by the user is completed, the spring 25b biases the operating element 20b toward the shell 10b through an elastic restoring force.
  • FIG. 23 and FIG. 29 are schematic diagrams of an electronic atomization device 100 according to another variant embodiment. In this embodiment, the electronic atomization device 100 includes:
    • a shell 10c, substantially defining an outer surface of the electronic atomization device 100, and having a near end 110c and a far end 120c opposite to each other in a longitudinal direction;
    • an inhalation port 113c, configured for the user to inhale, and located at the near end 110c of the shell 10c; and
    • an operating element 20c, arranged at the far end 120c of the shell 10c, and arranged to be movable in a width direction of the shell 10c. Specifically, a sliding groove 122c extending in the width direction is provided at the far end 120c of the shell 10c. At least a part of the operating element 20c is accommodated and held in the sliding groove 122c for moving. In addition, a limiting recess portion 122c1 extending in the width direction of the shell 10c is arranged on a side edge of the sliding groove 122c. A clamping bulge 20c1 extending into the limiting recess portion 122c1 is arranged on the operating element 20c, so that during movement, movement of the operating element 20c is limited through the limiting recess portion 122c1. In addition, through engagement between the limiting recess portion 122c1 and the clamping bulge 20c1, the operating element 20c is prevented from falling out of the sliding groove 122c.
  • Further, refer to FIG. 23 and FIG. 24. The operating element 20c has a first end wall 20c2 and a second end wall 20c3 facing away from each other in a thickness direction, and a peripheral side wall 20c4 extending between the first end wall 20c2 and the second end wall 20c3. The clamping bulge 20c1 is located on the peripheral side wall 20c4. After assembly, the first end wall 20c2 of the operating element 20c faces the inside of the sliding groove 122c of the shell 10c and is not exposed, and the second end wall 20c3 is exposed on the far end 120c of the shell 10c. Several convex edges 20c5 are arranged on the second end wall 20c3, configured to provide friction when the user presses the second end wall 20c3 to perform a moving operation on the operating element 20c, which is convenient for the user to operate. The convex edges 20c5 are perpendicular to a length direction of the operating element 20c.
  • An accommodating recess cavity 20c6 is provided on the first end wall 20c2 of the operating element 20c, and the accommodating recess cavity 20c6 is configured to accommodate and mount the damping element 30c. After assembly, the damping element 30c is located between the operating element 20c and the shell 10c in the longitudinal direction of the electronic atomization device 100, to provide damping during movement of the operating element 20c.
  • Further, referring to FIG. 23 and FIG. 24, the damping element 30c is also constructed into a thin shape. After assembly, the damping element 30c is compressed by the operating element 20c and the shell 10c from two sides in the thickness direction. A protrusion 30c1 is arranged on a surface of the damping element 30c facing the shell 10c, and is conducive to providing damping by abutting against the shell 10c to form pressing or compression.
  • In this embodiment, the electronic atomization device 100 further includes:
    a bracket 60c, located between a sealing element 50c and the far end 120c. The bracket 60c is rigid and has a support arm 60c1. The support arm 60c1 is inserted into the sealing element 50c to provide support for the sealing element 50c. At least a part of a battery cell 16c is accommodated and held on the bracket 60c; and is configured to supply power to a heating element 14c. Specifically, a lead hole 50c1 is provided on the sealing element 50c. After assembly, two ends of the heating element 14c are connected to the battery cell 16c through leads passing through the lead hole 50c1, so that the heating element 14c is conducted.
  • A communication port 124c is provided. The communication port 124c located in the sliding groove 122c is in communication with the external atmosphere.
  • An airflow sensor 40c, for example, a microphone or a differential pressure sensor, is provided, and includes a first side 40c1 and a second side 40c2 facing away from each other in the longitudinal direction of the electronic atomization device 100. The first side 40c1 is arranged facing the battery cell 16c, and the second side 40c2 is arranged facing the far end 120c, and can communicate with the external atmosphere through the communication port 124c located in the sliding groove 122c.
  • A first airflow channel 70c is located between the battery cell 16c and the far end 120c. The first airflow channel 70c has a first air inlet 71c located in the sliding groove 122c.
  • Further, referring to FIG. 23 to FIG. 29, a first through hole 20c7 is provided on the operating element 20c, and a second through hole 30c2 opposite to and in communication with the first through hole 20c7 is provided on the damping element 30c. The operating element 20c is moved in the sliding groove 122c due to pressing the second end wall 20c3 by the user, and has a first position and a second position. Specifically,
  • FIG. 25 and FIG. 28 are schematic diagrams of the operating element 20c at the first position. At the first position, the operating element 20c and the damping element 30c close the first air inlet 71c of the first airflow channel 70c. In addition, at the first position, the operating element 20c and the damping element 30c close the communication port 124c. Therefore, at the first position, the second side 40c2 of the airflow sensor 40c is sealed or isolated from the external air, and the airflow sensor 40c cannot be triggered. In this case, at the first position, the circuit board controls the battery cell 16c to prevent the battery cell 16c from providing power for the heating element 14c, and the user cannot inhale. In addition, in this implementation, the external air cannot enter the shell 10c through the first air inlet 71c. In this case, when the user inhales at the inhalation port 113, there is a large suction resistance because no inhalation airflow is generated.
  • FIG. 26 and FIG. 29 are schematic diagrams of the operating element 20c moved to the second position. At the second position, the operating element 20c and the damping element 30c open or expose the first air inlet 71c of the first airflow channel 70c. The communication port 124c is aligned with the first through hole 20c7 of the operating element 20c and the second through hole 30c2 of the damping element 30c to communicate with the external air. In this case, the second side 40c2 of the airflow sensor 40c is in communication with the external air. Therefore, at the second position, when the user inhales at the inhalation port 113, the external air can enter the shell 10c through the first airflow channel 70c along an arrow R4 shown in FIG. 29; and then flow toward the aerosol output tube through a gap between the battery cell 16c and the shell 10c along an arrow R2. In addition, the airflow sensor 40c can be triggered according to a pressure difference between the first side 40c1 and the second side 40c2 that is greater than the preset threshold, so that the circuit board controls the battery cell 16c to supply power to the heating element 14c, to generate the aerosol by heating.
  • The operating element 20c moves between the first position and the second position along an arrow P shown in FIG. 25 and FIG. 26, to selectively open or close the first airflow channel 70c and the communication port 124c. Specifically, when moving to the first position, the first airflow channel 70c and the communication port 124c are closed, to form a locked state of the electronic atomization device 100. In this case, the heating element 14c is prevented from generating the aerosol by heating, and there is a large suction resistance during inhalation to prevent inhalation. When moving to the second position, the first airflow channel 70c and the communication port 124c are opened or communicated to form an unlocked state of the electronic atomization device 100. In this case, the user can inhale the aerosol. Therefore, the electronic atomization device 100 can prevent inhalation of the user, for example, a minor in particular, through the locked state.
  • FIG. 30 and FIG. 35 are schematic diagrams of an electronic atomization device 100 according to another more preferred variant embodiment. In this implementation, the electronic atomization device 100 includes:
    • a shell 10d, having a near end 110d and a far end 120d facing away from each other in a longitudinal direction, where an aerosol output tube 11d and a liquid storage cavity 12d close to the near end 110d are arranged in the shell 10d;
    • a liquid guiding element 13d, extending from the liquid storage cavity 12d into the aerosol output tube 11d, to absorb the liquid substrate, where a heating element 14d is located in the aerosol output tube 11d and surrounds the liquid guiding element 13d, to heat at least a part of the liquid substrate in the liquid guiding element 13d to generate the aerosol;
    • a sealing element 50d, sealing the liquid storage cavity 12d, and having an insertion portion 50d1 for insertion of the aerosol output tube 11d, where a lead hole 50d2 is provided on the sealing element 50d, for a lead to pass through the lead hole 50d2 and connect the heating element 14d to the battery cell 16d; an air channel 151d is provided on the sealing element 50d, for air entering through the far end 120d to flow into the aerosol output tube 11d;
    • a bracket 60d, rigid and having a support arm 60d1, where the support arm 60d1 is inserted into the sealing element 50d to provide support for the sealing element 50d; and
    • a battery cell 16d, accommodated and held on the bracket 60d; and configured to output power to the heating element 14d.
  • Further, referring to FIG. 32 to FIG. 35, the electronic atomization device 100 in this embodiment further includes:
    • an airflow sensor 40d, where a first side 40d1 is arranged facing the battery cell 16d, and the first side 40d1 is in airflow communication with a gap between the battery cell 16d and the shell 10d, to sense an airflow flowing through the gap between the battery cell 16d and the shell 10d during inhalation by the user; and a second side 40d2 faces the far end 120d, and can communicate with the external air through the communication port 124d located in the sliding groove 122d;
    • a first airflow channel 70d, where the first airflow channel 70d has a first air inlet 71d located in the sliding groove 122d; and the first airflow channel 70d is configured for the external air to enter the shell 10d through the first air inlet 71d, and specifically for the external air to enter the gap between the battery cell 16d and the shell 10d through the first airflow channel 70d, and finally enter the aerosol output tube 11d;
    • a second airflow channel 72d, where the second airflow channel 72d has a second air inlet 73d located in the sliding groove 122d; and the second airflow channel 72d is configured for the external air to enter the shell 10d through the second air inlet 73d; and
    • an operating element 20d and a damping element 30d, located at the far end 120d and movable in the sliding groove 122d of the shell 10d, and selectively configured between a first position and a second position. Specifically,
  • FIG. 32 and FIG. 34 are schematic diagrams of the first position. The operating element 20d covers or closes the first air inlet 71d and the communication port 124d of the first airflow channel 70d at the first position, to prevent the airflow sensor 40d from being triggered to lock the electronic atomization device 100. In addition, at the first position, when the user inhales at the inhalation port 113d, the external air can enter the shell 10d through the second air inlet 73d of the second airflow channel 72d, as shown by an arrow R3 in FIG. 32; and then flow toward the air channel 151d and the aerosol output tube 11d through the gap between the battery cell 16d and the shell 10d. In the electronic atomization device 100 in this embodiment, when the user inhales in the locked state, the aerosol is not heated to be generated, but an airflow still passes through the electronic atomization device 100. In the locked state, air can still be inhaled without a large suction resistance, which is conducive to preventing a minor from finding or detecting that the electronic atomization device 100 is locked.
  • In addition, an area of the second air inlet 73d is greater than an area of the first air inlet 71d.
  • Further, when the operating element 20d and the damping element 30d move to the second position, as shown in FIG. 33 and FIG. 35, the communication port 124d is aligned with both the first through hole 840a of the operating element 20d and the second through hole 92a of the damping element 30d, to communicate with the external air. The first air inlet 71d of the first airflow channel 70d is open or exposed, and during inhalation, the external air can enter the shell 10d along an arrow R4 in the figure. In this case, the electronic atomization device 100 is in the unlocked state. When the user inhales, the airflow sensor 40d, for example, a microphone or a differential pressure sensor, can trigger to generate a high-level signal in response to an inhalation action, and then the circuit board controls, based on the trigger of the airflow sensor 40d, the battery cell 16d to output power to the heating element 14d. In addition, at the second position shown in FIG. 33 and FIG. 35, the second air inlet 73d of the second airflow channel 72d is covered or closed, to prevent the external air from entering the shell 10d through the second airflow channel 72d.
  • In the electronic atomization device 100 in the preferred embodiment, generation of the aerosol is prevented in the locked state, and there is still the airflow passing through the electronic atomization device 100, which is conducive to preventing the minor from detecting that the electronic atomization device 100 is locked.
  • In some other preferred implementations, in the locked state, the air entering the shell 10d through the second airflow channel 72d during inhalation by the user avoids the first side 40d1 of the airflow sensor 40d; or in the locked state, the airflow during inhalation is separated from the first side 40d1 of the airflow sensor 40d, so that it is further conducive to preventing triggering of the airflow sensor 40d.
  • Further, in the preferred implementation shown in FIG. 32 and FIG. 33, a cross-sectional area of the first airflow channel 70d is smaller than a cross-sectional area of the second airflow channel 72d. During inhalation by the minor in the locked state, it is conducive to reducing the suction resistance to further prevent the minor from detecting the locked state.
  • Further, in the preferred implementation shown in FIG. 34, the second air inlet 73d has a hole size of about 1 mm to 3 mm. In addition, a plurality of second air inlets 73d are provided, for example, as shown in FIG. 34, six second air inlets 73d are arranged annularly.
  • Further, in a more preferred implementation, both the first airflow channel 70d and the second airflow channel 72d extend in the longitudinal direction of the electronic atomization device 100; and the first airflow channel 70d and the second airflow channel 72d are spaced apart in the width direction of the electronic atomization device 100. In addition, the airflow sensor 40d is located between the first airflow channel 70d and the second airflow channel 72d in the width direction of the electronic atomization device 100.
  • In addition, the airflow sensor 40d is close to a center of the width direction of the electronic atomization device 100. In addition, the first airflow channel 70d and/or the second airflow channel 72d deviate from the center of the width direction of the electronic atomization device 100.
  • Alternatively, in some other variant implementations, the shell 10d of the electronic atomization device 100 is constructed into an elongated cylindrical shape different from the foregoing flat shape. The operating element 20d is in a ring shape or an arc shape at least partially surrounding the shell. Correspondingly, during operation, the operating element 20d is driven to rotate around the shell in a circumferential direction, to adjust a position of the operating element 20d to be configured between the first position and the second position.
  • Alternatively, in some other variant implementations, the first airflow channel 70d and the first air inlet 71d are correspondingly arranged at positions away from the far end 120d. For example, in some implementations, the first airflow channel 70d and the first air inlet 71d are located between the battery cell 16d and the sealing element 50d. Alternatively, for example, in some implementations, the first airflow channel 70d and the first air inlet 71d are defined between the bracket 60d and the sealing element 50d. The operating element 20d is correspondingly adjusted and arranged at a corresponding position on the shell 10d.
  • It should be noted that, the specification of this application and the accompanying drawings thereof illustrate preferred embodiments of this application, but are not limited to the embodiments described in this specification, furthermore, a person of ordinary skill in the art may make improvements or modifications according to the foregoing description, and all the improvements and modifications shall fall within the protection scope of the attached claims of this application.

Claims (16)

  1. An electronic atomization device, comprising:
    a liquid storage cavity, configured to store a liquid substrate;
    an atomization assembly, configured to atomize the liquid substrate to generate an aerosol;
    a battery cell, configured to provide power for the atomization assembly;
    an inhalation port, an air inlet, and an airflow channel located between the air inlet and the inhalation port, wherein the airflow channel defines an airflow path from the air inlet to the inhalation port through the atomization assembly, to transfer the aerosol to the inhalation port;
    an airflow sensor, configured to sense an airflow change in the airflow channel, wherein:
    the airflow sensor comprises a first side and a second side facing away from each other,
    the first side and the second side are in airflow isolation from each other,
    the first side is configured to be in airflow communication with the airflow channel, and
    the second side is configured to be in communication with an external atmosphere;
    an operating element, arranged to be configurable between a first position and a second position, wherein:
    the operating element closes the first side or the second side of the airflow sensor when being at the first position, to prevent the airflow sensor from sensing the airflow change in the airflow channel, and
    the operating element opens the first side or the second side of the airflow sensor when being at the second position, to allow the airflow sensor to sense the airflow change in the airflow channel; and
    a circuit, configured to control, according to a sensing result of the airflow sensor, the battery cell to provide power for the atomization assembly.
  2. The electronic atomization device according to claim 1, wherein the operating element avoids the air inlet at both the first position and the second position, so that the air inlet is open at either one of the first position and the second position.
  3. The electronic atomization device according to claim 2, wherein when the operating element is at the first position and the second position, the airflow channel is unobstructed or available for circulation of an airflow.
  4. The electronic atomization device according to any one of claims 1 to 3, wherein the electronic atomization device comprises only one air inlet.
  5. The electronic atomization device according to any one of claims 1 to 3, further comprising:
    a shell, at least partially defining an outer surface of the electronic atomization device,
    wherein the operating element is at least partially exposed outside the shell, and is constructed to be movable relative to the shell, to change a configuration between the first position and the second position.
  6. The electronic atomization device according to claim 5, further comprising:
    a first connection structure and a second connection structure,
    wherein:
    a third connection structure is arranged on the operating element;
    when the operating element is at the first position, the third connection structure is arranged to be connectable to the first connection structure, to prevent the operating element from moving toward the second position; and
    when the operating element is at the second position, the third connection structure is arranged to be connectable to the second connection structure, to prevent the operating element from moving toward the first position.
  7. The electronic atomization device according to claim 6, wherein the first connection structure comprises a first recess, the second connection structure comprises a second recess, and the third connection structure comprises a protrusion matchable to the first recess or the second recess.
  8. The electronic atomization device according to claim 6, wherein:
    the operating element is arranged to be movable relative to the shell in a first direction, to change the configuration between the first position and the second position; and
    the operating element is arranged to be movable relative to the shell in a second direction, to establish a connection between the third connection structure and the first connection structure or release a connection between the third connection structure and the first connection structure; or
    the operating element is arranged to be movable relative to the shell in a second direction, to establish a connection between the third connection structure and the second connection structure or release a connection between the third connection structure and the second connection structure,
    wherein the second direction is perpendicular to the first direction.
  9. The electronic atomization device according to claim 8, further comprising a biasing element, wherein:
    the biasing element is arranged to provide bias toward the first connection structure for the third connection structure when the operating element is at the first position; or
    the biasing element is arranged to provide bias toward the second connection structure for the third connection structure when the operating element is at the second position.
  10. The electronic atomization device according to claim 9, wherein:
    a hook configured to connect the operating element to the shell is arranged on the operating element; and
    the biasing element comprises a spring arranged around the hook.
  11. The electronic atomization device according to any one of claims 1 to 3, wherein the first side of the airflow sensor is at least partially exposed in the electronic atomization device.
  12. The electronic atomization device according to any one of claims 1 to 3, further comprising:
    a shell, at least partially defining an outer surface of the electronic atomization device,
    wherein:
    a communication port is provided on the shell, to communicate the second side with the external atmosphere; and
    the operating element is constructed to cover or close the communication port when being at the first position, and open or expose the communication port when being at the second position.
  13. The electronic atomization device according to claim 12, wherein:
    the shell comprises a near end and a far end facing away from each other in a longitudinal direction;
    the inhalation port is located at the near end;
    the airflow sensor is located between the battery cell and the far end; and
    the first side and the second side of the airflow sensor are arranged facing away from each other in the longitudinal direction of the shell, wherein the first side faces the battery cell, and the second side faces the far end.
  14. The electronic atomization device according to claim 13, wherein the air inlet and the communication port are both located at the far end of the shell, a part of the airflow channel bypasses the airflow sensor, and the air inlet is in communication with the first side of the airflow sensor through the part.
  15. An electronic atomization device, comprising:
    a liquid storage cavity, configured to store a liquid substrate;
    an atomization assembly, configured to atomize the liquid substrate to generate an aerosol;
    an inhalation port, an air inlet, and an airflow channel located between the air inlet and the inhalation port, wherein the airflow channel defines an airflow path from the air inlet to the inhalation port through the atomization assembly, to transfer the aerosol to the inhalation port;
    an airflow sensor, configured to sense an airflow change in the airflow channel, wherein:
    the airflow sensor comprises a first side and a second side facing away from each other, and
    the first side is in airflow communication with the airflow channel;
    a communication port, configured to communicate the second side with an external atmosphere; and
    an operating element, arranged to be configurable between a first position and a second position, wherein:
    the operating element closes the communication port at the first position,
    the operating element opens the communication port at the second position, and
    the operating element avoids or opens the air inlet at both the first position and the second position.
  16. An electronic atomization device, comprising:
    a liquid storage cavity, configured to store a liquid substrate;
    an atomization assembly, configured to atomize the liquid substrate to generate an aerosol;
    an airflow channel, configured to output the aerosol;
    an airflow sensor, comprising a first side and a second side facing away from each other, wherein the first side is in airflow communication with the airflow channel;
    a communication port, configured to communicate the second side with an external atmosphere;
    an operating element, arranged to be movable between a first position and a second position, wherein the operating element closes the communication port at the first position, and the operating element opens the communication port at the second position; and
    a first connection structure and a second connection structure,
    wherein:
    a third connection structure is arranged on the operating element;
    when the operating element is at the first position, the third connection structure is arranged to be connected to the first connection structure, to prevent the operating element from moving toward the second position; and
    when the operating element is at the second position, the third connection structure is arranged to be connected to the second connection structure, to prevent the operating element from moving toward the first position.
EP23787847.5A 2022-04-15 2023-04-14 ELECTRONIC ATOMIZATION DEVICE Pending EP4494496A4 (en)

Applications Claiming Priority (3)

Application Number Priority Date Filing Date Title
CN202220888270.0U CN217446684U (en) 2022-04-15 2022-04-15 Electronic atomization device
CN202223412077.9U CN219353095U (en) 2022-12-19 2022-12-19 Electronic atomizing device
PCT/CN2023/088489 WO2023198205A1 (en) 2022-04-15 2023-04-14 Electronic atomization device

Publications (2)

Publication Number Publication Date
EP4494496A1 true EP4494496A1 (en) 2025-01-22
EP4494496A4 EP4494496A4 (en) 2025-07-30

Family

ID=88329078

Family Applications (1)

Application Number Title Priority Date Filing Date
EP23787847.5A Pending EP4494496A4 (en) 2022-04-15 2023-04-14 ELECTRONIC ATOMIZATION DEVICE

Country Status (3)

Country Link
US (1) US20250248452A1 (en)
EP (1) EP4494496A4 (en)
WO (1) WO2023198205A1 (en)

Families Citing this family (2)

* Cited by examiner, † Cited by third party
Publication number Priority date Publication date Assignee Title
EP4658119A1 (en) * 2023-02-03 2025-12-10 Nicoventures Trading Limited Aerosol delivery systems and methods
CN119924596A (en) * 2023-11-01 2025-05-06 深圳市合元科技有限公司 Electronic atomization device

Family Cites Families (8)

* Cited by examiner, † Cited by third party
Publication number Priority date Publication date Assignee Title
US5261424A (en) * 1991-05-31 1993-11-16 Philip Morris Incorporated Control device for flavor-generating article
CN106413442B (en) * 2014-05-27 2019-08-06 吉瑞高新科技股份有限公司 Electronic cigarette
CN209643862U (en) * 2019-01-22 2019-11-19 深圳麦克韦尔科技有限公司 Electronic cigarette atomization device with child-resistant
CN111728269B (en) * 2019-03-20 2025-02-18 上海新型烟草制品研究院有限公司 Aerosol generating device and aerosol generating system
CN210492612U (en) * 2019-05-14 2020-05-12 深圳麦克韦尔科技有限公司 Atomizer and electronic atomization device
CN111920097B (en) * 2020-08-07 2025-10-24 深圳市卓力能技术有限公司 An electronic atomization device
CN215775584U (en) * 2021-04-08 2022-02-11 吉万(深圳)科技有限公司 Aerosol generating device
CN217446684U (en) * 2022-04-15 2022-09-20 深圳市合元科技有限公司 Electronic atomization device

Also Published As

Publication number Publication date
EP4494496A4 (en) 2025-07-30
WO2023198205A1 (en) 2023-10-19
US20250248452A1 (en) 2025-08-07

Similar Documents

Publication Publication Date Title
CN217446684U (en) Electronic atomization device
EP4494496A1 (en) Electronic atomization device
US20250248453A1 (en) Electronic atomization device
US20240114968A1 (en) Vaporizer and electronic vaporization device
EP4684666A1 (en) Electronic atomization device
EP4335313A1 (en) Atomizer and electronic atomization device
CN219353095U (en) Electronic atomizing device
CN217446683U (en) Electronic atomization device
WO2025066812A1 (en) Electronic atomization device
CN220458606U (en) Electronic atomization device
CN222017732U (en) Aerosol generating device
EP4609734A1 (en) Electronic atomization device, device body, and liquid source
EP4458184A1 (en) Atomizer, electronic atomization apparatus, and sealing element for electronic atomization apparatus
CN220458605U (en) Aerosol generating device, atomizer and power supply mechanism
CN217311305U (en) Suction nozzle assembly and nasal aspirator
CN221653642U (en) Electronic atomizing device
CN220545818U (en) Electronic atomization device
CN220712943U (en) Atomizer and electronic atomization device
CN115836747A (en) Atomizer, electronic atomization device and atomization assembly for atomizer
CN221449887U (en) Electronic atomization device and battery cell for same
CN223745763U (en) Electronic atomizing device
CN223745762U (en) Electronic atomizing device
CN222109286U (en) Electronic atomization device and bracket for electronic atomization device
CN219353055U (en) Atomizer and electronic atomization device
CN223745760U (en) Electronic atomizing device

Legal Events

Date Code Title Description
STAA Information on the status of an ep patent application or granted ep patent

Free format text: STATUS: THE INTERNATIONAL PUBLICATION HAS BEEN MADE

PUAI Public reference made under article 153(3) epc to a published international application that has entered the european phase

Free format text: ORIGINAL CODE: 0009012

STAA Information on the status of an ep patent application or granted ep patent

Free format text: STATUS: REQUEST FOR EXAMINATION WAS MADE

17P Request for examination filed

Effective date: 20241018

AK Designated contracting states

Kind code of ref document: A1

Designated state(s): AL AT BE BG CH CY CZ DE DK EE ES FI FR GB GR HR HU IE IS IT LI LT LU LV MC ME MK MT NL NO PL PT RO RS SE SI SK SM TR

REG Reference to a national code

Ref country code: DE

Ref legal event code: R079

Free format text: PREVIOUS MAIN CLASS: A24F0040400000

Ipc: A24F0040510000

DAV Request for validation of the european patent (deleted)
DAX Request for extension of the european patent (deleted)
A4 Supplementary search report drawn up and despatched

Effective date: 20250626

RIC1 Information provided on ipc code assigned before grant

Ipc: A24F 40/51 20200101AFI20250620BHEP

Ipc: A24F 40/485 20200101ALI20250620BHEP

Ipc: A24F 40/10 20200101ALI20250620BHEP