EP4470686A2 - Entwürfe für erhöhte zuverlässigkeit und kalibrierung von deponiegasmess- und -steuerungsvorrichtungen - Google Patents
Entwürfe für erhöhte zuverlässigkeit und kalibrierung von deponiegasmess- und -steuerungsvorrichtungen Download PDFInfo
- Publication number
- EP4470686A2 EP4470686A2 EP24207452.4A EP24207452A EP4470686A2 EP 4470686 A2 EP4470686 A2 EP 4470686A2 EP 24207452 A EP24207452 A EP 24207452A EP 4470686 A2 EP4470686 A2 EP 4470686A2
- Authority
- EP
- European Patent Office
- Prior art keywords
- gas
- pipe
- port
- enclosure
- sampling
- Prior art date
- Legal status (The legal status is an assumption and is not a legal conclusion. Google has not performed a legal analysis and makes no representation as to the accuracy of the status listed.)
- Pending
Links
- 238000005259 measurement Methods 0.000 title claims description 57
- 238000013461 design Methods 0.000 title description 10
- 238000005070 sampling Methods 0.000 claims abstract description 98
- 238000000034 method Methods 0.000 claims abstract description 48
- 238000010438 heat treatment Methods 0.000 claims abstract description 18
- 238000009413 insulation Methods 0.000 claims abstract description 14
- 239000012530 fluid Substances 0.000 claims description 67
- 239000002184 metal Substances 0.000 claims description 17
- 229910052751 metal Inorganic materials 0.000 claims description 17
- 238000005260 corrosion Methods 0.000 claims description 11
- 230000007797 corrosion Effects 0.000 claims description 11
- 230000008878 coupling Effects 0.000 claims description 11
- 238000010168 coupling process Methods 0.000 claims description 11
- 238000005859 coupling reaction Methods 0.000 claims description 11
- 239000000470 constituent Substances 0.000 claims description 5
- 230000002829 reductive effect Effects 0.000 claims description 2
- 230000002708 enhancing effect Effects 0.000 claims 1
- 238000011084 recovery Methods 0.000 abstract description 4
- 239000007789 gas Substances 0.000 description 405
- 239000000203 mixture Substances 0.000 description 91
- 238000000605 extraction Methods 0.000 description 48
- VNWKTOKETHGBQD-UHFFFAOYSA-N methane Chemical compound C VNWKTOKETHGBQD-UHFFFAOYSA-N 0.000 description 34
- 239000003570 air Substances 0.000 description 28
- CURLTUGMZLYLDI-UHFFFAOYSA-N Carbon dioxide Chemical compound O=C=O CURLTUGMZLYLDI-UHFFFAOYSA-N 0.000 description 24
- 239000007788 liquid Substances 0.000 description 24
- 239000000463 material Substances 0.000 description 20
- 238000010926 purge Methods 0.000 description 20
- 229910002092 carbon dioxide Inorganic materials 0.000 description 19
- 230000008569 process Effects 0.000 description 18
- 238000011144 upstream manufacturing Methods 0.000 description 17
- 238000001914 filtration Methods 0.000 description 15
- 238000009434 installation Methods 0.000 description 15
- XLYOFNOQVPJJNP-UHFFFAOYSA-N water Substances O XLYOFNOQVPJJNP-UHFFFAOYSA-N 0.000 description 15
- RWSOTUBLDIXVET-UHFFFAOYSA-N Dihydrogen sulfide Chemical compound S RWSOTUBLDIXVET-UHFFFAOYSA-N 0.000 description 14
- 229910000037 hydrogen sulfide Inorganic materials 0.000 description 14
- QVGXLLKOCUKJST-UHFFFAOYSA-N atomic oxygen Chemical compound [O] QVGXLLKOCUKJST-UHFFFAOYSA-N 0.000 description 13
- 239000001301 oxygen Substances 0.000 description 13
- 229910052760 oxygen Inorganic materials 0.000 description 13
- 230000003068 static effect Effects 0.000 description 13
- 238000009530 blood pressure measurement Methods 0.000 description 12
- 230000006870 function Effects 0.000 description 11
- 230000005484 gravity Effects 0.000 description 9
- 238000004519 manufacturing process Methods 0.000 description 9
- 230000007246 mechanism Effects 0.000 description 9
- 210000002268 wool Anatomy 0.000 description 9
- 239000003463 adsorbent Substances 0.000 description 8
- 238000009833 condensation Methods 0.000 description 8
- 230000005494 condensation Effects 0.000 description 8
- 238000010586 diagram Methods 0.000 description 8
- 229920001343 polytetrafluoroethylene Polymers 0.000 description 8
- 239000004810 polytetrafluoroethylene Substances 0.000 description 8
- 229910001220 stainless steel Inorganic materials 0.000 description 8
- 239000010935 stainless steel Substances 0.000 description 8
- 239000004801 Chlorinated PVC Substances 0.000 description 7
- 230000004888 barrier function Effects 0.000 description 7
- 229920000457 chlorinated polyvinyl chloride Polymers 0.000 description 7
- 230000000694 effects Effects 0.000 description 7
- 239000002609 medium Substances 0.000 description 7
- 239000012528 membrane Substances 0.000 description 7
- 238000007789 sealing Methods 0.000 description 7
- OKTJSMMVPCPJKN-UHFFFAOYSA-N Carbon Chemical compound [C] OKTJSMMVPCPJKN-UHFFFAOYSA-N 0.000 description 6
- 239000004952 Polyamide Substances 0.000 description 6
- 238000004364 calculation method Methods 0.000 description 6
- 230000008859 change Effects 0.000 description 6
- 239000006260 foam Substances 0.000 description 6
- 238000012423 maintenance Methods 0.000 description 6
- 230000000116 mitigating effect Effects 0.000 description 6
- 229920002647 polyamide Polymers 0.000 description 6
- 239000001569 carbon dioxide Substances 0.000 description 5
- 150000001875 compounds Chemical class 0.000 description 5
- 238000007710 freezing Methods 0.000 description 5
- 229920003023 plastic Polymers 0.000 description 5
- 239000004033 plastic Substances 0.000 description 5
- 239000002904 solvent Substances 0.000 description 5
- IJGRMHOSHXDMSA-UHFFFAOYSA-N Atomic nitrogen Chemical compound N#N IJGRMHOSHXDMSA-UHFFFAOYSA-N 0.000 description 4
- 239000004593 Epoxy Substances 0.000 description 4
- JOYRKODLDBILNP-UHFFFAOYSA-N Ethyl urethane Chemical compound CCOC(N)=O JOYRKODLDBILNP-UHFFFAOYSA-N 0.000 description 4
- DHKHKXVYLBGOIT-UHFFFAOYSA-N acetaldehyde Diethyl Acetal Natural products CCOC(C)OCC DHKHKXVYLBGOIT-UHFFFAOYSA-N 0.000 description 4
- 125000002777 acetyl group Chemical class [H]C([H])([H])C(*)=O 0.000 description 4
- 238000004891 communication Methods 0.000 description 4
- 230000006835 compression Effects 0.000 description 4
- 238000007906 compression Methods 0.000 description 4
- 239000000356 contaminant Substances 0.000 description 4
- 229920001577 copolymer Polymers 0.000 description 4
- 230000007423 decrease Effects 0.000 description 4
- 239000000428 dust Substances 0.000 description 4
- 229920001903 high density polyethylene Polymers 0.000 description 4
- 239000004700 high-density polyethylene Substances 0.000 description 4
- 230000002401 inhibitory effect Effects 0.000 description 4
- 238000003780 insertion Methods 0.000 description 4
- 230000037431 insertion Effects 0.000 description 4
- -1 polypropylene Polymers 0.000 description 4
- 229920001169 thermoplastic Polymers 0.000 description 4
- 229920001187 thermosetting polymer Polymers 0.000 description 4
- 239000004416 thermosoftening plastic Substances 0.000 description 4
- 230000001052 transient effect Effects 0.000 description 4
- 229910000619 316 stainless steel Inorganic materials 0.000 description 3
- 239000004677 Nylon Substances 0.000 description 3
- 230000009471 action Effects 0.000 description 3
- 238000010276 construction Methods 0.000 description 3
- 230000006378 damage Effects 0.000 description 3
- 230000008014 freezing Effects 0.000 description 3
- 230000009931 harmful effect Effects 0.000 description 3
- 230000036541 health Effects 0.000 description 3
- 238000011065 in-situ storage Methods 0.000 description 3
- 230000000977 initiatory effect Effects 0.000 description 3
- 230000013011 mating Effects 0.000 description 3
- 229920001778 nylon Polymers 0.000 description 3
- 230000035945 sensitivity Effects 0.000 description 3
- 241000238631 Hexapoda Species 0.000 description 2
- XEEYBQQBJWHFJM-UHFFFAOYSA-N Iron Chemical compound [Fe] XEEYBQQBJWHFJM-UHFFFAOYSA-N 0.000 description 2
- 229920012485 Plasticized Polyvinyl chloride Polymers 0.000 description 2
- 239000004743 Polypropylene Substances 0.000 description 2
- VYPSYNLAJGMNEJ-UHFFFAOYSA-N Silicium dioxide Chemical compound O=[Si]=O VYPSYNLAJGMNEJ-UHFFFAOYSA-N 0.000 description 2
- 238000009825 accumulation Methods 0.000 description 2
- NIXOWILDQLNWCW-UHFFFAOYSA-N acrylic acid group Chemical group C(C=C)(=O)O NIXOWILDQLNWCW-UHFFFAOYSA-N 0.000 description 2
- 238000006243 chemical reaction Methods 0.000 description 2
- 230000003247 decreasing effect Effects 0.000 description 2
- 239000002274 desiccant Substances 0.000 description 2
- 238000001514 detection method Methods 0.000 description 2
- 230000007613 environmental effect Effects 0.000 description 2
- 230000001976 improved effect Effects 0.000 description 2
- 239000003112 inhibitor Substances 0.000 description 2
- 229910052757 nitrogen Inorganic materials 0.000 description 2
- 229920001155 polypropylene Polymers 0.000 description 2
- 238000001556 precipitation Methods 0.000 description 2
- 230000000717 retained effect Effects 0.000 description 2
- 230000002441 reversible effect Effects 0.000 description 2
- 239000000126 substance Substances 0.000 description 2
- 241000239290 Araneae Species 0.000 description 1
- 239000004809 Teflon Substances 0.000 description 1
- 229920006362 Teflon® Polymers 0.000 description 1
- 239000002250 absorbent Substances 0.000 description 1
- 230000002745 absorbent Effects 0.000 description 1
- 230000004308 accommodation Effects 0.000 description 1
- 230000003213 activating effect Effects 0.000 description 1
- 239000002313 adhesive film Substances 0.000 description 1
- 239000012080 ambient air Substances 0.000 description 1
- 238000004458 analytical method Methods 0.000 description 1
- 239000011324 bead Substances 0.000 description 1
- 230000008901 benefit Effects 0.000 description 1
- 230000000903 blocking effect Effects 0.000 description 1
- UBAZGMLMVVQSCD-UHFFFAOYSA-N carbon dioxide;molecular oxygen Chemical compound O=O.O=C=O UBAZGMLMVVQSCD-UHFFFAOYSA-N 0.000 description 1
- 239000003518 caustics Substances 0.000 description 1
- 230000003750 conditioning effect Effects 0.000 description 1
- 238000000354 decomposition reaction Methods 0.000 description 1
- 230000000593 degrading effect Effects 0.000 description 1
- 238000001035 drying Methods 0.000 description 1
- 230000005611 electricity Effects 0.000 description 1
- 125000003700 epoxy group Chemical group 0.000 description 1
- 239000012737 fresh medium Substances 0.000 description 1
- 239000004519 grease Substances 0.000 description 1
- 238000007654 immersion Methods 0.000 description 1
- 239000012535 impurity Substances 0.000 description 1
- 239000011810 insulating material Substances 0.000 description 1
- 230000002452 interceptive effect Effects 0.000 description 1
- 229910052742 iron Inorganic materials 0.000 description 1
- 230000000670 limiting effect Effects 0.000 description 1
- 238000007726 management method Methods 0.000 description 1
- 238000003801 milling Methods 0.000 description 1
- 238000002156 mixing Methods 0.000 description 1
- 238000012544 monitoring process Methods 0.000 description 1
- 238000000465 moulding Methods 0.000 description 1
- 210000002445 nipple Anatomy 0.000 description 1
- 235000019645 odor Nutrition 0.000 description 1
- 230000003287 optical effect Effects 0.000 description 1
- 238000005457 optimization Methods 0.000 description 1
- 239000010815 organic waste Substances 0.000 description 1
- 230000036961 partial effect Effects 0.000 description 1
- 239000013618 particulate matter Substances 0.000 description 1
- 230000000737 periodic effect Effects 0.000 description 1
- 239000012466 permeate Substances 0.000 description 1
- 230000000704 physical effect Effects 0.000 description 1
- 230000010287 polarization Effects 0.000 description 1
- 229920000647 polyepoxide Polymers 0.000 description 1
- 229920005644 polyethylene terephthalate glycol copolymer Polymers 0.000 description 1
- 238000003825 pressing Methods 0.000 description 1
- 230000002062 proliferating effect Effects 0.000 description 1
- 230000001902 propagating effect Effects 0.000 description 1
- 230000009467 reduction Effects 0.000 description 1
- 238000005057 refrigeration Methods 0.000 description 1
- 230000004044 response Effects 0.000 description 1
- 239000000565 sealant Substances 0.000 description 1
- 239000004065 semiconductor Substances 0.000 description 1
- 239000000377 silicon dioxide Substances 0.000 description 1
- 239000007787 solid Substances 0.000 description 1
- 230000002123 temporal effect Effects 0.000 description 1
- 238000012360 testing method Methods 0.000 description 1
- 239000003053 toxin Substances 0.000 description 1
- 231100000765 toxin Toxicity 0.000 description 1
- 108700012359 toxins Proteins 0.000 description 1
- 230000001960 triggered effect Effects 0.000 description 1
- 238000009834 vaporization Methods 0.000 description 1
- 230000008016 vaporization Effects 0.000 description 1
- 239000013598 vector Substances 0.000 description 1
- 239000002918 waste heat Substances 0.000 description 1
- 239000002699 waste material Substances 0.000 description 1
Images
Classifications
-
- G—PHYSICS
- G01—MEASURING; TESTING
- G01N—INVESTIGATING OR ANALYSING MATERIALS BY DETERMINING THEIR CHEMICAL OR PHYSICAL PROPERTIES
- G01N33/00—Investigating or analysing materials by specific methods not covered by groups G01N1/00 - G01N31/00
- G01N33/0004—Gaseous mixtures, e.g. polluted air
- G01N33/0006—Calibrating gas analysers
-
- B—PERFORMING OPERATIONS; TRANSPORTING
- B09—DISPOSAL OF SOLID WASTE; RECLAMATION OF CONTAMINATED SOIL
- B09B—DISPOSAL OF SOLID WASTE NOT OTHERWISE PROVIDED FOR
- B09B1/00—Dumping solid waste
- B09B1/006—Shafts or wells in waste dumps
-
- B—PERFORMING OPERATIONS; TRANSPORTING
- B09—DISPOSAL OF SOLID WASTE; RECLAMATION OF CONTAMINATED SOIL
- B09B—DISPOSAL OF SOLID WASTE NOT OTHERWISE PROVIDED FOR
- B09B3/00—Destroying solid waste or transforming solid waste into something useful or harmless
- B09B3/80—Destroying solid waste or transforming solid waste into something useful or harmless involving an extraction step
-
- E—FIXED CONSTRUCTIONS
- E21—EARTH OR ROCK DRILLING; MINING
- E21B—EARTH OR ROCK DRILLING; OBTAINING OIL, GAS, WATER, SOLUBLE OR MELTABLE MATERIALS OR A SLURRY OF MINERALS FROM WELLS
- E21B36/00—Heating, cooling or insulating arrangements for boreholes or wells, e.g. for use in permafrost zones
-
- E—FIXED CONSTRUCTIONS
- E21—EARTH OR ROCK DRILLING; MINING
- E21B—EARTH OR ROCK DRILLING; OBTAINING OIL, GAS, WATER, SOLUBLE OR MELTABLE MATERIALS OR A SLURRY OF MINERALS FROM WELLS
- E21B36/00—Heating, cooling or insulating arrangements for boreholes or wells, e.g. for use in permafrost zones
- E21B36/003—Insulating arrangements
-
- E—FIXED CONSTRUCTIONS
- E21—EARTH OR ROCK DRILLING; MINING
- E21B—EARTH OR ROCK DRILLING; OBTAINING OIL, GAS, WATER, SOLUBLE OR MELTABLE MATERIALS OR A SLURRY OF MINERALS FROM WELLS
- E21B47/00—Survey of boreholes or wells
- E21B47/06—Measuring temperature or pressure
-
- E—FIXED CONSTRUCTIONS
- E21—EARTH OR ROCK DRILLING; MINING
- E21B—EARTH OR ROCK DRILLING; OBTAINING OIL, GAS, WATER, SOLUBLE OR MELTABLE MATERIALS OR A SLURRY OF MINERALS FROM WELLS
- E21B49/00—Testing the nature of borehole walls; Formation testing; Methods or apparatus for obtaining samples of soil or well fluids, specially adapted to earth drilling or wells
- E21B49/08—Obtaining fluid samples or testing fluids, in boreholes or wells
-
- G—PHYSICS
- G01—MEASURING; TESTING
- G01N—INVESTIGATING OR ANALYSING MATERIALS BY DETERMINING THEIR CHEMICAL OR PHYSICAL PROPERTIES
- G01N1/00—Sampling; Preparing specimens for investigation
- G01N1/02—Devices for withdrawing samples
- G01N1/22—Devices for withdrawing samples in the gaseous state
- G01N1/2247—Sampling from a flowing stream of gas
-
- G—PHYSICS
- G01—MEASURING; TESTING
- G01N—INVESTIGATING OR ANALYSING MATERIALS BY DETERMINING THEIR CHEMICAL OR PHYSICAL PROPERTIES
- G01N1/00—Sampling; Preparing specimens for investigation
- G01N1/02—Devices for withdrawing samples
- G01N1/22—Devices for withdrawing samples in the gaseous state
- G01N1/2294—Sampling soil gases or the like
-
- G—PHYSICS
- G01—MEASURING; TESTING
- G01N—INVESTIGATING OR ANALYSING MATERIALS BY DETERMINING THEIR CHEMICAL OR PHYSICAL PROPERTIES
- G01N33/00—Investigating or analysing materials by specific methods not covered by groups G01N1/00 - G01N31/00
- G01N33/0004—Gaseous mixtures, e.g. polluted air
- G01N33/0009—General constructional details of gas analysers, e.g. portable test equipment
- G01N33/0027—General constructional details of gas analysers, e.g. portable test equipment concerning the detector
- G01N33/0036—General constructional details of gas analysers, e.g. portable test equipment concerning the detector specially adapted to detect a particular component
-
- G—PHYSICS
- G01—MEASURING; TESTING
- G01N—INVESTIGATING OR ANALYSING MATERIALS BY DETERMINING THEIR CHEMICAL OR PHYSICAL PROPERTIES
- G01N33/00—Investigating or analysing materials by specific methods not covered by groups G01N1/00 - G01N31/00
- G01N33/0004—Gaseous mixtures, e.g. polluted air
- G01N33/0009—General constructional details of gas analysers, e.g. portable test equipment
- G01N33/0027—General constructional details of gas analysers, e.g. portable test equipment concerning the detector
- G01N33/0036—General constructional details of gas analysers, e.g. portable test equipment concerning the detector specially adapted to detect a particular component
- G01N33/004—CO or CO2
-
- E—FIXED CONSTRUCTIONS
- E21—EARTH OR ROCK DRILLING; MINING
- E21B—EARTH OR ROCK DRILLING; OBTAINING OIL, GAS, WATER, SOLUBLE OR MELTABLE MATERIALS OR A SLURRY OF MINERALS FROM WELLS
- E21B47/00—Survey of boreholes or wells
- E21B47/06—Measuring temperature or pressure
- E21B47/07—Temperature
-
- E—FIXED CONSTRUCTIONS
- E21—EARTH OR ROCK DRILLING; MINING
- E21B—EARTH OR ROCK DRILLING; OBTAINING OIL, GAS, WATER, SOLUBLE OR MELTABLE MATERIALS OR A SLURRY OF MINERALS FROM WELLS
- E21B49/00—Testing the nature of borehole walls; Formation testing; Methods or apparatus for obtaining samples of soil or well fluids, specially adapted to earth drilling or wells
- E21B49/08—Obtaining fluid samples or testing fluids, in boreholes or wells
- E21B49/087—Well testing, e.g. testing for reservoir productivity or formation parameters
- E21B49/0875—Well testing, e.g. testing for reservoir productivity or formation parameters determining specific fluid parameters
-
- G—PHYSICS
- G01—MEASURING; TESTING
- G01N—INVESTIGATING OR ANALYSING MATERIALS BY DETERMINING THEIR CHEMICAL OR PHYSICAL PROPERTIES
- G01N1/00—Sampling; Preparing specimens for investigation
- G01N1/02—Devices for withdrawing samples
- G01N1/22—Devices for withdrawing samples in the gaseous state
- G01N1/24—Suction devices
-
- G—PHYSICS
- G01—MEASURING; TESTING
- G01N—INVESTIGATING OR ANALYSING MATERIALS BY DETERMINING THEIR CHEMICAL OR PHYSICAL PROPERTIES
- G01N1/00—Sampling; Preparing specimens for investigation
- G01N1/02—Devices for withdrawing samples
- G01N1/10—Devices for withdrawing samples in the liquid or fluent state
- G01N1/20—Devices for withdrawing samples in the liquid or fluent state for flowing or falling materials
- G01N1/2035—Devices for withdrawing samples in the liquid or fluent state for flowing or falling materials by deviating part of a fluid stream, e.g. by drawing-off or tapping
- G01N2001/2064—Devices for withdrawing samples in the liquid or fluent state for flowing or falling materials by deviating part of a fluid stream, e.g. by drawing-off or tapping using a by-pass loop
-
- Y—GENERAL TAGGING OF NEW TECHNOLOGICAL DEVELOPMENTS; GENERAL TAGGING OF CROSS-SECTIONAL TECHNOLOGIES SPANNING OVER SEVERAL SECTIONS OF THE IPC; TECHNICAL SUBJECTS COVERED BY FORMER USPC CROSS-REFERENCE ART COLLECTIONS [XRACs] AND DIGESTS
- Y02—TECHNOLOGIES OR APPLICATIONS FOR MITIGATION OR ADAPTATION AGAINST CLIMATE CHANGE
- Y02C—CAPTURE, STORAGE, SEQUESTRATION OR DISPOSAL OF GREENHOUSE GASES [GHG]
- Y02C20/00—Capture or disposal of greenhouse gases
- Y02C20/20—Capture or disposal of greenhouse gases of methane
-
- Y—GENERAL TAGGING OF NEW TECHNOLOGICAL DEVELOPMENTS; GENERAL TAGGING OF CROSS-SECTIONAL TECHNOLOGIES SPANNING OVER SEVERAL SECTIONS OF THE IPC; TECHNICAL SUBJECTS COVERED BY FORMER USPC CROSS-REFERENCE ART COLLECTIONS [XRACs] AND DIGESTS
- Y02—TECHNOLOGIES OR APPLICATIONS FOR MITIGATION OR ADAPTATION AGAINST CLIMATE CHANGE
- Y02E—REDUCTION OF GREENHOUSE GAS [GHG] EMISSIONS, RELATED TO ENERGY GENERATION, TRANSMISSION OR DISTRIBUTION
- Y02E50/00—Technologies for the production of fuel of non-fossil origin
- Y02E50/30—Fuel from waste, e.g. synthetic alcohol or diesel
-
- Y—GENERAL TAGGING OF NEW TECHNOLOGICAL DEVELOPMENTS; GENERAL TAGGING OF CROSS-SECTIONAL TECHNOLOGIES SPANNING OVER SEVERAL SECTIONS OF THE IPC; TECHNICAL SUBJECTS COVERED BY FORMER USPC CROSS-REFERENCE ART COLLECTIONS [XRACs] AND DIGESTS
- Y02—TECHNOLOGIES OR APPLICATIONS FOR MITIGATION OR ADAPTATION AGAINST CLIMATE CHANGE
- Y02W—CLIMATE CHANGE MITIGATION TECHNOLOGIES RELATED TO WASTEWATER TREATMENT OR WASTE MANAGEMENT
- Y02W30/00—Technologies for solid waste management
- Y02W30/20—Waste processing or separation
Definitions
- Landfills typically produce landfill gas (LFG) as a result of decomposition processes of organic waste, and methane is often a component of LFG.
- LFG landfill gas
- the landfill sites are typically capped with a layer of cover material and gas extraction systems are installed to pull LFG out before it can penetrate the cover layer and escape.
- these gas extraction systems can consist of a plurality of vertical and horizontal wells drilled or constructed into the landfill, which are connected with piping to one or more vacuum sources.
- the cover layer prevents gas from freely escaping, while the vacuum in the extraction wells pulls LFG into the collection system.
- LFG extraction wells typically have a manual valve that adjusts the localized vacuum pressure in that well, as well as a set of ports for sampling the gas characteristics with a portable gas analyzer.
- Landfill gas is most often disposed of in a flare, processed for direct use, or used to power electricity generation equipment (such as generators or gas turbines).
- the horizontal and vertical wells in the collection system typically consist of a length of perforated pipe connected to a length of solid pipe that rises through the surface of the landfill for wellhead access.
- the perforated pipe may be laid across the landfill during active dumping and subsequently buried (forming "horizontal wells") under additional lifts or inserted into a hole drilled through the landfill (traditional "vertical wells").
- This pipe then acts as the gas extraction interface between the fill and the collection system. Additional extraction points may also exist, with collection through leachate cleanouts, sumps, cisterns, temporary cover layers, and other points of fluid connection with the landfill mass.
- Some aspects include an apparatus for sampling landfill gas from a landfill flowing through a pipe, the apparatus comprising: an enclosure configured to receive a section of the pipe; a gas sampling port in the section of the pipe; at least one sensor device disposed in a region of the enclosure, the at least one sensor being coupled to the section of the pipe through the gas sampling port; and a wireless transmitter.
- the apparatus may include thermal insulation positioned to retain heat from the section of the pipe in the region of the enclosure.
- an apparatus for sampling landfill gas from a landfill flowing through a pipe comprising: a sampling subsystem comprising: a gas inlet port and a gas outlet port; a region configured to receive a section of the pipe, the section of the pipe having a gas sampling port; a thermoelectric condenser; at least one gas sensor coupled to the gas outlet port; and a gas flow passage from the gas inlet port to the gas outlet port, the gas flow passage passing adjacent to and in thermal contact with the thermoelectric condenser.
- Additional aspects include an apparatus for sampling landfill gas from a landfill flowing through a pipe, the apparatus comprising: an orifice block comprising: a gas inlet port and a gas outlet port; a region configured to receive a section of the pipe, the section of the pipe having a gas sampling port; and a gas flow passage from the gas inlet port to the gas outlet port, the gas flow passage comprising at least one fluid knock-out.
- the apparatus may also include a filter for at least one of a particulate and/or a corrosive gas.
- some aspects include a method of operating a landfill gas recovery system, the method comprising: flowing gas from a well riser pipe through a sampling subsystem to a collection system; and heating a portion of the sampling subsystem with the gas flowing from the well riser pipe to the collection system.
- specially designed consumable or reusable filter hardware and/or features may be employed to actively or passively treat gas that is drawn in and sampled from the LFG stream or atmosphere port, including adsorbent or absorbent filter media, active condensation elements, particulate filters, or screens or knock-outs.
- Some embodiments may employ geometrically advantageous designs to ensure water does not accumulate within the sampling system, for instance by reducing water traps or assuring gravity assists drainage of liquids wherever possible.
- hardware and methods may be employed to allow for easy field calibration of sensors.
- specially designed features in the orifice plate, the slot into which the orifice plate is inserted, and the lid that seals the orifice plate into the pipe carrying the gas stream may be employed to mitigate manufacturing variations and concerns when measuring flow.
- Some embodiments may measure the pressure at specific locations in the LFG stream to address limitations in sensing hardware and improve system telemetry and control.
- a combination of active and/or passive measures may be employed to maintain an internal temperature within operating limits.
- Some embodiments may employ a front panel used for service tasks such as accessing consumable or replaceable filter elements, connecting an external gas source for calibration, interacting with a user interface to control measurement, calibration, and control commands.
- Some embodiments may be designed to have specific mechanical features and/or be designed for a specific mounting strategy to address the variety of well styles across different landfills.
- an apparatus comprising sensors may be formed of a polymeric material. These components may include a region configured to receive a section of pipe and one or more gas flow passages.
- the polymeric material may be thermoplastic, thermoset, urethane or a co-polymer, which could be CPVC or HDPE.
- an apparatus comprising a sensor may include a port or other connection to a source of gas of known composition, which may serve as a calibration gas. The apparatus may be controlled to supply calibration gas to a sensor chamber for making measurements that may be used to calibrate the measurement hardware.
- One source of a gas of known composition is a source of air, such as the ambient environment.
- the at least one source gas of known composition is a source of a mixture of CO 2 and CH 4 .
- the at least one source gas of known composition contains a mixture of two gasses of known composition.
- the least one source of a gas of known composition may be a source of air and a source of a mixture of two gasses of known composition.
- Such a mixture of two gasses of known composition may comprise at least of CO 2 and CH 4 .
- Some embodiments may be designed to have specific features that allow for easier handling, installation, and removal of units at a specific site.
- This system includes units that may be installed in-line with the landfill gas collection system, typically serving as the connection between the wellhead (well riser) and the extraction system (vacuum riser).
- a system comprised of a plurality of these units is meant to alleviate the need for a constant presence of dedicated personnel attending to each wellhead, so it may be advantageous that the hardware perform reliably with minimal need for maintenance and technician attention.
- Such units may contain wetted sensors (sensors that require a fluid connection with the gas stream or a sample of the gas to perform the desired function - including pressure sensors and gas composition sensors that require immersion in the media).
- sensors are particularly at risk of degrading or failing to operate properly. They have implemented specific accommodations in the design and construction of such units to mitigate the particulate, humidity, and corrosive properties of a landfill gas stream to extend the lifetime and accuracy of any wetted sensors.
- this hardware may typically be installed outdoors, certain system design aspects and enclosure considerations may also be implemented to ensure the internal components remain within acceptable operating conditions, such as staying above freezing when external temperatures are sub-zero in winter months.
- An additional consideration recognized and addressed by one or more of the embodiments described herein, is that this device have access panels, thoughtful mounting features and an adequate strategy for rapid deployment and replacement in the field to minimize effort required during installation and time spent during service, scheduled maintenance, replacement, and uninstallation.
- a sampling unit may have features that enable it to operate reliably in the harsh environment of a landfill, which can involve low temperatures and corrosive gas.
- problems such as:
- the inventors recognized and appreciated techniques to address some or all of these concerns and problems associated with measuring the properties of LFG and controlling the extraction process.
- the properties that may be measured and/or controlled include, but are not limited to, flow, temperature, pressure, and gas composition.
- One or more sensors may be included to measure one or more of these characteristics of the gas or of the gas flow. Described herein are embodiments for components of a system that controls the extraction of LFG at the point of installation of those components, are survivable when deployed in a harsh environment like a landfill wellfield, and/or enable reduction in the effort and time associated with installing and maintaining field units.
- LFG Connection any point in the LFG recovery system that a unit may be connected to. This could include, but is not limited to, the wellhead, the system vacuum riser, buried or above ground pipes, junctions, flares, blowers, generators or engines, coalescers, filters, pumps, valves, leachate systems, or digesters.
- Port - an opening in a connection, pipe, vessel, valve, chamber, or the like through which air or gas flow or pressure may pass.
- the port may have features such as threading, barbs, or quick-connect geometries or fittings for external connections or jumpers, gaskets, sealing with Teflon tape, or other features.
- One of the functions of some embodiments is to make and break connections between two or more ports, with one or more ports acting as pressure or vacuum sources, flow inlets/intakes or outlets/exhausts, or sensor interfaces.
- the port may either be open (connected to one or more other ports integral to the valve) or closed (blocked, obstructed).
- Pressure the amount of force exerted over an area, specifically by a gas in some embodiments.
- Pressure may or may not be associated with a corresponding flow in some embodiments.
- static pressure or the pressure (vacuum) within the LFG vacuum system compared to atmospheric pressure, with a diaphragm pressure sensor
- no steady-state flow should be passing through the pressure sensor through its connections to the LFG system.
- an important behavior of such a connection is to convey pressures between ports and not flow of a gas, and it may be specifically referred to as such: a connection or direction of pressures.
- pressure measurements may be used to infer a flow in the vessel that they are connected to, but again such measurements may be made with minimal steady-state flow through the corresponding measurement ports. This is the case with either differential pressure measurements, where pressure is sensed on both sides of a constriction or orifice in the flow path and where at least two pressures may be directed to the corresponding pressure sensor ports, or with single-ended or impact pressure measurements, such as with a pitot, where a single pressure corresponding to the flow in the vessel may be directed to the pressure sensor port.
- a transient pressure may be applied by the unit to clear the blockage.
- the unit may include a controller, which may receive outputs of sensors indicating such a condition and, in response, generate control signals for valves or other actuators to apply a pressure differential across the blockage.
- Such a function may be achieved, for example, by connecting one port of the blocked connection to the LFG vacuum and the other to atmosphere.
- Such control operations would, in this case, yield a pressure transient across the ports that gives way to a steady-state flow once the blockage is cleared.
- the unit may produce such a pressure by activating a pump on one side of the blockage. Again, the behavior in this case would yield a pressure transient across the ports of the blocked connection that gives way to a steady-state flow once the blockage is cleared.
- the cleared tube could then be connected as needed to direct pressure or flow unobstructed as desired (and the pump, if used, could be disengaged).
- Pressure may also be described in the context of a steady-state flow within some embodiments. Narrow diameters of connections, valves, ports, or other orifices within the unit may create pressure drops during flow of gas. For example, the flow of sample gas into or out of the sample chamber may increase or decrease the pressure within the chamber. The pressure associated with the flow of gas within the unit may be used to infer the rate of flow, determine the presence of clogs, or to augment certain sensor readings or otherwise provide utility.
- Sensor - typically an electronic component that converts a physical property, such as temperature, pressure or gas composition, into another form, such as electrical (analog or digital) representation or signal.
- Sensor chamber an enclosed volume within the unit that contains one or more sensors.
- a sample gas or purge (clean) gas or air may be passed through the chamber through one or more ports, either in a metered (fixed volume) or continuous flow.
- the sensors within this chamber may measure one or more characteristics of the gas passed through the chamber (temperature, humidity, pressure, composition, etc.).
- the sensors may be integrated into the sensor chamber construction (for instance, light emitters or detectors, sensor optics, gratings or filters, semiconductors, gas filters, etc.) may be incorporated into a wall, face, boss, lid, or other feature of the chamber.
- Sensors may also be housed or seated on a circuit board that is either placed within the chamber or that acts as a face or lid of the sensor chamber.
- the sensor chamber may have a lid that is removable for service, sensor replacement, or other actions requiring entry into the chamber. An example is shown in FIG. 10 .
- Valve - a mechanical or electromechanical device capable of opening or closing, either completely or partially, a connection between two or more ports.
- valves described herein may be controlled by signals output by a controller within or coupled to the unit, allowing automated performance of functions described herein based on programming or other configuration of the controller.
- Solenoid valve an electromechanical device capable of opening or closing a connection between two or more ports when triggered by an electronic signal.
- the solenoid valve may be referred to simply as a solenoid. This valve may also be used to redirect flow or pressure by simultaneously opening the connection between one port and another port, while closing the connection between the first port and a third.
- the solenoid may also have additional states or positions (configuration of port to port connections), where several ports can be open or connected to each other, or some or all ports can be closed. The states may be momentary, requiring the electronic signal to be maintained for the duration of the state, or latched, maintaining state after an electronic signal.
- Upstream Pipe a component that feeds gas from the wellhead to a unit.
- the upstream pipe may pass through the enclosure of the unit and may be connected to one end of an electromechanical control valve in any suitable way.
- the pipe may be solvent welded to a union that mates with the electromechanical control valve.
- this union may be drilled and tapped 1 ⁇ 4-NPT for a stainless steel thermistor. This thermistor may measure the temperature of the landfill gas and may be constantly immersed in the flow.
- this pipe may have a slot for a configurable acrylic orifice plate, as well as a port drilled on each side of the slot for measuring pressure and drawing gas composition samples, according to some embodiments.
- Orifice Block / Curved Bolted Block - a member that may serve as a mechanical support for some or all of the components described herein.
- the orifice block may be of unitary construction, but in other embodiments, one or more components may be attached to form an orifice block.
- the orifice block may have integrally formed therewith, or may have coupled to it, one or more elements that enable functions described herein.
- the orifice block may mate with the upstream pipe using dynamic seals (O-rings, gaskets) with compression applied using, in some embodiments, a U-bolt, or static seals using solvent or thermal welds or epoxies.
- the front face (opposite from the pipe) may feature an orifice lid that can be opened, allowing a technician to change the orifice plate. Additionally, this face may contain three quick connect ports. The two quick connect ports at the left of the orifice lid may allow for a technician to install and remove a disposable filter. The single quick connect to the right may be a provision for a gas calibration port.
- the orifice block may include a manifold, comprising one or more passageways through which gas may flow. Inputs and outputs of these passages may be connected to components of the sampling subsystem containing the manifold.
- the manifold may include controllable valves such that gas may flow from selected one or ones of the inputs to selected one or ones of the outputs to configure the sampling subsystem for any of a number of operations, including sampling, calibration, purging, etc.
- gas may be drawn in through the upstream port (the well side of the orifice plate), through an integrated water knock-out, across a thermoelectric-chilled cold plate condenser maze on the top of the block, back into the block to the bottom left quick connect port, out through the port into an external H2S adsorbent media filter and a particulate filter, back into the top left quick connect port, and into the manifold, according to some embodiments. Additionally, the exhaust of this sample gas may return from the manifold back into the orifice block and out the downstream port (on the valve/union/thermistor side of the orifice plate).
- Portions of the apparatus may be formed of a polymeric material. Portions formed of the polymeric material may include the entire enclosure, a region configured to receive the section of pipe or some or all of the gas flow passages.
- the polymeric material may be thermoplastic, thermoset, urethane or a co-polymer. In some embodiments, the polymeric material may be CPVC or HDPE.
- Manifold and Solenoid Valves allows multiple valves, four in some embodiments, to reconfigure the fluid connections so both pressure measurements and gas samples, as well as purge cycles meant to eject condensate from the upstream and downstream ports on the orifice block.
- the valves in combination with one or more pumps, may be controlled to implement a measurement cycle to control sensing of LFG or calibration gas, purge the system, and/or perform other actions.
- the manifold may also have barbed fittings that are used to convey the differential pressure and static pressure measurements to pressure transducers in the device.
- differential pressure across the orifice plate may not be enough to fill the sensor chamber during a sample cycle, and because gas sensors may not survive direct and continuous exposure to the gas stream, a sample pump may be used to draw a timed sample of landfill gas from the pipe, through a filtration system, into the sensor chamber.
- the manifold then may reconfigure so this same pump draws in a clean air sample, purging the gas collection system.
- the manifold can be reconfigured so the single pump can purge both upstream and downstream with clean air, as well as pump a sample from the upstream to the downstream port via the sensor chamber.
- the pipe may be solvent welded to a union that mates with the electromechanical control valve. Additionally, this union may be drilled and tapped 1 ⁇ 4-NPT for a polypropylene barb that conveys the available vacuum pressure to a pressure transducer in the unit measurement and control device.
- Available Vacuum typically refers to the vacuum available on the vacuum riser serving a single well or plurality of wells at the extraction point, whether naturally occurring or created by a blower or other machine.
- the available vacuum may be the vacuum pressure downstream of the control valve, and representative of the maximum vacuum that could be applied to the extraction point if the valve were fully opened.
- Available vacuum may be representative of the site-wide system vacuum, but typically less due to pressure drops that occur across the pipes that convey system vacuum to each extraction point
- System Vacuum - typically refers to the site-wide extraction vacuum pressure created by a blower at the flare, generator or other destruction device. While a single blower may be used to create the extraction for a given site, some wellfields may employ multiple vacuum sources, such that system vacuum may refer to the individual vacuum systems or the sum of all vacuums applied to the wellfield.
- the pipe carrying the LFG stream may be solvent welded to a union that mates with the electromechanical control valve. Additionally, this union may be drilled and tapped 1 ⁇ 4-NPT for a polypropylene barb that conveys the available vacuum pressure to a pressure transducer in the device.
- Applied Vacuum - indicates the amount of vacuum created by a vacuum/extraction system.
- Fluid - a liquid, vapor, gas, or combination of any or all.
- Fluid Connection any connection between volumes through which a fluid may flow or pressure may be conveyed.
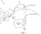
- FIG. 1 illustrates a landfill gas extraction system 100, according to some embodiments.
- a landfill gas extraction system 100 may include one or more gas extraction wells 102 coupled to one or more wellheads 104.
- each wellhead may be in fluid communication with a single, corresponding well.
- This well may be one of any number of wells in a system of wells (not shown).
- Each well may have one or more of the following components.
- the landfill gas extraction system 100 of a given well may include a gas extraction piping system 108 coupling the well(s) 102 to a gas collection system 110, and one or more sampling units 200 for sampling the landfill gas.
- gas collection system 110 may supply the extracted landfill gas to a gas-to-energy power plant 112, which may convert the landfill gas into electrical power (e.g., by burning the landfill gas to turn the rotor of a generator or turbine).
- a control mechanism may operate to improve gas extraction efficiency and/or to control the extraction process for a variety of desired outcomes.
- Control may be implemented in one or more processors, which may be on one or more printed circuit boards. Those processors may be implemented in one or more of the units 200. In other embodiments, the processors may be separate from units 200 containing sensors, but may be in communication, using known wireless or wired communication channels, with the units 200, such that measurements made with the sensors may be communicated to the processors. Accordingly, each of the units 200 may include a wireless transmitter and/or wireless receiver.
- the control mechanism may control a control valve, discussed further below.
- a central controller (not shown) may communicate with the control mechanism and the unit 200 of each well in a well system. The central controller may transmit commands to and receive information from the control mechanism of each well.
- FIG. 2 illustrates a sampling unit 200 for sampling landfill gas from a landfill flowing through a pipe 210 according to some embodiments.
- the unit 200 may include an enclosure 220 configured to receive a section of the pipe 210.
- the enclosure 220 may comprise an hermetic seal, sufficiently blocking the flow of air and/or other gasses and/or fluids that one of skill in the art would consider the enclosure to be air-tight or water-tight.
- the enclosure 220 may enclose a sampling subsystem.
- the sampling subsystem may include a support, such as the orifice block 230 or the enclosure 220 itself. Additionally, the sampling subsystem may include a gas inlet port 236 and a gas outlet port 238 mechanically coupled to the support. The sampling subsystem may also include a region mechanically coupled to the support and configured to receive the section of the pipe 210 having the gas sampling port. Additionally, the at least one sensor device may be coupled to the gas outlet port 238.
- the sampling subsystem may include a thermoelectric condenser 234, which is described in more detail below. Additionally, the sampling subsystem may include a gas flow passage from the gas inlet port 236 to the gas outlet port 238. The gas flow passage may pass adjacent to and may be in thermal contact with the thermoelectric condenser 234.
- the section of the pipe 210 is coupled to a riser pipe of a well 102 in a landfill such that landfill gas from the well 102 flows through the section of the pipe 210.
- the unit 200 may also include an orifice block assembly 230.
- the orifice block 230 may be disposed in the enclosure 220, as shown in FIG. 2 . Additionally, the orifice block 230 may be configured to receive a section of the pipe 210.
- Orifice block 230 may include one or more attachment members that holds pipe 210 in a region of the orifice block 230. That region of the orifice block may include components that align with openings in the outer wall of pipe 210 to enable a sample of gas to be extracted from pipe 210 and/or a sample of gas to be returned to pipe 210 after analysis.
- Unit 210 alternatively or additionally may be configured to position sensors adjacent openings in pipe 210 so as to measure flow of the landfill gas through the pipe 210, properties of the gas flow, such as pressure, or characteristics of the gas within pipe 210, such as its composition or percentage or amount of one or more constituent gasses, such as methane, oxygen, carbon dioxide, and/or hydrogen sulfide, for example.
- properties of the gas flow such as pressure, or characteristics of the gas within pipe 210, such as its composition or percentage or amount of one or more constituent gasses, such as methane, oxygen, carbon dioxide, and/or hydrogen sulfide, for example.
- FIG. 3 illustrates an exemplary collection of components that may be within enclosure 220, according to some embodiments.
- the orifice block 230 may include a gas inlet port 236 and a gas outlet port 238. Additionally, the orifice block 230 may include a region configured to receive the section of the pipe 210 having a gas sampling port.
- the orifice block 230 may include an attachment member that mechanically couples the orifice block 230 to the section of the pipe 210 with the gas inlet port 236 of the orifice block 230 in gas flow communication with the gas sampling port of the section of the pipe 210.
- the orifice block 230 may include a gas flow passage from the gas inlet port 236 to the gas outlet port 238.
- One or more components may be connected in that gas flow passage to condition gas before it is exposed to a sensor. Such conditioning may reduce damage to the sensor from the harmful characteristics of the LFG.
- the gas flow passage may have at least one fluid knock-out 232, which may aid in removing moisture from the LFG.
- the gas flow passage may include one or more filters and/or may contact components to cool the gas.
- the unit 200 may include at least one sensor device 240 disposed in a region of the enclosure.
- the at least one sensor device 240 may be a gas sensor.
- the unit 200 may include thermal insulation 250 positioned to retain heat from the section of the pipe 210 in the region of the enclosure 220. Such insulation may aid in low temperature operation, such as may be expected in winter conditions. Heat from the gas may be used alone or in combination with other heat sources to ensure that components continue to operate in cold conditions.
- a sampling unit or an actuator might cease to operate or cease to operate accurately if condensation formed in the unit and then froze.
- Other components, such as a battery might simply be degraded by cold temperatures, such as temperatures below 32 degrees Fahrenheit, and or all of these components may be heated as described herein.
- the at least one sensor device 240 may be coupled to the section of the pipe 210 through the gas sampling port. Alternatively or additionally, the at least one sensor device 240 may be coupled to the gas outlet port 238.
- the unit 200 may include multiple valves or other actuators that may be controlled to allow or clock flow of gas through multiple passages.
- Those passages may, for example, be machined in a manifold block. Passages, and corresponding actuators, may be included in the manifold to implement functions as described herein.
- Those functions may include passing a gas sample into a sample chamber where measurements on the gas composition of gas flow may be made. Additionally, those actuators may be controlled to evacuate the sample gas from the sample chamber and/or inject purge gas into the sample chamber.
- the gas sample may be landfill gas or may be calibration gas.
- FIG. 3 illustrates an exemplary configuration that supports these functions. However, other configurations may be used.
- some embodiments may employ one or more filtration elements and methods to reduce the impact of potentially harmful characteristics of the LFG stream.
- the filtration elements may be coupled in the gas flow passage inside unit 200, or in any other suitable way.
- the filtration elements and methods may be implemented in novel ways to make some embodiments as small, compact, and integrated while still improving filtration efficacy. Certain design considerations described herein may reduce the number of tubing connections, improve reliability of seals, and reduce manufacturing effort. The following details ways this may be designed and implemented:
- the filtration system may contain an integrated knock-out to separate fluids in the gas stream, such as condensate, from the gas being sampled.
- the knock-out (232, for example) may be integrated into specially designed hardware, such as the orifice block, or a separate unit in line with the sense and measurement system.
- the at least one fluid knock-out 232 may be configured to separate at least one fluid from the landfill gas. Additionally, the fluid knock-out 232 may include a vessel having a first cross-sectional area larger than a second cross-sectional area of the gas inlet port 236 and/or a third cross-sectional area of the gas outlet port 238, as shown in FIGS. 4-7 .
- the knock-out may be implemented by having an inlet port or fluid path with a smaller cross-sectional area feed into a vessel of larger cross-sectional area or volume.
- the undesirable liquid for example, condensate
- this knock-out may be implemented by milling or boring a cavity into a block that serves as a support for other elements in unit 200 (for example, the orifice block) to connect internal fluid paths with a smaller cross-sectional area or volume, such that the cavity provides a knock-out volume for aspirated gas / vapor and liquid to be separated allowing only gas or vapor to proceed to the outlet of the cavity.
- the cross-sectional area or volume of the knock-out may be selected through calculations or empirical determination of characteristics such as, but not limited to, the velocity of the aspirated fluid, the viscosity of the aspirated fluid, the geometric characteristics of the inlet path (such as diameter, cross-sectional area or volume), the geometric characteristics of the outlet path, fluid adhesion to the wetted materials, flow duration or total aspirated volume in a sample cycle.
- the at least one fluid knock-out 232 comprises a drain port configured to drain the at least one fluid.
- the gas outlet port may include a drain port configured to drain the at least one fluid, as shown in FIG. 4 .
- the drain port may be separate from the gas outlet port 238, as shown in FIG. 5 .
- the at least one fluid knock-out 232 (or the unit 200) may include at least one valve configured to open and close the drain port.
- the liquid separated by the knock-out may drain through the same port through which fluid was drawn, or a separate port dedicated to draining liquid that may be toggled using a dedicated valve.
- this liquid may be actively expelled from the knock-out by reversing flow direction through the vessel - such that the sample inlet becomes the purge outlet - or by the use of a dedicated pump or valve system designed to extract or expel fluid from the vessel.
- this liquid may be passively expelled through the use of gravity and the knock-out may employ valves to toggle drainage ports.
- the knock-out may employ materials to alter the fluid path (such as porous media, foam, sintered metal, pebbles, or silica beads) or geometry features such as zig-zags, elbows, or other tortuous paths, to impede the travel of liquids from the inlet to the outlet.
- materials to alter the fluid path such as porous media, foam, sintered metal, pebbles, or silica beads
- geometry features such as zig-zags, elbows, or other tortuous paths
- the knock-out may be preceded by or include a metal mesh or wool (as shown in FIG. 8 ), such as stainless steel wool, that provides both coarse particulate filtration as well as a flame barrier.
- a metal mesh or wool as shown in FIG. 8
- stainless steel wool that provides both coarse particulate filtration as well as a flame barrier.
- FIG. 6 illustrates multiple orientations the at least one fluid knock-out 232 may have.
- the at least one fluid knock-out 232 may be arranged such that a line between the gas inlet port 236 and the gas outlet port 238 is about 60 degrees from vertical.
- the knock-out may be designed to function equally well in two different orientations that are 90 degrees rotated from each other, such as is shown in FIG. 6 . This design may be useful when the fluid system may need to be mounted in a vertical or horizontal position with as little effect on performance as possible.
- an active condensing element may be employed to remove undesirable water vapor from the aspirated gas sample as an alternative to or in addition to traditional methods including, but not limited to, using consumable desiccant media.
- this active condensing element (234, for example) may include a chilled volume through which the aspirated gas is passed to decrease the gas temperature below the dew point, decreasing moisture content from the inlet of the element to the outlet as water condenses out along the way.
- the enclosure 220 may include at least one active condensing element, such as a thermoelectric condenser 234.
- the thermoelectric condenser 234 may separate at least one undesired element (for example, moisture) from the landfill gas.
- a gas flow passage of the orifice block 230 may pass adjacent to and in thermal contact with the thermoelectric condenser 234.
- the thermoelectric condenser 234 may include at least one chilled surface. Alternatively, the thermoelectric condenser 234 may be covered by at least one chilled plate. In some embodiments, the thermoelectric condenser 234 may comprise at least one channel at a surface of a block, such as the orifice block 230. Additionally, the at least one channel may direct the landfill gas across the at least one chilled plate. As shown in FIG. 7 , for example, a thermoelectric element may be mounted on a cold plate that serves as a cover on a twisting gas flow passage on an upper surface of the orifice block 230. The cold plate may retain the gas in the gas flow path, and the thermoelectric element may be in thermal contact with the gas through the cold plate. The knockout 232 may have an opening into that upper surface such that condensed moisture may be removed through the knockout 232. The twisting gas flow path may increase contact time between the gas and the cold plate.
- the chilled volume may be implemented by channels integrally formed with the orifice block 230, such as during a molding operation.
- the active condensing element may include a chilled surface across which the aspirated gas is passed to decrease the gas temperature below the dew point, decreasing moisture content from the inlet of the element to the outlet as water condenses out along the way.
- this chilled surface may be implemented as a face or faces of a physical block (for example, the orifice block 230) or manifold that also houses other gas paths or filtration elements.
- this chilled surface may be attached to a face or faces of a physical block (for example, the orifice block 230) or manifold containing other gas paths or filtration elements.
- this chilled surface may be made from a thermally conductive metal sheet that may be corrosion resistant (for example, 316 stainless steel).
- this metal sheet may be chosen to have specific properties including, but not limited to, good thermal conduction and chemical resistance.
- this metal sheet may be designed to have a thickness and area, the combination of which comprising a characteristic volume, which may be selected through calculation or empirical determination to reduce thermal capacitance as much as possible and increase thermal conduction as much as possible to improve efficiency and speed of chilling.
- this metal sheet may be structurally reinforced with a more rigid and thermally insulating material that provides a flat compressing surface and insulation between the chilled surface and ambient.
- the face that this chilled surface is affixed to may contain features (like channels) such as zig-zags, elbows, turns, meanders, or other tortuous routes that direct the gas across the chilled surface in order to optimize the contact time between the gas and the chilled surface.
- the route or routes on this face may be designed using calculations or empirical determination to maximize chilled surface area exposed to the gas, minimize the pressure drop from inlet to outlet, maximize turbulence or circulation across the chilled surface, create pressure changes that promote condensation, minimize traps where condensed liquid might accumulate, ensure manufacturability, and otherwise maximize efficiency of humidity removal.
- the route or routes on this face may be designed to promote purging of condensation from the element when the flow direction is reversed.
- the chilled surface may be cooled through means of forced convection (for example, through the use of a fan), passive thermal conduction or convection (for example, by heat sinking the surface to a colder environment or ambient temperature), or through a (active) heat pump, such as a solid-state device (for example, thermoelectric) or electromechanical system (for example, compressor-based refrigeration).
- forced convection for example, through the use of a fan
- passive thermal conduction or convection for example, by heat sinking the surface to a colder environment or ambient temperature
- a (active) heat pump such as a solid-state device (for example, thermoelectric) or electromechanical system (for example, compressor-based refrigeration).
- a control system may be employed to selectively cool the chilled surface at a specific time such as before sample aspiration to pre-cool the surface or during sample aspiration, and remain off at other times.
- this control system may be open-loop, for instance operating for a preset amount of time, at a preset duty cycle or at a preset power level.
- this preset time may be determined through calculation or empirical determination to optimize across most condensation needs given a range of sample humidity constraints and a specified power budget.
- this control system may be closed-loop, using feedback to regulate a control signal to optimize for goals such as minimal power consumption or maximum filter efficacy. For instance, if the ambient temperature and therefore condensing element temperature is already much colder than the sample gas, the chiller may not need to run as long or as high power to achieve the optimal condensing effect.
- this feedback may be from one or many sensors including, but not limited to, sensors in the LFG path or sample path measuring gas sample humidity, sensors in the LFG path or sample path measuring temperature of the gas, sensors bonded to the heat pump or chilled surface measuring instantaneous output temperature or temperature sensors measuring ambient or external environment temperatures.
- condensate that accumulates in or on the condensing element may drain passively from gravity or be actively purged by reversing the direction of gas flow through the system.
- the heat pump used to chill the element may also be run in reverse to instead heat the condensing element, assisting in the vaporization and removal of accumulated condensate and drying the condensing surfaces before the next sample cycle.
- thermoelectric element may be driven with a single MOSFET that closes the circuit across a battery and the thermoelectric, or it may be driven by a full bridge (h-bridge) that allows the reversal of the polarity on the thermoelectric.
- the bridge may drive the thermoelectric normally to cool and then in reverse to heat.
- the active condensing element may be constructed from the following:
- the process to assemble the condensing element may be as follows:
- the mechanism for compressing the sealing and thermal surfaces may be something other than screws, including springs, latches, or clasps.
- compression may be unnecessary after assembly when instead replaced with thermal epoxy is used for the thermal connections or if a permanent sealant (solvent, RTV, epoxy, etc.) is used for the gas-tight sealing surfaces.
- a permanent sealant solvent, RTV, epoxy, etc.
- the gas-tight seal may be made using a flat gasket that is compressed between the stainless plate and the face of the orifice block.
- the unit 200 may include a filter 260 for at least one of a particulate and/or a corrosive gas.
- the filter 260 may be disposed outside the orifice block 230, as shown in FIG. 3 .
- the filter 260 may be disposed within the orifice block 230.
- the length and cross sectional area of the fluid path may be designed using calculations or empirical determination to apply optimizations including, but not limited to, maximizing gas sample residence time on the media and minimizing pressure drop across the media.
- a fine particulate filter such as a PTFE membrane filter, may be located downstream of the consumable media to filter dust in the LFG sample as well as dust from the media.
- Effectiveness may be determined, for example, from upstream and downstream measurements of the component being removed by the filter.
- the effectiveness may be determined by the ratio of upstream to downstream amount of H 2 S measured.
- any of multiple locations in the sampling system may be coupled to a sensor chamber, such a measurement may be made by coupling a downstream location to the sample chamber and then coupling the upstream location.
- the measured ratio may be compared to the ratio expected for a properly operating filter. For example, a properly operating filter may remove at least 50% of the component.
- upstream to downstream comparison may be compared to rated values for a properly operating filter. If the comparison indicates effectiveness below the rated value, a message may be sent by the system controller, alerting an operator to change the filter. Alternatively or additionally, the effectiveness may be tracked over time, by the controller of the sampling subsystem or other computerized device coupled to the controller. The rate of change in effectiveness may be used to predict a time when the effectiveness will be below the rated value for a properly operating filter, allowing an operator to plan for maintenance.
- the consumable filter may be constructed from the following:
- the process to assemble the consumable filter may also include quick-disconnect fitting connections to the tubing, allowing it to be treated as a separate consumable.
- the consumable filter assembly may instead be designed as a disposable cartridge with PTFE membrane, filter media and porous foam entirely integrated.
- this disposable cartridge may be made from thermoformed plastic, such as PETG, with a bonded film sealing across the top.
- this disposable cartridge may be manufactured in such a way that the film, otherwise entirely sealing the cartridge, can be punctured at the inlet and outlet ports through a mating clasp on the device assembly.
- this disposable cartridge may be manufactured in such a way that the puncture location has features designed to create a gas-tight seal with the mating clasp on the device assembly.
- the orientation and direction of fluid paths including but not limited to, routed or drilled channels, tubing used to convey gas flow or pressure, or pipes and pipe nipples may be constructed or arranged in such a way that the lowest point in the path does not create a trap, s-bend, or u-bend where liquid can accumulate.
- the orientation and direction of these fluid paths may be designed such that the lowest points contain a port, drain, or outlet through which any accumulated liquids may naturally drain or be purged.
- the orientation and direction of fluid or pressure ports may be designed in such a way to preferentially point towards or away from, but not normal to, the direction of gravity.
- a unit 200 may contain an orifice block 230 that has a region configured to receive a section of pipe 210. That region may fix the orientation of the orifice block 230, and the other components of unit 200, relative to the pipe 210.
- the orientation of components in unit 200 with respect to gravity may be established.
- the location of these ports on any chambers, vessels, or volumes may be preferentially located at the top and/or bottom of the chamber, vessel, or volume with at least one port on the bottom so that any accumulated fluid may purge through the bottom port.
- these chambers, vessels or volumes may preferentially have inlet and outlet ports on opposite sides to promote complete exchange of the fluid in the vessel during purge or sample cycles.
- the fluid paths, chambers, vessels, or volumes may include additional ports or routes located at the lowest point in the path, chamber, vessel, or volume - especially in cases where it may not be possible to locate the inlet or outlet ports at the lowest point - to facilitate draining of accumulated fluids.
- fluid handling hardware including, but not limited to, valves and pumps, may be installed in an orientation to ensure that the internal geometry of does create a low point that encourages liquid accumulation or inhibits liquid evacuation.
- a valve may be mounted to a manifold with ports facing downward towards gravity, allowing liquids to naturally drain, as shown in FIG. 10 .
- a pump may be installed onto a manifold such that the inlet and outlet ports face downward, allowing liquids to naturally drain.
- a coalescing element may be added to all gas inlets into this gas sampling system.
- this coalescing element may be a metal mesh or wool, such as stainless steel wool.
- this coalescing element may also function as a coarse particulate filter, a flame barrier, or a condensing element if it is cooler than the gas passing through it.
- the unit 200 may include at least one calibration port 239, as shown in FIGS. 3 and 11 .
- Some embodiments may employ a calibration port 239 configured for connection to a source of a gas of known composition and for aspirating such a gas of a known composition for sensor calibration.
- the calibration port 239 may be used to aspirate at least one gas of a known composition for calibration of the at least one sensor device 240.
- calibration port 239 may be used to aspirate outside air for calibration of the at least one sensor device 240.
- calibration may be based on measuring ambient oxygen. As the amount of ambient oxygen is readily constant, calibration with outside air as the calibration gas can provide a simple mechanism to frequently calibrate an oxygen sensor.
- sensors that operate on the same principle as an oxygen sensor may be calibrated based on the oxygen sensor calibration.
- oxygen, methane and carbon dioxide may all be measured with a non-dispersive IR sensor.
- Sensors for methane and carbon dioxide may require the same calibration factors as an oxygen sensor, which may be determined based on the calibration measurements on the oxygen sensor.
- One or more calibration ports may be coupled to one or more sources of gas of known composition.
- that gas of known composition may be air.
- the calibration port may be exposed to ambient air.
- the one or more sources of gas of known composition may be gas canisters, filled with calibration gas of known composition or other suitable mechanism to provide calibration gas.
- the at least one source gas of known composition may be a mixture of CO 2 and CH 4 .
- the apparatus may be configured to couple gasses of two or, in some embodiments, more sources of calibration gas.
- Those sources may include a source of air and a source of gas that is a mixture of at least CO 2 and CH 4 .
- a calibration gas may comprise 35% CO 2 , 50% CH 4 , and 15% N 2 .
- percentages may be determined in any suitable way, including by volume, mass, molar fraction or partial pressure.
- the calibration gas may be a calibration gas used in the industry for calibration of handheld devices, consisting essentially of 35% CO 2 , 50% methane, and 15% N 2 , with minor deviations as a result of impurities
- this calibration port 239 may be installed in the gas sampling path so the calibration gas may pass through the same fluid system, including filters, valves, and knock-out vessels, as the gas sample from the LFG stream.
- this calibration port 239 may be used in conjunction with a valve 235 that diverts the sample path from the LFG stream to the calibration port.
- the valve 235 may be connected between the calibration port 239 and a sensor, so as to enable gas to flow from the calibration port to the sensor.
- this valve 235 may be integrated into the calibration port 239 such that insertion of a fitting into the calibration port 239 toggles the diversion of the sample path from the LFG stream to the calibration gas, and back again upon removal. Additionally, this valve 235 may be toggled through an electronic device that may be signaled by a command on a user interface or by the detection of a fitting connected to the calibration port 239.
- this valve 235 may be toggled through mechanical action, such that insertion of a fitting into the calibration port 239 mechanically actuates the integrated valve.
- this calibration port 239 may be installed in a separate location in the gas sampling path, possibly bypassing some or all of the paths used to sample gas from the LFG stream.
- Some embodiments may employ a calibration method that requires the use of a comparable gas path in instances where diversion of the gas sample stream may not be applicable or practical. For instance, even though calibration gas is nominally clean, it may still be advantageous to pass the gas through an characteristic device, such as but not limited to an external filter, vessel or length of tubing that may emulate the same effects such as, but not limited to, mixing volume, fluid path length, chemical reactions or pressure drop as filters or volumes of the normal gas sampling path. This way, effects of the filter and sampling path may be accounted for in the calibration process.
- an characteristic device such as but not limited to an external filter, vessel or length of tubing that may emulate the same effects such as, but not limited to, mixing volume, fluid path length, chemical reactions or pressure drop as filters or volumes of the normal gas sampling path.
- sensors may be calibrated simultaneously to directly calculate and compensate for cross sensitivity across gasses in the measurement. For instance, calibration might use a mixture with concentrations of each gas, possibly using concentrations typical of those found in an LFG stream.
- this gas sample chamber pressure may be measured by one or more pressure sensors and may be used in the determination of the pressure compensation factors during a calibration.
- this orifice plate may be compressed against the pipe wall to assist in sealing between the orifice plate and the inner pipe wall (see FIG. 12 , for example).
- an orifice block 230 may include one or more attachment members.
- the attachment members may be U-shaped members that fit around the pipe 210. The ends of the members may pass through the orifice block 230 and may be threaded. By tightening a bolt, or otherwise drawing the attachment members toward the orifice block 230, the pipe may be compressed against the orifice block 230.
- the amount of compression may be calculated or otherwise empirically determined and then applied through the use of a specific groove, slot, pocket or other feature on a lid covering the slot in which the orifice plate is inserted, examples of which are shown in FIG. 12 .
- this feature may also contain an elastomeric (shown in FIG. 12 ) or otherwise compressible material that can deform when compressed between the lid and the orifice plate to reduce the compression stress applied to the orifice plate.
- an elastomeric shown in FIG. 12
- Some embodiments may conduct a static pressure measurement of the LFG gas stream.
- this unidirectional measurement may be preferentially conducted using the port meant to convey pressure downstream of the orifice to ensure measurement of static pressures within the range of the device; given normal flow from a well through the device, the orifice plate will drop an amount of pressure with any flow through the LFG port ensuring the static pressure measured at the downstream port, relative to atmosphere, be of constant sign.
- Some embodiments may be installed on an LFG stream with a high volume of flowing condensate, such as is shown in FIG. 13 .
- Some embodiments may be oriented in such a way that the flow through the orifice plate bore is normal to gravity such that flowing condensate may periodically accumulate on the cusp of the top or upstream of the orifice plate, as shown in FIG. 13 .
- Some embodiments oriented in this way may be preferentially designed to draw in the LFG gas sample through the downstream, or bottom, port to avoid pulling in liquid that may accumulate on the top, or upstream, side of the orifice plate.
- Some embodiments may contain a control valve that regulates the impedance between a central vacuum system (available vacuum) and the LFG extraction point so as to correspondingly control flow from or applied vacuum to the extraction point.
- a control valve that regulates the impedance between a central vacuum system (available vacuum) and the LFG extraction point so as to correspondingly control flow from or applied vacuum to the extraction point.
- Some embodiments may employ a digital pressure transducer to measure the vacuum on the downstream side of the control valve to provide an indication of the maximum system vacuum that could be applied to that extraction point.
- this available vacuum measurement may be combined with a pressure measurement upstream of the control valve to compute a differential pressure measurement across the valve.
- a differential pressure measurement across the valve may be combined with other information or measurements including, but not limited to, pressures, temperatures or rate of flow (from a flow measurement device in the same gas stream) to generate an impedance profile that correlates measured pressures (static and/or differential) and valve position to a corresponding valve impedance.
- this differential pressure measurement across the valve may be combined with other information or measurements including but not limited to, valve position (percentage open or closed), static pressure or temperature to infer the rate of flow of the LFG gas stream.
- this differential pressure measurement may be used as a feedback signal in a closed-loop control system that controls the valve position (percentage open or closed) in order to modulate the flow and extraction pressure.
- this available vacuum measurement may provide indications of system level behavior that may otherwise be difficult to determine. For instance, a drop in static pressure may be caused by a drop in system vacuum pressure instead of increase in flow or change in gas generation characteristics. Similarly, effects of a valve command on an individual well to the extraction system may be observed on deployed units with fluid connection to the extraction system without confounding measured pressure dynamics of the individual extraction points.
- Some embodiments may employ one or more mitigation strategies to prevent condensate in the gas stream from interfering with the available vacuum measurement including, but not limited to, a knock-out or water trap, valves or pumps used to actively purge the measurement port, or a PTFE membrane filter.
- these mitigating features on the available vacuum port may be preceded by or include a metal mesh or wool, such as stainless steel wool, that provides both coarse particulate filtration as well as a flame barrier, as shown in FIG. 8 .
- a metal mesh or wool such as stainless steel wool
- this available vacuum knock-out may be passively or actively drained, such as is shown in FIGS. 4 , 5 , and 8 .
- this knock-out and the entire fluid connection to the available vacuum transducer may be actively drained or purged by momentarily opening a connection from atmosphere to system vac through the available vacuum connection. For instance, under normal operation a normally closed valve may toggle open to allow a burst of atmosphere to be drawn through the available vacuum transducer connection by the system vacuum, pushing any accumulated condensate back through the port into the LFG stream.
- Some embodiments may employ a port that connects internal fluid systems to atmosphere.
- this atmosphere port may be fluidly connected to a reference port on a pressure transducer to act as a reference for measurements such as static pressure or available vacuum.
- this atmosphere port may be used as an inlet so that clean air may be drawn in for use in purging one or more parts of the fluid handling system.
- a pump may actively pump this clean air through the sampling system to purge accumulated fluids.
- a normally closed valve may open to allow the system vacuum to draw in clean air to similarly purge accumulated water back into the gas stream.
- Some embodiments may employ a sample cycle that entirely purges the gas in the sampling system with clean air after each measurement. For instance, exposure of the gas sensor (or other hardware, such as pumps, valves, or filter elements) exposure to the potentially corrosive and dirty LFG sample may be limited by purging the gas sample from the sensor chamber and any fluid paths with clean air from this atmosphere port.
- this atmosphere port may employ one or more mitigation strategies to prevent aspiration of precipitation or condensation including, but not limited to, a knock-out or water trap, valves or pumps used to actively purge the measurement port, or a PTFE membrane filter.
- these mitigating features on the atmosphere port may be preceded by or include a metal mesh or wool, such as stainless steel wool, that provides both coarse particulate filtration as well as a flame barrier.
- a metal mesh or wool such as stainless steel wool
- a coarse mesh, foam, or wool that may or may not be the same as this coarse particulate filter or flame barrier may be employed to prevent spider, insects, dust, plants, or miscellaneous detritus ingress.
- Some embodiments may employ an insulated and/or air-tight or sealed enclosure (such as enclosure 220 shown in FIGS. 2 , 14 , and 15 ) to retain heat within the enclosure.
- an insulated and/or air-tight or sealed enclosure such as enclosure 220 shown in FIGS. 2 , 14 , and 15 .
- Some embodiments may employ nonmetallic (or otherwise non-thermally conductive) mounting features, including but not limited to, standoffs or screws, to convey mechanical support through the insulation to the enclosure or structures outside of the enclosure to reduce thermal shorts associated with these voids in the insulation.
- Some embodiments may be designed to route the warm LFG gas stream, specifically a pipe (such as pipe 210 shown in FIG. 2 ) carrying the warm LFG stream, through the enclosure of some embodiments to provide a passive heat source within the enclosure.
- a pipe such as pipe 210 shown in FIG. 2
- Some embodiments may be designed to route the warm LFG gas stream, specifically a pipe (such as pipe 210 shown in FIG. 2 ) carrying the warm LFG stream, through the enclosure of some embodiments to provide a passive heat source within the enclosure.
- the enclosure may carefully be designed in such a way as to accommodate for the pipe carrying the LFG stream in a manner conducive to improved manufacturability and serviceability. For instance, cutouts in a simple box with a lid may be less advantageous than designing the enclosure to part in the direction axially with the pipe, or part in a clamshell style radially with the pipe, as shown in FIG. 15 .
- the enclosure may be designed with special features to independently seal against the enclosure and the pipe to promote easier assembly and serviceability. Examples of static and dynamic seals are illustrated in FIGS. 15 and 16 .
- this pipe may be constructed from a chemically compatible metal, such as stainless steel, to enhance thermal conduction from the warm LFG gas stream to the inside of the box.
- this pipe may be constructed from a chemically compatible plastic, such as CPVC, with lower thermal conductivity than a corresponding metal pipe to reduce cost or weight or improve manufacturability.
- the unit 200 may include at least one thermal conductivity component configured to enhance a thermal conductivity of the section of the pipe 210.
- the thermal conductivity component may be a corrosion resistant metal heat sink, such as that shown in FIG. 7 .
- the unit 200 may include at least one fan configured to circulate air across the section of the pipe 210.
- FIG. 7 illustrates a fan with the heat sink, although the fan could be positioned in any suitable way.
- thermally conductive features may be added to the plastic pipe to enhance thermal conductivity, although some such features may be used with other materials of pipe.
- a corrosion resistant metal heat sink may be inserted into the LFG gas stream through a sealed port in the pipe wall, or a segment of the plastic pipe maybe replaced with a segment of corrosion resistant metal - both acting to conduct heat from the gas stream across the pipe wall into the enclosure. Examples of heat sinks in some embodiments are shown in FIGS. 17 and 18 .
- some embodiments may employ active heating elements within the enclosure at the cost of an increased power budget.
- a control system may be used to regulate the power, duty cycle or other signal driving the forced convection or heating element.
- the unit 200 may include at least one adjustable mounting apparatus configured to mount the enclosure 220 to at least one of an existing well riser pipe and/or an existing well head 104.
- At least one end of the pipe 210 may include a shape configured to couple with an existing well riser pipe, an existing well head 204, an existing vacuum hose, and/or an existing elastomeric reducing coupling.
- the shape may comprise at least one taper.
- this mounting feature or strut may be banded, clamped, or strapped to the corresponding well or vacuum riser to provide support when some embodiments - specifically one end of the LFG-carrying pipe running through the unit - are installed directly into the elastomeric coupling.
- the other end of the LFG-carrying pipe may be connected directly to the vacuum hose.
- clamps, bands or straps may be used to tighten around the hose to make a seal to the LFG-carrying pipe.
- Some embodiments when designed primarily for this vertical mounting scheme, may be adapted using one or more fittings and lengths of hose to allow the device to mate with unions present on the existing system - in particular, those found on wellheads.
- Some embodiments may be designed to work best when installed at a slight angle in relation to the gas stream.
- the optimal installation may be one that angles the flow direction so that condensate preferentially streams along the wall nearest the orifice bore and away from the pressure or sampling ports.
- the ends of the pipe carrying the LFG stream that runs through the enclosure may be tapered to provide for easier insertion into mating connections on the system vacuum or extraction point connections, easing system installation.
- mounting features on the enclosure may be designed in such a way to also function as a handle or handles used when carrying and installing at the site, easing the deployment process.
- Some embodiments may feature a handle or handles independent of mounting features used to carry and install at a site, easing the deployment process.
- the enclosure may be designed with a front panel allowing for service of one or more components.
- the orifice plate, orifice plate lid, and orifice slot may be designed to slide in through a slot accessible through this front panel.
- the gas sampling system may be arranged in such a way to allow access to the calibration port 239 from this front panel.
- this front panel may contain a user interface consisting of buttons and a text or graphic display that interfaces with the internal electronics.
- this user interface can be used to toggle unit commands including, but not limited to, initiating measurement cycles, initiating calibration cycles, changing valve command, opening a connection to the server or initiating a purge command (for purging all fluid paths with clean air before the unit is uninstalled and removed from the LFG stream).
- the filtration system may employ a sensor in line with the sample gas to measure characteristics after the filter such as, but not limited to, humidity or hydrogen sulfide content to provide a gauge of filter health. For instance, as the adsorbent media meant to filter hydrogen sulfide is consumed, the sensor after the filter may register a higher concentration of hydrogen sulfide, eventually indicating that it is time to change the filter.
- Some embodiments may incorporate one or more water detection or moisture sensors within the box to alert a technician of a failure in the filter system or presence of a leak.
- Some embodiments may be assembled with a vapor corrosion inhibitor that deposits a corrosion inhibiting layer on exposed components within the enclosure.
- the gas sensor chamber may be assembled with a vapor corrosion inhibitor that deposits a corrosion inhibiting layer on the gas sensors.
- Some embodiments may be assembled with desiccant to absorb any water vapor in the box introduced during assembly or maintenance access, preventing condensation on interior surfaces or electronics.
- FIG. 19 illustrates a flowchart of an exemplary process 1000 of using a unit, such as unit 200, in some embodiments.
- the process 1000 begins at stage 1010.
- gas may be flowed through a sampling subsystem from a well riser pipe to a collection system, such as collection system 110 shown in FIG. 1 .
- This flow may be achieved in any suitable way, including by opening a valve that enables gas to flow from the landfill or by active control of a vacuum, as is known in the art.
- the process 1000 may optionally proceed to stage 1020.
- a sample of the flowing gas may be passed into a sampling subsystem, such as by controlling valves or otherwise enabling gas to flow into a unit 200.
- the process 1000 may optionally proceed to stage 1030.
- moisture may be extracted from the sample of the flowing gas using a thermoelectric condenser, such as the thermoelectric condenser 234.
- the process 1000 may optionally proceed to stage 1040.
- stage 1040 at least one fluid is drained from the sample of the flowing gas using at least one fluid knock-out, such as the at least one fluid knock-out 232.
- the process 1000 may then proceed to stage 1050.
- stage 1050 a portion of the sampling subsystem may be heated with the gas flowing from the well riser pipe to the collection system.
- the process 1000 may then end for a given sample.
- the process 1000 may be continued or repeated any number of times for other samples or for periodic or even continuous monitoring.
- the application may be embodied as a method, of which an example has been provided.
- the acts performed as part of the method may be ordered in any suitable way. Accordingly, embodiments may be constructed in which acts are performed in an order different than illustrated, which may include performing some acts simultaneously, even though shown as sequential acts in illustrative embodiments.
Landscapes
- Life Sciences & Earth Sciences (AREA)
- Engineering & Computer Science (AREA)
- Chemical & Material Sciences (AREA)
- Health & Medical Sciences (AREA)
- Physics & Mathematics (AREA)
- Geology (AREA)
- Mining & Mineral Resources (AREA)
- Environmental & Geological Engineering (AREA)
- Analytical Chemistry (AREA)
- Biochemistry (AREA)
- General Health & Medical Sciences (AREA)
- General Physics & Mathematics (AREA)
- Immunology (AREA)
- Pathology (AREA)
- Fluid Mechanics (AREA)
- General Life Sciences & Earth Sciences (AREA)
- Geochemistry & Mineralogy (AREA)
- Medicinal Chemistry (AREA)
- Food Science & Technology (AREA)
- Combustion & Propulsion (AREA)
- Biomedical Technology (AREA)
- Molecular Biology (AREA)
- Soil Sciences (AREA)
- Geophysics (AREA)
- Sampling And Sample Adjustment (AREA)
Applications Claiming Priority (3)
| Application Number | Priority Date | Filing Date | Title |
|---|---|---|---|
| US201662301922P | 2016-03-01 | 2016-03-01 | |
| PCT/US2017/020196 WO2017151766A1 (en) | 2016-03-01 | 2017-03-01 | Designs for enhanced reliability and calibration of landfill gas measurement and control devices |
| EP17760717.3A EP3423806B1 (de) | 2016-03-01 | 2017-03-01 | Entwürfe für erhöhte verlässlichkeit und kalibrierung von deponiegasmessungs- und -steuerungsvorrichtungen |
Related Parent Applications (1)
| Application Number | Title | Priority Date | Filing Date |
|---|---|---|---|
| EP17760717.3A Division EP3423806B1 (de) | 2016-03-01 | 2017-03-01 | Entwürfe für erhöhte verlässlichkeit und kalibrierung von deponiegasmessungs- und -steuerungsvorrichtungen |
Publications (2)
| Publication Number | Publication Date |
|---|---|
| EP4470686A2 true EP4470686A2 (de) | 2024-12-04 |
| EP4470686A3 EP4470686A3 (de) | 2025-02-26 |
Family
ID=59744353
Family Applications (3)
| Application Number | Title | Priority Date | Filing Date |
|---|---|---|---|
| EP24207452.4A Pending EP4470686A3 (de) | 2016-03-01 | 2017-03-01 | Entwürfe für erhöhte zuverlässigkeit und kalibrierung von deponiegasmess- und -steuerungsvorrichtungen |
| EP24207448.2A Active EP4470685B1 (de) | 2016-03-01 | 2017-03-01 | Entwürfe für erhöhte zuverlässigkeit und kalibrierung von deponiegasmess- und -steuerungsvorrichtungen |
| EP17760717.3A Active EP3423806B1 (de) | 2016-03-01 | 2017-03-01 | Entwürfe für erhöhte verlässlichkeit und kalibrierung von deponiegasmessungs- und -steuerungsvorrichtungen |
Family Applications After (2)
| Application Number | Title | Priority Date | Filing Date |
|---|---|---|---|
| EP24207448.2A Active EP4470685B1 (de) | 2016-03-01 | 2017-03-01 | Entwürfe für erhöhte zuverlässigkeit und kalibrierung von deponiegasmess- und -steuerungsvorrichtungen |
| EP17760717.3A Active EP3423806B1 (de) | 2016-03-01 | 2017-03-01 | Entwürfe für erhöhte verlässlichkeit und kalibrierung von deponiegasmessungs- und -steuerungsvorrichtungen |
Country Status (4)
| Country | Link |
|---|---|
| US (3) | US11977062B2 (de) |
| EP (3) | EP4470686A3 (de) |
| CA (2) | CA3016023C (de) |
| WO (1) | WO2017151766A1 (de) |
Families Citing this family (11)
| Publication number | Priority date | Publication date | Assignee | Title |
|---|---|---|---|---|
| US10576514B2 (en) | 2013-11-04 | 2020-03-03 | Loci Controls, Inc. | Devices and techniques relating to landfill gas extraction |
| US10029290B2 (en) | 2013-11-04 | 2018-07-24 | Loci Controls, Inc. | Devices and techniques relating to landfill gas extraction |
| EP4470686A3 (de) | 2016-03-01 | 2025-02-26 | Loci Controls, Inc. | Entwürfe für erhöhte zuverlässigkeit und kalibrierung von deponiegasmess- und -steuerungsvorrichtungen |
| CA3290012A1 (en) | 2018-03-06 | 2025-11-29 | Loci Controls, Inc. | Landfill gas extraction control system |
| CA3109081A1 (en) | 2018-10-01 | 2020-04-09 | Loci Controls, Inc. | Landfill gas extraction systems and methods |
| CN110108522B (zh) * | 2019-06-03 | 2024-09-27 | 中冶检测认证(安徽)有限公司 | 一种防尘组件、一种土壤气体检测用取样器及其使用方法 |
| US11623256B2 (en) | 2020-07-13 | 2023-04-11 | Loci Controls, Inc. | Devices and techniques relating to landfill gas extraction |
| US12090532B2 (en) | 2020-07-13 | 2024-09-17 | Loci Controls, Inc. | Devices and techniques relating to landfill gas extraction |
| IT202100012242A1 (it) * | 2021-05-12 | 2022-11-12 | Exe Engineering For Env S R L | Impianto di estrazione del biogas da discarica con gestione e controllo remoto |
| CN113852419A (zh) * | 2021-09-03 | 2021-12-28 | 重庆邮电大学 | 一种基于光ppm符号删除的抗衰落速率自适应传输方法及系统 |
| CN114002388B (zh) * | 2021-11-04 | 2024-01-30 | 二重(德阳)重型装备有限公司 | 一种高温垃圾热解气体在线监测系统及方法 |
Family Cites Families (132)
| Publication number | Priority date | Publication date | Assignee | Title |
|---|---|---|---|---|
| US3062037A (en) | 1957-04-22 | 1962-11-06 | Beckman Instruments Inc | Temperature regulator for chromatographs |
| US3567387A (en) | 1969-01-09 | 1971-03-02 | Westinghouse Electric Corp | Carbon dioxide monitor |
| FR2245249A5 (de) * | 1973-09-25 | 1975-04-18 | Erap Elf Entr Rech Activ Petro | |
| US4026355A (en) * | 1975-06-30 | 1977-05-31 | Nrg Nufuel Company | Method for testing and monitoring for producing landfill gas |
| US4226675A (en) * | 1977-05-23 | 1980-10-07 | Comsip Delphi, Inc. | Method and apparatus for monitoring and measuring a gas |
| US4191541A (en) | 1978-08-14 | 1980-03-04 | Container Corporation Of America | Method and apparatus for gas sample analysis |
| US4227897A (en) * | 1979-03-05 | 1980-10-14 | John Zink Company | Apparatus for recovery of flared condensible vapors |
| US4499378A (en) | 1982-03-09 | 1985-02-12 | Horiba, Ltd. | Infrared radiation gas analyzer |
| US4494380A (en) * | 1984-04-19 | 1985-01-22 | Bilan, Inc. | Thermoelectric cooling device and gas analyzer |
| DE3441158A1 (de) * | 1984-11-10 | 1986-05-15 | Reinhard 6300 Giessen Schneider | Vorrichtung und verfahren zum absaugen der zersetzungsgase einer muelldeponie |
| SE457350B (sv) | 1987-05-26 | 1988-12-19 | Ragn Sellsfoeretagen Ab | Saett att styra utvinning av deponigas ur avfallsupplag samt anordning foer att utfoera saettet |
| US5239861A (en) * | 1988-12-23 | 1993-08-31 | Kabushiki Kaisha Komatsu Seisakusho | Device for indicating contamination degree of hydraulic circuit and method of judging the contamination degree |
| CH677582A5 (de) * | 1989-08-03 | 1991-06-14 | Wuest Ernst Menu System | |
| US5063519A (en) * | 1989-09-18 | 1991-11-05 | Pacific Energy | Landfill gas production testing and extraction method |
| US5223229A (en) * | 1990-07-19 | 1993-06-29 | Midmark Corporation | Sterilizing apparatus having automatically actuated door |
| US5458006B1 (en) | 1990-08-30 | 1997-05-13 | Pacific Energy | Gas-metering device |
| US5451249A (en) | 1994-06-14 | 1995-09-19 | International Fuel Cells | Landfill gas treatment system |
| US5665314A (en) | 1994-10-11 | 1997-09-09 | Hewlett-Packard Company | Temperature control in a portable analytical instrument |
| US6399391B1 (en) | 1994-10-25 | 2002-06-04 | Robert L. Tomlin | Low cost total reduced sulfur analysis system |
| US5681360A (en) | 1995-01-11 | 1997-10-28 | Acrion Technologies, Inc. | Landfill gas recovery |
| US5635628A (en) | 1995-05-19 | 1997-06-03 | Siemens Aktiengesellschaft | Method for detecting methane in a gas mixture |
| US5695641A (en) | 1996-02-14 | 1997-12-09 | Cosulich; John P. | Method and apparatus for enhancing methane production |
| US6169962B1 (en) * | 1996-05-07 | 2001-01-02 | Landfill Gas & Environmental Products, Inc. | Systems and methods for controlling gas flow from landfills |
| US6591695B1 (en) * | 1996-05-07 | 2003-07-15 | Efg & E International | Flow metering device for landfill gas extraction well |
| IT240664Y1 (it) | 1996-05-16 | 2001-04-02 | Fisons Instr Spa | Forno per gascromatografia con regolazione migliorata dellatemperatura dell'aria |
| US20010005812A1 (en) | 1996-09-23 | 2001-06-28 | Landfill Gas & Environmental Products Inc. | Landfill monitoring and control system |
| US6231153B1 (en) * | 1997-04-25 | 2001-05-15 | Hewlett-Packard Company | Method and apparatus for controlling an ink-jet print head temperature |
| US6241950B1 (en) * | 1998-02-13 | 2001-06-05 | Airxpert Systems, Inc. | Fluid sampling system |
| US6196324B1 (en) | 1998-04-10 | 2001-03-06 | Jeff L. Giacomino | Casing differential pressure based control method for gas-producing wells |
| US6497804B1 (en) * | 1998-12-03 | 2002-12-24 | Research Foundation Of The State University Of New York | Method and apparatus for DNA sequencing |
| DE19910626C2 (de) * | 1999-03-10 | 2001-12-06 | Bm Becker Mestechnik Gmbh | Verfahren zur Probenahme aus Abgasen |
| JP2002098454A (ja) | 2000-07-21 | 2002-04-05 | Mitsubishi Materials Corp | 液冷ヒートシンク及びその製造方法 |
| US6749368B2 (en) | 2000-09-05 | 2004-06-15 | Daniel B. Stephens & Associates, Inc. | Design, monitoring and control of soil carburetors for degradation of volatile compounds |
| US6595287B2 (en) | 2000-10-06 | 2003-07-22 | Weatherford/Lamb, Inc. | Auto adjusting well control system and method |
| US20040055359A1 (en) | 2001-06-28 | 2004-03-25 | Rel-Tek | Automatic gas sensor calibration system |
| US20030000281A1 (en) | 2001-06-28 | 2003-01-02 | Rel-Tek | Automatic gas sensor calibration system |
| US6647783B2 (en) | 2001-09-08 | 2003-11-18 | Manning Systems, Inc. | Vent plug for environmentally controlled housing for gas monitoring system |
| US6611760B2 (en) | 2001-12-14 | 2003-08-26 | Hydro Geo Chem, Inc. | Method and system for estimating gas production by a landfill or other subsurface source |
| US6999883B1 (en) * | 2002-03-15 | 2006-02-14 | John Brady | Landfill gas extraction constant flow control method and device |
| US6890671B2 (en) | 2002-12-19 | 2005-05-10 | Utc Fuel Cells, Llc | Fuel mixing control for fuel cell power plants operating on multiple fuels |
| EP1633404B1 (de) | 2003-06-11 | 2012-03-21 | Midmark Corporation | Sterilisiergerät |
| US7273098B2 (en) | 2004-02-17 | 2007-09-25 | Scientific Microsystems, Inc. | Method for controlling oil and gas well production from multiple wells |
| US7187299B2 (en) | 2004-03-17 | 2007-03-06 | Battelle Energy Alliance, Llc | Systems and methods for measuring a parameter of a landfill including a barrier cap and wireless sensor systems and methods |
| US7162933B2 (en) * | 2004-06-30 | 2007-01-16 | Valtronics, Inc. | Gas sample conditioning system |
| WO2006010164A2 (en) | 2004-07-22 | 2006-01-26 | Institute For Environmental Management, Inc. | Landfill design and method for improved landfill gas capture |
| US7387163B2 (en) | 2004-10-26 | 2008-06-17 | Waste Management Inc. | In-situ landfill gas well perforation method and apparatus |
| US7373976B2 (en) | 2004-11-18 | 2008-05-20 | Casey Danny M | Well production optimizing system |
| US20160025365A1 (en) | 2004-12-06 | 2016-01-28 | Christopher Moudy | System and method for variable destination delivery system |
| US7243730B2 (en) | 2004-12-31 | 2007-07-17 | Casey Danny M | Well production optimizing system |
| US9001335B2 (en) | 2005-09-30 | 2015-04-07 | Mks Instruments Inc. | Method and apparatus for siloxane measurements in a biogas |
| US7748450B2 (en) | 2005-12-19 | 2010-07-06 | Mundell Bret M | Gas wellhead extraction system and method |
| US7950464B2 (en) | 2006-01-31 | 2011-05-31 | Production Control Services, Inc. | Multi-well controller |
| US8021612B2 (en) | 2006-03-27 | 2011-09-20 | Jamie Tooley | System and methods for assisting businesses in compliance with gas emissions requirements |
| US20070225923A1 (en) | 2006-03-27 | 2007-09-27 | Jamie Tooley | Optimizing energy production of a landfill gas extraction system |
| US7787997B2 (en) | 2006-04-28 | 2010-08-31 | Caterpillar | Modular electric power generation system and method of use |
| GB0611527D0 (en) * | 2006-06-10 | 2006-07-19 | Intelisys Ltd | In-borehole gas monitoring apparatus and method |
| WO2008008925A2 (en) | 2006-07-12 | 2008-01-17 | Comvest Capital, Llc | System and method for control of a gas |
| US20140284935A1 (en) | 2006-07-12 | 2014-09-25 | Gary Disbennett | System and method for control of a gas |
| US8168121B2 (en) | 2006-12-05 | 2012-05-01 | Elkins Earthworks, Llc | Portable gas monitor |
| US20110231099A1 (en) * | 2006-12-05 | 2011-09-22 | Charles Elkins | Portable gas monitor |
| WO2009009409A1 (en) | 2007-07-10 | 2009-01-15 | Schlumberger Canada Limited | Methods of calibrating a fluid analyzer for use in a wellbore |
| US7972082B2 (en) | 2007-10-16 | 2011-07-05 | Augenstein Don C | Collection of landfill gas at variable rates to match temporal needs for energy generation |
| EP2217076A1 (de) | 2007-11-28 | 2010-08-18 | Steve Hoffman | Druckluftkochherd |
| US9231267B2 (en) | 2009-02-17 | 2016-01-05 | Mcalister Technologies, Llc | Systems and methods for sustainable economic development through integrated full spectrum production of renewable energy |
| GB0915150D0 (en) | 2009-09-01 | 2009-10-07 | Intelisys Ltd | In-borehole gas monitor apparatus and method |
| US8047276B2 (en) | 2009-09-11 | 2011-11-01 | Stefan Stamoulis | Tool for enhancing the extraction of landfill gas |
| US7866921B2 (en) | 2009-09-11 | 2011-01-11 | Stefan Stamoulis | Tool and method for extracting landfill gas |
| US8528420B2 (en) | 2009-12-09 | 2013-09-10 | Energyneering Solutions, Inc. | Eccentric venturi flow measurement device |
| US20110272420A1 (en) | 2010-05-05 | 2011-11-10 | Applied Materials, Inc. | Enclosed vertical rack for storing and transporting large substrates |
| US8927909B2 (en) * | 2010-10-11 | 2015-01-06 | Stmicroelectronics, Inc. | Closed loop temperature controlled circuit to improve device stability |
| US9651488B2 (en) | 2010-10-14 | 2017-05-16 | Thermo Fisher Scientific (Bremen) Gmbh | High-accuracy mid-IR laser-based gas sensor |
| US9435782B2 (en) | 2011-01-20 | 2016-09-06 | Trimble Navigation Limited | Landfill gas surface monitor and methods |
| US9239322B2 (en) | 2011-01-23 | 2016-01-19 | Serveron Corporation | Electrical apparatus oil sampler and conditioner for solid state sensors |
| US20120206715A1 (en) | 2011-02-11 | 2012-08-16 | Charles Laub | Methane monitoring system |
| US8924029B2 (en) | 2011-02-23 | 2014-12-30 | Honeywell International Inc. | Apparatus and method for increasing the ultimate recovery of natural gas contained in shale and other tight gas reservoirs |
| US9340739B1 (en) | 2011-09-02 | 2016-05-17 | David C. Morrow | Enhanced landfill gas treatment |
| US8840708B1 (en) | 2011-09-02 | 2014-09-23 | David C. Morrow | Landfill gas treatment |
| US20130180703A1 (en) | 2012-01-13 | 2013-07-18 | Q.E.D. Environmental Systems, Inc. | Removable orifice plate device |
| US20130334418A1 (en) | 2012-06-19 | 2013-12-19 | Alan Cowie | Smart tunable diode lase module |
| US9222906B2 (en) | 2012-07-04 | 2015-12-29 | Scs Forest Products, Inc. | Wireless in-kiln moisture sensor and system for use thereof |
| US9623377B2 (en) | 2012-07-18 | 2017-04-18 | Cummins Inc. | Systems and methods for reducing secondary emissions from catalyst components |
| US20150330938A1 (en) | 2012-12-07 | 2015-11-19 | Environmental Monitoring And Control Limited | Method and apparatus for monitoring gas concentration |
| US9062536B2 (en) | 2013-01-02 | 2015-06-23 | Graco Minnesota Inc. | Devices and methods for landfill gas well monitoring and control |
| US10029291B2 (en) | 2013-01-02 | 2018-07-24 | Q.E.D. Environmental Systems, Inc. | Devices and methods for landfill gas well monitoring and control |
| RU2521719C1 (ru) | 2013-02-15 | 2014-07-10 | Общество с ограниченной ответственностью "ВИНТЕЛ" | Ртутный монитор |
| WO2014157279A1 (ja) | 2013-03-28 | 2014-10-02 | 日本碍子株式会社 | ガスセンサ |
| US10914539B2 (en) | 2013-05-15 | 2021-02-09 | Osram Sylvania Inc. | Two piece aluminum heat sink |
| EP3011310B1 (de) | 2013-06-21 | 2019-05-08 | Dufresne, Philip, J. | System zur analyse von quecksilber |
| US20150000426A1 (en) * | 2013-06-26 | 2015-01-01 | Mustang Sampling, Llc | Sample Conditioning System for Low Pressure Gas |
| US10400560B2 (en) | 2013-11-04 | 2019-09-03 | Loci Controls, Inc. | Devices and techniques relating to landfill gas extraction |
| US10029290B2 (en) | 2013-11-04 | 2018-07-24 | Loci Controls, Inc. | Devices and techniques relating to landfill gas extraction |
| US10576515B2 (en) | 2013-11-04 | 2020-03-03 | Loci Controls, Inc. | Devices and techniques relating to landfill gas extraction |
| US10576514B2 (en) | 2013-11-04 | 2020-03-03 | Loci Controls, Inc. | Devices and techniques relating to landfill gas extraction |
| GB2520067B (en) | 2013-11-08 | 2016-07-27 | Thermo Fisher Scient (Bremen) Gmbh | Gas inlet system for isotope ratio spectrometer |
| US9835526B2 (en) | 2013-11-13 | 2017-12-05 | Kinetic Separation Technologies Llc | Systems and methods for removing contaminates from a stream prior to passing the stream through an analyzer |
| WO2015072989A1 (en) | 2013-11-14 | 2015-05-21 | Microsoft Technology Licensing, Llc | Gas supply shock absorber for datacenter power generation |
| WO2015077773A1 (en) | 2013-11-25 | 2015-05-28 | Massachusetts Eye & Ear Infirmary | Low power cochlear implants |
| CN104754913B (zh) | 2013-12-27 | 2018-06-05 | 华为技术有限公司 | 导热复合材料片及其制作方法 |
| PT3117235T (pt) * | 2014-03-21 | 2021-03-10 | Houston Radar Llc | Sistemas de feixe de radar duplo robusto e métodos para monitorização de tráfego |
| US10042402B2 (en) | 2014-04-07 | 2018-08-07 | Google Llc | Systems and methods for thermal management of a chassis-coupled modular mobile electronic device |
| CN105220025B (zh) | 2014-06-06 | 2018-03-16 | 华为技术有限公司 | 一种压铸铝合金及其制备方法和通讯产品 |
| US9535045B2 (en) * | 2014-06-16 | 2017-01-03 | Mustang Sampling Llc | Low pressure biogas sample takeoff and conditioning system |
| US10053955B2 (en) | 2014-07-15 | 2018-08-21 | Q.E.D. Environmental Systems, Inc. | System and method for distributed control of multiple wellheads |
| US10295517B2 (en) | 2014-07-28 | 2019-05-21 | Ludlum Measurements, Inc. | Heated graphite scrubber to reduce interferences in ozone monitors |
| DE102014119240A1 (de) * | 2014-12-19 | 2016-06-23 | Endress + Hauser Gmbh + Co. Kg | Durchflussmessanordnung nach dem Differenzdruckmessprinzip zur Messung eines Durchflusses eines Mediums |
| GB2535691B (en) * | 2015-01-13 | 2018-01-17 | Fathom Systems Ltd | Determining the partial pressure of a gas, calibrating a pressure sensor |
| US9534938B1 (en) | 2015-01-30 | 2017-01-03 | Squadle, Inc. | System and method for automatic measurement and recording |
| US10154460B1 (en) * | 2015-02-17 | 2018-12-11 | Halo Wearables LLC | Power management for wearable devices |
| US9677976B2 (en) | 2015-02-17 | 2017-06-13 | Chrintec, Llc | Gas sampling and management system |
| US9508085B2 (en) | 2015-02-23 | 2016-11-29 | Iogen Corporation | Pipeline arrangement for utilizing a gas comprising biomethane |
| FR3041286B1 (fr) | 2015-09-22 | 2017-10-06 | Continental Automotive France | Procede et unite de mesure pour vehicule automobile |
| US10119886B2 (en) * | 2015-12-22 | 2018-11-06 | Cummins Filtration Ip, Inc. | Filtration monitoring systems |
| EP4470686A3 (de) | 2016-03-01 | 2025-02-26 | Loci Controls, Inc. | Entwürfe für erhöhte zuverlässigkeit und kalibrierung von deponiegasmess- und -steuerungsvorrichtungen |
| US10705063B2 (en) | 2016-03-01 | 2020-07-07 | Loci Controls, Inc. | Designs for enhanced reliability and calibration of landfill gas measurement and control devices |
| GB2541504B (en) | 2016-06-17 | 2017-09-20 | Starstream Ltd | Flow control system and method |
| US20180003572A1 (en) * | 2016-07-01 | 2018-01-04 | Exotag Inc. | Sensor-Based Systems and Methods for Monitoring Temperature Sensitive Products |
| US10036782B2 (en) * | 2016-07-20 | 2018-07-31 | Ecolab Usa Inc. | Battery condition detection in hand hygiene product dispensers |
| CN106592646B (zh) | 2016-12-05 | 2019-03-12 | 北京大学深圳研究生院 | 一种渗滤液和填埋气的动态双向导排控制方法 |
| CA3046818C (en) * | 2016-12-12 | 2023-04-04 | Ventbuster Holdings Inc. | Gas meter and associated methods |
| US10640954B2 (en) * | 2016-12-20 | 2020-05-05 | Massachusetts Institute Of Technology | Sorption-based atmospheric water harvesting device |
| US10364655B2 (en) | 2017-01-20 | 2019-07-30 | Saudi Arabian Oil Company | Automatic control of production and injection wells in a hydrocarbon field |
| CA3060412A1 (en) | 2017-04-21 | 2018-10-25 | Loci Controls, Inc. | Devices and techniques relating to landfill gas extraction |
| CA3031977A1 (en) | 2018-01-31 | 2019-07-31 | Aerobic Landfill Technologies Inc. | System and methods for monitoring and controlling an aerobic landfill bioreactor |
| CA3290012A1 (en) | 2018-03-06 | 2025-11-29 | Loci Controls, Inc. | Landfill gas extraction control system |
| CA3109081A1 (en) | 2018-10-01 | 2020-04-09 | Loci Controls, Inc. | Landfill gas extraction systems and methods |
| US11883864B2 (en) | 2020-01-29 | 2024-01-30 | Loci Controls, Inc. | Automated compliance measurement and control for landfill gas extraction systems |
| US11221138B1 (en) | 2020-05-26 | 2022-01-11 | Wm Intellectual Property Holdings, L.L.C. | System and method for remote monitoring and control of landfill and recycling operations |
| US20220008970A1 (en) | 2020-07-13 | 2022-01-13 | Loci Controls, Inc. | Devices and techniques relating to landfill gas extraction |
| US12090532B2 (en) | 2020-07-13 | 2024-09-17 | Loci Controls, Inc. | Devices and techniques relating to landfill gas extraction |
| US11623256B2 (en) | 2020-07-13 | 2023-04-11 | Loci Controls, Inc. | Devices and techniques relating to landfill gas extraction |
| US20220008971A1 (en) | 2020-07-13 | 2022-01-13 | Loci Controls, Inc. | Devices and techniques relating to landfill gas extraction |
| US11865594B2 (en) | 2020-12-03 | 2024-01-09 | Loci Controls, Inc. | Greenhouse gas emissions control |
-
2017
- 2017-03-01 EP EP24207452.4A patent/EP4470686A3/de active Pending
- 2017-03-01 EP EP24207448.2A patent/EP4470685B1/de active Active
- 2017-03-01 EP EP17760717.3A patent/EP3423806B1/de active Active
- 2017-03-01 CA CA3016023A patent/CA3016023C/en active Active
- 2017-03-01 WO PCT/US2017/020196 patent/WO2017151766A1/en not_active Ceased
- 2017-03-01 CA CA3240725A patent/CA3240725A1/en active Pending
-
2023
- 2023-06-01 US US18/327,580 patent/US11977062B2/en active Active
-
2024
- 2024-01-29 US US18/425,421 patent/US12282006B2/en active Active
-
2025
- 2025-03-18 US US19/082,945 patent/US20250264446A1/en active Pending
Also Published As
| Publication number | Publication date |
|---|---|
| CA3016023A1 (en) | 2017-09-08 |
| EP4470685B1 (de) | 2025-11-12 |
| EP4470685A3 (de) | 2025-02-26 |
| CA3240725A1 (en) | 2017-09-08 |
| EP4470685A2 (de) | 2024-12-04 |
| CA3016023C (en) | 2024-09-17 |
| US20240167990A1 (en) | 2024-05-23 |
| US20230324353A1 (en) | 2023-10-12 |
| EP4470686A3 (de) | 2025-02-26 |
| US12282006B2 (en) | 2025-04-22 |
| EP3423806B1 (de) | 2024-11-20 |
| EP3423806A4 (de) | 2019-10-30 |
| EP3423806A1 (de) | 2019-01-09 |
| WO2017151766A1 (en) | 2017-09-08 |
| US11977062B2 (en) | 2024-05-07 |
| US20250264446A1 (en) | 2025-08-21 |
Similar Documents
| Publication | Publication Date | Title |
|---|---|---|
| US11885784B2 (en) | Designs for enhanced reliability and calibration of landfill gas measurement and control devices | |
| US11977062B2 (en) | Designs for enhanced reliability and calibration of landfill gas measurement and control devices | |
| US12251744B2 (en) | Landfill gas extraction control system | |
| US10119954B2 (en) | Electrical apparatus oil sampler and conditioner for solid state sensors | |
| USRE46616E1 (en) | Lightweight portable moisture traps for use with vacuum pumps | |
| US20150300677A1 (en) | Air purification apparatus | |
| MX2011003355A (es) | Sensor de hidrogeno con acceso de aire. | |
| CN104568519A (zh) | 恒流控温大气采样设备 | |
| JP4602454B2 (ja) | 放射性ヨウ素サンプラおよびそれを具備する放射性ヨウ素モニタ | |
| CA2347219C (en) | Apparatus to recover sample gases from fluids | |
| JP5844981B2 (ja) | 発電電動機械用フィルタシステム | |
| US9194857B2 (en) | Sealing apparatus for electrical apparatus oil sampler and conditioner for solid state sensors | |
| JP4488195B2 (ja) | 放射性ヨウ素サンプラおよびそれを具備する放射性ヨウ素モニタ | |
| TW202120921A (zh) | 監測揮發性有機化合物存在之系統及方法 |
Legal Events
| Date | Code | Title | Description |
|---|---|---|---|
| PUAI | Public reference made under article 153(3) epc to a published international application that has entered the european phase |
Free format text: ORIGINAL CODE: 0009012 |
|
| STAA | Information on the status of an ep patent application or granted ep patent |
Free format text: STATUS: REQUEST FOR EXAMINATION WAS MADE |
|
| 17P | Request for examination filed |
Effective date: 20241018 |
|
| AC | Divisional application: reference to earlier application |
Ref document number: 3423806 Country of ref document: EP Kind code of ref document: P |
|
| AK | Designated contracting states |
Kind code of ref document: A2 Designated state(s): AL AT BE BG CH CY CZ DE DK EE ES FI FR GB GR HR HU IE IS IT LI LT LU LV MC MK MT NL NO PL PT RO RS SE SI SK SM TR |
|
| REG | Reference to a national code |
Ref country code: DE Ref legal event code: R079 Free format text: PREVIOUS MAIN CLASS: B09B0001000000 Ipc: G01N0001220000 |
|
| PUAL | Search report despatched |
Free format text: ORIGINAL CODE: 0009013 |
|
| AK | Designated contracting states |
Kind code of ref document: A3 Designated state(s): AL AT BE BG CH CY CZ DE DK EE ES FI FR GB GR HR HU IE IS IT LI LT LU LV MC MK MT NL NO PL PT RO RS SE SI SK SM TR |
|
| RIC1 | Information provided on ipc code assigned before grant |
Ipc: G01N 1/20 20060101ALN20250122BHEP Ipc: B09B 1/00 20060101ALI20250122BHEP Ipc: G01N 1/24 20060101ALI20250122BHEP Ipc: G01N 1/22 20060101AFI20250122BHEP |