EP4252579A1 - Kosmetikbehälter - Google Patents

Kosmetikbehälter Download PDF

Info

Publication number
EP4252579A1
EP4252579A1 EP22166289.3A EP22166289A EP4252579A1 EP 4252579 A1 EP4252579 A1 EP 4252579A1 EP 22166289 A EP22166289 A EP 22166289A EP 4252579 A1 EP4252579 A1 EP 4252579A1
Authority
EP
European Patent Office
Prior art keywords
casing
housing
engaging
positioning
external surface
Prior art date
Legal status (The legal status is an assumption and is not a legal conclusion. Google has not performed a legal analysis and makes no representation as to the accuracy of the status listed.)
Granted
Application number
EP22166289.3A
Other languages
English (en)
French (fr)
Other versions
EP4252579C0 (de
EP4252579B1 (de
Inventor
Chia-Te Chen
Current Assignee (The listed assignees may be inaccurate. Google has not performed a legal analysis and makes no representation or warranty as to the accuracy of the list.)
Glaspray Engineering & Manufacturing Co Ltd
Original Assignee
Glaspray Engineering & Manufacturing Co Ltd
Priority date (The priority date is an assumption and is not a legal conclusion. Google has not performed a legal analysis and makes no representation as to the accuracy of the date listed.)
Filing date
Publication date
Application filed by Glaspray Engineering & Manufacturing Co Ltd filed Critical Glaspray Engineering & Manufacturing Co Ltd
Priority to EP22166289.3A priority Critical patent/EP4252579B1/de
Publication of EP4252579A1 publication Critical patent/EP4252579A1/de
Application granted granted Critical
Publication of EP4252579C0 publication Critical patent/EP4252579C0/de
Publication of EP4252579B1 publication Critical patent/EP4252579B1/de
Active legal-status Critical Current
Anticipated expiration legal-status Critical

Links

Images

Classifications

    • AHUMAN NECESSITIES
    • A45HAND OR TRAVELLING ARTICLES
    • A45DHAIRDRESSING OR SHAVING EQUIPMENT; EQUIPMENT FOR COSMETICS OR COSMETIC TREATMENTS, e.g. FOR MANICURING OR PEDICURING
    • A45D34/00Containers or accessories specially adapted for handling liquid toiletry or cosmetic substances, e.g. perfumes
    • AHUMAN NECESSITIES
    • A45HAND OR TRAVELLING ARTICLES
    • A45DHAIRDRESSING OR SHAVING EQUIPMENT; EQUIPMENT FOR COSMETICS OR COSMETIC TREATMENTS, e.g. FOR MANICURING OR PEDICURING
    • A45D34/00Containers or accessories specially adapted for handling liquid toiletry or cosmetic substances, e.g. perfumes
    • A45D34/02Scent flasks, e.g. with evaporator
    • AHUMAN NECESSITIES
    • A45HAND OR TRAVELLING ARTICLES
    • A45DHAIRDRESSING OR SHAVING EQUIPMENT; EQUIPMENT FOR COSMETICS OR COSMETIC TREATMENTS, e.g. FOR MANICURING OR PEDICURING
    • A45D34/00Containers or accessories specially adapted for handling liquid toiletry or cosmetic substances, e.g. perfumes
    • A45D2034/007Containers or accessories specially adapted for handling liquid toiletry or cosmetic substances, e.g. perfumes with special decorative arrangements or form
    • AHUMAN NECESSITIES
    • A45HAND OR TRAVELLING ARTICLES
    • A45DHAIRDRESSING OR SHAVING EQUIPMENT; EQUIPMENT FOR COSMETICS OR COSMETIC TREATMENTS, e.g. FOR MANICURING OR PEDICURING
    • A45D40/00Casings or accessories specially adapted for storing or handling solid or pasty toiletry or cosmetic substances, e.g. shaving soaps or lipsticks
    • A45D2040/0012Casings or accessories specially adapted for storing or handling solid or pasty toiletry or cosmetic substances, e.g. shaving soaps or lipsticks with special decorative arrangements or form
    • AHUMAN NECESSITIES
    • A45HAND OR TRAVELLING ARTICLES
    • A45DHAIRDRESSING OR SHAVING EQUIPMENT; EQUIPMENT FOR COSMETICS OR COSMETIC TREATMENTS, e.g. FOR MANICURING OR PEDICURING
    • A45D40/00Casings or accessories specially adapted for storing or handling solid or pasty toiletry or cosmetic substances, e.g. shaving soaps or lipsticks
    • A45D2040/0025Details of lipstick or like casings
    • AHUMAN NECESSITIES
    • A45HAND OR TRAVELLING ARTICLES
    • A45DHAIRDRESSING OR SHAVING EQUIPMENT; EQUIPMENT FOR COSMETICS OR COSMETIC TREATMENTS, e.g. FOR MANICURING OR PEDICURING
    • A45D2200/00Details not otherwise provided for in A45D
    • A45D2200/05Details of containers
    • A45D2200/054Means for supplying liquid to the outlet of the container
    • A45D2200/056Reciprocating pumps, i.e. with variable volume chamber wherein pressure and vacuum are alternately generated
    • AHUMAN NECESSITIES
    • A45HAND OR TRAVELLING ARTICLES
    • A45DHAIRDRESSING OR SHAVING EQUIPMENT; EQUIPMENT FOR COSMETICS OR COSMETIC TREATMENTS, e.g. FOR MANICURING OR PEDICURING
    • A45D2200/00Details not otherwise provided for in A45D
    • A45D2200/05Details of containers
    • A45D2200/054Means for supplying liquid to the outlet of the container
    • A45D2200/057Spray nozzles; Generating atomised liquid

Definitions

  • the present invention relates to a cosmetic container, and more particularly to a cosmetic container for containing cosmetic products.
  • Cosmetics are daily necessities for skin care or beauty. For quality and style, cosmetics are contained in cosmetics containers with high quality or fancy appearances in the market to attract customers to purchase or collect them.
  • a conventional rotary cosmetic container sold on the market comprises a rotary driving assembly and a containing body.
  • the rotary driving assembly comprises an upper housing and a lower housing connected with a rotary mechanism.
  • the lower housing is rotatably mounted below the upper housing.
  • the containing body is mounted in the upper housing and is connected with the rotary mechanism.
  • the upper housing is held by one of two hands of a customer and the lower housing is rotated by the other hand of the customer to drive the rotary mechanism to move the containing body to extend out from a top of the upper housing or retract into the upper housing.
  • product information e.g. ingredients
  • some manufacturers will print the product information directly on the external surfaces of the upper housing and the lower housing of the above-mentioned cosmetic container.
  • the product information, patterns, or textures printed on the external surfaces of the upper housing and the lower housing are easily peeled off by repeated touch and operation by hands contaminated with cosmetics. Consequently, the product information becomes difficult to recognize after long-term use, and that even reduces attraction of the appearance of the above-mentioned cosmetic container.
  • the present invention provides a cosmetic container to mitigate or obviate the aforementioned problems.
  • the main objective of the present invention is to provide a cosmetic container, to mitigate a problem that an appearance of the conventional cosmetic container is limited by functional requirement, is dull and regular, and is not easy to attract customers, and to mitigate a problem that product information, patterns, or textures printed on an external surface of the conventional cosmetic container are easily peeled off after long-term use.
  • the cosmetic container of the present invention comprises a container body, an upper casing, and a lower casing.
  • the container body has an upper housing and a lower housing being rotatable relative to each other.
  • the upper housing has a first positioning structure formed in an external surface of the upper housing near a top of the upper housing.
  • the lower housing has a second positioning structure formed in an external surface of the lower housing near a bottom of the lower housing.
  • the upper casing is detachably sleeved on and surrounds the upper housing of the container body and has an opening formed in a top of the upper casing and a first engaging structure formed in an internal surface of the upper casing and orientationally engaged with the first positioning structure to rotate the upper housing with the upper casing.
  • the lower casing is detachably sleeved on and surrounds the lower housing of the container body and has a second engaging structure formed in an internal surface of the lower casing and orientationally engaged with the second positioning structure to rotate the lower housing with the lower casing.
  • a cosmetic container in accordance with the present invention comprises a container body 10, an upper casing 20, and a lower casing 30.
  • the container body 10 has an upper housing 11 and a lower housing 12 being rotatable relative to each other.
  • the upper housing 11 has a first positioning structure 13 formed in an external surface of the upper housing 11 near a top of the upper housing 11.
  • the lower housing 12 has a second positioning structure 14 formed in an external surface of the lower housing 12 near a bottom of the lower housing 12.
  • the container body 10 has a pressing seat 17 mounted in the upper housing 11. When the lower housing 12 is rotated relative to the upper housing 11, the pressing seat 17 is moved to extend out from the top of the upper housing 11 to an open position as shown in Fig. 7 or is retracted into the top of the upper housing 11 to a closed position as shown in Fig. 2 .
  • the upper casing 20 is detachably sleeved on and surrounds the upper housing 11 of the container body 10 and has an opening 21 formed in a top of the upper casing 20 for the pressing seat 17 to pass therethrough.
  • the upper casing 20 has a first engaging structure 22 formed on an internal surface of the upper casing 20 and orientationally engaged with the first positioning structure 13 of the upper housing 11 to rotate the upper housing 11 with the upper casing 20.
  • the lower casing 30 is detachably sleeved on and surrounds the lower housing 12 of the container body 10.
  • the lower casing 30 has a second engaging structure 31 formed on an internal surface of the lower casing 30 and orientationally engaged with the second positioning structure 14 to rotate the lower housing 12 with the lower casing 30.
  • the first positioning structure 13 has at least one positioning rib 131 formed on and longitudinally extending along the external surface of the upper housing 11.
  • the second positioning structure 14 has at least one positioning rib 141 formed on and longitudinally extending along the external surface of the lower housing 12.
  • the first engaging structure 22 has at least one positioning groove 221 formed in and longitudinally extending along the internal surface of the upper casing 20.
  • the second engaging structure 31 has at least one positioning groove 311 formed in and longitudinally extending along the internal surface of the lower casing 30.
  • the at least one positioning rib 131 of the first positioning structure 13 is mounted in and engaged with the at least one positioning groove 221 of the first engaging structure 22.
  • the at least one positioning rib 141 of the second positioning structure 14 is mounted in and engaged with the at least one positioning groove 311 of the second engaging structure 31.
  • the first positioning structure 13 has an engaging groove 132 formed in and transversally extending along the external surface of the upper housing 11.
  • the second positioning structure 14 has an engaging groove 142 formed in and transversally extending along the external surface of the lower housing 12.
  • the first engaging structure 22 has at least one engaging block 222 formed on and transversally extending along the internal surface of the upper casing 20.
  • the second engaging structure 31 has at least one engaging block 312 formed on and transversally extending along the internal surface of the lower casing 30.
  • the at least one engaging block 222 of the first engaging structure 22 is mounted in and engaged with the at least one engaging groove 132 of the first positioning structure 13.
  • the at least one engaging block 312 of the second engaging structure 31 is mounted in and engaged with the at least one engaging groove 142 of the second positioning structure 14.
  • the container body 10 has multiple first abutting blocks 15 and multiple second abutting blocks 16 formed on and protruding from an external surface of the container body 10.
  • the first abutting blocks 15 are arranged around the external surface of the container body 10 at angular intervals and abut against the internal surface of the upper casing 20.
  • the second abutting blocks 16 are located below the first abutting blocks 15, are arranged around the external surface of the container body 10 at angular intervals, and abut against the internal surface of the lower casing 30.
  • the multiple first abutting blocks 15 and the multiple second abutting blocks 16 are formed on the external surface of the upper housing 11.
  • the first abutting blocks 15 abut against the internal surface of the upper casing 20 and the second abutting blocks 16 abut against the internal surface of the lower casing 30. So the upper casing 20 and the lower casing 30 are prevented from loosening or shaking relative to the upper housing 11 and the lower housing 12 caused by gaps formed between the upper casing 20 and the upper housing 11 and formed between the lower casing 30 and the lower housing 12.
  • the cosmetic container in accordance with the present invention may be a cylinder, a polygonal prism, and so on. As shown in Figs. 1 to 3 , the cosmetic container is a cylinder in the embodiment.
  • the positioning grooves 221, 311 of the first engaging structure 22 and second engaging structure 31 are respectively aligned with the positioning ribs 131, 141 of the first positioning structure 13 and the second positioning structure 14, the upper casing 20 and the lower casing 30 are pushed to mount the positioning ribs 131, 141 of the first positioning structure 13 and the second positioning structure 14 respectively into the positioning grooves 221, 311 of the first engaging structure 22 and the second engaging structure 31.
  • the engaging blocks 222, 312 of the first engaging structure 22 and the second engaging structure 31 are pushed to respectively engage in the engaging grooves 132, 142 of the first positioning structure 13 and the second positioning structure 14.
  • the lower casing 30 is sleeved on the lower housing 12 of the container body 10, the positioning rib 141 of the second positioning structure 14 of the lower housing 12 is mounted into the positioning groove 311 of the second engaging structure 31, and the engaging block 312 of the lower casing 30 is engaged with the engaging groove 142 of the second positioning structure 14.
  • the arrangement between the first positioning structure 13 of the upper housing 11 and the first engaging structure 22 of the upper casing 20 is the same to the arrangement between the lower housing 12 and the lower casing 30, the assembling method and advantages thereof are omitted herein.
  • the upper casing 20 and the lower casing 30 are sleeved on and surround the container body 10, because of the oriented connection between the first positioning structure 13 and the first engaging structure 22, the upper casing 20 is rotated with the upper housing 11, because of the oriented connection between the second positioning structure 14 and the second engaging structure 31, the lower casing 30 is rotated with the lower housing 12. Therefore, impact to functional operation of the container body 10 caused by the upper casing 20 and the lower casing 30 is reduced.
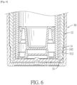
  • Fig. 1 , 3 , 6 impact to functional operation of the container body 10 caused by the upper casing 20 and the lower casing 30 is reduced.
  • the external surfaces of the upper housing 11 and the lower housing 12 of the container body 10 might be printed with patterns and textures
  • the external surfaces of the upper casing 20 and the lower casing 30 might be additionally printed with patterns and textures to provide variety appearance.
  • a customer can choose the cosmetic container according to preferred upper casing 20 and lower casing 30 mounted thereon. Accordingly, variety and variability in appearance of the cosmetic container can be provided to catch customer's attention. Customization for the cosmetic container can be offered.
  • the upper casing 20 and the lower casing 30 might be transparent or translucent with patterns printed thereon.
  • the patterns on the upper casing 20 or the lower casing 30 are layered on the patterns printed on the external surface of the container body 10 to provide a multi-layered appearance and to increase variability in appearance. Furthermore, because the upper casing 20 and the lower casing 30 are sleeved on the container body 10, the external surface of the container body 10 is covered without affecting functional operation of the cosmetic container. Therefore, it can prevent the customer from directly touching marks, textures, or patterns on the external surface of the container body 10 during operation, and can avoid the marks, textures, or patterns peeled off from the container body 10 after prolonged use and touch.
  • the upper housing 11, the lower housing 12, the upper casing 20, and the lower casing 30 may be made of polyethylene terephthalate (PET), Polypropylene (PP), or Acrylonitrile Butadiene Styrene (ABS).
  • PET polyethylene terephthalate
  • PP Polypropylene
  • ABS Acrylonitrile Butadiene Styrene
  • the upper housing 11, the lower housing 12, the upper casing 20, and the lower casing 30 can be made of the same material, e.g. polyethylene terephthalate (PET), so the cosmetic container is easily recycled, which can be directly recycled without detaching the upper housing 11, the lower housing 12, the upper casing 20, and the lower casing 30 from one another to reduce sorting processes for recycling.
  • the cosmetic container can be reused after refilling cosmetic contained in the cosmetic container to reduce waste of resource and replacement cost.
  • the upper casing 20 and the lower casing 30 With the arrangement of the upper casing 20 and the lower casing 30, the oriented connection between the first positioning structure 13 and the first engaging structure 22, and the oriented connection between the second positioning structure 14 and the second engaging structure 31, the upper casing 20 is rotated with the upper housing 11, and the lower casing 30 is rotated with the lower housing 12. Accordingly, variety and variability in appearance of the cosmetic container can be provided without affecting its functional operation, and marks, textures, and patterns on the external surface of the container body 10 can be protected by the upper casing 20 and the lower casing 30.

Landscapes

  • Closures For Containers (AREA)
EP22166289.3A 2022-04-01 2022-04-01 Kosmetikbehälter Active EP4252579B1 (de)

Priority Applications (1)

Application Number Priority Date Filing Date Title
EP22166289.3A EP4252579B1 (de) 2022-04-01 2022-04-01 Kosmetikbehälter

Applications Claiming Priority (1)

Application Number Priority Date Filing Date Title
EP22166289.3A EP4252579B1 (de) 2022-04-01 2022-04-01 Kosmetikbehälter

Publications (3)

Publication Number Publication Date
EP4252579A1 true EP4252579A1 (de) 2023-10-04
EP4252579C0 EP4252579C0 (de) 2024-02-21
EP4252579B1 EP4252579B1 (de) 2024-02-21

Family

ID=81326059

Family Applications (1)

Application Number Title Priority Date Filing Date
EP22166289.3A Active EP4252579B1 (de) 2022-04-01 2022-04-01 Kosmetikbehälter

Country Status (1)

Country Link
EP (1) EP4252579B1 (de)

Citations (4)

* Cited by examiner, † Cited by third party
Publication number Priority date Publication date Assignee Title
KR200416531Y1 (ko) * 2006-02-20 2006-05-16 (주)연우 자동 개폐수단을 갖는 립스틱 용기
EP2893833A1 (de) * 2014-08-07 2015-07-15 Glaspray Engineering & Manufacturing Co., Ltd. Kosmetikbehälter
WO2015144868A1 (fr) * 2014-03-28 2015-10-01 Axilone Plastique Etui pour un bâton de matière, tel qu'un raisin de rouge à lèvres, comprenant une lèvre flexible, et produit cosmétique comprenant un tel bâton de matière contenu dans un tel étui
FR3111056A1 (fr) * 2020-06-05 2021-12-10 Albea Services Receptacle pour un produit, notamment un produit cosmetique en forme de baton

Patent Citations (4)

* Cited by examiner, † Cited by third party
Publication number Priority date Publication date Assignee Title
KR200416531Y1 (ko) * 2006-02-20 2006-05-16 (주)연우 자동 개폐수단을 갖는 립스틱 용기
WO2015144868A1 (fr) * 2014-03-28 2015-10-01 Axilone Plastique Etui pour un bâton de matière, tel qu'un raisin de rouge à lèvres, comprenant une lèvre flexible, et produit cosmétique comprenant un tel bâton de matière contenu dans un tel étui
EP2893833A1 (de) * 2014-08-07 2015-07-15 Glaspray Engineering & Manufacturing Co., Ltd. Kosmetikbehälter
FR3111056A1 (fr) * 2020-06-05 2021-12-10 Albea Services Receptacle pour un produit, notamment un produit cosmetique en forme de baton

Also Published As

Publication number Publication date
EP4252579C0 (de) 2024-02-21
EP4252579B1 (de) 2024-02-21

Similar Documents

Publication Publication Date Title
US11986077B2 (en) Cosmetic container
DE69825759T2 (de) Träger für einen Nassrasierer
WO2001056903A1 (en) Interactive blister package
KR20210030051A (ko) 화장품 용기
US6422245B1 (en) Rouge compact
EP4252579A1 (de) Kosmetikbehälter
US5938058A (en) Segmented multi-purpose portable container
KR200306871Y1 (ko) 이중구조의 화장품 용기
JP4674737B2 (ja) 電気機器
KR200403999Y1 (ko) 리필이 가능한 화장품 용기
JP2012166395A (ja) スタンプ
KR102413203B1 (ko) 세련미를 강화한 리필 기반의 화장품 용기 어셈블리
KR102550546B1 (ko) 원터치 개폐 구조를 갖는 화장품 용기
TWM627492U (zh) 化粧品容器
JPH0228198Y2 (de)
USD413181S (en) Combined safety razor handle, shaving cream container and cap therefore
TWI776777B (zh) 化粧品容器
CN221307523U (zh) 防滑型香水瓶
KR101436940B1 (ko) 슬립 및 파손 방지 기능을 가지는 화장품 케이스
KR200429568Y1 (ko) 화장품 케이스
KR200270332Y1 (ko) 분리형 립스틱승강유니트를 가지는 립스틱케이스
KR20150001416U (ko) 손잡이를 구비한 리필용기가 장착된 화장품용기
JP2572713Y2 (ja) レフィルケース
KR200331343Y1 (ko) 광고기능을 갖는 필기구 세트
KR200387659Y1 (ko) 자체 잉크 스탬프용 하우징 조립체

Legal Events

Date Code Title Description
PUAI Public reference made under article 153(3) epc to a published international application that has entered the european phase

Free format text: ORIGINAL CODE: 0009012

STAA Information on the status of an ep patent application or granted ep patent

Free format text: STATUS: REQUEST FOR EXAMINATION WAS MADE

17P Request for examination filed

Effective date: 20230117

AK Designated contracting states

Kind code of ref document: A1

Designated state(s): AL AT BE BG CH CY CZ DE DK EE ES FI FR GB GR HR HU IE IS IT LI LT LU LV MC MK MT NL NO PL PT RO RS SE SI SK SM TR

GRAP Despatch of communication of intention to grant a patent

Free format text: ORIGINAL CODE: EPIDOSNIGR1

STAA Information on the status of an ep patent application or granted ep patent

Free format text: STATUS: GRANT OF PATENT IS INTENDED

RIC1 Information provided on ipc code assigned before grant

Ipc: A45D 34/00 20060101ALN20231012BHEP

Ipc: A45D 40/00 20060101ALN20231012BHEP

Ipc: A45D 34/02 20060101ALI20231012BHEP

Ipc: A45D 40/06 20060101ALI20231012BHEP

Ipc: A45D 40/02 20060101AFI20231012BHEP

INTG Intention to grant announced

Effective date: 20231110

GRAS Grant fee paid

Free format text: ORIGINAL CODE: EPIDOSNIGR3

GRAA (expected) grant

Free format text: ORIGINAL CODE: 0009210

STAA Information on the status of an ep patent application or granted ep patent

Free format text: STATUS: THE PATENT HAS BEEN GRANTED

AK Designated contracting states

Kind code of ref document: B1

Designated state(s): AL AT BE BG CH CY CZ DE DK EE ES FI FR GB GR HR HU IE IS IT LI LT LU LV MC MK MT NL NO PL PT RO RS SE SI SK SM TR

REG Reference to a national code

Ref country code: GB

Ref legal event code: FG4D

REG Reference to a national code

Ref country code: CH

Ref legal event code: EP

REG Reference to a national code

Ref country code: IE

Ref legal event code: FG4D

REG Reference to a national code

Ref country code: DE

Ref legal event code: R096

Ref document number: 602022001995

Country of ref document: DE

U01 Request for unitary effect filed

Effective date: 20240222

U07 Unitary effect registered

Designated state(s): AT BE BG DE DK EE FI FR IT LT LU LV MT NL PT SE SI

Effective date: 20240229

U20 Renewal fee for the european patent with unitary effect paid

Year of fee payment: 3

Effective date: 20240312

REG Reference to a national code

Ref country code: LT

Ref legal event code: MG9D

PG25 Lapsed in a contracting state [announced via postgrant information from national office to epo]

Ref country code: IS

Free format text: LAPSE BECAUSE OF FAILURE TO SUBMIT A TRANSLATION OF THE DESCRIPTION OR TO PAY THE FEE WITHIN THE PRESCRIBED TIME-LIMIT

Effective date: 20240621

PG25 Lapsed in a contracting state [announced via postgrant information from national office to epo]

Ref country code: GR

Free format text: LAPSE BECAUSE OF FAILURE TO SUBMIT A TRANSLATION OF THE DESCRIPTION OR TO PAY THE FEE WITHIN THE PRESCRIBED TIME-LIMIT

Effective date: 20240522

PG25 Lapsed in a contracting state [announced via postgrant information from national office to epo]

Ref country code: HR

Free format text: LAPSE BECAUSE OF FAILURE TO SUBMIT A TRANSLATION OF THE DESCRIPTION OR TO PAY THE FEE WITHIN THE PRESCRIBED TIME-LIMIT

Effective date: 20240221

Ref country code: RS

Free format text: LAPSE BECAUSE OF FAILURE TO SUBMIT A TRANSLATION OF THE DESCRIPTION OR TO PAY THE FEE WITHIN THE PRESCRIBED TIME-LIMIT

Effective date: 20240521

PG25 Lapsed in a contracting state [announced via postgrant information from national office to epo]

Ref country code: ES

Free format text: LAPSE BECAUSE OF FAILURE TO SUBMIT A TRANSLATION OF THE DESCRIPTION OR TO PAY THE FEE WITHIN THE PRESCRIBED TIME-LIMIT

Effective date: 20240221

PG25 Lapsed in a contracting state [announced via postgrant information from national office to epo]

Ref country code: RS

Free format text: LAPSE BECAUSE OF FAILURE TO SUBMIT A TRANSLATION OF THE DESCRIPTION OR TO PAY THE FEE WITHIN THE PRESCRIBED TIME-LIMIT

Effective date: 20240521

Ref country code: NO

Free format text: LAPSE BECAUSE OF FAILURE TO SUBMIT A TRANSLATION OF THE DESCRIPTION OR TO PAY THE FEE WITHIN THE PRESCRIBED TIME-LIMIT

Effective date: 20240521

Ref country code: IS

Free format text: LAPSE BECAUSE OF FAILURE TO SUBMIT A TRANSLATION OF THE DESCRIPTION OR TO PAY THE FEE WITHIN THE PRESCRIBED TIME-LIMIT

Effective date: 20240621

Ref country code: HR

Free format text: LAPSE BECAUSE OF FAILURE TO SUBMIT A TRANSLATION OF THE DESCRIPTION OR TO PAY THE FEE WITHIN THE PRESCRIBED TIME-LIMIT

Effective date: 20240221

Ref country code: GR

Free format text: LAPSE BECAUSE OF FAILURE TO SUBMIT A TRANSLATION OF THE DESCRIPTION OR TO PAY THE FEE WITHIN THE PRESCRIBED TIME-LIMIT

Effective date: 20240522

Ref country code: ES

Free format text: LAPSE BECAUSE OF FAILURE TO SUBMIT A TRANSLATION OF THE DESCRIPTION OR TO PAY THE FEE WITHIN THE PRESCRIBED TIME-LIMIT

Effective date: 20240221

PG25 Lapsed in a contracting state [announced via postgrant information from national office to epo]

Ref country code: PL

Free format text: LAPSE BECAUSE OF FAILURE TO SUBMIT A TRANSLATION OF THE DESCRIPTION OR TO PAY THE FEE WITHIN THE PRESCRIBED TIME-LIMIT

Effective date: 20240221

PG25 Lapsed in a contracting state [announced via postgrant information from national office to epo]

Ref country code: PL

Free format text: LAPSE BECAUSE OF FAILURE TO SUBMIT A TRANSLATION OF THE DESCRIPTION OR TO PAY THE FEE WITHIN THE PRESCRIBED TIME-LIMIT

Effective date: 20240221

PG25 Lapsed in a contracting state [announced via postgrant information from national office to epo]

Ref country code: SM

Free format text: LAPSE BECAUSE OF FAILURE TO SUBMIT A TRANSLATION OF THE DESCRIPTION OR TO PAY THE FEE WITHIN THE PRESCRIBED TIME-LIMIT

Effective date: 20240221

PG25 Lapsed in a contracting state [announced via postgrant information from national office to epo]

Ref country code: CZ

Free format text: LAPSE BECAUSE OF FAILURE TO SUBMIT A TRANSLATION OF THE DESCRIPTION OR TO PAY THE FEE WITHIN THE PRESCRIBED TIME-LIMIT

Effective date: 20240221

PG25 Lapsed in a contracting state [announced via postgrant information from national office to epo]

Ref country code: SK

Free format text: LAPSE BECAUSE OF FAILURE TO SUBMIT A TRANSLATION OF THE DESCRIPTION OR TO PAY THE FEE WITHIN THE PRESCRIBED TIME-LIMIT

Effective date: 20240221

PG25 Lapsed in a contracting state [announced via postgrant information from national office to epo]

Ref country code: SM

Free format text: LAPSE BECAUSE OF FAILURE TO SUBMIT A TRANSLATION OF THE DESCRIPTION OR TO PAY THE FEE WITHIN THE PRESCRIBED TIME-LIMIT

Effective date: 20240221

Ref country code: SK

Free format text: LAPSE BECAUSE OF FAILURE TO SUBMIT A TRANSLATION OF THE DESCRIPTION OR TO PAY THE FEE WITHIN THE PRESCRIBED TIME-LIMIT

Effective date: 20240221

Ref country code: RO

Free format text: LAPSE BECAUSE OF FAILURE TO SUBMIT A TRANSLATION OF THE DESCRIPTION OR TO PAY THE FEE WITHIN THE PRESCRIBED TIME-LIMIT

Effective date: 20240221

Ref country code: CZ

Free format text: LAPSE BECAUSE OF FAILURE TO SUBMIT A TRANSLATION OF THE DESCRIPTION OR TO PAY THE FEE WITHIN THE PRESCRIBED TIME-LIMIT

Effective date: 20240221

PG25 Lapsed in a contracting state [announced via postgrant information from national office to epo]

Ref country code: MC

Free format text: LAPSE BECAUSE OF FAILURE TO SUBMIT A TRANSLATION OF THE DESCRIPTION OR TO PAY THE FEE WITHIN THE PRESCRIBED TIME-LIMIT

Effective date: 20240221

REG Reference to a national code

Ref country code: DE

Ref legal event code: R097

Ref document number: 602022001995

Country of ref document: DE

PG25 Lapsed in a contracting state [announced via postgrant information from national office to epo]

Ref country code: MC

Free format text: LAPSE BECAUSE OF FAILURE TO SUBMIT A TRANSLATION OF THE DESCRIPTION OR TO PAY THE FEE WITHIN THE PRESCRIBED TIME-LIMIT

Effective date: 20240221

PLBE No opposition filed within time limit

Free format text: ORIGINAL CODE: 0009261

STAA Information on the status of an ep patent application or granted ep patent

Free format text: STATUS: NO OPPOSITION FILED WITHIN TIME LIMIT

26N No opposition filed

Effective date: 20241122

U20 Renewal fee for the european patent with unitary effect paid

Year of fee payment: 4

Effective date: 20250226

PG25 Lapsed in a contracting state [announced via postgrant information from national office to epo]

Ref country code: IE

Free format text: LAPSE BECAUSE OF NON-PAYMENT OF DUE FEES

Effective date: 20240401

PG25 Lapsed in a contracting state [announced via postgrant information from national office to epo]

Ref country code: CY

Free format text: LAPSE BECAUSE OF FAILURE TO SUBMIT A TRANSLATION OF THE DESCRIPTION OR TO PAY THE FEE WITHIN THE PRESCRIBED TIME-LIMIT; INVALID AB INITIO

Effective date: 20220401

REG Reference to a national code

Ref country code: CH

Ref legal event code: H13

Free format text: ST27 STATUS EVENT CODE: U-0-0-H10-H13 (AS PROVIDED BY THE NATIONAL OFFICE)

Effective date: 20251125

PG25 Lapsed in a contracting state [announced via postgrant information from national office to epo]

Ref country code: TR

Free format text: LAPSE BECAUSE OF FAILURE TO SUBMIT A TRANSLATION OF THE DESCRIPTION OR TO PAY THE FEE WITHIN THE PRESCRIBED TIME-LIMIT

Effective date: 20240221

PG25 Lapsed in a contracting state [announced via postgrant information from national office to epo]

Ref country code: CH

Free format text: LAPSE BECAUSE OF NON-PAYMENT OF DUE FEES

Effective date: 20250430