EP4201460A9 - Atmungsbenutzerschnittstelle - Google Patents
Atmungsbenutzerschnittstelle Download PDFInfo
- Publication number
- EP4201460A9 EP4201460A9 EP22210028.1A EP22210028A EP4201460A9 EP 4201460 A9 EP4201460 A9 EP 4201460A9 EP 22210028 A EP22210028 A EP 22210028A EP 4201460 A9 EP4201460 A9 EP 4201460A9
- Authority
- EP
- European Patent Office
- Prior art keywords
- user interface
- flow
- vent
- inlet
- clause
- Prior art date
- Legal status (The legal status is an assumption and is not a legal conclusion. Google has not performed a legal analysis and makes no representation as to the accuracy of the status listed.)
- Granted
Links
Images
Classifications
-
- A—HUMAN NECESSITIES
- A61—MEDICAL OR VETERINARY SCIENCE; HYGIENE
- A61M—DEVICES FOR INTRODUCING MEDIA INTO, OR ONTO, THE BODY; DEVICES FOR TRANSDUCING BODY MEDIA OR FOR TAKING MEDIA FROM THE BODY; DEVICES FOR PRODUCING OR ENDING SLEEP OR STUPOR
- A61M16/00—Devices for influencing the respiratory system of patients by gas treatment, e.g. ventilators; Tracheal tubes
- A61M16/06—Respiratory or anaesthetic masks
- A61M16/0605—Means for improving the adaptation of the mask to the patient
- A61M16/0616—Means for improving the adaptation of the mask to the patient with face sealing means comprising a flap or membrane projecting inwards, such that sealing increases with increasing inhalation gas pressure
-
- A—HUMAN NECESSITIES
- A61—MEDICAL OR VETERINARY SCIENCE; HYGIENE
- A61M—DEVICES FOR INTRODUCING MEDIA INTO, OR ONTO, THE BODY; DEVICES FOR TRANSDUCING BODY MEDIA OR FOR TAKING MEDIA FROM THE BODY; DEVICES FOR PRODUCING OR ENDING SLEEP OR STUPOR
- A61M16/00—Devices for influencing the respiratory system of patients by gas treatment, e.g. ventilators; Tracheal tubes
- A61M16/06—Respiratory or anaesthetic masks
- A61M16/0666—Nasal cannulas or tubing
-
- A—HUMAN NECESSITIES
- A61—MEDICAL OR VETERINARY SCIENCE; HYGIENE
- A61M—DEVICES FOR INTRODUCING MEDIA INTO, OR ONTO, THE BODY; DEVICES FOR TRANSDUCING BODY MEDIA OR FOR TAKING MEDIA FROM THE BODY; DEVICES FOR PRODUCING OR ENDING SLEEP OR STUPOR
- A61M16/00—Devices for influencing the respiratory system of patients by gas treatment, e.g. ventilators; Tracheal tubes
- A61M16/06—Respiratory or anaesthetic masks
- A61M16/0666—Nasal cannulas or tubing
- A61M16/0672—Nasal cannula assemblies for oxygen therapy
-
- A—HUMAN NECESSITIES
- A61—MEDICAL OR VETERINARY SCIENCE; HYGIENE
- A61M—DEVICES FOR INTRODUCING MEDIA INTO, OR ONTO, THE BODY; DEVICES FOR TRANSDUCING BODY MEDIA OR FOR TAKING MEDIA FROM THE BODY; DEVICES FOR PRODUCING OR ENDING SLEEP OR STUPOR
- A61M16/00—Devices for influencing the respiratory system of patients by gas treatment, e.g. ventilators; Tracheal tubes
- A61M16/08—Bellows; Connecting tubes ; Water traps; Patient circuits
- A61M16/0816—Joints or connectors
-
- A—HUMAN NECESSITIES
- A61—MEDICAL OR VETERINARY SCIENCE; HYGIENE
- A61M—DEVICES FOR INTRODUCING MEDIA INTO, OR ONTO, THE BODY; DEVICES FOR TRANSDUCING BODY MEDIA OR FOR TAKING MEDIA FROM THE BODY; DEVICES FOR PRODUCING OR ENDING SLEEP OR STUPOR
- A61M16/00—Devices for influencing the respiratory system of patients by gas treatment, e.g. ventilators; Tracheal tubes
- A61M16/10—Preparation of respiratory gases or vapours
- A61M16/14—Preparation of respiratory gases or vapours by mixing different fluids, one of them being in a liquid phase
- A61M16/16—Devices to humidify the respiration air
-
- A—HUMAN NECESSITIES
- A61—MEDICAL OR VETERINARY SCIENCE; HYGIENE
- A61M—DEVICES FOR INTRODUCING MEDIA INTO, OR ONTO, THE BODY; DEVICES FOR TRANSDUCING BODY MEDIA OR FOR TAKING MEDIA FROM THE BODY; DEVICES FOR PRODUCING OR ENDING SLEEP OR STUPOR
- A61M16/00—Devices for influencing the respiratory system of patients by gas treatment, e.g. ventilators; Tracheal tubes
- A61M16/06—Respiratory or anaesthetic masks
- A61M16/0683—Holding devices therefor
-
- A—HUMAN NECESSITIES
- A61—MEDICAL OR VETERINARY SCIENCE; HYGIENE
- A61M—DEVICES FOR INTRODUCING MEDIA INTO, OR ONTO, THE BODY; DEVICES FOR TRANSDUCING BODY MEDIA OR FOR TAKING MEDIA FROM THE BODY; DEVICES FOR PRODUCING OR ENDING SLEEP OR STUPOR
- A61M2202/00—Special media to be introduced, removed or treated
- A61M2202/02—Gases
- A61M2202/0225—Carbon oxides, e.g. Carbon dioxide
-
- A—HUMAN NECESSITIES
- A61—MEDICAL OR VETERINARY SCIENCE; HYGIENE
- A61M—DEVICES FOR INTRODUCING MEDIA INTO, OR ONTO, THE BODY; DEVICES FOR TRANSDUCING BODY MEDIA OR FOR TAKING MEDIA FROM THE BODY; DEVICES FOR PRODUCING OR ENDING SLEEP OR STUPOR
- A61M2205/00—General characteristics of the apparatus
- A61M2205/42—Reducing noise
-
- A—HUMAN NECESSITIES
- A61—MEDICAL OR VETERINARY SCIENCE; HYGIENE
- A61M—DEVICES FOR INTRODUCING MEDIA INTO, OR ONTO, THE BODY; DEVICES FOR TRANSDUCING BODY MEDIA OR FOR TAKING MEDIA FROM THE BODY; DEVICES FOR PRODUCING OR ENDING SLEEP OR STUPOR
- A61M2210/00—Anatomical parts of the body
- A61M2210/06—Head
- A61M2210/0618—Nose
-
- A—HUMAN NECESSITIES
- A61—MEDICAL OR VETERINARY SCIENCE; HYGIENE
- A61M—DEVICES FOR INTRODUCING MEDIA INTO, OR ONTO, THE BODY; DEVICES FOR TRANSDUCING BODY MEDIA OR FOR TAKING MEDIA FROM THE BODY; DEVICES FOR PRODUCING OR ENDING SLEEP OR STUPOR
- A61M2210/00—Anatomical parts of the body
- A61M2210/06—Head
- A61M2210/0625—Mouth
Definitions
- the present invention generally relates to a respiratory user interface for use with, or comprising part of, a respiratory therapy system.
- the present invention stems from work based on the disclosure of our earlier applications, published as WO2011078703 and WO2015130179 , the entire contents of each of which are incorporated herein by reference.
- This application claims priority from provisional application US 62509507 filed 22 May 2017 , the entire contents of which is also incorporated herein by reference.
- a respiratory therapy system typically delivers heated and humidified gases for various medical or therapy procedures, including respiratory treatment, laparoscopy and the like.
- Such a system can be configured to control temperature, humidity and flow rates. Respiratory humidification can also be used in respiratory therapy systems.
- a respiratory therapy system is typically used for the treatment of respiratory conditions such as, for example, as obstructive sleep apnea (OSA) or chronic obstructive pulmonary disease (COPD).
- OSA obstructive sleep apnea
- COPD chronic obstructive pulmonary disease
- a respiratory therapy system includes an inspiratory flow path along which breathing gas is delivered from a gas source to the patient, and an expiratory flow path along which expiratory gas flows from the patient.
- the inspiratory and expiratory flow paths may be the same, but are typically different.
- Examples of a gas source include a source of pressurised gas, or a ventilator comprising a blower (typically comprising an impeller and a motor). This flow path is typically referred to as the breathing circuit.
- the components that define the inspiratory part of the breathing circuit are known as the inspiratory limb of the system, and typically comprise one or more sections of inspiratory gas delivery conduit and one or more connectors that connect the section(s) of conduit between the source of breathing gas and a user interface that delivers the breathing gas to the patient.
- a humidifier may be provided between the gas source and the breathing circuit to humidify the breathing gas.
- One method of treating respiratory distress and certain respiratory disorders is the provision of Continuous Positive Airway Pressure (CPAP) or other forms of Positive Airway Pressure (PAP) to support a user's respiratory system.
- CPAP Continuous Positive Airway Pressure
- PAP Positive Airway Pressure
- NAV non-invasive respiratory pressurisation or non-invasive ventilation
- Conventional user interfaces are configured to form a seal with the user's face or upper airway to facilitate adequate pressurisation of the user's respiratory system.
- Forma TM , Oracle TM , Zest TM and Opus TM are examples of sealing respiratory user interfaces produced by Fisher & Paykel Healthcare Limited. These interfaces are configured to seal with a user's face, mouth, nose and nares respectively.
- These interfaces comprise a mask body and sealing cushion.
- the mask body is more rigid than the cushion, and includes a connector for connecting the user interface to a gas delivery conduit.
- the connector can comprise an elbow connector which has a non-aligned inlet and outlet.
- the cushion is typically of a softer, more flexible material such as silicone, that to some extent moulds to the shape of the user's face.
- the seal formed between the interface and user's respiratory system allows the mask pressure to be regulated by reducing gas leaks and providing a controlled breathing gases exhaust. Gases may be exhausted from the user interface directly to the surrounding atmosphere through outlet vents or to another component in the breathing assistance system responsible for controlling the exhaust of breathing gas.
- Non-sealing user interfaces are often employed for supplemental oxygen therapy or other respiratory gases such as Heliox.
- Typical supplemental oxygen therapy interfaces deliver flow rates of supplementary oxygen of up to 5 l/min directly to the user's nares. Air from the user's surroundings is entrained with the oxygen during normal inhalation, the gases combining to deliver a gas mixture with elevated oxygen concentrations to the user's lungs.
- Non-sealing nasal high flow (NHF) nasal cannula such as Fisher & Paykel Healthcare Limited's Optiflow TM Nasal Cannula can be used for flow rate based treatments (including high-flow oxygen therapy).
- NHF therapy the total gas flow is typically up to around 60 l/min.
- Direct delivery of breathing gases to a user's nares can be advantageous as the gases can be administered at a greater temperature and humidity than is viable with facial masks.
- WO2011078703 discloses a user interface which combines a full face or nasal mask having a sealing cushion, with a nasal cannula which is contained within the mask body.
- the user interfaces in that application were directed to the problem, amongst others, of flushing the user's dead space.
- the disclosure may broadly be said to consist in a user interface comprising:
- the flow director may be located upstream of the nasal prong.
- the flow director may comprise a flow duct which extends through the interior chamber to the nasal prong, the first flow path being through the flow duct, the flow duct comprising at least one vent aperture which opens into the interior chamber, the second flow path being through the vent aperture.
- There may be a plurality of vent apertures, and these may be arranged in an array. The or each vent aperture may be located distal from the nasal prong.
- the flow director comprises a coupling configured to fluidly couple the flow director to the user interface.
- the coupling may be configured to couple the flow director to the inlet.
- the inlet may be configured to be connected to a conduit connector, the conduit connector being configured to be connected to a gas delivery conduit, the coupling of the flow director being configured to couple with the conduit connector.
- the conduit connector may be an elbow connector.
- the user interface may be configured to allow relative rotation between the conduit connector and the flow director.
- the coupling may be configured to form an interference fit between the flow director and the user interface.
- the coupling may comprise a snap-fit between the flow director and the user interface.
- the flow duct may be configured to define a non-linear flow path to the nasal prong. At least a portion of the flow duct may be serpentine. A part of the flow duct distal from the nasal cannula may be of greater transverse cross sectional area than another part of the flow duct. An intermediate part of the flow duct may be of relatively narrow transverse cross sectional area.
- the flow duct may be flexible. The shape and/or length of the flow duct may be adjusted.
- the mask inlet comprises a longitudinal inlet axis, the vent aperture in the gas flow director also comprising a longitudinal axis, wherein the axes are substantially parallel.
- the mask inlet preferably directs gas into the mask body such that a substantial part of the gas flow has a predetermined gas flow direction, the vent aperture being configured such that gas flow along the second gas flow path is substantially parallel with the predetermined gas flow direction.
- the user interface may further comprise at least one vent outlet configured to vent gas from the mask to atmosphere.
- the vent outlet may be provided in the mask body.
- the vent outlet may comprise a plurality of mask vent outlets which may be arranged in an array.
- the vent outlet may be provided on a forward part of the mask body, above the inlet.
- the vent outlet may provided on a side part of the mask body, to one side of the inlet.
- the nasal prong may comprise part of a nasal prong assembly mounted in the mask body, the nasal prong assembly comprising a manifold from which the nasal prong projects, and at least one laterally extending arm which extends from the manifold through the interior chamber such that a distal end of the arm projects externally of the mask body, the distal end comprising, or being provided with, the vent outlet, the arm defining a vent passage through a portion of the arm, the vent passage being in fluid communication with the interior chamber and the vent outlet.
- a pair of opposed, laterally extending arms may be provided, wherein each arm is provided with a respective vent passage and vent outlet.
- Each vent outlet may comprise part of an arm vent assembly, the arm vent assembly comprising the vent outlet and the vent outlet passage, the arm vent assembly being attached to the distal end of the laterally extending arm.
- the arm vent assembly may be attached to the distal end of the laterally extending arm via any one or more of:
- the or each vent outlet may project through the sealing cushion.
- the vent outlet may be oriented so as to direct vented gases away from the face of the patient.
- the vent outlet may be oriented to direct vented gases upwardly and/or forwardly with respect to the orientation of the user interface in normal use.
- the vent passage may comprise a vent inlet, configured to be exposed to gases in the interior of the vent body, the vent inlet being spaced from the vent outlet, wherein the vent inlet is positioned part way along the arm, distal from both the vent outlet and the nasal prong.
- the vent passage may comprise a vent inlet, configured to be exposed to gases in the interior of the vent body, the vent inlet being spaced from the vent outlet, wherein the vent inlet is positioned on the arm, distal from the vent outlet but adjacent the nasal prong.
- the vent inlet may be provided on or adjacent the manifold.
- the vent inlet may comprise an arcuate slit.
- the flow duct of the flow director may comprise a single duct that is in fluid communication with the manifold.
- the flow duct of the flow director may be bifurcated so as comprise a pair of ducts each in fluid communication with the manifold.
- the mask cushion may comprise a face contacting portion and at least one thin or compliant region at least partially within the face contacting portion, wherein the thin or compliant region is adapted to accommodate the placement of a tube between the face contacting portion and a face of a user.
- the at least one thin region may be adapted to conform to a shape of the tube while substantially maintaining an adequate seal with the face of the user.
- the least one thin region may be located on a lateral side of the face contacting portion.
- the at least one thin region may comprise a thin region on each lateral side of the face contacting portion.
- a user interface comprising:
- the user interface may comprise a nasal seal portion configured to seal around the underside of the nose of the user.
- a pair of nasal pillows may be provided and configured to be received in, and seal against, respective nares of the user.
- Each nasal pillow may be associated with a respective nasal prong which extends into the nasal pillow.
- Each nasal prong preferably does not project beyond the respective nasal pillow.
- the distal end of each prong, and the prong opening is contained wholly inside the pillow, so as to not to project through the aperture of the pillow.
- the user interface may comprise a full face mask configured to seal around both the mouth and nose of the patient.
- a single seal opening may be provided, exposed to the interior chamber, and configured to seal around the user's mouth and nose.
- the interface may comprise a nasal seal opening configured to seal around the underside of the nose of the user, and a mouth seal opening configured to seal around the user's mouth, both the nasal and mouth seal openings being exposed to the interior chamber.
- a respiratory therapy system comprising the user interface of any one of the preceding statements.
- the respiratory therapy system may further comprise any one or more of:
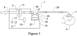
- the example respiratory therapy system 1 comprises a gas source 3, a separate humidifier 5, and a user interface 7.
- the gas source 3 provides a supply of breathing gas to the humidifier 5.
- the gas source could comprise a source of supplementary breathing gas such as pressurised supplementary oxygen, as might be provided in a hospital environment for example.
- the gas source may alternatively or additionally comprise a blower in which breathing gas, being ambient air, is drawn into the gas source 3 through an inlet 9 in the gas source casing by an impeller 11. The rotational speed of the impeller 11 is modulated to regulate the quantity of air drawn into the gas source 3 and the supply of breathing gas to the respiratory therapy system.
- breathing gas we include any single gas or multiple gases that are breathable by a user of the system 1.
- the pressure and/or flow rate of breathing gas exiting the gas source 3 is regulated by a controller 15.
- the controller 15 manipulates the rotational speed of the impeller 11 according to one or more predetermined algorithms and in accordance with one or more user inputs provided via a user input 17.
- the illustrated gas source 3 represents an actively controlled flow generator similar to a hospital compressed air system or a ventilator or home CPAP unit (such as Icon TM or the SleepStyle TM series produced by the Fisher & Paykel Healthcare).
- Other gas sources such as a compressed oxygen cylinder with suitable pressure or flow regulation, may also be used to supply breathing gas.
- the outlet of the gas source 3 may be coupled to a separate humidifier 5.
- the humidifier 5 heats and humidifies the breathing gas prior to delivery to a user 1.
- the humidifier may be integrated with the gas supply.
- the humidifier 5 comprises a base 19 and a humidifier chamber 21.
- the chamber 21 is configured to hold humidification fluid, such as water, 23 and may be able to be disengaged from the humidifier base 19 to allow it to be filled or replaced.
- the humidifier 5 receives gases from the gas source 3 through chamber inlet 25.
- the humidifier base 19 can include a heater such as a heater plate 27.
- the chamber 21 rests on the heater plate 27 when engaged with the humidifier base 19.
- the heater plate 27 dissipates heat, generated by electrical resistance, to the chamber 21.
- the water chamber 21 preferably has a heat conductive base to enable the heat generated by the heater plate 27 to pass efficiently to the humidification fluid 23.
- Controller 15 can also control the humidifier 5, and in particular the supply of electrical energy to the heater plate 27 to regulate the temperature and humidity of the breathing gas supplied to the user.
- the breathing gas is supplied to the user U via a chamber outlet 28 and a breathing gas delivery conduit 29 which may incorporate a heater wire to heat the breathing gases during transportation to the user interface 7.
- the electrical energy supplied to the heater wire may be controlled by controller 15.
- the controller 15 may receive feedback from one or more sensors incorporated in a control network throughout the respiratory therapy system to monitor properties of the breathing gas, such as pressure, flow, temperature and/or humidity.
- the user interface 7 couples the user U with the respiratory therapy system 1, delivering heated and humidified gases from the humidifier 5 to the user's respiratory system.
- the illustrated user interface U comprises a full face mask arranged about a nasal cannula.
- the nasal cannula is enclosed between the user's face and the mask.
- References in this specification to a user interface include a user interface comprising a full face mask covering the mouth and nose of the user, and to a user interface comprising a nasal mask covering only the nose of the user.
- the cannula comprises a pair of nasal prongs that project into the user's nares.
- the prongs preferably have a wide bore to permit high breathing gas flow rates (ideally, capable of delivering enough breathing gas for peak inspiratory demand with the lowest flow resistance), but are non-sealing prongs that do not seal with the user's nostrils.
- the prongs are preferably configured, in particular the bore of the prongs, to be able to deliver a total gas flow of up to about 60 l/min.
- flow through the cannula is continuous and unidirectional to constantly flush both mask and anatomical dead spaces of expired gases.
- Re-inhalation of expired CO2 can be reduced by continuous purging of the user's nares with fresh gas having oxygen concentrations at or above atmospheric air (the oxygen concentrations would be above that of atmospheric air if supplemental oxygen has been added to the flow path) forcing expired gases through the space about the nasal prongs.
- the expired gases are evacuated subsequently from the user interface 2 through an exhaust in the form of a vent located in the mask body.
- breathing gases are delivered at a flow rate exceeding the user's peak inspiratory flow requirements to ensure that expired gases are purged throughout the entire respiratory cycle.
- the delivery and exhaust of gases to and from the mask respectively may be controlled to regulate the pressure within the mask.
- Exhaust gas flow rates may be regulated actively by a component within the breathing assistance system (such as the gas supply device) or passively (by fixing the restriction to gas flow through variable or non-variable outlet vents).
- a combination of active and passive exhausting may be implemented alternatively.
- airway pressure experienced by a user can be regulated by manipulating the gas delivery flow rate supplied to the nasal cannula and the outlet flow rate exhausted from the mask.
- a Positive End Expiratory Pressure can keep the airways and alveoli from collapsing at the end of expiration and also serve to reopen airways and alveoli that have already collapsed.
- the therapeutic provision can improve gas exchange (by way of decreased intra pulmonary shunt), reduce the resistance to airflow (by reducing flow resistance within the lungs), and make the lungs less stiff (increased lung compliance).
- Levels of oxygen and carbon dioxide also may improve, reducing the need for supplemental oxygen and the sensation of breathlessness by the patient.
- PEEP may also improve cardiac performance by increasing mean intra thoracic pressure.
- PEEP is of special advantage to assisting in the treatment of obstructive lung diseases and heart failure, including emphysema, bronchiectasis, chronic bronchitis, cystic fibrosis and pulmonary edema.
- breathing gases can be delivered to the user at, or near, optimal temperature and humidity (warmed and fully saturated with water vapour at body temperature - 37 °C, 44 mg/L humidity) as the gases are delivered predominantly to the user's nares.
- Subjects can tolerate greater gas temperatures and humidity when the gases are delivered to the nares than is viable when administered by facial mask. Emulating the conditions within healthy adult lungs (37 °C, 44 mg/L humidity) can help maintain healthy mucociliary function in users with respiratory disorders affecting secretion.
- the user interface 7 can therefore administer a broad range of treatments viably (including PAP and humidity therapy), as it combines the advantages of a sealing user interface (expiratory pressure regulation) and a high flow nasal interface (dead space flushing and optimal humidity delivery).
- the user interface 7 is configured to provide the different treatments at the same time, or to providing a combination of treatments, or to provide a hybrid therapy, without requiring the user interface 7 to be removed from the user's head and replaced.
- Dead space refers to both apparatus dead space and anatomical dead space.
- Apparatus dead space refers to zones in any additional equipment such as mask and circuits where the expired gas can be re-breathed again.
- Anatomical dead space includes areas in the nose, pharynx, trachea and bronchi where CO2 levels can build up. The high flow nasal interface can provide improved flushing of the anatomical dead space.
- user interface 7 Several embodiments of user interface 7 are described in detail below.
- a user interface 7 comprises, in this example, a full face mask comprising a rigid or semi-rigid mask body 103 to which a relatively soft and flexible mask cushion 105 is attached, preferably by overmoulding 107.
- the mask cushion 105 is configured, by a combination of shape and material selection, to form a seal with the user's face in use, to resist pressurised gas in the user interface 7 from leaking between the cushion 105 and the user's face.
- the mask body 103 is provided with a breathing gas inlet 109 in the form of a circular inlet aperture.
- the aperture could be any other desired shape, including oval for example.
- NIV masks commonly are used on patients who also require a nasogastric (NG) tube, a nasojejunal (NJ) tube and/or an oro-gastric (OG) tube for feeding or delivery of medication.
- NG nasogastric
- NJ nasojejunal
- OG oro-gastric
- NIV masks are not designed for use in combination with an NG, NJ and/or OG tube and, as such, the efficacy of the NIV therapy can be compromised when such a combination is desired.
- Certain features, aspects and advantages of the present embodiments can reduce the gaps that form between the mask cushion 105 and the surface of the user's face when a conduit such as an NG tube 54 is used by providing a conformable or compliant region 105A in the mask cushion 105 that can conform to the NG tube to a degree sufficient to create or maintain an adequate seal with the user's face.
- the conformable or compliant region 105A can be of any suitable arrangement to increase the conformability or compliance of a portion of the cushion 105 relative to adjacent or surrounding portions of the cushion 105. As described herein, the conformable or compliant region 105A can be or comprise a region of thinned material or a region of different material, among other possible arrangements. The conformable or compliant region 105A creates a tube path that is more compliant and flexible than the surrounding or adjacent portions of the cushion 105.
- the conformable or compliant region 105A is more compliant and flexible than any other portion of the cushion 105.
- the conformable or compliant region 105A can stretch and deform around the tube, which results in smaller gaps at the side of the tube than a cushion not having the specially configured tube paths. The size of the gaps will be largely dependent on the tube size that is being used.
- the mask cushion 105 may not lift away from the face to accommodate the tube to the same degree as a traditional mask cushion that does not include tube paths.
- the conformable or compliant region 105A can be of any suitable arrangement that provides for conformance to the type or size of the tube or tubes intended for use with the user interface 7.
- the conformable or compliant region 105A is substantially more conformable or compliant than surrounding or adjacent portions of the cushion 105.
- the increased conformability or compliance is at least partially the result of using a different material in the conformable or compliant region 105A relative to surrounding or adjacent portions of the cushion 105.
- the increased conformability or compliance can be achieved through the localized use of a more elastic and flexible material.
- the different material can have a higher elasticity or different modulus of elasticity compared to the material of surrounding or adjacent regions of the cushion 105.
- Materials can include a different grade of silicone that is less hard or a more flexible TPE, for example but without limitation.
- the different material can also have a different thickness (e.g., less thickness) compared to the material of surrounding or adjacent regions of the cushion 105.
- the different material can be coupled to the material of surrounding or adjacent regions of the cushion 105 by any suitable process, which can include adhesive or chemical bonding or a co-molding or over-molding process, for example and without limitation, or any other appropriate method.
- the different material can extend beyond the conformable or compliant region 105A. For example, such an arrangement can provide a greater surface area overlap for bonding of the two materials to one another.
- a connector being an elbow connector 111, is fluidly coupled to the inlet 109 such that breathing gas can enter the interior of the mask body 103 via the elbow connector 111.
- the coupling between the mask body 103 and the elbow connector 111 may incorporate a rotatable or swivel coupling allowing relative rotation between the mask body 103 and the elbow connector.
- a breathing gas flow director and nasal cannula assembly 113 is mounted inside the user interface 101 in the interior space or chamber defined by the mask body 103 and mask cushion 105.
- the assembly 113 comprises an elongate duct 115 of serpentine form comprising a relatively narrow diameter middle or waist region 116, which flares radially outwardly to define a wider diameter breathing gas inlet end 117 and a wider diameter breathing gas outlet end 119.
- the inlet end 117 comprises a coupling 121 configured to couple the inlet end 117 to a mask coupling 122 of the mask body 103, and in particular to the inlet 109.
- the mask body 103 may be provided with a suitable coupling formation configured to engage with and retain the coupling 121 in the desired position within the mask body 103.
- the coupling 121 could form an interference or friction fit with the mask body 103, or could comprise a positive engagement mechanism, such as a snap-fit type mechanism, for example.
- the outlet end 119 terminates in a nasal cannula comprising a pair of non-sealing nasal prongs 123 which project from the outlet end 119 and are shaped and dimensioned to be received in a user's nares, but not to seal with the nares.
- the prongs 123 are configured such that a gas leak path is defined around the prongs 123 when inserted into the user's nares.
- the assembly 113 further comprises at least one vent aperture (which maybe referred to as a supplementary vent or flow aperture) and in this example, an array of a plurality of vent apertures 125.
- the vent apertures 125 in this example are provided on the outwardly flared inlet end 117 of duct 115, and comprise a first array on an upper part of the inlet end 117, and a second array on a lower part of the inlet end 117.
- the first flow path F1 is from the inlet end 117 to the nasal prongs 123 to deliver breathing gas directly to the nares of the user.
- the second gas flow path F2 is from the inlet end 117 to the vent apertures 125 to deliver breathing gas to the interior space or chamber defined by the mask body 103 and mask cushion 105.
- the first flow path F1 therefore delivers breathing gases directly to the user's nares, whilst the second flow path F2 pressurises the interior of the user interface 7.
- the first flow path F1 assists in flushing dead space of the user, whilst the second flow path F2 delivers pressurised therapy.
- the second flow path F2 can also assist in forming a good seal between the cushion 105 and the user's face.
- the assembly 113 thus functions as a breathing gas flow splitter which generates a plurality of different output flow paths from a single inlet flow source.
- breathing gas is directed to the mask inlet 107 at a pressure P1 and a flow rate F1, where it is divided into two flow paths F2, F3 the first having a pressure P2 and flow F2, and the second having a pressure P3 and flow F3.
- a portion of the breathing gas flows through the vent apertures 125, into the interior of the user interface 101, and a portion of the breathing gas flows through the cannula to the nasal prongs 123.
- Diversion of the breathing gas allows the user interface 7 to provide the pressure support of NIV via the mask body 103 and cushion 105, and the high flow flushing of nasal high flow therapy via the cannula.
- the flow through the cannula has a relatively high flow rate and relatively low pressure
- the flow in the mask body 103 has a relatively high pressure and relatively low flow rate.
- the patient interface 7 defines a notional interface inlet axis 131 which extends through the centre of the inlet 109, the inlet 109 being of tubular form which projects from the front of the mask body 103.
- the interface inlet axis 131 is equivalent to an axis of a cylinder representative of the interface inlet 109.
- the flow director assembly 113 defines a notional coupling axis 133 which extends through the centre of the coupling 121, the coupling 121 also being of tubular form in this example, projecting from the inlet end 117.
- each vent aperture 125 defines a notional vent axis 135 which extends through the centre of each vent aperture 125.
- the coupling axis 133 is substantially parallel with the inlet axis 131, and in this example, these axes are concentric and aligned so as to effectively define a common axis.
- the vent axis 135 is parallel with the inlet axis 131 and/or the coupling axis 133. In the illustrated configuration, the inlet axis 131, coupling axis 133 and vent axis 135 are parallel. The relative alignment and relationship between these axes can assist in reducing the pressure drop of breathing gas passing through the vent hole arrangement into the mask body 103 as it minimizes direction change of the flow.
- the mask coupling 121 of the assembly 113 couples to the mask inlet 109 along the inlet axis 131 and coupling axis 133.
- NIV masks do not require mask vent arrangements, as they have auxiliary vent arrangements (for single limb systems), or an expiratory limb of the ventilator allows the removal of breathing gas during exhalation.
- a mask vent arrangement can be beneficial in ensuring fresh breathing gas is supplied via the cannula assembly 113. This is because as the NHF therapy is supplied, a constant vent from the user interface 101 allows used gas formerly in the user's dead space to be vented and replaced with fresh breathing gas.
- the vent in the mask body is therefore beneficial in that it allows for constant nasal flushing so as to relatively quickly dissipate carbon dioxide before a build-up can occur in the internal chamber of the user interface.
- Each vent arrangement 151 comprises an array of a plurality of vent holes 153. Any number of vent holes 153 can be provided, and in any desired shape and/or size of array. Multiple arrays can be provided.
- the vent array is provided on the front of the mask body 103, directly above the mask inlet 107.
- the vent array is provided on the side of the mask body 103. The orientation of vent holes, number, shape, cross sectional area, and/or location of the vent holes 153 can vary.
- FIG. 11 to 16 a user interface 7 is shown having many of the features described above. Like features have been given like references.
- This example uses an alternative flow director and cannula assembly 213. The principles of operation, and the advantages are similar to those provided by assembly 113.
- the assembly 213 comprises an elongate duct 215 of serpentine form comprising a relatively constant diameter flexible tube comprising a breathing gas inlet end 217 and a breathing gas outlet end 219.
- Duct 215 is adjustable, and this example is length adjustable such that the distance between the inlet end 217 and the outlet end 219 can be varied.
- outlet end 219 of assembly 213 bifurcates into a pair of end tubes 220, each of which is in fluid communication with a respective one of the pair of non-sealing nasal prongs 123.
- the assembly 213 further comprises at least one vent aperture and in this example, an array of a plurality of vent apertures 125. These vent apertures 125 in this example are provided on the inlet end 217, and are spaced around the inlet end 217.
- the nasal prongs 123 in this example are provided on a central manifold 235 or cannula body from which a pair of opposed, laterally extending arms 237 depend.
- Each arm 237 extends laterally away from the manifold 235 and the prongs 123 such that a distal end of each arm 237 projects externally through a respective side portion of the user interface 101.
- each arm 237 projects through the mask cushion 105, but each arm 237 could project through the mask body 103.
- Each arm 237 comprises an atmospheric vent 239 which provides a venting flow path between the interior space or chamber of the user interface 101 and atmosphere, external of the user interface 101.
- each vent 239 is provided as a vent assembly which plugs into, or is otherwise attached to, the distal end of each arm 237.
- Each vent assembly comprises a vent inlet 241, and vent outlet 243 and a vent passage 245 through the vent assembly of the arm 237 which is in fluid communication with the vent inlet and outlet 241, 243.
- Each vent 239 allows gas within the user interface 101 to vent to atmosphere as described above.
- the provision of the laterally extending arms 237 provides further structural integrity to the flow director and cannula assembly 213, and helps to securely locate and retain that assembly 213 in the desired position and orientation within the user interface 101.
- Each vent assembly can be attached to each arm 237 by:
- the arm vent outlet 243 is angled upwards and forwards with respect to a user U of the user interface 101.
- the arm vent outlet 241 could provide an outlet vent flow path in any other orientation. Orientations that face away from the user U may be beneficial as the user U will not feel the vented gas stream created by the vent 239. However for NIV purposes, this may not be required, if the patient is not conscious.
- the arm vent outlet 243 may alternatively be angled downwardly / sideways so as that exhaled gases are directed away from the caregiver's face.
- the inlet end 217 comprises a coupling 221 configured to couple the inlet end 217 to a mask coupling 222 of the mask body 103, and in particular to the inlet 109.
- the mask coupling 222 may comprise a suitable coupling formation configured to engage with and retain the coupling 221 in the desired position within the mask body 103.
- the couplings 221, 222 could form an interference or friction fit with the mask body 103, or could comprise an engagement mechanism, such as a snap-fit type mechanism, for example.
- the couplings 221, 222 are located near the inlet 107 of the user interface 101.
- coupling 221 is inserted into the coupling 222. An interference fit is formed between the two, retaining the assembly 213 in place.
- the user interface 7 is shown connected to an elbow connector 251 which also connects to a gas delivery conduit (not shown) to deliver breathing gas to the user interface 7. Any other type of connector can alternatively be used between the user interface 7 and the gas delivery conduit.
- the elbow connector 251 rotatably connects to the mask inlet 107.
- the coupling 221 of the assembly 213 couples to an interior surface of the elbow connector 251 near the mask inlet 107.
- the coupling 221 comprises a slip ring arrangement, wherein the outer surface of the coupling 221 can rotate with respect to the inner surface of the coupling 221. This allows the elbow connector 251 to rotate with respect to the mask body 103 and the assembly 213, whilst the patient interface 7 remains stationary. Breathing gas is again divided into two flow paths by the follow director assembly 213 to facilitate NIV and NHF.
- FIG. 14 a magnified sagittal cross section of the user interface 7 is shown, focusing on the interaction between the mask inlet 107, coupling 221 and elbow connector 251.
- the coupling 221 includes a coupling internal ring 221A and a coupling external ring 221B.
- the coupling external ring 221B is configured to form an interference fit with the elbow connector 251 at the mask inlet 107.
- the coupling internal ring 221A is integrally formed with the assembly 213, and is configured to fit inside the coupling external ring 221B.
- the internal ring 221A can rotate with respect to the external ring 221B. Therefore, as the elbow connector 251 is rotated in use, the external ring 221B is able to rotate with the elbow connector 251, maintaining its interference fit, while the internal ring 221A remains un-rotated. Again the vent axis is parallel to the coupling axis.
- the duct 215 of assembly 213 is a flexible tube. Additionally, the arms 237 are made from a flexible material, such as silicone. The flexible duct, and flexible arms 237 allow the assembly 213 to fit a wide variety of face shapes and sizes.
- flow director and cannula assembly 213 has been modified to reposition arm vent inlet 241.
- the relative position between the vent inlet 241 and the nasal prongs 123 has been changed.
- the arm vent inlets 241 of this configuration are located relatively close to the nasal prongs 123, on a proximal surface of the central manifold 235 of the nasal cannula. Locating the arm vent inlet 241 close to the nasal prongs 123 can be beneficial in increasing the efficiency with which the user interface 7 vents breathing gas with a relatively high CO2 concentration, as breathing air exhaled by the user is naturally directed into the arm vent inlets 241.
- Each arm vent outlet 243 is included in a vent 239 which is configured as an insert received in the open end of each arm 237.
- the vent 239 is a separate component to the cannula arms.
- the vent 239 can be inserted into the vent channel 245 defined within each arm 237, being secured in place by an interference fit.
- the cushion 105 of the user interface 7 can be sealingly secured between the vent 239 and the respective arm 237.
- the assembly 213 can be overmoulded over the vents 239 to form an integrated component.
- the vents 239 can be an integral part of the arms 237 themselves, that is, moulded simultaneously with the arms, from the same material.
- the vent channel 245 is largely rectangular in transverse cross section, and extends laterally within the arm 237 from the arm vent inlet 241, continuing through the vent 239, to the arm vent outlet 243.
- this channel 245 vents breathing gases from inside the user interface 7, allowing fresh breathing gases to be delivered to the user from the gas supply.
- the arm vent inlet 241 is located on the proximal surface of the nasal cannula manifold, close to the nasal prongs 123. In other configurations, this may not necessarily be the case.
- the arm vent inlet 241 may be spaced further away from the nasal prongs 123, and/or may be on a surface other than the proximal surface (distal surface, upper surface, lower surface etc.).
- the duct 215 meets the nasal cannula manifold 235 at a single point, where the flow is then diverted into each nasal prong 123 via the manifold 235.
- the duct 215 bifurcates into first and second channels 220 prior to contacting the nasal cannula manifold 235, where the divided airflow is directed from each channel 220 into respective nasal prongs 123.
- each arm vent inlet is a single hole
- each arm vent outlet is a single hole. This need not necessarily be the case.
- Each arm vent inlet and arm vent outlet may comprise a number of holes arranged in a way that minimizes sound and flow perturbations.
- a user interface 201 comprises, in this example, a under-nose seal face mask comprising a rigid or semi-rigid mask body 203 to which a relatively soft and flexible mask cushion 205 is attached.
- the mask cushion 205 is configured, by a combination of shape and material selection, to comprise a mouth seal portion 205A and a nose seal portion 205B.
- Mouth seal portion 205A forms a seal around the user's mouth in use, to resist pressurised gas in the user interface 201 from leaking between the cushion 205 and the user's face.
- Nose seal portion 205B forms a seal around the underside of the user's nose.
- Both seal portions 205A, 205B are exposed to the interior space or chamber defined by the mask body 203 and mask cushion 205.
- the mouth seal portion 205A is orientated at approximately 90° or less to nose seal portion 205B, so as to be at a relative angle to comfortably and effectively seal against both the user's nose and mouth.
- the mask body 203 is provided with a breathing gas inlet 209 in the form of an inlet aperture.
- the mask body 203 is provided with connections for providing a four point connection with headgear. In other examples other types of headgear connection can be provided, such as a two point connection for example.
- a breathing gas flow director and nasal cannula assembly 213 is mounted inside the user interface 201 in the interior space or chamber defined by the mask body 203 and mask cushion 205.
- the assembly 213 is mounted to the mask body 203, or to a frame to which the mask body 203 is mounted.
- the assembly 213 is substantially similar to assembly 113 described above, and comprises an elongate duct 215 of serpentine form comprising a relatively narrow diameter middle or waist region 216, which flares radially outwardly to define a wider diameter breathing gas inlet end 217 and an opposed breathing gas outlet end.
- the outlet end terminates in a nasal cannula comprising a pair of non-sealing nasal prongs 223 which project from the outlet end and are shaped and dimensioned to be received in a user's nares, but not to seal with the nares.
- the prongs 223 are configured such that a gas leak path is defined around the prongs 223 when inserted into the user's nares.
- the prongs 223 project into the nose sealing portion 205B through the nasal aperture of respective nares.
- a gas leak path is defined in each nare, around the prongs such that gas can leak from each nare through the nasal apertures.
- the prongs 223 are provided on a manifold 224 of the assembly 213, the manifold 224 fluidly coupling with a bifurcated conduit portion 226 which is in fluid communication with a main gas delivery conduit portion comprising duct regions 215, 216, which extend from outwardly flared inlet end 217.
- the assembly 213 further comprises at least one vent aperture and in this example, an array of a plurality of internal vent apertures or supplementary flow apertures 225.
- the apertures 225 in this example are provided on the outwardly flared inlet end 217 of duct 215, and extend around the circumference of inlet end 217.
- the first flow path delivers breathing gas directly to the nares of the user.
- the second gas flow path deliver breathing gas to the interior space or chamber defined by the mask body 203 and mask cushion 205.
- the first flow path therefore delivers breathing gases directly to the user's nares, whilst the second flow path pressurises the interior of the user interface 201 and indirectly delivers pressurised gases to both the mouth and nose of the user.
- the leak around the prongs 223 also contributed to the pressure in the interior chamber of the user interface 201.
- a user interface 301 comprises, in this example, a nasal pillows type mask comprising a rigid or semi-rigid mask body 303 to which a relatively soft and flexible mask cushion 305 is attached.
- the mask cushion 305 is configured, by a combination of shape and material selection, to comprise only a nose seal portion 305A, configured to seal around the underside of the user's nose.
- the nose seal portion 305A further comprises a pair of nasal pillows 305B configured by shape and material selection to seal inside respective nares of the user.
- the pillows 305B may be configured to inflate in use, to form a seal against the user's nares. Nose seal portion 305A and nasal pillows 305B are exposed to the interior space or chamber defined by the mask body 303 and mask cushion 305.
- a breathing gas flow director and nasal cannula assembly 313 is mounted inside the user interface 301 in the interior space or chamber defined by the mask body 303 and mask cushion 305.
- the assembly 313 is substantially similar to assembly 213 described above. Prongs 323 project into nasal pillows 305B, but not beyond nasal pillows 305B, as can best be seen in Figure 32 .
- the first flow path delivers breathing gas directly to the nares of the user.
- the second gas flow path deliver breathing gas to the interior space or chamber defined by the mask body 303 and mask cushion 305.
- the first flow path therefore delivers breathing gases directly to the user's nares, whilst the second flow path pressurises the interior of the user interface 301.
- the assembly 113 is mounted in elbow 111, with the lower end of assembly 113 engaging with, and being retained by, complementary formations at the lower end of elbow 111.
- the assembly 113 can be retained in the elbow using any other type or position of complimentary formation.
- the engagement between the assembly 113 and elbow 111 is such that the assembly 113 can move with the elbow 111, and can rotate with the elbow 111 if the elbow is rotatable.
- the assembly is also of sufficient flexibility to enable the assembly to move with the elbow.
- the vent apertures 325 are located inside the interior passage of the elbow 111 such that a gases flow path is defined between the interior of the elbow 111 and the interior of the assembly 113.
Landscapes
- Health & Medical Sciences (AREA)
- Pulmonology (AREA)
- Emergency Medicine (AREA)
- Heart & Thoracic Surgery (AREA)
- Anesthesiology (AREA)
- Biomedical Technology (AREA)
- Engineering & Computer Science (AREA)
- Hematology (AREA)
- Life Sciences & Earth Sciences (AREA)
- Animal Behavior & Ethology (AREA)
- General Health & Medical Sciences (AREA)
- Public Health (AREA)
- Veterinary Medicine (AREA)
- Otolaryngology (AREA)
- Respiratory Apparatuses And Protective Means (AREA)
Priority Applications (1)
| Application Number | Priority Date | Filing Date | Title |
|---|---|---|---|
| EP25202137.3A EP4649986A2 (de) | 2017-05-22 | 2018-05-22 | Atmungsbenutzerschnittstelle |
Applications Claiming Priority (3)
| Application Number | Priority Date | Filing Date | Title |
|---|---|---|---|
| US201762509507P | 2017-05-22 | 2017-05-22 | |
| EP18806775.5A EP3630248B1 (de) | 2017-05-22 | 2018-05-22 | Respiratorische benutzerschnittstelle |
| PCT/NZ2018/050070 WO2018217103A1 (en) | 2017-05-22 | 2018-05-22 | A respiratory user interface |
Related Parent Applications (1)
| Application Number | Title | Priority Date | Filing Date |
|---|---|---|---|
| EP18806775.5A Division EP3630248B1 (de) | 2017-05-22 | 2018-05-22 | Respiratorische benutzerschnittstelle |
Related Child Applications (1)
| Application Number | Title | Priority Date | Filing Date |
|---|---|---|---|
| EP25202137.3A Division EP4649986A2 (de) | 2017-05-22 | 2018-05-22 | Atmungsbenutzerschnittstelle |
Publications (3)
| Publication Number | Publication Date |
|---|---|
| EP4201460A1 EP4201460A1 (de) | 2023-06-28 |
| EP4201460A9 true EP4201460A9 (de) | 2024-10-02 |
| EP4201460B1 EP4201460B1 (de) | 2025-09-17 |
Family
ID=64396692
Family Applications (3)
| Application Number | Title | Priority Date | Filing Date |
|---|---|---|---|
| EP25202137.3A Pending EP4649986A2 (de) | 2017-05-22 | 2018-05-22 | Atmungsbenutzerschnittstelle |
| EP18806775.5A Active EP3630248B1 (de) | 2017-05-22 | 2018-05-22 | Respiratorische benutzerschnittstelle |
| EP22210028.1A Active EP4201460B1 (de) | 2017-05-22 | 2018-05-22 | Atmungsbenutzerschnittstelle |
Family Applications Before (2)
| Application Number | Title | Priority Date | Filing Date |
|---|---|---|---|
| EP25202137.3A Pending EP4649986A2 (de) | 2017-05-22 | 2018-05-22 | Atmungsbenutzerschnittstelle |
| EP18806775.5A Active EP3630248B1 (de) | 2017-05-22 | 2018-05-22 | Respiratorische benutzerschnittstelle |
Country Status (5)
| Country | Link |
|---|---|
| US (2) | US11826509B2 (de) |
| EP (3) | EP4649986A2 (de) |
| CN (1) | CN110944704B (de) |
| AU (2) | AU2018273458B2 (de) |
| WO (1) | WO2018217103A1 (de) |
Families Citing this family (10)
| Publication number | Priority date | Publication date | Assignee | Title |
|---|---|---|---|---|
| EP4218874B1 (de) | 2009-12-23 | 2025-11-26 | Fisher & Paykel Healthcare Limited | Schnittstelle |
| GB2541567B (en) | 2014-03-27 | 2020-10-28 | Fisher & Paykel Healthcare Ltd | Pressurizing masks, systems and methods |
| NZ732004A (en) * | 2014-06-19 | 2018-11-30 | ResMed Pty Ltd | Patient interface for respiratory therapy |
| US12059528B2 (en) * | 2018-10-16 | 2024-08-13 | ResMed Pty Ltd | Textile seal-forming structure with multiple curvatures |
| CA3147885A1 (en) * | 2019-07-18 | 2021-01-21 | Fisher & Paykel Healthcare Limited | Patient interface |
| EP4028096B1 (de) * | 2019-09-10 | 2025-11-26 | ResMed Pty Ltd | Patientenschnittstelle |
| GB2597515A (en) * | 2020-07-24 | 2022-02-02 | Flexicare Group Ltd | Nasal Cannula |
| US20220080231A1 (en) * | 2020-09-11 | 2022-03-17 | Msa Technology, Llc | Dual Mode Breathing Apparatus |
| WO2022204761A1 (en) * | 2021-03-31 | 2022-10-06 | ResMed Pty Ltd | Vent arrangements for patient interfaces |
| CN113262370A (zh) * | 2021-05-18 | 2021-08-17 | 深圳语莱扬名数据信息有限公司 | 一种气体吸入装置 |
Family Cites Families (107)
| Publication number | Priority date | Publication date | Assignee | Title |
|---|---|---|---|---|
| US2675803A (en) | 1954-04-20 | Gas feeding mask | ||
| US1896716A (en) | 1926-12-21 | 1933-02-07 | Elmer I Mckesson | Gas handling apparatus |
| US2156852A (en) | 1935-12-24 | 1939-05-02 | Horak Vaclav | Gas mask |
| US2313999A (en) | 1942-06-30 | 1943-03-16 | Air Reduction | Apparatus for administering oxygen |
| US2341566A (en) | 1942-08-22 | 1944-02-15 | Monro Randolph | Noncombatant gas mask |
| US2375803A (en) | 1944-04-18 | 1945-05-15 | United Shoe Machinery Corp | Trimming machine |
| US2693800A (en) | 1951-04-27 | 1954-11-09 | Caldwell Lyle | Nasal cannula |
| US2663297A (en) | 1953-01-19 | 1953-12-22 | Harold G Belasco | Nasal adapter for oxygen inhalation |
| US2868199A (en) | 1955-05-20 | 1959-01-13 | Charles H Hudson | Cannula |
| US3330274A (en) | 1964-10-15 | 1967-07-11 | Puritan Compressed Gas Corp | Oro-nasal face mask with improved pneumatic sealing cuff |
| US3513844A (en) | 1968-04-30 | 1970-05-26 | Metro Hospital Supply Co Inc | Adjustable nonrestrictive nasal cannula |
| US4201205A (en) | 1978-01-20 | 1980-05-06 | Hudson Oxygen Therapy Sales Company | Oxygen mask |
| US4248218A (en) * | 1978-09-22 | 1981-02-03 | Fischer Charles M | Gas administration scavenging mask |
| US4231363A (en) | 1979-01-08 | 1980-11-04 | Grimes Jerry L | Gas delivery face shield |
| US4328797A (en) | 1980-07-23 | 1982-05-11 | Rollins Iii Offord L | Naso-gastric oxygen mask |
| US4354488A (en) | 1980-11-24 | 1982-10-19 | Dow Corning Corporation | Nose mask gas delivery device |
| US4328767A (en) | 1981-04-13 | 1982-05-11 | Peterson Edwin R | Retractable leash collar |
| EP0088761B1 (de) | 1981-04-24 | 1987-08-12 | Somed Pty. Ltd. | Gerät zur behandlung krankhaften schnarchens |
| US5005571A (en) | 1988-11-25 | 1991-04-09 | Dietz Henry G | Mouth nose mask for use with an inhalation therapy and/or breathing monitoring apparatus |
| US5400781A (en) | 1993-08-03 | 1995-03-28 | Davenport; Richard A. | CO2 gas sampling mask having a bevelled sampling tube extending into the mask |
| US5474060A (en) | 1993-08-23 | 1995-12-12 | Evans; David | Face mask with gas sampling port |
| US5724965A (en) | 1995-06-06 | 1998-03-10 | Respironics Inc. | Nasal mask |
| AUPO504597A0 (en) | 1997-02-10 | 1997-03-06 | Resmed Limited | A mask and a vent assembly therefor |
| US6805126B2 (en) | 1998-12-01 | 2004-10-19 | Edward P. Dutkiewicz | Oxygen delivery and gas sensing nasal cannula system |
| CA2262393A1 (en) | 1999-02-19 | 2000-08-19 | Vortex Recoveries Inc. | Waste gas recovery apparatus |
| US6644315B2 (en) | 1999-06-18 | 2003-11-11 | Saeed Ziaee | Nasal mask |
| US6418928B1 (en) * | 2000-09-25 | 2002-07-16 | Mallinckrodt Inc. | Multi-seal respirator mask |
| US7462154B2 (en) | 2001-03-08 | 2008-12-09 | Nihon Kohden Corporation | Sensor for measuring carbon dioxide in respiratory gas |
| US20030024533A1 (en) | 2001-08-02 | 2003-02-06 | Sniadach Joseph A. | Multi-port mask |
| EP1334742B1 (de) | 2001-09-07 | 2008-04-02 | ResMed Ltd. | Maskenanordnung |
| CA2370995C (en) * | 2001-09-13 | 2010-08-17 | Fisher & Paykel Healthcare Limited | Breathing assistance apparatus |
| US6679265B2 (en) | 2001-10-25 | 2004-01-20 | Worldwide Medical Technologies | Nasal cannula |
| EP1471964B1 (de) | 2002-02-04 | 2014-07-23 | Fisher & Paykel Healthcare Limited | Gerät zur atmungshilfe |
| US20030168063A1 (en) | 2002-03-08 | 2003-09-11 | Gambone Anthony Joseph | Pressure face mask and nasal mask |
| GB0300875D0 (en) | 2003-01-15 | 2003-02-12 | Smiths Group Plc | Face masks |
| US7493902B2 (en) | 2003-05-30 | 2009-02-24 | Fisher & Paykel Healthcare Limited | Breathing assistance apparatus |
| US20040244799A1 (en) | 2003-06-03 | 2004-12-09 | Hans Rudolph, Inc. | Tube seal adaptor for face masks |
| US7114497B2 (en) | 2003-07-18 | 2006-10-03 | Acoba, Llc | Method and system of individually controlling airway pressure of a patient's nares |
| EP3395390A1 (de) | 2003-07-30 | 2018-10-31 | Fisher & Paykel Healthcare Limited | Stirnauflage für atemmasken |
| US7353826B2 (en) | 2003-08-08 | 2008-04-08 | Cardinal Health 205, Inc. | Sealing nasal cannula |
| JP2007506480A (ja) | 2003-08-18 | 2007-03-22 | ワンドカ,アンソニー・ディ | 鼻用インターフェイスによる非侵襲的換気のための方法と器具 |
| US7396995B2 (en) | 2003-09-19 | 2008-07-08 | Fisher & Paykel Healthcare Limited | Connector |
| US7255107B1 (en) | 2003-10-14 | 2007-08-14 | Gomez Roy C | Nasal mask assembly for nasal delivery |
| EP3228347B1 (de) | 2003-12-31 | 2020-01-29 | ResMed Pty Ltd | Nasenstück für eine nasale patientenschnittstelle |
| US20060042636A1 (en) * | 2004-08-31 | 2006-03-02 | Nalagatla Anil K | Oral nasal cannula |
| US20090000618A1 (en) | 2004-09-20 | 2009-01-01 | Sydney Warren | Single sided housing for medical canula tubing combining wireless cellular phone and audio technology with oxygen delivery systems |
| US20060081243A1 (en) | 2004-10-15 | 2006-04-20 | Southmedic Incorporated | Patient oxygen delivery mask |
| US20060107958A1 (en) * | 2004-11-22 | 2006-05-25 | Sleeper Geoffrey P | Adjustable sealing nasal cannula |
| US20060169281A1 (en) | 2005-02-03 | 2006-08-03 | Aylsworth Alonzo C | Continuous flow selective delivery of therapeutic gas |
| US7559327B2 (en) | 2005-05-31 | 2009-07-14 | Respcare, Inc. | Ventilation interface |
| CN115089833A (zh) | 2005-06-06 | 2022-09-23 | 瑞思迈私人有限公司 | 面罩系统 |
| US8333199B2 (en) | 2005-09-12 | 2012-12-18 | Mergenet Medical, Inc. | High flow therapy artificial airway interfaces and related methods |
| CA2622189A1 (en) | 2005-09-12 | 2007-03-22 | Mergenet Medical, Inc. | Nasal cannula |
| US20070095348A1 (en) | 2005-10-19 | 2007-05-03 | Joseph Fisher | Particulate blocking oxygen delivery mask |
| US7556043B2 (en) | 2005-10-24 | 2009-07-07 | Ric Investments, Llc | Patient interface with an integral cushion and nasal pillows |
| US8342179B2 (en) | 2005-11-09 | 2013-01-01 | Respan Products, Inc. | Disposable mask assembly with exhaust filter and valve disc and method of assembling same |
| US20070113848A1 (en) | 2005-11-22 | 2007-05-24 | General Electric Company | Respiratory monitoring with cannula receiving respiratory airflows and exhaled gases |
| US7422015B2 (en) | 2005-11-22 | 2008-09-09 | The General Electric Company | Arrangement and method for detecting spontaneous respiratory effort of a patient |
| US20070113856A1 (en) | 2005-11-22 | 2007-05-24 | General Electric Company | Respiratory monitoring with cannula receiving respiratory airflows |
| US7305988B2 (en) | 2005-12-22 | 2007-12-11 | The General Electric Company | Integrated ventilator nasal trigger and gas monitoring system |
| US7448386B2 (en) | 2005-12-07 | 2008-11-11 | Ric Investments, Llc | Full face respiratory mask with integrated nasal interface |
| EP3689407B1 (de) | 2006-07-14 | 2021-09-01 | Fisher & Paykel Healthcare Limited | Atemhilfsgerät |
| US20100113957A1 (en) | 2006-09-11 | 2010-05-06 | Anthony Williams | System, method and apparatus for monitoring a medical condition |
| US20080060653A1 (en) | 2006-09-11 | 2008-03-13 | Michael David Hallett | Mask System with Improved Sealing Properties for Administering Nasal Positive Airway Pressure Therapy |
| US20080078389A1 (en) | 2006-09-29 | 2008-04-03 | Yang Xiao | Heliox delivery system and method with positive pressure support |
| JP4998878B2 (ja) | 2007-02-16 | 2012-08-15 | 日本光電工業株式会社 | 炭酸ガス測定用鼻マスク |
| US8875709B2 (en) * | 2007-05-10 | 2014-11-04 | Resmed Limited | Mask assembly |
| US8833372B2 (en) | 2007-05-29 | 2014-09-16 | Carefusion 207, Inc. | Integrated mask and prongs for nasal CPAP |
| US9393375B2 (en) | 2008-01-07 | 2016-07-19 | Mergenet Solutions | Nasal ventilation interface |
| US10092720B2 (en) | 2008-03-04 | 2018-10-09 | Resmed Limited | Unobtrusive interface systems |
| CA2686149C (en) | 2008-11-17 | 2016-11-01 | The Metrohealth System | Combination lung ventilation and mucus clearance apparatus and method |
| CN102333505B (zh) * | 2008-12-30 | 2014-03-05 | 皇家飞利浦电子股份有限公司 | 用于支持受试者的气道的系统和呼吸用具 |
| IL203129A (en) | 2009-01-05 | 2013-10-31 | Oridion Medical Ltd | Exhalation sampling system with gas supply |
| WO2011030250A1 (en) | 2009-09-11 | 2011-03-17 | Koninklijke Philips Electronics N.V. | Patient interface device including a mechanism for manipulating the position of an internal component thereof |
| DK2488242T3 (da) | 2009-10-14 | 2019-12-02 | Balancair Aps | Medicinsk indåndingsmaske |
| EP4218874B1 (de) | 2009-12-23 | 2025-11-26 | Fisher & Paykel Healthcare Limited | Schnittstelle |
| PL2515632T3 (pl) | 2009-12-24 | 2017-07-31 | Farm Improvements Limited | Urządzenie do podawania płynu |
| US7958889B1 (en) | 2010-01-15 | 2011-06-14 | Aurora L. Fernandez de Castro | Protective face cover and moldable attachment |
| US8616209B2 (en) | 2010-02-19 | 2013-12-31 | Resmed Limited | Supplemental gas delivery device for mask assembly |
| US20120055480A1 (en) | 2010-09-07 | 2012-03-08 | Wilkinson William R | Ventilator systems and methods |
| NZ713455A (en) | 2010-09-30 | 2017-04-28 | Resmed Ltd | Patient interface systems |
| NZ747496A (en) * | 2010-09-30 | 2020-05-29 | ResMed Pty Ltd | Mask system |
| US8567400B2 (en) * | 2010-10-05 | 2013-10-29 | Carefusion 207, Inc. | Non-invasive breathing assistance device with flow director |
| US20120125338A1 (en) | 2010-11-22 | 2012-05-24 | Alireza Yarahmadi | Dual tube mask with nasal cannula |
| US8915250B2 (en) | 2011-05-11 | 2014-12-23 | Carefusion 207, Inc. | Tube placement in non-invasive ventilation |
| US8839791B2 (en) * | 2011-06-22 | 2014-09-23 | Breathe Technologies, Inc. | Ventilation mask with integrated piloted exhalation valve |
| AU2012308554B2 (en) | 2011-09-13 | 2015-08-06 | Resmed Limited | Vent arrangement for respiratory mask |
| US10307562B2 (en) | 2012-04-13 | 2019-06-04 | Fresca Medical, Inc. | Auto-feedback valve for a sleep apnea device |
| CN202590116U (zh) | 2012-04-17 | 2012-12-12 | 宁波圣宇瑞医疗器械有限公司 | 可调节氧气浓度面罩 |
| EP4223343A3 (de) | 2012-07-27 | 2023-08-30 | ResMed Pty Ltd | Patientenschnittstelle und verfahren zur herstellung davon |
| US9302064B2 (en) | 2012-10-17 | 2016-04-05 | Shabina M Hussain | Oxygen face mask with capnometer and side port |
| US20140166015A1 (en) | 2012-12-18 | 2014-06-19 | Herbert Ross Waggoner | Dual mode medical oxygen delivery system |
| US10987477B2 (en) * | 2013-02-04 | 2021-04-27 | ResMed Pty Ltd | Respiratory apparatus |
| US9878121B2 (en) * | 2013-03-13 | 2018-01-30 | Breathe Technologies, Inc. | Ventilation mask with heat and moisture exchange device |
| WO2014138820A1 (en) * | 2013-03-15 | 2014-09-18 | Resmed Limited | Method and apparatus for controlling pressurized gas delivered to a patient |
| EP2994183A1 (de) | 2013-05-09 | 2016-03-16 | Koninklijke Philips N.V. | Stabilisierte maske |
| CN103405843B (zh) | 2013-08-02 | 2015-06-17 | 山东大学 | 一种随体位变化调节呼气正压的通气面罩 |
| CN113952572B (zh) * | 2013-11-15 | 2024-01-23 | 瑞思迈私人有限公司 | 患者接口与用于制造它的方法 |
| CA3215644A1 (en) | 2014-02-26 | 2015-09-03 | Fisher & Paykel Healthcare Limited | Respiratory mask with nasogastric tube path |
| GB2541567B (en) | 2014-03-27 | 2020-10-28 | Fisher & Paykel Healthcare Ltd | Pressurizing masks, systems and methods |
| NZ732004A (en) * | 2014-06-19 | 2018-11-30 | ResMed Pty Ltd | Patient interface for respiratory therapy |
| EP3183023B1 (de) * | 2014-08-20 | 2021-04-14 | Revolutionary Medical Devices, Inc. | Beatmungsmaske |
| NZ767991A (en) | 2014-09-18 | 2023-03-31 | ResMed Pty Ltd | Gas washout vent for patient interface |
| US10094731B2 (en) | 2015-03-24 | 2018-10-09 | Fuji Xerox Co., Ltd. | Standing position evaluation apparatus, standing position evaluation method, and non-transitory computer readable medium |
| EP3915622B1 (de) * | 2015-06-11 | 2023-09-13 | SunMed Group Holdings, LLC | Beatmungsmaske |
| JP6991125B2 (ja) | 2015-07-20 | 2022-01-12 | レスメド・プロプライエタリー・リミテッド | 減容部材を備えた患者インターフェース |
| US10870520B2 (en) | 2018-07-03 | 2020-12-22 | Marc Heinke | Drinking container with pivoting closure |
-
2018
- 2018-05-22 EP EP25202137.3A patent/EP4649986A2/de active Pending
- 2018-05-22 WO PCT/NZ2018/050070 patent/WO2018217103A1/en not_active Ceased
- 2018-05-22 AU AU2018273458A patent/AU2018273458B2/en active Active
- 2018-05-22 US US16/615,751 patent/US11826509B2/en active Active
- 2018-05-22 EP EP18806775.5A patent/EP3630248B1/de active Active
- 2018-05-22 CN CN201880045232.5A patent/CN110944704B/zh active Active
- 2018-05-22 EP EP22210028.1A patent/EP4201460B1/de active Active
-
2023
- 2023-10-20 US US18/491,663 patent/US20240050680A1/en active Pending
-
2024
- 2024-05-08 AU AU2024203019A patent/AU2024203019A1/en active Pending
Also Published As
| Publication number | Publication date |
|---|---|
| EP4201460A1 (de) | 2023-06-28 |
| EP3630248A1 (de) | 2020-04-08 |
| EP4649986A2 (de) | 2025-11-19 |
| EP3630248A4 (de) | 2021-03-10 |
| AU2024203019A1 (en) | 2024-05-23 |
| AU2018273458A1 (en) | 2019-12-19 |
| CN110944704A (zh) | 2020-03-31 |
| AU2018273458B2 (en) | 2024-02-15 |
| EP3630248B1 (de) | 2022-12-14 |
| WO2018217103A9 (en) | 2019-04-25 |
| US11826509B2 (en) | 2023-11-28 |
| US20200101250A1 (en) | 2020-04-02 |
| US20240050680A1 (en) | 2024-02-15 |
| WO2018217103A1 (en) | 2018-11-29 |
| EP4201460B1 (de) | 2025-09-17 |
| CN110944704B (zh) | 2022-12-23 |
Similar Documents
| Publication | Publication Date | Title |
|---|---|---|
| US20240050680A1 (en) | Respiratory user interface | |
| US12364831B2 (en) | Interface |
Legal Events
| Date | Code | Title | Description |
|---|---|---|---|
| PUAI | Public reference made under article 153(3) epc to a published international application that has entered the european phase |
Free format text: ORIGINAL CODE: 0009012 |
|
| STAA | Information on the status of an ep patent application or granted ep patent |
Free format text: STATUS: THE APPLICATION HAS BEEN PUBLISHED |
|
| AC | Divisional application: reference to earlier application |
Ref document number: 3630248 Country of ref document: EP Kind code of ref document: P |
|
| AK | Designated contracting states |
Kind code of ref document: A1 Designated state(s): AL AT BE BG CH CY CZ DE DK EE ES FI FR GB GR HR HU IE IS IT LI LT LU LV MC MK MT NL NO PL PT RO RS SE SI SK SM TR |
|
| STAA | Information on the status of an ep patent application or granted ep patent |
Free format text: STATUS: REQUEST FOR EXAMINATION WAS MADE |
|
| 17P | Request for examination filed |
Effective date: 20231222 |
|
| RBV | Designated contracting states (corrected) |
Designated state(s): AL AT BE BG CH CY CZ DE DK EE ES FI FR GB GR HR HU IE IS IT LI LT LU LV MC MK MT NL NO PL PT RO RS SE SI SK SM TR |
|
| GRAP | Despatch of communication of intention to grant a patent |
Free format text: ORIGINAL CODE: EPIDOSNIGR1 |
|
| STAA | Information on the status of an ep patent application or granted ep patent |
Free format text: STATUS: GRANT OF PATENT IS INTENDED |
|
| INTG | Intention to grant announced |
Effective date: 20241206 |
|
| GRAJ | Information related to disapproval of communication of intention to grant by the applicant or resumption of examination proceedings by the epo deleted |
Free format text: ORIGINAL CODE: EPIDOSDIGR1 |
|
| STAA | Information on the status of an ep patent application or granted ep patent |
Free format text: STATUS: REQUEST FOR EXAMINATION WAS MADE |
|
| GRAP | Despatch of communication of intention to grant a patent |
Free format text: ORIGINAL CODE: EPIDOSNIGR1 |
|
| STAA | Information on the status of an ep patent application or granted ep patent |
Free format text: STATUS: GRANT OF PATENT IS INTENDED |
|
| INTC | Intention to grant announced (deleted) | ||
| INTG | Intention to grant announced |
Effective date: 20250410 |
|
| P01 | Opt-out of the competence of the unified patent court (upc) registered |
Free format text: CASE NUMBER: APP_32054/2025 Effective date: 20250702 |
|
| GRAS | Grant fee paid |
Free format text: ORIGINAL CODE: EPIDOSNIGR3 |
|
| GRAA | (expected) grant |
Free format text: ORIGINAL CODE: 0009210 |
|
| STAA | Information on the status of an ep patent application or granted ep patent |
Free format text: STATUS: THE PATENT HAS BEEN GRANTED |
|
| AC | Divisional application: reference to earlier application |
Ref document number: 3630248 Country of ref document: EP Kind code of ref document: P |
|
| AK | Designated contracting states |
Kind code of ref document: B1 Designated state(s): AL AT BE BG CH CY CZ DE DK EE ES FI FR GB GR HR HU IE IS IT LI LT LU LV MC MK MT NL NO PL PT RO RS SE SI SK SM TR |
|
| REG | Reference to a national code |
Ref country code: GB Ref legal event code: FG4D |
|
| REG | Reference to a national code |
Ref country code: CH Ref legal event code: EP |
|
| REG | Reference to a national code |
Ref country code: IE Ref legal event code: FG4D |
|
| REG | Reference to a national code |
Ref country code: DE Ref legal event code: R096 Ref document number: 602018085785 Country of ref document: DE |