EP4064797A1 - Kommunikations-gateway-modul - Google Patents

Kommunikations-gateway-modul Download PDF

Info

Publication number
EP4064797A1
EP4064797A1 EP21165124.5A EP21165124A EP4064797A1 EP 4064797 A1 EP4064797 A1 EP 4064797A1 EP 21165124 A EP21165124 A EP 21165124A EP 4064797 A1 EP4064797 A1 EP 4064797A1
Authority
EP
European Patent Office
Prior art keywords
gateway module
bus
terminals
communication gateway
dali
Prior art date
Legal status (The legal status is an assumption and is not a legal conclusion. Google has not performed a legal analysis and makes no representation as to the accuracy of the status listed.)
Granted
Application number
EP21165124.5A
Other languages
English (en)
French (fr)
Other versions
EP4064797B1 (de
Inventor
Alekssander Santiago
Adam Baker
Deepak MAKWANA
Jagjitpati SHUKLA
Current Assignee (The listed assignees may be inaccurate. Google has not performed a legal analysis and makes no representation or warranty as to the accuracy of the list.)
Tridonic GmbH and Co KG
Original Assignee
Tridonic GmbH and Co KG
Priority date (The priority date is an assumption and is not a legal conclusion. Google has not performed a legal analysis and makes no representation as to the accuracy of the date listed.)
Filing date
Publication date
Application filed by Tridonic GmbH and Co KG filed Critical Tridonic GmbH and Co KG
Priority to EP21165124.5A priority Critical patent/EP4064797B1/de
Priority to PCT/EP2022/057511 priority patent/WO2022200361A1/en
Publication of EP4064797A1 publication Critical patent/EP4064797A1/de
Application granted granted Critical
Publication of EP4064797B1 publication Critical patent/EP4064797B1/de
Active legal-status Critical Current
Anticipated expiration legal-status Critical

Links

Images

Classifications

    • HELECTRICITY
    • H05ELECTRIC TECHNIQUES NOT OTHERWISE PROVIDED FOR
    • H05BELECTRIC HEATING; ELECTRIC LIGHT SOURCES NOT OTHERWISE PROVIDED FOR; CIRCUIT ARRANGEMENTS FOR ELECTRIC LIGHT SOURCES, IN GENERAL
    • H05B47/00Circuit arrangements for operating light sources in general, i.e. where the type of light source is not relevant
    • H05B47/10Controlling the light source
    • H05B47/175Controlling the light source by remote control
    • H05B47/18Controlling the light source by remote control via data-bus transmission
    • HELECTRICITY
    • H05ELECTRIC TECHNIQUES NOT OTHERWISE PROVIDED FOR
    • H05BELECTRIC HEATING; ELECTRIC LIGHT SOURCES NOT OTHERWISE PROVIDED FOR; CIRCUIT ARRANGEMENTS FOR ELECTRIC LIGHT SOURCES, IN GENERAL
    • H05B47/00Circuit arrangements for operating light sources in general, i.e. where the type of light source is not relevant
    • H05B47/10Controlling the light source
    • H05B47/175Controlling the light source by remote control
    • H05B47/19Controlling the light source by remote control via wireless transmission
    • HELECTRICITY
    • H05ELECTRIC TECHNIQUES NOT OTHERWISE PROVIDED FOR
    • H05BELECTRIC HEATING; ELECTRIC LIGHT SOURCES NOT OTHERWISE PROVIDED FOR; CIRCUIT ARRANGEMENTS FOR ELECTRIC LIGHT SOURCES, IN GENERAL
    • H05B47/00Circuit arrangements for operating light sources in general, i.e. where the type of light source is not relevant
    • H05B47/10Controlling the light source
    • H05B47/175Controlling the light source by remote control
    • H05B47/18Controlling the light source by remote control via data-bus transmission
    • H05B47/183Controlling the light source by remote control via data-bus transmission using digital addressable lighting interface [DALI] communication protocols

Definitions

  • the invention relates, in general, to LED lighting wireless control modules.
  • the invention relates to a communication gateway module for translating between a wired (e.g.) DALI bus communication and a (non-DALI) wireless communication.
  • LED drivers which comprise a control interface, allow their light output to be dynamically controlled.
  • the DALI control interface is one of the most common control interfaces used in LED lighting.
  • a DALI interface allows a digital signal to be sent over two wires from a controller to a LED driver (see Fig. 1(a) ).
  • the DALI control interface can be extended to include wireless devices as well.
  • the two wires interface can be replaced by a wireless intermediate gateway, as shown in Fig. 1(b) .
  • Fig. 1(a) only the DALI wires are represented. However, most of the devices in the market are powered either via the DALI wires themselves or they possess their own power supply, for example from a mains converter (see Fig. 2 ).
  • Devices with internal power supply may or may not have integrated DALI power supply.
  • Devices with integrated DALI power supply provide energy to the DALI bus exclusively or in conjunction with another DALI power supply.
  • the only restriction imposed by DALI in terms of paralleling DALI power supplies is that the total current circulating on the DALI bus cannot exceed the bus limit or 250 mA and the peak transient current of 450 mA. So, multiple power supplies can provide energy to the same bus.
  • the invention relates to a communication gateway module having: a wireless interface, a wired bus interface comprising wired bus terminals, e.g. a DALI bus interface, a mains supply interface comprising mains voltage terminals; and a control circuit.
  • the control circuit is configured to determine whether a mains voltage is supplied to the mains supply terminals and to power the gateway module in the positive case, and to determine whether a bus with non-zero quiescent state, such as e.g. a DALI bus, is connected to the wired bus terminals, and to power the gateway module off the wired bus terminals in case no mains voltage is supplied at mains voltage terminals.
  • gateway module can be powered both by the mains supply or the wired bus interface, e.g. a DALI power supply.
  • the communication gateway module further comprises a bus voltage supply unit for supplying the bus at the wired bus terminals with electrical power off the mains voltage terminals.
  • the communication gateway module comprises a first current limiting circuit configured to limit any current drawn from the wired bus terminals.
  • the communication gateway module comprises a second current limiting circuitry configured to limit any current supplied to the wired bus terminals.
  • the communication gateway module comprises a circuitry for commutating the polarity of the voltage of the electrical power supplied to the bus at the wired bus terminals.
  • the communication gateway module comprises an inverting stage configured to operate as a rectifier when supply is drawn from the bus terminals.
  • the invention relates to an LED lighting system.
  • the LED lighting system comprises a communication gateway module of the first aspect or any of its embodiments, and an LED driver.
  • the invention relates to an LED luminaire.
  • the luminaire comprises a communication gateway module of the first aspect or any of its embodiments; an LED driver; and a light source comprising one or more LEDs or OLEDs, the light source being operable by the LED driver.
  • LED luminaire shall mean a luminaire with a light source comprising one or more LEDs or OLEDs. LEDs are well-known in the art, and therefore, will only briefly be discussed to provide a complete description of the invention.
  • the aspect of the present invention might contain integrated circuits that are readily manufacturable using conventional semiconductor technologies, such as complementary metal-oxide semiconductor technology, short "CMOS".
  • CMOS complementary metal-oxide semiconductor technology
  • the aspects of the present invention may be implemented with other manufacturing processes for making optical as well as electrical devices.
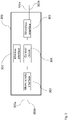
  • a communication gateway module 300 is shown according to an embodiment.
  • the communication gateway module 300 comprises a wireless interface 301 (antenna not shown), a wired bus interface 302 comprising wired bus terminals 302a, 302b, e.g. a DALI bus interface, a mains supply interface 303 comprising mains voltage terminals 303a, 303b; and a control circuit 304.
  • the control circuit 304 controls the power supply of the communication gateway module 300 and the communication over the interfaces 301 and 302.
  • the control circuit is connected to the interfaces 301, 302 and the mains supply interface 303.
  • the communication gateway module 300 is configured to determine whether a mains voltage is supplied to the mains supply terminals 303a, 303b and to power the gateway module 300 in the positive case.
  • the communication gateway module 300 is configured to determine whether a bus with non-zero quiescent state is connected to the wired bus terminals 302a, 302b, and to power the gateway module 300 off the wired bus terminals 302a, 302b in case no mains voltage is supplied at mains voltage terminals 303a, 303b.
  • the communication gateway module 300 is configured to select its power source regardless of the sources available, DALI, internal power supply or both.
  • the communication gateway module 300 can draw limited power from the DALI bus (limited meaning within the limitations of the DALI specification).
  • the communication gateway module 300 is provided with mains supply terminals 303a and 303b.
  • the control circuit 304 in the communication gateway module 300 can determine whether mains and/or DALI power supply is available at the respective terminals. In case mains power supply is available, the priority is on the mains power supply.
  • the communication gateway module 300 is configured to select the supply source according to any one of the combinations shown in the table below and can possess an integrated DALI Power Supply (IDPS), see circuit 403 on Figure 4 , as well.
  • IDPS integrated DALI Power Supply
  • the communication gateway module 300 is provided with a circuitry to power the DALI bus, provided that it is itself provided with mains supply voltage.
  • Fig. 4 shows a communication gateway module 300 according to an embodiment.
  • an AC/DC converter 401 is arranged for being supplied with AC mains voltage from the terminals 303a and 303b and for outputting a DC voltage.
  • the DV voltage is supplied e.g. to a low voltage power supply unit 402. Moreover, it provides energy to the control circuit 304 and its IDPS designated.
  • the low voltage power supply (LVPS) 402 is configured to power the control circuit 304, off the DC voltage supplied by the AC/DC converter (401).
  • the control circuit 304 may comprise a microcontroller and RF transceiver, both of which can be integrated as system-on-chip (SoC).
  • a first current limiting circuit 403 is connected directly to the output of the AC/DC converter 401 and represents the IDPS according to this embodiment. It can be configured to limit the amount of current provided to the DALI bus according to the DALI specification.
  • a second current limiting circuitry 404 limits the current in opposite direction to the first one, limiting the amount of current drawn from the DALI bus, when the DALI bus is used as main power source. Both circuits can be controllable by the control circuit 304 such that the control circuit can e.g. also disable them.
  • Both current limiting circuitries can be bypassed by a semiconductor (e.g. diode) in anti-parallel position, to allow the current to flow in both directions.
  • a semiconductor e.g. diode
  • the control circuit 304 has a power supply and a RF control responsible for the DALI communications, RF communications and the control of the current limiting circuits 403, 404.
  • a DALI TX and DALI RX interface 302 is is configured to receive and transmit according to DALI specifications. It is controlled by the control unit 304.
  • Fig. 5 shows a flow chart 500 of an operation of the communication gateway module 300 according to an embodiment.
  • step 504 it is checked if the mains voltage is present at the mains terminals. If yes, then in step 505 it is checked for an external power supply supplying the DALI bus with power. In particular, it is checked in step 508 if the DALI bus is high. If yes, then a configuration of the system or the communication gateway module 300 is checked in step 509. In particular, a user input can be used to determine whether the internal power supply IDPS of the communication gateway module 300 should or should not operate when the DALI bus is already powered. This ability provides flexibility to scale up the power of the communication gateway module 300 or to avoid exceeding the DALI system requirements. This input can be in many forms, such as configuration file, settings, button in interface, etc. Afterwards, it is checked if there is a multi-power supplied system in step 510. If yes, then the IDPS is enabled in step 507 and the DALI wireless gateway functions are resumed in step 506.
  • step 504 If the mains is not present in step 504, then the communication gateway module 300 is powered by DALI supply in step 503 and the DALI wireless gateway functions are resumed in step 506.
  • step 508 if the DALI bus is not high in step 508, then the IDPS is enabled in step 507 and, afterwards, the DALI wireless gateway functions are resumed in step 506.
  • step510 the system or communication gateway module 300 is not a multi-power supplied system, then the DALI wireless gateway functions are resumed in step506.
  • Fig. 6 shows the first current limiting circuit 403 and the second current limiting circuit 404 of a communication gateway module 300 according to an embodiment.
  • the AC/DC converter 401 comprises a flyback converter for supplying a regulated DC voltage at a capacitor C1.
  • the elements D7, R2, Q1, Q2, R1, D1, Q5 and VCTRL1 are part of DALI power supply and are used when the communication gateway module 300 is mains supplied and supplies DALI bus.
  • the elements D6, R3, Q3, Q4, R5, D2, Q6, R4 and Q11 are part of the circuit used when the communication gateway module 300 is supplied by a DALI bus.
  • the commands VCTRL1 and VCTRL2 are controller signals that are configured to enable and disable the current limiting circuits 403 and 404 depending on the mode of operation.
  • the command VCTRL1 enables the DALI power supply when the communication gateway module 300 is mains supplied, while the command VCTRL2 disables the current limiting circuit 403 and 404 when the communication gateway module 300 is mains supplied.
  • the command VCTRL1 disables the DALI power supply, while, when DALI bus power is supplied, the current limiting circuit 404 is automatically enabled via R4 and Q6 and can only be disabled via the command VCTRL2.
  • Fig. 7 shows a first current limiting circuit 403, a second current limiting circuit 404 and an inverter/rectifying circuit 601 of a communication gateway module 300 according to an embodiment.
  • the inverting stage 601 is added to the previous embodiment shown in Fig. 6 .
  • the inverting/rectifying section 601 of the circuit allows any DALI polarity on the DALI bus by enabling Q7 and Q10 or Q8 and Q9 pairs.
  • the DALI voltage polarity can be adjusted to match other power supplies on the bus, if existing.
  • the diodes D4, D5, D8 and D9 rectify the DALI input voltage to allow any wire polarity connection.
  • the inverter/rectifier circuitry 601 allows to switch the polarity of the voltage supplied to the DALI bus terminals 302a and 302b.
  • LED lighting system and an LED luminaire according to an embodiments.
  • the LED lighting system comprises a communication gateway module 300 according to an embodiment; and an LED driver.
  • the LED luminaire comprises a communication gateway module 300 according to an embodiment; an LED driver; and a light source comprising one or more LEDs or OLEDs.
  • the light source is operable by the LED driver.

Landscapes

  • Engineering & Computer Science (AREA)
  • Computer Networks & Wireless Communication (AREA)
  • Small-Scale Networks (AREA)
  • Remote Monitoring And Control Of Power-Distribution Networks (AREA)
EP21165124.5A 2021-03-26 2021-03-26 Kommunikations-gateway-modul Active EP4064797B1 (de)

Priority Applications (2)

Application Number Priority Date Filing Date Title
EP21165124.5A EP4064797B1 (de) 2021-03-26 2021-03-26 Kommunikations-gateway-modul
PCT/EP2022/057511 WO2022200361A1 (en) 2021-03-26 2022-03-22 Communication gateway module

Applications Claiming Priority (1)

Application Number Priority Date Filing Date Title
EP21165124.5A EP4064797B1 (de) 2021-03-26 2021-03-26 Kommunikations-gateway-modul

Publications (2)

Publication Number Publication Date
EP4064797A1 true EP4064797A1 (de) 2022-09-28
EP4064797B1 EP4064797B1 (de) 2023-12-27

Family

ID=75252356

Family Applications (1)

Application Number Title Priority Date Filing Date
EP21165124.5A Active EP4064797B1 (de) 2021-03-26 2021-03-26 Kommunikations-gateway-modul

Country Status (2)

Country Link
EP (1) EP4064797B1 (de)
WO (1) WO2022200361A1 (de)

Citations (3)

* Cited by examiner, † Cited by third party
Publication number Priority date Publication date Assignee Title
US20170231065A1 (en) * 2014-10-30 2017-08-10 Tridonic Gmbh & Co Kg Method for Controlling an Operating Device for Lighting Means
GB2554987A (en) * 2016-08-19 2018-04-18 Leviton Manufacturing Co Supplemental power system for power over ethernet lighting luminaries
WO2020194355A1 (en) * 2019-03-26 2020-10-01 Beghelli S.P.A. Apparatus and method for a remote control of emergency lighting equipment

Patent Citations (3)

* Cited by examiner, † Cited by third party
Publication number Priority date Publication date Assignee Title
US20170231065A1 (en) * 2014-10-30 2017-08-10 Tridonic Gmbh & Co Kg Method for Controlling an Operating Device for Lighting Means
GB2554987A (en) * 2016-08-19 2018-04-18 Leviton Manufacturing Co Supplemental power system for power over ethernet lighting luminaries
WO2020194355A1 (en) * 2019-03-26 2020-10-01 Beghelli S.P.A. Apparatus and method for a remote control of emergency lighting equipment

Also Published As

Publication number Publication date
WO2022200361A1 (en) 2022-09-29
EP4064797B1 (de) 2023-12-27

Similar Documents

Publication Publication Date Title
CN111052864B (zh) 向照明设备的部件供电的电路以及包括该电路的照明设备
EP3504936B1 (de) Steuerung einer isolierten hilfsstromversorgung und dali-versorgung für sr-led-treiber
TWI578843B (zh) 發光二極體驅動電路
KR101790046B1 (ko) 보조배터리를 이용한 마스터장치의 충전장치 및 방법
EP2815492B1 (de) Lasttreiber und verfahren zur verringerung des ausgangswelligkeitsstroms eines lasttreibers
CN204707310U (zh) 多路调光装置及应用其的照明装置
EP4064797B1 (de) Kommunikations-gateway-modul
EP3057213A1 (de) Vorrichtung zum ausführen einer hybriden leistungsregelung in einer elektronischen vorrichtung mit hilfe eines getrennten ausgangsleistungsknotens zur mehrzweckverwendung von auftrieb
US12526888B2 (en) Control integrated circuit for controlling an operating device for lighting means; operating device; luminaire and method for operating a control integrated circuit
CN216600133U (zh) 一种恒光通量的led电源
US9693404B1 (en) Negative current sensing method for multi-channel LED driver
CN209982778U (zh) 智能化cob光引擎模组
EP3755123B1 (de) Kommunikationsschnittstelle für beleuchtungsmittel
CN114786292A (zh) 一种用于大功率电源解决电路中的异常测试控制电路
US11317494B2 (en) Linear luminance adjusting circuit
US11765802B2 (en) Isolated primary side switched converter for LED loads
KR102142638B1 (ko) 전류 경로 전환에 기초하여 동작하는 조명 기기
US12062872B2 (en) Adapter for electrically connecting a lighting device to an electrical track
KR102620382B1 (ko) 다수의 소출력 전력모듈로 고출력을 만드는 전기차 충전모듈 및 그 충전모듈의 구동방법
CN110771262B (zh) 用于提供功率转换器的装置和系统
CN222283522U (zh) 一种应用于led照明装置的驱动电路
CN214757024U (zh) 调光电路和调光系统
CN115209590A (zh) 用于照明装置的操作设备
KR20090131279A (ko) 교류 및 직류 겸용 엘이디 조명 장치
TW202133683A (zh) 防爆燈控系統

Legal Events

Date Code Title Description
PUAI Public reference made under article 153(3) epc to a published international application that has entered the european phase

Free format text: ORIGINAL CODE: 0009012

STAA Information on the status of an ep patent application or granted ep patent

Free format text: STATUS: THE APPLICATION HAS BEEN PUBLISHED

AK Designated contracting states

Kind code of ref document: A1

Designated state(s): AL AT BE BG CH CY CZ DE DK EE ES FI FR GB GR HR HU IE IS IT LI LT LU LV MC MK MT NL NO PL PT RO RS SE SI SK SM TR

STAA Information on the status of an ep patent application or granted ep patent

Free format text: STATUS: REQUEST FOR EXAMINATION WAS MADE

17P Request for examination filed

Effective date: 20230125

RBV Designated contracting states (corrected)

Designated state(s): AL AT BE BG CH CY CZ DE DK EE ES FI FR GB GR HR HU IE IS IT LI LT LU LV MC MK MT NL NO PL PT RO RS SE SI SK SM TR

GRAP Despatch of communication of intention to grant a patent

Free format text: ORIGINAL CODE: EPIDOSNIGR1

STAA Information on the status of an ep patent application or granted ep patent

Free format text: STATUS: GRANT OF PATENT IS INTENDED

INTG Intention to grant announced

Effective date: 20230831

GRAS Grant fee paid

Free format text: ORIGINAL CODE: EPIDOSNIGR3

GRAA (expected) grant

Free format text: ORIGINAL CODE: 0009210

STAA Information on the status of an ep patent application or granted ep patent

Free format text: STATUS: THE PATENT HAS BEEN GRANTED

AK Designated contracting states

Kind code of ref document: B1

Designated state(s): AL AT BE BG CH CY CZ DE DK EE ES FI FR GB GR HR HU IE IS IT LI LT LU LV MC MK MT NL NO PL PT RO RS SE SI SK SM TR

REG Reference to a national code

Ref country code: GB

Ref legal event code: FG4D

REG Reference to a national code

Ref country code: DE

Ref legal event code: R084

Ref document number: 602021007990

Country of ref document: DE

Ref country code: CH

Ref legal event code: EP

P01 Opt-out of the competence of the unified patent court (upc) registered

Effective date: 20231130

REG Reference to a national code

Ref country code: DE

Ref legal event code: R096

Ref document number: 602021007990

Country of ref document: DE

REG Reference to a national code

Ref country code: IE

Ref legal event code: FG4D

PG25 Lapsed in a contracting state [announced via postgrant information from national office to epo]

Ref country code: GR

Free format text: LAPSE BECAUSE OF FAILURE TO SUBMIT A TRANSLATION OF THE DESCRIPTION OR TO PAY THE FEE WITHIN THE PRESCRIBED TIME-LIMIT

Effective date: 20240328

REG Reference to a national code

Ref country code: LT

Ref legal event code: MG9D

PG25 Lapsed in a contracting state [announced via postgrant information from national office to epo]

Ref country code: LT

Free format text: LAPSE BECAUSE OF FAILURE TO SUBMIT A TRANSLATION OF THE DESCRIPTION OR TO PAY THE FEE WITHIN THE PRESCRIBED TIME-LIMIT

Effective date: 20231227

PG25 Lapsed in a contracting state [announced via postgrant information from national office to epo]

Ref country code: ES

Free format text: LAPSE BECAUSE OF FAILURE TO SUBMIT A TRANSLATION OF THE DESCRIPTION OR TO PAY THE FEE WITHIN THE PRESCRIBED TIME-LIMIT

Effective date: 20231227

PG25 Lapsed in a contracting state [announced via postgrant information from national office to epo]

Ref country code: LT

Free format text: LAPSE BECAUSE OF FAILURE TO SUBMIT A TRANSLATION OF THE DESCRIPTION OR TO PAY THE FEE WITHIN THE PRESCRIBED TIME-LIMIT

Effective date: 20231227

Ref country code: GR

Free format text: LAPSE BECAUSE OF FAILURE TO SUBMIT A TRANSLATION OF THE DESCRIPTION OR TO PAY THE FEE WITHIN THE PRESCRIBED TIME-LIMIT

Effective date: 20240328

Ref country code: FI

Free format text: LAPSE BECAUSE OF FAILURE TO SUBMIT A TRANSLATION OF THE DESCRIPTION OR TO PAY THE FEE WITHIN THE PRESCRIBED TIME-LIMIT

Effective date: 20231227

Ref country code: ES

Free format text: LAPSE BECAUSE OF FAILURE TO SUBMIT A TRANSLATION OF THE DESCRIPTION OR TO PAY THE FEE WITHIN THE PRESCRIBED TIME-LIMIT

Effective date: 20231227

Ref country code: BG

Free format text: LAPSE BECAUSE OF FAILURE TO SUBMIT A TRANSLATION OF THE DESCRIPTION OR TO PAY THE FEE WITHIN THE PRESCRIBED TIME-LIMIT

Effective date: 20240327

REG Reference to a national code

Ref country code: NL

Ref legal event code: MP

Effective date: 20231227

REG Reference to a national code

Ref country code: AT

Ref legal event code: MK05

Ref document number: 1645767

Country of ref document: AT

Kind code of ref document: T

Effective date: 20231227

PG25 Lapsed in a contracting state [announced via postgrant information from national office to epo]

Ref country code: NL

Free format text: LAPSE BECAUSE OF FAILURE TO SUBMIT A TRANSLATION OF THE DESCRIPTION OR TO PAY THE FEE WITHIN THE PRESCRIBED TIME-LIMIT

Effective date: 20231227

PG25 Lapsed in a contracting state [announced via postgrant information from national office to epo]

Ref country code: SE

Free format text: LAPSE BECAUSE OF FAILURE TO SUBMIT A TRANSLATION OF THE DESCRIPTION OR TO PAY THE FEE WITHIN THE PRESCRIBED TIME-LIMIT

Effective date: 20231227

Ref country code: RS

Free format text: LAPSE BECAUSE OF FAILURE TO SUBMIT A TRANSLATION OF THE DESCRIPTION OR TO PAY THE FEE WITHIN THE PRESCRIBED TIME-LIMIT

Effective date: 20231227

Ref country code: NO

Free format text: LAPSE BECAUSE OF FAILURE TO SUBMIT A TRANSLATION OF THE DESCRIPTION OR TO PAY THE FEE WITHIN THE PRESCRIBED TIME-LIMIT

Effective date: 20240327

Ref country code: NL

Free format text: LAPSE BECAUSE OF FAILURE TO SUBMIT A TRANSLATION OF THE DESCRIPTION OR TO PAY THE FEE WITHIN THE PRESCRIBED TIME-LIMIT

Effective date: 20231227

Ref country code: LV

Free format text: LAPSE BECAUSE OF FAILURE TO SUBMIT A TRANSLATION OF THE DESCRIPTION OR TO PAY THE FEE WITHIN THE PRESCRIBED TIME-LIMIT

Effective date: 20231227

Ref country code: HR

Free format text: LAPSE BECAUSE OF FAILURE TO SUBMIT A TRANSLATION OF THE DESCRIPTION OR TO PAY THE FEE WITHIN THE PRESCRIBED TIME-LIMIT

Effective date: 20231227

PG25 Lapsed in a contracting state [announced via postgrant information from national office to epo]

Ref country code: IS

Free format text: LAPSE BECAUSE OF FAILURE TO SUBMIT A TRANSLATION OF THE DESCRIPTION OR TO PAY THE FEE WITHIN THE PRESCRIBED TIME-LIMIT

Effective date: 20240427

PG25 Lapsed in a contracting state [announced via postgrant information from national office to epo]

Ref country code: CZ

Free format text: LAPSE BECAUSE OF FAILURE TO SUBMIT A TRANSLATION OF THE DESCRIPTION OR TO PAY THE FEE WITHIN THE PRESCRIBED TIME-LIMIT

Effective date: 20231227

Ref country code: AT

Free format text: LAPSE BECAUSE OF FAILURE TO SUBMIT A TRANSLATION OF THE DESCRIPTION OR TO PAY THE FEE WITHIN THE PRESCRIBED TIME-LIMIT

Effective date: 20231227

PG25 Lapsed in a contracting state [announced via postgrant information from national office to epo]

Ref country code: SK

Free format text: LAPSE BECAUSE OF FAILURE TO SUBMIT A TRANSLATION OF THE DESCRIPTION OR TO PAY THE FEE WITHIN THE PRESCRIBED TIME-LIMIT

Effective date: 20231227

PG25 Lapsed in a contracting state [announced via postgrant information from national office to epo]

Ref country code: SM

Free format text: LAPSE BECAUSE OF FAILURE TO SUBMIT A TRANSLATION OF THE DESCRIPTION OR TO PAY THE FEE WITHIN THE PRESCRIBED TIME-LIMIT

Effective date: 20231227

Ref country code: SK

Free format text: LAPSE BECAUSE OF FAILURE TO SUBMIT A TRANSLATION OF THE DESCRIPTION OR TO PAY THE FEE WITHIN THE PRESCRIBED TIME-LIMIT

Effective date: 20231227

Ref country code: RO

Free format text: LAPSE BECAUSE OF FAILURE TO SUBMIT A TRANSLATION OF THE DESCRIPTION OR TO PAY THE FEE WITHIN THE PRESCRIBED TIME-LIMIT

Effective date: 20231227

Ref country code: IT

Free format text: LAPSE BECAUSE OF FAILURE TO SUBMIT A TRANSLATION OF THE DESCRIPTION OR TO PAY THE FEE WITHIN THE PRESCRIBED TIME-LIMIT

Effective date: 20231227

Ref country code: IS

Free format text: LAPSE BECAUSE OF FAILURE TO SUBMIT A TRANSLATION OF THE DESCRIPTION OR TO PAY THE FEE WITHIN THE PRESCRIBED TIME-LIMIT

Effective date: 20240427

Ref country code: EE

Free format text: LAPSE BECAUSE OF FAILURE TO SUBMIT A TRANSLATION OF THE DESCRIPTION OR TO PAY THE FEE WITHIN THE PRESCRIBED TIME-LIMIT

Effective date: 20231227

Ref country code: CZ

Free format text: LAPSE BECAUSE OF FAILURE TO SUBMIT A TRANSLATION OF THE DESCRIPTION OR TO PAY THE FEE WITHIN THE PRESCRIBED TIME-LIMIT

Effective date: 20231227

Ref country code: AT

Free format text: LAPSE BECAUSE OF FAILURE TO SUBMIT A TRANSLATION OF THE DESCRIPTION OR TO PAY THE FEE WITHIN THE PRESCRIBED TIME-LIMIT

Effective date: 20231227

PG25 Lapsed in a contracting state [announced via postgrant information from national office to epo]

Ref country code: PL

Free format text: LAPSE BECAUSE OF FAILURE TO SUBMIT A TRANSLATION OF THE DESCRIPTION OR TO PAY THE FEE WITHIN THE PRESCRIBED TIME-LIMIT

Effective date: 20231227

Ref country code: PT

Free format text: LAPSE BECAUSE OF FAILURE TO SUBMIT A TRANSLATION OF THE DESCRIPTION OR TO PAY THE FEE WITHIN THE PRESCRIBED TIME-LIMIT

Effective date: 20240429

PG25 Lapsed in a contracting state [announced via postgrant information from national office to epo]

Ref country code: PT

Free format text: LAPSE BECAUSE OF FAILURE TO SUBMIT A TRANSLATION OF THE DESCRIPTION OR TO PAY THE FEE WITHIN THE PRESCRIBED TIME-LIMIT

Effective date: 20240429

Ref country code: PL

Free format text: LAPSE BECAUSE OF FAILURE TO SUBMIT A TRANSLATION OF THE DESCRIPTION OR TO PAY THE FEE WITHIN THE PRESCRIBED TIME-LIMIT

Effective date: 20231227

REG Reference to a national code

Ref country code: DE

Ref legal event code: R097

Ref document number: 602021007990

Country of ref document: DE

PG25 Lapsed in a contracting state [announced via postgrant information from national office to epo]

Ref country code: DK

Free format text: LAPSE BECAUSE OF FAILURE TO SUBMIT A TRANSLATION OF THE DESCRIPTION OR TO PAY THE FEE WITHIN THE PRESCRIBED TIME-LIMIT

Effective date: 20231227

PG25 Lapsed in a contracting state [announced via postgrant information from national office to epo]

Ref country code: DK

Free format text: LAPSE BECAUSE OF FAILURE TO SUBMIT A TRANSLATION OF THE DESCRIPTION OR TO PAY THE FEE WITHIN THE PRESCRIBED TIME-LIMIT

Effective date: 20231227

REG Reference to a national code

Ref country code: CH

Ref legal event code: PL

PLBE No opposition filed within time limit

Free format text: ORIGINAL CODE: 0009261

STAA Information on the status of an ep patent application or granted ep patent

Free format text: STATUS: NO OPPOSITION FILED WITHIN TIME LIMIT

PG25 Lapsed in a contracting state [announced via postgrant information from national office to epo]

Ref country code: LU

Free format text: LAPSE BECAUSE OF NON-PAYMENT OF DUE FEES

Effective date: 20240326

PG25 Lapsed in a contracting state [announced via postgrant information from national office to epo]

Ref country code: MC

Free format text: LAPSE BECAUSE OF FAILURE TO SUBMIT A TRANSLATION OF THE DESCRIPTION OR TO PAY THE FEE WITHIN THE PRESCRIBED TIME-LIMIT

Effective date: 20231227

PG25 Lapsed in a contracting state [announced via postgrant information from national office to epo]

Ref country code: MC

Free format text: LAPSE BECAUSE OF FAILURE TO SUBMIT A TRANSLATION OF THE DESCRIPTION OR TO PAY THE FEE WITHIN THE PRESCRIBED TIME-LIMIT

Effective date: 20231227

Ref country code: LU

Free format text: LAPSE BECAUSE OF NON-PAYMENT OF DUE FEES

Effective date: 20240326

26N No opposition filed

Effective date: 20240930

REG Reference to a national code

Ref country code: BE

Ref legal event code: MM

Effective date: 20240331

PG25 Lapsed in a contracting state [announced via postgrant information from national office to epo]

Ref country code: BE

Free format text: LAPSE BECAUSE OF NON-PAYMENT OF DUE FEES

Effective date: 20240331

PG25 Lapsed in a contracting state [announced via postgrant information from national office to epo]

Ref country code: IE

Free format text: LAPSE BECAUSE OF NON-PAYMENT OF DUE FEES

Effective date: 20240326

PG25 Lapsed in a contracting state [announced via postgrant information from national office to epo]

Ref country code: IE

Free format text: LAPSE BECAUSE OF NON-PAYMENT OF DUE FEES

Effective date: 20240326

Ref country code: BE

Free format text: LAPSE BECAUSE OF NON-PAYMENT OF DUE FEES

Effective date: 20240331

Ref country code: CH

Free format text: LAPSE BECAUSE OF NON-PAYMENT OF DUE FEES

Effective date: 20240331

PGFP Annual fee paid to national office [announced via postgrant information from national office to epo]

Ref country code: DE

Payment date: 20250327

Year of fee payment: 5

PG25 Lapsed in a contracting state [announced via postgrant information from national office to epo]

Ref country code: SI

Free format text: LAPSE BECAUSE OF FAILURE TO SUBMIT A TRANSLATION OF THE DESCRIPTION OR TO PAY THE FEE WITHIN THE PRESCRIBED TIME-LIMIT

Effective date: 20231227

PGFP Annual fee paid to national office [announced via postgrant information from national office to epo]

Ref country code: FR

Payment date: 20250324

Year of fee payment: 5

PGFP Annual fee paid to national office [announced via postgrant information from national office to epo]

Ref country code: GB

Payment date: 20250326

Year of fee payment: 5

PG25 Lapsed in a contracting state [announced via postgrant information from national office to epo]

Ref country code: CY

Free format text: LAPSE BECAUSE OF FAILURE TO SUBMIT A TRANSLATION OF THE DESCRIPTION OR TO PAY THE FEE WITHIN THE PRESCRIBED TIME-LIMIT; INVALID AB INITIO

Effective date: 20210326

PG25 Lapsed in a contracting state [announced via postgrant information from national office to epo]

Ref country code: HU

Free format text: LAPSE BECAUSE OF FAILURE TO SUBMIT A TRANSLATION OF THE DESCRIPTION OR TO PAY THE FEE WITHIN THE PRESCRIBED TIME-LIMIT; INVALID AB INITIO

Effective date: 20210326

PG25 Lapsed in a contracting state [announced via postgrant information from national office to epo]

Ref country code: TR

Free format text: LAPSE BECAUSE OF FAILURE TO SUBMIT A TRANSLATION OF THE DESCRIPTION OR TO PAY THE FEE WITHIN THE PRESCRIBED TIME-LIMIT

Effective date: 20231227