EP3838680A1 - Roof rack foot assembly for a roof rack and a roof rack for a vehicle - Google Patents

Roof rack foot assembly for a roof rack and a roof rack for a vehicle Download PDF

Info

Publication number
EP3838680A1
EP3838680A1 EP19218575.9A EP19218575A EP3838680A1 EP 3838680 A1 EP3838680 A1 EP 3838680A1 EP 19218575 A EP19218575 A EP 19218575A EP 3838680 A1 EP3838680 A1 EP 3838680A1
Authority
EP
European Patent Office
Prior art keywords
bracket
roof rack
foot assembly
vehicle
carrier member
Prior art date
Legal status (The legal status is an assumption and is not a legal conclusion. Google has not performed a legal analysis and makes no representation as to the accuracy of the status listed.)
Granted
Application number
EP19218575.9A
Other languages
German (de)
French (fr)
Other versions
EP3838680B1 (en
Inventor
Fredrik Larsson
Stefan Andersson
Peter WIKSTRÖM
Jens Pettersson
Joachim VIDAR
Mujo KUKOLJ
Henric Svensson
Current Assignee (The listed assignees may be inaccurate. Google has not performed a legal analysis and makes no representation or warranty as to the accuracy of the list.)
Thule Sweden AB
Original Assignee
Thule Sweden AB
Priority date (The priority date is an assumption and is not a legal conclusion. Google has not performed a legal analysis and makes no representation as to the accuracy of the date listed.)
Filing date
Publication date
Priority to EP19218575.9A priority Critical patent/EP3838680B1/en
Application filed by Thule Sweden AB filed Critical Thule Sweden AB
Priority to DE212020000791.8U priority patent/DE212020000791U1/en
Priority to EP20801292.2A priority patent/EP4077052A1/en
Priority to PCT/EP2020/081692 priority patent/WO2021121786A1/en
Priority to CA3162373A priority patent/CA3162373A1/en
Priority to US17/787,147 priority patent/US12377788B2/en
Priority to DE112020006377.1T priority patent/DE112020006377T5/en
Priority to CN202080097132.4A priority patent/CN115175831B/en
Priority to AU2020405641A priority patent/AU2020405641B2/en
Publication of EP3838680A1 publication Critical patent/EP3838680A1/en
Application granted granted Critical
Publication of EP3838680B1 publication Critical patent/EP3838680B1/en
Priority to US19/288,658 priority patent/US20250353442A1/en
Active legal-status Critical Current
Anticipated expiration legal-status Critical

Links

Images

Classifications

    • BPERFORMING OPERATIONS; TRANSPORTING
    • B60VEHICLES IN GENERAL
    • B60RVEHICLES, VEHICLE FITTINGS, OR VEHICLE PARTS, NOT OTHERWISE PROVIDED FOR
    • B60R9/00Supplementary fittings on vehicle exterior for carrying loads, e.g. luggage, sports gear or the like
    • B60R9/04Carriers associated with vehicle roof
    • B60R9/058Carriers associated with vehicle roof characterised by releasable attaching means between carrier and roof

Definitions

  • the present disclosure relates to a fix point roof rack foot assembly for a roof rack and to a roof rack for a vehicle comprising at least one of the roof rack foot assembly.
  • the present disclosure further relates to a cover attachment device and to a screw anti-rotation device.
  • Roof racks comprising load carrying bars are known for providing improved load carrying capacity for automobiles.
  • a roof rack for a vehicle typically includes a roof rack crossbar and two roof rack feet configured for attachment to the vehicle.
  • roof rack feet may be configured for attachment to a guide rail or the like provided on the roof of the vehicle. Thereby the roof rack may be provided at any position along the extension of the guide rail.
  • Another type of roof rack foot is the so called fix point roof rack foot, which is configured for attachment to a fix point attachment position on the vehicle. Most likely the fix point attachment position is provided on the roof of the vehicle and may be configured as a threaded screw hole close to an edge of the roof which can receive a matching threaded screw for attaching the roof rack foot to the roof.
  • fix point roof rack foot may be found in EP 3 225 468 A1 , which discloses a fix point load carrier foot for a roof rack for a vehicle.
  • the load carrier foot comprises a body and the body comprises a vehicle facing surface and a load carrying bar facing surface.
  • An attachment member is connectable to a fixed connection point on the vehicle and has an attachment position and a release position.
  • fix point load carrier foot provides an adjustable load carrying foot which can be used for different vehicles, there is still a strive of developing further improved and/or alternative roof rack feet for roof racks.
  • an object of the present disclosure is to provide an improved roof rack foot assembly for a roof rack, which at least alleviates some of the drawbacks of the prior art, or which at least provides a good alternative.
  • a roof rack foot assembly for a roof rack comprising, a carrier member for carrying a crossbar of the roof rack, the carrier member comprising a first and a second support portion, a bracket configured for attachment to a fix point attachment position of a vehicle by use of at least one fixation means, such as a screw or bolt, wherein the bracket comprises an engagement portion and a seat portion for the carrier member, wherein, the seat portion comprises a first and a second support surface, preferably spaced apart from each other, wherein each support surface is adapted to receive the respective first and second support portion of the carrier member when the carrier member is attached to the bracket, and wherein each support surface of the seat portion has a longitudinal extension along a respective longitudinal axis thereof, wherein the first and second support surfaces are arranged on the bracket so that their longitudinal axes are provided parallel, or at least substantially parallel, with respect to each other.
  • an improved roof rack foot assembly can be provided which enables load from the crossbar to be more uniformly distributed and/or balanced on the bracket.
  • This may be achieved by the configuration of the seat portion, and especially by the a first and second support surfaces, which are preferably spaced apart from each other, thereby at least mainly providing a two-point or two-line load-transferring connection between the carrier member and the bracket.
  • the first and second support portions of the carrier member are also spaced apart from each other.
  • the roof rack foot assembly as disclosed herein provides for increased versatility due to the enlarged space for the fixation means on the bracket.
  • the bracket may be configured differently for different vehicle models by adjusting the location for the fixation means on the bracket.
  • the increased space for the fixation means may also provide a more robust connection to the vehicle in that it enables providing more fixation means and/or providing fixation means at more preferred locations in order to securely attach the bracket to the vehicle.
  • the roof rack foot assembly may further comprise an engagement member associated with the carrier member which is adapted to clamp the carrier member to the bracket by applying a pulling force therebetween.
  • an engagement member associated with the carrier member which is adapted to clamp the carrier member to the bracket by applying a pulling force therebetween.
  • a secure engagement to the vehicle may be provided when the roof rack foot assembly is attached thereto. Clamping the carrier member like this may be important for safety reasons, implying a reduced risk for the roof rack foot assembly of being released from the vehicle. This may be especially important when the roof rack is intended to carry larger and/or heavier loads, such as fully loaded ski-boxes, bicycles etc.
  • the first and second support surfaces of the seat portion and the first and second support portions of the carrier member may be adapted to transfer loads at least in a vertical direction, as seen when the roof rack foot assembly is attached to a vehicle positioned on a flat horizontally extending surface.
  • a reliable two-point or two-line load-transferring connection which at least transfer loads in vertical direction between the carrier member and the bracket may be achieved.
  • This configuration may also more easily predict how loads from the roof rack to the vehicle will be transferred, thereby e.g. reducing the risk of fatigue stress at unexpected portions of the roof rack foot assembly.
  • each support surface of the seat portion may have a transverse extension along a respective transverse axis thereof, wherein the respective transverse axis is perpendicular to its respective longitudinal axis, and wherein each support surface has a length in its transverse extension which is shorter than a length in its longitudinal extension, or wherein each support surface has a length in its transverse extension which is equal to, or substantially equal to, a length in its longitudinal extension.
  • the transverse and longitudinal lengths are preferably a greatest measured length of each support surface.
  • the roof rack foot assembly may further comprise a foot pad member for protecting a vehicle roof, wherein the foot pad member is adapted to be positioned in-between the bracket and the vehicle when the bracket is attached to the fix point attachment position, wherein the bracket and the foot pad member may be provided as separate components or may be integrated as a one-piece member.
  • the foot pad member may comprise a material which is softer compared to a material of the bracket, such as an elastically deformable material. Such material may for example be a polymer, e.g. rubber.
  • the bracket may comprise at least one receiving location for at least one of the fixation means.
  • the at least one receiving location may be located in an area, preferably a central area, of the bracket in-between the first and second support surfaces.
  • the first and second support surfaces of the bracket may comprise a respective first and second longitudinal side, wherein the first longitudinal side of the first support surface faces the first longitudinal side of the second support surface, and wherein the at least one receiving location is located outside and facing one of the second longitudinal sides.
  • the bracket may have a longitudinal extension along a longitudinal axis thereof and a transverse extension along a transverse axis thereof, wherein the longitudinal axis of the bracket and the transverse axis of the bracket are perpendicular to each other, and wherein the bracket is configured so that the longitudinal axis thereof mainly coincides with a travelling direction of the vehicle when the roof rack foot assembly is attached to the vehicle, wherein the longitudinal axes of the first and second support surfaces are extending in, or at least substantially extending in, the same direction as the direction of the transverse axis of the bracket.
  • improved support for the carrier member may be provided and where a more uniform load distribution in the transverse direction of the bracket can be provided. It may further provide improved stability of the carrier member on the bracket, when attached thereto.
  • the bracket may have a longitudinal extension along a longitudinal axis thereof and a transverse extension along a transverse axis thereof, wherein the longitudinal axis of the bracket and the transverse axis of the bracket are perpendicular to each other, and wherein the bracket is configured so that the longitudinal axis thereof mainly coincides with a travelling direction of the vehicle when the roof rack foot assembly is attached to the vehicle, wherein the longitudinal axes of the first and second support surfaces are extending in, or at least substantially extending in, the same direction as the direction of the longitudinal axis of the bracket.
  • a stable two-line load-transferring connection can be provided including a more uniform load distribution in the longitudinal direction of the bracket.
  • first and second support portions of the carrier member and the first and second support surfaces of the seat portion may be adapted so that the carrier member, in a first attachment state, is movable in the seat portion by pivoting the carrier member, preferably with respect to a rotational axis of the carrier member, when the carrier member is not rigidly attached to the bracket.
  • a first attachment state as used herein means a state where the carrier member is connected to the bracket but has not yet been rigidly attached thereto, such as when providing a tensioning force therebetween.
  • the engagement portion may be positioned vertically above the first and second support surfaces, as seen when the roof rack foot assembly is mounted on a vehicle positioned on a flat horizontally extending surface.
  • the engagement portion may be positioned vertically above the first and second support surfaces, as seen when the roof rack foot assembly is mounted on a vehicle positioned on a flat horizontally extending surface.
  • the bracket may be a sheet-formed member, such as a sheet metal member, wherein the first and second support surfaces are provided on a main surface of the sheet-formed member. Providing a sheet-formed member may imply a reduced manufacturing cost.
  • the bracket may have an L-shaped and/or U-shaped cross section, which cross section is defined by a plane which is perpendicular to the longitudinal axis of the bracket, which axis is preferably intended to at least mainly extend in a travelling direction of the vehicle when the roof rack foot assembly is attached to the vehicle.
  • Such a shape has been found advantageous in that it provides two or more surfaces on the bracket at which the engagement member and/or the seat portion can be provided. Further, such shape implies a more robust bracket having increased strength.
  • the roof rack foot assembly as disclosed herein may also be denoted a fix point roof rack foot assembly.
  • a roof rack for a vehicle comprising at least one roof rack foot assembly according to any one of the embodiments of the first aspect of the disclosure and at least one crossbar.
  • a roof rack foot assembly for a roof rack comprising:
  • an improved roof rack foot assembly is achieved which provides a robust attachment between the carrier member and the bracket where the risk of creating unwanted bending moments will be reduced.
  • an unwanted bending moment on the crossbar may for example lead to that the crossbar tries to raise a roof rack foot assembly on the other side of the crossbar which not yet has been rigidly attached to the vehicle.
  • the carrier member may have at least one curved outer surface which is adapted to be in contact with the seat portion when being attached to the bracket, and wherein the at least one curved outer surface, in the first attachment state, is configured to be movable in the seat portion by pivoting the carrier member with respect to the rotational axis of the carrier member, wherein a distance from the rotational axis to any point on the outer curved surface which is adapted to be in contact with the seat portion is at least 40%, 50%, 60%, 70 % or greater than a transverse length of the bracket, as seen along a transverse extension of the bracket.
  • a large abutment surface may be provided, which in turn may reduce the risk of stress concentration at specific portions of the roof rack foot assembly. Reduced risk of stress concentrations may imply a reduced need of over-dimensioning parts of the roof rack foot assembly, which in turn may imply a reduced manufacturing cost and/or reduced amount of material required for the roof rack foot assembly.
  • the seat portion has a main extension in the transverse extension of the bracket.
  • the outer curved surface of the carrier member may have a main extension in the transverse extension of the bracket, when attached thereto.
  • the distance from the rotational axis to any point on the outer curved surface preferably defines a radius of the outer curved surface, which radius may be seen in a plane defined by a transverse direction and a height direction of the carrier member, which directions are perpendicular to each other, and wherein the height direction corresponds to a vertical direction of the vehicle, as seen when the roof rack foot assembly is attached thereto.
  • the transverse extension of the bracket may extend along a transverse axis thereof, wherein the bracket has a longitudinal extension along a longitudinal axis thereof, wherein the longitudinal axis of the bracket and the transverse axis of the bracket are perpendicular to each other, and wherein the longitudinal axis of the bracket is intended to at least mainly extend in a travelling direction of the vehicle when the roof rack foot assembly is attached to the vehicle.
  • the engagement member may comprise a bracket support surface and the bracket may comprise an engagement member support surface, wherein the bracket support surface and the engagement member support surface are adapted to contact each other and to provide a first tension force therebetween when the carrier member is rigidly attached to the bracket, which first tension force is mainly directed in a horizontal direction, as seen when the roof rack foot assembly is mounted on a vehicle positioned on a flat horizontally extending surface.
  • first tension force is mainly directed in a horizontal direction, as seen when the roof rack foot assembly is mounted on a vehicle positioned on a flat horizontally extending surface.
  • the engagement member may be pivotally connected to the carrier member with respect to a pivot axis, wherein the pivot axis is arranged to be moved in a track provided on or in the engagement member or on or in the carrier member.
  • the track may be inclined with respect to a horizontal plane so that a second tension force between the engagement member and the engagement portion is provided when the carrier member is rigidly attached to the bracket, which second tension force is mainly directed in a vertical direction, as seen when the roof rack foot assembly is mounted on a vehicle positioned on a flat horizontally extending surface.
  • a robust attachment which securely attaches the carrier member to the bracket in the vertical direction is achieved.
  • the roof rack foot assembly may further comprise a foot pad member, wherein the foot pad member is adapted to be positioned in-between the bracket and the vehicle when the bracket is attached to the fix point attachment position, wherein the bracket and the foot pad member may be provided as separate components or may be integrated as a one-piece member.
  • the engagement portion may be positioned vertically above the seat portion, as seen when the roof rack foot assembly is mounted on a vehicle positioned on a flat horizontally extending surface.
  • the bracket may be a sheet-formed member, such as a sheet metal member, wherein seat portion is provided on a main surface of the sheet-formed member.
  • the bracket may have an L-shaped and/or U-shaped cross section, which cross section is defined by a plane which is perpendicular to a longitudinal axis of the bracket, which axis is preferably intended to at least mainly extend in a travelling direction of the vehicle when the roof rack foot assembly is attached to the vehicle.
  • the seat portion may comprise a first and a second support surface, which are preferably spaced apart from each other.
  • a roof rack for a vehicle comprising at least one roof rack foot assembly according to any one of the embodiments of the third aspect of the disclosure and at least one crossbar.
  • a roof rack foot assembly for a roof rack comprising:
  • an improved roof rack foot assembly is achieved which provides a simplified attachment interface between the bracket and the carrier member. More specifically, by providing the engagement portion and the seat portion, which are spaced apart from each other, on the top side of the bracket, it may be easier for a user to attach the carrier member to the bracket. This configuration further implies that the risk of damaging/scratching a vehicle roof during mounting may be mitigated.
  • the engagement portion may be positioned vertically above the seat portion, as seen when the roof rack foot assembly is mounted on a vehicle positioned on a flat horizontally extending surface.
  • the bracket may have an L-shaped and/or U-shaped cross section, which cross section is defined by a plane which is perpendicular to a longitudinal axis of the bracket, which axis is preferably intended to at least mainly extend in a travelling direction of the vehicle when the roof rack foot assembly is attached to the vehicle.
  • the engagement portion may be provided on a portion of the bracket which extends in the vertical direction, such as a vertically extending portion on the aforementioned L-shaped and/or U-shaped cross sections. Thereby, it may be easier and more intuitive for a user to find the engagement portion when attaching the carrier member to the bracket.
  • the bracket may be a sheet-formed member, such as a sheet metal member, wherein the first and second support surfaces are provided on a main surface of the sheet-formed member.
  • the engagement portion may be defined by at least one aperture in the bracket into which an engagement member associated with the carrier member may be inserted for rigidly attaching the carrier member to the bracket.
  • the roof rack foot assembly may further comprise the engagement member associated with the carrier member, wherein the engagement member comprises at least one hook-formed portion adapted to be inserted into the at least one aperture for rigidly attaching the carrier member to the bracket.
  • a roof rack for a vehicle comprising at least one roof rack foot assembly according to any one of the embodiments of the fifth aspect and at least one crossbar.
  • a roof rack foot assembly for a roof rack comprising:
  • an improved roof rack foot assembly is achieved in which a more robust engagement member is provided.
  • the hook member is formed by a wall section which has an extension as defined in the above.
  • the bracket may further comprise a seat portion for the carrier member.
  • the engagement portion of the bracket may be positioned vertically above the seat portion, as seen when the roof rack foot assembly is mounted on a vehicle positioned on a flat horizontally extending surface.
  • the engagement member may be a sheet-formed member, such as a sheet metal member.
  • the engagement member may have an L-shaped and/or U-shaped cross section, which cross section is defined by a plane which is perpendicular to the height direction.
  • the bracket may be a sheet-formed member, such as a sheet metal member, wherein the engagement portion is provided on a side surface of the sheet-formed member.
  • the bracket may have an L-shaped and/or U-shaped cross section, which cross section is defined by a plane which is perpendicular to a longitudinal axis of the bracket, which axis is preferably intended to at least mainly extend in a travelling direction of the vehicle when the roof rack foot assembly is attached to the vehicle.
  • a roof rack for a vehicle comprising at least one roof rack foot assembly according to any one of the embodiments of the seventh aspect and at least one crossbar.
  • a cover attachment device for a bracket for a roof rack foot assembly for a roof rack for a vehicle comprising:
  • the at least one protruding portion may be configured to resiliently flex so as to be able to snap in to an engagement portion of the bracket.
  • the at least one protruding portion may be configured to resiliently flex in a horizontal direction, as seen when the cover attachment device and the bracket are attached to the vehicle.
  • the at least one protruding portion may comprise a waist section and an outer engaging section provided outside the waist section with respect to the bracket facing surface, wherein the outer engaging section is configured to snap in to the engagement portion of the bracket.
  • the cover attachment device may further comprise a lock-member configured to lock the cover attachment device to the bracket.
  • the lock member may be arranged to prevent the at least one protruding portion to release the snap-fit connection to the bracket when the lock member is in a locked state.
  • the object is achieved by a bracket and cover attachment device kit and/or assembly for a roof rack foot assembly for a roof rack for a vehicle, comprising the cover attachment device according to any one of the embodiments of the ninth aspect and a bracket.
  • the object is achieved by a screw anti-rotation device for a screw of a roof rack, wherein the screw anti-rotation device is configured to prevent the screw from loosening when being attached to a member, the screw anti-rotation device comprising:
  • an improved screw anti-rotation device is achieved which is adjustable in different angles, thereby providing increased versatility.
  • the screw anti-rotation device may be used for screws to be attached to different types of vehicles having roofs with different inclination angles.
  • the screw anti-rotation device is configured to prevent the screw from loosening when being attached to the member in that the screw anti-rotation device is contacting at least one side of a head of the screw, such as two opposing sides of the head of the screw, thereby preventing the screw from rotating. Further, the screw anti-rotation device is preferably also contacting the member so as to prevent the screw from rotating when the screw is attached to the member.
  • the roof rack may comprise a roof rack foot assembly comprising a bracket, wherein the screw is configured to attach the bracket to a vehicle by use of the screw and by attaching the screw to the vehicle via an aperture in the bracket.
  • the angle position with respect to the screw and the screw anti-rotation device can be varied in a range of +- 5 degrees and/or the angle position with respect to the screw anti-rotation device and the member, preferably the bracket, can be varied in a range of +- 5 degrees.
  • the screw anti-rotation device may be adaptable for most, or all, vehicle types on the market.
  • the screw facing surface may have a quadrilateral-shaped form, such as a square-shaped form or rectangular-shaped form, as seen from above when the screw anti-rotation device is provided at the member, such as at the aperture of the bracket, wherein at least two sides of the quadrilateral-shaped form are configured to contact a respective side of a head of the screw.
  • a quadrilateral-shaped form such as a square-shaped form or rectangular-shaped form
  • the at least two sides may be resiliently flexible so as to allow the screw from being screwed into a hole of the vehicle but to prevent the screw from being un-screwed from the hole when provided therein.
  • the screw anti-rotation device may further comprise at least one anti-rotation protruding portion provided on the screw facing away surface.
  • the object is achieved by a roof rack comprising the screw anti-rotation device according to any one of the embodiments of the eleventh aspect of the present disclosure.
  • a roof rack foot assembly 1 for a roof rack 100 (see fig. 4 ) according to the present disclosure is shown.
  • the roof rack foot assembly 1 comprises a carrier member 2 for carrying a crossbar 3 (shown in e.g. fig. 4 ) of the roof rack 100.
  • the carrier member 2 comprises a first 21 and a second 22 support portion.
  • the roof rack foot assembly 1 further comprises a bracket 4 configured for attachment to a fix point attachment position of a vehicle by use of at least one fixation means 5 (see e.g. fig. 4 ), which in the shown embodiment is a screw, wherein the bracket 4 comprises an engagement portion 41 and a seat portion 42 for the carrier member 2.
  • the seat portion 42 comprises a first 421 and a second 422 support surface, which in the shown embodiments are spaced apart from each other.
  • Each support surface 421, 422 is adapted to receive the respective first 21 and second 22 support portion of the carrier member 2 when the carrier member 2 is attached to the bracket 4.
  • each support surface 421, 422 of the seat portion 42 has a longitudinal extension along a respective longitudinal axis La1, La2 thereof, wherein the first and second support surfaces 421, 422 are arranged on the bracket 4 so that their longitudinal axes La1, La2 are provided parallel, or at least substantially parallel, with respect to each other.
  • Substantially parallel as disclosed herein mean that the directions of the longitudinal axes La1, La2 may deviate from each other by a maximum angle of +- 15 degrees +- 10 degrees or +- 5 degrees.
  • the first and a second support surfaces 421, 422 are provided by slots in the bracket 4.
  • the carrier member 2 may be supported in slots of the bracket 4, which may improve the support of the carrier member 2.
  • the first and second support portions 21, 22 may be provided in the slots.
  • the longitudinal extension of the slots may thereby be provided along the transverse axis y of the bracket 4.
  • the longitudinal extension of the slots may be provided along the longitudinal axis x of the bracket 4.
  • the roof rack foot assembly 1 may, as shown in e.g. fig. 1 , further comprise an engagement member 6 associated with the carrier member 2 which is adapted to clamp the carrier member 2 to the bracket 4 by applying a pulling force therebetween.
  • the first and second support surfaces 421, 422 of the seat portion 42 and the first and second support portions 21, 22 of the carrier member 2 may be adapted to transfer loads at least in a vertical direction z, as seen when the roof rack foot assembly is attached to a vehicle positioned on a flat horizontally extending surface.
  • the direction z which herein is part of a Cartesian coordinate system, refers to the vertical direction.
  • each support surface 421, 422 of the seat portion 42 may have a transverse extension along a respective transverse axis thereof Ta1, Ta2, wherein the respective transverse axis Ta1, Ta2 is perpendicular to its respective longitudinal axis La1, La2, and wherein each support surface 421, 422 has a length in its transverse extension which is shorter than a length in its longitudinal extension, as shown in e.g. fig. 2 .
  • each support surface 421, 422 may have a length in its transverse extension which is equal to, or substantially equal to, a length in its longitudinal extension.
  • the length in the transverse extension of each support surface 421, 422 may alternatively be expressed as a width of each support surface 421, 422.
  • the roof rack foot assembly 1 may, as e.g. shown in fig. 4 , further comprise a foot pad member 7 for protecting a vehicle roof (not shown), wherein the foot pad member 7 is adapted to be positioned in-between the bracket 4 and the vehicle when the bracket 4 is attached to the fix point attachment position, wherein the bracket 4 and the foot pad member 7 may be provided as separate components or may be integrated as a one-piece member.
  • the bracket 4 and the foot pad member 7 are provided as separate components.
  • the bracket 4 may comprise at least one receiving location 431 for at least one of the fixation means 5 (shown in fig. 4 ).
  • the at least one receiving location 431 is located in an area, which here is a central area, of the bracket 4 in-between the first and second support surfaces 421, 422.
  • a central area as mentioned herein may be defined as the area at the center, or close to the center, of the bracket 4, as seen in a plane defined by a longitudinal axis x and a transverse axis y of the bracket 4.
  • the longitudinal axis x and the transverse axis y is here also part of the aforementioned Cartesian coordinate system.
  • the first and second support surfaces 421, 422 of the bracket 4 may, as shown in fig. 12 , comprise a respective first 4211, 4221 and second 4212, 4222 longitudinal side, wherein the first longitudinal side 4211 of the first support surface 421 faces the first longitudinal side 4221 of the second support surface 422, and wherein at least one receiving location 432, 433 is located outside and facing one of the second longitudinal sides 4212, 4222.
  • the receiving locations are preferably apertures in the bracket 4 into which e.g. screws 5 may be provided.
  • the bracket 4 may have a longitudinal extension along a longitudinal axis x thereof and a transverse extension along a transverse axis y thereof, wherein the longitudinal axis x of the bracket and the transverse axis y of the bracket are perpendicular to each other, and wherein the bracket 4 is configured so that the longitudinal axis x thereof mainly coincides with a travelling direction of the vehicle when the roof rack foot assembly 1 is attached to the vehicle.
  • the longitudinal axes La1, La2 of the first and second support surfaces 421, 422 are extending in, or at least substantially extending in, the same direction as the direction of the transverse axis y of the bracket 4.
  • the longitudinal axes La1, La2 of the first and second support surfaces 421, 422 may extend in a direction which deviates from the direction of the transverse axis y, such as by +- 10 degrees with respect to the transverse axis y, as e.g. seen in a plane defined by the longitudinal axis x and the transverse axis y.
  • the bracket 4 may for example be adapted for different types of vehicles, and different types of vehicle roofs having different shapes and/or dimensions.
  • the bracket 4 has a longitudinal extension along a longitudinal axis x thereof and a transverse extension along a transverse axis y thereof, wherein the longitudinal axis x of the bracket 4 and the transverse axis y of the bracket 4 are perpendicular to each other, and wherein the bracket 4 is configured so that the longitudinal axis x thereof mainly coincides with a travelling direction of the vehicle when the roof rack foot assembly is attached to the vehicle, wherein the longitudinal axes La1, La2 of the first and second support surfaces 421, 422 are extending in, or at least substantially extending in, the same direction as the direction of the longitudinal axis x of the bracket 4.
  • a receiving location 431 may be provided in an area in-between the two support surfaces 421, 422 as shown in fig. 13 .
  • first and second support portions 21, 22 of the carrier member 2 and the first and second support surfaces 421, 422 of the seat portion 42 may be adapted so that the carrier member 2, in a first attachment state, is movable in the seat portion 42 by pivoting the carrier member, preferably with respect to a rotational axis RC of the carrier member 2, when the carrier member 2 is not rigidly attached to the bracket 4.
  • Fig. 5 shows a sectional view of the roof rack foot assembly 1, which is defined by the transverse axis y and the z-axis, which axis may refer to the vertical axis when the roof rack foot assembly 1 is mounted on a vehicle as mentioned in the above.
  • the z-axis may also refer to a height direction of the roof rack foot assembly 1.
  • the rotational axis RC is here parallel with the x-axis, i.e. the longitudinal axis x of the bracket 4.
  • Fig. 5 further shows a carrier member fixation means 8 which is arranged for rigidly attaching the carrier member 2 to the bracket 4.
  • the carrier member fixation means 8 is here in the form of a threaded screw.
  • the first attachment state does thereby here mean that the carrier member fixation means 8 has not yet been tightened, i.e. when the carrier member 2 is not rigidly attached to the bracket 4.
  • the carrier member fixation means 8 further connects the engagement member 6 to the carrier member 2 via a connection member 64 which is extending along the rotational axis RC.
  • the connection member 64 as shown is here a pin member which comprises a threaded aperture for the carrier member fixation means 8.
  • the engagement portion 41 may be positioned vertically above the first and second support surfaces 421, 422, as seen when the roof rack foot assembly 1 is mounted on a vehicle positioned on a flat horizontally extending surface. Hence, the engagement portion 41 may be positioned vertically above the first and second support surfaces 421, 422, as seen in the direction of the z-axis.
  • the bracket 4 may be a sheet-formed member, such as a sheet metal member, wherein the first and second support surfaces 421, 422 are provided on a main surface 44 of the sheet-formed member. More specifically, as shown, the bracket 4 may have an L-shaped and/or U-shaped cross section, which cross section is defined by a plane which is perpendicular to the longitudinal axis x of the bracket 4, which axis is preferably intended to at least mainly extend in a travelling direction of the vehicle when the roof rack foot assembly 1 is attached to the vehicle.
  • the engagement portion 41 is preferably provided on one of the vertically extending walls 46 which extend from the main surface 44, and which is facing away from the vehicle, when the bracket 4 is attached to the vehicle.
  • the vertically extending wall is here a first vertically extending wall 46 and may be denoted a front wall, and may be facing away from the vehicle in transverse direction y when the bracket 4 is attached to the vehicle.
  • the bracket 4 may comprise a second vertically extending wall 47 opposing the first vertically extending wall 46, seen in the transverse direction y. Still further, according to an embodiment of the present disclosure, the second vertically extending wall may be arranged as an engagement portion for a cover attachment portion 9 as disclosed herein. Still further, according to another embodiment of the present disclosure, the second vertically extending wall may further comprise carrier member slots 471 for providing room for the carrier member 2.
  • the second vertically extending wall 47 may herein be denoted a rear wall.
  • a roof rack foot assembly 1 for a roof rack 100 is shown.
  • Fig. 6 similar to fig. 5 , shows a sectional view of the roof rack foot assembly 1, which is a plane defined by the aforementioned x-axis and y-axis.
  • the roof rack foot assembly 1 comprises a carrier member 2 for carrying a crossbar 3 of the roof rack 100 and a bracket 4 configured for attachment to a fix point attachment position of a vehicle by use of a fixation means 5, such as a screw or bolt.
  • the roof rack foot assembly further comprises an engagement member 6 connected to the carrier member 2 for rigidly attaching the carrier member 2 to the bracket 4.
  • the bracket 4 comprises an engagement portion 41 and a seat portion 42 for the carrier member 2, wherein the engagement member 6 is adapted to attach the carrier member 2 to the bracket 2 by engagement with the engagement portion 41 of the bracket 4. Further, the carrier member 2 and the seat portion 42 are adapted so that the carrier member 2, in a first attachment state, is movable in the seat portion 42 by pivoting the carrier member 2 with respect to a rotational axis RC of the carrier member 2 when the carrier member 2 is not rigidly attached to the bracket 4, as also mentioned in the above.
  • the roof rack foot assembly 1 comprises a carrier member fixation means 8, such as a screw or bolt, adapted for providing a secure engagement between the engagement member 6 and the engagement portion 41 so that the carrier member 2 is rigidly attached to the bracket 4. Still further, the roof rack foot assembly 1 is configured so that the carrier member fixation means 8 extends through, or in the proximity of, the rotational axis RC, see e.g. figs. 5 and 6 . Hence, as shown, the carrier member fixation means 8 does here extend through the rotational axis RC, which axis may be parallel to, or at least substantially parallel to, the x-axis.
  • a carrier member fixation means 8 such as a screw or bolt
  • the carrier member 2 may have at least one curved outer surface 21 which is adapted to be in contact with the seat portion 42 when being attached to the bracket 4, and wherein the at least one curved outer surface 21, in the first attachment state, is configured to be movable in the seat portion 42 by pivoting the carrier member with respect to the rotational axis RC of the carrier member 2, wherein a distance d from the rotational axis RC to any point on the outer curved surface 21 which is adapted to be in contact with the seat portion 42 is at least 40%, 50%, 60%, 70 % or greater than a transverse length d' of the bracket 4, as seen along a transverse extension of the bracket, i.e.
  • the seat portion's longitudinal axes La1, La2 extends along the transverse axis y of the bracket 4, as mentioned in the above. More particularly, the seat portion 42 has a main extension in the transverse extension of the bracket 4. A similar configuration as in the above may also be provided for the second support portion 22 of the carrier member 2.
  • the transverse extension of the bracket 4 is extending along the transverse axis y thereof, and the bracket 4 has a longitudinal extension along the longitudinal axis x thereof, wherein the longitudinal axis x of the bracket 4 and the transverse axis y of the bracket 4 are perpendicular to each other, and wherein the longitudinal axis x of the bracket 4 may be intended to at least mainly extend in a travelling direction of the vehicle when the roof rack foot assembly 1 is attached to the vehicle.
  • the engagement member 6 may comprise a bracket support surface 61 and the bracket 4 may comprise an engagement member support surface 45, wherein the bracket support surface 61 and the engagement member support surface 45 are adapted to contact each other and to provide a first tension force therebetween when the carrier member 2 is rigidly attached to the bracket 4, which first tension force is mainly directed in a horizontal direction, as seen when the roof rack foot assembly 1 is mounted on a vehicle positioned on a flat horizontally extending surface.
  • the horizontal direction may hence be a direction extending in a plane which is defined by the x-axis and the y-axis.
  • the bracket support surface 61 is in the shown embodiments somewhat C-formed, as seen in a sectional view defined by the z-axis and the y-axis.
  • the C-form, or any other suitable form may e.g. be provided by forming/bending a sheet element, preferably a sheet metal element.
  • the C-formed support surface 61 implies increased strength for the engagement member 6.
  • the engagement member 6 may be pivotally connected to the carrier member 2 with respect to a pivot axis PA, wherein the pivot axis PA is arranged to be moved in a track 62 provided on the engagement member 6 or on the carrier member 2.
  • the track 62 is in the form of a slot provided in the engagement member 6.
  • the pivot axis PA is configured as a pin member which can slide in the slot 62.
  • the track 62 may be inclined with respect to a horizontal plane so that a second tension force between the engagement member 6 and the engagement portion 42 is provided when the carrier member 2 is rigidly attached to the bracket 4, which second tension force is mainly directed in a vertical direction (i.e. the z-axis in the shown embodiments), as seen when the roof rack foot assembly 1 is mounted on a vehicle positioned on a flat horizontally extending surface.
  • the horizontal plane is here defined by the x-axis and the y-axis.
  • the track 62 is here extending in a plane defined by the y-axis and the z-axis, as shown in e.g. fig. 5 and 6 .
  • the track 62 may also as shown have a curved profile, for example with a radius defined by a distance from the rotational axis RC to any point on the track 62 along its extension.
  • a roof rack foot assembly 1 for a roof rack 100 which comprises a carrier member 2 for carrying a crossbar 3 of the roof rack 100, a bracket 4 configured for attachment to a fix point attachment position of a vehicle by use of a fixation means 5, such as a screw or bolt.
  • the bracket 4 comprises an engagement portion 41 and a seat portion 42 for the carrier member 2, wherein the bracket 4 comprises a top side Ts facing the carrier member 6 and a bottom side Bs, intended to face the vehicle when the bracket 4 is attached thereto, provided on an opposite side with respect to the top side Ts, wherein the seat portion 42 is provided on the top side Ts, and wherein the engagement portion 41 and the seat portion 42 are spaced apart from each other. Further, the engagement portion 41 is provided at the top side Ts of the bracket 4.
  • the engagement portion 41 may be positioned vertically above the seat portion 42, as seen when the roof rack foot assembly 1 is mounted on a vehicle positioned on a flat horizontally extending surface.
  • the bracket 4 may have an L-shaped and/or U-shaped cross section, which cross section is defined by a plane which is perpendicular to a longitudinal axis x of the bracket 4, which axis is preferably intended to at least mainly extend in a travelling direction of the vehicle when the roof rack foot assembly 1 is attached to the vehicle.
  • the engagement portion 41 may thereby be provided on a portion of the bracket which extends in the vertical direction, i.e. in the direction of the z-axis.
  • the engagement portion 41 may preferably be defined by at least one aperture 411 in the bracket 4 into which an engagement member 6 associated with the carrier member 2 may be inserted for rigidly attaching the carrier member 2 to the bracket 4.
  • the engagement member 6, as mentioned in the above, which is associated with the carrier member 2, may comprise at least one hook-formed portion 63, as shown in fig. 3 , adapted to be inserted into the at least one aperture 411 for rigidly attaching the carrier member 2 to the bracket 4.
  • two such hook-formed portions 63 which also may be denoted hook members 63, are separated from each other, as seen along a longitudinal axis x of the engagement member 6, which axis is here parallel to the longitudinal axis x of the bracket 4.
  • the engagement member 6 is further extending in a transverse extension along a transverse axis y and in a height direction along an axis z.
  • two corresponding elongated apertures 411 are shown which are separated from each other, as seen along the longitudinal axis x of the bracket 4.
  • a roof rack foot assembly 1 for a roof rack 100 which comprises a carrier member 2 for carrying a crossbar 3 of the roof rack 100 and an engagement member 6 connected to the carrier member 2. It further comprises a bracket 4 configured for attachment to a fix point attachment position of a vehicle by use of a fixation means 5 (shown in fig. 4 ), such as a screw or bolt.
  • the bracket 4 comprises an engagement portion 41 for the engagement member 6, wherein the engagement member 6 is adapted to rigidly attach the carrier member 2 to the bracket 4 by engagement with the engagement portion 41 of the bracket 4.
  • the engagement member 6 comprises at least one hook member 63 adapted to engage with the engagement portion 41 of the bracket 4.
  • the at least one hook member 63 is formed by a wall section extending in the height direction z and a depth direction y of the roof rack foot assembly 1, wherein the depth direction y is coinciding with a transverse direction of the vehicle, when attached thereto.
  • the height direction z corresponds herein to the aforementioned vertical direction z and the depth direction is parallel to the aforementioned transverse axis y of the bracket and/or of the engagement member 6.
  • the engagement member 6 is a sheet-formed member, such as a sheet metal member.
  • the engagement member 6 further has a U-shaped cross section, which cross section is defined by a plane which is perpendicular to the height direction z. Consequently, the engagement member 6 and the bracket 4 may both preferably be made of a sheet-formed member, preferably by sheet metal members which have been formed/bent into e.g. the shown U-shaped cross sections.
  • the arrows in fig. 3 further shows preferred contact points with the bracket 4, i.e. at the hook-members 63 and at the bracket support surface 61.
  • the bracket support surface 61 is preferably located proximate to hook ends of the hook members 63, thereby enabling improved force distribution. More specifically, the bracket support surface 61 is preferably located proximate and below the hook ends of the hook members 63, as seen in the z-direction, i.e. the height direction of the engagement member 6 and/or of the bracket 4.
  • the contact points between the engagement member 6 and the bracket 4 may be angled relative the z-axis, as seen in a plane being perpendicular to the x-axis. This may ensure a good and controlled angle of the carrier member 2.
  • a cover attachment device 9 for a bracket 4 for a roof rack foot assembly 1 for a roof rack 100 for a vehicle comprises a bracket facing away surface 91 adapted to protect the bracket 4 externally when the cover attachment device 9 is attached to the bracket 4. It further comprises a bracket facing surface 92 adapted to face the bracket 4 when the cover attachment device 9 is attached to the bracket 4.
  • the cover attachment device 9 further comprises at least one protruding portion 93 which protrudes out from the bracket facing surface 92, wherein the at least one protruding portion 93 is configured to attach the cover attachment device 9 to the bracket 4 by a snap-fit connection.
  • FIG. 8a shows a sectional view of the cover attachment device 9 when it is attached to the bracket 4, which sectional view is a plane which is perpendicular to the x-axis, i.e the longitudinal axis x of the bracket and/or of the cover attachment device 9.
  • Fig. 8b shows a perspective view of the cover attachment device 9 and the bracket facing away surface 91, as seen from above and
  • fig. 8c shows a perspective view of the cover attachment device 9 from below, i.e. it shows the bracket facing surface 92.
  • the cover attachment device 9 is in the shown embodiments made of a polymer, and has been manufactured by injection molding. In the shown embodiments, the cover attachment device 9 is attached to the bracket 4 by engagement with the first vertically extending wall 46 and by the second vertically extending wall 47, as mentioned in the above.
  • the at least one protruding portion 93 is configured to resiliently flex so as to be able to snap in to an engagement portion 411 (see e.g. fig. 2 ) of the bracket 4.
  • there are two protruding portions 93 which are spaced apart from each other, as seen along the longitudinal axis x of the cover attachment device 9 and/or of the bracket 4.
  • the protruding portions 93 are spaced apart with a similar distance as the distance between the engagement portions 411 of the bracket 4, which as mentioned above may be apertures in the bracket 4. Further, as shown in fig.
  • the cover attachment device 9 may comprise cover attachment support surfaces 94 which are configured to contact the second vertically extending wall 47 so that the cover attachment device 9 is attached to the bracket 4.
  • the cover attachment support surfaces 94 may further be configured to guide the cover attachment device 9 when it is being mounted on the bracket 4.
  • the cover attachment support surfaces 94 may be angled with respect to the z-axis, as seen in a plane being perpendicular to the x-axis.
  • the at least one protruding portion 93 is configured to resiliently flex in a horizontal direction, as seen when the cover attachment device 9 and the bracket 4 are attached to the vehicle.
  • the horizontal direction is here a direction which is provided in a plane defined by the x-axis and the y-axis. More specifically, the least one protruding portion 93 is in the embodiment shown in figs. 8a-c configured to resiliently flex along the transverse axis y of the bracket 4 and/or of the cover attachment device 9.
  • the at least one protruding portion 93 may comprise a waist section 931 and an outer engaging section 932 provided outside the waist section 931 with respect to the bracket facing surface 92, wherein the outer engaging section 932 is configured to snap in to the engagement portion 411 of the bracket 4.
  • the resilient flexing function is here at least provided by the shape of the at least one protruding portion 93, which is here also integrated with the cover attachment device 9, i.e. the cover attachment device 9 is a single one-piece unit, thereby implying a reduced manufacturing cost.
  • figs. 8d-f show another embodiment of a cover attachment device 9 which comprises a lock member 95.
  • the lock member 95 is configured to lock the cover attachment device 9 to the bracket 4. Hence, when the lock member 95 is in a locked state, the cover attachment device 9 is prevented from being released from the bracket 4.
  • the lock member 95 is in the shown embodiment in the form of a rotation lock, or cylinder lock. It is further openable by use of a tool such as a hex key, an Allen key or Allen wrench or a key (not shown).
  • Figs. 8d and 8e show perspective views from above and underneath of the cover attachment device 9, respectively.
  • Fig. 8f shows a sectional view of the cover attachment device 9, when being locked to the bracket 4, which sectional view is a plane being perpendicular to the x-axis.
  • the lock member 95 may be arranged to prevent the at least one protruding portion 93 to release the snap-fit connection to the bracket 4 when the lock member 95 is in the locked state.
  • This is in the shown embodiment achieved by use of a lock portion 952 of the lock member 95 and an opposing surface 951 on the cover attachment device 9 for the lock member 95.
  • the opposing surface 951 prevents the lock member 95 from being pushed inwardly, for example in a direction being opposite to the y-direction, thereby preventing the at least one protruding portion 93 from being released from the engagement portion 411 of the bracket 4.
  • the engagement portion is the aforementioned aperture(s) 411.
  • the lock member 95 When the lock member 95 is opened by rotation, such as by rotating the lock member 95 with respect to an axle being substantially parallel to the y-axis, the lock member 95 will no longer be prevented by the opposing surface 951 and thereby the lock member 95 can be pushed inwardly. When the lock member 95 is pushed inwardly, the at least one protruding portion 93 can be released from the bracket 4. In the embodiment shown in fig. 8f , the lock portion 952 on the lock member 95 will not prevent the lock member 95 from being pushed inwardly when the lock member has been rotated to the unlocked state. For example, the lock portion 952 may only extend in a portion of the circumference of the lock member 95, as seen in a plane being perpendicular to the y-axis.
  • the lock member 95 is preferably spring-biased towards the locked state, i.e. so that the at least one protruding portion 93 is automatically attached to the bracket 4 via the engagement portion 411 when the cover attachment device 9 is mounted on the bracket 4.
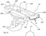
  • a screw anti-rotation device 10 for a screw 5 of a roof rack 1 is shown.
  • the screw anti-rotation device 10 is configured to prevent the screw 5 from loosening when being attached to a member.
  • the screw anti-rotation device 10 comprises a screw facing surface 101 adapted to receive the screw 5 and a screw facing away surface 102 adapted to face the member to which the screw 5 is attached.
  • the screw facing surface 101 is rounded so that the screw anti-rotation device 10 can be angled with respect to the screw 5 in more than one angle position when the screw 5 is attached to the member.
  • the screw facing away surface 102 is also rounded so that the screw anti-rotation device 10 can be angled with respect to the member in more than one angle position when the screw 5 is attached to the member.
  • the x-axis, y-axis and z-axis as shown in figs. 9-11 are the same axes as previously described in the above.
  • Figs. 9a-b show sectional views, which here are planes which are perpendicular to the x-axis.
  • Figs. 10a-b show perspective views of when the screw anti-rotation device 10 is provided on a bracket 4 as described in the above, and fig. 11 shows a perspective view of a screw anti-rotation device 10 according to an example embodiment of the disclosure.
  • the roof rack 100 comprises the roof rack foot assembly 1 as described in the above, wherein the screw 5 is configured to attach the bracket 4 to a vehicle by use of the screw 5 and by attaching the screw 5 to the vehicle via an aperture 431, 432, 433 in the bracket 4.
  • the angle position with respect to the screw 5 and the screw anti-rotation device 10 may be varied in a range of +- 5 degrees, and/or the angle position with respect to the screw anti-rotation device 10 and the member, preferably the bracket 4, can be varied in a range of +- 5 degrees, as indicated in fig. 9a .
  • the angle position may be varied with respect to an axis which is parallel to the z-axis. As such, the angle position may be varied about the y-axis and/or about the x-axis.
  • the screw facing surface 101 may as shown in fig. 10a have a quadrilateral-shaped form, which here is a rectangular-shaped form, as seen from above when the screw anti-rotation device 10 is provided at the member, such as at the aperture 431 of the bracket 4.
  • At least two sides 103, 104 of the quadrilateral-shaped form are configured to contact a respective side of a head of the screw 5.
  • the at least two sides 103, 104 are resiliently flexible so as to allow the screw 5 from being screwed into a hole of the vehicle but to prevent the screw 5 from being un-screwed from the hole when provided therein.
  • the two sides 103 and 104 are in the shown embodiment provided opposite to each other.
  • the screw anti-rotation device 10 may further comprise at least one anti-rotation protruding portion 105 provided on the screw facing away surface 102.
  • the anti-rotation protruding portions 105 as shown are configured to extend into the aperture 431 of the member, which here is the bracket 4. Thereby, by the configuration of the anti-rotation protruding portion 105, rotation of the screw anti-rotation device 10 may be further prevented, and/or the screw anti-rotation device 10 may be prevented from falling of from the member, which here is the bracket 4.
  • the screw anti-rotation device 10 may also comprise fewer or more such anti-rotation protruding portions 105.
  • the at least one anti-rotation protruding portion 105 may be configured to resiliently flex so as to provide a snap fit locking to e.g. the aperture 431.
  • the quadrilateral-shaped form comprises two additional opposing sides 105, 106. These opposing sides 105, 106 may be formed so that a length L1 is longer than a smallest distance between the two sides 103 and 104. Thereby the contact between the screw anti-rotation device 10 and the member, such as the bracket 4, may be improved, implying a reduced rotation risk for the screw anti-rotation device 10.
  • This configuration may be achieved by providing enlarged corners 107, as shown in fig. 11 , which corners 107 extend outside the two sides 103, 104, as seen in the direction of the x-axis.
  • fig. 4 and fig. 7 show examples of a roof rack foot assembly 1 and a roof rack 100 where the carrier member 2 is connected to the crossbar 3 via an anchor member 11. A portion of the anchor member 11 is intended to be in inserted into a track 31 of the crossbar.
  • the roof rack foot assembly 1 may further comprise a spring member 15 arranged to provide a spring-force onto the anchor member 11 to prevent the anchor member 11 from getting stuck in the track 31 (see fig. 7 ) when the roof rack foot assembly 1 is not rigidly attached to the bracket 4.
  • the roof rack foot assembly 1 may also comprise a washer member 16 for the carrier member fixation means 8 which is provided in-between e.g. a screw head of the carrier member fixation means 8 and the engagement member 6. The washer member 16 may be used to reduce friction for the carrier member fixation means 8.
  • FIG. 6 shows an example of an "Edge-type" roof rack 100, where the crossbar 3 may be attached to the carrier member 2 via e.g. a screw and nut connection 32.
  • connection member 64 may be provided in a circular hole 65 as shown in figs. 1 , 5 and 6 .
  • the connection member 64 may be provided in a somewhat elongated hole 65', as seen in a plane which is perpendicular to the x-axis, as shown in figs. 4 and 7 .
  • the elongated hole 65' is configured so that the connection member may be moved therein, as seen in the plane being perpendicular to the x-axis. This movement may be required for rigidly attaching the anchor member 11 in the track 31 of the crossbar.
  • the roof rack foot assembly 1 may further comprise a first cover 12 for the roof rack foot assembly and/or a second cover 13 for the roof rack foot assembly 1.
  • the first and/or second cover/s 12, 13 is/are preferably made of a polymer.
  • a lock 14, which may be locked by a key (not shown) may further be provided for locking the first cover 12 to the roof rack foot assembly 1.

Landscapes

  • Engineering & Computer Science (AREA)
  • Mechanical Engineering (AREA)
  • Fittings On The Vehicle Exterior For Carrying Loads, And Devices For Holding Or Mounting Articles (AREA)

Abstract

The present disclosure relates to a roof rack foot assembly (1) for a roof rack (100), comprising:a carrier member (2) for carrying a crossbar (3) of the roof rack;a bracket (4) configured for attachment to a fix point attachment position of a vehicle by use of at least one fixation means (5), such as a screw or bolt, wherein the bracket comprises an engagement portion (41) and a seat portion (42) for the carrier member.

Description

    TECHNICAL FIELD
  • The present disclosure relates to a fix point roof rack foot assembly for a roof rack and to a roof rack for a vehicle comprising at least one of the roof rack foot assembly. The present disclosure further relates to a cover attachment device and to a screw anti-rotation device.
  • BACKGROUND
  • Roof racks comprising load carrying bars are known for providing improved load carrying capacity for automobiles.
  • A roof rack for a vehicle typically includes a roof rack crossbar and two roof rack feet configured for attachment to the vehicle. There are different types of roof racks and roof rack feet. For example, roof rack feet may be configured for attachment to a guide rail or the like provided on the roof of the vehicle. Thereby the roof rack may be provided at any position along the extension of the guide rail. Another type of roof rack foot is the so called fix point roof rack foot, which is configured for attachment to a fix point attachment position on the vehicle. Most likely the fix point attachment position is provided on the roof of the vehicle and may be configured as a threaded screw hole close to an edge of the roof which can receive a matching threaded screw for attaching the roof rack foot to the roof.
  • One such fix point roof rack foot may be found in EP 3 225 468 A1 , which discloses a fix point load carrier foot for a roof rack for a vehicle. The load carrier foot comprises a body and the body comprises a vehicle facing surface and a load carrying bar facing surface. An attachment member is connectable to a fixed connection point on the vehicle and has an attachment position and a release position.
  • Even though the above mentioned fix point load carrier foot provides an adjustable load carrying foot which can be used for different vehicles, there is still a strive of developing further improved and/or alternative roof rack feet for roof racks.
  • SUMMARY
  • In view of the above, an object of the present disclosure is to provide an improved roof rack foot assembly for a roof rack, which at least alleviates some of the drawbacks of the prior art, or which at least provides a good alternative.
  • The object is provided by the subject matter in independent claim 1. Advantageous embodiments may be found in the dependent claims and in the accompanying description and drawings.
  • According to a first aspect of the disclosure, the object is achieved by a roof rack foot assembly for a roof rack, comprising,
    a carrier member for carrying a crossbar of the roof rack, the carrier member comprising a first and a second support portion,
    a bracket configured for attachment to a fix point attachment position of a vehicle by use of at least one fixation means, such as a screw or bolt, wherein the bracket comprises an engagement portion and a seat portion for the carrier member,
    wherein,
    the seat portion comprises a first and a second support surface, preferably spaced apart from each other, wherein each support surface is adapted to receive the respective first and second support portion of the carrier member when the carrier member is attached to the bracket, and
    wherein each support surface of the seat portion has a longitudinal extension along a respective longitudinal axis thereof, wherein the first and second support surfaces are arranged on the bracket so that their longitudinal axes are provided parallel, or at least substantially parallel, with respect to each other.
  • By the provision of the roof rack foot assembly as disclosed herein, especially with respect to the first aspect, an improved roof rack foot assembly can be provided which enables load from the crossbar to be more uniformly distributed and/or balanced on the bracket. This may be achieved by the configuration of the seat portion, and especially by the a first and second support surfaces, which are preferably spaced apart from each other, thereby at least mainly providing a two-point or two-line load-transferring connection between the carrier member and the bracket. Hence, according to a preferred embodiment, the first and second support portions of the carrier member are also spaced apart from each other. Still further, by arranging the first and second support surfaces so that their longitudinal axes are provided parallel, or at least substantially parallel, with respect to each other, more space on the bracket may be provided for the fixation means for attaching the bracket to the fix point attachment position of the vehicle. For example, improved space for the fixation means may thereby be provided in-between the first and second support surfaces and/or on an outer side of the first and second support surfaces. Hence, the roof rack foot assembly as disclosed herein, especially with respect to the first aspect of the disclosure, provides for increased versatility due to the enlarged space for the fixation means on the bracket. For example, the bracket may be configured differently for different vehicle models by adjusting the location for the fixation means on the bracket. Further, the increased space for the fixation means may also provide a more robust connection to the vehicle in that it enables providing more fixation means and/or providing fixation means at more preferred locations in order to securely attach the bracket to the vehicle.
  • Optionally, the roof rack foot assembly may further comprise an engagement member associated with the carrier member which is adapted to clamp the carrier member to the bracket by applying a pulling force therebetween. Thereby a secure engagement to the vehicle may be provided when the roof rack foot assembly is attached thereto. Clamping the carrier member like this may be important for safety reasons, implying a reduced risk for the roof rack foot assembly of being released from the vehicle. This may be especially important when the roof rack is intended to carry larger and/or heavier loads, such as fully loaded ski-boxes, bicycles etc.
  • Optionally, the first and second support surfaces of the seat portion and the first and second support portions of the carrier member may be adapted to transfer loads at least in a vertical direction, as seen when the roof rack foot assembly is attached to a vehicle positioned on a flat horizontally extending surface. Thereby a reliable two-point or two-line load-transferring connection which at least transfer loads in vertical direction between the carrier member and the bracket may be achieved. This configuration may also more easily predict how loads from the roof rack to the vehicle will be transferred, thereby e.g. reducing the risk of fatigue stress at unexpected portions of the roof rack foot assembly.
  • Optionally, each support surface of the seat portion may have a transverse extension along a respective transverse axis thereof, wherein the respective transverse axis is perpendicular to its respective longitudinal axis, and wherein each support surface has a length in its transverse extension which is shorter than a length in its longitudinal extension, or wherein each support surface has a length in its transverse extension which is equal to, or substantially equal to, a length in its longitudinal extension. The transverse and longitudinal lengths are preferably a greatest measured length of each support surface.
  • Optionally, the roof rack foot assembly may further comprise a foot pad member for protecting a vehicle roof, wherein the foot pad member is adapted to be positioned in-between the bracket and the vehicle when the bracket is attached to the fix point attachment position, wherein the bracket and the foot pad member may be provided as separate components or may be integrated as a one-piece member. The foot pad member may comprise a material which is softer compared to a material of the bracket, such as an elastically deformable material. Such material may for example be a polymer, e.g. rubber. Optionally, the bracket may comprise at least one receiving location for at least one of the fixation means. Still optionally, as also indicated in the above, the at least one receiving location may be located in an area, preferably a central area, of the bracket in-between the first and second support surfaces. Still optionally, the first and second support surfaces of the bracket may comprise a respective first and second longitudinal side, wherein the first longitudinal side of the first support surface faces the first longitudinal side of the second support surface, and wherein the at least one receiving location is located outside and facing one of the second longitudinal sides. Hence, by the provision of the roof rack foot assembly as disclosed herein, more space may be provided for fixation means for attaching the bracket to the vehicle.
  • Optionally, the bracket may have a longitudinal extension along a longitudinal axis thereof and a transverse extension along a transverse axis thereof, wherein the longitudinal axis of the bracket and the transverse axis of the bracket are perpendicular to each other, and wherein the bracket is configured so that the longitudinal axis thereof mainly coincides with a travelling direction of the vehicle when the roof rack foot assembly is attached to the vehicle, wherein the longitudinal axes of the first and second support surfaces are extending in, or at least substantially extending in, the same direction as the direction of the transverse axis of the bracket. Thereby improved support for the carrier member may be provided and where a more uniform load distribution in the transverse direction of the bracket can be provided. It may further provide improved stability of the carrier member on the bracket, when attached thereto.
  • Optionally, the bracket may have a longitudinal extension along a longitudinal axis thereof and a transverse extension along a transverse axis thereof, wherein the longitudinal axis of the bracket and the transverse axis of the bracket are perpendicular to each other, and wherein the bracket is configured so that the longitudinal axis thereof mainly coincides with a travelling direction of the vehicle when the roof rack foot assembly is attached to the vehicle, wherein the longitudinal axes of the first and second support surfaces are extending in, or at least substantially extending in, the same direction as the direction of the longitudinal axis of the bracket. Thereby a stable two-line load-transferring connection can be provided including a more uniform load distribution in the longitudinal direction of the bracket.
  • Optionally, the first and second support portions of the carrier member and the first and second support surfaces of the seat portion may be adapted so that the carrier member, in a first attachment state, is movable in the seat portion by pivoting the carrier member, preferably with respect to a rotational axis of the carrier member, when the carrier member is not rigidly attached to the bracket. Thereby an angle between the bracket and the carrier member may be adjusted to compensate for different vehicle roofs having different inclination angles, implying increased flexibility for the roof rack foot assembly. A first attachment state as used herein means a state where the carrier member is connected to the bracket but has not yet been rigidly attached thereto, such as when providing a tensioning force therebetween.
  • Optionally, the engagement portion may be positioned vertically above the first and second support surfaces, as seen when the roof rack foot assembly is mounted on a vehicle positioned on a flat horizontally extending surface. Thereby it may be easier for a user to find the engagement portion when rigidly attaching the carrier member to the bracket. Further, by providing the engagement portion vertically above the first and second support surfaces, the risk of damaging/scratching the vehicle roof during attachment may be reduced.
  • Optionally, the bracket may be a sheet-formed member, such as a sheet metal member, wherein the first and second support surfaces are provided on a main surface of the sheet-formed member. Providing a sheet-formed member may imply a reduced manufacturing cost. Still optionally, the bracket may have an L-shaped and/or U-shaped cross section, which cross section is defined by a plane which is perpendicular to the longitudinal axis of the bracket, which axis is preferably intended to at least mainly extend in a travelling direction of the vehicle when the roof rack foot assembly is attached to the vehicle. Such a shape has been found advantageous in that it provides two or more surfaces on the bracket at which the engagement member and/or the seat portion can be provided. Further, such shape implies a more robust bracket having increased strength.
  • The roof rack foot assembly as disclosed herein may also be denoted a fix point roof rack foot assembly.
  • According to a second aspect of the disclosure, the object is also provided by a roof rack for a vehicle comprising at least one roof rack foot assembly according to any one of the embodiments of the first aspect of the disclosure and at least one crossbar.
  • According to a third aspect of the disclosure, the object is achieved by a roof rack foot assembly for a roof rack, comprising:
    • a carrier member for carrying a crossbar of the roof rack;
    • a bracket configured for attachment to a fix point attachment position of a vehicle by use of a fixation means, such as a screw or bolt,
    • an engagement member connected to the carrier member for rigidly attaching the carrier member to the bracket;
    • wherein the bracket comprises an engagement portion and a seat portion for the carrier member, wherein the engagement member is adapted to attach the carrier member to the bracket by engagement with the engagement portion of the bracket, and wherein the carrier member and the seat portion are adapted so that the carrier member, in a first attachment state, is movable in the seat portion by pivoting the carrier member with respect to a rotational axis of the carrier member when the carrier member is not rigidly attached to the bracket;
    • a carrier member fixation means, such as a screw or bolt, adapted for providing a secure engagement between the engagement member and the engagement portion so that the carrier member is rigidly attached to the bracket,
    • wherein,
    • the roof rack foot assembly is configured so that the carrier member fixation means extends through, or in the proximity of, the rotational axis.
  • By the provision of the aforementioned roof rack foot assembly, especially with respect to the third aspect, an improved roof rack foot assembly is achieved which provides a robust attachment between the carrier member and the bracket where the risk of creating unwanted bending moments will be reduced. This is accomplished by providing the carrier member fixation means so that it extends through, or in the proximity of, the rotational axis of the carrier member. It has namely been realized that if having a carrier member fixation means which does not extend through, or in the proximity of, the rotational axis of the carrier member, a lever arm effect which provides unwanted bending moments may be created. This in turn may result in unwanted stress on the bracket, the carrier member and/or on the crossbar, when attached to the carrier member. Further, during mounting, an unwanted bending moment on the crossbar may for example lead to that the crossbar tries to raise a roof rack foot assembly on the other side of the crossbar which not yet has been rigidly attached to the vehicle. By the provision of the roof rack foot assembly according to the third aspect of the disclosure, this kind of mounting issue may be mitigated or eliminated.
  • It shall be noted that all embodiments of the third aspect of the present disclosure are applicable to all of the embodiments of the first and second aspects of the present disclosure and vice versa.
  • Optionally, the carrier member may have at least one curved outer surface which is adapted to be in contact with the seat portion when being attached to the bracket, and wherein the at least one curved outer surface, in the first attachment state, is configured to be movable in the seat portion by pivoting the carrier member with respect to the rotational axis of the carrier member, wherein a distance from the rotational axis to any point on the outer curved surface which is adapted to be in contact with the seat portion is at least 40%, 50%, 60%, 70 % or greater than a transverse length of the bracket, as seen along a transverse extension of the bracket. Thereby a large abutment surface may be provided, which in turn may reduce the risk of stress concentration at specific portions of the roof rack foot assembly. Reduced risk of stress concentrations may imply a reduced need of over-dimensioning parts of the roof rack foot assembly, which in turn may imply a reduced manufacturing cost and/or reduced amount of material required for the roof rack foot assembly.
  • Preferably, the seat portion has a main extension in the transverse extension of the bracket. Still further, the outer curved surface of the carrier member may have a main extension in the transverse extension of the bracket, when attached thereto. The distance from the rotational axis to any point on the outer curved surface preferably defines a radius of the outer curved surface, which radius may be seen in a plane defined by a transverse direction and a height direction of the carrier member, which directions are perpendicular to each other, and wherein the height direction corresponds to a vertical direction of the vehicle, as seen when the roof rack foot assembly is attached thereto.
  • Still optionally, the transverse extension of the bracket may extend along a transverse axis thereof, wherein the bracket has a longitudinal extension along a longitudinal axis thereof, wherein the longitudinal axis of the bracket and the transverse axis of the bracket are perpendicular to each other, and wherein the longitudinal axis of the bracket is intended to at least mainly extend in a travelling direction of the vehicle when the roof rack foot assembly is attached to the vehicle.
  • Optionally, the engagement member may comprise a bracket support surface and the bracket may comprise an engagement member support surface, wherein the bracket support surface and the engagement member support surface are adapted to contact each other and to provide a first tension force therebetween when the carrier member is rigidly attached to the bracket, which first tension force is mainly directed in a horizontal direction, as seen when the roof rack foot assembly is mounted on a vehicle positioned on a flat horizontally extending surface. Thereby a robust attachment which securely attaches the carrier member to the bracket in the horizontal direction is achieved.
  • Optionally, the engagement member may be pivotally connected to the carrier member with respect to a pivot axis, wherein the pivot axis is arranged to be moved in a track provided on or in the engagement member or on or in the carrier member. Still optionally, the track may be inclined with respect to a horizontal plane so that a second tension force between the engagement member and the engagement portion is provided when the carrier member is rigidly attached to the bracket, which second tension force is mainly directed in a vertical direction, as seen when the roof rack foot assembly is mounted on a vehicle positioned on a flat horizontally extending surface. Thereby a robust attachment which securely attaches the carrier member to the bracket in the vertical direction is achieved.
  • Optionally, the roof rack foot assembly may further comprise a foot pad member, wherein the foot pad member is adapted to be positioned in-between the bracket and the vehicle when the bracket is attached to the fix point attachment position, wherein the bracket and the foot pad member may be provided as separate components or may be integrated as a one-piece member.
  • Optionally, the engagement portion may be positioned vertically above the seat portion, as seen when the roof rack foot assembly is mounted on a vehicle positioned on a flat horizontally extending surface.
  • Optionally, the bracket may be a sheet-formed member, such as a sheet metal member, wherein seat portion is provided on a main surface of the sheet-formed member.
  • Optionally, the bracket may have an L-shaped and/or U-shaped cross section, which cross section is defined by a plane which is perpendicular to a longitudinal axis of the bracket, which axis is preferably intended to at least mainly extend in a travelling direction of the vehicle when the roof rack foot assembly is attached to the vehicle.
  • Optionally, the seat portion may comprise a first and a second support surface, which are preferably spaced apart from each other.
  • According to a fourth aspect of the disclosure, the object is achieved by a roof rack for a vehicle comprising at least one roof rack foot assembly according to any one of the embodiments of the third aspect of the disclosure and at least one crossbar.
  • According to a fifth aspect of the disclosure, the object is achieved by a roof rack foot assembly for a roof rack, comprising:
    • a carrier member for carrying a crossbar of the roof rack;
    • a bracket configured for attachment to a fix point attachment position of a vehicle by use of a fixation means, such as a screw or bolt,
    • wherein the bracket comprises an engagement portion and a seat portion for the carrier member, and wherein the bracket comprises a top side facing the carrier member and a bottom side provided on an opposite side with respect to the top side, wherein the seat portion is provided on the top side, and wherein the engagement portion and the seat portion are spaced apart from each other,
    • wherein,
    • the engagement portion is provided at the top side of the bracket.
  • It shall be noted that all embodiments of the fifth aspect of the present disclosure are applicable to all of the embodiments of the first, second, third and fourth aspects of the present disclosure and vice versa.
  • By the provision of the aforementioned roof rack foot assembly, especially with respect to the fifth aspect, an improved roof rack foot assembly is achieved which provides a simplified attachment interface between the bracket and the carrier member. More specifically, by providing the engagement portion and the seat portion, which are spaced apart from each other, on the top side of the bracket, it may be easier for a user to attach the carrier member to the bracket. This configuration further implies that the risk of damaging/scratching a vehicle roof during mounting may be mitigated.
  • Optionally, the engagement portion may be positioned vertically above the seat portion, as seen when the roof rack foot assembly is mounted on a vehicle positioned on a flat horizontally extending surface. Still optionally, the bracket may have an L-shaped and/or U-shaped cross section, which cross section is defined by a plane which is perpendicular to a longitudinal axis of the bracket, which axis is preferably intended to at least mainly extend in a travelling direction of the vehicle when the roof rack foot assembly is attached to the vehicle. Still optionally, the engagement portion may be provided on a portion of the bracket which extends in the vertical direction, such as a vertically extending portion on the aforementioned L-shaped and/or U-shaped cross sections. Thereby, it may be easier and more intuitive for a user to find the engagement portion when attaching the carrier member to the bracket.
  • Optionally, the bracket may be a sheet-formed member, such as a sheet metal member, wherein the first and second support surfaces are provided on a main surface of the sheet-formed member.
  • Optionally, the engagement portion may be defined by at least one aperture in the bracket into which an engagement member associated with the carrier member may be inserted for rigidly attaching the carrier member to the bracket.
  • Optionally, the roof rack foot assembly may further comprise the engagement member associated with the carrier member, wherein the engagement member comprises at least one hook-formed portion adapted to be inserted into the at least one aperture for rigidly attaching the carrier member to the bracket.
  • According to a sixth aspect of the disclosure, the object is achieved by a roof rack for a vehicle comprising at least one roof rack foot assembly according to any one of the embodiments of the fifth aspect and at least one crossbar.
  • According to a seventh aspect of the disclosure, the object is achieved by a roof rack foot assembly for a roof rack, comprising:
    • a carrier member for carrying a crossbar of the roof rack;
    • an engagement member connected to the carrier member;
    • a bracket configured for attachment to a fix point attachment position of a vehicle by use of a fixation means, such as a screw or bolt,
    • wherein the bracket comprises an engagement portion for the engagement member, wherein the engagement member is adapted to rigidly attach the carrier member to the bracket by engagement with the engagement portion of the bracket, the engagement member comprises at least one hook member adapted to engage with the engagement portion of the bracket,
    • wherein,
    • the at least one hook member is formed by a wall section extending in a height direction and a depth direction of the roof rack foot assembly, wherein the depth direction is coinciding with a transverse direction of the vehicle, when attached thereto.
  • It shall be noted that all embodiments of the seventh aspect of the present disclosure are applicable to all of the embodiments of the first, second, third, fourth, fifth and sixth aspects of the present disclosure and vice versa.
  • By the provision of the aforementioned roof rack foot assembly, especially with respect to the seventh aspect, an improved roof rack foot assembly is achieved in which a more robust engagement member is provided. This is provided in that the hook member is formed by a wall section which has an extension as defined in the above. Thereby, forces acting on the hook member, when the carrier member is rigidly attached to the bracket, can be accommodated by the wall section which will be less sensitive to bending moments with respect to a longitudinal axis of the vehicle, when the roof rack foot assembly is attached thereto.
  • Optionally, the bracket may further comprise a seat portion for the carrier member. Still optionally, the engagement portion of the bracket may be positioned vertically above the seat portion, as seen when the roof rack foot assembly is mounted on a vehicle positioned on a flat horizontally extending surface.
  • Optionally, the engagement member may be a sheet-formed member, such as a sheet metal member.
  • Optionally, the engagement member may have an L-shaped and/or U-shaped cross section, which cross section is defined by a plane which is perpendicular to the height direction.
  • Optionally, the bracket may be a sheet-formed member, such as a sheet metal member, wherein the engagement portion is provided on a side surface of the sheet-formed member.
  • Optionally, the bracket may have an L-shaped and/or U-shaped cross section, which cross section is defined by a plane which is perpendicular to a longitudinal axis of the bracket, which axis is preferably intended to at least mainly extend in a travelling direction of the vehicle when the roof rack foot assembly is attached to the vehicle.
  • According to an eighth aspect of the disclosure, the object is achieved by a roof rack for a vehicle comprising at least one roof rack foot assembly according to any one of the embodiments of the seventh aspect and at least one crossbar.
  • According to a ninth aspect of the disclosure, the object is achieved by a cover attachment device for a bracket for a roof rack foot assembly for a roof rack for a vehicle, comprising:
    • a bracket facing away surface adapted to protect the bracket externally when the cover attachment device is attached to the bracket;
    • a bracket facing surface adapted to face the bracket when the cover attachment device is attached to the bracket;
    • wherein the cover attachment device further comprises at least one protruding portion which protrudes out from the bracket facing surface, wherein the at least one protruding portion is configured to attach the cover attachment device to the bracket by a snap-fit connection.
  • By the provision of the aforementioned cover attachment device, an improved and more reliable connection to the bracket is provided. This is achieved by the at least one protruding portion which enables the provision of the snap-fit connection.
  • Optionally, the at least one protruding portion may be configured to resiliently flex so as to be able to snap in to an engagement portion of the bracket.
  • Optionally, the at least one protruding portion may be configured to resiliently flex in a horizontal direction, as seen when the cover attachment device and the bracket are attached to the vehicle.
  • Optionally, the at least one protruding portion may comprise a waist section and an outer engaging section provided outside the waist section with respect to the bracket facing surface, wherein the outer engaging section is configured to snap in to the engagement portion of the bracket.
  • Optionally, the cover attachment device may further comprise a lock-member configured to lock the cover attachment device to the bracket. Still optionally, the lock member may be arranged to prevent the at least one protruding portion to release the snap-fit connection to the bracket when the lock member is in a locked state.
  • According to a tenth aspect of the disclosure, the object is achieved by a bracket and cover attachment device kit and/or assembly for a roof rack foot assembly for a roof rack for a vehicle, comprising the cover attachment device according to any one of the embodiments of the ninth aspect and a bracket.
  • It shall be noted that all embodiments of the ninth and tenth aspects of the present disclosure are applicable to all of the embodiments of the first, second, third, fourth, fifth, sixth, seventh and eighth aspects of the present disclosure and vice versa.
  • According to an eleventh aspect of the disclosure, the object is achieved by a screw anti-rotation device for a screw of a roof rack, wherein the screw anti-rotation device is configured to prevent the screw from loosening when being attached to a member, the screw anti-rotation device comprising:
    • a screw facing surface adapted to receive the screw;
    • a screw facing away surface adapted to face the member to which the screw is attached;
    • wherein the screw facing surface is rounded so that the screw anti-rotation device can be angled with respect to the screw in more than one angle position when the screw is attached to the member and/or the screw facing away surface is rounded so that the screw anti-rotation device can be angled with respect to the member in more than one angle position when the screw is attached to the member.
  • By the provision of the aforementioned screw anti-rotation device, an improved screw anti-rotation device is achieved which is adjustable in different angles, thereby providing increased versatility. For example, the screw anti-rotation device may be used for screws to be attached to different types of vehicles having roofs with different inclination angles.
  • Preferably, the screw anti-rotation device is configured to prevent the screw from loosening when being attached to the member in that the screw anti-rotation device is contacting at least one side of a head of the screw, such as two opposing sides of the head of the screw, thereby preventing the screw from rotating. Further, the screw anti-rotation device is preferably also contacting the member so as to prevent the screw from rotating when the screw is attached to the member.
  • It shall be noted that all embodiments of the eleventh aspect of the present disclosure are applicable to all of the embodiments of the first, second, third, fourth, fifth, sixth, seventh, eighth, ninth and tenth aspects of the present disclosure and vice versa.
  • Optionally, the roof rack may comprise a roof rack foot assembly comprising a bracket, wherein the screw is configured to attach the bracket to a vehicle by use of the screw and by attaching the screw to the vehicle via an aperture in the bracket.
  • Optionally, the angle position with respect to the screw and the screw anti-rotation device can be varied in a range of +- 5 degrees and/or the angle position with respect to the screw anti-rotation device and the member, preferably the bracket, can be varied in a range of +- 5 degrees. Thereby the screw anti-rotation device may be adaptable for most, or all, vehicle types on the market.
  • Optionally, the screw facing surface may have a quadrilateral-shaped form, such as a square-shaped form or rectangular-shaped form, as seen from above when the screw anti-rotation device is provided at the member, such as at the aperture of the bracket, wherein at least two sides of the quadrilateral-shaped form are configured to contact a respective side of a head of the screw.
  • Optionally, the at least two sides may be resiliently flexible so as to allow the screw from being screwed into a hole of the vehicle but to prevent the screw from being un-screwed from the hole when provided therein.
  • Optionally, the screw anti-rotation device may further comprise at least one anti-rotation protruding portion provided on the screw facing away surface.
  • According to a twelfth aspect of the disclosure, the object is achieved by a roof rack comprising the screw anti-rotation device according to any one of the embodiments of the eleventh aspect of the present disclosure.
  • BRIEF DESCRIPTION OF THE DRAWINGS
  • With reference to the appended drawings, below follows a more detailed description of embodiments of the disclosure cited as examples.
  • In the drawings:
    • Fig. 1 shows an exploded view of a roof rack foot assembly according to an example embodiment of the present disclosure;
    • Fig. 2 shows a perspective view of a bracket according to an example embodiment of the present disclosure;
    • Fig. 3 shows a perspective view of an engagement member according to an example embodiment of the present disclosure;
    • Fig. 4 shows an exploded view of a roof rack comprising a roof rack foot assembly according to an example embodiment of the present disclosure;
    • Fig. 5 shows a sectional view of a roof rack foot assembly according to an example embodiment of the present disclosure;
    • Fig. 6 shows a sectional view of a roof rack comprising the roof rack foot assembly as shown in fig. 5 according to an example embodiment of the present disclosure;
    • Fig. 7 shows a sectional view of a roof rack foot assembly and a roof rack according to an example embodiment of the present disclosure;
    • Figs. 8a-f show different views of a cover attachment device for a bracket for a roof rack foot assembly according to an example embodiment of the present disclosure;
    • Figs. 9a-b show sectional views of two screw anti-rotation devices for a screw of a roof rack according to example embodiments of the present disclosure;
    • Figs. 10a-b show perspective views of a bracket and a screw anti-rotation device according to an example embodiment of the present disclosure;
    • Fig. 11 shows a perspective view of a screw anti-rotation device according to an example embodiment of the present disclosure;
    • Fig. 12 shows a schematic view of a bracket viewed from above according to an example embodiment of the present disclosure; and
    • Fig. 13 shows a schematic view of a bracket viewed from above according to another example embodiment of the present disclosure.
  • The drawings show diagrammatic exemplifying embodiments of the present disclosure and are thus not necessarily drawn to scale. It shall be understood that the embodiments shown and described are exemplifying and that the disclosure is not limited to these embodiments. It shall also be noted that some details in the drawings may be exaggerated in order to better describe and illustrate the disclosure. Like reference characters refer to like elements throughout the description, unless expressed otherwise.
  • DETAILED DESCRIPTION OF EXAMPLE EMBODIMENTS OF THE DISCLOSURE
  • With respect to e.g. figs. 1 and 2, a roof rack foot assembly 1 for a roof rack 100 (see fig. 4) according to the present disclosure is shown. The roof rack foot assembly 1 comprises a carrier member 2 for carrying a crossbar 3 (shown in e.g. fig. 4) of the roof rack 100. The carrier member 2 comprises a first 21 and a second 22 support portion. The roof rack foot assembly 1 further comprises a bracket 4 configured for attachment to a fix point attachment position of a vehicle by use of at least one fixation means 5 (see e.g. fig. 4), which in the shown embodiment is a screw, wherein the bracket 4 comprises an engagement portion 41 and a seat portion 42 for the carrier member 2.
  • According to the first aspect of the present disclosure, the seat portion 42 comprises a first 421 and a second 422 support surface, which in the shown embodiments are spaced apart from each other. Each support surface 421, 422 is adapted to receive the respective first 21 and second 22 support portion of the carrier member 2 when the carrier member 2 is attached to the bracket 4. Further, each support surface 421, 422 of the seat portion 42 has a longitudinal extension along a respective longitudinal axis La1, La2 thereof, wherein the first and second support surfaces 421, 422 are arranged on the bracket 4 so that their longitudinal axes La1, La2 are provided parallel, or at least substantially parallel, with respect to each other. Substantially parallel as disclosed herein mean that the directions of the longitudinal axes La1, La2 may deviate from each other by a maximum angle of +- 15 degrees +- 10 degrees or +- 5 degrees.
  • In the embodiment shown in e.g. fig. 2, the first and a second support surfaces 421, 422 are provided by slots in the bracket 4. Hence, according to an example embodiment, the carrier member 2 may be supported in slots of the bracket 4, which may improve the support of the carrier member 2. Hence, the first and second support portions 21, 22 may be provided in the slots. The longitudinal extension of the slots may thereby be provided along the transverse axis y of the bracket 4. Alternatively, the longitudinal extension of the slots may be provided along the longitudinal axis x of the bracket 4.
  • The roof rack foot assembly 1 may, as shown in e.g. fig. 1, further comprise an engagement member 6 associated with the carrier member 2 which is adapted to clamp the carrier member 2 to the bracket 4 by applying a pulling force therebetween.
  • Further, as also shown in e.g. fig. 1 and fig. 2, the first and second support surfaces 421, 422 of the seat portion 42 and the first and second support portions 21, 22 of the carrier member 2 may be adapted to transfer loads at least in a vertical direction z, as seen when the roof rack foot assembly is attached to a vehicle positioned on a flat horizontally extending surface. The direction z, which herein is part of a Cartesian coordinate system, refers to the vertical direction.
  • Further, as e.g. shown in fig. 2, each support surface 421, 422 of the seat portion 42 may have a transverse extension along a respective transverse axis thereof Ta1, Ta2, wherein the respective transverse axis Ta1, Ta2 is perpendicular to its respective longitudinal axis La1, La2, and wherein each support surface 421, 422 has a length in its transverse extension which is shorter than a length in its longitudinal extension, as shown in e.g. fig. 2. Alternatively, each support surface 421, 422 may have a length in its transverse extension which is equal to, or substantially equal to, a length in its longitudinal extension. The length in the transverse extension of each support surface 421, 422 may alternatively be expressed as a width of each support surface 421, 422.
  • The roof rack foot assembly 1 may, as e.g. shown in fig. 4, further comprise a foot pad member 7 for protecting a vehicle roof (not shown), wherein the foot pad member 7 is adapted to be positioned in-between the bracket 4 and the vehicle when the bracket 4 is attached to the fix point attachment position, wherein the bracket 4 and the foot pad member 7 may be provided as separate components or may be integrated as a one-piece member. In the embodiment shown in fig. 4, the bracket 4 and the foot pad member 7 are provided as separate components.
  • As shown in e.g. fig. 2, the bracket 4 may comprise at least one receiving location 431 for at least one of the fixation means 5 (shown in fig. 4). In the shown embodiment, the at least one receiving location 431 is located in an area, which here is a central area, of the bracket 4 in-between the first and second support surfaces 421, 422. A central area as mentioned herein may be defined as the area at the center, or close to the center, of the bracket 4, as seen in a plane defined by a longitudinal axis x and a transverse axis y of the bracket 4. The longitudinal axis x and the transverse axis y is here also part of the aforementioned Cartesian coordinate system.
  • The first and second support surfaces 421, 422 of the bracket 4 may, as shown in fig. 12, comprise a respective first 4211, 4221 and second 4212, 4222 longitudinal side, wherein the first longitudinal side 4211 of the first support surface 421 faces the first longitudinal side 4221 of the second support surface 422, and wherein at least one receiving location 432, 433 is located outside and facing one of the second longitudinal sides 4212, 4222. Hence, by the provision of the present disclosure, especially with respect to the first aspect thereof, more space for receiving locations is made available. The receiving locations are preferably apertures in the bracket 4 into which e.g. screws 5 may be provided.
  • With respect to e.g. figs. 2 and 12, it is shown that the bracket 4 may have a longitudinal extension along a longitudinal axis x thereof and a transverse extension along a transverse axis y thereof, wherein the longitudinal axis x of the bracket and the transverse axis y of the bracket are perpendicular to each other, and wherein the bracket 4 is configured so that the longitudinal axis x thereof mainly coincides with a travelling direction of the vehicle when the roof rack foot assembly 1 is attached to the vehicle. The longitudinal axes La1, La2 of the first and second support surfaces 421, 422 are extending in, or at least substantially extending in, the same direction as the direction of the transverse axis y of the bracket 4. It shall here be noted that according to an embodiment, the longitudinal axes La1, La2 of the first and second support surfaces 421, 422 may extend in a direction which deviates from the direction of the transverse axis y, such as by +- 10 degrees with respect to the transverse axis y, as e.g. seen in a plane defined by the longitudinal axis x and the transverse axis y. Thereby, the bracket 4 may for example be adapted for different types of vehicles, and different types of vehicle roofs having different shapes and/or dimensions.
  • With respect to fig. 13, another embodiment of the bracket 4 is shown. The bracket 4 has a longitudinal extension along a longitudinal axis x thereof and a transverse extension along a transverse axis y thereof, wherein the longitudinal axis x of the bracket 4 and the transverse axis y of the bracket 4 are perpendicular to each other, and wherein the bracket 4 is configured so that the longitudinal axis x thereof mainly coincides with a travelling direction of the vehicle when the roof rack foot assembly is attached to the vehicle, wherein the longitudinal axes La1, La2 of the first and second support surfaces 421, 422 are extending in, or at least substantially extending in, the same direction as the direction of the longitudinal axis x of the bracket 4. Thereby a receiving location 431 may be provided in an area in-between the two support surfaces 421, 422 as shown in fig. 13.
  • With respect to e.g. figs. 1, 2 and 5, it is shown that the first and second support portions 21, 22 of the carrier member 2 and the first and second support surfaces 421, 422 of the seat portion 42 may be adapted so that the carrier member 2, in a first attachment state, is movable in the seat portion 42 by pivoting the carrier member, preferably with respect to a rotational axis RC of the carrier member 2, when the carrier member 2 is not rigidly attached to the bracket 4. Fig. 5 shows a sectional view of the roof rack foot assembly 1, which is defined by the transverse axis y and the z-axis, which axis may refer to the vertical axis when the roof rack foot assembly 1 is mounted on a vehicle as mentioned in the above. The z-axis may also refer to a height direction of the roof rack foot assembly 1. The rotational axis RC is here parallel with the x-axis, i.e. the longitudinal axis x of the bracket 4. Fig. 5 further shows a carrier member fixation means 8 which is arranged for rigidly attaching the carrier member 2 to the bracket 4. The carrier member fixation means 8 is here in the form of a threaded screw. The first attachment state does thereby here mean that the carrier member fixation means 8 has not yet been tightened, i.e. when the carrier member 2 is not rigidly attached to the bracket 4. By pivoting the carrier member 2 with respect to the bracket 4 about the rotational axis RC, the roof rack foot assembly 1 can be adjusted to conform with different vehicle roofs having different shapes and/or dimensions. The carrier member fixation means 8 further connects the engagement member 6 to the carrier member 2 via a connection member 64 which is extending along the rotational axis RC. The connection member 64 as shown is here a pin member which comprises a threaded aperture for the carrier member fixation means 8.
  • With respect to e.g. fig. 2, it is shown that the engagement portion 41 may be positioned vertically above the first and second support surfaces 421, 422, as seen when the roof rack foot assembly 1 is mounted on a vehicle positioned on a flat horizontally extending surface. Hence, the engagement portion 41 may be positioned vertically above the first and second support surfaces 421, 422, as seen in the direction of the z-axis.
  • Further, as e.g. shown in figs. 1 and 2, the bracket 4 may be a sheet-formed member, such as a sheet metal member, wherein the first and second support surfaces 421, 422 are provided on a main surface 44 of the sheet-formed member. More specifically, as shown, the bracket 4 may have an L-shaped and/or U-shaped cross section, which cross section is defined by a plane which is perpendicular to the longitudinal axis x of the bracket 4, which axis is preferably intended to at least mainly extend in a travelling direction of the vehicle when the roof rack foot assembly 1 is attached to the vehicle. The engagement portion 41 is preferably provided on one of the vertically extending walls 46 which extend from the main surface 44, and which is facing away from the vehicle, when the bracket 4 is attached to the vehicle. The vertically extending wall is here a first vertically extending wall 46 and may be denoted a front wall, and may be facing away from the vehicle in transverse direction y when the bracket 4 is attached to the vehicle.
  • Further, according to an embodiment, the bracket 4 may comprise a second vertically extending wall 47 opposing the first vertically extending wall 46, seen in the transverse direction y. Still further, according to an embodiment of the present disclosure, the second vertically extending wall may be arranged as an engagement portion for a cover attachment portion 9 as disclosed herein. Still further, according to another embodiment of the present disclosure, the second vertically extending wall may further comprise carrier member slots 471 for providing room for the carrier member 2. The second vertically extending wall 47 may herein be denoted a rear wall.
  • With respect to e.g. figs. 5 and 6 and 2, a roof rack foot assembly 1 for a roof rack 100 is shown. Fig. 6, similar to fig. 5, shows a sectional view of the roof rack foot assembly 1, which is a plane defined by the aforementioned x-axis and y-axis. The roof rack foot assembly 1 comprises a carrier member 2 for carrying a crossbar 3 of the roof rack 100 and a bracket 4 configured for attachment to a fix point attachment position of a vehicle by use of a fixation means 5, such as a screw or bolt. The roof rack foot assembly further comprises an engagement member 6 connected to the carrier member 2 for rigidly attaching the carrier member 2 to the bracket 4. The bracket 4 comprises an engagement portion 41 and a seat portion 42 for the carrier member 2, wherein the engagement member 6 is adapted to attach the carrier member 2 to the bracket 2 by engagement with the engagement portion 41 of the bracket 4. Further, the carrier member 2 and the seat portion 42 are adapted so that the carrier member 2, in a first attachment state, is movable in the seat portion 42 by pivoting the carrier member 2 with respect to a rotational axis RC of the carrier member 2 when the carrier member 2 is not rigidly attached to the bracket 4, as also mentioned in the above. Further, the roof rack foot assembly 1, as also mentioned in the above, comprises a carrier member fixation means 8, such as a screw or bolt, adapted for providing a secure engagement between the engagement member 6 and the engagement portion 41 so that the carrier member 2 is rigidly attached to the bracket 4. Still further, the roof rack foot assembly 1 is configured so that the carrier member fixation means 8 extends through, or in the proximity of, the rotational axis RC, see e.g. figs. 5 and 6. Hence, as shown, the carrier member fixation means 8 does here extend through the rotational axis RC, which axis may be parallel to, or at least substantially parallel to, the x-axis.
  • Further, as shown in e.g. fig. 5, the carrier member 2 may have at least one curved outer surface 21 which is adapted to be in contact with the seat portion 42 when being attached to the bracket 4, and wherein the at least one curved outer surface 21, in the first attachment state, is configured to be movable in the seat portion 42 by pivoting the carrier member with respect to the rotational axis RC of the carrier member 2, wherein a distance d from the rotational axis RC to any point on the outer curved surface 21 which is adapted to be in contact with the seat portion 42 is at least 40%, 50%, 60%, 70 % or greater than a transverse length d' of the bracket 4, as seen along a transverse extension of the bracket, i.e. the direction extending along the transverse axis y. In the shown embodiment, the seat portion's longitudinal axes La1, La2 extends along the transverse axis y of the bracket 4, as mentioned in the above. More particularly, the seat portion 42 has a main extension in the transverse extension of the bracket 4. A similar configuration as in the above may also be provided for the second support portion 22 of the carrier member 2.
  • Still further, the transverse extension of the bracket 4 is extending along the transverse axis y thereof, and the bracket 4 has a longitudinal extension along the longitudinal axis x thereof, wherein the longitudinal axis x of the bracket 4 and the transverse axis y of the bracket 4 are perpendicular to each other, and wherein the longitudinal axis x of the bracket 4 may be intended to at least mainly extend in a travelling direction of the vehicle when the roof rack foot assembly 1 is attached to the vehicle.
  • With respect to e.g. figs. 3 and 5, it is shown that the engagement member 6 may comprise a bracket support surface 61 and the bracket 4 may comprise an engagement member support surface 45, wherein the bracket support surface 61 and the engagement member support surface 45 are adapted to contact each other and to provide a first tension force therebetween when the carrier member 2 is rigidly attached to the bracket 4, which first tension force is mainly directed in a horizontal direction, as seen when the roof rack foot assembly 1 is mounted on a vehicle positioned on a flat horizontally extending surface. As shown, the horizontal direction may hence be a direction extending in a plane which is defined by the x-axis and the y-axis. Hence, when tensioning the carrier member fixation means 8, a first tension force as defined in the above will be created. The bracket support surface 61 is in the shown embodiments somewhat C-formed, as seen in a sectional view defined by the z-axis and the y-axis. The C-form, or any other suitable form, may e.g. be provided by forming/bending a sheet element, preferably a sheet metal element. The C-formed support surface 61 implies increased strength for the engagement member 6.
  • As shown, the engagement member 6 may be pivotally connected to the carrier member 2 with respect to a pivot axis PA, wherein the pivot axis PA is arranged to be moved in a track 62 provided on the engagement member 6 or on the carrier member 2. In the shown embodiments, the track 62 is in the form of a slot provided in the engagement member 6. Further, in the shown embodiments, the pivot axis PA is configured as a pin member which can slide in the slot 62.
  • As further shown in e.g. figs. 5, 6 and 3, the track 62 may be inclined with respect to a horizontal plane so that a second tension force between the engagement member 6 and the engagement portion 42 is provided when the carrier member 2 is rigidly attached to the bracket 4, which second tension force is mainly directed in a vertical direction (i.e. the z-axis in the shown embodiments), as seen when the roof rack foot assembly 1 is mounted on a vehicle positioned on a flat horizontally extending surface. The horizontal plane is here defined by the x-axis and the y-axis. The track 62 is here extending in a plane defined by the y-axis and the z-axis, as shown in e.g. fig. 5 and 6. The track 62 may also as shown have a curved profile, for example with a radius defined by a distance from the rotational axis RC to any point on the track 62 along its extension.
  • As further shown in e.g. figs. 3, 5 and 6, a roof rack foot assembly 1 for a roof rack 100 is disclosed, which comprises a carrier member 2 for carrying a crossbar 3 of the roof rack 100, a bracket 4 configured for attachment to a fix point attachment position of a vehicle by use of a fixation means 5, such as a screw or bolt. The bracket 4 comprises an engagement portion 41 and a seat portion 42 for the carrier member 2, wherein the bracket 4 comprises a top side Ts facing the carrier member 6 and a bottom side Bs, intended to face the vehicle when the bracket 4 is attached thereto, provided on an opposite side with respect to the top side Ts, wherein the seat portion 42 is provided on the top side Ts, and wherein the engagement portion 41 and the seat portion 42 are spaced apart from each other. Further, the engagement portion 41 is provided at the top side Ts of the bracket 4.
  • As previously mentioned, the engagement portion 41 may be positioned vertically above the seat portion 42, as seen when the roof rack foot assembly 1 is mounted on a vehicle positioned on a flat horizontally extending surface.
  • Further, as mentioned in the above, the bracket 4 may have an L-shaped and/or U-shaped cross section, which cross section is defined by a plane which is perpendicular to a longitudinal axis x of the bracket 4, which axis is preferably intended to at least mainly extend in a travelling direction of the vehicle when the roof rack foot assembly 1 is attached to the vehicle. The engagement portion 41 may thereby be provided on a portion of the bracket which extends in the vertical direction, i.e. in the direction of the z-axis.
  • Further, the engagement portion 41 may preferably be defined by at least one aperture 411 in the bracket 4 into which an engagement member 6 associated with the carrier member 2 may be inserted for rigidly attaching the carrier member 2 to the bracket 4.
  • The engagement member 6, as mentioned in the above, which is associated with the carrier member 2, may comprise at least one hook-formed portion 63, as shown in fig. 3, adapted to be inserted into the at least one aperture 411 for rigidly attaching the carrier member 2 to the bracket 4. In the shown embodiment, two such hook-formed portions 63, which also may be denoted hook members 63, are separated from each other, as seen along a longitudinal axis x of the engagement member 6, which axis is here parallel to the longitudinal axis x of the bracket 4. The engagement member 6 is further extending in a transverse extension along a transverse axis y and in a height direction along an axis z. Further, in embodiment shown in fig. 2, two corresponding elongated apertures 411 are shown which are separated from each other, as seen along the longitudinal axis x of the bracket 4.
  • As further shown in e.g. figs. 5 and 6, a roof rack foot assembly 1 for a roof rack 100 is disclosed, which comprises a carrier member 2 for carrying a crossbar 3 of the roof rack 100 and an engagement member 6 connected to the carrier member 2. It further comprises a bracket 4 configured for attachment to a fix point attachment position of a vehicle by use of a fixation means 5 (shown in fig. 4), such as a screw or bolt. The bracket 4 comprises an engagement portion 41 for the engagement member 6, wherein the engagement member 6 is adapted to rigidly attach the carrier member 2 to the bracket 4 by engagement with the engagement portion 41 of the bracket 4. The engagement member 6 comprises at least one hook member 63 adapted to engage with the engagement portion 41 of the bracket 4. In the shown embodiments, two such hook members 63 are shown. The at least one hook member 63 is formed by a wall section extending in the height direction z and a depth direction y of the roof rack foot assembly 1, wherein the depth direction y is coinciding with a transverse direction of the vehicle, when attached thereto. Hence, the height direction z corresponds herein to the aforementioned vertical direction z and the depth direction is parallel to the aforementioned transverse axis y of the bracket and/or of the engagement member 6.
  • As shown in e.g. fig. 3, the engagement member 6 is a sheet-formed member, such as a sheet metal member. The engagement member 6 further has a U-shaped cross section, which cross section is defined by a plane which is perpendicular to the height direction z. Consequently, the engagement member 6 and the bracket 4 may both preferably be made of a sheet-formed member, preferably by sheet metal members which have been formed/bent into e.g. the shown U-shaped cross sections. By having the hook members 63 formed by the above mentioned wall sections, and by also providing said wall sections in a U-shaped member 6 as shown in fig. 3, improved strength can be provided. The strength is also provided in that the height of the wall sections in the z-axis is relatively large, with respect to the height of the engagement member 6, such as at least 10%, 20%, 30 % or more of the height of the engagement member 6.
  • The arrows in fig. 3 further shows preferred contact points with the bracket 4, i.e. at the hook-members 63 and at the bracket support surface 61. The bracket support surface 61 is preferably located proximate to hook ends of the hook members 63, thereby enabling improved force distribution. More specifically, the bracket support surface 61 is preferably located proximate and below the hook ends of the hook members 63, as seen in the z-direction, i.e. the height direction of the engagement member 6 and/or of the bracket 4.
  • Still further, as shown in fig. 3, and which also may be seen in e.g. fig. 5, the contact points between the engagement member 6 and the bracket 4 may be angled relative the z-axis, as seen in a plane being perpendicular to the x-axis. This may ensure a good and controlled angle of the carrier member 2.
  • With respect to figs. 8a-f, embodiments of a cover attachment device 9 for a bracket 4 for a roof rack foot assembly 1 for a roof rack 100 for a vehicle is shown. The cover attachment device 9 comprises a bracket facing away surface 91 adapted to protect the bracket 4 externally when the cover attachment device 9 is attached to the bracket 4. It further comprises a bracket facing surface 92 adapted to face the bracket 4 when the cover attachment device 9 is attached to the bracket 4. The cover attachment device 9 further comprises at least one protruding portion 93 which protrudes out from the bracket facing surface 92, wherein the at least one protruding portion 93 is configured to attach the cover attachment device 9 to the bracket 4 by a snap-fit connection. Fig. 8a shows a sectional view of the cover attachment device 9 when it is attached to the bracket 4, which sectional view is a plane which is perpendicular to the x-axis, i.e the longitudinal axis x of the bracket and/or of the cover attachment device 9. Fig. 8b shows a perspective view of the cover attachment device 9 and the bracket facing away surface 91, as seen from above and fig. 8c shows a perspective view of the cover attachment device 9 from below, i.e. it shows the bracket facing surface 92. The cover attachment device 9 is in the shown embodiments made of a polymer, and has been manufactured by injection molding. In the shown embodiments, the cover attachment device 9 is attached to the bracket 4 by engagement with the first vertically extending wall 46 and by the second vertically extending wall 47, as mentioned in the above.
  • As shown in figs. 8a and 8c, the at least one protruding portion 93 is configured to resiliently flex so as to be able to snap in to an engagement portion 411 (see e.g. fig. 2) of the bracket 4. In the embodiment shown in figs. 8a-c, there are two protruding portions 93 which are spaced apart from each other, as seen along the longitudinal axis x of the cover attachment device 9 and/or of the bracket 4. The protruding portions 93 are spaced apart with a similar distance as the distance between the engagement portions 411 of the bracket 4, which as mentioned above may be apertures in the bracket 4. Further, as shown in fig. 8c, the cover attachment device 9 may comprise cover attachment support surfaces 94 which are configured to contact the second vertically extending wall 47 so that the cover attachment device 9 is attached to the bracket 4. The cover attachment support surfaces 94 may further be configured to guide the cover attachment device 9 when it is being mounted on the bracket 4. For example, the cover attachment support surfaces 94 may be angled with respect to the z-axis, as seen in a plane being perpendicular to the x-axis.
  • The at least one protruding portion 93 is configured to resiliently flex in a horizontal direction, as seen when the cover attachment device 9 and the bracket 4 are attached to the vehicle. The horizontal direction is here a direction which is provided in a plane defined by the x-axis and the y-axis. More specifically, the least one protruding portion 93 is in the embodiment shown in figs. 8a-c configured to resiliently flex along the transverse axis y of the bracket 4 and/or of the cover attachment device 9.
  • Further, as shown in e.g. figs. 8a and 8c, the at least one protruding portion 93 may comprise a waist section 931 and an outer engaging section 932 provided outside the waist section 931 with respect to the bracket facing surface 92, wherein the outer engaging section 932 is configured to snap in to the engagement portion 411 of the bracket 4. Hence, the resilient flexing function is here at least provided by the shape of the at least one protruding portion 93, which is here also integrated with the cover attachment device 9, i.e. the cover attachment device 9 is a single one-piece unit, thereby implying a reduced manufacturing cost.
  • Further, figs. 8d-f show another embodiment of a cover attachment device 9 which comprises a lock member 95. The lock member 95 is configured to lock the cover attachment device 9 to the bracket 4. Hence, when the lock member 95 is in a locked state, the cover attachment device 9 is prevented from being released from the bracket 4. The lock member 95 is in the shown embodiment in the form of a rotation lock, or cylinder lock. It is further openable by use of a tool such as a hex key, an Allen key or Allen wrench or a key (not shown).
  • Figs. 8d and 8e show perspective views from above and underneath of the cover attachment device 9, respectively. Fig. 8f shows a sectional view of the cover attachment device 9, when being locked to the bracket 4, which sectional view is a plane being perpendicular to the x-axis.
  • As shown in figs. 8e and 8f, the lock member 95 may be arranged to prevent the at least one protruding portion 93 to release the snap-fit connection to the bracket 4 when the lock member 95 is in the locked state. This is in the shown embodiment achieved by use of a lock portion 952 of the lock member 95 and an opposing surface 951 on the cover attachment device 9 for the lock member 95. The opposing surface 951 prevents the lock member 95 from being pushed inwardly, for example in a direction being opposite to the y-direction, thereby preventing the at least one protruding portion 93 from being released from the engagement portion 411 of the bracket 4. In the shown example the engagement portion is the aforementioned aperture(s) 411. When the lock member 95 is opened by rotation, such as by rotating the lock member 95 with respect to an axle being substantially parallel to the y-axis, the lock member 95 will no longer be prevented by the opposing surface 951 and thereby the lock member 95 can be pushed inwardly. When the lock member 95 is pushed inwardly, the at least one protruding portion 93 can be released from the bracket 4. In the embodiment shown in fig. 8f, the lock portion 952 on the lock member 95 will not prevent the lock member 95 from being pushed inwardly when the lock member has been rotated to the unlocked state. For example, the lock portion 952 may only extend in a portion of the circumference of the lock member 95, as seen in a plane being perpendicular to the y-axis. The lock member 95 is preferably spring-biased towards the locked state, i.e. so that the at least one protruding portion 93 is automatically attached to the bracket 4 via the engagement portion 411 when the cover attachment device 9 is mounted on the bracket 4. By the above configuration, an improved locking function for the cover attachment device 9 is achieved, implying a simplified locking function which is easy to use and which efficiently prevents unwanted users from removing the cover attachment device 9. The at least one protruding portion 93 may also in this embodiment comprise the aforementioned waist section and engaging section.
  • With respect to figs. 9-11, a screw anti-rotation device 10 for a screw 5 of a roof rack 1 is shown. The screw anti-rotation device 10 is configured to prevent the screw 5 from loosening when being attached to a member. The screw anti-rotation device 10 comprises a screw facing surface 101 adapted to receive the screw 5 and a screw facing away surface 102 adapted to face the member to which the screw 5 is attached. The screw facing surface 101 is rounded so that the screw anti-rotation device 10 can be angled with respect to the screw 5 in more than one angle position when the screw 5 is attached to the member. In the embodiment shown in e.g. fig. 9a, the screw facing away surface 102 is also rounded so that the screw anti-rotation device 10 can be angled with respect to the member in more than one angle position when the screw 5 is attached to the member. The x-axis, y-axis and z-axis as shown in figs. 9-11 are the same axes as previously described in the above. Figs. 9a-b show sectional views, which here are planes which are perpendicular to the x-axis. Figs. 10a-b show perspective views of when the screw anti-rotation device 10 is provided on a bracket 4 as described in the above, and fig. 11 shows a perspective view of a screw anti-rotation device 10 according to an example embodiment of the disclosure.
  • In the shown embodiments, the roof rack 100 comprises the roof rack foot assembly 1 as described in the above, wherein the screw 5 is configured to attach the bracket 4 to a vehicle by use of the screw 5 and by attaching the screw 5 to the vehicle via an aperture 431, 432, 433 in the bracket 4.
  • The angle position with respect to the screw 5 and the screw anti-rotation device 10 may be varied in a range of +- 5 degrees, and/or the angle position with respect to the screw anti-rotation device 10 and the member, preferably the bracket 4, can be varied in a range of +- 5 degrees, as indicated in fig. 9a. As shown, the angle position may be varied with respect to an axis which is parallel to the z-axis. As such, the angle position may be varied about the y-axis and/or about the x-axis.
  • The screw facing surface 101 may as shown in fig. 10a have a quadrilateral-shaped form, which here is a rectangular-shaped form, as seen from above when the screw anti-rotation device 10 is provided at the member, such as at the aperture 431 of the bracket 4. At least two sides 103, 104 of the quadrilateral-shaped form are configured to contact a respective side of a head of the screw 5. The at least two sides 103, 104 are resiliently flexible so as to allow the screw 5 from being screwed into a hole of the vehicle but to prevent the screw 5 from being un-screwed from the hole when provided therein. The two sides 103 and 104 are in the shown embodiment provided opposite to each other.
  • As shown in e.g. figs. 9b, 10b and 11, the screw anti-rotation device 10 may further comprise at least one anti-rotation protruding portion 105 provided on the screw facing away surface 102. The anti-rotation protruding portions 105 as shown are configured to extend into the aperture 431 of the member, which here is the bracket 4. Thereby, by the configuration of the anti-rotation protruding portion 105, rotation of the screw anti-rotation device 10 may be further prevented, and/or the screw anti-rotation device 10 may be prevented from falling of from the member, which here is the bracket 4. In the shown embodiments there are four separate anti-rotation protruding portions 105. However, the screw anti-rotation device 10 may also comprise fewer or more such anti-rotation protruding portions 105. Further, as shown, the at least one anti-rotation protruding portion 105 may be configured to resiliently flex so as to provide a snap fit locking to e.g. the aperture 431.
    As shown in fig. 11, the quadrilateral-shaped form comprises two additional opposing sides 105, 106. These opposing sides 105, 106 may be formed so that a length L1 is longer than a smallest distance between the two sides 103 and 104. Thereby the contact between the screw anti-rotation device 10 and the member, such as the bracket 4, may be improved, implying a reduced rotation risk for the screw anti-rotation device 10. This configuration may be achieved by providing enlarged corners 107, as shown in fig. 11, which corners 107 extend outside the two sides 103, 104, as seen in the direction of the x-axis.
  • Further, fig. 4 and fig. 7 show examples of a roof rack foot assembly 1 and a roof rack 100 where the carrier member 2 is connected to the crossbar 3 via an anchor member 11. A portion of the anchor member 11 is intended to be in inserted into a track 31 of the crossbar. As shown in fig. 5, the roof rack foot assembly 1 may further comprise a spring member 15 arranged to provide a spring-force onto the anchor member 11 to prevent the anchor member 11 from getting stuck in the track 31 (see fig. 7) when the roof rack foot assembly 1 is not rigidly attached to the bracket 4. Still further, the roof rack foot assembly 1 may also comprise a washer member 16 for the carrier member fixation means 8 which is provided in-between e.g. a screw head of the carrier member fixation means 8 and the engagement member 6. The washer member 16 may be used to reduce friction for the carrier member fixation means 8.
  • Another example embodiment of a roof rack 100 is shown in fig. 6, which shows an example of an "Edge-type" roof rack 100, where the crossbar 3 may be attached to the carrier member 2 via e.g. a screw and nut connection 32.
  • The connection member 64 may be provided in a circular hole 65 as shown in figs. 1, 5 and 6. Alternatively, the connection member 64 may be provided in a somewhat elongated hole 65', as seen in a plane which is perpendicular to the x-axis, as shown in figs. 4 and 7. The elongated hole 65' is configured so that the connection member may be moved therein, as seen in the plane being perpendicular to the x-axis. This movement may be required for rigidly attaching the anchor member 11 in the track 31 of the crossbar.
  • Still further, as shown in fig. 4 and in fig. 7, the roof rack foot assembly 1 may further comprise a first cover 12 for the roof rack foot assembly and/or a second cover 13 for the roof rack foot assembly 1. The first and/or second cover/ s 12, 13 is/are preferably made of a polymer. Further, a lock 14, which may be locked by a key (not shown) may further be provided for locking the first cover 12 to the roof rack foot assembly 1.
  • It is to be understood that the present disclosure is not limited to the embodiments described above and illustrated in the drawings; rather, the skilled person will recognize that many changes and modifications may be made within the scope of the appended claims.
  • In the following, possible features and feature combinations of the roof rack foot assembly according to the third and fourth aspects of the disclosure are disclosed, presented as items:
  • ITEMS (Third and fourth aspects of the disclosure)
    1. 1. A roof rack foot assembly (1) for a roof rack (100), comprising:
      • a carrier member (2) for carrying a crossbar (3) of the roof rack;
      • a bracket (4) configured for attachment to a fix point attachment position of a vehicle by use of a fixation means (5), such as a screw or bolt,
      • an engagement member (6) connected to the carrier member for rigidly attaching the carrier member to the bracket;
      • wherein the bracket comprises an engagement portion (41) and a seat portion (42) for the carrier member, wherein the engagement member is adapted to attach the carrier member to the bracket by engagement with the engagement portion of the bracket, and wherein the carrier member and the seat portion are adapted so that the carrier member, in a first attachment state, is movable in the seat portion by pivoting the carrier member with respect to a rotational axis of the carrier member when the carrier member is not rigidly attached to the bracket;
      • a carrier member fixation means (8), such as a screw or bolt, adapted for providing a secure engagement between the engagement member and the engagement portion so that the carrier member is rigidly attached to the bracket,
      • characterized in that,
      • the roof rack foot assembly is configured so that the carrier member fixation means extends through, or in the proximity of, the rotational axis.
    2. 2. The roof rack foot assembly according to item 1, wherein the carrier member has at least one curved outer surface which is adapted to be in contact with the seat portion when being attached to the bracket, and
      wherein the at least one curved outer surface, in the first attachment state, is configured to be movable in the seat portion by pivoting the carrier member with respect to the rotational axis of the carrier member, wherein a distance from the rotational axis to any point on the outer curved surface which is adapted to be in contact with the seat portion is at least 40%, 50%, 60%, 70 % or greater than a transverse length of the bracket, as seen along a transverse extension of the bracket.
    3. 3. The roof rack foot assembly according to item 2, wherein the seat portion has a main extension in the transverse extension of the bracket.
    4. 4. The roof rack foot assembly according to any one of items 2 or 3, wherein the transverse extension of the bracket is extending along a transverse axis thereof, and wherein the bracket has a longitudinal extension along a longitudinal axis thereof, wherein the longitudinal axis of the bracket and the transverse axis of the bracket are perpendicular to each other, and wherein the longitudinal axis of the bracket is intended to at least mainly extend in a travelling direction of the vehicle when the roof rack foot assembly is attached to the vehicle.
    5. 5. The roof rack foot assembly according to any one of the preceding items, wherein the engagement member comprises a bracket support surface (61) and the bracket comprises an engagement member support surface (45), wherein the bracket support surface and the engagement member support surface are adapted to contact each other and to provide a first tension force therebetween when the carrier member is rigidly attached to the bracket, which first tension force is mainly directed in a horizontal direction, as seen when the roof rack foot assembly is mounted on a vehicle positioned on a flat horizontally extending surface.
    6. 6. The roof rack foot assembly according to any one of the preceding items, wherein the engagement member is pivotally connected to the carrier member with respect to a pivot axis (PA), wherein the pivot axis is arranged to be moved in a track (62) provided on or in the engagement member or on or in the carrier member.
    7. 7. The roof rack foot assembly according to item 6, wherein the track is inclined with respect to a horizontal plane so that a second tension force between the engagement member and the engagement portion is provided when the carrier member is rigidly attached to the bracket, which second tension force is mainly directed in a vertical direction, as seen when the roof rack foot assembly is mounted on a vehicle positioned on a flat horizontally extending surface.
    8. 8. The roof rack foot assembly according to any one of the preceding items, further comprising a foot pad member (7), wherein the foot pad member is adapted to be positioned in-between the bracket and the vehicle when the bracket is attached to the fix point attachment position, wherein the bracket and the foot pad member may be provided as separate components or may be integrated as a one-piece member.
    9. 9. The roof rack foot assembly according to any one of the preceding items, wherein the engagement portion is positioned vertically above the seat portion, as seen when the roof rack foot assembly is mounted on a vehicle positioned on a flat horizontally extending surface.
    10. 10. The roof rack foot assembly according to any one of the preceding items, wherein the bracket is a sheet-formed member, such as a sheet metal member, wherein seat portion is provided on a main surface of the sheet-formed member.
    11. 11. The roof rack foot assembly according to item 10, wherein the bracket has an L-shaped and/or U-shaped cross section, which cross section is defined by a plane which is perpendicular to a longitudinal axis of the bracket, which axis is preferably intended to at least mainly extend in a travelling direction of the vehicle when the roof rack foot assembly is attached to the vehicle.
    12. 12. The roof rack foot assembly according to any one of the preceding items, wherein the seat portion comprises a first (421) and a second (422) support surface.
    13. 13. A roof rack (100) for a vehicle comprising at least one roof rack foot assembly according to any one of the preceding items and at least one crossbar.
  • In the following, possible features and feature combinations of the roof rack foot assembly according to the fifth and sixth aspects of the disclosure are disclosed, presented as items:
  • ITEMS (Fifth and sixth aspects of the disclosure)
    1. 1. A roof rack foot assembly (1) for a roof rack (100), comprising:
      • a carrier member (2) for carrying a crossbar (3) of the roof rack;
      • a bracket (4) configured for attachment to a fix point attachment position of a vehicle by use of a fixation means (5), such as a screw or bolt,
      • wherein the bracket comprises an engagement portion (41) and a seat portion (42) for the carrier member, and wherein the bracket comprises a top side (Ts) facing the carrier member and a bottom side (Bs) provided on an opposite side with respect to the top side, wherein the seat portion is provided on the top side, and wherein the engagement portion and the seat portion are spaced apart from each other,
      • characterized in that,
      • the engagement portion is provided at the top side of the bracket.
    2. 2. The roof rack foot assembly according to item 1, wherein the engagement portion is positioned vertically above the seat portion, as seen when the roof rack foot assembly is mounted on a vehicle positioned on a flat horizontally extending surface.
    3. 3. The roof rack foot assembly according to any one of the preceding items, wherein the bracket has an L-shaped and/or U-shaped cross section, which cross section is defined by a plane which is perpendicular to a longitudinal axis of the bracket, which axis is preferably intended to at least mainly extend in a travelling direction of the vehicle when the roof rack foot assembly is attached to the vehicle.
    4. 4. The roof rack foot assembly according to items 2 and 3, wherein the engagement portion is provided on a portion of the bracket which extends in the vertical direction.
    5. 5. The roof rack foot assembly according to any one of the preceding items, wherein the bracket is a sheet-formed member, such as a sheet metal member, wherein the first and second support surfaces are provided on a main surface of the sheet-formed member.
    6. 6. The roof rack foot assembly according to any one of the preceding items, wherein the engagement portion is defined by at least one aperture in the bracket into which an engagement member associated with the carrier member may be inserted for rigidly attaching the carrier member to the bracket.
    7. 7. The roof rack foot assembly according to item 6, further comprising the engagement member associated with the carrier member, wherein the engagement member comprises at least one hook-formed portion adapted to be inserted into the at least one aperture for rigidly attaching the carrier member to the bracket.
    8. 8. A roof rack (100) for a vehicle comprising at least one roof rack foot assembly according to any one of the preceding items and at least one crossbar.
  • In the following, possible features and feature combinations of the roof rack foot assembly according to the seventh and eighth aspects of the disclosure are disclosed, presented as items:
  • ITEMS (seventh and eighth aspects of the disclosure)
    1. 1. A roof rack foot assembly (1) for a roof rack (100), comprising:
      • a carrier member (2) for carrying a crossbar (3) of the roof rack;
      • an engagement member (6) connected to the carrier member;
      • a bracket (4) configured for attachment to a fix point attachment position of a vehicle by use of a fixation means (5), such as a screw or bolt,
      • wherein the bracket comprises an engagement portion (41) for the engagement member,
      • wherein the engagement member is adapted to rigidly attach the carrier member to the bracket by engagement with the engagement portion of the bracket, the engagement member comprises at least one hook member (63) adapted to engage with the engagement portion of the bracket,
      • characterized in that,
      • the at least one hook member is formed by a wall section extending in a height direction and a depth direction of the roof rack foot assembly, wherein the depth direction is coinciding with a transverse direction of the vehicle, when attached thereto.
    2. 2. The roof rack foot assembly according to item 1, wherein the bracket further comprises a seat portion for the carrier member.
    3. 3. The roof rack foot assembly according to item 2, wherein the engagement portion of the bracket is positioned vertically above the seat portion, as seen when the roof rack foot assembly is mounted on a vehicle positioned on a flat horizontally extending surface.
    4. 4. The roof rack foot assembly according to any one of the preceding items, wherein the engagement member is a sheet-formed member, such as a sheet metal member.
    5. 5. The roof rack foot assembly according to any one of the preceding items, wherein the engagement member has an L-shaped and/or U-shaped cross section, which cross section is defined by a plane which is perpendicular to the height direction.
    6. 6. The roof rack foot assembly according to any one of the preceding items, wherein the bracket is a sheet-formed member, such as a sheet metal member, wherein the engagement portion is provided on a side surface of the sheet-formed member.
    7. 7. The roof rack foot assembly according to any one of the preceding items, wherein the bracket has an L-shaped and/or U-shaped cross section, which cross section is defined by a plane which is perpendicular to a longitudinal axis of the bracket, which axis is preferably intended to at least mainly extend in a travelling direction of the vehicle when the roof rack foot assembly is attached to the vehicle.
    8. 8. A roof rack (100) for a vehicle comprising at least one roof rack foot assembly according to any one of the preceding claims and at least one crossbar.
  • In the following, possible features and feature combinations of a cover attachment device according to the ninth and tenth aspects of the disclosure are disclosed, presented as items:
  • ITEMS (ninth and tenth aspects of the disclosure)
    1. 1. A cover attachment device (9) for a bracket (4) for a roof rack foot assembly (1) for a roof rack (100) for a vehicle, comprising:
      • a bracket facing away surface (91) adapted to protect the bracket externally when the cover attachment device (9) is attached to the bracket;
      • a bracket facing surface (92) adapted to face the bracket when the cover attachment device is attached to the bracket; wherein the cover attachment device further comprises at least one protruding portion (93) which protrudes out from the bracket facing surface, wherein the at least one protruding portion is configured to attach the cover attachment device to the bracket by a snap-fit connection.
    2. 2. The cover attachment device according to item 1, wherein the at least one protruding portion is configured to resiliently flex so as to be able to snap in to an engagement portion of the bracket.
    3. 3. The cover attachment device according to item 2, wherein the at least one protruding portion is configured to resiliently flex in a horizontal direction, as seen when the cover attachment device and the bracket are attached to the vehicle.
    4. 4. The cover attachment device according to any one of the preceding items, wherein the at least one protruding portion comprises a waist section (931) and an outer engaging section (932) provided outside the waist section with respect to the bracket facing surface, wherein the outer engaging section is configured to snap in to the engagement portion of the bracket.
    5. 5. The cover attachment device according to any one of the preceding items, further comprising a lock-member (95) configured to lock the cover attachment device to the bracket.
    6. 6. The cover attachment device according to item 5, wherein the lock member is arranged to prevent the at least one protruding portion to release the snap-fit connection to the bracket when the lock member is in a locked state.
    7. 7. A bracket and cover attachment device kit and/or assembly for a roof rack foot assembly (1) for a roof rack (100) for a vehicle, comprising the cover attachment device according to any one of the preceding items and a bracket.
  • In the following, possible features and feature combinations of a screw anti-rotation device according to the eleventh and twelfth aspects of the disclosure are disclosed, presented as items:
  • ITEMS (eleventh and twelfth aspects of the disclosure)
    1. 1. A screw anti-rotation device (10) for a screw (5) of a roof rack (100), wherein the screw anti-rotation device is configured to prevent the screw from loosening when being attached to a member, the screw anti-rotation device comprising:
      • a screw facing surface (101) adapted to receive the screw;
      • a screw facing away surface (102) adapted to face the member to which the screw is attached;
      • wherein the screw facing surface is rounded so that the screw anti-rotation device can be angled with respect to the screw in more than one angle position when the screw is attached to the member and/or the screw facing away surface is rounded so that the screw anti-rotation device can be angled with respect to the member in more than one angle position when the screw is attached to the member.
    2. 2. The screw anti-rotation device according to item 1, wherein the roof rack comprises a roof rack foot assembly (1) comprising a bracket (4), wherein the screw is configured to attach the bracket to a vehicle by use of the screw and by attaching the screw to the vehicle via an aperture (431, 432, 433) in the bracket.
    3. 3. The screw anti-rotation device according to any one of the preceding items, wherein the angle position with respect to the screw and the screw anti-rotation device can be varied in a range of +- 5 degrees and/or wherein the angle position with respect to the screw anti-rotation device and the member, preferably the bracket according to item 2, can be varied in a range of +- 5 degrees.
    4. 4. The screw anti-rotation device according to any one of the preceding items, wherein the screw facing surface has a quadrilateral-shaped form, such as a square-shaped form or rectangular-shaped form, as seen from above when the screw anti-rotation device is provided at the member, such as at the aperture of the bracket, wherein at least two sides of the quadrilateral-shaped form are configured to contact a respective side of a head of the screw.
    5. 5. The screw anti-rotation device according to item 4, wherein the at least two sides are resiliently flexible so as to allow the screw from being screwed into a hole of the vehicle but to prevent the screw from being un-screwed from the hole when provided therein.
    6. 6. The screw anti-rotation device according to any one of the preceding items, further comprising at least one anti-rotation protruding portion (105) provided on the screw facing away surface.
    7. 7. A roof rack (100) comprising the screw anti-rotation device according to any one of the preceding items.

Claims (15)

  1. A roof rack foot assembly (1) for a roof rack (100), comprising,
    a carrier member (2) for carrying a crossbar (3) of the roof rack, the carrier member comprising a first (21) and a second (22) support portion,
    a bracket (4) configured for attachment to a fix point attachment position of a vehicle by use of at least one fixation means (5), such as a screw or bolt, wherein the bracket comprises an engagement portion (41) and a seat portion (42) for the carrier member,
    characterized in that,
    the seat portion comprises a first (421) and a second (422) support surface, preferably spaced apart from each other, wherein each support surface is adapted to receive the respective first (21) and second (22) support portion of the carrier member when the carrier member is attached to the bracket, and
    wherein each support surface of the seat portion has a longitudinal extension along a respective longitudinal axis (La1, La2) thereof, wherein the first and second support surfaces are arranged on the bracket so that their longitudinal axes are provided parallel, or at least substantially parallel, with respect to each other.
  2. The roof rack foot assembly according to claim 1, further comprising an engagement member (6) associated with the carrier member which is adapted to clamp the carrier member to the bracket by applying a pulling force therebetween.
  3. The roof rack foot assembly according to any one of the preceding claims, wherein the first and second support surfaces of the seat portion and the first and second support portions of the carrier member are adapted to transfer loads at least in a vertical direction, as seen when the roof rack foot assembly is attached to a vehicle positioned on a flat horizontally extending surface.
  4. The roof rack foot assembly according to any one of the preceding claims, wherein each support surface of the seat portion has a transverse extension along a respective transverse axis (Ta1, Ta2) thereof, wherein the respective transverse axis is perpendicular to its respective longitudinal axis, and wherein each support surface has a length in its transverse extension which is shorter than a length in its longitudinal extension, or wherein each support surface has a length in its transverse extension which is equal to, or substantially equal to, a length in its longitudinal extension.
  5. The roof rack foot assembly according to any one of the preceding claims, further comprising a foot pad member (7) for protecting a vehicle roof, wherein the foot pad member is adapted to be positioned in-between the bracket and the vehicle when the bracket is attached to the fix point attachment position, wherein the bracket and the foot pad member may be provided as separate components or may be integrated as a one-piece member.
  6. The roof rack foot assembly according to any one of the preceding claims, wherein the bracket comprises at least one receiving location (431, 432, 433) for at least one of the fixation means.
  7. The roof rack foot assembly according to claim 6, wherein the at least one receiving location (431) is located in an area, preferably a central area, of the bracket in-between the first and second support surfaces.
  8. The roof rack foot assembly according to any one of claims 6 or 7, wherein the first and second support surfaces of the bracket comprises a respective first and second longitudinal side (4211, 4212; 4221, 4222), wherein the first longitudinal side of the first support surface faces the first longitudinal side of the second support surface, and wherein the at least one receiving location (432, 433) is located outside and facing one of the second longitudinal sides.
  9. The roof rack foot assembly according to any one of the preceding claims, wherein the bracket has a longitudinal extension along a longitudinal axis (x) thereof and a transverse extension along a transverse axis (y) thereof, wherein the longitudinal axis of the bracket and the transverse axis of the bracket are perpendicular to each other, and wherein the bracket is configured so that the longitudinal axis thereof mainly coincides with a travelling direction of the vehicle when the roof rack foot assembly is attached to the vehicle, wherein the longitudinal axes of the first and second support surfaces are extending in, or at least substantially extending in, the same direction as the direction of the transverse axis of the bracket.
  10. The roof rack foot assembly according to any one of claims 1-8, wherein the bracket has a longitudinal extension along a longitudinal axis thereof and a transverse extension along a transverse axis thereof, wherein the longitudinal axis of the bracket and the transverse axis of the bracket are perpendicular to each other, and wherein the bracket is configured so that the longitudinal axis thereof mainly coincides with a travelling direction of the vehicle when the roof rack foot assembly is attached to the vehicle, wherein the longitudinal axes of the first and second support surfaces are extending in, or at least substantially extending in, the same direction as the direction of the longitudinal axis of the bracket.
  11. The roof rack foot assembly according to any one of the preceding claims, wherein the first and second support portions of the carrier member and the first and second support surfaces of the seat portion are adapted so that the carrier member, in a first attachment state, is movable in the seat portion by pivoting the carrier member, preferably with respect to a rotational axis of the carrier member, when the carrier member is not rigidly attached to the bracket.
  12. The roof rack foot assembly according to any one of the preceding claims, wherein the engagement portion is positioned vertically above the first and second support surfaces, as seen when the roof rack foot assembly is mounted on a vehicle positioned on a flat horizontally extending surface.
  13. The roof rack foot assembly according to any one of the preceding claims, wherein the bracket is a sheet-formed member, such as a sheet metal member, wherein the first and second support surfaces are provided on a main surface (44) of the sheet-formed member.
  14. The roof rack foot assembly according to claim 13, wherein the bracket has an L-shaped and/or U-shaped cross section, which cross section is defined by a plane which is perpendicular to the longitudinal axis of the bracket, which axis is preferably intended to at least mainly extend in a travelling direction of the vehicle when the roof rack foot assembly is attached to the vehicle.
  15. A roof rack (100) for a vehicle comprising at least one roof rack foot assembly according to any one of the preceding claims and at least one crossbar (3).
EP19218575.9A 2019-12-20 2019-12-20 Roof rack foot assembly for a roof rack and a roof rack for a vehicle Active EP3838680B1 (en)

Priority Applications (10)

Application Number Priority Date Filing Date Title
EP19218575.9A EP3838680B1 (en) 2019-12-20 2019-12-20 Roof rack foot assembly for a roof rack and a roof rack for a vehicle
AU2020405641A AU2020405641B2 (en) 2019-12-20 2020-11-11 Roof rack foot assembly for a roof rack and a roof rack for a vehicle
PCT/EP2020/081692 WO2021121786A1 (en) 2019-12-20 2020-11-11 Roof rack foot assembly for a roof rack and a roof rack for a vehicle
CA3162373A CA3162373A1 (en) 2019-12-20 2020-11-11 Roof rack foot assembly for a roof rack and a roof rack for a vehicle
US17/787,147 US12377788B2 (en) 2019-12-20 2020-11-11 Roof rack foot assembly for a roof rack and a roof rack for a vehicle
DE112020006377.1T DE112020006377T5 (en) 2019-12-20 2020-11-11 ROOF RACK BASE ASSEMBLY FOR A ROOF RACK AND ROOF RACK FOR A VEHICLE
DE212020000791.8U DE212020000791U1 (en) 2019-12-20 2020-11-11 Roof rack foot assembly for a roof rack and roof rack for a vehicle
EP20801292.2A EP4077052A1 (en) 2019-12-20 2020-11-11 Roof rack foot assembly for a roof rack and a roof rack for a vehicle
CN202080097132.4A CN115175831B (en) 2019-12-20 2020-11-11 Roof rack foot assembly for a roof rack and roof rack for a vehicle
US19/288,658 US20250353442A1 (en) 2019-12-20 2025-08-01 Roof rack foot assembly for a roof rack and a roof rack for a vehicle

Applications Claiming Priority (1)

Application Number Priority Date Filing Date Title
EP19218575.9A EP3838680B1 (en) 2019-12-20 2019-12-20 Roof rack foot assembly for a roof rack and a roof rack for a vehicle

Publications (2)

Publication Number Publication Date
EP3838680A1 true EP3838680A1 (en) 2021-06-23
EP3838680B1 EP3838680B1 (en) 2022-03-02

Family

ID=69411113

Family Applications (2)

Application Number Title Priority Date Filing Date
EP19218575.9A Active EP3838680B1 (en) 2019-12-20 2019-12-20 Roof rack foot assembly for a roof rack and a roof rack for a vehicle
EP20801292.2A Pending EP4077052A1 (en) 2019-12-20 2020-11-11 Roof rack foot assembly for a roof rack and a roof rack for a vehicle

Family Applications After (1)

Application Number Title Priority Date Filing Date
EP20801292.2A Pending EP4077052A1 (en) 2019-12-20 2020-11-11 Roof rack foot assembly for a roof rack and a roof rack for a vehicle

Country Status (7)

Country Link
US (2) US12377788B2 (en)
EP (2) EP3838680B1 (en)
CN (1) CN115175831B (en)
AU (1) AU2020405641B2 (en)
CA (1) CA3162373A1 (en)
DE (2) DE212020000791U1 (en)
WO (1) WO2021121786A1 (en)

Cited By (1)

* Cited by examiner, † Cited by third party
Publication number Priority date Publication date Assignee Title
WO2023048665A1 (en) * 2021-09-21 2023-03-30 Saltik Yasin Load-bearing roof rails mounted to vehicles with a single fitting element on one axis

Families Citing this family (2)

* Cited by examiner, † Cited by third party
Publication number Priority date Publication date Assignee Title
CN113799701B (en) * 2021-09-15 2024-11-19 宁波信泰机械有限公司 A quick-install and quick-detach type roof luggage rack crossbeam
USD993141S1 (en) 2021-10-28 2023-07-25 Extang Corporation Vehicle rack extrusion

Citations (5)

* Cited by examiner, † Cited by third party
Publication number Priority date Publication date Assignee Title
GB2147860A (en) * 1983-02-24 1985-05-22 Ford Motor Co Mounting bracket for a roof rack
DE19504247A1 (en) * 1995-02-09 1996-08-22 Happich Fahrzeug Dachsysteme Fastener for supporting foot on vehicle roof of rack or bar
US5829654A (en) * 1996-12-31 1998-11-03 Knaack Manufacturing Company Cargo rack for vehicles
EP3225468A1 (en) 2016-03-31 2017-10-04 Thule Sweden AB A load carrier foot for a roof rack
US20180118127A1 (en) * 2016-10-28 2018-05-03 Iddea California, Llc Multi-axis roof-rack mounting system

Family Cites Families (11)

* Cited by examiner, † Cited by third party
Publication number Priority date Publication date Assignee Title
US4688706A (en) * 1985-09-05 1987-08-25 Industri Ab Thule Device for carrying a load
US5232138A (en) * 1989-03-27 1993-08-03 John A. Bott Article carrier
US4982886A (en) * 1989-03-27 1991-01-08 John A. Bott Article carrier
US6739487B2 (en) * 1999-03-01 2004-05-25 Thule Sweden Ab Vertically engageable carrier foot
EP2208644B1 (en) * 2009-01-14 2012-10-17 Thule Sweden AB Load carrier foot
US8225679B2 (en) * 2009-02-04 2012-07-24 Thule Sweden Ab Torque indicator device for a load carrier
AU2013255540A1 (en) * 2012-04-30 2014-12-18 Yakima Australia Pty Limited Retention dock
EP2746108B1 (en) * 2012-12-21 2016-04-13 Thule Sweden AB A load carrier foot and a roof rack with such a foot
US10040403B2 (en) * 2015-06-09 2018-08-07 Yakima Products, Inc. Crossbar clamp actuator
KR102161578B1 (en) * 2017-12-19 2020-10-05 툴레 스웨덴 에이비 Load carrier foot
US11453343B1 (en) * 2021-03-04 2022-09-27 Adrian Steel Company Roof rail assembly for a vehicle

Patent Citations (5)

* Cited by examiner, † Cited by third party
Publication number Priority date Publication date Assignee Title
GB2147860A (en) * 1983-02-24 1985-05-22 Ford Motor Co Mounting bracket for a roof rack
DE19504247A1 (en) * 1995-02-09 1996-08-22 Happich Fahrzeug Dachsysteme Fastener for supporting foot on vehicle roof of rack or bar
US5829654A (en) * 1996-12-31 1998-11-03 Knaack Manufacturing Company Cargo rack for vehicles
EP3225468A1 (en) 2016-03-31 2017-10-04 Thule Sweden AB A load carrier foot for a roof rack
US20180118127A1 (en) * 2016-10-28 2018-05-03 Iddea California, Llc Multi-axis roof-rack mounting system

Cited By (1)

* Cited by examiner, † Cited by third party
Publication number Priority date Publication date Assignee Title
WO2023048665A1 (en) * 2021-09-21 2023-03-30 Saltik Yasin Load-bearing roof rails mounted to vehicles with a single fitting element on one axis

Also Published As

Publication number Publication date
US20250353442A1 (en) 2025-11-20
DE212020000791U1 (en) 2022-10-25
WO2021121786A1 (en) 2021-06-24
CN115175831A (en) 2022-10-11
AU2020405641A1 (en) 2022-07-07
US20230013512A1 (en) 2023-01-19
US12377788B2 (en) 2025-08-05
EP4077052A1 (en) 2022-10-26
EP3838680B1 (en) 2022-03-02
DE112020006377T5 (en) 2022-10-20
CA3162373A1 (en) 2021-06-24
CN115175831B (en) 2023-06-23
AU2020405641B2 (en) 2025-12-18

Similar Documents

Publication Publication Date Title
US20250353442A1 (en) Roof rack foot assembly for a roof rack and a roof rack for a vehicle
US20240227688A1 (en) Roof Attachment for Rail-Based Solar Racking System
US8038106B2 (en) Fast beam clamp
US5601300A (en) Vehicle frame mounting bracket system
US4520887A (en) Battery holddown arrangement
EP3681349B1 (en) Furniture securing device
CN106256672B (en) Retainer
US5625921A (en) Combined assist handle and hanger support
AU2003231688A1 (en) Rail Bar Roof Rack
US5306091A (en) Sheet metal nut
US5678839A (en) Vehicle trailer hitch
CN210027232U (en) General luggage rack of car roof
US5383589A (en) Modular carrier system for elongate articles
EP1612105B1 (en) Load-bearing bracket intended to be mounted on a longitudinal roof rail of a motor vehicle
CA3204160A1 (en) Roof rack for a motor vehicle, motor vehicle, and method for producing a roof rack
US3257052A (en) Car top carrier device
JP3919410B2 (en) Mounting structure for automobile roof rails
JPH0431186Y2 (en)
JP3003624U (en) Cable rack steady rest for angle
JPS6143634Y2 (en)
JPH061483Y2 (en) Carrier for car roof
JP2569513Y2 (en) Gutter fitting mounting device
JP3030146U (en) Snow stopper and parts for snow stopper
JP2002046490A (en) Fuel lid support structure
WO2024248698A1 (en) Implement holder

Legal Events

Date Code Title Description
STAA Information on the status of an ep patent application or granted ep patent

Free format text: STATUS: EXAMINATION IS IN PROGRESS

PUAI Public reference made under article 153(3) epc to a published international application that has entered the european phase

Free format text: ORIGINAL CODE: 0009012

17P Request for examination filed

Effective date: 20191220

AK Designated contracting states

Kind code of ref document: A1

Designated state(s): AL AT BE BG CH CY CZ DE DK EE ES FI FR GB GR HR HU IE IS IT LI LT LU LV MC MK MT NL NO PL PT RO RS SE SI SK SM TR

GRAP Despatch of communication of intention to grant a patent

Free format text: ORIGINAL CODE: EPIDOSNIGR1

STAA Information on the status of an ep patent application or granted ep patent

Free format text: STATUS: GRANT OF PATENT IS INTENDED

INTG Intention to grant announced

Effective date: 20210906

GRAS Grant fee paid

Free format text: ORIGINAL CODE: EPIDOSNIGR3

GRAA (expected) grant

Free format text: ORIGINAL CODE: 0009210

STAA Information on the status of an ep patent application or granted ep patent

Free format text: STATUS: THE PATENT HAS BEEN GRANTED

AK Designated contracting states

Kind code of ref document: B1

Designated state(s): AL AT BE BG CH CY CZ DE DK EE ES FI FR GB GR HR HU IE IS IT LI LT LU LV MC MK MT NL NO PL PT RO RS SE SI SK SM TR

REG Reference to a national code

Ref country code: GB

Ref legal event code: FG4D

REG Reference to a national code

Ref country code: CH

Ref legal event code: EP

Ref country code: AT

Ref legal event code: REF

Ref document number: 1471985

Country of ref document: AT

Kind code of ref document: T

Effective date: 20220315

REG Reference to a national code

Ref country code: DE

Ref legal event code: R096

Ref document number: 602019012099

Country of ref document: DE

REG Reference to a national code

Ref country code: IE

Ref legal event code: FG4D

REG Reference to a national code

Ref country code: LT

Ref legal event code: MG9D

REG Reference to a national code

Ref country code: NL

Ref legal event code: MP

Effective date: 20220302

PG25 Lapsed in a contracting state [announced via postgrant information from national office to epo]

Ref country code: SE

Free format text: LAPSE BECAUSE OF FAILURE TO SUBMIT A TRANSLATION OF THE DESCRIPTION OR TO PAY THE FEE WITHIN THE PRESCRIBED TIME-LIMIT

Effective date: 20220302

Ref country code: RS

Free format text: LAPSE BECAUSE OF FAILURE TO SUBMIT A TRANSLATION OF THE DESCRIPTION OR TO PAY THE FEE WITHIN THE PRESCRIBED TIME-LIMIT

Effective date: 20220302

Ref country code: NO

Free format text: LAPSE BECAUSE OF FAILURE TO SUBMIT A TRANSLATION OF THE DESCRIPTION OR TO PAY THE FEE WITHIN THE PRESCRIBED TIME-LIMIT

Effective date: 20220602

Ref country code: LT

Free format text: LAPSE BECAUSE OF FAILURE TO SUBMIT A TRANSLATION OF THE DESCRIPTION OR TO PAY THE FEE WITHIN THE PRESCRIBED TIME-LIMIT

Effective date: 20220302

Ref country code: HR

Free format text: LAPSE BECAUSE OF FAILURE TO SUBMIT A TRANSLATION OF THE DESCRIPTION OR TO PAY THE FEE WITHIN THE PRESCRIBED TIME-LIMIT

Effective date: 20220302

Ref country code: ES

Free format text: LAPSE BECAUSE OF FAILURE TO SUBMIT A TRANSLATION OF THE DESCRIPTION OR TO PAY THE FEE WITHIN THE PRESCRIBED TIME-LIMIT

Effective date: 20220302

Ref country code: BG

Free format text: LAPSE BECAUSE OF FAILURE TO SUBMIT A TRANSLATION OF THE DESCRIPTION OR TO PAY THE FEE WITHIN THE PRESCRIBED TIME-LIMIT

Effective date: 20220602

REG Reference to a national code

Ref country code: AT

Ref legal event code: MK05

Ref document number: 1471985

Country of ref document: AT

Kind code of ref document: T

Effective date: 20220302

PG25 Lapsed in a contracting state [announced via postgrant information from national office to epo]

Ref country code: PL

Free format text: LAPSE BECAUSE OF FAILURE TO SUBMIT A TRANSLATION OF THE DESCRIPTION OR TO PAY THE FEE WITHIN THE PRESCRIBED TIME-LIMIT

Effective date: 20220302

Ref country code: LV

Free format text: LAPSE BECAUSE OF FAILURE TO SUBMIT A TRANSLATION OF THE DESCRIPTION OR TO PAY THE FEE WITHIN THE PRESCRIBED TIME-LIMIT

Effective date: 20220302

Ref country code: GR

Free format text: LAPSE BECAUSE OF FAILURE TO SUBMIT A TRANSLATION OF THE DESCRIPTION OR TO PAY THE FEE WITHIN THE PRESCRIBED TIME-LIMIT

Effective date: 20220603

Ref country code: FI

Free format text: LAPSE BECAUSE OF FAILURE TO SUBMIT A TRANSLATION OF THE DESCRIPTION OR TO PAY THE FEE WITHIN THE PRESCRIBED TIME-LIMIT

Effective date: 20220302

PG25 Lapsed in a contracting state [announced via postgrant information from national office to epo]

Ref country code: NL

Free format text: LAPSE BECAUSE OF FAILURE TO SUBMIT A TRANSLATION OF THE DESCRIPTION OR TO PAY THE FEE WITHIN THE PRESCRIBED TIME-LIMIT

Effective date: 20220302

PG25 Lapsed in a contracting state [announced via postgrant information from national office to epo]

Ref country code: SM

Free format text: LAPSE BECAUSE OF FAILURE TO SUBMIT A TRANSLATION OF THE DESCRIPTION OR TO PAY THE FEE WITHIN THE PRESCRIBED TIME-LIMIT

Effective date: 20220302

Ref country code: SK

Free format text: LAPSE BECAUSE OF FAILURE TO SUBMIT A TRANSLATION OF THE DESCRIPTION OR TO PAY THE FEE WITHIN THE PRESCRIBED TIME-LIMIT

Effective date: 20220302

Ref country code: RO

Free format text: LAPSE BECAUSE OF FAILURE TO SUBMIT A TRANSLATION OF THE DESCRIPTION OR TO PAY THE FEE WITHIN THE PRESCRIBED TIME-LIMIT

Effective date: 20220302

Ref country code: PT

Free format text: LAPSE BECAUSE OF FAILURE TO SUBMIT A TRANSLATION OF THE DESCRIPTION OR TO PAY THE FEE WITHIN THE PRESCRIBED TIME-LIMIT

Effective date: 20220704

Ref country code: EE

Free format text: LAPSE BECAUSE OF FAILURE TO SUBMIT A TRANSLATION OF THE DESCRIPTION OR TO PAY THE FEE WITHIN THE PRESCRIBED TIME-LIMIT

Effective date: 20220302

Ref country code: CZ

Free format text: LAPSE BECAUSE OF FAILURE TO SUBMIT A TRANSLATION OF THE DESCRIPTION OR TO PAY THE FEE WITHIN THE PRESCRIBED TIME-LIMIT

Effective date: 20220302

Ref country code: AT

Free format text: LAPSE BECAUSE OF FAILURE TO SUBMIT A TRANSLATION OF THE DESCRIPTION OR TO PAY THE FEE WITHIN THE PRESCRIBED TIME-LIMIT

Effective date: 20220302

PG25 Lapsed in a contracting state [announced via postgrant information from national office to epo]

Ref country code: IS

Free format text: LAPSE BECAUSE OF FAILURE TO SUBMIT A TRANSLATION OF THE DESCRIPTION OR TO PAY THE FEE WITHIN THE PRESCRIBED TIME-LIMIT

Effective date: 20220702

Ref country code: AL

Free format text: LAPSE BECAUSE OF FAILURE TO SUBMIT A TRANSLATION OF THE DESCRIPTION OR TO PAY THE FEE WITHIN THE PRESCRIBED TIME-LIMIT

Effective date: 20220302

REG Reference to a national code

Ref country code: DE

Ref legal event code: R097

Ref document number: 602019012099

Country of ref document: DE

PLBE No opposition filed within time limit

Free format text: ORIGINAL CODE: 0009261

STAA Information on the status of an ep patent application or granted ep patent

Free format text: STATUS: NO OPPOSITION FILED WITHIN TIME LIMIT

PG25 Lapsed in a contracting state [announced via postgrant information from national office to epo]

Ref country code: DK

Free format text: LAPSE BECAUSE OF FAILURE TO SUBMIT A TRANSLATION OF THE DESCRIPTION OR TO PAY THE FEE WITHIN THE PRESCRIBED TIME-LIMIT

Effective date: 20220302

26N No opposition filed

Effective date: 20221205

P01 Opt-out of the competence of the unified patent court (upc) registered

Effective date: 20230528

PG25 Lapsed in a contracting state [announced via postgrant information from national office to epo]

Ref country code: IT

Free format text: LAPSE BECAUSE OF FAILURE TO SUBMIT A TRANSLATION OF THE DESCRIPTION OR TO PAY THE FEE WITHIN THE PRESCRIBED TIME-LIMIT

Effective date: 20220302

REG Reference to a national code

Ref country code: CH

Ref legal event code: PL

REG Reference to a national code

Ref country code: BE

Ref legal event code: MM

Effective date: 20221231

PG25 Lapsed in a contracting state [announced via postgrant information from national office to epo]

Ref country code: LU

Free format text: LAPSE BECAUSE OF NON-PAYMENT OF DUE FEES

Effective date: 20221220

PG25 Lapsed in a contracting state [announced via postgrant information from national office to epo]

Ref country code: LI

Free format text: LAPSE BECAUSE OF NON-PAYMENT OF DUE FEES

Effective date: 20221231

Ref country code: IE

Free format text: LAPSE BECAUSE OF NON-PAYMENT OF DUE FEES

Effective date: 20221220

Ref country code: CH

Free format text: LAPSE BECAUSE OF NON-PAYMENT OF DUE FEES

Effective date: 20221231

PG25 Lapsed in a contracting state [announced via postgrant information from national office to epo]

Ref country code: BE

Free format text: LAPSE BECAUSE OF NON-PAYMENT OF DUE FEES

Effective date: 20221231

PG25 Lapsed in a contracting state [announced via postgrant information from national office to epo]

Ref country code: CY

Free format text: LAPSE BECAUSE OF FAILURE TO SUBMIT A TRANSLATION OF THE DESCRIPTION OR TO PAY THE FEE WITHIN THE PRESCRIBED TIME-LIMIT

Effective date: 20220302

PG25 Lapsed in a contracting state [announced via postgrant information from national office to epo]

Ref country code: MK

Free format text: LAPSE BECAUSE OF FAILURE TO SUBMIT A TRANSLATION OF THE DESCRIPTION OR TO PAY THE FEE WITHIN THE PRESCRIBED TIME-LIMIT

Effective date: 20220302

Ref country code: HU

Free format text: LAPSE BECAUSE OF FAILURE TO SUBMIT A TRANSLATION OF THE DESCRIPTION OR TO PAY THE FEE WITHIN THE PRESCRIBED TIME-LIMIT; INVALID AB INITIO

Effective date: 20191220

PG25 Lapsed in a contracting state [announced via postgrant information from national office to epo]

Ref country code: MC

Free format text: LAPSE BECAUSE OF FAILURE TO SUBMIT A TRANSLATION OF THE DESCRIPTION OR TO PAY THE FEE WITHIN THE PRESCRIBED TIME-LIMIT

Effective date: 20220302

PG25 Lapsed in a contracting state [announced via postgrant information from national office to epo]

Ref country code: MC

Free format text: LAPSE BECAUSE OF FAILURE TO SUBMIT A TRANSLATION OF THE DESCRIPTION OR TO PAY THE FEE WITHIN THE PRESCRIBED TIME-LIMIT

Effective date: 20220302

GBPC Gb: european patent ceased through non-payment of renewal fee

Effective date: 20231220

PG25 Lapsed in a contracting state [announced via postgrant information from national office to epo]

Ref country code: MT

Free format text: LAPSE BECAUSE OF FAILURE TO SUBMIT A TRANSLATION OF THE DESCRIPTION OR TO PAY THE FEE WITHIN THE PRESCRIBED TIME-LIMIT

Effective date: 20220302

PG25 Lapsed in a contracting state [announced via postgrant information from national office to epo]

Ref country code: GB

Free format text: LAPSE BECAUSE OF NON-PAYMENT OF DUE FEES

Effective date: 20231220

PG25 Lapsed in a contracting state [announced via postgrant information from national office to epo]

Ref country code: GB

Free format text: LAPSE BECAUSE OF NON-PAYMENT OF DUE FEES

Effective date: 20231220

PGFP Annual fee paid to national office [announced via postgrant information from national office to epo]

Ref country code: DE

Payment date: 20241227

Year of fee payment: 6

PG25 Lapsed in a contracting state [announced via postgrant information from national office to epo]

Ref country code: TR

Free format text: LAPSE BECAUSE OF FAILURE TO SUBMIT A TRANSLATION OF THE DESCRIPTION OR TO PAY THE FEE WITHIN THE PRESCRIBED TIME-LIMIT

Effective date: 20220302

PGFP Annual fee paid to national office [announced via postgrant information from national office to epo]

Ref country code: FR

Payment date: 20251223

Year of fee payment: 7

PG25 Lapsed in a contracting state [announced via postgrant information from national office to epo]

Ref country code: SI

Free format text: LAPSE BECAUSE OF FAILURE TO SUBMIT A TRANSLATION OF THE DESCRIPTION OR TO PAY THE FEE WITHIN THE PRESCRIBED TIME-LIMIT

Effective date: 20220302