EP3772621A1 - Convection oven - Google Patents

Convection oven Download PDF

Info

Publication number
EP3772621A1
EP3772621A1 EP19191087.6A EP19191087A EP3772621A1 EP 3772621 A1 EP3772621 A1 EP 3772621A1 EP 19191087 A EP19191087 A EP 19191087A EP 3772621 A1 EP3772621 A1 EP 3772621A1
Authority
EP
European Patent Office
Prior art keywords
cavity
duct
heating
convection oven
air
Prior art date
Legal status (The legal status is an assumption and is not a legal conclusion. Google has not performed a legal analysis and makes no representation as to the accuracy of the status listed.)
Withdrawn
Application number
EP19191087.6A
Other languages
German (de)
French (fr)
Inventor
Sylvia GERLACH
Paolo Cescot
Cedric Catalogne
Klaus Wälzlein
Magdalena Moll
Marco Böckler
Reiner Brenz
Mario Weber
Trevor Specht
Current Assignee (The listed assignees may be inaccurate. Google has not performed a legal analysis and makes no representation or warranty as to the accuracy of the list.)
Electrolux Appliances AB
Original Assignee
Electrolux Appliances AB
Priority date (The priority date is an assumption and is not a legal conclusion. Google has not performed a legal analysis and makes no representation as to the accuracy of the date listed.)
Filing date
Publication date
Application filed by Electrolux Appliances AB filed Critical Electrolux Appliances AB
Priority to EP19191087.6A priority Critical patent/EP3772621A1/en
Priority to PCT/EP2020/070921 priority patent/WO2021028191A1/en
Publication of EP3772621A1 publication Critical patent/EP3772621A1/en
Withdrawn legal-status Critical Current

Links

Images

Classifications

    • FMECHANICAL ENGINEERING; LIGHTING; HEATING; WEAPONS; BLASTING
    • F24HEATING; RANGES; VENTILATING
    • F24CDOMESTIC STOVES OR RANGES ; DETAILS OF DOMESTIC STOVES OR RANGES, OF GENERAL APPLICATION
    • F24C15/00Details
    • F24C15/32Arrangements of ducts for hot gases, e.g. in or around baking ovens
    • F24C15/322Arrangements of ducts for hot gases, e.g. in or around baking ovens with forced circulation
    • F24C15/325Arrangements of ducts for hot gases, e.g. in or around baking ovens with forced circulation electrically-heated

Definitions

  • the present invention relates to a convection oven.
  • Convection ovens for heating food items are available in different constructional designs.
  • a heating element that is located external to the cavity, and a fan element which feeds heated air from the heating element to the cavity, such as via a shroud that surrounds the cavity.
  • a shroud that surrounds the cavity.
  • one or more heating elements are provided within the cavity, wherein one or more fan elements is provided at the rear wall of the cavity, be it in a designated fan housing at the interior side of the cavity (as is shown in EP 0 000 908 A1 ), or at the exterior side of the cavity (as is shown in WO 20110/009216 A1 ), so as to provide for an air circulation within the cavity so as to flow the heated air across food items to be prepared in the oven.
  • conventional convection ovens comprise a plurality of heating elements, such as a ring-shaped heating element in the center of which there is provided a fan element, which ring-shaped heating element is provided at the interior of the cavity. Further heating elements can be provided at the top and the bottom of the cavity so as to provide top and bottom heat. Whereas the bottom heating element usually is provided externally to the cavity, the top heating element often comprises a heating coil that is located within the cavity below the top wall thereof, which heating coil also can provide for a grill function.
  • each heating module comprises an inlet duct mounted at the exterior side of the cavity in flow communication with the cavity via a first aperture in the cavity, an outlet duct mounted at the exterior side of the cavity in flow communication with a second aperture in the cavity, a fan element for withdrawing air from the cavity via the inlet duct and feeding the air back to the cavity via the outlet duct, and at least one heating element for heating the air that is fed to the cavity.
  • the convection oven of the present invention employs a plurality of heating modules which each have their own fan element and ducting for providing a recirculating air flow through the cavity, which heating elements thus can be designed for a lower power level and a lower maximum temperature than heating elements used in conventional convection ovens.
  • the heating modules further can be provided at different locations about the cavity so as to provide for a more homogeneous and hence more efficient heating of the cavity.
  • the inlet and outlet ducts via which air is passed to and from the cavity allow mounting the heating modules at arbitrary locations about the cavity. While the inlet and outlet ducts can comprise flow elements that connect the inlet or outlet of the fan element to respective apertures in a wall of the cavity, the ducts can be dimensioned as desired, so as to provide for a desired distance between the location at which air is withdrawn from the cavity and the location where heated air is blown into the cavity. Furthermore, by providing for respective inlet and outlet ducts, the fan element and the heating element need not be aligned with the apertures in the oven cavity but can be located offset thereto.
  • the heating module suggested herein is designed as a modular system, in which fan elements and heating elements of a standardized shape can be combined with inlet and outlet ducts of different shapes, such as straight or curved, and/or with different functions, such as with or without a vent or bleed inlet. Also the fan element and the heating element can be provided in different models, such as to provide for heating modules with different heating capacity by providing for heating elements with different power input.
  • the at least one heating element may comprise a wire coil element, such as a naked metal coil made of constantan wire or of tungsten wire, which provides for heating of the air when the air is fed by the fan element through the heating element.
  • a wire coil element such as a naked metal coil made of constantan wire or of tungsten wire, which provides for heating of the air when the air is fed by the fan element through the heating element.
  • the wire coil element can be provided at an inner wall surface of an air channel of the heating module, such as a wall of the inlet duct or of the outlet duct, wherein the wire coil element can be arranged, at least partially, in direct contact with the inner surface of the wall.
  • the wire coil element also can be arranged such that it spans a distance between walls of the inlet duct or the outlet duct, and thus may comprise a heating wire that, for example, extends perpendicular to the channel walls.
  • the wire coil can be arranged to span the air channel at an oblique angle with respect to the walls of the air channel.
  • the wire coil element can be arranged in proximity to the outlet of the outlet duct so that heat is generated at a minimal distance from the cavity.
  • a wire coil element could be arranged within the outlet duct a short distance upstream of the outlet end of the outlet duct. While generally the wire coil element also could be arranged so as to project at least partially out of the outlet duct, arranging the wire coil element within the outlet duct has the advantage that any undesired contact with the wire coil element, such as by food items or by a user reaching into the cavity, can be avoided without having to provide for a cover, such as a grid, that projects into the cavity.
  • the convection oven of the present invention which uses a plurality of hot air heating modules provides for a substantially lowered power consumption.
  • the individual heating modules may be configured for a power consumption of between about 50 W and 500 W, wherein also a combination of heating modules of different power levels can be employed, such as a heating module of 50 W, 100 W or 150 W that is particularly intended for providing for a food warming function but which also assists in other heating functions, in combination with heating modules of higher power, such as 300 W, 350 W, 400 W, 450 W or 500 W which are distributed about the cavity for providing heat for cooking and baking functions. Due to the better efficiency attained by providing for distributed heat sources an oven having for example 6 heating modules of 500 W each, so that the oven has an overall power input of 3000 W, provides for a comparable heating speed as the above conventional oven of 3600 W.
  • a combination of heating modules of different power levels can be employed, such as a heating module of 50 W, 100 W or 150 W that is particularly intended for providing for a food warming function but which also assists in other heating functions, in combination with heating modules of higher power, such as 300 W, 350 W, 400 W, 450 W or 500 W which are distributed about
  • the convection oven of the present invention comprises a plurality of heating modules that are located at different walls of the cavity.
  • there is provided one heating module at each wall of the cavity such as one heating module in each of the two side walls, one heating module in the rear wall, and one heating module in each of the bottom and top walls.
  • the heating modules can be designed to provide heated air into the cavity via an outlet duct that spans more than one wall element, such as an angled outlet duct that extends along a portion of the rear wall and a portion of a side wall and which has a plurality of outlet openings for feeding hot air into the cavity.
  • an outlet duct that spans more than one wall element, such as an angled outlet duct that extends along a portion of the rear wall and a portion of a side wall and which has a plurality of outlet openings for feeding hot air into the cavity.
  • the convection oven can comprise a plurality of heating modules which are arranged at different height levels of the cavity.
  • the convection oven having a cavity with plural tracks for inserting trays at different levels, there can be provided one heating module at every second level, and preferably one heating module for each level.
  • the inlet duct can comprise at least one bleed inlet for feeding ambient air into the inlet duct, so as to allow fresh and cooler air to be passed into the cavity. Providing for at least one bleed inlet allows for faster temperature adaptions of the oven atmosphere such as to lower the temperature after termination of a cooking process.
  • the outlet duct can comprise at least one vent for venting air which has been withdrawn from the cavity via the inlet duct, so as to allow hot air from within the cavity to be vented to the exterior.
  • the inlet and the outlet duct can comprise a directional valve which in an simple embodiment can be an actuated flap, or which can be a flow regulator valve so as to allow admixing to, or diverting from, respectively, a partial air flow to the air that is fed to or is withdrawn from the cavity.
  • a directional valve which in an simple embodiment can be an actuated flap, or which can be a flow regulator valve so as to allow admixing to, or diverting from, respectively, a partial air flow to the air that is fed to or is withdrawn from the cavity.
  • the inlet duct, the outlet duct, a housing of the fan element and/or a housing of the heating element, and most preferably all these components are formed of a thermally insulating material, in particular a form stable material of low thermal conductivity, such as vermiculite material, mineral fibers, glass fiber, aramide materials such as Kevlar®, carbon fiber materials, or high temperature resistant polymers such as polyphenylene sulphide (PPS), liquid crystal polymer (LCP) or polyetheretherketone (PEEK).
  • a thermally insulating material in particular a form stable material of low thermal conductivity, such as vermiculite material, mineral fibers, glass fiber, aramide materials such as Kevlar®, carbon fiber materials, or high temperature resistant polymers such as polyphenylene sulphide (PPS), liquid crystal polymer (LCP) or polyetheretherketone (PEEK).
  • PPS polyphenylene sulphide
  • LCP liquid crystal polymer
  • PEEK polyetheretherketone
  • the inlet duct, the outlet duct, a housing of the fan element and/or a housing of the heating element, and most preferably all these components comprises a lightweight construction, such as a foam structure, a honeycomb structure, a corrugated board structure, or a similar structurally reinforced component, such as a component that is made of layers of thin thermally insulating material between which there is arranged a rib structure which thus creates a plurality of hollows, which hollows further can be filled by a thermally insulating gas such as a noble gas, for example argon.
  • a thermally insulating gas such as a noble gas, for example argon.
  • the present invention in such preferred embodiments aims at reducing the thermal mass in the heating module, thus further improving the energy efficiency of the heating modules.
  • Components having a lightweight construction also can be made of an insulating material, such as a soft fiber material, which is encapsulated within a thin walled shell of high structural strength, such as plastic of metal.
  • the outlet duct comprises a distributor chamber
  • the cavity comprises a plurality of apertures for feeding air from the distributor chamber into the cavity.
  • the inlet duct can comprise a collector chamber, and the cavity can comprise a plurality of apertures for aspiring air from the cavity into the collector chamber.
  • the heating module can be a generally U-shaped component which is arranged to horizontally embrace the exterior of the cavity. While the fan element can be located in a central portion that extends horizontally along the rear side of the cavity, the distributor chamber and the collector chamber can comprise the side portions of the U-shaped component.
  • the cavity comprises a plurality of apertures that are aligned with the distributor chamber and the collector chamber.
  • the uniformity of the heat distributed into the cavity can be further increased by providing within the heating module, such as a U-shaped component comprising a distributor chamber and a collector chamber, for a plurality of heating elements that are distributed throughout the distributor chamber.
  • the heating module such as a U-shaped component comprising a distributor chamber and a collector chamber, for a plurality of heating elements that are distributed throughout the distributor chamber.
  • the outlet duct can comprises a distributor duct which is separated from the cavity by a calm chamber which is in flow communication with the distributor duct via a plurality of apertures and which is in flow communication with the cavity via second plurality of apertures.
  • the calm chamber acts to equalize or average differences in the flows to the apertures in the cavity wall through which heated air is introduced into the cavity.
  • the distributor chamber can be designed to have a cross sectional area that gradually decreases towards an increasing distance from the fan element.
  • the distributor chamber can be designed to have a cross sectional area that gradually decreases towards an increasing distance from the fan element.
  • uniformity of the air flows exiting the plurality of apertures also can be achieved by providing for a distributor chamber having a constant cross sectional area along its length, but providing for apertures the size of which varies along the length of the distributor chamber.
  • a uniform pressure of the air leaving the apertures also could be achieved by providing for apertures the size of which increases with increasing distance from the fan element.
  • the heating modules recirculate air which is aspired from the oven cavity, during a food preparation process the air can pick up constituents of the food or of oven fumes within the cavity, such as liquids like moisture or oil, or solid particles such as ash or minute food particles.
  • cleaning means located within the distributor chamber and/or the collector chamber, such as filter means or an UV system for sanitization purposes.
  • the fan element is a bi-directional fan that selectively can be operated in a first direction and in a second direction opposite to the first direction.
  • the inlet and outlet ducts preferably are designed as symmetrical components, so that upon reversing the fan element a similar flow pattern is achieved which differs from the one before the switching only in that the flow direction is opposite.
  • the heating modules comprise a distributor chamber and a collector chamber
  • these chambers are constructed correspondingly, so that upon switching the fan to a reverse direction the distributor chambers are operated as collector chambers and vice versa the collector chambers are operated as distributor chambers.
  • the heating modules comprise a fan element that is in flow communication with the oven cavity by means of ducting that selectively can be operated either as inlet duct or as outlet duct, wherein such ducting further comprises calm chambers which thus selectively can be operated as distributor chambers or as collector chambers.
  • Reversing the air flow through the cavity further assists in providing for an overall uniform heat distribution because by reversing the air flow, for example an air flow that is passed horizontally across a tray on which there are arranged food items, thermal effects of an unidirectional flow, such as localized hot spots where a hot air stream hits, or spots of lower temperature which may be caused by an area on the tray receiving less hot air, such as because such area is on the lee side of a larger food item, can be averaged or at least alleviated over time.
  • Reversing the air flow generated by a heating module can be implemented for example by employing a fan that is powered by a DC motor, wherein by switching the polarity of the power line, the motor can be operated in a reverse direction.
  • a fan that is powered by a DC motor, wherein by switching the polarity of the power line, the motor can be operated in a reverse direction.
  • advantageously variable speed fans are employed.
  • the convection oven in accordance with the present invention shown in Figure 1 comprises a cavity 12 at the exterior side of which there are provided three heating modules.
  • one heating module 14 is located in a central region of a top wall 16 of the cavity, and two further heating modules 18 and 20 are located in a rear wall 22 of the cavity.
  • the heating modules which will be explained in further detail by reference to Figures 2 to 4 , all comprise a fan element 24, a heating element 26, an inlet duct for feeding air into the heating module, and an outlet duct 28 for feeding heated air to the cavity via an aperture 30 in the top wall 16.
  • the inlet duct of heating module 14 is at the bottom side of fan element 24 and hence is not to be seen in Figure 1 .
  • heating module 18 (and correspondingly heating module 20 which is of identical construction) comprises a fan element 32 at the bottom side of which there is provided an inlet duct via which heating module 18 in operation withdraws air from the cavity, to pass such air through a heating element 34, an outlet duct 36 and back into the cavity 12 via an aperture 38 provided therein.
  • heating module 18 (and correspondingly heating module 20) is provided with an outlet duct of a bent shape so as to connect to an aperture 38 which is provided in an upper rear corner of the cavity to thus feed heated air diagonally into the cavity.
  • FIG. 2 illustrates an exploded view of a heating module 40 which comprises a fan element 42 having an impeller 44 that is driven by an electric motor (not shown) to aspire air via an inlet opening 46 and to expel the air via an outlet opening 48.
  • a heating module 40 which comprises a fan element 42 having an impeller 44 that is driven by an electric motor (not shown) to aspire air via an inlet opening 46 and to expel the air via an outlet opening 48.
  • Fan element 42 receives air from the cavity via an inlet duct 50 which in the embodiment shown in Figure 2 is a ring shaped element which in the assembled state of the convection oven is mounted between the cavity and the fan element.
  • Fan element 42 at its outlet 48 connects to a heating element 52 which in the embodiment shown in Figure 2 comprises a plurality of wire coils 54 which span opposing walls of the heating element 52 and which due to their ohmic resistance are heated when supplying an electric current to the coils.
  • Air passed by fan element 42 through heating element 52 thus is heated and is fed via an outlet duct 56 to an outlet opening 58 which in the assembled state of the convection oven is connected to an aperture in a wall of the cavity, such as aperture 30 in the top wall 16 or aperture 38 in a corner of the cavity shown in Figure 1 .
  • FIG 3 illustrates a modified embodiment of the heating module of Figure 2 in which a different inlet duct is provided. That is, whereas the heating module of Figure 3 comprises a fan element 42, a heating element 52 and an outlet 56 as they are also provided in the heating module shown in Figure 2 , in the embodiment illustrated in Figure 3 there is provided an inlet duct 59 having an inlet opening 60, an outlet opening 62 and a duct portion 64 that provides for an offset between inlet opening 60 and outlet opening 62.
  • inlet opening 60 of inlet duct 59 While when mounted to a cavity, inlet opening 60 of inlet duct 59 will be connected to an aperture in a wall of the cavity, upon activation of the fan element 42 air will be drawn from the cavity via inlet opening 60 into the inlet duct 59, where the air upon making a 90° turn will flow through the duct portion 64 to then after making another 90° turn exit the inlet duct 59 via outlet opening 62.
  • Figure 4 illustrates further variants of the modular heating module illustrated in Figures 1 to 3 . While the heating module of Figure 4 employs the same fan element 42 and the same heating element 52 as are provided in the heating modules of Figures 2 and 3, Figure 4 illustrates an inlet duct 66 which comprises a bleed inlet 68 via which ambient air can be passed into the inlet duct 66.
  • a flow regulator such as an actuated flap that is provided within a stub portion 70 that opens to bleed inlet 68. Bleeding air into the inlet duct allows for a faster lowering of the temperature within the cavity, such as by turning off the heating element 52, opening the bleed inlet 68, and operating the fan element 42.
  • FIG. 4 further illustrates an outlet duct 72 which in addition to an outlet opening 74 comprises a vent 76, via which air can be vented to the exterior of the cavity.
  • outlet duct 72 is configured as a directional flow valve, such as by providing for a pivotable flap within the outlet duct 72.
  • the internal flow valve comprises a circular flap which is dimensioned to block the inner diameter of outlet duct 72, which flap selectively can be oriented in a first position in which vent 76 is closed and hence all air entering the outlet duct 72 is directed to outlet opening 74, and a second position in which outlet opening 74 is closed and the entire air entering the outlet duct 72 is directed via vent 76 to the exterior of the cavity.
  • Activating vent 76 allows a fast lowering of the temperature within the cavity, to which end heating element 52 is turned off, and fan element 42 is operated so as to vent hot air from within the cavity 12 via vent 76, optionally assisted by opening bleed inlet 68.
  • all housing portions such as the housing of the fan element, the inlet duct, the outlet duct, and optionally also the housing of the heating element, all are formed of a lightweight but yet form stable thermally insulating material, such as a fiber material like glass fiber, carbon fiber or aramide materials such as Kevlar®, or high temperature resistant polymers such as polyphenylene sulphide (PPS), liquid crystal polymer (LCP) or polyetheretherketone (PEEK).
  • PPS polyphenylene sulphide
  • LCP liquid crystal polymer
  • PEEK polyetheretherketone
  • FIG. 5 illustrates a further embodiment of a heating module for use in a convection oven in accordance with the present invention.
  • the heating module 78 illustrated in Figure 5 comprises a generally bow shaped component made of a light but form stable thermally insulating material.
  • Heating module 78 is mounted at the exterior side of a wall 80 of an oven cavity, so that an inlet duct 82 of the heating module 78 is in alignment with a first aperture 84 in the cavity wall 80, and an outlet duct 86 of heating module 78 is in alignment with a second aperture 88 in the cavity wall 80.
  • heating module 78 of Figure 5 comprises an axial fan 90 which is driven by a motor 92.
  • Figure 5 further illustrates several options for the placement of a heating element, which in all options illustrated in Figure 5 comprises a wire coil element.
  • a wire coil element 94 can be located along the inner wall of the outlet duct 86, such as in direct contact with the wall, which provides for a large open flow area.
  • a wire coil element 96 can be arranged to span the distance between opposing walls of the outlet duct 86.
  • Wire coil element 98 illustrates an embodiment in which a heating wire is arranged at the outlet end of the outlet duct 86.
  • a heating wire also could be located outside of the outlet duct 86, such as within aperture 88 pf the cavity wall or at the interior of the cavity.
  • wire coil elements 94, 96 and 98 are advantageous in that the heating element is housed within the heating module and thus can easily shielded against inadvertent contact with a user reaching into the cavity or with food items present in the cavity.
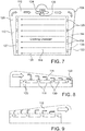
  • FIG. 6 is a perspective view of a cavity 102 which is equipped with three heating modules 104, 106 and 108.
  • the heating modules 104, 106 and 108 are configured to provide for heating of partial volumes of the cavity, which partial volumes correspond to regions in which a food tray can be located within the cavity.
  • Heating modules 104, 106 and 108 are configured as horizontally oriented duct elements which extend along a horizontal portion of the rear and side walls of the cavity.
  • the heating modules are of a generally U-shaped configuration having a central duct portion 110 that extends along the entire width of the rear wall of the cavity and two lateral duct portions 112 and 114 that extends along the side walls of the cavity. While the central duct portion 110 is closed towards the cavity 116, the lateral duct portions 112 and 114 are in flow communication with the cavity 116 via a plurality of apertures 118 provided in the side walls of the cavity. A plurality of heating elements 120 is provided within the lateral duct portions 112 and 114 in proximity of the apertures 118.
  • a deflector wall 122 that covers the heating elements 120 towards the interior of the lateral duct portions 112 and 114.
  • the deflector wall 122 which comprises a plurality of apertures 130 divides the lateral duct portions 112 and 114 into a distributor or collector duct 125 (depending on the direction of the fan) which is separated from the cavity 116 by a calm chamber 127 which is formed between the cavity wall and the deflector wall 122 and in which the heating elements 120 are located.
  • Air fed by a fan element 124 located in the central duct portion 110 thus is distributed within the distributor duct 125, is passed through the apertures 130 in the deflector wall 122 into the clam chamber 127 in which there are provided the heating elements 120, and then is fed via the apertures 118 into the cavity.
  • the individual heating elements 120 can be operated at different power levels so as to obtain a desired temperature profile in the region of the cavity heated by the respective heating module.
  • lateral duct portion 112 acts as distributor chamber from which air is fed in a substantially uniform manner into the cavity
  • correspondingly lateral duct portion 112 acts as collector chamber to uniformly aspire air from within the cavity.
  • the apertures 130 in the deflector wall 122 can be arranged offset to the apertures 118 in the cavity so as to further improve the uniformity in air flows from the apertures 118.
  • the lateral duct portions 112 and 114 preferably have a shape such that the cross sectional are of these duct portions decreases with increasing distance from the central duct portion 110.
  • the flow pattern of air fed from the lateral duct portions 112 and 114 to the cavity can be further adapted by selection of the size and distribution of apertures 118 via which air is passed from the calm chambers 127 into the cavity.
  • the lateral duct portions 112 and 114 are of symmetric construction, so that by operating the fan element 124 in a reverse direction, the flow pattern through the cavity can be reversed so as to provide for an overall more even temperature profile throughout the cavity.
  • the flow of air into and out of the cavity 116 can be configured as desired by providing apertures 118 with static guides, such as baffles of a desired shape, or with moveable guides which allow varying the air flow.
  • the convection oven described herein provides for higher efficiency than conventional convection ovens on the one hand by providing for a plurality of heat sources that allow for a better and more even distribution of the heat provided to the cavity, and on the other hand by generating the heat by heating modules of a low thermal mass that avoid heat losses due to heating components other than the cavity.
  • the efficiency of the oven is further improved in that by providing for a plurality of heat sources the individual heat sources can be designed for a lower maximum temperature.
  • the concept suggested herein not only allows providing for a more even temperature profile within the cavity or a portion thereof, but further allows to establish several dedicated heating zones that can be operated at different temperatures, thus improving the cooking performance.

Landscapes

  • Engineering & Computer Science (AREA)
  • Chemical & Material Sciences (AREA)
  • Combustion & Propulsion (AREA)
  • Mechanical Engineering (AREA)
  • General Engineering & Computer Science (AREA)
  • Electric Stoves And Ranges (AREA)

Abstract

A convection oven comprises a cavity (12) and a plurality of heating modules (14, 18, 20) mounted at the exterior side of the cavity (12), wherein each heating module (14, 18, 20) comprises: an inlet duct (50) mounted at the exterior side of the cavity (12) in flow communication with the cavity (12) via a first aperture;an outlet duct (28) mounted at the exterior side of the cavity in flow communication with a second aperture (30) in the cavity (12) ;a fan element (24) for feeding air from the cavity (12) via the inlet duct (50) back to the cavity (12) via the outlet duct (28); andat least one heating element (26) for heating the air that is fed to the cavity (12).

Description

  • The present invention relates to a convection oven.
  • Convection ovens for heating food items, such as cooking or baking ovens, are available in different constructional designs. In one common design there is provided a heating element that is located external to the cavity, and a fan element which feeds heated air from the heating element to the cavity, such as via a shroud that surrounds the cavity. Such an oven is described for example in DE 26 57 267 A1 .
  • In an alternative approach, one or more heating elements are provided within the cavity, wherein one or more fan elements is provided at the rear wall of the cavity, be it in a designated fan housing at the interior side of the cavity (as is shown in EP 0 000 908 A1 ), or at the exterior side of the cavity (as is shown in WO 20110/009216 A1 ), so as to provide for an air circulation within the cavity so as to flow the heated air across food items to be prepared in the oven.
  • Often conventional convection ovens comprise a plurality of heating elements, such as a ring-shaped heating element in the center of which there is provided a fan element, which ring-shaped heating element is provided at the interior of the cavity. Further heating elements can be provided at the top and the bottom of the cavity so as to provide top and bottom heat. Whereas the bottom heating element usually is provided externally to the cavity, the top heating element often comprises a heating coil that is located within the cavity below the top wall thereof, which heating coil also can provide for a grill function.
  • Despite many constructional improvements having been made in the art of convection ovens over the last decades, there remains a general desire in the art to provide for a convection oven that has a lower power consumption when compared to conventional convection ovens.
  • The above object is solved by the present invention which provides for a convection oven having a cavity and a plurality of heating modules mounted at the exterior side of the cavity, wherein each heating module comprises an inlet duct mounted at the exterior side of the cavity in flow communication with the cavity via a first aperture in the cavity, an outlet duct mounted at the exterior side of the cavity in flow communication with a second aperture in the cavity, a fan element for withdrawing air from the cavity via the inlet duct and feeding the air back to the cavity via the outlet duct, and at least one heating element for heating the air that is fed to the cavity.
  • The convection oven of the present invention employs a plurality of heating modules which each have their own fan element and ducting for providing a recirculating air flow through the cavity, which heating elements thus can be designed for a lower power level and a lower maximum temperature than heating elements used in conventional convection ovens. Apart from being able to employ smaller and more efficient heating modules, by providing for a plurality of heating modules, the heating modules further can be provided at different locations about the cavity so as to provide for a more homogeneous and hence more efficient heating of the cavity.
  • The inlet and outlet ducts via which air is passed to and from the cavity allow mounting the heating modules at arbitrary locations about the cavity. While the inlet and outlet ducts can comprise flow elements that connect the inlet or outlet of the fan element to respective apertures in a wall of the cavity, the ducts can be dimensioned as desired, so as to provide for a desired distance between the location at which air is withdrawn from the cavity and the location where heated air is blown into the cavity. Furthermore, by providing for respective inlet and outlet ducts, the fan element and the heating element need not be aligned with the apertures in the oven cavity but can be located offset thereto.
  • To provide for maximum flexibility in arranging the heating modules about the cavity, the heating module suggested herein is designed as a modular system, in which fan elements and heating elements of a standardized shape can be combined with inlet and outlet ducts of different shapes, such as straight or curved, and/or with different functions, such as with or without a vent or bleed inlet. Also the fan element and the heating element can be provided in different models, such as to provide for heating modules with different heating capacity by providing for heating elements with different power input.
  • Preferred embodiments of the present invention are defined in the dependent claims.
  • The at least one heating element may comprise a wire coil element, such as a naked metal coil made of constantan wire or of tungsten wire, which provides for heating of the air when the air is fed by the fan element through the heating element. There are various options for arranging the wire coil element within the heating module. For example, the wire coil element can be provided at an inner wall surface of an air channel of the heating module, such as a wall of the inlet duct or of the outlet duct, wherein the wire coil element can be arranged, at least partially, in direct contact with the inner surface of the wall. The wire coil element also can be arranged such that it spans a distance between walls of the inlet duct or the outlet duct, and thus may comprise a heating wire that, for example, extends perpendicular to the channel walls.
    In case that a wire coil element of larger dimensions is to be employed, so as to provide for a larger contact area with the air, the wire coil can be arranged to span the air channel at an oblique angle with respect to the walls of the air channel.
  • The wire coil element can be arranged in proximity to the outlet of the outlet duct so that heat is generated at a minimal distance from the cavity. To this end, a wire coil element could be arranged within the outlet duct a short distance upstream of the outlet end of the outlet duct. While generally the wire coil element also could be arranged so as to project at least partially out of the outlet duct, arranging the wire coil element within the outlet duct has the advantage that any undesired contact with the wire coil element, such as by food items or by a user reaching into the cavity, can be avoided without having to provide for a cover, such as a grid, that projects into the cavity.
  • While in conventional convection ovens typically heating elements are employed that have a power input of 1000 to 2500 W, such as a ring heating element of 2400 W, a top or grill heating element of 2400 W, and a bottom heating element of 1000 W, wherein the oven may be configured for an overall power input of 3600 W during simultaneous operation of the heating elements, the convection oven of the present invention which uses a plurality of hot air heating modules provides for a substantially lowered power consumption. Depending on the number and location of heating modules, the individual heating modules may be configured for a power consumption of between about 50 W and 500 W, wherein also a combination of heating modules of different power levels can be employed, such as a heating module of 50 W, 100 W or 150 W that is particularly intended for providing for a food warming function but which also assists in other heating functions, in combination with heating modules of higher power, such as 300 W, 350 W, 400 W, 450 W or 500 W which are distributed about the cavity for providing heat for cooking and baking functions. Due to the better efficiency attained by providing for distributed heat sources an oven having for example 6 heating modules of 500 W each, so that the oven has an overall power input of 3000 W, provides for a comparable heating speed as the above conventional oven of 3600 W. Lowering the power consumption of 3600 W to 3000 W thus provides for power savings of 20 %. In the alternative, using a plurality of heating modules having an overall power input of the conventional 3600 W, the invention allows to speed up the heat delivery and hence the cooking process by 20 %.
  • In embodiments, the convection oven of the present invention comprises a plurality of heating modules that are located at different walls of the cavity. For example, there can be provided one heating module at each of the rear corners of the cavity, wherein the heating modules may be arranged to direct heated air streams at an angle into the cavity, such as diagonally towards a central region of the cavity. In further embodiments there is provided one heating module at each wall of the cavity, such as one heating module in each of the two side walls, one heating module in the rear wall, and one heating module in each of the bottom and top walls. Furthermore, the heating modules can be designed to provide heated air into the cavity via an outlet duct that spans more than one wall element, such as an angled outlet duct that extends along a portion of the rear wall and a portion of a side wall and which has a plurality of outlet openings for feeding hot air into the cavity.
  • In order to allow achieving different heat levels for a plurality of trays that are located within the cavity, the convection oven can comprise a plurality of heating modules which are arranged at different height levels of the cavity. Thus, in a convection oven having a cavity with plural tracks for inserting trays at different levels, there can be provided one heating module at every second level, and preferably one heating module for each level.
  • While the heating modules provide for recirculation of the air within the cavity by aspiring air from within the cavity, heating such air, and feeding the heated air back into the cavity, the inlet duct can comprise at least one bleed inlet for feeding ambient air into the inlet duct, so as to allow fresh and cooler air to be passed into the cavity. Providing for at least one bleed inlet allows for faster temperature adaptions of the oven atmosphere such as to lower the temperature after termination of a cooking process.
  • For similar reasons, the outlet duct can comprise at least one vent for venting air which has been withdrawn from the cavity via the inlet duct, so as to allow hot air from within the cavity to be vented to the exterior.
  • In order to selectively control the inlet and outlet flows, the inlet and the outlet duct, respectively, can comprise a directional valve which in an simple embodiment can be an actuated flap, or which can be a flow regulator valve so as to allow admixing to, or diverting from, respectively, a partial air flow to the air that is fed to or is withdrawn from the cavity.
  • In preferred embodiments of the convection oven suggested herein, the inlet duct, the outlet duct, a housing of the fan element and/or a housing of the heating element, and most preferably all these components, are formed of a thermally insulating material, in particular a form stable material of low thermal conductivity, such as vermiculite material, mineral fibers, glass fiber, aramide materials such as Kevlar®, carbon fiber materials, or high temperature resistant polymers such as polyphenylene sulphide (PPS), liquid crystal polymer (LCP) or polyetheretherketone (PEEK).
  • In further preferred embodiments the inlet duct, the outlet duct, a housing of the fan element and/or a housing of the heating element, and most preferably all these components, comprises a lightweight construction, such as a foam structure, a honeycomb structure, a corrugated board structure, or a similar structurally reinforced component, such as a component that is made of layers of thin thermally insulating material between which there is arranged a rib structure which thus creates a plurality of hollows, which hollows further can be filled by a thermally insulating gas such as a noble gas, for example argon.
  • Providing for such a lightweight construction of components of the heating module results in the heating module having a low thermal mass. Unlike conventional ovens which use heavy metallic heating elements, such as a fan that is provided within a metallic shroud and which is connected to the cavity by means of metal ducts, which components take up a considerable amount of the heat produced by the heating module, the present invention in such preferred embodiments aims at reducing the thermal mass in the heating module, thus further improving the energy efficiency of the heating modules. Components having a lightweight construction also can be made of an insulating material, such as a soft fiber material, which is encapsulated within a thin walled shell of high structural strength, such as plastic of metal.
  • In embodiments the outlet duct comprises a distributor chamber, and the cavity comprises a plurality of apertures for feeding air from the distributor chamber into the cavity. Whereas in conventional convection ovens in which a fan directly blows into the cavity, such as from a central location in the rear wall of the oven, the swirling air flow that is passed into the cavity inherently creates a non-uniform flow pattern which thus leads to a non-uniform transfer of heat to any food items to be processed within the oven, by providing for a distributor chamber there is established a calm zone from which the air then can be fed in a comparably uniform flow into the oven cavity.
  • In a similar fashion, the inlet duct can comprise a collector chamber, and the cavity can comprise a plurality of apertures for aspiring air from the cavity into the collector chamber.
  • In such embodiments, the heating module can be a generally U-shaped component which is arranged to horizontally embrace the exterior of the cavity. While the fan element can be located in a central portion that extends horizontally along the rear side of the cavity, the distributor chamber and the collector chamber can comprise the side portions of the U-shaped component. In such embodiments, the cavity comprises a plurality of apertures that are aligned with the distributor chamber and the collector chamber. By activating the fan element a horizontal flow is generated, wherein air is passed into the cavity via the apertures in the sidewall of the cavity where at the exterior side there is located the distributor chamber. The air then passes through the cavity towards the opposite sidewall where the air is aspired into the collector chamber formed by the inlet duct that is located at the exterior side of such sidewall.
  • It is to be noted that such latter embodiments are particularly suited for embodiments in which there are to be provided plural heating modules at different height levels of the cavity, so as to be able to heat plural trays at different heat levels, such as a tray at higher temperature for roasting meat and a tray at lower temperature for cooking sides, such as vegetable.
  • The uniformity of the heat distributed into the cavity can be further increased by providing within the heating module, such as a U-shaped component comprising a distributor chamber and a collector chamber, for a plurality of heating elements that are distributed throughout the distributor chamber. By providing for a plurality of heating elements, which further could be operated at different power levels, temperature maldistributions along the distributor chamber can be avoided.
  • In order to further improve flow uniformity of the heated air streams that are passed into the cavity, the outlet duct can comprises a distributor duct which is separated from the cavity by a calm chamber which is in flow communication with the distributor duct via a plurality of apertures and which is in flow communication with the cavity via second plurality of apertures. Whereas the distributor duct thus serves to distribute the heated air along the outlet, the calm chamber acts to equalize or average differences in the flows to the apertures in the cavity wall through which heated air is introduced into the cavity.
  • To provide for uniformity of the air flows exiting the plurality of apertures fed by the distributor chamber, the distributor chamber can be designed to have a cross sectional area that gradually decreases towards an increasing distance from the fan element. Thus, while when having a plurality of openings that are distributed along the length of the distributor chamber, and assuming that all apertures shall provide for a similar air flow, given that with increasing distance from the fan element less air is to be distributed through the distributor chamber, by providing for a cross sectional area that gradually decreases with increasing distance from the fan element, there can be provided for a uniform pressure and thus speed of the air leaving the apertures.
  • In an alternative to providing for a variable cross sectional area of the distributor chamber, uniformity of the air flows exiting the plurality of apertures also can be achieved by providing for a distributor chamber having a constant cross sectional area along its length, but providing for apertures the size of which varies along the length of the distributor chamber. In particular, a uniform pressure of the air leaving the apertures also could be achieved by providing for apertures the size of which increases with increasing distance from the fan element.
  • Given that the heating modules recirculate air which is aspired from the oven cavity, during a food preparation process the air can pick up constituents of the food or of oven fumes within the cavity, such as liquids like moisture or oil, or solid particles such as ash or minute food particles. In order to avoid a buildup of dirt within the heating modules, there can be provided cleaning means located within the distributor chamber and/or the collector chamber, such as filter means or an UV system for sanitization purposes.
  • Finally, in preferred embodiments the fan element is a bi-directional fan that selectively can be operated in a first direction and in a second direction opposite to the first direction. In such embodiments the inlet and outlet ducts preferably are designed as symmetrical components, so that upon reversing the fan element a similar flow pattern is achieved which differs from the one before the switching only in that the flow direction is opposite. Thus, in embodiments wherein the heating modules comprise a distributor chamber and a collector chamber, also these chambers are constructed correspondingly, so that upon switching the fan to a reverse direction the distributor chambers are operated as collector chambers and vice versa the collector chambers are operated as distributor chambers.
  • In view of the above, in the present description all terms that refer to a function of a component in the feeding of air, such as "inlet", "inlet duct" etc. are to be understood as not being restricted to such function, but are to be understood as designating the function of such component in the actual mode of operation referred to. Thus, as will be understood particularly by reference to the exemplary embodiments described below by reference to the drawings, in one preferred embodiment the heating modules comprise a fan element that is in flow communication with the oven cavity by means of ducting that selectively can be operated either as inlet duct or as outlet duct, wherein such ducting further comprises calm chambers which thus selectively can be operated as distributor chambers or as collector chambers.
  • Reversing the air flow through the cavity further assists in providing for an overall uniform heat distribution because by reversing the air flow, for example an air flow that is passed horizontally across a tray on which there are arranged food items, thermal effects of an unidirectional flow, such as localized hot spots where a hot air stream hits, or spots of lower temperature which may be caused by an area on the tray receiving less hot air, such as because such area is on the lee side of a larger food item, can be averaged or at least alleviated over time.
  • Reversing the air flow generated by a heating module can be implemented for example by employing a fan that is powered by a DC motor, wherein by switching the polarity of the power line, the motor can be operated in a reverse direction. In order to be able to adapt the volume of air that is recirculated throughout the cavity, advantageously variable speed fans are employed.
  • The present invention will be described in further detail below by reference to the drawings in which:
    • Figure 1 shows a perspective view of a convection oven in accordance with the present invention;
    • Figure 2 is a perspective view of a heating module in accordance with a first embodiment of the present invention;
    • Figure 3 is a perspective view of a heating module in accordance with a second embodiment of the present invention;
    • Figure 4 is a perspective view of a heating module in accordance with a third embodiment of the present invention;
    • Figure 5 shows a sectional view of a heating module illustrating various options for the placement of a heating element;
    • Figure 6 is a perspective view of a further embodiment of a convection oven in accordance with the present invention;
    • Figure 7 is a schematic sectional view of a heating module in accordance with an embodiment of the present invention;
    • Figure 8 is a partial schematic sectional view of an inlet duct of the heating module shown in Fig. 7; and
    • Figure 9 is a partial schematic sectional view of an outlet duct of the heating module shown in Fig. 7.
  • The convection oven in accordance with the present invention shown in Figure 1 comprises a cavity 12 at the exterior side of which there are provided three heating modules. In particular, one heating module 14 is located in a central region of a top wall 16 of the cavity, and two further heating modules 18 and 20 are located in a rear wall 22 of the cavity.
  • The heating modules which will be explained in further detail by reference to Figures 2 to 4, all comprise a fan element 24, a heating element 26, an inlet duct for feeding air into the heating module, and an outlet duct 28 for feeding heated air to the cavity via an aperture 30 in the top wall 16. In the embodiment illustrated in Figure 1, the inlet duct of heating module 14 is at the bottom side of fan element 24 and hence is not to be seen in Figure 1.
  • Similarly as heating module 14, heating module 18 (and correspondingly heating module 20 which is of identical construction) comprises a fan element 32 at the bottom side of which there is provided an inlet duct via which heating module 18 in operation withdraws air from the cavity, to pass such air through a heating element 34, an outlet duct 36 and back into the cavity 12 via an aperture 38 provided therein. In the embodiment illustrated in Figure 1, heating module 18 (and correspondingly heating module 20) is provided with an outlet duct of a bent shape so as to connect to an aperture 38 which is provided in an upper rear corner of the cavity to thus feed heated air diagonally into the cavity.
  • Figure 2 illustrates an exploded view of a heating module 40 which comprises a fan element 42 having an impeller 44 that is driven by an electric motor (not shown) to aspire air via an inlet opening 46 and to expel the air via an outlet opening 48.
  • Fan element 42 receives air from the cavity via an inlet duct 50 which in the embodiment shown in Figure 2 is a ring shaped element which in the assembled state of the convection oven is mounted between the cavity and the fan element. Fan element 42 at its outlet 48 connects to a heating element 52 which in the embodiment shown in Figure 2 comprises a plurality of wire coils 54 which span opposing walls of the heating element 52 and which due to their ohmic resistance are heated when supplying an electric current to the coils. Air passed by fan element 42 through heating element 52 thus is heated and is fed via an outlet duct 56 to an outlet opening 58 which in the assembled state of the convection oven is connected to an aperture in a wall of the cavity, such as aperture 30 in the top wall 16 or aperture 38 in a corner of the cavity shown in Figure 1.
  • Figure 3 illustrates a modified embodiment of the heating module of Figure 2 in which a different inlet duct is provided. That is, whereas the heating module of Figure 3 comprises a fan element 42, a heating element 52 and an outlet 56 as they are also provided in the heating module shown in Figure 2, in the embodiment illustrated in Figure 3 there is provided an inlet duct 59 having an inlet opening 60, an outlet opening 62 and a duct portion 64 that provides for an offset between inlet opening 60 and outlet opening 62. While when mounted to a cavity, inlet opening 60 of inlet duct 59 will be connected to an aperture in a wall of the cavity, upon activation of the fan element 42 air will be drawn from the cavity via inlet opening 60 into the inlet duct 59, where the air upon making a 90° turn will flow through the duct portion 64 to then after making another 90° turn exit the inlet duct 59 via outlet opening 62.
  • Figure 4 illustrates further variants of the modular heating module illustrated in Figures 1 to 3. While the heating module of Figure 4 employs the same fan element 42 and the same heating element 52 as are provided in the heating modules of Figures 2 and 3, Figure 4 illustrates an inlet duct 66 which comprises a bleed inlet 68 via which ambient air can be passed into the inlet duct 66. In order to control the feeding of ambient air via bleed inlet 68, there is provided a flow regulator, such as an actuated flap that is provided within a stub portion 70 that opens to bleed inlet 68. Bleeding air into the inlet duct allows for a faster lowering of the temperature within the cavity, such as by turning off the heating element 52, opening the bleed inlet 68, and operating the fan element 42.
  • Figure 4 further illustrates an outlet duct 72 which in addition to an outlet opening 74 comprises a vent 76, via which air can be vented to the exterior of the cavity. To this end outlet duct 72 is configured as a directional flow valve, such as by providing for a pivotable flap within the outlet duct 72. In the embodiment illustrated in Fig. 4 the internal flow valve comprises a circular flap which is dimensioned to block the inner diameter of outlet duct 72, which flap selectively can be oriented in a first position in which vent 76 is closed and hence all air entering the outlet duct 72 is directed to outlet opening 74, and a second position in which outlet opening 74 is closed and the entire air entering the outlet duct 72 is directed via vent 76 to the exterior of the cavity. Activating vent 76 allows a fast lowering of the temperature within the cavity, to which end heating element 52 is turned off, and fan element 42 is operated so as to vent hot air from within the cavity 12 via vent 76, optionally assisted by opening bleed inlet 68.
  • In the embodiments illustrated in Figures 1 to 4 all housing portions, such as the housing of the fan element, the inlet duct, the outlet duct, and optionally also the housing of the heating element, all are formed of a lightweight but yet form stable thermally insulating material, such as a fiber material like glass fiber, carbon fiber or aramide materials such as Kevlar®, or high temperature resistant polymers such as polyphenylene sulphide (PPS), liquid crystal polymer (LCP) or polyetheretherketone (PEEK). The heating modules hence have a low thermal mass so that only a small portion of the energy expenditure is spent, and thus wasted, for the inherent heating of components of the oven other than the cavity.
  • Figure 5 illustrates a further embodiment of a heating module for use in a convection oven in accordance with the present invention. The heating module 78 illustrated in Figure 5 comprises a generally bow shaped component made of a light but form stable thermally insulating material. Heating module 78 is mounted at the exterior side of a wall 80 of an oven cavity, so that an inlet duct 82 of the heating module 78 is in alignment with a first aperture 84 in the cavity wall 80, and an outlet duct 86 of heating module 78 is in alignment with a second aperture 88 in the cavity wall 80. Whereas in the embodiments illustrated in Figures 2 to 4 a radial fan is employed, heating module 78 of Figure 5 comprises an axial fan 90 which is driven by a motor 92.
  • Figure 5 further illustrates several options for the placement of a heating element, which in all options illustrated in Figure 5 comprises a wire coil element. Thus, a wire coil element 94 can be located along the inner wall of the outlet duct 86, such as in direct contact with the wall, which provides for a large open flow area. Alternatively, a wire coil element 96 can be arranged to span the distance between opposing walls of the outlet duct 86. Wire coil element 98 illustrates an embodiment in which a heating wire is arranged at the outlet end of the outlet duct 86. As is illustrated by virtue of wire coil element 100, a heating wire also could be located outside of the outlet duct 86, such as within aperture 88 pf the cavity wall or at the interior of the cavity. While such latter option has the advantage of reducing heating of the housing of the heating module, the other options illustrated by wire coil elements 94, 96 and 98 are advantageous in that the heating element is housed within the heating module and thus can easily shielded against inadvertent contact with a user reaching into the cavity or with food items present in the cavity.
  • Figure 6 is a perspective view of a cavity 102 which is equipped with three heating modules 104, 106 and 108. In the embodiment of Figure 6, the heating modules 104, 106 and 108 are configured to provide for heating of partial volumes of the cavity, which partial volumes correspond to regions in which a food tray can be located within the cavity. Heating modules 104, 106 and 108 are configured as horizontally oriented duct elements which extend along a horizontal portion of the rear and side walls of the cavity. Thus, as illustrated in Figure 7 which shows a horizontal sectional view of heating module 106, the heating modules are of a generally U-shaped configuration having a central duct portion 110 that extends along the entire width of the rear wall of the cavity and two lateral duct portions 112 and 114 that extends along the side walls of the cavity. While the central duct portion 110 is closed towards the cavity 116, the lateral duct portions 112 and 114 are in flow communication with the cavity 116 via a plurality of apertures 118 provided in the side walls of the cavity. A plurality of heating elements 120 is provided within the lateral duct portions 112 and 114 in proximity of the apertures 118. As shown in Figure 7 there further is provided a deflector wall 122 that covers the heating elements 120 towards the interior of the lateral duct portions 112 and 114. The deflector wall 122 which comprises a plurality of apertures 130 divides the lateral duct portions 112 and 114 into a distributor or collector duct 125 (depending on the direction of the fan) which is separated from the cavity 116 by a calm chamber 127 which is formed between the cavity wall and the deflector wall 122 and in which the heating elements 120 are located.
  • Air fed by a fan element 124 located in the central duct portion 110 thus is distributed within the distributor duct 125, is passed through the apertures 130 in the deflector wall 122 into the clam chamber 127 in which there are provided the heating elements 120, and then is fed via the apertures 118 into the cavity.
  • In the embodiment shown in Figs. 6 and 7, the individual heating elements 120 can be operated at different power levels so as to obtain a desired temperature profile in the region of the cavity heated by the respective heating module.
  • In the operation mode illustrated in Fig. 7 in which the fan element 124 is rotated in the direction indicated by arrow 126, the air within the heating module 106 is caused to flow from lateral duct portion 112 via the central duct portion 110 to lateral duct portion 114 from where the air is passed into the cavity 116, flows through the cavity as depicted by arrows 128, to be aspired into lateral duct portion 112 thus completing the recirculating flow. In such operation mode lateral duct portion 114 acts as distributor chamber from which air is fed in a substantially uniform manner into the cavity, and correspondingly lateral duct portion 112 acts as collector chamber to uniformly aspire air from within the cavity.
  • As can be best seen in Figures 8 and 9 which show enlarged views of the lateral side portions of the heating module illustrated in Figure 7, the apertures 130 in the deflector wall 122 can be arranged offset to the apertures 118 in the cavity so as to further improve the uniformity in air flows from the apertures 118. As illustrated in Figures 6 to 9 the lateral duct portions 112 and 114 preferably have a shape such that the cross sectional are of these duct portions decreases with increasing distance from the central duct portion 110.
  • The flow pattern of air fed from the lateral duct portions 112 and 114 to the cavity can be further adapted by selection of the size and distribution of apertures 118 via which air is passed from the calm chambers 127 into the cavity.
  • Furthermore, as depicted in Figures 6 to 9 the lateral duct portions 112 and 114 are of symmetric construction, so that by operating the fan element 124 in a reverse direction, the flow pattern through the cavity can be reversed so as to provide for an overall more even temperature profile throughout the cavity.
  • Furthermore the flow of air into and out of the cavity 116 can be configured as desired by providing apertures 118 with static guides, such as baffles of a desired shape, or with moveable guides which allow varying the air flow.
  • The convection oven described herein provides for higher efficiency than conventional convection ovens on the one hand by providing for a plurality of heat sources that allow for a better and more even distribution of the heat provided to the cavity, and on the other hand by generating the heat by heating modules of a low thermal mass that avoid heat losses due to heating components other than the cavity. The efficiency of the oven is further improved in that by providing for a plurality of heat sources the individual heat sources can be designed for a lower maximum temperature. Furthermore, the concept suggested herein not only allows providing for a more even temperature profile within the cavity or a portion thereof, but further allows to establish several dedicated heating zones that can be operated at different temperatures, thus improving the cooking performance.
  • Reference signs
  • 12
    cavity
    14
    heating module
    16
    top wall
    18
    heating module
    20
    heating module
    22
    rear wall
    24
    fan element
    26
    heating element
    28
    outlet duct
    30
    aperture
    32
    fan element
    34
    heating element
    36
    outlet duct
    38
    aperture
    40
    heating module
    42
    fan element
    44
    impeller
    46
    inlet opening
    48
    outlet opening
    50
    inlet duct
    52
    heating element
    54
    wire coil
    56
    outlet duct
    58
    outlet opening
    59
    inlet duct
    60
    inlet opening
    62
    outlet opening
    64
    duct portion
    66
    inlet duct
    68
    bleed inlet
    70
    stub portion
    72
    outlet duct
    74
    outlet opening
    76
    vent
    78
    heating module
    80
    cavity wall
    82
    inlet duct
    84
    first aperture
    86
    outlet duct
    88
    second aperture
    90
    axial fan
    92
    motor
    94
    wire coil element
    96
    wire coil element
    98
    wire coil element
    100
    wire coil element
    102
    cavity
    104
    heating module
    106
    heating module
    108
    heating module
    110
    central duct portion
    112
    lateral duct portion
    114
    lateral duct portion
    116
    cavity
    118
    apertures
    120
    heating elements
    122
    deflector wall
    124
    fan element
    125
    distributor/collector duct
    126
    direction of rotation
    127
    calm chamber
    128
    flow direction
    130
    apertures

Claims (16)

  1. A convection oven having a cavity (12) and a plurality of heating modules (14, 18, 20) mounted at the exterior side of the cavity (12), each heating module (14, 18, 20) comprising:
    an inlet duct (50) mounted at the exterior side of the cavity (12) in flow communication with the cavity (12) via a first aperture;
    an outlet duct (28) mounted at the exterior side of the cavity in flow communication with a second aperture (30) in the cavity (12);
    a fan element (24) for withdrawing air from the cavity (12) via the inlet duct (50) and feeding the air back to the cavity (12) via the outlet duct (28); and
    at least one heating element (26) for heating the air that is fed to the cavity (12).
  2. The convection oven of claim 1, wherein the at least one heating element (26) comprises a wire coil element.
  3. The convection oven of claim 1 or 2, comprising a plurality of heating modules (14, 18, 20) that are located at different walls (16, 22) of the cavity (12).
  4. The convection oven of any one of the preceding claims, comprising a plurality of heating modules (104, 106, 108) that are arranged at different height levels of the cavity (102).
  5. The convection oven of any one of the preceding claims, wherein the inlet duct (66) comprises at least one bleed inlet (68) for feeding ambient air into the inlet duct.
  6. The convection oven of any of the preceding claims, wherein the outlet duct (72) comprises at least one vent (76) for venting air which has been withdrawn from the cavity (12) via the inlet duct (59).
  7. The convection oven of any of the preceding claims, wherein the inlet duct (59), the outlet duct (56), a housing of the fan element (42) and/or a housing of the heating element (52) are formed of a thermally insulating material.
  8. The convection oven of claim 7, wherein the inlet duct (59), the outlet duct (56), a housing of the fan element (42) and/or a housing of the heating element (52) comprises a lightweight construction, such as a foam structure, a honeycomb structure, a corrugated board structure, or a similar structurally reinforced component.
  9. The convection oven of claim 8, wherein the inlet duct (59), the outlet duct (56), a housing of the fan element (42) and/or a housing of the heating element (52) are made of a high temperature resistant material selected from the group of mineral fibers, glass fibers, high temperature resistant polymers, aramide materials, carbon fibers.
  10. The convection oven of any of the preceding claims, wherein the outlet duct comprises a distributor duct (125), and the cavity (116) comprises a plurality of apertures (118) for feeding air from the distributor duct (125) into the cavity (116) .
  11. The convection oven of claim 10, comprising a plurality of heating elements (120) that are located in the distributor duct (125).
  12. The convection oven of any of the preceding claims, wherein the inlet duct comprises a collector duct (125), and the cavity (116) comprises a plurality of apertures for aspiring air from the cavity into the collector duct (125).
  13. The convection oven of claims 10 to 12, wherein the outlet duct comprises a distributor duct (125) which is separated from the cavity (116) by a calm chamber (127) which is in flow communication with the distributor duct (125) via a plurality of apertures (130) and which is in flow communication with the cavity via second plurality of apertures (118) .
  14. The convection oven of claims 10 to 13, wherein the distributor duct (125) and/or the collector chamber (125) has a cross sectional area that gradually decreases towards an increasing distance from the fan element (124).
  15. The convection oven of claims 10 to 14, comprising cleaning means located within the distributor duct (125) and/or the collector chamber (125).
  16. The convection oven of any of the preceding claims, wherein the fan element (124) is a bi-directional fan that selectively can be operated in a first direction and in a second direction opposite to the first direction.
EP19191087.6A 2019-08-09 2019-08-09 Convection oven Withdrawn EP3772621A1 (en)

Priority Applications (2)

Application Number Priority Date Filing Date Title
EP19191087.6A EP3772621A1 (en) 2019-08-09 2019-08-09 Convection oven
PCT/EP2020/070921 WO2021028191A1 (en) 2019-08-09 2020-07-24 Convection oven

Applications Claiming Priority (1)

Application Number Priority Date Filing Date Title
EP19191087.6A EP3772621A1 (en) 2019-08-09 2019-08-09 Convection oven

Publications (1)

Publication Number Publication Date
EP3772621A1 true EP3772621A1 (en) 2021-02-10

Family

ID=67587670

Family Applications (1)

Application Number Title Priority Date Filing Date
EP19191087.6A Withdrawn EP3772621A1 (en) 2019-08-09 2019-08-09 Convection oven

Country Status (2)

Country Link
EP (1) EP3772621A1 (en)
WO (1) WO2021028191A1 (en)

Cited By (1)

* Cited by examiner, † Cited by third party
Publication number Priority date Publication date Assignee Title
US11480343B2 (en) * 2019-10-10 2022-10-25 Haier Us Appliance Solutions, Inc. Oven appliance equipped with multiple fans for selecting convection air flow direction

Citations (13)

* Cited by examiner, † Cited by third party
Publication number Priority date Publication date Assignee Title
US2862095A (en) * 1954-10-07 1958-11-25 Philco Corp Vapor treating means
DE2657267A1 (en) 1976-12-17 1978-06-22 British Gas Corp Gas heated forced convection oven - has venturi channel under cooking compartment with burner discharging into narrowest point
EP0000908A1 (en) 1977-08-31 1979-03-07 Küppersbusch Aktiengesellschaft Apparatus for cooking foods
EP0611524A1 (en) * 1993-02-19 1994-08-24 I.R.C.A. S.P.A. Industria Resistenze Corazzate Ed Affini Forced convection cooking oven
JP2001304557A (en) * 2000-04-20 2001-10-31 Paloma Ind Ltd Gas oven
US20040089648A1 (en) * 2002-07-29 2004-05-13 Griffey Dean J. Open coil heater element convection system for convection ovens and the like
US7087872B1 (en) * 1999-04-19 2006-08-08 Enersyst Development Center, L.L.C. Multi-shelved convection microwave oven
ITVI20090001A1 (en) * 2009-01-15 2010-07-16 Europa S R L CONVECTION OVEN FOR COOKING FOOD PRODUCTS
WO2011009216A1 (en) 2009-07-22 2011-01-27 Gullivert Technologies Blade support in a quasiturbine pump
EP2708128A2 (en) * 2012-09-14 2014-03-19 E.G.O. ELEKTRO-GERÄTEBAU GmbH Cleaning apparatus for an oven and oven
DE102014204055A1 (en) * 2014-03-05 2015-03-12 E.G.O. Elektro-Gerätebau GmbH oven
WO2016013752A1 (en) * 2014-07-22 2016-01-28 Samsung Electronics Co., Ltd. Oven
WO2016200511A1 (en) * 2015-06-08 2016-12-15 Appliance Innovation, Inc. Convection oven having removable air pleunums

Patent Citations (13)

* Cited by examiner, † Cited by third party
Publication number Priority date Publication date Assignee Title
US2862095A (en) * 1954-10-07 1958-11-25 Philco Corp Vapor treating means
DE2657267A1 (en) 1976-12-17 1978-06-22 British Gas Corp Gas heated forced convection oven - has venturi channel under cooking compartment with burner discharging into narrowest point
EP0000908A1 (en) 1977-08-31 1979-03-07 Küppersbusch Aktiengesellschaft Apparatus for cooking foods
EP0611524A1 (en) * 1993-02-19 1994-08-24 I.R.C.A. S.P.A. Industria Resistenze Corazzate Ed Affini Forced convection cooking oven
US7087872B1 (en) * 1999-04-19 2006-08-08 Enersyst Development Center, L.L.C. Multi-shelved convection microwave oven
JP2001304557A (en) * 2000-04-20 2001-10-31 Paloma Ind Ltd Gas oven
US20040089648A1 (en) * 2002-07-29 2004-05-13 Griffey Dean J. Open coil heater element convection system for convection ovens and the like
ITVI20090001A1 (en) * 2009-01-15 2010-07-16 Europa S R L CONVECTION OVEN FOR COOKING FOOD PRODUCTS
WO2011009216A1 (en) 2009-07-22 2011-01-27 Gullivert Technologies Blade support in a quasiturbine pump
EP2708128A2 (en) * 2012-09-14 2014-03-19 E.G.O. ELEKTRO-GERÄTEBAU GmbH Cleaning apparatus for an oven and oven
DE102014204055A1 (en) * 2014-03-05 2015-03-12 E.G.O. Elektro-Gerätebau GmbH oven
WO2016013752A1 (en) * 2014-07-22 2016-01-28 Samsung Electronics Co., Ltd. Oven
WO2016200511A1 (en) * 2015-06-08 2016-12-15 Appliance Innovation, Inc. Convection oven having removable air pleunums

Cited By (1)

* Cited by examiner, † Cited by third party
Publication number Priority date Publication date Assignee Title
US11480343B2 (en) * 2019-10-10 2022-10-25 Haier Us Appliance Solutions, Inc. Oven appliance equipped with multiple fans for selecting convection air flow direction

Also Published As

Publication number Publication date
WO2021028191A1 (en) 2021-02-18

Similar Documents

Publication Publication Date Title
CA2589319C (en) High speed convection oven
US4928663A (en) Enhanced air-flow convection oven
CN210520811U (en) Baking oven
US20100058936A1 (en) Recirculating end cover plates for a conveyor oven
US20020063125A1 (en) Heating apparatus of microwave oven
US10477867B2 (en) Oven appliance with air curtain
US11353220B2 (en) Direct-heating fan oven
CA2454010C (en) Ventilation system for a cooking appliance
US6552305B2 (en) Multi-functional oven for cooking food
CN112493839B (en) Cooking utensil
US6943322B1 (en) Pressure exhaust system for a convection cooking appliance
EP3772621A1 (en) Convection oven
EP3425286B1 (en) A cooking device and an operation method thereof
JP5090563B1 (en) Cooker
JP3939232B2 (en) Cooker
US20100206304A1 (en) Apparatus for Supply Mixed Gas for Gas Burners of Radiant Heating Type
US7717105B2 (en) Gas radiation burner
CN214760665U (en) Culinary art cavity structures and electric oven with air is fried function
CN223856092U (en) Vertical air path structure for tunnel type oven
WO2015092642A1 (en) Direct-heating fan oven
CN223126324U (en) Hot air baking air guiding device
CN222982847U (en) Cooking apparatus
CN110652219B (en) Baking appliance
EP0713059A1 (en) Oven structure associable with electrical or gas heating elements to define an electric or gas oven
WO2015092643A1 (en) Direct-heating fan oven

Legal Events

Date Code Title Description
PUAI Public reference made under article 153(3) epc to a published international application that has entered the european phase

Free format text: ORIGINAL CODE: 0009012

STAA Information on the status of an ep patent application or granted ep patent

Free format text: STATUS: THE APPLICATION HAS BEEN PUBLISHED

AK Designated contracting states

Kind code of ref document: A1

Designated state(s): AL AT BE BG CH CY CZ DE DK EE ES FI FR GB GR HR HU IE IS IT LI LT LU LV MC MK MT NL NO PL PT RO RS SE SI SK SM TR

AX Request for extension of the european patent

Extension state: BA ME

STAA Information on the status of an ep patent application or granted ep patent

Free format text: STATUS: REQUEST FOR EXAMINATION WAS MADE

17P Request for examination filed

Effective date: 20210810

RBV Designated contracting states (corrected)

Designated state(s): AL AT BE BG CH CY CZ DE DK EE ES FI FR GB GR HR HU IE IS IT LI LT LU LV MC MK MT NL NO PL PT RO RS SE SI SK SM TR

STAA Information on the status of an ep patent application or granted ep patent

Free format text: STATUS: EXAMINATION IS IN PROGRESS

17Q First examination report despatched

Effective date: 20230705

STAA Information on the status of an ep patent application or granted ep patent

Free format text: STATUS: THE APPLICATION IS DEEMED TO BE WITHDRAWN

18D Application deemed to be withdrawn

Effective date: 20250607