EP3553317B1 - Motorbetriebener kompressor - Google Patents

Motorbetriebener kompressor Download PDF

Info

Publication number
EP3553317B1
EP3553317B1 EP19168827.4A EP19168827A EP3553317B1 EP 3553317 B1 EP3553317 B1 EP 3553317B1 EP 19168827 A EP19168827 A EP 19168827A EP 3553317 B1 EP3553317 B1 EP 3553317B1
Authority
EP
European Patent Office
Prior art keywords
scroll
space
oil
bearing
rotary shaft
Prior art date
Legal status (The legal status is an assumption and is not a legal conclusion. Google has not performed a legal analysis and makes no representation as to the accuracy of the status listed.)
Active
Application number
EP19168827.4A
Other languages
English (en)
French (fr)
Other versions
EP3553317A1 (de
Inventor
Sanghun Seong
Honghee Park
Bumjune Seo
Jinyong Jang
Current Assignee (The listed assignees may be inaccurate. Google has not performed a legal analysis and makes no representation or warranty as to the accuracy of the list.)
LG Electronics Inc
Original Assignee
LG Electronics Inc
Priority date (The priority date is an assumption and is not a legal conclusion. Google has not performed a legal analysis and makes no representation as to the accuracy of the date listed.)
Filing date
Publication date
Application filed by LG Electronics Inc filed Critical LG Electronics Inc
Publication of EP3553317A1 publication Critical patent/EP3553317A1/de
Application granted granted Critical
Publication of EP3553317B1 publication Critical patent/EP3553317B1/de
Active legal-status Critical Current
Anticipated expiration legal-status Critical

Links

Images

Classifications

    • FMECHANICAL ENGINEERING; LIGHTING; HEATING; WEAPONS; BLASTING
    • F04POSITIVE - DISPLACEMENT MACHINES FOR LIQUIDS; PUMPS FOR LIQUIDS OR ELASTIC FLUIDS
    • F04CROTARY-PISTON, OR OSCILLATING-PISTON, POSITIVE-DISPLACEMENT MACHINES FOR LIQUIDS; ROTARY-PISTON, OR OSCILLATING-PISTON, POSITIVE-DISPLACEMENT PUMPS
    • F04C29/00Component parts, details or accessories of pumps or pumping installations, not provided for in groups F04C18/00 - F04C28/00
    • F04C29/02Lubrication; Lubricant separation
    • F04C29/028Means for improving or restricting lubricant flow
    • FMECHANICAL ENGINEERING; LIGHTING; HEATING; WEAPONS; BLASTING
    • F04POSITIVE - DISPLACEMENT MACHINES FOR LIQUIDS; PUMPS FOR LIQUIDS OR ELASTIC FLUIDS
    • F04CROTARY-PISTON, OR OSCILLATING-PISTON, POSITIVE-DISPLACEMENT MACHINES FOR LIQUIDS; ROTARY-PISTON, OR OSCILLATING-PISTON, POSITIVE-DISPLACEMENT PUMPS
    • F04C18/00Rotary-piston pumps specially adapted for elastic fluids
    • F04C18/02Rotary-piston pumps specially adapted for elastic fluids of arcuate-engagement type, i.e. with circular translatory movement of co-operating members, each member having the same number of teeth or tooth-equivalents
    • F04C18/0207Rotary-piston pumps specially adapted for elastic fluids of arcuate-engagement type, i.e. with circular translatory movement of co-operating members, each member having the same number of teeth or tooth-equivalents both members having co-operating elements in spiral form
    • F04C18/0215Rotary-piston pumps specially adapted for elastic fluids of arcuate-engagement type, i.e. with circular translatory movement of co-operating members, each member having the same number of teeth or tooth-equivalents both members having co-operating elements in spiral form where only one member is moving
    • FMECHANICAL ENGINEERING; LIGHTING; HEATING; WEAPONS; BLASTING
    • F04POSITIVE - DISPLACEMENT MACHINES FOR LIQUIDS; PUMPS FOR LIQUIDS OR ELASTIC FLUIDS
    • F04CROTARY-PISTON, OR OSCILLATING-PISTON, POSITIVE-DISPLACEMENT MACHINES FOR LIQUIDS; ROTARY-PISTON, OR OSCILLATING-PISTON, POSITIVE-DISPLACEMENT PUMPS
    • F04C27/00Sealing arrangements in rotary-piston pumps specially adapted for elastic fluids
    • F04C27/005Axial sealings for working fluid
    • FMECHANICAL ENGINEERING; LIGHTING; HEATING; WEAPONS; BLASTING
    • F04POSITIVE - DISPLACEMENT MACHINES FOR LIQUIDS; PUMPS FOR LIQUIDS OR ELASTIC FLUIDS
    • F04CROTARY-PISTON, OR OSCILLATING-PISTON, POSITIVE-DISPLACEMENT MACHINES FOR LIQUIDS; ROTARY-PISTON, OR OSCILLATING-PISTON, POSITIVE-DISPLACEMENT PUMPS
    • F04C28/00Control of, monitoring of, or safety arrangements for, pumps or pumping installations specially adapted for elastic fluids
    • F04C28/18Control of, monitoring of, or safety arrangements for, pumps or pumping installations specially adapted for elastic fluids characterised by varying the volume of the working chamber
    • F04C28/22Control of, monitoring of, or safety arrangements for, pumps or pumping installations specially adapted for elastic fluids characterised by varying the volume of the working chamber by changing the eccentricity between cooperating members
    • FMECHANICAL ENGINEERING; LIGHTING; HEATING; WEAPONS; BLASTING
    • F04POSITIVE - DISPLACEMENT MACHINES FOR LIQUIDS; PUMPS FOR LIQUIDS OR ELASTIC FLUIDS
    • F04CROTARY-PISTON, OR OSCILLATING-PISTON, POSITIVE-DISPLACEMENT MACHINES FOR LIQUIDS; ROTARY-PISTON, OR OSCILLATING-PISTON, POSITIVE-DISPLACEMENT PUMPS
    • F04C29/00Component parts, details or accessories of pumps or pumping installations, not provided for in groups F04C18/00 - F04C28/00
    • F04C29/02Lubrication; Lubricant separation
    • F04C29/023Lubricant distribution through a hollow driving shaft
    • FMECHANICAL ENGINEERING; LIGHTING; HEATING; WEAPONS; BLASTING
    • F04POSITIVE - DISPLACEMENT MACHINES FOR LIQUIDS; PUMPS FOR LIQUIDS OR ELASTIC FLUIDS
    • F04CROTARY-PISTON, OR OSCILLATING-PISTON, POSITIVE-DISPLACEMENT MACHINES FOR LIQUIDS; ROTARY-PISTON, OR OSCILLATING-PISTON, POSITIVE-DISPLACEMENT PUMPS
    • F04C2240/00Components
    • F04C2240/50Bearings
    • FMECHANICAL ENGINEERING; LIGHTING; HEATING; WEAPONS; BLASTING
    • F04POSITIVE - DISPLACEMENT MACHINES FOR LIQUIDS; PUMPS FOR LIQUIDS OR ELASTIC FLUIDS
    • F04CROTARY-PISTON, OR OSCILLATING-PISTON, POSITIVE-DISPLACEMENT MACHINES FOR LIQUIDS; ROTARY-PISTON, OR OSCILLATING-PISTON, POSITIVE-DISPLACEMENT PUMPS
    • F04C2240/00Components
    • F04C2240/50Bearings
    • F04C2240/52Bearings for assemblies with supports on both sides
    • FMECHANICAL ENGINEERING; LIGHTING; HEATING; WEAPONS; BLASTING
    • F04POSITIVE - DISPLACEMENT MACHINES FOR LIQUIDS; PUMPS FOR LIQUIDS OR ELASTIC FLUIDS
    • F04CROTARY-PISTON, OR OSCILLATING-PISTON, POSITIVE-DISPLACEMENT MACHINES FOR LIQUIDS; ROTARY-PISTON, OR OSCILLATING-PISTON, POSITIVE-DISPLACEMENT PUMPS
    • F04C2240/00Components
    • F04C2240/60Shafts
    • F04C2240/603Shafts with internal channels for fluid distribution, e.g. hollow shaft
    • FMECHANICAL ENGINEERING; LIGHTING; HEATING; WEAPONS; BLASTING
    • F04POSITIVE - DISPLACEMENT MACHINES FOR LIQUIDS; PUMPS FOR LIQUIDS OR ELASTIC FLUIDS
    • F04CROTARY-PISTON, OR OSCILLATING-PISTON, POSITIVE-DISPLACEMENT MACHINES FOR LIQUIDS; ROTARY-PISTON, OR OSCILLATING-PISTON, POSITIVE-DISPLACEMENT PUMPS
    • F04C2240/00Components
    • F04C2240/70Use of multiplicity of similar components; Modular construction

Definitions

  • the present invention relates to a motor-operated compressor.
  • a scroll compression method suitable for high compression ratio operation is mainly applied to motor-operated compressors.
  • a motor part having a rotary motor is installed inside a sealed casing, and a compression part composed of a stationary scroll and an orbiting scroll is installed on one side of the motor part.
  • the motor part and the compression part are connected to each other by a rotary shaft to transfer the rotational force of the motor part to the compression part.
  • the rotational force transferred to the compression part enables the orbiting scroll to orbit relative to the stationary scroll so that a pair of two compression chambers each composed of a suction chamber, an intermediate pressure chamber, and a discharge chamber are formed and also refrigerant is suctioned into both of the compression chambers and then compressed and discharged at the same time.
  • a scroll-type compression applied to an automobile air conditioning system (hereinafter abbreviated as a motor-operated compressor) is mainly installed in a horizontally long shape because of the structure of an automobile engine room.
  • the motor part and the compression part are arranged in a horizontal direction and connected to the rotary shaft.
  • a main frame and a subframe for supporting the rotary shaft are horizontally provided on both sides of the motor part, and a main bearing is provided on the main frame to support a central portion of the rotary shaft.
  • a sub-bearing is provided in the subframe to support one end of the rotary shaft.
  • the conventional motor-operated compressor as described above has a problem in that the number of components is increased because a sealing member is provided to seal the back pressure space. Furthermore, the number of components may be further increased because a conventional sealing member should be fastened to the main frame.
  • an aspect of the detailed description is to provide a motor-operated compressor capable of suppressing an increase in manufacturing cost due to the use of a sealing member by allowing a back pressure space to be formed even after the sealing member is removed.
  • the present invention provides a motor-operated compressor capable of forming a back pressure space in an open shape to eliminate the use of a sealing member.
  • the present invention provides a motor-operated compressor capable of smoothly supplying oil to a bearing surface by enabling a back pressure space having a relatively high pressure to communicate with an inner space of a casing having a relatively low pressure to maintain the internal pressure in the back pressure space while preventing stagnation of the internal pressure.
  • a motor-operated compressor in which a plurality of scrolls is provided inside a casing and supported by a frame, any one of the plurality of scrolls is fastened to the frame, and the frame and the stationary fastened to the frame are axially spaced apart at a certain interval to radially support a rotary shaft for transferring a rotational force of a driving motor.
  • a shaft hole passing through the rotary shaft may be formed in the frame, a bearing for radially supporting the rotary shaft may be provided in the shaft hole, and the back pressure space and the inner space of the casing may communicate through a gap between an inner peripheral surface of the bearing and an outer peripheral surface of the rotary shaft.
  • a motor-operated compressor including a casing having an inner space composed of a suction space and a discharge space, a first scroll provided in the inner space of the casing, wherein the first scroll is provided a stationary wrap, a second scroll provided an orbiting wrap configured to orbit in engagement with the stationary wrap of the first scroll to form a pair of two compression chambers between the first scroll and the second scroll, a rotary shaft coupled to the second scroll and configured to transfer a rotational force of a driving motor to the second scroll, an intermediate pressure space formed on one side of the second scroll to communicate with the discharge space, configured to accommodate oil flowing in from the discharge space to form back pressure supporting the second scroll toward the first scroll, and opened toward the suction space so that a portion of the accommodated oil flows out into the suction space.
  • a frame forming the intermediate pressure space along with the second scroll is further provided on one surface of the second scroll, a shaft hole passing through the rotary shaft is formed in the frame, a first bearing for radially supporting a first bearing part of the rotary shaft is provided inside the shaft hole, and a first radial bearing surface is formed between an inner peripheral surface of the first bearing and an outer peripheral surface of the first bearing part, and both ends of the first radial bearing surface communicate with the intermediate pressure space and the suction space, respectively.
  • an oil flow path is longitudinally formed on the rotary shaft, the oil flow path having one end communicating with the discharge space, and at least one oil supply hole is formed through a center of the oil flow path toward an outer peripheral surface of the rotary shaft, the oil supply hole is placed outside an axial range of the first bearing part, an intermediate pressure hole communicating between the intermediate pressure space and the compression chambers is formed in the second scroll and the intermediate pressure hole is located between the orbiting wraps.
  • the oil flow path may have another end placed outside the axial range of the first bearing.
  • an oil flow path may be longitudinally formed on the rotary shaft, the oil flow path may have one end communicating with the discharge space, and a plurality of oil supply holes may be formed to pass through a center of the oil flow path toward an outer peripheral surface of the rotary shaft, and at least one of the plurality of oil supply holes may be placed within an axial range of the first bearing part.
  • the oil supply hole placed within the axial range of the first bearing part may have a smaller inner diameter than those of oil supply holes placed outside the axial range of the first bearing part.
  • the oil supply hole placed within the axial range of the first bearing part may be eccentrically placed toward the discharge space with respect to an axial center of the first bearing part.
  • At least one bearing surface may be formed on an outer peripheral surface of the rotary shaft, and an oil flow path and an oil supply hole for guiding the oil of the discharge space to the bearing surface may be formed on the rotary shaft, and the intermediate pressure space may communicate with the discharge space through the oil flow path and the oil supply hole.
  • a space part forming the intermediate pressure space may be formed in the frame, a shaft hole through which the rotary shaft is to pass may be formed at a center of the space part, and a bearing for radially supporting the rotary shaft may be provided in the shaft hole, and the intermediate pressure space may communicate with the suction space through a gap between an outer peripheral surface of the rotary shaft and an inner peripheral surface of the bearing provided in the shaft hole.
  • a motor-operated compressor including a casing having an inner space composed of a suction space and a discharge space; a first scroll provided in the inner space of the casing; a second scroll configured to orbit in engagement with the first scroll to form a pair of two compression chambers between the first scroll and the second scroll; a frame placed opposite to the first scroll with the second scroll being interposed therebetween; and a rotary shaft having a first bearing part radially supported by the frame, a second bearing part radially supported by the first scroll through the second scroll, and an eccentric part placed between the first bearing part and the second bearing part and eccentrically coupled to the second scroll, wherein an oil flow path having one end communicating with the discharge space is formed on the rotary shaft, at least one oil supply hole for guiding oil of the discharge space to the first bearing part, the second bearing part, and the eccentric part is formed to pass through a center of the oil flow path toward an outer peripheral surface of the rotary shaft, and the oil supply hole includes a first oil supply hole formed within a
  • the oil flow path may be formed from one end of the rotary shaft forming the second bearing part up to the range of the eccentric part.
  • a shaft support part protruding opposite to the compression chamber may be formed on the first scroll, the second bearing part of the rotary shaft being rotatably inserted into the shaft support part, and a communication hole for communicating between the oil flow path and the discharge space may be formed on the shaft support part.
  • the rotary shaft may be configured to form a first radial bearing surface together with the frame, configured to form a second radial bearing surface together with the first scroll or the casing that forms the discharge space together with the first scroll, and configured to form a third radial bearing surface together with the second scroll, and oil having passed through the second radial bearing surface or the third radial bearing surface may be guided to the first radial bearing surface.
  • first radial bearing surface may have one end communicating with an intermediate pressure space provided between the frame and the second scroll and another end communicating with the suction space.
  • an intermediate pressure space and a suction space may communicate through a radial bearing surface by removing a sealing member for separating the intermediate pressure space from the suction space.
  • FIG. 1 is a cross-sectional view showing the inside of a motor-operated compressor according to the present invention
  • FIG. 2 is an enlarged cross-sectional view showing a portion of a compression part of FIG. 1
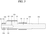
  • FIG. 3 is a cross-sectional view sowing a rotary shaft and bearings of FIG. 1 .
  • a low-pressure motor scroll compressor (hereinafter abbreviated as a motor-operated compressor) according to this embodiment includes a frame 102 fastened to the inside of a compressor casing (hereinafter abbreviated as a casing) 101, a driving motor 103, which is a motor part, provided on one side of the frame 102, and a compression part 105 provided on the other side of the frame 102 and configured to compress refrigerant using the rotational force of the driving motor 103.
  • a driving motor 103 which is a motor part, provided on one side of the frame 102
  • a compression part 105 provided on the other side of the frame 102 and configured to compress refrigerant using the rotational force of the driving motor 103.
  • the casing 101 is placed in a horizontal direction with respect to a ground surface, and the driving motor 103, and thus the compression part 105 are arranged in the horizontal direction.
  • the right of FIG.1 is designated as a front side
  • the left of FIG. 1 is designated as a rear side.
  • the casing includes a main housing 111 in which the frame 102, the driving motor 103, and compression part 105 are installed and a rear housing 112 coupled to an open rear end of the main housing 111 to cover the main housing 111.
  • a suction port 101a is formed in the main housing 111, and an exhaust port 101b is formed in the rear housing 112.
  • a suction space S1 is formed in the main housing 111, and a discharge space S2 is formed in the rear housing 112.
  • the frame 102 is coupled to a front open end of the main housing 111.
  • a first scroll 150 which will be described below, is fastened to and supported by a rear surface of the frame 102.
  • a second scroll 160 which will be described below, is turnably supported on the rear surface of the frame 102 to orbit between the first scroll 150 and the frame 102.
  • the driving motor 103 includes a stator 131 fastened in the main housing 111, a rotor 132 placed inside the stator 131 and configured to rotate due to an interaction with the stator 131, and a rotary shaft 133 coupled to the rotor 132 and configured to transfer the rotational force of the driving motor 103 to the compression part 105 while rotating together with the rotor 132.
  • the compression part 105 includes a stationary scroll (hereinafter referred to as a first scroll) 150 supported by the frame 102 and an orbiting scroll (hereinafter referred to as a second scroll) 160 provided between the frame 102 and the first scroll 150 and configured to form a pair of two compression chambers V between the first scroll 150 and the second scroll 160 while orbiting relative to the first scroll 150.
  • An oldham ring 170 is provided between the frame 102 and the second scroll 160 as an anti-rotation mechanism for preventing rotation of the second scroll 160 coupled to the rotary shaft 133.
  • a stationary scroll end plate (hereinafter referred to as a stationary end plate) 151 is formed in a substantially circular plate shape, and a stationary scroll side wall (hereinafter referred to as a scroll side wall) 152 to be coupled to a frame side wall 122 is formed at an edge of the stationary end plate 151.
  • a suction flow path 154 is formed on one side of the scroll side wall 152 to enable the suction space S1 to communicate with a suction chamber (not shown), and a discharge port 155 for communicating with a discharge chamber and discharging compressed refrigerant into the discharge space S2 is formed at the center of the stationary end plate 151.
  • an orbiting scroll end plate (hereinafter referred to as an orbiting end plate) 161 is formed in a substantially circular plate shape, and an orbiting wrap constituting the compression chamber in engagement with the stationary wrap 153 is formed on the rear surface of the orbiting end plate 161.
  • the intermediate pressure hole 161a will be described below together with the oil supply passage.
  • the orbiting wrap 162 as well as the stationary wrap 153 may be formed in an involute shape, but may be formed in a non-involute shape.
  • the rotary shaft 133 rotates along with the rotor 132 to transfer a rotational force to the second scroll 160, and the second scroll 160 is orbited by the oldham ring 170.
  • the compression chamber V is continuously moved toward the center, thereby decreasing the volume of the compression chamber V.
  • refrigerant flows into the suction space S1 through the suction port 101a.
  • the refrigerant that has flowed into the suction space S1 is suctioned into the compression chamber V through the suction flow path 154 via a flow path formed on the outer peripheral surface of the stator 131 and the inner peripheral surface of the main housing 111 or via a gap between the stator 131 and the rotor 132.
  • this refrigerant is compressed by the first scroll 150 and the second scroll 160 and discharged into the discharge space S2.
  • oil is separated from the refrigerant.
  • the refrigerant is discharged in a refrigeration cycle through the exhaust port 101b while the oil is supplied to the compression chamber and bearing surfaces through an oil supply passage Fo, which will be described below. The series of processes are repeated.
  • the rotary shaft may be stably supported when being supported at two or more points.
  • the rotary shaft may be supported at both sides with respect to the driving motor or may be supported at one side with respect to the driving motor.
  • the length of the compressor is relatively long while in the latter case, the length of the compressor is shortened.
  • FIG. 1 which has been disclosed above, is a diagram showing an example of the latter case. Referring to this, an oil supply structure of the scroll compressor according to this embodiment will be described as follows.
  • one end of the rotary shaft passing through the second scroll may be inserted into and supported by the first scroll or may be inserted, through the first scroll, into and supported by the rear housing. Therefore, the former case will be described first in this embodiment, and the latter case will be described later in another embodiment.
  • the main housing 111 has a cylindrical part 111a formed in a cylindrical shape.
  • a front part 111b which is integrally extended and closed, is formed at a front end of the cylindrical part 111a.
  • the rear housing 112 is coupled to an open rear end of the cylindrical part 111a to seal the cylindrical part 111a.
  • the rear housing 112 is coupled to the cylindrical part 111a of the main housing 111 to seal the inside of the casing 101.
  • the discharge space S2 is formed in the rear housing 112, and the exhaust port 101b is formed at one side of the discharge space S2.
  • An oil separator (not shown) for separating oil from discharged refrigerant is separately installed inside or around the exhaust port 101b. Alternatively, an oil separation part is formed without a separate oil separator.
  • the discharge space S2 has an oil separation part S21, which separates oil from refrigerant discharged from the compression chamber, formed in an upper portion and an oil storage part S22, which stores the oil separated by the oil separation part S21, formed in a lower portion.
  • the oil storage part S22 communicates with the compression part 105 through the oil supply passage Fo, which will be described below,, and the oil of the oil storage part S22 is supplied to the compression part 105 or the rotary shaft 133.
  • the rotary shaft 133 may be composed of a shaft part 133a, a first bearing part 133b, an eccentric part 133c, and a second bearing part 133d.
  • the shaft part 133a is press-fitted and coupled to a rotor core of the rotor 132.
  • the first bearing part 133b is rotatably coupled through a frame shaft hole 125, which will be described below,.
  • a first bearing 181 which is a bush bearing to be described later, is inserted into and coupled to the inner peripheral surface of the frame shaft hole 125.
  • the outer peripheral surface of the first bearing part 133b forms a first radial bearing surface B1 together with the inner peripheral surface of the first bearing 181.
  • the eccentric part 133c is eccentrically formed extending from the first bearing part 133b to one end (hereinafter referred to as a first end) of the rotary shaft 133 and coupled through a rotary shaft coupling part 163 of the second scroll 160.
  • the rotary shaft coupling part 163 is formed to pass through the center of the orbiting end plate 161.
  • a third bearing 183 which is a bush bearing, is inserted into and coupled to the inner peripheral surface of the rotary shaft coupling part 163.
  • the inner peripheral surface of the third bearing 183 forms a third radial bearing surface B3 together with the outer peripheral surface of the eccentric part 133c.
  • the second bearing part 133d extends further toward the first end from the eccentric part 133c and is rotatably inserted into the shaft support part 151a of the first scroll 150.
  • a second bearing 182 which is a bush bearing, is inserted into and coupled to the inner peripheral surface of the shaft support part 151a.
  • the inner peripheral surface of the second bearing 182 forms a second radial bearing surface B2 together with the outer peripheral surface of the second bearing part 133d.
  • the second bearing 182 is not limited to a bush bearing. That is, a needle bearing may be used as the second bearing 182.
  • the needle bearing may be utilized as an axial bearing, and thus it is possible to restrain the rotary shaft 133 from being pushed toward the other end (hereinafter referred to as a second end) to some extent.
  • the shaft support part 151a protrudes from the center of the stationary end plate 151 of the first scroll 150 rearward, that is, toward the rear housing 112.
  • the shaft support part 151a may be formed so as not to protrude from the stationary end plate 151.
  • the stationary end plate 151 may be formed to have a greater thickness by the thickness of the shaft support part 151a.
  • a communication hole 151b for enabling the inner space of the shaft support part 151a to communicate with the oil storage part S22 may be formed in the shaft support part 151a, and an oil supply pipe 141 coupled to face the oil storage part S22 may be connected to the communication hole 151b.
  • the present invention is not limited to an oil supply pipe, and an oil supply groove may be formed on the bottom surface of the first scroll 150 or in the rear housing 112 and then connected to the communication hole 151b
  • an oil flow path 142 constituting a portion of the oil supply passage Fo is formed in the rotary shaft 133, and a plurality of oil supply holes 142a and 142b are formed in the middle of the oil flow path 142 at regular intervals in the lengthwise direction.
  • the oil flow path 142 is formed up to an intermediate position of the rotary shaft 133. That is, since the oil flow path 142 should communicate with a first oil supply hole 142a and a second oil supply hole 142b to be described bow, the length or depth of the oil flow path 142 may be greater than that of the second oil supply hole 142b, which is an oil supply hole at the eccentric part side relatively far from one end of the rotary shaft 133 at the compression part side.
  • the oil flow path 142 may also be formed from the end of the rotary shaft 133 at the compression part side (or an end at the second bearing part side) up to the range of the eccentric part 133c.
  • the oil is discharged only through the first oil supply hole 142a and the second oil supply hole 142b even if the oil flow path 142 is further formed to a certain depth beyond the second oil supply hole 142b. Therefore, it is not necessary to form the oil flow path 142 deeply up to or beyond the eccentric part.
  • the oil flow path 142 is formed to be longer toward the first bearing part, it is possible to reduce the weight of the rotary shaft and increase the motor efficiency.
  • the plurality of oil supply holes 142a and 142b may penetrate radially toward the outer peripheral surfaces of the second bearing part 133d and the eccentric part 133c so that the oil moving through the oil flow path 142 is guided to each bearing surface.
  • the plurality of oil supply holes 142a and 142b may be formed within the axial ranges of the second bearing part 133d and the eccentric part 133c corresponding to the oil supply holes 142a and 142b. Based on the order in which the oil moves, among the plurality of oil supply holes, an oil supply hole formed in the second bearing part 133d is classified as the first oil supply hole 142a, and an oil supply hole formed in the eccentric part 133c is classified as the second oil supply hole 142b.
  • the frame 102 is located between the driving motor 103 and the compression part 105 and axially support the second scroll 160.
  • a frame end plate 121 is formed in the frame 102 in a disc shape.
  • a frame side wall 122 to which the side wall 152 of the first scroll 150 is to be coupled is formed at an edge of a rear surface of the frame end plate 121, and an intermediate pressure space S3, which will be described below, is formed at the center of the rear surface of the frame end plate 121.
  • a frame thrust surface 123 on which the second scroll 160 is to be mounted and by which the second scroll 160 is to be axially supported, may be formed on an inner side of the frame side wall 122, and a sealing member 191 for sealing the intermediate pressure space S3 may be provided in the frame thrust surface 123. Since the sealing member 191 is provided on a thrush surface between the frame 102 and the second scroll 160, the sealing member 191 may be provided on the bottom surface of the second scroll 160.
  • the intermediate pressure space S3 is a space formed between the rear surface of the frame 102 and the orbiting end plate 161 of the second scroll 160, which face each other.
  • the intermediate pressure space is formed to always communicate with the intermediate pressure hole 161a of the second scroll 160.
  • the intermediate pressure space S3 communicates with the compression chamber (the intermediate pressure chamber) V through the intermediate pressure hole 161a such that refrigerant or oil moves between the intermediate pressure space S3 and the compression chamber V depending on a difference in pressure between the intermediate pressure space S3 and the compression chamber V.
  • the pressure in the intermediate pressure space S3 is equal to an intermediate pressure between the pressure in the suction space S1 and the final pressure (i.e., discharged pressure) in the compression chamber V, and the rear surface of the second scroll 160 is supported by the back pressure in the intermediate pressure space S3.
  • the above-described frame shaft hole 125 is formed at the center of the frame 102 forming the intermediate pressure space S3.
  • a first bearing 181, which forms a first radial bearing surface B1 along with the outer peripheral surface of the rotary shaft 133, i.e., specifically, the outer peripheral surface of the first bearing part 133b, may be inserted into and coupled to the inner peripheral surface of the frame shaft hole 125.
  • a fine lubricating interval t1 is formed on the first radial bearing surface B1 placed between the outer peripheral surface of the first bearing part 133b and the inner peripheral surface of the first bearing 181.
  • the intermediate pressure space S3 and the suction space S1 may communicate with each other through the lubricating interval t1.
  • the number of components is decreased due to the addition of the sealing member, and also new oil is prevented from flowing into the intermediate pressure space S3 because the pressure in the intermediate pressure space S3 is stagnated due to separation of the intermediate pressure space S3 from the suction space S1.
  • the oil can not be rapidly supplied to the compression chamber V communicating with the intermediate pressure space S3 such that the stationary wrap 153 and the orbiting wrap 162 may be worn or a frictional loss may occur. Furthermore, oil cannot be supplied even to the first radial bearing surface B1 communicating with the intermediate pressure space S3 such that friction losses may occur between the first bearing part 133b and the first bearing 181.
  • the intermediate pressure space S3 communicates with the suction space S1 through the fine lubricating interval t1 formed on the first radial bearing surface B1, as shown in FIG. 4 .
  • the discharge space S2 communicates with the suction space S1 and the compression chamber V through the intermediate pressure hole 161a provided in the second scroll 160 and the radial bearing surfaces B2, B3, and B1 consisting of the oil supply passage.
  • the oil of the discharge space S2 moves to the intermediate pressure space S3 through the second and third bearing surfaces B2 and B3, and the oil having moved to the intermediate pressure space S3 forms a kind of back pressure in the intermediate pressure space S3 to support the second scroll 160 toward the first scroll 150.
  • a portion of the oil of the intermediate pressure space S3 is supplied to the compression chamber V through the intermediate pressure hole 161a to lubricate a gap between the stationary wrap 153 and the orbiting wrap 162 while another portion thereof flows out into the suction space S1 through the first radial bearing surface B1.
  • the oil of the discharge space S2 continuously moves to the intermediate pressure space S3.
  • This oil may be circulated by moving to the compression chamber V and the suction space S1 through the intermediate pressure hole 161a and the first radial bearing surface B1, respectively.
  • an oil supply hole of the rotary shaft 133 is formed within the ranges of the eccentric part 133c and the second bearing part 133d forming the second radial bearing surface B2 and the third radial bearing surface B3, but is not formed within the range of the first bearing part 133b forming the first radial bearing surface B1.
  • the discharge space S2 When an oil supply hole is formed even within the ranges of the first bearing part 133b, the discharge space S2, the discharge space S2 directly communicates with the suction space S1 even though the pressure in the discharge space S2 is much higher than that in the suction space S1.
  • the oil of the discharge space S2 is en, the oil in the discharge space S2 quickly flows out into the suction space S1 such that the oil moves to the first and second oil supply holes 142a and 142b little or not at all.
  • oil cannot be smoothly supplied to the second radial bearing surface B2 or the third radial bearing surface B3. This may cause fraction losses in the second bearing 182 and the third bearing 183.
  • the amount of oil flowing into the intermediate pressure space S3 becomes insufficient, so that oil supplied to the compression chamber V may become insufficient, or back pressure may not be secured, thereby causing axial leakage in the compression chamber V when the compressor is activated.
  • no oil supply hole may be formed within the range of the first bearing part 133b, and the oil supply holes 142a and 142b may be formed within the ranges of only the second bearing part 133d and the eccentric part 133c, respectively.
  • FIGS. 5 and 6 are cross-sectional views of other examples of the oil supply holes according to this embodiment.
  • a third oil supply hole 142c is formed within the range of the first bearing part 133b.
  • the inner diameter D3 of the third oil supply hole 142c may be smaller than the inner diameter D1 or D2 of the first oil supply hole 142a or the second oil supply hole 142b.
  • the third oil supply hole 142c is also formed within the range of the first bearing part 133b, but may be positioned eccentrically toward the eccentric part 133c with respect to the axial center of the first bearing part 133b.
  • the third oil supply hole 142c may be placed outside the range of the first bearing part 133b, that is, between the first bearing part 133b and the eccentric part 133c. In this case, the same effect as in the aforementioned embodiments can be expected.
  • FIG. 7 is a cross-sectional view showing an example in which a pressure reducing part is provided in an oil supply passage of the motor-operated compressor according to this embodiment.
  • the oil supply passage Fo has an entrance communicating with the discharge space S2 (specifically, an oil storage), which is a high pressure part, and an exit communicating with the suction space S1, which is a low pressure part.
  • the discharge space S2 specifically, an oil storage
  • the suction space S1 which is a low pressure part.
  • a pressure reducing member 143 such as a pressure reducing bar is inserted into the oil flow path 142 constituting the oil supply passage Fo to narrow the inner diameter of the oil flow path 142, thereby lowering the pressure of oil passing through a pressure reducing section to an intermediate pressure.
  • the pressure reducing member 143 may be placed not only inside the rotary shaft 133 but also anywhere in the upper stream with respect to the oil supply holes 142a and 142b.
  • the oil of the discharge space is depressurized while passing through the second radial bearing surface, the third radial bearing surface, and the first radial bearing surface, and thus a separate pressure reducing part may not be provided.
  • FIG. 8 is a cross-sectional view showing another example of the intermediate pressure space of the motor-operated compressor according to this embodiment.
  • a space part 124 forming the intermediate pressure space S3 is formed at the center of the rear surface of the frame 102, as described above, and the frame shaft hole 125 may be formed to pass through the center of the space part 124.
  • the first bearing 181 is inserted into and fastened to the inner peripheral surface of the frame shaft hole 125.
  • the first radial bearing surface B1 is formed between the inner peripheral surface of the first bearing 181 and the corresponding outer peripheral surface of the first bearing part 133b.
  • the first radial bearing surface B1 since no sealing member is provided between the inner peripheral surface of the first bearing 181 and the corresponding outer peripheral surface of the first bearing part 133b, the first radial bearing surface B1 has one end communicating with the intermediate pressure space S3 and the other end communicating with the suction space S1, as in the above-described embodiment.
  • the intermediate pressure space S3 communicates with the suction space S1 through the first radial bearing surface B1, and a portion of the oil flowing into the intermediate pressure space S3 flows out into the suction space S1.
  • the internal pressure in the intermediate pressure space S3 forms a flowing pressure.
  • the oil of the discharge space S2 flows into the intermediate pressure space S3 through the oil flow path 142, the oil supply holes 142a and 142b, the second radial bearing surface B2, and the third radial bearing surface B3, and a portion of the oil moves to the compression chamber V through the intermediate pressure hole 161a, and a portion of other oil moves to the suction space S1 through the first radial bearing surface B1.
  • the series of processes are repeated.
  • the rotary shaft passes through the second scroll, which is an orbiting scroll, and is supported by the first scroll, which is a stationary scroll, or by the rear housing forming the casing.
  • the first scroll which is a stationary scroll, or by the rear housing forming the casing.
  • one end of the rotary shaft does not pass through the orbiting scroll and is coupled to a boss part provided on the bottom surface of the orbiting scroll.
  • the boss part is formed on the bottom surface of the second scroll, which is an orbiting scroll, and one end of the rotary shaft is eccentrically coupled to the boss part.
  • a back pressure space forming an intermediate pressure space may be formed between the second scroll and the frame, the frame shaft hole may be formed at the center of the back pressure space, and the first bearing may be inserted into and coupled to the inner peripheral surface of the frame shaft hole.
  • the back pressure space communicates with the suction space.

Landscapes

  • Engineering & Computer Science (AREA)
  • Mechanical Engineering (AREA)
  • General Engineering & Computer Science (AREA)
  • Rotary Pumps (AREA)
  • Applications Or Details Of Rotary Compressors (AREA)

Claims (9)

  1. Motorbetriebener Kompressor, aufweisend:
    ein Gehäuse (101) mit einem Innenraum, der durch einen Ansaugraum (S1) und einen Ausleitungsraum (S2) gebildet wird;
    eine erste Spirale (150), die in dem Innenraum des Gehäuses (101) vorgesehen ist, wobei die erste Spirale (150) mit einer feststehenden Umwicklung (153) versehen ist;
    eine zweite Spirale (160), die mit einer umlaufenden Umwicklung (162) versehen ist, welche derart konfiguriert ist, dass sie in Eingriff mit der feststehenden Umwicklung (153) der ersten Spirale (150) umläuft, um ein Paar von zwei Verdichtungskammern zwischen der ersten Spirale (150) und der zweiten Spirale (160) zu bilden;
    eine Drehachse (133), die mit der zweiten Spirale (160) gekoppelt und konfiguriert ist, eine Rotationskraft eines Antriebsmotors (103) auf die zweite Spirale (160) zu übertragen; und
    einen Zwischendruckraum (S3), der auf einer Seite der zweiten Spirale (160) ausgebildet ist, um mit dem Ausleitungsraum (S2) zu kommunizieren, der konfiguriert ist, Öl aufzunehmen, das aus dem Ausleitungsraum (S2) einströmt, um einen Gegendruck zu bilden, der die zweite Spirale (160) in Richtung der ersten Spirale (150) unterstützt, und hin zu dem Ansaugraum (S1) geöffnet ist, so dass ein Teil des aufgenommenen Öls in den Ansaugraum (S1) ausströmt; und
    einen Rahmen (102), der zusammen mit der zweiten Spirale (160) den Zwischendruckraum (S3) bildet, ferner an einer Oberfläche der zweiten Spirale (160) vorgesehen ist,
    wobei ein Achsenloch (125), welches durch die Drehachse (133) verläuft, in dem Rahmen (102) ausgebildet ist,
    wobei ein erstes Lager (181) zum radialen Stützen eines ersten Lagerteils (133b) der Drehachse (133) innerhalb des Achsenlochs (125) vorgesehen ist,
    wobei eine erste Radiallagerfläche (B1) zwischen einer Innenumfangsfläche des ersten Lagers (181) und einer Außenumfangsfläche des ersten Lagerteils (133b) ausgebildet ist, und beide Enden der ersten Radiallagerfläche (B1) mit dem Zwischendruckraum (S3) bzw. dem Ansaugraum (S1) in Verbindung stehen,
    wobei ein Ölströmungsweg (142) in Längsrichtung an der Drehachse (133) ausgebildet ist, der Ölströmungsweg (142) ein Ende aufweist, das mit dem Ausleitungsraum (S2) in Verbindung steht, und zumindest ein Ölzufuhrloch (142a, 142b) derart ausgebildet ist, dass es durch eine Mitte des Ölströmungswegs (142) hin zu einer Außenumfangsfläche der Drehachse (133) verläuft,
    dadurch gekennzeichnet, dass
    das Ölzufuhrloch (142a, 142b) außerhalb eines axialen Bereichs des ersten Lagers (181) platziert ist,
    wobei ein Zwischendruckloch (161a), das eine Verbindung zwischen dem Zwischendruckraum (S3) und den Verdichtungskammern herstellt, in der zweiten Spirale (160) ausgebildet ist, und
    wobei das Zwischendruckloch (161) sich zwischen den umlaufenden Umwicklungen (162) befindet.
  2. Motorbetriebener Kompressor nach Anspruch 1, wobei der Ölströmungsweg (142) ein anderes Ende aufweist, das außerhalb eines axialen Bereichs des ersten Lagerteils (133b) platziert ist.
  3. Motorbetriebener Kompressor nach einem der Ansprüche 1 oder 2, wobei zumindest eine Lagerfläche an einer Außenumfangsfläche der Drehachse (133) ausgebildet ist und ein Ölströmungsweg (142) und ein Ölzufuhrloch zum Leiten des Öls des Ausleitungsraums (S2) zu der Lagerfläche an der Drehachse (133) ausgebildet sind, und
    der Zwischendruckraum (S3) mit dem Ausleitungsraum (S2) durch den Ölströmungsweg (142) und das Ölzufuhrloch kommuniziert.
  4. Motorbetriebener Kompressor nach einem der Ansprüche 1 bis 3, wobei
    ein Raumteil (124), der den Zwischendruckraum (S3) bildet, in dem Rahmen (102) ausgebildet ist, ein Achsenloch (125), durch das die Drehachse (133) verlaufen soll, in einer Mitte des Raumteils (124) ausgebildet ist, und ein Lager zum radialen Stützen der Drehachse (133) in dem Achsenloch (125) vorgesehen ist, und
    der Zwischendruckraum (S3) mit dem Ansaugraum (S1) durch einen Spalt zwischen einer Außenumfangsfläche der Drehachse (133) und einer Innenumfangsfläche des Lagers, das in dem Achsenloch (125) vorgesehen ist, in Verbindung steht.
  5. Motorbetriebener Kompressor nach einem der Ansprüche 1 bis 4, wobei die Drehachse (133) mit einem ersten Lagerteil (133b), das radial von dem Rahmen (102) gestützt wird, einem zweiten Lagerteil (133d), das von der ersten Spirale (150) durch die zweite Spirale (160) radial gestützt wird, einem exzentrischen Teil (133c), der zwischen dem ersten Lagerteil (133b) und dem zweiten Lagerteil (133d) platziert und exzentrisch mit der zweiten Spirale (160) gekoppelt ist, und einem Ölströmungsweg (142) versehen ist, der ein Ende aufweist, das mit dem Ausleitungsraum (S2) in Verbindung steht, wobei
    zumindest ein Ölzufuhrloch zum Leiten von Öl des Ausleitungsraums (S2) zu dem ersten Lagerteil (133b), dem zweiten Lagerteil (133d) und dem exzentrischen Teil (133c) derart ausgebildet ist, dass es durch eine Mitte des Ölströmungswegs (142) hin zu einer äußeren Umfangsfläche der Drehachse (133) verläuft, und
    das Ölzufuhrloch aufweist:
    ein erstes Ölzufuhrloch (142a), das innerhalb eines Bereichs des zweiten Lagerteils (133d) ausgebildet ist; und
    ein zweites Ölzufuhrloch (142b), das innerhalb eines Bereichs des exzentrischen Teils (133c) ausgebildet ist,
    das erste und zweite Ölzufuhrloch außerhalb eines Bereichs des ersten Lagerteils (133b) ausgebildet sind.
  6. Motorbetriebener Kompressor nach Anspruch 5, wobei der Ölströmungsweg (142) von einem Ende der Drehachse (133), die das zweite Lagerteil (133d) bildet, bis zu dem Bereich des exzentrischen Teils (133c) gebildet ist.
  7. Motorbetriebener Kompressor nach Anspruch 5 oder 6, wobei ein Achsenstützteil (151a), das gegenüberliegend der Verdichtungskammer vorsteht, an der ersten Spirale (150) ausgebildet ist, wobei das zweite Lagerteil (133d) der Drehachse (133) drehbar in das Achsenstützteil (151a) eingeführt ist, und
    ein Verbindungsloch (151b) zum Herstellen einer Verbindung zwischen dem Ölströmungsweg (142) und dem Ausleitungsraum (S2) an dem Achsenstützteil (151a) ausgebildet ist.
  8. Motorbetriebener Kompressor nach einem der Ansprüche 5 bis 7, wobei
    die Drehachse (133) derart konfiguriert ist, dass sie zusammen mit dem Rahmen (102) eine erste radiale Lagerfläche (B1) bildet, die derart konfiguriert ist, dass sie eine zweite radiale Lagerfläche (B2) zusammen mit der ersten Spirale (150) oder dem Gehäuse (101) bildet, das zusammen mit der ersten Spirale (150) den Ausleitungsraum (S2) bildet, und dazu konfiguriert ist, zusammen mit der zweiten Spirale (160) eine dritte Radiallagerfläche (B3) zu bilden, und
    Öl, das durch die zweite radiale Lagerfläche (B2) oder die dritte radiale Lagerfläche (B3) geflossen ist, zu der ersten radialen Lagerfläche (B1) geleitet wird.
  9. Motorbetriebener Kompressor nach Anspruch 8, wobei ein Ende der ersten radialen Lagerfläche (B1) mit einem Zwischendruckraum (S3) in Verbindung steht, der zwischen dem Rahmen (102) und der zweiten Spirale (160) vorgesehen ist, und ein anderes Ende mit dem Ansaugraum (S1) in Verbindung steht.
EP19168827.4A 2018-04-13 2019-04-12 Motorbetriebener kompressor Active EP3553317B1 (de)

Applications Claiming Priority (1)

Application Number Priority Date Filing Date Title
KR1020180043510A KR102031851B1 (ko) 2018-04-13 2018-04-13 전동식 압축기

Publications (2)

Publication Number Publication Date
EP3553317A1 EP3553317A1 (de) 2019-10-16
EP3553317B1 true EP3553317B1 (de) 2023-05-31

Family

ID=66175175

Family Applications (1)

Application Number Title Priority Date Filing Date
EP19168827.4A Active EP3553317B1 (de) 2018-04-13 2019-04-12 Motorbetriebener kompressor

Country Status (3)

Country Link
US (1) US20190316587A1 (de)
EP (1) EP3553317B1 (de)
KR (1) KR102031851B1 (de)

Family Cites Families (8)

* Cited by examiner, † Cited by third party
Publication number Priority date Publication date Assignee Title
KR950008694B1 (ko) * 1987-12-28 1995-08-04 마쯔시다덴기산교 가부시기가이샤 스크롤압축기
US5762483A (en) * 1997-01-28 1998-06-09 Carrier Corporation Scroll compressor with controlled fluid venting to back pressure chamber
KR101282228B1 (ko) * 2011-09-21 2013-07-09 엘지전자 주식회사 스크롤 압축기
JP5880398B2 (ja) 2012-11-13 2016-03-09 株式会社豊田自動織機 スクロール型圧縮機
KR102234708B1 (ko) * 2014-08-06 2021-04-01 엘지전자 주식회사 스크롤 압축기
KR102226457B1 (ko) * 2014-08-08 2021-03-11 엘지전자 주식회사 스크롤 압축기
WO2017175945A1 (en) * 2016-04-06 2017-10-12 Lg Electronics Inc. Motor-operated compressor
KR101983051B1 (ko) * 2018-01-04 2019-05-29 엘지전자 주식회사 전동식 압축기

Also Published As

Publication number Publication date
US20190316587A1 (en) 2019-10-17
EP3553317A1 (de) 2019-10-16
KR102031851B1 (ko) 2019-10-14

Similar Documents

Publication Publication Date Title
US9617996B2 (en) Compressor
EP2574791B1 (de) Scrollverdichter
EP2689137B1 (de) Spiralverdichter
US4545747A (en) Scroll-type compressor
US5931650A (en) Hermetic electric scroll compressor having a lubricating passage in the orbiting scroll
US11971032B2 (en) Vane rotary compressor with pressure reducing member inserted into the oil supply passage
US20200080557A1 (en) Motor-operated compressor
US20180172004A1 (en) Scroll compressor
JP3893487B2 (ja) スクロール圧縮機
JPH07145785A (ja) トロコイド型冷媒圧縮機
CN111133197A (zh) 涡旋式压缩机
US11053941B2 (en) Motor-operated compressor
EP3553317B1 (de) Motorbetriebener kompressor
JP4681322B2 (ja) スクロール圧縮機
JP2008267345A (ja) 電動圧縮機
KR20200122924A (ko) 전동식 압축기
JP3274900B2 (ja) 圧縮機における給油ポンプ装置
KR102081339B1 (ko) 스크롤 압축기
JP7468428B2 (ja) スクロール型圧縮機
KR20210054643A (ko) 압축기
EP4212726B1 (de) Spiralverdichter
JP2006241993A (ja) スクロール型圧縮機
JP4879078B2 (ja) 圧縮機
KR20200047099A (ko) 전동식 압축기
US20190309749A1 (en) Motor operated compressor

Legal Events

Date Code Title Description
PUAI Public reference made under article 153(3) epc to a published international application that has entered the european phase

Free format text: ORIGINAL CODE: 0009012

STAA Information on the status of an ep patent application or granted ep patent

Free format text: STATUS: REQUEST FOR EXAMINATION WAS MADE

17P Request for examination filed

Effective date: 20190513

AK Designated contracting states

Kind code of ref document: A1

Designated state(s): AL AT BE BG CH CY CZ DE DK EE ES FI FR GB GR HR HU IE IS IT LI LT LU LV MC MK MT NL NO PL PT RO RS SE SI SK SM TR

AX Request for extension of the european patent

Extension state: BA ME

RBV Designated contracting states (corrected)

Designated state(s): AL AT BE BG CH CY CZ DE DK EE ES FI FR GB GR HR HU IE IS IT LI LT LU LV MC MK MT NL NO PL PT RO RS SE SI SK SM TR

STAA Information on the status of an ep patent application or granted ep patent

Free format text: STATUS: EXAMINATION IS IN PROGRESS

17Q First examination report despatched

Effective date: 20220307

GRAP Despatch of communication of intention to grant a patent

Free format text: ORIGINAL CODE: EPIDOSNIGR1

STAA Information on the status of an ep patent application or granted ep patent

Free format text: STATUS: GRANT OF PATENT IS INTENDED

INTG Intention to grant announced

Effective date: 20230120

GRAS Grant fee paid

Free format text: ORIGINAL CODE: EPIDOSNIGR3

GRAA (expected) grant

Free format text: ORIGINAL CODE: 0009210

STAA Information on the status of an ep patent application or granted ep patent

Free format text: STATUS: THE PATENT HAS BEEN GRANTED

AK Designated contracting states

Kind code of ref document: B1

Designated state(s): AL AT BE BG CH CY CZ DE DK EE ES FI FR GB GR HR HU IE IS IT LI LT LU LV MC MK MT NL NO PL PT RO RS SE SI SK SM TR

REG Reference to a national code

Ref country code: GB

Ref legal event code: FG4D

Ref country code: CH

Ref legal event code: EP

REG Reference to a national code

Ref country code: AT

Ref legal event code: REF

Ref document number: 1571079

Country of ref document: AT

Kind code of ref document: T

Effective date: 20230615

Ref country code: DE

Ref legal event code: R096

Ref document number: 602019029453

Country of ref document: DE

REG Reference to a national code

Ref country code: IE

Ref legal event code: FG4D

REG Reference to a national code

Ref country code: LT

Ref legal event code: MG9D

REG Reference to a national code

Ref country code: NL

Ref legal event code: MP

Effective date: 20230531

REG Reference to a national code

Ref country code: AT

Ref legal event code: MK05

Ref document number: 1571079

Country of ref document: AT

Kind code of ref document: T

Effective date: 20230531

PG25 Lapsed in a contracting state [announced via postgrant information from national office to epo]

Ref country code: SE

Free format text: LAPSE BECAUSE OF FAILURE TO SUBMIT A TRANSLATION OF THE DESCRIPTION OR TO PAY THE FEE WITHIN THE PRESCRIBED TIME-LIMIT

Effective date: 20230531

Ref country code: NO

Free format text: LAPSE BECAUSE OF FAILURE TO SUBMIT A TRANSLATION OF THE DESCRIPTION OR TO PAY THE FEE WITHIN THE PRESCRIBED TIME-LIMIT

Effective date: 20230831

Ref country code: ES

Free format text: LAPSE BECAUSE OF FAILURE TO SUBMIT A TRANSLATION OF THE DESCRIPTION OR TO PAY THE FEE WITHIN THE PRESCRIBED TIME-LIMIT

Effective date: 20230531

Ref country code: AT

Free format text: LAPSE BECAUSE OF FAILURE TO SUBMIT A TRANSLATION OF THE DESCRIPTION OR TO PAY THE FEE WITHIN THE PRESCRIBED TIME-LIMIT

Effective date: 20230531

PG25 Lapsed in a contracting state [announced via postgrant information from national office to epo]

Ref country code: RS

Free format text: LAPSE BECAUSE OF FAILURE TO SUBMIT A TRANSLATION OF THE DESCRIPTION OR TO PAY THE FEE WITHIN THE PRESCRIBED TIME-LIMIT

Effective date: 20230531

Ref country code: PL

Free format text: LAPSE BECAUSE OF FAILURE TO SUBMIT A TRANSLATION OF THE DESCRIPTION OR TO PAY THE FEE WITHIN THE PRESCRIBED TIME-LIMIT

Effective date: 20230531

Ref country code: NL

Free format text: LAPSE BECAUSE OF FAILURE TO SUBMIT A TRANSLATION OF THE DESCRIPTION OR TO PAY THE FEE WITHIN THE PRESCRIBED TIME-LIMIT

Effective date: 20230531

Ref country code: LV

Free format text: LAPSE BECAUSE OF FAILURE TO SUBMIT A TRANSLATION OF THE DESCRIPTION OR TO PAY THE FEE WITHIN THE PRESCRIBED TIME-LIMIT

Effective date: 20230531

Ref country code: LT

Free format text: LAPSE BECAUSE OF FAILURE TO SUBMIT A TRANSLATION OF THE DESCRIPTION OR TO PAY THE FEE WITHIN THE PRESCRIBED TIME-LIMIT

Effective date: 20230531

Ref country code: IS

Free format text: LAPSE BECAUSE OF FAILURE TO SUBMIT A TRANSLATION OF THE DESCRIPTION OR TO PAY THE FEE WITHIN THE PRESCRIBED TIME-LIMIT

Effective date: 20230930

Ref country code: HR

Free format text: LAPSE BECAUSE OF FAILURE TO SUBMIT A TRANSLATION OF THE DESCRIPTION OR TO PAY THE FEE WITHIN THE PRESCRIBED TIME-LIMIT

Effective date: 20230531

Ref country code: GR

Free format text: LAPSE BECAUSE OF FAILURE TO SUBMIT A TRANSLATION OF THE DESCRIPTION OR TO PAY THE FEE WITHIN THE PRESCRIBED TIME-LIMIT

Effective date: 20230901

PG25 Lapsed in a contracting state [announced via postgrant information from national office to epo]

Ref country code: FI

Free format text: LAPSE BECAUSE OF FAILURE TO SUBMIT A TRANSLATION OF THE DESCRIPTION OR TO PAY THE FEE WITHIN THE PRESCRIBED TIME-LIMIT

Effective date: 20230531

PG25 Lapsed in a contracting state [announced via postgrant information from national office to epo]

Ref country code: SK

Free format text: LAPSE BECAUSE OF FAILURE TO SUBMIT A TRANSLATION OF THE DESCRIPTION OR TO PAY THE FEE WITHIN THE PRESCRIBED TIME-LIMIT

Effective date: 20230531

PG25 Lapsed in a contracting state [announced via postgrant information from national office to epo]

Ref country code: SM

Free format text: LAPSE BECAUSE OF FAILURE TO SUBMIT A TRANSLATION OF THE DESCRIPTION OR TO PAY THE FEE WITHIN THE PRESCRIBED TIME-LIMIT

Effective date: 20230531

Ref country code: SK

Free format text: LAPSE BECAUSE OF FAILURE TO SUBMIT A TRANSLATION OF THE DESCRIPTION OR TO PAY THE FEE WITHIN THE PRESCRIBED TIME-LIMIT

Effective date: 20230531

Ref country code: RO

Free format text: LAPSE BECAUSE OF FAILURE TO SUBMIT A TRANSLATION OF THE DESCRIPTION OR TO PAY THE FEE WITHIN THE PRESCRIBED TIME-LIMIT

Effective date: 20230531

Ref country code: PT

Free format text: LAPSE BECAUSE OF FAILURE TO SUBMIT A TRANSLATION OF THE DESCRIPTION OR TO PAY THE FEE WITHIN THE PRESCRIBED TIME-LIMIT

Effective date: 20231002

Ref country code: EE

Free format text: LAPSE BECAUSE OF FAILURE TO SUBMIT A TRANSLATION OF THE DESCRIPTION OR TO PAY THE FEE WITHIN THE PRESCRIBED TIME-LIMIT

Effective date: 20230531

Ref country code: DK

Free format text: LAPSE BECAUSE OF FAILURE TO SUBMIT A TRANSLATION OF THE DESCRIPTION OR TO PAY THE FEE WITHIN THE PRESCRIBED TIME-LIMIT

Effective date: 20230531

Ref country code: CZ

Free format text: LAPSE BECAUSE OF FAILURE TO SUBMIT A TRANSLATION OF THE DESCRIPTION OR TO PAY THE FEE WITHIN THE PRESCRIBED TIME-LIMIT

Effective date: 20230531

REG Reference to a national code

Ref country code: DE

Ref legal event code: R097

Ref document number: 602019029453

Country of ref document: DE

PLBE No opposition filed within time limit

Free format text: ORIGINAL CODE: 0009261

STAA Information on the status of an ep patent application or granted ep patent

Free format text: STATUS: NO OPPOSITION FILED WITHIN TIME LIMIT

PG25 Lapsed in a contracting state [announced via postgrant information from national office to epo]

Ref country code: SI

Free format text: LAPSE BECAUSE OF FAILURE TO SUBMIT A TRANSLATION OF THE DESCRIPTION OR TO PAY THE FEE WITHIN THE PRESCRIBED TIME-LIMIT

Effective date: 20230531

26N No opposition filed

Effective date: 20240301

PG25 Lapsed in a contracting state [announced via postgrant information from national office to epo]

Ref country code: SI

Free format text: LAPSE BECAUSE OF FAILURE TO SUBMIT A TRANSLATION OF THE DESCRIPTION OR TO PAY THE FEE WITHIN THE PRESCRIBED TIME-LIMIT

Effective date: 20230531

Ref country code: IT

Free format text: LAPSE BECAUSE OF FAILURE TO SUBMIT A TRANSLATION OF THE DESCRIPTION OR TO PAY THE FEE WITHIN THE PRESCRIBED TIME-LIMIT

Effective date: 20230531

REG Reference to a national code

Ref country code: DE

Ref legal event code: R119

Ref document number: 602019029453

Country of ref document: DE

PG25 Lapsed in a contracting state [announced via postgrant information from national office to epo]

Ref country code: BG

Free format text: LAPSE BECAUSE OF FAILURE TO SUBMIT A TRANSLATION OF THE DESCRIPTION OR TO PAY THE FEE WITHIN THE PRESCRIBED TIME-LIMIT

Effective date: 20230531

PG25 Lapsed in a contracting state [announced via postgrant information from national office to epo]

Ref country code: MC

Free format text: LAPSE BECAUSE OF FAILURE TO SUBMIT A TRANSLATION OF THE DESCRIPTION OR TO PAY THE FEE WITHIN THE PRESCRIBED TIME-LIMIT

Effective date: 20230531

PG25 Lapsed in a contracting state [announced via postgrant information from national office to epo]

Ref country code: MC

Free format text: LAPSE BECAUSE OF FAILURE TO SUBMIT A TRANSLATION OF THE DESCRIPTION OR TO PAY THE FEE WITHIN THE PRESCRIBED TIME-LIMIT

Effective date: 20230531

Ref country code: BG

Free format text: LAPSE BECAUSE OF FAILURE TO SUBMIT A TRANSLATION OF THE DESCRIPTION OR TO PAY THE FEE WITHIN THE PRESCRIBED TIME-LIMIT

Effective date: 20230531

REG Reference to a national code

Ref country code: CH

Ref legal event code: PL

PG25 Lapsed in a contracting state [announced via postgrant information from national office to epo]

Ref country code: LU

Free format text: LAPSE BECAUSE OF NON-PAYMENT OF DUE FEES

Effective date: 20240412

GBPC Gb: european patent ceased through non-payment of renewal fee

Effective date: 20240412

REG Reference to a national code

Ref country code: BE

Ref legal event code: MM

Effective date: 20240430

PG25 Lapsed in a contracting state [announced via postgrant information from national office to epo]

Ref country code: LU

Free format text: LAPSE BECAUSE OF NON-PAYMENT OF DUE FEES

Effective date: 20240412

PG25 Lapsed in a contracting state [announced via postgrant information from national office to epo]

Ref country code: DE

Free format text: LAPSE BECAUSE OF NON-PAYMENT OF DUE FEES

Effective date: 20241105

PG25 Lapsed in a contracting state [announced via postgrant information from national office to epo]

Ref country code: BE

Free format text: LAPSE BECAUSE OF NON-PAYMENT OF DUE FEES

Effective date: 20240430

PG25 Lapsed in a contracting state [announced via postgrant information from national office to epo]

Ref country code: GB

Free format text: LAPSE BECAUSE OF NON-PAYMENT OF DUE FEES

Effective date: 20240412

PG25 Lapsed in a contracting state [announced via postgrant information from national office to epo]

Ref country code: FR

Free format text: LAPSE BECAUSE OF NON-PAYMENT OF DUE FEES

Effective date: 20240430

PG25 Lapsed in a contracting state [announced via postgrant information from national office to epo]

Ref country code: GB

Free format text: LAPSE BECAUSE OF NON-PAYMENT OF DUE FEES

Effective date: 20240412

Ref country code: FR

Free format text: LAPSE BECAUSE OF NON-PAYMENT OF DUE FEES

Effective date: 20240430

Ref country code: DE

Free format text: LAPSE BECAUSE OF NON-PAYMENT OF DUE FEES

Effective date: 20241105

Ref country code: BE

Free format text: LAPSE BECAUSE OF NON-PAYMENT OF DUE FEES

Effective date: 20240430

Ref country code: CH

Free format text: LAPSE BECAUSE OF NON-PAYMENT OF DUE FEES

Effective date: 20240430

PG25 Lapsed in a contracting state [announced via postgrant information from national office to epo]

Ref country code: IE

Free format text: LAPSE BECAUSE OF NON-PAYMENT OF DUE FEES

Effective date: 20240412

PG25 Lapsed in a contracting state [announced via postgrant information from national office to epo]

Ref country code: CY

Free format text: LAPSE BECAUSE OF FAILURE TO SUBMIT A TRANSLATION OF THE DESCRIPTION OR TO PAY THE FEE WITHIN THE PRESCRIBED TIME-LIMIT; INVALID AB INITIO

Effective date: 20190412

PG25 Lapsed in a contracting state [announced via postgrant information from national office to epo]

Ref country code: HU

Free format text: LAPSE BECAUSE OF FAILURE TO SUBMIT A TRANSLATION OF THE DESCRIPTION OR TO PAY THE FEE WITHIN THE PRESCRIBED TIME-LIMIT; INVALID AB INITIO

Effective date: 20190412