EP3108979A1 - A dummy block for an extrusion press - Google Patents

A dummy block for an extrusion press Download PDF

Info

Publication number
EP3108979A1
EP3108979A1 EP15173525.5A EP15173525A EP3108979A1 EP 3108979 A1 EP3108979 A1 EP 3108979A1 EP 15173525 A EP15173525 A EP 15173525A EP 3108979 A1 EP3108979 A1 EP 3108979A1
Authority
EP
European Patent Office
Prior art keywords
groove
dummy block
wall portion
filler ring
conical
Prior art date
Legal status (The legal status is an assumption and is not a legal conclusion. Google has not performed a legal analysis and makes no representation as to the accuracy of the status listed.)
Granted
Application number
EP15173525.5A
Other languages
German (de)
French (fr)
Other versions
EP3108979B1 (en
Inventor
Peter Ward
Current Assignee (The listed assignees may be inaccurate. Google has not performed a legal analysis and makes no representation or warranty as to the accuracy of the list.)
Voestalpine High Performance Metals Sweden AB
Original Assignee
Voestalpine High Performance Metals Sweden AB
Priority date (The priority date is an assumption and is not a legal conclusion. Google has not performed a legal analysis and makes no representation as to the accuracy of the date listed.)
Filing date
Publication date
Application filed by Voestalpine High Performance Metals Sweden AB filed Critical Voestalpine High Performance Metals Sweden AB
Priority to PL15173525T priority Critical patent/PL3108979T3/en
Priority to EP15173525.5A priority patent/EP3108979B1/en
Priority to PCT/EP2016/064379 priority patent/WO2016207198A1/en
Publication of EP3108979A1 publication Critical patent/EP3108979A1/en
Application granted granted Critical
Publication of EP3108979B1 publication Critical patent/EP3108979B1/en
Not-in-force legal-status Critical Current
Anticipated expiration legal-status Critical

Links

Images

Classifications

    • BPERFORMING OPERATIONS; TRANSPORTING
    • B21MECHANICAL METAL-WORKING WITHOUT ESSENTIALLY REMOVING MATERIAL; PUNCHING METAL
    • B21CMANUFACTURE OF METAL SHEETS, WIRE, RODS, TUBES, PROFILES OR LIKE SEMI-MANUFACTURED PRODUCTS OTHERWISE THAN BY ROLLING; AUXILIARY OPERATIONS USED IN CONNECTION WITH METAL-WORKING WITHOUT ESSENTIALLY REMOVING MATERIAL
    • B21C26/00Rams or plungers for metal extruding; Discs therefor

Definitions

  • the present invention relates to a dummy block for an extrusion press having a die, a container for receiving a billet to be extruded through the die, and an extrusion stem for exerting a pressure on the billet sufficient to extrude it through the die, said dummy block being positioned between the extrusion stem and the billet and comprising:
  • Such a dummy block is disclosed in US 2013/0247640 (Heydasch), for example, but is of a complicated design involving many parts and thereby requiring an unnecessarily large amount of structural material, advanced mounting routines and high costs.
  • the object of the present invention is to provide a dummy block of a less complicated design, which can be produced with a reduced consumption of structural material, simple mounting and at lower costs compared with the dummy blocks described in the prior art.
  • Such a dummy block consists of few components (only two, apart from screws), and is of a very simple and axially compact design, reducing the required amount of structural material considerably.
  • both of the groove sides of the dummy body and both of the matching sides of the filler ring are conical, they converge toward the bottom of the groove.
  • the filler ring will expand radially when being pressed into the groove, and the sealing lip will consequently be expanded radially both by conical outer wall portion and by the conical inner wall portion of the filler ring.
  • the central pressing surface is located in a first plane
  • the peripheral pressing surface is located in a second plane parallel to the first plane but closer to the rear face of the dummy block body
  • the filler ring has a pressing surface located in a position between said first and said second plane.
  • the pressing surface of the filler ring is located in a third plane parallel to the two other planes described above. Thereby, most of the air is evacuated through said gap before the rear face of the deformed billet abuts the pressing surface of the filler ring and the pressing surface of said sealing lip. As soon as the pressure from the billet on the filler ring is sufficiently high, it presses the filler ring downward into the groove, thereby causing said sealing lip radially outside the groove to elastically expand radially to seal against the interior wall of the container. This design results in a delayed sealing effect which makes it possible for all air to come out during the compression.
  • the rear face of the dummy block body is provided with at least one stepped through bore opening in the bottom of the groove
  • the filler ring has a bottom surface provided with at least one threaded bore aligned with the stepped through bore of the dummy block body, and a screw extends through the stepped bore into the threaded bore to anchor the filler ring in the groove.
  • the filler ring is prevented from falling out of the groove when handling the dummy block outside of the container.
  • both the dummy block body and the filler ring have two or more such bores, which are equiangularly spaced from each other.
  • a venting channel is provided for permitting air to escape from the bottom of the groove through the stepped bore and between the extrusion stem and the rear face of the dummy block body and out to a space radially outside the stem.
  • the dummy block body preferably has a female receptor of a bayonet mount for receiving a mating male portion on the stem.
  • the female receptor of a bayonet mount suitably has two or more equiangularly spaced internal cams for cooperation with two or more equiangularly spaced external cams on the male portion of the stem.
  • the rear face of the dummy block body has at least one threaded bore located close to an outer circumference thereof, and the extrusion stem has a slot-shaped recess placed correspondingly to said at least one threaded bore, the recess permitting insertion and tightening of a machine screw having a head that prevents an involuntary uncoupling of the bayonet mount by being stopped by sides of the slot-shaped recess.
  • the rear face of the dummy block body has two or more such threaded bores that are equiangularly spaced and the extrusion stem has two or more such slot-shaped recesses that are equiangularly spaced.
  • the elastically deformable sealing lip formed radially outside the groove is stepped in its longitudinal direction and has a larger diameter at said front face than at said rear face, thereby, when under pressure, during the extrusion generating a sealing surface for sealing against the inside wall of the container lining.
  • This sealing feature surceases once the billet is extruded and the pressure against the dummy block disappears; the elastically deformable sealing lip retakes its initial dimensions and permits a friction free retreat of the stem out of the container.
  • the pressure from the extrusion stem 30 on the billet 74 is increased to cause a plastic deformation at the front of the billet 74, which expands radially and also starts to enter the die 73, so that air remaining in the extrusion compartment is forced backward to pass the dummy block 2 as there is no seal between the dummy block 2 and the lining 72.
  • the escaping air is marked with reference numeral 76 in Figs. 2 and 3 .
  • Figs. 5-10 show the invention more in detail.
  • the extrusion stem 30, or more specifically an adapter 31 carried by the extrusion stem 30, is connected to the dummy block 2 by means of a first connecting member 32 of the adapter 31 mating with a second connecting member of the dummy block 2.
  • the two connecting members suitably are a male member on the adapter 31 and a female member formed by a recess in the dummy block 2, and together they preferably form a bayonet coupling.
  • any other suitable coupling may be used, e.g. threaded, pin locking system, etc.
  • the dummy block 2 comprises a dummy block body 20 with a rear face 201 adapted to be connected to the extrusion stem 30, and a front face provided with a circular groove 40 defining a central pressing surface 21 for exerting a pressure on the billet 74.
  • the dummy block body 20 has a peripheral annular pressing surface 281 for exerting a pressure on the billet 74.
  • the peripheral annular pressing surface 281 is located on said elastically deformable sealing lip 28 formed radially outside the groove 40, and the sealing lip 28 is sufficiently elastically deformable to be pressed outward by the extrusion pressure to seal against an inside wall of the lining 72 in the container 71.
  • the circular groove 40 has a radially inner wall portion 23, a radially outer wall portion 24, and a bottom 22; the outer wall portion 24 is conical to make the groove 40 open axially outward.
  • the dummy block 2 also comprises said filler ring 10 adapted to fit in an upper part of the groove 40 while forming a gap 41 toward the bottom 22 of the groove 40.
  • the ring 10 has a conical outer wall portion 14 complementary to the conical outer wall portion 24 of the groove 40.
  • the inner wall portion 23 of the groove 40 is conical to make a cross-section of the groove 40 substantially symmetrical, and the filler ring 10 has an conical inner wall portion 13 complementary to the conical inner wall portion 23 of the groove 40.
  • the dummy block 2 of the present invention consists of few components (only two, viz. the dummy block body 20 and the filler ring 10, apart from screws), and is of a very simple and axially compact design, reducing the required amount of structural material considerably.
  • both of the groove sides 23 and 24 and both of the matching sides 13 and 14 of the filler ring 10 are conical, they converge toward the bottom 22 of the groove 40.
  • the central pressing surface 21 is located in a first plane 80
  • the peripheral annular pressing surface 281 on the sealing lip 28 is located in a second plane 81 parallel to the first plane but closer to the rear face 201 of the dummy block body 20, and as best shown in Fig. 5 the filler ring 10 has a pressing surface 11 located in a position between said first and second planes 80 and 81.
  • the central pressing surface 21 of the dummy block body 20 will start deforming the billet 74 by reducing its length but increasing its diameter, so that the air surrounding the billet 74 in the container 71 will be pressed backward through the peripheral gap between the inside wall of the lining 72 in the container 71 and sealing lip 28 formed radially outside the groove 40 and further past the dummy block 2 and the extrusion stem 30 to reduce the risk of blisters in the extruded profile 75 discharged from the extrusion press.
  • the pressing surface 11 of the filler ring 10 is located in a third plane 82 parallel to the two other planes 80 and 81. Thereby, most of the air is evacuated through said gap before the rear face of the deformed billet 74 abuts the pressing surface 11 of the filler ring 10 and the pressing surface 281 of said sealing lip 28. As soon as the pressure from the billet 74 on the filler ring 10 is sufficiently high, it presses the filler ring 10 downward into the groove 40, thereby causing said sealing lip 28 radially outside the groove to elastically expand radially to seal against the inside wall of the lining 72 in the container 71, while gap 41 decreases to 0 mm.
  • the lower portion of the groove sides 23 and 24 and also the lower portion of the matching sides 13 and 14 of the filler ring 10 are not conical but cylindrical and extend parallel to a longitudinal axis of the dummy block 2.
  • the length of the cylindrical portion and the height of the conical portion are of substantially the same size, while in the groove 40 the length of the cylindrical portion is slightly longer than the height of the conical portion.
  • the pressing surface 11 of the filler ring 10 will be located in the third plane 82 and the pressing surface 281 of the sealing lip 28 in the second plane 81.
  • the gap 41 will be formed between the bottom surface 12 of the filler ring 10 and the bottom 22 of the groove 40.
  • the rear face 201 of the dummy block body 20 is provided with at least one stepped through bore 25 opening in the bottom 22 of the groove 40
  • the filler ring 10 has a bottom surface 12 provided with at least one threaded bore 15 aligned with the stepped through bore 25 of the dummy block body 20, and a screw 50 extends through the stepped bore 25 into the threaded bore 15 to anchor the filler ring 10 in the groove 40.
  • the filler ring 10 is prevented from falling out of the groove 40 when handling the dummy block 2 outside of the container 71.
  • both the dummy block body 20 and the filler ring 10 have two or more such bores 15 and 25, which are equiangularly spaced from each other.
  • the dummy block body 20 preferably has a female receptor 27 of a bayonet mount for receiving a mating male portion 32 on the extrusion stem 30. Thereby the dummy block 2 can be made short and compact.
  • the female receptor 27 of the bayonet mount suitably has two or more equiangularly spaced internal cams 271 for cooperation with two or more equiangularly spaced external cams 33 on the male portion of the extrusion stem 30.
  • the rear face 201 of the dummy block body 20 has at least one threaded bore 26 located close to an outer circumference thereof, and the extrusion stem 30 has a correspondingly placed slot-shaped recess 36 that permits insertion and tightening of a machine screw 60 having a head that prevents an involuntary uncoupling of the bayonet mount by being stopped by sides of the slot-shaped recess 36. Further, it is recommendable that the rear face 201 of the dummy block body 20 has two or more such threaded bores 26 that are equiangularly spaced and the extrusion stem 30 has two or more such slot-shaped recesses 36 that are equiangularly spaced.
  • the elastically deformable sealing lip 28 formed radially outside the groove 40 is stepped in its longitudinal direction and has a larger diameter at said front face 281 than at said rear face 201, thereby forming a sealing surface 29 for sealing against an inside wall of the container lining 72.
  • the dummy block of the present invention is applicable primarily for hot extrusion of metals in both front and back loaded extrusion presses, but can be used also for cold extrusion.

Landscapes

  • Engineering & Computer Science (AREA)
  • Mechanical Engineering (AREA)
  • Extrusion Of Metal (AREA)

Abstract

A dummy block (2) comprises a dummy block body (20) having a front face (281) provided with a circular groove (40) and outside of the groove (40) a peripheral annular sealing lip (28) that is sufficiently elastically deformable to be pressed outward by the extrusion pressure to seal against an inside lining (72) of a container (71). The groove (40) has an inner wall portion (23), an outer wall portion (24), and a bottom (22), said outer wall portion (24) being conical to make the groove (40) open outward. A filler ring (10) is adapted to fit in an upper part of the groove (40) while forming a gap (41) toward the groove bottom (22). The ring (10) has a conical outer wall portion (14) complementary to the conical outer wall portion (24) of the groove (40), which when being pressed toward the bottom (22) of the groove (40), forces the sealing lip (28) outward to seal against the inside wall (72) of the container (71).
Also the inner wall portion (23) of the groove (40) is conical to make a cross-section of the groove (40) substantially symmetrical, and the filler ring (10) has a conical inner wall portion (13) complementary to the conical inner wall portion (23) of the groove (40).

Description

    TECHNICAL FIELD
  • The present invention relates to a dummy block for an extrusion press having a die, a container for receiving a billet to be extruded through the die, and an extrusion stem for exerting a pressure on the billet sufficient to extrude it through the die, said dummy block being positioned between the extrusion stem and the billet and comprising:
    • a dummy block body having a rear face adapted to be connected to the stem, and a front face provided with a groove defining a central pressing surface for exerting a pressure on the billet, and outside the groove a peripheral pressing surface for exerting a pressure on the billet, a sealing lip formed radially outside the groove being sufficiently elastically deformable to be pressed outward by the extrusion pressure to seal against an inside wall of the container, said groove having an inner wall portion, an outer wall portion, and a bottom, said outer wall portion being conical to make the groove open outward; and
    • a filler ring adapted to fit in an upper part of the groove while forming a gap toward the bottom of the groove, said ring having an conical outer wall portion complementary to the conical outer wall portion of the groove, said ring, when being pressed toward the bottom of the groove, forcing said elastically deformable sealing lip outward against the inside container wall.
    BACKGROUND ART
  • Such a dummy block is disclosed in US 2013/0247640 (Heydasch), for example, but is of a complicated design involving many parts and thereby requiring an unnecessarily large amount of structural material, advanced mounting routines and high costs.
  • SUMMARY OF THE INVENTION
  • The object of the present invention is to provide a dummy block of a less complicated design, which can be produced with a reduced consumption of structural material, simple mounting and at lower costs compared with the dummy blocks described in the prior art.
  • This object is achieved while the dummy block according to the present invention is characterized by
    • said inner wall portion of the groove is conical to make a cross-section of the groove substantially symmetrical; and
    • said filler ring having a conical inner wall portion complementary to the conical inner wall portion of the groove.
  • Such a dummy block consists of few components (only two, apart from screws), and is of a very simple and axially compact design, reducing the required amount of structural material considerably. In addition, both of the groove sides of the dummy body and both of the matching sides of the filler ring are conical, they converge toward the bottom of the groove. As the central pressing surface of the dummy block body is rigid, the filler ring will expand radially when being pressed into the groove, and the sealing lip will consequently be expanded radially both by conical outer wall portion and by the conical inner wall portion of the filler ring.
  • Preferably, the central pressing surface is located in a first plane, the peripheral pressing surface is located in a second plane parallel to the first plane but closer to the rear face of the dummy block body, and the filler ring has a pressing surface located in a position between said first and said second plane. Thereby, during the extrusion the central pressing surface of the dummy block will start deforming the billet while reducing its length and increasing its diameter, so that the air surrounding the billet in the container will be pressed backward through the peripheral gap between the interior wall of the container and the sealing lip formed radially outside the groove and further will pass the dummy block and the extrusion stem to reduce the risk of blisters in the extruded material.
  • It is preferred that the pressing surface of the filler ring is located in a third plane parallel to the two other planes described above. Thereby, most of the air is evacuated through said gap before the rear face of the deformed billet abuts the pressing surface of the filler ring and the pressing surface of said sealing lip. As soon as the pressure from the billet on the filler ring is sufficiently high, it presses the filler ring downward into the groove, thereby causing said sealing lip radially outside the groove to elastically expand radially to seal against the interior wall of the container. This design results in a delayed sealing effect which makes it possible for all air to come out during the compression.
  • Suitably, the rear face of the dummy block body is provided with at least one stepped through bore opening in the bottom of the groove, the filler ring has a bottom surface provided with at least one threaded bore aligned with the stepped through bore of the dummy block body, and a screw extends through the stepped bore into the threaded bore to anchor the filler ring in the groove. Thereby, the filler ring is prevented from falling out of the groove when handling the dummy block outside of the container.
  • To improve the safety against a skew mounting of the filler ring in the groove, it is suitable that both the dummy block body and the filler ring have two or more such bores, which are equiangularly spaced from each other.
  • When the filler ring is being pressed down into the groove, the air enclosed in the gap formed between the bottom surface of the ring and the groove will be compressed. To make sure that all compressed air will be removed, it is suitable that a venting channel is provided for permitting air to escape from the bottom of the groove through the stepped bore and between the extrusion stem and the rear face of the dummy block body and out to a space radially outside the stem.
  • The dummy block body preferably has a female receptor of a bayonet mount for receiving a mating male portion on the stem. The female receptor of a bayonet mount suitably has two or more equiangularly spaced internal cams for cooperation with two or more equiangularly spaced external cams on the male portion of the stem. Thereby the dummy block of the present invention is short and compact. Moreover, the bayonet mount gives a stable assemblage of the dummy block to the stem with low risk for misalignment as well as it opens for effortless employment and interchange of various assembles provided with similar bayonet mount.
  • It is preferred that the rear face of the dummy block body has at least one threaded bore located close to an outer circumference thereof, and the extrusion stem has a slot-shaped recess placed correspondingly to said at least one threaded bore, the recess permitting insertion and tightening of a machine screw having a head that prevents an involuntary uncoupling of the bayonet mount by being stopped by sides of the slot-shaped recess. Further, it is recommendable that the rear face of the dummy block body has two or more such threaded bores that are equiangularly spaced and the extrusion stem has two or more such slot-shaped recesses that are equiangularly spaced.
  • It is also preferred that the elastically deformable sealing lip formed radially outside the groove is stepped in its longitudinal direction and has a larger diameter at said front face than at said rear face, thereby, when under pressure, during the extrusion generating a sealing surface for sealing against the inside wall of the container lining. This sealing feature surceases once the billet is extruded and the pressure against the dummy block disappears; the elastically deformable sealing lip retakes its initial dimensions and permits a friction free retreat of the stem out of the container.
  • BRIEF DESCRIPTION OF THE DRAWINGS
  • In the following, the invention will be described in more detail with reference to preferred embodiments and the appended drawings.
  • Fig. 1
    is a longitudinal cross-sectional view through an extrusion press having a container with a lining, a die and a stem with a dummy block for pressing a billet in the container through the die.
    Fig. 2
    is a cross-sectional view similar to fig 1, where pressure is added to the billet and showing a plastic deformation of the billet in the front of the extrusion press, which forces remaining air backwards.
    Fig. 3
    is a cross-sectional view similar to fig 1, where the billet is deformed by high pressure that starts the extrusion and now also touches the face of the filler ring in the dummy block, while air still escapes backwards.
    Fig. 4
    is a cross-sectional view similar to fig 1, showing high axial pressure exerted on the ring, which forces the dummy block to expand radially due to conical contact surfaces so as to create a metal flashing free seal between the dummy block and the lining, while no air is left in the extrusion compartment.
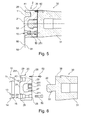
    Fig. 5
    is a longitudinal cross-sectional view through a front end body of a stem connected to a dummy block having a filler ring mounted in the body of the dummy block.
    Fig. 6
    is a longitudinal cross-sectional view of the components shown in Fig. 5 separated from one another.
    Fig. 7
    is a cross-sectional view of the dummy block body taken along the line VII-VII in Fig. 8.
    Fig. 8
    is an end view of the dummy block body taken along line VIII-VIII in Fig. 7.
    Fig. 9
    is a cross-sectional view of the filler ring taken along line IX-IX in Fig. 10.
    Fig. 10
    is an end view of the filler ring taken along line X-X in Fig. 9.
    MODE(S) FOR CARRYING OUT THE INVENTION
  • Figs. 1-4 illustrates the working principle of the dummy block of the present invention by showing a starting sequence of an extrusion. The shown extrusion press has a container 71 with a lining 72, a die 73 and an extrusion stem 30 with a dummy block 20 for pressing a billet 74 in the container 71 through the die 73 to form an extruded profile 75. In Fig. 1, a billet 74 is placed in the container 71, which billet 74 is pressed against the die 73 by a central portion of the dummy block 2. In Fig. 2, the pressure from the extrusion stem 30 on the billet 74 is increased to cause a plastic deformation at the front of the billet 74, which expands radially and also starts to enter the die 73, so that air remaining in the extrusion compartment is forced backward to pass the dummy block 2 as there is no seal between the dummy block 2 and the lining 72. The escaping air is marked with reference numeral 76 in Figs. 2 and 3.
  • The material of the billet is preferably metal, including steel, aluminum, copper, zirconium, titanium, molybdenum, beryllium, vanadium, or niobium.
    The dummy block of the present invention is applicable primarily for hot extrusion, more preferably for metals at a temperature between 100 and 1300 °C.
  • In Fig. 3, the pressure from the extrusion stem 30 on the billet 74 is increased even more, and the billet 74 is deformed so that it now touches the face of a filler ring 10 included in the dummy block 2 and starts to press the ring 10 down into a groove 40 located in a body of the dummy block 20. Air is still escaping backwards, but as the ring 10 approaches the bottom 22 of the groove 40, conical contact surfaces force an elastically deformable sealing lip 28 (Figs. 5, 6 and 7) formed radially outside the groove 40 in the dummy block 2 to expand radially so as to create a metal flashing free seal between the lining 72 and the dummy block 2 as illustrated in Fig. 4. Now, no air is left in extrusion compartment, extrusion commences without a burp cycle, and the extruded profile 75 is free from blisters.
  • Figs. 5-10 show the invention more in detail. The extrusion stem 30, or more specifically an adapter 31 carried by the extrusion stem 30, is connected to the dummy block 2 by means of a first connecting member 32 of the adapter 31 mating with a second connecting member of the dummy block 2. The two connecting members suitably are a male member on the adapter 31 and a female member formed by a recess in the dummy block 2, and together they preferably form a bayonet coupling. However, if desired, any other suitable coupling may be used, e.g. threaded, pin locking system, etc.
  • The dummy block 2 comprises a dummy block body 20 with a rear face 201 adapted to be connected to the extrusion stem 30, and a front face provided with a circular groove 40 defining a central pressing surface 21 for exerting a pressure on the billet 74. Outside of the groove 40, the dummy block body 20 has a peripheral annular pressing surface 281 for exerting a pressure on the billet 74. The peripheral annular pressing surface 281 is located on said elastically deformable sealing lip 28 formed radially outside the groove 40, and the sealing lip 28 is sufficiently elastically deformable to be pressed outward by the extrusion pressure to seal against an inside wall of the lining 72 in the container 71. The circular groove 40 has a radially inner wall portion 23, a radially outer wall portion 24, and a bottom 22; the outer wall portion 24 is conical to make the groove 40 open axially outward.
  • As indicated above, the dummy block 2 also comprises said filler ring 10 adapted to fit in an upper part of the groove 40 while forming a gap 41 toward the bottom 22 of the groove 40. The ring 10 has a conical outer wall portion 14 complementary to the conical outer wall portion 24 of the groove 40. When the ring 10 is being pressed toward the bottom 22 of the groove 40, the elastically deformable sealing lip 28 will be forced radially outward to seal against the inside wall of the lining 72 in the container 71. Accordingly, the elastically deformable sealing lip 28 will deform 0.05-4 mm, more preferably 0.1-3 mm, even more preferably 0.2-2 mm, most preferably 0.5-1 mm.
  • In accordance with the present invention also the inner wall portion 23 of the groove 40 is conical to make a cross-section of the groove 40 substantially symmetrical, and the filler ring 10 has an conical inner wall portion 13 complementary to the conical inner wall portion 23 of the groove 40.
  • The dummy block 2 of the present invention consists of few components (only two, viz. the dummy block body 20 and the filler ring 10, apart from screws), and is of a very simple and axially compact design, reducing the required amount of structural material considerably. In addition, both of the groove sides 23 and 24 and both of the matching sides 13 and 14 of the filler ring 10 are conical, they converge toward the bottom 22 of the groove 40. As the central pressing surface 21 of the dummy block body 20 is rigid, the filler ring 10 will expand radially when being pressed downward, and the sealing lip 28 will consequently be expanded radially both by the conical taper of the radial outside 14 of the ring 10 and by the conical taper of the radial inside 13 of the filler ring 10. As the cone angle of both of the groove sides 23 and 24 and both of the matching sides 13 and 14 of the filler ring 10 are sufficiently large to prevent the ring 10 from getting stuck in the groove 40, and as the sealing lip 28 is elastically deformable, after completed extrusion the sealing lip 28 will press back the filler ring 10 and resume its original shape, so that the dummy block 2 is reusable.
  • Preferably, the central pressing surface 21 is located in a first plane 80, the peripheral annular pressing surface 281 on the sealing lip 28 is located in a second plane 81 parallel to the first plane but closer to the rear face 201 of the dummy block body 20, and as best shown in Fig. 5 the filler ring 10 has a pressing surface 11 located in a position between said first and second planes 80 and 81. Thereby, the central pressing surface 21 of the dummy block body 20 will start deforming the billet 74 by reducing its length but increasing its diameter, so that the air surrounding the billet 74 in the container 71 will be pressed backward through the peripheral gap between the inside wall of the lining 72 in the container 71 and sealing lip 28 formed radially outside the groove 40 and further past the dummy block 2 and the extrusion stem 30 to reduce the risk of blisters in the extruded profile 75 discharged from the extrusion press.
  • As shown in Fig. 5, it is preferred that the pressing surface 11 of the filler ring 10 is located in a third plane 82 parallel to the two other planes 80 and 81. Thereby, most of the air is evacuated through said gap before the rear face of the deformed billet 74 abuts the pressing surface 11 of the filler ring 10 and the pressing surface 281 of said sealing lip 28. As soon as the pressure from the billet 74 on the filler ring 10 is sufficiently high, it presses the filler ring 10 downward into the groove 40, thereby causing said sealing lip 28 radially outside the groove to elastically expand radially to seal against the inside wall of the lining 72 in the container 71, while gap 41 decreases to 0 mm. This design results in a stepwise sealing effect which makes it possible for all air to come out during the compression and gives a fix and reproducible radial expansion of sealing lip 28. As no air is left in extrusion compartment, extrusion commences without a burp cycle, and the extruded profile 75 is free from blisters.
  • In the embodiment shown in the drawings, the lower portion of the groove sides 23 and 24 and also the lower portion of the matching sides 13 and 14 of the filler ring 10 are not conical but cylindrical and extend parallel to a longitudinal axis of the dummy block 2. In the filler ring 10, the length of the cylindrical portion and the height of the conical portion are of substantially the same size, while in the groove 40 the length of the cylindrical portion is slightly longer than the height of the conical portion. Thereby the pressing surface 11 of the filler ring 10 will be located in the third plane 82 and the pressing surface 281 of the sealing lip 28 in the second plane 81. Further, the gap 41 will be formed between the bottom surface 12 of the filler ring 10 and the bottom 22 of the groove 40. This design of the filler ring 10 and the groove 40 will prevent any possible tendency of skewing of the filler ring 10 in the groove 40 caused by uneven counter forces from the billet 74 during the extrusion.
  • Suitably, the rear face 201 of the dummy block body 20 is provided with at least one stepped through bore 25 opening in the bottom 22 of the groove 40, the filler ring 10 has a bottom surface 12 provided with at least one threaded bore 15 aligned with the stepped through bore 25 of the dummy block body 20, and a screw 50 extends through the stepped bore 25 into the threaded bore 15 to anchor the filler ring 10 in the groove 40. Thereby, the filler ring 10 is prevented from falling out of the groove 40 when handling the dummy block 2 outside of the container 71.
  • To improve the safety against a skew mounting of the filler ring 10 in the groove 40, it is suitable that both the dummy block body 20 and the filler ring 10 have two or more such bores 15 and 25, which are equiangularly spaced from each other.
  • When the filler ring 10 is being pressed down in the groove 40, the air enclosed in the gap 41 formed between the bottom surface 12 of the ring 10 and the bottom 22 of the groove 40 will be compressed. To make sure that all compressed air will be removed, it is suitable that a venting channel 251 is provided for permitting air to escape from the bottom 22 of the groove 40 through the stepped bore 25 and between the extrusion stem 30 and the rear face 201 of the dummy block body 20 and out to a space radially outside the extrusion stem 30.
  • The dummy block body 20 preferably has a female receptor 27 of a bayonet mount for receiving a mating male portion 32 on the extrusion stem 30. Thereby the dummy block 2 can be made short and compact.
  • The female receptor 27 of the bayonet mount suitably has two or more equiangularly spaced internal cams 271 for cooperation with two or more equiangularly spaced external cams 33 on the male portion of the extrusion stem 30.
  • It is preferred that the rear face 201 of the dummy block body 20 has at least one threaded bore 26 located close to an outer circumference thereof, and the extrusion stem 30 has a correspondingly placed slot-shaped recess 36 that permits insertion and tightening of a machine screw 60 having a head that prevents an involuntary uncoupling of the bayonet mount by being stopped by sides of the slot-shaped recess 36. Further, it is recommendable that the rear face 201 of the dummy block body 20 has two or more such threaded bores 26 that are equiangularly spaced and the extrusion stem 30 has two or more such slot-shaped recesses 36 that are equiangularly spaced.
  • It is also preferred that the elastically deformable sealing lip 28 formed radially outside the groove 40 is stepped in its longitudinal direction and has a larger diameter at said front face 281 than at said rear face 201, thereby forming a sealing surface 29 for sealing against an inside wall of the container lining 72.
  • The scope of the present invention is not restricted to the preferred embodiment shown in the drawings and described in the specification but can be varied with the scope of the claims. As an example, if desired, it would be possible without any inventive activity to employ a bayonet mount between the ring 10 and the dummy block body 20. Another example is the material used for extrusion, which is preferably a metal, but can as well be a non-metal based material, as composite or other material. The construction of ring 10 can for example be other than circular, e.g. rectangular, etc.
  • INDUSTRIAL APPLICABILITY
  • The dummy block of the present invention is applicable primarily for hot extrusion of metals in both front and back loaded extrusion presses, but can be used also for cold extrusion.

Claims (12)

  1. A dummy block (2) for an extrusion press having a die (73), a container (71) for receiving a billet (74) to be extruded through the die (73), and an extrusion stem (30) for exerting a pressure on the billet (74) sufficient to extrude it through the die (73), said dummy block (2) being positioned between the extrusion stem (30) and the billet (74) and comprising:
    a dummy block body (20) having a rear face (201) adapted to be connected to the extrusion stem (30), and a front face provided with a groove (40) defining a pressing surface (21) for exerting a pressure on the billet (74), and
    outside of the groove (40) a peripheral pressing surface (281) for exerting a pressure on the billet (74), a sealing lip (28) formed radially outside the groove (40), said groove (40) having an inner wall portion (23), an outer wall portion (24), and a bottom (22), said outer wall portion (24) being conical to make the groove (40) open outward; and
    a filler ring (10) adapted to fit in an upper part of the groove (40) while forming a gap (41) toward the bottom (22) of the groove (40), said ring (10) having an conical outer wall portion (14) complementary to the conical outer wall portion (24) of the groove (40), said ring (10), when being pressed toward the bottom (22) of the groove (40), forcing said sealing lip (28)
    outward to seal against the inside lining (72) of the container (71);
    characterized by
    said inner wall portion (23) of the groove (40) is conical to make a cross-section of the groove (40) substantially symmetrical; and
    said filler ring (10) having an conical inner wall portion (13) complementary to the conical inner wall portion (23) of the groove (40).
  2. A dummy block according to claim 1, wherein the sealing lip (28) is being sufficiently elastically deformable to be pressed outward by the extrusion pressure to seal against the inside lining (72) of the container (71).
  3. A dummy block according to claim 1 or 2, wherein the central pressing surface (21) is located in a first plane (80), the peripheral annular pressing surface (281) is located in a second plane (81) parallel to the first plane but closer to the rear face (201) of the dummy block body (20), and the filler ring (10) has a pressing surface (11) located in a position between said first and second plane (80, 81).
  4. A dummy block according to any one of claims 1 to 3, wherein the pressing surface (11) of the filler ring (10) is located in a third plane (82) parallel to the two other planes (80, 81).
  5. A dummy block according to any one of claims 1-4, wherein the rear face (201) of the dummy block body (20) is provided with at least one stepped through bore (25) opening in the bottom (22) of the groove (40), the filler ring (10) has a bottom surface (12) provided with at least one threaded bore (15) aligned with the stepped through bore (25) of the dummy block body (20), and a screw (50) extends through the stepped bore (25) into the threaded bore (15) to anchor the filler ring (10) in the groove (40).
  6. A dummy block according to claim 5, wherein both the dummy block body (20) and the filler ring (10) has two or more such bores (25; 15), which are equiangularly spaced from each other.
  7. A dummy block according to claim 5 or 6, wherein a venting channel (251) is provided for permitting air to escape from the bottom (22) of the groove (40) through the stepped bore (25) and between the extrusion stem (30) and the rear face (201) of the dummy block body (20) and out to a space radially outside the extrusion stem (30).
  8. A dummy block according to any one of claims 1-7, wherein the dummy block body (20) has a female receptor of a bayonet mount, for receiving a mating male portion (32) on the extrusion stem (30).
  9. A dummy block according to claim 8, wherein the female receptor of a bayonet mount has two or more equiangularly spaced internal cams (27) for cooperation with two or more equiangularly spaced external cams (33) on the male portion (32) of the extrusion stem (30).
  10. A dummy block according to claim 8 or 9, wherein the rear face (201) of the dummy block body (20) has at least one threaded bore (26) located close to an outer circumference thereof, and the extrusion stem (30) has a slot-shaped recess (36) placed correspondingly to said at least one threaded bore (26), the recess (36) permitting insertion and tightening of a machine screw (60) having a head that prevents an involuntary uncoupling of the bayonet mount by being stopped by sides of the slot-shaped recess (36).
  11. A dummy block according to claim 10, wherein the rear face (201) of the dummy block body (20) has two or more such threaded bores (26) that are equiangularly spaced and the extrusion stem (30) has two or more such slot-shaped recesses (36) that are equiangularly spaced.
  12. A dummy block according to any one of claims 1-11, wherein the elastically deformable sealing lip (28) formed radially outside the groove (40) is stepped in its longitudinal direction and has a larger diameter at said front face (281) than at said rear face (201).
EP15173525.5A 2015-06-24 2015-06-24 A dummy block for an extrusion press Not-in-force EP3108979B1 (en)

Priority Applications (3)

Application Number Priority Date Filing Date Title
PL15173525T PL3108979T3 (en) 2015-06-24 2015-06-24 A dummy block for an extrusion press
EP15173525.5A EP3108979B1 (en) 2015-06-24 2015-06-24 A dummy block for an extrusion press
PCT/EP2016/064379 WO2016207198A1 (en) 2015-06-24 2016-06-22 A dummy block for an extrusion press

Applications Claiming Priority (1)

Application Number Priority Date Filing Date Title
EP15173525.5A EP3108979B1 (en) 2015-06-24 2015-06-24 A dummy block for an extrusion press

Publications (2)

Publication Number Publication Date
EP3108979A1 true EP3108979A1 (en) 2016-12-28
EP3108979B1 EP3108979B1 (en) 2017-08-09

Family

ID=53496466

Family Applications (1)

Application Number Title Priority Date Filing Date
EP15173525.5A Not-in-force EP3108979B1 (en) 2015-06-24 2015-06-24 A dummy block for an extrusion press

Country Status (3)

Country Link
EP (1) EP3108979B1 (en)
PL (1) PL3108979T3 (en)
WO (1) WO2016207198A1 (en)

Cited By (4)

* Cited by examiner, † Cited by third party
Publication number Priority date Publication date Assignee Title
CN109968628A (en) * 2019-04-11 2019-07-05 昌乐友谊塑胶科技股份有限公司 Double layer co-extrusion die for rubber and plastic pipes
CN110961479A (en) * 2019-11-18 2020-04-07 太重(天津)滨海重型机械有限公司 Self-expanding die for reverse extruder and method of assembling same
CN116197293A (en) * 2023-04-27 2023-06-02 中北大学 Inner and outer bimetallic cup-shaped member reverse extrusion preparation mold and member preparation method
CN117301615A (en) * 2023-10-12 2023-12-29 西南铝业(集团)有限责任公司 An extrusion die

Families Citing this family (5)

* Cited by examiner, † Cited by third party
Publication number Priority date Publication date Assignee Title
WO2020102806A1 (en) * 2018-11-15 2020-05-22 The Regents Of The University Of Michigan Extrusion of metal material using a dummy block having a curved surface
CN112775203B (en) * 2020-12-23 2024-01-19 西部新锆核材料科技有限公司 Preparation method of zirconium or zirconium alloy extrusion profile
CN114309111A (en) * 2022-01-27 2022-04-12 佛山市南海区明晟机械制造有限公司 Die assembly for reverse extruder
CN117505572A (en) * 2024-01-08 2024-02-06 中国重型机械研究院股份公司 Tool and die structure for producing seamless pipe by single-action extruder and extrusion method
CN118926338B (en) * 2024-08-29 2025-10-10 上海交通大学 Thin-walled pipe reverse extrusion die with self-centering function and processing method thereof

Citations (4)

* Cited by examiner, † Cited by third party
Publication number Priority date Publication date Assignee Title
DE20022762U1 (en) * 2000-07-25 2002-05-08 Binger, Anna Dora, Raeren Fixed press washer
WO2003099480A1 (en) * 2002-05-29 2003-12-04 Alex-Tech Aps Dummy block for an extrusion press
CN202155388U (en) * 2011-06-15 2012-03-07 亚太轻合金(南通)科技有限公司 Diameter-adjustable fixed extruding pad of novel aluminum profile extruding machine
US20130247640A1 (en) 2010-12-01 2013-09-26 Horst Heydasch Extrusion plate and extrusion apparatus

Patent Citations (4)

* Cited by examiner, † Cited by third party
Publication number Priority date Publication date Assignee Title
DE20022762U1 (en) * 2000-07-25 2002-05-08 Binger, Anna Dora, Raeren Fixed press washer
WO2003099480A1 (en) * 2002-05-29 2003-12-04 Alex-Tech Aps Dummy block for an extrusion press
US20130247640A1 (en) 2010-12-01 2013-09-26 Horst Heydasch Extrusion plate and extrusion apparatus
CN202155388U (en) * 2011-06-15 2012-03-07 亚太轻合金(南通)科技有限公司 Diameter-adjustable fixed extruding pad of novel aluminum profile extruding machine

Cited By (6)

* Cited by examiner, † Cited by third party
Publication number Priority date Publication date Assignee Title
CN109968628A (en) * 2019-04-11 2019-07-05 昌乐友谊塑胶科技股份有限公司 Double layer co-extrusion die for rubber and plastic pipes
CN109968628B (en) * 2019-04-11 2024-04-16 昌乐友谊塑胶科技股份有限公司 Double-layer co-extrusion die for rubber and plastic pipe
CN110961479A (en) * 2019-11-18 2020-04-07 太重(天津)滨海重型机械有限公司 Self-expanding die for reverse extruder and method of assembling same
CN110961479B (en) * 2019-11-18 2021-07-16 太重(天津)滨海重型机械有限公司 Self-expanding die for reverse extruder and method of assembling same
CN116197293A (en) * 2023-04-27 2023-06-02 中北大学 Inner and outer bimetallic cup-shaped member reverse extrusion preparation mold and member preparation method
CN117301615A (en) * 2023-10-12 2023-12-29 西南铝业(集团)有限责任公司 An extrusion die

Also Published As

Publication number Publication date
EP3108979B1 (en) 2017-08-09
PL3108979T3 (en) 2018-01-31
WO2016207198A1 (en) 2016-12-29

Similar Documents

Publication Publication Date Title
EP3108979B1 (en) A dummy block for an extrusion press
US20160131171A1 (en) Self-tapping screw for soft metals
US11471930B2 (en) Molding die structure for forming oblique teeth on a rivet nut
CN105880308A (en) Two-time extruding die of moving contact and secondary-extruding die thereof
IL311589A (en) Method and tool for producing a base piece of a multi-part cartridge case, base piece and cartridge case
US9839950B2 (en) Dummy block for extrusion press
CN110743927A (en) Magnesium alloy ring piece extrusion forming die
US2925176A (en) Dummy head or block for end of extrusion ram
CN103537507B (en) A kind of hollow outward flange part mold for extruding and forming and punch thereof
CN105855354A (en) Chain wheel blanking forming method and device
US7980158B1 (en) Polyurethane press tooling components
RU2451569C2 (en) Method of mass extruding of barrel-type parts by angular extrusion at horizontal hydraulic extruder
CN113664088A (en) Plunger piston shoe closing-in tool
GB2067944A (en) Extrusion process
CN212551069U (en) Extrusion tool for metal processing
CN109505850A (en) Self-clinching nut
JP2000343171A (en) Forward extrusion forging method
RU2146977C1 (en) Apparatus for hot extrusion of tubes and front sleeve for such apparatus
US10549328B2 (en) Dummy block for extrusion press
EP4385636B1 (en) Dummy block for extrusion press
CN105945193A (en) Bearing support body forging die
CN209195914U (en) Stop nut fastening assembly
US20200376529A1 (en) Extrusion of metal material using a dummy block having a curved surface
RU2549787C1 (en) Punch for broaching at press
JP2014237140A (en) Forging metal mold

Legal Events

Date Code Title Description
PUAI Public reference made under article 153(3) epc to a published international application that has entered the european phase

Free format text: ORIGINAL CODE: 0009012

17P Request for examination filed

Effective date: 20160202

AK Designated contracting states

Kind code of ref document: A1

Designated state(s): AL AT BE BG CH CY CZ DE DK EE ES FI FR GB GR HR HU IE IS IT LI LT LU LV MC MK MT NL NO PL PT RO RS SE SI SK SM TR

AX Request for extension of the european patent

Extension state: BA ME

GRAP Despatch of communication of intention to grant a patent

Free format text: ORIGINAL CODE: EPIDOSNIGR1

INTG Intention to grant announced

Effective date: 20170404

GRAS Grant fee paid

Free format text: ORIGINAL CODE: EPIDOSNIGR3

GRAA (expected) grant

Free format text: ORIGINAL CODE: 0009210

AK Designated contracting states

Kind code of ref document: B1

Designated state(s): AL AT BE BG CH CY CZ DE DK EE ES FI FR GB GR HR HU IE IS IT LI LT LU LV MC MK MT NL NO PL PT RO RS SE SI SK SM TR

REG Reference to a national code

Ref country code: GB

Ref legal event code: FG4D

REG Reference to a national code

Ref country code: CH

Ref legal event code: EP

Ref country code: AT

Ref legal event code: REF

Ref document number: 916256

Country of ref document: AT

Kind code of ref document: T

Effective date: 20170815

REG Reference to a national code

Ref country code: IE

Ref legal event code: FG4D

REG Reference to a national code

Ref country code: DE

Ref legal event code: R096

Ref document number: 602015003977

Country of ref document: DE

REG Reference to a national code

Ref country code: NL

Ref legal event code: FP

REG Reference to a national code

Ref country code: SE

Ref legal event code: TRGR

REG Reference to a national code

Ref country code: LT

Ref legal event code: MG4D

REG Reference to a national code

Ref country code: AT

Ref legal event code: MK05

Ref document number: 916256

Country of ref document: AT

Kind code of ref document: T

Effective date: 20170809

PG25 Lapsed in a contracting state [announced via postgrant information from national office to epo]

Ref country code: HR

Free format text: LAPSE BECAUSE OF FAILURE TO SUBMIT A TRANSLATION OF THE DESCRIPTION OR TO PAY THE FEE WITHIN THE PRESCRIBED TIME-LIMIT

Effective date: 20170809

Ref country code: AT

Free format text: LAPSE BECAUSE OF FAILURE TO SUBMIT A TRANSLATION OF THE DESCRIPTION OR TO PAY THE FEE WITHIN THE PRESCRIBED TIME-LIMIT

Effective date: 20170809

Ref country code: NO

Free format text: LAPSE BECAUSE OF FAILURE TO SUBMIT A TRANSLATION OF THE DESCRIPTION OR TO PAY THE FEE WITHIN THE PRESCRIBED TIME-LIMIT

Effective date: 20171109

Ref country code: LT

Free format text: LAPSE BECAUSE OF FAILURE TO SUBMIT A TRANSLATION OF THE DESCRIPTION OR TO PAY THE FEE WITHIN THE PRESCRIBED TIME-LIMIT

Effective date: 20170809

PG25 Lapsed in a contracting state [announced via postgrant information from national office to epo]

Ref country code: LV

Free format text: LAPSE BECAUSE OF FAILURE TO SUBMIT A TRANSLATION OF THE DESCRIPTION OR TO PAY THE FEE WITHIN THE PRESCRIBED TIME-LIMIT

Effective date: 20170809

Ref country code: GR

Free format text: LAPSE BECAUSE OF FAILURE TO SUBMIT A TRANSLATION OF THE DESCRIPTION OR TO PAY THE FEE WITHIN THE PRESCRIBED TIME-LIMIT

Effective date: 20171110

Ref country code: ES

Free format text: LAPSE BECAUSE OF FAILURE TO SUBMIT A TRANSLATION OF THE DESCRIPTION OR TO PAY THE FEE WITHIN THE PRESCRIBED TIME-LIMIT

Effective date: 20170809

Ref country code: RS

Free format text: LAPSE BECAUSE OF FAILURE TO SUBMIT A TRANSLATION OF THE DESCRIPTION OR TO PAY THE FEE WITHIN THE PRESCRIBED TIME-LIMIT

Effective date: 20170809

Ref country code: BG

Free format text: LAPSE BECAUSE OF FAILURE TO SUBMIT A TRANSLATION OF THE DESCRIPTION OR TO PAY THE FEE WITHIN THE PRESCRIBED TIME-LIMIT

Effective date: 20171109

Ref country code: IS

Free format text: LAPSE BECAUSE OF FAILURE TO SUBMIT A TRANSLATION OF THE DESCRIPTION OR TO PAY THE FEE WITHIN THE PRESCRIBED TIME-LIMIT

Effective date: 20171209

REG Reference to a national code

Ref country code: DE

Ref legal event code: R081

Ref document number: 602015003977

Country of ref document: DE

Owner name: VOESTALPINE HIGH PERFORMANCE METALS SWEDEN AB, SE

Free format text: FORMER OWNER: UDDEHOLM SVENSKA AB, MOELNDAL, SE

RAP2 Party data changed (patent owner data changed or rights of a patent transferred)

Owner name: VOESTALPINE HIGH PERFORMANCE METALS SWEDEN AB

PG25 Lapsed in a contracting state [announced via postgrant information from national office to epo]

Ref country code: DK

Free format text: LAPSE BECAUSE OF FAILURE TO SUBMIT A TRANSLATION OF THE DESCRIPTION OR TO PAY THE FEE WITHIN THE PRESCRIBED TIME-LIMIT

Effective date: 20170809

Ref country code: CZ

Free format text: LAPSE BECAUSE OF FAILURE TO SUBMIT A TRANSLATION OF THE DESCRIPTION OR TO PAY THE FEE WITHIN THE PRESCRIBED TIME-LIMIT

Effective date: 20170809

REG Reference to a national code

Ref country code: NL

Ref legal event code: HC

Owner name: VOESTALPINE HIGH PERFORMANCE METALS SWEDEN AB.; SE

Free format text: DETAILS ASSIGNMENT: CHANGE OF OWNER(S), CHANGE OF OWNER(S) NAME; FORMER OWNER NAME: UDDEHOLM SVENSKA AB

Effective date: 20180309

REG Reference to a national code

Ref country code: DE

Ref legal event code: R097

Ref document number: 602015003977

Country of ref document: DE

PG25 Lapsed in a contracting state [announced via postgrant information from national office to epo]

Ref country code: EE

Free format text: LAPSE BECAUSE OF FAILURE TO SUBMIT A TRANSLATION OF THE DESCRIPTION OR TO PAY THE FEE WITHIN THE PRESCRIBED TIME-LIMIT

Effective date: 20170809

Ref country code: SM

Free format text: LAPSE BECAUSE OF FAILURE TO SUBMIT A TRANSLATION OF THE DESCRIPTION OR TO PAY THE FEE WITHIN THE PRESCRIBED TIME-LIMIT

Effective date: 20170809

Ref country code: SK

Free format text: LAPSE BECAUSE OF FAILURE TO SUBMIT A TRANSLATION OF THE DESCRIPTION OR TO PAY THE FEE WITHIN THE PRESCRIBED TIME-LIMIT

Effective date: 20170809

PLBE No opposition filed within time limit

Free format text: ORIGINAL CODE: 0009261

REG Reference to a national code

Ref country code: FR

Ref legal event code: PLFP

Year of fee payment: 4

STAA Information on the status of an ep patent application or granted ep patent

Free format text: STATUS: NO OPPOSITION FILED WITHIN TIME LIMIT

REG Reference to a national code

Ref country code: BE

Ref legal event code: HC

Owner name: VOESTALPINE HIGH PERFORMANCE METALS SWEDEN AB; SE

Free format text: DETAILS ASSIGNMENT: CHANGE OF OWNER(S), CHANGEMENT DE NOM DU PROPRIETAIRE; FORMER OWNER NAME: UDDEHOLM SVENSKA AB

Effective date: 20180308

26N No opposition filed

Effective date: 20180511

PG25 Lapsed in a contracting state [announced via postgrant information from national office to epo]

Ref country code: SI

Free format text: LAPSE BECAUSE OF FAILURE TO SUBMIT A TRANSLATION OF THE DESCRIPTION OR TO PAY THE FEE WITHIN THE PRESCRIBED TIME-LIMIT

Effective date: 20170809

REG Reference to a national code

Ref country code: CH

Ref legal event code: PL

REG Reference to a national code

Ref country code: IE

Ref legal event code: MM4A

PG25 Lapsed in a contracting state [announced via postgrant information from national office to epo]

Ref country code: MC

Free format text: LAPSE BECAUSE OF FAILURE TO SUBMIT A TRANSLATION OF THE DESCRIPTION OR TO PAY THE FEE WITHIN THE PRESCRIBED TIME-LIMIT

Effective date: 20170809

Ref country code: LU

Free format text: LAPSE BECAUSE OF NON-PAYMENT OF DUE FEES

Effective date: 20180624

PG25 Lapsed in a contracting state [announced via postgrant information from national office to epo]

Ref country code: IE

Free format text: LAPSE BECAUSE OF NON-PAYMENT OF DUE FEES

Effective date: 20180624

Ref country code: LI

Free format text: LAPSE BECAUSE OF NON-PAYMENT OF DUE FEES

Effective date: 20180630

Ref country code: CH

Free format text: LAPSE BECAUSE OF NON-PAYMENT OF DUE FEES

Effective date: 20180630

PG25 Lapsed in a contracting state [announced via postgrant information from national office to epo]

Ref country code: MT

Free format text: LAPSE BECAUSE OF NON-PAYMENT OF DUE FEES

Effective date: 20180624

GBPC Gb: european patent ceased through non-payment of renewal fee

Effective date: 20190624

PG25 Lapsed in a contracting state [announced via postgrant information from national office to epo]

Ref country code: TR

Free format text: LAPSE BECAUSE OF FAILURE TO SUBMIT A TRANSLATION OF THE DESCRIPTION OR TO PAY THE FEE WITHIN THE PRESCRIBED TIME-LIMIT

Effective date: 20170809

PG25 Lapsed in a contracting state [announced via postgrant information from national office to epo]

Ref country code: GB

Free format text: LAPSE BECAUSE OF NON-PAYMENT OF DUE FEES

Effective date: 20190624

PG25 Lapsed in a contracting state [announced via postgrant information from national office to epo]

Ref country code: PT

Free format text: LAPSE BECAUSE OF FAILURE TO SUBMIT A TRANSLATION OF THE DESCRIPTION OR TO PAY THE FEE WITHIN THE PRESCRIBED TIME-LIMIT

Effective date: 20170809

PG25 Lapsed in a contracting state [announced via postgrant information from national office to epo]

Ref country code: CY

Free format text: LAPSE BECAUSE OF FAILURE TO SUBMIT A TRANSLATION OF THE DESCRIPTION OR TO PAY THE FEE WITHIN THE PRESCRIBED TIME-LIMIT

Effective date: 20170809

Ref country code: HU

Free format text: LAPSE BECAUSE OF FAILURE TO SUBMIT A TRANSLATION OF THE DESCRIPTION OR TO PAY THE FEE WITHIN THE PRESCRIBED TIME-LIMIT; INVALID AB INITIO

Effective date: 20150624

Ref country code: MK

Free format text: LAPSE BECAUSE OF NON-PAYMENT OF DUE FEES

Effective date: 20170809

Ref country code: RO

Free format text: LAPSE BECAUSE OF FAILURE TO SUBMIT A TRANSLATION OF THE DESCRIPTION OR TO PAY THE FEE WITHIN THE PRESCRIBED TIME-LIMIT

Effective date: 20170809

PG25 Lapsed in a contracting state [announced via postgrant information from national office to epo]

Ref country code: AL

Free format text: LAPSE BECAUSE OF FAILURE TO SUBMIT A TRANSLATION OF THE DESCRIPTION OR TO PAY THE FEE WITHIN THE PRESCRIBED TIME-LIMIT

Effective date: 20170809

PGFP Annual fee paid to national office [announced via postgrant information from national office to epo]

Ref country code: SE

Payment date: 20220623

Year of fee payment: 8

Ref country code: NL

Payment date: 20220630

Year of fee payment: 8

Ref country code: IT

Payment date: 20220620

Year of fee payment: 8

Ref country code: DE

Payment date: 20220621

Year of fee payment: 8

PGFP Annual fee paid to national office [announced via postgrant information from national office to epo]

Ref country code: PL

Payment date: 20220524

Year of fee payment: 8

Ref country code: FI

Payment date: 20220621

Year of fee payment: 8

Ref country code: BE

Payment date: 20220613

Year of fee payment: 8

PGFP Annual fee paid to national office [announced via postgrant information from national office to epo]

Ref country code: FR

Payment date: 20220614

Year of fee payment: 8

REG Reference to a national code

Ref country code: DE

Ref legal event code: R119

Ref document number: 602015003977

Country of ref document: DE

REG Reference to a national code

Ref country code: SE

Ref legal event code: EUG

PG25 Lapsed in a contracting state [announced via postgrant information from national office to epo]

Ref country code: FI

Free format text: LAPSE BECAUSE OF NON-PAYMENT OF DUE FEES

Effective date: 20230624

REG Reference to a national code

Ref country code: NL

Ref legal event code: MM

Effective date: 20230701

REG Reference to a national code

Ref country code: BE

Ref legal event code: MM

Effective date: 20230630

PG25 Lapsed in a contracting state [announced via postgrant information from national office to epo]

Ref country code: NL

Free format text: LAPSE BECAUSE OF NON-PAYMENT OF DUE FEES

Effective date: 20230701

PG25 Lapsed in a contracting state [announced via postgrant information from national office to epo]

Ref country code: DE

Free format text: LAPSE BECAUSE OF NON-PAYMENT OF DUE FEES

Effective date: 20240103

PG25 Lapsed in a contracting state [announced via postgrant information from national office to epo]

Ref country code: SE

Free format text: LAPSE BECAUSE OF NON-PAYMENT OF DUE FEES

Effective date: 20230625

Ref country code: FR

Free format text: LAPSE BECAUSE OF NON-PAYMENT OF DUE FEES

Effective date: 20230630

Ref country code: BE

Free format text: LAPSE BECAUSE OF NON-PAYMENT OF DUE FEES

Effective date: 20230630

PG25 Lapsed in a contracting state [announced via postgrant information from national office to epo]

Ref country code: IT

Free format text: LAPSE BECAUSE OF NON-PAYMENT OF DUE FEES

Effective date: 20230624

PG25 Lapsed in a contracting state [announced via postgrant information from national office to epo]

Ref country code: PL

Free format text: LAPSE BECAUSE OF NON-PAYMENT OF DUE FEES

Effective date: 20230624

PG25 Lapsed in a contracting state [announced via postgrant information from national office to epo]

Ref country code: PL

Free format text: LAPSE BECAUSE OF NON-PAYMENT OF DUE FEES

Effective date: 20230624