EP2808610A1 - Gasturbinen-Brennkammer mit Tangentialeindüsung als späte Mager-Einspritzung - Google Patents

Gasturbinen-Brennkammer mit Tangentialeindüsung als späte Mager-Einspritzung Download PDF

Info

Publication number
EP2808610A1
EP2808610A1 EP13170045.2A EP13170045A EP2808610A1 EP 2808610 A1 EP2808610 A1 EP 2808610A1 EP 13170045 A EP13170045 A EP 13170045A EP 2808610 A1 EP2808610 A1 EP 2808610A1
Authority
EP
European Patent Office
Prior art keywords
combustion chamber
injector
combustor
fuel
main flow
Prior art date
Legal status (The legal status is an assumption and is not a legal conclusion. Google has not performed a legal analysis and makes no representation as to the accuracy of the status listed.)
Withdrawn
Application number
EP13170045.2A
Other languages
English (en)
French (fr)
Inventor
Christian Dr. Beck
Olga Deiss
Werner Krebs
Bernhard Dr. Wegner
Current Assignee (The listed assignees may be inaccurate. Google has not performed a legal analysis and makes no representation or warranty as to the accuracy of the list.)
Siemens AG
Siemens Corp
Original Assignee
Siemens AG
Siemens Corp
Priority date (The priority date is an assumption and is not a legal conclusion. Google has not performed a legal analysis and makes no representation as to the accuracy of the date listed.)
Filing date
Publication date
Application filed by Siemens AG, Siemens Corp filed Critical Siemens AG
Priority to EP13170045.2A priority Critical patent/EP2808610A1/de
Publication of EP2808610A1 publication Critical patent/EP2808610A1/de
Withdrawn legal-status Critical Current

Links

Images

Classifications

    • FMECHANICAL ENGINEERING; LIGHTING; HEATING; WEAPONS; BLASTING
    • F23COMBUSTION APPARATUS; COMBUSTION PROCESSES
    • F23RGENERATING COMBUSTION PRODUCTS OF HIGH PRESSURE OR HIGH VELOCITY, e.g. GAS-TURBINE COMBUSTION CHAMBERS
    • F23R3/00Continuous combustion chambers using liquid or gaseous fuel
    • F23R3/28Continuous combustion chambers using liquid or gaseous fuel characterised by the fuel supply
    • F23R3/286Continuous combustion chambers using liquid or gaseous fuel characterised by the fuel supply having fuel-air premixing devices
    • FMECHANICAL ENGINEERING; LIGHTING; HEATING; WEAPONS; BLASTING
    • F23COMBUSTION APPARATUS; COMBUSTION PROCESSES
    • F23RGENERATING COMBUSTION PRODUCTS OF HIGH PRESSURE OR HIGH VELOCITY, e.g. GAS-TURBINE COMBUSTION CHAMBERS
    • F23R3/00Continuous combustion chambers using liquid or gaseous fuel
    • F23R3/28Continuous combustion chambers using liquid or gaseous fuel characterised by the fuel supply
    • F23R3/34Feeding into different combustion zones
    • F23R3/346Feeding into different combustion zones for staged combustion
    • FMECHANICAL ENGINEERING; LIGHTING; HEATING; WEAPONS; BLASTING
    • F23COMBUSTION APPARATUS; COMBUSTION PROCESSES
    • F23RGENERATING COMBUSTION PRODUCTS OF HIGH PRESSURE OR HIGH VELOCITY, e.g. GAS-TURBINE COMBUSTION CHAMBERS
    • F23R3/00Continuous combustion chambers using liquid or gaseous fuel
    • F23R3/42Continuous combustion chambers using liquid or gaseous fuel characterised by the arrangement or form of the flame tubes or combustion chambers
    • F23R3/46Combustion chambers comprising an annular arrangement of several essentially tubular flame tubes within a common annular casing or within individual casings

Definitions

  • the present invention relates to a combustion chamber, in particular a tube combustion chamber, a gas turbine and a method for operating a combustion chamber and a gas turbine.
  • Modern gas turbines should meet the requirements in terms of pollutant emissions and environmental friendliness in a wide operating range. The fulfillment of these requirements depends essentially on the combustion system used in the gas turbine.
  • NOx nitrogen oxides
  • To reduce emissions of nitrogen oxides (NOx) lean premix is used.
  • high turbine inlet temperatures are sought to achieve a high efficiency, which are associated with high flame temperatures.
  • the aforementioned premixed flames are susceptible to thermoacoustic instabilities due to the high thermal power density and the NOx emissions increase exponentially with increasing flame temperature.
  • axial staging consists of a conventional burner that fires a primary combustion zone. This primary zone can in turn be internally graded like conventional burners and covers the load range up to today's firing temperatures. Downstream of the primary zone is followed by a secondary combustion zone. In this additional fuel is injected through an axially offset from the primary zone stage. This is then burned in a diffusion-like regime.
  • the fuel may be diluted with inert components (steam, nitrogen, carbon dioxide) to greatly lower the stoichiometric combustion temperature, thereby suppressing NOx formation.
  • inert components steam, nitrogen, carbon dioxide
  • the US 2011/0067402 A1 discloses a gas turbine with a combustion chamber having a dual stage combustion concept.
  • the combustor includes a combustor head end having a burner assembly, a combustor exit and a combustor wall, the combustor wall extending from the combustor head end to the combustor exit, and a primary zone and a secondary zone.
  • the secondary zone is located in the main flow direction of the hot gas downstream of the primary zone.
  • injectors opening into the secondary zone are arranged, which form a second axial stage of the combustion system.
  • a second object is to provide a corresponding gas turbine.
  • a third object of the present invention is to provide an advantageous method for operating a combustion chamber or a gas turbine comprising a combustion chamber, which makes it possible to reduce emissions of nitrogen oxides and / or to reduce CO emissions.
  • the first object is achieved by a combustion chamber according to claim 1.
  • the second object is achieved by a gas turbine according to claim 12.
  • the third object is achieved by a method according to claim 13.
  • the dependent claims contain further advantageous embodiments of the invention.
  • the combustion chamber according to the invention comprises a longitudinal axis, a combustion chamber head end and a combustion chamber exit.
  • the combustor further includes a combustor wall extending from the combustor head end to the combustor exit.
  • the combustion chamber according to the invention comprises a primary zone and a secondary zone.
  • the secondary zone is arranged in the main flow direction of the hot gas downstream of the primary zone.
  • the combustion chamber comprises at least one injector for introducing a fuel-air mixture into the secondary zone.
  • the injector is disposed in the secondary zone on the combustion chamber wall.
  • the injector also includes an outlet opening into the secondary zone or an injection opening with an inflow direction.
  • the inflow direction has a component in the circumferential direction of the combustion chamber.
  • the combustor wall includes an outer surface and at least one injector is at least partially helically disposed with respect to the longitudinal axis of the combustor along the outer surface.
  • the term "along the surface” also includes a first course of the injector spaced from the surface, so that the injector is in direct contact with the combustion chamber wall only in a section passing through the combustion chamber wall.
  • helical is also understood to be helical, for example helices of decreasing diameter, wherein the diameter of the helix may be essentially circular or elliptical.
  • the fact that the injector is at least partially helically disposed with respect to the longitudinal axis of the combustion chamber along the outer surface also includes such injectors that at least partially follow a portion of such a spiral or helical path.
  • a number of corresponding injectors are arranged on the combustion chamber wall in the region of the secondary zone.
  • the combustion chamber is preferably a tube combustion chamber. At least one burner may be arranged at the end of the combustion chamber.
  • the primary zone is determined by the area in which the fuel supplied via the burner is primarily burned within the combustion chamber.
  • the secondary zone is characterized by the fact that in it the hot gas generated in the primary zone is further burned out as completely as possible.
  • the secondary zone can in principle be arranged at any desired position between the primary zone and the combustion chamber exit.
  • the airborne axial stage itself has several advantages. By premixing fuel and air outside the combustion chamber as with conventional burner technology, the resulting peak temperatures and thus NOx emissions can be reduced. Lower residence times in the secondary zone and turbine entry continue to result in lower overall NOx emissions. In addition, no additional media are needed, but an operation takes place only with the originating from the compressor outlet air, which are treated with fuel in the axial stage to a mixture. Therefore, the resulting system is robust and stable available.
  • the Airborne axial stage therefore equally serves to expand the operating range of the combustion system to lower and higher loads.
  • the combustion chamber wall may comprise an outer surface. At least one injector may be disposed at least partially along the outer surface. This has the advantage that good utilization of the available installation space around the combustion chamber results in a large premix length in the injectors despite the compact design. Furthermore, emissions are reduced and thermoacoustic tuning is possible by adapting deadtime elements in flame transfer functions.
  • the present invention also has the following special advantages: Due to the helical arrangement, a long mixing length can be achieved in the injectors or scoops despite their compact design.
  • the swirl generation provides for the generation of additional gradients and shear layers and thus for a better mixing with the main flow.
  • a smoother turbine entry profile reduces emissions.
  • a simple and inexpensive construction of the guide vanes of the first turbine stage (TLe 1) is made possible.
  • the present invention opens up great potential for saving cooling air and possibly saving potential by dispensing with the vanes of the first turbine stage (TLe 1).
  • the at least one injector may include an output having a central axis.
  • the central axis can include an angle ⁇ 1 between 0 ° and 180 ° with the main flow direction in the combustion chamber at the position of the respective injector.
  • the fuel-air mixture can be introduced both in the opposite direction and in the main flow direction in the secondary zone.
  • the angle ⁇ 1 between the center axis of the injector outlet and the main flow direction may be greater than 45 ° and less than 90 °, preferably less than 70 °. As a result, a good mixing with the main flow while generating a twist is achieved.
  • the center axis of the injector outlet determines the inflow direction of the injected fuel-air mixture into the combustion chamber.
  • the main flow direction of the hot gas in the combustion chamber is determined in particular by the burner axis and the geometry of the combustion chamber.
  • the main flow direction may be in the form of a curved curve extending from the burner to the combustion chamber exit.
  • the at least one injector may comprise an output with a central axis, which may include an angle ⁇ 2 between 0 ° and 180 ° with the longitudinal axis of the combustion chamber.
  • the angle ⁇ 2 is between 0 ° and 90 °, preferably between 20 ° and 70 °, which corresponds to an inflow in the main flow direction.
  • the angle ⁇ 2 is greater than 45 ° and less than 90 ° or less than 70 ° in order to achieve a favorable mixing of the introduced fuel-air mixture with the main flow with simultaneous swirl generation.
  • the output of the injector may be arranged with respect to the main flow direction such that a line radial to the main flow direction intersects the center axis of the injector in the region of its output at an angle ⁇ 1 .
  • the output of the injector can be arranged with respect to the longitudinal axis of the combustion chamber such that a radial line to the longitudinal axis intersects the center axis of the injector in the region of its output at an angle ⁇ 2 , the angles ⁇ 1 and ⁇ 2 respectively in the region between 0 ° and 90 °, advantageously between 20 ° and 70 ° or between 45 ° and 90 ° or between 45 ° and 70 °.
  • the combustion chamber may have a radial direction with respect to the main flow direction.
  • the inflow direction and / or the center axis of the injector can be perpendicular to the main flow direction an angle ⁇ 1 with the radial direction with respect to the main flow direction between 0 ° and 90 °, advantageously between 20 ° and 70 ° or between 45 ° and 90 ° or between 45 ° and Include 70 °.
  • This means that the inflow direction and / or the center axis of the injector are arranged perpendicular to the main flow direction or has a tangential component with respect to the main flow direction.
  • the tangential component with respect to the main flow direction is described by the angle ⁇ 1 . According to the invention, this tangential component has a component pointing in the circumferential direction.
  • the combustion chamber may comprise a radial direction with respect to the longitudinal axis.
  • the inflow direction and / or the center axis of the injector can be perpendicular to the burner axis an angle ⁇ 2 with the radial direction with respect to the longitudinal axis between 0 ° and 90 °, advantageously between 20 ° and 70 °, preferably between 45 ° and 90 ° or between 45 ° and 70 °.
  • This means that the inflow direction and / or the center axis of the injector has a component which is perpendicular to the longitudinal axis and described by the angle ⁇ 2 , which at the same time describes a tangential component with respect to the longitudinal axis. According to the invention, this tangential component has a component pointing in the circumferential direction.
  • the combustion chamber may include a fuel distributor.
  • the fuel distributor may be connected to at least one nozzle which is arranged in the at least one injector.
  • the fuel distributor may be connected to a plurality of obliquely arranged nozzles and fuel distribute to these.
  • the fuel is mixed with air and then injected into the combustion chamber with a component pointing in the circumferential direction of the combustion chamber.
  • the fuel distributor is an annular fuel distributor, which is arranged, for example, annularly around the combustion chamber wall.
  • the fuel distributor may be disposed on the outer surface of the combustion chamber wall.
  • the fuel distributor may be disposed in the axial direction to (downstream of) the at least one injector and upstream of (upstream of) the combustor exit along the outer combustor surface.
  • the at least one injector may be disposed in the axial direction to (downstream of) the fuel rail and upstream of (upstream of) the combustor exit along the outer combustor surface.
  • the injectors may comprise an area arranged outside the combustion chamber, which extends at least partially in or counter to the main flow direction along the outer combustion chamber surface.
  • the injector may comprise a flow channel for supplying air.
  • a fuel nozzle can be arranged in the interior of the injector (scoop). The fuel nozzle may be at least partially surrounded by the flow channel for supplying air.
  • a number of injectors are arranged circumferentially on the combustion chamber wall.
  • the number of injectors can be distributed uniformly along the circumference of the combustion chamber wall.
  • a liner region may adjoin the primary zone in the main flow direction, followed by a transition region to the combustion chamber outlet.
  • at least one injector can be arranged in the liner area.
  • the gas turbine according to the invention comprises a combustion chamber described above. It has the same characteristics and advantages as the combustion chamber described above.
  • the inventive method for operating a combustion chamber previously described or for operating a gas turbine described above is characterized in that a fuel-air mixture is introduced through the at least one injector in the secondary zone of the combustion chamber so that the inflow direction is a component in the circumferential direction of the combustion chamber having.
  • the method according to the invention has the same advantages as the combustion chamber according to the invention described above. In particular, with the aid of the introduced into the secondary zone fuel-air mixture improved mixing of the main flow and a reduction of emissions by a more uniform turbine inlet profile can be achieved. Incidentally, reference is made to the advantages mentioned in connection with the combustion chamber according to the invention.
  • FIG. 1 shows by way of example a gas turbine 100 in a longitudinal partial section.
  • the gas turbine 100 has inside a rotatably mounted about a rotation axis 102 rotor 103 with a shaft 101, which is also referred to as a turbine runner.
  • an intake housing 104 a compressor 105, for example a toroidal combustion chamber 110, in particular annular combustion chamber, with a plurality Coaxially arranged burners 107, a turbine 108 and the exhaust housing 109th
  • a compressor 105 for example a toroidal combustion chamber 110, in particular annular combustion chamber, with a plurality Coaxially arranged burners 107, a turbine 108 and the exhaust housing 109th
  • the annular combustion chamber 110 communicates with an annular annular hot gas channel 111, for example.
  • annular annular hot gas channel 111 for example.
  • turbine stages 112 connected in series form the turbine 108.
  • Each turbine stage 112 is formed, for example, from two blade rings.
  • the hot gas channel 111 of a row of guide vanes 115 is followed by a row 125 formed of rotor blades 120.
  • the guide vanes 130 are fastened to an inner housing 138 of a stator 143, whereas the moving blades 120 of a row 125 are attached to the rotor 103 by means of a turbine disk 133, for example.
  • air 105 is sucked in and compressed by the compressor 105 through the intake housing 104.
  • the compressed air provided at the turbine-side end of the compressor 105 is supplied to the burners 107 where it is mixed with a fuel.
  • the mixture is then burned to form the working fluid 113 in the combustion chamber 110.
  • the working medium 113 flows along the hot gas channel 111 past the guide vanes 130 and the rotor blades 120.
  • the working medium 113 expands in a pulse-transmitting manner so that the rotor blades 120 drive the rotor 103 and drive the machine coupled to it.
  • the components exposed to the hot working medium 113 are subject to thermal loads during operation of the gas turbine 100.
  • the vanes 130 and blades 120 of the As seen in the flow direction of the working medium 113 first turbine stage 112 are next to the annular combustion chamber 110 lining heat shield elements most thermally stressed.
  • iron, nickel or cobalt-based superalloys are used as the material for the components, in particular for the turbine blades 120, 130 and components of the combustion chamber 110.
  • the vane 130 has a guide vane foot (not shown here) facing the inner casing 138 of the turbine 108 and a vane head opposite the vane root.
  • the vane head faces the rotor 103 and fixed to a mounting ring 140 of the stator 143.
  • the FIG. 2 schematically shows a combustion chamber 110 of a gas turbine.
  • the combustion chamber 110 is designed, for example, as a so-called annular combustion chamber, in which a plurality of burners 107 arranged around a rotation axis 102 in the circumferential direction open into a common combustion chamber space 154, which generate flames 156.
  • the combustion chamber 110 is configured in its entirety as an annular structure, which is positioned around the axis of rotation 102 around.
  • the combustion chamber 110 is designed for a comparatively high temperature of the working medium M of about 1000 ° C to 1600 ° C.
  • the combustion chamber wall 153 is on their the working medium M facing side provided with an inner lining formed of heat shield elements 155.
  • the heat shield elements 155 are then, for example, hollow and possibly still have cooling holes (not shown) which open into the combustion chamber space 154.
  • FIG. 3 schematically shows a part of a combustion chamber according to the invention in a partially perspective and partially sectioned view.
  • the combustion chamber comprises a combustion chamber wall 1 and a combustion chamber outlet 6.
  • the main flow direction of the hot gas in the combustion chamber during operation of the combustion chamber is indicated by an arrow 3.
  • the combustion chamber further comprises a primary zone 4, in which the fuel introduced from the burner into the combustion chamber is burned.
  • a secondary zone 5 adjoins the primary zone in the direction of flow 3.
  • the hot gas from the primary zone 4 is further burned off. This is done by additionally introducing a fuel-air mixture 14 in the secondary zone 5 by means of injectors. 8
  • the injectors 8 comprise an air supply 13 and an outlet 9 opening into the combustion chamber. Furthermore, a fuel nozzle 10 is arranged in the interior of each injector 8. The fuel nozzle 10 is connected to a fuel distributor 11, preferably an annular fuel distributor 11. With the help of the fuel nozzle 10, fuel is injected into the interior of the injector 8 and in this way generates a fuel-air mixture in the interior of the injector 8. The fuel-air mixture thus produced is then through the injector or the injection port 9 into the combustion chamber injected in the region of the secondary zone 5. According to the invention with at least one extending in the circumferential direction of the combustion chamber component.
  • a liner region 7 and a transition region 25 which in the FIG. 3 are each designed as separate components.
  • a liner region 7 and a transition region 25 which in the FIG. 3 are each designed as separate components.
  • Between the primary zone 4 and the liner area 7 at least one sealing ring 12 is arranged. Furthermore, at least one sealing ring 12 is also arranged between the liner region 7 and the transitional component 25.
  • the injectors 8 are connected to the liner area 7.
  • the injector or injection ports 9 open in the region of the liner region 7 in the secondary zone 5 of the combustion chamber.
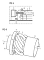
  • FIG. 4 shows a section of the already in the FIG. 3 partially shown combustion chamber in perspective and sectional view.
  • a fuel supply 15 is shown, which supplies the fuel distributor 11 with fuel.
  • the FIG. 5 schematically shows the arrangement of the fuel nozzle within the injector in a perspective and partially sectioned view.
  • the fuel nozzle 10 is connected to the annular fuel distributor 11 and is supplied with fuel from this.
  • the injector includes an inlet 33 having an air inlet 9.
  • the tip of the fuel nozzle 10 includes fuel injection ports 36.
  • the fuel nozzle 10 is partially disposed within the injector 8.
  • the tip of the fuel nozzle 10 including the fuel injection openings 36 in the region of the central axis 2 of the injector 8 within the injector 8 is arranged. Through the fuel injection openings 36, fuel in the direction 37 perpendicular to the central axis 2 of the injector 8 in the region of the air supply 9 in the injector. 8 injected. In this case, a fuel-air mixture is generated, which is passed through the injector 8 in the flow direction 35 to the combustion chamber.
  • FIG. 6 schematically shows a part of the combustion chamber according to the invention in the region of the secondary zone in a perspective view.
  • the liner region 7 and the transition region 25 is integrally designed as a coherent transition element.
  • the Indian FIG. 6 The area of the combustion chamber shown comprises a central axis 34, which runs parallel to the main flow direction 3 of the hot gas mixture flowing through the combustion chamber, and an outer surface 32. On the outer surface 32, an annular fuel distributor 11 is arranged. This is connected to a number of fuel nozzles 10, as in connection with the FIGS. 3 to 5 described, feed fuel to a number of injectors 8.
  • the injectors 8 are arranged uniformly along the circumference of the combustion chamber on the outer surface 32.
  • the injectors 8 and the fuel nozzles 10 with respect to the central axis 34 and the main flow direction 3 are arranged spirally along the outer surface 32.
  • an introduction of the fuel-air mixture generated in the injectors is achieved with a pointing in the circumferential direction of the combustion chamber component of the inflow into the combustion chamber. In this way, a swirl of the combustion chamber flowing through the hot gas mixture is generated within the combustion chamber.
  • FIG. 7 schematically shows a plan view of a section through the combustion chamber according to the invention in the region of the injectors 8 in a partially perspective view.
  • the respective inflow direction of the fuel-air mixture from the injectors 8 into the combustion chamber is identified by the reference numerals 23.
  • FIG. 8 schematically shows the center axis 2 of the injector 8 and the inflow direction 23 with respect to the main flow direction 3 of the hot gas in the combustion chamber or with respect to the longitudinal axis 34 of the combustion chamber.
  • the main flow direction 3 is shown schematically in the form of an axis.
  • the center axis of the injector 2 or the inflow direction 23 of the fuel-air mixture flowing from the injector outlet 9 into the combustion chamber encloses an angle ⁇ 1 with the main flow direction 3 or an angle ⁇ 2 with the longitudinal axis 34 of the combustion chamber.
  • the angles ⁇ 1 can basically assume values between 0 ° and 180 °, for example between 20 ° and 70 °, preferably between 45 ° and 70 °.
  • FIG. 9 schematically shows the tangential component of the inflow or the component of the inflow direction in the circumferential direction of the combustion chamber.
  • This is in the FIG. 9 schematically a section through a portion of the combustion chamber perpendicular to the main flow direction 3 or alternatively shown perpendicular to the longitudinal axis 34.
  • a radial line to the main flow direction 3, which intersects the central axis 2 of the injector 8 in the region of its output 9 is indicated by the reference numeral 19.
  • a radial line to the longitudinal axis 34 of the combustion chamber, which intersects the central axis 2 of the injector 8 in the region of its output 9, is also identified by the reference numeral 19.
  • the radial line 19 has a right angle to the main flow direction 3 and / or a right angle to the longitudinal axis 34.
  • the respective radial direction or radial line 19 encloses an angle ⁇ 1 with the inflow direction 23 or with the center axis of the injector 2, if the radial line 19 relates to the main flow direction 3. If the radial line 19 refers to the longitudinal axis 34, so includes the radial line 19 with the inflow direction 23 and the central axis 2 of the injector 8 an angle ⁇ 2 a.
  • the angles ⁇ 1 and ⁇ 2 can be between 0 ° and 90 °, preferably between 20 ° and 70 °, for example between 45 ° and 70 °.

Landscapes

  • Engineering & Computer Science (AREA)
  • Chemical & Material Sciences (AREA)
  • Combustion & Propulsion (AREA)
  • Mechanical Engineering (AREA)
  • General Engineering & Computer Science (AREA)

Abstract

Es wird eine Brennkammer mit einer Längsachse (34), einem Brennkammerkopfende, einem Brennkammerausgang, einer Brennkammerwand, die sich vom Brennkammerkopfende zum Brennkammerausgang erstreckt, beschrieben. Die Brennkammer umfasst eine Primärzone und eine Sekundärzone, die in Hauptströmungsrichtung (3) des Heißgases stromabwärts der Primärzone angeordnet ist, wobei die Brennkammer mindestens einen in der Sekundärzone an der Brennkammerwand angeordneten Injektor (8) zum Einbringen eines Brennstoff-Luft-Gemisches in die Sekundärzone umfasst. Der Injektor (8) weist einen in die Sekundärzone mündenden Ausgang mit einer Einströmrichtung auf, wobei die Einströmrichtung eine Komponente in Umfangsrichtung der Brennkammer aufweist. Die Brennkammerwand umfasst eine äußere Oberfläche (32) und mindestens ein Injektor (8) ist zumindest teilweise spiralförmig in Bezug auf die Längsachse (34) der Brennkammer entlang der äußeren Oberfläche (32) angeordnet.

Description

    Gegenstand der Erfindung
  • Die vorliegende Erfindung betrifft eine Brennkammer, insbesondere eine Rohrbrennkammer, eine Gasturbine und ein Verfahren zum Betrieb einer Brennkammer und einer Gasturbine.
  • Hintergrund der Erfindung
  • Moderne Gasturbinen sollen in einem weiten Betriebsbereich den Anforderungen bezüglich Schadstoffemissionen und Umweltfreundlichkeit genügen. Die Erfüllung dieser Anforderungen hängt wesentlich von dem in der Gasturbine eingesetzten Verbrennungssystem ab. Zur Reduktion der Emissionen von Stickoxiden (NOx) wird magere Vormischung verwendet. Dabei werden zur Erzielung eines hohen Wirkungsgrades hohe Turbineneintrittstemperaturen angestrebt, die mit hohen Flammentemperaturen einhergehen. Hier sind die erwähnten Vormischflammen aufgrund der hohen thermischen Leistungsdichte anfällig für thermoakustische Instabilitäten und die NOx-Emissionen nehmen mit steigender Flammentemperatur exponentiell zu.
  • Auf der anderen Seite ist ein Betrieb der Gasturbine bei möglichst niedrigen Lasten und Flammentemperaturen notwendig, um den Anforderungen der Kraftwerksbetreiber gerecht zu werden. Hier wird der Betriebsbereich nach unten hin durch die bei unvollständigem Ausbrand entstehenden Kohlenmonoxidemissionen (CO) begrenzt. Daher ist es wünschenswert, den Betriebsbereich des Verbrennungssystems in beide Richtungen zu erweitern.
  • Zur Erweiterung des Betriebsbereiches bei bestehenden Verbrennungssystemen wurde beispielsweise durch brennerinterne Brennstoffstufung, effiziente Vormischeinrichtungen, Reduktion von Kühlluft oder gestufte Verbrennungskonzepte eine Optimierung des Systems für die heutigen Anforderungen vorgenommen. Die "axial staging" genannte gestufte Verbrennungstechnologie besteht aus einem konventionellen Brenner, der eine primäre Verbrennungszone befeuert. Diese Primärzone kann wiederum wie konventionelle Brenner intern gestuft sein und deckt den Lastbereich bis zu heutigen Feuerungstemperaturen ab. Stromab der Primärzone schließt sich eine sekundäre Verbrennungszone an. In diese wird durch eine axial gegenüber der Primärzone versetzte Stufe zusätzlicher Brennstoff eingedüst. Dieser wird dann in einem diffusionsartigen Regime verbrannt. Der Brennstoff kann mit Inertkomponenten (Dampf, Stickstoff, Kohlendioxid) verdünnt werden, um die stöchiometrische Verbrennungstemperatur stark abzusenken und damit die NOx-Bildung unterdrückt. Gleichzeitig wird durch die Verteilung der Wärmefreisetzung über den gesamten zur Verfügung stehenden Brennraum die Neigung des Verbrennungssystems zu thermoakustischen Instabilitäten verringert.
  • Die für einen sicheren Betrieb innerhalb der gewährleisteten Emissionsgrenzen benötigten Verdünnungsmedien müssen aus separaten Prozessen zur Verfügung gestellt werden, was zu etlichen Nachteilen führt. Erstens steigt die Komplexität des Gesamtkraftwerks im Sinne höherer Investitionskosten. Zweitens benötigen diese separaten Prozesse ihrerseits Energie, so dass der Gesamtwirkungsgrad beeinträchtigt wird. Drittens sinkt die Verfügbarkeit des Kraftwerkes, da diese Prozesse eine gewisse Ausfallswahrscheinlichkeit besitzen, welche zu der des konventionellen Kraftwerkes hinzugerechnet werden muss. Aus diesem Grund ist es auch bekannt, den Brennstoff in der zweiten axialen Stufe ohne Inertkomponenten in Form eines Luft/Brennstoff-Gemisches in die Sekundärzone einzubringen ("fuel only").
  • Diesbezüglicher und weiterer Stand der Technik ist in DE 10 2006 053 679 A1 , US 6,418,725 B1 , die jeweils Rohrbrennkammern betreffen, und in den Dokumenten DE 42 32 383 A1 , US 2009/0084082 A1 , US 6,192,688 B1 , US 6,047,550 und US 6,868,676 B1 , die Ringbrennkammern betreffend, beschrieben.
  • Die US 2011/0067402 A1 offenbart eine Gasturbine mit einer Brennkammer, welche ein Verbrennungskonzept mit zwei Stufen aufweist. Die Brennkammer umfasst ein Brennkammerkopfende mit einer Brenneranordnung, einen Brennkammerausgang und eine Brennkammerwand, wobei die Brennkammerwand sich vom Brennkammerkopfende zum Brennkammerausgang erstreckt, sowie eine Primärzone und eine Sekundärzone. Die Sekundärzone ist in Hauptströmungsrichtung des Heißgases stromabwärts der Primärzone angeordnet. Entlang des Umfangs der Brennkammer sind in die Sekundärzone mündende Injektoren angeordnet, welche eine zweite axiale Stufe des Verbrennungssystems ausbilden.
  • Beschreibung der Erfindung
  • Es ist eine erste Aufgabe der vorliegenden Erfindung, eine vorteilhafte Brennkammer zur Verfügung zu stellen, mit der eine Reduzierung der Emissionen von Stickoxiden (NOx) und niedrige CO-Emissionen erreicht werden können. Eine zweite Aufgabe besteht darin, eine entsprechende Gasturbine zur Verfügung zu stellen. Eine dritte Aufgabe der vorliegenden Erfindung besteht darin, ein vorteilhaftes Verfahren zum Betrieb einer Brennkammer oder einer eine Brennkammer umfassenden Gasturbine zur Verfügung zu stellen, welches eine Reduktion der Emissionen von Stickoxiden und/oder eine Reduktion der CO-Emissionen ermöglicht.
  • Die erste Aufgabe wird durch eine Brennkammer nach Anspruch 1 gelöst. Die zweite Aufgabe wird durch eine Gasturbine nach Anspruch 12 gelöst. Die dritte Aufgabe wird durch ein Verfahren nach Anspruch 13 gelöst. Die abhängigen Ansprüche enthalten weitere vorteilhafte Ausgestaltungen der Erfindung.
  • Die erfindungsgemäße Brennkammer umfasst eine Längsachse, ein Brennkammerkopfende und einen Brennkammerausgang. Die Brennkammer umfasst weiterhin eine Brennkammerwand, die sich vom Brennkammerkopfende zum Brennkammerausgang erstreckt. Darüber hinaus umfasst die erfindungsgemäße Brennkammer eine Primärzone und eine Sekundärzone. Dabei ist die Sekundärzone in Hauptströmungsrichtung des Heißgases stromabwärts der Primärzone angeordnet. Die Brennkammer umfasst mindestens einen Injektor zum Einbringen eines Brennstoff-Luft-Gemisches in die Sekundärzone. Der Injektor ist in der Sekundärzone an der Brennkammerwand angeordnet. Der Injektor umfasst zudem einen in die Sekundärzone mündenden Ausgang bzw. eine Eindüsöffnung mit einer Einströmrichtung. Die Einströmrichtung weist eine Komponente in Umfangsrichtung der Brennkammer auf. Die Brennkammerwand umfasst eine äußere Oberfläche und mindestens ein Injektor ist zumindest teilweise spiralförmig in Bezug auf die Längsachse der Brennkammer entlang der äußeren Oberfläche angeordnet. Der Begriff "entlang der Oberfläche" umfasst auch einen zunächst von der Oberfläche beabstandeten Verlauf des Injektors, so dass der Injektor erst in einem die Brennkammerwand durchquerenden Abschnitt in direktem Kontakt mit der Brennkammerwand steht.
  • Unter spiralförmig wird im Zusammenhang mit der vorliegenden Erfindung auch schraubenförmig verstanden, beispielsweise Schraubenlinien mit abnehmendem Durchmesser, wobei der Durchmesser der Schraubenlinie im Wesentlichen kreis- oder ellipsenförmig sein kann. Dass der Injektor zumindest teilweise spiralförmig in Bezug auf die Längsachse der Brennkammer entlang der äußeren Oberfläche angeordnet ist, umfasst auch solche Injektoren, die zumindest abschnittsweise einem Abschnitt einer derartigen spiralförmigen oder schraubenförmigen Bahn folgen.
  • Vorzugsweise ist eine Anzahl entsprechender Injektoren an der Brennkammerwand im Bereich der Sekundärzone angeordnet. Durch die kombinierte Eindüsung von Luft und Brennstoff in die Sekundärzone wird eine sogenannte "luftgestützte Axialstufe" realisiert.
  • Bei der Brennkammer handelt es sich vorzugsweise um eine Rohrbrennkammer. An dem Brennkammerkopfende kann mindestens ein Brenner angeordnet sein.
  • Grundsätzlich wird die Primärzone durch den Bereich bestimmt, in welchem innerhalb der Brennkammer der über den Brenner zugeführte Brennstoff primär verbrannt wird. Die Sekundärzone zeichnet sich dadurch aus, dass in ihr das in der Primärzone erzeugte Heißgas weiter, möglichst vollständig, ausgebrannt wird. Dabei kann die Sekundärzone grundsätzlich an jeder beliebigen Position zwischen der Primärzone und dem Brennkammerausgang angeordnet sein.
  • Die luftgestützte Axialstufe an sich hat bereits mehrere Vorteile. Durch ein Vormischen von Brennstoff und Luft außerhalb des Brennraums wie bei konventioneller Brennertechnologie können die entstehenden Spitzentemperaturen und damit, die NOx-Emissionen verringert werden. Durch die niedrigeren Verweilzeiten in der Sekundärzone und bis zum Turbineneintritt ergeben sich weiterhin niedrigere Gesamt-NOx-Emissionen. Es werden zudem keine zusätzlichen Medien benötigt, sondern ein Betrieb erfolgt nur mit der vom Verdichteraustritt stammenden Luft, welche mit Brennstoff in der axialen Stufe zu einem Gemisch aufbereitet werden. Daher ist das entstehende System robust und stabil verfügbar.
  • Weiterhin kann durch eine geeignete Fahrweise die Beaufschlagung der Axialstufe mit Brennstoff erst bei relativ hohen Lasten erfolgen. Bei niedrigeren Lasten wird die Brennstoffzufuhr zur axialen Stufe komplett abgeschaltet und diese verhält sich dann wie ein Luftbypass. Dadurch kann die Primärzone selbst bei sehr tiefen Lasten mit einer hohen lokalen Flammentemperatur betrieben werden, welche für einen guten Ausbrand und entsprechend niedrige CO-Emissionen sorgt. Die luftgestützte Axialstufe dient daher gleichermaßen einer Erweiterung des Betriebsbereiches des Verbrennungssystems zu niedrigeren und höheren Lasten.
  • Die Brennkammerwand kann eine äußere Oberfläche umfassen. Mindestens ein Injektor kann zumindest teilweise entlang der äußeren Oberfläche angeordnet sein. Dies hat den Vorteil, dass sich durch gute Ausnutzung des zur Verfügung stehenden Bauraums um die Brennkammer eine große Vormischlänge in den Injektoren trotz kompakter Bauweise ergibt. Weiterhin werden Emissionen gesenkt und thermoakustisches "Tuning" ist durch Anpassung von Totzeitgliedern in Flammentransferfunktionen möglich.
  • Die vorliegende Erfindung hat darüber hinaus folgende spezielle Vorteile: Durch die spiralförmige Anordnung kann eine lange Mischlänge in den Injektoren oder Scoops trotz kompakter Bauweise erzielt werden. Die Drallerzeugung sorgt für die Generierung zusätzlicher Gradienten und Scherschichten und somit für eine bessere Durchmischung mit der Hauptströmung. Durch ein gleichmäßigeres Turbineneintrittsprofil werden Emissionen gesenkt. Weiterhin wird eine einfache und kostengünstige Bauweise der Leitschaufeln der ersten Turbinenstufe (TLe 1) ermöglicht. Darüber hinaus eröffnet die vorliegende Erfindung großes Potenzial für eine Kühllufteinsparung und gegebenenfalls Sparpotenzial durch Verzicht auf die Leitschaufeln der ersten Turbinenstufe (TLe 1).
  • Der mindestens eine Injektor kann einen Ausgang mit einer Mittelachse umfassen. Dabei kann die Mittelachse einen Winkel α1 zwischen 0° und 180° mit der Hauptströmungsrichtung in der Brennkammer an der Position des jeweiligen Injektors einschließen. Dies bedeutet, dass das Brennstoff-Luft-Gemisch sowohl entgegen als auch in Hauptströmungsrichtung in die Sekundärzone eingebracht werden kann. Vorteilhafterweise kann der Winkel α1 zwischen 0° und 90°, insbesondere zwischen 20° und 70°, betragen. Dies entspricht einer Einströmung mit einer Komponente in Hauptströmungsrichtung. Vorteilhafterweise kann der Winkel α1 zwischen der Mittelachse des Injektorausgangs und der Hauptströmungsrichtung größer als 45° und kleiner als 90°, vorzugsweise kleiner als 70°, sein. Dadurch wird eine gute Durchmischung mit der Hauptströmung bei gleichzeitiger Erzeugung eines Dralls erreicht.
  • Grundsätzlich bestimmt die Mittelachse des Injektorausgangs die Einströmrichtung des injizierten Brennstoff-Luft-Gemisches in die Brennkammer. Die Hauptströmungsrichtung des Heißgases in der Brennkammer wird insbesondere durch die Brennerachse und die Geometrie der Brennkammer bestimmt. Die Hauptströmungsrichtung kann dabei die Form einer gekrümmten Kurve haben, die vom Brenner zum Brennkammerausgang verläuft.
  • Weiterhin kann der mindestens eine Injektor einen Ausgang mit einer Mittelachse umfassen, wobei diese einen Winkel α2 zwischen 0° und 180° mit der Längsachs der Brennkammer einschließen kann. Vorzugsweise liegt der Winkel α2 zwischen 0° und 90°, vorzugsweise zwischen 20° und 70°, was einer Einströmung in Hauptströmungsrichtung entspricht. Vorteilhafterweise ist der Winkel α2 größer als 45° und kleiner als 90° bzw. kleiner als 70°, um eine günstige Durchmischung des eingebrachten Brennstoff-Luft-Gemisches mit der Hauptströmung unter gleichzeitiger Drallerzeugung zu erreichen.
  • Der Ausgang des Injektors kann derart in Bezug auf die Hauptströmungsrichtung angeordnet sein, dass eine zur Hauptströmungsrichtung radiale Linie die Mittelachse des Injektors im Bereich seines Ausgangs unter einem Winkel β1, schneidet. Weiterhin kann der Ausgang des Injektors derart in Bezug auf die Längsachse der Brennkammer angeordnet sein, dass eine zur Längsachse radiale Linie die Mittelachse des Injektors im Bereich seines Ausgang unter einem Winkel β2 schneidet, wobei die Winkel β1 und β2 jeweils im Bereich zwischen 0° und 90°, vorteilhafterweise zwischen 20° und 70° oder zwischen 45° und 90° oder zwischen 45° und 70°, liegen.
  • Mit anderen Worten kann die Brennkammer eine radiale Richtung bezüglich der Hauptströmungsrichtung aufweisen. Die Einströmrichtung und/oder die Mittelachse des Injektors kann senkrecht zur Hauptströmungsrichtung einen Winkel β1 mit der radialen Richtung bezüglich der Hauptströmungsrichtung zwischen 0° und 90°, vorteilhafterweise zwischen 20° und 70° oder zwischen 45° und 90° oder zwischen 45° und 70° einschließen. Dies bedeutet, dass die Einströmrichtung und/oder die Mittelachse des Injektors senkrecht zur Hauptströmungsrichtung angeordnet sind bzw. eine tangentiale Komponente in Bezug auf die Hauptströmungsrichtung aufweist. Die in Bezug auf die Hauptströmungsrichtung tangentiale Komponente wird durch den Winkel β1 beschrieben. Erfindungsgemäß weist diese tangentiale Komponente eine in Umfangsrichtung weisende Komponente auf.
  • Darüber hinaus kann die Brennkammer eine radiale Richtung bezüglich der Längsachse umfassen. Die Einströmrichtung und/oder die Mittelachse des Injektors kann senkrecht zur Brennerachse einen Winkel β2 mit der radialen Richtung bezüglich der Längsachse zwischen 0° und 90°, vorteilhafterweise zwischen 20° und 70°, vorzugsweise zwischen 45° und 90° oder zwischen 45° und 70°, einschließen. Dies bedeutet, dass die Einströmrichtung und/oder die Mittelachse des Injektors eine durch den Winkel β2 beschriebene senkrecht zur Längsachse verlaufende Komponente aufweist, die gleichzeitig eine tangentiale Komponente bezüglich der Längsachse beschreibt. Erfindungsgemäß weist diese tangentiale Komponente eine in Umfangsrichtung weisende Komponente auf.
  • Die Brennkammer kann einen Brennstoffverteiler umfassen. Der Brennstoffverteiler kann mit mindestens einer Düse verbunden sein, die in dem mindestens einen Injektor angeordnet ist.
  • Der Brennstoffverteiler kann beispielsweise mit mehreren schräg angeordneten Düsen (nozzles) verbunden sein und Brennstoff an diese verteilen. In den Injektoren wird der Brennstoff mit Luft vermischt und anschließend mit einer in Umfangsrichtung der Brennkammer weisenden Komponente in die Brennkammer eingedüst.
  • Vorzugsweise handelt es sich bei dem Brennstoffverteiler um einen ringförmigen Brennstoffverteiler, der beispielsweise ringförmig um die Brennkammerwand herum angeordnet ist. Der Brennstoffverteiler kann an der äußeren Oberfläche der Brennkammerwand angeordnet sein. Zum Beispiel kann der Brennstoffverteiler in axialer Richtung nach (stromab) dem mindestens einen Injektor und vor(stromauf) dem Brennkammerausgang entlang der äußeren Brennkammeroberfläche angeordnet sein. Alternativ dazu kann der mindestens eine Injektor in axialer Richtung nach (stromab) dem Brennstoffverteiler und vor (stromauf) dem Brennkammerausgang entlang der äußeren Brennkammeroberfläche angeordnet sein.
  • Grundsätzlich können die Injektoren einen außerhalb der Brennkammer angeordneten Bereich umfassen, der zumindest teilweise in oder entgegen der Hauptströmungsrichtung entlang der äußeren Brennkammeroberfläche verläuft. Weiterhin kann der Injektor einen Strömungskanal zur Luftzufuhr umfassen. Beispielsweise kann eine Brennstoffdüse im Inneren des Injektors (Scoop) angeordnet sein. Die Brennstoffdüse kann von dem Strömungskanal zur Luftzufuhr zumindest teilweise umgeben sein.
  • Vorzugsweise ist eine Anzahl Injektoren umlaufend an der Brennkammerwand angeordnet. Dabei kann die Anzahl Injektoren gleichmäßig verteilt entlang des Umfangs der Brennkammerwand angeordnet sein.
  • Grundsätzlich kann sich in Hauptströmungsrichtung an die Primärzone ein Liner-Bereich anschließen, an den sich ein Übergangsbereich zum Brennkammerausgang anschließt. Dabei kann mindestens ein Injektor in dem Liner-Bereich angeordnet sein. Die erfindungsgemäße Gasturbine umfasst eine zuvor beschriebene Brennkammer. Sie hat dieselben Eigenschaften und Vorteile wie die zuvor beschriebene Brennkammer.
  • Das erfindungsgemäße Verfahren zum Betrieb einer zuvor beschriebenen Brennkammer oder zum Betrieb einer zuvor beschriebenen Gasturbine ist dadurch gekennzeichnet, dass ein Brennstoff-Luft-Gemisch durch den mindestens einen Injektor in die Sekundärzone der Brennkammer so eingebracht wird, dass die Einströmrichtung eine Komponente in Umfangsrichtung der Brennkammer aufweist. Das erfindungsgemäße Verfahren hat dieselben Vorteile wie die zuvor beschriebene erfindungsgemäße Brennkammer. Insbesondere werden mit Hilfe des in die Sekundärzone eingebrachten Brennstoff-Luft-Gemisches eine verbesserte Durchmischung der Hauptströmung und eine Senkung von Emissionen durch ein gleichmäßigeres Turbineneintrittsprofil erreicht. Im Übrigen wird auf die im Zusammenhang mit der erfindungsgemäßen Brennkammer genannten Vorteile verwiesen.
  • Beschreibung der Ausführungsbeispiele
  • Weitere Merkmale, Eigenschaften und Vorteile der vorliegenden Erfindung werden im Folgenden anhand von Ausführungsbeispielen unter Bezugnahme auf die beigefügten Figuren näher beschrieben. Die Ausführungsbeispiele schränken den durch die Patentansprüche bestimmten Schutzbereich der vorliegenden Erfindung nicht ein. Alle beschriebenen Merkmale sind dabei sowohl einzeln als auch in beliebiger Kombination miteinander vorteilhaft.
  • Figur 1
    zeigt beispielhaft eine Gasturbine in einem Längsteilschnitt.
    Figur 2
    zeigt schematisch eine Brennkammer einer Gasturbine.
    Figur 3
    zeigt schematisch einen Teil einer Brennkammer in einer teilweise perspektivischen und teilweise geschnittenen Ansicht.
    Figur 4
    zeigt einen Ausschnitt der bereits in der Figur 3 teilweise gezeigten Brennkammer in perspektivischer und geschnittener Ansicht.
    Figur 5
    zeigt schematisch die Anordnung der Brennstoffdüse innerhalb des Injektors in perspektivischer und teilweise geschnittener Ansicht.
    Figur 6
    zeigt schematisch einen Teil der erfindungsgemäßen Brennkammer im Bereich der Sekundärzone in perspektivischer Ansicht.
    Figur 7
    zeigt schematisch eine Draufsicht auf einen Schnitt durch die erfindungsgemäße Brennkammer im Bereich der Injektoren 8 in teilweise perspektivischer Ansicht.
    Figur 8
    zeigt schematisch die Mittelachse des Injektors bzw. die Einströmrichtung in Bezug auf die Hauptströmungsrichtung des Heißgases in der Brennkammer.
    Figur 9
    zeigt schematisch die Komponente der Einströmrichtung in Umfangsrichtung der Brennkammer.
  • Die Figur 1 zeigt beispielhaft eine Gasturbine 100 in einem Längsteilschnitt. Die Gasturbine 100 weist im Inneren einen um eine Rotationsachse 102 drehgelagerten Rotor 103 mit einer Welle 101 auf, der auch als Turbinenläufer bezeichnet wird.
  • Entlang des Rotors 103 folgen aufeinander ein Ansauggehäuse 104, ein Verdichter 105, eine beispielsweise torusartige Brennkammer 110, insbesondere Ringbrennkammer, mit mehreren koaxial angeordneten Brennern 107, eine Turbine 108 und das Abgasgehäuse 109.
  • Die Ringbrennkammer 110 kommuniziert mit einem beispielsweise ringförmigen Heißgaskanal 111. Dort bilden beispielsweise vier hintereinander geschaltete Turbinenstufen 112 die Turbine 108.
  • Jede Turbinenstufe 112 ist beispielsweise aus zwei Schaufelringen gebildet. In Strömungsrichtung eines Arbeitsmediums 113 gesehen, folgt im Heißgaskanal 111 einer Leitschaufelreihe 115 eine aus Laufschaufeln 120 gebildete Reihe 125.
  • Die Leitschaufeln 130 sind dabei an einem Innengehäuse 138 eines Stators 143 befestigt, wohingegen die Laufschaufeln 120 einer Reihe 125 beispielsweise mittels einer Turbinenscheibe 133 am Rotor 103 angebracht sind.
  • An dem Rotor 103 angekoppelt ist ein Generator oder eine Arbeitsmaschine (nicht dargestellt).
  • Während des Betriebes der Gasturbine 100 wird vom Verdichter 105 durch das Ansauggehäuse 104 Luft 135 angesaugt und verdichtet. Die am turbinenseitigen Ende des Verdichters 105 bereitgestellte verdichtete Luft wird zu den Brennern 107 geführt und dort mit einem Brennmittel vermischt. Das Gemisch wird dann unter Bildung des Arbeitsmediums 113 in der Brennkammer 110 verbrannt. Von dort aus strömt das Arbeitsmedium 113 entlang des Heißgaskanals 111 vorbei an den Leitschaufeln 130 und den Laufschaufeln 120. An den Laufschaufeln 120 entspannt sich das Arbeitsmedium 113 impulsübertragend, so dass die Laufschaufeln 120 den Rotor 103 antreiben und dieser die an ihn angekoppelte Arbeitsmaschine.
  • Die dem heißen Arbeitsmedium 113 ausgesetzten Bauteile unterliegen während des Betriebes der Gasturbine 100 thermischen Belastungen. Die Leitschaufeln 130 und Laufschaufeln 120 der in Strömungsrichtung des Arbeitsmediums 113 gesehen ersten Turbinenstufe 112 werden neben den die Ringbrennkammer 110 auskleidenden Hitzeschildelementen am meisten thermisch belastet.
  • Um den dort herrschenden Temperaturen standzuhalten, können diese mittels eines Kühlmittels gekühlt werden.
  • Als Material für die Bauteile, insbesondere für die Turbinenschaufeln 120, 130 und Bauteile der Brennkammer 110 werden beispielsweise eisen-, nickel- oder kobaltbasierte Superlegierungen verwendet.
  • Die Leitschaufel 130 weist einen dem Innengehäuse 138 der Turbine 108 zugewandten Leitschaufelfuß (hier nicht dargestellt) und einen dem Leitschaufelfuß gegenüberliegenden Leitschaufelkopf auf. Der Leitschaufelkopf ist dem Rotor 103 zugewandt und an einem Befestigungsring 140 des Stators 143 festgelegt.
  • Die Figur 2 zeigt schematisch eine Brennkammer 110 einer Gasturbine. Die Brennkammer 110 ist beispielsweise als so genannte Ringbrennkammer ausgestaltet, bei der eine Vielzahl von in Umfangsrichtung um eine Rotationsachse 102 herum angeordneten Brennern 107 in einen gemeinsamen Brennkammerraum 154 münden, die Flammen 156 erzeugen. Dazu ist die Brennkammer 110 in ihrer Gesamtheit als ringförmige Struktur ausgestaltet, die um die Rotationsachse 102 herum positioniert ist.
  • Zur Erzielung eines vergleichsweise hohen Wirkungsgrades ist die Brennkammer 110 für eine vergleichsweise hohe Temperatur des Arbeitsmediums M von etwa 1000°C bis 1600°C ausgelegt. Um auch bei diesen, für die Materialien ungünstigen Betriebsparametern eine vergleichsweise lange Betriebsdauer zu ermöglichen, ist die Brennkammerwand 153 auf ihrer dem Arbeitsmedium M zugewandten Seite mit einer aus Hitzeschildelementen 155 gebildeten Innenauskleidung versehen.
  • Aufgrund der hohen Temperaturen im Inneren der Brennkammer 110 kann zudem für die Hitzeschildelemente 155 bzw. für deren Halteelemente ein Kühlsystem vorgesehen sein. Die Hitzeschildelemente 155 sind dann beispielsweise hohl und weisen ggf. noch in den Brennkammerraum 154 mündende Kühllöcher (nicht dargestellt) auf.
  • Die Figur 3 zeigt schematisch einen Teil einer erfindungsgemäßen Brennkammer in einer teilweise perspektivischen und teilweise geschnittenen Ansicht. Die Brennkammer umfasst eine Brennkammerwand 1 und einen Brennkammerausgang 6. Die Hauptströmungsrichtung des Heißgases in der Brennkammer während des Betriebs der Brennkammer ist durch einen Pfeil 3 gekennzeichnet.
  • Die Brennkammer umfasst weiterhin eine Primärzone 4, in der der vom Brenner in die Brennkammer eingebrachte Brennstoff verbrannt wird. An die Primärzone schließt sich in Strömungsrichtung 3 eine Sekundärzone 5 an. In der Sekundärzone 5 wird das Heißgas aus der Primärzone 4 weiter abgebrannt. Dies erfolgt durch zusätzliches Einbringen eines Brennstoff-Luft-Gemisches 14 in die Sekundärzone 5 mit Hilfe von Injektoren 8.
  • Die Injektoren 8 umfassen eine Luftzufuhr 13 und einen in die Brennkammer mündenden Ausgang 9. Weiterhin ist im Inneren jedes Injektors 8 eine Brennstoffdüse 10 angeordnet. Die Brennstoffdüse 10 ist mit einem Brennstoffverteiler 11, vorzugsweise einem ringförmigen Brennstoffverteiler 11, verbunden. Mit Hilfe der Brennstoffdüse 10 wird Brennstoff in das Innere des Injektors 8 eingedüst und auf diese Weise im Inneren des Injektors 8 ein Brennstoff-Luft-Gemisch erzeugt. Das so erzeugte Brennstoff-Luft-Gemisch wird dann durch den Injektorausgang bzw. die Eindüsöffnung 9 in die Brennkammer im Bereich der Sekundärzone 5 eingedüst. Erfindungsgemäß mit mindestens einer in Umfangsrichtung der Brennkammer verlaufenden Komponente.
  • In der Figur 3 ist zwischen der Primärzone 4 und dem Brennkammerausgang 6 ein Liner-Bereich 7 und ein Übergangsbereich 25 angeordnet, die in der Figur 3 jeweils als separate Bauteile ausgestaltet sind. Zwischen der Primärzone 4 und dem Liner-Bereich 7 ist mindestens ein Dichtungsring 12 angeordnet. Weiterhin ist auch zwischen dem Liner-Bereich 7 und dem Übergangsbauelement 25 wenigstens ein Dichtungsring 12 angeordnet. Die Injektoren 8 sind mit dem Liner-Bereich 7 verbunden. Die Injektorausgänge bzw. Eindüsöffnungen 9 münden im Bereich des Liner-Bereichs 7 in die Sekundärzone 5 der Brennkammer.
  • Die Figur 4 zeigt einen Ausschnitt der bereits in der Figur 3 teilweise gezeigten Brennkammer in perspektivischer und geschnittener Ansicht. Zusätzlich zu den bereits in der Figur 3 gezeigten und in diesem Zusammenhang beschriebenen Bauelementen ist in der Figur 4 eine Brennstoffzufuhr 15 gezeigt, die den Brennstoffverteiler 11 mit Brennstoff versorgt.
  • Die Figur 5 zeigt schematisch die Anordnung der Brennstoffdüse innerhalb des Injektors in perspektivischer und teilweise geschnittener Ansicht. Die Brennstoffdüse 10 ist mit dem ringförmigen Brennstoffverteiler 11 verbunden und wird von diesem mit Brennstoff versorgt. Der Injektor umfasst einen Eingang 33 mit einem Lufteinlass 9. Die Spitze der Brennstoffdüse 10 umfasst Brennstoffeinspritzöffnungen 36. Die Brennstoffdüse 10 ist teilweise innerhalb des Injektors 8 angeordnet. In der Figur 5 ist die Spitze der Brennstoffdüse 10 einschließlich der Brennstoffeinspritzöffnungen 36 im Bereich der Mittelachse 2 des Injektors 8 innerhalb des Injektors 8 angeordnet. Durch die Brennstoffeinspritzöffnungen 36 wird Brennstoff in Richtung 37 senkrecht zur Mittelachse 2 des Injektors 8 im Bereich der Luftzufuhr 9 in den Injektor 8 eingedüst. Dabei wird ein Brennstoff-Luft-Gemisch erzeugt, welches durch den Injektor 8 in Strömungsrichtung 35 zur Brennkammer geleitet wird.
  • Die Figur 6 zeigt schematisch einen Teil der erfindungsgemäßen Brennkammer im Bereich der Sekundärzone in perspektivischer Ansicht. In der in der Figur 6 gezeigten Ausführungsvariante ist der Liner-Bereich 7 und der Übergangsbereich 25 einstückig als ein zusammenhängendes Übergangselement ausgestaltet. Der in der Figur 6 gezeigte Bereich der Brennkammer umfasst eine Mittelachse 34, die parallel zur Hauptströmungsrichtung 3 des die Brennkammer durchströmenden Heißgasgemisches verläuft, und eine Außenoberfläche 32. An der Außenoberfläche 32 ist ein ringförmiger Brennstoffverteiler 11 angeordnet. Dieser ist mit einer Anzahl Brennstoffdüsen 10 verbunden, die wie im Zusammenhang mit den Figuren 3 bis 5 beschrieben, einer Anzahl Injektoren 8 Brennstoff zuführen.
  • Die Injektoren 8 sind gleichmäßig entlang des Umfangs der Brennkammer an der Außenoberfläche 32 angeordnet. Dabei sind die Injektoren 8 und die Brennstoffdüsen 10 in Bezug auf die Mittelachse 34 bzw. die Hauptströmungsrichtung 3 spiralförmig entlang der Außenoberfläche 32 angeordnet. Dadurch wird ein Einbringen des in den Injektoren erzeugten Brennstoff-Luft-Gemisches mit einer in Umfangsrichtung der Brennkammer weisenden Komponente der Einströmrichtung in die Brennkammer erzielt. Auf diese Weise wird innerhalb der Brennkammer ein Drall des die Brennkammer durchströmenden Heißgas-Gemisches erzeugt.
  • Dies ist schematisch in der Figur 7 gezeigt. Die Figur 7 zeigt schematisch eine Draufsicht auf einen Schnitt durch die erfindungsgemäße Brennkammer im Bereich der Injektoren 8 in teilweise perspektivischer Ansicht. Die jeweilige Einströmrichtung des Brennstoff-Luft-Gemisches aus den Injektoren 8 in die Brennkammer ist mit den Bezugsziffern 23 gekennzeichnet. Durch das eine Umfangskomponente aufweisende Einströmen des Brennstoff-Luft-Gemisches in die Brennkammer wird in Bezug auf die Hauptströmungsrichtung 3 bzw. in Bezug auf die Längsachse 34 der Brennkammer ein Drall erzeugt.
  • Die Figur 8 zeigt schematisch die Mittelachse 2 des Injektors 8 bzw. die Einströmrichtung 23 in Bezug auf die Hauptströmungsrichtung 3 des Heißgases in der Brennkammer bzw. in Bezug auf die Längsachse 34 der Brennkammer. In der Figur 8 ist die Hauptströmungsrichtung 3 in Form einer Achse schematisch gezeigt. Die Mittelachse des Injektors 2 bzw. die Einströmrichtung 23 des aus dem Injektorausgang 9 in die Brennkammer einströmenden Brennstoff-Luft-Gemisches schließt mit der Hauptströmungsrichtung 3 einen Winkel α1 bzw. mit der Längsachse 34 der Brennkammer einen Winkel α2 ein. Dabei können die Winkel α1 grundsätzlich Werte zwischen 0° und 180°, beispielsweise zwischen 20° und 70°, vorzugsweise zwischen 45° und 70°, annehmen.
  • Die Figur 9 zeigt schematisch die tangentiale Komponente der Einströmrichtung bzw. die Komponente der Einströmrichtung in Umfangsrichtung der Brennkammer. Dazu ist in der Figur 9 schematisch ein Schnitt durch einen Teil der Brennkammer senkrecht zur Hauptströmungsrichtung 3 bzw. alternativ dazu senkrecht zur Längsachse 34 gezeigt. Eine zur Hauptströmungsrichtung 3 radiale Linie, die die Mittelachse 2 des Injektors 8 im Bereich seines Ausgangs 9 schneidet ist durch die Bezugsziffer 19 gekennzeichnet. Weiterhin ist eine zur Längsachse 34 der Brennkammer radiale Linie, die die Mittelachse 2 des Injektors 8 im Bereich seines Ausgangs 9 schneidet, ebenfalls durch die Bezugsziffer 19 gekennzeichnet. Die radiale Linie 19 weist einen rechten Winkel zur Hauptströmungsrichtung 3 und/oder einen rechten Winkel zur Längsachse 34 auf.
  • Die jeweilige radiale Richtung oder radiale Linie 19 schließt mit der Einströmrichtung 23 bzw. mit der Mittelachse des Injektors 2 einen Winkel β1 ein, falls sich die radiale Linie 19 auf die Hauptströmungsrichtung 3 bezieht. Falls sich die radiale Linie 19 auf die Längsachse 34 bezieht, so schließt die radiale Linie 19 mit der Einströmrichtung 23 bzw. der Mittelachse 2 des Injektors 8 einen Winkel β2 ein. Die Winkel β1 und β2 können zwischen 0° und 90°, vorzugsweise zwischen 20° und 70°, beispielsweise zwischen 45° und 70° betragen.

Claims (13)

  1. Brennkammer mit einer Längsachse (34, 102), einem Brennkammerkopfende, einem Brennkammerausgang (6), einer Brennkammerwand (1), die sich vom Brennkammerkopfende zum Brennkammerausgang (6) erstreckt, einer Primärzone (4) und einer Sekundärzone (5), die in Hauptströmungsrichtung (3) des Heißgases stromabwärts der Primärzone (4) anordnet ist, wobei die Brennkammer mindestens einen in der Sekundärzone (5) an der Brennkammerwand (1) angeordneten Injektor (8) zum Einbringen eines Brennstoff-Luft-Gemisches in die Sekundärzone (5) umfasst,
    der Injektor (8) einen in die Sekundärzone mündenden Ausgang (9) mit einer Einströmrichtung (23) aufweist, wobei die Einströmrichtung (23) eine Komponente in Umfangsrichtung der Brennkammer aufweist,
    dadurch gekennzeichnet, dass die Brennkammerwand (1) eine äußere Oberfläche (32) umfasst und mindestens ein Injektor (8) zumindest teilweise spiralförmig in Bezug auf die Längsachse (34, 102) der Brennkammer entlang der äußeren Oberfläche (32) angeordnet ist.
  2. Brennkammer nach Anspruch 1,
    dadurch gekennzeichnet, dass der mindestens eine Injektor (8) einen Ausgang (9) mit einer Mittelachse (2) umfasst, wobei die Mittelachse (2) einen Winkel α1 zwischen 0° und 180° mit der Hauptströmungsrichtung (3) in der Brennkammer an der Position des Injektors (8) einschließt.
  3. Brennkammer nach Anspruch 1 oder Anspruch 2, dadurch gekennzeichnet, dass der mindestens eine Injektor (8) einen Ausgang (9) mit einer Mittelachse (2) umfasst, wobei die Mittelachse (2) einen Winkel α2 zwischen 0° und 90° mit der Längsachse (34, 102) der Brennkammer einschließt.
  4. Brennkammer nach einem der Ansprüche 1 bis 3, dadurch gekennzeichnet, dass der Ausgang (9) des Injektors (8) derart in Bezug auf die Hauptströmungsrichtung (3) angeordnet ist, dass eine zur Hauptströmungsrichtung (3) radiale Linie (19) die Mittelachse (2) des Injektors (8) im Bereich seines Ausgang (9) unter einem Winkel β1, schneidet, oder der Ausgang (9) des Injektors (8) derart in Bezug auf die Längsachse (34, 102) der Brennkammer angeordnet ist, dass eine zur Längsachse (34, 102) radiale Linie (19) die Mittelachse (2) des Injektors (8) im Bereich seines Ausgang (9) unter einem Winkel β2 schneidet, wobei die Winkel β1 und β2 jeweils im Bereich zwischen 0° und 90° liegen.
  5. Brennkammer nach einem der Ansprüche 1 bis 4, dadurch gekennzeichnet, dass die Brennkammer eine Rohrbrennkammer ist.
  6. Brennkammer nach einem der Ansprüche 1 bis 5, dadurch gekennzeichnet, dass die Brennkammer einen Brennstoffverteiler (11) umfasst, der mit mindestens einer Düse (10) verbunden ist, die in dem mindestens einen Injektor (8) angeordnet ist.
  7. Brennkammer nach Anspruch 6,
    dadurch gekennzeichnet, dass der Brennstoffverteiler (11) ringförmig um die Brennkammerwand (1) herum angeordnet ist.
  8. Brennkammer nach Anspruch 6 oder Anspruch 7, dadurch gekennzeichnet, dass der Brennstoffverteiler (11) in axialer Richtung (34) nach dem mindestens einen Injektor (8) und vor dem Brennkammerausgang (6) entlang der äußeren Brennkammeroberfläche angeordnet ist oder der mindestens eine Injektor (8) in axialer Richtung (34) nach dem Brennstoffverteiler (11) und vor dem Brennkammerausgang (6) entlang der äußeren Brennkammeroberfläche angeordnet ist.
  9. Brennkammer nach einem der Ansprüche 1 bis 8, dadurch gekennzeichnet, dass der mindestens eine Injektor (8) einen Strömungskanal (30) zur Luftzufuhr (33) umfasst.
  10. Brennkammer nach einem der Ansprüche 1 bis 9, dadurch gekennzeichnet, dass eine Anzahl Injektoren (8) umlaufend an der Brennkammerwand (1) angeordnet sind.
  11. Brennkammer nach einem der Ansprüche 1 bis 10, dadurch gekennzeichnet, dass sich in Hauptströmungsrichtung (3) an die Primärzone (4) ein Liner-Bereich (7) anschließt, an den sich ein Übergangsbereich (25) zum Brennkammerausgang (6) anschließt, und der mindestens eine Injektor (8) in dem Liner-Bereich (7) angeordnet ist.
  12. Gasturbine (100), die eine Brennkammer nach einem der Ansprüche 1 bis 11 umfasst.
  13. Verfahren zum Betrieb einer Brennkammer nach einem der Ansprüche 1 bis 11 oder zum Betrieb einer Gasturbine (100) nach Anspruch 12,
    dadurch gekennzeichnet, dass ein Brennstoff-Luft-Gemisch durch den mindestens einen Injektor (8) in die Sekundärzone (5) der Brennkammer so eingebracht wird, dass die Einströmrichtung (23) eine Komponente in Umfangsrichtung der Brennkammer aufweist.
EP13170045.2A 2013-05-31 2013-05-31 Gasturbinen-Brennkammer mit Tangentialeindüsung als späte Mager-Einspritzung Withdrawn EP2808610A1 (de)

Priority Applications (1)

Application Number Priority Date Filing Date Title
EP13170045.2A EP2808610A1 (de) 2013-05-31 2013-05-31 Gasturbinen-Brennkammer mit Tangentialeindüsung als späte Mager-Einspritzung

Applications Claiming Priority (1)

Application Number Priority Date Filing Date Title
EP13170045.2A EP2808610A1 (de) 2013-05-31 2013-05-31 Gasturbinen-Brennkammer mit Tangentialeindüsung als späte Mager-Einspritzung

Publications (1)

Publication Number Publication Date
EP2808610A1 true EP2808610A1 (de) 2014-12-03

Family

ID=48534273

Family Applications (1)

Application Number Title Priority Date Filing Date
EP13170045.2A Withdrawn EP2808610A1 (de) 2013-05-31 2013-05-31 Gasturbinen-Brennkammer mit Tangentialeindüsung als späte Mager-Einspritzung

Country Status (1)

Country Link
EP (1) EP2808610A1 (de)

Cited By (3)

* Cited by examiner, † Cited by third party
Publication number Priority date Publication date Assignee Title
WO2017018982A1 (en) * 2015-07-24 2017-02-02 Siemens Aktiengesellschaft Gas turbine transition duct with late lean injection having reduced combustion residence time
CN115234943A (zh) * 2022-06-30 2022-10-25 北京航空航天大学 中心分级与轴向分级耦合式燃烧室
EP4187153A1 (de) * 2021-11-24 2023-05-31 Raytheon Technologies Corporation Gasturbinenbrennkammer mit integrierter brennstoffleitung/integrierten brennstoffleitungen

Citations (9)

* Cited by examiner, † Cited by third party
Publication number Priority date Publication date Assignee Title
JPS61105029A (ja) * 1984-10-29 1986-05-23 Kawasaki Heavy Ind Ltd 予混合型ガスタ−ビン燃焼器
DE4232383A1 (de) 1992-09-26 1994-03-31 Asea Brown Boveri Gasturbogruppe
US6047550A (en) 1996-05-02 2000-04-11 General Electric Co. Premixing dry low NOx emissions combustor with lean direct injection of gas fuel
US6418725B1 (en) 1994-02-24 2002-07-16 Kabushiki Kaisha Toshiba Gas turbine staged control method
US6868676B1 (en) 2002-12-20 2005-03-22 General Electric Company Turbine containing system and an injector therefor
US20060156735A1 (en) * 2005-01-15 2006-07-20 Siemens Westinghouse Power Corporation Gas turbine combustor
DE102006053679A1 (de) 2005-11-15 2007-05-24 General Electric Co. Niedrigemissionsbrennkammer und Betriebsverfahren
US20090084082A1 (en) 2007-09-14 2009-04-02 Siemens Power Generation, Inc. Apparatus and Method for Controlling the Secondary Injection of Fuel
US20110067402A1 (en) 2009-09-24 2011-03-24 Wiebe David J Fuel Nozzle Assembly for Use in a Combustor of a Gas Turbine Engine

Patent Citations (10)

* Cited by examiner, † Cited by third party
Publication number Priority date Publication date Assignee Title
JPS61105029A (ja) * 1984-10-29 1986-05-23 Kawasaki Heavy Ind Ltd 予混合型ガスタ−ビン燃焼器
DE4232383A1 (de) 1992-09-26 1994-03-31 Asea Brown Boveri Gasturbogruppe
US6418725B1 (en) 1994-02-24 2002-07-16 Kabushiki Kaisha Toshiba Gas turbine staged control method
US6047550A (en) 1996-05-02 2000-04-11 General Electric Co. Premixing dry low NOx emissions combustor with lean direct injection of gas fuel
US6192688B1 (en) 1996-05-02 2001-02-27 General Electric Co. Premixing dry low nox emissions combustor with lean direct injection of gas fule
US6868676B1 (en) 2002-12-20 2005-03-22 General Electric Company Turbine containing system and an injector therefor
US20060156735A1 (en) * 2005-01-15 2006-07-20 Siemens Westinghouse Power Corporation Gas turbine combustor
DE102006053679A1 (de) 2005-11-15 2007-05-24 General Electric Co. Niedrigemissionsbrennkammer und Betriebsverfahren
US20090084082A1 (en) 2007-09-14 2009-04-02 Siemens Power Generation, Inc. Apparatus and Method for Controlling the Secondary Injection of Fuel
US20110067402A1 (en) 2009-09-24 2011-03-24 Wiebe David J Fuel Nozzle Assembly for Use in a Combustor of a Gas Turbine Engine

Cited By (6)

* Cited by examiner, † Cited by third party
Publication number Priority date Publication date Assignee Title
WO2017018982A1 (en) * 2015-07-24 2017-02-02 Siemens Aktiengesellschaft Gas turbine transition duct with late lean injection having reduced combustion residence time
CN107923621A (zh) * 2015-07-24 2018-04-17 西门子公司 具有减少的燃烧停留时间的带延迟稀薄喷射的燃气涡轮过渡管道
CN107923621B (zh) * 2015-07-24 2020-03-10 西门子公司 具有减少的燃烧停留时间的带延迟稀薄喷射的燃气涡轮过渡管道
EP4187153A1 (de) * 2021-11-24 2023-05-31 Raytheon Technologies Corporation Gasturbinenbrennkammer mit integrierter brennstoffleitung/integrierten brennstoffleitungen
US11808455B2 (en) 2021-11-24 2023-11-07 Rtx Corporation Gas turbine engine combustor with integral fuel conduit(s)
CN115234943A (zh) * 2022-06-30 2022-10-25 北京航空航天大学 中心分级与轴向分级耦合式燃烧室

Similar Documents

Publication Publication Date Title
EP2808611B1 (de) Injektor zum Einbringen eines Brennstoff-Luft-Gemisches in eine Brennkammer
DE102007004864C5 (de) Brennkammer einer Gasturbine und Verbrennungssteuerverfahren für eine Gasturbine
WO2014191495A1 (de) Gasturbinen-ringbrennkammer mit tangentialeindüsung als späte mager-einspritzung
DE102005024062B4 (de) Brennerrohr und Verfahren zum Mischen von Luft und Gas in einem Gasturbinentriebwerk
DE69312362T2 (de) Brennkammer mit Verdünnungsleitschaufeln
EP0781967B1 (de) Gasturbinenringbrennkammer
CH710573A2 (de) Brennstoffdüse für eine Gasturbinenbrennkammer.
CH708992A2 (de) Brennstoffinjektor mit Vormisch-Pilotdüse.
DE112013007579B4 (de) Flüssigbrennstoffpatrone für eine Brennstoffdüse und Brennstoffdüse
DE102015122924A1 (de) Pilotdüse in einer Gasturbinenbrennkammer
DE102015122927A1 (de) Pilotdüse in einer Gasturbinenbrennkammer
CH707751A2 (de) Verfahren zur Konfiguration eines stromabwärtigen Brennstoff- und Luftinjektionssystems einer Gasturbine.
DE3821078A1 (de) Ringvergasungsbrenner fuer gasturbine
CH707760A2 (de) Gasturbine mit einer stromabwärtigen Brennstoff- und Luftinjektion.
WO2010105956A1 (de) Brenneranordnung für fluidische brennstoffe und verfahren zum herstellen der brenneranordnung
EP4500082A2 (de) Düsenbaugruppe mit zentraler kraftstoffzufuhr und wenigstens einem luftkanal
EP2678609A1 (de) Gasturbinenbrennkammer
EP2507557B1 (de) Brenneranordnung
DE102014111070A1 (de) System zum Einspritzen eines flüssigen Brennstoffs in ein Verbrennungsgasströmungsfeld
WO2023180320A1 (de) Düsenbaugruppe mit gegen eine einströmung von luft abgedichtetem zentralen kraftstoffrohr
WO2010106034A2 (de) Verfahren zum betrieb eines brenners und brenner, insbesondere für eine gasturbine
EP2409086B1 (de) Brenneranordnung für eine gasturbine
EP2808610A1 (de) Gasturbinen-Brennkammer mit Tangentialeindüsung als späte Mager-Einspritzung
EP1662202B1 (de) Brenner für eine Gasturbinenanlage
EP2808612A1 (de) Gasturbinen-Brennkammer mit Tangentialeindüsung als späte Mager-Einspritzung

Legal Events

Date Code Title Description
PUAI Public reference made under article 153(3) epc to a published international application that has entered the european phase

Free format text: ORIGINAL CODE: 0009012

17P Request for examination filed

Effective date: 20130531

AK Designated contracting states

Kind code of ref document: A1

Designated state(s): AL AT BE BG CH CY CZ DE DK EE ES FI FR GB GR HR HU IE IS IT LI LT LU LV MC MK MT NL NO PL PT RO RS SE SI SK SM TR

AX Request for extension of the european patent

Extension state: BA ME

STAA Information on the status of an ep patent application or granted ep patent

Free format text: STATUS: THE APPLICATION IS DEEMED TO BE WITHDRAWN

18D Application deemed to be withdrawn

Effective date: 20150604