EP2574792B1 - Vane pump - Google Patents

Vane pump Download PDF

Info

Publication number
EP2574792B1
EP2574792B1 EP11182852.1A EP11182852A EP2574792B1 EP 2574792 B1 EP2574792 B1 EP 2574792B1 EP 11182852 A EP11182852 A EP 11182852A EP 2574792 B1 EP2574792 B1 EP 2574792B1
Authority
EP
European Patent Office
Prior art keywords
cover part
vane pump
peripheral part
rotor unit
pump
Prior art date
Legal status (The legal status is an assumption and is not a legal conclusion. Google has not performed a legal analysis and makes no representation as to the accuracy of the status listed.)
Active
Application number
EP11182852.1A
Other languages
German (de)
French (fr)
Other versions
EP2574792A1 (en
Inventor
Stefan Hammer
Michael Rombach
Andreas Kuhnekath
Current Assignee (The listed assignees may be inaccurate. Google has not performed a legal analysis and makes no representation or warranty as to the accuracy of the list.)
Pierburg Pump Technology GmbH
Original Assignee
Pierburg Pump Technology GmbH
Priority date (The priority date is an assumption and is not a legal conclusion. Google has not performed a legal analysis and makes no representation as to the accuracy of the date listed.)
Filing date
Publication date
Application filed by Pierburg Pump Technology GmbH filed Critical Pierburg Pump Technology GmbH
Priority to EP11182852.1A priority Critical patent/EP2574792B1/en
Priority to PCT/EP2012/063004 priority patent/WO2013045127A2/en
Publication of EP2574792A1 publication Critical patent/EP2574792A1/en
Application granted granted Critical
Publication of EP2574792B1 publication Critical patent/EP2574792B1/en
Active legal-status Critical Current
Anticipated expiration legal-status Critical

Links

Images

Classifications

    • FMECHANICAL ENGINEERING; LIGHTING; HEATING; WEAPONS; BLASTING
    • F04POSITIVE - DISPLACEMENT MACHINES FOR LIQUIDS; PUMPS FOR LIQUIDS OR ELASTIC FLUIDS
    • F04CROTARY-PISTON, OR OSCILLATING-PISTON, POSITIVE-DISPLACEMENT MACHINES FOR LIQUIDS; ROTARY-PISTON, OR OSCILLATING-PISTON, POSITIVE-DISPLACEMENT PUMPS
    • F04C28/00Control of, monitoring of, or safety arrangements for, pumps or pumping installations specially adapted for elastic fluids
    • F04C28/24Control of, monitoring of, or safety arrangements for, pumps or pumping installations specially adapted for elastic fluids characterised by using valves controlling pressure or flow rate, e.g. discharge valves or unloading valves
    • F04C28/26Control of, monitoring of, or safety arrangements for, pumps or pumping installations specially adapted for elastic fluids characterised by using valves controlling pressure or flow rate, e.g. discharge valves or unloading valves using bypass channels
    • F04C28/265Control of, monitoring of, or safety arrangements for, pumps or pumping installations specially adapted for elastic fluids characterised by using valves controlling pressure or flow rate, e.g. discharge valves or unloading valves using bypass channels being obtained by displacing a lateral sealing face
    • FMECHANICAL ENGINEERING; LIGHTING; HEATING; WEAPONS; BLASTING
    • F01MACHINES OR ENGINES IN GENERAL; ENGINE PLANTS IN GENERAL; STEAM ENGINES
    • F01CROTARY-PISTON OR OSCILLATING-PISTON MACHINES OR ENGINES
    • F01C21/00Component parts, details or accessories not provided for in groups F01C1/00 - F01C20/00
    • F01C21/10Outer members for co-operation with rotary pistons; Casings
    • F01C21/104Stators; Members defining the outer boundaries of the working chamber
    • F01C21/108Stators; Members defining the outer boundaries of the working chamber with an axial surface, e.g. side plates
    • FMECHANICAL ENGINEERING; LIGHTING; HEATING; WEAPONS; BLASTING
    • F04POSITIVE - DISPLACEMENT MACHINES FOR LIQUIDS; PUMPS FOR LIQUIDS OR ELASTIC FLUIDS
    • F04CROTARY-PISTON, OR OSCILLATING-PISTON, POSITIVE-DISPLACEMENT MACHINES FOR LIQUIDS; ROTARY-PISTON, OR OSCILLATING-PISTON, POSITIVE-DISPLACEMENT PUMPS
    • F04C18/00Rotary-piston pumps specially adapted for elastic fluids
    • F04C18/30Rotary-piston pumps specially adapted for elastic fluids having the characteristics covered by two or more of groups F04C18/02, F04C18/08, F04C18/22, F04C18/24, F04C18/48, or having the characteristics covered by one of these groups together with some other type of movement between co-operating members
    • F04C18/34Rotary-piston pumps specially adapted for elastic fluids having the characteristics covered by two or more of groups F04C18/02, F04C18/08, F04C18/22, F04C18/24, F04C18/48, or having the characteristics covered by one of these groups together with some other type of movement between co-operating members having the movement defined in group F04C18/08 or F04C18/22 and relative reciprocation between the co-operating members
    • F04C18/344Rotary-piston pumps specially adapted for elastic fluids having the characteristics covered by two or more of groups F04C18/02, F04C18/08, F04C18/22, F04C18/24, F04C18/48, or having the characteristics covered by one of these groups together with some other type of movement between co-operating members having the movement defined in group F04C18/08 or F04C18/22 and relative reciprocation between the co-operating members with vanes reciprocating with respect to the inner member
    • F04C18/3441Rotary-piston pumps specially adapted for elastic fluids having the characteristics covered by two or more of groups F04C18/02, F04C18/08, F04C18/22, F04C18/24, F04C18/48, or having the characteristics covered by one of these groups together with some other type of movement between co-operating members having the movement defined in group F04C18/08 or F04C18/22 and relative reciprocation between the co-operating members with vanes reciprocating with respect to the inner member the inner and outer member being in contact along one line or continuous surface substantially parallel to the axis of rotation
    • FMECHANICAL ENGINEERING; LIGHTING; HEATING; WEAPONS; BLASTING
    • F04POSITIVE - DISPLACEMENT MACHINES FOR LIQUIDS; PUMPS FOR LIQUIDS OR ELASTIC FLUIDS
    • F04CROTARY-PISTON, OR OSCILLATING-PISTON, POSITIVE-DISPLACEMENT MACHINES FOR LIQUIDS; ROTARY-PISTON, OR OSCILLATING-PISTON, POSITIVE-DISPLACEMENT PUMPS
    • F04C28/00Control of, monitoring of, or safety arrangements for, pumps or pumping installations specially adapted for elastic fluids
    • F04C28/28Safety arrangements; Monitoring

Definitions

  • the invention relates to a vane pump for a compressible fluid having a sealed housing, which has a pump chamber, wherein the housing is essentially constructed of a flange, a peripheral part and a cover part, wherein in the flange part, a rotor shaft with a rotor unit, the at least one slide element has, is rotatably mounted such that the rotor unit divides the pump chamber into at least two sub-chambers and provides a pressure / negative pressure build-up.
  • Such vane pumps are used for example in braking systems of motor vehicles. Further fields of application are transmissions, longitudinal systems as well as active suspension systems of motor vehicles.
  • the DE 38 32 042 C2 discloses a vane pump with a slidably mounted slide element, which thus divides the pump chamber into two sub-chambers.
  • the vane pump of this document at the ends of the slide element pivotally mounted sliders, which are in operative connection with the peripheral part.
  • lubricating oil of the motor vehicle is sucked into the pump chamber and pressed out of the pump chamber during pivoting of the slide element.
  • the lubricating oil especially in the cold state, ie at low ambient temperatures and not yet reached operating condition of the engine has a low flowability. This can lead to a high, undesirable pressure build-up, in particular during the starting process, which places such a load on the slide elements and thus also on the pressure the rotor unit represents that it may come to a failure of the vane pump.
  • a compressor known which provides a pressure relief valve as a protection.
  • the DE 1 628 245 discloses all features of the preamble of claim 1 and is considered to be the closest prior art of Tecknik.
  • the object of the invention is therefore to provide a cost-effective, simply constructed vane pump, which avoids the above-mentioned disadvantage.
  • the cover part is designed to be movable in the axial direction of the rotor shaft, such that when the pressure in a sub-chamber is too high, pressure is relieved by a fluidic connection to the adjacent sub-chamber.
  • a movable cover part allows by its flexibility an overflow of the fluid into an adjacent chamber and thus a short-term pressure reduction, whereby a failure of the vacuum pump can be prevented.
  • An advantageous embodiment results from the fact that the cover part is arranged radially sealed flexible on the peripheral part. In this case, an elastic Klips- or spring connection connect the cover part with the peripheral part. In this way it is possible to produce a mobility in the axial direction in a simple manner with a simple cover part.
  • the cover part can also be made flexible, so that it provides the necessary mobility in the axial direction, either alone or in conjunction with an elastic Klips- or spring connection.
  • the cover part can be rigidly connected, for example with screws, to the peripheral part, so that no adaptation of the assembly process is necessary.
  • the cover part in the circumferential direction at least one recess and the peripheral part over have the circumference distributed openings, wherein two-legged spring members are provided, which extend through the openings and are supported with the first, directed to the rotor unit leg on the cover part and are supported with the second, remote from the rotor unit leg on the peripheral part.
  • the cover part may alternatively also have a circumferential recess.
  • the flange part may be made in one piece around the peripheral part.
  • FIG. 1 shows a schematic perspective view of an open vane pump 2.
  • an open housing 4 can be seen that defines a pump chamber 6.
  • the housing 4 consists essentially of a flange part 8, a peripheral part 10 and a cover part 12, which has been omitted in this view.
  • a rotor unit 16 with a slide element 20 the pump chamber is divided into two sub-chambers 5, 7, in which a negative pressure is built up by rotation of the rotor unit.
  • a suction port not shown, air is sucked in and removed via an outlet, not shown.
  • vehicle lubricating oil for lubrication of the rotor unit 16 in the housing 2 is vehicle lubricating oil, which is sucked in a known manner via openings in the pump chamber 6 and pressed through corresponding openings, not shown.
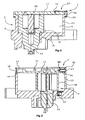
  • FIG. 2 shows a sectional view of a first embodiment of the vane pump 2 according to the invention.
  • the flange 8 and the peripheral part 10 are made in one piece in the present embodiment.
  • the rotor unit 16 is driven.
  • the rotor shaft 14 and a rotor base portion 18, in which the slide member 20 is slidably disposed are integrally formed in the present embodiment, the slide member 20 divides the pump chamber 6, as in FIG. 1 shown, in two sub-chambers 5, 7.
  • the rotor shaft 14 may be connected in a known manner by a non-illustrated coupling with a camshaft of the internal combustion engine.
  • the cover element 12 is made in the present embodiment of a flexible material, such as sheet metal, and is connected via a clip connection 22 with the peripheral part 10.
  • the clip connection 22 in this case consists of recesses 24, 26 engage in the Klips institute 28, wherein the left side of the vane pump 2 is shown without engaging Klips institute 28.
  • the recesses 24, 26 may also be designed as a continuous, circumferential recess, so that a circumferential clip element 28 produces the clip connection.
  • FIG. 3 Now shows a further embodiment of the vane pump according to the invention 2.
  • the vane pump 2 according to FIG. 3 is basically the same as the vane pump 2 made FIG. 2 , Recognizable in this embodiment is still an oil drain opening 26 with built-in valve.
  • the cover part 12 is rigid and, for the purpose of saving weight, has essentially a smaller thickness than the cover part 12 FIG. 2 on. Here, however, ribs are still provided to ensure the necessary rigidity.
  • the cover part 12 has a circumferential recess 30.
  • the peripheral part 10 has a number of circumferentially distributed openings 32 through which two-legged spring members 34 engage the recess 30. In this case, a first, directed to the rotor unit 16 leg 36 is supported on the cover part 12. A second leg 38 facing away from the rotor unit 16 is supported in the recess on the peripheral part 10.
  • the cover part 12 lifts off from a contact edge 40 of the peripheral part 10 and thus provides pressure relief by a fluidic connection of the two partial chambers 5, 7. It should be clear that Instead of a single circumferential recess 30, a plurality of recesses distributed over the circumference of the cover part 12 may be provided.

Landscapes

  • Engineering & Computer Science (AREA)
  • Mechanical Engineering (AREA)
  • General Engineering & Computer Science (AREA)
  • Physics & Mathematics (AREA)
  • Fluid Mechanics (AREA)
  • Rotary Pumps (AREA)
  • Applications Or Details Of Rotary Compressors (AREA)

Description

Die Erfindung betrifft eine Flügelzellenpumpe für ein kompressibles Fluid mit einem abgedichteten Gehäuse, das eine Pumpenkammer aufweist, wobei das Gehäuse im Wesentlichen aus einem Flanschteil, einem Umfangsteil und einem Deckelteil aufgebaut ist, wobei in dem Flanschteil eine Rotorwelle mit einer Rotoreinheit, die mindestens ein Schieberelement aufweist, drehbar derart gelagert ist, dass die Rotoreinheit die Pumpenkammer in mindestens zwei Teilkammern unterteilt und ein Druck- / Unterdruckaufbau vorsieht.The invention relates to a vane pump for a compressible fluid having a sealed housing, which has a pump chamber, wherein the housing is essentially constructed of a flange, a peripheral part and a cover part, wherein in the flange part, a rotor shaft with a rotor unit, the at least one slide element has, is rotatably mounted such that the rotor unit divides the pump chamber into at least two sub-chambers and provides a pressure / negative pressure build-up.

Derartig Flügelzellenpumpen gelangen zum Beispiel in Bremssystemen von Kraftfahrzeugen zum Einsatz. Weitere Anwendungsgebiete sind Getriebe, Längssystem sowie aktive Fahrwerksysteme von Kraftfahrzeugen. Die DE 38 32 042 C2 offenbart eine Flügelzellenpumpe mit einem, verschieblich gelagerten Schieberelement, der also die Pumpenkammer in zwei Teilkammern unterteilt. Um ein ausreichendes Fördervolumen bei geringer Verschleißanfälligkeit und hoher Laufruhe bereitzustellen, weist die Flügelzellenpumpe dieser Druckschrift an den Enden des Schieberelementes schwenkbar gelagerte Gleitstücke auf, die in Wirkverbindung mit dem Umfangsteil stehen. Um eine Schmierung der Rotoreinheit in der Pumpenkammer zu gewährleisten und damit auch einen optimalen Druckaufbau zu bewerkstelligen, wird Schmieröl des Kraftfahrzeuges in die Pumpenkammer gesogen und beim Ausschwenken des Schieberelementes aus der Pumpenkammer ausgepresst. Nun weist das Schmieröl, insbesondere im kalten Zustand, also bei geringen Außentemperaturen und noch nicht erreichtem Betriebszustand des Motors eine geringe Fließfähigkeit auf. Dies kann insbesondere beim Startvorgang zu einem hohen, nicht erwünschten Druckaufbau führen, der eine derartige Belastung für die Schieberelemente und damit auch für die Rotoreinheit darstellt, dass es zu einem Ausfall der Flügelzellenpumpe kommen kann. Aus der US2011/174396 ist ein Kompressor bekannt, der ein Überdruckventil als Schutz vorsieht.Such vane pumps are used for example in braking systems of motor vehicles. Further fields of application are transmissions, longitudinal systems as well as active suspension systems of motor vehicles. The DE 38 32 042 C2 discloses a vane pump with a slidably mounted slide element, which thus divides the pump chamber into two sub-chambers. In order to provide a sufficient delivery volume with low susceptibility to wear and high smoothness, the vane pump of this document at the ends of the slide element pivotally mounted sliders, which are in operative connection with the peripheral part. In order to ensure lubrication of the rotor unit in the pump chamber and thus to achieve an optimal pressure build-up, lubricating oil of the motor vehicle is sucked into the pump chamber and pressed out of the pump chamber during pivoting of the slide element. Now, the lubricating oil, especially in the cold state, ie at low ambient temperatures and not yet reached operating condition of the engine has a low flowability. This can lead to a high, undesirable pressure build-up, in particular during the starting process, which places such a load on the slide elements and thus also on the pressure the rotor unit represents that it may come to a failure of the vane pump. From the US2011 / 174396 is a compressor known which provides a pressure relief valve as a protection.

Die DE 1 628 245 offenbart alle Merkmale des Oberbegriffs des Anspruchs 1 und wird als nächst liegender Stand der Tecknik angesehen.The DE 1 628 245 discloses all features of the preamble of claim 1 and is considered to be the closest prior art of Tecknik.

Aufgabe der Erfindung ist es daher, eine kostengünstige, einfach aufgebaute Flügelzellenpumpe bereitzustellen, die den oben genannten Nachteil vermeidet.The object of the invention is therefore to provide a cost-effective, simply constructed vane pump, which avoids the above-mentioned disadvantage.

Diese Aufgabe wird dadurch gelöst, dass das Deckelteil in Axialrichtung der Rotorwelle beweglich ausgeführt ist, derart, dass bei einem zu hohen Druck in einer Teilkammer eine Druckentlastung durch eine fluidische Verbindung zur benachbarten Teilkammer erfolgt. Ein derartig bewegliches Deckelteil ermöglicht durch seine Flexibilität ein Überströmen des Fluids in eine benachbarte Kammer und damit einen kurzfristigen Druckabbau, wodurch ein Ausfall der Vakuumpumpe verhindert werden kann. Eine vorteilhafte Ausführungsform ergibt sich dadurch, dass das Deckelteil radial abgedichtet flexibel auf dem Umfangsteil angeordnet ist. Hierbei kann eine elastische Klips- oder Federverbindung das Deckelteil mit dem Umfangsteil verbinden. Auf diese Weise ist es möglich, eine Beweglichkeit in Axialrichtung auf einfache Weise mit einem einfachen Deckelteil herzustellen.This object is achieved in that the cover part is designed to be movable in the axial direction of the rotor shaft, such that when the pressure in a sub-chamber is too high, pressure is relieved by a fluidic connection to the adjacent sub-chamber. Such a movable cover part allows by its flexibility an overflow of the fluid into an adjacent chamber and thus a short-term pressure reduction, whereby a failure of the vacuum pump can be prevented. An advantageous embodiment results from the fact that the cover part is arranged radially sealed flexible on the peripheral part. In this case, an elastic Klips- or spring connection connect the cover part with the peripheral part. In this way it is possible to produce a mobility in the axial direction in a simple manner with a simple cover part.

Das Deckelteil kann jedoch auch flexibel ausgeführt sein, so dass es für sich oder in Verbindung mit einer elastischen Klips- oder Federverbindung die nötige Beweglichkeit in Axialrichtung bereitstellt. Hierbei kann das Deckelteil starr, beispielsweise mit Schrauben mit dem Umfangsteil verbunden sein, so dass keine Anpassung des Montageprozesses notwendig ist.However, the cover part can also be made flexible, so that it provides the necessary mobility in the axial direction, either alone or in conjunction with an elastic Klips- or spring connection. In this case, the cover part can be rigidly connected, for example with screws, to the peripheral part, so that no adaptation of the assembly process is necessary.

Besonders vorteilhaft ist eine Ausführungsform bei der das Deckelteil in Umfangsrichtung mindestens eine Aussparung und das Umfangsteil über den Umfang verteilte Öffnungen aufweisen, wobei zweischenkelige Federorgane vorgesehen sind, die durch die Öffnungen hindurchreichen und sich mit dem ersten, zur Rotereinheit gerichteten Schenkel am Deckelteil abstützen und sich mit dem zweiten, von der Rotereinheit abgewandten Schenkel am Umfangsteil abstützen. Hierbei kann das Deckelteil alternativ auch eine umlaufende Aussparung aufweisen.Particularly advantageous is an embodiment in which the cover part in the circumferential direction at least one recess and the peripheral part over have the circumference distributed openings, wherein two-legged spring members are provided, which extend through the openings and are supported with the first, directed to the rotor unit leg on the cover part and are supported with the second, remote from the rotor unit leg on the peripheral part. In this case, the cover part may alternatively also have a circumferential recess.

Des Weiteren kann es vorteilhaft sein, dass das Flanschteil um das Umfangsteil einstückig ausgeführt ist.Furthermore, it may be advantageous for the flange part to be made in one piece around the peripheral part.

Die Erfindung wird nachfolgend anhand der Zeichnung näher erläutert, hierbei zeigt:

  • Figur 1 eine schematische Perspektivansicht der geöffneten Flügelzellenpumpe,
  • Figur 2 eine Schnittansicht einer ersten Ausführungsform der erfindungsgemäßen Flügelzellenpumpe, und
  • Figur 3 eine Schnittansicht einer zweiten Ausführungsform der erfindungsgemäßen Flügelzellenpumpe.
The invention will be explained in more detail with reference to the drawing, in which:
  • FIG. 1 a schematic perspective view of the open vane pump,
  • FIG. 2 a sectional view of a first embodiment of the vane pump according to the invention, and
  • FIG. 3 a sectional view of a second embodiment of the vane pump according to the invention.

Figur 1 zeigt eine schematische Perspektivansicht einer geöffneten Flügelzellenpumpe 2. Hierbei ist ein geöffnetes Gehäuse 4 zu erkennen, dass eine Pumpenkammer 6 definiert. Das Gehäuse 4 besteht im Wesentlichen aus einem Flanschteil 8, einem Umfangsteil 10 sowie einem Deckelteil 12, dass in dieser Ansicht weggelassen wurde. Durch eine Rotoreinheit 16 mit einem Schieberelement 20 ist die Pumpenkammer in zwei Teilkammern 5, 7 unterteilt, in denen durch Drehung der Rotereinheit ein Unterdruck aufgebaut wird. Durch einen nicht weiter dargestellten Sauganschluss wird Luft angesogen und über einen nicht weiter dargestellten Auslass abgeführt. Zur Schmierung der Rotoreinheit 16 im Gehäuse 2 dient Fahrzeugschmieröl, was auf bekannte Weise über Öffnungen in die Pumpenkammer 6 eingesaugt und über entsprechende nicht dargestellte Öffnungen ausgepresst wird. FIG. 1 shows a schematic perspective view of an open vane pump 2. Here, an open housing 4 can be seen that defines a pump chamber 6. The housing 4 consists essentially of a flange part 8, a peripheral part 10 and a cover part 12, which has been omitted in this view. By a rotor unit 16 with a slide element 20, the pump chamber is divided into two sub-chambers 5, 7, in which a negative pressure is built up by rotation of the rotor unit. Through a suction port, not shown, air is sucked in and removed via an outlet, not shown. For lubrication of the rotor unit 16 in the housing 2 is vehicle lubricating oil, which is sucked in a known manner via openings in the pump chamber 6 and pressed through corresponding openings, not shown.

Figur 2 zeigt eine Schnittansicht einer ersten Ausführungsform der erfindungsgemäßen Flügelzellenpumpe 2. Das Flanschteil 8 und das Umfangsteil 10 sind im vorliegenden Ausführungsbeispiel einstückig ausgeführt. Über eine Rotorwelle 14 ist die Rotoreinheit 16 antreibbar. Auch die Rotorwelle 14 und ein Rotorbasisteil 18, in dem das Schieberelement 20 verschiebbar angeordnet ist, sind im vorliegenden Ausführungsbeispiel einstückig ausgeführt, Das Schieberelement 20 unterteilt die Pumpenkammer 6, wie in Figur 1 dargestellt, in zwei Teilkammern 5, 7. Die Rotorwelle 14 kann auf bekannte Weise durch eine nicht weiter dargestellte Kupplung mit einer Nockenwelle des Verbrennungsmotors verbunden ist. Das Deckelelement 12 ist im vorliegenden Ausführungsbeispiel aus einem flexiblen Material, beispielsweise Blech, hergestellt und ist über eine Klipsverbindung 22 mit dem Umfangsteil 10 verbunden. Die Klipsverbindung 22 besteht hierbei aus Aussparungen 24, 26 in die Klipselemente 28 eingreifen, wobei die linke Seite der Flügelzellenpumpe 2 ohne in Eingriff befindliche Klipselemente 28 dargestellt ist. Die Aussparungen 24, 26 können auch als eine zusammenhängende, umlaufende Aussparung ausgeführt sein, so dass ein umlaufendes Klipselement 28 die Klipsverbindung herstellt. FIG. 2 shows a sectional view of a first embodiment of the vane pump 2 according to the invention. The flange 8 and the peripheral part 10 are made in one piece in the present embodiment. About a rotor shaft 14, the rotor unit 16 is driven. Also, the rotor shaft 14 and a rotor base portion 18, in which the slide member 20 is slidably disposed, are integrally formed in the present embodiment, the slide member 20 divides the pump chamber 6, as in FIG. 1 shown, in two sub-chambers 5, 7. The rotor shaft 14 may be connected in a known manner by a non-illustrated coupling with a camshaft of the internal combustion engine. The cover element 12 is made in the present embodiment of a flexible material, such as sheet metal, and is connected via a clip connection 22 with the peripheral part 10. The clip connection 22 in this case consists of recesses 24, 26 engage in the Klipselemente 28, wherein the left side of the vane pump 2 is shown without engaging Klipselemente 28. The recesses 24, 26 may also be designed as a continuous, circumferential recess, so that a circumferential clip element 28 produces the clip connection.

Für den Fall, dass insbesondere in der Startphase, aufgrund von zähflüssigen Schmieröl ein zu hoher Druck auf das Schieberelement 20 wirkt, ist das Deckelelement 12 in Axialrichtung aufgrund des Werkstoffes und der Klipsverbindung beweglich, so dass die zwei Teilkammern 5, 7 fluidisch miteinander verbunden sind, und dementsprechend eine Druckentlastung stattfindet.In the event that too high a pressure acts on the slide element 20, in particular in the starting phase, due to viscous lubricating oil, the cover element 12 is movable in the axial direction due to the material and the clip connection, so that the two sub-chambers 5, 7 are fluidly connected to each other , And accordingly, a pressure relief takes place.

Figur 3 zeigt nun eine weitere Ausführungsform der erfindungsgemäßen Flügelzellenpumpe 2. Die Flügelzellenpumpe 2 gemäß Figur 3 ist grundsätzlich genauso aufgebaut wie die Flügelzellenpumpe 2 aus Figur 2. Zu erkennen in diesem Ausführungsbeispiel ist noch eine Ölablassöffnung 26 mit eingebauten Ventil. Das Deckelteil 12 ist im vorliegenden Ausführungsbeispiel steif ausgeführt und weist zwecks Gewichtseinsparung im Wesentlichen eine geringere Dicke als das Deckelteil 12 aus Figur 2 auf. Hierbei sind jedoch noch Rippen vorgesehen, um die nötige Steifigkeit zu gewährleisten. In einem Randbereich 29 weist das Deckelteil 12 eine umlaufende Aussparung 30 auf. Das Umfangsteil 10 besitzt eine Anzahl über den Umfangverteilte Öffnungen 32 durch die hindurch zweischenkelige Federorgane 34 in die Aussparung 30 eingreifen. Dabei stützt sich ein erster, zur Rotoreinheit 16 gerichteter Schenkel 36 am Deckelteil 12 ab. Ein zweiter von der Rotoreinheit 16 abgewandter Schenkel 38 stützt sich in der Aussparung am Umfangsteil 10 ab. FIG. 3 Now shows a further embodiment of the vane pump according to the invention 2. The vane pump 2 according to FIG. 3 is basically the same as the vane pump 2 made FIG. 2 , Recognizable in this embodiment is still an oil drain opening 26 with built-in valve. In the present exemplary embodiment, the cover part 12 is rigid and, for the purpose of saving weight, has essentially a smaller thickness than the cover part 12 FIG. 2 on. Here, however, ribs are still provided to ensure the necessary rigidity. In an edge region 29, the cover part 12 has a circumferential recess 30. The peripheral part 10 has a number of circumferentially distributed openings 32 through which two-legged spring members 34 engage the recess 30. In this case, a first, directed to the rotor unit 16 leg 36 is supported on the cover part 12. A second leg 38 facing away from the rotor unit 16 is supported in the recess on the peripheral part 10.

Bei einem in einer Teilkammer 5, 7 vorherrschenden zu hohen Druck hebt sich das Deckelteil 12 von einer Anlagekante 40 des Umfangteils 10 ab und sorgt auf diese Weise für eine Druckentlastung durch eine fluidische Verbindung der beiden Teilkammern 5, 7. Es sollte deutlich sein, dass anstatt einer einzigen umlaufenden Aussparung 30 auch mehrere, über dem Umfang des Deckelteils 12 verteilte Aussparungen vorgesehen sein können.In the case of a too high pressure prevailing in a partial chamber 5, 7, the cover part 12 lifts off from a contact edge 40 of the peripheral part 10 and thus provides pressure relief by a fluidic connection of the two partial chambers 5, 7. It should be clear that Instead of a single circumferential recess 30, a plurality of recesses distributed over the circumference of the cover part 12 may be provided.

Claims (8)

  1. A vane pump for a compressible fluid having a sealed housing (4) comprising a pump chamber (6), wherein the housing (4) is constructed substantially from a flange part (8), a peripheral part (10) and a cover part (12), wherein a rotor shaft (14) with a rotor unit (16) comprising at least one vane element (20) is supported for rotation in the flange part (8) such that the rotor unit (16) divides the pump chamber (6) into at least two partial chambers (5, 7) and provides for pressure/vacuum buildup, characterized in that the cover part (12) is designed to be movable in the axial direction of the rotor shaft (14) such that in the event of excessive pressure in one partial chamber (5, 7) pressure relief is effected via fluid communication with the adjacent partial chamber (5, 7).
  2. The vane pump of claim 1, characterized in that the cover part (12) is arranged in a flexible manner on the peripheral part (10), the cover part being radially sealed.
  3. The vane pump of claim 2, characterized in that the cover part (12) is connected with the peripheral part (10) through an elastic clip or spring connection (22, 34).
  4. The vane pump of one of the preceding claims, characterized in that the cover part (12) is flexible.
  5. The vane pump of claim 4, characterized in that the cover part is rigidly connected with the peripheral part (10), for instance by means of screws.
  6. The vane pump of claim 3, characterized in that the cover part (12) has at least one recess (30) in the circumferential direction and the peripheral part (10) has openings (32) distributed over the periphery, wherein two-legged spring elements (34) are provided that pass through the openings (32) and bear on the cover part (12) with the first leg (36) directed towards the rotor unit (16) and bear on the peripheral part (10) with the second leg (38) averted from the rotor unit (16).
  7. The vane pump of claim 6, characterized in that the cover part has a continuous recess (30) extending in the circumferential direction.
  8. The vane pump of one of the preceding claims, characterized in that the flange part (8) and the peripheral part (10) are integral.
EP11182852.1A 2011-09-27 2011-09-27 Vane pump Active EP2574792B1 (en)

Priority Applications (2)

Application Number Priority Date Filing Date Title
EP11182852.1A EP2574792B1 (en) 2011-09-27 2011-09-27 Vane pump
PCT/EP2012/063004 WO2013045127A2 (en) 2011-09-27 2012-07-04 Vane pump

Applications Claiming Priority (1)

Application Number Priority Date Filing Date Title
EP11182852.1A EP2574792B1 (en) 2011-09-27 2011-09-27 Vane pump

Publications (2)

Publication Number Publication Date
EP2574792A1 EP2574792A1 (en) 2013-04-03
EP2574792B1 true EP2574792B1 (en) 2015-06-03

Family

ID=46489210

Family Applications (1)

Application Number Title Priority Date Filing Date
EP11182852.1A Active EP2574792B1 (en) 2011-09-27 2011-09-27 Vane pump

Country Status (2)

Country Link
EP (1) EP2574792B1 (en)
WO (1) WO2013045127A2 (en)

Families Citing this family (1)

* Cited by examiner, † Cited by third party
Publication number Priority date Publication date Assignee Title
CN110291302B (en) 2017-01-30 2021-08-17 利滕斯汽车合伙公司 Clutch Vacuum Pump System

Family Cites Families (4)

* Cited by examiner, † Cited by third party
Publication number Priority date Publication date Assignee Title
FR1450639A (en) * 1965-06-30 1966-06-24 Beaudouin Sa Ets Improvements to mechanical oil injection and air injection vacuum pumps
DE3832042C2 (en) 1987-10-05 1997-08-14 Barmag Barmer Maschf Vane pump
JPH09310773A (en) * 1996-05-22 1997-12-02 Daihatsu Motor Co Ltd Breather device
JP5448394B2 (en) * 2008-08-27 2014-03-19 三菱重工業株式会社 Compressor safety valve

Also Published As

Publication number Publication date
WO2013045127A3 (en) 2013-08-29
WO2013045127A2 (en) 2013-04-04
EP2574792A1 (en) 2013-04-03

Similar Documents

Publication Publication Date Title
DE102016120502B4 (en) GERO PUMP FOR A VEHICLE
WO2016096755A1 (en) Electric oil pump, in particular for a motor vehicle
EP3263835A1 (en) Vane pump with pressurisable under wing area
EP2126391B1 (en) Spring pressure multiplate clutch for compressors
DE102019132729A1 (en) Bead seal
WO2020136269A1 (en) Rotary pump with axial compensation, outlet seal for a pump, and pre-assembled pump unit
EP2574792B1 (en) Vane pump
DE112010001701B4 (en) Vane pump with improved rotor and rotary valve extension ring
EP3903005A1 (en) Rotary pump with axial compensation, outlet seal for a pump, and pre-assembled pump unit
EP3903006A1 (en) Rotary pump with axial compensation, outlet seal for a pump, and pre-assembled pump unit
EP3475574B1 (en) Dry-running vane gas pump
DE102016200893A1 (en) pumps Fields
AT505061B1 (en) ROTARY PUMP
DE102014213626A1 (en) Starting element, gearbox and drive train with the starting element
DE102011078064A1 (en) Internal gear pump
EP1754906B1 (en) Fastening of a central release device to a clutch
DE102016204098A1 (en) Vane pump
DE102020133200A1 (en) bead seal
DE102013222591B4 (en) Pump arrangement with vacuum pump and lubricant
WO2017076418A1 (en) Motor vehicle vacuum pump
EP2479434A2 (en) Regulation of an external gear pump
DE102011055020A1 (en) Pump module of pump such as cartridge pump, inserted into separate gear housing, has pressure plate having bearing recess which is sealed relative to pressure chamber by the pressure receiving element
DE102018110025A1 (en) displacement
DE102014201877A1 (en) Filter element for baffle openings of a switchable coolant pump
DE102016011444A1 (en) Arrangement for a screw compressor of a commercial vehicle

Legal Events

Date Code Title Description
PUAI Public reference made under article 153(3) epc to a published international application that has entered the european phase

Free format text: ORIGINAL CODE: 0009012

AK Designated contracting states

Kind code of ref document: A1

Designated state(s): AL AT BE BG CH CY CZ DE DK EE ES FI FR GB GR HR HU IE IS IT LI LT LU LV MC MK MT NL NO PL PT RO RS SE SI SK SM TR

AX Request for extension of the european patent

Extension state: BA ME

17P Request for examination filed

Effective date: 20130924

RBV Designated contracting states (corrected)

Designated state(s): AL AT BE BG CH CY CZ DE DK EE ES FI FR GB GR HR HU IE IS IT LI LT LU LV MC MK MT NL NO PL PT RO RS SE SI SK SM TR

GRAP Despatch of communication of intention to grant a patent

Free format text: ORIGINAL CODE: EPIDOSNIGR1

INTG Intention to grant announced

Effective date: 20141107

GRAS Grant fee paid

Free format text: ORIGINAL CODE: EPIDOSNIGR3

GRAP Despatch of communication of intention to grant a patent

Free format text: ORIGINAL CODE: EPIDOSNIGR1

GRAA (expected) grant

Free format text: ORIGINAL CODE: 0009210

INTG Intention to grant announced

Effective date: 20150420

AK Designated contracting states

Kind code of ref document: B1

Designated state(s): AL AT BE BG CH CY CZ DE DK EE ES FI FR GB GR HR HU IE IS IT LI LT LU LV MC MK MT NL NO PL PT RO RS SE SI SK SM TR

REG Reference to a national code

Ref country code: GB

Ref legal event code: FG4D

Free format text: NOT ENGLISH

REG Reference to a national code

Ref country code: CH

Ref legal event code: EP

REG Reference to a national code

Ref country code: AT

Ref legal event code: REF

Ref document number: 730082

Country of ref document: AT

Kind code of ref document: T

Effective date: 20150715

Ref country code: IE

Ref legal event code: FG4D

Free format text: LANGUAGE OF EP DOCUMENT: GERMAN

REG Reference to a national code

Ref country code: DE

Ref legal event code: R096

Ref document number: 502011006983

Country of ref document: DE

PG25 Lapsed in a contracting state [announced via postgrant information from national office to epo]

Ref country code: FI

Free format text: LAPSE BECAUSE OF FAILURE TO SUBMIT A TRANSLATION OF THE DESCRIPTION OR TO PAY THE FEE WITHIN THE PRESCRIBED TIME-LIMIT

Effective date: 20150603

Ref country code: HR

Free format text: LAPSE BECAUSE OF FAILURE TO SUBMIT A TRANSLATION OF THE DESCRIPTION OR TO PAY THE FEE WITHIN THE PRESCRIBED TIME-LIMIT

Effective date: 20150603

Ref country code: NO

Free format text: LAPSE BECAUSE OF FAILURE TO SUBMIT A TRANSLATION OF THE DESCRIPTION OR TO PAY THE FEE WITHIN THE PRESCRIBED TIME-LIMIT

Effective date: 20150903

Ref country code: LT

Free format text: LAPSE BECAUSE OF FAILURE TO SUBMIT A TRANSLATION OF THE DESCRIPTION OR TO PAY THE FEE WITHIN THE PRESCRIBED TIME-LIMIT

Effective date: 20150603

Ref country code: ES

Free format text: LAPSE BECAUSE OF FAILURE TO SUBMIT A TRANSLATION OF THE DESCRIPTION OR TO PAY THE FEE WITHIN THE PRESCRIBED TIME-LIMIT

Effective date: 20150603

REG Reference to a national code

Ref country code: NL

Ref legal event code: MP

Effective date: 20150603

REG Reference to a national code

Ref country code: LT

Ref legal event code: MG4D

PG25 Lapsed in a contracting state [announced via postgrant information from national office to epo]

Ref country code: LV

Free format text: LAPSE BECAUSE OF FAILURE TO SUBMIT A TRANSLATION OF THE DESCRIPTION OR TO PAY THE FEE WITHIN THE PRESCRIBED TIME-LIMIT

Effective date: 20150603

Ref country code: BG

Free format text: LAPSE BECAUSE OF FAILURE TO SUBMIT A TRANSLATION OF THE DESCRIPTION OR TO PAY THE FEE WITHIN THE PRESCRIBED TIME-LIMIT

Effective date: 20150903

Ref country code: RS

Free format text: LAPSE BECAUSE OF FAILURE TO SUBMIT A TRANSLATION OF THE DESCRIPTION OR TO PAY THE FEE WITHIN THE PRESCRIBED TIME-LIMIT

Effective date: 20150603

Ref country code: GR

Free format text: LAPSE BECAUSE OF FAILURE TO SUBMIT A TRANSLATION OF THE DESCRIPTION OR TO PAY THE FEE WITHIN THE PRESCRIBED TIME-LIMIT

Effective date: 20150904

PG25 Lapsed in a contracting state [announced via postgrant information from national office to epo]

Ref country code: EE

Free format text: LAPSE BECAUSE OF FAILURE TO SUBMIT A TRANSLATION OF THE DESCRIPTION OR TO PAY THE FEE WITHIN THE PRESCRIBED TIME-LIMIT

Effective date: 20150603

PG25 Lapsed in a contracting state [announced via postgrant information from national office to epo]

Ref country code: SK

Free format text: LAPSE BECAUSE OF FAILURE TO SUBMIT A TRANSLATION OF THE DESCRIPTION OR TO PAY THE FEE WITHIN THE PRESCRIBED TIME-LIMIT

Effective date: 20150603

Ref country code: PL

Free format text: LAPSE BECAUSE OF FAILURE TO SUBMIT A TRANSLATION OF THE DESCRIPTION OR TO PAY THE FEE WITHIN THE PRESCRIBED TIME-LIMIT

Effective date: 20150603

Ref country code: PT

Free format text: LAPSE BECAUSE OF FAILURE TO SUBMIT A TRANSLATION OF THE DESCRIPTION OR TO PAY THE FEE WITHIN THE PRESCRIBED TIME-LIMIT

Effective date: 20151006

Ref country code: RO

Free format text: LAPSE BECAUSE OF NON-PAYMENT OF DUE FEES

Effective date: 20150603

Ref country code: CZ

Free format text: LAPSE BECAUSE OF FAILURE TO SUBMIT A TRANSLATION OF THE DESCRIPTION OR TO PAY THE FEE WITHIN THE PRESCRIBED TIME-LIMIT

Effective date: 20150603

Ref country code: IS

Free format text: LAPSE BECAUSE OF FAILURE TO SUBMIT A TRANSLATION OF THE DESCRIPTION OR TO PAY THE FEE WITHIN THE PRESCRIBED TIME-LIMIT

Effective date: 20151003

REG Reference to a national code

Ref country code: DE

Ref legal event code: R097

Ref document number: 502011006983

Country of ref document: DE

PLBE No opposition filed within time limit

Free format text: ORIGINAL CODE: 0009261

STAA Information on the status of an ep patent application or granted ep patent

Free format text: STATUS: NO OPPOSITION FILED WITHIN TIME LIMIT

PG25 Lapsed in a contracting state [announced via postgrant information from national office to epo]

Ref country code: DK

Free format text: LAPSE BECAUSE OF FAILURE TO SUBMIT A TRANSLATION OF THE DESCRIPTION OR TO PAY THE FEE WITHIN THE PRESCRIBED TIME-LIMIT

Effective date: 20150603

Ref country code: LU

Free format text: LAPSE BECAUSE OF FAILURE TO SUBMIT A TRANSLATION OF THE DESCRIPTION OR TO PAY THE FEE WITHIN THE PRESCRIBED TIME-LIMIT

Effective date: 20150927

Ref country code: MC

Free format text: LAPSE BECAUSE OF FAILURE TO SUBMIT A TRANSLATION OF THE DESCRIPTION OR TO PAY THE FEE WITHIN THE PRESCRIBED TIME-LIMIT

Effective date: 20150603

REG Reference to a national code

Ref country code: CH

Ref legal event code: PL

26N No opposition filed

Effective date: 20160304

GBPC Gb: european patent ceased through non-payment of renewal fee

Effective date: 20150927

PG25 Lapsed in a contracting state [announced via postgrant information from national office to epo]

Ref country code: SI

Free format text: LAPSE BECAUSE OF FAILURE TO SUBMIT A TRANSLATION OF THE DESCRIPTION OR TO PAY THE FEE WITHIN THE PRESCRIBED TIME-LIMIT

Effective date: 20150603

REG Reference to a national code

Ref country code: IE

Ref legal event code: MM4A

PG25 Lapsed in a contracting state [announced via postgrant information from national office to epo]

Ref country code: GB

Free format text: LAPSE BECAUSE OF NON-PAYMENT OF DUE FEES

Effective date: 20150927

Ref country code: CH

Free format text: LAPSE BECAUSE OF NON-PAYMENT OF DUE FEES

Effective date: 20150930

Ref country code: IE

Free format text: LAPSE BECAUSE OF NON-PAYMENT OF DUE FEES

Effective date: 20150927

Ref country code: LI

Free format text: LAPSE BECAUSE OF NON-PAYMENT OF DUE FEES

Effective date: 20150930

REG Reference to a national code

Ref country code: FR

Ref legal event code: PLFP

Year of fee payment: 6

PG25 Lapsed in a contracting state [announced via postgrant information from national office to epo]

Ref country code: MT

Free format text: LAPSE BECAUSE OF FAILURE TO SUBMIT A TRANSLATION OF THE DESCRIPTION OR TO PAY THE FEE WITHIN THE PRESCRIBED TIME-LIMIT

Effective date: 20150603

PG25 Lapsed in a contracting state [announced via postgrant information from national office to epo]

Ref country code: HU

Free format text: LAPSE BECAUSE OF FAILURE TO SUBMIT A TRANSLATION OF THE DESCRIPTION OR TO PAY THE FEE WITHIN THE PRESCRIBED TIME-LIMIT; INVALID AB INITIO

Effective date: 20110927

Ref country code: SM

Free format text: LAPSE BECAUSE OF FAILURE TO SUBMIT A TRANSLATION OF THE DESCRIPTION OR TO PAY THE FEE WITHIN THE PRESCRIBED TIME-LIMIT

Effective date: 20150603

PG25 Lapsed in a contracting state [announced via postgrant information from national office to epo]

Ref country code: CY

Free format text: LAPSE BECAUSE OF FAILURE TO SUBMIT A TRANSLATION OF THE DESCRIPTION OR TO PAY THE FEE WITHIN THE PRESCRIBED TIME-LIMIT

Effective date: 20150603

Ref country code: NL

Free format text: LAPSE BECAUSE OF FAILURE TO SUBMIT A TRANSLATION OF THE DESCRIPTION OR TO PAY THE FEE WITHIN THE PRESCRIBED TIME-LIMIT

Effective date: 20150603

Ref country code: SE

Free format text: LAPSE BECAUSE OF FAILURE TO SUBMIT A TRANSLATION OF THE DESCRIPTION OR TO PAY THE FEE WITHIN THE PRESCRIBED TIME-LIMIT

Effective date: 20150603

PG25 Lapsed in a contracting state [announced via postgrant information from national office to epo]

Ref country code: BE

Free format text: LAPSE BECAUSE OF NON-PAYMENT OF DUE FEES

Effective date: 20150930

PG25 Lapsed in a contracting state [announced via postgrant information from national office to epo]

Ref country code: TR

Free format text: LAPSE BECAUSE OF FAILURE TO SUBMIT A TRANSLATION OF THE DESCRIPTION OR TO PAY THE FEE WITHIN THE PRESCRIBED TIME-LIMIT

Effective date: 20150603

REG Reference to a national code

Ref country code: FR

Ref legal event code: PLFP

Year of fee payment: 7

REG Reference to a national code

Ref country code: AT

Ref legal event code: MM01

Ref document number: 730082

Country of ref document: AT

Kind code of ref document: T

Effective date: 20160927

PG25 Lapsed in a contracting state [announced via postgrant information from national office to epo]

Ref country code: AT

Free format text: LAPSE BECAUSE OF NON-PAYMENT OF DUE FEES

Effective date: 20160927

PG25 Lapsed in a contracting state [announced via postgrant information from national office to epo]

Ref country code: MK

Free format text: LAPSE BECAUSE OF FAILURE TO SUBMIT A TRANSLATION OF THE DESCRIPTION OR TO PAY THE FEE WITHIN THE PRESCRIBED TIME-LIMIT

Effective date: 20150603

REG Reference to a national code

Ref country code: FR

Ref legal event code: PLFP

Year of fee payment: 8

PG25 Lapsed in a contracting state [announced via postgrant information from national office to epo]

Ref country code: AL

Free format text: LAPSE BECAUSE OF FAILURE TO SUBMIT A TRANSLATION OF THE DESCRIPTION OR TO PAY THE FEE WITHIN THE PRESCRIBED TIME-LIMIT

Effective date: 20150603

REG Reference to a national code

Ref country code: DE

Ref legal event code: R082

Ref document number: 502011006983

Country of ref document: DE

Representative=s name: TERPATENT PARTGMBB, DE

Ref country code: DE

Ref legal event code: R082

Ref document number: 502011006983

Country of ref document: DE

Representative=s name: TERPATENT PATENTANWAELTE TER SMITTEN EBERLEIN-, DE

PGFP Annual fee paid to national office [announced via postgrant information from national office to epo]

Ref country code: DE

Payment date: 20240919

Year of fee payment: 14

PGFP Annual fee paid to national office [announced via postgrant information from national office to epo]

Ref country code: FR

Payment date: 20240924

Year of fee payment: 14

PGFP Annual fee paid to national office [announced via postgrant information from national office to epo]

Ref country code: IT

Payment date: 20240930

Year of fee payment: 14