EP2557368B2 - Procedure for regulating an air flow in an air conditioning sytem and air conditioning system therefor - Google Patents

Procedure for regulating an air flow in an air conditioning sytem and air conditioning system therefor Download PDF

Info

Publication number
EP2557368B2
EP2557368B2 EP12179782.3A EP12179782A EP2557368B2 EP 2557368 B2 EP2557368 B2 EP 2557368B2 EP 12179782 A EP12179782 A EP 12179782A EP 2557368 B2 EP2557368 B2 EP 2557368B2
Authority
EP
European Patent Office
Prior art keywords
flow
plant
air
pressure
diffuser
Prior art date
Legal status (The legal status is an assumption and is not a legal conclusion. Google has not performed a legal analysis and makes no representation as to the accuracy of the status listed.)
Active
Application number
EP12179782.3A
Other languages
German (de)
French (fr)
Other versions
EP2557368B1 (en
EP2557368A1 (en
Inventor
Marco Zambolin
Current Assignee (The listed assignees may be inaccurate. Google has not performed a legal analysis and makes no representation or warranty as to the accuracy of the list.)
ZAMBOLIN, MARCO
Original Assignee
Individual
Priority date (The priority date is an assumption and is not a legal conclusion. Google has not performed a legal analysis and makes no representation as to the accuracy of the date listed.)
Filing date
Publication date
Family has litigation
First worldwide family litigation filed litigation Critical https://patents.darts-ip.com/?family=44653444&utm_source=google_patent&utm_medium=platform_link&utm_campaign=public_patent_search&patent=EP2557368(B2) "Global patent litigation dataset” by Darts-ip is licensed under a Creative Commons Attribution 4.0 International License.
Application filed by Individual filed Critical Individual
Priority to HRP20171943TT priority Critical patent/HRP20171943T4/en
Priority to EP17193279.1A priority patent/EP3293462B1/en
Priority to SI201231165T priority patent/SI2557368T2/en
Publication of EP2557368A1 publication Critical patent/EP2557368A1/en
Application granted granted Critical
Publication of EP2557368B1 publication Critical patent/EP2557368B1/en
Publication of EP2557368B2 publication Critical patent/EP2557368B2/en
Active legal-status Critical Current
Anticipated expiration legal-status Critical

Links

Images

Classifications

    • FMECHANICAL ENGINEERING; LIGHTING; HEATING; WEAPONS; BLASTING
    • F24HEATING; RANGES; VENTILATING
    • F24FAIR-CONDITIONING; AIR-HUMIDIFICATION; VENTILATION; USE OF AIR CURRENTS FOR SCREENING
    • F24F3/00Air-conditioning systems in which conditioned primary air is supplied from one or more central stations to distributing units in the rooms or spaces where it may receive secondary treatment; Apparatus specially designed for such systems
    • F24F3/044Systems in which all treatment is given in the central station, i.e. all-air systems
    • FMECHANICAL ENGINEERING; LIGHTING; HEATING; WEAPONS; BLASTING
    • F24HEATING; RANGES; VENTILATING
    • F24FAIR-CONDITIONING; AIR-HUMIDIFICATION; VENTILATION; USE OF AIR CURRENTS FOR SCREENING
    • F24F11/00Control or safety arrangements
    • F24F11/70Control systems characterised by their outputs; Constructional details thereof
    • F24F11/72Control systems characterised by their outputs; Constructional details thereof for controlling the supply of treated air, e.g. its pressure
    • F24F11/74Control systems characterised by their outputs; Constructional details thereof for controlling the supply of treated air, e.g. its pressure for controlling air flow rate or air velocity
    • F24F11/745Control systems characterised by their outputs; Constructional details thereof for controlling the supply of treated air, e.g. its pressure for controlling air flow rate or air velocity the air flow rate increasing with an increase of air-current or wind pressure
    • FMECHANICAL ENGINEERING; LIGHTING; HEATING; WEAPONS; BLASTING
    • F24HEATING; RANGES; VENTILATING
    • F24FAIR-CONDITIONING; AIR-HUMIDIFICATION; VENTILATION; USE OF AIR CURRENTS FOR SCREENING
    • F24F11/00Control or safety arrangements
    • F24F11/30Control or safety arrangements for purposes related to the operation of the system, e.g. for safety or monitoring
    • FMECHANICAL ENGINEERING; LIGHTING; HEATING; WEAPONS; BLASTING
    • F24HEATING; RANGES; VENTILATING
    • F24FAIR-CONDITIONING; AIR-HUMIDIFICATION; VENTILATION; USE OF AIR CURRENTS FOR SCREENING
    • F24F13/00Details common to, or for air-conditioning, air-humidification, ventilation or use of air currents for screening
    • F24F13/02Ducting arrangements
    • F24F13/0236Ducting arrangements with ducts including air distributors, e.g. air collecting boxes with at least three openings
    • FMECHANICAL ENGINEERING; LIGHTING; HEATING; WEAPONS; BLASTING
    • F24HEATING; RANGES; VENTILATING
    • F24FAIR-CONDITIONING; AIR-HUMIDIFICATION; VENTILATION; USE OF AIR CURRENTS FOR SCREENING
    • F24F13/00Details common to, or for air-conditioning, air-humidification, ventilation or use of air currents for screening
    • F24F13/02Ducting arrangements
    • F24F13/06Outlets for directing or distributing air into rooms or spaces, e.g. ceiling air diffuser
    • F24F13/068Outlets for directing or distributing air into rooms or spaces, e.g. ceiling air diffuser formed as perforated walls, ceilings or floors
    • FMECHANICAL ENGINEERING; LIGHTING; HEATING; WEAPONS; BLASTING
    • F24HEATING; RANGES; VENTILATING
    • F24FAIR-CONDITIONING; AIR-HUMIDIFICATION; VENTILATION; USE OF AIR CURRENTS FOR SCREENING
    • F24F3/00Air-conditioning systems in which conditioned primary air is supplied from one or more central stations to distributing units in the rooms or spaces where it may receive secondary treatment; Apparatus specially designed for such systems
    • F24F3/044Systems in which all treatment is given in the central station, i.e. all-air systems
    • F24F2003/0446Systems in which all treatment is given in the central station, i.e. all-air systems with a single air duct for transporting treated air from the central station to the rooms
    • FMECHANICAL ENGINEERING; LIGHTING; HEATING; WEAPONS; BLASTING
    • F24HEATING; RANGES; VENTILATING
    • F24FAIR-CONDITIONING; AIR-HUMIDIFICATION; VENTILATION; USE OF AIR CURRENTS FOR SCREENING
    • F24F13/00Details common to, or for air-conditioning, air-humidification, ventilation or use of air currents for screening
    • F24F13/02Ducting arrangements
    • F24F13/06Outlets for directing or distributing air into rooms or spaces, e.g. ceiling air diffuser
    • F24F2013/0608Perforated ducts
    • FMECHANICAL ENGINEERING; LIGHTING; HEATING; WEAPONS; BLASTING
    • F24HEATING; RANGES; VENTILATING
    • F24FAIR-CONDITIONING; AIR-HUMIDIFICATION; VENTILATION; USE OF AIR CURRENTS FOR SCREENING
    • F24F2110/00Control inputs relating to air properties
    • FMECHANICAL ENGINEERING; LIGHTING; HEATING; WEAPONS; BLASTING
    • F24HEATING; RANGES; VENTILATING
    • F24FAIR-CONDITIONING; AIR-HUMIDIFICATION; VENTILATION; USE OF AIR CURRENTS FOR SCREENING
    • F24F2110/00Control inputs relating to air properties
    • F24F2110/40Pressure, e.g. wind pressure
    • FMECHANICAL ENGINEERING; LIGHTING; HEATING; WEAPONS; BLASTING
    • F24HEATING; RANGES; VENTILATING
    • F24FAIR-CONDITIONING; AIR-HUMIDIFICATION; VENTILATION; USE OF AIR CURRENTS FOR SCREENING
    • F24F2140/00Control inputs relating to system states
    • F24F2140/40Damper positions, e.g. open or closed

Definitions

  • the present invention relates to a procedure for regulating an air flow in an air conditioning plant and a relative plant, used for actuating the procedure. Further, the present invention relates to a process for starting-up and bringing to normal operating state, in particular during the winter season in the heating phase, a plant for air conditioning and the relative plant used to actuate the procedure.
  • plants are known and widely used for air conditioning/treatment which include the use of one or more ventilators suitable for generating a pressure increase internally of a predetermined number of channels in turn able to convey the air to diffusion vents or also perforated diffuser elements in the form of channels with the aim of diffusing conditioned air into the area surrounding the air conditioning plant.
  • ventilators suitable for generating a pressure increase internally of a predetermined number of channels in turn able to convey the air to diffusion vents or also perforated diffuser elements in the form of channels with the aim of diffusing conditioned air into the area surrounding the air conditioning plant.
  • These plants are in general designed to condition, either by heating in the winter or cooling in the summer, even large spaces (such as those dedicated to fairs, salons, swimming pools, etc.).
  • One of the further problems is also to enable a simple and effective homogenisation of the ambient temperature in plant start-up conditions.
  • the times required for the environment to be climatised is substantially homogeneous (i.e. the difference in ground air temperature and that of the air close to coverage must be within acceptable limits) are in general quite long.
  • Document EP 224402 describes an air conditioning plant of the type briefly described above which comprises a compensated ring on which a predetermined number of ventilators are active, and which has a plurality of branches emerging from the compensated ring for diffusion of air.
  • This plant exhibits intercept organs at nodes which enable activating/de-activating part of the plant mainly for winger/summer functioning according to needs in terms of air to be diffused.
  • Document US 2003/064676 describes an apparatus for controlling ventilators having variable air flow.
  • the system is constituted by at least a proportionally-controlled variable-flow ventilator, integral and derivative by means of a controller connected to a control unit.
  • Static and flow pressure sensors are present along the delivery line, for detecting the functioning parameters of the device.
  • the plant includes a predetermined number of shutters operated by respective motors in turn commanded by the control unit.
  • the system is advantageous in the start-up conditions of the plant in which a PID control linked to combined flow and static pressure detections can be extremely advantageous.
  • This document provides no teaching relative to ground air draught generator procedures for reducing the transients of plant start-up and does not control the partialisation of the injection of conditioned air into the environment such as to increase or reduce the emission of volumes of air in portions upstream of the mobile shutters. Control is always effected such as to increase or reduce the air volume injected into the environment downstream of the partialising elements.
  • the technical aim at the base of the present invention is substantially to obviate the drawbacks and overcome the limitations of the prior art as briefly discussed.
  • a first aim of the invention is to enable regulating the air flow in an air conditioning plant in such a way as to be able to obtain the desired air flow per linear metre independently of design errors, plant mounting errors and/or unforeseen/unpredictable conditions of plant installation.
  • a further aim of the plant is to enable start-up and full normal operating condition with a rapid reduction of the dishomogeneity internally of the environment to be treated in a reasonably short time.
  • An additional aim is to obtain a more effective remixing of the air at the ground in such a way as to move the cool air that, typically present in the winter season, tends to remain at ground level, making the temperature-homogenising operation difficult.
  • a further auxiliary aim of the plant of the invention is to guarantee optimal plat functioning efficiency both in the initial transitory condition and in the normal functioning condition, guaranteeing the best start-up step of the plant even where the design conditions do not enable optimal positioning of the various components.
  • a further auxiliary aim of the described plant is to enable an automatic and independent a regulation as far as possible independent of human intervention and therefore to minimise possible delays, inefficiencies and errors of regulation of the plant.
  • an air conditioning plant according to claim 11 is disclosed.
  • the plant comprises, primarily, a predetermined number of air conditioning units 2 the main aim of which is to transfer energy in the form of an increase in air pressure to be diffused into the ambient in such a way as to enable diffusion thereof through the air conditioning plant.
  • the air conditioning units 2 can comprise ventilators able to generate the mentioned pressure increase and a corresponding air flow internally of the plant.
  • the ventilator or ventilators can be centrifugal and for some applications they can also be variable-flow.
  • the air treatment units 2 can also be provided with further devices suitable for thermally conditioning the air flow, cooling it or heating it according to the treatments needs of the ambient in which the plant is installed. With this aim, batteries of hot or cold water, or other solutions besides, can be present.
  • the variation of the air flow temperature internally of the channels can be commanded by means of a variation of the water temperature circulating in the batteries and interested by the flow which thermally conditions or, alternatively (or even in combination), by a variation of the air flow crossing, if present, variable-flow ventilators.
  • the conditioning unit 2 can comprise humidifiers, filters or like devices for climatising the air injected into the ambient.
  • the air conditioning unit is configured such as to enable transfer of the air to be diffused towards appropriate diffuser elements 4 described in the following by means of at least a transport channel 13 destined to place the air conditioning unit 2 with the diffusers 4 in fluid communication.
  • the transport channel 13 can exhibit different configurations and comprise elements or modules of various natures, in particular according to design requirements.
  • it can comprise appropriate air supply channels 8 by means of which the air treatment unit 2 can be placed in fluid connection with manifolds 3 that are part of the transport channel 13. In this way the air flow generated can be appropriately conveyed either internally of the manifold through one or more respective accesses 5 as illustrated in the accompanying figures (see figures from 16 to 22, for example).
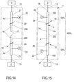
  • Each air conditioning plant comprises, in general, at least a manifold 3 (even though in some extremely simplified embodiments the manifold could be absent, see for example figure 14 ).
  • each manifold 3 exhibits respective accesses 5 directly connected to the air conditioning unit 2, for example via the air supply channel 8.
  • figures 8 , 10 , 12 , 14 illustrate a single air conditioning unit 2 with respect air supply channels 8 which, through the access 5, send a flow of air to the manifold 3.
  • Figures 9 , 11 and 13 comprise at least two air conditioning units 2 with respective air supply channels 8 that, through the accesses 5, send the air flow into the manifold 3.
  • a single air treatment unit 2 can have two or more supply channels 8 which carry the flow to different points of the manifold 3, through various accesses 5 (see for example figure 19 ).
  • the flow generated by a single air conditioning unit 2 is shared in various air supply channels 8, being thus introduced internally of the manifold 3 in different positions.
  • the plant further comprises the above-mentioned diffuser elements 4 in fluid communication with the manifold 3 for diffusing the conditioned air into the environment.
  • a plurality of diffuser elements 4 are included, and in general a plurality of diffuser channels 4a, perforated such as to diffuse air into the ambient, generating an inductive effect on the air surrounding the channel.
  • the diffuser channels 4a exhibit a plurality of perforations 14 having diameters that can be different and appropriately arranged to move the ambient air by exploiting the high induction.
  • an air recall can be made of the air surrounding the diffuser with a recalled volume that can be of up to thirty times the volume of the air injected into the ambient by the diffuser element 4.
  • the diffuser channels 4a instead of simply diffusing the delivery air into the ambient, "launch" it towards the zone to be treated and thus use the delivery air to push and move the totality of the volume of the ambient air.
  • These diffuser channels are also known as impulse channels.
  • An impulse channel comprises a channel generally (though not necessarily) made of a fabric or metal, preferably circular, on which a particular perforation is applied, constituted by two types of perforation: smaller induction holes, which decide the quantity of ambient air to be mixed with the delivery air, and larger guide holes, which decide in which direction, at what speed and to which distance to convey the mass of ambient air pre-mixed by the induction holes.
  • linear load loss is limited, while the load loss localised at the perforations is of considerably greater entity.
  • the manifold 3 can be manufactured with a substantially constant section as the main load losses are on the perforations of the diffuser channels. In this situation neither the manifold 3 nor the perforated channel 4a will thus have a set main air flow direction.
  • a plurality of diffuser channels 4a are present, which branch distancingly from the manifold 3 such as to be able to reach various zones of the ambient to be conditioned, specially designed.
  • the air supply channel 8 which connects the air treatment unit 2 to the manifold 3 has respective closing means 9 which can selectively prevent a flow of air through the supply channel 8, particularly in the rest state of the air conditioning unit 2.
  • the above-mentioned closing means 9, which are generally defined by shutters, for example having opposite blades mobile between an open condition in which they allow the passage of air, to a closed condition in which the flow is blocked, are destined to prevent, in the shut-down state of the air conditioning unit 2, the air contained in the manifold 3 from flowing back through the supply channel 8 for example by setting in the fans in reverse motion to normal use motion, and also from leaking the flow energy into the environment.
  • partialising means 10 can be active on the manifold 3 or between the manifold 3 and the diffuser element 4 in such a way as, respectively, to partialise the flow of air in the manifold 3 or the air flow between the manifold 3 and the diffuser element 4.
  • the partialising means 10 can be suitably positioned in an intermediate position along the development axis of the diffuser element 4 when in the form of a diffuser channel 4a (see for example figures 10 , 12 , 13 , 14 and 15 ).
  • the partialising means 10 are further generally defined by appropriate shutters, for example having opposite blades, mobile between a maximum opening position in which they allow the flow of air in passage and a closed position in which they substantially block the air passage.
  • both the closing means 9 and the partialising means 10 are interposed in suitable sections of the respective channels and are generally motorized in order so that they can be remotely controlled , or even controlled automatically.
  • the plant may optionally be equipped also with respective nodes 11 each provided with at least two accesses (up to six accesses in all).
  • the nodes are constituted by prismatic box-like structures, such as cubic, in which each of the faces corresponds to a potential access 11a, 11b, 11c, 11d, 11e (see for example figure 23 ).
  • the node can be positioned in different parts of the air conditioning plant.
  • the node can be interposed between two consecutive tracts 3a, 3b of a manifold 3 such as to selectively interrupt the fluid connection between the two tracts.
  • the node can be positioned between a manifold 3 and a diffuser element 4 in such a way to be able to interrupt the communication between the two aforementioned components.
  • the node can be placed between the access channels 8 and the manifold 3 in such a way as to make the fluid communication between the two parts selective.
  • a node could be positioned at one or more intermediate portions of a diffuser channel 4a in such a way to be able intercept the flow of air totally or partially also only at certain tracts of a diffuser channel 4a.
  • Figure 23 illustrates a perspective view of a possible embodiment of one of the nodes 11.
  • the node exhibits an air access channel 8 superiorly arranged so to receive delivery from the air conditioning unit 2 through the access 11a.
  • the closing means 9 are present at the access surface 11a, which closing means 9 consist of a motorized shutter (see figure 24 ) having opposite blades; in particular an actuator can actuate the shutter between the two positions, open and closed.
  • the node schematically represented in figure 23 is then interposed along the manifold 3 and in particular between two consecutive tracts 3a and 3b, being able to intervene in order to close, using partialising means 10, also consisting of shutters with opposite blades, such as to selectively block the flow between the portions 3a and 3b.
  • Respective accesses 11c and 11e are also present on the node, having two diffuser channels 4a such that the fluid communication between the manifold 3 and the diffuser channels 4a can be interrupted when so required by use of the partialising means 10 constituted by shutters having opposite motorise blades ( figure 24 ).
  • Figure 24 shows, in cross-section along a vertical plane, the node shown schematically in figure 23 .
  • This section describes in detail the closing means 9 and the partialising means 10 interposed respectively between the access channel 8 and the manifold 3 and between the manifold 3 and the two diffusers 4a which branch off from the manifold 3.
  • Figure 7 schematically illustrates a more complex embodiment of an intersection zone of a plurality of conduits in which each node 11 can intercept and/or partialise the flow to and from the respective channels.
  • the plants of the present invention may alternatively (or in combination) also comprise diffuser elements 4 constituted by normal air vents 4b inletting into the ambient, for example of the type illustrated in figures 25 and 30 .
  • the diffuser elements 4 of known type and widely used in commerce are also referred to as terminal diffuser units 4b and comprise vents, nozzles and diffusers of various type which are neither induction nor impulse diffusers.
  • the terminal diffuser units 4b introduce air into the environment in a substantially localized way and the load loss thereat is generally low and comparable to the load loss per linear meter of the remaining parts of the plant.
  • figures 8 and 9 illustrate this type of plant in which the diffusion occurs at the terminal portions of the transport channels 13 where the above-mentioned vents 4b are located.
  • these vents can be suitably distributed along the whole development of the transport channel 13 and inject air into the environment where required by the design requisites.
  • plants of hybrid nature i.e. comprising both linear impulse channels 4a and terminal diffuser units 4b are configurable (see for example figure 30 ).
  • the partialising means 10 can assume embodiments that are different than those previously described.
  • they can take the form of a flow interrupting element 20, for example a sliding shutter as shown in the figure, or mobile between a non-operating condition in which it allows a passage flow towards the diffuser element 4b (transparent in the figure) and then the diffusion of air through the diffuser element, and a plurality of operating conditions in which the flow of air through the vent can be partialised up to being substantially stifled.
  • FIG. 26 A further different embodiment of the partialising means 10, in the form of flow interrupting elements 20 is shown in figures 26, 27a and 27b .
  • the flow interrupting element 20 is substantially constituted by a single element, for example circular or more in detail having a complementary shape to the section of the channel (circular in the illustrated embodiment), for example mobile in rotation with respect to a rotation axis 24 between a non-operating condition, in which it does not intercept the flow of air and allows the passage between two successive tracts of a diffuser channel 4a and a closed operating condition, in which it interrupts the passage of fluid between the two tracts of the diffuser channel in which it is interposed.
  • This type of solution may be adopted for channels of small size/diameter.
  • FIG. 27a and 27b A more advantageous alternative embodiment is illustrated schematically in figures 27a and 27b , with the flow interrupting element 20 respectively in the open condition in which it allows air flow passage without substantial interference and in a closed condition in which it substantially intercepts the flow.
  • This embodiment embraces the concept of a shutter having opposite blades, of the type previously described, whereby a rotation (clockwise or anticlockwise depending on the position) of each blade relative to its axis of development 24 involves the opening/closing of the shutter.
  • the conditioning plant as described can also include respective actuators 25 (shown only in figure 30 but possibly present for one or more - and possibly for each - of the flow interrupting elements) for moving the flow interrupting element 20 between the non-operating state and the operating state and vice versa, in particular by means of an automatic movement.
  • the system can comprise at least a sensor 22 of a flow parameter linked to the flow rate (and possibly a plurality of such sensors in appropriate positions of the plant with the aim of detecting an operating value of the parameter of interest internally of the plant itself then used for the regulating that will be described below).
  • the sensor 22 can be a flow sensor or, more commonly, a pressure sensor 22 (and possibly a plurality of such sensors in appropriate positions of the system in order to detect an operating pressure in the plant used for the regulating that will be described below).
  • a pressure sensor that is cheaper and easier to manage compared to other sensors, it being understood, however, that a different sensor can be used instead (or in combination).
  • the pressure sensor 22 is illustrated schematically in the figures; in some of the figures they are together with a control unit or CPU to which it can be directly connected. It is understood, however, that the pressure sensor can be present in each of the plants illustrated in the figures, including in different positions or in a greater/lesser number depending on the design and control needs described below. In general, however, the pressure sensor 22 (or pressure sensors if more than one) are positioned in a first portion 100 of the system 1 that is located between the flow interrupting element 20 (or the flow interrupting elements 20) and the air conditioning unit 2 (or air conditioning units 2).
  • the main interest is in knowing the pressure in the active zones (not partialised) of the plant. Obviously there is no bar to detecting the pressure in different areas of the plant (i.e. a second portion 200 of the plant) in the event of further operational needs.
  • the air conditioning plant the components of which have been described above can give rise to a plurality of different configurations characterized by their excellent adaptability to the environment to be treated, thanks to advantageous features of which some will be detailed below.
  • FIG. 1 illustrates a plant with three diffuser channels 4a flanked and parallel to one another, and the two lateral channels are impulse channels designed to introduce air into an environment with high inductive effect, while the centre channel has the task of injecting a greater or lesser quantity of air flow into the environment, as required.
  • the two lateral channels 4a operate by induction, recalling and mixing large volumes of ambient air, and are in general provided with perforations 14 arranged along the longitudinal development angularly facing downwards (i.e. with launch angle inclined downwards), respectively to the left and to the right (see figure 2 ); vice versa the central channel with perforations 14 facing upwards (see figure 2 ) does not generally operate by induction effect but serves to discharge more or less air into the room, if necessary.
  • the CPU receives the pressure reading signal (or flow rate if applicable) from the sensor 22 and possibly as a function thereof adjusts the partialising of the flow in each of the three channels 4a (mainly in the central channel).
  • Figure 3 illustrates an embodiment with only two channels 4a which operate by impulse alongside one another (obviously the diffuser channels 4a are not shown in their entirety, but only two modules are represented for each channel - it is understood that in addition to being present in a consecutively aligned greater number, the final modules are closed by a respective bottom).
  • Figure 4 shows in section view the node zone 11 from where the diffuser channels develop, such as to illustrate a possible positioning of the flow interrupting elements 20 which can intervene to partialise the air flow in each of the two channels 4a.
  • Figures 6a and 6b schematically illustrate an alternative embodiment of the system of figure 4 , in which the flow interrupting elements 20 are positioned along the development of the channel in the vicinity of the closed end 17 of the respective speakers 4a and not in the inlet zone 16 (or not only in this area).
  • Figure 6a shows a situation in which both intermediate flow interrupting elements 20 are open and allow air passage with a consequent inductive effect throughout the development of the channel 4a.
  • Figure 6b shows a situation in which both flow interrupting elements 20 are closed and intercept the air flow with a consequent inductive effect obtained exclusively along the initial development 21 of the channel, while the flow is substantially reduced (or zeroed) at the terminal region 18.
  • the active portion of the channel will be at higher pressure with consequent increase in the launch of air from the active perforations 14.
  • Figures 8 and 9 show some examples of plants provided with terminal diffusion units 4b in which various flow interrupting elements 20 are shown positioned in various parts of the circuit.
  • Figure 8 illustrates the flow interrupting elements 20 positioned a the terminal diffusion units 4b; the flow interrupting elements 20 might be shutters having opposite blades or might also assume the configuration shown in figure 25 , or could be sliding hatches closing the output channel of the delivery air.
  • Figure 9 shows that the flow interrupting elements 20 can also be positioned at the entrance of the secondary branching channels, or in an intermediate or even an initial position in the tapered channels.
  • Figures 10 to 15 instead show solutions that use impulse linear diffuser channels 4a.
  • the various embodiments show how the flow interrupting elements 20 could be positioned at the entrance of the diffuser channel or in an intermediate position, such as to intercept the flow to all or only to certain diffuser channels 4a.
  • member flow interrupting elements 20 can exclude a portion of the plant connected at two sides to different treatment units, separating a first portion 100 from an isolated second portion 200 of the plant.
  • Figure 16 illustrates a plant in which the manifold 3 is arranged centrally with respect to an environment 12 to be treated.
  • Three air conditioning units 2 are connected to the collector, in three positions along the axial development of the manifold, each unit 2 having its own air supply channel 8 and its own closing shutter 9.
  • the plenum manifold 3 generally made of a metal material and free of perforations or air diffusion vents (except, in certain plants, anti-condensation perforations), exhibits a same cross section along its entire development. It should be noted that in systems where the load losses are at the diffusion perforations arranged on the diffuser channels it is not necessary to perform any dynamic recovery with narrowings of section in the manifold 3 and/or the diffusion channels 4a.
  • a node 11 of the previously-described type is present at each branch of the manifold 3 of a diffuser channel 4a.
  • the nodes 11 represented will exhibit at least partialising means 10 at the connection between each diffuser channel 4a and the manifold 3.
  • the nodes of shutters will be provided with opposite blades also at contiguous portions of the manifold in selected areas, so as to stop the flow in predetermined zones inside the manifold.
  • the partialising means 10 in particular in the form of elements of flow interrupting elements 20 at intermediate tracts of one or more of each of the diffuser channels 4a.
  • the flow interrupting elements 20 can be positioned at a distance of about 2/3 of the overall length of the diffuser channel 4a compared to the respective node 11.
  • the air conditioning plant at full capacity, i.e. with all three air conditioning units 2 in operation and the maximum air flow per linear metre in the plant itself.
  • the condition could be that of a conditioning plant when conditioning an environment in the summer season.
  • the illustrated plant could function as a heating system for the environment.
  • each channel 8 which connects the plenum with the manifold 3 to the shut down conditioning unit 2 is closed off by closing means 9 in order to prevent dispersion of the conditioned air through the deactivated conditioning unit.
  • FIG. 17 illustrates a different type of system with plenum manifold 3 arranged on only one side of the environment 12 to be treated.
  • the partialising means 10 particularly in the form of the flow interrupting elements 20, can be positioned at any position along the channel development axis 4a, preferentially at a closed second end 17 of the diffuser channels 4a.
  • the system described could be designed with only two air conditioning units 2 providing further accesses 5 in order to be able to reach the other following units.
  • An initial requirement could in fact be to create an air conditioning plant only to heat an environment that requires a certain amount of air volume treated per unit of time. Should it be required to include, in the plant, also a conditioning function, it would probably be necessary to include a greater air flow; therefore two further units could be added, all connected to the same plenum manifold 3 as described above.
  • FIG. 18 describes a further embodiment, in which there are two plenum manifolds, one for each longer side of the environment 12 to be treated, each plenum manifold 3 provided with its own air treatment unit 2 in fluid communication and the respective nodes 11 at each connection of the plenum manifold 3 with the diffuser 4.
  • the diffuser channels connect a plenum manifold 3 to another defining, in effect, a multi-connected structure.
  • the treatment plant shown in figure 4 is self-balanced as it substantially does not generate air flows with specific directions internally of the plant; this is due to the fact that the load loss of the conduits have a much lower value that the load losses localised at the diffuser perforations present on the diffuser channels 4a.
  • the use of the plenum collector 3 as described enables arranging the treatment unit 2, but also the manifolds 3, in the most advantageous positions taking into account the geometry of the structure and the environment to be conditioned.
  • Figures 19 , 20 , 21 , 22 illustrate an alternative configuration of the system that uses a self-compensated manifold ring 3 (or a plurality of rings).
  • Figure 19 illustrates a manifold ring 7 which follows the perimeter of the environment 12 to be conditioned. Note in particular that there is a plurality of air conditioning units 2 and that one of them 2a is connected to the plenum manifold 3 at different accesses 5 via respective supply channels 8 which branch off from the treatment unit 2.
  • the section of the manifold channel can be reduced.
  • a flow of 30000 m 3 /h is necessary, if it were injected through a single access 5 in a manifold ring, this would require a section of the manifold ring itself to be able to convey and dispose of 15000 m 3 of air/hour for each segment (left and right) of the manifold ring facing the access 5.
  • the flow even sub-dividing air over several air access channels 8 at the flow rate of an air conditioning unit 2 it is clear that in the access zones they are introduced in smaller quantities of m 3 of air per hour which thus require smaller transport sections. This involves the possibility of having a section of the manifold ring with smaller dimensions, resulting in an improved aesthetic impact and a considerable reduction in costs.
  • the collector ring 3 can continuously follow the geometry of the environment to be treated, without the air treatment system suffering from the point of view of fluid dynamics from these constraints.
  • the collector ring 3 performs mainly the function of a diffuser element 4 (or diffuser channel 4a).
  • a diffuser element 4 or diffuser channel 4a.
  • the plant of figure 20 substantially corresponds to the one of figure 19 , but has four nodes located at the corners of the environment to be treated. The use of these nodes 11, and in particular of the respective partialising means 10, enables obtaining a partialised ring manifold 3 in which, in addition to functioning at full capacity and with the ring open it is possible to obtain, for example, a functioning only on two opposite sides.
  • a plurality of diffuser, or exhaust, channels 4a is also included, which interconnect opposite portions of the manifold ring.
  • a conditioning unit 2a can be associated on the diffuser channels 6 which can for example partialise the flow generated thereby onto each of the connecting channels.
  • the plant of figure 22 illustrates a solution comprising two manifold rings 7 connected to one another by appropriate nodes 11 interposed and supplied by two air conditioning units 2.
  • figure 28 shows an air conditioning system for conditioning environments on two different floors of a building by means of a single air conditioning unit 2 which partialises its flow on the respective rings 3 on the upper floor and on the lower floor. Also, by suitably orientating the launch angle of the flow is possible to direct, also depending on the season and the type of conditioning to be provided, the flow of conditioned air to appropriate areas of the environment to be conditioned.
  • At least an interrupting element of the flow passage 20 for example a shutter, is movable between a first operative condition in which allows a passage of fluid towards the diffusion elements 4 and a second operating condition in which it intercepts, substantially reducing, in comparison to the first operating condition, the passage of air towards at least one of the diffuser elements 4.
  • the flow interrupting element 20 is interposed between a first portion 100 of the plant directly in fluid connection with at least an air conditioning unit 2 and a second portion 200 of the system and intercepts the flow of air coming from the air conditioning unit 2 and directed towards the second portion 200 of the system.
  • the second portion 200 of the system is the one defined downstream of the flow interrupting element 20 located at the central channel.
  • the second portion 200 of the plant can be the one defined downstream of the flow interrupting elements 20 seats at the terminal zones of the two channels (as shown) or even the one defined downstream of the flow interrupting element 20 positioned on one or the other channel according to requirements.
  • 20 can be any of the branches of the ring depending on which flow interrupting elements 20 are activated.
  • the second portion 200 of the system is one in which it is possible to exclude part of the diffusers 4 affected by a lower air flow rate per linear meter (by closing some of the flow interrupting elements 20) compared to that of normal plant operation.
  • the flow rate in the second portions of the system 200 will be generally reduced, but it could also be substantially zero.
  • the pressure or flow rate sensor 22 detects an operating pressure internal of the plant and is in general positioned at the first portion 100 of the plant such as to detect a pressure of an operating flow rate of the plant directly in fluid connection with the air treatment unit 2.
  • a predetermined number of sensors 22 can be present for each plant of which some are also placed in the second portions of the plant (possibly only in certain configurations of the system itself - see for example figure 20 ).
  • the procedure involves the following general steps: activating the treatment unit 2 to generate a flow of air to be diffused internally of the transport channel 13 and the diffusers 4; detecting, via the sensor 22, the pressure or flow rate generated inside the plant, in general in the first portion 100 which is the active portion, i.e.
  • the step of moving the flow interrupting element 20 is carried out as a function of the pressure or flow detection in the first portion 100 of the plant directly in fluid connection with the air handling unit 2, the air flow in the first portion 100 of the system is regulated.
  • the operator will read the measured value from the sensor and adjust the flow interrupting element 20 to bring the real value read by the sensor 22 (flow or preferably pressure) to a corresponding desired value.
  • the manual adjustment will be made by acting on a lever mechanism or, in systems with more automation, via an actuator 25 capable of moving the flow interrupting element passage 20 between the first operating condition and the second operating condition and vice versa; in this case the movement of the flow interrupting element 20 is a sub-step of automatic movement via the manually-commanded actuator 25.
  • the process of plant automation will be in general more radical than described above: in fact, via the control unit CPU receiving in input the pressure or flow sensor signal 22, the CPU will be able to command the movement of the actuator 25 to regulate the flow of air to the first portion 100 of the system. In this situation there will be a memory containing at least a desired pressure value and/or a desired air flow rate value of per linear metre to be obtained in the first portion of the plant.
  • the control unit commands the movement of the actuator such as to regulate the air flow to the first portion 100 of the plant according to the value received from the sensor 22 and the desired value of air flow rate per linear metre; in particular the desired air flow rate per linear meter will be associated with a corresponding predetermined pressure value and the control unit CPU will move the flow interrupting element 20 between the first operating condition and the second operating condition or vice versa to determine, inside the first active portion 100 of the system, a real pressure or flow rate variation detected by the sensor 22 and bring the real pressure or actual air flow detected to the desired rate per linear metre or the predetermined pressure value to which with the desired air flow rate per linear metre is associated.
  • the movement of the flow interrupting element 20 therefore enables the control unit to regulate the air flow at the first portion 100 of the system.
  • the selection of a desired value of air flow rate per linear metre and the movement of the flow interrupting element 20 into a position between the first and the second operating condition as a result of the detection of pressure or flow rate carried out by the sensor 22 can at least partially exclude at least one diffuser element 4 and bring the real value of air flow rate per linear metre in the first portion of the plant to values close to or coinciding with the desired value of air flow rate per linear metre.
  • the step of selecting the desired value of air flow rate per linear meter can be driven by the operation: the system setting during the start-up step, the need to exclude part of the plant (summer to winter operation) without generating draughts at ground level, the calibration of the system to correct errors or installation problems and put the system into optimum operating condition.
  • the step of selecting the desired value of air flow rate per linear metre comprises determining a desired value of air flow rate per linear metre when setting-up the system for heating an ambient, for example in winter, and/or a sub-step of determining a desired value of air flow rate per design linear metre such as not to generate ground draughts and to achieve air diffusion by inductive effect, and/or a sub-step of determining a desired value of air flow rate per linear metre in operating state by means of one or more excluded diffuser elements 4 maintaining an air flow rate per linear metre such as not to generate ground draughts and to obtain an air diffusion by inductive effect in the non-excluded first portion of the plant and a further substep of selecting one of the desired values.
  • the step of generating an increase of pressure in the air to be diffused inside the plant with respect to the pressure of normal operation is obtained by at least partially excluding one or more diffuser elements 4.
  • the excluded diffuser elements 4 substantially do not diffuse air flow into the environment, or diffuse less than during normal operation.
  • the increase in pressure results in a substantial increase in the launch of the non-excluded diffuser elements 4 (compare figures 6a and 6b for example); optionally the increase in the launch of the non-excluded diffusers 4 generates currents near the ground in the environment to be conditioned, and moves the air contained therein.
  • the diffuser channel 4a affected by the exclusion of a portion has a first end 16 directly in fluid connection with the transport channel 13 and a closed second end 17.
  • the exclusion, at least partial, of one or more of the diffuser channels is achieved via an at least partial interruption of the fluid communication between the transport channel 13 and an end portion 18 of the diffuser channel 4a (also defining said second portion 200 of the plant) located at the second closed end 17; the air flow in the terminal portion 18 of the diffuser channel 4a is reduced as a result of the at least partial interruption of communication with the transport channel 13 (see, for example the comparison of figures 6a and 6b ).
  • the diffuser channel 4a affected by the exclusion has a first end 16 directly in fluid connection with the channelling of transport 13 and a second end 17 directly in fluid connection with a further transport channel 13; the exclusion, at least partial, of one or more of the diffuser channels 4a occurs by at least partial interruption of the fluid communication between a central portion 19 of the diffuser channel 4 (defining said second portion of the plant) interposed between the first and second ends 16, 17.
  • the air flow in the central portion 19 of the channel undergoes a change as a result of the at least partial interruption of communication with the transport channels 13.
  • the flow interrupting element 20 is interposed between an initial portion 21, defined by at least 40% of the total volume of the diffuser channel 4a, and in particular by at least 60%, and the terminal portion 18 of the diffuser channel 4a.
  • the step of at least partial exclusion entails an increase of the pressure in the initial portion 21 of the diffuser channel 4a, and a corresponding increase in the launch of air from the diffusion perforations 14 in the initial portion 21 of the diffuser channel 4a.
  • the exclusion is a regulatable exclusion step for obtaining different pressure variation values, positive or negative.
  • the procedure further comprises the steps of providing at least an optimum pressure value or an optimum range of values for the conditioning system set-up and regulating the at least partial exclusion of one or more diffuser elements 4 as a function of the pressure detection performed by the sensor 22, such as to bring the operating pressure of the system to converge to the optimal pressure value or optimal range of pressure values.
  • the step of regulating the exclusion includes a movement of at least one flow interrupting element 20 from the first operating condition to the second operating condition such as to vary the diffusion of the exiting air from the diffuser element 4 in a controlled manner.
  • the pressure can be detected by the sensor 22 and the flow interrupting element 20 can be regulated to bring the supply air to the terminal diffuser units 4b so as to restore the desired flow rate value per linear metre at the induction channel in order to have the desired inductive effect without ground draughts.
  • the plant of figure 31 will operate with a greater or smaller opening of the central channel, again to restore the desired flow rate value per linear metre at the side induction channels and have the desired inductive effect without ground draughts.
  • the channel that takes the delivery air to the terminal diffuser units 4b is completely deactivated and the variable-flow ventilator 2 air flow is regulated by a manual regulating command 26 such as to limit the air flow in the plant and restore the desired flow rate per linear metre of the induction channel.
  • one of the two side channels can be closed and the excess air flow can be injected into the ambient through the central channel, thus restoring the desired flow rate per linear metre at the lateral induction channel that is still active.
  • the plant can also be self-regulating. Assuming the presence of an ambient temperature sensor and a corresponding thermostat 27 ( figure 31 ), the a corresponding desired temperature will be set on the thermostat. When the environment reaches this temperature, the system tends to maintain it, or in case of variation, the treatment unit 2 variable flow reduces/increases the air flow rate inside the plant as appropriate. If no adjustment ensues, there will be a reduction in plant performance due to the presence of ground draughts, or because of the poor inductive effect caused.
  • the sensor 22 will detect the new pressure/flow rate value and the CPU, after having received this value and compared it with the desired value, will move the shutter of the central channel in order to increase or reduce the passage of air in the channel and thus restore the desired flow rate value per linear metre in the induction channels 4a.
  • the process is advantageous for the system start-up, or for reducing the temperature homogenization times, i.e. to ensure that the temperature differences between the zones near the ground and those in the vicinity of the ceiling are within close limits;
  • the procedure comprises the general steps of operating the conditioning unit/units 2 in such a way as to generate the above-mentioned increase of pressure in the air to be diffused internally of the transport channel 13 and to all the diffusers 4.
  • This increase of pressure is what would occur in conditions of normal use of the plant in order to be able to send a quantity of air into the ambient sufficient to cool it without generating any type of ground draught.
  • a ground draught is considered to be an air velocity perceivable by the user of greater than 0.25 m/s.
  • a further increase of pressure is generated in the air to be diffused.
  • This further increase in pressure is obtained by at least partially excluding one or more diffuser elements 4.
  • the excluded diffuser elements 4 do not diffuse air, or diffuse it to a lesser extent compared to the full operating state.
  • the pressure increase leads to a substantial increase in the launch of the non-excluded diffusers 4 which generates ground draughts into the ambient to be conditioned, and effectively moves the air present therein.
  • the correct dimensioning of the plant takes into account the fact that the ground draughts are absolutely to be avoided so as not to annoy the user while in the environment.
  • the exclusion (preceding, simultaneous or subsequent to the start-up stage of the plant) of some diffuser elements 4 while maintaining the operating conditions of the air conditioning units 2 unchanged (in particular in terms of generated pressure leaps or generated flow rate) bring about the further pressure increase which in turn is reflected in the air emitted through the diffuser elements and in particular through the diffusion perforations 14 of the diffuser channel 4a, with output velocities that are greater, such as to generate ground draughts and the relative turbulence which move the cold air near the ground level.
  • the homogenization of the temperature in the heating phase is much faster than with conventional systems.
  • the above-mentioned effect can be obtained by reducing (or possibly interrupting) the flow of air directed to the central channel by intervening on the respective flow interrupting element 20.
  • the procedure comprises intervening at a predetermined number of terminal diffuser units 4b.
  • the mentioned further increase in pressure is guaranteed, and with it the injection through the active vents 4b of hot air with such a velocity as to move the cold air in proximity of the ground.
  • flow interrupting elements 20 can be used, for shutters, which can act at portions of channel of the transport channel 13 (for example of the type illustrated in figures 26, 27a and 27b ).
  • flow interrupting elements 20 can be used of the type illustrated in figure 25 , able to intervene directly on the vent 4b by moving a hatch able to intervene directly on the vent 4b by moving a hatch acting on the opening, which enables the air to reach the vent.
  • the flow interrupting element 20 can be positioned between an inoperative position in which the entire passage opening is left substantially free to a condition of complete closure, in which basically the diffuser element 4, in particular the vent terminal diffuser unit 4a, is excluded.
  • the throttling means 10 constituted by the aforementioned flow interrupting element 20 are positioned in correspondence with an intermediate area of the diffuser channel 4a.
  • the exclusion of one or more of the diffuser channels 4a takes place by means of an at least partial interruption of the fluid communication between the terminal portion 18 of the diffuser channel 8 and the rest of the plant.
  • the closed terminal portion 18 of the channel is deactivated and excluded during the step of start-up of the plant in such a way that the remaining part of the diffuser channel 4a can enter with a greater hot air launch into the ambient, therefore moving the cold air near the ground.
  • a central portion 19 of the diffuser channel 4a can be excluded.
  • a combination of the two methods described briefly above may also be used. It should be noted, in this respect, that the embodiments of the figures alternatively illustrate one or the other of the two procedures, but they can be combined in any way to achieve the desired effects.
  • the flow interrupting element 20 can be moved from a non-operative condition in which it does not intercept the flow to an operating condition, substantially closed, in which it prevents substantial air passages towards the excluded portion of the diffuser channel 4a.
  • the procedure for moving the ambient air during plant start-up state can also include the steps of detecting, via the pressure sensor 22, the further pressure increase and regulating the at least partial exclusion of one or most of the diffuser elements 4 as a function of the pressure detection performed by the sensor 22.
  • the exclusion step is a regulatable exclusion step for obtaining various pressure increase values.
  • a control unit 23 can be set so as to memorise an optimal pressure value of or a range of optimal pressures values so that the plant can be set at working mode.
  • an optimum pressure can be derived for the start-up to working state that can be obtained by regulating the opening/closing of the fluid retaining elements 20.
  • the pressure sensor provides the operating pressure internally of the plant and the control unit that receives the input can automatically regulate the flow retaining element 20 (or the elements 20) so that the operating pressure inside the portions not excluded from the plant diffusion can tend towards the optimal value or otherwise be included in a range considered optimal for the start-up.
  • the control unit that receives the input can automatically regulate the flow retaining element 20 (or the elements 20) so that the operating pressure inside the portions not excluded from the plant diffusion can tend towards the optimal value or otherwise be included in a range considered optimal for the start-up.
  • the flow retaining element 20 is positioned such as to define a terminal portion occupying at most 60% of the total volume of the diffuser channel 4a and in particular at most 40%.
  • the flow treating element 20 is positioned, as close as possible, such that the complete closure thereof leads to the desired further increase of pressure to optimal for the movement of the ground air; in any case the retro-activated system with the pressure sensor enables reaching the optimal pressure value for this operation automatically and independently of any design errors and/or modifications in plant operational conditions.
  • Figure 28 illustrates a detail of a plant in normal operating conditions in which ground draughts are not generated.
  • Figure 29 illustrates the same plant during start-up in which some portions thereof are excluded and the launch obtained by means of the active diffuser elements 4 is such as to generate ground draughts and guarantee a better mixing and a more rapid homogenisation of the air.
  • the invention provides important advantages.
  • the procedure of bringing the plant up to working conditions/start-up enables minimising the times necessary during heating of an environment such as to obtain a homogenisation of the temperatures.
  • the plant is able to automatically control, or control in feedback, the generation of optimal conditions for the movement of the air at ground level in the critical stages.
  • the procedure of the invention does not require special technical measures or mechanisms which are not already available to a technical expert in the sector.

Landscapes

  • Engineering & Computer Science (AREA)
  • General Engineering & Computer Science (AREA)
  • Chemical & Material Sciences (AREA)
  • Combustion & Propulsion (AREA)
  • Mechanical Engineering (AREA)
  • Fluid Mechanics (AREA)
  • Physics & Mathematics (AREA)
  • Air Conditioning Control Device (AREA)
  • Flow Control (AREA)
  • Duct Arrangements (AREA)
  • Nozzles (AREA)
  • Respiratory Apparatuses And Protective Means (AREA)
  • Jet Pumps And Other Pumps (AREA)
  • Control Of Positive-Displacement Air Blowers (AREA)

Description

    FIELD OF THE INVENTION
  • The present invention relates to a procedure for regulating an air flow in an air conditioning plant and a relative plant, used for actuating the procedure. Further, the present invention relates to a process for starting-up and bringing to normal operating state, in particular during the winter season in the heating phase, a plant for air conditioning and the relative plant used to actuate the procedure.
  • PRIOR ART
  • As is known, plants are known and widely used for air conditioning/treatment which include the use of one or more ventilators suitable for generating a pressure increase internally of a predetermined number of channels in turn able to convey the air to diffusion vents or also perforated diffuser elements in the form of channels with the aim of diffusing conditioned air into the area surrounding the air conditioning plant. These plants are in general designed to condition, either by heating in the winter or cooling in the summer, even large spaces (such as those dedicated to fairs, salons, swimming pools, etc.).
  • The most common problems that are encountered today in these plants are connected to the configurability of the plant in terms of activated/deactivated portions of the plant and in relation to the calibration of the plant following installation thereof. It is in fact true that plants diffusing air into an environment, especially impulse plants, i.e. with injection of air into an ambient and generation of an inductive effect able to move large volumes of ambient air, are extremely sensitive to variations in air flow per linear metre with respect to design conditions. Therefore, during the set-up step of the plant, where excessive flow loss occurs due to a not sufficiently precise mounting of the plant or also to non-predictable situations which lead to plant performance that is not as in the design projects, erroneous air diffusion can be encountered, with, for example, a poor inductive effect or, worse still, undesirable draughts at ground level. These situations are often the cause of embarrassment, and might even lead to a risk of dispute with the customer and in any case require unexpected design modifications that cause delay in the delivery times and increases in overall costs.
  • One of the further problems is also to enable a simple and effective homogenisation of the ambient temperature in plant start-up conditions. In fact, particularly in the winter period, and especially after the plant has been unused for a certain period of time (for example after the weekend or after a few days of deactivation), the times required for the environment to be climatised is substantially homogeneous (i.e. the difference in ground air temperature and that of the air close to coverage must be within acceptable limits) are in general quite long. Because of design specifications and comfort of use, in normal conditions of use the plant must not generate substantial draughts at ground level that might annoy persons working in the ambient; on the other hand the generation of draughts, in particular at ground level, might facilitate blending of the air and reduce the times required to get up to optimum conditions. In this situation, experts in the sector have applied themselves to finding optimal solutions in which the air moved is sufficient to enable reaching optimum working conditions, but not such as to generate draughts at ground level that can annoy the user.
  • Also, with the aim of avoiding the above situation, which would necessarily lead to plant shut-down, during the design stage safety criteria are considered that while guaranteeing the absence of ground draughts have negative repercussions in terms of efficiency and time require to get up to full operating mode. In some situations it has been attempted to use ventilators to generate greater increases in pressure in the plant during start-up so as to obtain greater flow rates and thus blow more air into the ambient, thus reducing start-up-to normal operating condition times.
  • This solution however is only a palliative, as if the plant is correctly dimensioned, there is no particular operating margin for increasing the pressure by means of the use of ventilators, as they already operate in a situation that is such that further increases in pressure do not in generally generate corresponding increases in flow rate, thus stifling the intent.
  • Lastly, plant design is problematic in plants requiring various air volumes according to the season (winter versus summer) as the shut-down/start-up of portions of the plants must not create the ground draught problems or lacking inductive effect as explained above. Document EP 224402 describes an air conditioning plant of the type briefly described above which comprises a compensated ring on which a predetermined number of ventilators are active, and which has a plurality of branches emerging from the compensated ring for diffusion of air.
  • This plant exhibits intercept organs at nodes which enable activating/de-activating part of the plant mainly for winger/summer functioning according to needs in terms of air to be diffused.
  • Document US 2003/064676 describes an apparatus for controlling ventilators having variable air flow. In particular, the system is constituted by at least a proportionally-controlled variable-flow ventilator, integral and derivative by means of a controller connected to a control unit. Static and flow pressure sensors are present along the delivery line, for detecting the functioning parameters of the device. Further, the plant includes a predetermined number of shutters operated by respective motors in turn commanded by the control unit. The system is advantageous in the start-up conditions of the plant in which a PID control linked to combined flow and static pressure detections can be extremely advantageous. This document provides no teaching relative to ground air draught generator procedures for reducing the transients of plant start-up and does not control the partialisation of the injection of conditioned air into the environment such as to increase or reduce the emission of volumes of air in portions upstream of the mobile shutters. Control is always effected such as to increase or reduce the air volume injected into the environment downstream of the partialising elements.
  • SUMMARY
  • In this situation, the technical aim at the base of the present invention is substantially to obviate the drawbacks and overcome the limitations of the prior art as briefly discussed.
  • A first aim of the invention is to enable regulating the air flow in an air conditioning plant in such a way as to be able to obtain the desired air flow per linear metre independently of design errors, plant mounting errors and/or unforeseen/unpredictable conditions of plant installation.
  • A further aim of the plant is to enable start-up and full normal operating condition with a rapid reduction of the dishomogeneity internally of the environment to be treated in a reasonably short time.
  • An additional aim is to obtain a more effective remixing of the air at the ground in such a way as to move the cool air that, typically present in the winter season, tends to remain at ground level, making the temperature-homogenising operation difficult.
  • A further auxiliary aim of the plant of the invention is to guarantee optimal plat functioning efficiency both in the initial transitory condition and in the normal functioning condition, guaranteeing the best start-up step of the plant even where the design conditions do not enable optimal positioning of the various components.
  • A further auxiliary aim of the described plant is to enable an automatic and independent a regulation as far as possible independent of human intervention and therefore to minimise possible delays, inefficiencies and errors of regulation of the plant.
  • In a first independent aspect of the invention, a procedure is disclosed for regulating an air flow in an air conditioning plant according to claim 1.
  • In another independent aspect of the invention, an air conditioning plant according to claim 11 is disclosed.
  • In others dependent aspects of the invention, procedures for regulating an air flow in an air conditioning plant according to claims 2 to 10 are disclosed.
  • BRIEF DESCRIPTION OF THE DRAWINGS
  • The description will be made in the following, with reference to the appended drawings, provided purely by way of non-limiting example, in which:
    • figure 1 shows a diagram by way of example of an air conditioning plant which enables actuating the procedure for regulating the air flow according to what is described in the following;
    • figure 2 is a transversal section of the three linear perforations of figure 1;
    • figure 3 is a perspective view of a plant with two linear perforated channels;
    • figure 4 is a cross section of the node from which the two channels of figure 1 branch off;
    • figure 5 is a transversal section of the two perforated channels of figure 3;
    • figures 6a and 6b are diagrams by way of example of a further plant for air treatment which enables actuating the procedure for regulating the air flow according to what is described herein below respectively in a first and a second operating condition;
    • figure 7 is an alternative embodiment of a node from which two different channels branch off;
    • figures 8 - 22 show plants for air treatment enabling use of a regulating procedure of air flow as described;
    • figure 23 illustrates, in perspective view, an interrupted perspective view of a node that can be used in the plants of the preceding figures;
    • figure 24 illustrates a section in a vertical plane of the node of figure 23;
    • figure 25 is a schematic view of a possible alternative embodiment of a part of the treatment plant according to what is described;
    • figure 26 is a schematic view of a further embodiment of a portion of the air conditioning plant according to what is described;
    • figures 27a and 27b illustrate, in cross-section, a possible embodiment of a flow interrupting element in a non-operating condition and in an operating condition of flow interruption;
    • figures 28 and 29 illustrate, in vertical section, a further embodiment of an air conditioning plant according to what is described in an operating condition of normal functioning and in an operating condition of normal working condition or start-up of the plant;
    • figure 30 is a hybrid plant incorporating both standard air diffusers and perforated channels for air injection in an ambient by induction; and
    • figure 31 is a variant embodiment of the described plants.
    DETAILED DESCRIPTION
  • With reference to the figures, 1 denotes in its entirety a plant for air conditioning. The plant comprises, primarily, a predetermined number of air conditioning units 2 the main aim of which is to transfer energy in the form of an increase in air pressure to be diffused into the ambient in such a way as to enable diffusion thereof through the air conditioning plant. For this purpose the air conditioning units 2 can comprise ventilators able to generate the mentioned pressure increase and a corresponding air flow internally of the plant. Purely by way of example, the ventilator or ventilators can be centrifugal and for some applications they can also be variable-flow.
  • The air treatment units 2 can also be provided with further devices suitable for thermally conditioning the air flow, cooling it or heating it according to the treatments needs of the ambient in which the plant is installed. With this aim, batteries of hot or cold water, or other solutions besides, can be present. The variation of the air flow temperature internally of the channels can be commanded by means of a variation of the water temperature circulating in the batteries and interested by the flow which thermally conditions or, alternatively (or even in combination), by a variation of the air flow crossing, if present, variable-flow ventilators.
  • Further, the conditioning unit 2 can comprise humidifiers, filters or like devices for climatising the air injected into the ambient. The air conditioning unit is configured such as to enable transfer of the air to be diffused towards appropriate diffuser elements 4 described in the following by means of at least a transport channel 13 destined to place the air conditioning unit 2 with the diffusers 4 in fluid communication.
  • In general, the transport channel 13 can exhibit different configurations and comprise elements or modules of various natures, in particular according to design requirements. In detail, it can comprise appropriate air supply channels 8 by means of which the air treatment unit 2 can be placed in fluid connection with manifolds 3 that are part of the transport channel 13. In this way the air flow generated can be appropriately conveyed either internally of the manifold through one or more respective accesses 5 as illustrated in the accompanying figures (see figures from 16 to 22, for example).
  • Each air conditioning plant according to what is described comprises, in general, at least a manifold 3 (even though in some extremely simplified embodiments the manifold could be absent, see for example figure 14). As can be seen in the accompanying figures, each manifold 3 exhibits respective accesses 5 directly connected to the air conditioning unit 2, for example via the air supply channel 8. Once more from a general point of view, figures 8, 10, 12, 14 illustrate a single air conditioning unit 2 with respect air supply channels 8 which, through the access 5, send a flow of air to the manifold 3.
  • Figures 9, 11 and 13, on the other hand, comprise at least two air conditioning units 2 with respective air supply channels 8 that, through the accesses 5, send the air flow into the manifold 3.
  • Alternatively, or in combination, a single air treatment unit 2 can have two or more supply channels 8 which carry the flow to different points of the manifold 3, through various accesses 5 (see for example figure 19). In this second modality, the flow generated by a single air conditioning unit 2 is shared in various air supply channels 8, being thus introduced internally of the manifold 3 in different positions. The plant further comprises the above-mentioned diffuser elements 4 in fluid communication with the manifold 3 for diffusing the conditioned air into the environment. In a first series of embodiments (figures 1, 3, 6a, 6b and 16-18) a plurality of diffuser elements 4 are included, and in general a plurality of diffuser channels 4a, perforated such as to diffuse air into the ambient, generating an inductive effect on the air surrounding the channel.
  • In particular, in high-induction diffusion plants, the diffuser channels 4a exhibit a plurality of perforations 14 having diameters that can be different and appropriately arranged to move the ambient air by exploiting the high induction. By suitable dimensioning and positioning the perforations, an air recall can be made of the air surrounding the diffuser with a recalled volume that can be of up to thirty times the volume of the air injected into the ambient by the diffuser element 4.
  • In this way optimal air movement is obtained with a sharp drop in the velocity at a short distance from the diffuser and an important homogenisation of the temperature in the environment (see also the diagrams of figures 2 and 5). The diffuser channels 4a, instead of simply diffusing the delivery air into the ambient, "launch" it towards the zone to be treated and thus use the delivery air to push and move the totality of the volume of the ambient air. These diffuser channels are also known as impulse channels. An impulse channel comprises a channel generally (though not necessarily) made of a fabric or metal, preferably circular, on which a particular perforation is applied, constituted by two types of perforation: smaller induction holes, which decide the quantity of ambient air to be mixed with the delivery air, and larger guide holes, which decide in which direction, at what speed and to which distance to convey the mass of ambient air pre-mixed by the induction holes.
  • The fluid jets of delivery air exit from the perforations with a micro-turbulent flow which creates an important depression about the base of the perforation, and recall by induction a quantity of ambient air generally 30 times greater than the delivery air. In other terms, in high-induction diffusion plants linear load loss is limited, while the load loss localised at the perforations is of considerably greater entity. This means that the manifold 3 can be manufactured with a substantially constant section as the main load losses are on the perforations of the diffuser channels. In this situation neither the manifold 3 nor the perforated channel 4a will thus have a set main air flow direction. Also in accordance with the plurality of first embodiments of figures 1,3, 6 and 16-18, a plurality of diffuser channels 4a are present, which branch distancingly from the manifold 3 such as to be able to reach various zones of the ambient to be conditioned, specially designed.
  • Observing the enclosed figures, it can be seen that the air supply channel 8 which connects the air treatment unit 2 to the manifold 3 has respective closing means 9 which can selectively prevent a flow of air through the supply channel 8, particularly in the rest state of the air conditioning unit 2. In other words, the above-mentioned closing means 9, which are generally defined by shutters, for example having opposite blades mobile between an open condition in which they allow the passage of air, to a closed condition in which the flow is blocked, are destined to prevent, in the shut-down state of the air conditioning unit 2, the air contained in the manifold 3 from flowing back through the supply channel 8 for example by setting in the fans in reverse motion to normal use motion, and also from leaking the flow energy into the environment.
  • Note also the presence also of suitable partialising means 10 active at different positions of the system described. The partialising means 10 can be active on the manifold 3 or between the manifold 3 and the diffuser element 4 in such a way as, respectively, to partialise the flow of air in the manifold 3 or the air flow between the manifold 3 and the diffuser element 4.
  • Note also how in certain illustrated embodiments the partialising means 10 can be suitably positioned in an intermediate position along the development axis of the diffuser element 4 when in the form of a diffuser channel 4a (see for example figures 10, 12, 13, 14 and 15). The partialising means 10 are further generally defined by appropriate shutters, for example having opposite blades, mobile between a maximum opening position in which they allow the flow of air in passage and a closed position in which they substantially block the air passage.
  • In general, both the closing means 9 and the partialising means 10, which may have substantially coinciding embodiments (and also different from those described), are interposed in suitable sections of the respective channels and are generally motorized in order so that they can be remotely controlled , or even controlled automatically. The plant may optionally be equipped also with respective nodes 11 each provided with at least two accesses (up to six accesses in all). In general the nodes are constituted by prismatic box-like structures, such as cubic, in which each of the faces corresponds to a potential access 11a, 11b, 11c, 11d, 11e (see for example figure 23). The node can be positioned in different parts of the air conditioning plant. For example it can be interposed between two consecutive tracts 3a, 3b of a manifold 3 such as to selectively interrupt the fluid connection between the two tracts. Alternatively, the node can be positioned between a manifold 3 and a diffuser element 4 in such a way to be able to interrupt the communication between the two aforementioned components. Further, the node can be placed between the access channels 8 and the manifold 3 in such a way as to make the fluid communication between the two parts selective. In an embodiment that is not illustrated a node could be positioned at one or more intermediate portions of a diffuser channel 4a in such a way to be able intercept the flow of air totally or partially also only at certain tracts of a diffuser channel 4a.
  • Figure 23 illustrates a perspective view of a possible embodiment of one of the nodes 11. In particular the node exhibits an air access channel 8 superiorly arranged so to receive delivery from the air conditioning unit 2 through the access 11a. The closing means 9 are present at the access surface 11a, which closing means 9 consist of a motorized shutter (see figure 24) having opposite blades; in particular an actuator can actuate the shutter between the two positions, open and closed. The node schematically represented in figure 23 is then interposed along the manifold 3 and in particular between two consecutive tracts 3a and 3b, being able to intervene in order to close, using partialising means 10, also consisting of shutters with opposite blades, such as to selectively block the flow between the portions 3a and 3b.
  • Respective accesses 11c and 11e are also present on the node, having two diffuser channels 4a such that the fluid communication between the manifold 3 and the diffuser channels 4a can be interrupted when so required by use of the partialising means 10 constituted by shutters having opposite motorise blades (figure 24).
  • Figure 24 shows, in cross-section along a vertical plane, the node shown schematically in figure 23. This section describes in detail the closing means 9 and the partialising means 10 interposed respectively between the access channel 8 and the manifold 3 and between the manifold 3 and the two diffusers 4a which branch off from the manifold 3.
  • Figure 7 schematically illustrates a more complex embodiment of an intersection zone of a plurality of conduits in which each node 11 can intercept and/or partialise the flow to and from the respective channels.
  • In addition to the aforementioned diffuser channels 4a particularly suitable for diffusing the conditioned high-induction air, the plants of the present invention may alternatively (or in combination) also comprise diffuser elements 4 constituted by normal air vents 4b inletting into the ambient, for example of the type illustrated in figures 25 and 30. The diffuser elements 4 of known type and widely used in commerce are also referred to as terminal diffuser units 4b and comprise vents, nozzles and diffusers of various type which are neither induction nor impulse diffusers. The terminal diffuser units 4b introduce air into the environment in a substantially localized way and the load loss thereat is generally low and comparable to the load loss per linear meter of the remaining parts of the plant.
  • In particular, figures 8 and 9 illustrate this type of plant in which the diffusion occurs at the terminal portions of the transport channels 13 where the above-mentioned vents 4b are located. Obviously, these vents can be suitably distributed along the whole development of the transport channel 13 and inject air into the environment where required by the design requisites. Even plants of hybrid nature, i.e. comprising both linear impulse channels 4a and terminal diffuser units 4b are configurable (see for example figure 30).
  • Turning to figure 25 it can be seen how the partialising means 10 can assume embodiments that are different than those previously described. In particular, they can take the form of a flow interrupting element 20, for example a sliding shutter as shown in the figure, or mobile between a non-operating condition in which it allows a passage flow towards the diffuser element 4b (transparent in the figure) and then the diffusion of air through the diffuser element, and a plurality of operating conditions in which the flow of air through the vent can be partialised up to being substantially stifled.
  • Obviously the flow interrupting element 20 will not necessarily guarantee a seal to the fluid passage as will be better clarified in the following, and therefore leakage of air can also take place in the operating condition of a substantially-closed element diffuser 4.
  • A further different embodiment of the partialising means 10, in the form of flow interrupting elements 20 is shown in figures 26, 27a and 27b. In the embodiment of figure 26, the flow interrupting element 20 is substantially constituted by a single element, for example circular or more in detail having a complementary shape to the section of the channel (circular in the illustrated embodiment), for example mobile in rotation with respect to a rotation axis 24 between a non-operating condition, in which it does not intercept the flow of air and allows the passage between two successive tracts of a diffuser channel 4a and a closed operating condition, in which it interrupts the passage of fluid between the two tracts of the diffuser channel in which it is interposed. This type of solution may be adopted for channels of small size/diameter.
  • A more advantageous alternative embodiment is illustrated schematically in figures 27a and 27b, with the flow interrupting element 20 respectively in the open condition in which it allows air flow passage without substantial interference and in a closed condition in which it substantially intercepts the flow. This embodiment embraces the concept of a shutter having opposite blades, of the type previously described, whereby a rotation (clockwise or anticlockwise depending on the position) of each blade relative to its axis of development 24 involves the opening/closing of the shutter.
  • Obviously all the angular positions between the conditions of figure 27a and figure 27b allow different flow partialising. Obviously in this case too leakage of air at an outer periphery of the flow interrupting element 20 and at the inner section of the diffuser channel 4a is allowed. The opposite blades of the shutter can advantageously be square or rectangular so as to circumscribe or limit the overall size of the transversal channel. Note that the conditioning plant as described can also include respective actuators 25 (shown only in figure 30 but possibly present for one or more - and possibly for each - of the flow interrupting elements) for moving the flow interrupting element 20 between the non-operating state and the operating state and vice versa, in particular by means of an automatic movement.
  • In general then the system can comprise at least a sensor 22 of a flow parameter linked to the flow rate (and possibly a plurality of such sensors in appropriate positions of the plant with the aim of detecting an operating value of the parameter of interest internally of the plant itself then used for the regulating that will be described below). The sensor 22 can be a flow sensor or, more commonly, a pressure sensor 22 (and possibly a plurality of such sensors in appropriate positions of the system in order to detect an operating pressure in the plant used for the regulating that will be described below). Reference will be made henceforth to the specific examples to a pressure sensor that is cheaper and easier to manage compared to other sensors, it being understood, however, that a different sensor can be used instead (or in combination). The pressure sensor 22 is illustrated schematically in the figures; in some of the figures they are together with a control unit or CPU to which it can be directly connected. It is understood, however, that the pressure sensor can be present in each of the plants illustrated in the figures, including in different positions or in a greater/lesser number depending on the design and control needs described below. In general, however, the pressure sensor 22 (or pressure sensors if more than one) are positioned in a first portion 100 of the system 1 that is located between the flow interrupting element 20 (or the flow interrupting elements 20) and the air conditioning unit 2 (or air conditioning units 2).
  • In other words and as clarified in the following the main interest is in knowing the pressure in the active zones (not partialised) of the plant. Obviously there is no bar to detecting the pressure in different areas of the plant (i.e. a second portion 200 of the plant) in the event of further operational needs. The air conditioning plant the components of which have been described above can give rise to a plurality of different configurations characterized by their excellent adaptability to the environment to be treated, thanks to advantageous features of which some will be detailed below.
  • The example of figure 1 illustrates a plant with three diffuser channels 4a flanked and parallel to one another, and the two lateral channels are impulse channels designed to introduce air into an environment with high inductive effect, while the centre channel has the task of injecting a greater or lesser quantity of air flow into the environment, as required. The two lateral channels 4a operate by induction, recalling and mixing large volumes of ambient air, and are in general provided with perforations 14 arranged along the longitudinal development angularly facing downwards (i.e. with launch angle inclined downwards), respectively to the left and to the right (see figure 2); vice versa the central channel with perforations 14 facing upwards (see figure 2) does not generally operate by induction effect but serves to discharge more or less air into the room, if necessary.
  • As better illustrated in the following, the CPU receives the pressure reading signal (or flow rate if applicable) from the sensor 22 and possibly as a function thereof adjusts the partialising of the flow in each of the three channels 4a (mainly in the central channel).
  • Figure 3 illustrates an embodiment with only two channels 4a which operate by impulse alongside one another (obviously the diffuser channels 4a are not shown in their entirety, but only two modules are represented for each channel - it is understood that in addition to being present in a consecutively aligned greater number, the final modules are closed by a respective bottom).
  • Figure 4 shows in section view the node zone 11 from where the diffuser channels develop, such as to illustrate a possible positioning of the flow interrupting elements 20 which can intervene to partialise the air flow in each of the two channels 4a.
  • Figures 6a and 6b schematically illustrate an alternative embodiment of the system of figure 4, in which the flow interrupting elements 20 are positioned along the development of the channel in the vicinity of the closed end 17 of the respective speakers 4a and not in the inlet zone 16 (or not only in this area).
  • Figure 6a shows a situation in which both intermediate flow interrupting elements 20 are open and allow air passage with a consequent inductive effect throughout the development of the channel 4a.
  • Figure 6b shows a situation in which both flow interrupting elements 20 are closed and intercept the air flow with a consequent inductive effect obtained exclusively along the initial development 21 of the channel, while the flow is substantially reduced (or zeroed) at the terminal region 18. In this situation, given the same parameters of the plant, in particular given a same total air flow, the active portion of the channel will be at higher pressure with consequent increase in the launch of air from the active perforations 14.
  • Figures 8 and 9 show some examples of plants provided with terminal diffusion units 4b in which various flow interrupting elements 20 are shown positioned in various parts of the circuit.
  • Figure 8 illustrates the flow interrupting elements 20 positioned a the terminal diffusion units 4b; the flow interrupting elements 20 might be shutters having opposite blades or might also assume the configuration shown in figure 25, or could be sliding hatches closing the output channel of the delivery air.
  • Figure 9 shows that the flow interrupting elements 20 can also be positioned at the entrance of the secondary branching channels, or in an intermediate or even an initial position in the tapered channels.
  • Figures 10 to 15 instead show solutions that use impulse linear diffuser channels 4a. In this case too the various embodiments show how the flow interrupting elements 20 could be positioned at the entrance of the diffuser channel or in an intermediate position, such as to intercept the flow to all or only to certain diffuser channels 4a.
  • As shown in figures 11 and 15 member flow interrupting elements 20 can exclude a portion of the plant connected at two sides to different treatment units, separating a first portion 100 from an isolated second portion 200 of the plant.
  • In the embodiments of figure 16, 17 and 18 three possible configurations of the air conditioning plant are represented which use a plenum manifold.
  • Figure 16 illustrates a plant in which the manifold 3 is arranged centrally with respect to an environment 12 to be treated. Three air conditioning units 2 are connected to the collector, in three positions along the axial development of the manifold, each unit 2 having its own air supply channel 8 and its own closing shutter 9. The plenum manifold 3, generally made of a metal material and free of perforations or air diffusion vents (except, in certain plants, anti-condensation perforations), exhibits a same cross section along its entire development. It should be noted that in systems where the load losses are at the diffusion perforations arranged on the diffuser channels it is not necessary to perform any dynamic recovery with narrowings of section in the manifold 3 and/or the diffusion channels 4a. A node 11 of the previously-described type is present at each branch of the manifold 3 of a diffuser channel 4a.
  • In particular the nodes 11 represented will exhibit at least partialising means 10 at the connection between each diffuser channel 4a and the manifold 3. Possibly, but not necessarily, the nodes of shutters will be provided with opposite blades also at contiguous portions of the manifold in selected areas, so as to stop the flow in predetermined zones inside the manifold. Although not shown in figure 16, it will also be possible to position the partialising means 10, in particular in the form of elements of flow interrupting elements 20 at intermediate tracts of one or more of each of the diffuser channels 4a. For example the flow interrupting elements 20 can be positioned at a distance of about 2/3 of the overall length of the diffuser channel 4a compared to the respective node 11. In conditions of normal working operation, with the variation of the flow (shutdown of one or more processing units), the regulation of the perforated length (thanks to the closing of the shutters of the nodes 11 where held appropriate), requalifies (reports optimal values) the output speed from the perforations and thus the induction.
  • By using the configuration described in figure 16 it will be possible to use the air conditioning plant at full capacity, i.e. with all three air conditioning units 2 in operation and the maximum air flow per linear metre in the plant itself. The condition could be that of a conditioning plant when conditioning an environment in the summer season. Conversely, during the winter, the illustrated plant could function as a heating system for the environment.
  • It is known that for heating an environment generally smaller volumes of conditioned air are required. In this situation only two air conditioning units 2 might be sufficient, or even one alone where the heating is not particularly important. In this situation each channel 8 which connects the plenum with the manifold 3 to the shut down conditioning unit 2 is closed off by closing means 9 in order to prevent dispersion of the conditioned air through the deactivated conditioning unit.
  • It is also possible to selectively intervene on the means 10 such as to determine whether to send the conditioned air flow only into some of the eight diffuser channels 4a illustrated. The foregoing enables a considerable operational flexibility of the system that can be optimised in terms of consumption and efficiency as a function of the operational needs of the environment to be treated, the season, the type of packaging required. In particular, in full operation the plant, however, prevents the occurrence of air draughts at ground level, which would be extremely annoying for the users present in the environment. Figure 17 illustrates a different type of system with plenum manifold 3 arranged on only one side of the environment 12 to be treated. In this case there are four air treatment units 2 present, all in fluid connection with the plenum manifold 3, each provided with their respective closing means 9 and the respective partialising means 10 for interruption of the air flow between the manifold and the diffuser channel 4a. In this case the partialising means 10, particularly in the form of the flow interrupting elements 20, can be positioned at any position along the channel development axis 4a, preferentially at a closed second end 17 of the diffuser channels 4a.
  • In addition to all the advantages described previously with reference to the system of figure 2 it should be further noted that the system described could be designed with only two air conditioning units 2 providing further accesses 5 in order to be able to reach the other following units. An initial requirement could in fact be to create an air conditioning plant only to heat an environment that requires a certain amount of air volume treated per unit of time. Should it be required to include, in the plant, also a conditioning function, it would probably be necessary to include a greater air flow; therefore two further units could be added, all connected to the same plenum manifold 3 as described above.
  • The diagram of figure 18 describes a further embodiment, in which there are two plenum manifolds, one for each longer side of the environment 12 to be treated, each plenum manifold 3 provided with its own air treatment unit 2 in fluid communication and the respective nodes 11 at each connection of the plenum manifold 3 with the diffuser 4. Note however that the diffuser channels connect a plenum manifold 3 to another defining, in effect, a multi-connected structure.
  • Worth of particular not is the fact the treatment plant shown in figure 4, as well as those previously described, is self-balanced as it substantially does not generate air flows with specific directions internally of the plant; this is due to the fact that the load loss of the conduits have a much lower value that the load losses localised at the diffuser perforations present on the diffuser channels 4a. In this case too, in addition to the specific and advantageous characteristics previously described, it can be seen how the use of the plenum collector 3 as described enables arranging the treatment unit 2, but also the manifolds 3, in the most advantageous positions taking into account the geometry of the structure and the environment to be conditioned.
  • Figures 19, 20, 21, 22 illustrate an alternative configuration of the system that uses a self-compensated manifold ring 3 (or a plurality of rings). Figure 19 illustrates a manifold ring 7 which follows the perimeter of the environment 12 to be conditioned. Note in particular that there is a plurality of air conditioning units 2 and that one of them 2a is connected to the plenum manifold 3 at different accesses 5 via respective supply channels 8 which branch off from the treatment unit 2.
  • In the illustrated example, thanks to the distribution of flows in arrival from the air conditioning unit 2 the section of the manifold channel can be reduced. In fact if a flow of 30000 m3/h is necessary, if it were injected through a single access 5 in a manifold ring, this would require a section of the manifold ring itself to be able to convey and dispose of 15000 m3 of air/hour for each segment (left and right) of the manifold ring facing the access 5. Conversely, by dividing the flow over several air conditioning units 2 the flow (even sub-dividing air over several air access channels 8 at the flow rate of an air conditioning unit 2) it is clear that in the access zones they are introduced in smaller quantities of m3 of air per hour which thus require smaller transport sections. This involves the possibility of having a section of the manifold ring with smaller dimensions, resulting in an improved aesthetic impact and a considerable reduction in costs.
  • Further, the collector ring 3 can continuously follow the geometry of the environment to be treated, without the air treatment system suffering from the point of view of fluid dynamics from these constraints. Note also that in the specific case of the example of figures 19-22 the collector ring 3 performs mainly the function of a diffuser element 4 (or diffuser channel 4a). In fact realizing a collector ring 3 in metal material and advantageously perforating it, the same conditions are created by which the ring collector is able to carry out the above-mentioned diffusion of air flow towards the environment 12 to be treated by inductive effect, allowing optimal temperature homogeneity in the environment, with perfect control of the residual velocity on the ground.
  • Moreover, changes can also be made to the launch angle by rotating the sections of the channel that define the ring manifold 7 about the axis of longitudinal development. It is also possible to intervene by modifying the active length of the channel, for example using two interrupting elements of the flow passage 20 that separate a second portion 200 of the plant which can be disabled depending on needs. The plant of figure 20 substantially corresponds to the one of figure 19, but has four nodes located at the corners of the environment to be treated. The use of these nodes 11, and in particular of the respective partialising means 10, enables obtaining a partialised ring manifold 3 in which, in addition to functioning at full capacity and with the ring open it is possible to obtain, for example, a functioning only on two opposite sides. In fact, by shutting down the air conditioning unit 2 not directly involved and closing the fluid connection at the nodes 11, in fact two plants are obtained that are smaller than on the opposite sides of the room, each provided with a manifold supplied by its own conditioning unit 2, which can launch air towards the environment.
  • In the treatment plant of figure 21, in addition to the self-compensated manifold ring 3, a plurality of diffuser, or exhaust, channels 4a is also included, which interconnect opposite portions of the manifold ring. Note, however, that a conditioning unit 2a can be associated on the diffuser channels 6 which can for example partialise the flow generated thereby onto each of the connecting channels.
  • The plant of figure 22 illustrates a solution comprising two manifold rings 7 connected to one another by appropriate nodes 11 interposed and supplied by two air conditioning units 2.
  • A possible use of systems with multiple ring manifolds 3 is shown in figure 28, which shows an air conditioning system for conditioning environments on two different floors of a building by means of a single air conditioning unit 2 which partialises its flow on the respective rings 3 on the upper floor and on the lower floor. Also, by suitably orientating the launch angle of the flow is possible to direct, also depending on the season and the type of conditioning to be provided, the flow of conditioned air to appropriate areas of the environment to be conditioned.
  • The foregoing has been directed at describing the various configurations of the plants from the structural point of view. The configurations adopted enable implementation of a primary procedure for controlling the flow rate of air in an air conditioning plant. In each of the systems previously described, at least an interrupting element of the flow passage 20, for example a shutter, is movable between a first operative condition in which allows a passage of fluid towards the diffusion elements 4 and a second operating condition in which it intercepts, substantially reducing, in comparison to the first operating condition, the passage of air towards at least one of the diffuser elements 4.
  • The flow interrupting element 20 is interposed between a first portion 100 of the plant directly in fluid connection with at least an air conditioning unit 2 and a second portion 200 of the system and intercepts the flow of air coming from the air conditioning unit 2 and directed towards the second portion 200 of the system. For example, in figure 1 the second portion 200 of the system is the one defined downstream of the flow interrupting element 20 located at the central channel. In figures 6a and 6b the second portion 200 of the plant can be the one defined downstream of the flow interrupting elements 20 seats at the terminal zones of the two channels (as shown) or even the one defined downstream of the flow interrupting element 20 positioned on one or the other channel according to requirements. In figure 11 it is the central portion of the central channel that can be excluded by the flow interrupting elements 20. In the example of figure 20 can be any of the branches of the ring depending on which flow interrupting elements 20 are activated.
  • In detail, the second portion 200 of the system is one in which it is possible to exclude part of the diffusers 4 affected by a lower air flow rate per linear meter (by closing some of the flow interrupting elements 20) compared to that of normal plant operation. The flow rate in the second portions of the system 200 will be generally reduced, but it could also be substantially zero. The pressure or flow rate sensor 22 detects an operating pressure internal of the plant and is in general positioned at the first portion 100 of the plant such as to detect a pressure of an operating flow rate of the plant directly in fluid connection with the air treatment unit 2.
  • Obviously, a predetermined number of sensors 22 can be present for each plant of which some are also placed in the second portions of the plant (possibly only in certain configurations of the system itself - see for example figure 20). The procedure involves the following general steps: activating the treatment unit 2 to generate a flow of air to be diffused internally of the transport channel 13 and the diffusers 4; detecting, via the sensor 22, the pressure or flow rate generated inside the plant, in general in the first portion 100 which is the active portion, i.e. destined to diffuse air into the environment, preferably by inductive effect; moving, manually or automatically, the above-mentioned flow interrupting element 20 into an operating position between the first and second operating condition as a function of the pressure or flow detection performed by the sensor 22 to regulate the flow of air in the system. Since the step of moving the flow interrupting element 20 is carried out as a function of the pressure or flow detection in the first portion 100 of the plant directly in fluid connection with the air handling unit 2, the air flow in the first portion 100 of the system is regulated. In case of manual movement, in general the operator will read the measured value from the sensor and adjust the flow interrupting element 20 to bring the real value read by the sensor 22 (flow or preferably pressure) to a corresponding desired value.
  • The manual adjustment will be made by acting on a lever mechanism or, in systems with more automation, via an actuator 25 capable of moving the flow interrupting element passage 20 between the first operating condition and the second operating condition and vice versa; in this case the movement of the flow interrupting element 20 is a sub-step of automatic movement via the manually-commanded actuator 25.
  • The process of plant automation will be in general more radical than described above: in fact, via the control unit CPU receiving in input the pressure or flow sensor signal 22, the CPU will be able to command the movement of the actuator 25 to regulate the flow of air to the first portion 100 of the system. In this situation there will be a memory containing at least a desired pressure value and/or a desired air flow rate value of per linear metre to be obtained in the first portion of the plant. The control unit commands the movement of the actuator such as to regulate the air flow to the first portion 100 of the plant according to the value received from the sensor 22 and the desired value of air flow rate per linear metre; in particular the desired air flow rate per linear meter will be associated with a corresponding predetermined pressure value and the control unit CPU will move the flow interrupting element 20 between the first operating condition and the second operating condition or vice versa to determine, inside the first active portion 100 of the system, a real pressure or flow rate variation detected by the sensor 22 and bring the real pressure or actual air flow detected to the desired rate per linear metre or the predetermined pressure value to which with the desired air flow rate per linear metre is associated.
  • The movement of the flow interrupting element 20 therefore enables the control unit to regulate the air flow at the first portion 100 of the system. Note also that the selection of a desired value of air flow rate per linear metre and the movement of the flow interrupting element 20 into a position between the first and the second operating condition as a result of the detection of pressure or flow rate carried out by the sensor 22 can at least partially exclude at least one diffuser element 4 and bring the real value of air flow rate per linear metre in the first portion of the plant to values close to or coinciding with the desired value of air flow rate per linear metre.
  • The step of selecting the desired value of air flow rate per linear meter can be driven by the operation: the system setting during the start-up step, the need to exclude part of the plant (summer to winter operation) without generating draughts at ground level, the calibration of the system to correct errors or installation problems and put the system into optimum operating condition. In this regard, in general terms, the step of selecting the desired value of air flow rate per linear metre comprises determining a desired value of air flow rate per linear metre when setting-up the system for heating an ambient, for example in winter, and/or a sub-step of determining a desired value of air flow rate per design linear metre such as not to generate ground draughts and to achieve air diffusion by inductive effect, and/or a sub-step of determining a desired value of air flow rate per linear metre in operating state by means of one or more excluded diffuser elements 4 maintaining an air flow rate per linear metre such as not to generate ground draughts and to obtain an air diffusion by inductive effect in the non-excluded first portion of the plant and a further substep of selecting one of the desired values.
  • In the case of a faster plant start-up-to operating state time (more fully detailed in the following), the step of generating an increase of pressure in the air to be diffused inside the plant with respect to the pressure of normal operation is obtained by at least partially excluding one or more diffuser elements 4. The excluded diffuser elements 4 substantially do not diffuse air flow into the environment, or diffuse less than during normal operation. The increase in pressure results in a substantial increase in the launch of the non-excluded diffuser elements 4 (compare figures 6a and 6b for example); optionally the increase in the launch of the non-excluded diffusers 4 generates currents near the ground in the environment to be conditioned, and moves the air contained therein.
  • Looking at the example of figures 6a and 6b, 10, 12-14, 16, 17, 30 and 31, the diffuser channel 4a affected by the exclusion of a portion (or the entirety thereof) has a first end 16 directly in fluid connection with the transport channel 13 and a closed second end 17. The exclusion, at least partial, of one or more of the diffuser channels is achieved via an at least partial interruption of the fluid communication between the transport channel 13 and an end portion 18 of the diffuser channel 4a (also defining said second portion 200 of the plant) located at the second closed end 17; the air flow in the terminal portion 18 of the diffuser channel 4a is reduced as a result of the at least partial interruption of communication with the transport channel 13 (see, for example the comparison of figures 6a and 6b). Turning to the example of figures 18-22, the diffuser channel 4a affected by the exclusion has a first end 16 directly in fluid connection with the channelling of transport 13 and a second end 17 directly in fluid connection with a further transport channel 13; the exclusion, at least partial, of one or more of the diffuser channels 4a occurs by at least partial interruption of the fluid communication between a central portion 19 of the diffuser channel 4 (defining said second portion of the plant) interposed between the first and second ends 16, 17. The air flow in the central portion 19 of the channel undergoes a change as a result of the at least partial interruption of communication with the transport channels 13. When the exclusion of a diffuser channel 4a is only partial, in general the flow interrupting element 20 is interposed between an initial portion 21, defined by at least 40% of the total volume of the diffuser channel 4a, and in particular by at least 60%, and the terminal portion 18 of the diffuser channel 4a.
  • The step of at least partial exclusion entails an increase of the pressure in the initial portion 21 of the diffuser channel 4a, and a corresponding increase in the launch of air from the diffusion perforations 14 in the initial portion 21 of the diffuser channel 4a. Obviously, in all the above cases, the exclusion is a regulatable exclusion step for obtaining different pressure variation values, positive or negative. Returning to the procedure in its general steps, note that the procedure further comprises the steps of providing at least an optimum pressure value or an optimum range of values for the conditioning system set-up and regulating the at least partial exclusion of one or more diffuser elements 4 as a function of the pressure detection performed by the sensor 22, such as to bring the operating pressure of the system to converge to the optimal pressure value or optimal range of pressure values.
  • Since the plant comprises one or more flow interrupting elements 20 movable between the first operating condition in which they allow the air flow in outlet from the diffuser elements 4 and the second operating condition in which they intercept the air flow of at least one diffuser element 4 thus reducing the diffusion of air, the step of regulating the exclusion includes a movement of at least one flow interrupting element 20 from the first operating condition to the second operating condition such as to vary the diffusion of the exiting air from the diffuser element 4 in a controlled manner.
  • To better clarify some of the general concepts described above, let us consider the examples of figures 30 and 31. Assuming the system has just been installed, on start-up thereof the operating conditions might not be the desired ones, for example due to an erroneous design or faulty installation. The possible consequences are for example a non-existent (or low) inductive effect where the flow rate (or pressure) is insufficient to ensure the proper velocity or launch from the perforations 14, or, in the opposite case, the generation of annoying draughts at ground level because of a too-high flow-rate (or pressure).
  • In the case of figure 30 the pressure (or flow rate) can be detected by the sensor 22 and the flow interrupting element 20 can be regulated to bring the supply air to the terminal diffuser units 4b so as to restore the desired flow rate value per linear metre at the induction channel in order to have the desired inductive effect without ground draughts.
  • In the plant of figure 31 the plant will operate with a greater or smaller opening of the central channel, again to restore the desired flow rate value per linear metre at the side induction channels and have the desired inductive effect without ground draughts. In the case of passage from summer to winter operation, which requires smaller volumes of delivery air, in the case of figure 30 the channel that takes the delivery air to the terminal diffuser units 4b is completely deactivated and the variable-flow ventilator 2 air flow is regulated by a manual regulating command 26 such as to limit the air flow in the plant and restore the desired flow rate per linear metre of the induction channel.
  • In the configuration of figure 2 one of the two side channels can be closed and the excess air flow can be injected into the ambient through the central channel, thus restoring the desired flow rate per linear metre at the lateral induction channel that is still active.
  • The plant can also be self-regulating. Assuming the presence of an ambient temperature sensor and a corresponding thermostat 27 (figure 31), the a corresponding desired temperature will be set on the thermostat. When the environment reaches this temperature, the system tends to maintain it, or in case of variation, the treatment unit 2 variable flow reduces/increases the air flow rate inside the plant as appropriate. If no adjustment ensues, there will be a reduction in plant performance due to the presence of ground draughts, or because of the poor inductive effect caused. In this situation, the sensor 22 will detect the new pressure/flow rate value and the CPU, after having received this value and compared it with the desired value, will move the shutter of the central channel in order to increase or reduce the passage of air in the channel and thus restore the desired flow rate value per linear metre in the induction channels 4a. In the light of the foregoing, an advantageous operating principle will now be described with reference to the start-up condition of the air conditioning plant, in particular during the winter season, i.e. when the plant is used as a heating unit for the ambient.
  • From the general point of view, the process is advantageous for the system start-up, or for reducing the temperature homogenization times, i.e. to ensure that the temperature differences between the zones near the ground and those in the vicinity of the ceiling are within close limits; the procedure comprises the general steps of operating the conditioning unit/units 2 in such a way as to generate the above-mentioned increase of pressure in the air to be diffused internally of the transport channel 13 and to all the diffusers 4. This increase of pressure is what would occur in conditions of normal use of the plant in order to be able to send a quantity of air into the ambient sufficient to cool it without generating any type of ground draught. In general, a ground draught is considered to be an air velocity perceivable by the user of greater than 0.25 m/s.
  • Still with reference to the plant start-up, a further increase of pressure is generated in the air to be diffused. This further increase in pressure is obtained by at least partially excluding one or more diffuser elements 4. In other words, the excluded diffuser elements 4 do not diffuse air, or diffuse it to a lesser extent compared to the full operating state. In still other terms, by excluding certain diffuser elements 4, the pressure increase leads to a substantial increase in the launch of the non-excluded diffusers 4 which generates ground draughts into the ambient to be conditioned, and effectively moves the air present therein.
  • Note that in the course of the present description reference is made to a first pressure increase (plant start-up) and to a further increase of pressure (exclusion of diffusers, i.e. reduction of the active portions of the diffusers); however it is clear that these pressure increases might well take place simultaneously with a single leap in pressure that is substantially the sum of the two effects, namely start-up of a plant having some diffusers also excluded, without departing from the described and claimed inventive concept. It is in fact known that the cold air tends to "stick" to the ground because it has a higher density. Owing to this effect the hot air injected into the ambient through the air conditioning plant takes a considerable time to heat the portions of the ambient close to the ground which, however, appear to be those which users commonly populate.
  • On the other hand the correct dimensioning of the plant takes into account the fact that the ground draughts are absolutely to be avoided so as not to annoy the user while in the environment. The exclusion (preceding, simultaneous or subsequent to the start-up stage of the plant) of some diffuser elements 4 while maintaining the operating conditions of the air conditioning units 2 unchanged (in particular in terms of generated pressure leaps or generated flow rate) bring about the further pressure increase which in turn is reflected in the air emitted through the diffuser elements and in particular through the diffusion perforations 14 of the diffuser channel 4a, with output velocities that are greater, such as to generate ground draughts and the relative turbulence which move the cold air near the ground level. In this way, the homogenization of the temperature in the heating phase is much faster than with conventional systems.
  • With reference to figure 1, the above-mentioned effect can be obtained by reducing (or possibly interrupting) the flow of air directed to the central channel by intervening on the respective flow interrupting element 20.
  • Observing in particular the situation of figures 8 and 9, the procedure comprises intervening at a predetermined number of terminal diffuser units 4b. In particular, alternatingly partially or totally excluding the injection of air into thee ambient, the mentioned further increase in pressure is guaranteed, and with it the injection through the active vents 4b of hot air with such a velocity as to move the cold air in proximity of the ground. In this regard, flow interrupting elements 20 can be used, for shutters, which can act at portions of channel of the transport channel 13 (for example of the type illustrated in figures 26, 27a and 27b).
  • Alternatively, flow interrupting elements 20 can be used of the type illustrated in figure 25, able to intervene directly on the vent 4b by moving a hatch able to intervene directly on the vent 4b by moving a hatch acting on the opening, which enables the air to reach the vent. In this situation the flow interrupting element 20 can be positioned between an inoperative position in which the entire passage opening is left substantially free to a condition of complete closure, in which basically the diffuser element 4, in particular the vent terminal diffuser unit 4a, is excluded.
  • Even more interesting is the process that uses diffuser channels 4a. In fact, by means of the above-mentioned flow interrupting elements 20 respective portions of the diffuser channel 4a can be isolated, effectively interrupting the emission of air from the portions. In other terms the active length of the diffuser channel is varied.
  • In a first embodiment shown in figures 6a and 6b, the throttling means 10 constituted by the aforementioned flow interrupting element 20 are positioned in correspondence with an intermediate area of the diffuser channel 4a. In other words the exclusion of one or more of the diffuser channels 4a takes place by means of an at least partial interruption of the fluid communication between the terminal portion 18 of the diffuser channel 8 and the rest of the plant. In other words, still observing figures 6a and 6b, the closed terminal portion 18 of the channel is deactivated and excluded during the step of start-up of the plant in such a way that the remaining part of the diffuser channel 4a can enter with a greater hot air launch into the ambient, therefore moving the cold air near the ground.
  • In an alternative embodiment, for example shown in figures 11 and 15 a central portion 19 of the diffuser channel 4a can be excluded. In fact, it is possible in any case, at the diffuser channels connecting two manifolds 3, to use two different flow interrupting elements 20, excluding the central portion to generate the increase in pressure in the other portions of the plant with the same effect. Obviously also a combination of the two methods described briefly above may also be used. It should be noted, in this respect, that the embodiments of the figures alternatively illustrate one or the other of the two procedures, but they can be combined in any way to achieve the desired effects.
  • In addition it is stressed that the flow interrupting element 20 can be moved from a non-operative condition in which it does not intercept the flow to an operating condition, substantially closed, in which it prevents substantial air passages towards the excluded portion of the diffuser channel 4a. Obviously all the intermediate operating positions, with partial interception of the flow, can be adopted without departing from the inventive concept of the present invention. In this regard, the procedure for moving the ambient air during plant start-up state can also include the steps of detecting, via the pressure sensor 22, the further pressure increase and regulating the at least partial exclusion of one or most of the diffuser elements 4 as a function of the pressure detection performed by the sensor 22.
  • In other words the exclusion step is a regulatable exclusion step for obtaining various pressure increase values. In fact, in one advantageous application of the present invention a control unit 23 can be set so as to memorise an optimal pressure value of or a range of optimal pressures values so that the plant can be set at working mode. In other words, given a specific plant an optimum pressure can be derived for the start-up to working state that can be obtained by regulating the opening/closing of the fluid retaining elements 20. For this purpose the pressure sensor provides the operating pressure internally of the plant and the control unit that receives the input can automatically regulate the flow retaining element 20 (or the elements 20) so that the operating pressure inside the portions not excluded from the plant diffusion can tend towards the optimal value or otherwise be included in a range considered optimal for the start-up. In this way an optimal operation of the system can be obtained both at installation and in the working condition, guaranteeing non-generation of ground draughts in the working condition.
  • From a design point of view, with the diffuser channels 4a provided with a closed end 17, in general the flow retaining element 20 is positioned such as to define a terminal portion occupying at most 60% of the total volume of the diffuser channel 4a and in particular at most 40%. In other words, the flow treating element 20 is positioned, as close as possible, such that the complete closure thereof leads to the desired further increase of pressure to optimal for the movement of the ground air; in any case the retro-activated system with the pressure sensor enables reaching the optimal pressure value for this operation automatically and independently of any design errors and/or modifications in plant operational conditions.
  • Figure 28 illustrates a detail of a plant in normal operating conditions in which ground draughts are not generated.
  • Figure 29 illustrates the same plant during start-up in which some portions thereof are excluded and the launch obtained by means of the active diffuser elements 4 is such as to generate ground draughts and guarantee a better mixing and a more rapid homogenisation of the air.
  • Note also that the pressure/flow rate diagram (in %) of functioning of a centrifugal ventilator generally highlights a work zone generally comprised between 30% and 80% of the maximum capacity. From the diagram it can be observed that in general too-high pressure increases lead to a fairly sharp reduction in the flow rate and therefore lead to situations in which there might not be a sufficient residual air flow to generate the velocities required to move the cool air in proximity of the ground.
  • The above demonstrates the importance of being able to optimise the operating pressure in the steps of plant start-up so that the pressure is higher than the working pressure which does not exceed certain values that beyond causing the plant to lose efficiency would lead to an absence of the necessary and desired ground draughts.
  • The invention provides important advantages.
  • The procedure of bringing the plant up to working conditions/start-up enables minimising the times necessary during heating of an environment such as to obtain a homogenisation of the temperatures.
  • The plant is able to automatically control, or control in feedback, the generation of optimal conditions for the movement of the air at ground level in the critical stages.
  • Furthermore, the procedure of the invention does not require special technical measures or mechanisms which are not already available to a technical expert in the sector.

Claims (11)

  1. A procedure for regulating an air flow in an air conditioning plant, the plant comprising:
    - at least an air conditioning unit (2) suitable for generating a flow of air;
    - a plurality of diffuser elements (4) for diffusing the conditioned air into the environment, a predetermined number of diffuser elements being in the form of diffuser channels (4a) provided with a plurality of perforations (14) at a lateral surface (15);
    - at least a transport channel (13) for transferring the air to be diffused from the conditioning unit (2) to the diffuser elements (4);
    - at least a flow interrupting clement (20), mobile between a first operating condition in which it enables fluid passage towards the diffuser elements (4) and a second operating condition in which it substantially intercepts the air, reducing, with respect to the first operating condition, the air passage towards at least one of the diffuser elements (4), the flow interrupting element (20) being interposed between a first portion (100) of the plant directly in fluid connection with the at least an air conditioning unit (2) and a second portion (200) of the plant and intercepting the air flow coming from the at least an air conditioning unit (2) and directed towards the second portion (200) of the plant;
    - at least a sensor (22) of pressure or flow for detecting a pressure or an operating flow internal of the plant, wherein the sensor (22) is positioned at the first portion (100) of the plant such as to detect a pressure or operating flow of the first portion of the plant directly in fluid connection with the at least an air conditioning unit (2);
    - at least an actuator (25) for moving the flow interrupting element (25) between the first operating condition and the second operating condition and vice versa;
    - a control unit (CPU) suitable for receiving in input the pressure of flow signal from the sensor (22) and commanding movement of the actuator (25) in order to regulate the air flow at the first portion (100) of the plant, the procedure comprising following steps:
    - activating the conditioning unit (2) such as to generate an air flow to be diffused internally of the transport channels (13) and the diffusers (4);
    - detecting, via the sensor (22), the pressure or flow generated internally of the plant;
    - moving automatically the flow interrupting element (20) into an operating position comprised between the first and the second operating condition according to the detection of pressure or flow made by the sensor (22) for regulating the air flow internally of the plant, the step of moving the flow interrupting element (20) being performed in accordance with the pressure or flow detection of the first portion (100) of the plant directly in fluid connection with the at least an air conditioning unit (2) in order to regulate the air flow at the first portion (100) of the plant interposed between the at least an air conditioning unit (2) and the at least a flow interrupting element (20), the sub-step of moving the flow interrupting element (20) being a sub-step of automatic movement by means of the actuator (25);
    - predisposing at least an optimal pressure or an optimal range of values for bringing the conditioning plant to a working level;
    - regulating at least partial exclusion of one or more diffuser elements (4) according to the pressure detection made by the sensor (22) for bringing to operating pressure of the plant to converge towards the optimal pressure value or towards the optimal range of values of pressure, the step of regulating the exclusion comprising a movement of a flow interrupting element (20) from the first operating condition towards the second operating condition in order to perform a controlled variation of the diffusion of the air in outlet from the diffuser element (4).
  2. The procedure of the preceding claim, wherein the sensor (22) is positioned at the first portion of the plant (100) such as to detect a pressure or operating flow of the first portion of the plant directly in fluid connection with the at least an air conditioning unit (2), the step of moving the flow interrupting element (20) being performed in accordance with the pressure or flow detection of the first portion (100) of the plant directly in fluid connection with the at least an air conditioning unit (2) in order to regulate the air flow at the first portion (100) of the plant interposed between the at least an air conditioning unit (2) and the at least a flow interrupting element (20).
  3. The procedure of any one of the preceding claims, further comprising a step of selecting a desired value of air flow per linear metre and moving the flow interrupting element (20) into a position comprised between the first and the second operating condition in accordance with the pressure or flow detection performed by the sensor (22) in order to at least partially exclude at least a diffuser element (4) and bring the real value of the air flow per linear metre in the first portion of the plant to values that are close to or coincide with the desired air flow value per linear metre.
  4. The procedure of the preceding claim, wherein the step of selecting the desired air flow value per linear metre comprises a sub-step of determining a desired value of air flow per linear metre in setting up operating conditions of the plant when using the heating plant of an environment, for example during a winter season, and/or a sub-step of determining a desired value of air flow per linear metre according to a design project in order not to generate ground currents and to obtain a diffusion of air by inductive effect, and/or a sub-step of determining a desired air flow value per linear metre in operating conditions by means of one or more excluded diffusers (4), maintaining an air flow per linear metre according to the design project which is such as not to generate ground currents and to obtain a diffusion of the air by inductive effect in the non-excluded first portion of the plant and a further sub-step of selecting one of the desired values.
  5. The procedure of any one of the preceding claims, further comprising a step of generating an increase in air pressure to be diffused internally of the plant with respect to the operating pressure, the pressure increase being obtained by means of at least partial exclusion of one or more diffuser elements (4), the excluded diffuser elements (4) substantially not diffusing, or only modestly diffusing air into the environment with respect to normal functioning, the pressure increase leading to a substantial increase of a launch of the non-excluded diffusers (4), optionally the increase of the launch of the non-excluded diffusers (4) generating currents in proximity of the ground in the environment to be conditioned and moving the air present there.
  6. The procedure of any one of the preceding claims, wherein the plant comprises a predetermined number of diffuser elements in the form of diffuser channels (4a) provided with a plurality of perforations (14) at a lateral surface (15), the plurality of perforations (14) being optionally facing at least in part downwards in use conditions of the diffuser channel (4a), the diffuser channel (4a) exhibiting a first end (16) in direct fluid connection with the transport channel (13) and a closed second end (17), an at least partial exclusion of one of more of the diffuser channels (4a) occurring by means of an at least partial interruption of the fluid communication between the transport channel (13) and a terminal portion (18) of the diffuser channel (4a) defining the second portion of the plant and located at the closed second end (17), the air flow in the terminal portion (18) of the diffuser channel (4a) experiencing a reduction following the at least partial interruption in communication with the transport channel (13).
  7. The procedure of any one of the preceding claims, wherein the plant comprises a predetermined number of diffuser elements in a form of diffuser channels (4a) provided with a plurality of perforations (14) at a lateral surface (15) thereof, the plurality of perforations (14) being optionally facing downwards in use conditions of the diffuser channel (4a), the diffuser channel (4a) exhibiting a first end (16) directly in fluid connection with the transport channel (13) and a second end (17) directly in fluid connection with a further transport channel (13), an at least partial exclusion of one or more of the diffuser channels (4a) occurring by means of at least partial interruption of the fluid communication between a central portion (19) of the diffuser channel (4) defining the second portion of the plant and interposed between the first and the second end (16, 17), the air flow in the central portion (19) of the channel experiencing a variation following the at least partial interruption of communication with the transport channels (13).
  8. The procedure of any one of the preceding claims 5, 6 or 7, wherein the plant comprises at least an actuator (25) for moving the flow interrupting element (25) between the first operating condition and the second operating condition and vice versa, the sub-step of moving the flow interrupting element (20) being a sub-step of automatic movement by means of the actuator (25), and wherein the step of at least partial exclusion comprises a sub-step of moving the flow interrupting element (20) from the first operating condition towards the second operating condition.
  9. The procedure of the preceding claim, further comprising a control unit (CPU) suitable for receiving in input the pressure or flow signal from the sensor (22) and commanding movement of the actuator (25) in order to regulate the air flow at the first portion (100) of the plant and further comprising a memory containing at least a desired pressure value and/or a desired value of air flow per linear metre in the first portion of the plant and wherein the control unit (CPU) commands the movement of the actuator for regulating the air flow at the first portion of the plant according to the value received by the sensor (22) and the desired value of air flow per linear metre, in particular the desired value of air flow per linear metre being associated to a corresponding predetermined pressure value, the control unit (CPU) moving the flow interrupting element (20) between the first operating condition and the second operating condition or vice versa in order to determine, internally of the first portion of the plant, a real pressure variation detected or a real flow detected by the sensor (22) and to bring the value of real pressure detected or real flow detected to the predetermined pressure value to which the desired air flow per linear metre is associated or to the desired air flow per linear metre, the movement of the flow interrupting element (20) enabling the control unit to regulate the air flow at the first portion (100) of the plant.
  10. The procedure of claims 3 or 4, wherein the flow interrupting element (20) is interposed between an initial portion (21) and the terminal portion (18) of the diffuser channel (4a), the initial portion (21) being defined by at least 40% of the overall volume of the diffuser channel (4a) and in particular by at least 60%, the at least partial exclusion step leading to an increase in the pressure in the initial portion (21) of the diffuser channel (4a) and a corresponding increase in the launch of air from the diffusion perforations (14) of the initial portion (21) of the diffuser channel (4a).
  11. An air conditioning plant comprising:
    - at least an air conditioning unit (2) suitable for generating a flow of air;
    - a plurality of diffuser elements (4) for diffusing the conditioned air into the environment, a predetermined number of diffuser elements being in the form of diffuser channels (4a) provided with a plurality of perforations (14) at a lateral surface (15);
    - at least a transport channel (13) for transferring the air to be diffused from the conditioning unit (2) to the diffuser elements (4);
    - at least a flow interrupting element (20), mobile between a first operating condition in which it enables fluid passage towards the diffuser elements (4) and a second operating condition in which it substantially intercepts the air, reducing, with respect to the first operating condition, the air passage towards at least one of the diffuser elements (4), the flow interrupting element (20) being interposed between a first portion (100) of the plant directly in fluid connection with the at least an air conditioning unit (2) and a second portion (200) of the plant and intercepting the air flow coming from the at least an air conditioning unit (2) and directed towards the second portion (200) of the plant;
    - at least a sensor (22) of pressure or flow for detecting a pressure or an operating flow internal of the plant, wherein the sensor (22) is positioned at the first portion (100) of the plant such as to detect a pressure or operating flow of the first portion of the plant directly in fluid connection with the at least an air conditioning unit (2);
    - at least an actuator (25) for moving the flow interrupting element (25) between the first operating condition and the second operating condition and vice versa;
    - a control unit (CPU) suitable for receiving in input the pressure of flow signal from the sensor (22) and commanding movement of the actuator (25) in order to regulate the air flow at the first portion (100) of the plant, wherein:
    - the conditioning unit (2) is configured such as to be activated such as to generate an air flow to be diffused internally of the transport channels (13) and the diffusers (4);
    - the sensor (22) is configured such as to detect the pressure or flow generated internally of the plant;
    - the flow interrupting element (20) is configured such as to be moved automatically into an operating position comprised between the first and the second operating condition according to the detection of pressure or flow made by the sensor (22) for regulating the air flow internally of the plant, the movement of the flow interrupting element (20) being performed in accordance with the pressure or flow detection of the first portion (100) of the plant directly in fluid connection with the at least an air conditioning unit (2) in order to regulate the air flow at the first portion (100) of the plant interposed between the at least an air conditioning unit (2) and the at least a flow interrupting element (20), the movement of the flow interrupting element (20) being an automatic movement by means of the actuator (25) and
    - the control unit (CPU) is configured such as to predispose at least an optimal pressure or an optimal range of values for bringing the conditioning plant to a working level and such as to regulate at least partial exclusion of one or more diffuser elements (4) according to the pressure detection made by the sensor (22) for bringing to operating pressure of the plant to converge towards the optimal pressure value or towards the optimal range of values of pressure, the regulation of the exclusion comprising a movement of a flow interrupting element (20) from the first operating condition towards the second operating condition in order to perform a controlled variation of the diffusion of the air in outlet from the diffuser element (4).
EP12179782.3A 2011-08-12 2012-08-09 Procedure for regulating an air flow in an air conditioning sytem and air conditioning system therefor Active EP2557368B2 (en)

Priority Applications (3)

Application Number Priority Date Filing Date Title
HRP20171943TT HRP20171943T4 (en) 2011-08-12 2012-08-09 Procedure for regulating an air flow in an air conditioning system and air conditioning system therefor
EP17193279.1A EP3293462B1 (en) 2011-08-12 2012-08-09 A procedure for regulating an air flow in an air conditioning plant and a relative plant
SI201231165T SI2557368T2 (en) 2011-08-12 2012-08-09 Procedure for regulating an air flow in an air conditioning sytem and air conditioning system therefor

Applications Claiming Priority (1)

Application Number Priority Date Filing Date Title
IT001538A ITMI20111538A1 (en) 2011-08-12 2011-08-12 PROCEDURE FOR ADJUSTING THE AIR FLOW IN A PLANT FOR AIR TREATMENT AND ITS PLANT

Related Child Applications (4)

Application Number Title Priority Date Filing Date
EP17193279.1A Division EP3293462B1 (en) 2011-08-12 2012-08-09 A procedure for regulating an air flow in an air conditioning plant and a relative plant
EP17193279.1A Division-Into EP3293462B1 (en) 2011-08-12 2012-08-09 A procedure for regulating an air flow in an air conditioning plant and a relative plant
EP20217719.2 Division-Into 2020-12-29
EP21180113.9 Division-Into 2021-06-17

Publications (3)

Publication Number Publication Date
EP2557368A1 EP2557368A1 (en) 2013-02-13
EP2557368B1 EP2557368B1 (en) 2017-09-27
EP2557368B2 true EP2557368B2 (en) 2022-02-23

Family

ID=44653444

Family Applications (2)

Application Number Title Priority Date Filing Date
EP12179782.3A Active EP2557368B2 (en) 2011-08-12 2012-08-09 Procedure for regulating an air flow in an air conditioning sytem and air conditioning system therefor
EP17193279.1A Active EP3293462B1 (en) 2011-08-12 2012-08-09 A procedure for regulating an air flow in an air conditioning plant and a relative plant

Family Applications After (1)

Application Number Title Priority Date Filing Date
EP17193279.1A Active EP3293462B1 (en) 2011-08-12 2012-08-09 A procedure for regulating an air flow in an air conditioning plant and a relative plant

Country Status (5)

Country Link
EP (2) EP2557368B2 (en)
ES (1) ES2862306T3 (en)
HR (1) HRP20171943T4 (en)
IT (1) ITMI20111538A1 (en)
SI (2) SI3293462T1 (en)

Families Citing this family (11)

* Cited by examiner, † Cited by third party
Publication number Priority date Publication date Assignee Title
FR3028012B1 (en) * 2014-10-31 2016-12-23 Aereco MODULATED NEW AIR DISTRIBUTION HUB
BR112017018247A8 (en) * 2015-02-26 2022-10-11 Dwyer Instr AIR FLOW COVERAGE
IT201600127985A1 (en) * 2016-12-19 2018-06-19 Marco Zambolin DIFFUSER, AIR TREATMENT PLANT INCLUDING SUCH DIFFUSER AND USE OF SUCH DIFFUSER FOR AIR TREATMENT
NL2018913B1 (en) * 2017-05-12 2018-06-05 Inteco B V CEILING ISLAND WITH INNOVATIVE AIR CHANNEL
CN109340985A (en) * 2018-08-16 2019-02-15 叶婉芳 A kind of ventilation energy-saving equipment of plant floor
FR3101937B1 (en) 2019-10-10 2021-10-22 Ludovic Boulanger Building ventilation device
EP3926245B1 (en) * 2020-06-15 2023-12-27 Halton OY Protective air supply system and method for supplying protective air flow in a clean room
IT202000006713U1 (en) * 2020-12-04 2022-06-04 Poliedra Srl “AIR DISTRIBUTION DEVICE WITH INTEGRATED LIGHTING ELEMENTS.”
US20220349613A1 (en) * 2021-04-28 2022-11-03 Captive-Aire Systems, Inc. Supply air duct with integral nozzles for diffusing supply air along the length of the supply air duct
CN113606765B (en) * 2021-09-14 2022-08-02 哈尔滨商业大学 Easy-to-detach humidity control joint device for central air conditioning system
EP4269900A1 (en) * 2022-04-28 2023-11-01 Air'technologies Diffuser conduit for diffusing air conditioning

Citations (2)

* Cited by examiner, † Cited by third party
Publication number Priority date Publication date Assignee Title
WO2010010230A2 (en) 2008-07-24 2010-01-28 Halton Oy Air conditioning system and method of air conditioning
US20110031322A1 (en) 2003-11-06 2011-02-10 Shazhou Zou Novel air regulation device and air conditioning system

Family Cites Families (5)

* Cited by examiner, † Cited by third party
Publication number Priority date Publication date Assignee Title
FR2588999A1 (en) 1985-10-22 1987-04-24 Rogero Jean IMPROVEMENTS TO SUSPENDED RUPTURE CONTACTORS
DK12792D0 (en) 1992-02-03 1992-02-03 Ke Safematic As VENTILATION
FI101826B (en) * 1997-04-15 1998-08-31 Flaekt Woods Ab Equipment for distributing supply air to air-conditioned rooms
US6719625B2 (en) * 2001-09-26 2004-04-13 Clifford Conrad Federspiel Method and apparatus for controlling variable air volume supply fans in heating, ventilating, and air-conditioning systems
IT1397501B1 (en) * 2009-04-14 2013-01-16 Zambolin AIR TREATMENT PLANT

Patent Citations (2)

* Cited by examiner, † Cited by third party
Publication number Priority date Publication date Assignee Title
US20110031322A1 (en) 2003-11-06 2011-02-10 Shazhou Zou Novel air regulation device and air conditioning system
WO2010010230A2 (en) 2008-07-24 2010-01-28 Halton Oy Air conditioning system and method of air conditioning

Non-Patent Citations (1)

* Cited by examiner, † Cited by third party
Title
Airzone Catalog (2009)

Also Published As

Publication number Publication date
EP3293462A1 (en) 2018-03-14
HRP20171943T4 (en) 2022-06-24
ES2862306T3 (en) 2021-10-07
ITMI20111538A1 (en) 2013-02-13
SI2557368T1 (en) 2018-04-30
SI2557368T2 (en) 2022-07-29
EP2557368B1 (en) 2017-09-27
EP2557368A1 (en) 2013-02-13
SI3293462T1 (en) 2021-07-30
EP3293462B1 (en) 2021-01-06
HRP20171943T1 (en) 2018-02-23

Similar Documents

Publication Publication Date Title
EP2557368B2 (en) Procedure for regulating an air flow in an air conditioning sytem and air conditioning system therefor
US5931227A (en) Conversion of constant volume heating/air conditioning systems
JP6060186B2 (en) Chilled beam with multiple modes
EP0941442A1 (en) Combustor dilution bypass system
US4203485A (en) Multizone air terminal
CN110275561B (en) Device for controlling a fuel-oxidant mixture of a premix gas burner
US20060183419A1 (en) Air handling unit mixing method and system
JP2003506614A (en) Apparatus and method for adjusting cooling air flow of gas turbine and turbine
JP2019211168A (en) Humidity regulation system
EP2224183B1 (en) Air distribution plant and diffuser conduit therefor
JP2016537549A (en) Air turbine coil system at the gas turbine inlet
CN218721959U (en) Air conditioning system
EP2577025B1 (en) Method for increasing an emissions compliant load range for a combined-cycle system
KR100217523B1 (en) Full Combustion Combined Plant
CN117190723A (en) A sintering ring cooler waste heat utilization system and method
SU1307170A1 (en) Air conditioning system
JPS60122890A (en) Device to suppress white smoke generation at cooling tower
EP3343119B1 (en) Air diffuser
SU1084545A1 (en) Multi-zone two-channel air conditioning system
CN121088517B (en) Flow regulation structure and method of turbine guide vane based on multi-hole combined jet
GB2417058A (en) Water mixing valve
US20240369041A1 (en) Cooling a wind turbine
KR20120117062A (en) Automatic control wind-power generation device
JP4574076B2 (en) Advanced safety facility and its control method
JPS59202334A (en) Heating apparatus of hot-water circulating type

Legal Events

Date Code Title Description
PUAI Public reference made under article 153(3) epc to a published international application that has entered the european phase

Free format text: ORIGINAL CODE: 0009012

AK Designated contracting states

Kind code of ref document: A1

Designated state(s): AL AT BE BG CH CY CZ DE DK EE ES FI FR GB GR HR HU IE IS IT LI LT LU LV MC MK MT NL NO PL PT RO RS SE SI SK SM TR

AX Request for extension of the european patent

Extension state: BA ME

17P Request for examination filed

Effective date: 20130731

RBV Designated contracting states (corrected)

Designated state(s): AL AT BE BG CH CY CZ DE DK EE ES FI FR GB GR HR HU IE IS IT LI LT LU LV MC MK MT NL NO PL PT RO RS SE SI SK SM TR

17Q First examination report despatched

Effective date: 20150209

GRAP Despatch of communication of intention to grant a patent

Free format text: ORIGINAL CODE: EPIDOSNIGR1

STAA Information on the status of an ep patent application or granted ep patent

Free format text: STATUS: GRANT OF PATENT IS INTENDED

RIC1 Information provided on ipc code assigned before grant

Ipc: F24F 13/02 20060101ALI20170214BHEP

Ipc: F24F 11/04 20060101ALI20170214BHEP

Ipc: F24F 13/068 20060101ALI20170214BHEP

Ipc: F24F 3/044 20060101AFI20170214BHEP

Ipc: F24F 13/06 20060101ALI20170214BHEP

Ipc: F24F 11/00 20060101ALI20170214BHEP

INTG Intention to grant announced

Effective date: 20170308

GRAS Grant fee paid

Free format text: ORIGINAL CODE: EPIDOSNIGR3

GRAA (expected) grant

Free format text: ORIGINAL CODE: 0009210

STAA Information on the status of an ep patent application or granted ep patent

Free format text: STATUS: THE PATENT HAS BEEN GRANTED

AK Designated contracting states

Kind code of ref document: B1

Designated state(s): AL AT BE BG CH CY CZ DE DK EE ES FI FR GB GR HR HU IE IS IT LI LT LU LV MC MK MT NL NO PL PT RO RS SE SI SK SM TR

REG Reference to a national code

Ref country code: GB

Ref legal event code: FG4D

REG Reference to a national code

Ref country code: CH

Ref legal event code: EP

REG Reference to a national code

Ref country code: AT

Ref legal event code: REF

Ref document number: 932322

Country of ref document: AT

Kind code of ref document: T

Effective date: 20171015

REG Reference to a national code

Ref country code: IE

Ref legal event code: FG4D

REG Reference to a national code

Ref country code: DE

Ref legal event code: R096

Ref document number: 602012037730

Country of ref document: DE

REG Reference to a national code

Ref country code: HR

Ref legal event code: TUEP

Ref document number: P20171943

Country of ref document: HR

REG Reference to a national code

Ref country code: CH

Ref legal event code: NV

Representative=s name: ING. ALESSANDRO GALASSI C/O PGA S.P.A., MILANO, CH

REG Reference to a national code

Ref country code: SE

Ref legal event code: TRGR

REG Reference to a national code

Ref country code: NL

Ref legal event code: FP

PG25 Lapsed in a contracting state [announced via postgrant information from national office to epo]

Ref country code: NO

Free format text: LAPSE BECAUSE OF FAILURE TO SUBMIT A TRANSLATION OF THE DESCRIPTION OR TO PAY THE FEE WITHIN THE PRESCRIBED TIME-LIMIT

Effective date: 20171227

Ref country code: LT

Free format text: LAPSE BECAUSE OF FAILURE TO SUBMIT A TRANSLATION OF THE DESCRIPTION OR TO PAY THE FEE WITHIN THE PRESCRIBED TIME-LIMIT

Effective date: 20170927

Ref country code: FI

Free format text: LAPSE BECAUSE OF FAILURE TO SUBMIT A TRANSLATION OF THE DESCRIPTION OR TO PAY THE FEE WITHIN THE PRESCRIBED TIME-LIMIT

Effective date: 20170927

REG Reference to a national code

Ref country code: LT

Ref legal event code: MG4D

REG Reference to a national code

Ref country code: AT

Ref legal event code: MK05

Ref document number: 932322

Country of ref document: AT

Kind code of ref document: T

Effective date: 20170927

REG Reference to a national code

Ref country code: HR

Ref legal event code: T1PR

Ref document number: P20171943

Country of ref document: HR

PG25 Lapsed in a contracting state [announced via postgrant information from national office to epo]

Ref country code: BG

Free format text: LAPSE BECAUSE OF FAILURE TO SUBMIT A TRANSLATION OF THE DESCRIPTION OR TO PAY THE FEE WITHIN THE PRESCRIBED TIME-LIMIT

Effective date: 20171227

Ref country code: LV

Free format text: LAPSE BECAUSE OF FAILURE TO SUBMIT A TRANSLATION OF THE DESCRIPTION OR TO PAY THE FEE WITHIN THE PRESCRIBED TIME-LIMIT

Effective date: 20170927

Ref country code: RS

Free format text: LAPSE BECAUSE OF FAILURE TO SUBMIT A TRANSLATION OF THE DESCRIPTION OR TO PAY THE FEE WITHIN THE PRESCRIBED TIME-LIMIT

Effective date: 20170927

Ref country code: GR

Free format text: LAPSE BECAUSE OF FAILURE TO SUBMIT A TRANSLATION OF THE DESCRIPTION OR TO PAY THE FEE WITHIN THE PRESCRIBED TIME-LIMIT

Effective date: 20171228

PG25 Lapsed in a contracting state [announced via postgrant information from national office to epo]

Ref country code: ES

Free format text: LAPSE BECAUSE OF FAILURE TO SUBMIT A TRANSLATION OF THE DESCRIPTION OR TO PAY THE FEE WITHIN THE PRESCRIBED TIME-LIMIT

Effective date: 20170927

Ref country code: RO

Free format text: LAPSE BECAUSE OF FAILURE TO SUBMIT A TRANSLATION OF THE DESCRIPTION OR TO PAY THE FEE WITHIN THE PRESCRIBED TIME-LIMIT

Effective date: 20170927

Ref country code: CZ

Free format text: LAPSE BECAUSE OF FAILURE TO SUBMIT A TRANSLATION OF THE DESCRIPTION OR TO PAY THE FEE WITHIN THE PRESCRIBED TIME-LIMIT

Effective date: 20170927

PG25 Lapsed in a contracting state [announced via postgrant information from national office to epo]

Ref country code: AT

Free format text: LAPSE BECAUSE OF FAILURE TO SUBMIT A TRANSLATION OF THE DESCRIPTION OR TO PAY THE FEE WITHIN THE PRESCRIBED TIME-LIMIT

Effective date: 20170927

Ref country code: SM

Free format text: LAPSE BECAUSE OF FAILURE TO SUBMIT A TRANSLATION OF THE DESCRIPTION OR TO PAY THE FEE WITHIN THE PRESCRIBED TIME-LIMIT

Effective date: 20170927

Ref country code: SK

Free format text: LAPSE BECAUSE OF FAILURE TO SUBMIT A TRANSLATION OF THE DESCRIPTION OR TO PAY THE FEE WITHIN THE PRESCRIBED TIME-LIMIT

Effective date: 20170927

Ref country code: EE

Free format text: LAPSE BECAUSE OF FAILURE TO SUBMIT A TRANSLATION OF THE DESCRIPTION OR TO PAY THE FEE WITHIN THE PRESCRIBED TIME-LIMIT

Effective date: 20170927

Ref country code: IS

Free format text: LAPSE BECAUSE OF FAILURE TO SUBMIT A TRANSLATION OF THE DESCRIPTION OR TO PAY THE FEE WITHIN THE PRESCRIBED TIME-LIMIT

Effective date: 20180127

REG Reference to a national code

Ref country code: DE

Ref legal event code: R026

Ref document number: 602012037730

Country of ref document: DE

PLBI Opposition filed

Free format text: ORIGINAL CODE: 0009260

PLAX Notice of opposition and request to file observation + time limit sent

Free format text: ORIGINAL CODE: EPIDOSNOBS2

PG25 Lapsed in a contracting state [announced via postgrant information from national office to epo]

Ref country code: DK

Free format text: LAPSE BECAUSE OF FAILURE TO SUBMIT A TRANSLATION OF THE DESCRIPTION OR TO PAY THE FEE WITHIN THE PRESCRIBED TIME-LIMIT

Effective date: 20170927

26 Opposition filed

Opponent name: AIR'TECHNOLOGIES

Effective date: 20180627

REG Reference to a national code

Ref country code: FR

Ref legal event code: PLFP

Year of fee payment: 7

PG25 Lapsed in a contracting state [announced via postgrant information from national office to epo]

Ref country code: PL

Free format text: LAPSE BECAUSE OF FAILURE TO SUBMIT A TRANSLATION OF THE DESCRIPTION OR TO PAY THE FEE WITHIN THE PRESCRIBED TIME-LIMIT

Effective date: 20170927

PGFP Annual fee paid to national office [announced via postgrant information from national office to epo]

Ref country code: LU

Payment date: 20180824

Year of fee payment: 7

PGFP Annual fee paid to national office [announced via postgrant information from national office to epo]

Ref country code: NL

Payment date: 20180824

Year of fee payment: 7

PLBB Reply of patent proprietor to notice(s) of opposition received

Free format text: ORIGINAL CODE: EPIDOSNOBS3

PGFP Annual fee paid to national office [announced via postgrant information from national office to epo]

Ref country code: ES

Payment date: 20180801

Year of fee payment: 18

PG25 Lapsed in a contracting state [announced via postgrant information from national office to epo]

Ref country code: MC

Free format text: LAPSE BECAUSE OF FAILURE TO SUBMIT A TRANSLATION OF THE DESCRIPTION OR TO PAY THE FEE WITHIN THE PRESCRIBED TIME-LIMIT

Effective date: 20170927

REG Reference to a national code

Ref country code: HR

Ref legal event code: ODRP

Ref document number: P20171943

Country of ref document: HR

Payment date: 20190723

Year of fee payment: 8

PG25 Lapsed in a contracting state [announced via postgrant information from national office to epo]

Ref country code: MT

Free format text: LAPSE BECAUSE OF NON-PAYMENT OF DUE FEES

Effective date: 20180809

PG25 Lapsed in a contracting state [announced via postgrant information from national office to epo]

Ref country code: TR

Free format text: LAPSE BECAUSE OF FAILURE TO SUBMIT A TRANSLATION OF THE DESCRIPTION OR TO PAY THE FEE WITHIN THE PRESCRIBED TIME-LIMIT

Effective date: 20170927

REG Reference to a national code

Ref country code: NL

Ref legal event code: MM

Effective date: 20190901

PG25 Lapsed in a contracting state [announced via postgrant information from national office to epo]

Ref country code: PT

Free format text: LAPSE BECAUSE OF FAILURE TO SUBMIT A TRANSLATION OF THE DESCRIPTION OR TO PAY THE FEE WITHIN THE PRESCRIBED TIME-LIMIT

Effective date: 20170927

Ref country code: HU

Free format text: LAPSE BECAUSE OF FAILURE TO SUBMIT A TRANSLATION OF THE DESCRIPTION OR TO PAY THE FEE WITHIN THE PRESCRIBED TIME-LIMIT; INVALID AB INITIO

Effective date: 20120809

Ref country code: LU

Free format text: LAPSE BECAUSE OF NON-PAYMENT OF DUE FEES

Effective date: 20190809

Ref country code: CH

Free format text: LAPSE BECAUSE OF NON-PAYMENT OF DUE FEES

Effective date: 20190831

Ref country code: LI

Free format text: LAPSE BECAUSE OF NON-PAYMENT OF DUE FEES

Effective date: 20190831

PG25 Lapsed in a contracting state [announced via postgrant information from national office to epo]

Ref country code: MK

Free format text: LAPSE BECAUSE OF NON-PAYMENT OF DUE FEES

Effective date: 20170927

Ref country code: CY

Free format text: LAPSE BECAUSE OF FAILURE TO SUBMIT A TRANSLATION OF THE DESCRIPTION OR TO PAY THE FEE WITHIN THE PRESCRIBED TIME-LIMIT

Effective date: 20170927

PG25 Lapsed in a contracting state [announced via postgrant information from national office to epo]

Ref country code: NL

Free format text: LAPSE BECAUSE OF NON-PAYMENT OF DUE FEES

Effective date: 20190901

Ref country code: AL

Free format text: LAPSE BECAUSE OF FAILURE TO SUBMIT A TRANSLATION OF THE DESCRIPTION OR TO PAY THE FEE WITHIN THE PRESCRIBED TIME-LIMIT

Effective date: 20170927

REG Reference to a national code

Ref country code: HR

Ref legal event code: ODRP

Ref document number: P20171943

Country of ref document: HR

Payment date: 20200721

Year of fee payment: 9

RAP4 Party data changed (patent owner data changed or rights of a patent transferred)

Owner name: ZAMBOLIN, MARCO

RIN2 Information on inventor provided after grant (corrected)

Inventor name: ZAMBOLIN, MARCO

REG Reference to a national code

Ref country code: HR

Ref legal event code: ODRP

Ref document number: P20171943

Country of ref document: HR

Payment date: 20210720

Year of fee payment: 10

PUAH Patent maintained in amended form

Free format text: ORIGINAL CODE: 0009272

STAA Information on the status of an ep patent application or granted ep patent

Free format text: STATUS: PATENT MAINTAINED AS AMENDED

27A Patent maintained in amended form

Effective date: 20220223

AK Designated contracting states

Kind code of ref document: B2

Designated state(s): AL AT BE BG CH CY CZ DE DK EE ES FI FR GB GR HR HU IE IS IT LI LT LU LV MC MK MT NL NO PL PT RO RS SE SI SK SM TR

REG Reference to a national code

Ref country code: DE

Ref legal event code: R102

Ref document number: 602012037730

Country of ref document: DE

REG Reference to a national code

Ref country code: HR

Ref legal event code: PNAN

Ref document number: P20171943

Country of ref document: HR

Owner name: MARCO ZAMBOLIN, IT

REG Reference to a national code

Ref country code: SE

Ref legal event code: RPEO

REG Reference to a national code

Ref country code: HR

Ref legal event code: T4IZ

Ref document number: P20171943

Country of ref document: HR

REG Reference to a national code

Ref country code: SI

Ref legal event code: SP73

Owner name: ZAMBOLIN, MARCO; IT

Effective date: 20220531

REG Reference to a national code

Ref country code: HR

Ref legal event code: ODRP

Ref document number: P20171943

Country of ref document: HR

Payment date: 20220721

Year of fee payment: 11

REG Reference to a national code

Ref country code: HR

Ref legal event code: ODRP

Ref document number: P20171943

Country of ref document: HR

Payment date: 20230721

Year of fee payment: 12

REG Reference to a national code

Ref country code: HR

Ref legal event code: ODRP

Ref document number: P20171943

Country of ref document: HR

Payment date: 20240722

Year of fee payment: 13

P01 Opt-out of the competence of the unified patent court (upc) registered

Free format text: CASE NUMBER: APP_10813/2025

Effective date: 20250305

REG Reference to a national code

Ref country code: HR

Ref legal event code: ODRP

Ref document number: P20171943

Country of ref document: HR

Payment date: 20250722

Year of fee payment: 14

PGFP Annual fee paid to national office [announced via postgrant information from national office to epo]

Ref country code: DE

Payment date: 20250827

Year of fee payment: 14

PGFP Annual fee paid to national office [announced via postgrant information from national office to epo]

Ref country code: IT

Payment date: 20250821

Year of fee payment: 14

PGFP Annual fee paid to national office [announced via postgrant information from national office to epo]

Ref country code: BE

Payment date: 20250825

Year of fee payment: 14

Ref country code: GB

Payment date: 20250826

Year of fee payment: 14

PGFP Annual fee paid to national office [announced via postgrant information from national office to epo]

Ref country code: HR

Payment date: 20250722

Year of fee payment: 14

PGFP Annual fee paid to national office [announced via postgrant information from national office to epo]

Ref country code: FR

Payment date: 20250825

Year of fee payment: 14

PGFP Annual fee paid to national office [announced via postgrant information from national office to epo]

Ref country code: SE

Payment date: 20250825

Year of fee payment: 14

PGFP Annual fee paid to national office [announced via postgrant information from national office to epo]

Ref country code: IE

Payment date: 20250819

Year of fee payment: 14

PGFP Annual fee paid to national office [announced via postgrant information from national office to epo]

Ref country code: SI

Payment date: 20250722

Year of fee payment: 14