EP2532810A2 - Drückerstift - Google Patents
Drückerstift Download PDFInfo
- Publication number
- EP2532810A2 EP2532810A2 EP12166790A EP12166790A EP2532810A2 EP 2532810 A2 EP2532810 A2 EP 2532810A2 EP 12166790 A EP12166790 A EP 12166790A EP 12166790 A EP12166790 A EP 12166790A EP 2532810 A2 EP2532810 A2 EP 2532810A2
- Authority
- EP
- European Patent Office
- Prior art keywords
- pin
- pusher
- longitudinal axis
- pin portion
- screw
- Prior art date
- Legal status (The legal status is an assumption and is not a legal conclusion. Google has not performed a legal analysis and makes no representation as to the accuracy of the status listed.)
- Withdrawn
Links
- 239000000463 material Substances 0.000 claims description 5
- 239000000945 filler Substances 0.000 claims description 3
- 238000006073 displacement reaction Methods 0.000 claims description 2
- 238000004873 anchoring Methods 0.000 description 3
- 238000005553 drilling Methods 0.000 description 3
- 238000000034 method Methods 0.000 description 2
- 238000004026 adhesive bonding Methods 0.000 description 1
- 238000005219 brazing Methods 0.000 description 1
- 230000001419 dependent effect Effects 0.000 description 1
- 238000009826 distribution Methods 0.000 description 1
- 238000004049 embossing Methods 0.000 description 1
- 238000009434 installation Methods 0.000 description 1
- 239000007788 liquid Substances 0.000 description 1
- 238000003754 machining Methods 0.000 description 1
- 238000004519 manufacturing process Methods 0.000 description 1
- 239000007769 metal material Substances 0.000 description 1
- 238000003801 milling Methods 0.000 description 1
- 230000002093 peripheral effect Effects 0.000 description 1
- 238000003825 pressing Methods 0.000 description 1
- 230000002035 prolonged effect Effects 0.000 description 1
- 239000011347 resin Substances 0.000 description 1
- 229920005989 resin Polymers 0.000 description 1
- 238000005476 soldering Methods 0.000 description 1
- 238000003860 storage Methods 0.000 description 1
- 238000003466 welding Methods 0.000 description 1
Images
Classifications
-
- E—FIXED CONSTRUCTIONS
- E05—LOCKS; KEYS; WINDOW OR DOOR FITTINGS; SAFES
- E05B—LOCKS; ACCESSORIES THEREFOR; HANDCUFFS
- E05B3/00—Fastening knobs or handles to lock or latch parts
- E05B3/10—Fastening knobs or handles to lock or latch parts by a bipartite or cleft spindle in the follower or in the handle shank
-
- E—FIXED CONSTRUCTIONS
- E05—LOCKS; KEYS; WINDOW OR DOOR FITTINGS; SAFES
- E05B—LOCKS; ACCESSORIES THEREFOR; HANDCUFFS
- E05B3/00—Fastening knobs or handles to lock or latch parts
- E05B3/08—Fastening the spindle to the follower
Definitions
- the present invention relates to a pusher pin with two along its longitudinal axis successively arranged pin portions.
- Such pusher pins are basically known from the prior art and are used in door locks for the connection of door handle and lock nut.
- a known pusher pin which is designed for use with a half-set, comprises a shorter and a longer pin portion, the latter being inserted into the lock nut.
- the shorter pin portion has a bolt-shaped extension which is rotatably mounted in an axial through hole of the longer pin portion, so that the shorter pin portion can rotate relative to the longer pin portion about the longitudinal axis.
- the end facing away from the shorter pin portion of the bolt-shaped projection protrudes from the longer pin portion and is rotatably provided with an anchoring element.
- the anchoring of the pusher pin in the lock nut is achieved by a rotation of the shorter pin section, which may not be accessible to a person who tries to release the pusher pin after prolonged use of the lock nut under certain circumstances.
- the longer pin portion is provided with an external thread, with which a threaded disc is engaged, through which can be braced against the lock nut anchored in the lock nut pusher pin.
- the threaded disc has a larger diameter than an in The hole provided on the door, so that the bore for bracing the trigger pin must be drilled in addition.
- To rotate the threaded disc a special tool is required.
- the axial dimensions of the pin portions are chosen so that the dividing line between them extends not only outside the lock nut but also outside the door leaf. The door handle thus sits on both the shorter pin portion and on a portion of the longer pin portion, which can lead to a certain game of the door handle on the pusher pin.
- Object of the present invention is to provide a pusher pin, which has a simpler design, easier to assemble or disassemble and allows a more reliable fixation of a door handle.
- the two pin sections can be moved towards each other by actuating the tensioning means in the longitudinal direction.
- the movement of the pin portions is converted in the longitudinal direction over the inclined surfaces in a movement in the radial direction, ie the emergence of the Pin sections on the inclined surfaces leads to a radial offset of the pin sections.
- the radial play of the clamping means within the first pin portion is chosen so large that the maximum achievable radial offset of the pin portions sufficient to anchor the pusher pin in a lock nut, in particular by jamming or by the radially offset second pin portion formed in accordance with the lock nut Advantage takes hold.
- the pusher pin is inserted into the locknut so far that the inclined surfaces of the pin sections are located inside the lock nut.
- the pin portions are moved toward each other in the longitudinal direction, wherein they slide over their inclined surfaces and move in the radial direction relative to each other.
- the pin portions are clamped not only with each other, but also with respect to the lock nut, e.g. by friction.
- the pusher pin according to the invention has a particularly simple design, since the clamping means has a double function in that it serves both for establishing the connection between the two pin sections and for clamping the pusher pin with the lock nut.
- the storage of the clamping means within the first pin portion results in a spatially particularly compact design, so that during assembly no additional drilling of the door leaf is required, such as when using a threaded disc as a clamping device.
- both the assembly and disassembly of the pusher pin according to the invention make it particularly simple, since no special tool, nor the aforementioned drilling of the door leaf is required for anchoring the pusher pin in the lock nut and also disassembled alone the obviously arranged in the first pin portion clamping means needs to be.
- Another advantage of the invention is that the dividing line between the two pin sections runs after assembly inside the lock nut.
- the area of the pin extending outside the lock nut can be made in one piece and the fixing of a door handle can be done without play.
- the obliquely extending to the longitudinal axis surfaces are formed as flat surfaces.
- the design as flat surfaces allows a uniform force distribution and easy production of the pin sections.
- the pin portions may be interlocked with each other at their obliquely extending to the longitudinal axis surfaces, wherein the toothing is preferably oriented in the sliding direction to facilitate the sliding of the pin portions.
- a screw is preferably provided.
- the use of a screw proves to be particularly advantageous in terms of the assembly and disassembly of the trigger pin, as this can be easily with a common tool, such as a screwdriver or Allen key, tightened or loosened. Thus, no special tool is required.
- the head of the screw When assembled, the head of the screw preferably closes flush with the first pin portion or recessed within the first pin portion.
- the screw may be a countersunk screw, but for stability reasons, a cylinder head screw, in particular a cylinder head screw with hexagon socket, preferred.
- the tensioning means is mounted in a bore extending in the longitudinal extent of the first pin portion.
- the bore in a region facing the second pin portion may have a smaller diameter than in a region facing away from the second pin portion.
- the bore may have at least two discrete diameters, so to speak, be stepped.
- the bore forms at least one step or shoulder, which can act as a stop for the clamping means, in particular for the head of a screw.
- a stop element is formed on one of the pin portions, in particular on the first pin portion, which is fixed with respect to a movement in the direction of the longitudinal axis.
- the stop element rests on the lock nut in the mounted state and ensures correct positioning of the push pin in the lock nut.
- the assembly of the pusher pin is thereby simplified insofar as the position of the dividing line between the two pin portions within the lock nut and the length of the projecting from the lock nut portion of the pusher pin are given.
- the stop element can on the Pin section fixed or releasably fixed.
- the fixation of the stop element can be effected by a positive and / or a material connection to the pin portion, for example by pressing, latching, welding, soldering, in particular brazing, or gluing.
- the stop element is received in a recess of the pin portion.
- the depression can be designed, for example, as a groove, in particular as an annular groove.
- the stop element can be attached radially to the pin section.
- the stopper member may be formed annular, e.g. in the form of a snap ring or a circlip.
- the stop element can also be designed as a mandrel or projection.
- the stop element is disc-shaped. The term disc or ring is not limited to circular elements, so that, for example, oval shapes fall under this definition.
- the dimensions of the stop element are preferably selected so that the pusher pin can be inserted through an already existing in the door leaf opening in the lock nut and an additional drilling of the door leaf is not required.
- the stop element has a radial dimension of less than 16 mm, so that the pin can be introduced together with the stop element by an existing hole in the door leaf with a diameter of 22 mm and the stop member does not drag on a lock case of the door lock.
- the second pin portion has a friction-increasing surface structuring on its outer side pointing in the direction of the radial offset.
- the surface structuring may, for example, comprise corrugations or depressions running perpendicular to the longitudinal extension of the pin section. Alternatively or additionally, depressions may be provided on the surface which have an acute-angled shape, the tips preferably pointing in the direction in which the pusher pin is inserted in the lock nut during assembly, i. contrary to the pulling direction.
- the surface structuring can be introduced into the outside of the pin section by different methods, e.g. by machining, such as milling, or by embossing.
- the pin portions in at least one of the pin portions has a bore for receiving a fastening element provided for fastening a door handle, in particular a grub screw is formed.
- a filling material is provided in the region of the bore between the fastening element and the clamping element, which ensures in the mounted state of the door handle for fixing the clamping element and thus an undesired adjustment of the clamping element, for example an undesired rotation of a screw formed as a clamping element counteracted.
- the filler material may comprise a metallic material or a plastic material.
- a resin can be used, which in the liquid state through the bore, which is used to hold the fastener is provided, is introduced and hardens after mounting the fastener.
- the pusher pin according to the invention can be used both in conjunction with a half-set and a full set.
- a half-set is understood to mean a handle set which is fastened on one side to a door and thus comprises only one door handle, while a full set comprises two door handles which are mounted on opposite sides of the door. Further objects of the invention are accordingly also a half-set and a full set, which each have a pusher pin according to the invention.
- the dimensioning of the pusher pin for a half-set or a full set can be achieved by adjusting the lengths of the first and second pin portion. In the case of a half set, only the first pin section projects out of the lock nut in order to receive a door handle, while in a full set both the first and the second pin sections protrude from the lock nut and serve to receive a respective door handle.
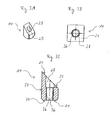
- a pusher pin 10 As in Fig. 1A to 1D 1, a pusher pin 10 according to the invention comprises a first pin portion 12 and a second pin portion 14, which have a substantially identical square cross-section.
- the pin portions 12, 14 define by their longitudinal extensions a longitudinal axis of the pusher pin 10.
- a direction parallel to the longitudinal axis of the pusher pin 10 is referred to in this context as the longitudinal direction.
- the pin portions 12, 14 have at their ends facing each other an oblique to the longitudinal axis extending inclined surface 18, 20, wherein the inclined surfaces 18, 20 are formed as flat surfaces, as in particular Fig. 1A . 2A . 3A and 3C can be removed.
- a through hole 26 extending in the longitudinal direction and over the entire length of the pin section 12 is formed, which has a region 30a facing the second pin section 14 and a section 30b facing away from the second pin section 14 ( Fig. 1C and 2A ).
- the diameter of the through-hole 26 in the area 30a facing the second pin portion 14 is less than the diameter of the through-hole 26 in the area 30b facing away from the second pin portion 14, so that a peripheral shoulder 31 is formed on the wall of the first pin portion 12 delimiting the through-bore 26 is.
- the through hole 26 in the illustrated embodiment essentially only two portions 30 a, 30 b of different diameters It should be noted that, in principle, it may also have more than two, eg three, regions each having different diameters.
- the first pin portion 12 on its outer side a circumferential annular groove 34, in which a disc-shaped stop member 32 is received.
- the stop element 32 has a radial recess 33, so that it can be plugged radially onto the first pin section 12.
- the stopper member 32 is compressed while reducing its radial recess 33 with the pin portion 12.
- the stop element 32 can also be soldered or glued to the pin section 12.
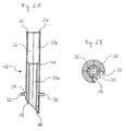
- the second pin portion 14 is formed in the longitudinal direction and over the entire length of the pin portion 14 extending through hole 28 which is at least partially provided with an internal thread 36 ( Fig. 3 ).
- the pin portions 12 and 14 are interconnected by a screw 16 which extends through the through holes 26, 28 and engages with its thread 38 in the internal thread 36 of the second pin portion 14.
- the screw 16 with a radial Game stored in the through hole 26 of the first pin portion 12.
- the screw 16 is a countersunk screw with Phillips.
- other types of screw come into question, such as a cylinder head screw with hexagon socket.
- the pusher pin 10 is inserted with the second pin portion 14 ahead in a lock nut until the stop member 32 bears against the outside of the lock nut.
- the flat inclined surfaces 18, 20 of the pin portions 12, 14 are now within the lock nut.
- the screw 16 is tightened by means of a suitable tool, e.g. a screwdriver or Allen key, screwed into the internal thread 36 of the second pin portion 14. If the screw 16 extends sufficiently far into the second pin section 14, the pin sections 12, 14 move toward one another. This movement causes the pin portions 12, 14 to run up on and slide over their inclined surfaces 18, 20 and in the radial direction, i. transversely to the longitudinal direction, be offset relative to each other.
- a suitable tool e.g. a screwdriver or Allen key
- the side surface 37 of the second pin portion 14 is frictionally engaged with an inner wall of the lock nut, so that the pin portions 12, 14 are clamped not only with each other, but also with respect to the lock nut.
- the mentioned surface structuring of the side surface 37 which is not shown in the figures, can improve the frictional connection.
- the lengths of the pin portions 12, 14 and the position of the stopper member 32 are selected so that the parting line 42 between the pin portions 12, 14 is positioned after the assembly of the pusher pin 10 in the lock nut.
- the length of the screw 16 is adapted to the dimensions of the pin portions 12, 14 such that the head 40 of the screw 16 is flush with the first pin portion after assembly of the pusher pin 10 in the lock nut.
- the end face 22 serves as an abutment for the screw 16.
- the shoulder 31 can serve as an abutment for the screw 16, in particular when using a cylinder head screw, not shown in the figures.
Landscapes
- Engineering & Computer Science (AREA)
- Mechanical Engineering (AREA)
- Connection Of Plates (AREA)
Abstract
Die vorliegende Erfindung betrifft einen Drückerstift mit zwei entlang seiner Längsachse hintereinander angeordneten Stiftabschnitten, wobei ein erster und ein zweiter Stiftabschnitt durch ein Spannmittel, welches innerhalb des ersten Stiftabschnitts mit radialem Spiel gelagert ist, verbunden sind, jeweils eine schräg zur Längsachse verlaufende Fläche aufweisen und mittels des Spannmittels über die schräg zur Längsachse angeordneten, aneinander anliegenden Flächen derart gegeneinander verspannbar sind, dass ein radialer Versatz der Stiftabschnitte bezüglich der Längsachse erreichbar ist.
Description
- Die vorliegende Erfindung betrifft einen Drückerstift mit zwei entlang seiner Längsachse hintereinander angeordneten Stiftabschnitten.
- Derartige Drückerstifte sind grundsätzlich aus dem Stand der Technik bekannt und dienen bei Türschlössern zur Verbindung von Türdrücker und Schlossnuss.
- Ein bekannter Drückerstift, welcher zur Verwendung mit einer Halbgarnitur ausgebildet ist, umfasst einen kürzeren und einen längeren Stiftabschnitt, wobei letzterer in die Schlossnuss eingesetzt wird. Der kürzere Stiftabschnitt weist einen bolzenförmigen Fortsatz auf, welcher in einer axialen Durchgangsbohrung des längeren Stiftabschnitts drehbar gelagert ist, so dass sich der kürzere Stiftabschnitt relativ zu dem längeren Stiftabschnitt um die Längsachse verdrehen kann. Das dem kürzeren Stiftabschnitt abgewandte Ende des bolzenförmigen Fortsatzes ragt aus dem längeren Stiftabschnitt hervor und ist drehfest mit einem Verankerungselement versehen. Die Verankerung des Drückerstifts in der Schlossnuss wird durch eine Verdrehung des kürzeren Stiftabschnitts erreicht, was sich einer Person, welche den Drückerstift nach längerer Einsatzzeit aus der Schlossnuss zu lösen versucht, unter Umständen nicht erschließt. Der längere Stiftabschnitt ist mit einem Außengewinde versehen, mit welchem eine Gewindescheibe in Eingriff steht, durch die sich der in der Schlossnuss verankerte Drückerstift gegen die Schlossnuss verspannen lässt. Die Gewindescheibe weist einen größeren Durchmesser als eine in der Tür vorgesehene Bohrung auf, so dass die Bohrung zur Verspannung des Drückerstifts zusätzlich aufgebohrt werden muss. Zur Verdrehung der Gewindescheibe ist ein Spezialwerkzeug erforderlich. Die axialen Abmessungen der Stiftabschnitte sind so gewählt, dass die Trennlinie zwischen diesen nicht nur außerhalb der Schlossnuss, sondern auch außerhalb des Türblatts verläuft. Der Türdrücker sitzt also sowohl auf dem kürzeren Stiftabschnitt als auch auf einem Teil des längeren Stiftabschnitts, was zu einem gewissen Spiel des Türdrückers auf dem Drückerstift führen kann.
- Aufgabe der vorliegenden Erfindung ist es, einen Drückerstift bereitzustellen, welcher eine einfachere Bauform aufweist, einfacher zu montieren bzw. demontieren ist und eine zuverlässigere Fixierung eines Türdrückers ermöglicht.
- Diese Aufgabe wird durch einen Drückerstift mit den Merkmalen des Anspruchs 1 und insbesondere dadurch gelöst, dass ein erster und ein zweiter Stiftabschnitt
- durch ein Spannmittel, welches innerhalb des ersten Stiftabschnitts mit radialem Spiel gelagert ist, verbunden sind,
- jeweils eine schräg zur Längsachse verlaufende Fläche aufweisen, und
- mittels des Spannmittels über die schräg zur Längsachse angeordneten, aneinander anliegenden Flächen derart gegeneinander verspannbar sind, dass ein radialer Versatz der Stiftabschnitte bezüglich der Längsachse erreichbar ist.
- Erfindungsgemäß lassen sich die beiden Stiftabschnitte durch Betätigung des Spannmittels in Längsrichtung aufeinander zu bewegen. Dabei wird die Bewegung der Stiftabschnitte in Längsrichtung über die Schrägflächen in eine Bewegung in radialer Richtung umgesetzt, d.h. das Auflaufen der Stiftabschnitte auf die Schrägflächen führt zu einem radialen Versatz der Stiftabschnitte. Das radiale Spiel des Spannmittels innerhalb des ersten Stiftabschnitts ist dabei so groß gewählt, dass der maximal erreichbare radiale Versatz der Stiftabschnitte ausreicht, um den Drückerstift in einer Schlossnuss zu verankern, insbesondere durch Verklemmung oder indem der radial versetzte zweite Stiftabschnitt einen in der Schlossnuss entsprechend ausgebildeten Vorsprung hintergreift.
- Zur Montage wird der Drückerstift soweit in die Schlossnuss eingeführt, dass sich die Schrägflächen der Stiftabschnitte im Inneren der Schlossnuss befinden. Durch Betätigung des Spannmittels werden die Stiftabschnitte in Längsrichtung aufeinander zubewegt, wobei sie über ihre Schrägflächen abgleiten und sich in radialer Richtung relativ zueinander verschieben. Hierdurch werden die Stiftabschnitte nicht nur untereinander, sondern auch bezüglich der Schlossnuss verspannt, z.B. durch Reibschluss.
- Der erfindungsgemäße Drückerstift weist eine besonders einfache Bauform auf, da dem Spannmittel eine Doppelfunktion zukommt, indem es sowohl zur Herstellung der Verbindung zwischen den beiden Stiftabschnitten als auch zum Verspannen des Drückerstifts mit der Schlossnuss dient.
- Darüber hinaus resultiert die Lagerung des Spannmittels innerhalb des ersten Stiftabschnitts in einer räumlich besonders kompakten Bauweise, so dass während der Montage kein zusätzliches Aufbohren des Türblatts erforderlich ist, wie z.B. bei der Verwendung einer Gewindescheibe als Spannmittel.
- Weiterhin gestalten sich sowohl die Montage als auch die Demontage des erfindungsgemäßen Drückerstifts besonders einfach, da zur Verankerung des Drückerstifts in der Schlossnuss weder ein Spezialwerkzeug, noch das bereits erwähnte Aufbohren des Türblatts erforderlich ist und auch zur Demontage allein das augenfällig im ersten Stiftabschnitt angeordnete Spannmittel betätigt zu werden braucht.
- Ein weiterer Vorteil der Erfindung besteht darin, dass die Trennlinie zwischen den beiden Stiftabschnitten nach der Montage innerhalb der Schlossnuss verläuft. Somit kann der sich außerhalb der Schlossnuss erstreckende Bereich des Stifts einteilig ausgeführt werden und die Fixierung eines Türdrückers spielfrei erfolgen.
- Vorteilhafte Ausbildungen der Erfindung sind den Unteransprüchen, der Beschreibung und der Zeichnung zu entnehmen.
- Gemäß einer Ausführungsform sind die schräg zur Längsachse verlaufenden Flächen als ebene Flächen ausgebildet. Die Ausgestaltung als ebene Flächen ermöglicht eine gleichmäßige Kraftverteilung und eine einfache Herstellung der Stiftabschnitte. Alternativ können die Stiftabschnitte an ihren schräg zur Längsachse verlaufenden Flächen miteinander verzahnt sein, wobei die Verzahnung vorzugsweise in Gleitrichtung orientiert ist, um das Abgleiten der Stiftabschnitte zu erleichtern.
- Als Spannmittel ist bevorzugt eine Schraube vorgesehen. Die Verwendung einer Schraube erweist sich vor allem in Hinblick auf die Montage und Demontage des Drückerstifts als vorteilhaft, da diese einfach mit einem gewöhnlichen Werkzeug, z.B. einem Schraubendreher oder Inbusschlüssel, angezogen bzw. gelöst werden kann. Somit ist kein Spezialwerkzeug erforderlich. Im montierten Zustand schließt der Kopf der Schraube bevorzugt bündig mit dem ersten Stiftabschnitt ab oder ist innerhalb des ersten Stiftabschnitts versenkt. Die Schraube kann eine Senkkopfschraube sein, aus Stabilitätsgründen wird aber eine Zylinderkopfschraube, insbesondere eine Zylinderkopfschraube mit Innensechskant, bevorzugt.
- Zur Verbindung und Verspannung der beiden Stiftabschnitte ist der zweite Stiftabschnitt bevorzugt mit einem Innengewinde versehen, in welches die Schraube eingreifen kann.
- Vorteilhafterweise ist das Spannmittel in einer in der Längserstreckung des ersten Stiftabschnitts verlaufenden Bohrung gelagert. Dabei kann die Bohrung in einem dem zweiten Stiftabschnitt zugewandten Bereich einen geringeren Durchmesser aufweisen als in einem dem zweiten Stiftabschnitt abgewandten Bereich. Insbesondere kann die Bohrung mindestens zwei diskrete Durchmesser aufweisen, gewissermaßen also stufenförmig ausgebildet sein. In diesem Fall bildet die Bohrung wenigstens eine Stufe oder Schulter aus, welche als Anschlag für das Spannmittel wirken kann, insbesondere für den Kopf einer Schraube. Durch geeignete Dimensionierung der Durchmesser wird das erforderliche Spiel des Spannmittels und somit der gewünschte radiale Versatz der Stiftabschnitte ermöglicht.
- Bevorzugt ist an einem der Stiftabschnitte, insbesondere an dem ersten Stiftabschnitt, ein Anschlagelement ausgebildet, welches bezüglich einer Bewegung in Richtung der Längsachse fixiert ist. Das Anschlagelement liegt im montierten Zustand an der Schlossnuss an und sorgt für eine korrekte Positionierung des Drückerstifts in der Schlossnuss. Die Montage des Drückerstifts wird hierdurch insofern vereinfacht, als die Lage der Trennlinie zwischen den beiden Stiftabschnitten innerhalb der Schlossnuss und die Länge des aus der Schlossnuss herausragenden Abschnitts des Drückerstifts vorgegeben sind. Das Anschlagelement kann an dem Stiftabschnitt fest oder lösbar fixiert sein. Beispielsweise kann die Fixierung des Anschlagelementes durch eine formschlüssige und/oder eine stoffschlüssige Verbindung mit dem Stiftabschnitt erfolgen, z.B. durch Verpressen, Verrasten, Verschweißen, Verlöten, insbesondere Hartlöten, oder Verkleben.
- Gemäß einer Ausführungsform ist das Anschlagelement in einer Vertiefung des Stiftabschnitts aufgenommen. Die Vertiefung kann beispielsweise als Nut, insbesondere als Ringnut, ausgeführt sein. Das Anschlagelement kann radial auf den Stiftabschnitt aufgesteckt sein.
- Ferner kann das Anschlagelement ringförmig ausgebildet sein, z.B. in Form eines Sprengrings oder eines Seegerrings. Alternativ kann das Anschlagelement auch als Dorn oder Vorsprung ausgeführt sein. Gemäß einer bevorzugten Ausführungsform ist das Anschlagelement scheibenförmig ausgebildet. Die Bezeichnung scheiben- oder ringförmig ist dabei nicht auf kreisförmige Elemente beschränkt, so dass beispielsweise auch ovale Formen unter diese Definition fallen.
- Die Dimensionen des Anschlagelementes sind vorzugsweise so gewählt, dass der Drückerstift durch eine bereits im Türblatt vorhandene Öffnung in die Schlossnuss eingesteckt werden kann und ein zusätzliches Aufbohren des Türblatts nicht erforderlich ist. Besonders bevorzugt weist das Anschlagelement eine radiale Abmessung von weniger als 16 mm auf, damit sich der Stift mitsamt dem Anschlagelement durch eine im Türblatt vorhandene Bohrung mit einem Durchmesser von 22 mm einführen lässt und das Anschlagelement nicht auf einem Schlosskasten des Türschlosses schleift.
- Gemäß einer bevorzugten Ausführungsform weist zumindest der zweite Stiftabschnitt an seiner in Richtung des radialen Versatzes weisenden Außenseite eine reibungserhöhende Oberflächenstrukturierung auf. Diese bewirkt im montierten Zustand eine Verbesserung des Kraftschlusses zwischen dem zweiten Stiftabschnitt und der Schlossnuss. Die Oberflächenstrukturierung kann beispielsweise senkrecht zur Längserstreckung des Stiftabschnitts verlaufende Riffelungen oder Vertiefungen umfassen. Alternativ oder zusätzlich können auf der Oberfläche Vertiefungen vorgesehen sein, welche eine spitzwinklige Form aufweisen, wobei die Spitzen bevorzugt in diejenige Richtung zeigen, in welcher der Drückerstift bei der Montage in die Schlossnuss eingeführt wird, d.h. entgegen die Zugrichtung. Die Oberflächenstrukturierung kann durch unterschiedliche Verfahren in die Außenseite des Stiftabschnitts eingebracht werden, z.B. durch spanende Bearbeitung, wie Fräsen, oder durch Prägen.
- Gemäß einer weiteren Ausbildung der Erfindung ist in wenigstens einem der Stiftabschnitte eine Bohrung zur Aufnahme eines zur Befestigung eines Türdrückers vorgesehen Befestigungselementes, insbesondere einer Madenschraube, ausgebildet.
- Vorteilhafterweise ist ein Füllmaterial im Bereich der Bohrung zwischen dem Befestigungselement und dem Spannelement vorgesehen, welches im montierten Zustand des Türdrückers für eine Fixierung des Spannelements sorgt und somit einer unerwünschten Verstellung des Spannelements, z.B. einer unerwünschten Verdrehung eines als Schraube ausgebildeten Spannelements, entgegengewirkt. Das Füllmaterial kann ein metallisches Material oder ein Kunststoffmaterial umfassen. Beispielsweise kann als Füllmaterial ein Harz verwendet werden, welches im flüssigen Zustand durch die Bohrung, die zur Aufnahme des Befestigungselementes vorgesehen ist, eingebracht wird und nach der Montage des Befestigungselementes aushärtet.
- Der erfindungsgemäße Drückerstift kann sowohl in Verbindung mit einer Halbgarnitur als auch einer Vollgarnitur eingesetzt werden. In diesem Zusammenhang wird unter einer Halbgarnitur eine Drückergarnitur verstanden, welche einseitig an einer Tür befestigt ist und somit nur einen Türdrücker umfasst, während eine Vollgarnitur zwei Türdrücker umfasst, welche an gegenüberliegenden Seiten der Tür angebracht sind. Weitere Gegenstände der Erfindung sind dementsprechend auch eine Halbgarnitur und eine Vollgarnitur, welche jeweils einen erfindungsgemäßen Drückerstift aufweisen.
- Die Dimensionierung des Drückerstifts für eine Halbgarnitur bzw. eine Vollgarnitur kann durch eine Anpassung der Längen des ersten und des zweiten Stiftabschnitts erreicht werden. Dabei ragt im Fall einer Halbgarnitur nur der erste Stiftabschnitt aus der Schlossnuss heraus, um einen Türdrücker aufzunehmen, während bei einer Vollgarnitur sowohl der erste als auch der zweite Stiftabschnitt aus der Schlossnuss herausragen und zur Aufnahme jeweils eines Türdrückers dienen.
- Die Erfindung wird nachfolgend rein beispielhaft anhand einer möglichen Ausführungsform unter Bezugnahme auf die beigefügte Zeichnung beschrieben. Es zeigen:
- Fig. 1A bis 1D
- Ansichten eines erfindungsgemäßen Drückerstifts für eine Halbgarnitur im verspannten Zustand;
- Fig. 2A und 2B
- Ansichten eines ersten Stiftabschnitts des Drückerstifts von
Fig. 1 ; und - Fig. 3A bis 3C
- Ansichten eines zweiten Stiftabschnitts des Drückerstifts von
Fig. 1 . - Wie in
Fig. 1A bis 1D gezeigt ist, umfasst ein erfindungsgemäßer Drückerstift 10 einen ersten Stiftabschnitt 12 und einen zweiten Stiftabschnitt 14, welche einen im Wesentlichen identischen quadratischen Querschnitt aufweisen. Die Stiftabschnitte 12, 14 definieren durch ihre Längserstreckungen eine Längsachse des Drückerstifts 10. Eine Richtung parallel zu der Längsachse des Drückerstifts 10 wird in diesem Kontext auch als Längsrichtung bezeichnet. - Die Stiftabschnitte 12, 14 besitzen an ihren einander zugewandten Enden jeweils eine schräg zur Längsachse verlaufende Schrägfläche 18, 20, wobei die Schrägflächen 18, 20 als ebene Flächen ausgebildet sind, wie sich insbesondere
Fig. 1A ,2A ,3A und 3C entnehmen lässt. - In dem ersten Stiftabschnitt 12 ist eine sich in Längsrichtung und über die gesamte Länge des Stiftabschnitts 12 erstreckende Durchgangsbohrung 26 ausgebildet, welche einen dem zweiten Stiftabschnitt 14 zugewandten Bereich 30a und einen dem zweiten Stiftabschnitt 14 abgewandten Bereich 30b aufweist (
Fig. 1C und2A ). Der Durchmesser der Durchgangsbohrung 26 in dem dem zweiten Stiftabschnitt 14 zugewandten Bereich 30a ist geringer als der Durchmesser der Durchgangsbohrung 26 in dem dem zweiten Stiftabschnitt 14 abgewandten Bereich 30b, so dass eine umlaufende Schulter 31 an der die Durchgangsbohrung 26 begrenzenden Wand des ersten Stiftabschnitts 12 ausgebildet ist. - Obwohl die Durchgangsbohrung 26 im dargestellten Ausführungsbeispiel im Wesentlichen nur zwei Bereiche 30a, 30b unterschiedlicher Durchmesser besitzt, sei darauf hingewiesen, dass sie grundsätzlich auch mehr als zwei, z.B. drei, Bereiche mit jeweils verschiedenen Durchmessern aufweisen kann.
- Wie man
Fig. 1 und2 entnehmen kann, weist der erste Stiftabschnitt 12 an seiner Außenseite eine umlaufende Ringnut 34 auf, in welcher ein scheibenförmiges Anschlagelement 32 aufgenommen ist. Das Anschlagelement 32 weist eine Radialaussparung 33 auf, damit es radial auf den ersten Stiftabschnitt 12 aufgesteckt werden kann. Zur Fixierung des Anschlagelements 32 an dem Stiftabschnitt 12, insbesondere hinsichtlich einer Bewegung in Längsrichtung, wird das Anschlagelement 32 unter Reduzierung seiner Radialaussparung 33 mit dem Stiftabschnitt 12 verpresst. Alternativ oder zusätzlich kann das Anschlagelement 32 mit dem Stiftabschnitt 12 auch verlötet oder verklebt werden. - Auch in dem zweiten Stiftabschnitt 14 ist eine sich in Längsrichtung und über die gesamte Länge des Stiftabschnitts 14 erstreckende Durchgangsbohrung 28 ausgebildet, welche zumindest abschnittsweise mit einem Innengewinde 36 versehen ist (
Fig. 3 ). Darüber hinaus kann diejenige Seitenfläche 37 des zweiten Stiftabschnitts 14, welche von den an die Schrägfläche 20 angrenzenden Seitenflächen den größten Flächeninhalt besitzt, mit einer in den Figuren nicht dargestellten reibungserhöhenden Oberflächenstrukturierung versehen sein, z.B. in Form von Riffelungen oder Vertiefungen, die durch einen spanenden oder prägenden Prozess erzeugt werden können. - Die Stiftabschnitte 12 und 14 sind durch eine Schraube 16 miteinander verbunden, welche sich durch die Durchgangsbohrungen 26, 28 hindurch erstreckt und mit ihrem Gewinde 38 in das Innengewinde 36 des zweiten Stiftabschnitts 14 eingreift. Dabei ist die Schraube 16 mit einem radialen Spiel in der Durchgangsbohrung 26 des ersten Stiftabschnitts 12 gelagert. Im vorliegenden Ausführungsbeispiel handelt es sich bei der Schraube 16 um eine Senkkopfschraube mit Kreuzschlitz. Alternativ kommen aber auch andere Schraubentypen in Frage, wie z.B. eine Zylinderkopfschraube mit Innensechskant.
- Zur Montage wird der Drückerstift 10 mit dem zweiten Stiftabschnitt 14 voraus in eine Schlossnuss eingeführt, bis das Anschlagelement 32 außen an der Schlossnuss anliegt. Die ebenen Schrägflächen 18, 20 der Stiftabschnitte 12, 14 befinden sich nun innerhalb der Schlossnuss.
- Zur Verankerung des Drückerstifts 10 in der Schlossnuss wird die Schraube 16 mittels eines geeigneten Werkzeugs, z.B. eines Schraubendrehers oder Inbusschlüssels, in das Innengewinde 36 des zweiten Stiftabschnitts 14 hineingedreht. Reicht die Schraube 16 ausreichend weit in den zweiten Stiftabschnitt 14 hinein, bewegen sich die Stiftabschnitte 12, 14 aufeinander zu. Diese Bewegung bewirkt, dass die Stiftabschnitte 12, 14 auf ihre Schrägflächen 18, 20 auflaufen bzw. über diese abgleiten und in radialer Richtung, d.h. quer zur Längsrichtung, relativ zueinander versetzt werden.
- Durch diesen radialen Versatz wird die Seitenfläche 37 des zweiten Stiftabschnitts 14 mit einer Innenwand der Schlossnuss kraftschlüssig in Eingriff gebracht, so dass die Stiftabschnitte 12, 14 nicht nur untereinander, sondern auch bezüglich der Schlossnuss verspannt werden. Dabei kann die erwähnte und in den Figuren nicht dargestellte Oberflächenstrukturierung der Seitenfläche 37 den Kraftschluss verbessern.
- Die Längen der Stiftabschnitte 12, 14 und die Position des Anschlagelements 32 sind so gewählt, dass die Trennlinie 42 zwischen den Stiftabschnitten 12, 14 nach erfolgter Montage des Drückerstifts 10 in der Schlossnuss positioniert ist. Außerdem ist die Länge der Schraube 16 derart an die Abmessungen der Stiftabschnitte 12, 14 angepasst, dass der Kopf 40 der Schraube 16 nach erfolgter Montage des Drückerstifts 10 in der Schlossnuss bündig mit dem ersten Stiftabschnitt abschließt. Dabei dient die Stirnseite 22 als Gegenlager für die Schraube 16. Alternativ kann auch die Schulter 31 als Gegenlager für die Schraube 16 dienen, insbesondere bei Verwendung einer in den Figuren nicht dargestellten Zylinderkopfschraube.
- Zur Demontage des Drückerstifts 10 aus der Schlossnuss ist lediglich die Schraube 16 in umgekehrter Drehrichtung aus dem Drückerstift 10 herauszudrehen. Dabei ist die Demontage wegen der augenfälligen Positionierung der Schraube 16 innerhalb des Drückerstifts 10 auch ohne Bedienungsanleitung und ohne Spezialwerkzeug leicht möglich.
-
- 10
- Drückerstift
- 12
- erster Stiftabschnitt
- 14
- zweiter Stiftabschnitt
- 16
- Schraube
- 18
- Schrägfläche
- 20
- Schrägfläche
- 22
- Stirnseite
- 24
- Stirnseite
- 26
- Durchgangsbohrung
- 28
- Durchgangsbohrung
- 30a
- Bereich
- 30b
- Bereich
- 31
- Schulter
- 32
- Anschlagelement
- 33
- Radialaussparung
- 34
- Ringnut
- 36
- Innengewinde
- 37
- Seitenfläche
- 38
- Gewinde
- 40
- Schraubenkopf
- 42
- Trennlinie
Claims (14)
- Drückerstift (10) mit zwei entlang seiner Längsachse hintereinander angeordneten Stiftabschnitten (12, 14), dadurch gekennzeichnet,
dass ein erster und ein zweiter Stiftabschnitt (12, 14)- durch ein Spannmittel (16), welches innerhalb des ersten Stiftabschnitts (12) mit radialem Spiel gelagert ist, verbunden sind,- jeweils eine schräg zur Längsachse verlaufende Fläche (18, 20) aufweisen, und- mittels des Spannmittels (16) über die schräg zur Längsachse angeordneten, aneinander anliegenden Flächen (18, 20) derart gegeneinander verspannbar sind, dass ein radialer Versatz der Stiftabschnitte (12, 14) bezüglich der Längsachse erreichbar ist. - Drückerstift (10) nach Anspruch 1,
dadurch gekennzeichnet,
dass die schräg zur Längsachse verlaufenden Flächen (18, 20) als ebene Flächen ausgebildet sind. - Drückerstift (10) nach Anspruch 1 oder 2,
dadurch gekennzeichnet,
dass das Spannmittel eine Schraube (16) ist. - Drückerstift (10) nach Anspruch 3,
dadurch gekennzeichnet,
dass der zweite Stiftabschnitt (14) ein Innengewinde (36) aufweist, in welches die Schraube (16) eingreift. - Drückerstift (10) nach einem der vorstehenden Ansprüche,
dadurch gekennzeichnet,
dass das Spannmittel (16) in einer in Längserstreckung des ersten Stiftabschnitts (12) verlaufenden Bohrung (26) gelagert ist. - Drückerstift (10) nach Anspruch 5,
dadurch gekennzeichnet,
dass die Bohrung (26) in einem dem zweiten Stiftabschnitt (14) zugewandten Bereich (30a) einen geringeren Durchmesser aufweist als in einem dem zweiten Stiftabschnitt (14) abgewandten Bereich (30b) und insbesondere mindestens zwei unterschiedliche Durchmesser aufweist. - Drückerstift (10) nach einem der vorstehenden Ansprüche,
dadurch gekennzeichnet,
dass ein Anschlagelement (32) an einem der Stiftabschnitte (12, 14), insbesondere an dem ersten Stiftabschnitt (12), ausgebildet ist und bezüglich einer Bewegung entlang des Stiftabschnitts (12, 14) fixiert ist. - Drückerstift (10) nach Anspruch 7,
dadurch gekennzeichnet,
dass das Anschlagelement (32) in einer Vertiefung (34) des Stiftabschnitts (12, 14), insbesondere in einer Ringnut, aufgenommen ist. - Drückerstift (10) nach Anspruch 7 oder 8,
dadurch gekennzeichnet,
dass das Anschlagelement (32) scheiben- oder ringförmig ausgebildet ist. - Drückerstift (10) nach einem der Ansprüche 7 bis 9,
dadurch gekennzeichnet,
dass das Anschlagelement (32) radial auf den Stiftabschnitt (12, 14) aufgesteckt ist. - Drückerstift (10) nach einem der vorstehenden Ansprüche,
dadurch gekennzeichnet,
dass wenigstens ein Stiftabschnitt (12, 14), insbesondere der zweite Stiftabschnitt (14), an seiner in Richtung des radialen Versatzes weisenden Außenseite eine Oberflächenstrukturierung aufweist. - Halb- oder Vollgarnitur mit einem Drückerstift (10) nach einem der vorherigen Ansprüche und einem zumindest an dem ersten Stiftabschnitt (12) befestigten Türdrücker.
- Halb- oder Vollgarnitur nach Anspruch 12,
dadurch gekennzeichnet,
dass in dem Stiftabschnitt (12) eine Radialbohrung zur Aufnahme eines zur Befestigung des Türdrückers vorgesehenen Befestigungselementes, insbesondere einer Madenschraube, ausgebildet ist. - Halb- oder Vollgarnitur nach Anspruch 13,
dadurch gekennzeichnet,
dass ein Füllmaterial im Bereich der Bohrung zwischen dem Befestigungselement und dem Spannelement (16) vorgesehen ist.
Applications Claiming Priority (1)
| Application Number | Priority Date | Filing Date | Title |
|---|---|---|---|
| DE201110103941 DE102011103941A1 (de) | 2011-06-10 | 2011-06-10 | Drückerstift |
Publications (1)
| Publication Number | Publication Date |
|---|---|
| EP2532810A2 true EP2532810A2 (de) | 2012-12-12 |
Family
ID=46177238
Family Applications (1)
| Application Number | Title | Priority Date | Filing Date |
|---|---|---|---|
| EP12166790A Withdrawn EP2532810A2 (de) | 2011-06-10 | 2012-05-04 | Drückerstift |
Country Status (2)
| Country | Link |
|---|---|
| EP (1) | EP2532810A2 (de) |
| DE (1) | DE102011103941A1 (de) |
Families Citing this family (1)
| Publication number | Priority date | Publication date | Assignee | Title |
|---|---|---|---|---|
| DE202013101651U1 (de) * | 2013-04-17 | 2014-07-21 | Martin Lehmann Gmbh & Co. Kg | Klemmvorrichtung |
Family Cites Families (3)
| Publication number | Priority date | Publication date | Assignee | Title |
|---|---|---|---|---|
| AT81145B (de) * | 1916-08-14 | 1920-08-25 | Johann Oswald Johann Oswald | Türdrückerverbindung. Türdrückerverbindung. |
| DE3025553C2 (de) * | 1980-07-05 | 1983-09-08 | Fa. Franz Schneider Brakel, 3492 Brakel | Drückerdorn-Befestigung in der Schloßnuß |
| DE29919203U1 (de) * | 1999-10-23 | 2000-03-09 | Schmieg, Rainer, 99444 Blankenhain | Justier- und adaptierbarer Systemwechselstift |
-
2011
- 2011-06-10 DE DE201110103941 patent/DE102011103941A1/de not_active Withdrawn
-
2012
- 2012-05-04 EP EP12166790A patent/EP2532810A2/de not_active Withdrawn
Non-Patent Citations (1)
| Title |
|---|
| None |
Also Published As
| Publication number | Publication date |
|---|---|
| DE102011103941A1 (de) | 2012-12-13 |
Similar Documents
| Publication | Publication Date | Title |
|---|---|---|
| DE3312141C2 (de) | ||
| DE10126747C2 (de) | Blindnietmutter und Befestigungseinheit | |
| DE4405240C2 (de) | Verbindungselement mit beidseitigem Gewinde | |
| DE29708384U1 (de) | Mit der Antriebswelle einer Drehmaschine kuppelbares Werkzeugsystem | |
| DE20209159U1 (de) | Schnellsicherung für Verlängerungen von Steckwerkzeugen | |
| DE102016100933B4 (de) | Montagewerkzeug, dessen Verwendung und Verfahren zur Befestigung eines Gewindeeinsatzes | |
| EP1961976A2 (de) | Befestigungseinheit | |
| DE3523155C2 (de) | ||
| EP0521490B1 (de) | Anordnung aus zwei teleskopisch miteinander verbundenen Bauelementen | |
| WO1998024595A1 (de) | Nuss zur aufnahme eines oder zum einsetzen in einen befestigerkopf(es) | |
| WO1995004635A1 (de) | Werkzeug zum drehen von verbindungselementen, hiermit verwendetes verbindungselement, sowie angewandtes verfahren | |
| DE4210488A1 (de) | Verbindungseinrichtung für ein insbesondere rohrförmiges Bauteil | |
| AT510315B1 (de) | Anordnung zur, insbesondere distanzierten, befestigung zumindest einer dämmstoffplatte an einem gebäude | |
| DE102013208494A1 (de) | Vorrichtung zur werkzeuglosen Verbindung zweier Bauteile | |
| EP2532810A2 (de) | Drückerstift | |
| EP1724417B1 (de) | Schlosselement | |
| DE29505752U1 (de) | Vorrichtung zum Verbinden von Platten mittels Verschraubung | |
| EP1577465B1 (de) | Schlosselement mit Befestigung für Betätigungselement | |
| DE10000226A1 (de) | Montagehülse | |
| EP3291395B1 (de) | Installationsgerät für die deckenmontage | |
| DE10252233B4 (de) | In seinem Durchmesser veränderbarer Passstift zur zentriergenauen Festlegung zweier Teile | |
| DE20106561U1 (de) | Vorrichtung zum Verbinden von Profilstäben | |
| DE102008011334A1 (de) | Griffbefestigung | |
| EP2372051A2 (de) | Griffanordnung | |
| DE102014103637B4 (de) | Topflocheinsatz, Blendenbefestigungselement und Topfscharnier |
Legal Events
| Date | Code | Title | Description |
|---|---|---|---|
| PUAI | Public reference made under article 153(3) epc to a published international application that has entered the european phase |
Free format text: ORIGINAL CODE: 0009012 |
|
| AK | Designated contracting states |
Kind code of ref document: A2 Designated state(s): AL AT BE BG CH CY CZ DE DK EE ES FI FR GB GR HR HU IE IS IT LI LT LU LV MC MK MT NL NO PL PT RO RS SE SI SK SM TR |
|
| AX | Request for extension of the european patent |
Extension state: BA ME |
|
| STAA | Information on the status of an ep patent application or granted ep patent |
Free format text: STATUS: THE APPLICATION IS DEEMED TO BE WITHDRAWN |
|
| 18D | Application deemed to be withdrawn |
Effective date: 20141202 |