EP2486751B1 - Verfahren und vorrichtung zur konfiguration der funkzugangsfunktionen einer drahtlosen kommunikationseinheit - Google Patents

Verfahren und vorrichtung zur konfiguration der funkzugangsfunktionen einer drahtlosen kommunikationseinheit Download PDF

Info

Publication number
EP2486751B1
EP2486751B1 EP10822206.8A EP10822206A EP2486751B1 EP 2486751 B1 EP2486751 B1 EP 2486751B1 EP 10822206 A EP10822206 A EP 10822206A EP 2486751 B1 EP2486751 B1 EP 2486751B1
Authority
EP
European Patent Office
Prior art keywords
radio access
access protocol
protocol version
wireless communication
communication unit
Prior art date
Legal status (The legal status is an assumption and is not a legal conclusion. Google has not performed a legal analysis and makes no representation as to the accuracy of the status listed.)
Active
Application number
EP10822206.8A
Other languages
English (en)
French (fr)
Other versions
EP2486751A2 (de
EP2486751A4 (de
Inventor
Gert-Jan Van Lieshout
Van Der Velde Himke
Current Assignee (The listed assignees may be inaccurate. Google has not performed a legal analysis and makes no representation or warranty as to the accuracy of the list.)
Samsung Electronics Co Ltd
Original Assignee
Samsung Electronics Co Ltd
Priority date (The priority date is an assumption and is not a legal conclusion. Google has not performed a legal analysis and makes no representation as to the accuracy of the date listed.)
Filing date
Publication date
Application filed by Samsung Electronics Co Ltd filed Critical Samsung Electronics Co Ltd
Publication of EP2486751A2 publication Critical patent/EP2486751A2/de
Publication of EP2486751A4 publication Critical patent/EP2486751A4/de
Application granted granted Critical
Publication of EP2486751B1 publication Critical patent/EP2486751B1/de
Active legal-status Critical Current
Anticipated expiration legal-status Critical

Links

Images

Classifications

    • HELECTRICITY
    • H04ELECTRIC COMMUNICATION TECHNIQUE
    • H04WWIRELESS COMMUNICATION NETWORKS
    • H04W36/00Hand-off or reselection arrangements
    • H04W36/0005Control or signalling for completing the hand-off
    • H04W36/0055Transmission or use of information for re-establishing the radio link
    • H04W36/0064Transmission or use of information for re-establishing the radio link of control information between different access points
    • HELECTRICITY
    • H04ELECTRIC COMMUNICATION TECHNIQUE
    • H04WWIRELESS COMMUNICATION NETWORKS
    • H04W36/00Hand-off or reselection arrangements
    • H04W36/08Reselecting an access point
    • HELECTRICITY
    • H04ELECTRIC COMMUNICATION TECHNIQUE
    • H04WWIRELESS COMMUNICATION NETWORKS
    • H04W8/00Network data management
    • H04W8/22Processing or transfer of terminal data, e.g. status or physical capabilities
    • H04W8/24Transfer of terminal data
    • H04W8/245Transfer of terminal data from a network towards a terminal

Definitions

  • the network controls the mobility of a mobile communication unit (or user equipment (UE) in 3GPP parlance) that is in a connected mode (or to be precise in 3GPP terms in an RRC_CONNECTED state). For example, the network decides with which cell the UE maintains a radio connection (also referred to as the serving cell). The network applies the handover procedure to move the UE from one cell, namely the serving cell, to another cell, referred to as the target cell. The network decides the cell, as well as the Radio Access Technology (RAT) in some circumstance, that the UE should connect to typically based on radio quality.
  • 3GPP 3rd Generation Partnership Project
  • FIG. 1 illustrates an example of a typical overall handover procedure 100 for a UE 105. More specifically FIG. 1 illustrates an Intra-MME (Mobility Management Entity)/Serving Gateway handover as defined in the 3GPP Technical Specification (TS) 36.300.
  • Intra-MME Mobility Management Entity
  • TS Technical Specification
  • the measurement configuration expressed by way of a 'delta' compared to the configuration used in the source cell (the delta indicating configuration changes, as opposed to complete configuration information, in order to reduce the size of the message);
  • the signalling used upon handover applies delta signalling for the various parameters, or fields in 3GPP parlance, whereby the radio access network (Evolved Universal Terrestrial Radio Access Network ? EUTRAN in the case of 3GPP TS 36.331) only signals values that change from those used in the source cell.
  • 3GPP TS 36.331 specifies the signalling (the Protocol Data Unit content) by means of ASN.1. Fields for which delta signalling applies are defined as optional, so they may be absent, in combination with a need code of 'ON' whereby in case of absence the receiver takes no action with respect to such fields, and where applicable continues to use the existing value (and/or associated functionality).
  • explicit signalling is required to deactivate functionality associated with that field, such as for backward compatibility purposes, as applies when the target eNB does support the concerned functionality.
  • the sps-Config field 310 illustrated in FIG. 3 is absent in a RadioResourceConfigDedicated identity element (IE)
  • the UE will continue to use previously configured values. Accordingly, in order to deactivate previously active functionality, it is necessary to include the appropriate fields in a manner that is suitable to 'clear' the previously configured values.
  • the RRC protocol defined in 3GPP TS 36.331 includes different kinds of protocol extensions that may be added for later versions of the specifications, of which there are two prime categories: non-critical extensions (NCE) and critical extensions (CE).
  • NCE non-critical extensions
  • CE critical extensions
  • the non-critical extension mechanism is the primary extension mechanism, since it just adds on to the existing signalling. This, for example, means that when a message is received that includes non-critical extensions that are not comprehended by the receiver, the message may be processed as if the extensions were not present. In contrast, a message that includes critical extensions that are not comprehended is completely ignored by the receiver.
  • critical and non-critical extensions are provided in various different manners:
  • the invention seeks to mitigate, alleviate or eliminate one or more of the above mentioned disadvantages singly or in any combination. Aspects of the invention provide a target base station and a method therefor as described in the appended claims.
  • a method for configuring radio access functionality of a wireless communication unit within a wireless communication network comprising, at a radio access network entity, sending to the wireless communication unit an indication of a required radio access protocol version to which the wireless communication unit is to be reconfigured.
  • the field within the received HANDOVER REQUEST message may form a part of a HandoverPreparationInformation message contained within the HANDOVER REQUEST message.
  • the target radio access protocol version of which an indication is sent to the wireless communication unit may comprise a latest supported radio access protocol version from a subset of radio access protocol versions.
  • sending to the wireless communication unit an indication of a target radio access protocol version to which the wireless communication unit is to be configured may comprise adding the indication of the target radio access protocol within a field of a connection re-establishment message to be sent to the wireless communication unit in response to receiving a connection reestablishment request message from the wireless communication unit.
  • a computer program product comprising executable program code for configuring radio access functionality of a wireless communication unit within a wireless communication network, the executable program code operable for receiving an indication of a required radio access protocol version to which the wireless communication unit is to be reconfigured, and deactivating radio access functionality introduced in radio access protocol versions later than the indicated required radio access protocol version.
  • the method comprises sending to the wireless communication unit an indication of a required radio access protocol version to which the wireless communication unit is to be reconfigured.
  • the network entity is able to (re)configure radio access functionality that is active within the wireless communication unit in accordance with a required radio access protocol version.
  • the network entity is able to configure the wireless communication unit to deactivate radio access functionality introduced in later versions of the radio access protocol relative to that version supported by the network entity (the required version), even though the network entity does not recognise such functionality.
  • the term 'radio access protocol version' may relate to a specific release of a radio access protocol, for example REL-8 or REL-9 of the E-UTRA technical specifications, such as 3GPP TS 36.331, and/or to a specific version of a release, for example 3GPP TS 36.331 v8.7.0 for REL-8, or 3GPP TS 36.331 v9.0.0 for REL-9.
  • Possible solutions for releasing a previously configured functionality may include:
  • measConfig For other parts of the UE configuration, such as measConfig, securityConfig, switching to a default configuration is currently not supported. Moreover, for some parts of the configuration it may not be possible to support different scenarios by means of a single default. In other words, multiple default values may need to be defined.
  • the source eNB should not perform the deactivation of the functionality in parallel to the handover preparation. If the deactivation of the functionality were performed in parallel with the handover preparation, the UE might lose the radio connection before the source eNB was able to complete the deactivation of the concerned functions. In such a case, the radio access configuration in the UE would still include the unsupported functions while the configuration of the target eNB does not include these functions. Due to this mismatch, the re-establishment procedure could fail, in which case the recovery from the radio link failure would be delayed significantly.
  • Each of the radio network subsystems 420, 430 for the illustrated example comprises one or more radio network controllers (RNCs) 422, 432 operably coupled to the core network 410, with each RNC 422, 432 being further operably coupled to one or more base transceiver stations 424, 434, referred to as NodeBs in 3GPP parlance, and more specifically evolved NodeBs (eNBs) in E-UTRA parlance.
  • RNCs radio network controllers
  • eNBs evolved NodeBs
  • Each base transceiver station 424, 434 is arranged to provide radio access to the wireless communication network 400 to enable wireless communication units, such as user equipment (UE) 440, to connect thereto, for example via an air (Uu) interface 445.
  • UE user equipment
  • Uu air
  • such a source network entity radio access protocol version comprises a version earlier than or equal to that supported by the target network entity, eNB 434, it may be assumed that all currently active radio access functionality of UE 440 is supported by the target eNB 434, and as such no reconfiguration of the radio access functionality of the UE 440 is necessary.
  • the wireless communication unit radio access protocol version may comprise a latest radio access protocol version in which active functionality of the wireless communication unit is introduced.
  • the UE 440 only has active radio access functionality introduced in versions of the radio access protocol up to (and including) that wireless communication unit radio access protocol version.
  • eNB 343 it may be assumed that all currently active radio access functionality of UE 440 is supported by the target eNB 434, and as such no reconfiguration of the radio access functionality of the UE 440 is necessary.
  • the method starts at step 610 with the receipt of a handover request from a source eNB 434.
  • step 620 admission control in performed and resources are reserved within the target cell for the UE to which the handover request relates, and a connection reconfiguration message is then prepared in step 630.
  • step 640 It is then determined, in step 640, whether a source network entity radio access protocol version (VS) comprises a version later than a supported (target) radio access protocol version (VT).
  • Step 640 may additionally or alternatively comprise determining whether a wireless communication unit radio access protocol version comprises a version later than a supported radio access protocol version.
  • step 640 if it is determined that the source network entity radio access protocol version (and/or the wireless communication unit radio access protocol version) does not comprise a version later than a supported radio access protocol version, the method directly on to step 660, where a handover request acknowledgement is returned to the source eNB comprising the connection reconfiguration message to be forwarded to the UE, and the method then ends at step 670 with the establishment of a connection with the UE.
  • FIG. 8 there is illustrated an example of a simplified flowchart 800 of a method for configuring radio access functionality of a wireless communication unit (UE) within a wireless communication network according to some example embodiments of the present invention.
  • the method of FIG. 8 may be performed by signal processing logic 446 of UE 440 by way of executable program code stored in a memory element 448.
  • the source eNB 424 sends a HANDOVER REQUEST message 910 to the target eNB 434 comprising an indication of at least one of a source network entity radio access protocol version and a wireless communication unit radio access protocol version, for example within a field, illustrated as protocolVersion field 912 forming part of a HandoverPreparationInformation message 914 contained within the HANDOVER REQUEST message 910.
  • the target eNB 434 then returns a HANDOVER REQUEST ACK message 920 to the source eNB 424 comprising a connection reconfiguration message 924 containing an indication of a target radio access protocol version within a filed, illustrated as SwitchToProtocolVersion field 922.
  • a radio link failure occurs between the source eNB 424 and the UE 440 before the source eNB 424 forwards the connection reconfiguration message 924 to the UE 440.
  • the UE 440 Upon detection of the radio link failure, the UE 440 initiates a connection re-establishment procedure, whereby the UE searches for a suitable cell within which to connect.
  • the UE Upon finding a potential cell within which to connect, the UE performs an initial access procedure (not shown) and transmits a connection re-establishment request message to the eNB for that cell.
  • the UE 440 transmits a connection re-establishment request message 930 to the target eNB 434. Since the source eNB 424 had initiated handover preparations with the target eNB 434, the target eNB 434 accepts the re-establishment request and returns a connection re-establishment message 940 to the UE 440. In accordance with some example embodiments of the invention, the target eNB 434 adds an indication of the target radio access protocol within a field, illustrated as switchToProtocolVersion field 942, of the re-establishment message 940.
  • the UE 440 Upon receipt of the indication of a required radio access protocol version to which it is to be configured, which for the illustrated example embodiment is received within the connection re-establishment message 940, the UE 440 is arranged to deactivate radio access functionality introduced in radio access protocol versions later than the indicated required radio access protocol version. In this manner, radio access functionality introduced in later radio access protocol versions may be deactivated within the UE 440 without the need to explicitly identify such functionality. For the example illustrated in FIG.
  • the indication of a required radio access protocol version to which a wireless communication unit is to be reconfigured has been sent to the wireless communication unit as part of a handover procedure, or a connection re-establishment procedure following a radio link failure during a handover procedure in the case of FIG. 9 .
  • the present invention is not limited to implementation within a handover procedure or connection re-establishment procedure, but may equally be applied to any situation in which a wireless communication unit is (or may be) required to reconfigure its radio access protocol functionality.
  • FIG. 10 illustrates an example of a simplified flowchart 1000 of a method for configuring radio access functionality of a wireless communication unit according to some alternative example embodiments of the present invention.
  • the method of FIG. 10 may be performed by a network entity within the wireless communication network 400 of FIG. 4 , such as by signal processing logic 426, 436 of one of the eNBs 424, 434 by way of executable program code stored in a respective memory element 428, 438.
  • the method starts at step 1010 with receipt of an indication that a change of radio access protocol version is required for a UE.
  • a radio access network entity may receive an indication that a UE is required to 'rollback' to an earlier radio access protocol version, or simply to support a specific radio access protocol version.
  • step 1020 a reconfiguration message is prepared, and a SwitchToProtocol field is added to the reconfiguration message in step 1030.
  • the reconfiguration message is then sent to the UE at step 1040, and the method ends at step 1050.
  • FIG. 12 there is illustrated an example of an ASN.1 (Abstract Syntax Notation One) extract 1200 for signalling details for an RRCConnectionReconfiguration message comprising a switchToProtocolVersion field 1222, such as may be used within the HANDOVER REQUEST ACK message 520 within message sequence 500 of FIG. 5 .
  • ASN.1 Abstract Syntax Notation One
  • the wireless communication unit functionality 1400 further comprises a measurement unit 1420, arranged to perform the measurements that are configured by the radio access network, a security unit 1430, arranged to perform the integrity protection for signalling radio bearers (SRBs), the ciphering for radio bearers as well as the associated key derivations, and a radio access unit 1440, arranged to handle the layer 1 and layer 2 functionality of the radio access protocols.
  • a measurement unit 1420 arranged to perform the measurements that are configured by the radio access network
  • a security unit 1430 arranged to perform the integrity protection for signalling radio bearers (SRBs), the ciphering for radio bearers as well as the associated key derivations
  • SRBs signalling radio bearers
  • ciphering for radio bearers as well as the associated key derivations
  • a radio access unit 1440 arranged to handle the layer 1 and layer 2 functionality of the radio access protocols.
  • the radio access functionality 1500 comprises UE control unit 1510 arranged to handle layer 3 radio access protocol functionality, such as receiving and processing radio resource control (RRC) messages, as well as the preparation and sending of RRC messages.
  • RRC radio resource control
  • the UE control unit 1510 may be arranged to handle setting and sending of the switchToProtocolVersion field.
  • Network interface control unit 1520 is arranged to handle similar functions for network interfaces.
  • Measurement control unit 1530 is arranged to handle configuration of measurement functions in the UE and the eNB.
  • Security control unit 1540 is arranged to handle the configuration of security functions of the radio access, such as integrity protection and ciphering.
  • Radio resource control unit 1550 is arranged to handle configuration of the layer-1 and layer-2 functionality of the radio access protocols.
  • a possible disadvantage of using a need OR is that if the concerned functional extension upon handover is to be continued, it needs to be signalled thereby increasing the size of the handover message. This increase can however easily be avoided by having another optionality bit with need ON, one level below. In such a case 2 bits would need to be signalled to continue the functional extension. This approach is illustrated by an example, as shown in Fig. 17 .
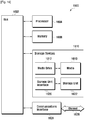
  • Computing system 1600 may represent, for example, a desktop, laptop or notebook computer, hand-held computing device (PDA, cell phone, palmtop, etc.), mainframe, server, client, or any other type of special or general purpose computing device as may be desirable or appropriate for a given application or environment.
  • Computing system 1600 can include one or more processors, such as a processor 1604.
  • Processor 1604 can be implemented using a general or special-purpose processing engine such as, for example, a microprocessor, microcontroller or other control module. In this example, processor 1604 is connected to a bus 1602 or other communications medium.
  • Computing system 1600 can also include a main memory 1608, such as random access memory (RAM) or other dynamic memory, for storing information and instructions to be executed by processor 1604.
  • Main memory 1608 also may be used for storing temporary variables or other intermediate information during execution of instructions to be executed by processor 1604.
  • Computing system 1600 may likewise include a read only memory (ROM) or other static storage device coupled to bus 1602 for storing static information and instructions for processor 1604.
  • ROM read only memory
  • the computing system 1600 may also include information storage system 1610, which may include, for example, a media drive 1612 and a removable storage interface 1620.
  • the media drive 1612 may include a drive or other mechanism to support fixed or removable storage media, such as a hard disk drive, a floppy disk drive, a magnetic tape drive, an optical disk drive, a compact disc (CD) or digital video drive (DVD) read or write drive (R or RW), or other removable or fixed media drive.
  • Storage media 1618 may include, for example, a hard disk, floppy disk, magnetic tape, optical disk, CD or DVD, or other fixed or removable medium that is read by and written to by media drive 1612. As these examples illustrate, the storage media 1618 may include a computer-readable storage medium having particular computer software or data stored therein.
  • information storage system 1610 may include other similar components for allowing computer programs or other instructions or data to be loaded into computing system 1600.
  • Such components may include, for example, a removable storage unit 1622 and an interface 1620, such as a program cartridge and cartridge interface, a removable memory (for example, a flash memory or other removable memory module) and memory slot, and other removable storage units 1622 and interfaces 1620 that allow software and data to be transferred from the removable storage unit 1618 to computing system 1600.
  • Computing system 1600 can also include a communications interface 1624.
  • Communications interface 1624 can be used to allow software and data to be transferred between computing system 1600 and external devices.
  • Examples of communications interface 1624 can include a modem, a network interface (such as an Ethernet or other NIC card), a communications port (such as for example, a universal serial bus (USB) port), a PCMCIA slot and card, etc.
  • Software and data transferred via communications interface 1624 are in the form of signals which can be electronic, electromagnetic, and optical or other signals capable of being received by communications interface 1624. These signals are provided to communications interface 1624 via a channel 1628.
  • This channel 1628 may carry signals and may be implemented using a wireless medium, wire or cable, fiber optics, or other communications medium.
  • Some examples of a channel include a phone line, a cellular phone link, an RF link, a network interface, a local or wide area network, and other communications channels.
  • 'computer program product' 'computer-readable medium' and the like may be used generally to refer to media such as, for example, memory 1608, storage device 1618, or storage unit 1622.
  • These and other forms of computer-readable media may store one or more instructions for use by processor 1604, to cause the processor to perform specified operations.
  • Such instructions generally referred to as 'computer program code' (which may be grouped in the form of computer programs or other groupings), when executed, enable the computing system 1600 to perform functions of example embodiments of the present invention.
  • the code may directly cause the processor to perform specified operations, be compiled to do so, and/or be combined with other software, hardware, and/or firmware elements (e.g., libraries for performing standard functions) to do so.
  • the software may be stored in a computer-readable medium and loaded into computing system 1600 using, for example, removable storage drive 1622, drive 1612 or communications interface 1624.
  • the control module in this example, software instructions or computer program code, when executed by the processor 1604, causes the processor 1604 to perform the functions of the invention as described herein.
  • a radio access network entity such as a base transceiver station (or eNodeB in E-UTRA parlance)
  • eNodeB in E-UTRA parlance
  • the target eNB is able to cause the UE to deactivate unsupported functionality without the need for the target eNB to explicitly signal deactivation of such functionality;
  • aspects of the invention may be implemented in any suitable form including hardware, software, firmware or any combination of these. Aspects of the invention may optionally be implemented, at least partly, as computer software running on one or more data processors and/or digital signal processors or configurable module components such as field programmable gate array (FPGA) devices.
  • FPGA field programmable gate array
  • the elements and components of an example embodiment of the invention may be physically, functionally and logically implemented in any suitable way. Indeed, the functionality may be implemented in a single unit, in a plurality of units or as part of other functional units.

Landscapes

  • Engineering & Computer Science (AREA)
  • Computer Networks & Wireless Communication (AREA)
  • Signal Processing (AREA)
  • Mobile Radio Communication Systems (AREA)
  • Communication Control (AREA)

Claims (10)

  1. Verfahren, das von einer Zielbasisstation, BS, in einem drahtlosen Kommunikationssystem durchgeführt wird, wobei das Verfahren umfasst:
    Empfangen, von einer Quellen-BS, einer Übergabeanforderungsnachricht für ein Endgerät, wobei die Übergabeanforderungsnachricht eine Funkzugangsprotokollversion der Quellen-BS umfasst;
    Vergleichen der Funkzugangsprotokollversion der Quellen-BS und einer Funkzugangsprotokollversion der Ziel-BS basierend auf der Übergabeanforderungsnachricht;
    Bestimmen einer erforderlichen Funkzugangsprotokollversion zur Rekonfiguration des Endgeräts basierend auf einem Ergebnis des Vergleichs;
    Senden, an die Quellen-BS, eine Anzeige der erforderlichen Funkzugangsprotokollversion für das Endgerät in dem Fall, dass die Funkzugangsprotokollversion der Quellen-BS höher als die Funkzugangsprotokollversion der Ziel-BS ist;
    Empfangen, von dem Endgerät, einerVerbindungswiederaufbauanforderungsnachricht; und
    Senden, an das Endgerät, einer Verbindungswiederaufbaunachricht als Reaktion auf die Verbindungswiederaufbauanforderungsnachricht, wobei die Verbindungswiederaufbaunachricht die Anzeige der erforderlichen Funkzugangsprotokollversion für das Endgerät umfasst,
    wobei die Anzeige das Endgeräts dazu konfiguriert, eine Funkzugangsprotokollversion des Endgeräts auf die erforderliche Funkzugangsprotokollversion umzuschalten.
  2. Verfahren nach Anspruch 1,
    wobei die an das Endgerät gesendete Anzeige in einer Übergabeanforderungsbestätigungsnachricht enthalten ist.
  3. Verfahren nach Anspruch 1, des Weiteren umfassend:
    Empfangen, von dem Endgerät, einer Verbindungswiederaufbaukomplettierungsnachricht.
  4. Verfahren nach Anspruch 1,
    wobei das Vergleichen der Funkzugangsprotokollversion der Quellen-BS und einer Funkzugangsprotokollversion der Ziel-BS basierend auf der Übergabeanforderungsnachricht umfasst:
    Lesen eines Feldes in der Übergabeanforderungsnachricht, und
    wobei das Feld so angeordnet ist, dass es eine Anzeige von mindestens einem aus Folgendem umfasst:
    der Funkzugangsprotokollversion der Quellen-BS;
    der Funkzugangsprotokollversion des Endgeräts; und
    einer neuesten Funkzugangsprotokollversion, in der die aktiven Funktionen des Endgeräts eingeführt werden.
  5. Verfahren nach Anspruch 4, wobei das Feld einen Teil einer Übergabevorbereitungsinformationsnachricht (HandoverPreparationInformation) bildet, die in der Übergabeanforderungsnachricht enthalten ist.
  6. Ziel-Basisstation, BS, in einem drahtlosen Kommunikationssystem, wobei die Ziel-BS umfasst:
    einen Sendeempfänger, der dazu konfiguriert ist, Signale zu senden und zu empfangen; und
    eine Steuerung, die zu Folgendem konfiguriert ist:
    Empfangen, von einer Quellen-BS, einer Übergabeanforderungsnachricht für ein Endgerät, wobei die Übergabeanforderungsnachricht eine Funkzugangsprotokollversion der Quellen-BS umfasst,
    Vergleichen der Funkzugangsprotokollversion der Quellen-BS und einer Funkzugangsprotokollversion der Ziel-BS basierend auf der Übergabeanforderungsnachricht,
    Bestimmen einer erforderlichen. Funkzugangsprotokollversion zur Rekonfiguration des Endgeräts basierend auf einem Ergebnis des Vergleichs,
    Senden, an die Quellen-BS, eine Anzeige der erforderlichen Funkzugangsprotokollversion für das Endgerät in dem Fall, dass die Funkzugangsprotokollversion der Quellen-BS höher als die Funkzugangsprotokollversion der Ziel-BS ist,
    Empfangen, von dem Endgerät, einerVerbindungswiederaufbauanforderungsnachricht, und
    Senden, an das Endgerät, einer Verbindungswiederaufbaunachricht als Reaktion auf die Verbindungswiederaufbauanforderungsnachricht, wobei die Verbindungswiederaufbaunachricht die Anzeige der erforderlichen Funkzugangsprotokollversion für das Endgerät umfasst,
    wobei die Anzeige das Endgeräts dazu konfiguriert, eine Funkzugangsprotokollversion des Endgeräts auf die erforderliche Funkzugangsprotokollversion umzuschalten.
  7. Ziel-BS nach Anspruch 6,
    wobei die an das Endgerät gesendete Anzeige in einer Übergabeanforderungsbestätigungsnachricht enthalten ist.
  8. Ziel-BS nach Anspruch 6,
    wobei die Steuerung dazu konfiguriert ist, von dem Endgerät eine Verbindungswiederaufbaukomplettierungsnachricht zu empfangen.
  9. Ziel-BS nach Anspruch 6,
    wobei die Steuerung dazu konfiguriert ist, ein Feld in der Übergabeanforderungsnachricht zu lesen, und
    wobei das Feld so angeordnet ist, dass es eine Anzeige von mindestens einem aus Folgendem umfasst:
    der Funkzugangsprotokollversion der Quellen-BS;
    der Funkzugangsprotokollversion des Endgeräts; und
    einer neuesten Funkzugangsprotokollversion, in der die aktiven Funktionen des Endgeräts eingeführt werden.
  10. Ziel-BS nach Anspruch 9, wobei das Feld einen Teil einer Übergabevorbereitungsinformationsnachricht (HandoverPreparationInformation) bildet, die in der Übergabeanforderungsnachricht enthalten ist.
EP10822206.8A 2009-10-05 2010-10-01 Verfahren und vorrichtung zur konfiguration der funkzugangsfunktionen einer drahtlosen kommunikationseinheit Active EP2486751B1 (de)

Applications Claiming Priority (2)

Application Number Priority Date Filing Date Title
GB0917394.9A GB2474077B (en) 2009-10-05 2009-10-05 Method and apparatus for configuring radio access functionality of a wireless commumication unit
PCT/KR2010/006718 WO2011043561A2 (en) 2009-10-05 2010-10-01 Method and apparatus for configuring radio access functionality of a wireless communication unit

Publications (3)

Publication Number Publication Date
EP2486751A2 EP2486751A2 (de) 2012-08-15
EP2486751A4 EP2486751A4 (de) 2017-06-21
EP2486751B1 true EP2486751B1 (de) 2021-04-28

Family

ID=41393838

Family Applications (1)

Application Number Title Priority Date Filing Date
EP10822206.8A Active EP2486751B1 (de) 2009-10-05 2010-10-01 Verfahren und vorrichtung zur konfiguration der funkzugangsfunktionen einer drahtlosen kommunikationseinheit

Country Status (4)

Country Link
US (1) US9131413B2 (de)
EP (1) EP2486751B1 (de)
GB (1) GB2474077B (de)
WO (1) WO2011043561A2 (de)

Families Citing this family (12)

* Cited by examiner, † Cited by third party
Publication number Priority date Publication date Assignee Title
ES2919878T3 (es) 2009-12-15 2022-07-28 Wireless Future Tech Inc Método, aparato y producto de programa informático relacionado para decidir sobre un esquema de señalización para traspaso
US9491735B2 (en) * 2010-12-19 2016-11-08 Motorola Solutions, Inc. System and method in a communication network of dynamically assigning a multimedia broadcast/multicast service bearer to a multicast channel
CN102781031B (zh) * 2011-05-12 2017-06-13 中兴通讯股份有限公司 一种用户设备的测量方法和系统
US9320077B2 (en) * 2012-07-17 2016-04-19 Innovative Sonic Corporation Method and apparatus for reducing signaling overhead in a wireless communication network
EP2806689B1 (de) * 2013-05-21 2016-07-20 Alcatel Lucent Telekommunikationsverfahren, Telekommunikationssystem, Primärknoten, Sekundärknoten und Benutzergerät
EP3076711A4 (de) * 2013-11-26 2017-08-16 Kyocera Corporation Kommunikationssteuerungsverfahren und basisstation
US10462723B2 (en) * 2015-05-29 2019-10-29 Intel IP Corporation Seamless mobility for 5G and LTE systems and devices
KR102683634B1 (ko) 2016-08-22 2024-07-11 삼성전자 주식회사 통신 시스템에서 초기 접속을 수행하는 방법 및 장치
US10491447B2 (en) 2016-08-22 2019-11-26 Samsung Electronics Co., Ltd. Method and apparatus for cell initial access and paging in wireless cellular communication system
US10492107B2 (en) 2016-11-03 2019-11-26 Ofinno, Llc SPS configuration during handover
RU2749093C1 (ru) 2018-02-15 2021-06-04 Телефонактиеболагет Лм Эрикссон (Пабл) Способы, сетевые узлы, беспроводное устройство и компьютерный программный продукт для возобновления соединения с полной конфигурацией
CN114126013B (zh) * 2020-08-28 2025-02-11 中兴通讯股份有限公司 无线制式能力的管理方法和装置、电子设备、存储介质

Family Cites Families (19)

* Cited by examiner, † Cited by third party
Publication number Priority date Publication date Assignee Title
US6795704B1 (en) * 2000-06-13 2004-09-21 Bellsouth Intellectual Property Corporation Teleservice based capability report for radiotelephone networks
KR100424472B1 (ko) * 2001-09-11 2004-03-26 삼성전자주식회사 상이한 서비스를 지원하는 기지국들간의 아이들핸드오프를 위한 처리 방법
US20030081578A1 (en) * 2001-10-26 2003-05-01 White Douglas Andrew Address allocation for mobile terminals
US7961682B2 (en) * 2002-04-11 2011-06-14 Qualcomm Incorporated Handoff between base stations of different protocol revisions in a CDMA system
US7171195B2 (en) * 2002-12-09 2007-01-30 Nokia Corporation Method and apparatus for enabling a mobile station to adapt its revision level based on network protocol revision level
WO2005027560A1 (en) * 2003-09-12 2005-03-24 Ntt Docomo, Inc. Secure intra- and inter-domain handover
CA2577142A1 (en) * 2004-08-20 2006-02-23 Telefonaktiebolaget L M Ericsson (Publ) Fast network attachment
JP4375197B2 (ja) * 2004-10-25 2009-12-02 日本電気株式会社 無線lanシステム、無線端末、無線基地局、無線端末の通信設定方法及びそのプログラム
GB2423215B (en) * 2005-02-14 2009-05-20 Samsung Electronics Co Ltd Mobile communications
CN100546308C (zh) * 2005-04-22 2009-09-30 华为技术有限公司 网关控制协议报文传输方法
KR100739804B1 (ko) * 2006-05-11 2007-07-13 삼성전자주식회사 데이터 통신의 QoS 보장 방법 및 장치
JP5048761B2 (ja) * 2006-05-29 2012-10-17 パナソニック株式会社 通信セッションのためのロケーション・プライバシーとルート最適化とを同時に実施する方法及び装置
KR20080026318A (ko) 2006-09-20 2008-03-25 삼성전자주식회사 인터넷 프로토콜 주소 설정 방법 및 장치
US9392504B2 (en) * 2007-06-19 2016-07-12 Qualcomm Incorporated Delivery of handover command
KR20090013942A (ko) * 2007-08-03 2009-02-06 삼성전자주식회사 휴대단말의 리비전 레벨 전송 방법 및 시스템
KR101527246B1 (ko) * 2007-09-28 2015-06-09 라쿠텐 인코포레이티드 업링크 프로토콜 변경을 지원하기 위한 방법 및 장치
US8432870B2 (en) * 2008-07-11 2013-04-30 Nokia Siemens Networks Oy Handover techniques between legacy and updated wireless networks
US8155670B2 (en) * 2008-11-04 2012-04-10 2Wire, Inc. Cell notification
CN102550080B (zh) * 2009-09-30 2016-03-16 瑞典爱立信有限公司 移动电信系统中的方法和装置

Non-Patent Citations (1)

* Cited by examiner, † Cited by third party
Title
None *

Also Published As

Publication number Publication date
EP2486751A2 (de) 2012-08-15
GB0917394D0 (en) 2009-11-18
GB2474077B (en) 2013-07-24
WO2011043561A2 (en) 2011-04-14
US20120202478A1 (en) 2012-08-09
WO2011043561A3 (en) 2011-10-20
GB2474077A (en) 2011-04-06
US9131413B2 (en) 2015-09-08
EP2486751A4 (de) 2017-06-21

Similar Documents

Publication Publication Date Title
EP2486751B1 (de) Verfahren und vorrichtung zur konfiguration der funkzugangsfunktionen einer drahtlosen kommunikationseinheit
US12200477B2 (en) Conditional handovers and measurement reports
RU2767981C2 (ru) Способ обработки информации и соответствующее устройство
US12089107B2 (en) Release of configurations for conditional handovers based on security configurations
US20220272589A1 (en) Security configurations for conditional handovers
US12418842B2 (en) Method and apparatus for performing mobility robustness optimization in a handover procedure
CN106817696B (zh) 处理用于双连接的数据传送/接收的装置及方法
EP2982145B1 (de) Verfahren, netzwerkknoten und schnurloses gerät zur unterstützung von interrat-handover
WO2021138905A1 (en) Method of failure handling in conditional handover
CN110583043B (zh) Rrc inactive状态下的数据传输
AU2011251860A1 (en) Signaling radio bearer security handling for single radio voice call continuity operation
US9781768B2 (en) Methods and arrangements for managing a communication interface between the base stations
EP3780731A1 (de) Verfahren und vorrichtung zur zellenübergabe
EP4572400A1 (de) Informationsverarbeitungsverfahren und -vorrichtung sowie lesbares speichermedium
WO2016188701A1 (en) Method and apparatus for implementing a service flow across different systems
CN110249685B (zh) 接入无线接入网的方法及设备
WO2023127273A1 (ja) 無線アクセスネットワークノード、User Equipment、及びこれらの方法
US11343738B2 (en) Handover-based connection resume technique
EP2557844B1 (de) Basisstationsvorrichtung und -verfahren
US20210352469A1 (en) User plane security
WO2023127272A1 (ja) User Equipment、無線アクセスネットワークノード、及びこれらの方法
US11700091B2 (en) Bearer control
WO2014146723A1 (en) Method for an inter radio access technology handover with incomplete capability information of the user terminal
US20260025718A1 (en) Method and apparatus for dual connectivity conditional handover recovery

Legal Events

Date Code Title Description
PUAI Public reference made under article 153(3) epc to a published international application that has entered the european phase

Free format text: ORIGINAL CODE: 0009012

17P Request for examination filed

Effective date: 20120330

AK Designated contracting states

Kind code of ref document: A2

Designated state(s): AL AT BE BG CH CY CZ DE DK EE ES FI FR GB GR HR HU IE IS IT LI LT LU LV MC MK MT NL NO PL PT RO RS SE SI SK SM TR

RAP1 Party data changed (applicant data changed or rights of an application transferred)

Owner name: SAMSUNG ELECTRONICS CO., LTD.

DAX Request for extension of the european patent (deleted)
REG Reference to a national code

Ref country code: DE

Ref legal event code: R079

Ref document number: 602010066893

Country of ref document: DE

Free format text: PREVIOUS MAIN CLASS: H04W0036140000

Ipc: H04W0036000000

A4 Supplementary search report drawn up and despatched

Effective date: 20170522

RIC1 Information provided on ipc code assigned before grant

Ipc: H04W 36/00 20090101AFI20170516BHEP

STAA Information on the status of an ep patent application or granted ep patent

Free format text: STATUS: EXAMINATION IS IN PROGRESS

17Q First examination report despatched

Effective date: 20191017

GRAP Despatch of communication of intention to grant a patent

Free format text: ORIGINAL CODE: EPIDOSNIGR1

STAA Information on the status of an ep patent application or granted ep patent

Free format text: STATUS: GRANT OF PATENT IS INTENDED

INTG Intention to grant announced

Effective date: 20201118

GRAS Grant fee paid

Free format text: ORIGINAL CODE: EPIDOSNIGR3

GRAA (expected) grant

Free format text: ORIGINAL CODE: 0009210

STAA Information on the status of an ep patent application or granted ep patent

Free format text: STATUS: THE PATENT HAS BEEN GRANTED

AK Designated contracting states

Kind code of ref document: B1

Designated state(s): AL AT BE BG CH CY CZ DE DK EE ES FI FR GB GR HR HU IE IS IT LI LT LU LV MC MK MT NL NO PL PT RO RS SE SI SK SM TR

REG Reference to a national code

Ref country code: GB

Ref legal event code: FG4D

REG Reference to a national code

Ref country code: CH

Ref legal event code: EP

REG Reference to a national code

Ref country code: AT

Ref legal event code: REF

Ref document number: 1388533

Country of ref document: AT

Kind code of ref document: T

Effective date: 20210515

REG Reference to a national code

Ref country code: DE

Ref legal event code: R096

Ref document number: 602010066893

Country of ref document: DE

REG Reference to a national code

Ref country code: IE

Ref legal event code: FG4D

REG Reference to a national code

Ref country code: LT

Ref legal event code: MG9D

REG Reference to a national code

Ref country code: AT

Ref legal event code: MK05

Ref document number: 1388533

Country of ref document: AT

Kind code of ref document: T

Effective date: 20210428

PG25 Lapsed in a contracting state [announced via postgrant information from national office to epo]

Ref country code: FI

Free format text: LAPSE BECAUSE OF FAILURE TO SUBMIT A TRANSLATION OF THE DESCRIPTION OR TO PAY THE FEE WITHIN THE PRESCRIBED TIME-LIMIT

Effective date: 20210428

Ref country code: LT

Free format text: LAPSE BECAUSE OF FAILURE TO SUBMIT A TRANSLATION OF THE DESCRIPTION OR TO PAY THE FEE WITHIN THE PRESCRIBED TIME-LIMIT

Effective date: 20210428

Ref country code: NL

Free format text: LAPSE BECAUSE OF FAILURE TO SUBMIT A TRANSLATION OF THE DESCRIPTION OR TO PAY THE FEE WITHIN THE PRESCRIBED TIME-LIMIT

Effective date: 20210428

Ref country code: HR

Free format text: LAPSE BECAUSE OF FAILURE TO SUBMIT A TRANSLATION OF THE DESCRIPTION OR TO PAY THE FEE WITHIN THE PRESCRIBED TIME-LIMIT

Effective date: 20210428

Ref country code: AT

Free format text: LAPSE BECAUSE OF FAILURE TO SUBMIT A TRANSLATION OF THE DESCRIPTION OR TO PAY THE FEE WITHIN THE PRESCRIBED TIME-LIMIT

Effective date: 20210428

Ref country code: BG

Free format text: LAPSE BECAUSE OF FAILURE TO SUBMIT A TRANSLATION OF THE DESCRIPTION OR TO PAY THE FEE WITHIN THE PRESCRIBED TIME-LIMIT

Effective date: 20210728

PG25 Lapsed in a contracting state [announced via postgrant information from national office to epo]

Ref country code: GR

Free format text: LAPSE BECAUSE OF FAILURE TO SUBMIT A TRANSLATION OF THE DESCRIPTION OR TO PAY THE FEE WITHIN THE PRESCRIBED TIME-LIMIT

Effective date: 20210729

Ref country code: IS

Free format text: LAPSE BECAUSE OF FAILURE TO SUBMIT A TRANSLATION OF THE DESCRIPTION OR TO PAY THE FEE WITHIN THE PRESCRIBED TIME-LIMIT

Effective date: 20210828

Ref country code: LV

Free format text: LAPSE BECAUSE OF FAILURE TO SUBMIT A TRANSLATION OF THE DESCRIPTION OR TO PAY THE FEE WITHIN THE PRESCRIBED TIME-LIMIT

Effective date: 20210428

Ref country code: RS

Free format text: LAPSE BECAUSE OF FAILURE TO SUBMIT A TRANSLATION OF THE DESCRIPTION OR TO PAY THE FEE WITHIN THE PRESCRIBED TIME-LIMIT

Effective date: 20210428

Ref country code: SE

Free format text: LAPSE BECAUSE OF FAILURE TO SUBMIT A TRANSLATION OF THE DESCRIPTION OR TO PAY THE FEE WITHIN THE PRESCRIBED TIME-LIMIT

Effective date: 20210428

Ref country code: PT

Free format text: LAPSE BECAUSE OF FAILURE TO SUBMIT A TRANSLATION OF THE DESCRIPTION OR TO PAY THE FEE WITHIN THE PRESCRIBED TIME-LIMIT

Effective date: 20210830

Ref country code: PL

Free format text: LAPSE BECAUSE OF FAILURE TO SUBMIT A TRANSLATION OF THE DESCRIPTION OR TO PAY THE FEE WITHIN THE PRESCRIBED TIME-LIMIT

Effective date: 20210428

Ref country code: NO

Free format text: LAPSE BECAUSE OF FAILURE TO SUBMIT A TRANSLATION OF THE DESCRIPTION OR TO PAY THE FEE WITHIN THE PRESCRIBED TIME-LIMIT

Effective date: 20210728

Ref country code: ES

Free format text: LAPSE BECAUSE OF FAILURE TO SUBMIT A TRANSLATION OF THE DESCRIPTION OR TO PAY THE FEE WITHIN THE PRESCRIBED TIME-LIMIT

Effective date: 20210428

REG Reference to a national code

Ref country code: NL

Ref legal event code: MP

Effective date: 20210428

PG25 Lapsed in a contracting state [announced via postgrant information from national office to epo]

Ref country code: EE

Free format text: LAPSE BECAUSE OF FAILURE TO SUBMIT A TRANSLATION OF THE DESCRIPTION OR TO PAY THE FEE WITHIN THE PRESCRIBED TIME-LIMIT

Effective date: 20210428

Ref country code: CZ

Free format text: LAPSE BECAUSE OF FAILURE TO SUBMIT A TRANSLATION OF THE DESCRIPTION OR TO PAY THE FEE WITHIN THE PRESCRIBED TIME-LIMIT

Effective date: 20210428

Ref country code: DK

Free format text: LAPSE BECAUSE OF FAILURE TO SUBMIT A TRANSLATION OF THE DESCRIPTION OR TO PAY THE FEE WITHIN THE PRESCRIBED TIME-LIMIT

Effective date: 20210428

Ref country code: SK

Free format text: LAPSE BECAUSE OF FAILURE TO SUBMIT A TRANSLATION OF THE DESCRIPTION OR TO PAY THE FEE WITHIN THE PRESCRIBED TIME-LIMIT

Effective date: 20210428

Ref country code: SM

Free format text: LAPSE BECAUSE OF FAILURE TO SUBMIT A TRANSLATION OF THE DESCRIPTION OR TO PAY THE FEE WITHIN THE PRESCRIBED TIME-LIMIT

Effective date: 20210428

Ref country code: RO

Free format text: LAPSE BECAUSE OF FAILURE TO SUBMIT A TRANSLATION OF THE DESCRIPTION OR TO PAY THE FEE WITHIN THE PRESCRIBED TIME-LIMIT

Effective date: 20210428

REG Reference to a national code

Ref country code: DE

Ref legal event code: R097

Ref document number: 602010066893

Country of ref document: DE

PLBE No opposition filed within time limit

Free format text: ORIGINAL CODE: 0009261

STAA Information on the status of an ep patent application or granted ep patent

Free format text: STATUS: NO OPPOSITION FILED WITHIN TIME LIMIT

26N No opposition filed

Effective date: 20220131

PG25 Lapsed in a contracting state [announced via postgrant information from national office to epo]

Ref country code: IS

Free format text: LAPSE BECAUSE OF FAILURE TO SUBMIT A TRANSLATION OF THE DESCRIPTION OR TO PAY THE FEE WITHIN THE PRESCRIBED TIME-LIMIT

Effective date: 20210828

Ref country code: AL

Free format text: LAPSE BECAUSE OF FAILURE TO SUBMIT A TRANSLATION OF THE DESCRIPTION OR TO PAY THE FEE WITHIN THE PRESCRIBED TIME-LIMIT

Effective date: 20210428

REG Reference to a national code

Ref country code: CH

Ref legal event code: PL

REG Reference to a national code

Ref country code: BE

Ref legal event code: MM

Effective date: 20211031

GBPC Gb: european patent ceased through non-payment of renewal fee

Effective date: 20211001

PG25 Lapsed in a contracting state [announced via postgrant information from national office to epo]

Ref country code: MC

Free format text: LAPSE BECAUSE OF FAILURE TO SUBMIT A TRANSLATION OF THE DESCRIPTION OR TO PAY THE FEE WITHIN THE PRESCRIBED TIME-LIMIT

Effective date: 20210428

PG25 Lapsed in a contracting state [announced via postgrant information from national office to epo]

Ref country code: LU

Free format text: LAPSE BECAUSE OF NON-PAYMENT OF DUE FEES

Effective date: 20211001

Ref country code: IT

Free format text: LAPSE BECAUSE OF FAILURE TO SUBMIT A TRANSLATION OF THE DESCRIPTION OR TO PAY THE FEE WITHIN THE PRESCRIBED TIME-LIMIT

Effective date: 20210428

Ref country code: GB

Free format text: LAPSE BECAUSE OF NON-PAYMENT OF DUE FEES

Effective date: 20211001

Ref country code: BE

Free format text: LAPSE BECAUSE OF NON-PAYMENT OF DUE FEES

Effective date: 20211031

PG25 Lapsed in a contracting state [announced via postgrant information from national office to epo]

Ref country code: LI

Free format text: LAPSE BECAUSE OF NON-PAYMENT OF DUE FEES

Effective date: 20211031

Ref country code: CH

Free format text: LAPSE BECAUSE OF NON-PAYMENT OF DUE FEES

Effective date: 20211031

PG25 Lapsed in a contracting state [announced via postgrant information from national office to epo]

Ref country code: FR

Free format text: LAPSE BECAUSE OF NON-PAYMENT OF DUE FEES

Effective date: 20211031

PG25 Lapsed in a contracting state [announced via postgrant information from national office to epo]

Ref country code: IE

Free format text: LAPSE BECAUSE OF NON-PAYMENT OF DUE FEES

Effective date: 20211001

PGFP Annual fee paid to national office [announced via postgrant information from national office to epo]

Ref country code: DE

Payment date: 20220621

Year of fee payment: 13

PG25 Lapsed in a contracting state [announced via postgrant information from national office to epo]

Ref country code: HU

Free format text: LAPSE BECAUSE OF FAILURE TO SUBMIT A TRANSLATION OF THE DESCRIPTION OR TO PAY THE FEE WITHIN THE PRESCRIBED TIME-LIMIT; INVALID AB INITIO

Effective date: 20101001

Ref country code: CY

Free format text: LAPSE BECAUSE OF FAILURE TO SUBMIT A TRANSLATION OF THE DESCRIPTION OR TO PAY THE FEE WITHIN THE PRESCRIBED TIME-LIMIT

Effective date: 20210428

PG25 Lapsed in a contracting state [announced via postgrant information from national office to epo]

Ref country code: MK

Free format text: LAPSE BECAUSE OF FAILURE TO SUBMIT A TRANSLATION OF THE DESCRIPTION OR TO PAY THE FEE WITHIN THE PRESCRIBED TIME-LIMIT

Effective date: 20210428

REG Reference to a national code

Ref country code: DE

Ref legal event code: R119

Ref document number: 602010066893

Country of ref document: DE

PG25 Lapsed in a contracting state [announced via postgrant information from national office to epo]

Ref country code: TR

Free format text: LAPSE BECAUSE OF FAILURE TO SUBMIT A TRANSLATION OF THE DESCRIPTION OR TO PAY THE FEE WITHIN THE PRESCRIBED TIME-LIMIT

Effective date: 20210428

PG25 Lapsed in a contracting state [announced via postgrant information from national office to epo]

Ref country code: DE

Free format text: LAPSE BECAUSE OF NON-PAYMENT OF DUE FEES

Effective date: 20240501

PG25 Lapsed in a contracting state [announced via postgrant information from national office to epo]

Ref country code: MT

Free format text: LAPSE BECAUSE OF FAILURE TO SUBMIT A TRANSLATION OF THE DESCRIPTION OR TO PAY THE FEE WITHIN THE PRESCRIBED TIME-LIMIT

Effective date: 20210428