EP2402918A1 - Device for sorting- and binding-processing of banknotes - Google Patents

Device for sorting- and binding-processing of banknotes Download PDF

Info

Publication number
EP2402918A1
EP2402918A1 EP09840807A EP09840807A EP2402918A1 EP 2402918 A1 EP2402918 A1 EP 2402918A1 EP 09840807 A EP09840807 A EP 09840807A EP 09840807 A EP09840807 A EP 09840807A EP 2402918 A1 EP2402918 A1 EP 2402918A1
Authority
EP
European Patent Office
Prior art keywords
unit
banknote
bundling
banknotes
transport
Prior art date
Legal status (The legal status is an assumption and is not a legal conclusion. Google has not performed a legal analysis and makes no representation as to the accuracy of the status listed.)
Withdrawn
Application number
EP09840807A
Other languages
German (de)
French (fr)
Other versions
EP2402918A4 (en
Inventor
Takayoshi Yano
Yosuke Miyashita
Shinichi Nonaka
Masanori Nose
Kozen Nakai
Tomoyasu Sato
Current Assignee (The listed assignees may be inaccurate. Google has not performed a legal analysis and makes no representation or warranty as to the accuracy of the list.)
Glory Ltd
Original Assignee
Glory Ltd
Priority date (The priority date is an assumption and is not a legal conclusion. Google has not performed a legal analysis and makes no representation as to the accuracy of the date listed.)
Filing date
Publication date
Application filed by Glory Ltd filed Critical Glory Ltd
Publication of EP2402918A1 publication Critical patent/EP2402918A1/en
Publication of EP2402918A4 publication Critical patent/EP2402918A4/en
Withdrawn legal-status Critical Current

Links

Images

Classifications

    • GPHYSICS
    • G07CHECKING-DEVICES
    • G07DHANDLING OF COINS OR VALUABLE PAPERS, e.g. TESTING, SORTING BY DENOMINATIONS, COUNTING, DISPENSING, CHANGING OR DEPOSITING
    • G07D11/00Devices accepting coins; Devices accepting, dispensing, sorting or counting valuable papers
    • G07D11/40Device architecture, e.g. modular construction

Definitions

  • the present invention relates to a banknote sorting and bundling apparatus that has a banknote sorting and stacking function for sorting and stacking banknotes, deposited in continuous deposit transactions, by denomination, and a banknote bundling function for bundling banknotes of a specific denomination into bundles of a predetermined number of banknotes.
  • banknote sorting and bundling apparatuses that have a sorting and stacking function for sorting and stacking banknotes, deposited in continuous deposit transactions, by denomination, and a banknote bundling function for bundling banknotes of a specific denomination into bundles of a predetermined number of banknotes are in widespread use.
  • a conventional banknote sorting and bundling apparatus known to the inventor includes a plurality of stackers for sorting and stacking the banknotes by denomination, a bundling-side stacking unit for sorting and stacking bundling-object-banknotes by specific denomination, and a bundling unit for bundling the bundling-object-banknotes when a predetermined number of banknotes are stacked in the bundling-side stacking unit.
  • a bundle of banknotes bundled by the bundling unit is dispensed from a bundle dispensing outlet.
  • a banknote sorting and bundling apparatus disclosed in Patent Document 1 includes four stackers and one bundling-side stacking unit; a banknote sorting and bundling apparatus disclosed in Patent Document 2 includes six stackers and one bundling-side stacking unit; and a banknote sorting and bundling apparatus disclosed in Patent Document 3 includes six stackers and two bundling-side stacking units.
  • the bundle dispensing outlet from where the bundle of banknotes bundled by the bundling unit is dispensed, is located at a position distantly from a hopper unit where banknotes of mixed denominations are deposited.
  • the present invention is made in view of the above discussion and it is an object of the present invention to provide a banknote sorting and bundling apparatus that significantly improves the work efficiency of the operator while greatly suppressing an increase in a cost and an installation space of the whole apparatus.
  • a banknote sorting and bundling apparatus includes a sorting and stacking unit in which a banknote deposited in an input port is sorted and stacked; a bundling-side stacking unit in which a predetermined banknote is sorted and stacked as bundling-object-banknotes; a bundling unit that bundles the bundling-object-banknotes stacked in the bundling-side stacking unit; a banknote transport unit that transports the banknote deposited in the input port through a banknote transport path that includes a first transport path that is connected to the input port and that passes above the sorting and stacking unit, a second transport path that is connected to the first transport path and that bends back in an arrangement direction of the sorting and stacking unit, and a third transport path that is connected to the second transport path and that connects the sorting and stacking unit and the bundling-side stacking unit; a diverting unit that diverts the banknote being transported through the bank
  • a banknote sorting and bundling apparatus includes, in the structure according to the above aspect, a banknote recognition unit that recognizes a kind of the banknote being transported on the first transport path; a first reject unit arranged on the first transport path; and a second reject unit arranged at a far end of the third transport path.
  • the drive control unit controls the banknote transport unit and the diverting unit so that the first specific banknote is transported to the first reject unit.
  • the drive control unit controls the banknote transport unit and the diverting unit so that the second specific banknote is transported to the second reject unit.
  • a banknote sorting and bundling apparatus includes, in the structure according to the above aspect, a face reversing unit that is arranged on the second transport path and that reverses the banknote being transported so that a specific face, either a front face or a back face, of the banknote faces up.
  • a banknote sorting and bundling apparatus includes, in the structure according to the above aspect, an arrangement connecting a plurality of banknote bundling devices can be achieved.
  • Each of the banknote bundling devices includes the bundling unit, the bundling-side stacking unit, and the bundle transport unit.
  • the drive control unit controls the banknote transport unit and the diverting unit so that the banknotes are sorted and stacked in the bundling-side stacking unit, corresponding to the banknote, of the banknote bundling devices through the third transport path.
  • the bundling unit is arranged below the bundling-side stacking unit.
  • the banknote sorting and bundling apparatus further includes a pre-bundling transport unit that transports a predetermined number of the bundling-object-banknotes stacked in the bundling-side stacking unit to the bundling unit.
  • the drive control unit controls the pre-bundling transport unit so that the predetermined number of the bundling-object-banknotes stacked in the bundling-side stacking unit is transported to the bundling unit.
  • a banknote sorting and bundling apparatus includes, in the structure according to the above aspect, a banknote recognition unit that recognizes a kind of the banknote being transported on the first transport path; a first reject unit arranged on the first transport path; a second reject unit that is arranged at a far end of the third transport path; and an error detecting unit that detects a transportation error of the banknote downstream of the first reject unit.
  • the drive control unit drives controls the banknote transport unit and the diverting unit so that the banknote that is on the second transport path and the third transport path is transported to the second reject unit.
  • the bundling-side stacking unit includes two operational bundling-side stacking units for each of which a kind of stacking banknote is set in advance and one spare bundling-side stacking unit for which no kind of stacking banknote is set.
  • the drive control unit controls the banknote transport unit and the diverting unit so that when the number of the bundling-object-banknotes stacked in one operational bundling-side stacking unit reaches a predetermined number, the banknote-kind, that was set for the bundling-side stacking unit in which the number of the bundling-object-banknotes has reached the predetermined number, is set as the stacking banknote-kind of the spare bundling-side stacking unit, and the operational bundling-side stacking unit in which the number of bundling-object-banknotes has reached the predetermined number is set as a spare bundling-side stacking unit, and the banknotes of the banknote-kind that has reached the predetermined number are subsequently stacked in the bundling-side stacking unit for which the banknote-kind is set.
  • a banknote sorting and bundling apparatus includes, in the structure according to the above aspect, four sorting and stacking units, three bundling-side stacking units, and one bundling unit.
  • a banknote sorting and bundling apparatus includes a banknote transport path that includes a first transport path that is connected to an input port and that passes above a sorting and stacking unit, a second transport path that is connected to the first transport path and that bends back in an arrangement direction of the sorting and stacking unit, and a third transport path that is connected to the second transport path and that connects the sorting and stacking unit and a bundling-side stacking unit.
  • a bundle transport unit dispenses a bundle of banknotes bundled by a bundling unit to a bundle dispensing outlet arranged near the input port.
  • a banknote recognition unit and a first reject unit are arranged on the first transport path, and a second reject unit is arranged at a far end of the third transport path. Consequently, there is an advantage in addition to the above advantage in that, when a first specific banknote is detected on the first transport path, the first specific banknote is transported to the first reject unit, and when a second specific banknote is detected on the second transport path or the third transport path, the second specific banknote is transported to the second reject unit.
  • a face reversing unit that reverses the banknote being transported so that a specific face, that is a front face or a back face, faces up, is arranged on the second transport path. Consequently, there is an advantage in addition to the above advantages in that the banknotes are transported in a state all the banknotes face in the same specific direction.
  • each of the banknote bundling device including the bundling unit, the bundling-side stacking unit, and the bundle transport unit, is enabled, and a drive control of a banknote transport unit and a diverting unit is performed so that the banknotes are sorted and stacked in each of the bundling-side stacking unit, corresponding to the banknote, of the banknote bundling devices through the third transport path. Consequently, there is an advantage in addition to the above advantages in that a plurality of the banknote bundling devices can be additionally provided.
  • the banknote sorting and bundling apparatus there is an advantage in addition to the above advantages in that, when the number of the bundling-object-banknotes stacked in the bundling-side stacking unit reaches a predetermined number, the bundling-object-banknotes are transported to the bundling unit by a pre-bundling transport unit, and after the bundling-object-banknotes are bundled by the bundling unit, the bundle of banknotes is transported to the bundle dispensing outlet by the bundle transport unit.
  • the banknote recognition unit and the first reject unit are arranged on the first transport path, and the second reject unit is arranged at the far end of the third transport path.
  • the banknote on the second transport path or the third transport path is transported to the second reject unit.
  • the bundling-side stacking unit includes two operational bundling-side stacking units for each of which a stacking banknote-kind is set and one spare bundling-side stacking unit for which no stacking banknote-kind is set.
  • a banknote-kind that was set for the bundling-side stacking unit in which the number of the bundling-object-banknotes has reached the predetermined number is set as the stacking banknote-kind for the spare bundling-side stacking unit
  • the operational bundling-side stacking unit in which the number of the bundling-object-banknotes has reached the predetermined number is set as a spare bundling-side stacking unit.
  • the banknote sorting and bundling apparatus can be adapted to a system with four sorting and stacking units, three bundling-side stacking units, and one bundling unit.
  • the banknote sorting and bundling apparatus includes stackers for sorting and stacking banknotes deposited from a hopper unit, a bundling-side stacking unit for sorting and stacking predetermined banknotes as bundling-object-banknotes, and a bundling unit for bundling one hundred bundling-object-banknotes that are stacked in the bundling-side stacking unit.
  • the banknote sorting and bundling apparatus further includes a banknote transport unit that transports banknotes deposited into an input port to a banknote transport path.
  • the transport path includes a first transport path that is connected to the hopper unit and that passes above the stackers, a second transport path that is connected to the first transport path and that bends back in an arrangement direction of the stackers, and a third transport path that is connected to the second transport path, the stackers and the bundling-side stacking unit.
  • the banknote sorting and bundling apparatus further includes a diverting unit that diverts the banknote transported through the banknote transport path to at least the stackers or the bundling-side stacking unit, a post-bundling transport unit that dispenses a bundle of banknotes bundled by the bundling unit to the bundle dispensing outlet located near the hopper unit, and a drive control unit that controls the banknote transport unit, the diverting unit, and the post-bundling transport unit.
  • the banknote sorting and bundling apparatus dispenses the bundle of banknotes from the bundle dispensing outlet located near the hopper unit.
  • FIG. 1 is a perspective view for clearly showing an appearance of a banknote sorting and bundling apparatus according to a first embodiment of the present invention.
  • FIG. 2 is a schematic drawing of an internal structure of the banknote sorting and bundling apparatus.
  • a banknote sorting and bundling apparatus 1 includes a banknote processing device 2, a banknote bundling device 3, and a display device 4.
  • the banknote processing device 2 accepts continuous deposits of banknotes in transaction as well, sorts and stacks the deposited banknotes by banknote-kind, and counts the deposited number of banknotes by banknote-kind.
  • the banknote bundling device 3 bundles a predetermined number of banknotes, for example, every one hundred banknotes, of a specific denomination sorted by the banknote processing device 2, and the display device 4 displays various information such as a count result.
  • the banknote processing device 2 includes a hopper unit 11 for depositing banknotes in transaction into the apparatus, a feeding unit 12 that feeds the banknotes, one by one, deposited in the hopper unit 11, a banknote transport unit 13, such as a transport belt, that transports the banknotes fed by the feeding unit 12, a banknote recognition unit 14 that recognizes the kind of the banknote transported by the banknote transport unit 13, and a banknote reversing unit 15 that reverses the banknote transported by the banknote transport unit 13 based on face/back information obtained from the banknote recognition unit 14 so that all the banknotes face in the same direction, either face-up or face-down.
  • a feeding unit 12 that feeds the banknotes, one by one, deposited in the hopper unit 11, a banknote transport unit 13, such as a transport belt, that transports the banknotes fed by the feeding unit 12, a banknote recognition unit 14 that recognizes the kind of the banknote transported by the banknote transport unit 13, and a banknote reversing unit 15 that reverse
  • the banknote processing device 2 further includes four stackers 16 for sorting and stacking the banknotes transported by the banknote transport unit 13 according to kind of the banknote, and two first reject units 17 for rejecting the banknotes that are not the banknote-kind corresponding to the stackers 16 and the banknote bundling device 3.
  • a stacking wheel 16E (17C) that stacks the banknote that is being transported, one at a time, at a predetermined position in a banknote stacking space, is arranged in each of the stackers 16 and the first reject units 17.
  • the four stackers 16 for sorting and stacking the transported banknotes based on kind of banknote are a first stacker 16A, a second stacker 16B, a third stacker 16C, and a fourth stacker 16D.
  • banknote-kind refers to, if Euro is taken as an example, the seven denominations of Euro, namely, 5 Euro banknote, 10 Euro banknote, 20 Euro banknote, 50 Euro banknote, 100 Euro banknote, 200 Euro banknote, and 500 Euro banknote, as well as authentication, fitness, and face/back, etc. for each denomination.
  • the banknote bundling device 3 includes the banknote transport unit 13 that transports the banknote of the specific denomination from a banknote transport path 18 (a third transport path 18C explained later) inside the banknote processing device 2 into the banknote bundling device 3, three bundling-side stacking units 21 that are arranged at three levels in a vertical direction inside the banknote bundling device 3 for sorting and stacking the transported banknotes of the specific denomination, and a bundling unit 22 that is arranged below the three bundling-side stacking units 21 for bundling the bundling-object-banknotes sorted and stacked in the bundling-side stacking unit 21 when the number of bundling-object-banknotes reaches a predetermined number, for example, one hundred.
  • the banknote bundling device 3 further includes a bundle dispensing outlet 23 that is located near the hopper unit 11 and that dispenses the banknotes bundled by the bundling unit 22, that is the bundle of banknotes, so that the operator can collect them, and a loose-banknotes returning outlet 24 that is located near the bundling-side stacking unit 21 and that dispenses loose banknotes stacked in the bundling-side stacking unit 21 at the end of a transaction so that the operator can collect them.
  • a bundle dispensing outlet 23 that is located near the hopper unit 11 and that dispenses the banknotes bundled by the bundling unit 22, that is the bundle of banknotes, so that the operator can collect them
  • a loose-banknotes returning outlet 24 that is located near the bundling-side stacking unit 21 and that dispenses loose banknotes stacked in the bundling-side stacking unit 21 at the end of a transaction so that the operator can collect them.
  • the banknote bundling device 3 further includes a pre-bundling transport unit 25 that transports the bundling-object-banknotes stacked in the bundling-side stacking unit 21 to the bundling unit 22 or the loose-banknotes returning outlet 24, and a post-bundling transport unit 26 that transports the bundle of banknotes bundled by the bundling unit 22 to the bundle dispensing outlet 23.
  • the pre-bundling transport unit 25 holds one hundred bundling-object-banknotes from among the bundling-object-banknotes stacked in the bundling-side stacking units 21, and transports the one hundred bundling-object-banknotes to the bundling unit 22, and in addition, at the end of the transaction, holds the loose banknotes whose number does not reach one hundred among the bundling-object-banknotes stacked in the bundling-side stacking units 21 and transports the loose banknotes to the loose-banknotes returning outlet 24.
  • the post-bundling transport unit 26 includes a hold and transport unit 27 that holds and transports the bundle of banknotes bundled by the bundling unit 22, and a dispensing transport unit 28 that transports the bundle of banknotes held and transported by the hold and transport unit 27 to the bundle dispensing outlet 23.
  • the dispensing transport unit 28 includes a bundled-banknotes lifting unit 61 that transports the bundle of banknotes held and transported by the hold and transport unit 27 to an upper part of the banknote bundling device 3, a pushing mechanism 62 that pushes the bundle of banknotes transported to the upper part of the banknote bundling device 3 by the bundled-banknotes lifting unit 61 towards the bundle dispensing outlet 23 (towards a front side of the apparatus), and a dispense/hold mechanism 63 that receives the bundle of banknotes pushed to the front side of the apparatus by the pushing mechanism 62 and holds the bundle of banknotes at the position of the bundle dispensing outlet 23 for dispensing the bundle of banknotes.
  • the banknote sorting and bundling apparatus 1 further includes the banknote transport path 18 that includes a first transport path 18A that is connected to the hopper unit 11 and that is arranged above the stackers 16, a second transport path 18B that is connected to the first transport path 18A and that bends back in an arrangement direction of the stackers 16, and the third transport path 18C that is connected to the second transport path 18B, the stackers 16, and the bundling-side stacking unit 21.
  • the banknote recognition unit 14 is arranged on the first transport path 18A and the banknote reversing unit 15 is arranged on the second transport path 18B.
  • the second transport path 18B is configured as a removable unit that connects the first transport path 18A and the third transport path 18C of the banknote sorting and bundling apparatus 1.
  • a detection sensors 19 for detecting approaches or passes of banknotes at each branching point, merging point, and linkage point between the devices are arranged at each of the above-mentioned points on the banknote transport path 18.
  • a second reject unit 20 is arranged at the end of the third transport path 18C.
  • a banknote aligner wheel 20A that stacks the transported banknote, one at a time, at a predetermined position in a banknote stacking space is arranged in the second reject unit 20.
  • a diverting unit 13A is arranged at each of the branching points on the banknote transport path 18.
  • the diverting unit 13A diverts the banknote transported through the banknote transport path 18 to the stackers 16, the bundling-side stacking unit 21, the first reject units 17 or the second reject unit 20.
  • the diverting unit 13A is driven by a not shown solenoid when the detection sensor 19 detects an approach of a leading edge of the banknote, and performs the diverting of the banknote.
  • the banknote reversing unit 15 diverts the banknote, based on the face/back information obtained from the banknote recognition unit 14, into a reversing route or a non-reversing route by the diverting unit 13A that is arranged upstream of the banknote reversing unit 15 so that all the banknotes are transported through the third transport path 18C with faces in the same direction, either face-up or face-down.
  • the reversing route includes a reversing member 15A that has a curved surface and that extends along a transport direction of the banknote, a not shown transport belt that is winded obliquely relative to a longitudinal direction of the reversing member 15A with a part of the transport belt running along the curved surface of the reversing member 15A, a not shown driving motor that drives the transport belt, and a not shown guide unit guiding the banknote while the banknote is transported, in the longitudinal direction of the reversing member 15A, in the state of being wrapped around the curved surface of the reversing member 15A and is held between the transport belt and the reversing member 15A (see Japanese Patent No. 4119664 ).
  • the banknote reversing unit 15 when the transport belt is being driven by the driving motor, the banknote moves in the transport direction as the transport belt moves while the banknote is being held between the transport belt and the reversing member 15A. Because the transport belt is winded obliquely relative to the longitudinal direction of the reversing member 15A, the banknote is transported in the state of being wrapped around the curved surface and is reversed during the transport. During the reversing of the banknote, the guide unit ensures that the banknote is reversed properly by restricting a movement of the banknote and guiding so that the banknote is slid on the surface of the guide unit.
  • FIG. 3 is a drawing for clearly explaining a reversing process performed by the banknote reversing unit 15.
  • the banknote reversing unit 15 transports the banknote in the unaltered state A via the non-reversing route, without performing the reversing process.
  • the banknote reversing unit 15 transports the banknote via the reversing route and performs the reversing process to reverse the banknote so that the banknote is in the state A, and then transports the banknote to the third transport path 18C.
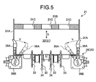
  • FIG. 4 is a schematic perspective view of a structure of the bundling-side stacking unit 21.
  • FIG. 5 is a plan view of the bundling-side stacking unit 21 with a portion thereof omitted.
  • the bundling-side stacking unit 21 includes a stage member 32, banknote aligner wheels 33, approach detecting sensors 34, and a dimension adjusting mechanism 35.
  • the stage member 32 on which the banknotes are stacked is arranged in a stacking space 31 formed by left side and right side walls 31A and a back side wall 31B, and can be moved up and down.
  • the banknote aligner wheels 33 stack the banknote that is transported in the stacking space 31, and adjust a position of the stacked banknotes.
  • the approach detecting sensors 34 detect an approach of the banknote being transported into the stacking space 31.
  • the dimension adjusting mechanism 35 adjusts the stacking space 31 according to dimensions that is set for a banknote to be stacked in the bundling-side stacking unit 21. To maintain a constant position of the banknote stacked topmost, in the height direction of the stacked banknotes, the stage member 32 is gradually lowered as the banknotes are stacked.
  • the dimension adjusting mechanism 35 includes a banknote aligning mechanism 36 and a short-edge dimension adjusting mechanism 37 (not shown).
  • the banknote aligning mechanism 36 adjusts a position of the bundling-object-banknotes stacked in the stacking space 31 in a longitudinal direction according to the dimensions set for the banknote to be stacked therein.
  • the short-edge dimension adjusting mechanism 37 adjusts a short-edge dimension of the stacking space 31 according to the dimensions set for the banknote to be stacked therein.
  • the banknote aligning mechanism 36 includes left and right arm units 36A that are swingably arranged at the end portion of each of the left side and right side walls 31A and swing toward a direction Y inside the stacking space 31, and stepping motors 36B that swing the left and right arm units 36A to the set positions according to the set banknote.
  • the banknote aligning mechanism 36 adjusts the position of the stacked banknotes in the longitudinal direction by tapping the side edges of the stacked banknotes stacked on the stage member 32 in the stacking space 31 with free ends of the left and right arm units 36A that have been swung to the set swing position according to the set banknote.
  • the short-edge dimension adjusting mechanism 37 enables movement of the back side wall 31B of the stacking space 31 in front-back direction X of banknote transportation, and adjusts the short-edge dimension of the stacking space 31 according to the short-edge dimension set for the banknote to be stacked in the stacking space 31.
  • Three openings 31C are provided into the back side wall 31B to allow a hand unit 41 (see FIG. 2 ) of the pre-bundling transport unit 25 to advance into the stacking space 31 and hold the bundling-object-banknotes stacked in the stacking space 31.
  • a shutter mechanism that can be opened and closed is provided below the back side wall 31B to allow the hand unit 41 to pull out the bundling-object-banknotes from the stacking space 31.
  • the pre-bundling transport unit 25 includes a transport unit 42 that has the hand unit 41 that holds a banknote bundle stacked in the bundling-side stacking unit 21, a horizontal movement mechanism 43 that moves the transport unit 42 forward and backward (horizontal direction), and a vertical movement mechanism 44 that moves the transport unit 42 upward and downward (vertical direction).
  • the vertical movement mechanism 44 includes a guiding shaft 44A that is vertically placed and that extends from a bottom end to a top end of the banknote bundling device 3, and a driving belt 44B that raises and lowers the transport unit 42 along the guiding shaft 44A.
  • the transport unit 42 arranged in the pre-bundling transport unit 25 includes the hand unit 41 that can be moved forward and backward by a driving belt 43A arranged in the horizontal movement mechanism 43.
  • the hand unit 41 includes an upper hand 41A with three holding pawls and a lower hand 41B with three holding pawls facing each other and holds the bundling-object-banknotes stacked in the bundling-side stacking unit 21 with the opposing sets of holding pawls.
  • the lower hand 41B is fixed whereas the upper hand 41A is movable up and down by a driving belt 41C.
  • the transport unit 42 holds the bundling-object-banknotes with the opposing holding pawls of the upper hand 41A and the lower hand 41B, and transports the bundling-object-banknotes to the bundling unit 22 or to the loose-banknotes returning outlet 24.
  • the bundling unit 22 When one hundred bundling-object-banknotes are transported to the bundling unit 22 by the transport unit 42 of the pre-bundling transport unit 25, the bundling unit 22 holds the bundling-object-banknotes with the hold and transport unit 27 of the post-bundling transport unit 26 and binds the one hundred bundling-object-banknotes with a bundling tape to bundle the bundling-object-banknotes.
  • the bundling unit 22 that makes the bundle of banknotes by bundling the bundling-object-banknotes with the bundling tape, includes a bundling tape reel 51 on which the bundling tape is winded, a bundling tape stopper 52 that stops a leading edge of the bundling tape being drawn from the bundling tape reel 51 at a predetermined position on the bundling-object-banknotes held by the hold and transport unit 27, a swinging arm 53 that draws the bundling tape of which the leading edge has been stopped at the predetermined position on the bundling-object-banknotes and wraps the bundling tape around the bundling-object-banknotes at a predetermined bundling position, a cutter 54 that cuts the other end of the bundling tape after the bundling-object-banknotes have been wrapped at the predetermined bundling position, and a heater 55 that thermally bonds the other end of the bundling tape cut by the cutter 54 .
  • the hold and transport unit 27 holds and transports the bundle of banknotes to the bundled-banknotes lifting unit 61 arranged in the dispensing transport unit 28.
  • the bundled-banknotes lifting unit 61 transports the bundle of banknotes held and transported by the hold and transport unit 27 toward the pushing mechanism 62 in the upper part of the banknote bundling device 3.
  • the pushing mechanism 62 pushes and transports the bundle of banknotes to the dispense/hold mechanism 63 in a direction of the bundle dispensing outlet 23 (towards the front side of the apparatus) by pushing the bundle of banknotes transported to the upper part of the banknote bundling device 3 by the bundled-banknotes lifting unit 61.
  • the dispense/hold mechanism 63 includes a bundled-banknotes stacking unit 63A in which the bundle of banknotes, that is pushed and transported by the pushing mechanism 62, is stacked, and a bundled banknotes stage 63B for placing the bundle of banknotes stacked in the bundled-banknotes stacking unit 63A.
  • the dispense/hold mechanism 63 adjusts a height of the bundled banknotes stage 63B so that the bundle of banknotes pushed by the pushing mechanism 62 comes to rest on the topmost bundle of banknotes resting on the bundled banknotes stage 63B.
  • FIG. 6 is a schematic block diagram of internal structure of the banknote sorting and bundling apparatus 1.
  • the banknote sorting and bundling apparatus 1 includes, apart from the banknote recognition unit 14, a stacker-side mechanism 110 arranged inside the banknote processing device 2, a bundling-side mechanism 120 arranged inside the banknote bundling device 3, an operation unit 130 for inputting various commands, a display control unit 140 that performs a display control of the display device 4, a drive control unit 150 that performs a drive control of the stacker-side mechanism 110 and the bundling-side mechanism 120, a dimension-adjustment drive control unit 160 that performs an adjustment control of the dimension adjusting mechanism 35 arranged inside the bundling-side mechanism 120, and a control unit 170 that performs an overall control of the banknote sorting and bundling apparatus 1.
  • the stacker-side mechanism 110 includes the feeding unit 12, the banknote transport unit 13, the banknote reversing unit 15, the stacking wheel 16E (17C), the detection sensors 19 arranged in the banknote processing device 2, and the diverting unit 13A.
  • the bundling-side mechanism 120 includes the detection sensors 19 arranged in the banknote bundling device 3, the banknote transport unit 13, the diverting unit 13A, the bundling unit 22, the pre-bundling transport unit 25, the post-bundling transport unit 26, the dimension adjusting mechanism 35, and the banknote aligner wheels 33.
  • the post-bundling transport unit 26 includes the hold and transport unit 27 and the dispensing transport unit 28.
  • the dimension adjusting mechanism 35 includes the banknote aligning mechanism 36 and the short-edge dimension adjusting mechanism 37.
  • the control unit 170 sets the banknote-kind to be stacked (stacking banknote) in each of the stackers 16, the first reject units 17, the second reject unit 20, and the bundling-side stacking units 21.
  • the control unit 170 sets 5 Euro banknote for the first stacker 16A, 50 Euro banknote for the second stacker 16B, 100 Euro banknote for the third stacker 16C, 200 Euro banknote for the fourth stacker 16D, 500 Euro banknote for a first reject unit 17A, and further sets, as initial settings, 10 Euro banknote for a first bundling-side stacking unit 21A, 20 Euro banknote for a second bundling-side stacking unit 21B, and a spare for a third bundling-side stacking unit 21C.
  • the first reject unit 17A can be used as a stacker for stacking rare kinds of banknotes such as 500 Euro banknotes.
  • the control unit 170 also identifies errors such as jamming of the banknotes on the transport path, based on a detection result of the detection sensors 19.
  • the drive control unit 150 Upon receiving the banknote-kind of the transported banknote recognized by the banknote recognition unit 14, if the banknote being transported through the banknote transport path 18 is of the banknote-kind (stacking banknote) set for any one of the stackers 16 or the bundling-side stacking unit 21, the drive control unit 150 performs the drive control of the banknote transport unit 13 and the diverting unit 13A so that the banknote being transported is sorted and stacked in the stacker 16 or the bundling-side stacking unit 21 corresponding to the banknote-kind.
  • the drive control unit 150 performs the drive control of the banknote transport unit 13 and the diverting unit 13A so that the banknote is transported to the first reject unit 17.
  • the drive control unit 150 performs the drive control of the banknote transport unit 13 and the diverting unit 13A so that the transported banknote is sorted and stacked in the bundling-side stacking unit 21.
  • the drive control unit 150 performs the drive control of the pre-bundling transport unit 25 so that the hand unit 41 arranged in the transport unit 42 of the pre-bundling transport unit 25 draws out the bundling-object-banknotes stacked in the first bundling-side stacking unit 21A.
  • the control unit 170 switches the banknote-kind (stacking banknote) for the spare third bundling-side stacking unit 21C to 10 Euro banknote, and once the one hundred banknotes of 10 Euro banknote are drawn out by the hand unit 41 arranged in the transport unit 42, switches the banknote-kind (stacking banknote) for the first bundling-side stacking unit 21A to the spare.
  • the dimension-adjustment drive control unit 160 performs the drive control of the dimension adjusting mechanism 35 of the third bundling-side stacking unit 21C so that the third bundling-side stacking unit 21C is adjusted according to the banknote dimension of the set banknote, that is, the 10 Euro banknote.
  • the dimension-adjustment drive control unit 160 manages, for every banknote-kind, the swing positions of the arm units 36A arranged in the banknote aligning mechanism 36 and the short-edge dimension of the short-edge dimension adjusting mechanism 37.
  • FIGS. 7A to 7C are drawings for clearly explaining action transitions of the dimension adjusting mechanism 35 of the bundling-side stacking unit 21.
  • the dimension-adjustment drive control unit 160 performs the drive control of the short-edge dimension adjusting mechanism 37 so that the stacking space 31 is adjusted by moving the back side wall 31B in the X direction according to the banknote set to be stacked therein.
  • the dimension-adjustment drive control unit 160 performs the drive control of the banknote aligning mechanism 36 so that the swing positions of the arm units 36A of the banknote aligning mechanism 36 are set according to a long-edge dimension of the set banknote.
  • the dimension-adjustment drive control unit 160 first performs the drive control so that the back side wall 31B is moved to a position according to the short-edge dimension of the set banknote, and the arm units 36A of the banknote aligning mechanism 36 are held at the set swing positions according to the set long-edge dimension (see FIG. 7A ).
  • the dimension-adjustment drive control unit 160 Upon detection of the banknote approaching the stacking space 31 by the approach detecting sensors 34, the dimension-adjustment drive control unit 160 performs the next drive control so that the left and right arm units 36A are wide opened (see FIG. 7B ).
  • the dimension-adjustment drive control unit 160 After a lapse of a predetermined time period after the approach detecting sensors 34 detect that the banknote has passed the sensors, the dimension-adjustment drive control unit 160 performs the next drive control so that the left and right arm units 36A swing to the set swing positions to adjust the position of the banknote stacked in the stacking space 31 in the longitudinal direction with the free ends of the left and right arm units 36A (see FIG. 7C ).
  • FIGS. 8A to 8D are drawings for clearly explaining action transitions of the pre-bundling transport unit 25.
  • the pre-bundling transport unit 25 moves, downward to a level of the lowermost edge, the stage member 32 arranged in the bundling-side stacking unit 21 in which the bundling-object-banknotes to be drawn out are stacked (see FIG. 8A ).
  • the upper hand 41A of the transport unit 42 of the pre-bundling transport unit 25 is moved upward, through the action of the driving belt 41C, to a position where an upper surface of the upper hand 41A is higher than the topmost banknote of the bundling-object-banknotes stacked in the bundling-side stacking unit 21 (see FIG. 8A ).
  • the upper hand 41A and the lower hand 41B are moved upward, through the action of the driving belt 41C, to a position where an upper surface of the upper hand 41A is higher than the topmost banknote of the bundling-object-banknotes stacked in the bundling-side stacking unit 21 (see FIG. 8A ).
  • the transport unit 42 is moved forward through the action of the driving belt 43A of the horizontal movement mechanism 43, and the movement causes the upper hand 41A and the lower hand 41B advance into the bundling-side stacking unit 21 through the opening 31C formed on the back side wall 31B of the bundling-side stacking unit 21 and be positioned such that the bundling-object-banknotes are disposed between the upper hand 41A and the lower hand 41B (see FIG. 8B ).
  • the upper hand 41A of the transport unit 42 is moved downward through the action of the driving belt 41C, so that the bundling-object-banknotes on the stage member 32 are tightly held between the upper hand 41A and the lower hand 41B (see FIG. 8C ).
  • the transport unit 42 is moved backward through the action of the driving belt 43A of the horizontal movement mechanism 43, and thus, the bundling-object-banknotes held by the upper hand 41A and the lower hand 41B are ready to be transported to the bundling unit 22 or the loose-banknotes returning outlet 24 (see FIG. 8D ).
  • the drive control unit 150 shown in FIG. 6 performs the drive control of the pre-bundling transport unit 25 so that when the number of the bundling-object-banknotes stacked in the bundling-side stacking unit 21 reaches one hundred, the hand unit 41 of the transport unit 42 arranged in the pre-bundling transport unit 25 advances into the stacking space 31 through the opening 31C of the back side wall 31B, holds the bundling-object-banknotes on the stage member 32, and draws out the held bundling-object-banknotes from the bundling-side stacking unit 21 to transport to the bundling unit 22.
  • the drive control unit 150 performs the drive control of the pre-bundling transport unit 25 so that the hand unit 41 of the transport unit 42 advances into the stacking space 31 through the opening 31C of the back side wall 31B, holds the bundling-object-banknotes on the stage member 32, and draws out the held loose banknotes of the bundling-object-banknotes from the bundling-side stacking unit 21 to transport to the loose-banknotes returning outlet 24.
  • the drive control unit 150 raises the stage member 32 arranged in the bundling-side stacking unit 21 and returns it to a normal standby position for waiting banknotes to be stacked therein.
  • the drive control unit 150 subsequently transports the banknote to the first reject unit 17B.
  • the drive control unit 150 performs the drive control of the banknote transport unit 13 and the diverting unit 13A so that the banknote is transported to the second reject unit 20.
  • transport errors such as skewed state of the banknote on the banknote transport path 18, or chained banknotes on the banknote transport path 18, or double feed of the banknotes on the banknote transport path 18, etc., occur downstream of the first reject unit 17B, that is, on the second transport path 18B or the third transport path 18C, recovery can be achieved quickly by transporting the error banknotes to the second reject unit 20, as compared with stopping the transport of the banknotes.
  • FIGS. 9A to 9K are drawings for clearly explaining action transitions of the dispensing transport unit 28 of the post-bundling transport unit 26.
  • a transport lift 61A, for placing the bundle of banknotes transported by the hold and transport unit 27, of the bundled-banknotes lifting unit 61 of the dispensing transport unit 28 is at the bottommost position in a standby state (see FIG. 9A ).
  • the bundle of banknotes is transported to a position above the transport lift 61A of the bundled-banknotes lifting unit 61 by the hold and transport unit 27 (see FIG. 9B ).
  • the transport lift 61A on the bundled-banknotes lifting unit 61 side is raised up to the bundle of banknotes so that the bundle of banknotes rests thereon (see FIG. 9C ).
  • the hold and transport unit 27 releases its hold of the bundle of banknotes (see FIG. 9D ), and moves backward to a standby position (see FIG. 9E ).
  • the standby position of the hold and transport unit 27 corresponds to a position where it can accept the bundling-object-banknotes from the pre-bundling transport unit 25.
  • the bundled-banknotes lifting unit 61 raises the transport lift 61A on which the bundle of banknotes is placed.
  • a push transport unit 62A of the pushing mechanism 62 attains a pushed status by a link mechanism 61B as the transport lift 61A rises (see FIG. 9F ), and the bundle of banknotes placed on the transport lift 61A is set on the push transport unit 62A (see FIG. 9G ).
  • the push transport unit 62A pushes and transports the bundle of banknotes thereon towards the bundle dispensing outlet 23 (see FIG. 9H ) located on the front side of the apparatus.
  • the bundled-banknotes lifting unit 61 lowers the transport lift 61A to the bottommost position.
  • the push transport unit 62A returns to its original standby state by the action of the link mechanism 61B which is moved with the lowering action.
  • the bundle of banknotes is stacked in the bundled-banknotes stacking unit 63A arranged in the dispense/hold mechanism 63 (see FIGS. 9I and 9J ).
  • the dispense/hold mechanism 63 adjusts the position of the bundled banknotes stage 63B arranged in the bundled-banknotes stacking unit 63A so that the topmost bundle of banknotes among those stacked in the bundled-banknotes stacking unit 63A is held at the position of the bundle dispensing outlet 23 (see FIG. 9K ).
  • the banknote sorting and bundling apparatus corresponds to the banknote sorting and bundling apparatus 1
  • a banknote bundling device corresponds to the banknote bundling device 3
  • the input port corresponds to the hopper unit 11
  • a sorting and stacking unit corresponds to the stacker 16
  • the bundling-side stacking unit corresponds to the bundling-side stacking unit 21
  • a bundling unit corresponds to the bundling unit 22
  • the first transport path corresponds to the first transport path 18A
  • the second transport path corresponds to the second transport path 18B
  • the third transport path corresponds to the third transport path 18C
  • the banknote transport path corresponds to the banknote transport path 18
  • the diverting unit corresponds to the diverting unit 13A
  • the banknote transport unit corresponds to the banknote transport unit 13
  • the drive control unit corresponds to the drive control unit 150
  • the bundle dispensing outlet corresponds to the bundle dispensing outlet 23
  • a first reject unit corresponds to the first reject unit
  • the banknote-kind (stacking banknote) for the first stacker 16A is set to 5 Euro banknote
  • 50 Euro banknote is set for the second stacker 16B
  • 100 Euro banknote is set for the third stacker 16C
  • 200 Euro banknote is set for the fourth stacker 16D
  • 500 Euro banknote is set for the first reject unit 17A
  • 10 Euro banknote is set for the first bundling-side stacking unit 21A
  • 20 Euro banknote is set for the second bundling-side stacking unit 21B
  • the third bundling-side stacking unit 21C is set as a spare stacking unit.
  • the operator deposits a plurality of Euro banknotes of mixed kinds in the hopper unit 11.
  • the banknote sorting and bundling apparatus 1 sequentially transports the banknotes, one by one, deposited in the hopper unit 11 by the feeding unit 12 to the first transport path 18A.
  • the control unit 170 obtains from the banknote recognition unit 14 the banknote-kind of the banknote transported through the first transport path 18A, and transmits the banknote-kind to the drive control unit 150.
  • the drive control unit 150 transports the banknote, based on the recognized banknote-kind of the banknote transported through the first transport path 18A, to the corresponding one among stacker 16 (the first stacker 16A to the fourth stacker 16D), the first reject unit 17A, or the bundling-side stacking unit 21 (the first bundling-side stacking unit 21A to the third bundling-side stacking unit 21C).
  • the drive control unit 150 transports the banknote to the first reject unit 17A if the banknote-kind of the banknote being transported through the first transport path 18A is recognized to be a 500 Euro.
  • the drive control unit 150 transports the banknote through the reversing route or the non-reversing route of the banknote reversing unit 15 so that the banknotes faces in the specific direction, for example, face-up direction, and the banknotes faces in the same specific direction are transported through the third transport path 18C.
  • the drive control unit 150 sorts and stacks the banknote being transported through the third transport path 18C according to the banknote-kind thereof. For example, if the banknote being transported is a 5 Euro banknote, the drive control unit 150 transports the banknote to the first stacker 16A and stacks it therein.
  • the drive control unit 150 transports the banknote to the second stacker 16B and stacks it therein.
  • the drive control unit 150 transports the banknote to the third stacker 16C and stacks it therein.
  • the drive control unit 150 transports the banknote to the fourth stacker 16D and stacks it therein.
  • the drive control unit 150 transports the banknote to the first bundling-side stacking unit 21A and stacks it therein.
  • the drive control unit 150 transports the banknote to the second bundling-side stacking unit 21B and stacks it therein.
  • the drive control unit 150 transports all the Euro banknotes except 500 Euro banknotes through the first transport path 18A, the second transport path 18B, and the third transport path 18C, in that order, to stack them in one of the stackers 16 or the bundling-side stacking units 21.
  • the drive control unit 150 draws out the one hundred bundling-object-banknotes through the action of the hand unit 41 arranged in the transport unit 42, and transports the bundling-object-banknotes to the bundling unit 22.
  • the control unit 170 switches the banknote-kind (stacking banknote) of the spare third bundling-side stacking unit 21C to 10 Euro banknotes.
  • the banknote-kind (stacking banknote) for the first bundling-side stacking unit 21A in which the banknotes can be stacked again is set as a spare stacking unit.
  • the drive control unit 150 holds the one hundred banknotes drawn from the first bundling-side stacking unit 21A through the action of the hand unit 41 arranged in the transport unit 42, transports the bundling-object-banknotes to the hold and transport unit 27, and after the bundling tape has been wrapped around the one hundred bundling-object-banknotes set on the hold and transport unit 27, transports the bundle of banknotes, by the hold and transport unit 27, to the bundled-banknotes lifting unit 61 arranged in the dispensing transport unit 28.
  • the bundled-banknotes lifting unit 61 transports the bundle of banknotes received from the hold and transport unit 27 to the push transport unit 62A located in the upper part of the apparatus.
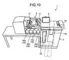
  • the push transport unit 62A stacks the bundle of banknotes in the bundled-banknotes stacking unit 63A in the bundle dispensing outlet 23 located on the front side of the apparatus, and the bundle of banknotes is held at the position of the bundle dispensing outlet 23 located near the hopper unit 11.
  • the operator shown in a dotted line, can reach the bundle of banknotes at the bundle dispensing outlet 23.
  • the banknotes are transported through, in that order, the hopper unit 11, the first transport path 18A, the second transport path 18B, the third transport path 18C, the bundling-side stacking unit 21, the pre-bundling transport unit 25, the bundling unit 22 and the hold and transport unit 27, the bundled-banknotes lifting unit 61, the push transport unit 62A, and the bundled-banknotes stacking unit 63A, before the bundle of banknotes is dispensed and stacked at the position of the bundle dispensing outlet 23. Consequently, as shown in FIG. 10 , the operator can collect the bundle of banknotes at the bundle dispensing outlet 23 located near the hopper unit 11 without having to move from the position for the hopper unit 11.
  • the drive control unit 150 draws out the one hundred bundling-object-banknotes through the action of the hand unit 41 arranged in the transport unit 42, and transports the bundling-object-banknotes to the bundling unit 22.
  • the control unit 170 switches the banknote-kind (stacking banknote) of the spare first bundling-side stacking unit 21A to 20 Euro banknote.
  • the banknote-kind (stacking banknote) of the second bundling-side stacking unit 21B in which the banknotes can be stacked again is set as a spare stacking unit.
  • the banknote-kind (stacking banknote) of the first bundling-side stacking unit 21A which was earlier set as spare stacking unit, now needs to be set to 20 Euro banknote.
  • the time, required by the dimension adjusting mechanism 35 for dimension adjustment can be gained since it needs time to transport the banknote.
  • the banknote fed from the hopper 11 has to pass above the stacker 16, and be transported through the first transport path 18A, the second transport path 18B, and the third transport path 18C, in that order, before being stacked in the stacker 16 or the bundling-side stacking unit 21.
  • the drive control unit 150 subsequently transports the banknote, that is transported downstream of the first reject unit 17B, to the second reject unit 20.
  • the banknote can be removed from the second reject unit 20 without having to stop the operation.
  • the first embodiment includes the banknote transport path 18 that, in turn, includes the first transport path 18A that is connected to the hopper unit 11 and that passes above the stackers 16, the second transport path 18B that is connected to the first transport path 18A and that bends back in the arrangement direction of the stackers 16, and the third transport path 18C that is connected to the second transport path 18B, the stackers 16 and the bundling-side stacking unit 21, and the post-bundling transport unit 26 that dispenses the bundle of banknotes bundled by the bundling unit 22 to the bundle dispensing outlet 23 located near the hopper unit 11.
  • the banknote reversing unit 15 that reverses the banknote so that a banknote faces in a specific direction, namely, the face-up or the face-down, is arranged on the second transport path 18B. Consequently, the transported banknotes can be faced in the specific direction.
  • the one hundred bundling-object-banknotes are transported by the pre-bundling transport unit 25 to the bundling unit 22 where the bundling-object-banknotes are bundled. Subsequently, the bundle of banknotes is transported to the bundle dispensing outlet 23 through the actions of the hold and transport unit 27, the bundled-banknotes lifting unit 61, the push transport unit 62A, and the bundled-banknotes stacking unit 63A.
  • the banknote recognition unit 14 and the first reject unit 17 are provided on the first transport path 18A, and the second reject unit 20 is provided at the far end on the third transport path 18C.
  • the banknote on the second transport path 18B or the third transport path 18C is transported to the second reject unit 20.
  • the banknote on the second transport path 18B and the third transport path 18C can be removed from the second reject unit 20, which is arranged at the far end of the third transport path 18C, without having to stop the operation.
  • operation availability of the apparatus can be improved.
  • two bundling-side stacking units 21 are provided for sorting and stacking the banknotes of different predetermined banknote-kinds, and one bundling-side stacking unit 21, for which no banknote-kind is set, is provided as a spare stacking unit.
  • the banknote-kind currently set for this stacking unit is set for the spare bundling-side stacking unit 21, and the banknote-kind (stacking banknote) for this stacking unit, from which the one hundred banknotes are drawn out by the hand unit 41 of the transport unit 42 and in which the banknotes can be stacked again, is switched to the spare.
  • the bundling-object-banknotes stacked in one bundling-side stacking unit 21 can be subsequently stacked in the spare bundling-side stacking unit 21 in which no banknotes are stacked without having to stop the stacking operation. Consequently, a situation, where when the number of the bundling-object-banknotes stacked in one bundling-side stacking unit 21 reaches one hundred, there is no free stacking unit for stacking the subsequent bundling-object-banknotes, can be reliably avoided while keeping the number of the bundling-side stacking units 21 to the minimum (three). In addition, the operation availability of the apparatus is improved.
  • one banknote bundling device 3 is connected with one banknote processing device 2.
  • a banknote sorting and bundling apparatus 1A in which a plurality of the banknote bundling devices 3, for example, two banknote bundling devices 3, is connected with one banknote processing device 2 is explained in a second embodiment of the present invention.
  • FIG. 11 is a schematic drawing of an internal structure of a banknote sorting and bundling apparatus according to the second embodiment.
  • the parts that are identical to those in the banknote sorting and bundling apparatus 1 according to the first embodiment have been assigned the same reference numerals, and the explanation thereof is omitted.
  • an additional banknote bundling device 3B is connected to a banknote bundling device 3A through the third transport path 18C, and a second reject unit 20B is arranged at the far end of the third transport path 18C.
  • the banknote reversing unit 15 arranged on the second transport path 18B includes a short-edge reversing unit 15B that is capable of reversing the banknote being transported in the short-edge direction, and a long-edge reversing unit 15C that is capable of reversing the banknote being transported in the long-edge direction.
  • FIG. 12 is a drawing for clearly explaining reversing processes performed by the short-edge reversing unit 15B and the long-edge reversing unit 15C.
  • the banknote When transporting the banknote in the state A, shown in FIG. 12 , to the third transport path 18C, the banknote is transported in the state A via the non-reversing route for both the short-edge reversing unit 15B and the long-edge reversing unit 15C, and no reversing process is performed by the short-edge reversing unit 15B or the long-edge reversing unit 15C.
  • the banknote When transporting the banknote that is in the state B to the third transport path 18C, the banknote is transported via the non-reversing route for the short-edge reversing unit 15B and via the reversing route for the long-edge reversing unit 15C. Therefore, no reversing process is performed by the short-edge reversing unit 15B and the reversing process is performed by the long-edge reversing unit 15C so that the banknote is in the state A before it is transported to the third transport path 18C.
  • the banknote When transporting the banknote that is in a state C to the third transport path 18C, the banknote is first transported via the reversing route to perform the reversing process in the short-edge reversing unit 15B and then transported via the reversing route to perform the reversing process in the long-edge reversing unit 15C so that the banknote is in the state A before it is transported to the third transport path 18C.
  • the banknote When transporting the banknote that is in a state D to the third transport path 18C, the banknote is transported via the reversing route to perform the reversing process in the short-edge reversing unit 15B and via the non-reversing route not to perform the reversing process in the long-edge reversing unit 15C so that the banknote is in the state A before it is transported to the third transport path 18C.
  • a banknote sorting and bundling apparatus corresponds to the banknote sorting and bundling apparatus 1A
  • a banknote bundling device corresponds to the banknote bundling devices 3A and 3B
  • a bundling unit corresponds to the bundling unit 22 arranged in each of the banknote bundling devices 3A and 3B
  • a second reject unit corresponds to the second reject unit 20B
  • a face reversing unit corresponds to the banknote reversing unit 15.
  • the banknote-kind (stacking banknote) for the first stacker 16A is set to 5 Euro banknote
  • 50 Euro banknote is set for the second stacker 16B
  • 100 Euro banknote is set for the third stacker 16C
  • 200 Euro banknote is set for the fourth stacker 16D
  • 500 Euro banknote is set for the first reject unit 17A.
  • the banknote-kind (stacking banknote) for the first bundling-side stacking unit 21A is set to 10 Euro fit note
  • 20 Euro fit note is set for the second bundling-side stacking unit 21B
  • the third bundling-side stacking unit 21C is set as a spare stacking unit.
  • the banknote-kind (stacking banknote) for the first bundling-side stacking unit 21A is set to 10 Euro unfit note
  • 20 Euro fit note is set for the second bundling-side stacking unit 21B
  • the third bundling-side stacking unit 21C is set as a spare stacking unit.
  • the operator deposits a plurality of Euro banknotes of mixed kinds in the hopper unit 11.
  • the banknote sorting and bundling apparatus 1A sequentially transports the banknote, one by one, deposited in the hopper unit 11 through the action of the feeding unit 12 thorough the first transport path 18A.
  • the control unit 170 obtains from the banknote recognition unit 14 the banknote-kind of the banknote transported through the first transport path 18A, and transmits the banknote-kind to the drive control unit 150.
  • the drive control unit 150 transports the banknote, based on the recognized banknote-kind of the banknote transported through the first transport path 18A, to the stacker 16 (the first stacker 16A to the fourth stacker 16D), the first reject unit 17A, or the bundling-side stacking unit 21 (the first bundling-side stacking unit 21A to the third bundling-side stacking unit 21C) corresponding to the banknote-kind.
  • the drive control unit 150 transports the banknote to the first reject unit 17A if the banknote-kind of the banknote being transported through the first transport path 18A is recognized to be a 500 Euro.
  • the drive control unit 150 When the banknote is being transported to the second transport path 18B from the first transport path 18A, the drive control unit 150 perform a process so that the banknote faces in a specific direction through the action of the banknote reversing unit 15A, and transports the banknote facing in the specific direction through the third transport path 18C.
  • the drive control unit 150 sorts and stacks the banknote being transported through the third transport path 18C according to the banknote-kind thereof. If the banknote being transported is a 5 Euro banknote, the drive control unit 150 transports the banknote to the first stacker 16A and stacks it therein.
  • the drive control unit 150 transports the banknote to the second stacker 16B and stacks it therein.
  • the drive control unit 150 transports the banknote to the third stacker 16C and stacks it therein.
  • the drive control unit 150 transports the banknote to the fourth stacker 16D and stacks it therein.
  • the drive control unit 150 transports the banknote to the first bundling-side stacking unit 21A arranged in the first banknote bundling device 3A and stacks it therein.
  • the drive control unit 150 transports the banknote to the second bundling-side stacking unit 21B arranged in the first banknote bundling device 3A and stacks it therein.
  • the drive control unit 150 transports the banknote to the first bundling-side stacking unit 21A arranged in the second banknote bundling device 3B and stacks it therein.
  • the drive control unit 150 transports the banknote to the second bundling-side stacking unit 21B arranged in the second banknote bundling device 3B and stacks it therein.
  • the drive control unit 150 transports all the Euro banknotes except 500 Euro banknotes through the first transport path 18A, the second transport path 18B, and the third transport path 18C in that order to stack them in one of the stackers 16 or the bundling-side stacking units 21 arranged in the first banknote bundling device 3A or the second banknote bundling device 3B.
  • the drive control unit 150 draws out the one hundred bundling-object-banknotes through the action of the hand unit 41 in the transport unit 42, and transports the bundling-object-banknotes to the bundling unit 22 arranged in the first banknote bundling device 3A.
  • the control unit 170 switches the banknote-kind (stacking banknote) for the spare third bundling-side stacking unit 21C arranged in the first banknote bundling device 3A to 10 Euro fit note, and sets the banknote-kind (stacking banknote) for the first bundling-side stacking unit 21A, in which the banknotes can be stacked again, arranged in the first banknote bundling device 3A, to the spare.
  • the drive control unit 150 holds the one hundred banknotes drawn out from the first bundling-side stacking unit 21A arranged in the first banknote bundling device 3A through the action of the hand unit 41 arranged in the transport unit 42, and after the banknotes have been set and bundled with the bundling tape, transports the bundle of banknotes, by the hold and transport unit 27 arranged in the first banknote bundling device 3A, to the bundled-banknotes lifting unit 61 arranged in the first banknote bundling device 3A.
  • the bundled-banknotes lifting unit 61 arranged in the first banknote bundling device 3A transports the bundle of banknotes received from the hold and transport unit 27 to the push transport unit 62A on the upper part of the apparatus.
  • the push transport unit 62A arranged in the first banknote bundling device 3A transports the bundle of banknotes to the bundled-banknotes stacking unit 63A having the bundle dispensing outlet 23 located on the front side of the apparatus, and holds the bundle of banknotes at the position of the bundle dispensing outlet 23 located near the hopper unit 11. An operator can reach the bundle of banknotes at the bundle dispensing outlet 23.
  • the operator can collect the bundle of banknotes, for example, bundled fit notes of 10 Euros and 20 Euros to be reused within the bank, from the bundle dispensing outlet 23 located near the hopper unit 11 without having to move from the position for the hopper unit 11.
  • the drive control unit 150 draws out the one hundred bundling-object-banknotes through the action of the hand unit 41 arranged in the transport unit 42, and transports the bundling-object-banknotes to the bundling unit 22 arranged in the second banknote bundling device 3B.
  • the control unit 170 switches the banknote-kind (stacking banknote) for the spare third bundling-side stacking unit 21C arranged in the second banknote bundling device 3B to 10 Euro unfit note, and the banknote-kind (stacking banknote) for the first bundling-side stacking unit 21A, in which the banknotes can be stacked again, arranged in the second banknote bundling device 3B to the spare.
  • the drive control unit 150 holds the one hundred banknotes drawn out from the first bundling-side stacking unit 21A through the action of the hand unit 41 arranged in the transport unit 42, and after the banknotes have been set and bundled with the bundling tape, transports the bundle of banknotes, by the hold and transport unit 27 arranged in the second banknote bundling device 3B, to the bundled-banknotes lifting unit 61 arranged in the second banknote bundling device 3B.
  • the bundled-banknotes lifting unit 61 arranged in the second banknote bundling device 3B transports the bundle of banknotes received from the hold and transport unit 27 to the push transport unit 62A on the upper part of the apparatus.
  • the push transport unit 62A arranged in the second banknote bundling device 3B transports the bundle of banknotes to the bundled-banknotes stacking unit 63A having the bundle dispensing outlet 23 located on the front side of the apparatus, and holds the bundle of banknotes at the position of the bundle dispensing outlet 23. Consequently, the operator can collect the bundle of banknotes, for example, bundled unfit notes of 10 Euros and 20 Euros to be returned to central bank, from the bundle dispensing outlet 23 located near the hopper unit 11 without having to move from the hopper unit 11.
  • the drive control unit 150 draws out the one hundred bundling-object-banknotes through the action of the hand unit 41 arranged in the transport unit 42, and transports the bundling-object-banknotes to the bundling unit 22.
  • the control unit 170 switches the banknote-kind (stacking banknote) for the spare first bundling-side stacking unit 21A arranged in the second banknote bundling device 3B to 20 Euro unfit note, and the banknote-kind (stacking banknote) for the second bundling-side stacking unit 21B, in which the banknotes can be stacked, arranged in the second banknote bundling device 3B to the spare.
  • the drive control unit 150 When a transport error of the banknote being transported downstream of the first reject unit 17B is detected by the detection sensor 19, the drive control unit 150 subsequently transports the banknote to the second reject unit 20B that is located downstream of the first reject unit 17B.
  • the banknote can be removed from the second reject unit 20B without having to stop the operation.
  • connection of a plurality of the banknote bundling devices 3 has been enabled, and the drive control of the banknote transport unit 13 and the diverting unit 13A is performed so that the banknotes are sorted and stacked to the corresponding bundling-side stacking units 21 of each bundling unit 22 through the third transport path 18C. Consequently, a plurality of the banknote bundling devices 3 can be installed.
  • the bundle of banknotes bundled by the bundling unit 22 arranged in the banknote bundling device 3A is dispensed from the bundle dispensing outlet 23 arranged in the banknote bundling device 3A
  • the bundle of banknotes bundled by the bundling unit 22 arranged in the banknote bundling device 3B is dispensed from a bundle dispensing outlet 23A arranged in the banknote bundling device 3B that is located near the hopper unit 11. Consequently, the operator can as easily access the bundle dispensing outlet 23 in the banknote bundling device 3A as he/she can access the bundle dispensing outlet 23A in the banknote bund
  • the one hundred bundling-object-banknotes are transported by the pre-bundling transport unit 25 to the bundling unit 22 of the respective banknote bundling device 3, and once the bundling-object-banknotes are bundled by the bundling unit 22, the bundle of banknotes is transported to the bundle dispensing outlet 23 (23A) through the actions of the hold and transport unit 27, the bundled-banknotes lifting unit 61, the push transport unit 62A, and the bundled-banknotes stacking unit 63A of the respective banknote bundling device 3.
  • the banknote recognition unit 14 and the first reject unit 17 are provided on the first transport path 18A, and the second reject unit 20B is provided at the far end on the third transport path 18C inside the second banknote bundling device 3B.
  • the transport error of the banknote is detected downstream of the first reject unit 17B
  • the banknote that is downstream of the first reject unit 17B is transported to the second reject unit 20B. Consequently, even when the transport error of the banknote is detected downstream of the first reject unit 17B, the banknote can be removed from the second reject unit 20B, which is arranged at a far end of the third transport path 18C, without having to stop the operation.
  • the operation availability of the apparatus is improved.
  • two bundling-side stacking units 21 are provided for sorting and stacking the banknotes of different predetermined banknote-kinds, and one bundling-side stacking unit 21 for which no banknote-kind is set is provided as a spare stacking unit.
  • the banknote-kind currently set for this stacking unit is set for the spare bundling-side stacking unit 21, and the banknote-kind (stacking banknote) for this stacking unit, from which the one hundred banknotes are drawn out by the hand unit 41 of the transport unit 42 and in which the banknotes can be stacked again, is switched to the spare.
  • the bundling-object-banknotes stacked in one bundling-side stacking unit 21 can be subsequently stacked in the spare bundling-side stacking unit 21, in which no banknotes are stacked, without having to stop the stacking operation. Consequently, a situation, where when the number of the bundling-object-banknotes stacked in one bundling-side stacking unit 21 reaches one hundred, no free stacking unit is available for stacking the banknotes of the concerned banknote-kind, can be reliably avoided while keeping the number of the bundling-side stacking units 21 to the minimum (three) in each of the banknote bundling devices 3 (3A and 3B). In addition, the operation availability of the apparatus is improved.
  • control unit 170 and the drive control unit 150 are provided inside the banknote sorting and bundling apparatus 1, they can be provided either inside the banknote processing device 2 or the banknote bundling device 3 arranged in the banknote sorting and bundling apparatus 1.
  • the denomination kind (stacking banknotes) for the first reject unit 17A can be set to 2 US dollar, 1 US dollar can be set for the first stacker 16A, 5 US dollar can be set for the second stacker 16B, 50 US dollar can be set for the third stacker 16C, 100 US dollar can be set for the fourth stacker 16D, 10 US dollar can be set for the first bundling-side stacking unit 21A, 20 US dollar can be set for the second bundling-side stacking unit 21B, and the third bundling-side stacking unit 21C can be set as a spare.
  • the constituent elements of the apparatus illustrated are merely conceptual and may not necessarily physically resemble the structures shown in the drawings.
  • the apparatus need not necessarily have the structure that is illustrated.
  • the apparatus as a whole or in parts can be broken down or integrated either functionally or physically in accordance with the load or how the device is to be used.
  • Each processing function performed by the apparatus can be entirely or partially performed by a CPU (Central Processing Unit) (or a micro computer such as an MPU (Micro Processing Unit) and an MCU (Micro Controller Unit)), or a computer program executed by the CPU (or the micro computer such as the MPU and the MCU), or a hardware using wired logic.
  • a CPU Central Processing Unit
  • MPU Micro Processing Unit
  • MCU Micro Controller Unit
  • the banknote sorting and bundling apparatus according to the present invention can be used in the financial institutions, etc., because, compared with the conventional technology, in the present invention, a layout is realized by which the bundle dispensing outlet can be accessed by an operator at the position for the input port while greatly decreasing the cost and the installation space of the whole apparatus, and the work efficiency of the operator is significantly improved because the operator can access the bundle dispensing outlet without having to move from the position for the input port.

Landscapes

  • Physics & Mathematics (AREA)
  • General Physics & Mathematics (AREA)
  • Basic Packing Technique (AREA)

Abstract

A banknote sorting and bundling apparatus (1) includes a banknote processing device (2) including a stacker (16), and a banknote bundling device (3) including a bundling unit (22) and a bundling-side stacking unit (21). The apparatus (1) further includes a banknote transport unit (13) that transports a banknote deposited in a hopper unit (11) through a banknote transport path (18) including a first transport path (18A), a second transport path (18B), and a third transport path (18C), a diverting unit (13A) for diverting the banknote being transported through the banknote transport path (18) to the stacker (16) or the bundling-side stacking unit (21), and a post-bundling transport unit (26) for dispensing a bundle of banknotes bundled by the bundling unit (22) to a bundle dispensing outlet (23) provided near the hopper unit (11). When one hundred bundling-object-banknotes stacked in the bundling-side stacking unit (21) have been bundled, the post-bundling transport unit 26 dispenses the bundle to the banknote dispensing outlet (23) provided near the hopper unit (11). Consequently, work efficiency of an operator is improved.

Description

    TECHNICAL FIELD
  • The present invention relates to a banknote sorting and bundling apparatus that has a banknote sorting and stacking function for sorting and stacking banknotes, deposited in continuous deposit transactions, by denomination, and a banknote bundling function for bundling banknotes of a specific denomination into bundles of a predetermined number of banknotes.
  • BACKGROUND ART
  • Conventionally, banknote sorting and bundling apparatuses that have a sorting and stacking function for sorting and stacking banknotes, deposited in continuous deposit transactions, by denomination, and a banknote bundling function for bundling banknotes of a specific denomination into bundles of a predetermined number of banknotes are in widespread use.
  • A conventional banknote sorting and bundling apparatus known to the inventor (for example, see Patent Documents 1 to 4) includes a plurality of stackers for sorting and stacking the banknotes by denomination, a bundling-side stacking unit for sorting and stacking bundling-object-banknotes by specific denomination, and a bundling unit for bundling the bundling-object-banknotes when a predetermined number of banknotes are stacked in the bundling-side stacking unit. A bundle of banknotes bundled by the bundling unit is dispensed from a bundle dispensing outlet.
  • A banknote sorting and bundling apparatus disclosed in Patent Document 1 includes four stackers and one bundling-side stacking unit; a banknote sorting and bundling apparatus disclosed in Patent Document 2 includes six stackers and one bundling-side stacking unit; and a banknote sorting and bundling apparatus disclosed in Patent Document 3 includes six stackers and two bundling-side stacking units.
  • In the banknote sorting and bundling apparatuses disclosed in Patent Documents 1 to 3, the bundle dispensing outlet, from where the bundle of banknotes bundled by the bundling unit is dispensed, is located at a position distantly from a hopper unit where banknotes of mixed denominations are deposited.
  • In the conventional banknote sorting and bundling apparatuses mentioned above, because the hopper unit where the banknotes are deposited and the bundle dispensing outlet from where the bundle of banknotes bundled by the bundling unit is dispensed are located distantly from each other, work efficiency of an operator is low.
  • From this viewpoint, in a banknote sorting and bundling apparatus disclosed in Patent Document 4, a layout is proposed to improve the work efficiency of the operator by interconnecting a plurality of units so that the system overall has a U shape configuration and the hopper unit and the bundle dispensing outlet are located closer to each other.
  • DISCLOSURE OF INVENTION PROBLEM TO BE SOLVED BY THE INVENTION
  • However, in the conventional banknote sorting and bundling apparatus mentioned above, many structures are required to be added to arrange the hopper unit and the bundle dispensing outlet closer to each other, leading to increased cost of the whole apparatus. In addition, more installation space is required to accommodate the apparatus due to the larger size of the apparatus.
  • The present invention is made in view of the above discussion and it is an object of the present invention to provide a banknote sorting and bundling apparatus that significantly improves the work efficiency of the operator while greatly suppressing an increase in a cost and an installation space of the whole apparatus.
  • MEANS FOR SOLVING THE PROBLEM
  • To achieve the above objects, a banknote sorting and bundling apparatus according to an aspect of the present invention includes a sorting and stacking unit in which a banknote deposited in an input port is sorted and stacked; a bundling-side stacking unit in which a predetermined banknote is sorted and stacked as bundling-object-banknotes; a bundling unit that bundles the bundling-object-banknotes stacked in the bundling-side stacking unit; a banknote transport unit that transports the banknote deposited in the input port through a banknote transport path that includes a first transport path that is connected to the input port and that passes above the sorting and stacking unit, a second transport path that is connected to the first transport path and that bends back in an arrangement direction of the sorting and stacking unit, and a third transport path that is connected to the second transport path and that connects the sorting and stacking unit and the bundling-side stacking unit; a diverting unit that diverts the banknote being transported through the banknote transport path to at least the sorting or stacking unit and the bundling-side stacking unit; a bundle transport unit that dispenses a bundle of banknotes bundled by the bundling unit to a bundle dispensing outlet arranged near the input port; and a drive control unit that drive controls the banknote transport unit, the diverting unit, and the bundle transport unit.
  • A banknote sorting and bundling apparatus according to another aspect of the present invention includes, in the structure according to the above aspect, a banknote recognition unit that recognizes a kind of the banknote being transported on the first transport path; a first reject unit arranged on the first transport path; and a second reject unit arranged at a far end of the third transport path. Upon detecting a first specific banknote on the first transport path, the drive control unit controls the banknote transport unit and the diverting unit so that the first specific banknote is transported to the first reject unit. Upon detecting a second specific banknote on the second transport path or the third transport path, the drive control unit controls the banknote transport unit and the diverting unit so that the second specific banknote is transported to the second reject unit.
  • A banknote sorting and bundling apparatus according to another aspect of the present invention includes, in the structure according to the above aspect, a face reversing unit that is arranged on the second transport path and that reverses the banknote being transported so that a specific face, either a front face or a back face, of the banknote faces up.
  • A banknote sorting and bundling apparatus according to another aspect of the present invention includes, in the structure according to the above aspect, an arrangement connecting a plurality of banknote bundling devices can be achieved. Each of the banknote bundling devices includes the bundling unit, the bundling-side stacking unit, and the bundle transport unit. The drive control unit controls the banknote transport unit and the diverting unit so that the banknotes are sorted and stacked in the bundling-side stacking unit, corresponding to the banknote, of the banknote bundling devices through the third transport path.
  • In a banknote sorting and bundling apparatus according to another aspect of the present invention, in the structure according to the above aspect, the bundling unit is arranged below the bundling-side stacking unit.
    The banknote sorting and bundling apparatus further includes a pre-bundling transport unit that transports a predetermined number of the bundling-object-banknotes stacked in the bundling-side stacking unit to the bundling unit. When the number of the bundling-object-banknotes stacked in the bundling-side stacking unit reaches the predetermined number, the drive control unit controls the pre-bundling transport unit so that the predetermined number of the bundling-object-banknotes stacked in the bundling-side stacking unit is transported to the bundling unit.
  • A banknote sorting and bundling apparatus according to another aspect of the present invention includes, in the structure according to the above aspect, a banknote recognition unit that recognizes a kind of the banknote being transported on the first transport path; a first reject unit arranged on the first transport path; a second reject unit that is arranged at a far end of the third transport path; and an error detecting unit that detects a transportation error of the banknote downstream of the first reject unit. When the transportation error of the banknote is detected by the error detecting unit, the drive control unit drive controls the banknote transport unit and the diverting unit so that the banknote that is on the second transport path and the third transport path is transported to the second reject unit.
  • In a banknote sorting and bundling apparatus according to another aspect of the present invention, in the structure according to the above aspect, the bundling-side stacking unit includes two operational bundling-side stacking units for each of which a kind of stacking banknote is set in advance and one spare bundling-side stacking unit for which no kind of stacking banknote is set. The drive control unit controls the banknote transport unit and the diverting unit so that when the number of the bundling-object-banknotes stacked in one operational bundling-side stacking unit reaches a predetermined number, the banknote-kind, that was set for the bundling-side stacking unit in which the number of the bundling-object-banknotes has reached the predetermined number, is set as the stacking banknote-kind of the spare bundling-side stacking unit, and the operational bundling-side stacking unit in which the number of bundling-object-banknotes has reached the predetermined number is set as a spare bundling-side stacking unit, and the banknotes of the banknote-kind that has reached the predetermined number are subsequently stacked in the bundling-side stacking unit for which the banknote-kind is set.
  • A banknote sorting and bundling apparatus according to another aspect of the present invention includes, in the structure according to the above aspect, four sorting and stacking units, three bundling-side stacking units, and one bundling unit.
  • ADVANTAGES OF THE INVENTION
  • According to an aspect of the present invention,, a banknote sorting and bundling apparatus includes a banknote transport path that includes a first transport path that is connected to an input port and that passes above a sorting and stacking unit, a second transport path that is connected to the first transport path and that bends back in an arrangement direction of the sorting and stacking unit, and a third transport path that is connected to the second transport path and that connects the sorting and stacking unit and a bundling-side stacking unit. A bundle transport unit dispenses a bundle of banknotes bundled by a bundling unit to a bundle dispensing outlet arranged near the input port. Consequently, compared with the conventional technology, a layout is realized by which so that the hopper unit is located centrally and the bundle dispensing outlet can be accessed by an operator at the position for the hopper unit without having to move from the position while greatly suppressing an increase in a cost and an installation space of the whole apparatus. Thus, because an operator can access the bundle dispensing outlet without having to move from the position for the input port, work efficiency of the operator is significantly improved.
  • According to another aspect of the present invention, in the banknote sorting and bundling apparatus, a banknote recognition unit and a first reject unit are arranged on the first transport path, and a second reject unit is arranged at a far end of the third transport path. Consequently, there is an advantage in addition to the above advantage in that, when a first specific banknote is detected on the first transport path, the first specific banknote is transported to the first reject unit, and when a second specific banknote is detected on the second transport path or the third transport path, the second specific banknote is transported to the second reject unit.
  • According to another aspect of the present invention, in the banknote sorting and bundling apparatus according to the present invention, a face reversing unit that reverses the banknote being transported so that a specific face, that is a front face or a back face, faces up, is arranged on the second transport path. Consequently, there is an advantage in addition to the above advantages in that the banknotes are transported in a state all the banknotes face in the same specific direction.
  • According to another aspect of the present invention, in the banknote sorting and bundling apparatus, connecting a plurality of banknote bundling devices, each of the banknote bundling device including the bundling unit, the bundling-side stacking unit, and the bundle transport unit, is enabled, and a drive control of a banknote transport unit and a diverting unit is performed so that the banknotes are sorted and stacked in each of the bundling-side stacking unit, corresponding to the banknote, of the banknote bundling devices through the third transport path. Consequently, there is an advantage in addition to the above advantages in that a plurality of the banknote bundling devices can be additionally provided.
  • According to another aspect of the present invention, in the banknote sorting and bundling apparatus, there is an advantage in addition to the above advantages in that, when the number of the bundling-object-banknotes stacked in the bundling-side stacking unit reaches a predetermined number, the bundling-object-banknotes are transported to the bundling unit by a pre-bundling transport unit, and after the bundling-object-banknotes are bundled by the bundling unit, the bundle of banknotes is transported to the bundle dispensing outlet by the bundle transport unit.
  • According to another aspect of the present invention, in the banknote sorting and bundling apparatus according to the present invention, the banknote recognition unit and the first reject unit are arranged on the first transport path, and the second reject unit is arranged at the far end of the third transport path. When a transport error of the banknote is detected downstream of the first reject unit, the banknote on the second transport path or the third transport path is transported to the second reject unit. Consequently, there is an advantage in addition to the above advantages in that, even if the transport error of the banknote is detected on the second transport path or the third transport path, the banknote can be removed from the second reject unit arranged at the far end of the third transport path without having to stop the operation. Thus, the operation availability of the apparatus is improved.
  • According to another aspect of the present invention, in the banknote sorting and bundling apparatus, the bundling-side stacking unit includes two operational bundling-side stacking units for each of which a stacking banknote-kind is set and one spare bundling-side stacking unit for which no stacking banknote-kind is set. When the number of the bundling-object-banknotes stacked in one operational bundling-side stacking unit reaches a predetermined number, a banknote-kind that was set for the bundling-side stacking unit in which the number of the bundling-object-banknotes has reached the predetermined number is set as the stacking banknote-kind for the spare bundling-side stacking unit, and the operational bundling-side stacking unit in which the number of the bundling-object-banknotes has reached the predetermined number is set as a spare bundling-side stacking unit. Consequently, there is an advantage in addition to the above advantages in that the banknote of the banknote-kind that has reached the predetermined number is subsequently stacked in the bundling-side stacking unit to which the banknote-kind is set without having to stop the stacking operation. Consequently, a situation, where when the number of the bundling-object-banknotes stacked in one bundling-side stacking unit reaches the predetermined number, no free stacking unit is available for stacking the subsequent banknotes of the concerned banknote-kind, can be reliably avoided while keeping the number of the bundling-side stacking units to the minimum (three) in the banknote bundling device. In addition, operation availability of the apparatus is improved.
  • According to another aspect of the present invention, in addition to the above advantages, the banknote sorting and bundling apparatus can be adapted to a system with four sorting and stacking units, three bundling-side stacking units, and one bundling unit.
  • BRIEF DESCRIPTION OF DRAWINGS
    • FIG. 1 is a perspective view for clearly showing an outer appearance of a banknote sorting and bundling apparatus according to a first embodiment of the present invention.
    • FIG. 2 is a schematic drawing of an internal structure of the banknote sorting and bundling apparatus.
    • FIG. 3 is a drawing for clearly explaining a reversing process performed by a banknote reversing unit.
    • FIG. 4 is a schematic perspective view of a structure of a bundling-side stacking unit.
    • FIG. 5 is a plan view of the bundling-side stacking unit with a portion thereof omitted.
    • FIG. 6 is a schematic block diagram of an internal structure of the banknote sorting and bundling apparatus.
    • FIGS. 7A to 7C are drawings for clearly explaining action transitions of a dimension adjusting mechanism of the bundling-side stacking unit.
    • FIGS. 8A to 8D are drawings for clearly explaining action transitions of a pre-bundling transport unit.
    • FIGS. 9A to 9K are drawings for clearly explaining action transitions of a dispensing transport unit of a post-bundling transport unit.
    • FIG. 10 is a drawing for clearly explaining a workability of an operator of the banknote sorting and bundling apparatus.
    • FIG. 11 is a schematic drawing of an internal structure of a banknote sorting and bundling apparatus according to a second embodiment of the present invention.
    • FIG. 12 is a drawing for clearly explaining reversing processes performed by a short-edge reversing unit and a long-edge reversing unit.
    EXPLANATIONS OF LETTERS OR NUMERALS
  • 1:
    Banknote sorting and bundling apparatus
    1A:
    Banknote sorting and bundling apparatus
    2:
    Banknote processing device
    3:
    Banknote bundling device
    11:
    Hopper unit
    13:
    Banknote transport unit
    15:
    Banknote reversing unit
    15B:
    Short-edge reversing unit
    15C:
    Long-edge reversing unit
    16:
    Stacker
    17:
    First reject unit
    18:
    Banknote transport path
    18A:
    First transport path
    18B:
    Second transport path
    18C:
    Third transport path
    20:
    Second reject unit
    20B:
    Second reject unit
    21:
    Bundling-side stacking unit
    22:
    Bundling unit
    23:
    Bundle dispensing outlet
    25:
    Pre-bundling transport unit
    26:
    Post-bundling transport unit
    150:
    Drive control unit
    BEST MODE(S) FOR CARRYING OUT THE INVENTION
  • Exemplary embodiments of a banknote sorting and bundling apparatus according to the present invention are explained below in detail with reference to the accompanying drawings.
  • An overview of an embodiment according to the present invention is explained first. The banknote sorting and bundling apparatus includes stackers for sorting and stacking banknotes deposited from a hopper unit, a bundling-side stacking unit for sorting and stacking predetermined banknotes as bundling-object-banknotes, and a bundling unit for bundling one hundred bundling-object-banknotes that are stacked in the bundling-side stacking unit. The banknote sorting and bundling apparatus further includes a banknote transport unit that transports banknotes deposited into an input port to a banknote transport path. The transport path includes a first transport path that is connected to the hopper unit and that passes above the stackers, a second transport path that is connected to the first transport path and that bends back in an arrangement direction of the stackers, and a third transport path that is connected to the second transport path, the stackers and the bundling-side stacking unit. The banknote sorting and bundling apparatus further includes a diverting unit that diverts the banknote transported through the banknote transport path to at least the stackers or the bundling-side stacking unit, a post-bundling transport unit that dispenses a bundle of banknotes bundled by the bundling unit to the bundle dispensing outlet located near the hopper unit, and a drive control unit that controls the banknote transport unit, the diverting unit, and the post-bundling transport unit.
  • When one hundred bundling-object-banknotes stacked in the bundling-side stacking unit are bundled, the banknote sorting and bundling apparatus dispenses the bundle of banknotes from the bundle dispensing outlet located near the hopper unit.
  • Consequently, in the present embodiment, while greatly reducing a cost and an installation space of the whole apparatus compared with the conventional technology, a layout is realized so that the hopper unit is located centrally and the bundle dispensing outlet can be accessed by an operator at the position for the hopper unit without having to move from the position. Thus, work efficiency of the operator is significantly improved.
  • [First embodiment]
  • FIG. 1 is a perspective view for clearly showing an appearance of a banknote sorting and bundling apparatus according to a first embodiment of the present invention. FIG. 2 is a schematic drawing of an internal structure of the banknote sorting and bundling apparatus.
  • A banknote sorting and bundling apparatus 1 includes a banknote processing device 2, a banknote bundling device 3, and a display device 4. The banknote processing device 2 accepts continuous deposits of banknotes in transaction as well, sorts and stacks the deposited banknotes by banknote-kind, and counts the deposited number of banknotes by banknote-kind. The banknote bundling device 3 bundles a predetermined number of banknotes, for example, every one hundred banknotes, of a specific denomination sorted by the banknote processing device 2, and the display device 4 displays various information such as a count result.
  • The banknote processing device 2 includes a hopper unit 11 for depositing banknotes in transaction into the apparatus, a feeding unit 12 that feeds the banknotes, one by one, deposited in the hopper unit 11, a banknote transport unit 13, such as a transport belt, that transports the banknotes fed by the feeding unit 12, a banknote recognition unit 14 that recognizes the kind of the banknote transported by the banknote transport unit 13, and a banknote reversing unit 15 that reverses the banknote transported by the banknote transport unit 13 based on face/back information obtained from the banknote recognition unit 14 so that all the banknotes face in the same direction, either face-up or face-down.
  • The banknote processing device 2 further includes four stackers 16 for sorting and stacking the banknotes transported by the banknote transport unit 13 according to kind of the banknote, and two first reject units 17 for rejecting the banknotes that are not the banknote-kind corresponding to the stackers 16 and the banknote bundling device 3. A stacking wheel 16E (17C) that stacks the banknote that is being transported, one at a time, at a predetermined position in a banknote stacking space, is arranged in each of the stackers 16 and the first reject units 17.
  • The four stackers 16 for sorting and stacking the transported banknotes based on kind of banknote are a first stacker 16A, a second stacker 16B, a third stacker 16C, and a fourth stacker 16D. The term banknote-kind refers to, if Euro is taken as an example, the seven denominations of Euro, namely, 5 Euro banknote, 10 Euro banknote, 20 Euro banknote, 50 Euro banknote, 100 Euro banknote, 200 Euro banknote, and 500 Euro banknote, as well as authentication, fitness, and face/back, etc. for each denomination.
  • The banknote bundling device 3 includes the banknote transport unit 13 that transports the banknote of the specific denomination from a banknote transport path 18 (a third transport path 18C explained later) inside the banknote processing device 2 into the banknote bundling device 3, three bundling-side stacking units 21 that are arranged at three levels in a vertical direction inside the banknote bundling device 3 for sorting and stacking the transported banknotes of the specific denomination, and a bundling unit 22 that is arranged below the three bundling-side stacking units 21 for bundling the bundling-object-banknotes sorted and stacked in the bundling-side stacking unit 21 when the number of bundling-object-banknotes reaches a predetermined number, for example, one hundred.
  • The banknote bundling device 3 further includes a bundle dispensing outlet 23 that is located near the hopper unit 11 and that dispenses the banknotes bundled by the bundling unit 22, that is the bundle of banknotes, so that the operator can collect them, and a loose-banknotes returning outlet 24 that is located near the bundling-side stacking unit 21 and that dispenses loose banknotes stacked in the bundling-side stacking unit 21 at the end of a transaction so that the operator can collect them.
  • The banknote bundling device 3 further includes a pre-bundling transport unit 25 that transports the bundling-object-banknotes stacked in the bundling-side stacking unit 21 to the bundling unit 22 or the loose-banknotes returning outlet 24, and a post-bundling transport unit 26 that transports the bundle of banknotes bundled by the bundling unit 22 to the bundle dispensing outlet 23.
  • The pre-bundling transport unit 25 holds one hundred bundling-object-banknotes from among the bundling-object-banknotes stacked in the bundling-side stacking units 21, and transports the one hundred bundling-object-banknotes to the bundling unit 22, and in addition, at the end of the transaction, holds the loose banknotes whose number does not reach one hundred among the bundling-object-banknotes stacked in the bundling-side stacking units 21 and transports the loose banknotes to the loose-banknotes returning outlet 24.
  • The post-bundling transport unit 26 includes a hold and transport unit 27 that holds and transports the bundle of banknotes bundled by the bundling unit 22, and a dispensing transport unit 28 that transports the bundle of banknotes held and transported by the hold and transport unit 27 to the bundle dispensing outlet 23.
  • The dispensing transport unit 28 includes a bundled-banknotes lifting unit 61 that transports the bundle of banknotes held and transported by the hold and transport unit 27 to an upper part of the banknote bundling device 3, a pushing mechanism 62 that pushes the bundle of banknotes transported to the upper part of the banknote bundling device 3 by the bundled-banknotes lifting unit 61 towards the bundle dispensing outlet 23 (towards a front side of the apparatus), and a dispense/hold mechanism 63 that receives the bundle of banknotes pushed to the front side of the apparatus by the pushing mechanism 62 and holds the bundle of banknotes at the position of the bundle dispensing outlet 23 for dispensing the bundle of banknotes.
  • The banknote sorting and bundling apparatus 1 further includes the banknote transport path 18 that includes a first transport path 18A that is connected to the hopper unit 11 and that is arranged above the stackers 16, a second transport path 18B that is connected to the first transport path 18A and that bends back in an arrangement direction of the stackers 16, and the third transport path 18C that is connected to the second transport path 18B, the stackers 16, and the bundling-side stacking unit 21. The banknote recognition unit 14 is arranged on the first transport path 18A and the banknote reversing unit 15 is arranged on the second transport path 18B. The second transport path 18B is configured as a removable unit that connects the first transport path 18A and the third transport path 18C of the banknote sorting and bundling apparatus 1.
  • On the banknote transport path 18, a detection sensors 19 for detecting approaches or passes of banknotes at each branching point, merging point, and linkage point between the devices are arranged at each of the above-mentioned points on the banknote transport path 18.
  • A second reject unit 20 is arranged at the end of the third transport path 18C. A banknote aligner wheel 20A that stacks the transported banknote, one at a time, at a predetermined position in a banknote stacking space is arranged in the second reject unit 20.
  • A diverting unit 13A is arranged at each of the branching points on the banknote transport path 18. The diverting unit 13A diverts the banknote transported through the banknote transport path 18 to the stackers 16, the bundling-side stacking unit 21, the first reject units 17 or the second reject unit 20. The diverting unit 13A is driven by a not shown solenoid when the detection sensor 19 detects an approach of a leading edge of the banknote, and performs the diverting of the banknote.
  • The banknote reversing unit 15 diverts the banknote, based on the face/back information obtained from the banknote recognition unit 14, into a reversing route or a non-reversing route by the diverting unit 13A that is arranged upstream of the banknote reversing unit 15 so that all the banknotes are transported through the third transport path 18C with faces in the same direction, either face-up or face-down. The reversing route includes a reversing member 15A that has a curved surface and that extends along a transport direction of the banknote, a not shown transport belt that is winded obliquely relative to a longitudinal direction of the reversing member 15A with a part of the transport belt running along the curved surface of the reversing member 15A, a not shown driving motor that drives the transport belt, and a not shown guide unit guiding the banknote while the banknote is transported, in the longitudinal direction of the reversing member 15A, in the state of being wrapped around the curved surface of the reversing member 15A and is held between the transport belt and the reversing member 15A (see Japanese Patent No. 4119664 ).
  • In the banknote reversing unit 15, when the transport belt is being driven by the driving motor, the banknote moves in the transport direction as the transport belt moves while the banknote is being held between the transport belt and the reversing member 15A. Because the transport belt is winded obliquely relative to the longitudinal direction of the reversing member 15A, the banknote is transported in the state of being wrapped around the curved surface and is reversed during the transport. During the reversing of the banknote, the guide unit ensures that the banknote is reversed properly by restricting a movement of the banknote and guiding so that the banknote is slid on the surface of the guide unit.
  • FIG. 3 is a drawing for clearly explaining a reversing process performed by the banknote reversing unit 15.
  • When transporting the banknote that is in a state A, shown in FIG. 3, to the third transport path 18C, the banknote reversing unit 15 transports the banknote in the unaltered state A via the non-reversing route, without performing the reversing process.
  • However, when transporting the banknote that is in a state B, shown in FIG. 3, to the third transport path 18C, the banknote reversing unit 15 transports the banknote via the reversing route and performs the reversing process to reverse the banknote so that the banknote is in the state A, and then transports the banknote to the third transport path 18C.
  • FIG. 4 is a schematic perspective view of a structure of the bundling-side stacking unit 21. FIG. 5 is a plan view of the bundling-side stacking unit 21 with a portion thereof omitted.
  • The bundling-side stacking unit 21 includes a stage member 32, banknote aligner wheels 33, approach detecting sensors 34, and a dimension adjusting mechanism 35. The stage member 32 on which the banknotes are stacked is arranged in a stacking space 31 formed by left side and right side walls 31A and a back side wall 31B, and can be moved up and down. The banknote aligner wheels 33 stack the banknote that is transported in the stacking space 31, and adjust a position of the stacked banknotes. The approach detecting sensors 34 detect an approach of the banknote being transported into the stacking space 31. The dimension adjusting mechanism 35 adjusts the stacking space 31 according to dimensions that is set for a banknote to be stacked in the bundling-side stacking unit 21. To maintain a constant position of the banknote stacked topmost, in the height direction of the stacked banknotes, the stage member 32 is gradually lowered as the banknotes are stacked.
  • The dimension adjusting mechanism 35 includes a banknote aligning mechanism 36 and a short-edge dimension adjusting mechanism 37 (not shown). The banknote aligning mechanism 36 adjusts a position of the bundling-object-banknotes stacked in the stacking space 31 in a longitudinal direction according to the dimensions set for the banknote to be stacked therein. The short-edge dimension adjusting mechanism 37 adjusts a short-edge dimension of the stacking space 31 according to the dimensions set for the banknote to be stacked therein.
  • The banknote aligning mechanism 36 includes left and right arm units 36A that are swingably arranged at the end portion of each of the left side and right side walls 31A and swing toward a direction Y inside the stacking space 31, and stepping motors 36B that swing the left and right arm units 36A to the set positions according to the set banknote. The banknote aligning mechanism 36 adjusts the position of the stacked banknotes in the longitudinal direction by tapping the side edges of the stacked banknotes stacked on the stage member 32 in the stacking space 31 with free ends of the left and right arm units 36A that have been swung to the set swing position according to the set banknote.
  • The short-edge dimension adjusting mechanism 37 enables movement of the back side wall 31B of the stacking space 31 in front-back direction X of banknote transportation, and adjusts the short-edge dimension of the stacking space 31 according to the short-edge dimension set for the banknote to be stacked in the stacking space 31.
  • Three openings 31C are provided into the back side wall 31B to allow a hand unit 41 (see FIG. 2) of the pre-bundling transport unit 25 to advance into the stacking space 31 and hold the bundling-object-banknotes stacked in the stacking space 31. A shutter mechanism that can be opened and closed is provided below the back side wall 31B to allow the hand unit 41 to pull out the bundling-object-banknotes from the stacking space 31.
  • As shown in FIG. 2, the pre-bundling transport unit 25 includes a transport unit 42 that has the hand unit 41 that holds a banknote bundle stacked in the bundling-side stacking unit 21, a horizontal movement mechanism 43 that moves the transport unit 42 forward and backward (horizontal direction), and a vertical movement mechanism 44 that moves the transport unit 42 upward and downward (vertical direction).
  • The vertical movement mechanism 44 includes a guiding shaft 44A that is vertically placed and that extends from a bottom end to a top end of the banknote bundling device 3, and a driving belt 44B that raises and lowers the transport unit 42 along the guiding shaft 44A.
  • The transport unit 42 arranged in the pre-bundling transport unit 25 includes the hand unit 41 that can be moved forward and backward by a driving belt 43A arranged in the horizontal movement mechanism 43. The hand unit 41 includes an upper hand 41A with three holding pawls and a lower hand 41B with three holding pawls facing each other and holds the bundling-object-banknotes stacked in the bundling-side stacking unit 21 with the opposing sets of holding pawls. The lower hand 41B is fixed whereas the upper hand 41A is movable up and down by a driving belt 41C.
  • The transport unit 42 holds the bundling-object-banknotes with the opposing holding pawls of the upper hand 41A and the lower hand 41B, and transports the bundling-object-banknotes to the bundling unit 22 or to the loose-banknotes returning outlet 24.
  • When one hundred bundling-object-banknotes are transported to the bundling unit 22 by the transport unit 42 of the pre-bundling transport unit 25, the bundling unit 22 holds the bundling-object-banknotes with the hold and transport unit 27 of the post-bundling transport unit 26 and binds the one hundred bundling-object-banknotes with a bundling tape to bundle the bundling-object-banknotes.
  • The bundling unit 22, that makes the bundle of banknotes by bundling the bundling-object-banknotes with the bundling tape, includes a bundling tape reel 51 on which the bundling tape is winded, a bundling tape stopper 52 that stops a leading edge of the bundling tape being drawn from the bundling tape reel 51 at a predetermined position on the bundling-object-banknotes held by the hold and transport unit 27, a swinging arm 53 that draws the bundling tape of which the leading edge has been stopped at the predetermined position on the bundling-object-banknotes and wraps the bundling tape around the bundling-object-banknotes at a predetermined bundling position, a cutter 54 that cuts the other end of the bundling tape after the bundling-object-banknotes have been wrapped at the predetermined bundling position, and a heater 55 that thermally bonds the other end of the bundling tape cut by the cutter 54 .
  • The hold and transport unit 27 holds and transports the bundle of banknotes to the bundled-banknotes lifting unit 61 arranged in the dispensing transport unit 28.
  • The bundled-banknotes lifting unit 61 transports the bundle of banknotes held and transported by the hold and transport unit 27 toward the pushing mechanism 62 in the upper part of the banknote bundling device 3.
  • The pushing mechanism 62 pushes and transports the bundle of banknotes to the dispense/hold mechanism 63 in a direction of the bundle dispensing outlet 23 (towards the front side of the apparatus) by pushing the bundle of banknotes transported to the upper part of the banknote bundling device 3 by the bundled-banknotes lifting unit 61.
  • The dispense/hold mechanism 63 includes a bundled-banknotes stacking unit 63A in which the bundle of banknotes, that is pushed and transported by the pushing mechanism 62, is stacked, and a bundled banknotes stage 63B for placing the bundle of banknotes stacked in the bundled-banknotes stacking unit 63A. The dispense/hold mechanism 63 adjusts a height of the bundled banknotes stage 63B so that the bundle of banknotes pushed by the pushing mechanism 62 comes to rest on the topmost bundle of banknotes resting on the bundled banknotes stage 63B.
  • FIG. 6 is a schematic block diagram of internal structure of the banknote sorting and bundling apparatus 1.
  • The banknote sorting and bundling apparatus 1 includes, apart from the banknote recognition unit 14, a stacker-side mechanism 110 arranged inside the banknote processing device 2, a bundling-side mechanism 120 arranged inside the banknote bundling device 3, an operation unit 130 for inputting various commands, a display control unit 140 that performs a display control of the display device 4, a drive control unit 150 that performs a drive control of the stacker-side mechanism 110 and the bundling-side mechanism 120, a dimension-adjustment drive control unit 160 that performs an adjustment control of the dimension adjusting mechanism 35 arranged inside the bundling-side mechanism 120, and a control unit 170 that performs an overall control of the banknote sorting and bundling apparatus 1.
  • The stacker-side mechanism 110 includes the feeding unit 12, the banknote transport unit 13, the banknote reversing unit 15, the stacking wheel 16E (17C), the detection sensors 19 arranged in the banknote processing device 2, and the diverting unit 13A.
  • The bundling-side mechanism 120 includes the detection sensors 19 arranged in the banknote bundling device 3, the banknote transport unit 13, the diverting unit 13A, the bundling unit 22, the pre-bundling transport unit 25, the post-bundling transport unit 26, the dimension adjusting mechanism 35, and the banknote aligner wheels 33. The post-bundling transport unit 26 includes the hold and transport unit 27 and the dispensing transport unit 28.
    The dimension adjusting mechanism 35 includes the banknote aligning mechanism 36 and the short-edge dimension adjusting mechanism 37.
  • The control unit 170 sets the banknote-kind to be stacked (stacking banknote) in each of the stackers 16, the first reject units 17, the second reject unit 20, and the bundling-side stacking units 21. For example, the control unit 170 sets 5 Euro banknote for the first stacker 16A, 50 Euro banknote for the second stacker 16B, 100 Euro banknote for the third stacker 16C, 200 Euro banknote for the fourth stacker 16D, 500 Euro banknote for a first reject unit 17A, and further sets, as initial settings, 10 Euro banknote for a first bundling- side stacking unit 21A, 20 Euro banknote for a second bundling-side stacking unit 21B, and a spare for a third bundling-side stacking unit 21C. The first reject unit 17A can be used as a stacker for stacking rare kinds of banknotes such as 500 Euro banknotes.
  • The control unit 170 also identifies errors such as jamming of the banknotes on the transport path, based on a detection result of the detection sensors 19.
  • Upon receiving the banknote-kind of the transported banknote recognized by the banknote recognition unit 14, if the banknote being transported through the banknote transport path 18 is of the banknote-kind (stacking banknote) set for any one of the stackers 16 or the bundling-side stacking unit 21, the drive control unit 150 performs the drive control of the banknote transport unit 13 and the diverting unit 13A so that the banknote being transported is sorted and stacked in the stacker 16 or the bundling-side stacking unit 21 corresponding to the banknote-kind.
  • If the banknote being transported through the banknote transport path 18 is not of the banknote-kind set for any one of the stackers 16 and the bundling-side stacking unit 21, or the banknote cannot be recognized due to transport error, etc., the drive control unit 150 performs the drive control of the banknote transport unit 13 and the diverting unit 13A so that the banknote is transported to the first reject unit 17.
  • If the banknote being transported through the banknote transport path 18 is of the banknote-kind (stacking banknote) that is set for the bundling-side stacking unit 21, the drive control unit 150 performs the drive control of the banknote transport unit 13 and the diverting unit 13A so that the transported banknote is sorted and stacked in the bundling-side stacking unit 21.
  • For example, if the banknote-kind (stacking banknote) set for the first bundling-side stacking unit 21A is 10 Euro banknote, the banknote-kind set for the second bundling-side stacking unit 21B is 20 Euro banknote, and the third bundling-side stacking unit 21C is set as a spare stacking unit, and if the number of the bundling-object-banknotes stacked in the first bundling-side stacking unit 21A has reached one hundred, the drive control unit 150 performs the drive control of the pre-bundling transport unit 25 so that the hand unit 41 arranged in the transport unit 42 of the pre-bundling transport unit 25 draws out the bundling-object-banknotes stacked in the first bundling-side stacking unit 21A.
  • When the number of the 10 Euro banknotes stacked in the first bundling-side stacking unit 21A reaches one hundred, the control unit 170 switches the banknote-kind (stacking banknote) for the spare third bundling-side stacking unit 21C to 10 Euro banknote, and once the one hundred banknotes of 10 Euro banknote are drawn out by the hand unit 41 arranged in the transport unit 42, switches the banknote-kind (stacking banknote) for the first bundling-side stacking unit 21A to the spare.
  • When the number of 10 Euro banknotes stacked in the first bundling-side stacking unit 21A reaches one hundred, and the banknote-kind (stacking banknote) for the spare third bundling-side stacking unit 21C is set as 10 Euro banknote, the dimension-adjustment drive control unit 160 performs the drive control of the dimension adjusting mechanism 35 of the third bundling-side stacking unit 21C so that the third bundling-side stacking unit 21C is adjusted according to the banknote dimension of the set banknote, that is, the 10 Euro banknote. The dimension-adjustment drive control unit 160 manages, for every banknote-kind, the swing positions of the arm units 36A arranged in the banknote aligning mechanism 36 and the short-edge dimension of the short-edge dimension adjusting mechanism 37.
  • FIGS. 7A to 7C are drawings for clearly explaining action transitions of the dimension adjusting mechanism 35 of the bundling-side stacking unit 21.
  • The dimension-adjustment drive control unit 160 performs the drive control of the short-edge dimension adjusting mechanism 37 so that the stacking space 31 is adjusted by moving the back side wall 31B in the X direction according to the banknote set to be stacked therein. In addition, the dimension-adjustment drive control unit 160 performs the drive control of the banknote aligning mechanism 36 so that the swing positions of the arm units 36A of the banknote aligning mechanism 36 are set according to a long-edge dimension of the set banknote.
  • The dimension-adjustment drive control unit 160 first performs the drive control so that the back side wall 31B is moved to a position according to the short-edge dimension of the set banknote, and the arm units 36A of the banknote aligning mechanism 36 are held at the set swing positions according to the set long-edge dimension (see FIG. 7A).
  • Upon detection of the banknote approaching the stacking space 31 by the approach detecting sensors 34, the dimension-adjustment drive control unit 160 performs the next drive control so that the left and right arm units 36A are wide opened (see FIG. 7B).
  • After a lapse of a predetermined time period after the approach detecting sensors 34 detect that the banknote has passed the sensors, the dimension-adjustment drive control unit 160 performs the next drive control so that the left and right arm units 36A swing to the set swing positions to adjust the position of the banknote stacked in the stacking space 31 in the longitudinal direction with the free ends of the left and right arm units 36A (see FIG. 7C).
  • FIGS. 8A to 8D are drawings for clearly explaining action transitions of the pre-bundling transport unit 25.
  • When the bundling-object-banknotes stacked in the bundling-side stacking unit 21 are drawn out by the transport unit 42, the pre-bundling transport unit 25 moves, downward to a level of the lowermost edge, the stage member 32 arranged in the bundling-side stacking unit 21 in which the bundling-object-banknotes to be drawn out are stacked (see FIG. 8A).
  • The transport unit 42 of the pre-bundling transport unit 25, through the action of the driving belt 44B, moves downward along the guiding shaft 44A to a position corresponding to the bundling-side stacking unit 21 in which the bundling-object-banknotes to be drawn out are stacked, that is, to a position where an upper surface of the lower hand 41B is lower than the bottommost banknote of the bundling-object-banknotes stacked in the bundling-side stacking unit 21 (see FIG. 8A).
  • Meanwhile, the upper hand 41A of the transport unit 42 of the pre-bundling transport unit 25 is moved upward, through the action of the driving belt 41C, to a position where an upper surface of the upper hand 41A is higher than the topmost banknote of the bundling-object-banknotes stacked in the bundling-side stacking unit 21 (see FIG. 8A). Thus, there is a wide gap between the upper hand 41A and the lower hand 41B.
  • The transport unit 42 is moved forward through the action of the driving belt 43A of the horizontal movement mechanism 43, and the movement causes the upper hand 41A and the lower hand 41B advance into the bundling-side stacking unit 21 through the opening 31C formed on the back side wall 31B of the bundling-side stacking unit 21 and be positioned such that the bundling-object-banknotes are disposed between the upper hand 41A and the lower hand 41B (see FIG. 8B).
  • The upper hand 41A of the transport unit 42 is moved downward through the action of the driving belt 41C, so that the bundling-object-banknotes on the stage member 32 are tightly held between the upper hand 41A and the lower hand 41B (see FIG. 8C).
  • Thereafter, the transport unit 42 is moved backward through the action of the driving belt 43A of the horizontal movement mechanism 43, and thus, the bundling-object-banknotes held by the upper hand 41A and the lower hand 41B are ready to be transported to the bundling unit 22 or the loose-banknotes returning outlet 24 (see FIG. 8D).
  • The drive control unit 150 shown in FIG. 6 performs the drive control of the pre-bundling transport unit 25 so that when the number of the bundling-object-banknotes stacked in the bundling-side stacking unit 21 reaches one hundred, the hand unit 41 of the transport unit 42 arranged in the pre-bundling transport unit 25 advances into the stacking space 31 through the opening 31C of the back side wall 31B, holds the bundling-object-banknotes on the stage member 32, and draws out the held bundling-object-banknotes from the bundling-side stacking unit 21 to transport to the bundling unit 22.
  • Furthermore, at the end of the transaction when the number of the bundling-object-banknotes stacked in the bundling-side stacking unit 21 does not reach one hundred, the drive control unit 150 performs the drive control of the pre-bundling transport unit 25 so that the hand unit 41 of the transport unit 42 advances into the stacking space 31 through the opening 31C of the back side wall 31B, holds the bundling-object-banknotes on the stage member 32, and draws out the held loose banknotes of the bundling-object-banknotes from the bundling-side stacking unit 21 to transport to the loose-banknotes returning outlet 24.
  • After the bundling-object-banknotes stacked in the bundling-side stacking unit 21 are drawn out, the drive control unit 150 raises the stage member 32 arranged in the bundling-side stacking unit 21 and returns it to a normal standby position for waiting banknotes to be stacked therein.
  • If a transport error is detected by the detection sensors 19 when the banknote is upstream of a first reject unit 17B, the drive control unit 150 subsequently transports the banknote to the first reject unit 17B.
  • If a transport error is detected by the detection sensors 19 when the banknote is downstream of the first reject unit 17B, the drive control unit 150 performs the drive control of the banknote transport unit 13 and the diverting unit 13A so that the banknote is transported to the second reject unit 20. When transport errors such as skewed state of the banknote on the banknote transport path 18, or chained banknotes on the banknote transport path 18, or double feed of the banknotes on the banknote transport path 18, etc., occur downstream of the first reject unit 17B, that is, on the second transport path 18B or the third transport path 18C, recovery can be achieved quickly by transporting the error banknotes to the second reject unit 20, as compared with stopping the transport of the banknotes.
  • FIGS. 9A to 9K are drawings for clearly explaining action transitions of the dispensing transport unit 28 of the post-bundling transport unit 26.
  • A transport lift 61A, for placing the bundle of banknotes transported by the hold and transport unit 27, of the bundled-banknotes lifting unit 61 of the dispensing transport unit 28 is at the bottommost position in a standby state (see FIG. 9A).
  • The bundle of banknotes is transported to a position above the transport lift 61A of the bundled-banknotes lifting unit 61 by the hold and transport unit 27 (see FIG. 9B). The transport lift 61A on the bundled-banknotes lifting unit 61 side is raised up to the bundle of banknotes so that the bundle of banknotes rests thereon (see FIG. 9C). Thereafter, the hold and transport unit 27 releases its hold of the bundle of banknotes (see FIG. 9D), and moves backward to a standby position (see FIG. 9E).
    The standby position of the hold and transport unit 27 corresponds to a position where it can accept the bundling-object-banknotes from the pre-bundling transport unit 25.
  • Thereafter, the bundled-banknotes lifting unit 61 raises the transport lift 61A on which the bundle of banknotes is placed. A push transport unit 62A of the pushing mechanism 62 attains a pushed status by a link mechanism 61B as the transport lift 61A rises (see FIG. 9F), and the bundle of banknotes placed on the transport lift 61A is set on the push transport unit 62A (see FIG. 9G).
  • The push transport unit 62A pushes and transports the bundle of banknotes thereon towards the bundle dispensing outlet 23 (see FIG. 9H) located on the front side of the apparatus.
  • Thereafter, the bundled-banknotes lifting unit 61 lowers the transport lift 61A to the bottommost position. The push transport unit 62A returns to its original standby state by the action of the link mechanism 61B which is moved with the lowering action. The bundle of banknotes is stacked in the bundled-banknotes stacking unit 63A arranged in the dispense/hold mechanism 63 (see FIGS. 9I and 9J).
  • The dispense/hold mechanism 63 adjusts the position of the bundled banknotes stage 63B arranged in the bundled-banknotes stacking unit 63A so that the topmost bundle of banknotes among those stacked in the bundled-banknotes stacking unit 63A is held at the position of the bundle dispensing outlet 23 (see FIG. 9K).
  • In the claims of the present application, the banknote sorting and bundling apparatus corresponds to the banknote sorting and bundling apparatus 1, a banknote bundling device corresponds to the banknote bundling device 3, the input port corresponds to the hopper unit 11, a sorting and stacking unit corresponds to the stacker 16, the bundling-side stacking unit corresponds to the bundling-side stacking unit 21, a bundling unit corresponds to the bundling unit 22, the first transport path corresponds to the first transport path 18A, the second transport path corresponds to the second transport path 18B, the third transport path corresponds to the third transport path 18C, the banknote transport path corresponds to the banknote transport path 18, the diverting unit corresponds to the diverting unit 13A, the banknote transport unit corresponds to the banknote transport unit 13, the drive control unit corresponds to the drive control unit 150, the bundle dispensing outlet corresponds to the bundle dispensing outlet 23, a first reject unit corresponds to the first reject unit 17, a second reject unit corresponds to the second reject unit 20, a face reversing unit corresponds to the banknote reversing unit 15, a pre-bundling transport unit corresponds to the pre-bundling transport unit 25, a bundle transport unit corresponds to the post-bundling transport unit 26, and a error detecting unit corresponds to the detection sensor 19. Furthermore, the bundling-side stacking unit corresponds to the first bundling-side stacking unit 21A, the second bundling-side stacking unit 21B, and the third bundling-side stacking unit 21C.
  • An operation of the banknote sorting and bundling apparatus 1 according to the first embodiment is explained below.
  • Assuming that the banknote-kind (stacking banknote) for the first stacker 16A is set to 5 Euro banknote, 50 Euro banknote is set for the second stacker 16B, 100 Euro banknote is set for the third stacker 16C, 200 Euro banknote is set for the fourth stacker 16D, 500 Euro banknote is set for the first reject unit 17A, and further as initial settings, 10 Euro banknote is set for the first bundling- side stacking unit 21A, 20 Euro banknote is set for the second bundling-side stacking unit 21B, and the third bundling-side stacking unit 21C is set as a spare stacking unit.
  • The operator deposits a plurality of Euro banknotes of mixed kinds in the hopper unit 11.
  • The banknote sorting and bundling apparatus 1 sequentially transports the banknotes, one by one, deposited in the hopper unit 11 by the feeding unit 12 to the first transport path 18A.
  • The control unit 170 obtains from the banknote recognition unit 14 the banknote-kind of the banknote transported through the first transport path 18A, and transmits the banknote-kind to the drive control unit 150.
  • The drive control unit 150 transports the banknote, based on the recognized banknote-kind of the banknote transported through the first transport path 18A, to the corresponding one among stacker 16 (the first stacker 16A to the fourth stacker 16D), the first reject unit 17A, or the bundling-side stacking unit 21 (the first bundling-side stacking unit 21A to the third bundling-side stacking unit 21C). The drive control unit 150 transports the banknote to the first reject unit 17A if the banknote-kind of the banknote being transported through the first transport path 18A is recognized to be a 500 Euro.
  • When the banknote is being transported from the first transport path 18A to the second transport path 18B, the drive control unit 150 transports the banknote through the reversing route or the non-reversing route of the banknote reversing unit 15 so that the banknotes faces in the specific direction, for example, face-up direction, and the banknotes faces in the same specific direction are transported through the third transport path 18C.
  • The drive control unit 150 sorts and stacks the banknote being transported through the third transport path 18C according to the banknote-kind thereof. For example, if the banknote being transported is a 5 Euro banknote, the drive control unit 150 transports the banknote to the first stacker 16A and stacks it therein.
  • If the banknote being transported through the third transport path 18C is a 50 Euro banknote, the drive control unit 150 transports the banknote to the second stacker 16B and stacks it therein.
  • Similarly, if the banknote being transported through the third transport path 18C is a 100 Euro banknote, the drive control unit 150 transports the banknote to the third stacker 16C and stacks it therein.
  • Likewise, if the banknote being transported through the third transport path 18C is a 200 Euro banknote, the drive control unit 150 transports the banknote to the fourth stacker 16D and stacks it therein.
  • If the banknote being transported through the third transport path 18C is a 10 Euro banknote, the drive control unit 150 transports the banknote to the first bundling-side stacking unit 21A and stacks it therein.
  • If the banknote being transported through the third transport path 18C is a 20 Euro banknote, the drive control unit 150 transports the banknote to the second bundling-side stacking unit 21B and stacks it therein.
  • That is, the drive control unit 150 transports all the Euro banknotes except 500 Euro banknotes through the first transport path 18A, the second transport path 18B, and the third transport path 18C, in that order, to stack them in one of the stackers 16 or the bundling-side stacking units 21.
  • When the number of the banknotes stacked in the first bundling-side stacking unit 21A reaches, for example, one hundred, the drive control unit 150 draws out the one hundred bundling-object-banknotes through the action of the hand unit 41 arranged in the transport unit 42, and transports the bundling-object-banknotes to the bundling unit 22. The control unit 170 switches the banknote-kind (stacking banknote) of the spare third bundling-side stacking unit 21C to 10 Euro banknotes. The banknote-kind (stacking banknote) for the first bundling-side stacking unit 21A in which the banknotes can be stacked again is set as a spare stacking unit.
  • The drive control unit 150 holds the one hundred banknotes drawn from the first bundling-side stacking unit 21A through the action of the hand unit 41 arranged in the transport unit 42, transports the bundling-object-banknotes to the hold and transport unit 27, and after the bundling tape has been wrapped around the one hundred bundling-object-banknotes set on the hold and transport unit 27, transports the bundle of banknotes, by the hold and transport unit 27, to the bundled-banknotes lifting unit 61 arranged in the dispensing transport unit 28.
  • The bundled-banknotes lifting unit 61 transports the bundle of banknotes received from the hold and transport unit 27 to the push transport unit 62A located in the upper part of the apparatus. The push transport unit 62A stacks the bundle of banknotes in the bundled-banknotes stacking unit 63A in the bundle dispensing outlet 23 located on the front side of the apparatus, and the bundle of banknotes is held at the position of the bundle dispensing outlet 23 located near the hopper unit 11. As shown in FIG. 10, the operator, shown in a dotted line, can reach the bundle of banknotes at the bundle dispensing outlet 23.
  • That is, the banknotes are transported through, in that order, the hopper unit 11, the first transport path 18A, the second transport path 18B, the third transport path 18C, the bundling-side stacking unit 21, the pre-bundling transport unit 25, the bundling unit 22 and the hold and transport unit 27, the bundled-banknotes lifting unit 61, the push transport unit 62A, and the bundled-banknotes stacking unit 63A, before the bundle of banknotes is dispensed and stacked at the position of the bundle dispensing outlet 23. Consequently, as shown in FIG. 10, the operator can collect the bundle of banknotes at the bundle dispensing outlet 23 located near the hopper unit 11 without having to move from the position for the hopper unit 11.
  • When the number of the banknotes stacked in, for example, the second bundling-side stacking unit 21B reaches one hundred, the drive control unit 150 draws out the one hundred bundling-object-banknotes through the action of the hand unit 41 arranged in the transport unit 42, and transports the bundling-object-banknotes to the bundling unit 22. The control unit 170 switches the banknote-kind (stacking banknote) of the spare first bundling-side stacking unit 21A to 20 Euro banknote. The banknote-kind (stacking banknote) of the second bundling-side stacking unit 21B in which the banknotes can be stacked again is set as a spare stacking unit.
  • The banknote-kind (stacking banknote) of the first bundling-side stacking unit 21A, which was earlier set as spare stacking unit, now needs to be set to 20 Euro banknote. When changing the banknote stacking settings for the bundling-side stacking unit 21, the time, required by the dimension adjusting mechanism 35 for dimension adjustment, can be gained since it needs time to transport the banknote. The banknote fed from the hopper 11 has to pass above the stacker 16, and be transported through the first transport path 18A, the second transport path 18B, and the third transport path 18C, in that order, before being stacked in the stacker 16 or the bundling-side stacking unit 21.
  • If a transport error is detected by the detection sensor 19 when the banknote is transported downstream of the first reject unit 17B, the drive control unit 150 subsequently transports the banknote, that is transported downstream of the first reject unit 17B, to the second reject unit 20.
  • Consequently, even if the transport error of the banknote is detected downstream of the first reject unit 17B, the banknote can be removed from the second reject unit 20 without having to stop the operation.
  • The first embodiment includes the banknote transport path 18 that, in turn, includes the first transport path 18A that is connected to the hopper unit 11 and that passes above the stackers 16, the second transport path 18B that is connected to the first transport path 18A and that bends back in the arrangement direction of the stackers 16, and the third transport path 18C that is connected to the second transport path 18B, the stackers 16 and the bundling-side stacking unit 21, and the post-bundling transport unit 26 that dispenses the bundle of banknotes bundled by the bundling unit 22 to the bundle dispensing outlet 23 located near the hopper unit 11. Consequently, in the present embodiment, while greatly reducing a cost and an installation space of the whole apparatus compared with the conventional technology, a layout is realized so that the hopper unit is located centrally and the bundle dispensing outlet can be accessed by an operator at the position for the hopper unit without having to move from the position. Thus, work efficiency of the operator is significantly improved.
  • Furthermore, in the first embodiment, the banknote reversing unit 15, that reverses the banknote so that a banknote faces in a specific direction, namely, the face-up or the face-down, is arranged on the second transport path 18B. Consequently, the transported banknotes can be faced in the specific direction.
  • Furthermore, in the first embodiment, when the number of the bundling-object-banknotes stacked in the bundling-side stacking unit 21 reaches one hundred, the one hundred bundling-object-banknotes are transported by the pre-bundling transport unit 25 to the bundling unit 22 where the bundling-object-banknotes are bundled. Subsequently, the bundle of banknotes is transported to the bundle dispensing outlet 23 through the actions of the hold and transport unit 27, the bundled-banknotes lifting unit 61, the push transport unit 62A, and the bundled-banknotes stacking unit 63A.
  • Furthermore, in the first embodiment, the banknote recognition unit 14 and the first reject unit 17 are provided on the first transport path 18A, and the second reject unit 20 is provided at the far end on the third transport path 18C. When a transport error of the banknote is detected downstream of the first reject unit 17B, for example, on the second transport path 18B or the third transport path 18C, the banknote on the second transport path 18B or the third transport path 18C is transported to the second reject unit 20. Consequently, even when the transport error of the banknote is detected on the second transport path 18B and the third transport path 18C that are downstream of the first reject unit 17B, the banknote on the second transport path 18B and the third transport path 18C can be removed from the second reject unit 20, which is arranged at the far end of the third transport path 18C, without having to stop the operation. Thus, operation availability of the apparatus can be improved.
  • Furthermore, in the first embodiment, two bundling-side stacking units 21 are provided for sorting and stacking the banknotes of different predetermined banknote-kinds, and one bundling-side stacking unit 21, for which no banknote-kind is set, is provided as a spare stacking unit. When the number of the bundling-object-banknotes stacked in the bundling-side stacking unit 21 reaches one hundred, the banknote-kind currently set for this stacking unit is set for the spare bundling-side stacking unit 21, and the banknote-kind (stacking banknote) for this stacking unit, from which the one hundred banknotes are drawn out by the hand unit 41 of the transport unit 42 and in which the banknotes can be stacked again, is switched to the spare. Thus, even if the number of the bundling-object-banknotes stacked in one bundling-side stacking unit 21 reaches one hundred, the bundling-object-banknotes can be subsequently stacked in the spare bundling-side stacking unit 21 in which no banknotes are stacked without having to stop the stacking operation. Consequently, a situation, where when the number of the bundling-object-banknotes stacked in one bundling-side stacking unit 21 reaches one hundred, there is no free stacking unit for stacking the subsequent bundling-object-banknotes, can be reliably avoided while keeping the number of the bundling-side stacking units 21 to the minimum (three). In addition, the operation availability of the apparatus is improved.
  • In the banknote sorting and bundling apparatus 1 according to the first embodiment, one banknote bundling device 3 is connected with one banknote processing device 2. A banknote sorting and bundling apparatus 1A in which a plurality of the banknote bundling devices 3, for example, two banknote bundling devices 3, is connected with one banknote processing device 2 is explained in a second embodiment of the present invention.
  • [Second Embodiment]
  • FIG. 11 is a schematic drawing of an internal structure of a banknote sorting and bundling apparatus according to the second embodiment. In the banknote sorting and bundling apparatus according to the second embodiment, the parts that are identical to those in the banknote sorting and bundling apparatus 1 according to the first embodiment have been assigned the same reference numerals, and the explanation thereof is omitted.
  • In the banknote sorting and bundling apparatus 1A shown in FIG. 11, an additional banknote bundling device 3B is connected to a banknote bundling device 3A through the third transport path 18C, and a second reject unit 20B is arranged at the far end of the third transport path 18C.
  • The banknote reversing unit 15 arranged on the second transport path 18B includes a short-edge reversing unit 15B that is capable of reversing the banknote being transported in the short-edge direction, and a long-edge reversing unit 15C that is capable of reversing the banknote being transported in the long-edge direction.
  • FIG. 12 is a drawing for clearly explaining reversing processes performed by the short-edge reversing unit 15B and the long-edge reversing unit 15C.
  • When transporting the banknote in the state A, shown in FIG. 12, to the third transport path 18C, the banknote is transported in the state A via the non-reversing route for both the short-edge reversing unit 15B and the long-edge reversing unit 15C, and no reversing process is performed by the short-edge reversing unit 15B or the long-edge reversing unit 15C.
  • When transporting the banknote that is in the state B to the third transport path 18C, the banknote is transported via the non-reversing route for the short-edge reversing unit 15B and via the reversing route for the long-edge reversing unit 15C. Therefore, no reversing process is performed by the short-edge reversing unit 15B and the reversing process is performed by the long-edge reversing unit 15C so that the banknote is in the state A before it is transported to the third transport path 18C.
  • When transporting the banknote that is in a state C to the third transport path 18C, the banknote is first transported via the reversing route to perform the reversing process in the short-edge reversing unit 15B and then transported via the reversing route to perform the reversing process in the long-edge reversing unit 15C so that the banknote is in the state A before it is transported to the third transport path 18C.
  • When transporting the banknote that is in a state D to the third transport path 18C, the banknote is transported via the reversing route to perform the reversing process in the short-edge reversing unit 15B and via the non-reversing route not to perform the reversing process in the long-edge reversing unit 15C so that the banknote is in the state A before it is transported to the third transport path 18C.
  • In the claims, a banknote sorting and bundling apparatus corresponds to the banknote sorting and bundling apparatus 1A, a banknote bundling device corresponds to the banknote bundling devices 3A and 3B, a bundling unit corresponds to the bundling unit 22 arranged in each of the banknote bundling devices 3A and 3B, a second reject unit corresponds to the second reject unit 20B, and a face reversing unit corresponds to the banknote reversing unit 15.
  • An operation of the banknote sorting and bundling apparatus 1A according to the second embodiment is explained below.
  • Assuming that in the banknote processing device 2, the banknote-kind (stacking banknote) for the first stacker 16A is set to 5 Euro banknote, 50 Euro banknote is set for the second stacker 16B, 100 Euro banknote is set for the third stacker 16C, 200 Euro banknote is set for the fourth stacker 16D, and 500 Euro banknote is set for the first reject unit 17A. For the bundling-side stacking units 21 arranged in a first banknote bundling device 3A, the banknote-kind (stacking banknote) for the first bundling-side stacking unit 21A is set to 10 Euro fit note, 20 Euro fit note is set for the second bundling-side stacking unit 21B, and the third bundling-side stacking unit 21C is set as a spare stacking unit. For the bundling-side stacking unit 21 arranged in a second banknote bundling device 3B, the banknote-kind (stacking banknote) for the first bundling-side stacking unit 21A is set to 10 Euro unfit note, 20 Euro fit note is set for the second bundling-side stacking unit 21B, and the third bundling-side stacking unit 21C is set as a spare stacking unit.
  • The operator deposits a plurality of Euro banknotes of mixed kinds in the hopper unit 11.
  • The banknote sorting and bundling apparatus 1A sequentially transports the banknote, one by one, deposited in the hopper unit 11 through the action of the feeding unit 12 thorough the first transport path 18A.
  • The control unit 170 obtains from the banknote recognition unit 14 the banknote-kind of the banknote transported through the first transport path 18A, and transmits the banknote-kind to the drive control unit 150.
  • The drive control unit 150 transports the banknote, based on the recognized banknote-kind of the banknote transported through the first transport path 18A, to the stacker 16 (the first stacker 16A to the fourth stacker 16D), the first reject unit 17A, or the bundling-side stacking unit 21 (the first bundling-side stacking unit 21A to the third bundling-side stacking unit 21C) corresponding to the banknote-kind. The drive control unit 150 transports the banknote to the first reject unit 17A if the banknote-kind of the banknote being transported through the first transport path 18A is recognized to be a 500 Euro.
  • When the banknote is being transported to the second transport path 18B from the first transport path 18A, the drive control unit 150 perform a process so that the banknote faces in a specific direction through the action of the banknote reversing unit 15A, and transports the banknote facing in the specific direction through the third transport path 18C.
  • The drive control unit 150 sorts and stacks the banknote being transported through the third transport path 18C according to the banknote-kind thereof. If the banknote being transported is a 5 Euro banknote, the drive control unit 150 transports the banknote to the first stacker 16A and stacks it therein.
  • If the banknote being transported through the third transport path 18C is a 50 Euro banknote, the drive control unit 150 transports the banknote to the second stacker 16B and stacks it therein.
  • Similarly, if the banknote being transported through the third transport path 18C is a 100 Euro banknote, the drive control unit 150 transports the banknote to the third stacker 16C and stacks it therein.
  • Likewise, if the banknote being transported through the third transport path 18C is a 200 Euro banknote, the drive control unit 150 transports the banknote to the fourth stacker 16D and stacks it therein.
  • If the banknote being transported through the third transport path 18C is a 10 Euro fit note, the drive control unit 150 transports the banknote to the first bundling-side stacking unit 21A arranged in the first banknote bundling device 3A and stacks it therein.
  • If the banknote being transported through the third transport path 18C is a 20 Euro fit note, the drive control unit 150 transports the banknote to the second bundling-side stacking unit 21B arranged in the first banknote bundling device 3A and stacks it therein.
  • If the banknote being transported through the third transport path 18C is a 10 Euro unfit note, the drive control unit 150 transports the banknote to the first bundling-side stacking unit 21A arranged in the second banknote bundling device 3B and stacks it therein.
  • If the banknote being transported through the third transport path 18C is a 20 Euro unfit note, the drive control unit 150 transports the banknote to the second bundling-side stacking unit 21B arranged in the second banknote bundling device 3B and stacks it therein.
  • That is, the drive control unit 150 transports all the Euro banknotes except 500 Euro banknotes through the first transport path 18A, the second transport path 18B, and the third transport path 18C in that order to stack them in one of the stackers 16 or the bundling-side stacking units 21 arranged in the first banknote bundling device 3A or the second banknote bundling device 3B.
  • When the number of the banknotes stacked in the first bundling-side stacking unit 21A arranged in the first banknote bundling device 3A reaches, for example, one hundred, the drive control unit 150 draws out the one hundred bundling-object-banknotes through the action of the hand unit 41 in the transport unit 42, and transports the bundling-object-banknotes to the bundling unit 22 arranged in the first banknote bundling device 3A. The control unit 170 switches the banknote-kind (stacking banknote) for the spare third bundling-side stacking unit 21C arranged in the first banknote bundling device 3A to 10 Euro fit note, and sets the banknote-kind (stacking banknote) for the first bundling-side stacking unit 21A, in which the banknotes can be stacked again, arranged in the first banknote bundling device 3A, to the spare.
  • The drive control unit 150 holds the one hundred banknotes drawn out from the first bundling-side stacking unit 21A arranged in the first banknote bundling device 3A through the action of the hand unit 41 arranged in the transport unit 42, and after the banknotes have been set and bundled with the bundling tape, transports the bundle of banknotes, by the hold and transport unit 27 arranged in the first banknote bundling device 3A, to the bundled-banknotes lifting unit 61 arranged in the first banknote bundling device 3A.
  • The bundled-banknotes lifting unit 61 arranged in the first banknote bundling device 3A transports the bundle of banknotes received from the hold and transport unit 27 to the push transport unit 62A on the upper part of the apparatus. The push transport unit 62A arranged in the first banknote bundling device 3A transports the bundle of banknotes to the bundled-banknotes stacking unit 63A having the bundle dispensing outlet 23 located on the front side of the apparatus, and holds the bundle of banknotes at the position of the bundle dispensing outlet 23 located near the hopper unit 11. An operator can reach the bundle of banknotes at the bundle dispensing outlet 23. Consequently, the operator can collect the bundle of banknotes, for example, bundled fit notes of 10 Euros and 20 Euros to be reused within the bank, from the bundle dispensing outlet 23 located near the hopper unit 11 without having to move from the position for the hopper unit 11.
  • When the number of the banknotes stacked in the first bundling-side stacking unit 21A arranged in the second banknote bundling device 3B reaches, for example, one hundred, the drive control unit 150 draws out the one hundred bundling-object-banknotes through the action of the hand unit 41 arranged in the transport unit 42, and transports the bundling-object-banknotes to the bundling unit 22 arranged in the second banknote bundling device 3B. The control unit 170 switches the banknote-kind (stacking banknote) for the spare third bundling-side stacking unit 21C arranged in the second banknote bundling device 3B to 10 Euro unfit note, and the banknote-kind (stacking banknote) for the first bundling-side stacking unit 21A, in which the banknotes can be stacked again, arranged in the second banknote bundling device 3B to the spare.
  • The drive control unit 150 holds the one hundred banknotes drawn out from the first bundling-side stacking unit 21A through the action of the hand unit 41 arranged in the transport unit 42, and after the banknotes have been set and bundled with the bundling tape, transports the bundle of banknotes, by the hold and transport unit 27 arranged in the second banknote bundling device 3B, to the bundled-banknotes lifting unit 61 arranged in the second banknote bundling device 3B.
  • The bundled-banknotes lifting unit 61 arranged in the second banknote bundling device 3B transports the bundle of banknotes received from the hold and transport unit 27 to the push transport unit 62A on the upper part of the apparatus. The push transport unit 62A arranged in the second banknote bundling device 3B transports the bundle of banknotes to the bundled-banknotes stacking unit 63A having the bundle dispensing outlet 23 located on the front side of the apparatus, and holds the bundle of banknotes at the position of the bundle dispensing outlet 23. Consequently, the operator can collect the bundle of banknotes, for example, bundled unfit notes of 10 Euros and 20 Euros to be returned to central bank, from the bundle dispensing outlet 23 located near the hopper unit 11 without having to move from the hopper unit 11.
  • Furthermore, when the number of the banknotes stacked in the second bundling-side stacking unit 21B arranged in the second banknote bundling device 3B reaches one hundred, the drive control unit 150 draws out the one hundred bundling-object-banknotes through the action of the hand unit 41 arranged in the transport unit 42, and transports the bundling-object-banknotes to the bundling unit 22. The control unit 170 switches the banknote-kind (stacking banknote) for the spare first bundling-side stacking unit 21A arranged in the second banknote bundling device 3B to 20 Euro unfit note, and the banknote-kind (stacking banknote) for the second bundling-side stacking unit 21B, in which the banknotes can be stacked, arranged in the second banknote bundling device 3B to the spare.
  • When a transport error of the banknote being transported downstream of the first reject unit 17B is detected by the detection sensor 19, the drive control unit 150 subsequently transports the banknote to the second reject unit 20B that is located downstream of the first reject unit 17B.
  • Consequently, even if the transport error of the banknote being transported is detected downstream of the first reject unit 17B, the banknote can be removed from the second reject unit 20B without having to stop the operation.
  • In the second embodiment, connection of a plurality of the banknote bundling devices 3 has been enabled, and the drive control of the banknote transport unit 13 and the diverting unit 13A is performed so that the banknotes are sorted and stacked to the corresponding bundling-side stacking units 21 of each bundling unit 22 through the third transport path 18C. Consequently, a plurality of the banknote bundling devices 3 can be installed.
  • Furthermore, in the second embodiment, even when a plurality of the banknote bundling devices 3, each including the bundling unit 22, the bundling-side stacking units 21, and the post-bundling transport unit 26, are connected, in the banknote bundling device 3A that is at an upstream location, the bundle of banknotes bundled by the bundling unit 22 arranged in the banknote bundling device 3A is dispensed from the bundle dispensing outlet 23 arranged in the banknote bundling device 3A, whereas in the banknote bundling device 3B that is at a downstream location, the bundle of banknotes bundled by the bundling unit 22 arranged in the banknote bundling device 3B is dispensed from a bundle dispensing outlet 23A arranged in the banknote bundling device 3B that is located near the hopper unit 11. Consequently, the operator can as easily access the bundle dispensing outlet 23 in the banknote bundling device 3A as he/she can access the bundle dispensing outlet 23A in the banknote bundling device 3B without having to move from the hopper unit 11.
  • Furthermore, in the second embodiment, when the number of the bundling-object-banknotes stacked in the bundling-side stacking unit 21 of each of the banknote bundling devices 3 reaches one hundred, the one hundred bundling-object-banknotes are transported by the pre-bundling transport unit 25 to the bundling unit 22 of the respective banknote bundling device 3, and once the bundling-object-banknotes are bundled by the bundling unit 22, the bundle of banknotes is transported to the bundle dispensing outlet 23 (23A) through the actions of the hold and transport unit 27, the bundled-banknotes lifting unit 61, the push transport unit 62A, and the bundled-banknotes stacking unit 63A of the respective banknote bundling device 3.
  • Furthermore, in the second embodiment, the banknote recognition unit 14 and the first reject unit 17 are provided on the first transport path 18A, and the second reject unit 20B is provided at the far end on the third transport path 18C inside the second banknote bundling device 3B. When the transport error of the banknote is detected downstream of the first reject unit 17B, the banknote that is downstream of the first reject unit 17B is transported to the second reject unit 20B. Consequently, even when the transport error of the banknote is detected downstream of the first reject unit 17B, the banknote can be removed from the second reject unit 20B, which is arranged at a far end of the third transport path 18C, without having to stop the operation. Thus, the operation availability of the apparatus is improved.
  • Furthermore, in the second embodiment, for each of the banknote bundling devices 3, two bundling-side stacking units 21 are provided for sorting and stacking the banknotes of different predetermined banknote-kinds, and one bundling-side stacking unit 21 for which no banknote-kind is set is provided as a spare stacking unit. When the number of the bundling-object-banknotes stacked in the bundling-side stacking unit 21 arranged in the second banknote bundling device 3B reaches, for example, one hundred, the banknote-kind currently set for this stacking unit is set for the spare bundling-side stacking unit 21, and the banknote-kind (stacking banknote) for this stacking unit, from which the one hundred banknotes are drawn out by the hand unit 41 of the transport unit 42 and in which the banknotes can be stacked again, is switched to the spare. Thus, even if the number of the bundling-object-banknotes stacked in one bundling-side stacking unit 21 reaches one hundred, the bundling-object-banknotes can be subsequently stacked in the spare bundling-side stacking unit 21, in which no banknotes are stacked, without having to stop the stacking operation. Consequently, a situation, where when the number of the bundling-object-banknotes stacked in one bundling-side stacking unit 21 reaches one hundred, no free stacking unit is available for stacking the banknotes of the concerned banknote-kind, can be reliably avoided while keeping the number of the bundling-side stacking units 21 to the minimum (three) in each of the banknote bundling devices 3 (3A and 3B). In addition, the operation availability of the apparatus is improved.
  • Although in the present embodiment, the control unit 170 and the drive control unit 150 are provided inside the banknote sorting and bundling apparatus 1, they can be provided either inside the banknote processing device 2 or the banknote bundling device 3 arranged in the banknote sorting and bundling apparatus 1.
  • Although the present embodiment has been explained taking Euro as an example, the same advantages can be obtained for other denominations. For example, in the case of US dollars, the denomination kind (stacking banknotes) for the first reject unit 17A can be set to 2 US dollar, 1 US dollar can be set for the first stacker 16A, 5 US dollar can be set for the second stacker 16B, 50 US dollar can be set for the third stacker 16C, 100 US dollar can be set for the fourth stacker 16D, 10 US dollar can be set for the first bundling- side stacking unit 21A, 20 US dollar can be set for the second bundling-side stacking unit 21B, and the third bundling-side stacking unit 21C can be set as a spare.
  • Although the invention has been described with respect to a specific embodiment for a complete and clear disclosure, the appended claims are not to be thus limited but are to be construed as embodying all modifications and alternative constructions that may occur to one skilled in the art which fairly fall within the basic teaching herein set forth. The advantages of the present embodiment are not limited to those stated here.
  • All the automatic processes explained in the present embodiment can be, entirely or in part, carried out manually by a known method. Similarly, all the manual processes explained in the present embodiment can be, entirely or in part, carried out automatically by a known method. The process procedures, the control procedures, specific names, and data, including various parameters, mentioned in the description and drawings can be changed as required unless otherwise specified.
  • The constituent elements of the apparatus illustrated are merely conceptual and may not necessarily physically resemble the structures shown in the drawings. For example, the apparatus need not necessarily have the structure that is illustrated. The apparatus as a whole or in parts can be broken down or integrated either functionally or physically in accordance with the load or how the device is to be used.
  • Each processing function performed by the apparatus can be entirely or partially performed by a CPU (Central Processing Unit) (or a micro computer such as an MPU (Micro Processing Unit) and an MCU (Micro Controller Unit)), or a computer program executed by the CPU (or the micro computer such as the MPU and the MCU), or a hardware using wired logic.
  • INDUSTRIAL APPLICABILITY
  • The banknote sorting and bundling apparatus according to the present invention can be used in the financial institutions, etc., because, compared with the conventional technology, in the present invention, a layout is realized by which the bundle dispensing outlet can be accessed by an operator at the position for the input port while greatly decreasing the cost and the installation space of the whole apparatus, and the work efficiency of the operator is significantly improved because the operator can access the bundle dispensing outlet without having to move from the position for the input port.

Claims (8)

  1. A banknote sorting and bundling apparatus comprising:
    a sorting and stacking unit in which a banknote deposited in an input port is sorted and stacked;
    a bundling-side stacking unit in which a predetermined banknote is sorted and stacked as a bundling-object-banknote;
    a bundling unit that bundles the bundling-object-banknotes stacked in the bundling-side stacking unit;
    a banknote transport unit that transports the banknote deposited in the input port through a banknote transport path that includes a first transport path that is connected to the input port and passes above the sorting and stacking unit, a second transport path that is connected to the first transport path and bends back in an arrangement direction of the sorting and stacking unit, and a third transport path that is connected to the second transport path, the sorting and stacking unit, and the bundling-side stacking unit;
    a diverting unit that diverts the banknote being transported through the banknote transport path to at least the sorting and stacking unit or the bundling-side stacking unit;
    a bundle transport unit that dispenses a bundle of banknotes bundled by the bundling unit to a bundle dispensing outlet provided near the input port; and
    a drive control unit that controls the banknote transport unit, the diverting unit, and the bundle transport unit.
  2. The banknote sorting and bundling apparatus according to Claim 1, further comprising:
    a banknote recognition unit that recognizes a banknote-kind of the banknote being transported on the first transport path;
    a first reject unit provided on the first transport path; and
    a second reject unit provided at a far end of the third transport path, and wherein,
    upon detecting a first specific banknote on the first transport path, the drive control unit controls the banknote transport unit and the diverting unit so that the first specific banknote is transported to the first reject unit, and,
    upon detecting a second specific banknote on the second transport path or the third transport path, the drive control unit controls the banknote transport unit and the diverting unit so that the second specific banknote is transported to the second reject unit.
  3. The banknote sorting and bundling apparatus according to Claim 1, further comprising a face reversing unit provided on the second transport path that reverses the banknote so that the banknote faces in a specific direction, either face-up or face-down.
  4. The banknote sorting and bundling apparatus according to Claim 1, further comprising
    a plurality of banknote bundling devices that can be connected each other, each of the banknote bundling devices including the bundling unit, the bundling-side stacking unit, and the bundle transport unit, wherein
    the drive control unit controls the banknote transport unit and the diverting unit so that the banknotes are sorted and stacked in the bundling-side stacking unit, corresponding to the banknote, of the banknote bundling devices via the third transport path.
  5. The banknote sorting and bundling apparatus according to Claim 1, further comprising a pre-bundling transport unit that transports a predetermined number of the bundling-object-banknotes stacked in the bundling-side stacking unit to the bundling unit,
    wherein the bundling unit is provided below the bundling-side stacking unit, and
    when the number of the bundling-object-banknotes stacked in the bundling-side stacking unit reaches the predetermined number, the drive control unit controls the pre-bundling transport unit so that the predetermined number of bundling-object-banknotes stacked in the bundling-side stacking unit is transported to the bundling unit.
  6. The banknote sorting and bundling apparatus according to Claim 1, further comprising:
    a banknote recognition unit that recognizes a banknote-kind of the banknote being transported on the first transport path;
    a first reject unit provided on the first transport path;
    a second reject unit provided at a far end of the third transport path; and
    an error detecting unit that detects a transport error of the banknote downstream of the first reject unit,
    wherein, when the transportation error of the banknote is detected by the error detecting unit, the drive control unit controls the banknote transport unit and the diverting unit so that the banknote on the second transport path or the third transport path is transported to the second reject unit.
  7. The banknote sorting and bundling apparatus according to Claim 2, wherein the bundling-side stacking unit includes two bundling-side stacking units for each of which a banknote-kind is set in advance and one spare bundling-side stacking unit for which no banknote-kind is set, and
    the drive control unit, when the number of the bundling-object-banknotes stacked in one of the bundling-side stacking unit reaches a predetermined number, sets the banknote-kind, that was set for the bundling-side stacking unit in which the number of the bundling-object-banknotes has reached the predetermined number, for the spare bundling-side stacking unit, sets the bundling-side stacking unit in which the number of the bundling-object-banknotes has reached the predetermined number as a spare bundling-side stacking unit, and controls the banknote transport unit and the diverting unit so that the banknotes of the set banknote-kind that has reached the predetermined number are subsequently stacked in the bundling-side stacking unit for which the banknote-kind is set.
  8. The banknote sorting and bundling apparatus according to Claim 1, includes four sorting and stacking units, three bundling-side stacking units, and one bundling unit.
EP09840807A 2009-02-27 2009-02-27 Device for sorting- and binding-processing of banknotes Withdrawn EP2402918A4 (en)

Applications Claiming Priority (1)

Application Number Priority Date Filing Date Title
PCT/JP2009/053756 WO2010097954A1 (en) 2009-02-27 2009-02-27 Device for sorting- and binding-processing of banknotes

Publications (2)

Publication Number Publication Date
EP2402918A1 true EP2402918A1 (en) 2012-01-04
EP2402918A4 EP2402918A4 (en) 2013-01-02

Family

ID=42665182

Family Applications (1)

Application Number Title Priority Date Filing Date
EP09840807A Withdrawn EP2402918A4 (en) 2009-02-27 2009-02-27 Device for sorting- and binding-processing of banknotes

Country Status (5)

Country Link
US (1) US20110296802A1 (en)
EP (1) EP2402918A4 (en)
JP (1) JP5438093B2 (en)
CN (1) CN102334144B (en)
WO (1) WO2010097954A1 (en)

Cited By (6)

* Cited by examiner, † Cited by third party
Publication number Priority date Publication date Assignee Title
US20110296802A1 (en) * 2009-02-27 2011-12-08 Takayoshi Yano Banknote sorting and bundling apparatus
CN103366448A (en) * 2012-04-05 2013-10-23 冲电气工业株式会社 Paper processing device
EP2407386A4 (en) * 2009-03-10 2013-12-04 Glory Kogyo Kk DEVICE AND METHOD FOR ASSEMBLING BANK NOTES
CN104063943A (en) * 2014-06-12 2014-09-24 昆山古鳌电子机械有限公司 Automatic cash transaction device
CN105632016A (en) * 2014-11-26 2016-06-01 日立欧姆龙金融系统有限公司 Automatic transaction device
CN106796742A (en) * 2014-08-27 2017-05-31 光荣株式会社 Paper product handling device

Families Citing this family (15)

* Cited by examiner, † Cited by third party
Publication number Priority date Publication date Assignee Title
US9027829B2 (en) * 2008-12-09 2015-05-12 Glory Ltd. Banknote handling apparatus having a sorted-banknote stacking device and bundling device
EP2357620B1 (en) * 2008-12-09 2013-07-24 Glory Ltd. Paper currency receiving-treating apparatus, and paper currency receiving-treating method
DE202011110213U1 (en) 2011-09-23 2013-02-13 Frank Gartzke Apparatus for producing a shaped body with light guides and shaped bodies made of a curable or curable castable material
JP5925602B2 (en) 2012-05-30 2016-05-25 グローリー株式会社 Paper sheet processing equipment
RU2608812C2 (en) * 2012-06-08 2017-01-24 Глори Лтд. Wrapping machine, wrapping system and method
WO2014064810A1 (en) 2012-10-25 2014-05-01 グローリー株式会社 Paper sheet processing apparatus and paper sheet processing system
CN105164734B (en) 2013-04-25 2017-11-03 光荣株式会社 Paper treatment system and paper object processing method
JP6114111B2 (en) 2013-05-27 2017-04-12 グローリー株式会社 Paper sheet processing system and paper sheet processing method
CN104016182A (en) * 2014-04-30 2014-09-03 昆山古鳌电子机械有限公司 Paper processing device
CN104216853A (en) * 2014-09-02 2014-12-17 上海古鳌电子科技股份有限公司 Paper money counting, sorting and bundling all-in-one machine
JP2016071573A (en) * 2014-09-30 2016-05-09 沖電気工業株式会社 Paper currency handling apparatus
JP6762249B2 (en) 2017-03-15 2020-09-30 日本金銭機械株式会社 Paper leaf processing equipment
JP2018200556A (en) * 2017-05-26 2018-12-20 株式会社東芝 Information processing apparatus, information processing method, and program
CN107527426B (en) * 2017-09-26 2025-10-21 聚龙股份有限公司 A coin transmission device
DE102021001397A1 (en) 2021-03-16 2022-09-22 Giesecke+Devrient Currency Technology Gmbh System and method for processing documents of value, in particular banknotes

Family Cites Families (30)

* Cited by examiner, † Cited by third party
Publication number Priority date Publication date Assignee Title
JPS5760676B2 (en) * 1973-09-28 1982-12-21 Tokyo Shibaura Electric Co
DE2729830A1 (en) * 1977-07-01 1979-01-11 Gao Ges Automation Org PROCESS FOR THE AUTOMATIC SORTING OF THIN SHEETS
GB8406374D0 (en) * 1984-03-12 1984-04-18 De La Rue Syst Sheet dispensing apparatus
JPS62257587A (en) * 1986-04-30 1987-11-10 株式会社東芝 Cash processor
JP2507326B2 (en) * 1986-06-17 1996-06-12 株式会社東芝 Aggregator with binding device
JP2886554B2 (en) 1989-06-30 1999-04-26 株式会社東芝 Banknote handling equipment
US5247159A (en) * 1990-11-22 1993-09-21 Kabushiki Kaisha Toshiba Bill depositing/withdrawing system of the circulation type
JP3332533B2 (en) * 1993-07-08 2002-10-07 株式会社東芝 Banknote handling equipment
US6860375B2 (en) * 1996-05-29 2005-03-01 Cummins-Allison Corporation Multiple pocket currency bill processing device and method
JP2002137862A (en) * 2000-11-06 2002-05-14 Toshiba Corp Bill processing device and bill processing method
JP4363541B2 (en) * 2000-12-27 2009-11-11 沖電気工業株式会社 Banknote organizer
JP4007799B2 (en) * 2001-11-22 2007-11-14 グローリー株式会社 Banknote deposit device
JP2003216999A (en) * 2002-01-22 2003-07-31 Toshiba Corp Paper processing equipment
DE10210687A1 (en) * 2002-03-12 2003-10-09 Giesecke & Devrient Gmbh Device for processing banknotes
JP3931112B2 (en) * 2002-06-05 2007-06-13 日立オムロンターミナルソリューションズ株式会社 A bill handling apparatus, an automatic transaction apparatus, and a change withdrawal method for an automatic transaction apparatus.
AU2003263742A1 (en) * 2002-06-13 2003-12-31 Cummins-Allison Corp. Currency processing and strapping systems and methods for using the same
JP2004224481A (en) * 2003-01-21 2004-08-12 Toshiba Corp Paper processing equipment
JP2005096896A (en) * 2003-09-22 2005-04-14 Toshiba Corp Banknote handling equipment
JP4357982B2 (en) * 2004-02-16 2009-11-04 株式会社東芝 Paper sheet stacking device
JP4624058B2 (en) * 2004-10-04 2011-02-02 グローリー株式会社 Banknote handling machine
EP1643463B1 (en) * 2004-10-04 2018-05-23 Glory Kogyo Kabushiki Kaisha Currency sorter
US8220638B2 (en) * 2004-10-04 2012-07-17 Glory Kogyo Kabushiki Kaisha Currency sorter
JP4619740B2 (en) * 2004-10-06 2011-01-26 グローリー株式会社 Banknote handling machine
JP4916724B2 (en) * 2006-01-23 2012-04-18 ローレル精機株式会社 Banknote handling machine
US20070296202A1 (en) * 2006-05-08 2007-12-27 De La Rue International Limited Document handling apparatus
CA2624638C (en) 2006-06-01 2010-08-10 Cummins-Allison Corp. Angled currency processing system
US7779982B2 (en) 2006-09-07 2010-08-24 Cummins-Allison Corp. Currency processing and strapping systems and methods
WO2008090595A1 (en) * 2007-01-22 2008-07-31 Glory Ltd. Bill processor
WO2010097954A1 (en) * 2009-02-27 2010-09-02 グローリー株式会社 Device for sorting- and binding-processing of banknotes
JP5433680B2 (en) * 2009-03-10 2014-03-05 グローリー株式会社 Bill binding device and bill binding method

Cited By (8)

* Cited by examiner, † Cited by third party
Publication number Priority date Publication date Assignee Title
US20110296802A1 (en) * 2009-02-27 2011-12-08 Takayoshi Yano Banknote sorting and bundling apparatus
EP2407386A4 (en) * 2009-03-10 2013-12-04 Glory Kogyo Kk DEVICE AND METHOD FOR ASSEMBLING BANK NOTES
CN103366448A (en) * 2012-04-05 2013-10-23 冲电气工业株式会社 Paper processing device
CN104063943A (en) * 2014-06-12 2014-09-24 昆山古鳌电子机械有限公司 Automatic cash transaction device
CN106796742A (en) * 2014-08-27 2017-05-31 光荣株式会社 Paper product handling device
EP3188139A4 (en) * 2014-08-27 2017-08-30 Glory Ltd. Paper sheet processing device
CN106796742B (en) * 2014-08-27 2019-07-12 光荣株式会社 Paper product processing device
CN105632016A (en) * 2014-11-26 2016-06-01 日立欧姆龙金融系统有限公司 Automatic transaction device

Also Published As

Publication number Publication date
JPWO2010097954A1 (en) 2012-08-30
CN102334144B (en) 2015-02-04
CN102334144A (en) 2012-01-25
WO2010097954A1 (en) 2010-09-02
EP2402918A4 (en) 2013-01-02
JP5438093B2 (en) 2014-03-12
US20110296802A1 (en) 2011-12-08

Similar Documents

Publication Publication Date Title
EP2402918A1 (en) Device for sorting- and binding-processing of banknotes
US9208631B2 (en) Banknote bundling device, banknote bundling method, and banknote bundling system
EP2413295B1 (en) Bill categorizing and bundling device and method for setting categorization and collection of bill
US20110125313A1 (en) Banknote processing apparatus, banknote sorting method, and computer readable recording medium
EP2407386A1 (en) Banknote binding device and banknote binding method
CN102982612B (en) Paper handling device
CN103080986B (en) Paper processing device and bank note treatment device
JP5485662B2 (en) Banknote processing apparatus, banknote sorting method, and banknote sorting program
KR20120132359A (en) Paper bill depositing/dispensing apparatus
CN101577021B (en) Paper money access device (1), cash automated trading device (101) and paper money collecting procedure
CN105279839A (en) Paper currency handling device
EP2341485B1 (en) Banknote processing machine
US20160035174A1 (en) Paper currency-processing device
JP2019061604A (en) Banknote processing machine
JP4972993B2 (en) Bill stacker
CN104537759A (en) Paper money handling device
JP2002032831A (en) Banknote handling device and transaction device
JP4835194B2 (en) Banknote handling equipment
CN104361675A (en) Banknote classifying device
JP2015011676A (en) Paper sheet processing device, remaining paper sheet discharge method, and remaining paper sheet discharge program
JPH04344590A (en) Paper money depositer/dispenser
JPH0850673A (en) Currency recovery device for currency processing machine
JP2000251125A (en) Banknote handling equipment
JP2009181160A (en) Bill counting and arranging apparatus
WO2010097955A1 (en) Banknote binding device and banknote binding method

Legal Events

Date Code Title Description
PUAI Public reference made under article 153(3) epc to a published international application that has entered the european phase

Free format text: ORIGINAL CODE: 0009012

17P Request for examination filed

Effective date: 20110824

AK Designated contracting states

Kind code of ref document: A1

Designated state(s): AT BE BG CH CY CZ DE DK EE ES FI FR GB GR HR HU IE IS IT LI LT LU LV MC MK MT NL NO PL PT RO SE SI SK TR

DAX Request for extension of the european patent (deleted)
A4 Supplementary search report drawn up and despatched

Effective date: 20121204

RIC1 Information provided on ipc code assigned before grant

Ipc: G07D 11/00 20060101AFI20121128BHEP

Ipc: B65B 27/08 20060101ALI20121128BHEP

17Q First examination report despatched

Effective date: 20170314

STAA Information on the status of an ep patent application or granted ep patent

Free format text: STATUS: THE APPLICATION IS DEEMED TO BE WITHDRAWN

18D Application deemed to be withdrawn

Effective date: 20190215