EP2031545A2 - Information processing apparatus, information processing method, and computer program - Google Patents
Information processing apparatus, information processing method, and computer program Download PDFInfo
- Publication number
- EP2031545A2 EP2031545A2 EP08162818A EP08162818A EP2031545A2 EP 2031545 A2 EP2031545 A2 EP 2031545A2 EP 08162818 A EP08162818 A EP 08162818A EP 08162818 A EP08162818 A EP 08162818A EP 2031545 A2 EP2031545 A2 EP 2031545A2
- Authority
- EP
- European Patent Office
- Prior art keywords
- line
- sight
- face
- image
- processing
- Prior art date
- Legal status (The legal status is an assumption and is not a legal conclusion. Google has not performed a legal analysis and makes no representation as to the accuracy of the status listed.)
- Withdrawn
Links
Images
Classifications
-
- H—ELECTRICITY
- H04—ELECTRIC COMMUNICATION TECHNIQUE
- H04N—PICTORIAL COMMUNICATION, e.g. TELEVISION
- H04N5/00—Details of television systems
- H04N5/222—Studio circuitry; Studio devices; Studio equipment
- H04N5/262—Studio circuits, e.g. for mixing, switching-over, change of character of image, other special effects ; Cameras specially adapted for the electronic generation of special effects
-
- G—PHYSICS
- G06—COMPUTING OR CALCULATING; COUNTING
- G06V—IMAGE OR VIDEO RECOGNITION OR UNDERSTANDING
- G06V40/00—Recognition of biometric, human-related or animal-related patterns in image or video data
- G06V40/10—Human or animal bodies, e.g. vehicle occupants or pedestrians; Body parts, e.g. hands
- G06V40/16—Human faces, e.g. facial parts, sketches or expressions
- G06V40/168—Feature extraction; Face representation
- G06V40/171—Local features and components; Facial parts ; Occluding parts, e.g. glasses; Geometrical relationships
Definitions
- the present invention contains subject matter related to Japanese Patent Application JP 2007-227262 filed in the Japanese Patent Office on September 3, 2007, the entire contents of which being incorporated herein by reference.
- the present invention relates to an information processing apparatus, an information processing method, and a computer program, and, more particularly to an information processing apparatus, an information processing method, and a computer program for executing processing for detecting, by analyzing an image photographed by a camera, a line of sight direction of a person, an animal, or the like included in the photographed image.
- a line of sight of a person, a pet such as a dog or a cat, or an animal can be judged from an image acquired by a camera, for example, it is possible to operate a shutter at an instance when the line of sight is directed to the camera. Therefore, it is possible to reduce failures in photographing pictures.
- a program for executing processing for such judgment on a line of sight is incorporated in, for example, moving image creation software, it is possible to efficiently sort out moving images, for example, select an image including a person looking to the front out of a large number of photograph data.
- the line-of-sight-judgment-processing execution program is incorporated in an interactive system such as a television conference system, it is possible to perform smooth interaction by performing switching of a camera, setting of a camera direction, zooming, and the like according to a line of sight.
- the light-of-sight direction detection is a technique for estimating which direction a user in a camera is looking.
- the light-of-sight direction detection is performed by reading a subtle positional relation between positions of the irises. For example, in the technique disclosed in "Passive Driver Gaze Tracking with Active Appearance Models", T. Ishikawa, S. Baker, I. Matthews, and T.
- Non-Patent Document 1 a posture of a detected face is calculated by AAM (Active Appearance Models), positions of the irises are detected from portions of the eyes, a posture of the eyeballs is estimated from a positional relation between the eyes and the irises, and an overall line-of-sight direction is estimated by combining the posture of the eyeballs with the posture of the face.
- AAM Active Appearance Models
- Non-Patent Document 1 the irises and fine image input are necessary for estimation of a posture of the eyeballs.
- it is indispensable to use a high-performance high-resolution camera.
- a general user performs photographing with a camera set in a position 2m to 3 m away from the user in a living room of a house, it is difficult to use a general camera having about one million pixels.
- Non-Patent Document 1 To realize the technique disclosed in Non-Patent Document 1, it is necessary to use an expensive camera with a high number of pixels. Further, special processing for improving accuracy such as processing for zoom-photographing a portion of the eyes of a subject to improve accuracy of measurement of iris positions and processing for irradiating an infrared ray on the eyes and increasing the luminance of retina and sphere portions of the eyes to accurately photograph a subject are necessary. Moreover, it is necessary to perform face posture estimation to estimate positions of the eyes and a posture of the eyeballs. Therefore, processing is complicated and errors in the line-of-sight direction detection increase.
- an information processing apparatus for efficiently detecting, by analyzing an image photographed by a camera, a line-of-sight direction of a person, an animal, or the like included in the photographed image.
- an information processing apparatus for discriminating, by analyzing an image photographed by a camera, whether a line of sight of a person, an animal, or the like included in the photographed image is directed to the camera.
- an information processing apparatus including a face detecting unit that detects a face area included in image data, a face-component detecting unit that detects a face component (a face part) from the face area detected by the face detecting unit, and a line-of-sight discriminating unit that executes line-of-sight discrimination processing for a face image from which the face component is detected by the face-component detecting unit, wherein the line-of-sight discriminating unit executes processing for discriminating whether a line of sight of the face image data from which the face component is detected is in a positive state in which a line of sight is directed in a camera direction or a negative state in which a line of sight is not directed in a camera direction according to collation processing for a line-of-sight discrimination dictionary in which learning data including classification data corresponding to the respective states are stored and input face image data.
- the face-component detecting unit detects eyes, a nose, and a mouth from the face area detected by the face detecting unit
- the line-of-sight discriminating unit executes the line-of-sight discrimination processing for the face image data from which the eyes, the nose, and the mouth are detected.
- the line-of-sight discriminating unit executes the line-of-sight discrimination processing according to processing employing a PixDif algorism that uses a difference value of a pixel pair in a specific position of an image as comparison and collation data.
- the information processing apparatus further includes an image processing unit that executes rotation processing, size normalization processing, and face-area slicing processing for the face image from which the face component is detected by the face-component detecting unit, and the line-of-sight discriminating unit inputs the image processed by the image processing unit and executes the line-of-sight discrimination processing.
- the face detecting unit executes, with reference to a face detection dictionary in which various kinds of face area image information are stored, face-area detection processing for a face area included in the image data using a PixDif algorism that uses a difference value of a pixel pair in a specific position of an image as comparison and collation data.
- the face-component detecting unit executes, with reference to a face component detection dictionary in which various kinds of face component image information are stored, face-component detection processing for detection of a face component from the face area detected by the face detecting unit using a PixDif algorism that uses a difference value of a pixel pair in a specific position of an image as comparison and collation data.
- the information processing apparatus further includes a sound recognizing unit that executes sound recognition processing, and the information processing apparatus combines a line-of-sight discrimination result in the line-of-sight discriminating unit and a sound recognition result in the sound recognizing unit and executes analysis of a speaker.
- the information processing apparatus is an imaging apparatus
- the information processing apparatus further includes a shutter control unit that is inputted with a line-of-sight discrimination result in the line-of-sight discriminating unit and executes shutter control for the imaging apparatus, and the shutter control unit performs control for disabling shutter operation when a face image in the negative state in which a line of sight is not directed in a camera direction is included in a line of sight of a face included in an acquired image of the imaging apparatus.
- the information processing apparatus further includes a frame selecting unit that is inputted with a line-of-sight discrimination result corresponding to plural image frames discriminated by the line-of-sight discriminating unit and performs selection processing for the image data, and the frame selecting unit applies respective kinds of state information of the positive state and the negative state and performs selection of an image frame.
- the information processing apparatus is an imaging apparatus
- the information processing apparatus further includes a warning output unit that is inputted with a line-of-sight discrimination result in the line-of-sight discriminating unit and executes warning output
- the warning output unit performs the warning output when a face image in the negative state in which a line of sight is not directed in a camera direction is included in a line of sight of a face included in an acquired image of the imaging apparatus.
- the information processing apparatus applies a line-of-sight discrimination result of the line-of-sight discriminating unit to data retrieval processing and executes retrieval processing for selecting and extracting an image in the positive state in which a line of sight is directed in a camera direction or the negative state in which a line of sight is not directed in a camera direction.
- the information processing apparatus performs processing for storing a line-of-sight discrimination processing result of the image data in a storing unit as correspondence information of the image data stored in the storing unit.
- an information processing method executed in an information processing apparatus including the steps of a face detecting unit detecting a face area included in image data, a face-component detecting unit detecting a face component from the face area detected in the face detecting step, and a line-of-sight discriminating unit executing line-of-sight discrimination processing for a face image from which the face component is detected in the face-component detecting step, wherein the line-of-sight discriminating step is a step of executing processing for discriminating whether a line of sight of the face image data from which the face component is detected is in a positive state in which a line of sight is directed in a camera direction or a negative state in which a line of sight is not directed in a camera direction according to collation processing for a line-of-sight discrimination dictionary in which learning data including classification data corresponding to the respective states are stored and input face image data.
- the face-component detecting step is a step of detecting eyes, a nose, and a mouth from the face area detected in the face detecting step
- the line-of-sight discriminating step is a step of executing the line-of-sight discrimination processing for the face image data from which the eyes, the nose, and the mouth are detected.
- the line-of-sight discriminating step is a step of executing the line-of-sight discrimination processing according to processing employing a PixDif algorism that uses a difference value of a pixel pair in a specific position of an image as comparison and collation data.
- the information processing apparatus further includes the step of an image processing unit executing rotation processing, size normalization processing, and face-area slicing processing for the face image from which the face component is detected in the face-component detecting step, and the line-of-sight discriminating step is a step of inputting the image processed in the image processing step and executing the line-of-sight discrimination processing.
- the face detecting step is a step of executing, with reference to a face detection dictionary in which various kinds of face area image information are stored, face-area detection processing for a face area included in the image data using a PixDif algorism that uses a difference value of a pixel pair in a specific position of an image as comparison and collation data.
- the face-component detecting step is a step of executing, with reference to a face component detection dictionary in which various kinds of face component image information are stored, face-component detection processing for detection of a face component from the face area detected in the face detecting step using a PixDif algorism that uses a difference value of a pixel pair in a specific position of an image as comparison and collation data.
- the information processing method further includes the step of a sound recognizing unit executing sound recognition processing, and a step of a data processing unit combining a line-of-sight discrimination result and a sound recognition result in the sound recognizing unit and executing analysis of a speaker.
- the information processing apparatus is an imaging apparatus
- the information processing method further includes the step of a shutter control unit inputting a line-of-sight discrimination result in the line-of-sight discriminating step and executing shutter control for the imaging apparatus
- the shutter control step is a step of performing control for disabling shutter operation when a face image in the negative state in which a line of sight is not directed in a camera direction is included in a line of sight of a face included in an acquired image of the imaging apparatus.
- the information processing method further includes the step of a frame selecting unit inputting a line-of-sight discrimination result corresponding to plural image frames discriminated in the line-of-sight discriminating step and performing selection processing for the image data, and the frame selecting step is a step of applying respective kinds of state information of the positive state and the negative state and performing selection of an image frame.
- the information processing apparatus is an imaging apparatus
- the information processing method further includes the step of a warning output unit inputting a line-of-sight discrimination result in the line-of-sight discriminating step and executing warning output
- the warning output step is a step of performing the warning output when a face image in the negative state in which a line of sight is not directed in a camera direction is included in a line of sight of a face included in an acquired image of the imaging apparatus.
- the information processing method further includes the step of a retrieving unit applying a line-of-sight discrimination result of the line-of-sight discriminating unit to data retrieval processing and executing retrieval processing for selecting and extracting an image in the positive state in which a line of sight is directed in a camera direction or the negative state in which a line of sight is not directed in a camera direction.
- the information processing method further includes the step of a data processing unit performing processing for storing a line-of-sight discrimination processing result of the image data in a storing unit as correspondence information of the image data stored in the storing unit.
- a computer program for casing an information processing apparatus to execute information processing including a face detecting step of causing a face detecting unit to detect a face area included in image data, a face-component detecting step of causing a face-component detecting unit to detect a face component from the face area detected in the face detecting step, and a line-of-sight discriminating step of causing a line-of-sight discriminating unit to execute line-of-sight discrimination processing for a face image from which the face component is detected in the face-component detecting step, wherein the line-of-sight discriminating step is a step of causing the line-of-sight discriminating unit to execute processing for discriminating whether a line of sight of the face image data from which the face component is detected is in a positive state in which a line of sight is directed in a camera direction or a negative state in which a line of sight is not directed in a camera direction according to collation processing
- the computer program according to the embodiment of the present invention is, for example, a computer program that can be provided to a general-purpose computer system, which can execute various program codes, by a storage medium or a communication medium provided in a computer readable format.
- a computer system can implement processing according to the program.
- a system is a configuration of a logical set of plural apparatuses and is not limited to a system in which apparatuses having individual configurations are provided in an identical housing.
- a face area and face components such as eyes, a nose, and a mouth included in an image are detected.
- the line-of-sight discriminating unit executes line-of-sight discrimination processing for a face image from which the eyes, the nose, and the mouth are detected.
- the line-of-sight discriminating unit performs processing for discriminating whether a line of sight of the face image data from which the face component is detected is in a positive state in which a line of sight is directed in a camera direction or a negative state in which a line of sight is not directed in a camera direction using a line-of-sight discrimination dictionary in which learning data including classification data corresponding to the respective states are stored.
- the line-of-sight discriminating unit performs the line-of-sight discrimination processing by applying a PixDif algorism that uses a difference value of a pixel pair in a specific position of an image as comparison and collation data.
- the line-of-sight discrimination is based on clear discrimination of two states, i.e., a state in which a line of sight is directed in a camera direction and a state in which a line of sight is not directed in a camera direction. Therefore, accuracy of the discrimination processing is high and a value of use of a discrimination result is also high.
- the information processing apparatus is an information processing apparatus that executes analysis of a photographed image of a camera and executes processing for detecting a line-of-sight direction of eyes of a face of a person, an animal, or the like included in the photographed image.
- the information processing apparatus discriminates whether a line of sight is directed to a camera and, specifically, discriminates the following two states:
- the information processing apparatus discriminates whether a line-of-sight direction of eyes of a face of a person, an animal, or the like included in a photographed image photographed by the camera is in the positive state or the negative state.
- a specific example is shown in Fig. 1 .
- FIG. 1 is an example of the positive state, i.e., the face with a line of sight directed to a camera.
- (B) in Fig. 1 is an example of the negative state, i.e., the face with a line of sight not directed to a camera.
- Fig. 2 is a diagram showing a configuration of an example of the information processing apparatus according to the embodiment.
- the information processing apparatus according to the embodiment discriminates, with so-called boosting for combining leaning machines with low performance (weak learners) to output a highly accurate discrimination result, whether a line-of-sight direction of eyes of a face of a person, an animal, or the like included in a photographed image photographed by a camera is in a positive state in which a line of sight is directed to a camera and a negative state in which a line of sight is not directed to a camera.
- An information processing apparatus 100 shown in Fig. 2 includes a face detecting unit 101, an eye-nose-mouth detecting unit 102, an image processing unit 103, and a line-of-sight discriminating unit 104.
- the image processing unit 103 includes a rotation-correction processing unit 111, a face-size-normalization processing unit 112, and a face-area slicing unit 113.
- the information processing apparatus 100 also includes a face detection dictionary 121 used in face detection processing in the face detecting unit 101, an eye-nose-mouth detection dictionary 122 used in eye-nose-mouth detection processing in the eye-nose-mouth detecting unit 102, and a line-of-sight discrimination dictionary 123 used for line-of-sight discrimination processing in the line-of-sight discriminating unit 104.
- a face detection dictionary 121 used in face detection processing in the face detecting unit 101
- an eye-nose-mouth detection dictionary 122 used in eye-nose-mouth detection processing in the eye-nose-mouth detecting unit 102
- a line-of-sight discrimination dictionary 123 used for line-of-sight discrimination processing in the line-of-sight discriminating unit 104.
- learning machines with low performance (weak learners) of boosting are used in the face detecting unit 101, the eye-nose-mouth detecting unit 102, and the line-of-sight discriminating unit 104.
- These processing units perform processing employing a PixDif algorithm that uses a difference value of a pixel pair in a specific position of an image obtained in learning as comparison and collation data. Details of this algorithm are disclosed in, for example, JP-A-2005-284348 .
- the face detecting unit 101 detects whether a face is in an input image frame. This face detection processing is performed by using the face detection dictionary 121. As described above, the face detection processing is executed as processing employing learning machines with low performance (weak learners) of boosting and is executed by the processing employing the PixDif algorithm that uses a difference value of a pixel pair in a specific position of an image obtained by learning as comparison and collation data.
- the face detecting unit 101 executes, with reference to the face detection dictionary 121 in which various kinds of face area image information are stored, face-area detection processing for a face area included in image data using the PixDif algorithm that uses a difference value of a pixel pair in a specific position of an image as comparison and collation data.
- a learning result of face detection by the PixDif algorithm that uses a difference value of a pixel pair in a specific position of an image as comparison and collation data is stored in the face detection dictionary 121.
- the face detecting unit 101 judges whether a face is in an input image frame according to collation of difference value data of a pixel pair in a specific position of the input image and data of the face detection dictionary 121 in which the learning result is stored.
- Face detection information detected by the face detecting unit 101 is inputted to the eye-nose-mouth detecting unit 102 as a face-component detecting unit together with an image.
- the eye-nose-mouth detecting unit 102 performs processing for detecting face components, i.e., eyes, a nose, and a mouth in the face detected by the face detecting unit 101.
- This eye-nose-mouth detection processing is executed, by using a face-component detection dictionary, i.e., the eye-nose-mouth detection dictionary 122, as processing employing learning machines with low performance (weak learners) of boosting and executed by the processing employing the PixDif algorithm that uses a difference value of a pixel pair in a specific position of an image obtained by learning as comparison and collation data.
- the eye-nose-mouth detecting unit 102 as the face-component detecting unit executes, with reference to the face-component detection dictionary in which various kinds of face component image information are stored, i.e., the eye-nose-mouth detection dictionary 122, face-component detection processing for detection of face components from the face area detected by the face detecting unit 101 using the PixDif algorithm that uses a difference value of a pixel pair in a specific position of an image as comparison and collation data.
- a learning result of eye-nose-mouth detection by the PixDif algorithm that uses a difference value of a pixel pair in a specific position of an image as comparison and collation data is stored in the eye-nose-mouth detection dictionary 122.
- the eye-nose-mouth detecting unit 102 executes detection processing for eyes, a nose, and a mouth in the face detected by the face detecting unit 101 according to collation of difference value data of a pixel pair in a specific position of the input image and data of the eye-nose-mouth detection dictionary 122 in which the learning result is stored.
- a face, not all of eyes, a nose, and a mouth of which are detected is removed from processing objects and the line-of-sight discrimination for the face is not performed. Only a face, all of eyes, a nose, and a mouth of which are detected, is selected as a face of a line-of-sight discrimination object and positional relation information of the eyes, the nose, and the mouth is acquired from the face.
- Image data is inputted to the image processing unit 103 together with selection information of the face, all of the eyes, the nose, and the mouth of which are detected, and the positional relation information of the eyes, the nose, and the mouth.
- the rotation-correction processing unit 111 of the image processing unit 103 performs image rotation correction for a face area judged as the line-of-sight discrimination object using a positional relation among the eyes, the nose, and the mouth. In other words, the rotation-correction processing unit 111 performs processing for erecting a tilting face.
- the image data subjected to rotation correction is inputted to the face-size-normalization processing unit 112.
- the face-size-normalization processing unit 112 executes, using distance information of the eyes, the nose, and the mouth, expansion and reduction of an image size to make a size of a face portion equal to a standard size set in advance and performs size normalization processing.
- An image subjected to the normalization processing is inputted to the face-area slicing unit 113 and processing for slicing a face image area portion is executed. This sliced image is outputted to the line-of-sight discriminating unit 104.
- the line-of-sight discriminating unit 104 performs line-of-sight discrimination processing for a face included in the sliced image. This line-of-sight discrimination processing is executed, by using the line-of-sight discrimination dictionary 123, as processing employing learning machines with low performance (weak learners) of boosting and is executed by the processing employing the PixDif algorithm that uses a difference value of a pixel pair in a specific position of an image obtained by learning as comparison and collation data.
- the line-of-sight discrimination dictionary 123 learning data including classification data corresponding to the positive state in which a line of sight is directed in a camera direction and the negative state in which a line of sight is not directed in a camera direction, i.e., a learning result of line-of-sight discrimination is stored.
- the line-of-sight discriminating unit 104 executes line-of-sight discrimination processing according to collation of difference value data of a pixel pair in a specific position of the input image and data of the line-of-sight discrimination dictionary 123 in which the learning result is stored.
- the line-of-sight discriminating unit 104 discriminates, as the line-of-sight discrimination processing for the face included in the sliced image, whether a line-of-sight direction of eyes of a face of a person, an animal, or the like included in the image is in the positive state in which a line of sight is directed to a camera or the negative state in which a line of sight is not directed to a camera according to the processing employing the PixDif algorithm that uses a difference value of a pixel pair in a specific position of an image obtained in learning as comparison and collation data and outputs a discrimination result.
- the line-of-sight discriminating unit 104 executes line-of-sight discrimination according to collation with data of the line-of-sight discrimination dictionary 123 in which the learning result is stored.
- the three dictionaries shown in Fig. 2 i.e., the face detection dictionary 121 used for the face detection processing in the face detecting unit 101, the eye-nose-mouth detection dictionary 122 used for the eye-nose-mouth detection processing in the eye-nose-mouth detecting unit 102, and the line-of-sight discrimination dictionary 123 used for the line-of-sight discrimination processing in the line-of-sight discriminating unit 104 are appropriately used according to an object subjected to line-of-sight discrimination.
- a dictionary for humans is used when human line-of-sight discrimination is executed.
- a dictionary for cats is used for a cat and a dictionary for dogs is used for a dog.
- the line-of-sight discriminating unit 104 discriminates, as the line-of-sight discrimination processing for the face included in the sliced image, whether a line-of-sight direction of eyes of a face of a person, an animal, or the like included in the image is in the positive state in which a line of sight is directed to a camera or the negative state in which a line of sight is not directed to a camera according to the processing employing the PixDif algorithm that uses a difference value of a pixel pair in a specific position of an image obtained in learning as comparison and collation data.
- this processing is executed, if the processing is performed for an entire face image, processing time is long. Therefore, it is preferable to perform processing for limiting a processing range such as limiting an application range of processing employing the PixDif algorithm that uses a difference value of a pixel pair as comparison and collation data to an area of eyes.
- Figs. 3A to 3D it is possible to make the processing efficient by using masks for selecting a pixel pair set as a processing object. Examples of plural kinds of masks described below are shown in Figs. 3A to 3D .
- Fig. 3A A mask for setting a rectangular area including both eyes as a processing object area
- Fig. 3B A mask for setting individual areas of the respective eyes as processing object areas
- Fig. 3C A mask for setting the respective eyes and an upper area of a nose as processing object areas
- Fig. 3D A mask for setting the respective eyes and the entire nose as processing object area
- FIG. 4 Performance evaluation data of the line-of-sight discrimination result in the information processing apparatus explained with reference to Fig. 2 is shown in Fig. 4 .
- a subject (a photographing user) set a direction of a face in a range of -5 degrees to +5 degrees from a front direction with respect to a camera, directed a line of sight in various directions, and executed the line-of-sight discrimination using the information processing apparatus shown in Fig. 2 .
- Fig. 4 is a graph showing experiment results in different rooms (rooms 1 and 2) as ROC curves.
- the ordinate of the graph corresponds to an error ratio of a discrimination result and the abscissa corresponds to a correctness ratio.
- the line-of-sight discrimination it was discriminated whether the line of sight was in the positive state in which a line of sight is directed to a camera and the negative state in which a line of sight is not directed to a camera. Most of experiment results were correct.
- step S101 face detection processing for detecting whether a face is in an input image frame is performed.
- This processing is executed as processing by the face detecting unit 101 of the information processing apparatus shown in Fig. 2 .
- the face detecting unit 101 executes, using the face detection dictionary 121, the processing for detecting whether a face is in the input image frame according to the processing employing the PixDif algorithm that uses a difference value of a pixel pair as comparison and collation data.
- step S102 presence of absence of an unprocessed image is discriminated and, when there is no unprocessed image, the processing is finished.
- the information processing apparatus proceeds to step S103.
- step S103 the eye-nose-mouth detection processing is executed. This processing is executed as processing by the eye-nose-mouth detecting unit 102 of the information processing apparatus shown in Fig. 2 .
- the eye-nose-mouth detecting unit 102 executes, using the eye-nose-mouth detection dictionary 122, the eye-nose-mouth detection processing for the face detected by the face detecting unit 101 according to the processing employing the PixDif algorithm that uses a difference value of a pixel pair in a specific position of an image as comparison and collation data.
- step S104 it is judged whether all of eyes, a nose, and a mouth are detected in the eye-nose-mouth detection processing.
- a face, not all of eyes, a nose, and a mouth of which are not detected is removed from processing objects in the eye-nose-mouth detection processing in the eye-nose-mouth detecting unit 102 and line-of-sight discrimination is not performed.
- the information processing apparatus proceeds to step S111 and the face is removed from the processing objects.
- the information processing apparatus proceeds to step S101 and performs the processing for the next face.
- step S105 and subsequent steps is executed only for a face, all of eyes, a nose, and a mouth of which are detected.
- the processing in steps S105 to S107 is processing of the image processing unit 103 shown in Fig. 2 .
- the rotation-correction processing unit 111 of the image processing unit 103 applies image rotation correction to a face area set as a line-of-sight discrimination object using a positional relation among the eyes, the nose, and the mouth.
- the rotation-correction processing unit 111 performs processing for erecting a tilting face.
- step S106 the face-size normalization processing unit 112 performs, using distance information of the eyes, the nose, and the mouth, size normalization processing by expansion and reduction of an image size to make a size of a face portion equal to a standard size set in advance.
- step S107 the face-area slicing unit 113 executes processing for slicing a face image area portion from an image subjected to the normalization processing.
- step S108 line-of-sight discrimination processing is executed.
- This processing is processing by the line-of-sight discriminating unit 104 of the information processing apparatus shown in Fig. 2 .
- the line-of-sight discriminating unit 104 executes, using the line-of-sight discrimination dictionary 123, the line-of-sight discrimination processing for a face included in a sliced image according to the processing employing the PixDif algorithm that uses a difference value of a pixel pair in a specific position of an image obtained by learning.
- the line-of-sight discriminating unit 104 discriminates, as the line-of-sight discrimination processing for the face included in the sliced image, whether a line-of-sight direction of eyes of a face of a person, an animal, or the like included in the image is in the positive state in which a line of sight is directed to a camera or the negative state in which a line of sight is not directed to a camera.
- this line-of-sight discrimination processing is finished for one face image, the information processing apparatus returns to step S101 and shifts to processing of the next face image.
- step S102 When it is judged in step S102 that there is no unprocessed image, the processing is finished.
- the processing by the line-of-sight discriminating unit 104 of the information processing apparatus shown in Fig. 2 is extremely clear two-state discrimination processing for discriminating whether a line-of-sight direction of eyes of a face of a person, an animal, or the like included in an image is the positive state in which a line of sight is directed to a camera or the negative state in which a line of sight is not directed to a camera.
- This two-state discrimination processing is executed by using the line-of-sight discrimination dictionary 123 acquired as learning data by using the PixDif algorithm that uses a difference value of a pixel pair in a specific position as comparison and collation data.
- (a) and (c) are executed in information processing apparatuses such as a PC and (b) and (d) are executed in imaging apparatuses such as a still camera and a video camera. Processing sequences of these kinds of processing are explained below.
- FIG. 6 An example of use in which the line-of-sight discrimination processing described above is applied to an image and sound recognition system is explained with reference to a flowchart shown in Fig. 6 .
- a flow shown in Fig. 6 is executed in an information processing apparatus such as a PC.
- a processing sequence shown in Fig. 6 and a program for executing the line-of-sight discrimination processing explained with reference to Fig. 5 above are stored in the storing unit of the information processing apparatus.
- the processing sequence shown in Fig. 6 and the line-of-sight discrimination processing explained with reference to Fig. 5 above are executed by the control unit configured by a CPU or the like.
- the information processing apparatus that executes the processing shown in Fig. 6 includes a sound recognizing unit that executes sound recognition processing.
- the information processing apparatus combines a line-of-sight discrimination result and a sound recognition result in the sound recognizing unit and executes analysis of a speaker. Processing in respective steps in the flow shown in Fig. 6 is explained.
- step S201 of the flow shown in Fig. 6 an image and sound information are inputted.
- the image is inputted to the information processing apparatus via a camera and the sound is inputted to the information processing apparatus via a microphone.
- step S202 the information processing apparatus executes line-of-sight discrimination processing for the inputted image.
- the information processing apparatus executes the line-of-sight discrimination processing according to processing to which the processing configuration shown in Fig. 2 is applied, specifically, the flowchart shown in Fig. 5 .
- a result of this line-of-sight discrimination processing is a result of discrimination concerning whether a line of sight of a face included in the inputted image is in the positive state in which a line of sight is directed to a camera or the negative state in which a line of sight is not directed to a camera.
- step S230 the information processing apparatus executes sound recognition processing based on the inputted sound information.
- This sound recognition processing may be processing to which the existing sound recognition technique is applied.
- step S204 the information processing apparatus executes filtering processing using a line-of-sight discrimination result based on the image and a sound recognition result based on the sound. Specifically, for example, in specifying a person who utters words of the sound recognition result, the information processing apparatus executes, for example, processing for specifying a person who is looking at a camera direction as a speaker using the line-of-sight discrimination result based on the image.
- step S205 the information processing apparatus determines the next action and executes the determined action on the basis of a filtering processing result obtained by using the line-of-sight discrimination result and the sound recognition result based on the sound. For example, the information processing apparatus executes processing for, for example, zooming up the camera to the speaker. Alternatively, the information processing apparatus can perform, in recording speech, processing for recording identification information of the speaker as metadata.
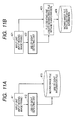
- FIG. 7 An example of processing in which the line-of-sight discrimination processing described above is used in an imaging apparatus is explained with reference to a flowchart shown in Fig. 7 .
- a flow shown in Fig. 7 is executed in an imaging apparatus such as a digital still camera.
- a program for executing a processing sequence shown in Fig. 7 and the line-of-sight discrimination processing explained with reference to Fig. 5 above is stored in the storing unit of the imaging apparatus.
- the processing sequence shown in Fig. 7 and the line-of-sight discrimination processing explained with reference to Fig. 5 above are executed by the control unit configured by a CPU or the like.
- the information processing apparatus that executes processing according to the flow shown in Fig. 7 is an imaging apparatus.
- the information processing apparatus includes a shutter control unit that is inputted with a line-of-sight discrimination result in the line-of-sight discriminating unit and executes shutter control for the imaging apparatus.
- the shutter control unit performs control for disabling shutter operation when a face image in the negative state in which a line of sight is not directed in a camera direction is included in a line of sight of a face included in an acquired image of the imaging apparatus. Processing in respective steps of a flow shown in Fig. 7 is explained.
- step S221 of the flow shown in Fig. 7 an image is inputted.
- the image is inputted from an imaging unit of a camera.
- step S222 line-of-sight discrimination processing for the inputted image is executed.
- the line-of-sight discrimination processing is executed according to the processing to which the processing configuration shown in Fig. 2 is applied, specifically, the flowchart shown in Fig. 5 .
- a result of this line-of-sight discrimination processing is a result of discrimination concerning whether a line of sight of a face included in the inputted image is in the positive state in which a line of sight is directed to a camera or the negative state in which a line of sight is not directed to a camera.
- step S223 shutter control processing based on a line-of-sight discrimination result acquired in step S222 is executed.
- the shutter control unit performs control for setting shutter operation possible when the line of sight of the face included in the image is directed in a camera direction (the positive state) and setting shutter operation impossible when the line of sight of the face included in the image is not directed in the camera direction (the negative state).
- a photographer can discriminate a line-of-sight state of a subject according to the possibility of the shutter operation and prevent himself/herself from photographing a face not looking at the camera by mistake.
- Photographing processing is executed in step S224 and photographed image data is stored in the storing unit in step S225.
- FIG. 8 An example of use in which the line-of-sight discrimination processing described above is applied to an image data managing system is explained with reference to a flowchart shown in Fig. 8 .
- a flow shown in Fig. 8 is executed in an information processing apparatus such as a PC.
- a processing sequence shown in Fig. 8 and a program for executing the line-of-sight discrimination processing explained with reference to Fig. 5 above are stored in the storing unit of the information processing apparatus.
- the processing sequence shown in Fig. 8 and the line-of-sight discrimination processing explained with reference to Fig. 5 above are executed by the control unit configured by a CPU or the like.
- the information processing apparatus that executes processing according to the flow shown in Fig. 8 has a frame selecting unit that is inputted with a line-of-sight discrimination result corresponding to plural image frames discriminated by the line-of-sight discriminating unit and performs selection processing for image data.
- the frame selecting unit selects an image frame by applying the respective kinds of state information of the positive state and the negative state. Processing in respective steps of the flow shown in Fig. 8 is explained.
- step S241 of the flow shown in Fig. 8 a moving image is inputted.
- the moving image is, for example, moving image data stored in the storing unit of the information processing apparatus.
- step S242 line-of-sight discrimination processing for respective frame images forming the inputted moving image is executed.
- the line-of-sight discrimination processing is executed according to the processing to which the processing configuration shown in Fig. 2 is applied, specifically, the flowchart shown in Fig. 5 .
- a result of discrimination concerning whether a line of sight of a face included in the inputted moving image is in the positive state in which a line of sight is directed to a camera or the negative state in which a line of sight is not directed to a camera is acquired as information corresponding to the respective image frames.
- step S243 selection processing for an image frame to which a line-of-sight discrimination result corresponding to the respective image frames is applied is executed. For example, processing for classifying the image frames into a frame including a face image in the positive state, a frame including only a face image in the negative state, and a frame not including a face image is executed.
- step S244 the frames classified in step S243 are set as indexes, for example, image frames for display of thumbnail images.
- step S245 display of index information (thumbnail information), classification storage processing for data based on classification information, and the like are performed.
- thumbnails For example, many kinds of moving image editing software have a function of displaying thumbnail images corresponding to respective scenes and facilitating editing.
- a method of creating thumbnails there are a method of using first frames of divided scenes and a method of extracting several frames at fixed frame intervals and connecting the frames.
- contents of the scenes are not easily understood when the first frames of the scenes and sliced images are used as thumbnails. Therefore, the thumbnails make no sense. In such a case, it is possible to select an image of a person or a pet in a picture looking in a camera direction and extract a "frame of a good face" looking at the camera as an index image. Consequently, simple index extraction is realized and efficiency of moving image editing can be improved.
- FIG. 9 An example of processing in which the line-of-sight-discrimination processing described above is used in the imaging apparatus is explained with reference to a flowchart shown in Fig. 9 .
- a flow shown in Fig. 9 is executed in the imaging apparatus such as a digital still camera.
- a program for executing a processing sequence shown in Fig. 9 and the line-of-sight discrimination processing explained with reference to Fig. 5 above is stored in the storing unit of the imaging apparatus.
- the processing sequence shown in Fig. 9 and the line-of-sight discrimination processing explained with reference to Fig. 5 above are executed by the control unit configured by a CPU or the like.
- the information processing apparatus that executes processing according to the flow shown in Fig. 9 is the imaging apparatus.
- the information processing apparatus has a warning output unit that is inputted with a line-of-sight discrimination result in the line-of-sight discriminating unit and executes warning output.
- the warning output unit performs warning output when a face image in the negative state in which a line of sight is not directed in a camera direction is included in a line of sight of a face included in an acquired image of the imaging apparatus. Processing in respective steps of the flow shown in Fig. 9 is explained.
- step S261 of the flow shown in Fig. 9 an image is inputted.
- the image is inputted from an imaging unit of a camera.
- step S262 line-of-sight discrimination processing for the inputted image is executed.
- the line-of-sight discrimination processing is executed according to the processing to which the processing configuration shown in Fig. 2 is applied, specifically, the flowchart shown in Fig. 5 .
- a result of this line-of-sight discrimination processing is a result of discrimination concerning whether a line of sight of a face included in the inputted image is in the positive state in which a line of sight is directed to a camera or the negative state in which a line of sight is not directed to a camera.
- step S263 processing for discriminating whether all lines of sight of faces of people and the like included in the inputted image are directed in a camera direction is executed on the basis of the line-of-sight discrimination result acquired in step S262.
- a result of judgment in step S264 is Yes.
- the processing is finished and the next operation, for example, photographing processing is executed.
- step S264 a result of judgment in step S264 is No.
- the processing proceeds to step S265 and output of a warning is performed.
- output of warning sound and display processing for a warning message are performed. According to this warning, the photographer can discriminate a line-of-sight state of a subject before the photographing processing and can prevent himself/herself from photographing a face not looking at the camera by mistake.
- the photographer may wish to check whether the group picture is a failure.
- the photographer can prevent himself/herself from photographing a face not looking at the camera by mistake by using the line-of sight discrimination result according to the flow shown in Fig. 9 .
- people at left and right ends often look sideways. Therefore, it is insufficient to perform only face direction detection. What the photographer desires to know is "whether all the people are looking at the camera.
- the information processing apparatus rather than performing line-of-sight discrimination on the basis of a direction of a face, it is discriminated on the basis of learning data whether a line of sight of a face included in the inputted image is in either of two states of the positive state in which a line of sight is directed to a camera or the negative state in which a line of sight is not directed to a camera. It is possible to perform the line-of-sight discrimination processing and display a warning icon or the like on a monitor or the like on the basis of an acquired image of the camera. When many faces are displayed on the monitor, it is also possible to perform processing for displaying, in association with the respective faces, identification information for specifying only people whose lines of sight are not directed to the camera.
- FIG. 10A and 10B An example of a configuration of a data retrieving apparatus employing the line-of-sight discrimination processing described above is explained with reference to Figs. 10A and 10B . Examples of configurations of retrieval processing apparatuses are shown in Figs. 10A and 10B .
- Fig. 10A is a diagram of an apparatus that retrieves an image matching a retrieval condition from a database 313 in which a large number of image data of photographs and the like are stored.
- This retrieving apparatus can be realized by the information processing apparatus such as a PC.
- An input unit 311, a retrieving unit 312, the database 313, a line-of-sight detecting unit 314, and a display unit 315 shown in Fig. 10A can be realized by using functions of the information processing apparatus such as a PC.
- the line-of-sight detecting unit 314 has the processing configuration explained with reference to Fig. 2 above and executes the line-of-sight discrimination processing explained with reference to Fig. 5 .
- Programs for executing data retrieval processing by the retrieving unit 312 and the line-of-sight detection processing by the line-of-sight detecting unit 314 are stored in the storing unit of the information processing apparatus and executed by the control unit configured by a CPU or the like.
- the input unit 311 inputs a retrieval query for selecting, out of the large number of image data stored in the database 313, only an image that is a photographed image in a certain period and in which a face of a person is included and a line-of-sight of the face of the person is directed in a camera direction.
- the retrieving unit 312 retrieves image data in the period from the database 313 on the basis of, for example, period information set in the retrieval query.
- a retrieved image is passed to the line-of-sight detecting unit 314 and line-of-sight discrimination processing for the retrieval result image is executed.
- the line-of-sight discrimination processing is executed according to the processing to which the processing configuration shown in Fig. 2 is applied, specifically, the flowchart shown in Fig. 5 .
- the line-of-sight detecting unit 314 generates a discrimination result concerning whether a line of sight of a face included in the retrieval result image is in either of two states of the positive state in which a line of sight is directed to a camera or the negative state in which a line of sight is not directed to a camera.
- the line-of-sight detecting unit 314 outputs judgment result information to the display unit 315.
- the display unit 315 performs processing for selecting and displaying only an image including a face in the positive state, i.e., an image in which a line of sight is directed to the camera.
- Fig. 10B is a diagram of an apparatus that retrieves an image matching a retrieval condition from a database 323 in which a large number of image data of photographs and the like are stored. This apparatus is set to execute, when image data is stored in the database 323, line-of-sight discrimination for the image data and store a line-of-sight discrimination result in the database 323 as meta-information corresponding to the image data.
- a line-of-sight detecting unit 322 executes line-of-sight discrimination processing for an image.
- the line-of-sight discrimination processing is executed according to the processing to which the processing configuration shown in Fig. 2 is applied, specifically, the flowchart shown in Fig. 5 .
- the line-of-sight detecting unit 322 generates a discrimination result concerning whether a line of sight of a face included in the retrieval result image is in either of two states of the positive state in which a line of sight is directed to a camera or the negative state in which a line of sight is not directed to a camera.
- the line-of-sight detecting unit 322 sets discrimination result information as meta-information corresponding to the image and stores the discrimination result information in the database 323 together with the image data.
- a retrieval query is inputted from an input unit 324.
- the input unit 324 inputs a retrieval query for selecting, out of the large number of image data stored in the database 323, only an image that is a photographed image in a certain period and in which a face of a person is included and a line of sight of the face of the person is directed in the camera direction.
- a retrieving unit 325 executes data retrieval using period information and the line-of-sight discrimination information as metadata set in stored images in the database 323, acquires data matching the retrieval query, and displays the data on a display unit 326. For example, only an image in which a face in the positive state is included, i.e., an image in which a line of sight is directed to the camera is displayed on the display unit 326.
- Figs. 11A and 11B are diagrams for explaining examples of a configuration and processing of a moving image data managing apparatus having the line-of-sight discrimination processing function described above.
- the apparatus shown in Figs. 11A and 11B is configured by, for example, a video camera.
- Fig. 11A when processing for storing moving image data in the storing unit 413 is performed, line-of-sight discrimination for image data is executed and a line-of-sight discrimination result is recorded as a separate file independent from an image file.
- photographed moving image data is inputted from an input unit 411.
- a line-of-sight detecting unit 412 executes line-of-sight discrimination processing for respective frames forming a moving image.
- the line-of-sight discrimination processing is executed according to the processing to which the processing configuration shown in Fig. 2 is applied, specifically, the flowchart shown in Fig. 5 .
- the line-of-sight detecting unit 412 generates a discrimination result concerning whether a line of sight of a face included in a retrieval result image is in either of two states of the positive state in which a line of sight is directed to a camera or the negative state in which a line of sight is not directed to a camera.
- a moving image data file and a line-of-sight information file in which line-of-sight detection result information of the line-of-sight detecting unit 412, i.e., line-of-sight discrimination result information corresponding to face images included in respective frame images is recorded are recorded in the storing unit 413.
- photographed moving image data is inputted from the input unit 421.
- the line-of-sight detecting unit 422 executes line-of-sight discrimination processing for respective frames forming a moving image.
- the line-of-sight discrimination processing is executed according to the processing to which the processing configuration shown in Fig. 2 is applied, specifically, the flowchart shown in Fig. 5 .
- the line-of-sight detecting unit 422 generates a discrimination result concerning whether a line of sight of a face included in a retrieval result image is in either of two states of the positive state in which a line of sight is directed to a camera or the negative state in which a line of sight is not directed to a camera.
- a file creating unit 423 generates a file in which the discrimination result concerning whether a line of sight of a face included in each image frame as metadata of moving image data is in either of two states of the positive state in which a line of sight is directed to a camera or the negative state in which a line of sight is not directed to a camera is set.
- a generated moving image file with metadata is recorded in a storing unit 424.
- Fig. 12 is a diagram of an example of a hardware configuration of the imaging apparatus as an example of the information processing apparatus according to this embodiment.
- a photographing signal acquired by an imaging unit 501 such as a lens or a CCD (Charge Coupled Device) is inputted to an analog-signal processing unit 502.
- the analog-signal processing unit 502 performs processing such as noise removal.
- An A/D conversion unit 503 converts the photographing signal into a digital signal.
- Data subjected to digital conversion is subjected to digital signal processing such as data compression by a digital-signal processing unit 504 and, then, recorded in a recording device 515 configured by a flash memory or the like.
- the data is displayed on a monitor 517 and a viewfinder (EVF) 516.
- EMF viewfinder
- An operation unit 511 includes, besides a shutter and the like provided in a camera main body, a reproduction designation switch for the data recorded in the recording device 515 and switches for starting processing such as fast-forward reproduction and rewinding reproduction.
- the control unit 510 includes a CPU and executes control of various kinds of processing, which are executed by the imaging apparatus, according to programs stored in a memory (a ROM) 520 and the like in advance.
- a memory (an EEPROM) 512 is a nonvolatile memory. Image data, various auxiliary information, programs, and the like are stored in the memory 512.
- the memory (the ROM) 520 stores programs, arithmetic operation parameters, and the like used by the control unit (the CPU) 510.
- a memory (a RAM) 521 stores programs used in the control unit (the CPU) 510, parameters that change as appropriate in execution of the programs, and the like.
- a line-of-sight detecting unit 505 executes face detection, eye-nose-mouth detection, line-of-sight discrimination processing, and the like.
- the line-of-sight detecting unit 505 performs the detection of a face area and a line of sight from the image explained with reference to Fig. 5 above and inputs a detection result to the digital-signal processing unit 504.
- the digital-signal processing unit 504 executes, for example, processing for setting the detection result as metadata and recording the detection result in the recording device 515.
- Fig. 13 is a diagram of an example of a hardware configuration of a personal computer as an example of the information processing apparatus according to this embodiment.
- a CPU (Central Processing Unit) 701 executes various kinds of processing according to programs stored in a ROM (Read Only Memory) 702 or a storing unit 708.
- the CPU 701 executes processing programs for the face detection, the eye-nose-mouth detection, and the line-of-sight discrimination processing explained in the example described above.
- Programs executed by the CPU 701, data, and the like are stored in a RAM (Random Access Memory) 703 as appropriate.
- the CPU 701, the ROM 702, and the RAM 703 are connected to one another by a bus 704.
- the CPU 701 is connected to an input/output interface 705 via the bus 704.
- An input unit 706 including a keyboard, a mouse, and a microphone and an output unit 707 including a display and a speaker are connected to the input/output interface 705.
- the CPU 701 executes various kinds of processing in response to commands inputted from the input unit 706 and outputs processing results to, for example, the output unit 707.
- a storing unit 708 connected to the input/output interface 705 includes, for example, a hard disk and stores the programs executed by the CPU 701 and various data.
- the communication unit 709 communicates with an external apparatus via networks such as the Internet and a local area network.
- a drive 710 connected to the input/output interface 705 drives a removable medium 711 such as a magnetic disk, an optical disk, a magneto-optical disk, or a semiconductor memory and acquires a program, data, and the like recorded therein.
- the acquired program and data are transferred to and stored in the storing unit 708 when necessary.
- the series of processing explained in this specification can be executed by hardware, software, or a combination of the hardware and the software.
- the processing by the software it is possible to install a program having a processing sequence recorded therein in a memory in a computer incorporated in dedicated hardware and cause the computer to execute the program or install the program in a general-purpose computer, which can execute various kinds of processing, and cause the general-purpose computer to execute the program.
- the program can be recorded in a recording medium in advance.
- the program can be received through a network such as a LAN (Local Area Network) or the Internet and installed in a recording medium such as a built-in hard disk or the like.
- LAN Local Area Network
- a system is a configuration of a logical set of plural apparatuses and is not limited to a system in which apparatuses having individual configurations are provided in an identical housing.
- a face area and face components such as eyes, a nose, and a mouth included in an image are detected.
- the line-of-sight discriminating unit executes line-of-sight discrimination processing for a face image from which the eyes, the nose, and the mouth are detected.
- the line-of-sight discriminating unit performs processing for discriminating whether a line of sight of the face image data from which the face component is detected is in either of two states of a positive state in which a line of sight is directed in a camera direction or a negative state in which a line of sight is not directed in a camera direction using a line-of-sight discrimination dictionary in which learning data including classification data corresponding to the respective states are stored.
- the line-of-sight discriminating unit performs the line-of-sight discrimination processing by applying the PixDif algorism that uses a difference value of a pixel pair in a specific position of an image as comparison and collation data.
- the line-of-sight discrimination is based on clear discrimination of two states, i.e., a state in which a line of sight is directed in a camera direction and a state in which a line of sight is not directed in a camera direction. Therefore, accuracy of the discrimination processing is high and a value of use of a discrimination result is also high.
Landscapes
- Engineering & Computer Science (AREA)
- Health & Medical Sciences (AREA)
- Oral & Maxillofacial Surgery (AREA)
- General Health & Medical Sciences (AREA)
- Multimedia (AREA)
- Physics & Mathematics (AREA)
- Human Computer Interaction (AREA)
- General Physics & Mathematics (AREA)
- Computer Vision & Pattern Recognition (AREA)
- Theoretical Computer Science (AREA)
- Signal Processing (AREA)
- Image Analysis (AREA)
- Image Processing (AREA)
- Studio Devices (AREA)
- Processing Or Creating Images (AREA)
Applications Claiming Priority (1)
| Application Number | Priority Date | Filing Date | Title |
|---|---|---|---|
| JP2007227262A JP2009059257A (ja) | 2007-09-03 | 2007-09-03 | 情報処理装置、および情報処理方法、並びにコンピュータ・プログラム |
Publications (1)
| Publication Number | Publication Date |
|---|---|
| EP2031545A2 true EP2031545A2 (en) | 2009-03-04 |
Family
ID=40177981
Family Applications (1)
| Application Number | Title | Priority Date | Filing Date |
|---|---|---|---|
| EP08162818A Withdrawn EP2031545A2 (en) | 2007-09-03 | 2008-08-22 | Information processing apparatus, information processing method, and computer program |
Country Status (5)
| Country | Link |
|---|---|
| US (1) | US8295556B2 (enExample) |
| EP (1) | EP2031545A2 (enExample) |
| JP (1) | JP2009059257A (enExample) |
| KR (1) | KR20090024086A (enExample) |
| CN (1) | CN101383000B (enExample) |
Cited By (2)
| Publication number | Priority date | Publication date | Assignee | Title |
|---|---|---|---|---|
| EP3113073A1 (en) * | 2015-07-03 | 2017-01-04 | Panasonic Intellectual Property Management Co., Ltd. | Determination device, determination method, and non-transitory storage medium |
| CN115269653A (zh) * | 2022-07-29 | 2022-11-01 | 中汽研汽车检验中心(武汉)有限公司 | 一种针对安全达标车型检测项目的自动视同判定方法 |
Families Citing this family (34)
| Publication number | Priority date | Publication date | Assignee | Title |
|---|---|---|---|---|
| JP5662670B2 (ja) * | 2009-10-27 | 2015-02-04 | キヤノン株式会社 | 画像処理装置、画像処理方法、及びプログラム |
| JP5634111B2 (ja) * | 2010-04-28 | 2014-12-03 | キヤノン株式会社 | 映像編集装置、映像編集方法及びプログラム |
| JP5618686B2 (ja) * | 2010-08-03 | 2014-11-05 | キヤノン株式会社 | 視線検出装置、視線検出方法及びプログラム |
| US9507416B2 (en) * | 2011-02-22 | 2016-11-29 | Robert Howard Kimball | Providing a corrected view based on the position of a user with respect to a mobile platform |
| JP5755012B2 (ja) * | 2011-04-21 | 2015-07-29 | キヤノン株式会社 | 情報処理装置、その処理方法、プログラム及び撮像装置 |
| JP5797009B2 (ja) * | 2011-05-19 | 2015-10-21 | 三菱重工業株式会社 | 音声認識装置、ロボット、及び音声認識方法 |
| JP2013092911A (ja) * | 2011-10-26 | 2013-05-16 | Sony Corp | 情報処理装置、情報処理方法、および、プログラム |
| US20130273969A1 (en) * | 2011-12-01 | 2013-10-17 | Finding Rover, Inc. | Mobile app that generates a dog sound to capture data for a lost pet identifying system |
| KR101245330B1 (ko) * | 2011-12-20 | 2013-03-25 | 경희대학교 산학협력단 | 개인용 컴퓨터 기반 시야 자가진단 시스템 및 시선 고정방법 |
| US10559380B2 (en) | 2011-12-30 | 2020-02-11 | Elwha Llc | Evidence-based healthcare information management protocols |
| US10475142B2 (en) | 2011-12-30 | 2019-11-12 | Elwha Llc | Evidence-based healthcare information management protocols |
| US10528913B2 (en) | 2011-12-30 | 2020-01-07 | Elwha Llc | Evidence-based healthcare information management protocols |
| US10340034B2 (en) | 2011-12-30 | 2019-07-02 | Elwha Llc | Evidence-based healthcare information management protocols |
| US10679309B2 (en) | 2011-12-30 | 2020-06-09 | Elwha Llc | Evidence-based healthcare information management protocols |
| US20130173294A1 (en) | 2011-12-30 | 2013-07-04 | Elwha LLC, a limited liability company of the State of Delaware | Evidence-based healthcare information management protocols |
| US10552581B2 (en) | 2011-12-30 | 2020-02-04 | Elwha Llc | Evidence-based healthcare information management protocols |
| US9148537B1 (en) * | 2012-05-18 | 2015-09-29 | hopTo Inc. | Facial cues as commands |
| US9395826B1 (en) | 2012-05-25 | 2016-07-19 | hopTo Inc. | System for and method of translating motion-based user input between a client device and an application host computer |
| US8995772B2 (en) * | 2012-11-09 | 2015-03-31 | Microsoft Technology Licensing, Llc | Real-time face detection using pixel pairs |
| JP6157165B2 (ja) | 2013-03-22 | 2017-07-05 | キヤノン株式会社 | 視線検出装置及び撮像装置 |
| WO2015072604A1 (ko) * | 2013-11-15 | 2015-05-21 | 엘지전자(주) | 투명 디스플레이 장치와 그의 제어방법 |
| JP2015142317A (ja) * | 2014-01-30 | 2015-08-03 | シャープ株式会社 | 電子機器 |
| JP6414742B2 (ja) * | 2014-11-25 | 2018-10-31 | カシオ計算機株式会社 | 撮影装置、撮影方法及びプログラム |
| JP6249263B2 (ja) * | 2015-09-08 | 2017-12-20 | 日本電気株式会社 | 顔認識システム、顔認識方法、表示制御装置、表示制御方法および表示制御プログラム |
| JP6872742B2 (ja) * | 2016-06-30 | 2021-05-19 | 学校法人明治大学 | 顔画像処理システム、顔画像処理方法及び顔画像処理プログラム |
| CN105930834B (zh) * | 2016-07-01 | 2019-04-09 | 北京邮电大学 | 基于球哈希二值编码的人脸识别方法及装置 |
| WO2018078857A1 (ja) | 2016-10-31 | 2018-05-03 | 日本電気株式会社 | 視線推定装置、視線推定方法及びプログラム記録媒体 |
| US10740446B2 (en) | 2017-08-24 | 2020-08-11 | International Business Machines Corporation | Methods and systems for remote sensing device control based on facial information |
| CN108924483A (zh) * | 2018-06-27 | 2018-11-30 | 南京朴厚生态科技有限公司 | 一种基于深度学习技术的野外动物的自动监测系统和方法 |
| JP7107380B2 (ja) | 2018-09-26 | 2022-07-27 | 日本電気株式会社 | 推定装置、推定方法、およびプログラム |
| CN110458122B (zh) * | 2019-08-15 | 2022-04-22 | 京东方科技集团股份有限公司 | 一种视线标校方法、显示装置的播放方法和视线标校系统 |
| JP7640291B2 (ja) * | 2021-03-08 | 2025-03-05 | 本田技研工業株式会社 | 較正装置及び較正方法 |
| TWI771004B (zh) | 2021-05-14 | 2022-07-11 | 財團法人工業技術研究院 | 物件姿態估測系統及其執行方法與圖案化使用者介面 |
| JP7729466B2 (ja) * | 2022-03-18 | 2025-08-26 | 日本電気株式会社 | 画像分類装置、画像分類方法、及び、プログラム |
Citations (2)
| Publication number | Priority date | Publication date | Assignee | Title |
|---|---|---|---|---|
| JP2005284348A (ja) | 2004-03-26 | 2005-10-13 | Sony Corp | 情報処理装置および方法、記録媒体、並びにプログラム |
| JP2007227262A (ja) | 2006-02-24 | 2007-09-06 | Mitsubishi Cable Ind Ltd | 集合導体及びその製造方法 |
Family Cites Families (22)
| Publication number | Priority date | Publication date | Assignee | Title |
|---|---|---|---|---|
| US5640610A (en) * | 1992-03-18 | 1997-06-17 | Nikon Corporation | Camera with a line-of-sight detecting device |
| JP3352238B2 (ja) * | 1994-07-26 | 2002-12-03 | キヤノン株式会社 | 視線検出装置及びカメラ |
| EP0701162B1 (en) * | 1994-09-07 | 2003-11-26 | Canon Kabushiki Kaisha | A camera having a line-of-sight detecting means |
| USRE38884E1 (en) * | 1995-02-16 | 2005-11-22 | Sumitomo Electric Industries, Ltd. | Two-way interactive system, terminal equipment and image pickup apparatus having mechanism for matching lines of sight between interlocutors through transmission means |
| AU3039297A (en) * | 1996-06-06 | 1998-01-05 | British Telecommunications Public Limited Company | Personal identification |
| JPH11110120A (ja) * | 1997-10-07 | 1999-04-23 | Canon Inc | 視線情報入力装置及び視線情報入力方法 |
| JP3361980B2 (ja) * | 1997-12-12 | 2003-01-07 | 株式会社東芝 | 視線検出装置及びその方法 |
| JP2000259814A (ja) * | 1999-03-11 | 2000-09-22 | Toshiba Corp | 画像処理装置及びその方法 |
| US7221809B2 (en) * | 2001-12-17 | 2007-05-22 | Genex Technologies, Inc. | Face recognition system and method |
| US20030169906A1 (en) * | 2002-02-26 | 2003-09-11 | Gokturk Salih Burak | Method and apparatus for recognizing objects |
| CN1174337C (zh) * | 2002-10-17 | 2004-11-03 | 南开大学 | 识别人眼注视与否的方法和装置及其应用 |
| JP4218348B2 (ja) * | 2003-01-17 | 2009-02-04 | オムロン株式会社 | 撮影装置 |
| US7593550B2 (en) * | 2005-01-26 | 2009-09-22 | Honeywell International Inc. | Distance iris recognition |
| JP5093968B2 (ja) * | 2003-10-15 | 2012-12-12 | オリンパス株式会社 | カメラ |
| JP4604190B2 (ja) * | 2004-02-17 | 2010-12-22 | 国立大学法人静岡大学 | 距離イメージセンサを用いた視線検出装置 |
| JP2005253778A (ja) * | 2004-03-12 | 2005-09-22 | Gen Tec:Kk | 視線検出方法及び同装置 |
| JP2006319610A (ja) * | 2005-05-12 | 2006-11-24 | Matsushita Electric Ind Co Ltd | 撮像装置 |
| JP4628882B2 (ja) | 2005-06-16 | 2011-02-09 | 富士フイルム株式会社 | 判別器の学習方法、顔判別方法および装置並びにプログラム |
| JP2007011935A (ja) | 2005-07-04 | 2007-01-18 | Fujifilm Holdings Corp | 顔判別方法および装置並びにプログラム |
| JP2007094618A (ja) * | 2005-09-28 | 2007-04-12 | Omron Corp | 通知制御装置および方法、記録媒体、並びに、プログラム。 |
| JP4824420B2 (ja) * | 2006-02-07 | 2011-11-30 | アイテック株式会社 | 視線ベクトル検出方法及び同装置 |
| JP2007265367A (ja) * | 2006-03-30 | 2007-10-11 | Fujifilm Corp | 視線検出方法および装置ならびにプログラム |
-
2007
- 2007-09-03 JP JP2007227262A patent/JP2009059257A/ja active Pending
-
2008
- 2008-08-22 EP EP08162818A patent/EP2031545A2/en not_active Withdrawn
- 2008-08-25 US US12/197,408 patent/US8295556B2/en not_active Expired - Fee Related
- 2008-09-01 CN CN2008102139672A patent/CN101383000B/zh not_active Expired - Fee Related
- 2008-09-02 KR KR1020080086317A patent/KR20090024086A/ko not_active Withdrawn
Patent Citations (2)
| Publication number | Priority date | Publication date | Assignee | Title |
|---|---|---|---|---|
| JP2005284348A (ja) | 2004-03-26 | 2005-10-13 | Sony Corp | 情報処理装置および方法、記録媒体、並びにプログラム |
| JP2007227262A (ja) | 2006-02-24 | 2007-09-06 | Mitsubishi Cable Ind Ltd | 集合導体及びその製造方法 |
Cited By (3)
| Publication number | Priority date | Publication date | Assignee | Title |
|---|---|---|---|---|
| EP3113073A1 (en) * | 2015-07-03 | 2017-01-04 | Panasonic Intellectual Property Management Co., Ltd. | Determination device, determination method, and non-transitory storage medium |
| CN115269653A (zh) * | 2022-07-29 | 2022-11-01 | 中汽研汽车检验中心(武汉)有限公司 | 一种针对安全达标车型检测项目的自动视同判定方法 |
| CN115269653B (zh) * | 2022-07-29 | 2023-07-04 | 中汽研汽车检验中心(武汉)有限公司 | 一种针对安全达标车型检测项目的自动视同判定方法 |
Also Published As
| Publication number | Publication date |
|---|---|
| CN101383000B (zh) | 2012-08-22 |
| CN101383000A (zh) | 2009-03-11 |
| KR20090024086A (ko) | 2009-03-06 |
| US20090060291A1 (en) | 2009-03-05 |
| US8295556B2 (en) | 2012-10-23 |
| JP2009059257A (ja) | 2009-03-19 |
Similar Documents
| Publication | Publication Date | Title |
|---|---|---|
| US8295556B2 (en) | Apparatus and method for determining line-of-sight direction in a face image and controlling camera operations therefrom | |
| KR101632819B1 (ko) | 무인 이미지 캡쳐를 위한 방법 및 장치 | |
| US8314854B2 (en) | Apparatus and method for image recognition of facial areas in photographic images from a digital camera | |
| US20090174805A1 (en) | Digital camera focusing using stored object recognition | |
| CN101189621B (zh) | 利用摄影者身份来分类图像 | |
| US20090219405A1 (en) | Information processing apparatus, eye open/closed degree determination method, computer-readable storage medium, and image sensing apparatus | |
| JP5662670B2 (ja) | 画像処理装置、画像処理方法、及びプログラム | |
| KR20050085583A (ko) | 표정 불변 얼굴 인식 | |
| US11354882B2 (en) | Image alignment method and device therefor | |
| US20120300092A1 (en) | Automatically optimizing capture of images of one or more subjects | |
| JP2008131204A (ja) | 撮像装置及びその制御方法及びプログラム及び記憶媒体 | |
| WO2005024707A1 (en) | Apparatus and method for feature recognition | |
| KR101104656B1 (ko) | 펫 화상 검출 시스템 및 그 동작 제어 방법 | |
| CN109986553B (zh) | 一种主动交互的机器人、系统、方法及存储装置 | |
| Fernandes et al. | IoT based smart security for the blind | |
| CN109981970B (zh) | 一种确定拍摄场景的方法、装置和机器人 | |
| US8379104B2 (en) | Camera device and method for capturing non-blinking images of people | |
| CN113542866A (zh) | 视频处理方法、装置、设备及计算机可读存储介质 | |
| JP2024044186A (ja) | 推定装置、推定方法及びプログラム | |
| JP2018173799A (ja) | 画像解析装置 | |
| CN117241130A (zh) | 动态影像的处理方法、电子装置及其连接的终端装置 | |
| HK40054002A (en) | Video processing method, apparatus and device, and computer readable storage medium | |
| WO2024062971A1 (ja) | 情報処理装置、情報処理方法および情報処理プログラム | |
| CN120067059A (zh) | 一种相册清理方法、装置、电子设备及介质 | |
| CN116453172A (zh) | 图像处理方法、装置、电子设备及存储介质 |
Legal Events
| Date | Code | Title | Description |
|---|---|---|---|
| PUAI | Public reference made under article 153(3) epc to a published international application that has entered the european phase |
Free format text: ORIGINAL CODE: 0009012 |
|
| AK | Designated contracting states |
Kind code of ref document: A2 Designated state(s): AT BE BG CH CY CZ DE DK EE ES FI FR GB GR HR HU IE IS IT LI LT LU LV MC MT NL NO PL PT RO SE SI SK TR |
|
| AX | Request for extension of the european patent |
Extension state: AL BA MK RS |
|
| STAA | Information on the status of an ep patent application or granted ep patent |
Free format text: STATUS: THE APPLICATION HAS BEEN WITHDRAWN |
|
| 18W | Application withdrawn |
Effective date: 20130419 |