EP1988707B1 - Interactive television program guide with remote access - Google Patents
Interactive television program guide with remote access Download PDFInfo
- Publication number
- EP1988707B1 EP1988707B1 EP08104751.6A EP08104751A EP1988707B1 EP 1988707 B1 EP1988707 B1 EP 1988707B1 EP 08104751 A EP08104751 A EP 08104751A EP 1988707 B1 EP1988707 B1 EP 1988707B1
- Authority
- EP
- European Patent Office
- Prior art keywords
- program guide
- user
- remote
- remote access
- access
- Prior art date
- Legal status (The legal status is an assumption and is not a legal conclusion. Google has not performed a legal analysis and makes no representation as to the accuracy of the status listed.)
- Expired - Lifetime
Links
Images
Classifications
-
- H—ELECTRICITY
- H04—ELECTRIC COMMUNICATION TECHNIQUE
- H04N—PICTORIAL COMMUNICATION, e.g. TELEVISION
- H04N7/00—Television systems
- H04N7/16—Analogue secrecy systems; Analogue subscription systems
- H04N7/173—Analogue secrecy systems; Analogue subscription systems with two-way working, e.g. subscriber sending a programme selection signal
- H04N7/17309—Transmission or handling of upstream communications
- H04N7/17318—Direct or substantially direct transmission and handling of requests
-
- H—ELECTRICITY
- H04—ELECTRIC COMMUNICATION TECHNIQUE
- H04N—PICTORIAL COMMUNICATION, e.g. TELEVISION
- H04N21/00—Selective content distribution, e.g. interactive television or video on demand [VOD]
- H04N21/40—Client devices specifically adapted for the reception of or interaction with content, e.g. set-top-box [STB]; Operations thereof
- H04N21/41—Structure of client; Structure of client peripherals
- H04N21/4104—Peripherals receiving signals from specially adapted client devices
- H04N21/4126—The peripheral being portable, e.g. PDAs or mobile phones
- H04N21/41265—The peripheral being portable, e.g. PDAs or mobile phones having a remote control device for bidirectional communication between the remote control device and client device
-
- H—ELECTRICITY
- H04—ELECTRIC COMMUNICATION TECHNIQUE
- H04N—PICTORIAL COMMUNICATION, e.g. TELEVISION
- H04N21/00—Selective content distribution, e.g. interactive television or video on demand [VOD]
- H04N21/40—Client devices specifically adapted for the reception of or interaction with content, e.g. set-top-box [STB]; Operations thereof
- H04N21/43—Processing of content or additional data, e.g. demultiplexing additional data from a digital video stream; Elementary client operations, e.g. monitoring of home network or synchronising decoder's clock; Client middleware
- H04N21/431—Generation of visual interfaces for content selection or interaction; Content or additional data rendering
-
- H—ELECTRICITY
- H04—ELECTRIC COMMUNICATION TECHNIQUE
- H04N—PICTORIAL COMMUNICATION, e.g. TELEVISION
- H04N21/00—Selective content distribution, e.g. interactive television or video on demand [VOD]
- H04N21/40—Client devices specifically adapted for the reception of or interaction with content, e.g. set-top-box [STB]; Operations thereof
- H04N21/41—Structure of client; Structure of client peripherals
- H04N21/4104—Peripherals receiving signals from specially adapted client devices
- H04N21/4113—PC
-
- H—ELECTRICITY
- H04—ELECTRIC COMMUNICATION TECHNIQUE
- H04N—PICTORIAL COMMUNICATION, e.g. TELEVISION
- H04N21/00—Selective content distribution, e.g. interactive television or video on demand [VOD]
- H04N21/40—Client devices specifically adapted for the reception of or interaction with content, e.g. set-top-box [STB]; Operations thereof
- H04N21/41—Structure of client; Structure of client peripherals
- H04N21/422—Input-only peripherals, i.e. input devices connected to specially adapted client devices, e.g. global positioning system [GPS]
- H04N21/42204—User interfaces specially adapted for controlling a client device through a remote control device; Remote control devices therefor
-
- H—ELECTRICITY
- H04—ELECTRIC COMMUNICATION TECHNIQUE
- H04N—PICTORIAL COMMUNICATION, e.g. TELEVISION
- H04N21/00—Selective content distribution, e.g. interactive television or video on demand [VOD]
- H04N21/40—Client devices specifically adapted for the reception of or interaction with content, e.g. set-top-box [STB]; Operations thereof
- H04N21/41—Structure of client; Structure of client peripherals
- H04N21/422—Input-only peripherals, i.e. input devices connected to specially adapted client devices, e.g. global positioning system [GPS]
- H04N21/4227—Providing Remote input by a user located remotely from the client device, e.g. at work
-
- H—ELECTRICITY
- H04—ELECTRIC COMMUNICATION TECHNIQUE
- H04N—PICTORIAL COMMUNICATION, e.g. TELEVISION
- H04N21/00—Selective content distribution, e.g. interactive television or video on demand [VOD]
- H04N21/40—Client devices specifically adapted for the reception of or interaction with content, e.g. set-top-box [STB]; Operations thereof
- H04N21/43—Processing of content or additional data, e.g. demultiplexing additional data from a digital video stream; Elementary client operations, e.g. monitoring of home network or synchronising decoder's clock; Client middleware
- H04N21/436—Interfacing a local distribution network, e.g. communicating with another STB or one or more peripheral devices inside the home
- H04N21/43615—Interfacing a Home Network, e.g. for connecting the client to a plurality of peripherals
-
- H—ELECTRICITY
- H04—ELECTRIC COMMUNICATION TECHNIQUE
- H04N—PICTORIAL COMMUNICATION, e.g. TELEVISION
- H04N21/00—Selective content distribution, e.g. interactive television or video on demand [VOD]
- H04N21/40—Client devices specifically adapted for the reception of or interaction with content, e.g. set-top-box [STB]; Operations thereof
- H04N21/43—Processing of content or additional data, e.g. demultiplexing additional data from a digital video stream; Elementary client operations, e.g. monitoring of home network or synchronising decoder's clock; Client middleware
- H04N21/436—Interfacing a local distribution network, e.g. communicating with another STB or one or more peripheral devices inside the home
- H04N21/4363—Adapting the video stream to a specific local network, e.g. a Bluetooth® network
- H04N21/43637—Adapting the video stream to a specific local network, e.g. a Bluetooth® network involving a wireless protocol, e.g. Bluetooth, RF or wireless LAN [IEEE 802.11]
-
- H—ELECTRICITY
- H04—ELECTRIC COMMUNICATION TECHNIQUE
- H04N—PICTORIAL COMMUNICATION, e.g. TELEVISION
- H04N21/00—Selective content distribution, e.g. interactive television or video on demand [VOD]
- H04N21/40—Client devices specifically adapted for the reception of or interaction with content, e.g. set-top-box [STB]; Operations thereof
- H04N21/43—Processing of content or additional data, e.g. demultiplexing additional data from a digital video stream; Elementary client operations, e.g. monitoring of home network or synchronising decoder's clock; Client middleware
- H04N21/442—Monitoring of processes or resources, e.g. detecting the failure of a recording device, monitoring the downstream bandwidth, the number of times a movie has been viewed, the storage space available from the internal hard disk
- H04N21/44213—Monitoring of end-user related data
- H04N21/44222—Analytics of user selections, e.g. selection of programs or purchase activity
-
- H—ELECTRICITY
- H04—ELECTRIC COMMUNICATION TECHNIQUE
- H04N—PICTORIAL COMMUNICATION, e.g. TELEVISION
- H04N21/00—Selective content distribution, e.g. interactive television or video on demand [VOD]
- H04N21/40—Client devices specifically adapted for the reception of or interaction with content, e.g. set-top-box [STB]; Operations thereof
- H04N21/45—Management operations performed by the client for facilitating the reception of or the interaction with the content or administrating data related to the end-user or to the client device itself, e.g. learning user preferences for recommending movies, resolving scheduling conflicts
- H04N21/462—Content or additional data management, e.g. creating a master electronic program guide from data received from the Internet and a Head-end, controlling the complexity of a video stream by scaling the resolution or bit-rate based on the client capabilities
- H04N21/4622—Retrieving content or additional data from different sources, e.g. from a broadcast channel and the Internet
-
- H—ELECTRICITY
- H04—ELECTRIC COMMUNICATION TECHNIQUE
- H04N—PICTORIAL COMMUNICATION, e.g. TELEVISION
- H04N21/00—Selective content distribution, e.g. interactive television or video on demand [VOD]
- H04N21/40—Client devices specifically adapted for the reception of or interaction with content, e.g. set-top-box [STB]; Operations thereof
- H04N21/47—End-user applications
-
- H—ELECTRICITY
- H04—ELECTRIC COMMUNICATION TECHNIQUE
- H04N—PICTORIAL COMMUNICATION, e.g. TELEVISION
- H04N21/00—Selective content distribution, e.g. interactive television or video on demand [VOD]
- H04N21/40—Client devices specifically adapted for the reception of or interaction with content, e.g. set-top-box [STB]; Operations thereof
- H04N21/47—End-user applications
- H04N21/472—End-user interface for requesting content, additional data or services; End-user interface for interacting with content, e.g. for content reservation or setting reminders, for requesting event notification, for manipulating displayed content
- H04N21/47214—End-user interface for requesting content, additional data or services; End-user interface for interacting with content, e.g. for content reservation or setting reminders, for requesting event notification, for manipulating displayed content for content reservation or setting reminders; for requesting event notification, e.g. of sport results or stock market
-
- H—ELECTRICITY
- H04—ELECTRIC COMMUNICATION TECHNIQUE
- H04N—PICTORIAL COMMUNICATION, e.g. TELEVISION
- H04N21/00—Selective content distribution, e.g. interactive television or video on demand [VOD]
- H04N21/40—Client devices specifically adapted for the reception of or interaction with content, e.g. set-top-box [STB]; Operations thereof
- H04N21/47—End-user applications
- H04N21/475—End-user interface for inputting end-user data, e.g. personal identification number [PIN], preference data
- H04N21/4751—End-user interface for inputting end-user data, e.g. personal identification number [PIN], preference data for defining user accounts, e.g. accounts for children
-
- H—ELECTRICITY
- H04—ELECTRIC COMMUNICATION TECHNIQUE
- H04N—PICTORIAL COMMUNICATION, e.g. TELEVISION
- H04N21/00—Selective content distribution, e.g. interactive television or video on demand [VOD]
- H04N21/40—Client devices specifically adapted for the reception of or interaction with content, e.g. set-top-box [STB]; Operations thereof
- H04N21/47—End-user applications
- H04N21/475—End-user interface for inputting end-user data, e.g. personal identification number [PIN], preference data
- H04N21/4753—End-user interface for inputting end-user data, e.g. personal identification number [PIN], preference data for user identification, e.g. by entering a PIN or password
-
- H—ELECTRICITY
- H04—ELECTRIC COMMUNICATION TECHNIQUE
- H04N—PICTORIAL COMMUNICATION, e.g. TELEVISION
- H04N21/00—Selective content distribution, e.g. interactive television or video on demand [VOD]
- H04N21/40—Client devices specifically adapted for the reception of or interaction with content, e.g. set-top-box [STB]; Operations thereof
- H04N21/47—End-user applications
- H04N21/475—End-user interface for inputting end-user data, e.g. personal identification number [PIN], preference data
- H04N21/4755—End-user interface for inputting end-user data, e.g. personal identification number [PIN], preference data for defining user preferences, e.g. favourite actors or genre
-
- H—ELECTRICITY
- H04—ELECTRIC COMMUNICATION TECHNIQUE
- H04N—PICTORIAL COMMUNICATION, e.g. TELEVISION
- H04N21/00—Selective content distribution, e.g. interactive television or video on demand [VOD]
- H04N21/40—Client devices specifically adapted for the reception of or interaction with content, e.g. set-top-box [STB]; Operations thereof
- H04N21/47—End-user applications
- H04N21/478—Supplemental services, e.g. displaying phone caller identification, shopping application
- H04N21/47815—Electronic shopping
-
- H—ELECTRICITY
- H04—ELECTRIC COMMUNICATION TECHNIQUE
- H04N—PICTORIAL COMMUNICATION, e.g. TELEVISION
- H04N21/00—Selective content distribution, e.g. interactive television or video on demand [VOD]
- H04N21/40—Client devices specifically adapted for the reception of or interaction with content, e.g. set-top-box [STB]; Operations thereof
- H04N21/47—End-user applications
- H04N21/478—Supplemental services, e.g. displaying phone caller identification, shopping application
- H04N21/4782—Web browsing, e.g. WebTV
-
- H—ELECTRICITY
- H04—ELECTRIC COMMUNICATION TECHNIQUE
- H04N—PICTORIAL COMMUNICATION, e.g. TELEVISION
- H04N21/00—Selective content distribution, e.g. interactive television or video on demand [VOD]
- H04N21/40—Client devices specifically adapted for the reception of or interaction with content, e.g. set-top-box [STB]; Operations thereof
- H04N21/47—End-user applications
- H04N21/478—Supplemental services, e.g. displaying phone caller identification, shopping application
- H04N21/4786—Supplemental services, e.g. displaying phone caller identification, shopping application e-mailing
-
- H—ELECTRICITY
- H04—ELECTRIC COMMUNICATION TECHNIQUE
- H04N—PICTORIAL COMMUNICATION, e.g. TELEVISION
- H04N21/00—Selective content distribution, e.g. interactive television or video on demand [VOD]
- H04N21/40—Client devices specifically adapted for the reception of or interaction with content, e.g. set-top-box [STB]; Operations thereof
- H04N21/47—End-user applications
- H04N21/478—Supplemental services, e.g. displaying phone caller identification, shopping application
- H04N21/4788—Supplemental services, e.g. displaying phone caller identification, shopping application communicating with other users, e.g. chatting
-
- H—ELECTRICITY
- H04—ELECTRIC COMMUNICATION TECHNIQUE
- H04N—PICTORIAL COMMUNICATION, e.g. TELEVISION
- H04N21/00—Selective content distribution, e.g. interactive television or video on demand [VOD]
- H04N21/40—Client devices specifically adapted for the reception of or interaction with content, e.g. set-top-box [STB]; Operations thereof
- H04N21/47—End-user applications
- H04N21/482—End-user interface for program selection
-
- H—ELECTRICITY
- H04—ELECTRIC COMMUNICATION TECHNIQUE
- H04N—PICTORIAL COMMUNICATION, e.g. TELEVISION
- H04N21/00—Selective content distribution, e.g. interactive television or video on demand [VOD]
- H04N21/40—Client devices specifically adapted for the reception of or interaction with content, e.g. set-top-box [STB]; Operations thereof
- H04N21/47—End-user applications
- H04N21/482—End-user interface for program selection
- H04N21/4821—End-user interface for program selection using a grid, e.g. sorted out by channel and broadcast time
-
- H—ELECTRICITY
- H04—ELECTRIC COMMUNICATION TECHNIQUE
- H04N—PICTORIAL COMMUNICATION, e.g. TELEVISION
- H04N21/00—Selective content distribution, e.g. interactive television or video on demand [VOD]
- H04N21/40—Client devices specifically adapted for the reception of or interaction with content, e.g. set-top-box [STB]; Operations thereof
- H04N21/47—End-user applications
- H04N21/488—Data services, e.g. news ticker
- H04N21/4882—Data services, e.g. news ticker for displaying messages, e.g. warnings, reminders
-
- H—ELECTRICITY
- H04—ELECTRIC COMMUNICATION TECHNIQUE
- H04N—PICTORIAL COMMUNICATION, e.g. TELEVISION
- H04N7/00—Television systems
- H04N7/10—Adaptations for transmission by electrical cable
- H04N7/106—Adaptations for transmission by electrical cable for domestic distribution
-
- H—ELECTRICITY
- H04—ELECTRIC COMMUNICATION TECHNIQUE
- H04N—PICTORIAL COMMUNICATION, e.g. TELEVISION
- H04N7/00—Television systems
- H04N7/16—Analogue secrecy systems; Analogue subscription systems
- H04N7/162—Authorising the user terminal, e.g. by paying; Registering the use of a subscription channel, e.g. billing
- H04N7/163—Authorising the user terminal, e.g. by paying; Registering the use of a subscription channel, e.g. billing by receiver means only
Definitions
- This invention relates to interactive television program guide video systems, and more particularly, to interactive television program guide systems that provide remote access to program guide functionality.
- Cable, satellite, and broadcast television systems provide viewers with a large number of television channels. Users have traditionally consulted printed television program schedules to determine the programs being broadcast at a particular time. More recently, interactive electronic television program guides have been developed that allow television program information to be displayed on a user's television.
- Interactive television program guides allow the user to navigate through television program listings using a remote control.
- various groups of television program listings are displayed in predefined or user-defined categories.
- Listings are typically displayed in a grid or table.
- Interactive television program guides are typically implemented on set-top boxes located in the homes of users.
- a typical set-top box is connected to the user's television and videocassette recorder.
- the program guide system is therefore not portable.
- the user cannot use the program guide to adjust program reminder settings, to select programs for recording, to purchase pay-per-view programs, or to perform other program guide functions without that user being physically located in the same room in the home.
- On-line program guides allow users to view program listings using a web-browser.
- the on-line program guides that are available on the Internet do not provide the versatility of in-home program guides.
- on-line program guides do not allow the user to set in-home reminders for programming, to adjust parental control settings, or to select programs for recording on the user's videocassette recorder.
- On-line program guides have also been implemented that allow users to order pay-per-view programs.
- Such systems allow users to order programs via a web server as opposed to via the telephone or using impulse ordering.
- a third party takes orders via the internet, bills the user, and provides ordering information to the headend.
- the headend authorizes the user's set-top to view the ordered program using conventional signal denial or signal scrambling systems without coordinating the ordering of the pay-per-view program with an in-home guide.
- Ordering pay-per-view programs in this manner i.e., without coordinating the order with an in-home guide
- Program guides that run on personal computers are also available. Such programs guides are useful for users who wish to view program listings information, but who cannot readily access their set-top-box-based program guide. For example, another member of the user's household may be watching television and therefore dominating the use of the set-top box and television. Because there is no way for the user of such a personal computer program guide to coordinate the operation of the personal computer program guide with the operation of the set-top box program guide, the user of a personal computer program guide is not able to use the personal computer program guide to set in-home reminders for programming, to adjust parental control settings, to select programs for recording on the user's videocassette recorder, or to purchase pay-per-view programs.
- Such a system may allow the user to access important features of the user's in-home program guide from a remote location and set program guide settings for those features.
- US 5648813 describes a method for accessing an interactive program guide implemented on user television equipment and sending it to a remote access device.
- FIG. 1 An illustrative system 10 in accordance with the present invention is shown in FIG. 1 .
- Main facility 12 provides interactive television program guide data from program guide data source 14 to interactive television program guide equipment 17 via communications link 18.
- communications link 18 There are preferably numerous pieces or installations of interactive television program guide equipment 17, although only one is shown in FIG. 1 to avoid over-complicating the drawing.
- Link 18 may be a satellite link, a telephone network link, a cable or fiber optic link, a microwave link, a combination of such links, an Internet link, or any other suitable communications path.
- the interactive television program guide data transmitted by main facility 12 to interactive television program guide equipment 17 may include television program listings data (e.g., program times, channels, titles, and descriptions) and other program guide data for additional services other than television program listings (e.g., pay-per-view information, weather information, associated Internet web links, computer software, etc.).
- Interactive television program guide equipment 17 may be connected to remote program guide access device 24 via remote access link 19.
- Interactive television program guide equipment may have more than one associated remote program guide access device 24, although only one such device 24 is shown in FIG. 1 to avoid overcomplicating the drawing.
- FIGS. 2a-2d An interactive television program guide is implemented on interactive television program guide equipment 17.
- interactive television program guide equipment 17 may include program guide distribution equipment 21 located at television distribution facility 16 and user television equipment 22.
- Television distribution facility 16 may be any suitable distribution facility (e.g., a cable system headend, a broadcast distribution facility, a satellite television distribution facility, or any other suitable type of television distribution facility).
- Television distribution facility 16 may distribute program guide data that it received from main facility 12 to multiple users via communications path 20.
- Program guide distribution equipment 21 may be any equipment suitable for providing program guide data to user television equipment 22.
- Program guide distribution equipment 21 may include, for example, suitable transmission hardware for distributing program guide data on a television channel sideband, in the vertical blanking interval of a television channel, using an in-band digital channel, using an out-of-band digital signal, or by any other suitable data transmission technique.
- Video signals (e.g., television programming) may also be provided by program guide distribution equipment 21 to user television equipment 22 over communications paths 20 on multiple television channels.
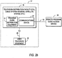
- FIGS. 2a and 2b show illustrative arrangements for interactive television program guide equipment 17 and remote program guide access device 24 in systems in which program guide data is provided to user television equipment 22 using a non client-server based approach.
- program guide data may be provided by television distribution facility 16 to user television equipment 22 in a continuous stream or may be transmitted at a suitable time interval (e.g., once per hour). If transmitted continuously, it may not be necessary to store data locally at user television equipment 22. Rather, user television equipment 22 may extract data "on the fly" as it is needed.
- television distribution facility 16 may poll user television equipment 22 periodically for certain information (e.g., pay program account information or information regarding programs that have been purchased and viewed using locally-generated authorization techniques).
- remote program guide access device 24 is connected to user television equipment 22.
- Television distribution facility 16 may distribute program guide data to user television equipment 22.
- User television equipment 22 may transfer the program guide data to remote program guide access device 24.
- User television equipment 22 may also transfer additional data that may be necessary for allowing remote program guide access device 24 to access various functions of the interactive program guide (e.g., reminder information, parental control settings, favorite channel settings, user profiles, etc.). Any suitable distribution scheme may be used.
- user television equipment 22 may provide the data to remote program guide access device 24 continuously, periodically, using a client-server based approach, using a polling scheme, or using any other suitable approach.
- Remote program guide access device 24 may store the data if suitable for a particular transmission scheme.
- remote program guide access device 24 is connected to television distribution facility 16 via communications device 27.
- television distribution facility 16 may distribute program guide data to remote program guide access device 24 directly.
- Television distribution facility 16 may also distribute additional data from user television equipment 22 that may be necessary for allowing remote program guide access device 24 to access various functions of the interactive program guide (e.g., reminder information, parental control settings, favorite channel settings, user profiles, etc.).
- Television distribution facility 16 may provide the data to remote program guide access device 24 continuously, periodically, using a client-server based approach, using a polling scheme, or using any other suitable approach.
- Remote program guide access device may store the data if suitable for a particular transmission scheme.
- FIGS. 2c and 2d show illustrative arrangements for interactive television program guide equipment 17 and remote program guide access device 24 in client-server based interactive program guide systems.
- program guide distribution equipment 21 may include program guide server 25.
- Program guide server 25 may be any suitable software, hardware, or combination thereof for providing a client-server based program guide.
- Program guide server 25 may, for example, generate program guide display screens as digital frames and distribute the frames to user television equipment 22 for display by an interactive program guide client implemented on user television equipment 22.
- program guide server 25 may run a suitable database engine, such a SQL server, and provide program guide data in response to queries generated by user television equipment 22.
- program guide server 25 may be located at main facility 12 or at some other facility suitable for providing program guide data via a program guide server (not shown).
- Remote program guide access device 24 may, for example, communicate with user television equipment 22 over remote access link 19 as shown in FIG. 2c . Requests, commands, or other suitable communications may be provided by remote program guide access device 24 to user television equipment 22 and then forwarded by user television equipment 22 to program guide server 25. Program guide data or display screens provided by program guide server 25 may be forwarded by user television equipment 22 to remote program guide access device 24.
- remote program guide access device 24 may, for example, communicate with program guide server 25 over remote access link 19 via communications device 27 as shown in FIG. 2d .
- Appropriate commands, requests, or other suitable communications may be transmitted by remote program guide access device 24 for processing by program guide server 25.
- program guide server may, for example, update a local program guide client running on user television equipment 22 with the necessary information.
- television distribution facility 16 may have communications device 27 for communicating with remote program guide access device 24 over remote access link 19.
- Communications device 27 may be, for example, a communications port (e.g., a serial port, parallel port, universal serial bus (USB) port, etc.), modem (e.g., any suitable analog or digital modem, cellular modem, or cable modem), network interface card (e.g., an Ethernet card, token ring card, etc.), wireless transceiver (e.g., an infrared transceiver or other suitable transceiver), or other suitable communications device.
- a communications port e.g., a serial port, parallel port, universal serial bus (USB) port, etc.
- modem e.g., any suitable analog or digital modem, cellular modem, or cable modem
- network interface card e.g., an Ethernet card, token ring card, etc.
- wireless transceiver e.g., an infrared transceiver or other suitable transceiver
- remote program guide access device 24 may be connected to user television equipment 22 (as shown in FIGS. 2a and 2c ), television distribution facility 16 (as shown in FIG. 2b ), connected to both (as indicated in FIG. 1 ), or may communicate with remote program guide server 25 (as shown in FIG. 2d ) via remote access link 19.
- Remote access link 19 may be any suitable wired or wireless communications path or paths over which digital or analog communications may take place between interactive television program guide equipment 17 and remote program guide access device 24.
- Each user has user television equipment 22 for displaying the television program listings information and other program guide data using a local interactive television program guide.
- Television distribution facility 16 may distribute television programming to user television equipment 22 via communications path 20. If desired, television programming may be provided over separate communications paths (not shown).
- the present invention is illustrated, unless otherwise indicated, in connection with a system arrangement in which program guide data is distributed from a main facility to an interactive television program guide implemented on user television equipment via a television distribution facility.
- Other suitable systems involve arrangements in which data is distributed to a program guide on user television equipment using other suitable distribution schemes, such as schemes involving data transmission over the Internet or the like.
- the interactive television program guide application may be implemented using a client-server architecture in which the primary processing power for the application is provided by a server located at, for example, the television distribution facility or the main facility (e.g., program guide server 25), and user television equipment 22 acts as a client processor as illustrated by FIGS. 2c and 2d .
- the interactive television program guide may obtain program guide data from the Internet.
- On-line program guides are described, for example, in Boyer et al. U.S. patent application Serial No. 08/938,028, filed September 18, 1997 , which is hereby incorporated by reference herein in its entirety.
- FIG. 3 An illustrative arrangement for user television equipment 22 is shown in FIG. 3 .
- User television equipment 22 of FIG. 3 receives video and data from television distribution facility 16 ( FIG. 1 ) at input 26. During normal television viewing, the user tunes set-top box 28 to a desired television channel. The signal for that television channel is then provided at video output 30.
- the signal supplied at output 30 is typically either a radio-frequency (RF) signal on a predefined channel (e.g., channel 3 or 4), or a analog demodulated video signal, but may also be a digital signal provided to television 36 on an appropriate digital bus (e.g., a bus using the Institute of Electrical and Electronics Engineers (IEEE) 1394 standard, (not shown)).
- RF radio-frequency
- the video signal at output 30 is received by optional secondary storage device 32.
- Secondary storage device 32 can be any suitable type of analog or digital program storage device or player (e.g., a videocassette recorder, a digital video disc (DVD) player, a hard-disk based storage device, etc.).
- Program recording and other features may be controlled by set-top box 28 using control path 34.
- a typical control path 34 involves the use of an infrared transmitter coupled to the infrared receiver in the videocassette recorder that normally accepts commands from a remote control such as remote control 40.
- Remote control 40 may be used to control set-top box 28, secondary storage device 32, and television 36.
- the interactive television program guide may run on set-top box 28, on television 36 (if television 36 has suitable processing circuitry and memory), on secondary storage device 32 or on optional digital storage device 31 (if they have suitable processing circuitry and memory) or on a suitable analog or digital receiver connected to television 36.
- the interactive television program guide may also run cooperatively on both television 36 and set-top box 28.
- Digital storage device 31 may be a writable optical storage device (such as a DVD player capable of handling recordable DVD discs), a magnetic storage device (such as a disk drive or digital tape), or any other digital storage device.
- Digital storage device 31 can be contained in set-top box 28 or it can be an external device connected to set-top box 28 via an output port and appropriate interface. If necessary, processing circuitry in set-top box 28 formats the received video, audio and data signals into a digital file format.
- the file format is an open file format such as the Motion Pictures Expert Group (MPEG) MPEG-2 standard.
- MPEG Motion Pictures Expert Group
- the resulting data is streamed to digital storage device 31 via an appropriate bus (e.g., a bus using the Institute Electrical and Electronics Engineers (IEEE) 1394 standard), and is stored on digital storage device 31.
- Digital storage device 31 and secondary storage device 32 may be integrated into a sophisticated set-top box if desired.
- Television 36 receives video signals from secondary storage device 32 via communications path 38.
- the video signals on communications path 38 may either be generated by secondary storage device 32 when playing back a prerecorded storage medium (e.g., a videocassette or a recordable digital video disc), by digital storage device 31 when playing back a prerecorded digital medium, may be passed through from set-top box 28, may be provided directly to television 36 from set-top box 28 if secondary storage device 32 is not included in user television equipment 22, or may be received directly by television 36.
- the video signals provided to television 36 correspond to the desired channel to which the user has tuned with set-top box 28.
- Video signals may also be provided to television 36 by set-top box 28 when set-top box 28 is used to play back information stored on digital storage device 31.
- Set-top box 28 may have communications device 37 for communicating with remote program guide access device 24 over remote access link 19.
- Communications device 37 may be, for example, a communications port (e.g., a serial port, parallel port, universal serial bus (USB) port, etc.), modem (e.g., any suitable analog or digital modem, cellular modem, or cable modem), network interface card (e.g., an Ethernet card, token ring card, etc.), wireless transceiver (e.g., an infrared transceiver or other suitable transceiver), or other suitable communications device.
- Television 36 may also have such a suitable communications device connected to remote access link 19 if desired.
- remote program guide access device 24 may be connected via remote access link 19 to one of the guides and may provide users with the ability to remotely coordinate the functions of all of the guides.
- FIG. 4 A more generalized embodiment of user television equipment 22 of FIG. 3 is shown in FIG. 4 .
- program guide data from television distribution facility 16 ( FIGS. 2a-2d ) is received by control circuitry 42 of user television equipment 22.
- Control circuitry 42 may also send data and commands or requests back to television distribution facility 16.
- the functions of control circuitry 42 may be provided using the set-top box arrangement of FIGS. 2a and 2b . Alternatively, these functions may be integrated into an advanced television receiver, personal computer television (PC/TV), or any other suitable arrangement. If desired, a combination of such arrangements may be used.
- PC/TV personal computer television
- the user controls the operation of user television equipment 22 with user interface 46.
- User interface 46 may be a pointing device, wireless remote control, keyboard, touch-pad, voice recognition system, or any other suitable user input device.
- the user instructs control circuitry 42 to display a desired television channel on display device 45.
- Display device 45 may be a television, monitor, or other suitable display device.
- the user instructs the program guide implemented on interactive television program guide equipment 17 to generate a main menu or other desired program guide display screen for display on display device 45.
- User television equipment 22 of FIG. 4 may also have communications device 51 for supporting communications between user television equipment 22 and remote program guide access device 24 over remote access link 19.
- Communications device 51 may be a communications port (e.g., a serial port, parallel port, universal serial bus (USB) port, etc.), modem (e.g., any suitable analog or digital standard, cellular, or cable modem), network interface card (e.g., an Ethernet card, Token ring card, etc.), wireless transceiver (e.g., an infrared, radio, or other suitable analog or digital transceiver), or other suitable communications device.
- a communications port e.g., a serial port, parallel port, universal serial bus (USB) port, etc.
- modem e.g., any suitable analog or digital standard, cellular, or cable modem
- network interface card e.g., an Ethernet card, Token ring card, etc.
- wireless transceiver e.g., an infrared, radio, or other suitable
- User television equipment 22 may also have secondary storage device 47, digital storage device 49, or any suitable combination thereof for recording programming.
- Secondary storage device 47 can be any suitable type of analog or digital program storage device (e.g., a videocassette recorder, a digital video disc (DVD), etc.).
- Program recording and other features may be controlled by control circuitry 42.
- Digital storage device 49 can be, for example, a writable optical storage device (such as a DVD player capable of handling recordable DVD discs), a magnetic storage device (such as a disk drive or digital tape), or any other digital storage device.
- remote program guide access device 24 may be any suitable personal computer (PC), portable computer (e.g., a notebook computer), palmtop computer, handheld personal computer (H/PC), display remote, touch-screen remote, automobile PC, personal digital assistant (PDA), or other suitable computer based device.
- Remote program guide access device 24 may have user interface 52, processing circuitry 54, storage 56, and communications device 58.
- User interface 52 may be any suitable input or output device or system, and may include a pointing device, keyboard, touch-pad, touch screen, pen stylus, voice recognition system, mouse, trackball, cathode ray tube (CRT) monitor, liquid crystal display (LCD), voice synthesis processor and speaker, or any other suitable user input or output device.
- Processing circuitry 54 may include any suitable processor, such an Intel 486 or Pentium ® microprocessor.
- Remote program guide access device 24 may also have storage 56.
- Storage 56 may be any suitable memory or other storage device, such as RAM, ROM, flash memory, a hard disk drive, etc.
- Remote program guide access device 24 may also have communications device 58.
- Communications device 58 may be any device suitable for supporting communications between remote program access device 24 and interactive television program guide equipment 17 over link 19, such as a communications port (e.g., a serial port, parallel port, universal serial bus (US) port, etc.), modem (e.g., any suitable analog or digital standard modem or cellular modem), network interface card (e.g., an Ethernet card, token ring card, etc.), wireless transceiver (e.g., an infrared, radio, or other suitable analog or digital transceiver), or other suitable communications device.
- a communications port e.g., a serial port, parallel port, universal serial bus (US) port, etc.
- modem e.g., any suitable analog or digital standard modem or cellular modem
- network interface card e.g., an Ethernet card, token ring card, etc.
- wireless transceiver e.g., an infrared, radio, or other suitable analog
- Remote access link 19 may include any suitable transmission medium.
- Link 19 may include, for example, a serial or parallel cable, a dial-up telephone line, a computer network or Internet link (e.g., 10Base2, 10Base 5, 10OBaseT, 100BaseT, 10BaseF, T1, T3, etc.), an in-home network link, an infrared link, a radio frequency link, a satellite link, any other suitable transmission link or suitable combination of such links.
- remote access link 19 is bidirectional. If desired, however, certain limited program guide functions may be accessed using a unidirectional link. An advantage of using a unidirectional scheme for link 19 is that such schemes are generally less complicated and then less expensive than bidirectional links.
- Remote program guide access device 24 and interactive television program guide equipment 17 may communicate over remote access link 19 using any suitable network and transport layer protocols, if desired.
- Remote program guide access device 24 and interactive television program guide equipment 17 may communicate, for example, using a protocol stack which includes Sequenced Packet Exchange/Internetwork Packet Exchange (SPX/IPX) layers, Transmission Control Protocol/Internet Protocol (TCP/IP) layers, Appletalk Transaction Protocol/Datagram Delivery Protocol (ATP/DDP) layers, or any other suitable network and transport layer protocols or combination of protocols.
- SPX/IPX Sequenced Packet Exchange/Internetwork Packet Exchange
- TCP/IP Transmission Control Protocol/Internet Protocol
- ATP/DDP Appletalk Transaction Protocol/Datagram Delivery Protocol
- Remote program guide access device 24 may communicate with interactive television program guide equipment 17 using any suitable scheme.
- Remote program guide access device 24 may, for example, connect to interactive television program guide equipment 17 using a terminal emulation scheme, such as VT100 terminal emulation, and access the interactive television program guide as if it were a "dumb terminal.”
- Remote program guide access device 24 may, for example, run a standard remote access client such as a Windows ® Remote Access Services (RAS) client and may connect to a Windows NT ® Server process running on interactive television program guide equipment 17. Any suitable combination of hardware and software may be used.
- RAS Windows ® Remote Access Services
- any number of other access, data-link, network, routing or other protocols may be involved in supporting communications between remote program guide access device 24 and television distribution facility 16 over remote access link 19 (e.g., X.25, Frame Relay, Asynchronous Transfer Mode (ATM), Serial Line Interface (SLIP), point-to-point protocols (PPP), or any other suitable access, data-link, network, routing or other protocol).
- remote access link 19 e.g., X.25, Frame Relay, Asynchronous Transfer Mode (ATM), Serial Line Interface (SLIP), point-to-point protocols (PPP), or any other suitable access, data-link, network, routing or other protocol.
- FIGS. 6a and 6b show illustrative arrangements for supporting communications between remote program guide access device 24 and interactive television program guide equipment 17 over an Internet link.
- Television distribution facility 16 may, for example, include Internet service system 61 for providing Internet-based access to the program guide.
- Internet service system 61 may be any combination of hardware and software capable of providing an Internet connection to the programming guide.
- Remote program guide access device 24 may establish an Internet session with Internet service system 61 and thereby obtain program guide data from or set program guide settings with (e.g., set reminders or notifications, view listings, schedule program recording, set favorites, set parental control features, send messages, poll interactive television program guide equipment 17, etc.) the program guide running on interactive program guide equipment 17.
- Internet service system 61 may be located at a facility that is separate from television distribution facility 16.
- Program guide server 25 may, in turn, interact with the user's client device (e.g., user televison equipment 22).
- client device e.g., user televison equipment 22
- Internet service system 61 or other suitable equipment at television distribution facility 16 that is connected to Internet service system 61
- Program guide server 25 may interact with program guide server 25 when supporting communications between the program guide and the remote program guide access device 24.
- Internet service system 61 and program guide server 25 may be the same device or system.
- remote program guide access device 24 is a user's personal computer at work
- Internet service system 61 is a web server at a cable system headend
- user television equipment 22 at the user's home contains a set-top box on which the user's program guide is implemented.
- the user may access features of the program guide such as setting reminders or notifications, viewing listings, program recording, setting favorites, parental control, sending messages, polling for status, or any other suitable function.
- a child in the user's home desires permission to watch a parentally controlled program while the user is a at work
- the user may access a suitable web page provided by Internet service system 61 that allows the user to enter a password and adjust the program guide parental control settings.
- the changed settings allowing the child access to the desired program are then automatically transferred from Internet service system 61 to user television equipment 22, while the user is still at work.
- the user at work may interact with the program guide on user television equipment 22 via Internet service system 61 to select programs for recording on the user's home videocassette recorder, or to schedule program reminders that will appear on the user's home television or remote program guide access device just before a program is broadcast.
- FIG. 6c shows another illustrative arrangement for remote program guide access using the Internet.
- users do not directly communicate a local guide via the Internet as with the arrangements of FIG. 6a and 6b .
- users may have personal computer (PC) 231 as their remote access device on which a web browser is implemented for accessing an on-line program guide.
- Personal computer 231 may be connected to Internet service system 235 via Internet link 233.
- Internet service system 233 may use any suitable combination of computer hardware and software capable of providing an on-line program guide server application or web site. The user may access a personal web page and set various program guide settings and access various program guide functions.
- the user may, for example, set favorite channels, set parental control settings, schedule programs for play back or recording by the user's television equipment.
- Internet service system 235 may provide the settings and another program guide information to Internet service system 61 for distribution by program guide server 25 or distribution equipment 21 (as shown) to user television equipment 22.
- the local guide updates its settings, records programs, plays back programs, or performs any other suitable function accordingly.
- the local guide may also order pay-per-view programs.
- a remote access interactive television program guide may, for example, be implemented on remote program guide access device 24.
- the remote access interactive television program guide may communicate with the interactive television program guide that is implemented on interactive television program guide equipment 17, herein referred to as a "local" interactive television program guide.
- the remote access and local guide may, for example, be the same guide but compiled to run on two different platforms and to communicate in a manner or manners discussed herein.
- the remote access guide may be a client guide that communicates with the local guide (i.e., a server guide).
- the two guides may be different guides that communicate in a manner or manners discussed disclosed herein.
- remote program guide access device 24 is a personal computer as shown in FIG.
- the remote access interactive television program guide may have a reduced or limited functionality when compared to the functionality of the local interactive television program guide. Accordingly, the remote access guide may require less processing power and memory of remote program guide access device 24 than the local guide requires of interactive television program guide equipment 17.
- Program guide information (e.g., reminder information, listings information, recording information, message information, status information, parental control settings, audio and video, status or polling information, user information, favorites settings, or any other information necessary for remotely providing program guide functionality) may be exchanged, and settings set, between the two interactive television program guides over remote access link 19 using one or more access communications.
- Program guide information e.g., reminder information, listings information, recording information, message information, status information, parental control settings, audio and video, status or polling information, user information, favorites settings, or any other information necessary for remotely providing program guide functionality
- Access communications may include, for example, commands, requests, messages, remote procedure calls (e.g., using a proxy-stub pair), or any other suitable client-server or peer-to-peer communication. Access communications may also involve, for example, complex communications between application constructs running on remote program guide access device 24 and interactive television program guide equipment 17. Objects.running in the two versions of the program guides, for example, may communicate using an Object Request Broker (ORB).
- ORB Object Request Broker
- the program guide information may, for example, be encapsulated as component object model (COM) objects and persisted to files that are transmitted over remote access link 19.
- access communications may include HTML formatted markup language documents (e.g., web pages), that are exchanged between remote program guide access device 24 and interactive television program guide equipment via Internet service system 61.
- Program guide information may be transferred, and program guide settings set, between remote program guide access device 24 and interactive television program guide equipment 17 using any suitable application layer protocol if desired.
- link 19 is an Internet link
- program guide functionality may be accessed by, for example, using the Hypertext Transfer Protocol (HTTP).
- HTTP Hypertext Transfer Protocol
- Remote program guide access device 24 and interactive television program guide equipment 17 may, for example, transfer program guide information as files using the File Transfer Protocol (FTP) or Trivial File Transfer Protocol (TFTP), running over a TCP/IP protocol stack. Any suitable file transfer protocol based on any suitable protocol stack may be used.
- FTP File Transfer Protocol
- TFTP Trivial File Transfer Protocol
- Remote program guide access device 24 and interactive television program guide equipment 17 may also exchange program guide data and other information as messages using any suitable messaging scheme or messaging application programming interface (API).
- Program guide data and other information may, for example, be encapsulated into e-mail messages and transferred using the Simple Mail Transfer Protocol (SMTP), Messaging API (MAPI), or other suitable messaging protocol or API.
- SMTP Simple Mail Transfer Protocol
- MAPI Messaging API
- Remote program guide access device 24 and the interactive television program guide implemented on interactive program guide equipment 17 may exchange access communications to provide the user with access to program guide functionality as if the program guide were running locally on remote program guide access device 24.
- Remote program guide access device 24 may provide a user with access to any number of program guide functions such as accessing programming information, scheduling reminders for programs, setting and navigating through favorite channels, setting parental control settings, scheduling programming recordings, or any other program guide function to the extent allowed by the resources of remote program guide access device 24. If desired, remote program guide access device 24 may allow the user to perform other program guide functions, such as determining the status of user television equipment 22, sending messages to user television equipment 22, interacting with peripherals connected to user television equipment, and other suitable functions.
- the user may issue an appropriate command using user interface 52 ( FIG. 5 ).
- user interface 52 FIG. 5
- a "guide" key on user interface 52 can be used.
- user interface 52 includes a microphone and uses suitable voice recognition software, the user may speak a predetermined command into the microphone.
- Such an interface is especially useful in environments where remote program guide access device 24 must be operated without the use of one's hands, as with an automobile PC.
- remote program guide access device 24 may present program guide data and other information to the user as they are normally presented by user television equipment 22. In practice, appropriate differences in presentation may occur depending on the interface devices used in user television equipment 22 and remote program guide access device 24 (e.g., user television equipment 22 may use a television to output listings and remote program guide access device 24 may include a voice recognition and synthesis system to output synthesized voice listings).
- remote program guide access device 24 may, for example, access stored program guide information or obtain program guide information from interactive television program guide equipment 17 via remote access link 19 using any of the approaches already described, and generate an appropriate display screen for display using user interface 52.
- the local interactive television program guide implemented on interactive television program guide equipment 17 may receive one or more access communications from remote program guide access device 24 over link 19, generate the appropriate program guide display screen, and send the program guide display screen back to remote program guide access device 24 for display on user interface 52.
- a remote access guide may run on remote program guide access device 24 and issue access communications over remote access link 19 as if it were running as a client locally on interactive television program guide equipment 17.
- remote program guide access device 24 may access a web site and view web pages that contain program guide information.
- the remote access program guide running on remote program guide access device 24 may provide a user with an opportunity to remotely access program listings.
- a person driving an automobile may issue a suitable vocal command that is recognized by interface 52.
- the remote access program guide may issue one or more access communications to the local program guide, which in turn supplies program listings information back to remote program guide access device 24.
- User interface 52 may, for example, provide the listings to the user in synthesized voice outputs.
- the program listings may also, for example, be displayed in a program listings screen by a suitable display device.
- a program listings screen may contain one or more lists of programs organized according to one or more organization criteria (e.g., by program type, theme, or any other predefined or user defined and selectable criteria) and sorted in various ways (e.g., alphabetically).
- organization criteria e.g., by program type, theme, or any other predefined or user defined and selectable criteria
- Program listings display screen 148 may contain program listings area 168.
- Program listings area 168 may display television program listings in any suitable format, such as any suitable list, table, or grid.
- FIG. 7 illustrates the display of program listings in program listings grid 150.
- Program listings grid 150 may be divided into a number of columns 162 which correspond to program broadcast times and which may be equally spaced apart (e.g., in thirty-minute steps). Program listings may be displayed in the grid in sub-sets according to predefined or selectable organization criteria and sorted in various ways.
- Program listings row 152 contains, for example, selectable program listings for THE DESERTS OF AFRICA and WILDLIFE on channel 46 (Public Television).
- Program listings row 154 contains, for example, selectable program listings for GHOST and TITANIC on channel 47 (HBO).
- Program listings row 156 contains, for example, selectable program listings for programs BLUES BROTHERS on channel 48 (VH-1).
- Program listing row 158 contains selectable program listings for programs, PPV 1, and PPV 2 on channel 49 (ADU).
- Program listings row 160 contains a selectable program listing for COOKING on channel 50 (WPTU). The programs on each channel are typically different.
- Program listings grid 150 may have movable cell highlight region 151, which highlights the current grid cell.
- the user may position highlight region 151 by entering appropriate commands with user interface 52.
- user input interface 52 has a keypad
- the user can position highlight region 151 using "up,” “down,” “left,” and “right” cursor keys.
- Remote program listings may also be panned left, right, up, and down by positioning highlight region 151 using the cursor keys on user interface 52.
- a touch sensitive screen, trackball, voice commands, or other suitable device may be used to move highlight region 151 or to select program listings without the use of highlight region 151.
- the user may speak the title of a television program listing into a voice request recognition system which will issue an appropriate command or request to remote program guide access device 24. Any other suitable approach may also be used.
- the remote access program guide may provide the user with the opportunity to access a number of program guide features. For example, the user may access additional information (typically text or graphics, but possibly video if desired) about the listing, schedule an associated program reminder, schedule an associated program for recording by one or more of digital storage device 31 ( FIG. 3 ), secondary storage device 32 ( FIG. 3 ), storage 56 ( FIG. 5 ), or program guide server 25.
- additional information typically text or graphics, but possibly video if desired
- FIG. 8 illustrates a program listings display screen having a program listings list displayed in accordance with the principles of the present invention.
- Scrollable program listings lists may display program listings in subsets according to predefined or user-selected organization criteria. Any suitable organization criteria and sorting scheme may be used.
- Scrollable program listings list 170 of FIG. 8 for example, organizes program listings according to program type and then sorts the listings alphabetically in each subset.
- the television program listings display screen of FIG. 8 also has movable cell highlight region 171 for moving within the list and selecting listings.
- the remote access program guide may also provide a user with the opportunity to remotely schedule program reminders when the user indicates a desire to set a program reminder (e.g., by pressing a "reminder” button on user interface 52, selecting an on screen “reminder” button, issuing an appropriate vocal command, etc.).
- the remote access program guide may transmit one or more access communications to the local interactive television program guide implemented on interactive television program guide equipment 17 to schedule the reminder.
- the remote access program guide may, for example, store a reminder locally on storage 56 of remote program guide access device 24 ( FIG. 5 ).
- Information indicating the user who set the reminder may also be stored on interactive program guide equipment 17 or storage 56.
- Reminders may also be scheduled by a user with the local guide, transmitted to remote program guide access device 24, and displayed by the remote access guide on remote program guide access device 24.
- a reminder may be issued by the local or remote interactive television program guides, or both.
- the reminder may be issued on all remote program guide access devices 24 available to the user, and may be displayed (e.g., in the form of a pop-up window or message) on user television equipment 22. If a reminder for a program is to be displayed on the user's home television, the reminder may be displayed just before the beginning of the program. If a reminder for a program is to be displayed on remote program guide access device 24, the reminder may be displayed much earlier (e.g., several hours before the program).
- reminders may be sent as e-mail messages from the interactive television program guide to remote program guide access device 24.
- user interface 52 may include an alphanumeric pager (among other suitable devices for providing bi-directional communications with the program guide via remote access link 19).
- the interactive program guide implemented on interactive television program guide equipment 17 may phone an automatic paging service (e.g., by using a suitable modem and communications software), and issue a message similar to the one contained in notification 177.
- An illustrative reminder 177 for display on display device 45 ( FIG. 4 ) or user interface 52 ( FIG. 5 ) is shown in FIG. 9 .
- the remote access program guide may also provide a user with the opportunity to remotely access and adjust the parental control settings of the local interactive television program guide implemented on interactive television program guide equipment 17.
- the remote access program guide may provide users with an opportunity to block potentially objectionable programs or channels using a parental control code (e.g., a personal identification number (PIN) code). Users my also selectively unlock blocked channels or programs. If desired, the user may remotely access parental control settings related to blocking the display of potentially objectionable program listings.
- a parental control code e.g., a personal identification number (PIN) code.
- PIN personal identification number
- the remote access program guide may obtain parental control information (e.g., which channels, services, programs, genres or types of program listings may be locked, maximum rating information, PIN information, etc.), from the local program guide implemented on interactive television program guide equipment 17 over remote access link 19 in any suitable manner.
- Remote program guide access device 24 may, if desired, store parental control information on storage 56. Information indicating the user who accessed and adjusted parental control settings may be stored by the program guide or remote program guide access device 24.
- Remote program guide access device 24 may provide a user with the opportunity to remotely parentally control television programming by, for example, providing the user with the opportunity to select a television program listing and issue an appropriate command using user interface 52 (e.g., by pressing a displayed "lock" button, using a pointing device or touch sensitive screen, issuing an appropriate vocal command, etc.).
- Remote program guide access device 24 may indicate to a user that a channel, service, program, or genre is locked by, for example, generating an appropriate notice, icon, synthesized voice response, message, or any other suitable indication.
- FIGS. 7 and 8 illustrate the use of lock icon 310 for indicating, for example, that television service ADU is locked.
- the remote access program guide may also provide users with an opportunity to remotely access interactive television program guide functionality related to user preferences or "favorites" settings.
- remote program guide access device 24 may access features for setting-up and navigating through favorite channels or programs.
- the remote access program guide may obtain information on the user's preferences (e.g., which channels or programs are favorites, favorite themes, likes and dislikes etc.) from the local interactive television program guide implemented on interactive television program guide equipment 17 in any suitable manner.
- the remote access program guide may, if desired, store favorites information on storage 56 ( FIG. 5 ), may provide the user with an opportunity to remotely adjust channel settings and other preferences based on the favorites information.
- Remote program guide access device 24 may transmit changed or new favorites information to interactive television program equipment 17 via remote access link 19 using one or more access communications. Information indicating the user who changed the profiles may also be stored by the local or remote access program guides.
- FIG. 10 shows an illustrative program listings display screen that may be displayed by the remote access program guide on remote program guide access device 24 using user interface 52.
- the display screen includes a number of channels that have been selected as favorites (e.g., channels 2, 4, 7, 47 and 48).
- remote program guide access device 24 may, for example, display television program listings in a grid, table, or list while highlighting favorite channels or preferred programs.
- a user may be provided with the opportunity to "scroll" between favorite listings or channels by issuing an appropriate command using user interface 52.
- remote program guide access device 24 may display program guide data for only those programs or channels that are of interest to users as defined by the profiles.
- User preference profiles may also be used to limit the amount of data provided to remote program guide access device 24 and thereby tend to minimize the bandwidth requirements of remote access link 19.
- Data filtering may be performed, for example, by the local interactive guide according to the user profiles when transferring data to remote program guide access device 24. Only data for those programs or channels that are of interest to the user may be transferred if desired. Alternatively, data filtering may be performed, for example, by program guide server 25 or Internet service system 61.
- the remote access program guide may also provide the user with the opportunity to remotely schedule recordings using the local interactive program guide.
- the user may, for example, select a program listing using user interface 52 ( FIG. 5 ) and issue an appropriate command (e.g., pushing an on-screen "button," issuing an appropriate voice command, etc.).
- the remote access program guide may respond by sending one or more access communications to the local interactive program guide implemented on interactive television program guide equipment 17 with the remote program guide access device 24 to record the program associated with the selected listing when the program is aired.
- the local program guide may store the program on secondary storage device 32, digital storage device 31, or on storage 56 of remote program guide access device 24. Information indicating the user who scheduled a program for recording may also be stored by the program guide or remote program guide access device 24.
- the programming may be transmitted to remote program guide access device 24 in any suitable format (e.g., as National Television Standards Committee (NTSC) video, as MPEG-2 files, etc.), and may be converted to a digital format by a suitable analog to digital converter in remote program guide access device 24 if necessary (not shown). Any suitable transmission scheme may be used, such as using FTP if files are transferred, for example, across an Internet link. Programs may also be recorded by program guide server 25.
- NTSC National Television Standards Committee
- Programs may also be recorded by program guide server 25.
- Program guide information may also be stored by the remote access interactive television program guide on storage 56.
- User settings and profiles, video clips, and detailed descriptive information may also be stored. Storing programming or data on storage 56 may be appropriate in situations, for example, where the data is required to be maintained across a power outage, or if the volume of data that the interactive program guide must store during normal operation is more than interactive television program guide equipment 17 can handle.
- the remote access program guide may also provide a user with an opportunity to remotely order pay-per-view programs and packages.
- the remote access program guide may, for example, provide the user with an opportunity to select a pay-per-view program or package listing using user interface 52 (e.g., by using a pointing device, touch sensitive screen, or issuing a voice command to select a pay-per-view program listing).
- remote program guide access device 24 may obtain pay-per-view information (e.g., price, ordering information, time, event code, etc.) from the interactive television program guide running on interactive television program guide equipment 17, via remote access link 19.
- the pay-per-view information may have been provided to remote program guide access device 24 by the local guide, program guide server 25, or Internet Service system 61.
- the remote access program guide may provide the pay-per-view information to the user using user interface 52, and may provide the user with the opportunity to order the pay-per-view selection.
- the remote access guide on remote program guide access device 24 may indicate to the local guide implemented interactive program guide equipment 17 (e.g., via one or more access communications) the program that the user wishes to order.
- the local interactive program guide may respond by ordering the pay-per-view program from television distribution facilitating 16 or some other distribution facility.
- the remote access program guide may order the pay-per-view program from television distribution facility 16 (or some other distribution facility) and indicate the ordered pay-pay-view to the local guide so that ordering related functions may be coordinated.
- Remotely ordering pay-per-view programs via the local interactive guide as opposed to ordering pay-per-view programs directly from a headend by phone, internet, or impulse ordering using the remote access guide may allow the local program guide to perform functions that it would not ordinarily be able to perform. Ordering a pay-per-view through the local guide as opposed to directly from television distribution facility 16 may allow the local guide to, for example, parentally control the ordering of a program, inform the user that the program is about to start, inform the user that the user has missed an ordered pay-per-view program, provide the user with an opportunity to reorder the program, or any other suitable function associated with ordering a pay-per-view program.
- the remote access program guide may also provide the user with an opportunity to remotely access video and audio (either together or separately) that is being distributed to the local interactive television program guide or which has been stored by the local interactive television program guide on user television equipment 22 or at a remote server.
- the remote access program guide may, for example, query the interactive television program guide for media directory information stored on digital storage device 31 or secondary storage device 32.
- the remote access program guide may provide the user with the opportunity to select a directory entry or may, for example, provide the user with an opportunity to select a program listing of a television program that is being broadcast. In response to either selection, the remote access program guide may issue an appropriate access communication to the interactive television program guide to play back or tune to the selection and transmit it back to remote program guide access device 24 over remote access link 19. Remote program guide access device 24 may play the video or audio for the user. In one approach, for example, remote program guide access device 24 may provide a user with the opportunity to access audio from a digital music channel which is received by interactive television program guide equipment 17, and play the audio on a speaker or by using an audio device that may be contained in user interface 52 (e.g., a car stereo).
- user interface 52 e.g., a car stereo
- Video and audio may be transmitted from interactive television program guide equipment 17 to remote program guide access device 24 over remote access link 19 in any suitable format (e.g., as NTSC video, as MPEG-2 files, using the M-bone, etc.), and may be converted to a digital format if necessary by a suitable analog to digital converter in remote program guide access device 24 (not shown). Any suitable transmission scheme may be used.
- any suitable format e.g., as NTSC video, as MPEG-2 files, using the M-bone, etc.
- Any suitable transmission scheme may be used.
- the remote access program guide may also provide a user with the opportunity to poll the local interactive television program guide to determine the status of interactive television program guide equipment 17 or, more specifically, user television equipment 22.
- the remote access program guide may obtain information regarding whether the interactive television program guide is in use, what channel user television equipment 22 is tuned to, the title of the current program, the rating of the current program, the status of remote access link 19, available devices, etc. Any suitable scheme may be used, such as using a Simple Network Management Protocol (SNMP) approach in which a management client process runs as part of the interactive television program guide implemented on interactive television program guide equipment 17, and in which a management server process runs on remote program guide access device 24.
- SNMP Simple Network Management Protocol
- the remote access program guide may respond by issuing an access communication to the interactive program guide over remote access link 19 using remote program guide access device 24.
- the interactive program guide may respond by transmitting the desired status information back to remote program guide access device 24 over remote access link 19, or by transmitting a display screen (if appropriate).
- the remote access program guide may indicate the status of interactive television program guide equipment 17 on remote program guide access device 24 using any suitable indicator (e.g., a display screen, synthesized voice responses, etc.).
- An illustrative status display screen 200 for display using user interface 52 is shown in FIG. 11 .
- the remote access program guide may also provide a user with an opportunity to control user television equipment 22 remotely.
- a user may, for example, position highlight region 201 over a setting, select the setting, and change its value.
- the user may, for example, change the current channel, the current volume, or control user television equipment 22 in any other suitable manner.
- the remote access program guide may also provide a user with the opportunity to send audio, graphical, and text messages to the local interactive program guide for playing or display by user television equipment 22.
- the remote access program guide may receive a voice message from the user using user interface device 24. That voice message may be converted to a digital signal by an analog-to-digital converter in remote program guide access device 24 if necessary, and sent to the interactive television program guide over remote access link 19.
- the local interactive television program guide may play (or display) the message on user television equipment 22.
- messages created by a user on the local interactive television program guide or by an operator of television distribution facility 16 may be sent to remote program guide access device 24.
- the remote access program guide may in turn provide the messages to the user using remote program guide access device 24.
- FIGS. 12-24 are illustrative flow charts of steps involved in providing remote access to functions of a local interactive television program guide in accordance with the principles of the present invention.
- the steps shown in FIGS. 12-24 are illustrative and may be performed in any suitable order. Moreover, in practice it may be desirable to combine or delete various steps or combinations of steps shown in the flow charts.
- FIG. 12 shows illustrative steps involved in providing remote access to the various program guide functions.
- a remote access link is established between the remote access program guide implemented on remote program guide access device 24 and the interactive television program guide implemented on interactive television program guide equipment 17 using remote access link 19.
- the remote access program guide provides the user with the opportunity to remotely access functions of the interactive program guide over the remote access link.
- the remote access program guide may, for example, obtain a user command from the user that indicates a desired program guide function using remote program guide access device 24 (substep 1265) and then remotely provide the indicated program guide function to the user.
- a user may indicate a desired function by entering an appropriate command using user interface 52.
- the user may, for example, enter a command using a keyboard, speak a command into a microphone, select an on-screen button using a pointing device, or any other suitable approach.
- the indicated program guide function may be remotely provided to the user audibly (substep 1270) using, for example, a speaker, car stereo, or other device capable of producing sounds that suitably indicate to the user program guide information.
- the indicated program guide function may be remotely provided to the user visually (at substep 1280), for example, by using a monitor, LCD, or other display device.
- Establishing the remote access link between the remote access program guide and the local interactive television program guide implemented on interactive television program guide equipment 17 as indicated by step 1200 and providing the user with an opportunity to remotely access functions of the local interactive television program guide over remote access link 19 may depend on the configuration of the interactive television program guide system.
- FIGS. 13a-13e show illustrative variations of steps 1200 and 1210 of FIG. 12 for establishing remote access link 19 and for providing the user with remote access to program guide functions for the illustrative systems 10 of FIGS. 2a-2d and FIGS. 6a-6c .
- FIG. 13a illustrates steps involved in establishing remote access link 19 and for providing the user with remote access to program guide functions in the systems of FIGS. 2a and 2c .
- remote access link 19 may be established between the remote access program guide and the interactive television program guide via a communications device in user television equipment 22 (Step 1200a).
- the local interactive television program guide may be wholly implemented on user television 22 as in system 10 of FIG. 2a , or may be partially implemented on user television equipment 22 as, for example, an interactive program guide client, as in system 10 of FIG. 2c .
- remote program guide access device 24 may provide the user with the opportunity to remotely access the functions of the local interactive television program guide over the remote access link with a communications device.
- Remote access link 19 may be established between the remote access program guide and the interactive television program guide via remote program guide access device 24 and a communications device in television distribution facility 16 or other location for a system configured as shown in FIG. 2d .
- Providing remote access to the functions of the local interactive television program guide in such a system may, for example, involve the steps shown in FIG. 13b .
- remote access link 19 may be established with a communications device in television distribution facility 16.
- the remote access program guide may, for example, provide the user with the opportunity to remotely access functions of the program guide with a communications device in the television distribution facility 16 at step 1210b.
- remote access link 19 may be established between the remote access program guide and the interactive television program guide via remote program guide access device 24 and a communications device in television distribution facility 16 as indicated by step 1200c of FIG. 13c .
- remote program guide access device 24 may, for example, provide the user with the opportunity to remotely access the functions of the program guide over remote access link 19 with a communications device in distribution facility 16.
- Steps involved in establishing remote access link 19 in on-line program guide systems that communicate with the remote access program guide such as in systems 10 of FIGS. 6a and 6b are shown in FIGS. 13d and 13e .
- remote access link 19 may be established between the local interactive television program guide and the remote access program guide with Internet service system 61 (step 1200d, FIG. 13d ).
- remote access link 19 may be established between the local interactive television program guide and the remote access program guide with an Internet service system in contact with program guide server 25 (step 1200e, FIG. 13e ).
- the remote access program guide may provide the user with the opportunity to remotely access the functions of the program guide at steps 1210d and 1210e of FIGS. 13d and 13e , respectively.
- Establishing remote access link 19 at step 1200 of FIG. 12 may also involve exchanging one or more access communications between the interactive television program guide implemented on interactive television program guide equipment 17 and the remote access program guide implemented on remote program guide access device 24, as indicated by substep 1202 of FIG. 14 .
- Access communicators may include any client-server or peer-to-peer communication construct suitable for providing program guide information across remote access link 19.
- Access communications may include, for example, requests, commands, messages, or remote procedure calls, as indicated by substeps 1204, 1205, 1206, and 1207, respectively.
- Access communications may also involve complex communications between application constructs running on remote program guide access device 24 and interactive television program guide equipment 17.
- Access communications may, for example, be object based, as indicated by substep 1208.
- Objects running in two program guides may communicate using an Object Request Broker (ORB).
- the program guide information may, for example, be encapsulated as component object model (COM) objects and persisted to files that are transmitted over remote access link 19.
- Access communications may also include, for example, HTML formatted markup language documents (e.g., Web pages), that are exchanged between remote program guide access device 24 and interactive television program guide equipment 17 via Internet service system 61, as indicated by substep 1209.
- FIGS. 15-23 are flowcharts of illustrative steps involved in providing remote access to a number of specific program guide functions. Remote access to the functions may be provided in any interactive television program guide system, such as a system 10 having the arrangements of interactive television program guide equipment 17 shown in FIGS. 2a-2d and FIGS. 6a and 6b .
- the steps shown in FIGS. 12-14 are not shown in the flowcharts of FIGS. 15-23 to avoid over-complicating the drawings, although any suitable combination or combinations of the steps of the flowcharts of FIGS. 12-23 may be used in practice.
- FIG. 15 shows illustrative steps involved in remotely providing program listings information to a user.
- program listings information is remotely obtained from the local interactive television program guide implemented on interactive television program guide equipment 17 via remote access link 19.
- the remote access program guide may, for example, obtain this information on startup, periodically, continuously, on demand in response to a suitable user command, or using any other suitable scheme using remote program guide access device 24.
- the program listings information may be provided to the user.
- the program listings information may be displayed for the user by the remote access program guide in a table, listing grid, or other suitable construct, using user interface 52 (substep 1620).
- program listings information may be provided audibly for the user by using, for example, a speaker (substep 1630).
- the remote access program guide may provide the user with the opportunity to select a program listing.
- the remote access program guide may provide the user with the opportunity to access other remote program guide features for the listing (e.g., displays additional info, schedule a program reminder, record, parental control, order the program if it is a pay-per-view program, etc.).
- FIG. 16 shows illustrative steps involved in providing the user with remote access to the program reminder feature of a local interactive television program guide.
- a user is provided with an opportunity to schedule a programming reminder.
- the user may be provided with an opportunity to remotely schedule a programming reminder with the local guide or with the remote access guide. This opportunity, may, for example, be provided in response to the user selection of a program listing.
- the program reminder is scheduled by the local guide or the remote access guide.
- the program reminder may be scheduled with the local interactive television program guide (substep 1720), may be stored by the remote access interactive television program guide (substep 1730), or both.
- the program reminder is generated at an appropriate time (e.g., a predefined or user-selectable number of minutes, hours, or days) before a program is scheduled to air.
- the reminder may be generated by the local interactive television program guide implemented on interactive television program guide equipment 17, or may be generated by the remote interactive television program guide.
- the program reminder may, for example, be sent to the user via e-mail or alphanumeric page, as indicated by substeps 1750 and 1760 respectively.
- FIG. 17 shows illustrative steps involved in providing a user with remote access to the parental control features of the local interactive television program guide implemented on interactive television program guide equipment 17.
- parental control information is remotely obtained. This may occur, for example, on startup, periodically, continuously, on demand in response to a suitable user command, or using any other suitable scheme.
- the remote access program guide may provide the user with the opportunity to parentally control programming (e.g., by program, channel, theme, time, etc.) in any suitable manner (step 1810).
- the remote access program guide remotely sets a parental control setting with the interactive television program guide via remote access link 19.
- Remote program guide access device 24 may use, for example, one or more access communications sent over remote access link 19 to exchange the parental control settings with interactive television program guide 17.
- Programming may be locked locally by a user via user television equipment 22, or may have been locked remotely by the remote access program guide.
- the remote access program guide may indicate to a user that programming is locked (e.g., by program, channel, theme, etc.) with remote program guide access device 24 at step 1830.
- Remote program guide access device 24 may use, for example, a notice, icon, synthesized voice output, message, or any other suitable indicator.
- FIG. 18 shows illustrative steps involved in providing a user with remote access to the favorites and user profile functions of the interactive television program guide implemented on interactive television program guide equipment 17.
- user preference profiles are remotely obtained from the local interactive television program guide by the remote access interactive television program guide via remote access link 19.
- the information or profiles may be obtained, for example, on startup, periodically, continuously, on demand in response to a suitable user command, or using any other suitable scheme.
- the remote access program guide may provide the user with the opportunity remotely adjust user profiles (step 1910).
- the user may, for example, add or delete favorite channels, themes, indicate likes or dislikes, etc.
- the remote access program guide remotely adjusts user profiles with the local interactive television program guide. This may be accomplished by, for example, remote program access device 24 exchanging one or more access communications with interactive television guide equipment 17 via remote access link 19.
- the one or more access communications may indicate one or more user profiles or favorites information.
- the remote program guide obtains program guide data according to the preference profiles.
- remote program guide access device 24 may provide the user with the opportunity to remotely navigate through favorites.
- Remote program guide access device 24 may, for example, have obtained program listings information (step 1600, FIG. 15 ), sorted the information according to the favorites information, and displayed only listings for a favorite channel or theme.
- remote program guide access device 24 may, for example, display television program listings in a grid, table, or list while highlighting favorite channels.
- a user may be provided with the opportunity to "jump" between favorite listings or channels by issuing an appropriate command using user interface 52.
- FIG. 19 shows illustrative steps involved in providing a user with remote access to program recording.
- the remote access program guide provides the user with the opportunity to select a program for recording. This opportunity may be provided in response to the user indicating a desire to record programming by, for example, selecting a program listing (step 1640, FIG. 15 ) and issuing a suitable command.
- the remote access program guide remotely schedules the program for recording with the local interactive television program guide implemented on interactive television program guide equipment 17 (step 2000).
- Remote program guide access device 24 may exchange, for example, one or more access communications with interactive television program guide equipment 17 that are sent over remote access link 19.
- the program is recorded (step 2020).
- the program may be recorded by the local interactive program guide on interactive television program guide equipment 17 (e.g., digital storage device 31 or secondary storage device 32 of user television equipment 22 ( FIG. 3 ), or on program guide server 25, or may be recorded by remote program guide access device 24 on storage 56 ( FIG. 5 ) or program guide server 25.
- the programming may, for example, be digitized and transmitted as a MPEG-2 data stream over remote access link 19 using access communications.
- FIG. 20 shows illustrative steps involved in providing the user with remote access to remotely order pay-per-view programs and packages using the local interactive television program guide implemented on interactive television program guide equipment 17.
- the remote access program guide obtains pay-per-view information (e.g., price, ordering information, time, event code, selections in a package, etc.), from the interactive program guide implemented on interactive television program guide equipment 17 via remote access link 19.
- the pay-per-view information may be obtained on startup, periodically, continuously, on demand in response to a suitable user command, or using any other suitable scheme.
- the pay-per-view information is provided to the user by the remote access program guide using user interface 52 of remote program guide access device 24 in any suitable fashion (step 2110).
- the remote access program guide provides the user with the opportunity to remotely order a pay-per-view program or package. This opportunity may be provided, for example, in response to the user selecting a pay-per-view program listing or package listing (e.g., step 1640, FIG. 15 ).
- the remote access program guide remotely orders the pay-per-view program or package by indicating the program or package to the local interactive television program guide by, for example, exchanging one or more access communications over remote access link 19 (step 2133).
- the access communications may contain the pay-per-view information for the selected pay-per-view program or package.
- the local guide may order the program or package at step 2135. Alternately, the remote access program guide may order the pay-per-view program (step 2137).
- the way in which the remote access program guide orders the pay-per-view program using the local interactive television program guide may depend on the configuration of the system. If the system is configured as shown in FIGS. 2a and 2c , the remote access program guide may, for example, provide the pay-per-view information to the interactive television program guide implemented at least partially on user television equipment 22. The interactive television program guide may, in turn, order the pay-per-view program with television distribution facility 16. If the system is configured as shown in FIGS. 2b and 2d , the remote access program guide may, for example, provide the pay-per-view information to the interactive television program guide via separate communications device 27. If the system is configured as shown in FIGS. 6a and 6b , the remote access program guide may provide the pay-per-view information via Internet service system 61.
- FIG. 21 shows illustrative steps involved in providing a user with access to remotely-played video or audio.
- the remote access program guide may obtain video or audio information from the interactive television program guide implemented on interactive television program guide equipment 17 via remote access link 19. This may occur, for example, in response to the user selecting a video or audio listing displayed by remote program guide access device 24.
- Substeps 2210 and 2220 show illustrative steps involved in obtaining directory information used in providing a user with audio and video information.
- the remote access program guide may query the local interactive television program guide implemented on interactive television program guide equipment 17 for directory information using one or more access communications that are sent over remote access link 19 (step 2210).
- the directory information may be contained, for example, in a media library directory for a media library that is stored on user television equipment 22, or by television distribution facility 16.
- the directory information may be provided back to the remote access program guide by exchanging one or more remote access communications between interactive television program guide equipment 17 and remote program guide access device 24 over remote access link 19, as is indicated by substep 2220.
- Step 2210 may be skipped and step 2220 performed when, for example, directory information or listings are provided to the remote access guide ahead of time.
- the remote access program guide may provide the user with the opportunity to select a video or audio for remote playing.
- the user may select a video or audio by, for example, selecting a listing that is indicated to the user by user interface 52.
- the user may be provided with an opportunity to play a program in real-time via the local and remote guides, or to play a stored program.
- the remote access program guide may obtain the selected video or audio from the local interactive television program guide using access communications that are sent over remote access link 19.
- the access communications may contain the video or audio in a suitable analog or digital format.
- remote program guide access device 24 remotely plays the video or audio for the user using user interface 52.
- Selected video may be displayed, for example, on a suitable monitor, LCD, or other suitable display device.
- Selected audio may be played for the user using any suitable speaker. Audio may, for example, be played by a car stereo if remote program guide access device 24 is an automobile PC.
- FIG. 22 shows illustrative steps involved in providing the user with the opportunity to remotely poll the local interactive television program guide implemented on interactive television program guide equipment 17.
- the remote access program guide may poll the interactive television program guide for polling information.
- the polling information may indicate, for example, whether user television equipment 22 is in use, the current channel user television equipment 22 is tuned to, the current programming rating, current program title, the status of remote access link 19 or communications paths 20, the available devices of user television equipment 22, or any other status related information.
- Step 2300 may include substeps 2310 and 2320 for obtaining the polling information.
- remote program guide access device 24 may obtain the polling information. Polling information may be obtained on startup, periodically, continuously, on demand in response to a suitable user command, or using any other suitable scheme. More particularly, status information may be obtained using SNMP (substep 2320), if desired. If SNMP is used to obtain polling information, for example, the access communications may include commands and protocol data units (PDUs). Other suitable network management protocols may also be used.
- remote program guide access device 24 may present the polling information to the user in any suitable method. The polling information may be displayed, for example, in a status display screen such as status display screen 200 of FIG. 11 . Polling information may, for example, be output to the user via synthesized voice outputs that are played using a speaker and voice synthesis hardware and software.
- FIG. 23 shows illustrative steps involved in providing the user with the opportunity to create messages and send them between the local interactive television program guide implemented on interactive television program guide equipment 17 and the remote access program guide.
- the user is provided with the opportunity to create a message.
- the user may create the message with the local interactive television program guide using, for example, user interface 46 of user television equipment 22 ( FIG. 4 ), or the user may create the message using user interface 52 of remote program guide access device 24.
- the message may include any suitable text, graphics, or audio.
- the user may, for example, speak an audio message into a microphone.
- the audio message may be digitized and stored in an access communication for transfer over remote access link 19.
- the user may input a text message using a suitable text input device (e.g., a keyboard).
- a suitable text input device e.g., a keyboard
- the message is created and whatever its content, the message is transferred over remote access link 19 using one or more access communications.
- the message may be transferred from the interactive television program guide to the remote access program guide, or from the remote access program guide to the local interactive television program guide, depending on where the message was created and is intended destination.
- the message may be presented to the user by user television equipment 22 (e.g., substep 2430), or by remote program guide access device 24 (e.g., substep 2440).
- the discussion thus far has focused on implementing the invention with an interactive television program guide.
- the invention may also be applied to non-program-guide interactive television applications.
- Local non-program-guide applications run on user television equipment such as a set-top box and corresponding remote access non-program-guide application may run on a remote access device.
- Interactive television applications may be stand-alone applications, portions of an operating system, or any suitable combination thereof.
- An Internet browser may have settings such as bookmarks, parental control settings, and general preferences that control how the browser functions.
- a remote access device may provide the user with access to a browser application by displaying, for example, browser screen 700 of a remote access browser application.
- Browser screen 799 may have a bookmark option 705.
- a user may, for example, select bookmark option 705 and add a bookmark (i.e., a record of the address of the current web site that can be used to access the site).
- the remote access Internet browser may exchange one or more access communications with a local Internet browser to add the bookmark to the local browser.
- a shopping application may have settings such as a default shipping address and credit card number.
- a remote access shopping application screen 730 may have settings such as a shipping address 720, and credit card number 725.
- a user may, for example, add a shipping address and credit card information.
- the remote access application may exchange one or more access communications with a local shopping application to provide the information to the local application.
- a stock ticker may have settings such as settings indicating the top ten stocks in which the user is interested.
- a remote access device may display a remote access stock ticker settings screen 710.
- Stock ticker settings screen 710 may have, for example, ticker symbol 712 and a top ten stocks option 715.
- a user may, for example, add a top stock.
- the remote access stock ticker application can make the top ten stock settings effective on a local stock ticker application.
- a chat application may be implemented on a set top box. Chat applications are services that allow users to exchange chat messages with other users in real time.
- a chat application may be implemented as a stand-alone chat application or as part of another application such as a program guide application.
- user may remotely adjust settings associated with a chat application such as the size of a chat window, an address book, or whether to filter potentially offensive messages.
- the remote access chat application may remotely adjust the settings of a local chat application by, for example, exchanging one or more access communications with the local chat application over a remote access link.
- the settings of an e-mail application running on a set-top box may be adjusted remotely.
- the remote access e-mail application may remotely adjust the settings of a local e-mail application by, for example, exchanging one ore more access communications with the local e-mail application over a remote access link.
Landscapes
- Engineering & Computer Science (AREA)
- Multimedia (AREA)
- Signal Processing (AREA)
- Health & Medical Sciences (AREA)
- General Health & Medical Sciences (AREA)
- Human Computer Interaction (AREA)
- Social Psychology (AREA)
- Databases & Information Systems (AREA)
- Computer Networks & Wireless Communication (AREA)
- General Engineering & Computer Science (AREA)
- Computer Security & Cryptography (AREA)
- Business, Economics & Management (AREA)
- Finance (AREA)
- Strategic Management (AREA)
- Child & Adolescent Psychology (AREA)
- Two-Way Televisions, Distribution Of Moving Picture Or The Like (AREA)
- Details Of Television Systems (AREA)
- Selective Calling Equipment (AREA)
- Circuits Of Receivers In General (AREA)
- Television Systems (AREA)
Applications Claiming Priority (4)
| Application Number | Priority Date | Filing Date | Title |
|---|---|---|---|
| US9329298P | 1998-07-17 | 1998-07-17 | |
| US9752798P | 1998-08-21 | 1998-08-21 | |
| EP03077693.4A EP1381231B1 (en) | 1998-07-17 | 1999-07-16 | Interactive television program guide with remote access |
| EP99935637.1A EP1099341B2 (en) | 1998-07-17 | 1999-07-16 | Interactive television program guide with remote access |
Related Parent Applications (4)
| Application Number | Title | Priority Date | Filing Date |
|---|---|---|---|
| EP99935637.1A Division-Into EP1099341B2 (en) | 1998-07-17 | 1999-07-16 | Interactive television program guide with remote access |
| EP99935637.1A Addition EP1099341B2 (en) | 1998-07-17 | 1999-07-16 | Interactive television program guide with remote access |
| EP99935637.1A Division EP1099341B2 (en) | 1998-07-17 | 1999-07-16 | Interactive television program guide with remote access |
| EP03077693.4A Division EP1381231B1 (en) | 1998-07-17 | 1999-07-16 | Interactive television program guide with remote access |
Publications (3)
| Publication Number | Publication Date |
|---|---|
| EP1988707A2 EP1988707A2 (en) | 2008-11-05 |
| EP1988707A3 EP1988707A3 (en) | 2008-12-10 |
| EP1988707B1 true EP1988707B1 (en) | 2017-03-29 |
Family
ID=26787363
Family Applications (7)
| Application Number | Title | Priority Date | Filing Date |
|---|---|---|---|
| EP08104751.6A Expired - Lifetime EP1988707B1 (en) | 1998-07-17 | 1999-07-16 | Interactive television program guide with remote access |
| EP08162011.4A Expired - Lifetime EP1988708B1 (en) | 1998-07-17 | 1999-07-16 | Interactive television program guide with remote access |
| EP17169145.4A Withdrawn EP3293967A1 (en) | 1998-07-17 | 1999-07-16 | Interactive television program guide with remote access |
| EP99935637.1A Expired - Lifetime EP1099341B2 (en) | 1998-07-17 | 1999-07-16 | Interactive television program guide with remote access |
| EP10184501A Ceased EP2302914A1 (en) | 1998-07-17 | 1999-07-16 | Interactive television program guide with remote access |
| EP03077693.4A Revoked EP1381231B1 (en) | 1998-07-17 | 1999-07-16 | Interactive television program guide with remote access |
| EP08104772.2A Expired - Lifetime EP1976283B1 (en) | 1998-07-17 | 1999-07-16 | Interactive television program guide with remote access |
Family Applications After (6)
| Application Number | Title | Priority Date | Filing Date |
|---|---|---|---|
| EP08162011.4A Expired - Lifetime EP1988708B1 (en) | 1998-07-17 | 1999-07-16 | Interactive television program guide with remote access |
| EP17169145.4A Withdrawn EP3293967A1 (en) | 1998-07-17 | 1999-07-16 | Interactive television program guide with remote access |
| EP99935637.1A Expired - Lifetime EP1099341B2 (en) | 1998-07-17 | 1999-07-16 | Interactive television program guide with remote access |
| EP10184501A Ceased EP2302914A1 (en) | 1998-07-17 | 1999-07-16 | Interactive television program guide with remote access |
| EP03077693.4A Revoked EP1381231B1 (en) | 1998-07-17 | 1999-07-16 | Interactive television program guide with remote access |
| EP08104772.2A Expired - Lifetime EP1976283B1 (en) | 1998-07-17 | 1999-07-16 | Interactive television program guide with remote access |
Country Status (14)
| Country | Link |
|---|---|
| EP (7) | EP1988707B1 (enExample) |
| JP (10) | JP3642475B2 (enExample) |
| KR (3) | KR100680639B1 (enExample) |
| CN (2) | CN1309867A (enExample) |
| AT (1) | ATE279836T1 (enExample) |
| AU (5) | AU771432B2 (enExample) |
| BR (2) | BR9912831A (enExample) |
| CA (3) | CA2821607C (enExample) |
| DE (1) | DE69921142T3 (enExample) |
| DK (3) | DK1988707T3 (enExample) |
| ES (5) | ES2634862T3 (enExample) |
| MX (3) | MX347745B (enExample) |
| PT (3) | PT1988708T (enExample) |
| WO (1) | WO2000004709A1 (enExample) |
Families Citing this family (101)
| Publication number | Priority date | Publication date | Assignee | Title |
|---|---|---|---|---|
| US8352400B2 (en) | 1991-12-23 | 2013-01-08 | Hoffberg Steven M | Adaptive pattern recognition based controller apparatus and method and human-factored interface therefore |
| WO1994021081A2 (en) | 1993-03-05 | 1994-09-15 | Mankovitz Roy J | Apparatus and method using compressed codes for television program record scheduling |
| US6769128B1 (en) | 1995-06-07 | 2004-07-27 | United Video Properties, Inc. | Electronic television program guide schedule system and method with data feed access |
| US5940073A (en) | 1996-05-03 | 1999-08-17 | Starsight Telecast Inc. | Method and system for displaying other information in a TV program guide |
| CN1941863B (zh) | 1997-07-21 | 2011-06-29 | 骏升发展(美国)有限公司 | 在电子节目导视中向用户显示目标广告的方法 |
| US20020095676A1 (en) | 1998-05-15 | 2002-07-18 | Robert A. Knee | Interactive television program guide system for determining user values for demographic categories |
| CN1867068A (zh) | 1998-07-14 | 2006-11-22 | 联合视频制品公司 | 交互式电视节目导视系统及其方法 |
| TW420936B (en) | 1998-07-17 | 2001-02-01 | United Video Properties Inc | Interactive television program guide system having multiple devices within a household |
| AR020608A1 (es) | 1998-07-17 | 2002-05-22 | United Video Properties Inc | Un metodo y una disposicion para suministrar a un usuario acceso remoto a una guia de programacion interactiva por un enlace de acceso remoto |
| US6505348B1 (en) | 1998-07-29 | 2003-01-07 | Starsight Telecast, Inc. | Multiple interactive electronic program guide system and methods |
| US6898762B2 (en) | 1998-08-21 | 2005-05-24 | United Video Properties, Inc. | Client-server electronic program guide |
| US6859799B1 (en) | 1998-11-30 | 2005-02-22 | Gemstar Development Corporation | Search engine for video and graphics |
| US7904187B2 (en) | 1999-02-01 | 2011-03-08 | Hoffberg Steven M | Internet appliance system and method |
| JP4280949B2 (ja) | 1999-07-30 | 2009-06-17 | ソニー株式会社 | 情報受信装置、遠隔操作システム、情報受信装置の番組ガイド情報提供方法及び遠隔操作システムの遠隔操作方法 |
| US8171520B2 (en) | 2000-03-02 | 2012-05-01 | Tivo Inc. | Method of sharing personal media using a digital recorder |
| US7908635B2 (en) | 2000-03-02 | 2011-03-15 | Tivo Inc. | System and method for internet access to a personal television service |
| AU2001241823A1 (en) * | 2000-03-02 | 2001-09-12 | Tivo, Inc. | System and method for internet access to personal television service |
| US8812850B2 (en) | 2000-03-02 | 2014-08-19 | Tivo Inc. | Secure multimedia transfer system |
| US7673315B1 (en) * | 2000-03-30 | 2010-03-02 | Microsoft Corporation | System and method for providing program criteria representing audio and/or visual programming |
| MX363752B (es) | 2000-03-31 | 2019-04-02 | Rovi Guides Inc | Sistemas y metodos para la medicion mejorada de la audiencia. |
| US6766956B1 (en) | 2000-06-08 | 2004-07-27 | United Video Properties, Inc. | System and method for using portable device with bar-code scanner |
| US20020137496A1 (en) * | 2000-07-18 | 2002-09-26 | Tatsuji Nagaoka | Program providing system |
| JP4752093B2 (ja) * | 2000-08-16 | 2011-08-17 | ソニー株式会社 | 情報処理装置及び情報処理方法 |
| US7712125B2 (en) | 2000-09-08 | 2010-05-04 | Ack Ventures Holdings, Llc | Video interaction with a mobile device and a video device |
| US7103906B1 (en) | 2000-09-29 | 2006-09-05 | International Business Machines Corporation | User controlled multi-device media-on-demand system |
| JP4281238B2 (ja) * | 2000-10-06 | 2009-06-17 | ソニー株式会社 | 番組情報提供装置および方法、画像記録システム、並びにプログラム格納媒体 |
| KR100946318B1 (ko) | 2000-10-11 | 2010-03-09 | 유나이티드 비디오 프로퍼티즈, 인크. | 데이터의 기억 장치를 주문형 매체 배달 시스템의 서버에제공하기 위한 시스템 및 방법 |
| EP2271095A1 (en) | 2001-02-21 | 2011-01-05 | United Video Properties, Inc. | Systems and methods for interactive program guides with personal video recording features |
| CN1254097C (zh) * | 2001-05-29 | 2006-04-26 | 松下电器产业株式会社 | 节目记录系统、遥控器以及用于遥控的方法和程序 |
| JP4708607B2 (ja) * | 2001-07-03 | 2011-06-22 | キヤノン株式会社 | 放送受信装置及びその制御方法 |
| US20030121059A1 (en) * | 2001-12-21 | 2003-06-26 | Koninklijke Philips Electronics N.V. | Method and apparatus for providing a reminder message to display |
| US20030149978A1 (en) * | 2002-02-07 | 2003-08-07 | Bruce Plotnick | System and method for using a personal digital assistant as an electronic program guide |
| US20050076304A1 (en) * | 2002-04-02 | 2005-04-07 | Intervideo, Inc. | Method and system for remote playback of a DVD |
| DE10232575B4 (de) * | 2002-07-18 | 2004-07-15 | Grundig Aktiengesellschaft | Fernsehgerät mit Sicherheitsfunktion |
| US20040047599A1 (en) * | 2002-09-05 | 2004-03-11 | General Instrument Corporation | Methods and systems for remotely accessing a digital television terminal via a global communication network |
| ITTO20020823A1 (it) * | 2002-09-20 | 2004-03-21 | Fracarro Radioindustrie Spa | Sistema per la gestione remota e il controllo di impianti |
| US7360235B2 (en) | 2002-10-04 | 2008-04-15 | Scientific-Atlanta, Inc. | Systems and methods for operating a peripheral record/playback device in a networked multimedia system |
| US7900229B2 (en) | 2002-10-15 | 2011-03-01 | Opentv, Inc. | Convergence of interactive television and wireless technologies |
| AU2002952173A0 (en) * | 2002-10-18 | 2002-10-31 | Nine Network Australia Pty Limited | Mobile television reminder alert |
| US7493646B2 (en) | 2003-01-30 | 2009-02-17 | United Video Properties, Inc. | Interactive television systems with digital video recording and adjustable reminders |
| US7164361B2 (en) * | 2003-03-31 | 2007-01-16 | Schering-Plough Animal Health Corporation | System and method for collecting, processing and managing livestock data |
| JP4602255B2 (ja) * | 2003-10-07 | 2010-12-22 | パナソニック株式会社 | 視聴予約システム |
| EP1728385A4 (en) * | 2004-03-22 | 2008-08-27 | Jung-In Choi | SYSTEM AND METHOD FOR PROVIDING A PERSONAL BROADCAST CHANNEL SERVICE USING EXTENDABLE FLAG LANGUAGE (XML) |
| CN1719483A (zh) * | 2004-07-09 | 2006-01-11 | 丁宜良 | 使用万用遥控器的遥控电子装置的遥控方法及万用遥控器 |
| US9021529B2 (en) | 2004-07-15 | 2015-04-28 | Microsoft Technology Licensing, Llc | Content recordation techniques |
| US20060085824A1 (en) * | 2004-10-14 | 2006-04-20 | Timo Bruck | Method and appartus for management of video on demand client device |
| JP4207900B2 (ja) | 2004-12-22 | 2009-01-14 | ソニー株式会社 | リモコン・システム、リモート・コマンダ、並びにリモコン・サーバ |
| JP2006245915A (ja) * | 2005-03-02 | 2006-09-14 | Sony Ericsson Mobilecommunications Japan Inc | 携帯通信端末、携帯通信端末の制御方法及びプログラム |
| US8387089B1 (en) | 2005-05-06 | 2013-02-26 | Rovi Guides, Inc. | Systems and methods for providing a scan |
| US8640166B1 (en) | 2005-05-06 | 2014-01-28 | Rovi Guides, Inc. | Systems and methods for content surfing |
| US8223001B2 (en) | 2005-07-19 | 2012-07-17 | Marvell International Ltd. | Two way remote control |
| KR100703798B1 (ko) * | 2005-09-26 | 2007-04-06 | 삼성전자주식회사 | 휴대용 디지털 방송 수신기용 리모트 컨트롤러 |
| FR2893805B1 (fr) * | 2005-11-24 | 2008-10-31 | Archos Sa | Procede et systeme pour enregistrer un media depuis une "set top box" vers un lecteur enregistreur multimedia portable |
| GB2433687B (en) * | 2005-12-22 | 2011-03-09 | British Sky Broadcasting Ltd | Media recording selection system |
| US20070150918A1 (en) * | 2005-12-22 | 2007-06-28 | Sony Ericsson Mobile Communications Ab | Methods, devices, and computer program products for providing parental control over access to media content using a mobile terminal |
| US9681105B2 (en) | 2005-12-29 | 2017-06-13 | Rovi Guides, Inc. | Interactive media guidance system having multiple devices |
| US9015736B2 (en) | 2005-12-29 | 2015-04-21 | Rovi Guides, Inc. | Systems and methods for episode tracking in an interactive media environment |
| US7774294B2 (en) | 2006-03-06 | 2010-08-10 | Veveo, Inc. | Methods and systems for selecting and presenting content based on learned periodicity of user content selection |
| US8316394B2 (en) | 2006-03-24 | 2012-11-20 | United Video Properties, Inc. | Interactive media guidance application with intelligent navigation and display features |
| US8656431B2 (en) * | 2006-07-10 | 2014-02-18 | Mark A. Cavicchia | Global interactive program guide application and device |
| US7985134B2 (en) | 2006-07-31 | 2011-07-26 | Rovi Guides, Inc. | Systems and methods for providing enhanced sports watching media guidance |
| US8832742B2 (en) | 2006-10-06 | 2014-09-09 | United Video Properties, Inc. | Systems and methods for acquiring, categorizing and delivering media in interactive media guidance applications |
| EP2595376B1 (en) * | 2006-12-20 | 2019-08-14 | Rovi Guides, Inc. | Systems and methods for providing remote access to interactive media guidance applications |
| US8209424B2 (en) | 2006-12-20 | 2012-06-26 | United Video Properties, Inc. | Systems and methods for providing remote access to interactive media guidance applications |
| JP2008178026A (ja) * | 2007-01-22 | 2008-07-31 | Kyocera Corp | 放送受信装置および放送表示方法 |
| US7801888B2 (en) | 2007-03-09 | 2010-09-21 | Microsoft Corporation | Media content search results ranked by popularity |
| US8418206B2 (en) | 2007-03-22 | 2013-04-09 | United Video Properties, Inc. | User defined rules for assigning destinations of content |
| US7861260B2 (en) | 2007-04-17 | 2010-12-28 | Almondnet, Inc. | Targeted television advertisements based on online behavior |
| US8087047B2 (en) * | 2007-04-20 | 2011-12-27 | United Video Properties, Inc. | Systems and methods for providing remote access to interactive media guidance applications |
| US20090019492A1 (en) | 2007-07-11 | 2009-01-15 | United Video Properties, Inc. | Systems and methods for mirroring and transcoding media content |
| US8635069B2 (en) | 2007-08-16 | 2014-01-21 | Crimson Corporation | Scripting support for data identifiers, voice recognition and speech in a telnet session |
| US8107977B2 (en) * | 2007-09-07 | 2012-01-31 | United Video Properties, Inc. | Cross-platform messaging |
| CN101465980B (zh) * | 2007-12-21 | 2013-07-10 | 康佳集团股份有限公司 | 一种电视节目收看控制服务系统 |
| JP5042050B2 (ja) | 2008-01-25 | 2012-10-03 | シャープ株式会社 | テレビジョン受像機、サーバ、テレビジョン受像機の操作システムおよびテレビジョン受像機の操作用プログラム |
| US8479231B2 (en) | 2008-09-29 | 2013-07-02 | Panasonic Corporation | Program receiving apparatus, program transmission/reception system, program reception method, program, and recording medium |
| JP5100595B2 (ja) * | 2008-09-30 | 2012-12-19 | シャープ株式会社 | Av機器、サーバ、av機器の操作システムおよびav機器の操作用プログラム |
| US20100098074A1 (en) * | 2008-10-22 | 2010-04-22 | Backchannelmedia Inc. | Systems and methods for providing a network link between broadcast content and content located on a computer network |
| US10063934B2 (en) | 2008-11-25 | 2018-08-28 | Rovi Technologies Corporation | Reducing unicast session duration with restart TV |
| US9166714B2 (en) | 2009-09-11 | 2015-10-20 | Veveo, Inc. | Method of and system for presenting enriched video viewing analytics |
| US9014546B2 (en) | 2009-09-23 | 2015-04-21 | Rovi Guides, Inc. | Systems and methods for automatically detecting users within detection regions of media devices |
| KR20110052997A (ko) * | 2009-11-13 | 2011-05-19 | 삼성전자주식회사 | 디스플레이 장치와 클라이언트 단말 및 이의 제어 방법 |
| JP5600933B2 (ja) * | 2009-12-22 | 2014-10-08 | ソニー株式会社 | 情報処理装置、情報処理方法、プログラム、及び、情報処理システム |
| US10455275B2 (en) * | 2010-02-16 | 2019-10-22 | Comcast Cable Communications, Llc | Disposition of video alerts and integration of a mobile device into a local service domain |
| KR101754201B1 (ko) * | 2010-05-17 | 2017-07-05 | 톰슨 라이센싱 | 비디오 기록기 또는 셋톱 박스 stb를 통해 사용 가능한 브로드캐스트 프로그램들의 태깅된 목록에 대한 선택적인 디스플레이 |
| WO2012094564A1 (en) | 2011-01-06 | 2012-07-12 | Veveo, Inc. | Methods of and systems for content search based on environment sampling |
| US9628842B2 (en) | 2011-02-11 | 2017-04-18 | Sony Corporation | Method and apparatus for identifying content using IPTV devices |
| US9161073B2 (en) * | 2011-02-11 | 2015-10-13 | Sony Corporation | System and method to remove outdated or erroneous assets from favorites or recently-viewed lists |
| US9778826B2 (en) * | 2011-05-24 | 2017-10-03 | Indu Mati Anand | Method and system for computer-aided consumption of information from application data files |
| CN102857534B (zh) * | 2011-07-01 | 2015-05-20 | 天津米游科技有限公司 | 一种基于云计算的远程交互方法 |
| US8805418B2 (en) | 2011-12-23 | 2014-08-12 | United Video Properties, Inc. | Methods and systems for performing actions based on location-based rules |
| US20130298175A1 (en) * | 2012-05-02 | 2013-11-07 | International Business Machines Corporation | Constructing a customized message in a video-on-demand service |
| JP2013017193A (ja) * | 2012-08-15 | 2013-01-24 | Kyocera Corp | 放送受信装置および放送表示方法 |
| US20150304725A1 (en) * | 2012-11-26 | 2015-10-22 | Hitachi Maxell, Ltd. | Network terminal system, display device, terminal device, information processing method in display device, and program |
| US9330169B2 (en) * | 2013-03-15 | 2016-05-03 | Bose Corporation | Audio systems and related devices and methods |
| CN104349208A (zh) * | 2013-08-09 | 2015-02-11 | 中兴通讯股份有限公司 | 消息处理方法、装置、网关、机顶盒及网络电视系统 |
| CN104519386B (zh) * | 2013-09-27 | 2018-03-27 | 思科技术公司 | 通过单向机顶盒实现媒体请求 |
| US9264656B2 (en) | 2014-02-26 | 2016-02-16 | Rovi Guides, Inc. | Systems and methods for managing storage space |
| US10033797B1 (en) | 2014-08-20 | 2018-07-24 | Ivanti, Inc. | Terminal emulation over HTML |
| US11100278B2 (en) | 2016-07-28 | 2021-08-24 | Ivanti, Inc. | Systems and methods for presentation of a terminal application screen |
| US10715875B2 (en) | 2017-02-24 | 2020-07-14 | The Directv Group, Inc. | Interactive alert for a viewable highlight |
| US10091549B1 (en) | 2017-03-30 | 2018-10-02 | Rovi Guides, Inc. | Methods and systems for recommending media assets based on the geographic location at which the media assets are frequently consumed |
Citations (2)
| Publication number | Priority date | Publication date | Assignee | Title |
|---|---|---|---|---|
| JPH09102827A (ja) * | 1995-10-05 | 1997-04-15 | Sony Corp | 遠隔制御装置および通信装置 |
| US5648813A (en) * | 1993-10-20 | 1997-07-15 | Matsushita Electric Industrial Co. Ltd. | Graphical-interactive-screen display apparatus and peripheral units |
Family Cites Families (42)
| Publication number | Priority date | Publication date | Assignee | Title |
|---|---|---|---|---|
| US4706121B1 (en) † | 1985-07-12 | 1993-12-14 | Insight Telecast, Inc. | Tv schedule system and process |
| DE3544183A1 (de) † | 1985-12-13 | 1987-06-19 | Thomson Brandt Gmbh | Verfahren zur programmierung eines videorecorders |
| US5089885A (en) * | 1986-11-14 | 1992-02-18 | Video Jukebox Network, Inc. | Telephone access display system with remote monitoring |
| AU2555288A (en) † | 1987-09-28 | 1989-04-18 | James C. Fox | Automatic program selector |
| US5592482A (en) * | 1989-04-28 | 1997-01-07 | Abraham; Charles | Video distribution system using in-wall wiring |
| US5353121A (en) † | 1989-10-30 | 1994-10-04 | Starsight Telecast, Inc. | Television schedule system |
| US5657414A (en) * | 1992-12-01 | 1997-08-12 | Scientific-Atlanta, Inc. | Auxiliary device control for a subscriber terminal |
| US5410326A (en) * | 1992-12-04 | 1995-04-25 | Goldstein; Steven W. | Programmable remote control device for interacting with a plurality of remotely controlled devices |
| JP3193176B2 (ja) * | 1993-03-05 | 2001-07-30 | パイオニア株式会社 | 双方向リモートコントロールシステム |
| EP0639030B1 (en) * | 1993-08-13 | 2000-07-12 | Kabushiki Kaisha Toshiba | Two-way CATV system |
| US5822123A (en) | 1993-09-09 | 1998-10-13 | Davis; Bruce | Electronic television program guide schedule system and method with pop-up hints |
| US5523796A (en) * | 1994-05-20 | 1996-06-04 | Prevue Networks, Inc. | Video clip program guide |
| AU3970595A (en) † | 1994-10-27 | 1996-05-23 | Gemstar Development Corporation | Apparatus and methods for downloading recorder programming data in a video signal |
| JPH08180505A (ja) * | 1994-12-27 | 1996-07-12 | Hashimoto Corp | ビデオテープレコーダの遠隔録画、再生制御装置 |
| BR9608005B1 (pt) * | 1995-04-24 | 2011-02-08 | sistema e método de programação para guia eletrÈnico de programas de televisão com encomenda de produtos remota. | |
| US6209132B1 (en) * | 1995-06-15 | 2001-03-27 | Intel Corporation | Host apparatus for simulating two way connectivity for one way data streams |
| DE19531121A1 (de) † | 1995-08-24 | 1997-02-27 | Olaf Bostroem | Technisches System mit Dienstcharakter zur Fernprogrammierung, Fernadressierung und Fernsteuerung von Videorekordern, Fernseh- und multimediafähigen Geräten |
| US5655214A (en) * | 1995-09-07 | 1997-08-05 | Amulet Electronics Limited | Television broadcast distribution systems comprising base station with a tuner and computer outstations |
| JPH09149331A (ja) * | 1995-11-24 | 1997-06-06 | Sony Corp | デジタル放送受信装置 |
| US5710605A (en) * | 1996-01-11 | 1998-01-20 | Nelson; Rickey D. | Remote control unit for controlling a television and videocassette recorder with a display for allowing a user to select between various programming schedules |
| JP3274598B2 (ja) * | 1996-01-18 | 2002-04-15 | シャープ株式会社 | 文字放送受信装置 |
| JP3911047B2 (ja) † | 1996-04-30 | 2007-05-09 | ソニー株式会社 | 録画予約制御システム及び録画予約制御方法 |
| JPH09298677A (ja) * | 1996-05-07 | 1997-11-18 | Matsushita Electric Ind Co Ltd | 映像表示装置 |
| WO1998010589A1 (en) * | 1996-09-03 | 1998-03-12 | Starsight Telecast, Inc. | Schedule system with enhanced recording capability |
| EP0931415A4 (en) | 1996-10-08 | 1999-09-22 | Allen Chang | REMOTE DISPLAY VOICE CONTROL |
| JP3660443B2 (ja) † | 1996-10-15 | 2005-06-15 | 株式会社東芝 | データ転送制御システム及び中継装置 |
| EP1850594A3 (en) | 1996-10-16 | 2008-07-09 | Gemstar Development Corporation | Access to internet data through a television system |
| US5907322A (en) | 1996-10-16 | 1999-05-25 | Catch Tv Acquisition Corp. | Television event marking system |
| HUP0000446A3 (en) | 1996-12-10 | 2000-08-28 | United Video Properties Inc Tu | Internet television program guide system |
| EP2699011A3 (en) | 1996-12-10 | 2014-03-19 | United Video Properties, Inc. | Internet television program guide system |
| EP0947096B1 (en) * | 1996-12-20 | 2002-08-28 | Princeton Video Image, Inc. | Set top device for targeted electronic insertion of indicia into video |
| EP0969661A4 (en) * | 1997-03-21 | 2002-10-02 | Hitachi Ltd | AUDIOVISUAL DEVICE, METHOD AND SYSTEM |
| DE19740079B4 (de) † | 1997-09-12 | 2004-07-01 | Ciburski, Guido | Verfahren zur Fern-Steuerung von Videorecordern aus dem Internet |
| JP4229997B2 (ja) * | 1997-10-07 | 2009-02-25 | 雅信 鯨田 | 一部又は人物連動型の複数連携型表示システム |
| US6564378B1 (en) † | 1997-12-08 | 2003-05-13 | United Video Properties, Inc. | Program guide system with browsing display |
| US6097441A (en) * | 1997-12-31 | 2000-08-01 | Eremote, Inc. | System for dual-display interaction with integrated television and internet content |
| US7185355B1 (en) | 1998-03-04 | 2007-02-27 | United Video Properties, Inc. | Program guide system with preference profiles |
| CN1867068A (zh) * | 1998-07-14 | 2006-11-22 | 联合视频制品公司 | 交互式电视节目导视系统及其方法 |
| TW420936B (en) * | 1998-07-17 | 2001-02-01 | United Video Properties Inc | Interactive television program guide system having multiple devices within a household |
| US6820278B1 (en) | 1998-07-23 | 2004-11-16 | United Video Properties, Inc. | Cooperative television application system having multiple user television equipment devices |
| CA2376936A1 (en) * | 1999-06-11 | 2000-12-21 | United Video Properties, Inc. | Interactive television application system with hand-held application device |
| TWI337043B (en) | 2007-03-30 | 2011-02-01 | Qisda Corp | Data transmission method and audio/video system capable of splitting and synchronizing audio/video data |
-
1999
- 1999-07-16 ES ES08104772.2T patent/ES2634862T3/es not_active Expired - Lifetime
- 1999-07-16 DE DE69921142.5T patent/DE69921142T3/de not_active Expired - Lifetime
- 1999-07-16 DK DK08104751.6T patent/DK1988707T3/en active
- 1999-07-16 DK DK08162011.4T patent/DK1988708T3/en active
- 1999-07-16 AU AU51074/99A patent/AU771432B2/en not_active Expired
- 1999-07-16 EP EP08104751.6A patent/EP1988707B1/en not_active Expired - Lifetime
- 1999-07-16 MX MX2016006152A patent/MX347745B/es unknown
- 1999-07-16 KR KR1020067008939A patent/KR100680639B1/ko not_active Expired - Lifetime
- 1999-07-16 BR BR9912831-4A patent/BR9912831A/pt not_active Application Discontinuation
- 1999-07-16 CA CA2821607A patent/CA2821607C/en not_active Expired - Lifetime
- 1999-07-16 ES ES08104751.6T patent/ES2629610T3/es not_active Expired - Lifetime
- 1999-07-16 EP EP08162011.4A patent/EP1988708B1/en not_active Expired - Lifetime
- 1999-07-16 MX MX2017006143A patent/MX357059B/es unknown
- 1999-07-16 CN CN99808757A patent/CN1309867A/zh active Pending
- 1999-07-16 EP EP17169145.4A patent/EP3293967A1/en not_active Withdrawn
- 1999-07-16 EP EP99935637.1A patent/EP1099341B2/en not_active Expired - Lifetime
- 1999-07-16 CA CA2493510A patent/CA2493510C/en not_active Expired - Lifetime
- 1999-07-16 DK DK08104772.2T patent/DK1976283T3/en active
- 1999-07-16 ES ES08162011.4T patent/ES2625461T3/es not_active Expired - Lifetime
- 1999-07-16 AT AT99935637T patent/ATE279836T1/de not_active IP Right Cessation
- 1999-07-16 ES ES99935637.1T patent/ES2232154T5/es not_active Expired - Lifetime
- 1999-07-16 EP EP10184501A patent/EP2302914A1/en not_active Ceased
- 1999-07-16 KR KR1020047010958A patent/KR100680636B1/ko not_active Expired - Lifetime
- 1999-07-16 CA CA002337061A patent/CA2337061C/en not_active Expired - Lifetime
- 1999-07-16 CN CNB2004100353635A patent/CN1284371C/zh not_active Expired - Lifetime
- 1999-07-16 EP EP03077693.4A patent/EP1381231B1/en not_active Revoked
- 1999-07-16 PT PT81620114T patent/PT1988708T/pt unknown
- 1999-07-16 JP JP2000560721A patent/JP3642475B2/ja not_active Expired - Lifetime
- 1999-07-16 BR BRPI9917684A patent/BRPI9917684B1/pt active IP Right Grant
- 1999-07-16 EP EP08104772.2A patent/EP1976283B1/en not_active Expired - Lifetime
- 1999-07-16 ES ES03077693.4T patent/ES2444642T3/es not_active Expired - Lifetime
- 1999-07-16 KR KR1020017000756A patent/KR100680632B1/ko not_active Expired - Lifetime
- 1999-07-16 PT PT81047722T patent/PT1976283T/pt unknown
- 1999-07-16 MX MX2012007859A patent/MX339119B/es unknown
- 1999-07-16 PT PT3077693T patent/PT1381231E/pt unknown
- 1999-07-16 WO PCT/US1999/016141 patent/WO2000004709A1/en not_active Ceased
-
2003
- 2003-06-13 JP JP2003170102A patent/JP2004104762A/ja active Pending
-
2004
- 2004-06-25 AU AU2004202839A patent/AU2004202839B2/en not_active Expired
- 2004-11-30 JP JP2004347881A patent/JP4295714B2/ja not_active Expired - Lifetime
-
2006
- 2006-11-16 AU AU2006236040A patent/AU2006236040B2/en not_active Expired
-
2008
- 2008-10-10 JP JP2008264602A patent/JP5199017B2/ja not_active Expired - Lifetime
-
2009
- 2009-02-25 AU AU2009200737A patent/AU2009200737B2/en not_active Expired
- 2009-04-30 JP JP2009111529A patent/JP2009207165A/ja active Pending
-
2010
- 2010-11-08 AU AU2010241295A patent/AU2010241295B2/en not_active Expired
-
2012
- 2012-12-10 JP JP2012269488A patent/JP5449516B2/ja not_active Expired - Lifetime
-
2013
- 2013-02-18 JP JP2013028934A patent/JP5586720B2/ja not_active Expired - Lifetime
-
2014
- 2014-06-05 JP JP2014116442A patent/JP2014222879A/ja not_active Withdrawn
-
2016
- 2016-08-22 JP JP2016161822A patent/JP2017017727A/ja active Pending
- 2016-08-22 JP JP2016161821A patent/JP2017017726A/ja active Pending
Patent Citations (2)
| Publication number | Priority date | Publication date | Assignee | Title |
|---|---|---|---|---|
| US5648813A (en) * | 1993-10-20 | 1997-07-15 | Matsushita Electric Industrial Co. Ltd. | Graphical-interactive-screen display apparatus and peripheral units |
| JPH09102827A (ja) * | 1995-10-05 | 1997-04-15 | Sony Corp | 遠隔制御装置および通信装置 |
Also Published As
Similar Documents
| Publication | Publication Date | Title |
|---|---|---|
| EP1988707B1 (en) | Interactive television program guide with remote access | |
| US8006263B2 (en) | Interactive television program guide with remote access | |
| AU2016213851B2 (en) | Interactive television program guide with remote access | |
| AU2013202248B2 (en) | Interactive Television Program Guide With Remote Access | |
| HK1122681B (en) | Interactive television program guide with remote access | |
| HK1122168B (en) | Interactive television program guide with remote access | |
| HK1122168A (en) | Interactive television program guide with remote access | |
| HK1154730A (en) | Interactive television program guide with remote access | |
| HK1122680B (en) | Interactive television program guide with remote access | |
| HK1036900B (en) | Interactive television program guide with remote access | |
| HK1122681A (en) | Interactive television program guide with remote access | |
| HK1122680A (en) | Interactive television program guide with remote access | |
| AU2015218489A1 (en) | Interactive Television Program Guide with Remote Access |
Legal Events
| Date | Code | Title | Description |
|---|---|---|---|
| PUAI | Public reference made under article 153(3) epc to a published international application that has entered the european phase |
Free format text: ORIGINAL CODE: 0009012 |
|
| AC | Divisional application: reference to earlier application |
Ref document number: 1381231 Country of ref document: EP Kind code of ref document: P Ref document number: 1099341 Country of ref document: EP Kind code of ref document: P |
|
| AK | Designated contracting states |
Kind code of ref document: A2 Designated state(s): AT BE CH CY DE DK ES FI FR GB GR IE IT LI LU MC NL PT SE |
|
| PUAL | Search report despatched |
Free format text: ORIGINAL CODE: 0009013 |
|
| AK | Designated contracting states |
Kind code of ref document: A3 Designated state(s): AT BE CH CY DE DK ES FI FR GB GR IE IT LI LU MC NL PT SE |
|
| RIN1 | Information on inventor provided before grant (corrected) |
Inventor name: KNEE, ROBERT A. Inventor name: MCCOY, ROBERT H. Inventor name: HASSELL, JOEL G. Inventor name: THOMAS, WILLIAM L. Inventor name: ELLIS, MICHAEL D. Inventor name: BEREZOWSKI, DAVID M. |
|
| RIN1 | Information on inventor provided before grant (corrected) |
Inventor name: HASSELL, JOEL G. Inventor name: KNEE, ROBERT A. Inventor name: ELLIS, MICHAEL D. Inventor name: THOMAS, WILLIAM L. Inventor name: MCCOY, ROBERT H. Inventor name: BEREZOWSKI, DAVID M. |
|
| REG | Reference to a national code |
Ref country code: HK Ref legal event code: DE Ref document number: 1122681 Country of ref document: HK |
|
| 17P | Request for examination filed |
Effective date: 20090527 |
|
| 17Q | First examination report despatched |
Effective date: 20090630 |
|
| AKX | Designation fees paid |
Designated state(s): AT BE CH CY DE DK ES FI FR GB GR IE IT LI LU MC NL PT SE |
|
| DAF | New application according to art. 61(8) epc: reference to earlier document (deleted) | ||
| RIN1 | Information on inventor provided before grant (corrected) |
Inventor name: BEREZOWSKI, DAVID M. Inventor name: ELLIS, MICHAEL D. Inventor name: THOMAS, WILLIAM L. Inventor name: HASSELL, JOEL G. Inventor name: KNEE, ROBERT A. Inventor name: MCCOY, ROBERT H. Inventor name: LEMMONS, THOMAS R |
|
| RIN1 | Information on inventor provided before grant (corrected) |
Inventor name: THOMAS, WILLIAM L. Inventor name: MCCOY, ROBERT H. Inventor name: ELLIS, MICHAEL D. Inventor name: HASSELL, JOEL G. Inventor name: LEMMONS, THOMAS R Inventor name: KNEE, ROBERT A. Inventor name: BEREZOWSKI, DAVID M. |
|
| RAP1 | Party data changed (applicant data changed or rights of an application transferred) |
Owner name: UNITED VIDEO PROPERTIES, INC. |
|
| RAP1 | Party data changed (applicant data changed or rights of an application transferred) |
Owner name: ROVI GUIDES, INC. |
|
| GRAP | Despatch of communication of intention to grant a patent |
Free format text: ORIGINAL CODE: EPIDOSNIGR1 |
|
| INTG | Intention to grant announced |
Effective date: 20161223 |
|
| RIN1 | Information on inventor provided before grant (corrected) |
Inventor name: HASSELL, JOEL G. Inventor name: THOMAS, WILLIAM L. Inventor name: ELLIS, MICHAEL D. Inventor name: KNEE, ROBERT A. Inventor name: MCCOY, ROBERT H. Inventor name: LEMMONS, THOMAS R Inventor name: BEREZOWSKI, DAVID M. |
|
| GRAS | Grant fee paid |
Free format text: ORIGINAL CODE: EPIDOSNIGR3 |
|
| GRAA | (expected) grant |
Free format text: ORIGINAL CODE: 0009210 |
|
| AC | Divisional application: reference to earlier application |
Ref document number: 1099341 Country of ref document: EP Kind code of ref document: P Ref document number: 1381231 Country of ref document: EP Kind code of ref document: P |
|
| AK | Designated contracting states |
Kind code of ref document: B1 Designated state(s): AT BE CH CY DE DK ES FI FR GB GR IE IT LI LU MC NL PT SE |
|
| RAP1 | Party data changed (applicant data changed or rights of an application transferred) |
Owner name: ROVI GUIDES, INC. |
|
| REG | Reference to a national code |
Ref country code: GB Ref legal event code: FG4D |
|
| REG | Reference to a national code |
Ref country code: CH Ref legal event code: EP |
|
| REG | Reference to a national code |
Ref country code: AT Ref legal event code: REF Ref document number: 880743 Country of ref document: AT Kind code of ref document: T Effective date: 20170415 |
|
| REG | Reference to a national code |
Ref country code: IE Ref legal event code: FG4D |
|
| REG | Reference to a national code |
Ref country code: DE Ref legal event code: R096 Ref document number: 69945733 Country of ref document: DE |
|
| REG | Reference to a national code |
Ref country code: CH Ref legal event code: NV Representative=s name: STOLMAR AND PARTNER INTELLECTUAL PROPERTY S.A., CH |
|
| REG | Reference to a national code |
Ref country code: NL Ref legal event code: FP |
|
| REG | Reference to a national code |
Ref country code: DK Ref legal event code: T3 Effective date: 20170706 |
|
| REG | Reference to a national code |
Ref country code: SE Ref legal event code: TRGR |
|
| REG | Reference to a national code |
Ref country code: FR Ref legal event code: PLFP Year of fee payment: 19 |
|
| PG25 | Lapsed in a contracting state [announced via postgrant information from national office to epo] |
Ref country code: FI Free format text: LAPSE BECAUSE OF FAILURE TO SUBMIT A TRANSLATION OF THE DESCRIPTION OR TO PAY THE FEE WITHIN THE PRESCRIBED TIME-LIMIT Effective date: 20170329 Ref country code: GR Free format text: LAPSE BECAUSE OF FAILURE TO SUBMIT A TRANSLATION OF THE DESCRIPTION OR TO PAY THE FEE WITHIN THE PRESCRIBED TIME-LIMIT Effective date: 20170630 |
|
| REG | Reference to a national code |
Ref country code: ES Ref legal event code: FG2A Ref document number: 2629610 Country of ref document: ES Kind code of ref document: T3 Effective date: 20170811 |
|
| REG | Reference to a national code |
Ref country code: AT Ref legal event code: MK05 Ref document number: 880743 Country of ref document: AT Kind code of ref document: T Effective date: 20170329 |
|
| REG | Reference to a national code |
Ref country code: CH Ref legal event code: PCAR Free format text: NEW ADDRESS: RUE DU CENDRIER 15 CP 1489, 1201 GENEVE (CH) |
|
| PG25 | Lapsed in a contracting state [announced via postgrant information from national office to epo] |
Ref country code: AT Free format text: LAPSE BECAUSE OF FAILURE TO SUBMIT A TRANSLATION OF THE DESCRIPTION OR TO PAY THE FEE WITHIN THE PRESCRIBED TIME-LIMIT Effective date: 20170329 |
|
| PG25 | Lapsed in a contracting state [announced via postgrant information from national office to epo] |
Ref country code: PT Free format text: LAPSE BECAUSE OF FAILURE TO SUBMIT A TRANSLATION OF THE DESCRIPTION OR TO PAY THE FEE WITHIN THE PRESCRIBED TIME-LIMIT Effective date: 20170731 |
|
| RAP2 | Party data changed (patent owner data changed or rights of a patent transferred) |
Owner name: ROVI GUIDES, INC. |
|
| REG | Reference to a national code |
Ref country code: DE Ref legal event code: R097 Ref document number: 69945733 Country of ref document: DE |
|
| PLBE | No opposition filed within time limit |
Free format text: ORIGINAL CODE: 0009261 |
|
| STAA | Information on the status of an ep patent application or granted ep patent |
Free format text: STATUS: NO OPPOSITION FILED WITHIN TIME LIMIT |
|
| 26N | No opposition filed |
Effective date: 20180103 |
|
| REG | Reference to a national code |
Ref country code: IE Ref legal event code: MM4A |
|
| REG | Reference to a national code |
Ref country code: HK Ref legal event code: GR Ref document number: 1122681 Country of ref document: HK |
|
| PG25 | Lapsed in a contracting state [announced via postgrant information from national office to epo] |
Ref country code: IE Free format text: LAPSE BECAUSE OF NON-PAYMENT OF DUE FEES Effective date: 20170716 |
|
| REG | Reference to a national code |
Ref country code: BE Ref legal event code: MM Effective date: 20170731 |
|
| REG | Reference to a national code |
Ref country code: FR Ref legal event code: PLFP Year of fee payment: 20 |
|
| PG25 | Lapsed in a contracting state [announced via postgrant information from national office to epo] |
Ref country code: LU Free format text: LAPSE BECAUSE OF NON-PAYMENT OF DUE FEES Effective date: 20170716 |
|
| PG25 | Lapsed in a contracting state [announced via postgrant information from national office to epo] |
Ref country code: BE Free format text: LAPSE BECAUSE OF NON-PAYMENT OF DUE FEES Effective date: 20170731 |
|
| PGFP | Annual fee paid to national office [announced via postgrant information from national office to epo] |
Ref country code: FR Payment date: 20180612 Year of fee payment: 20 |
|
| PGFP | Annual fee paid to national office [announced via postgrant information from national office to epo] |
Ref country code: NL Payment date: 20180712 Year of fee payment: 20 Ref country code: ES Payment date: 20180801 Year of fee payment: 20 Ref country code: DE Payment date: 20180703 Year of fee payment: 20 Ref country code: IT Payment date: 20180713 Year of fee payment: 20 |
|
| PGFP | Annual fee paid to national office [announced via postgrant information from national office to epo] |
Ref country code: DK Payment date: 20180711 Year of fee payment: 20 Ref country code: CH Payment date: 20180713 Year of fee payment: 20 Ref country code: GB Payment date: 20180711 Year of fee payment: 20 Ref country code: SE Payment date: 20180710 Year of fee payment: 20 |
|
| PG25 | Lapsed in a contracting state [announced via postgrant information from national office to epo] |
Ref country code: MC Free format text: LAPSE BECAUSE OF FAILURE TO SUBMIT A TRANSLATION OF THE DESCRIPTION OR TO PAY THE FEE WITHIN THE PRESCRIBED TIME-LIMIT Effective date: 20170329 |
|
| REG | Reference to a national code |
Ref country code: DE Ref legal event code: R071 Ref document number: 69945733 Country of ref document: DE |
|
| REG | Reference to a national code |
Ref country code: NL Ref legal event code: MK Effective date: 20190715 |
|
| REG | Reference to a national code |
Ref country code: DK Ref legal event code: EUP Effective date: 20190716 |
|
| REG | Reference to a national code |
Ref country code: CH Ref legal event code: PL |
|
| REG | Reference to a national code |
Ref country code: GB Ref legal event code: PE20 Expiry date: 20190715 |
|
| PG25 | Lapsed in a contracting state [announced via postgrant information from national office to epo] |
Ref country code: CY Free format text: LAPSE BECAUSE OF NON-PAYMENT OF DUE FEES Effective date: 20170329 |
|
| PG25 | Lapsed in a contracting state [announced via postgrant information from national office to epo] |
Ref country code: GB Free format text: LAPSE BECAUSE OF EXPIRATION OF PROTECTION Effective date: 20190715 |
|
| REG | Reference to a national code |
Ref country code: ES Ref legal event code: FD2A Effective date: 20200903 |
|
| PG25 | Lapsed in a contracting state [announced via postgrant information from national office to epo] |
Ref country code: ES Free format text: LAPSE BECAUSE OF EXPIRATION OF PROTECTION Effective date: 20190717 |
|
| P01 | Opt-out of the competence of the unified patent court (upc) registered |
Effective date: 20230520 |